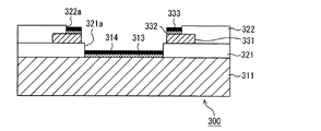
JP2011014890A - 金属基板及び光源装置 - Google Patents
金属基板及び光源装置 Download PDFInfo
- Publication number
- JP2011014890A JP2011014890A JP2010126196A JP2010126196A JP2011014890A JP 2011014890 A JP2011014890 A JP 2011014890A JP 2010126196 A JP2010126196 A JP 2010126196A JP 2010126196 A JP2010126196 A JP 2010126196A JP 2011014890 A JP2011014890 A JP 2011014890A
- Authority
- JP
- Japan
- Prior art keywords
- light source
- layer
- mounting surface
- metal substrate
- white film
- Prior art date
- Legal status (The legal status is an assumption and is not a legal conclusion. Google has not performed a legal analysis and makes no representation as to the accuracy of the status listed.)
- Pending
Links
Images
Classifications
-
- H—ELECTRICITY
- H10—SEMICONDUCTOR DEVICES; ELECTRIC SOLID-STATE DEVICES NOT OTHERWISE PROVIDED FOR
- H10H—INORGANIC LIGHT-EMITTING SEMICONDUCTOR DEVICES HAVING POTENTIAL BARRIERS
- H10H20/00—Individual inorganic light-emitting semiconductor devices having potential barriers, e.g. light-emitting diodes [LED]
- H10H20/80—Constructional details
- H10H20/85—Packages
- H10H20/858—Means for heat extraction or cooling
- H10H20/8581—Means for heat extraction or cooling characterised by their material
-
- H—ELECTRICITY
- H01—ELECTRIC ELEMENTS
- H01L—SEMICONDUCTOR DEVICES NOT COVERED BY CLASS H10
- H01L2224/00—Indexing scheme for arrangements for connecting or disconnecting semiconductor or solid-state bodies and methods related thereto as covered by H01L24/00
- H01L2224/01—Means for bonding being attached to, or being formed on, the surface to be connected, e.g. chip-to-package, die-attach, "first-level" interconnects; Manufacturing methods related thereto
- H01L2224/26—Layer connectors, e.g. plate connectors, solder or adhesive layers; Manufacturing methods related thereto
- H01L2224/2612—Auxiliary members for layer connectors, e.g. spacers
-
- H—ELECTRICITY
- H01—ELECTRIC ELEMENTS
- H01L—SEMICONDUCTOR DEVICES NOT COVERED BY CLASS H10
- H01L2224/00—Indexing scheme for arrangements for connecting or disconnecting semiconductor or solid-state bodies and methods related thereto as covered by H01L24/00
- H01L2224/01—Means for bonding being attached to, or being formed on, the surface to be connected, e.g. chip-to-package, die-attach, "first-level" interconnects; Manufacturing methods related thereto
- H01L2224/42—Wire connectors; Manufacturing methods related thereto
- H01L2224/47—Structure, shape, material or disposition of the wire connectors after the connecting process
- H01L2224/48—Structure, shape, material or disposition of the wire connectors after the connecting process of an individual wire connector
- H01L2224/4805—Shape
- H01L2224/4809—Loop shape
- H01L2224/48091—Arched
-
- H—ELECTRICITY
- H01—ELECTRIC ELEMENTS
- H01L—SEMICONDUCTOR DEVICES NOT COVERED BY CLASS H10
- H01L2224/00—Indexing scheme for arrangements for connecting or disconnecting semiconductor or solid-state bodies and methods related thereto as covered by H01L24/00
- H01L2224/01—Means for bonding being attached to, or being formed on, the surface to be connected, e.g. chip-to-package, die-attach, "first-level" interconnects; Manufacturing methods related thereto
- H01L2224/42—Wire connectors; Manufacturing methods related thereto
- H01L2224/47—Structure, shape, material or disposition of the wire connectors after the connecting process
- H01L2224/48—Structure, shape, material or disposition of the wire connectors after the connecting process of an individual wire connector
- H01L2224/481—Disposition
- H01L2224/48151—Connecting between a semiconductor or solid-state body and an item not being a semiconductor or solid-state body, e.g. chip-to-substrate, chip-to-passive
- H01L2224/48221—Connecting between a semiconductor or solid-state body and an item not being a semiconductor or solid-state body, e.g. chip-to-substrate, chip-to-passive the body and the item being stacked
- H01L2224/48225—Connecting between a semiconductor or solid-state body and an item not being a semiconductor or solid-state body, e.g. chip-to-substrate, chip-to-passive the body and the item being stacked the item being non-metallic, e.g. insulating substrate with or without metallisation
- H01L2224/48227—Connecting between a semiconductor or solid-state body and an item not being a semiconductor or solid-state body, e.g. chip-to-substrate, chip-to-passive the body and the item being stacked the item being non-metallic, e.g. insulating substrate with or without metallisation connecting the wire to a bond pad of the item
-
- H—ELECTRICITY
- H01—ELECTRIC ELEMENTS
- H01L—SEMICONDUCTOR DEVICES NOT COVERED BY CLASS H10
- H01L2224/00—Indexing scheme for arrangements for connecting or disconnecting semiconductor or solid-state bodies and methods related thereto as covered by H01L24/00
- H01L2224/73—Means for bonding being of different types provided for in two or more of groups H01L2224/10, H01L2224/18, H01L2224/26, H01L2224/34, H01L2224/42, H01L2224/50, H01L2224/63, H01L2224/71
- H01L2224/732—Location after the connecting process
- H01L2224/73251—Location after the connecting process on different surfaces
- H01L2224/73265—Layer and wire connectors
-
- H—ELECTRICITY
- H01—ELECTRIC ELEMENTS
- H01L—SEMICONDUCTOR DEVICES NOT COVERED BY CLASS H10
- H01L23/00—Details of semiconductor or other solid state devices
- H01L23/12—Mountings, e.g. non-detachable insulating substrates
- H01L23/14—Mountings, e.g. non-detachable insulating substrates characterised by the material or its electrical properties
- H01L23/142—Metallic substrates having insulating layers
-
- H—ELECTRICITY
- H01—ELECTRIC ELEMENTS
- H01L—SEMICONDUCTOR DEVICES NOT COVERED BY CLASS H10
- H01L2924/00—Indexing scheme for arrangements or methods for connecting or disconnecting semiconductor or solid-state bodies as covered by H01L24/00
- H01L2924/013—Alloys
- H01L2924/0132—Binary Alloys
- H01L2924/01322—Eutectic Alloys, i.e. obtained by a liquid transforming into two solid phases
-
- H—ELECTRICITY
- H01—ELECTRIC ELEMENTS
- H01L—SEMICONDUCTOR DEVICES NOT COVERED BY CLASS H10
- H01L2924/00—Indexing scheme for arrangements or methods for connecting or disconnecting semiconductor or solid-state bodies as covered by H01L24/00
- H01L2924/10—Details of semiconductor or other solid state devices to be connected
- H01L2924/102—Material of the semiconductor or solid state bodies
- H01L2924/1025—Semiconducting materials
- H01L2924/10251—Elemental semiconductors, i.e. Group IV
- H01L2924/10253—Silicon [Si]
-
- H—ELECTRICITY
- H01—ELECTRIC ELEMENTS
- H01L—SEMICONDUCTOR DEVICES NOT COVERED BY CLASS H10
- H01L2924/00—Indexing scheme for arrangements or methods for connecting or disconnecting semiconductor or solid-state bodies as covered by H01L24/00
- H01L2924/15—Details of package parts other than the semiconductor or other solid state devices to be connected
- H01L2924/181—Encapsulation
-
- H—ELECTRICITY
- H01—ELECTRIC ELEMENTS
- H01L—SEMICONDUCTOR DEVICES NOT COVERED BY CLASS H10
- H01L2924/00—Indexing scheme for arrangements or methods for connecting or disconnecting semiconductor or solid-state bodies as covered by H01L24/00
- H01L2924/19—Details of hybrid assemblies other than the semiconductor or other solid state devices to be connected
- H01L2924/191—Disposition
- H01L2924/19101—Disposition of discrete passive components
- H01L2924/19107—Disposition of discrete passive components off-chip wires
-
- H—ELECTRICITY
- H10—SEMICONDUCTOR DEVICES; ELECTRIC SOLID-STATE DEVICES NOT OTHERWISE PROVIDED FOR
- H10H—INORGANIC LIGHT-EMITTING SEMICONDUCTOR DEVICES HAVING POTENTIAL BARRIERS
- H10H20/00—Individual inorganic light-emitting semiconductor devices having potential barriers, e.g. light-emitting diodes [LED]
- H10H20/80—Constructional details
- H10H20/85—Packages
- H10H20/857—Interconnections, e.g. lead-frames, bond wires or solder balls
Landscapes
- Led Device Packages (AREA)
- Cooling Or The Like Of Semiconductors Or Solid State Devices (AREA)
Priority Applications (1)
| Application Number | Priority Date | Filing Date | Title |
|---|---|---|---|
| JP2010126196A JP2011014890A (ja) | 2009-06-02 | 2010-06-01 | 金属基板及び光源装置 |
Applications Claiming Priority (2)
| Application Number | Priority Date | Filing Date | Title |
|---|---|---|---|
| JP2009132967 | 2009-06-02 | ||
| JP2010126196A JP2011014890A (ja) | 2009-06-02 | 2010-06-01 | 金属基板及び光源装置 |
Related Child Applications (1)
| Application Number | Title | Priority Date | Filing Date |
|---|---|---|---|
| JP2012232139A Division JP5177319B2 (ja) | 2009-06-02 | 2012-10-19 | 金属基板及び光源装置 |
Publications (2)
| Publication Number | Publication Date |
|---|---|
| JP2011014890A true JP2011014890A (ja) | 2011-01-20 |
| JP2011014890A5 JP2011014890A5 (enExample) | 2012-12-06 |
Family
ID=43297773
Family Applications (2)
| Application Number | Title | Priority Date | Filing Date |
|---|---|---|---|
| JP2010126196A Pending JP2011014890A (ja) | 2009-06-02 | 2010-06-01 | 金属基板及び光源装置 |
| JP2012232139A Expired - Fee Related JP5177319B2 (ja) | 2009-06-02 | 2012-10-19 | 金属基板及び光源装置 |
Family Applications After (1)
| Application Number | Title | Priority Date | Filing Date |
|---|---|---|---|
| JP2012232139A Expired - Fee Related JP5177319B2 (ja) | 2009-06-02 | 2012-10-19 | 金属基板及び光源装置 |
Country Status (5)
| Country | Link |
|---|---|
| US (1) | US8742432B2 (enExample) |
| EP (1) | EP2439797A4 (enExample) |
| JP (2) | JP2011014890A (enExample) |
| CN (1) | CN102460750A (enExample) |
| WO (1) | WO2010140640A1 (enExample) |
Cited By (13)
| Publication number | Priority date | Publication date | Assignee | Title |
|---|---|---|---|---|
| JP2012174808A (ja) * | 2011-02-18 | 2012-09-10 | Nichia Chem Ind Ltd | 発光素子搭載用基板および発光装置 |
| JP2013046071A (ja) * | 2011-08-22 | 2013-03-04 | Lg Innotek Co Ltd | 発光素子パッケージ及びこれを含むライトユニット |
| JP2013128081A (ja) * | 2011-12-19 | 2013-06-27 | Shinko Electric Ind Co Ltd | 発光素子搭載用パッケージ及び発光素子パッケージ並びにそれらの製造方法 |
| WO2013180133A1 (ja) * | 2012-05-29 | 2013-12-05 | 日東電工株式会社 | 接着剤およびそれを用いた透明基板 |
| JP2014216416A (ja) * | 2013-04-24 | 2014-11-17 | スタンレー電気株式会社 | 半導体発光装置およびその製造方法 |
| JP2014224247A (ja) * | 2013-05-16 | 2014-12-04 | エルジー イノテック カンパニー リミテッド | 蛍光体及びそれを含む発光素子パッケージ |
| KR20150038885A (ko) * | 2013-10-01 | 2015-04-09 | 엘지이노텍 주식회사 | 형광체 및 이를 포함하는 발광소자 패키지 |
| JP2015070199A (ja) * | 2013-09-30 | 2015-04-13 | 日亜化学工業株式会社 | 発光装置 |
| JP2015130501A (ja) * | 2013-12-24 | 2015-07-16 | エルジー イノテック カンパニー リミテッド | 印刷回路基板及びこれを含む発光装置 |
| WO2015151918A1 (ja) * | 2014-03-31 | 2015-10-08 | 株式会社ソディック | 発光ダイオードモジュール |
| JP2016162972A (ja) * | 2015-03-04 | 2016-09-05 | パナソニックIpマネジメント株式会社 | 実装基板及びそれを用いたledモジュール |
| JP2019091943A (ja) * | 2014-12-25 | 2019-06-13 | 日亜化学工業株式会社 | 半導体装置および半導体装置の製造方法 |
| JP2020010063A (ja) * | 2013-08-09 | 2020-01-16 | 株式会社タムラ製作所 | 発光装置 |
Families Citing this family (33)
| Publication number | Priority date | Publication date | Assignee | Title |
|---|---|---|---|---|
| JP5684511B2 (ja) * | 2010-08-11 | 2015-03-11 | 三菱樹脂株式会社 | 金属箔積層体、led搭載用基板及び光源装置 |
| TWI446495B (zh) * | 2011-01-19 | 2014-07-21 | 旭德科技股份有限公司 | 封裝載板及其製作方法 |
| TWI437930B (zh) * | 2011-05-03 | 2014-05-11 | Subtron Technology Co Ltd | 封裝載板及其製作方法 |
| US9240524B2 (en) | 2012-03-05 | 2016-01-19 | Seoul Viosys Co., Ltd. | Light-emitting device and method of manufacturing the same |
| US9263658B2 (en) | 2012-03-05 | 2016-02-16 | Seoul Viosys Co., Ltd. | Light-emitting device and method of manufacturing the same |
| KR101306247B1 (ko) * | 2012-05-11 | 2013-09-17 | (주)포인트엔지니어링 | 백라이트 유닛용 광소자 제조 방법 및 이에 의해 제조된 광소자와 그 어레이 |
| WO2013179638A1 (ja) * | 2012-05-29 | 2013-12-05 | 日本精工株式会社 | 半導体モジュール及びその製造方法 |
| WO2013183693A1 (ja) * | 2012-06-07 | 2013-12-12 | 株式会社Steq | Led照明モジュールおよびled照明装置 |
| US9111847B2 (en) * | 2012-06-15 | 2015-08-18 | Infineon Technologies Ag | Method for manufacturing a chip package, a method for manufacturing a wafer level package, a chip package and a wafer level package |
| JP2014086556A (ja) * | 2012-10-23 | 2014-05-12 | Ccs Inc | 発光装置 |
| CN103118492A (zh) * | 2013-01-31 | 2013-05-22 | 蚌埠德豪光电科技有限公司 | 铝基板及其制造方法及使用该铝基板的led光源 |
| KR101802851B1 (ko) * | 2013-03-11 | 2017-11-29 | 해성디에스 주식회사 | 리드 프레임, 이를 포함하는 반도체 패키지, 및 리드 프레임의 제조 방법 |
| JP6344689B2 (ja) * | 2013-07-16 | 2018-06-20 | パナソニックIpマネジメント株式会社 | 基板、発光装置、照明用光源、および照明装置 |
| GB2518355B (en) * | 2013-09-04 | 2016-04-27 | Waveguide Lighting Ltd | Improvements in or relating to a lighting apparatus |
| JP2015065236A (ja) * | 2013-09-24 | 2015-04-09 | 東芝ライテック株式会社 | 発光モジュールおよび照明装置 |
| JP6332933B2 (ja) * | 2013-10-01 | 2018-05-30 | 三菱電機株式会社 | 発光ユニットの製造方法 |
| CN103872217B (zh) * | 2014-03-14 | 2016-06-15 | 苏州晶品光电科技有限公司 | 大功率led光源封装体 |
| JP2015192096A (ja) * | 2014-03-28 | 2015-11-02 | 豊田合成株式会社 | 発光装置 |
| WO2016171121A1 (ja) * | 2015-04-22 | 2016-10-27 | Dic株式会社 | 樹脂分散体、微粒子、及びそれらの製造方法 |
| TWM521008U (zh) * | 2016-01-27 | 2016-05-01 | Lite On Technology Corp | 車燈裝置及其發光模組 |
| CN105977364A (zh) * | 2016-07-20 | 2016-09-28 | 广州硅能照明有限公司 | 多层led光引擎结构及其加工方法 |
| US10727009B2 (en) | 2018-05-31 | 2020-07-28 | Darfon Electronics Corp. | Light source board, manufacturing method thereof, and luminous keyboard using the same |
| US10895372B2 (en) * | 2018-05-31 | 2021-01-19 | Darfon Electronics Corp. | Light source board, manufacturing method thereof, and luminous keyboard using the same |
| US10720289B1 (en) * | 2019-02-20 | 2020-07-21 | Darfon Electronics Corp. | Light emitting keyboard and lighting board thereof |
| US11882651B2 (en) * | 2019-05-23 | 2024-01-23 | Signify Holding B.V. | Stable PCB for solid state light source application |
| JP7248803B2 (ja) * | 2019-08-28 | 2023-03-29 | 京セラ株式会社 | 発光素子搭載用パッケージおよび発光装置 |
| JP7475360B2 (ja) | 2019-10-30 | 2024-04-26 | 京セラ株式会社 | 発光素子搭載用パッケージおよび発光装置 |
| EP4191660A4 (en) | 2020-07-29 | 2024-08-14 | Kyocera Corporation | WIRING BOARD, BOX FOR MOUNTING LIGHT-EMITTING ELEMENT AND LIGHT-EMITTING DEVICE |
| CN118712309A (zh) | 2020-11-20 | 2024-09-27 | 隆达电子股份有限公司 | 发光装置、背光板及显示面板 |
| JP2022190310A (ja) * | 2021-06-14 | 2022-12-26 | セイコーエプソン株式会社 | 波長変換部材および発光装置 |
| US12259112B2 (en) | 2021-06-22 | 2025-03-25 | Darfon Electronics Corp. | Illuminating circuit structure |
| US12394580B2 (en) | 2022-04-08 | 2025-08-19 | Darfon Electronics Corp. | Luminous keyboard and illuminant board thereof |
| US12061353B2 (en) | 2022-04-08 | 2024-08-13 | Darfon Electronics Corp. | Backlit module and key for backlit keyboard |
Citations (5)
| Publication number | Priority date | Publication date | Assignee | Title |
|---|---|---|---|---|
| JP2003133596A (ja) * | 2001-10-26 | 2003-05-09 | Matsushita Electric Works Ltd | 高熱伝導性立体基板及びその製造方法、led表示装置 |
| WO2008105527A1 (ja) * | 2007-03-01 | 2008-09-04 | Nec Lighting, Ltd. | Led装置及び照明装置 |
| JP2008235827A (ja) * | 2007-03-23 | 2008-10-02 | Matsushita Electric Works Ltd | 発光装置 |
| JP2008244285A (ja) * | 2007-03-28 | 2008-10-09 | Denka Agsp Kk | 発光素子搭載基板及びその製造方法 |
| JP2009010360A (ja) * | 2007-05-31 | 2009-01-15 | Toshiba Lighting & Technology Corp | 照明装置 |
Family Cites Families (43)
| Publication number | Priority date | Publication date | Assignee | Title |
|---|---|---|---|---|
| JP3713088B2 (ja) * | 1996-02-19 | 2005-11-02 | ローム株式会社 | 表示装置 |
| JP2000353827A (ja) | 1999-06-09 | 2000-12-19 | Sanyo Electric Co Ltd | 混成集積回路装置 |
| JP2002324875A (ja) | 2001-04-26 | 2002-11-08 | Fuji Photo Film Co Ltd | 半導体パッケージ基台および半導体パッケージ |
| JP2003051620A (ja) * | 2001-08-08 | 2003-02-21 | Rohm Co Ltd | 半導体発光装置 |
| JP2003218398A (ja) | 2002-01-18 | 2003-07-31 | Citizen Electronics Co Ltd | 表面実装型発光ダイオード及びその製造方法 |
| US20060043382A1 (en) * | 2003-02-07 | 2006-03-02 | Nobuyuki Matsui | Metal base wiring board for retaining light emitting elements, light emitting source, lightning apparatus, and display apparatus |
| TW594950B (en) * | 2003-03-18 | 2004-06-21 | United Epitaxy Co Ltd | Light emitting diode and package scheme and method thereof |
| JP2005005681A (ja) * | 2003-05-20 | 2005-01-06 | Sharp Corp | 半導体発光装置およびその製造方法 |
| US20070092710A1 (en) * | 2003-10-17 | 2007-04-26 | Mitsubishi Plastics, Inc. | Reflective film |
| JP4255367B2 (ja) * | 2003-12-04 | 2009-04-15 | デンカAgsp株式会社 | 発光素子搭載用基板及びその製造方法 |
| US20080043444A1 (en) | 2004-04-27 | 2008-02-21 | Kyocera Corporation | Wiring Board for Light-Emitting Element |
| JP2006066409A (ja) | 2004-07-28 | 2006-03-09 | Kyocera Corp | 発光素子用配線基板および発光装置ならびに発光素子用配線基板の製造方法 |
| TW200539246A (en) * | 2004-05-26 | 2005-12-01 | Matsushita Electric Industrial Co Ltd | Semiconductor device and method for manufacturing the same |
| JP2006179511A (ja) | 2004-12-20 | 2006-07-06 | Sumitomo Electric Ind Ltd | 発光装置 |
| US7432119B2 (en) | 2005-01-11 | 2008-10-07 | Semileds Corporation | Light emitting diode with conducting metal substrate |
| JP4525917B2 (ja) * | 2005-03-18 | 2010-08-18 | 株式会社クラレ | Ledリフレクタ成形用ポリアミド樹脂組成物およびledリフレクタ |
| JP2006339224A (ja) | 2005-05-31 | 2006-12-14 | Tanazawa Hakkosha:Kk | Led用基板およびledパッケージ |
| DE102006000476A1 (de) | 2005-09-22 | 2007-05-24 | Lexedis Lighting Gesmbh | Lichtemissionsvorrichtung |
| US20090225541A1 (en) | 2005-10-20 | 2009-09-10 | Showa Denko K.K. | Luminous device mounting substrate, luminous device mounting package, and planar light source device |
| JP4954664B2 (ja) * | 2005-10-20 | 2012-06-20 | 昭和電工株式会社 | 発光素子実装用基板、発光素子実装パッケージおよび面光源装置 |
| JP2007180430A (ja) | 2005-12-28 | 2007-07-12 | Toshiba Lighting & Technology Corp | 発光ダイオード装置 |
| JP4981342B2 (ja) * | 2006-04-04 | 2012-07-18 | 日立協和エンジニアリング株式会社 | サブマウントおよびその製造方法 |
| JP2007305742A (ja) * | 2006-05-10 | 2007-11-22 | Sharp Corp | Led光源装置 |
| US20070267642A1 (en) * | 2006-05-16 | 2007-11-22 | Luminus Devices, Inc. | Light-emitting devices and methods for manufacturing the same |
| JPWO2008004437A1 (ja) | 2006-07-05 | 2009-12-03 | パナソニック株式会社 | 半導体発光素子及び製造方法 |
| JP4905009B2 (ja) * | 2006-09-12 | 2012-03-28 | 豊田合成株式会社 | 発光装置の製造方法 |
| CN101076223A (zh) * | 2006-09-26 | 2007-11-21 | 蔡勇 | 铝基板磁控溅射金属化电路板及led照明器件 |
| JP2008098543A (ja) * | 2006-10-16 | 2008-04-24 | Yohohama Electron Kk | Ledランプ |
| JP5106094B2 (ja) | 2007-02-22 | 2012-12-26 | シャープ株式会社 | 表面実装型発光ダイオードおよびその製造方法 |
| US8604506B2 (en) | 2007-02-22 | 2013-12-10 | Sharp Kabushiki Kaisha | Surface mounting type light emitting diode and method for manufacturing the same |
| JP4609441B2 (ja) * | 2007-02-23 | 2011-01-12 | パナソニック電工株式会社 | Led表示装置の製造方法 |
| KR101555386B1 (ko) | 2007-05-18 | 2015-09-23 | 덴끼 가가꾸 고교 가부시키가이샤 | 금속 베이스 회로 기판 |
| JP2009130234A (ja) | 2007-11-27 | 2009-06-11 | Denki Kagaku Kogyo Kk | 回路基板及び回路基板を有するledモジュール |
| JP5057371B2 (ja) | 2007-06-20 | 2012-10-24 | シャープ株式会社 | 表面実装型発光ダイオードおよびその製造方法 |
| US20090008670A1 (en) * | 2007-07-06 | 2009-01-08 | Topco Technologies Corp. | LED packaging structure with aluminum board and an LED lamp with said LED packaging structure |
| JP5039474B2 (ja) | 2007-07-31 | 2012-10-03 | 三洋電機株式会社 | 発光モジュールおよびその製造方法 |
| JP2009076666A (ja) * | 2007-09-20 | 2009-04-09 | Rohm Co Ltd | 半導体装置の製造方法 |
| JP2009111273A (ja) * | 2007-10-31 | 2009-05-21 | Toshiba Lighting & Technology Corp | 発光装置 |
| FI20070910A0 (fi) * | 2007-11-27 | 2007-11-27 | Kimmo Olavi Paananen | Menetelmä piirilevyjen panelisointiin |
| JP5306226B2 (ja) | 2007-11-29 | 2013-10-02 | 三菱樹脂株式会社 | 金属積層体、led搭載基板、および、白色フィルム |
| JP2009194112A (ja) | 2008-02-14 | 2009-08-27 | Dainippon Printing Co Ltd | Ledモジュール用基板とその作製方法、および該ledモジュール用基板を用いたledモジュール |
| JP5109770B2 (ja) * | 2008-04-03 | 2012-12-26 | 豊田合成株式会社 | 発光装置及び発光装置の製造方法 |
| JP2009302127A (ja) | 2008-06-10 | 2009-12-24 | Dainippon Printing Co Ltd | Led用基板、led実装モジュール、およびled用基板の製造方法 |
-
2010
- 2010-06-01 JP JP2010126196A patent/JP2011014890A/ja active Pending
- 2010-06-02 CN CN2010800239845A patent/CN102460750A/zh active Pending
- 2010-06-02 EP EP10783422.8A patent/EP2439797A4/en not_active Withdrawn
- 2010-06-02 WO PCT/JP2010/059395 patent/WO2010140640A1/ja not_active Ceased
-
2011
- 2011-12-02 US US13/310,131 patent/US8742432B2/en not_active Expired - Fee Related
-
2012
- 2012-10-19 JP JP2012232139A patent/JP5177319B2/ja not_active Expired - Fee Related
Patent Citations (5)
| Publication number | Priority date | Publication date | Assignee | Title |
|---|---|---|---|---|
| JP2003133596A (ja) * | 2001-10-26 | 2003-05-09 | Matsushita Electric Works Ltd | 高熱伝導性立体基板及びその製造方法、led表示装置 |
| WO2008105527A1 (ja) * | 2007-03-01 | 2008-09-04 | Nec Lighting, Ltd. | Led装置及び照明装置 |
| JP2008235827A (ja) * | 2007-03-23 | 2008-10-02 | Matsushita Electric Works Ltd | 発光装置 |
| JP2008244285A (ja) * | 2007-03-28 | 2008-10-09 | Denka Agsp Kk | 発光素子搭載基板及びその製造方法 |
| JP2009010360A (ja) * | 2007-05-31 | 2009-01-15 | Toshiba Lighting & Technology Corp | 照明装置 |
Cited By (17)
| Publication number | Priority date | Publication date | Assignee | Title |
|---|---|---|---|---|
| JP2012174808A (ja) * | 2011-02-18 | 2012-09-10 | Nichia Chem Ind Ltd | 発光素子搭載用基板および発光装置 |
| JP2016213509A (ja) * | 2011-08-22 | 2016-12-15 | エルジー イノテック カンパニー リミテッド | 発光素子パッケージ及びこれを含むライトユニット |
| JP2013046071A (ja) * | 2011-08-22 | 2013-03-04 | Lg Innotek Co Ltd | 発光素子パッケージ及びこれを含むライトユニット |
| USRE48858E1 (en) | 2011-08-22 | 2021-12-21 | Suzhou Lekin Semiconductor Co., Ltd. | Light emitting device package and light unit |
| US9634215B2 (en) | 2011-08-22 | 2017-04-25 | Lg Innotek Co., Ltd. | Light emitting device package and light unit |
| JP2013128081A (ja) * | 2011-12-19 | 2013-06-27 | Shinko Electric Ind Co Ltd | 発光素子搭載用パッケージ及び発光素子パッケージ並びにそれらの製造方法 |
| WO2013180133A1 (ja) * | 2012-05-29 | 2013-12-05 | 日東電工株式会社 | 接着剤およびそれを用いた透明基板 |
| JP2014216416A (ja) * | 2013-04-24 | 2014-11-17 | スタンレー電気株式会社 | 半導体発光装置およびその製造方法 |
| JP2014224247A (ja) * | 2013-05-16 | 2014-12-04 | エルジー イノテック カンパニー リミテッド | 蛍光体及びそれを含む発光素子パッケージ |
| JP2020010063A (ja) * | 2013-08-09 | 2020-01-16 | 株式会社タムラ製作所 | 発光装置 |
| JP2015070199A (ja) * | 2013-09-30 | 2015-04-13 | 日亜化学工業株式会社 | 発光装置 |
| KR20150038885A (ko) * | 2013-10-01 | 2015-04-09 | 엘지이노텍 주식회사 | 형광체 및 이를 포함하는 발광소자 패키지 |
| KR102131309B1 (ko) | 2013-10-01 | 2020-07-07 | 엘지이노텍 주식회사 | 형광체 및 이를 포함하는 발광소자 패키지 |
| JP2015130501A (ja) * | 2013-12-24 | 2015-07-16 | エルジー イノテック カンパニー リミテッド | 印刷回路基板及びこれを含む発光装置 |
| WO2015151918A1 (ja) * | 2014-03-31 | 2015-10-08 | 株式会社ソディック | 発光ダイオードモジュール |
| JP2019091943A (ja) * | 2014-12-25 | 2019-06-13 | 日亜化学工業株式会社 | 半導体装置および半導体装置の製造方法 |
| JP2016162972A (ja) * | 2015-03-04 | 2016-09-05 | パナソニックIpマネジメント株式会社 | 実装基板及びそれを用いたledモジュール |
Also Published As
| Publication number | Publication date |
|---|---|
| US20120138990A1 (en) | 2012-06-07 |
| EP2439797A4 (en) | 2015-03-04 |
| WO2010140640A1 (ja) | 2010-12-09 |
| US8742432B2 (en) | 2014-06-03 |
| CN102460750A (zh) | 2012-05-16 |
| JP2013038452A (ja) | 2013-02-21 |
| EP2439797A1 (en) | 2012-04-11 |
| JP5177319B2 (ja) | 2013-04-03 |
Similar Documents
| Publication | Publication Date | Title |
|---|---|---|
| JP5177319B2 (ja) | 金属基板及び光源装置 | |
| CN101884257B (zh) | 具有腔部的多层布线基板 | |
| JP5345363B2 (ja) | 発光装置 | |
| CN103943734B (zh) | 光半导体装置 | |
| CN101252164B (zh) | 表面安装型发光二极管及其制造方法 | |
| WO2005106973A1 (ja) | 発光素子用配線基板 | |
| CN101252165B (zh) | 表面安装型发光二极管及其制造方法 | |
| JP5718517B2 (ja) | 発光装置 | |
| CN102208516A (zh) | 发光元件用基板及发光装置 | |
| TWI479705B (zh) | A light emitting element module substrate, a light emitting element module and a lighting device | |
| JP2009302110A (ja) | カバーレイフィルム | |
| JP2009010308A (ja) | 発光装置 | |
| JP4808550B2 (ja) | 発光ダイオード光源装置、照明装置、表示装置及び交通信号機 | |
| JP2009298832A (ja) | 白色フィルム及び金属積層体 | |
| TW201037803A (en) | Multi-layer packaging substrate, method for making the packaging substrate, and package structure of light-emitting semiconductor | |
| JP2008244468A (ja) | 発光装置 | |
| JP2009071090A (ja) | 発光装置 | |
| KR101173398B1 (ko) | 발광다이오드 수납용 패키지 및 그 제조방법 | |
| US20140197434A1 (en) | Light emitting diode device and method for manufacturing heat dissipation substrate | |
| KR100959164B1 (ko) | 발광 다이오드 모듈용 피시비(pcb) 기판 형성방법 | |
| JP2008243961A (ja) | 発光装置 | |
| JP5770674B2 (ja) | 光学半導体装置用基板及びその製造方法、並びに光学半導体装置 | |
| JP2007116116A (ja) | 発光装置 | |
| JP3969370B2 (ja) | 高熱伝導性回路部品の製造方法 | |
| JP3960280B2 (ja) | 高熱伝導性回路部品及びその製造方法並びに高放熱モジュール |
Legal Events
| Date | Code | Title | Description |
|---|---|---|---|
| A521 | Request for written amendment filed |
Free format text: JAPANESE INTERMEDIATE CODE: A523 Effective date: 20121019 |
|
| A621 | Written request for application examination |
Free format text: JAPANESE INTERMEDIATE CODE: A621 Effective date: 20130530 |
|
| A977 | Report on retrieval |
Free format text: JAPANESE INTERMEDIATE CODE: A971007 Effective date: 20131023 |
|
| A02 | Decision of refusal |
Free format text: JAPANESE INTERMEDIATE CODE: A02 Effective date: 20140318 |