WO2010140640A1 - 金属基板及び光源装置 - Google Patents
金属基板及び光源装置 Download PDFInfo
- Publication number
- WO2010140640A1 WO2010140640A1 PCT/JP2010/059395 JP2010059395W WO2010140640A1 WO 2010140640 A1 WO2010140640 A1 WO 2010140640A1 JP 2010059395 W JP2010059395 W JP 2010059395W WO 2010140640 A1 WO2010140640 A1 WO 2010140640A1
- Authority
- WO
- WIPO (PCT)
- Prior art keywords
- light source
- layer
- mounting surface
- metal substrate
- white film
- Prior art date
- Legal status (The legal status is an assumption and is not a legal conclusion. Google has not performed a legal analysis and makes no representation as to the accuracy of the status listed.)
- Ceased
Links
Images
Classifications
-
- H—ELECTRICITY
- H10—SEMICONDUCTOR DEVICES; ELECTRIC SOLID-STATE DEVICES NOT OTHERWISE PROVIDED FOR
- H10H—INORGANIC LIGHT-EMITTING SEMICONDUCTOR DEVICES HAVING POTENTIAL BARRIERS
- H10H20/00—Individual inorganic light-emitting semiconductor devices having potential barriers, e.g. light-emitting diodes [LED]
- H10H20/80—Constructional details
- H10H20/85—Packages
- H10H20/858—Means for heat extraction or cooling
- H10H20/8581—Means for heat extraction or cooling characterised by their material
-
- H—ELECTRICITY
- H01—ELECTRIC ELEMENTS
- H01L—SEMICONDUCTOR DEVICES NOT COVERED BY CLASS H10
- H01L2224/00—Indexing scheme for arrangements for connecting or disconnecting semiconductor or solid-state bodies and methods related thereto as covered by H01L24/00
- H01L2224/01—Means for bonding being attached to, or being formed on, the surface to be connected, e.g. chip-to-package, die-attach, "first-level" interconnects; Manufacturing methods related thereto
- H01L2224/26—Layer connectors, e.g. plate connectors, solder or adhesive layers; Manufacturing methods related thereto
- H01L2224/2612—Auxiliary members for layer connectors, e.g. spacers
-
- H—ELECTRICITY
- H01—ELECTRIC ELEMENTS
- H01L—SEMICONDUCTOR DEVICES NOT COVERED BY CLASS H10
- H01L2224/00—Indexing scheme for arrangements for connecting or disconnecting semiconductor or solid-state bodies and methods related thereto as covered by H01L24/00
- H01L2224/01—Means for bonding being attached to, or being formed on, the surface to be connected, e.g. chip-to-package, die-attach, "first-level" interconnects; Manufacturing methods related thereto
- H01L2224/42—Wire connectors; Manufacturing methods related thereto
- H01L2224/47—Structure, shape, material or disposition of the wire connectors after the connecting process
- H01L2224/48—Structure, shape, material or disposition of the wire connectors after the connecting process of an individual wire connector
- H01L2224/4805—Shape
- H01L2224/4809—Loop shape
- H01L2224/48091—Arched
-
- H—ELECTRICITY
- H01—ELECTRIC ELEMENTS
- H01L—SEMICONDUCTOR DEVICES NOT COVERED BY CLASS H10
- H01L2224/00—Indexing scheme for arrangements for connecting or disconnecting semiconductor or solid-state bodies and methods related thereto as covered by H01L24/00
- H01L2224/01—Means for bonding being attached to, or being formed on, the surface to be connected, e.g. chip-to-package, die-attach, "first-level" interconnects; Manufacturing methods related thereto
- H01L2224/42—Wire connectors; Manufacturing methods related thereto
- H01L2224/47—Structure, shape, material or disposition of the wire connectors after the connecting process
- H01L2224/48—Structure, shape, material or disposition of the wire connectors after the connecting process of an individual wire connector
- H01L2224/481—Disposition
- H01L2224/48151—Connecting between a semiconductor or solid-state body and an item not being a semiconductor or solid-state body, e.g. chip-to-substrate, chip-to-passive
- H01L2224/48221—Connecting between a semiconductor or solid-state body and an item not being a semiconductor or solid-state body, e.g. chip-to-substrate, chip-to-passive the body and the item being stacked
- H01L2224/48225—Connecting between a semiconductor or solid-state body and an item not being a semiconductor or solid-state body, e.g. chip-to-substrate, chip-to-passive the body and the item being stacked the item being non-metallic, e.g. insulating substrate with or without metallisation
- H01L2224/48227—Connecting between a semiconductor or solid-state body and an item not being a semiconductor or solid-state body, e.g. chip-to-substrate, chip-to-passive the body and the item being stacked the item being non-metallic, e.g. insulating substrate with or without metallisation connecting the wire to a bond pad of the item
-
- H—ELECTRICITY
- H01—ELECTRIC ELEMENTS
- H01L—SEMICONDUCTOR DEVICES NOT COVERED BY CLASS H10
- H01L2224/00—Indexing scheme for arrangements for connecting or disconnecting semiconductor or solid-state bodies and methods related thereto as covered by H01L24/00
- H01L2224/73—Means for bonding being of different types provided for in two or more of groups H01L2224/10, H01L2224/18, H01L2224/26, H01L2224/34, H01L2224/42, H01L2224/50, H01L2224/63, H01L2224/71
- H01L2224/732—Location after the connecting process
- H01L2224/73251—Location after the connecting process on different surfaces
- H01L2224/73265—Layer and wire connectors
-
- H—ELECTRICITY
- H01—ELECTRIC ELEMENTS
- H01L—SEMICONDUCTOR DEVICES NOT COVERED BY CLASS H10
- H01L23/00—Details of semiconductor or other solid state devices
- H01L23/12—Mountings, e.g. non-detachable insulating substrates
- H01L23/14—Mountings, e.g. non-detachable insulating substrates characterised by the material or its electrical properties
- H01L23/142—Metallic substrates having insulating layers
-
- H—ELECTRICITY
- H01—ELECTRIC ELEMENTS
- H01L—SEMICONDUCTOR DEVICES NOT COVERED BY CLASS H10
- H01L2924/00—Indexing scheme for arrangements or methods for connecting or disconnecting semiconductor or solid-state bodies as covered by H01L24/00
- H01L2924/013—Alloys
- H01L2924/0132—Binary Alloys
- H01L2924/01322—Eutectic Alloys, i.e. obtained by a liquid transforming into two solid phases
-
- H—ELECTRICITY
- H01—ELECTRIC ELEMENTS
- H01L—SEMICONDUCTOR DEVICES NOT COVERED BY CLASS H10
- H01L2924/00—Indexing scheme for arrangements or methods for connecting or disconnecting semiconductor or solid-state bodies as covered by H01L24/00
- H01L2924/10—Details of semiconductor or other solid state devices to be connected
- H01L2924/102—Material of the semiconductor or solid state bodies
- H01L2924/1025—Semiconducting materials
- H01L2924/10251—Elemental semiconductors, i.e. Group IV
- H01L2924/10253—Silicon [Si]
-
- H—ELECTRICITY
- H01—ELECTRIC ELEMENTS
- H01L—SEMICONDUCTOR DEVICES NOT COVERED BY CLASS H10
- H01L2924/00—Indexing scheme for arrangements or methods for connecting or disconnecting semiconductor or solid-state bodies as covered by H01L24/00
- H01L2924/15—Details of package parts other than the semiconductor or other solid state devices to be connected
- H01L2924/181—Encapsulation
-
- H—ELECTRICITY
- H01—ELECTRIC ELEMENTS
- H01L—SEMICONDUCTOR DEVICES NOT COVERED BY CLASS H10
- H01L2924/00—Indexing scheme for arrangements or methods for connecting or disconnecting semiconductor or solid-state bodies as covered by H01L24/00
- H01L2924/19—Details of hybrid assemblies other than the semiconductor or other solid state devices to be connected
- H01L2924/191—Disposition
- H01L2924/19101—Disposition of discrete passive components
- H01L2924/19107—Disposition of discrete passive components off-chip wires
-
- H—ELECTRICITY
- H10—SEMICONDUCTOR DEVICES; ELECTRIC SOLID-STATE DEVICES NOT OTHERWISE PROVIDED FOR
- H10H—INORGANIC LIGHT-EMITTING SEMICONDUCTOR DEVICES HAVING POTENTIAL BARRIERS
- H10H20/00—Individual inorganic light-emitting semiconductor devices having potential barriers, e.g. light-emitting diodes [LED]
- H10H20/80—Constructional details
- H10H20/85—Packages
- H10H20/857—Interconnections, e.g. lead-frames, bond wires or solder balls
Definitions
- the present invention relates to a metal substrate for mounting a semiconductor chip serving as a light source, particularly a light-emitting diode chip (hereinafter also referred to as “LED chip”), and a light source device using the metal substrate.
- the present invention relates to a metal substrate that can be fixed and can efficiently dissipate heat generated by an LED chip.
- LEDs light-emitting diodes
- a light source device using an LED chip there is a chip-type LED manufactured by mounting an LED chip on a printed wiring board manufactured from a white copper clad laminate and then sealing with a transparent silicone resin or epoxy resin.
- a type LED are solder-mounted on a mother wiring board of an electronic device.
- the insulating metal substrate has a structure in which a wiring substrate having a thermosetting resin layer filled with a heat radiation filler as an insulating layer is laminated on a metal plate. However, since the LED chip is mounted on the insulating resin layer, the heat dissipation characteristics are not sufficient.
- Patent Document 1 and Patent Document 2 propose a metal substrate in which a metal plate is exposed at an LED chip mounting site (bottom surface of a cavity).
- the LED chip can be directly mounted on a metal plate.
- a silver paste that is not necessarily good in thermal conductivity is used for joining the LED chip and the metal plate. This is because, since the LED chip mounting surface is an Al (aluminum) surface, solder having high thermal conductivity cannot be used as a bonding material.
- Patent Document 2 describes that surface treatment of Au (gold) plating or Ag (silver) plating is performed on the surface of an Al plate, and an LED chip is directly mounted thereon.
- the LED chip can be firmly fixed to the surface of the Au plating layer using solder.
- the surface of the Al plate can be Au plated by a dry process such as vapor deposition, a severe alloying reaction occurs even at room temperature at the interface between Al and Au, resulting in the formation of colored substances and the deterioration of physical properties. Arise. The generation of the coloring substance is not preferable for the light source device.
- the present invention has been made in order to solve the above-mentioned problems, and has the following gist.
- a metal substrate having a light source mounting surface for mounting a semiconductor chip serving as a light source, and is laminated on a part of the heat dissipating metal plate made of a metal other than Au.
- a white film made of insulating resin, and a light source mounting surface forming layer laminated on another part of the heat radiating metal plate, and the light source mounting surface forming layer is a metal in direct contact with the heat radiating metal plate
- a metal substrate is provided, wherein the light source mounting surface is a surface of an Au layer that is an outermost layer of the light source mounting surface forming layer.
- the average reflectance of the white film in the wavelength range of 400 nm to 800 nm is 70% or more.
- the reduction rate of the reflectance at a wavelength of 470 nm after heat treatment of the white film at 260 ° C. for 5 minutes is 10% or less.
- the white film may have MD (film flow direction) and TD (direction orthogonal to the flow direction).
- MD film flow direction
- TD direction orthogonal to the flow direction.
- the linear expansion coefficient of MD and TD is 35 ⁇ 10 ⁇ 6 / ° C. or less.
- the white film has a through hole, and the light source mounting surface forming layer is formed at the position of the through hole.
- the light source mounting surface forming layer includes a Ni layer immediately below the outermost Au layer.
- the white film has a plurality of through holes, and the light source mounting surface forming layer is formed at each position of the plurality of through holes.
- a light source device including a semiconductor chip serving as a light source and a metal substrate having a light source mounting surface for mounting the semiconductor chip, the semiconductor chip being mounted on the light source mounting surface.
- the metal substrate is a heat radiating metal plate made of a metal other than Au, a white film made of insulating resin laminated on a part of the heat radiating metal plate, and another part of the heat radiating metal plate.
- a light source mounting surface forming layer wherein the light source mounting surface forming layer is a metal layer in direct contact with the heat radiating metal plate, and the light source mounting surface is an outermost layer of the light source mounting surface forming layer.
- a light source device characterized in that it is an upper surface of a layer.
- the semiconductor chip may be a vertical electrode type LED chip or a horizontal electrode type LED chip having a conductive substrate.
- the semiconductor chip is It is fixed on a submount fixed on the light source mounting surface.
- the submount preferably includes a ceramic plate and a metallization layer formed on each main surface thereof.
- a light source device includes a phosphor that absorbs primary light emitted from the semiconductor chip and emits secondary light having a wavelength different from the wavelength of the primary light. Also good.
- the phosphor is disposed at a position away from the semiconductor chip and the light source mounting surface with a gap therebetween.
- the semiconductor chip serving as the light source is firmly attached to the light source mounting surface using a metal bonding material (for example, AuSn eutectic solder). It is possible to join.
- a metal bonding material for example, AuSn eutectic solder. It is possible to join.
- the heat generated in the semiconductor chip thus mounted is efficiently dissipated through the heat dissipation metal substrate. Therefore, this metal substrate can be preferably used for a high-output light source device.
- the generated heat is efficiently dissipated through the metal substrate, an increase in the surface temperature of the semiconductor chip is suppressed, so that a decrease in light emission efficiency or a decrease in lifetime is suppressed. It will be.
- FIG. 1 is a cross-sectional view of a metal substrate according to the first embodiment of the present invention.
- 2A to 2D are process cross-sectional views for explaining a metal substrate manufacturing process according to the first embodiment of the present invention.
- FIG. 3 is a cross-sectional view of a light source device using a metal substrate according to the first embodiment of the present invention.
- FIG. 4 is a cross-sectional view of a light source device using a metal substrate according to the first embodiment of the present invention.
- FIG. 5 is a cross-sectional view showing a preferred structure of the submount.
- FIG. 6 is a cross-sectional view of a light source device using a metal substrate according to the first embodiment of the present invention.
- FIG. 1 is a cross-sectional view of a metal substrate according to the first embodiment of the present invention.
- 2A to 2D are process cross-sectional views for explaining a metal substrate manufacturing process according to the first embodiment of the present invention.
- FIG. 3 is a cross-section
- FIG. 7 is a cross-sectional view of a metal substrate according to the second embodiment of the present invention.
- 8A to 8D are process cross-sectional views for explaining a metal substrate manufacturing process according to the second embodiment of the present invention.
- FIG. 9 is a cross-sectional view of a light source device using a metal substrate according to the second embodiment of the present invention.
- FIG. 10 is a cross-sectional view of a metal substrate according to the third embodiment of the present invention.
- FIGS. 11A to 11D are process cross-sectional views for explaining a metal substrate manufacturing process according to the third embodiment of the present invention.
- FIG. 12 is a cross-sectional view of a light source device using a metal substrate according to the third embodiment of the present invention.
- FIG. 13 is a cross-sectional view of a metal substrate according to a preferred embodiment of the present invention.
- FIG. 14 is a cross-sectional view of a metal substrate according to a preferred embodiment of the present invention.
- FIG. 15 is a cross-sectional view of a metal substrate according to a preferred embodiment of the present invention.
- FIG. 16 is a cross-sectional view of a metal substrate according to a preferred embodiment of the present invention.
- FIG. 17 is a cross-sectional view of a light source device using a metal substrate according to the first embodiment of the present invention.
- FIG. 18 is a cross-sectional view of a white light source device using a metal substrate according to the first embodiment of the present invention.
- FIG. 19 is a cross-sectional view of a white light source device using a metal substrate according to the first embodiment of the present invention.
- FIG. 20 is a graph showing the input power dependence of the total radiant flux of the light source devices of Example 2 and Comparative Example 2 (no phosphor dome).
- FIG. 21 is a graph showing the input power dependence of the total radiant flux normalized by the total area of the LED chips of the light source devices of Example 2 and Comparative Example 2 (without phosphor dome).
- FIG. 22 is a graph showing the dependence of the efficiency (total radiant flux per input power) of the light source device (without the phosphor dome) of Example 2 and Comparative Example 2 on the input power.
- FIG. 20 is a graph showing the input power dependence of the total radiant flux of the light source devices of Example 2 and Comparative Example 2 (no phosphor dome).
- FIG. 21 is a graph showing the input power dependence of the total radiant flux normalized by the total area of the LED chips of the light source devices of Example 2 and Comparative Example 2
- FIG. 23 is a graph showing the dependence of the efficiency (total radiant flux per input power) on the input power of the light source devices of Example 2 and Comparative Example 2 (without the phosphor dome) normalized by the total area of the LED chip. It is.
- FIG. 24 is a graph showing the input power dependence of the emission peak wavelength of the light source devices (without the phosphor dome) of Example 2 and Comparative Example 2.
- FIG. 25 is a graph showing the measurement results of the surface temperature of the LED chip when the input power is 11 W in the light source devices of Example 2 and Comparative Example 2 (no phosphor dome).
- FIG. 26 is a graph showing the dependence of the total luminous flux on the input power of the white light source device (with the phosphor dome) of Example 2 and Comparative Example 2.
- FIG. 24 is a graph showing the input power dependence of the emission peak wavelength of the light source devices (without the phosphor dome) of Example 2 and Comparative Example 2.
- FIG. 25 is a graph showing the measurement results of the surface temperature of the LED
- FIG. 27 is a graph showing the dependence of the total luminous flux input power on the white light source device (with phosphor dome) of Example 2 and Comparative Example 2 normalized by the total area of the LED chip.
- FIG. 28 is a graph showing dependency of the efficiency (total luminous flux per input power) of the white light source device (with the phosphor dome) of Example 2 and Comparative Example 2 on input power.
- FIG. 29 is a graph showing the dependence of the efficiency (total luminous flux per input power) on the input power dependence of the white light source device of Example 2 and Comparative Example 2 (with a phosphor dome) normalized by the total area of the LED chip. It is.
- FIG. 28 is a graph showing dependency of the efficiency (total luminous flux per input power) of the white light source device (with the phosphor dome) of Example 2 and Comparative Example 2 normalized by the total area of the LED chip.
- FIG. 30 is a graph showing the energization time dependency of the total luminous flux in the white light source device (with the phosphor dome) of Example 2 and Comparative Example 2 when the input power is 11 W.
- FIG. 31 is a graph showing the energization time dependency of the total luminous flux normalized by the total area of the LED chip when the input power is 11 W in the white light source device of Example 2 and Comparative Example 2 (with a phosphor dome). is there.
- FIG. 32 is a graph showing the dependence of the surface temperature of the fluorescent dome on the energization time of the white light source device (with the phosphor dome) of Example 2 and Comparative Example 2 when the input power is 11 W.
- FIG. 31 is a graph showing the energization time dependency of the total luminous flux normalized by the total area of the LED chip when the input power is 11 W in the white light source device of Example 2 and Comparative Example 2 (with a phosphor dome). is there.
- FIG. 32 is a graph showing
- FIG. 33 is a graph showing the dependence of the substrate temperature on the energization time when the input power is 11 W in the white light source device (with the phosphor dome) of Example 2 and Comparative Example 2.
- FIG. 34 is a graph showing the input power dependence of Ra (average color rendering index) of the white light source device (with phosphor dome) of Example 2 and Comparative Example 2.
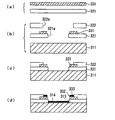
- the metal substrate 100 has an Al plate 111 having a Ni layer 112 laminated on the entire surface of one side as a heat radiating metal plate.
- a white film 120 made of an insulating resin is laminated on a part of the Ni layer 112.
- a wiring pattern made of Cu foil 131 is formed on the white film 120.
- a Ni layer 132 and an Au layer 133 are laminated in this order.
- the white film 120 has a through hole 120 a in a part thereof, and an Au layer 114 is laminated on the Ni layer 112 exposed at the position of the through hole via the Ni layer 113.
- the surface of the Au layer 114 is a light source mounting surface.
- a manufacturing process of the metal substrate 100 will be described with reference to FIGS. First, as shown to Fig.2 (a), Cu foil 131 is laminated
- the Cu foil 131 is etched to form a wiring pattern, and a part of the white film 120 is punched using a punching die such as a big die to form a through hole 120a. To do.
- a Ni layer 112 is previously laminated on the entire surface of one side as a heat dissipation metal plate on the surface of the white film 120 opposite to the surface on which the wiring pattern (Cu foil 131) is formed.
- the laminated Al plate 111 is laminated by a vacuum press.
- the thickness of the Al plate 111 can be set to 0.1 mm to 5 mm, for example. In practice, the Al plate 111 having a thickness that provides the required strength is selected in consideration of the size of the metal substrate 100 to be manufactured.
- the Ni layer 112 is formed by an electroless plating process.
- the surface of the Al plate 111 is etched with an alkali or the like, and further subjected to an acid treatment with nitric acid or the like, followed by zinc substitution with an alkaline zinc substitution solution.
- the thickness of the Ni layer 112 can be 0.1 ⁇ m to 10 ⁇ m.
- the Ni layer 112 can also be formed by a dry method such as a vacuum evaporation method or a sputtering method, in which case the zinc replacement treatment is not necessary.
- the wet plating process is more suitable for mass production than the dry process because a large number of Al plates 111 can be processed at once.
- a Ni layer 113 and an Au layer 114 are formed in this order on the surface of the Ni layer 112 exposed through the through-hole 120a of the white film by using an electroless plating technique.
- the Ni layer 132 and the Au layer 133 are also formed on the surface of the Cu foil 131 constituting the wiring pattern.
- the thickness of the Ni layer 132 formed in this step is preferably 2 ⁇ m to 8 ⁇ m.
- the thickness of the Au layer can be 0.01 ⁇ m to 10 ⁇ m, but is preferably 0.1 ⁇ m or more in order to improve the wire bonding property of the Au layer 133 formed on the Cu foil 131.
- the thickness of the Au layer formed in this step is preferably 2 ⁇ m or less, more preferably 1 ⁇ m or less.
- the metal substrate 100 does not have a portion where the white film 120 is laminated on the Au layer 114, and the entire lower surface thereof is in contact with the Ni layer 112. Therefore, the white film 120 hardly peels off. Moreover, since the Au layer is formed only in the area where the LED chip is mounted except on the wiring pattern, the amount of expensive Au used is reduced.
- the use of Au in a light source device that includes a short-wavelength visible light component in the output light reduces luminous efficiency. There is a case to let you.
- the use of Au is limited to the light source mounting surface, and further, the surface of the metal plate other than the light source mounting surface is covered with the white film 120, so We are trying to improve.
- the Ni plating process is performed twice on the Al plate 111 before the Au layer 114 is formed, there are two Ni layers 112 and 113 between the Al plate 111 and the Au layer 114. It is separated. Therefore, harmful alloying reaction that occurs when Al and Au come into contact with each other is reliably prevented.
- FIG. 3 shows a cross-sectional view of a light source device configured using the metal substrate 100.
- the LED chip 10 is fixed to the surface of the Au layer 114 serving as a light source mounting surface by using a brazing material (not shown) such as Au—Sn solder, and a wiring pattern (Cu foil 131) is further formed by bonding wires 20. ) To obtain. Since the light source mounting surface is made of Au having good solder wettability, the LED chip 10 and the light source mounting surface are firmly coupled.
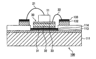
- the submount When mounting the LED chip on the metal substrate 100, it is also possible to use a submount as shown in FIG.
- the use of the submount is particularly effective when a vertical electrode type LED chip having a semiconductor light emitting element structure formed on a conductive substrate made of a semiconductor or metal is mounted.
- a submant having a very simple structure as shown in FIG. 5 can be preferably used.
- the submount 30 shown in FIG. 5 has metallized layers 32 and 33 on main surfaces 31a and 31b of a ceramic plate 31 made of AlN, alumina, or the like.
- the thickness of the ceramic plate 31 is preferably 0.1 mm to 0.5 mm, and the thickness of the metallized layers 32 and 33 is preferably 0.1 ⁇ m to 10 ⁇ m.
- the outermost layer is formed of a metal having good solder wettability. Further, it is desirable that at least one of the metallized layers 32 and 33 is made of a metal excellent in both solder wettability and wire bonding property, for example, Au, and the outermost layer is formed.
- a preferable metallized layer whose outermost layer is an Au layer is, for example, a multilayer film having a laminated structure of Ti / Pt / Au, Ti / Ni / Au, Cr / Au, Ti / Au, etc. in order from the side in contact with the ceramic plate. is there.
- the thickness of the Au layer is preferably 0.1 ⁇ m or more, more preferably 0.3 ⁇ m or more, and particularly preferably 0.5 ⁇ m or more. Since forming a thick Au layer causes an increase in cost, the thickness of the Au layer is preferably 2 ⁇ m or less, more preferably 1 ⁇ m or less.
- FIG. 6 shows a cross-sectional view of a light source device in which the vertical electrode type LED chip 11 having a conductive substrate is mounted on the metal substrate 100 using the submount 30 described above.
- solder (not shown) is provided between the Au layer 114 providing the light source mounting surface and the submount 30 (metallized layer 32), and between the submount 30 (metalized layer 33) and the LED chip 11. Connected).
- the electrode on the upper surface side of the LED chip 11 is connected to one wiring pattern by a bonding wire 21.
- the electrode on the lower surface side of the LED chip 11 is connected to the other wiring pattern via the metallized layer 33 and the bonding wire 22.
- the Al substrate 111 and the LED chip 11 are insulated by a ceramic plate 31 included in the submount 30.
- the vertical electrode type LED chip 11 is disclosed in, for example, US Patent Publication No. 2006/0154389, an LED chip having a metal substrate as a support substrate in the chip, and disclosed in Japanese Patent Application Laid-Open No. 2006-179511.
- a horizontal electrode type LED chip using a conductive substrate and taking out light from the chip surface on the side where the positive and negative electrodes are provided is mounted on the metal substrate 100, the above-mentioned sub The mount 30 can be preferably used.
- Such an LED chip is described in, for example, International Publication No.
- the ceramic substrate 31 insulates the conductive substrate of the LED chip from the heat-dissipating metal plate of the metal substrate, so that leakage can be prevented and a plurality of LED chips can be mounted on one metal substrate. In the case of mounting, the degree of freedom of interchip wiring is increased.
- FIG. 7 shows a cross-sectional view of the metal substrate according to the second embodiment.
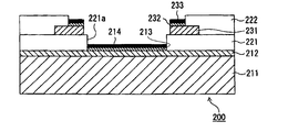
- the metal substrate 200 has an Al plate 211 having a Ni layer 212 laminated on the entire surface of one side as a heat radiating metal plate. A part of the Ni layer 212 is laminated with a first white film 221 made of an insulating resin. On the first white film 221, a wiring pattern made of Cu foil 231 is formed, and a second white film 222 made of an insulating resin is laminated so as to expose a part of the wiring pattern. .
- a Ni layer 232 and an Au layer 233 are laminated in this order on the surface exposed to a part of the Cu foil 231.
- the first white film 221 and the second white film 222 respectively have through holes 221a and 222a in a part thereof, and the Ni layer 213 is formed on the Ni layer 212 exposed at the positions of these through holes.
- the Au layer 214 is laminated via The surface of the Au layer 214 is a light source mounting surface.
- a manufacturing process of the metal substrate 200 will be described with reference to FIGS. First, as shown to Fig.8 (a), Cu foil 231 is laminated
- the Cu foil 231 is etched to form a wiring pattern, and a part of the first white film 221 is punched out using a big die, so that the first through hole 221a is formed.
- a second white film 222 made of the same insulating resin material as the first white film 221 is prepared.
- a second through hole 222a is formed by punching using a big die.
- the second white film 222 serves as a protective layer for protecting the wiring pattern (Cu foil 231) formed on the first white film 221.
- the through hole 222a (50) of the second white film 222 is part of the wiring pattern made of the Cu foil 231 so that the through hole 221a of the first white film 221 is accommodated inside the through hole 222a (50).
- the shape and size are set so that (the part forming the wire bonding terminal) is exposed.
- Ni layer 212 was previously laminated
- the Al plate 211 is laminated by a vacuum press. In this vacuum pressing step, the second white film 222 is laminated on the first white film 221 at the same time.
- an electroless plating technique is used on the surface of the Ni layer 212 exposed through the through hole 221a of the first white film 221 and the through hole 222a of the second white film 222. Then, the Ni layer 213 and the Au layer 214 are formed in this order. At the same time, the Ni layer 232 and the Au layer 233 are also formed on the partially exposed surface of the wiring pattern (Cu foil 231).
- the preferable thicknesses of the Al plate, Ni layer, and Au layer in the metal substrate 200 refer to the preferable thicknesses of the corresponding structures in the metal substrate 100 according to the first embodiment.
- FIG. 9 shows a cross-sectional view of a light source device configured using the metal substrate 200.
- the LED chip 10 is fixed to the surface of the Au layer 214 as a light source mounting surface by using a brazing material (not shown) such as Au—Sn solder, and further connected to the wiring pattern by the bonding wires 20. Is obtained. Since the light source mounting surface is made of Au with good solder wettability, the LED chip and the light source mounting surface are strongly bonded.
- the above-described submount 30 can be preferably used.
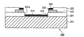
- FIG. 3 A cross-sectional view of a metal substrate according to the third embodiment is shown in FIG.
- the metal substrate 300 has a Cu plate 311 as a heat radiating metal plate.
- a first white film 321 made of an insulating resin is laminated on a part of the Cu plate 311.
- a wiring pattern made of Cu foil 331 is formed on the first white film 321 and a second white film 322 made of an insulating resin is exposed so that a part of the wiring pattern (Cu foil 331) is exposed.
- a Ni layer 332 and an Au layer 333 are laminated in this order.
- the first white film 321 and the second white film 322 each have through holes 321a and 322a in a part thereof, and a Ni layer 313 is formed on the surface of the Cu plate 311 exposed at the positions of these through holes.
- An Au layer 314 is laminated via The surface of the Au layer 314 is a light source mounting surface.
- a manufacturing process of the metal substrate 300 will be described with reference to FIGS. First, as shown to Fig.11 (a), Cu foil 331 is laminated
- the Cu foil 331 is etched to form a wiring pattern, and a part of the first white film is punched out using a big die, and the first through hole 321a is formed.
- a second white film 322 made of the same insulating resin material as the first white film 321 is prepared.
- a second through hole 322a is formed by punching using a big die.
- the second white film 322 serves as a protective layer for protecting the wiring pattern (Cu foil 331) formed on the first white film 321.
- the through hole 322a of the second white film 322 is formed so that the through hole 321a of the first white film is accommodated inside thereof, and a part of the wiring pattern (Cu foil 331) (wire bonding terminal) The shape and size are set so that the portion that forms) is exposed.
- a Cu plate 311 is laminated on the surface of the first white film 321 opposite to the surface on which the wiring pattern (Cu foil 331) is formed by a vacuum press.
- the second white film 322 is also laminated on the first white film 321 at the same time.
- the surface of the Cu plate 311 exposed through the through hole 321a of the first white film and the through hole 322a of the second white film is subjected to Ni using an electroless plating technique.
- a layer 313 and an Au layer 314 are formed in this order.
- the Ni layer 332 and the Au layer 333 are also formed on the partially exposed surface of the wiring pattern (Cu foil 331).
- the Ni layer 313 functions as a barrier layer that prevents Cu from diffusing from the Cu plate 311 to the Au layer 314.
- the diffusion of Cu reduces the solder wettability of the Au layer surface.
- the preferable thicknesses of the Cu plate, the Ni layer, and the Au layer in the metal substrate 300 refer to the preferable thicknesses of the corresponding structures in the metal substrate 100 according to the first embodiment.
- the first white film 321 does not have a portion laminated on the Au layer 314, and the entire lower surface thereof is in contact with the Cu plate 311, so that the first white film 321 is peeled off. hard.
- the first white film 321 can be laminated on the Ni layer after the Ni layer is laminated on the entire surface of the Cu plate 311 on which the light source mounting surface is formed.
- FIG. 12 is a cross-sectional view of a light source device configured using a metal substrate 300 according to the third embodiment.
- the LED chip 10 is fixed to the surface of the Au layer 314 as a light source mounting surface using a brazing material (not shown) such as Au—Sn solder, and further connected to the wiring pattern by the bonding wires 20. Is obtained. Since the light source mounting surface is made of Au with good solder wettability, the LED chip and the light source mounting surface are strongly bonded.
- the LED chip includes a conductive substrate, and the LED chip is fixed so that the conductive substrate faces the light source mounting surface, the above-described submount 30 may be used.
- the wiring board made of the white film and the patterned Cu foil can have a multilayer structure (multilayer wiring board) as necessary.
- the method of forming a through-hole in a white film is not limited to the method using the above-mentioned big type, and for example, a method using laser processing or router processing may be used.
- FIGS. 2, 8 and 11 used to describe the manufacturing process of the metal substrate according to each of the above embodiments, only one metal substrate is drawn, but this is for convenience only.
- a method in which a large number of metal substrates are collectively formed using a large-area heat-dissipating metal plate and then cut is suitable.
- the LED chip that can be mounted on the metal substrate according to each of the above embodiments is not limited, and a red LED chip using an AlGaAs semiconductor, a yellow LED chip using an AlGaInP semiconductor, and a green LED using a GaP semiconductor.
- Various LED chips such as a chip, a green to blue LED chip using a ZnSe semiconductor, a green to ultraviolet LED chip using an AlGaInN semiconductor, and a blue to ultraviolet LED chip using a ZnO semiconductor can be mounted.
- the size of the light source mounting surface can be appropriately set according to the size and number of LED chips to be mounted.
- a preferable bonding material used for bonding the light source mounting surface and the LED chip is solder (brazing material).
- the surface of the LED chip can also be metallized as necessary so that the bonding by solder is performed firmly.
- the LED chip fixed on the light source mounting surface can be sealed with a transparent resin or glass.
- a known technique may be referred to for a preferable sealing material, one of the most preferable sealing materials is a silicone resin. The reason is that it is excellent in transparency and light resistance in the visible wavelength region.
- the molding method of the sealing material and a method usually used in the field such as potting molding and molding can be arbitrarily used.
- Each of the metal substrates according to the above embodiments has a cavity on the light source mounting surface side. That is, it is a cavity having the surface of the through hole provided in the white film as a side wall and the light source mounting surface as a bottom surface. The depth of the cavity can be adjusted by changing the thickness of the white film.
- the side wall of the cavity is such that the light emitted from the LED chip fixed on the light source mounting surface is reflected by the side wall of the cavity and guided in the opening direction of the cavity. Can be tilted.
- the cross-sectional area may be changed in the film thickness direction of the film.
- a cross-sectional area here is an area of a cross section formed by cutting through-holes in a plane orthogonal to the thickness direction of the white film.
- the heat radiating metal plate as the base material is superior in rigidity, thermal stability, etc. compared to the resin plate, and unlike the ceramic plate, it has a property that is difficult to break. It is also possible to form a large area so as to exceed. In the case of increasing the area, it is preferable to provide a plurality of the cavities as in the metal substrate 500 shown in FIG.
- the feature of the metal substrate of the present invention that the white film is difficult to peel from the heat-dissipating metal plate is advantageous for manufacturing a large-area product.
- the metal substrate according to the present invention may include a cavity formed by processing a heat radiating metal plate.
- FIG. 15 is a cross-sectional view showing an example of such a metal substrate.
- the metal substrate 600 includes an Al plate 611 having a Ni layer 612 laminated on the entire surface of one side as a heat radiating metal plate.
- the heat radiating metal plate is formed with a protruding portion protruding to the Ni layer 612 side by pressing.
- the convex portion has a ring shape in plan view.
- the through hole formed in the white film 620 is formed in a circular shape having a diameter larger than the outer diameter of the ring-shaped convex portion.
- the Ni layer 613 and the Au layer 614 formed by the electroless plating method also cover the surface of the ring-shaped convex portion.
- the inside of the ring-shaped convex portion protruding into the light source mounting surface is a cavity.
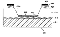
- FIG. 16 is a cross-sectional view showing another example of a metal substrate having a cavity formed by processing a heat radiating metal plate.
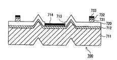
- the metal substrate 700 includes an Al substrate 711 having a Ni layer 712 laminated on the entire surface of one side as a heat radiating metal plate.
- the heat radiating metal plate is formed with a protruding portion protruding to the Ni layer 712 side by pressing.
- the convex portion has a ring shape in plan view.
- the white film 720 is formed with a through-hole having a size that fits inside the ring-shaped convex portion.
- the Ni layer 713 and the Au layer 714 are formed by electroless plating, whereby the light source mounting surface (Au layer 714) is formed inside the ring-shaped convex portion (in the cavity). Surface). Since the surface of the ring-shaped convex part is covered with the white film 720, it has high light reflectivity.
- Y 2 SiO 5 : Ce, Tb means “Y 2 SiO 5 : Ce”, “Y 2 SiO 5 : Tb”, and “Y 2 SiO 5 : Ce, Tb”.
- (La, Y) 2 O 2 S: Eu” means “La 2 O 2 S: Eu”, “La x Y 2 ⁇ x O 2 S: Eu” (0 ⁇ x ⁇ 2) ”and a general term including“ Y 2 O 2 S: Eu ”.
- the light source device whose sectional view is shown in FIG.
- This light source device can be a white light source device by dispersing a yellow phosphor such as YAG: Ce in the resin mold M. Further, when a red phosphor such as (Mg, Ca, Sr, Ba) AlSiN 3 : Eu is used in addition to the yellow phosphor, a white light source device having a lower color temperature can be obtained.
- a part or all of the yellow phosphor is replaced with (Ba, Ca, Sr, Mg) 2 SiO 4 : Eu, Eu-activated ⁇ sialon, (Ba, Sr, Ca). It may be replaced with a green phosphor such as 3 Si 6 O 12 N 2 : Eu.
- the phosphor can be applied to the surface of the blue LED chip 10 using a silicone resin as a binder.
- the phosphor dome RD is formed by forming a translucent composition in which a phosphor is dispersed in a transparent resin into a dome shape.
- the phosphor added to the phosphor dome is the same as the phosphor dispersed in the resin mold in the above example.
- the phosphor sheet RS is obtained by forming a translucent composition in which a phosphor is dispersed in a transparent resin into a sheet shape.
- the phosphor added to the phosphor sheet RS is the same as the phosphor dispersed in the resin mold in the above example.
- the phosphor dome or the phosphor sheet is disposed at a position spatially separated from the blue LED chip. That is, since the phosphor is disposed at a position spatially separated from the light source mounting surface of the metal substrate and the LED chip with the gap interposed therebetween, the heat insulating effect by the gap causes the phosphor generated by heat generated in the LED chip. Temperature rise is suppressed. As a result, a decrease in efficiency and deterioration of the phosphor due to heat are suppressed. Furthermore, in the example of FIG. 18 in which the phosphor-containing layer is formed in a dome shape, the energy density of excitation light received by the phosphor is lower than in the example of FIG.
- blue phosphor examples include BaMgAl 10 O 17 : Eu, (Sr, Ba, Ca) 5 (PO 4 ) 3 Cl: Eu, and the like.
- Examples include O 12 : Ce, CaSc 2 O 4 : Ce, BaMgAl 10 O 17 : Eu, Mn, and the like.
- yellow phosphors examples include phosphors activated with Ce, such as YAG: Ce, TAG: Ce, La 3 Si 6 N 11 : Ce, and SiAlON type oxynitride fluorescence activated with Eu.
- the body Ca x (Si, Al) 12 (O, N) 16 : Eu or the like can also be used.
- the white film made of insulating resin used in the metal substrate according to each of the above embodiments is composed of a resin composition obtained by mixing a white pigment with a thermoplastic resin or a thermosetting resin as a base resin. .
- a white film when a white film is used as an insulating plate of a wiring board, especially when a wire bonding terminal is formed on the wiring pattern, wire bonding is possible.
- the white film needs to be hard.
- examples of the thermosetting resin include a phenol resin, an epoxy resin, and a polyimide resin.
- a thermoplastic resin the high heat resistant thermoplastic resin mentioned later is mentioned.
- thermosetting resin-based white film is obtained by applying an uncured white resin composition to the surface of the heat radiating metal plate instead of laminating a pre-formed film on the heat radiating metal plate. It can also be formed by a method of heat curing.
- thermoplastic resin material suitable for a white film that also functions as an insulating plate of a wiring board for example, polyether ether ketone (PEEK), polyether ketone (PEK), polyphenylene sulfide (PPS), polyether sulfone (PES) ), Polyphenylene ether (PPE), polyamideimide (PAI), polyetherimide (PEI), polyphenylsulfone (PPSU), and liquid crystal polymer (LCP).
- PEEK polyether ether ketone
- PEK polyether ketone
- PPS polyphenylene sulfide
- PES polyether sulfone
- PPE polyamideimide
- PAI polyetherimide
- PESU polyphenylsulfone
- LCP liquid crystal polymer
- any one or more selected from liquid crystal polymers any one or more selected from a crystalline thermoplastic resin having a crystal melting peak temperature (Tm) of 260 ° C. or higher and an amorphous thermoplastic resin having a glass transition temperature (Tg) of 260 ° C. or higher is selected. It is more preferable to use it.
- Tm crystal melting peak temperature
- Tg glass transition temperature
- the reflow temperature becomes as high as 300 ° C. or higher, so a crystalline thermoplastic resin having a crystal melting peak temperature of 300 ° C. or higher, and a glass transition temperature of 300 ° C. It is more preferable to use at least one selected from the above amorphous thermoplastic resins and liquid crystal polymers having a liquid crystal transition temperature of 300 ° C. or higher. Crystalline thermoplastic resins having a crystal melting peak temperature of 260 ° C.
- PAI polyamideimide
- the above exemplified crystalline thermoplastic resins may be used singly or as a mixed resin composition in which a plurality of types are mixed. Further, this crystalline thermoplastic resin may be used as a mixed resin composition in which an amorphous thermoplastic resin such as polyetherimide (PEI) is mixed.
- PEI polyetherimide
- a resin composition comprising a crystalline polyaryl ketone resin (A) having a crystal melting peak temperature of 260 ° C. or higher and 80 to 20% by weight and an amorphous polyetherimide resin (B) of 20 to 80% by weight.
- the white film used for the base resin has excellent adhesion between the films, as well as adhesion to the metal plate and metal foil, as well as necessary for manufacturing a substrate with a wiring pattern protection layer or a multilayer wiring substrate.
- Pb-free solder has excellent heat resistance and hardly discolors even in the reflow process.
- the resin composition comprising the crystalline polyaryl ketone resin (A) and the amorphous polyetherimide resin (B) preferably has a polyaryl ketone resin (A) content of from the viewpoint of increasing heat resistance. Is 20% by weight or more, more preferably 30% by weight or more, and still more preferably 40% by weight or more.
- the content of the polyaryl ketone resin (A) in this resin composition is preferably 80% by weight or less, more preferably 75% by weight or less, and still more preferably 70% by weight or less.
- the crystalline polyaryl ketone resin (A) is a thermoplastic resin having an aromatic nucleus bond, an ether bond and a ketone bond in its structural unit. Specific examples thereof include polyether ketone (glass transition temperature [hereinafter referred to as “Tg”]: 157 ° C., crystal melting peak temperature (hereinafter referred to as “Tm”]: 373 ° C.), polyether ether ketone (Tg: 143 C, Tm: 334 ° C.), polyether ether ketone ketone (Tg: 153 ° C., Tm: 370 ° C.), and the like. Among them, those having a Tm of 260 ° C. or higher, particularly 300 to 380 ° C. are preferable from the viewpoint of heat resistance.
- the crystalline polyaryl ketone resin (A) may contain a biphenyl structure, a sulfonyl group, or other repeating units as long as the effects of the present invention are not impaired
- polyaryl ketone resins mainly composed of polyether ether ketone having a repeating unit represented by the following structural formula (1).
- the main component means that the content exceeds 50% by weight.
- polyether ether ketones are trade names “PEEK151G” (Tg: 143 ° C., Tm: 334 ° C.), “PEEK381G” (Tg: 143 ° C., Tm: 334 ° C.), “PEEK450G” manufactured by VICTREX. (Tg: 143 ° C., Tm: 334 ° C.) and the like.
- Two or more types of polyaryl ketone resins corresponding to the polyaryl ketone resin (A) can also be used in combination.
- amorphous polyetherimide resin (B) examples include amorphous polyetherimide resins having a repeating unit represented by the following structural formula (2) or (3).
- An amorphous polyetherimide resin having a repeating unit represented by the structural formula (2) or (3) is 4,4 ′-[isopropylidenebis (p-phenyleneoxy)] diphthalic dianhydride and p- As a polycondensate with phenylenediamine or m-phenylenediamine, it can be produced by a known method.
- Commercially available products of these non-crystalline polyetherimide resins include “Ultem 1000” (Tg: 216 ° C.), “Ultem 1010” (Tg: 216 ° C.) or “Ultem CRS 5001” (Tg 226) manufactured by General Electric. ° C) and the like.
- an amorphous polyetherimide resin having a repeating unit represented by the structural formula (2) is particularly preferable.
- two or more types of polyetherimide resins corresponding to the polyetherimide resin (B) can be used in combination.
- the preferable thermoplastic resin material is used for forming a white film as a composition to which an inorganic filler is added.
- the inorganic filler include talc, mica, mica, glass flake, boron nitride (BN), calcium carbonate, aluminum hydroxide, silica, titanate (potassium titanate, etc.), barium sulfate, alumina, kaolin, clay , Titanium oxide, zinc oxide, zinc sulfide, lead titanate, zirconium oxide, antimony oxide, magnesium oxide and the like. These may be added singly or in combination of two or more.
- These inorganic fillers are preferably treated with a silane coupling agent on the surface in order to improve dispersibility.
- the white film preferably has an average reflectance of 70% or more at a wavelength of 400 to 800 nm by addition of the inorganic filler. Further, considering that a blue LED chip is generally used as an excitation light source of the white light source device, the white film preferably has a high reflectance near 470 nm corresponding to the emission wavelength of the blue LED chip. Specifically, the reflectance at 470 nm is preferably 70% or more, and more preferably 75% or more.
- a resin composition having a thermoplastic resin as a base resin can be formed into a film by, for example, an extrusion casting method using a T-die or a calendar method.
- the molding temperature in the extrusion casting method using a T die is appropriately adjusted depending on the flow characteristics or film formability of the composition, but is generally about the melting point or higher and 430 ° C. or lower.
- a crystallization treatment method for imparting heat resistance includes a method of crystallizing at the time of extrusion casting (cast crystallization method), a heat treatment roll or a hot air oven in a film forming line, etc. And a method of crystallizing by using a hot air furnace or a hot press outside the film forming line (outline crystallization method).
- the average of the linear expansion coefficients of the MD and TD is preferably not more than 35 ⁇ 10 ⁇ 6 / ° C.
- the linear expansion coefficient exceeds 35 ⁇ 10 ⁇ 6 / ° C., curling tends to occur when a metal foil for wiring patterns is laminated.
- the preferred range of linear expansion coefficient varies depending on the type of metal foil used or the wiring pattern formed on the surface, but is generally about 10 ⁇ 10 ⁇ 6 to 30 ⁇ 10 ⁇ 6 / ° C.
- the difference in linear expansion coefficient between MD and TD is preferably 20 ⁇ 10 ⁇ 6 / ° C. or less, more preferably 15 ⁇ 10 ⁇ 6 / ° C. or less, and even more preferably 10 ⁇ 10 ⁇ 6 / ° C. Most preferably: By reducing the anisotropy in this way, the problem of curling in the direction where the linear expansion coefficient is large is reduced.
- a resin composition comprising 80 to 20% by weight of the crystalline polyaryl ketone resin (A) having a crystal melting peak temperature of 260 ° C. or higher, with the balance being an amorphous polyetherimide resin (B),
- A crystalline polyaryl ketone resin
- B amorphous polyetherimide resin
- the filler 1 having an average particle size of 15 ⁇ m or less and an average aspect ratio (average particle size / average thickness) of 30 or more and a filler 2 having a large refractive index difference (generally a filler) 2 to 100 parts by weight of an inorganic filler containing at least a refractive index of 1.6).
- a filler 2 having a large refractive index difference (generally a filler) 2 to 100 parts by weight of an inorganic filler containing at least a refractive index of 1.6.
- the amount of the inorganic filler is less than 25 parts by weight, it becomes difficult to balance the reflectance and the linear expansion coefficient.
- the inorganic filler is poorly dispersible or breaks when the white film is formed. This causes a problem in formability.
- the filler 1 and the filler 2 having the physical property values specified above as the inorganic filler it has a good reflectance and at the same time has no anisotropy in the linear expansion coefficient. A white film excellent in
- Examples of the filler 1 having an average particle size of 15 ⁇ m or less and an average aspect ratio (average particle size / average thickness) of 30 or more are, for example, synthetic mica, natural mica (mascobite, phlogopite, sericite, szolite, etc.), fired.
- Examples thereof include inorganic scale-like (plate-like) fillers such as natural or synthetic mica, boehmite, talc, illite, kaolinite, montmorillonite, vermiculite, smectite, and plate-like alumina, and scale-like titanates.
- the said filler By using these fillers, the difference in the linear expansion coefficient between the MD (film flow direction) and TD (direction orthogonal to the flow direction) of the white film can be suppressed.
- scaly titanate is preferable because of its high refractive index.
- the said filler can be used individually or in combination of 2 or more types.
- the content of the filler 1 is preferably 10 parts by weight or more with respect to 100 parts by weight of the resin composition, more preferably 20 parts by weight or more, and most preferably 30 parts by weight or more. preferable.
- the filler 2 is an inorganic filler having a large refractive index difference from the resin. That is, the inorganic filler has a large refractive index.
- the inorganic filler has a large refractive index.
- calcium carbonate, barium sulfate, zinc oxide, titanium oxide, titanate, or the like having a refractive index of 1.6 or more is preferably used, and titanium oxide is particularly preferably used.
- Titanium oxide has a significantly higher refractive index (approximately 2.50 or more) than other inorganic fillers, and can increase the difference in refractive index from the base resin. Therefore, when other fillers are used Therefore, excellent reflectivity can be obtained with a smaller amount. Even if the film thickness is reduced, a white film having high reflectivity can be obtained.
- the titanium oxide is preferably a crystalline type such as anatase type or rutile type, and among them, rutile type titanium oxide is preferable because of a large difference in refractive index from the base resin.
- rutile type titanium oxide is preferable because of a large difference in refractive index from the base resin.
- the titanium oxide manufactured by the chlorine method is preferable from the point of whiteness.
- the inert inorganic oxide include silica, alumina, and zirconia.
- titanium oxide whose surface is treated with a silane coupling agent in order to enhance dispersibility.
- the particle size of titanium oxide is preferably 0.1 ⁇ m or more, more preferably 0.2 ⁇ m or more. Moreover, it is preferable that it is 1.0 micrometer or less, More preferably, it is 0.5 micrometer or less.
- the content of titanium oxide is preferably 15 parts by weight or more with respect to 100 parts by weight of the base resin composed of the crystalline polyaryl ketone resin (A) and the amorphous polyetherimide resin (B).
- the amount is more preferably 20 parts by weight or more, and most preferably 25 parts by weight or more.
- Additives having various purposes such as heat stabilizers, ultraviolet absorbers, light stabilizers, nucleating agents, colorants, lubricants, flame retardants, etc., to the extent that the properties of the resin composition constituting the white film are not impaired. May be appropriately blended.
- a well-known method can be used.
- a masterbatch in which various additives are mixed with an appropriate base resin at a high concentration (typically 10 to 60% by weight) is prepared, and a base is used.
- a method of adjusting the concentration to the resin and mixing it is preferable from the viewpoint of the dispersibility of the additive and the workability during the production.
- the white film preferably has a reflectance reduction rate at a wavelength of 470 nm after heat treatment at 200 ° C. for 4 hours of 10% or less, and in particular, the reflectance reduction rate at a wavelength of 470 nm after heat treatment at 260 ° C. for 5 minutes. Is preferably 10% or less.
- the manufacturing process of the light source device using the metal substrate according to the present invention includes a thermosetting process (100 to 200 ° C., several hours) of a sealing agent such as an epoxy resin and a silicone resin, and a soldering process (Pb This is because there is a high possibility that free solder reflow, a peak temperature of 260 ° C., and a few minutes) will be included.
- the reduction rate of reflectance at a wavelength of 470 nm under the above heating test conditions is 10% or less, the reflectance of the white film resulting from these steps And a decrease in efficiency of the light source device due to this can be suppressed. Moreover, it becomes possible to suppress the reflectance fall of the white film resulting from the heat_generation
- the reduction rate of the reflectance at a wavelength of 470 nm under the above heating test conditions is more preferably 5% or less, further preferably 3% or less, and particularly preferably 2% or less.
- the resin composition comprising 80 to 20% by weight of the crystalline polyaryl ketone resin (A) having a crystal melting peak temperature of 260 ° C. or higher, with the balance being an amorphous polyetherimide resin (B).
- A crystalline polyaryl ketone resin
- B amorphous polyetherimide resin
- a metal foil having a thickness of about 5 ⁇ m to 70 ⁇ m made of, for example, copper, gold, silver, aluminum, nickel, tin or the like is used. it can.
- the method for laminating the metal foil on the white film is preferably a heat-sealing method that does not involve an adhesive layer, and is not limited, but is not limited to a hot press method, a heat laminating roll method, and a cast roll on an extruded resin.
- Preferred examples include an extrusion laminating method in which metal foils are laminated, or a method combining these.
- a protective layer can be produced from the same resin composition as the white film used for the insulating plate. Further, the protective layer may be formed using a thermosetting resin (epoxy resin, acrylic resin, polyimide resin, silicone resin, etc.) composition containing a white pigment such as titanium oxide.
- a preferable white pigment added to the composition includes the filler 1 having an average particle diameter of 15 ⁇ m or less and an average aspect ratio (average particle diameter / average thickness) of 30 or more.
- the resin composition comprising 80 to 20% by weight of the crystalline polyaryl ketone resin (A) having a crystal melting peak temperature of 260 ° C. or higher, with the balance being an amorphous polyetherimide resin (B).
- A crystalline polyaryl ketone resin
- B amorphous polyetherimide resin
- Example 1 In Example 1 and Comparative Example 1 described below, various measured values were obtained as follows.
- Crystal melting peak temperature (Tm) Using a differential scanning calorimeter “DSC-7” (manufactured by PerkinElmer), the temperature was determined from a thermograph according to JIS K7121, when 10 mg of a sample was heated at a heating rate of 10 ° C./min.
- Thermoplastic resin composition obtained by mixing 30 parts by weight of titanium oxide (average particle diameter 0.23 ⁇ m, alumina treatment, silane coupling agent treatment), 21 parts by weight of synthetic mica having an average particle diameter of 5 ⁇ m and an average aspect ratio of 50
- the product was melt-kneaded and extruded at a set temperature of 380 ° C. using an extruder equipped with a T-die to produce a white film having a thickness of 50 ⁇ m.
- the same resin composition was extruded at a set temperature of 380 ° C. using an extruder equipped with a T die, and at the same time, a copper foil (thickness: 35 ⁇ m) was laminated from one side to obtain a resin thickness of 50 ⁇ m and a copper foil thickness of 35 ⁇ m.
- a single-sided copper foil film was prepared. Then, while etching the single-sided copper foil film to form a wiring pattern, a through-hole was formed using a big die. Moreover, the through-hole was formed also in the white film using the big shape.
- a 1 mm thick Al plate (5052P) was preliminarily treated with zinc, and then a heat radiating metal plate with Ni plating was prepared.
- the above-mentioned white film (protective layer), single-sided copper foil film, and heat-dissipating metal plate were collectively laminated with a vacuum press machine under press conditions of 260 ° C. and 5 MPa for 30 minutes. After that, Ni plating treatment and Au plating treatment were sequentially performed on the surface of the heat radiation metal plate exposed at the wiring pattern portion and the through hole portion of the wiring substrate to produce a metal substrate. Further, by performing metal diffusion bonding under a reflow condition at 300 ° C. using an AuSn paste, an LED chip was fixed to the surface of the Au layer formed by the Au plating process, and a light source device was manufactured.
- the average reflectance (400 nm to 800 nm) of the produced white film is 80%, the reflectance at 470 nm before the heat treatment is 77%, and after the heat treatment (200 ° C. for 4 hours, 260 ° C. for 5 minutes). ) was 76%.
- the linear expansion coefficient was 25 ppm / ° C. for MD, 35 ppm / ° C. for TD, and the average of MD and TD was 30 ppm / ° C.
- Example 1 Similarly to Example 1, a white film having a thickness of 50 ⁇ m and a single-sided copper foil film having a resin thickness of 50 ⁇ m and a copper foil thickness of 35 ⁇ m were prepared. Thereafter, the single-sided copper foil film was etched to form a wiring pattern. In addition, the through-hole was not formed in the single-sided copper foil film.
- the white film (protective layer), the single-sided copper foil film, and the Al plate were laminated together in a vacuum press machine under the pressing conditions of 260 ° C., 5 MPa, and 30 minutes. Thereafter, an Ni plating process and an Au plating process were sequentially performed on the wiring pattern portion to produce an insulating aluminum substrate. Furthermore, the ceramic package on which the LED chip was mounted was mounted on the wiring pattern portion on the insulating layer using a solder paste, and a light source device was manufactured.
- Ni plating treatment and Au plating are further applied to a part of the Ni plating layer of an Al plate (heat radiating metal plate) having a Ni plating layer formed on the entire surface of one side and having a length and width of 20 mm ⁇ 20 mm and a thickness of 1 mm.
- a metal substrate having a light source mounting surface formed by sequentially performing the processing was prepared.
- the light source mounting surface is the surface of the Au plating layer.
- the metal substrate further has a wiring substrate bonded to the Ni plating layer portion of the heat radiating metal plate, and the wiring pattern portion of the wiring substrate is protected by the white film used in the first embodiment.
- LED chips (XB405 manufactured by CREE) were bonded using AuSn solder in a 4 mm ⁇ 4 mm region (area 16 mm 2 ).
- the reflow conditions were 300 ° C. and 20 seconds. After the bonding, the LED chips were connected to the wiring board using bonding wires so that the four LED chips were connected in parallel.
- a white light source device was configured by covering a light source mounting surface with a phosphor dome produced separately so as to cover four LED chips at once.
- the phosphor dome includes a blue phosphor BaMgAl 10 O 17 : Eu, a green phosphor (Ba, Sr) SiO 4 : Eu, and a red phosphor Ca 1-x Al 1-x Si 1 + x N 3-x O x : A phosphor paste in which Eu was dispersed in a silicone resin was applied to the surface of a hemispherical hollow glass and cured.
- the amount of each phosphor added to the phosphor paste was adjusted so that white light with a color temperature of about 6000 K was generated when the cured product of the phosphor paste was made to emit light using an LED chip with a wavelength of 403 nm as an excitation light source. (The weight ratio of blue phosphor, green phosphor and red phosphor is about 16: 1: 2). It was confirmed that white light having a color temperature of about 6000 K was emitted when the white light source device configured using the phosphor dome was energized.
- Example 2 (Comparative Example 2) Four LEDs same as those used in Example 1 are mounted on an SMD (surface mount) type package in which an Ag plated AlN ceramic substrate and an Ag plated reflector of about 1 mm in height and 8 mm ⁇ are fixed. Chips were mounted and connected in parallel. The bonding of the LED chip onto the ceramic substrate was performed under the same reflow conditions as in Example 1 using AuSn solder. The SMD type package thus obtained was fixed using solder paste on an insulating aluminum substrate including an Al plate having a length and width of 20 mm ⁇ 20 mm and a thickness of 1 mm.
- SMD surface mount
- This insulating aluminum substrate has a 0.1 mm-thick insulating layer formed on the entire surface of one side of the Al plate, and a wiring pattern formed on the surface of the insulating layer.
- the white light source device was configured by covering the same phosphor dome as that used in Example 2 on the reflector of the aforementioned SMD type package.
- Example 2 the characteristic evaluation result of the light source device of Example 2 and the light source device of the comparative example 2 is described.
- an aluminum heat sink no temperature control
- the chip was driven with a constant current by direct current.
- the ambient temperature was room temperature and the energization time was 10 seconds.
- Example 2 is indicated by Ex2
- Comparative Example 2 is indicated by Rf2.
- FIG. 20 and Table 1 show the measurement results of the total radiant flux when the phosphor dome is not covered. The difference is small up to about 3.5 W input power to the light source device. However, at 11 W input power, the total radiant flux of the light source device of Example 2 is 1500 mW or more, which is about 40 times that of the light source device of Comparative Example 2. % Exceeded. Further, the total radiant flux (mW / mm 2 ) normalized by the total area of the LED chip is shown in FIG. In this case, the total area of the LED chip is 0.9 (mm) ⁇ 0.9 (mm) ⁇ 4 (chip), which is 3.24 mm 2 .
- FIG. 22 and Table 3 show the efficiency of the light source device in a state where the phosphor dome is not covered, as a ratio of the total radiant flux to the total input power.
- FIG. 23 and Table 4 show the efficiency of the light source device normalized by the total area of the LED chip.
- the efficiency of the light source device of Example 2 exceeded that of Comparative Example 2 when the input power was 1 W to 11 W, and the difference between the two was more remarkable particularly when the input power was 10 W or more.
- FIG. 24 and Table 5 show how the emission peak wavelength of the light source device changes with respect to the input power when the phosphor dome is not covered.
- the red shift of the emission wavelength of the LED element that occurs with an increase in input power is generally caused by band gap shrinkage of the active layer due to a temperature rise. Therefore, the large red shift observed in the light source device of Comparative Example 2 suggests that the temperature rise of the LED element accompanying the increase in input power is large.
- FIG. 25 shows the measurement result of the surface temperature of the LED chip when the input power is 11 W in a state where the phosphor dome is not covered.
- the temperature was 88 ° C.
- the temperature was 135 ° C., and a temperature difference of about 50 ° C. was observed between the two. It should be noted that in the light source device of Example 2, the surface temperature of the LED chip was below 100 ° C. even though a large power of 11 W was applied.
- FIG. 26 and Table 6 show the measurement results of the total luminous flux when the white light source device is configured using the phosphor dome.
- the total luminous flux of the white light source device of Example 2 exceeds that of Comparative Example 2.
- the former is about 50% higher than the latter. It was higher.
- 27 and Table 7 show the results normalized by the total area of the LED chip.
- the total luminous flux normalized by the total area of the LED chip exceeded 40 Lm / mm 2 when the input power was 11 W.
- FIG. 28 and Table 8 show the luminous efficiency when a white light source device is configured using a phosphor dome, expressed as a ratio of total luminous flux to input power (Lm / W).
- Lm / W total luminous flux to input power
- the efficiency of the white light source device of Example 2 exceeds that of Comparative Example 2. Particularly, when the input power is 11W, the former exceeds the latter by about 50%. It was.
- FIG. 29 and Table 9 show the results normalized by the total area of the LED chip. In the white light source device of Example 2, the luminous efficiency normalized with the total area of the LED chip exceeded 4.0 Lm / W / mm 2 when the input power was 11 W.
- FIG. 30 and Table 10 show the temporal change of the total luminous flux when the white light source device constituting the phosphor dome is continuously driven with an input power of 11 W. Until the elapse of 3 hours from the start of energization, the total luminous flux of the white light source device of Example 2 exceeded that of Comparative Example 2.
- FIG. 31 and Table 11 show the results normalized by the total area of the LED chip. In the white light source device of Example 2, the total luminous flux normalized by the total area of the LED chip exceeded 40 Lm / mm 2 even after 3 hours had elapsed from the start of energization.
- FIG. 32 and Table 12 show changes over time in the surface temperature of the phosphor dome when the white light source device configured using the phosphor dome is continuously driven at an input power of 11 W.
- FIG. The phosphor dome surface temperature of the white light source device of Example 2 is kept lower than that of Comparative Example 2 until 3 hours have elapsed since the start of energization, and in particular, the former after 30 minutes had elapsed since the start of energization, It was kept constant at about 50 ° C. This suggests that the surface temperature of the phosphor dome can be further lowered when the heat sink bonded to the metal substrate is replaced with one having a higher heat dissipation capability. If the temperature rise of the phosphor dome is suppressed, it is possible to reduce the heat resistance requirement for the members (phosphor, transparent resin, etc.) forming the phosphor dome, and to prevent the wavelength conversion efficiency of the phosphor from decreasing.
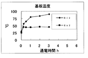
- FIG. 33 and Table 13 show changes with time in the substrate surface temperature when the light source device is continuously driven at an input power of 11 W.
- the substrate surface temperature is the temperature of the light source mounting surface (surface of the Au layer to which the LED chip is bonded) of the metal substrate in the light source device of Example 2, while the light source device of Comparative Example 2 is used. Then, it is the surface temperature of the wiring pattern part to which the SMD type package of the insulating Al substrate is joined.
- the substrate surface temperature of the white light source device of Example 2 is kept lower than that of Comparative Example 2 until 3 hours after the start of energization. In particular, the former is about 45 after 15 minutes have elapsed from the start of energization. It was kept constant at ° C. At such a low temperature, heat deterioration of the heat-dissipating aluminum plate is completely prevented.
- FIG. 34 shows a color rendering evaluation result when a white light source device is configured using a phosphor dome.
- the white light source device of Comparative Example 2 when the input power was increased from 3.5 W to 11 W, the average color rendering index Ra changed, but in the white light source device of Example 2, a change in color rendering was observed. There wasn't. This suggests that in the white light source device of Example 2, the change in the light emission characteristics of the LED chip with an increase in input power is extremely small.
- Metal substrate 111 211, 411, 511, 611, 711 Al plate 311 Cu plate 112, 212, 412, 512, 612, 712 Ni layer 113, 213, 313, 413, 513, 613, 713 Ni layer 114, 214, 314, 414, 514, 614, 714 Au layer 120, 221, 222, 321, 322, 420, 520, 620, 720 White film 120a, 221a, 222a, 321a 322a, 420a Through holes 131, 231, 331, 431, 531, 631, 731 Cu foil 132, 232, 332, 432, 532, 632, 732 Ni layers 133, 233, 333, 433, 533, 633, 733 Au Layers 10, 11 LED chips 20, 21, Second bonding wires 30 submount 31 ceramic plates 32 and 33 metallized layer M resin mold R D phosphor dome R S phosphor sheet F frame
Landscapes
- Led Device Packages (AREA)
- Cooling Or The Like Of Semiconductors Or Solid State Devices (AREA)
Priority Applications (3)
| Application Number | Priority Date | Filing Date | Title |
|---|---|---|---|
| CN2010800239845A CN102460750A (zh) | 2009-06-02 | 2010-06-02 | 金属基板和光源装置 |
| EP10783422.8A EP2439797A4 (en) | 2009-06-02 | 2010-06-02 | METAL SUBSTRATE AND LIGHT SOURCE DEVICE |
| US13/310,131 US8742432B2 (en) | 2009-06-02 | 2011-12-02 | Metal substrate and light source device |
Applications Claiming Priority (2)
| Application Number | Priority Date | Filing Date | Title |
|---|---|---|---|
| JP2009132967 | 2009-06-02 | ||
| JP2009-132967 | 2009-06-02 |
Related Child Applications (1)
| Application Number | Title | Priority Date | Filing Date |
|---|---|---|---|
| US13/310,131 Continuation US8742432B2 (en) | 2009-06-02 | 2011-12-02 | Metal substrate and light source device |
Publications (1)
| Publication Number | Publication Date |
|---|---|
| WO2010140640A1 true WO2010140640A1 (ja) | 2010-12-09 |
Family
ID=43297773
Family Applications (1)
| Application Number | Title | Priority Date | Filing Date |
|---|---|---|---|
| PCT/JP2010/059395 Ceased WO2010140640A1 (ja) | 2009-06-02 | 2010-06-02 | 金属基板及び光源装置 |
Country Status (5)
| Country | Link |
|---|---|
| US (1) | US8742432B2 (enExample) |
| EP (1) | EP2439797A4 (enExample) |
| JP (2) | JP2011014890A (enExample) |
| CN (1) | CN102460750A (enExample) |
| WO (1) | WO2010140640A1 (enExample) |
Cited By (3)
| Publication number | Priority date | Publication date | Assignee | Title |
|---|---|---|---|---|
| JP2012151431A (ja) * | 2011-01-19 | 2012-08-09 | Kyokutoku Kagi Kofun Yugenkoshi | パッケージキャリアおよびその製造方法 |
| CN102769076A (zh) * | 2011-05-03 | 2012-11-07 | 旭德科技股份有限公司 | 封装载板及其制作方法 |
| WO2014065162A1 (ja) * | 2012-10-23 | 2014-05-01 | シーシーエス株式会社 | 発光装置 |
Families Citing this family (43)
| Publication number | Priority date | Publication date | Assignee | Title |
|---|---|---|---|---|
| JP5684511B2 (ja) * | 2010-08-11 | 2015-03-11 | 三菱樹脂株式会社 | 金属箔積層体、led搭載用基板及び光源装置 |
| JP5673190B2 (ja) * | 2011-02-18 | 2015-02-18 | 日亜化学工業株式会社 | 発光装置 |
| JP6005440B2 (ja) * | 2011-08-22 | 2016-10-12 | エルジー イノテック カンパニー リミテッド | 発光素子パッケージ及びこれを含むライトユニット |
| JP5812845B2 (ja) * | 2011-12-19 | 2015-11-17 | 新光電気工業株式会社 | 発光素子搭載用パッケージ及び発光素子パッケージ並びにそれらの製造方法 |
| US9240524B2 (en) | 2012-03-05 | 2016-01-19 | Seoul Viosys Co., Ltd. | Light-emitting device and method of manufacturing the same |
| US9263658B2 (en) | 2012-03-05 | 2016-02-16 | Seoul Viosys Co., Ltd. | Light-emitting device and method of manufacturing the same |
| KR101306247B1 (ko) * | 2012-05-11 | 2013-09-17 | (주)포인트엔지니어링 | 백라이트 유닛용 광소자 제조 방법 및 이에 의해 제조된 광소자와 그 어레이 |
| EP2857474A4 (en) * | 2012-05-29 | 2016-02-17 | Nitto Denko Corp | ADHESIVE AND TRANSPARENT SUBSTRATE THEREWITH |
| WO2013179638A1 (ja) * | 2012-05-29 | 2013-12-05 | 日本精工株式会社 | 半導体モジュール及びその製造方法 |
| WO2013183693A1 (ja) * | 2012-06-07 | 2013-12-12 | 株式会社Steq | Led照明モジュールおよびled照明装置 |
| US9111847B2 (en) * | 2012-06-15 | 2015-08-18 | Infineon Technologies Ag | Method for manufacturing a chip package, a method for manufacturing a wafer level package, a chip package and a wafer level package |
| CN103118492A (zh) * | 2013-01-31 | 2013-05-22 | 蚌埠德豪光电科技有限公司 | 铝基板及其制造方法及使用该铝基板的led光源 |
| KR101802851B1 (ko) * | 2013-03-11 | 2017-11-29 | 해성디에스 주식회사 | 리드 프레임, 이를 포함하는 반도체 패키지, 및 리드 프레임의 제조 방법 |
| JP2014216416A (ja) * | 2013-04-24 | 2014-11-17 | スタンレー電気株式会社 | 半導体発光装置およびその製造方法 |
| EP2803715B1 (en) * | 2013-05-16 | 2020-02-26 | LG Innotek Co., Ltd. | Phosphor and light emitting device package including the same |
| KR102131309B1 (ko) * | 2013-10-01 | 2020-07-07 | 엘지이노텍 주식회사 | 형광체 및 이를 포함하는 발광소자 패키지 |
| JP6344689B2 (ja) * | 2013-07-16 | 2018-06-20 | パナソニックIpマネジメント株式会社 | 基板、発光装置、照明用光源、および照明装置 |
| CN105684170B (zh) * | 2013-08-09 | 2019-09-03 | 株式会社光波 | 发光装置 |
| GB2518355B (en) * | 2013-09-04 | 2016-04-27 | Waveguide Lighting Ltd | Improvements in or relating to a lighting apparatus |
| JP2015065236A (ja) * | 2013-09-24 | 2015-04-09 | 東芝ライテック株式会社 | 発光モジュールおよび照明装置 |
| JP6183118B2 (ja) * | 2013-09-30 | 2017-08-23 | 日亜化学工業株式会社 | 発光装置 |
| JP6332933B2 (ja) * | 2013-10-01 | 2018-05-30 | 三菱電機株式会社 | 発光ユニットの製造方法 |
| KR20150074421A (ko) * | 2013-12-24 | 2015-07-02 | 엘지이노텍 주식회사 | 인쇄회로기판 및 이를 포함하는 발광 장치 |
| CN103872217B (zh) * | 2014-03-14 | 2016-06-15 | 苏州晶品光电科技有限公司 | 大功率led光源封装体 |
| JP2015192096A (ja) * | 2014-03-28 | 2015-11-02 | 豊田合成株式会社 | 発光装置 |
| JP5859050B2 (ja) * | 2014-03-31 | 2016-02-10 | 株式会社ソディック | 発光ダイオードモジュール |
| JP6908859B2 (ja) * | 2014-12-25 | 2021-07-28 | 日亜化学工業株式会社 | 半導体装置および半導体装置の製造方法 |
| JP6497615B2 (ja) * | 2015-03-04 | 2019-04-10 | パナソニックIpマネジメント株式会社 | 実装基板及びそれを用いたledモジュール |
| WO2016171121A1 (ja) * | 2015-04-22 | 2016-10-27 | Dic株式会社 | 樹脂分散体、微粒子、及びそれらの製造方法 |
| TWM521008U (zh) * | 2016-01-27 | 2016-05-01 | Lite On Technology Corp | 車燈裝置及其發光模組 |
| CN105977364A (zh) * | 2016-07-20 | 2016-09-28 | 广州硅能照明有限公司 | 多层led光引擎结构及其加工方法 |
| US10727009B2 (en) | 2018-05-31 | 2020-07-28 | Darfon Electronics Corp. | Light source board, manufacturing method thereof, and luminous keyboard using the same |
| US10895372B2 (en) * | 2018-05-31 | 2021-01-19 | Darfon Electronics Corp. | Light source board, manufacturing method thereof, and luminous keyboard using the same |
| US10720289B1 (en) * | 2019-02-20 | 2020-07-21 | Darfon Electronics Corp. | Light emitting keyboard and lighting board thereof |
| US11882651B2 (en) * | 2019-05-23 | 2024-01-23 | Signify Holding B.V. | Stable PCB for solid state light source application |
| JP7248803B2 (ja) * | 2019-08-28 | 2023-03-29 | 京セラ株式会社 | 発光素子搭載用パッケージおよび発光装置 |
| JP7475360B2 (ja) | 2019-10-30 | 2024-04-26 | 京セラ株式会社 | 発光素子搭載用パッケージおよび発光装置 |
| EP4191660A4 (en) | 2020-07-29 | 2024-08-14 | Kyocera Corporation | WIRING BOARD, BOX FOR MOUNTING LIGHT-EMITTING ELEMENT AND LIGHT-EMITTING DEVICE |
| CN118712309A (zh) | 2020-11-20 | 2024-09-27 | 隆达电子股份有限公司 | 发光装置、背光板及显示面板 |
| JP2022190310A (ja) * | 2021-06-14 | 2022-12-26 | セイコーエプソン株式会社 | 波長変換部材および発光装置 |
| US12259112B2 (en) | 2021-06-22 | 2025-03-25 | Darfon Electronics Corp. | Illuminating circuit structure |
| US12394580B2 (en) | 2022-04-08 | 2025-08-19 | Darfon Electronics Corp. | Luminous keyboard and illuminant board thereof |
| US12061353B2 (en) | 2022-04-08 | 2024-08-13 | Darfon Electronics Corp. | Backlit module and key for backlit keyboard |
Citations (14)
| Publication number | Priority date | Publication date | Assignee | Title |
|---|---|---|---|---|
| JP2006179511A (ja) | 2004-12-20 | 2006-07-06 | Sumitomo Electric Ind Ltd | 発光装置 |
| US20060154389A1 (en) | 2005-01-11 | 2006-07-13 | Doan Trung T | Light emitting diode with conducting metal substrate |
| JP2006339224A (ja) | 2005-05-31 | 2006-12-14 | Tanazawa Hakkosha:Kk | Led用基板およびledパッケージ |
| JP2007129273A (ja) * | 2007-02-23 | 2007-05-24 | Matsushita Electric Works Ltd | Led表示装置の製造方法 |
| JP2007142383A (ja) * | 2005-10-20 | 2007-06-07 | Showa Denko Kk | 発光素子実装用基板、発光素子実装パッケージおよび面光源装置 |
| WO2007119671A1 (ja) * | 2006-04-04 | 2007-10-25 | Hitachi, Ltd. | サブマウントおよびその製造方法 |
| JP2007305742A (ja) * | 2006-05-10 | 2007-11-22 | Sharp Corp | Led光源装置 |
| WO2008004437A1 (en) | 2006-07-05 | 2008-01-10 | Panasonic Corporation | Semiconductor light emitting element and method for fabricating the same |
| JP2008098543A (ja) * | 2006-10-16 | 2008-04-24 | Yohohama Electron Kk | Ledランプ |
| JP2008235868A (ja) | 2007-02-22 | 2008-10-02 | Sharp Corp | 表面実装型発光ダイオードおよびその製造方法 |
| JP2008244285A (ja) * | 2007-03-28 | 2008-10-09 | Denka Agsp Kk | 発光素子搭載基板及びその製造方法 |
| JP2009076666A (ja) * | 2007-09-20 | 2009-04-09 | Rohm Co Ltd | 半導体装置の製造方法 |
| JP2009111273A (ja) * | 2007-10-31 | 2009-05-21 | Toshiba Lighting & Technology Corp | 発光装置 |
| JP2009252899A (ja) * | 2008-04-03 | 2009-10-29 | Toyoda Gosei Co Ltd | 発光装置及び発光装置の製造方法 |
Family Cites Families (34)
| Publication number | Priority date | Publication date | Assignee | Title |
|---|---|---|---|---|
| JP3713088B2 (ja) * | 1996-02-19 | 2005-11-02 | ローム株式会社 | 表示装置 |
| JP2000353827A (ja) | 1999-06-09 | 2000-12-19 | Sanyo Electric Co Ltd | 混成集積回路装置 |
| JP2002324875A (ja) | 2001-04-26 | 2002-11-08 | Fuji Photo Film Co Ltd | 半導体パッケージ基台および半導体パッケージ |
| JP2003051620A (ja) * | 2001-08-08 | 2003-02-21 | Rohm Co Ltd | 半導体発光装置 |
| JP4058933B2 (ja) * | 2001-10-26 | 2008-03-12 | 松下電工株式会社 | 高熱伝導性立体基板の製造方法 |
| JP2003218398A (ja) | 2002-01-18 | 2003-07-31 | Citizen Electronics Co Ltd | 表面実装型発光ダイオード及びその製造方法 |
| US20060043382A1 (en) * | 2003-02-07 | 2006-03-02 | Nobuyuki Matsui | Metal base wiring board for retaining light emitting elements, light emitting source, lightning apparatus, and display apparatus |
| TW594950B (en) * | 2003-03-18 | 2004-06-21 | United Epitaxy Co Ltd | Light emitting diode and package scheme and method thereof |
| JP2005005681A (ja) * | 2003-05-20 | 2005-01-06 | Sharp Corp | 半導体発光装置およびその製造方法 |
| US20070092710A1 (en) * | 2003-10-17 | 2007-04-26 | Mitsubishi Plastics, Inc. | Reflective film |
| JP4255367B2 (ja) * | 2003-12-04 | 2009-04-15 | デンカAgsp株式会社 | 発光素子搭載用基板及びその製造方法 |
| US20080043444A1 (en) | 2004-04-27 | 2008-02-21 | Kyocera Corporation | Wiring Board for Light-Emitting Element |
| JP2006066409A (ja) | 2004-07-28 | 2006-03-09 | Kyocera Corp | 発光素子用配線基板および発光装置ならびに発光素子用配線基板の製造方法 |
| TW200539246A (en) * | 2004-05-26 | 2005-12-01 | Matsushita Electric Industrial Co Ltd | Semiconductor device and method for manufacturing the same |
| JP4525917B2 (ja) * | 2005-03-18 | 2010-08-18 | 株式会社クラレ | Ledリフレクタ成形用ポリアミド樹脂組成物およびledリフレクタ |
| DE102006000476A1 (de) | 2005-09-22 | 2007-05-24 | Lexedis Lighting Gesmbh | Lichtemissionsvorrichtung |
| US20090225541A1 (en) | 2005-10-20 | 2009-09-10 | Showa Denko K.K. | Luminous device mounting substrate, luminous device mounting package, and planar light source device |
| JP2007180430A (ja) | 2005-12-28 | 2007-07-12 | Toshiba Lighting & Technology Corp | 発光ダイオード装置 |
| US20070267642A1 (en) * | 2006-05-16 | 2007-11-22 | Luminus Devices, Inc. | Light-emitting devices and methods for manufacturing the same |
| JP4905009B2 (ja) * | 2006-09-12 | 2012-03-28 | 豊田合成株式会社 | 発光装置の製造方法 |
| CN101076223A (zh) * | 2006-09-26 | 2007-11-21 | 蔡勇 | 铝基板磁控溅射金属化电路板及led照明器件 |
| US8604506B2 (en) | 2007-02-22 | 2013-12-10 | Sharp Kabushiki Kaisha | Surface mounting type light emitting diode and method for manufacturing the same |
| JPWO2008105527A1 (ja) | 2007-03-01 | 2010-06-03 | Necライティング株式会社 | Led装置及び照明装置 |
| JP2008235827A (ja) * | 2007-03-23 | 2008-10-02 | Matsushita Electric Works Ltd | 発光装置 |
| KR101555386B1 (ko) | 2007-05-18 | 2015-09-23 | 덴끼 가가꾸 고교 가부시키가이샤 | 금속 베이스 회로 기판 |
| JP2009130234A (ja) | 2007-11-27 | 2009-06-11 | Denki Kagaku Kogyo Kk | 回路基板及び回路基板を有するledモジュール |
| JP4771179B2 (ja) * | 2007-05-31 | 2011-09-14 | 東芝ライテック株式会社 | 照明装置 |
| JP5057371B2 (ja) | 2007-06-20 | 2012-10-24 | シャープ株式会社 | 表面実装型発光ダイオードおよびその製造方法 |
| US20090008670A1 (en) * | 2007-07-06 | 2009-01-08 | Topco Technologies Corp. | LED packaging structure with aluminum board and an LED lamp with said LED packaging structure |
| JP5039474B2 (ja) | 2007-07-31 | 2012-10-03 | 三洋電機株式会社 | 発光モジュールおよびその製造方法 |
| FI20070910A0 (fi) * | 2007-11-27 | 2007-11-27 | Kimmo Olavi Paananen | Menetelmä piirilevyjen panelisointiin |
| JP5306226B2 (ja) | 2007-11-29 | 2013-10-02 | 三菱樹脂株式会社 | 金属積層体、led搭載基板、および、白色フィルム |
| JP2009194112A (ja) | 2008-02-14 | 2009-08-27 | Dainippon Printing Co Ltd | Ledモジュール用基板とその作製方法、および該ledモジュール用基板を用いたledモジュール |
| JP2009302127A (ja) | 2008-06-10 | 2009-12-24 | Dainippon Printing Co Ltd | Led用基板、led実装モジュール、およびled用基板の製造方法 |
-
2010
- 2010-06-01 JP JP2010126196A patent/JP2011014890A/ja active Pending
- 2010-06-02 CN CN2010800239845A patent/CN102460750A/zh active Pending
- 2010-06-02 EP EP10783422.8A patent/EP2439797A4/en not_active Withdrawn
- 2010-06-02 WO PCT/JP2010/059395 patent/WO2010140640A1/ja not_active Ceased
-
2011
- 2011-12-02 US US13/310,131 patent/US8742432B2/en not_active Expired - Fee Related
-
2012
- 2012-10-19 JP JP2012232139A patent/JP5177319B2/ja not_active Expired - Fee Related
Patent Citations (14)
| Publication number | Priority date | Publication date | Assignee | Title |
|---|---|---|---|---|
| JP2006179511A (ja) | 2004-12-20 | 2006-07-06 | Sumitomo Electric Ind Ltd | 発光装置 |
| US20060154389A1 (en) | 2005-01-11 | 2006-07-13 | Doan Trung T | Light emitting diode with conducting metal substrate |
| JP2006339224A (ja) | 2005-05-31 | 2006-12-14 | Tanazawa Hakkosha:Kk | Led用基板およびledパッケージ |
| JP2007142383A (ja) * | 2005-10-20 | 2007-06-07 | Showa Denko Kk | 発光素子実装用基板、発光素子実装パッケージおよび面光源装置 |
| WO2007119671A1 (ja) * | 2006-04-04 | 2007-10-25 | Hitachi, Ltd. | サブマウントおよびその製造方法 |
| JP2007305742A (ja) * | 2006-05-10 | 2007-11-22 | Sharp Corp | Led光源装置 |
| WO2008004437A1 (en) | 2006-07-05 | 2008-01-10 | Panasonic Corporation | Semiconductor light emitting element and method for fabricating the same |
| JP2008098543A (ja) * | 2006-10-16 | 2008-04-24 | Yohohama Electron Kk | Ledランプ |
| JP2008235868A (ja) | 2007-02-22 | 2008-10-02 | Sharp Corp | 表面実装型発光ダイオードおよびその製造方法 |
| JP2007129273A (ja) * | 2007-02-23 | 2007-05-24 | Matsushita Electric Works Ltd | Led表示装置の製造方法 |
| JP2008244285A (ja) * | 2007-03-28 | 2008-10-09 | Denka Agsp Kk | 発光素子搭載基板及びその製造方法 |
| JP2009076666A (ja) * | 2007-09-20 | 2009-04-09 | Rohm Co Ltd | 半導体装置の製造方法 |
| JP2009111273A (ja) * | 2007-10-31 | 2009-05-21 | Toshiba Lighting & Technology Corp | 発光装置 |
| JP2009252899A (ja) * | 2008-04-03 | 2009-10-29 | Toyoda Gosei Co Ltd | 発光装置及び発光装置の製造方法 |
Non-Patent Citations (2)
| Title |
|---|
| JAPANESE JOURNAL OF APPLIED PHYSICS, vol. 49, 2010, pages 022101 |
| See also references of EP2439797A4 |
Cited By (7)
| Publication number | Priority date | Publication date | Assignee | Title |
|---|---|---|---|---|
| JP2012151431A (ja) * | 2011-01-19 | 2012-08-09 | Kyokutoku Kagi Kofun Yugenkoshi | パッケージキャリアおよびその製造方法 |
| US8624388B2 (en) | 2011-01-19 | 2014-01-07 | Subtron Technology Co., Ltd. | Package carrier and manufacturing method thereof |
| US8746308B2 (en) | 2011-01-19 | 2014-06-10 | Subtron Technology Co., Ltd. | Manufacturing method of package carrier |
| CN102769076A (zh) * | 2011-05-03 | 2012-11-07 | 旭德科技股份有限公司 | 封装载板及其制作方法 |
| JP2012235089A (ja) * | 2011-05-03 | 2012-11-29 | Kyokutoku Kagi Kofun Yugenkoshi | パッケージキャリアおよびその製造方法 |
| CN102769076B (zh) * | 2011-05-03 | 2014-11-05 | 旭德科技股份有限公司 | 封装载板的制作方法 |
| WO2014065162A1 (ja) * | 2012-10-23 | 2014-05-01 | シーシーエス株式会社 | 発光装置 |
Also Published As
| Publication number | Publication date |
|---|---|
| JP2011014890A (ja) | 2011-01-20 |
| US20120138990A1 (en) | 2012-06-07 |
| EP2439797A4 (en) | 2015-03-04 |
| US8742432B2 (en) | 2014-06-03 |
| CN102460750A (zh) | 2012-05-16 |
| JP2013038452A (ja) | 2013-02-21 |
| EP2439797A1 (en) | 2012-04-11 |
| JP5177319B2 (ja) | 2013-04-03 |
Similar Documents
| Publication | Publication Date | Title |
|---|---|---|
| JP5177319B2 (ja) | 金属基板及び光源装置 | |
| CN101884257B (zh) | 具有腔部的多层布线基板 | |
| JP5345363B2 (ja) | 発光装置 | |
| JP5306226B2 (ja) | 金属積層体、led搭載基板、および、白色フィルム | |
| CN101252164B (zh) | 表面安装型发光二极管及其制造方法 | |
| JP6515940B2 (ja) | 発光装置及びその製造方法 | |
| JP5718517B2 (ja) | 発光装置 | |
| WO2005106973A1 (ja) | 発光素子用配線基板 | |
| CN101252165B (zh) | 表面安装型发光二极管及其制造方法 | |
| JP2009010308A (ja) | 発光装置 | |
| TW201037803A (en) | Multi-layer packaging substrate, method for making the packaging substrate, and package structure of light-emitting semiconductor | |
| JP2008244468A (ja) | 発光装置 | |
| JP2009071090A (ja) | 発光装置 | |
| JP4976895B2 (ja) | 発光装置 | |
| EP3373346B1 (en) | Light emitting package and vehicle lighting device comprising same | |
| KR100959164B1 (ko) | 발광 다이오드 모듈용 피시비(pcb) 기판 형성방법 | |
| US20140197434A1 (en) | Light emitting diode device and method for manufacturing heat dissipation substrate | |
| JP5770674B2 (ja) | 光学半導体装置用基板及びその製造方法、並びに光学半導体装置 | |
| JP2007116116A (ja) | 発光装置 | |
| JP3969370B2 (ja) | 高熱伝導性回路部品の製造方法 | |
| JP3960280B2 (ja) | 高熱伝導性回路部品及びその製造方法並びに高放熱モジュール | |
| JP2012116003A (ja) | 金属積層体、led搭載用基板及び光源装置 | |
| JP2011060801A (ja) | 発光装置及びその製造方法 | |
| JP2010275331A (ja) | 白色フィルム、金属積層体及びled搭載用基板 | |
| JP5283742B2 (ja) | 発光装置 |
Legal Events
| Date | Code | Title | Description |
|---|---|---|---|
| WWE | Wipo information: entry into national phase |
Ref document number: 201080023984.5 Country of ref document: CN |
|
| 121 | Ep: the epo has been informed by wipo that ep was designated in this application |
Ref document number: 10783422 Country of ref document: EP Kind code of ref document: A1 |
|
| WWE | Wipo information: entry into national phase |
Ref document number: 2010783422 Country of ref document: EP |
|
| NENP | Non-entry into the national phase |
Ref country code: DE |