JP2010045402A - 光起電力電池用電極、光起電力電池および光起電力モジュール - Google Patents

光起電力電池用電極、光起電力電池および光起電力モジュール Download PDF

Info

Publication number
JP2010045402A
JP2010045402A JP2009265066A JP2009265066A JP2010045402A JP 2010045402 A JP2010045402 A JP 2010045402A JP 2009265066 A JP2009265066 A JP 2009265066A JP 2009265066 A JP2009265066 A JP 2009265066A JP 2010045402 A JP2010045402 A JP 2010045402A
Authority
JP
Japan
Prior art keywords
wires
adhesive layer
electrode device
ohmic contact
embedded
Prior art date
Legal status (The legal status is an assumption and is not a legal conclusion. Google has not performed a legal analysis and makes no representation as to the accuracy of the status listed.)
Granted
Application number
JP2009265066A
Other languages
English (en)
Other versions
JP5185913B2 (ja
JP2010045402A5 (ja
Inventor
Leonid B Rubin
ルビン、レオニード、ビー.
George L Rubin
ルビン、ジョージ、エル.
Current Assignee (The listed assignees may be inaccurate. Google has not performed a legal analysis and makes no representation or warranty as to the accuracy of the list.)
Day4 Energy Inc
Original Assignee
Day4 Energy Inc
Priority date (The priority date is an assumption and is not a legal conclusion. Google has not performed a legal analysis and makes no representation as to the accuracy of the date listed.)
Filing date
Publication date
Family has litigation
First worldwide family litigation filed litigation Critical https://patents.darts-ip.com/?family=29594632&utm_source=google_patent&utm_medium=platform_link&utm_campaign=public_patent_search&patent=JP2010045402(A) "Global patent litigation dataset” by Darts-ip is licensed under a Creative Commons Attribution 4.0 International License.
Application filed by Day4 Energy Inc filed Critical Day4 Energy Inc
Publication of JP2010045402A publication Critical patent/JP2010045402A/ja
Publication of JP2010045402A5 publication Critical patent/JP2010045402A5/ja
Application granted granted Critical
Publication of JP5185913B2 publication Critical patent/JP5185913B2/ja
Anticipated expiration legal-status Critical
Expired - Lifetime legal-status Critical Current

Links

Images

Classifications

    • HELECTRICITY
    • H10SEMICONDUCTOR DEVICES; ELECTRIC SOLID-STATE DEVICES NOT OTHERWISE PROVIDED FOR
    • H10FINORGANIC SEMICONDUCTOR DEVICES SENSITIVE TO INFRARED RADIATION, LIGHT, ELECTROMAGNETIC RADIATION OF SHORTER WAVELENGTH OR CORPUSCULAR RADIATION
    • H10F77/00Constructional details of devices covered by this subclass
    • H10F77/20Electrodes
    • HELECTRICITY
    • H10SEMICONDUCTOR DEVICES; ELECTRIC SOLID-STATE DEVICES NOT OTHERWISE PROVIDED FOR
    • H10FINORGANIC SEMICONDUCTOR DEVICES SENSITIVE TO INFRARED RADIATION, LIGHT, ELECTROMAGNETIC RADIATION OF SHORTER WAVELENGTH OR CORPUSCULAR RADIATION
    • H10F77/00Constructional details of devices covered by this subclass
    • H10F77/20Electrodes
    • H10F77/206Electrodes for devices having potential barriers
    • H10F77/211Electrodes for devices having potential barriers for photovoltaic cells
    • HELECTRICITY
    • H10SEMICONDUCTOR DEVICES; ELECTRIC SOLID-STATE DEVICES NOT OTHERWISE PROVIDED FOR
    • H10FINORGANIC SEMICONDUCTOR DEVICES SENSITIVE TO INFRARED RADIATION, LIGHT, ELECTROMAGNETIC RADIATION OF SHORTER WAVELENGTH OR CORPUSCULAR RADIATION
    • H10F19/00Integrated devices, or assemblies of multiple devices, comprising at least one photovoltaic cell covered by group H10F10/00, e.g. photovoltaic modules
    • H10F19/90Structures for connecting between photovoltaic cells, e.g. interconnections or insulating spacers
    • H10F19/902Structures for connecting between photovoltaic cells, e.g. interconnections or insulating spacers for series or parallel connection of photovoltaic cells
    • H10F19/904Structures for connecting between photovoltaic cells, e.g. interconnections or insulating spacers for series or parallel connection of photovoltaic cells characterised by the shapes of the structures
    • HELECTRICITY
    • H10SEMICONDUCTOR DEVICES; ELECTRIC SOLID-STATE DEVICES NOT OTHERWISE PROVIDED FOR
    • H10FINORGANIC SEMICONDUCTOR DEVICES SENSITIVE TO INFRARED RADIATION, LIGHT, ELECTROMAGNETIC RADIATION OF SHORTER WAVELENGTH OR CORPUSCULAR RADIATION
    • H10F19/00Integrated devices, or assemblies of multiple devices, comprising at least one photovoltaic cell covered by group H10F10/00, e.g. photovoltaic modules
    • H10F19/90Structures for connecting between photovoltaic cells, e.g. interconnections or insulating spacers
    • H10F19/902Structures for connecting between photovoltaic cells, e.g. interconnections or insulating spacers for series or parallel connection of photovoltaic cells
    • H10F19/906Structures for connecting between photovoltaic cells, e.g. interconnections or insulating spacers for series or parallel connection of photovoltaic cells characterised by the materials of the structures
    • HELECTRICITY
    • H05ELECTRIC TECHNIQUES NOT OTHERWISE PROVIDED FOR
    • H05KPRINTED CIRCUITS; CASINGS OR CONSTRUCTIONAL DETAILS OF ELECTRIC APPARATUS; MANUFACTURE OF ASSEMBLAGES OF ELECTRICAL COMPONENTS
    • H05K3/00Apparatus or processes for manufacturing printed circuits
    • H05K3/10Apparatus or processes for manufacturing printed circuits in which conductive material is applied to the insulating support in such a manner as to form the desired conductive pattern
    • YGENERAL TAGGING OF NEW TECHNOLOGICAL DEVELOPMENTS; GENERAL TAGGING OF CROSS-SECTIONAL TECHNOLOGIES SPANNING OVER SEVERAL SECTIONS OF THE IPC; TECHNICAL SUBJECTS COVERED BY FORMER USPC CROSS-REFERENCE ART COLLECTIONS [XRACs] AND DIGESTS
    • Y02TECHNOLOGIES OR APPLICATIONS FOR MITIGATION OR ADAPTATION AGAINST CLIMATE CHANGE
    • Y02EREDUCTION OF GREENHOUSE GAS [GHG] EMISSIONS, RELATED TO ENERGY GENERATION, TRANSMISSION OR DISTRIBUTION
    • Y02E10/00Energy generation through renewable energy sources
    • Y02E10/50Photovoltaic [PV] energy

Landscapes

  • Photovoltaic Devices (AREA)
  • Hybrid Cells (AREA)

Abstract

【課題】低製造コストで電極と導電性表面、特に光起電力素子の一表面あるいは複数の表面との間で低接触抵抗を達成する電極を提供し、このような電極を使用することにより合成直列抵抗とPV電池とPVモジュールの製造コストを低減し、費用効率を向上させることである。
【解決手段】導電性表面に接触し、特に光起電力素子ウェーハ3の少なくとも一つの表面に接触する電極であって、電極は、電気的に絶縁性があり光学的に透明な膜10と、膜10の1つの表面上に設けられた接着層11と、接着層11に埋め込まれ実質的に平行で導電性を有する第1の複数のワイヤ5’とを含み、第1の複数のワイヤ5’の表面の一部は、接着層11から突出し、少なくとも表面において低融点の合金からなるコーティング2で覆われた接着層11から突出し第1の複数のワイヤ5’は、第1の端子バー20に接続される。
【選択図】図2

Description

本発明は、導電性表面に接触する電極に関し、特に光起電力電池、即ち太陽電池の部品としての1つあるいは複数の光起電力素子(PV)に接触する電極に関する。本発明は、さらに、この電池を搭載して製造する光起電力電池に関する。
光起電力技術を用いる電気エネルギ生成は、高い水準に到達している。しかし、PV電池およびPVモジュールの製造は、いまだに多少複雑かつ費用を要する。最大効率が17パーセントというようにPVモジュールによるエネルギ生成の効率は、かなり低い。経済という観点から見れば、光起電力技術による発電は、それが何らかの方法で、たとえば、ドイツにおける、いわゆる100,000ルーフ・プログラムあるいは米国、カリフォルニア州の同様なプログラムにおける援助および/または助成金を受けられる場合に限って現状では実行可能である。光起電力技術の分野では、生産コストを引き下げ、PV素子やPVモジュールによるエネルギ生成の効率を向上させるという厳しい要求がされている。
共通して使用される埋め込みp−n接合を持つ単結晶あるいは多結晶シリコン、非晶質シリコン、その他の薄膜半導体をベースにしたnn(またはp)p型接合を持つ半導体素子を含んでいる。素子の一表面は、アルミニウムまたはステンレス・スティールなどの金属層で覆われ、他の表面は、反射防止コーティングが施されている。両表面とも生成された電気エネルギを集め、取り出す電極に接続されている。この構造体は、ガラスなどの透明な保護層の間に埋め込まれている。
これらの電極は、スクリーン印刷技術を利用して製造される。しかし、このようにして作られた電極は、高い直列抵抗を有している。これとは別に、この技術を用いる場合、製作に高価な装置、設備が必要となり、コスト削減は、制限される。
米国特許4,380,112A(リトル)は、PV素子の表面に接触する電極を備え、その電極は、電気的絶縁性があり光学的に透明な搬送材からなる光起電子素子を開示している。電極のワイヤは、そのワイヤがその1つの「内」側に露出するように電気的絶縁性があり、光学的に透明な搬送材に埋め込まれでいる。PV素子の完成は、メッシュ要素と一緒に、透明フィルムの内側の表面を前部半導体素子の露出面に静電気的に接合することによって達成される。
ワイヤ・メッシュをフィルムに埋め込む作業が構造体を加圧し、約700℃(ガラスの融点)の温度に加熱することにより行われるように、電気的絶縁性があり光学的に透明なフィルムは、ガラスで形成する。金属ワイヤと半導体表面との間の永久接触は、静電気的な接合工程により、すなわち、ガラスと金属ワイヤと半導体サンドイッチを横断して強い電圧をかけ、再び700℃まで加熱することにより形成される。
電極とPV素子の製造中の構造体の過熱は、複雑で面倒なので、製造コストは比較的高い。さらに、反復加熱工程は、不良とごみを作る危険性がある。
欧州特許0807980A(CanonKK)および、米国特許5,759,291A(Ichinose et al)では、導電性粒子が分散されている導電性接着剤を用いて素子表面に固定されている並列金属接触や電流収集ワイヤ(電極)を持つ半導体素子(ウェーハ)が開示されている。これらの電極ワイヤは、素子の端部に沿って設けられている接続導体に挟まれて並列に並んでいる。このタイプの電極では、半導体表面とワイヤの間のオーム接触抵抗が比較的高く、そのため、特に集中太陽輻射においてはエネルギ・ロスが大きく、効率が低くなる。また、このようなPV電池の製造は、かなり複雑である。
米国特許5,084,107A(Deguchi et.al.)では、同様な太陽電池と太陽電池配列が知られており、金属電極ワイヤは、接着剤を用いて光起電力素子の表面に接着される。この接着剤内には、導電性粒子が分散されている。この電極構造でも、製造コストおよびワイヤと素子表面の間の接触抵抗は、極めて高い。
米国特許5,158,618A(Rubin et al)では、電極構造が知られている。ここでは、接触ワイヤは、ポリマ・ブロックから一部分が突出するように透明なポリマ・ブロックに埋め込まれている。電極は、一方の側からあるいは2つの側から素子に接触し、ガラスのような透明な保護層の間に挟まれている。電極のワイヤは、たとえば、コイルとして構成されているので、ワイヤとPV素子の表面の間では点接触だけとなる。したがって、この場合、PV電池の直列抵抗は比較的高い。また、このようなタイプの太陽電池やPVモジュールのオートメーション製造は、不可能なので、製造コストも比較的高い。
米国特許5,457,057Aは、金属ワイヤ、少なくとも金属ワイヤの一部には、導電性ペーストを塗布する。
欧州特許0807980A 米国特許5,759,291A 米国特許5,084,107A 米国特許5,158,618A 米国特許5,457,057A
前述の従来技術に照らして、別個の製品として製造し、また有効かつ穏やかな態度で接触すべき表面に取り付けることができる電極、特にPV素子を提供することが本発明の目的である。
本発明の別の目的は、低い製造コストで電極と導電性表面、特に光起電力素子の表面との間で低い接触抵抗を達成することである。
本発明のさらに別の目的は、このような電極を使用することにより合成直列抵抗とPV電池とPVモジュールの製造コストを低減し、費用効率を向上させることである。
本発明によれば、これらの目的は、接着剤層が電気的絶縁性を有し光学的に透明なフィルムの1つの表面上に設けられ、導電性ワイヤが接着層に埋め込まれ、ワイヤの表面の一部が接着層から突出しており、接着層から突出している表面上で、ワイヤが低融点の合金からなるコーティングに覆われることによって達成される。
本発明の電極の製造において、接着剤層を非常に低い温度に(接着剤の融点の約100℃)に加熱しなければならない。金属ワイヤと半導体表面の間の永久接触は、加圧され、わずか130℃まで加熱されるあらかじめ埋め込まれた金属ワイヤを有するポリマ・フィルムに圧力をかけたのち形成される。これにより、密接な機械的電気的接触が接触すべき表面とワイヤの間で得られる。
本発明は、導電性のある表面、特に光起電力素子の少なくとも1つの表面に接触する電極を提供する目的を達成する。電極は、電気的に絶縁性があり光学的に透明な膜と、膜の1つの表面上に設けられた接着剤層と、接着剤層に埋め込まれ実質的に平行で導電性のある第1の複数のワイヤとを含み、第1の複数のワイヤの表面の一部は、接着剤層から突出し、低融点の合金からなるコーティングで覆われた接着剤層から突出し、第1の複数のワイヤは、第1の端子バーに接続されている。
望ましくは、実質的に相互に平行に並んでいる第2の複数のワイヤは、透明な膜と第1の複数のワイヤの間に配設され、第1と第2の複数のワイヤは、共に網を形成し、第2の複数のワイヤは、第2の端子バーに電気的に接続される。
別の好ましい実施例において、第1と第2の端子バーは、相互に電気的に接続される。
端子バーは、ワイヤのそれぞれの端部に設けることができる。
この実施例では、端子バーは、望ましくは、ワイヤが接続される表面に対して光起電力の外側の第1の複数のワイヤの両端あるいは第1と第2の複数のワイヤの両端に設けられる。
第1と第2の端子バーは、望ましくは、一定の角度を形成して接続される。
さらに別の好ましい実施例において、端子バーは、U型フレームとして形成され、複数の2つのワイヤの一方ワイヤは、基部に接続され、他方のワイヤは、U字の自由な足部に接続される。
この実施例では、端子バーが第1の複数のワイヤあるいは第1と第2の複数のワイヤの両端に設けられるとき、端子バーは、望ましくは、接続される2つの隣接した光起電力素子の全長にわたって延伸し、その中央にステップが設けられ、複数の端子バーが共に一列を形成し、端子バーの半分は、それぞれ、隣接する端子バーの下半分の上あるいは上半分の下になるように配列され、端子バーの間には、絶縁膜が設けられている。
さらに、端子バーは、閉じたフレームとして形成されてもよく、フレームの開口領域(窓)は、これに対応する光起電力素子のサイズを超えている。
さらに別の実施例では、端子バーは、窓の開口領域が対応する光起電力素子のサイズを超えるような2つの隣接する窓を有するダブル・フレームとして形成される。
フレームは、2つの金属フレームとその間に絶縁膜を備えてもよい。
さらに別の実施例では、ダブル・フレームの中央のバーにステップが設けられ、複数のフレームが共に一列を形成することができ、ダブル・フレームの半分は、隣接するダブル・フレームの下半分の上あるいは上半分の下になるように配列される。
ダブル・フレームの中央のバーにスロットを設けることができ、スロットは、ステップに平行に並び、PVモジュールが完成すると、電極の横断ワイヤが切断されることができる。
最後に、金属バーは、フレームの少なくとも1つの窓に架かって配置することができ、バーは、対応する金属フレームと一体化して結合される。
本発明は、以上の請求項のいずれかに記載の複数の電極を設けることにより前記の目的を達成する。このなかで、電極は、一体の連続する一片として形成され、PVモジュールを形成するために接続される隣接した光起電力素子の1つの配列の長さに相当する長さに切断され、一片の長手方向に並んだワイヤは、PV電池の長さに相当する長さに切断される。
望ましくは、一体の端子バーは、透明膜の端部の少なくとも1つの端部に沿って設けることができる。さらに望ましくは、透明膜の各端部に沿って、櫛状のバーが配設され、2つの隣接した光起電力素子の間でそれぞれ、櫛状バーの歯が一方の側から第1の複数のワイヤの幅にわたって延伸し、対応する光起電力素子の上側と下側に交互に電気的に接続され他方の表面から分離される。
本発明は、さらに上記の実施例のいずれかにしたがって少なくとも1つの電極あるいは1つの電極ストリップを含む光起電力電池もしくは光起電力モジュールを提供することにより上記目的を達成する。光起電力電池もしくは光起電力モジュールは、その少なくとも1つの表面上が導電性であり、反射防止の光学的に透明なコーティングを施した1つ以上の光起電力電池を有し第1の複数のワイヤが合金を用いてコーティングおよびそれぞれの端子バーあるいは端子フレームに半田付けされる。
第1と第2の複数のワイヤを配置して網を形成するとき、第1と第2の複数のワイヤを合金を用いて端子バーあるいは端子フレームに接合することが望ましい。
本発明における電極は、接続される表面と緊密で信頼性のあるオーム接触を提供し、PV電池あるいはPVモジュールにおいて8倍から10倍低い合成直列抵抗が達成できる。これによって、PV素子の効率を向上させるばかりではなく、これらの素子を8倍から10倍の集中太陽放射のもとで動作させることが可能となる。第1と第2の複数のワイヤを網状になるように互いに配置し、角状にもしくは方形状に形成した接続導体に接続される。同時に、製造中のオートメ化の度合いやスループット容量を実質的に増大できる。
図1は、PV電池の加熱前の概略的等角部分図である。 図2は、PV電池製造中における加熱および/または加圧ステップ後の図である。 図3は、接触ワイヤの網の概略的等角図である。 図4は、フィルム・タイプ接着性をもつ光学的に透明な電極の製造装置の概略的等角図である。 図5Aは、図4の装置で製造した電極の図である。 図5Bは、図5Aの断面A−Aである。 図5Cは、図5Aのワイヤの方向に対し直角方向に並んだワイヤを有する電極ストリップの図である。 図5Dは、図5Cの断面A−Aである。 図6Aは、ワイヤ・メッシュを有する電極ストリップの図である。 図6Bは、図6Aの断面B−Bである。 図6Cは、図6Aの断面A−Aである。 図7は、加熱と加圧前のPV電池の主要要素の概略的等角分解図である。 図8は、加熱と加圧前の第2の実施例の主要要素の概略的等角分解図である。 図9Aは、PV電池の第3の実施例の図である。 図9Bは、図9Aの光起電力素子の断面A−Aである。 図10Aは、PV電池が互いに並列に接続されたストリップ状に並んだ数個のPV電池の図である。 図10Bは、図10Aの断面A−Aである。 図10Cは、図10Aの断面B−Bである。 図11Aは、ストリップ状になった数個のPV電池の図、電極が網を形成し、電池が並列に接続されている。 図11Bは、図11Aの断面A−Aである。 図12Aは、PV電池が直列に接続されたストリップに並んだPV電池の配列の別の実施例を示す。 図12Bは、図12Aの断面A−Aである。 図13は、PV電池が互いに直列に接続され、電極が網状に配置された電極ストリップの別な実施例を示す。 図14Aは、単一の電極部分がそれぞれ一つのPV電池を形成しているエンドレス電極の図である。 図14Bは、図14Aの断面A−Aである。 図15Aは、ストリップに直列に並んだPV電池の配列の図である。 図15Bは、図15Aの断面A−Aである。 図15Cは、図15Aの断面B−Bである。 図16Aは、ストリップに直列に並んだ数個のPV電池の別の実施例を示す。 図16Bは、図16の断面A−Aである。 図16Cは、図16の断面B−Bである。 図17は、直列接続PV電池を有するPVモジュールの要素の概略的分解図である。 図18は、図17のものに類似したPVモジュールの別の実施例を示す。 図19は、図17のものに類似したPVモジュールのさらに別の実施例を示す。
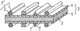
図1は、上部表面が(常に図の描画に関連して)、たとえば、インジウム錫酸化物のような反射防止透明導電性コーティング4で覆われたシリコン(nn(あるいはp)p)などの半導体構造体Sである。素子Sは、薄膜PV素子で構成されてもよい。素子Sの下部表面は、金属コーティング(アルミニウムなど)あるいは反射防止透明導電性コーティング4で覆われる。素子Sと上部コーティング4は、金属コーティング(図示せず)、すなわち、第2の下部ITOコーティング4と組んで、以下でウェーハ3と呼ぶ1つのユニットを形成する。ウェーハ3の両面には低融点の合金からなるコーティング2で覆われた金属ワイヤ1が接続されている。これらのワイヤ1は、合金コーティング2に完全に覆われてもよく、あるいは接続されるべき表面に対向する1つの側面もしくは複数の側面を部分的に覆ってもよい。以下では、被覆されたワイヤを第1の複数のワイヤ5’と呼ぶ。これらのワイヤは、ウェーハ3の一表面もしくは複数の表面に直接的に接触している。
図2は、加圧し120℃まで加熱した後の配置を示している。合金コーティング2の材料は、幾分、軟化し、コーティング4を濡らしており、コーティングおよびワイヤ5’に対してオーム接触を形成している。このことは、素子Sの下側に反射防止透明保護コーティング4を設けず、金属コーティングを設けるケースについても言える。ワイヤ5’の間隔が均一である必要はなく、すなわち、平行なワイヤ5’が複数のワイヤと別の複数のワイヤとの間で間隔が異なる状態で2本のワイヤからなる複数あるいはそれ以上のワイヤからなる複数として配置してもよい。
ワイヤの断面形状およびサイズがワイヤによる電流集電、ワイヤ内の電流密度、PV電池の直列抵抗、ワイヤ5’によって陰になるウェーハ面積の大きさ等を最適化できるように選択される。図1と図2に示すように、たとえば、円形、方形、三角形等の異なった断面形状を選択できる。
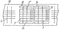
図3は、第1の複数のワイヤ5’と第2の複数のワイヤ5”によるワイヤ・メッシュ6を示す。第1と第2の複数のワイヤ5’と5”は、通常、互いに直角に延伸している。ワイヤ5”は、少なくともワイヤ5’に対向する表面上にあり、合金コーティング2で覆われている。しかし、第1の複数のワイヤ5’上の合金材料の量が交差点における2つの複数のワイヤを安全に機械的、電気的に接続するために十分であれば、第2の複数のワイヤ上の合金コーティングは、省略することができる。ワイヤ5”の間隔、断面形状および面積の選択において、ワイヤ5’の配置とサイズについての同じ考慮事項が適用される。もちろん、ワイヤ5”について、ワイヤ5’と異なった断面形状とサイズを選択することができる。
図4は、フィルム状の接着性光学的透明電極を製造する装置の概略図である。まず、合金被覆ワイヤ5’は、数個のロール7に巻かれる、ロールの数は、PV電池の幅を第1の複数の平行配列ワイヤ間の必要な間隔で割ったものに等しい。たとえば、PV電池幅が100mmでワイヤ間の間隔が4mmの場合、26個のロール7が必要である。ロール7は、軸8に固定される、したがってフレーム9の対応開口を通るワイヤ5’の平行線を形成することができる。フレーム9の開口間の間隔は、平行ワイヤ5’の必要な間隔によって決まる。フレーム9の開口のサイズと形状は、ワイヤ5’のサイズと形状に対応する必要がある。
平行ワイヤ5’は、ドラム12から供給されるポリマ・フィルム10の上に配置される。ワイヤ5’に対向するフィルム10の表面は、透明な接着剤11で覆われている。ワイヤが搭載されるフィルム10の全幅は、ウェーハ31個あるいはいくつかのウェーハ3の配列よりも広い。したがって、フィルム10の両側に、1.5cmから2cmまでのワイヤ5’のないゾーンが残る(図5A)。フィルム10は、回転ローラ13の表面上をドラム12によって導かれ、ドラム15に引かれ、同時にワイヤ5’を引き出す。ワイヤ5’は、回転ローラ13の上に配置された別のローラ14によってフィルム10に押し付けられる。同時に、フィルム10は、ローラ13、14によって加熱され、そのため、接着剤11が軟化し、ワイヤ5’は、接着剤11の中に入り、冷却されると、フィルム10に固定された状態になり、接着剤11に埋め込まれる。PV電池を保護層の間に封じ込むことができるように、ポリマ・フィルムに接着剤を下塗することが推奨される。
図5Aと図5Bは、上記処理の結果、すなわち透明電極の詳細を示す。ポリマ・フィルム10に沿って延伸するワイヤ5’が接着剤11に埋め込まれ、フィルム10に押し付けられる。ワイヤ5’の一部が接着剤11の表面から突出している。図5Bは、ワイヤ5’の左側右側に、ほかに可能な断面形状をさらに示した。
図4のものに類似した製造装置を使ってフィルム10の最初の方向に対して直角方向に配置した埋め込みワイヤ5’を有するポリマ・フィルム10を製造することができる。(図5C,図5D)ポリマ・フィルム10の幅は、PV電池あるいはPVモジュールの必要な長さに対応する必要がある。第1の複数のワイヤ5’をフィルム10に埋め込んだ後、フィルム10の最初の延伸に対して直角な切片に切断することができる。
ワイヤ5’および/または5”の間隔が均一である必要はない、すなわち、平行なワイヤ5’および/または5”が各グループのワイヤの間で、またある数のそのようなグループの間で間隔が異なった状態で2本のワイヤからなるグループあるいはそれ以上のワイヤからなるグループとして配置することができる。
図6Aは、透明なポリマ・フィルム10と第1と第2の複数のワイヤ5’、5”からなるワイヤ・メッシュ6を備えている電極16を示す。ポリマ・フィルム10に接近して位置しているワイヤ5”だけが接着剤11に埋め込まれる(図6B、図6Cを参照)。ウェーハ3の一表面あるいは複数の表面に接触する上部ワイヤ5’は、接着剤11に埋め込まれず、少なくとも不完全に埋め込まれる(この種の電極16の製造中、ロール7がワイヤ・メッシュ6を搬送し、フレーム9は使用しない(図4)。この時点で既に、ワイヤ5’、5”は、一緒に半田付けすることができる。しかし、通常、これは電極16とウェーハ3の組み立て時に行われる。
ポリマ・フィルム10には、広範囲の材料を使用できる。材料は、高い延性、良好な絶縁特性、光学的透明性、温度安定性、収縮耐性、良好な接着能力を有さなければならない。そのような材料の例をあげれば、セロファン(登録商標)、レイヨン、アセテート、フッ素樹脂、ポリスルフォン、エポキシ樹脂、ポリアミド樹脂である。使用すべき適切な材料は、透明ポリマ・フィルム マイラ(登録商標)である。使用することが望ましい材料は、フルオロポリマをベースとしたものであり、たとえば、ポリフッ化ビニル・フィルム・テドラおよび改質ETFEフルオロポリマ樹脂 テフツェル(登録商標)である。これらの材料は、光起電力産業ばかりではなく、一般用途ならびに積層目的で電気技術製品に使用されている。
軟化温度が約90℃から110℃であらかじめ下塗したポリマ・フィルムおよびウェーハ3の表面に良好な接着性を有する広い範囲の材料が接着剤11として適切である。好ましい材料は、エポキシ接着剤は、もとより、アクリル接着剤、ゴム接着剤、シリコン接着剤、ポリビニル・エーテル接着剤がある。最も使用することが望ましい材料としては、たとえば、HI−SHEET INDUSTRIES,LTDが供給するエチレン・ビニル・アセテートおよびデュポンが供給する68080ポリ・メチル・メタクリレート、68040メタクリレート・コポリマ、68070メタクリレート・コポリマがある。
接着剤層11は、電極とウェーハ3の確実な結合を得るため十分な厚さが必要である。しかし、接着剤層の厚さは、ワイヤ5’の厚さを超えてはならない。合金2で覆われるが接着剤11に埋め込まないワイヤ5’の接着剤11から突出している部分は、このあと、ウェーハ3の伝導性表面と直接オーム接触を形成することができる(図5A、図5D、図6B、図6C)。
ポリマ・フィルム10は、接着剤11が塗布されたとき、またワイヤ5’,5”を取り付けて加圧し、加熱して引っ張られたとき十分な安定性を示すように十分な厚さが必要である。同時に、ポリマ・フィルム10は、高い弾力性と光を透過させる透明性を達成するためにできるだけ薄くすべきである。ポリマ・フィルム11の厚さは、10〜50μmが望ましい。すでに述べたように、ポリマ・フィルムの反対側に接着剤を下塗することが望ましい。
図5と図6では、ポリマ・フィルム10は、接着剤11とワイヤ5’(あるいはワイヤ5’,5”を付けたメッシュ)を付けており、合金コーティング2が接着剤11の表面から突出し、連続したエンドレス・フィルム・タイプの光学的に透明な接着性電極として示されている。
本発明の電極16は、PV電池およびPVモジュールの製造のために適用されている。この結果、電極16から電流を集め、さらに送るために、異なったタイプの金属ロッドあるいはバーおよび接続部が必要とされる。ここで、勧めたいことは、数滴の接着剤もしくは短時間の部分的加熱によって金属ロッドあるいはバーを電極に取り付けて、電極16の接着剤11に金属ロッドあるいはバーを接合または固定することである。金属バーとその他の部品がウェーハ3と電極16の組み立て作業中、最高で160℃までの加熱によって膨張したとき、構造部の部品に直接接触しないように、ウェーハ3同士の間に十分なスペースを確保するため金属バーと異なったタイプの接続部分の間隔を設計する必要がある。
図7は、加圧と加熱による組み立て前のPV電池の図である。電極16は、それぞれウェーハ3の上下に配置される。電極16のワイヤ5’が延伸する長手方向に対して直角な方向に、ウェーハ3の両側に第1の端子バー20と第2の端子バーがある。これらの端子バーの上面と下面は、低融点の導電性合金からなるコーティング21が施されている。上部の電極16のワイヤ5’は、ウェーハ3の右の境界から第2の端子バー22の左端まで延伸している。逆に、下部の電極16のワイヤ5’は、ウェーハ3の左端から端子バー20の右端まで延伸している。加圧と加熱をしたあと、上部電極16のワイヤ5’は、左側の第2端子バー22およびウェーハ3の上面にオーム接触を形成しており、下部電極16のワイヤ5’は、端子バー20の下面およびウェーハ3の下面にオーム接触をしている。
導電性合金2、21の典型例は、一般の半田、あるいはAg,Bi,Cd,Ga,In,Pb,Sn,Ti等の異なった金属をもとに特に開発された半田である。金属や合金の粒子を含む有機接着剤からなる導電性材料を使用してもよい。
また一方、図8は、角度をつけて形成した端子バー20、22およびメッシュ6状に配置されたワイヤ5’、5”を有する電極16を備えた類似した構造を示す。加圧および加熱をしたあと、下部電極16のメッシュ6は、右側の第1の角度をつけて形成した端子バー20とウェーハ3の下側にオーム接触が形成されており、一方、上部電極のメッシュ6は、第2の角度をつけて形成した端子バー22およびウェーハ3の上側にオーム接触が形成されている。
図9Aと図9Bは、PV電池であり、端子バーは、三層積層フレーム17として構成されており、その窓の中に対応するウェーハ3が収容されている。ワイヤ5’は、フレーム17の両面に配置され、加熱と加圧によって半田付けされている。
図9Bに詳細に示したように、フレーム17は、2つの金属フレーム18を有しており、その間に望ましくは両面接着剤の絶縁フィルム19が挟まれる。これら2つのフレーム18の外側には、それぞれ導電性合金コーティング21が塗布される。ワイヤ5’に付けた材料の量が十分であり、フレーム17とワイヤ5’の間に確実なオーム接触が形成されているときは、このコーティングは、省略することができる。この場合、フレーム17を錫コーティングすることを推奨する。
この実施例は、メッシュ状の電極16について使用するのに適している。ここでは、第2の複数の(図示せず)ワイヤ5”が第1の複数のワイヤ5’に対して直角に配置され、図9に示すフレーム17の対応する面にオーム接触を形成する。
以下の実施例は、エンドレス・ストリップとして製造される本発明の電極16を利用して、PV電池の配列を互いに直列や並列に接続してPVモジュールを形成することができる。
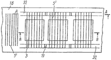
図10A,図10B,図10Cは、櫛型端子バー23を有するエンドレス電極16を示す。ワイヤ5’の外側の長手方向バー24は、エンドレス電極16の長手延伸方向にワイヤと平行して配列されている。長手方向バー24は、横方向に並ぶ横断バー25(櫛の「歯」)と一体的に接続されており、横断バーは、ウェーハ3の間のスペースに一方向あるいは反対方向に突出している。
図10B(図10Aの断面A−Aに示すように、左の横断バー25の上部表面は、絶縁フィルム19が施され、下部表面は、導電性合金からなるコーティング21が塗布されている。右側の横断バー25には、絶縁フィルム19が下部表面に堆積され、導電性合金からなるコーティング21が下部表面に堆積される。
図10Cは、図10Aの断面B−Bを示す。
図10Aから図10Cに示す実施例では、左側の横断バー25は、ウェーハ3の下側に電気的に接続され、各右側横断バー25は、その右側に位置するウェーハ3の上側に電気的に接続される、したがって上記のように配置されたPV電池は、互いに並列に接続される。
図11Aと図11Bは、別の実施例であり、図9Aと図9Bに似た並列接続のPV電池は、直列に並んだ金属フレーム18のエンドレス配列とこれらのフレーム18の間に配置された絶縁ポリマ・フィルム19を積層した三層フレーム17として構成されている。フレーム18の外側に、低融点の導電性コーティング21が配置される。導電性コーティング21は、電極16のワイヤ5’と5”とにオーム接触を形成している。
この実施例では、ウェーハ3は、フレーム17の「窓」の中に位置しており、PV電池は、上下の電極16によって互いに並列に接続される。
図12Aと図12Bは、数個のPV電池の直列接続を示している。周期的にワイヤ5’が切断された電極16の長手方向の延伸に対して直角方向に並ぶ端子バー25は、それぞれその上側と下側にコーティング21が施されている。上部電極16のワイヤ5’は、端子バー25の上側とその右側に配置されたウェーハ3の上側の間にオーム接触を形成しており、下部電極16のワイヤ5’は、各端子バー25の下側とその左側に配置されたウェーハ3の下側との間にオーム接触を形成している。
図13は、PV電池の直列接続は、U型金属バー26によって達成されるエンドレス電極16を示す。長手方向に並んだ端子バーのバー24は、ワイヤ5”とオーム接触を形成しており、電極16に対して直角方向に配置された横断バー25は、ワイヤ5’とオーム接触を形成している。各ウェーハ3は、U型金属端子バー26の内側のスペースと上下の電極16の間に位置している。
ウェーハ3とワイヤ5’との接続は、図12Bと同様である。
図14Aと図14Bは、図12Aと図12Bに示したPV電池の直列接続に使用でき、図13の配置にも同じように使用できる電極16を示す。ワイヤ5’は、それぞれ穿孔29によって切断される。各穿孔は、一本あるいは数本のワイヤ5’にわたる場合がある。もちろん、数本の隣接ワイヤを穿孔する場合よりも、穿孔が一本のワイヤ5’の場合の方が電極16の堅牢さは優れている。後者の場合、電極16の長手延伸方向に対して直角の方向へ電極16の穿孔部分に透明接着ポリマ・フィルムを貼ることを推奨する。
同様に、図13の実施例において、長手方向に配列された端子バー24は、ワイヤ5’とともに切断してもよい。
したがって、ウェーハ3の下側と上側に、それぞれ同じ電極16を使用することができる。電極同士は、横断バー25と次のウェーハ3の端との間隔の幅だけ互いにずらして使用する。
電気エネルギを運ぶ接続部の基本的に異なる構造が図15から図19を参照しながら説明される。
図15における配置の基本要素は、2つの金属フレーム(銅箔が望ましい)28とこれらのフレームの間に設けられた絶縁フィルム19からなる三層積層ダブル・フレーム27である。ダブル・フレーム27の中央のバーに、それと平行にステップが設けられている。ステップの高さは、金属箔の厚さに相当し、すなわち、0.2〜0.3mm(図15A,図15B,図15C)である。図15Bから見ると、金属フレーム28は、互いにずらした位置に重なっており、すなわち、金属フレーム28の左上方部は、左の隣接フレーム28の右下方部よりも上に配置されている。隣接するダブル・フレーム27の2つの重なり合った金属フレーム28の間に設けられた絶縁フィルム19は、その両端が上方あるいは下方に曲げられ、フレーム27構造の表面まで伸びている。ウェーハ3は、フレーム27の「窓」の中に位置している。上下の穿孔した電極16のワイヤ5’は、ウェーハ3の両面および各フレーム窓の左右のバーとオーム接触を形成している。ワイヤ5”は、ワイヤ5’およびフレームの上下のバーに電気的に接続される。ワイヤ5’に接触した金属フレーム28の表面は、必要なら、低融点の合金コーティング21または錫コーティングを行う。
多数のPV電池の配列を連続して相互に接続することが可能である。
図16A,図16B,図16Cは、無穿孔電極16が図5Cと図5Dの電極に相当し、同様に、相当に単純化した構造を示す。この場合、ステップ付きの長手方向バー32を利用している。これらの長手方向バー32は、図15Bと図15Cで図示したフレーム28のように並んでいる。
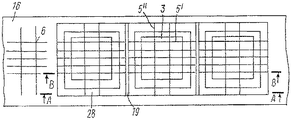
図17は、2つの重ね合わせた金属フレーム28が中央にステップを形成し、互いに位置をずらした全体的配列を表わした図を示したものである。この構成の特徴は、横断バー31がそれぞれ右下の窓に架かっており、バー31は、金属フレーム28と一体的に接続されていることである。本実施例では、バー31が、本発明の下部電極16のワイヤ5’の機能を引き受けており、すなわち、完成したPV電池では、バー31は、その上にあるウェーハ3の各下部表面とオーム接触を形成している。
直列接続のPV電池のエンドレス配列を完成するため、単なるフレーム30を両端に設けてある。配列の左端に設けたこの単なるフレーム30には、バー31もとりつける。
この構造は、電極メッシュ6を有する上部電極16を取り付けて完成する。そのワイヤ5’は、穿孔され、加熱と加圧により、ウェーハ3およびフレーム28と30の上面に接続される。下方の電極16は、長手方向に並ぶ穿孔されたワイヤ5”セクションあるいはワイヤ5”フィールドを有する。ワイヤ・セクションあるいはワイヤ・フィールドは、バー31およびフレーム30を備えた完成品PV電池に接続されている。これにより、バーがワイヤ5”の機能、すなわち、ウェーハ3の下面に間接的に接続されただけワイヤの機能を引き受ける。
図18は、下部電極16の代わりに、接着剤11を塗布した透明ポリマ・フィルム10が設けられたことだけが変化している図17の例に類似した実施例を示す。
最後に、図19は、図17と図18に示した例と類似した実施例である。上部電極6は、切断箇所のないメッシュ6を有している。PV電池の直列接続が完了したあと電極16のワイヤ5’が穿孔できるように、上下フレーム30の左右バーは、もとよりフレーム28の左バーおよび中央バーにスロット33を設ける。このスロット33は、ステップに平行に設けられる。PVモジュールを組み立てたあと、これらのスロット33によって、上部電極16のワイヤ5’を全体的に切断することができる。スロット33の幅は、穿孔後にワイヤ5’が永久に切断されて、互いに分離されたままになるように計算される。

Claims (41)

  1. 光起電力素子の導電性表面に接触する電極装置であって、
    前記電極装置は、電気的に絶縁性があり光学的に透明な膜と、
    前記膜の1つの平面的表面上に設けられた接着剤層と、
    前記接着剤層に埋め込まれ実質的に平行で導電性を有する複数のワイヤとを含み、
    前記複数のワイヤは前記膜の平面的表面上に設けられ、前記接着剤層は前記接着剤層に埋め込まれた前記ワイヤの厚みより厚くない厚みを持ち、
    前記複数のワイヤの一部は前記接着剤層から突き出し、そして
    少なくとも前記複数のワイヤの表面のうち前記接着層から突出している部分は、低融点の合金からなるコーティングで覆われ、
    前記複数のワイヤが前記導電性表面と第1の端子バーに半田付けされる前記電極装置。
  2. 請求項1記載の電極装置において、さらに実質的に相互に平行に並び、前記接着剤層に埋め込まれた前記複数のワイヤと略直角方向に延伸し、ワイヤメッシュを形成する外側の複数のワイヤを有し、前記複数の外側のワイヤは、第2の端子バーに半田付けされる前記電極装置。
  3. 請求項2記載の電極装置において、前記第1と前記第2の端子バーは、相互に電気的に接続される前記電極装置。
  4. 請求項2に記載の電極装置において、前記端子バーは、前記接着剤層に埋め込まれた前記複数のワイヤと前記外側の複数のワイヤのそれぞれの端部に設けられる前記電極装置。
  5. 請求項4記載の電極装置において、前記端子バーは、前記光起電力素子の外側に設置される前記電極装置。
  6. 請求項5に記載の電極装置において、前記端子バーは、接続するため光起電力素子2つの長さに延伸し、その中央にステップが設けられ、複数の端子バーが共に、一列を形成し、端子バーの半分は、それぞれ、隣接する端子バーの下半分の上あるいは上半分の下になるように配列され、前記端子バーの間には、絶縁膜が設けられている前記電極装置。
  7. 請求項1に記載の電極装置において、前記接着剤層に埋め込まれた前記複数のワイヤは前記膜の長手方向に略並行に延伸する前記電極装置。
  8. 請求項1に記載の電極装置において、前記接着剤層に埋め込まれた前記複数のワイヤは前記膜の長手方向に略直角に延伸する前記電極装置。
  9. 請求項2に記載の電極装置において、前記外側の複数のワイヤは前記膜の長手方向に略並行に延伸する前記電極装置。
  10. 請求項2に記載の電極装置において、前記外側の複数のワイヤは前記接着剤層に埋め込まれた前記複数のワイヤに半田付けされる前記電極装置。
  11. 請求項2に記載の電極装置において、前記外側の複数のワイヤは前記接着剤層に埋め込まれた部分を有する前記電極装置。
  12. 請求項1に記載の電極装置において、前記接着剤層は前記接着剤層に埋め込まれた前記ワイヤの厚みより厚くない厚みを持つ前記電極装置。
  13. 請求項1に記載の電極装置において、さらに前記接着剤層は前記接着剤層に埋め込まれた前記ワイヤと電気的に半田付けされ、前記複数のワイヤを横切るよう延伸する前記第1のターミナルバーを有する前記電極装置。
  14. 請求項1に記載の電極装置において、前記膜は引き伸ばされることと、前記接着剤層を保持することに十分な厚みで、弾力性を持つには十分薄い厚みを有する前記電極装置。
  15. 請求項1に記載の電極装置において、前記膜は略10マイクロメータから略50マイクロメータの間の厚みを有する前記電極装置。
  16. 請求項1に記載の電極装置において、前記コーティングは前記複数のワイヤの全表面にあり、前記光起電力素子の前記導電性表面に半田付けされる前記電極装置。
  17. 光起電力素子の導電性表面に接触する電極装置であって、
    前記電極装置は、電気的に絶縁性があり光学的に透明な膜と、
    前記膜の1つの平面的表面上に設けられた接着剤層と、
    前記接着剤層に埋め込まれ実質的に平行で導電性を有し長手方向の表面を有する複数のワイヤとを含み、
    前記複数のワイヤは前記膜の平面的表面上に渡って横たわり、前記接着剤層は前記接着剤層に埋め込まれた前記ワイヤの厚みより厚くない厚みを持ち、
    前記ワイヤの長手方向の表面の一部は前記接着剤層から突き出し、そして
    少なくとも前記ワイヤの表面のうち前記接着層から突出している部分は、低融点の合金からなるコーティングで覆われ、
    前記複数のワイヤが前記導電性表面に半田付けされる前記電極装置。
  18. 光起電力素子の導電性表面に接触する電極装置であって、
    前記電極装置は、電気的に絶縁性があり光学的に透明で平面的表面な膜と、
    前記平面的表面上に設けられた接着剤層と、
    前記平面的表面上に置かれ、前記接着剤層に埋め込まれ実質的に平行で導電性を有する複数のワイヤとを含み、
    前記複数のワイヤは前記膜の平面的表面上に設けられ、前記接着剤層は前記接着剤層に埋め込まれた前記ワイヤの厚みより厚くない厚みを持ち、
    前記複数のワイヤの表面の一部は前記接着剤層から突き出し、そして
    前記接着剤層から突き出している前記複数のワイヤの表面の前記一部が前記光起電力素子の導電性表面とオーム接触するためのオーム接触手段を含み、
    前記接着剤層は前記膜を前記光起電力素子の導電性表面に接着固定し、前記オーム接触手段は前記接着剤層から突き出している前記複数のワイヤの表面の前記一部と前記光起電力素子の導電性表面とをオーム接触する
    前記電極装置。
  19. 請求項18記載の電極装置において、前記オーム接触手段は、前記接着剤層から突き出している前記複数のワイヤの表面の前記一部上にコーティングを有し、前記コーティングは低融点の合金を有し、前記接着剤層から突き出している前記複数のワイヤの表面の前記一部と光起電力素子の導電性表面を半田付けする前記電極装置。
  20. 請求項18に記載の電極装置において、前記膜は引き伸ばされることと、前記接着剤層を保持することに十分な厚みで、弾力性を持つには十分薄い厚みを有する前記電極装置。
  21. 請求項20に記載の電極装置において、前記膜は略10マイクロメータから略50マイクロメータの間の厚みを有する前記電極装置。
  22. 請求項18に記載の電極装置において、前記接着剤層に埋め込まれた前記複数のワイヤは前記膜の長手方向に略並行に延伸する前記電極装置。
  23. 請求項18に記載の電極装置において、前記接着剤層に埋め込まれた前記複数のワイヤは前記膜の長手方向に略直角に延伸する前記電極装置。
  24. 請求項18に記載の電極装置において、さらに第1のターミナルバーを有し、前記オーム接触手段は前記複数のワイヤと前記第1のターミナルバーをオーム接触する前記電極装置。
  25. 請求項24に記載の電極装置において、前記ターミナルバーは第1、第2のメタルフレームと前記第1、第2のメタルフレームの間に絶縁膜を有する前記電極装置。
  26. 請求項24に記載の電極装置において、前記第1のターミナルバーが前記接着剤層に埋め込まれた前記ワイヤを横切るよう延伸する前記電極装置。
  27. 請求項18に記載の電極装置において、さらに第1のターミナルバーを前記膜上に有し、前記第1のターミナルバーは、前記接着剤層に埋め込まれた前記ワイヤに略平行に延伸する長手部分と前記長手部分に接続され隣り合う前記長手部分の間にそれぞれ光起電力素子を受け入れることが出来るよう十分間隔を空けた複数の間隔を空けた横断部分を有し、前記オーム接触手段は前記接着剤層から突き出している前記複数のワイヤの表面の前記一部と前記横断部分とをオーム接触する前記電極装置。
  28. 請求項18に記載の電極装置において、さらに実質的に相互に平行に並び、前記接着剤層に埋め込まれた前記複数のワイヤと略直角方向に延伸する外側の複数のワイヤを有する前記電極装置。
  29. 請求項28に記載の電極装置において、前記外側の複数のワイヤは前記接着剤層に埋め込まれた部分を有する前記電極装置。
  30. 請求項28記載の電極装置において、さらに前記外側の複数のワイヤ上に第2のオーム接触手段を有し、前記第2のオーム接触手段は前記外側の複数のワイヤと光起電力素子の導電性表面を半田付けする前記電極装置。
  31. 請求項30に記載の電極装置において、前記第1、第2のオーム接触手段のうち少なくとも1つは前記接着剤層に埋め込まれた前記複数のワイヤと前記外側の複数のワイヤとをオーム接触する前記電極装置。
  32. 請求項31に記載の電極装置において、前記第2のオーム接触手段は前記外側の複数のワイヤ上に第2のコーティングを有し、前記コーティングは低融点の合金を有し、前記外側の複数のワイヤと前記光起電力素子の導電性表面とを半田付けする前記電極装置。
  33. 請求項30に記載の電極装置において、前記膜の前記平面的表面上に第1のターミナルバーを有し、前記第1のターミナルバーは底辺と第1、第2の自由な足を持ち、前記第1のオーム接触手段は前記接着剤層に埋め込まれた前記複数のワイヤと前記底辺とをオーム接触し、前記第2のオーム接触手段は前記外側の複数のワイヤと前記第1、第2の自由足の少なくとも一方とをオーム接触する前記電極装置。
  34. 請求項30に記載の電極装置において、さらに第1、第2のターミナルバーを有し、前記第1のオーム接触手段は前記接着剤層に埋め込まれた前記複数のワイヤと前記第1のターミナルバーをオーム接触し、前記第2のオーム接触手段は前記外側の複数のワイヤと前記第2のターミナルバーをオーム接触する前記電極装置。
  35. 請求項34に記載の電極装置において、前記第1、第2のターミナルバーは互いに電気的に接続される前記電極装置。
  36. 請求項34に記載の電極装置において、前記第1のターミナルバーは前記接着剤層に埋め込まれた前記複数のワイヤの端部に位置し、前記第2のターミナルバーは前記外側の複数のワイヤの端部に位置する前記電極装置。
  37. 請求項34に記載の電極装置において、前記第1、第2のターミナルバーは前記光起電力素子の外周の外側に配置される前記電極装置。
  38. 請求項34に記載の電極装置において、前記第1、第2のターミナルバーは互いにある角度で配置される前記電極装置。
  39. 請求項30に記載の電極装置において、さらに角度を持って形成され第1、第2のターミナルバー部分を有するターミナルバーを有し、前記第1のオーム接触手段は前記接着剤層に埋め込まれた前記複数のワイヤと前記第1のターミナルバー部分とをオーム接触し、前記第2のオーム接触手段は前記外側の複数のワイヤと前記第2のターミナルバー部分とをオーム接触する前記電極装置。
  40. 光起電力システムであって、
    閉フレームを構成し、開口領域を有するターミナルバー、
    前記開口部にあり、第1の導電性表面を持つ第1の光起電力素子、そして
    電極装置を含み、
    前記電極装置は、電気的に絶縁性があり光学的に透明で平面的表面な膜と、
    前記平面的表面上に設けられた接着剤層と、
    前記平面的表面上に置かれ、前記接着剤層に埋め込まれ実質的に平行で導電性を有する複数のワイヤとを含み、
    前記複数のワイヤは前記膜の平面的表面上に設けられ、前記接着剤層は前記接着剤層に埋め込まれた前記ワイヤの厚みより厚くない厚みを持ち、前記複数のワイヤの表面の一部は前記接着剤層から突き出し、そして
    前記接着剤層から突き出している前記複数のワイヤの表面の前記一部が前記第1の光起電力素子の導電性表面とオーム接触し、前記ターミナルバーとオーム接触するための第1のオーム接触手段を含み、
    前記接着剤層は前記膜を前記第1の導電性表面に接着固定し、前記オーム接触手段は前記接着剤層から突き出している前記複数のワイヤの表面の前記一部と前記光起電力素子の第1の導電性表面と前記ターミナルバーとをオーム接触する前記光起電力システム。
  41. 請求項40に記載の光起電力システムあって、
    前記ターミナルバーは第2の開口部を有し、さらに前記第2の開口部にあり、第2の導電性表面を持つ第2の光起電力素子を含み、
    前記第1のオーム接触手段は、前記接着剤層から突き出している前記複数のワイヤの表面の前記一部と前記第2の光起電力素子の第2の導電性表面とをオーム接触する前記光起電力システム。
JP2009265066A 2002-08-29 2009-11-20 光起電力電池用電極、光起電力電池および光起電力モジュール Expired - Lifetime JP5185913B2 (ja)

Applications Claiming Priority (2)

Application Number Priority Date Filing Date Title
DE10239845A DE10239845C1 (de) 2002-08-29 2002-08-29 Elektrode für fotovoltaische Zellen, fotovoltaische Zelle und fotovoltaischer Modul
DE10239845.3 2002-08-29

Related Parent Applications (1)

Application Number Title Priority Date Filing Date
JP2004531327A Division JP2005536894A (ja) 2002-08-29 2003-08-21 光起電力電池用電極、光起電力電池および光起電力モジュール

Publications (3)

Publication Number Publication Date
JP2010045402A true JP2010045402A (ja) 2010-02-25
JP2010045402A5 JP2010045402A5 (ja) 2010-04-08
JP5185913B2 JP5185913B2 (ja) 2013-04-17

Family

ID=29594632

Family Applications (2)

Application Number Title Priority Date Filing Date
JP2004531327A Ceased JP2005536894A (ja) 2002-08-29 2003-08-21 光起電力電池用電極、光起電力電池および光起電力モジュール
JP2009265066A Expired - Lifetime JP5185913B2 (ja) 2002-08-29 2009-11-20 光起電力電池用電極、光起電力電池および光起電力モジュール

Family Applications Before (1)

Application Number Title Priority Date Filing Date
JP2004531327A Ceased JP2005536894A (ja) 2002-08-29 2003-08-21 光起電力電池用電極、光起電力電池および光起電力モジュール

Country Status (19)

Country Link
US (2) US7432438B2 (ja)
EP (1) EP1547158B1 (ja)
JP (2) JP2005536894A (ja)
KR (1) KR101014393B1 (ja)
CN (2) CN101425546B (ja)
AT (1) ATE379849T1 (ja)
AU (1) AU2003258427B8 (ja)
BR (1) BRPI0313851B1 (ja)
CA (1) CA2496557C (ja)
CY (1) CY1107220T1 (ja)
DE (2) DE10239845C1 (ja)
DK (1) DK1547158T3 (ja)
ES (1) ES2297257T3 (ja)
IL (1) IL166854A (ja)
MX (1) MXPA05002321A (ja)
PT (1) PT1547158E (ja)
SI (1) SI1547158T1 (ja)
WO (1) WO2004021455A1 (ja)
ZA (1) ZA200501563B (ja)

Cited By (3)

* Cited by examiner, † Cited by third party
Publication number Priority date Publication date Assignee Title
US10637392B2 (en) 2011-05-27 2020-04-28 Nederlandse Organisatie Voor Toegepast-Natuurwetenschappelijk Onderzoek Tno Photovoltaic device and method of manufacturing the same
EP3675180A1 (en) 2018-12-27 2020-07-01 Panasonic Corporation Solar cell module including solar cells
JP2023086854A (ja) * 2019-04-08 2023-06-22 大日本印刷株式会社 太陽電池モジュール用の集電ワイヤー固定フィルム、及び、それを用いてなる太陽電池モジュール

Families Citing this family (233)

* Cited by examiner, † Cited by third party
Publication number Priority date Publication date Assignee Title
US20080314433A1 (en) * 1995-05-15 2008-12-25 Daniel Luch Substrate structures for integrated series connected photovoltaic arrays and process of manufacture of such arrays
US7732243B2 (en) 1995-05-15 2010-06-08 Daniel Luch Substrate structures for integrated series connected photovoltaic arrays and process of manufacture of such arrays
US20090111206A1 (en) 1999-03-30 2009-04-30 Daniel Luch Collector grid, electrode structures and interrconnect structures for photovoltaic arrays and methods of manufacture
US8138413B2 (en) 2006-04-13 2012-03-20 Daniel Luch Collector grid and interconnect structures for photovoltaic arrays and modules
US7635810B2 (en) * 1999-03-30 2009-12-22 Daniel Luch Substrate and collector grid structures for integrated photovoltaic arrays and process of manufacture of such arrays
US7507903B2 (en) 1999-03-30 2009-03-24 Daniel Luch Substrate and collector grid structures for integrated series connected photovoltaic arrays and process of manufacture of such arrays
US8222513B2 (en) 2006-04-13 2012-07-17 Daniel Luch Collector grid, electrode structures and interconnect structures for photovoltaic arrays and methods of manufacture
US8076568B2 (en) 2006-04-13 2011-12-13 Daniel Luch Collector grid and interconnect structures for photovoltaic arrays and modules
US8664030B2 (en) 1999-03-30 2014-03-04 Daniel Luch Collector grid and interconnect structures for photovoltaic arrays and modules
US7898053B2 (en) 2000-02-04 2011-03-01 Daniel Luch Substrate structures for integrated series connected photovoltaic arrays and process of manufacture of such arrays
US8198696B2 (en) 2000-02-04 2012-06-12 Daniel Luch Substrate structures for integrated series connected photovoltaic arrays and process of manufacture of such arrays
US7898054B2 (en) 2000-02-04 2011-03-01 Daniel Luch Substrate structures for integrated series connected photovoltaic arrays and process of manufacture of such arrays
DE10239845C1 (de) 2002-08-29 2003-12-24 Day4 Energy Inc Elektrode für fotovoltaische Zellen, fotovoltaische Zelle und fotovoltaischer Modul
US7732229B2 (en) 2004-09-18 2010-06-08 Nanosolar, Inc. Formation of solar cells with conductive barrier layers and foil substrates
US7838868B2 (en) 2005-01-20 2010-11-23 Nanosolar, Inc. Optoelectronic architecture having compound conducting substrate
US8927315B1 (en) 2005-01-20 2015-01-06 Aeris Capital Sustainable Ip Ltd. High-throughput assembly of series interconnected solar cells
US7622666B2 (en) * 2005-06-16 2009-11-24 Soliant Energy Inc. Photovoltaic concentrator modules and systems having a heat dissipating element located within a volume in which light rays converge from an optical concentrating element towards a photovoltaic receiver
US20070089777A1 (en) * 2005-10-04 2007-04-26 Johnson Richard L Jr Heatsink for concentrating or focusing optical/electrical energy conversion systems
US20070144577A1 (en) * 2005-12-23 2007-06-28 Rubin George L Solar cell with physically separated distributed electrical contacts
JP4642662B2 (ja) * 2006-01-16 2011-03-02 キヤノン株式会社 光起電力素子
US7688525B2 (en) 2006-01-17 2010-03-30 Soliant Energy, Inc. Hybrid primary optical component for optical concentrators
US7498508B2 (en) 2006-02-24 2009-03-03 Day4 Energy, Inc. High voltage solar cell and solar cell module
WO2007116806A1 (ja) * 2006-03-31 2007-10-18 Pioneer Corporation 低抵抗基板の作製方法
US8729385B2 (en) 2006-04-13 2014-05-20 Daniel Luch Collector grid and interconnect structures for photovoltaic arrays and modules
US9236512B2 (en) 2006-04-13 2016-01-12 Daniel Luch Collector grid and interconnect structures for photovoltaic arrays and modules
US8884155B2 (en) 2006-04-13 2014-11-11 Daniel Luch Collector grid and interconnect structures for photovoltaic arrays and modules
US8822810B2 (en) 2006-04-13 2014-09-02 Daniel Luch Collector grid and interconnect structures for photovoltaic arrays and modules
US9006563B2 (en) 2006-04-13 2015-04-14 Solannex, Inc. Collector grid and interconnect structures for photovoltaic arrays and modules
US9865758B2 (en) 2006-04-13 2018-01-09 Daniel Luch Collector grid and interconnect structures for photovoltaic arrays and modules
US20070283996A1 (en) * 2006-06-13 2007-12-13 Miasole Photovoltaic module with insulating interconnect carrier
US20070283997A1 (en) * 2006-06-13 2007-12-13 Miasole Photovoltaic module with integrated current collection and interconnection
US20080053519A1 (en) * 2006-08-30 2008-03-06 Miasole Laminated photovoltaic cell
DE102006041046A1 (de) * 2006-09-01 2008-03-06 Cis Solartechnik Gmbh & Co. Kg Solarzelle, Verfahren zur Herstellung von Solarzellen sowie elektrische Leiterbahn
US20080083448A1 (en) * 2006-09-29 2008-04-10 Borden Peter G Interconnect for thin film photovoltaic modules
US20080128586A1 (en) * 2006-10-13 2008-06-05 Johnson Richard L Sun sensor assembly and related method of using
US20080092944A1 (en) * 2006-10-16 2008-04-24 Leonid Rubin Semiconductor structure and process for forming ohmic connections to a semiconductor structure
DE102006052018A1 (de) * 2006-11-03 2008-05-15 Fraunhofer-Gesellschaft zur Förderung der angewandten Forschung e.V. Solarzelle und Solarzellenmodul mit verbesserten Rückseiten-Elektroden sowie Verfahren und Herstellung
US20080142071A1 (en) * 2006-12-15 2008-06-19 Miasole Protovoltaic module utilizing a flex circuit for reconfiguration
US20090000612A1 (en) * 2007-05-04 2009-01-01 Hines Braden E Apparatuses and methods for shaping reflective surfaces of optical concentrators
US20080290368A1 (en) * 2007-05-21 2008-11-27 Day4 Energy, Inc. Photovoltaic cell with shallow emitter
US20080289953A1 (en) * 2007-05-22 2008-11-27 Miasole High rate sputtering apparatus and method
US8697980B2 (en) * 2007-06-19 2014-04-15 Hanergy Holding Group Ltd. Photovoltaic module utilizing an integrated flex circuit and incorporating a bypass diode
US20090014057A1 (en) * 2007-07-13 2009-01-15 Miasole Photovoltaic modules with integrated devices
US20090014058A1 (en) * 2007-07-13 2009-01-15 Miasole Rooftop photovoltaic systems
US20090014049A1 (en) * 2007-07-13 2009-01-15 Miasole Photovoltaic module with integrated energy storage
US20100047954A1 (en) * 2007-08-31 2010-02-25 Su Tzay-Fa Jeff Photovoltaic production line
US8225496B2 (en) 2007-08-31 2012-07-24 Applied Materials, Inc. Automated integrated solar cell production line composed of a plurality of automated modules and tools including an autoclave for curing solar devices that have been laminated
JP4990738B2 (ja) * 2007-11-09 2012-08-01 株式会社ブリヂストン 太陽電池の製造方法
JP2009117742A (ja) * 2007-11-09 2009-05-28 Bridgestone Corp 太陽電池用電極フィルム、これを用いた太陽電池の製造方法、並びに太陽電池
TW200939509A (en) * 2007-11-19 2009-09-16 Applied Materials Inc Crystalline solar cell metallization methods
WO2009067483A1 (en) * 2007-11-19 2009-05-28 Applied Materials, Inc. Solar cell contact formation process using a patterned etchant material
US20100000602A1 (en) * 2007-12-11 2010-01-07 Evergreen Solar, Inc. Photovoltaic Cell with Efficient Finger and Tab Layout
US8334453B2 (en) * 2007-12-11 2012-12-18 Evergreen Solar, Inc. Shaped tab conductors for a photovoltaic cell
US20090199894A1 (en) * 2007-12-14 2009-08-13 Miasole Photovoltaic devices protected from environment
CN101919066A (zh) * 2007-12-18 2010-12-15 达伊4能量有限公司 具有对光伏链的边缘接入的光伏模块、互连方法、装置和系统
US8933320B2 (en) 2008-01-18 2015-01-13 Tenksolar, Inc. Redundant electrical architecture for photovoltaic modules
US8748727B2 (en) 2008-01-18 2014-06-10 Tenksolar, Inc. Flat-plate photovoltaic module
US8212139B2 (en) 2008-01-18 2012-07-03 Tenksolar, Inc. Thin-film photovoltaic module
US20090183764A1 (en) * 2008-01-18 2009-07-23 Tenksolar, Inc Detachable Louver System
US20090188603A1 (en) * 2008-01-25 2009-07-30 Applied Materials, Inc. Method and apparatus for controlling laminator temperature on a solar cell
WO2010110778A2 (en) * 2008-02-27 2010-09-30 Applied Materials, Inc. Method and apparatus for forming an electrical connection on a solar cell
US7908743B2 (en) * 2008-02-27 2011-03-22 Applied Materials, Inc. Method for forming an electrical connection
US8912429B2 (en) * 2008-03-20 2014-12-16 Hanergy Holding Group Ltd. Interconnect assembly
US20100043863A1 (en) 2008-03-20 2010-02-25 Miasole Interconnect assembly
US20110197947A1 (en) * 2008-03-20 2011-08-18 Miasole Wire network for interconnecting photovoltaic cells
JP5094509B2 (ja) * 2008-03-31 2012-12-12 三洋電機株式会社 太陽電池モジュール
DE102008020749A1 (de) * 2008-04-22 2009-10-29 Cis Solartechnik Gmbh & Co. Kg Verfahren zur Herstellung einer Solarzelle
US20090283137A1 (en) * 2008-05-15 2009-11-19 Steven Thomas Croft Solar-cell module with in-laminate diodes and external-connection mechanisms mounted to respective edge regions
AU2009246864A1 (en) 2008-05-16 2009-11-19 Emcore Corporation Solar systems that include one or more shade-tolerant wiring schemes
DE102008030262A1 (de) * 2008-06-18 2009-12-24 Gebr. Schmid Gmbh & Co. Solarzelle und Verfahren zur Herstellung einer Solarzelle
JP5436805B2 (ja) * 2008-07-04 2014-03-05 三洋電機株式会社 太陽電池モジュール
WO2010009297A2 (en) * 2008-07-16 2010-01-21 Applied Materials, Inc. Hybrid heterojunction solar cell fabrication using a doping layer mask
JP5223004B2 (ja) 2008-07-28 2013-06-26 デイ4 エネルギー インコーポレイテッド 低温精密エッチ・バック及び不動態化プロセスで製造された選択エミッタを有する結晶シリコンpv電池
US20100037933A1 (en) * 2008-08-12 2010-02-18 Harold John Hovel Solar cell panels and method of fabricating same
US7951637B2 (en) * 2008-08-27 2011-05-31 Applied Materials, Inc. Back contact solar cells using printed dielectric barrier
JP2010067968A (ja) * 2008-09-11 2010-03-25 Komax Holding Ag 太陽素子に対して細長導体を付着するための方法および装置
JP5064353B2 (ja) * 2008-10-27 2012-10-31 シャープ株式会社 太陽電池装置、携帯電子機器、並びに全地球測位システム装置
US8586857B2 (en) * 2008-11-04 2013-11-19 Miasole Combined diode, lead assembly incorporating an expansion joint
US9059351B2 (en) 2008-11-04 2015-06-16 Apollo Precision (Fujian) Limited Integrated diode assemblies for photovoltaic modules
US20100122730A1 (en) * 2008-11-17 2010-05-20 Corneille Jason S Power-loss-inhibiting current-collector
DE102008043833B4 (de) * 2008-11-18 2016-03-10 Maximilian Scherff Solarzellensystem, Solarmodul und Verfahren zur elektrischen Verschaltung rückseitenkontaktierter Solarzellen
DE202008016139U1 (de) * 2008-12-08 2010-04-29 Usk Karl Utz Sondermaschinen Gmbh Solarzellenverbund
US8563847B2 (en) 2009-01-21 2013-10-22 Tenksolar, Inc Illumination agnostic solar panel
US20100206370A1 (en) * 2009-02-18 2010-08-19 Qualcomm Incorporated Photovoltaic Cell Efficiency Using Through Silicon Vias
WO2010096833A2 (en) * 2009-02-23 2010-08-26 Tenksolar, Inc. Highly efficient renewable energy system
US20120027994A1 (en) * 2009-03-17 2012-02-02 Konica Minolta Holdings, Inc. Transparent conductive film and method for manufacturing transparent conductive film
DE102009020029A1 (de) 2009-05-05 2010-11-11 Feindrahtwerk Adolf Edelhoff Gmbh & Co. Kg Elektrisches Kontaktierungselement für photovoltaische Zellen
DE202009006542U1 (de) 2009-05-05 2009-07-23 Feindrahtwerk Adolf Edelhoff Gmbh & Co. Kg Elektrisches Kontaktierungselement für photovoltaische Zellen
US8247243B2 (en) 2009-05-22 2012-08-21 Nanosolar, Inc. Solar cell interconnection
EP2438632A4 (en) * 2009-06-03 2014-01-22 First Solar Inc SELF-CLEANING PHOTOVOLTAIC MODULE
JP5380166B2 (ja) * 2009-06-08 2014-01-08 株式会社アルバック 結晶系太陽電池セル及びその製造方法
JP5573372B2 (ja) * 2009-06-11 2014-08-20 大日本印刷株式会社 有機薄膜太陽電池およびその製造方法
US20110023952A1 (en) * 2009-07-30 2011-02-03 Evergreen Solar, Inc. Photovoltaic cell with semiconductor fingers
CH701679A1 (de) 2009-08-19 2011-02-28 Cells S A Vorrichtung und Verfahren zur Kontaktierung von Siliziumsolarzellen.
US8574949B2 (en) * 2009-09-20 2013-11-05 Intermolecular, Inc. Methods of building crystalline silicon solar cells for use in combinatorial screening
US8227723B2 (en) * 2009-10-19 2012-07-24 Applied Materials, Inc. Solder bonding method and apparatus
US20110146786A1 (en) * 2009-12-23 2011-06-23 First Solar, Inc. Photovoltaic module interlayer
US8759664B2 (en) 2009-12-28 2014-06-24 Hanergy Hi-Tech Power (Hk) Limited Thin film solar cell strings
EP2348539B1 (en) 2010-01-19 2019-05-29 SolarWorld Industries GmbH Photovoltaic cell electrode and method for electrically connecting a photovoltaic cell
US9773933B2 (en) 2010-02-23 2017-09-26 Tenksolar, Inc. Space and energy efficient photovoltaic array
WO2011105538A1 (ja) * 2010-02-25 2011-09-01 産機電業株式会社 シリコン粉末を用いた太陽電池セルの製造方法
DE102010016476B4 (de) 2010-04-16 2022-09-29 Meyer Burger (Germany) Gmbh Verfahren zum Aufbringen von Kontaktdrähten auf eine Oberfläche einer Photovoltaikzelle, Photovoltaikzelle, Photovoltaikmodul, Anordnung zum Aufbringen von Kontaktdrähten auf eine Oberfläche einer Photovoltaikzelle
DE102010016675A1 (de) 2010-04-28 2011-11-03 Solarworld Innovations Gmbh Photovoltaikmodul, Verfahren zum elektrischen Verbinden einer Mehrzahl von Photovoltaikzellen, und Einrichtung zum elektrischen Verbinden einer Mehrzahl von Photovoltaikzellen
US9061344B1 (en) 2010-05-26 2015-06-23 Apollo Precision (Fujian) Limited Apparatuses and methods for fabricating wire current collectors and interconnects for solar cells
KR20130086960A (ko) 2010-05-28 2013-08-05 솔라월드 이노베이션즈 게엠베하 태양 전지들을 접촉 및 연결하기 위한 방법과, 상기 방법에 의해 제조된 태양 전지 결합체
DE102010017180A1 (de) 2010-06-01 2011-12-01 Solarworld Innovations Gmbh Solarzelle, Solarmodul, und Verfahren zum Verdrahten einer Solarzelle, und Kontaktdraht
US9299861B2 (en) 2010-06-15 2016-03-29 Tenksolar, Inc. Cell-to-grid redundandt photovoltaic system
JPWO2012014806A1 (ja) * 2010-07-30 2013-09-12 三洋電機株式会社 太陽電池の製造方法
WO2012021650A2 (en) 2010-08-10 2012-02-16 Tenksolar, Inc. Highly efficient solar arrays
US9147788B2 (en) 2010-09-07 2015-09-29 Dow Global Technologies Llc Photovoltaic cell assembly
CN103109378B (zh) 2010-09-17 2016-06-01 陶氏环球技术有限责任公司 改进的光伏电池组件和方法
JP6115135B2 (ja) * 2010-09-29 2017-04-19 日立化成株式会社 太陽電池モジュール
US10026859B2 (en) * 2010-10-04 2018-07-17 Beijing Apollo Ding Rong Solar Technology Co., Ltd. Small gauge wire solar cell interconnect
KR20130132444A (ko) * 2010-10-18 2013-12-04 데이4 에너지 인코포레이티드 태양 전지용 검사 장치
WO2012052542A1 (en) 2010-10-21 2012-04-26 Tag Hammam Arrangement in a solar panel
US8956888B2 (en) 2010-11-03 2015-02-17 Apollo Precision Fujian Limited Photovoltaic device and method and system for making photovoltaic device
EP2650922A4 (en) * 2010-12-06 2017-05-10 Sakamoto, Jun Panel, method for producing panel, solar cell module, printing apparatus, and printing method
TW201234626A (en) * 2011-01-13 2012-08-16 Intevac Inc Non-contacting bus bars for solar cells and methods of making non-contacting bus bars
DE102011000753A1 (de) 2011-02-15 2012-08-16 Solarworld Innovations Gmbh Solarzelle, Solarmodul und Verfahren zum Herstellen einer Solarzelle
DE102011001061B4 (de) * 2011-03-03 2017-10-05 Solarworld Innovations Gmbh Solarzellenverbinder-Elektrode, Solarzellenmodul und Verfahren zum elektrischen Verbinden mehrerer Solarzellen
DE102011014795B4 (de) 2011-03-15 2021-05-06 Hegla Boraident Gmbh & Co. Kg Verfahren zum Herstellen von flexiblen Dünnschicht-Solarzellen
JP5798772B2 (ja) * 2011-03-25 2015-10-21 デクセリアルズ株式会社 太陽電池モジュール、太陽電池モジュールの製造方法、タブ線
US8951824B1 (en) 2011-04-08 2015-02-10 Apollo Precision (Fujian) Limited Adhesives for attaching wire network to photovoltaic cells
TWI433331B (zh) 2011-05-17 2014-04-01 新日光能源科技股份有限公司 電極膠帶之製作機台
CN102786883A (zh) 2011-05-17 2012-11-21 旺能光电股份有限公司 电极胶带和太阳能电池模块及其制作方法
NL2006966C2 (en) 2011-06-17 2012-12-18 Stichting Energie Photovoltaic system and connector for a photovoltaic cell with interdigitated contacts.
JP5903550B2 (ja) * 2011-07-28 2016-04-13 パナソニックIpマネジメント株式会社 太陽電池、太陽電池モジュール、太陽電池の製造方法
WO2013030991A1 (ja) * 2011-08-31 2013-03-07 三洋電機株式会社 太陽電池及びその製造方法
CN102983785A (zh) * 2011-09-02 2013-03-20 杜邦太阳能有限公司 光电转换系统
EP2761675A2 (en) 2011-09-29 2014-08-06 Dow Global Technologies LLC Photovoltaic cell interconnect
US20140352753A1 (en) 2011-09-29 2014-12-04 Dow Global Technologies Llc Photovoltaic cell interconnect
US8497153B2 (en) 2011-10-31 2013-07-30 E I Du Pont De Nemours And Company Integrated back-sheet for back contact photovoltaic module
WO2013082091A2 (en) 2011-11-29 2013-06-06 Dow Global Technologies Llc Method of forming a photovoltaic cell
WO2013085829A1 (en) 2011-12-08 2013-06-13 Dow Global Technologies Llc Method of forming a photovoltaic cell
US9306103B2 (en) 2011-12-22 2016-04-05 E I Du Pont De Nemours And Company Back contact photovoltaic module with integrated circuitry
WO2013091725A1 (en) * 2011-12-23 2013-06-27 Aurubis Ag A conductor spool, a method for manufacturing a solar cell and a solar cell
WO2013106225A1 (en) 2012-01-12 2013-07-18 Applied Materials, Inc. Methods of manufacturing solar cell devices
WO2013106896A1 (en) * 2012-01-17 2013-07-25 Day4 Energy Inc. Photovoltaic module with cell assemblies bearing adhesive for securing the assemblies in the module
DE102012003455A1 (de) 2012-02-22 2013-08-22 Mühlbauer Ag Verfahren und Vorrichtung zur Herstellung eines Solarmoduls und ein Solarmodul mit flexiblen Dünnschicht-Solarzellen
IN2014KN01621A (ja) 2012-02-22 2015-10-23 Muehlbauer Ag
US9385254B2 (en) 2012-04-17 2016-07-05 Hanergy Hi-Tech Power (Hk) Limited Integrated thin film solar cell interconnection
ITTO20120095U1 (it) 2012-05-22 2013-11-23 Domenico Gustavo Gioco Pannello fotovoltaico flessibile.
DE102012017564B4 (de) * 2012-09-05 2018-10-11 Universität Konstanz Vorrichtung zur nicht-permanenten elektrischen Kontaktierung von Solarzellen zur Messung elektrischer Eigenschaften
JP6050661B2 (ja) * 2012-11-21 2016-12-21 長州産業株式会社 光発電装置の製造方法
CN105164816B (zh) 2013-01-28 2017-03-08 环球太阳能公司 光伏互连系统、装置和方法
KR102043425B1 (ko) * 2013-03-06 2019-11-12 엘지전자 주식회사 태양 전지 측정 장치
US8936709B2 (en) 2013-03-13 2015-01-20 Gtat Corporation Adaptable free-standing metallic article for semiconductors
US8916038B2 (en) 2013-03-13 2014-12-23 Gtat Corporation Free-standing metallic article for semiconductors
US8569096B1 (en) 2013-03-13 2013-10-29 Gtat Corporation Free-standing metallic article for semiconductors
KR20150133243A (ko) 2013-03-19 2015-11-27 쵸슈 산교 가부시키가이샤 광 기전력 소자 및 그 제조 방법
DE102013204814A1 (de) * 2013-03-19 2014-09-25 Robert Bosch Gmbh Fotovoltaik-Modul und Verfahren zur Herstellung eines Fotovoltaik-Moduls
CN103325875A (zh) * 2013-06-23 2013-09-25 深圳市华光达科技有限公司 一种新型太阳能电池片的电流汇集装置及其制备工艺
CN103500773A (zh) * 2013-09-16 2014-01-08 深圳市索阳新能源科技有限公司 一种新型高效的背接触式太阳能发电组件及其制造方法
DE102013219526B4 (de) 2013-09-27 2022-10-13 Meyer Burger (Germany) Gmbh Solarzellenverbund mit Verbindungselement und Verfahren zum Herstellen eines Solarzellenverbunds
CN105612056A (zh) 2013-10-15 2016-05-25 梅耶博格公司 用于形成层压板的方法和系统
US9921261B2 (en) * 2013-10-17 2018-03-20 Kla-Tencor Corporation Method and apparatus for non-contact measurement of sheet resistance and shunt resistance of p-n junctions
DE102014200956A1 (de) * 2013-12-20 2015-06-25 Fraunhofer-Gesellschaft zur Förderung der angewandten Forschung e.V. Photovoltaische Zelle, Photovoltaikmodul sowie dessen Herstellung und Verwendung
US10672927B2 (en) * 2014-06-20 2020-06-02 Merlin Solar Technologies, Inc. Photovoltaic cell having a coupled expanded metal article
CN105322036B (zh) * 2014-07-17 2017-06-23 英属开曼群岛商精曜有限公司 太阳能模块及其制造方法
EP2993210A1 (en) 2014-09-03 2016-03-09 Specialized Technology Resources Espana, S.A. Encapsulating film for a photovoltaic module
DE102014112650A1 (de) * 2014-09-03 2016-03-03 Hanwha Q Cells Gmbh Solarmodul-Rückseitenverkapselungselement und Solarmodul
KR20160038694A (ko) * 2014-09-30 2016-04-07 엘지전자 주식회사 태양 전지 및 이를 포함하는 태양 전지 패널
EP3002792B1 (en) * 2014-09-30 2016-12-21 LG Electronics Inc. Solar cell and solar cell panel including the same
WO2016065935A1 (en) * 2014-10-31 2016-05-06 Byd Company Limited Solar cell module and manufacturing method thereof
CN105576057B (zh) * 2014-10-31 2018-06-26 比亚迪股份有限公司 太阳能电池组件及其制备方法
CN106206762B (zh) * 2014-10-31 2018-12-21 比亚迪股份有限公司 太阳能电池片阵列、太阳能电池组件及其制备方法
US20160126372A1 (en) 2014-10-31 2016-05-05 Byd Company Limited Solar cell array, solar cell module and manufacturing method thereof
DE102014118332A1 (de) * 2014-12-10 2016-06-16 Solarworld Innovations Gmbh Photovoltaikmodul
DE112015005808T5 (de) * 2014-12-26 2017-10-05 Panasonic Intellectual Property Management Co., Ltd. Solarzellenmodul
EP3046151B1 (en) * 2015-01-16 2019-04-03 Somont GmbH Method and apparatus of fabricating an interconnector assembly
EP3051595A1 (en) 2015-01-29 2016-08-03 Meyer Burger AG Method and device for making an interconnector for solar cells and such interconnector
KR20170103922A (ko) * 2015-02-06 2017-09-13 듀폰-미츠이 폴리케미칼 가부시키가이샤 배선 시트, 구조체 및 광발전 모듈
JP2018056145A (ja) * 2015-02-06 2018-04-05 長州産業株式会社 光発電モジュール
CN107438904B (zh) 2015-03-30 2020-04-10 Imec 非营利协会 电接触和互连光伏电池
KR101680037B1 (ko) * 2015-07-28 2016-12-12 엘지전자 주식회사 태양 전지 및 이를 포함하는 태양 전지 패널
KR20170017776A (ko) * 2015-08-05 2017-02-15 엘지전자 주식회사 태양 전지 패널용 리본 및 이의 제조 방법, 그리고 태양 전지 패널
KR101661859B1 (ko) * 2015-09-09 2016-09-30 엘지전자 주식회사 태양 전지 모듈 및 그 제조 방법
CN106558631B (zh) * 2015-09-18 2020-05-12 上海太阳能工程技术研究中心有限公司 无主栅双面电池组件及其制作工艺
US10840394B2 (en) * 2015-09-25 2020-11-17 Total Marketing Services Conductive strip based mask for metallization of semiconductor devices
ES2772256T3 (es) 2015-11-06 2020-07-07 Meyer Burger Switzerland Ag Láminas conductoras de polímero, celdas solares y métodos para producirlos
CN105576046B (zh) * 2015-12-15 2017-08-11 黄河水电光伏产业技术有限公司 一种用于太阳能电池的无主栅焊带的制备方法
WO2017186592A1 (en) * 2016-04-29 2017-11-02 Agc Glass Europe Assembly
US10128391B2 (en) 2016-06-22 2018-11-13 Beijing Apollo Ding Rong Solar Technology Co., Ltd. Photovoltaic module with flexible wire interconnection
CN106393815B (zh) * 2016-08-31 2018-04-06 西安泰力松新材料股份有限公司 一种金属丝/膜复合机及其控制装置和方法
HUP1700044A2 (en) 2017-01-31 2018-12-28 Ecosolifer Invest Ag Solar cell with improved electrodes and solar module composed of such cells
EP3389099B1 (en) 2017-04-14 2020-04-01 Meyer Burger (Switzerland) AG Photovoltaic module, photovoltaic encapsulant and method of producing a photovoltaic module
CN109004041B (zh) * 2017-06-06 2020-04-28 清华大学 太阳能电池
FR3067519B1 (fr) * 2017-06-08 2019-07-26 Centre National D'etudes Spatiales Panneau solaire comportant notamment une structure et au moins deux cellules photovoltaiques
US11881361B2 (en) 2017-07-14 2024-01-23 Commonwealth Scientific And Industrial Research Organisation Photovoltaic apparatus and method
DE102017216528A1 (de) * 2017-09-19 2019-03-21 Continental Automotive Gmbh Schutzfolie für Solarzelle, Solarmodul mit der Schutzfolie, Verfahren zum Herstellen der Solarfolie und des Solarmoduls
DE102017122530B4 (de) 2017-09-28 2023-02-23 Helmholtz-Zentrum Berlin für Materialien und Energie Gesellschaft mit beschränkter Haftung Photovoltaikmodul mit auf der Rückseite ineinandergreifenden Kontakten
RU2671912C1 (ru) * 2017-11-27 2018-11-07 Общество с ограниченной ответственностью "НТЦ тонкопленочных технологий в энергетике", ООО "НТЦ ТПТ" Электрод для контактирования фотоэлектрических преобразователей
FR3074360B1 (fr) * 2017-11-30 2019-12-27 Commissariat A L'energie Atomique Et Aux Energies Alternatives Procede d'interconnexion de cellules photovoltaiques avec une electrode pourvue de nanofils metalliques
FR3074963B1 (fr) * 2017-12-07 2022-08-12 Commissariat Energie Atomique Module photovoltaique comportant des cellules photovoltaiques interconnectees par des elements d'interconnexion
CN107978890B (zh) * 2018-01-03 2024-02-13 菲尼克斯亚太电气(南京)有限公司 一种平方台阶式螺栓光伏端子
CN108110080A (zh) * 2018-01-10 2018-06-01 广东汉能薄膜太阳能有限公司 一种太阳能电极结构及使用该电极结构的太阳能电池
US10490682B2 (en) 2018-03-14 2019-11-26 National Mechanical Group Corp. Frame-less encapsulated photo-voltaic solar panel supporting solar cell modules encapsulated within multiple layers of optically-transparent epoxy-resin materials
US11227962B2 (en) 2018-03-29 2022-01-18 Sunpower Corporation Wire-based metallization and stringing for solar cells
CN110717364B (zh) * 2018-07-13 2023-09-22 中兴通讯股份有限公司 玻璃盖板、终端、指纹识别方法、装置及存储介质
JP2021193695A (ja) 2018-09-28 2021-12-23 パナソニック株式会社 太陽電池モジュールの製造方法および太陽電池モジュール
KR20200039184A (ko) * 2018-10-05 2020-04-16 엘지전자 주식회사 태양 전지 패널
JP2020088133A (ja) * 2018-11-22 2020-06-04 パナソニック株式会社 太陽電池モジュール
US11271126B2 (en) 2019-03-21 2022-03-08 Beijing Apollo Ding Rong Solar Technology Co., Ltd. Photovoltaic panels with folded panel edges and methods of forming the same
NL2022801B1 (nl) * 2019-03-25 2020-10-02 Lusoco B V Inrichting voor het winnen van energie uit omgevingslicht en foto-voltaïsche omzettingsinrichting
CN110165022B (zh) * 2019-06-06 2024-07-09 苏州迈展自动化科技有限公司 一种太阳能电池金属线膜的制备设备
CN110429143B (zh) * 2019-07-19 2025-01-28 苏州迈展自动化科技有限公司 一种用于光伏电池的电极、光伏电池及光伏电池组件
FR3102301B1 (fr) 2019-10-16 2022-04-01 Commissariat Energie Atomique Procédé d’interconnexion de cellules photovoltaïques avec des fils métalliques au contact de plots de pâte à braser
US12094991B2 (en) * 2019-11-13 2024-09-17 Maxeon Solar Pte. Ltd. Hybrid dense solar cells and interconnects for solar modules and related methods of manufacture
CN111403528A (zh) * 2020-03-04 2020-07-10 泰州隆基乐叶光伏科技有限公司 一种导电胶膜、背板、背接触太阳电池组件
CN111211180B (zh) * 2020-03-13 2026-01-09 通威太阳能(合肥)有限公司 用于光电元件的复合电极、串联光电元件和光电模块
EP3905341A1 (en) 2020-04-29 2021-11-03 Meyer Burger AG Improved solar cell string for use in a photovoltaic module
CN111564516A (zh) * 2020-05-20 2020-08-21 浙江晶科能源有限公司 一种降低湿热衰减的阻隔型光伏焊带
AU2021411631B2 (en) 2020-12-30 2024-08-08 Risen Energy Co. Ltd Solar cell module and preparation method thereof, packaging method for solar cell module, and connection method for solar cell string
CN113037210A (zh) 2021-03-05 2021-06-25 浙江晶科能源有限公司 电池串结构和光伏组件及其制造方法
CN113097325A (zh) * 2021-03-26 2021-07-09 福斯特(嘉兴)新材料有限公司 太阳能电池组件
CN113097327A (zh) * 2021-03-26 2021-07-09 福斯特(嘉兴)新材料有限公司 栅线胶膜及太阳能电池组件
CN113097326A (zh) * 2021-03-26 2021-07-09 福斯特(嘉兴)新材料有限公司 双面互连膜及光伏组件
IT202100009254A1 (it) * 2021-04-13 2022-10-13 Fly Solartech Solutions S R L Macchina e procedimento per la produzione di un elettrodo
CN113299794B (zh) * 2021-05-21 2023-04-21 无锡鼎森茂科技有限公司 一种导电连接层的连续制作系统
JP7343060B2 (ja) 2021-06-07 2023-09-12 大日本印刷株式会社 集電シート用樹脂フィルム、集電シート、集電シート付き太陽電池素子、および太陽電池
EP4102577A1 (en) 2021-06-09 2022-12-14 Meyer Burger (Switzerland) AG Improved parallel solar cell string assemblies for use in a photovoltaic module
DE102021114906B4 (de) 2021-06-09 2023-10-12 Institut Für Solarenergieforschung Gmbh Solarmodul mit optimierter verschaltung sowie verfahren zum fertigen desselben
GB202119068D0 (en) * 2021-12-29 2022-02-09 Rec Solar Pte Ltd A unitary film for an electrode assembly of a solar cell
GB202119064D0 (en) * 2021-12-29 2022-02-09 Rec Solar Pte Ltd Solar cell assembly
CN114267744B (zh) * 2021-12-29 2023-09-08 明冠新材料股份有限公司 双玻光伏电池片、制备方法及光伏组件
CN114300549B (zh) * 2021-12-29 2023-09-08 明冠新材料股份有限公司 单玻光伏电池片、制备方法及光伏组件
CN115241295A (zh) * 2022-07-21 2022-10-25 常州时创能源股份有限公司 一种光伏电池单元及其应用
CN115241294B (zh) * 2022-07-21 2024-05-17 常州时创能源股份有限公司 一种光伏叠瓦组件及其制备方法
FR3143422B1 (fr) 2022-12-16 2024-11-15 Arkema France Structure multicouche à propriétés adhésives
CN116093174A (zh) * 2023-03-03 2023-05-09 华能新能源股份有限公司河北分公司 一种多主栅光伏组件及其制备方法
WO2024216821A1 (zh) * 2023-04-20 2024-10-24 上海海优威新材料股份有限公司 光伏电极单元以及光伏电极模组
DE102023121932A1 (de) * 2023-08-16 2025-02-20 Hanwha Q Cells Gmbh Verfahren zum Verschalten mehrerer Solarzellen zu einem Solarzellenstring, Solarzellenstring und Verfahren zur Herstellung eines Solarmoduls
EP4528829A1 (en) 2023-09-25 2025-03-26 Imec VZW Assembly for electrically contacting and electrically connecting photovoltaic cells and method for fabricating such assembly

Citations (4)

* Cited by examiner, † Cited by third party
Publication number Priority date Publication date Assignee Title
US4380112A (en) * 1980-08-25 1983-04-19 Spire Corporation Front surface metallization and encapsulation of solar cells
JPH06151915A (ja) * 1992-11-05 1994-05-31 Canon Inc 光発電素子、その製造方法及びそれに供される製造装置
JPH1065192A (ja) * 1996-05-17 1998-03-06 Canon Inc 光起電力デバイスおよびその製造方法
JP2000243990A (ja) * 1999-02-18 2000-09-08 Dainippon Printing Co Ltd 太陽電池用カバーフィルムおよびその製造方法、およびそのカバーフィルムを用いた太陽電池モジュール

Family Cites Families (142)

* Cited by examiner, † Cited by third party
Publication number Priority date Publication date Assignee Title
US3982964A (en) 1975-01-17 1976-09-28 Communications Satellite Corporation (Comsat) Dotted contact fine geometry solar cell
US4027652A (en) 1975-04-15 1977-06-07 Frank Collura Solar energy collector
US4080703A (en) 1975-08-01 1978-03-28 The Stolle Corporation Radiating or absorbing heat exchange panel
US3996067A (en) 1975-12-30 1976-12-07 The United States Of America As Represented By The National Aeronautics And Space Administration Silicon nitride coated, plastic covered solar cell
FR2412164A1 (fr) 1977-12-13 1979-07-13 Radiotechnique Compelec Procede de creation, par serigraphie, d'un contact a la surface d'un dispositif semi-conducteur et dispositif obtenu par ce procede
US4173496A (en) 1978-05-30 1979-11-06 Texas Instruments Incorporated Integrated solar cell array
US4200472A (en) 1978-06-05 1980-04-29 The Regents Of The University Of California Solar power system and high efficiency photovoltaic cells used therein
US4256513A (en) 1978-10-19 1981-03-17 Matsushita Electric Industrial Co., Ltd. Photoelectric conversion device
DE2926754A1 (de) 1979-07-03 1981-01-15 Licentia Gmbh Solarzellen-anordnung
US4278473A (en) 1979-08-24 1981-07-14 Varian Associates, Inc. Monolithic series-connected solar cell
US4320154A (en) 1980-07-18 1982-03-16 Westinghouse Electric Corp. Method of forming solar cells by grid contact isolation
US4315096A (en) 1980-07-25 1982-02-09 Eastman Kodak Company Integrated array of photovoltaic cells having minimized shorting losses
US4443653A (en) 1980-10-24 1984-04-17 The University Of Delaware Thin film photovoltaic device with multilayer substrate
US4330680A (en) 1980-10-28 1982-05-18 Fraunhofer Gesellschaft Zur Forderung Der Angewandten Forschung E.V. Integrated series-connected solar cell
US4341918A (en) 1980-12-24 1982-07-27 The United States Of America As Represented By The Administrator Of The National Aeronautics And Space Administration High voltage planar multijunction solar cell
US4376872A (en) 1980-12-24 1983-03-15 The United States Of America As Represented By The Administrator Of The National Aeronautics And Space Administration High voltage V-groove solar cell
JPS59115576A (ja) 1982-12-22 1984-07-04 Sharp Corp 太陽電池の配線方法
US4517403A (en) 1983-05-16 1985-05-14 Atlantic Richfield Company Series connected solar cells and method of formation
US4628144A (en) 1983-06-07 1986-12-09 California Institute Of Technology Method for contact resistivity measurements on photovoltaic cells and cell adapted for such measurement
US4594471A (en) 1983-07-13 1986-06-10 Semiconductor Energy Laboratory Co., Ltd. Photoelectric conversion device
US4499658A (en) 1983-09-06 1985-02-19 Atlantic Richfield Company Solar cell laminates
US5158818A (en) * 1984-01-30 1992-10-27 National Starch And Chemical Investment Holding Corporation Conductive die attach tape
US4499858A (en) * 1984-02-02 1985-02-19 Councell Graham D Fuel burning assembly
US4697041A (en) 1985-02-15 1987-09-29 Teijin Limited Integrated solar cells
US4667060A (en) 1985-05-28 1987-05-19 Spire Corporation Back junction photovoltaic solar cell
US4703553A (en) 1986-06-16 1987-11-03 Spectrolab, Inc. Drive through doping process for manufacturing low back surface recombination solar cells
US4735662A (en) 1987-01-06 1988-04-05 The Standard Oil Company Stable ohmic contacts to thin films of p-type tellurium-containing II-VI semiconductors
JPH01206671A (ja) 1988-02-15 1989-08-18 Sharp Corp 太陽電池
US4933021A (en) 1988-11-14 1990-06-12 Electric Power Research Institute Monolithic series-connected solar cells employing shorted p-n junctions for electrical isolation
EP0369666B1 (en) 1988-11-16 1995-06-14 Mitsubishi Denki Kabushiki Kaisha Solar cell
US4993021A (en) 1989-03-23 1991-02-12 Telettra-Telefonia Elettronica E Radio Spa Automatic transmit power level control in radio links
US5389158A (en) 1989-04-17 1995-02-14 The Boeing Company Low bandgap photovoltaic cell with inherent bypass diode
JPH036867A (ja) * 1989-06-05 1991-01-14 Mitsubishi Electric Corp 光発電素子の電極構造、形成方法、及びその製造装置
DE3927947A1 (de) 1989-08-24 1991-02-28 Inst Solarenergieforschung Einrichtung zur steuerung der transmission von licht einer strahlungsquelle
US5078803A (en) 1989-09-22 1992-01-07 Siemens Solar Industries L.P. Solar cells incorporating transparent electrodes comprising hazy zinc oxide
US5011567A (en) 1989-12-06 1991-04-30 Mobil Solar Energy Corporation Method of fabricating solar cells
EP0440869A1 (de) * 1990-02-09 1991-08-14 Bio-Photonics, Inc. Photovoltaisches Bauelement zur Umwandlung des Sonnenlichts in elektrischen Strom und photoelektrische Batterie
JP2593957B2 (ja) 1990-11-09 1997-03-26 シャープ株式会社 バイパスダイオード付太陽電池
JP2703673B2 (ja) 1991-05-17 1998-01-26 三菱電機株式会社 半導体装置
US5164019A (en) 1991-07-31 1992-11-17 Sunpower Corporation Monolithic series-connected solar cells having improved cell isolation and method of making same
US5543729A (en) 1991-09-10 1996-08-06 Photon Dynamics, Inc. Testing apparatus and connector for liquid crystal display substrates
JP2912496B2 (ja) 1991-09-30 1999-06-28 シャープ株式会社 太陽電池モジュール
US5158136A (en) 1991-11-12 1992-10-27 At&T Laboratories Pin fin heat sink including flow enhancement
US6541695B1 (en) 1992-09-21 2003-04-01 Thomas Mowles High efficiency solar photovoltaic cells produced with inexpensive materials by processes suitable for large volume production
US5391236A (en) 1993-07-30 1995-02-21 Spectrolab, Inc. Photovoltaic microarray structure and fabrication method
JPH0763788A (ja) 1993-08-21 1995-03-10 Hewlett Packard Co <Hp> プローブおよび電気部品/回路検査装置ならびに電気部品/回路検査方法
US5543726A (en) 1994-01-03 1996-08-06 International Business Machines Corporation Open frame gantry probing system
US5474620A (en) * 1994-05-16 1995-12-12 United Solar Systems Corporation Cut resistant laminate for the light incident surface of a photovoltaic module
JPH07321351A (ja) * 1994-05-19 1995-12-08 Canon Inc 光起電力素子の電極構造及びその製造方法
EP0684652B1 (en) 1994-05-19 2005-11-09 Canon Kabushiki Kaisha Photovoltaic element, electrode structure thereof, and process for producing the same
US5457057A (en) * 1994-06-28 1995-10-10 United Solar Systems Corporation Photovoltaic module fabrication process
US5498297A (en) 1994-09-15 1996-03-12 Entech, Inc. Photovoltaic receiver
JP2992464B2 (ja) * 1994-11-04 1999-12-20 キヤノン株式会社 集電電極用被覆ワイヤ、該集電電極用被覆ワイヤを用いた光起電力素子及びその製造方法
AUPM996094A0 (en) 1994-12-08 1995-01-05 Pacific Solar Pty Limited Multilayer solar cells with bypass diode protection
US6144216A (en) 1995-04-01 2000-11-07 Enplas Corporation Electric contact apparatus for inspecting a liquid crystal display panel
GB2302458A (en) 1995-06-14 1997-01-15 Ibm Printed circuit testing apparatus
JP2992638B2 (ja) * 1995-06-28 1999-12-20 キヤノン株式会社 光起電力素子の電極構造及び製造方法並びに太陽電池
US5616185A (en) 1995-10-10 1997-04-01 Hughes Aircraft Company Solar cell with integrated bypass diode and method
JPH09107119A (ja) 1995-10-11 1997-04-22 Canon Inc 太陽電池モジュール及び製造法
DE69736151T2 (de) * 1996-05-17 2007-05-10 Canon K.K. Photovoltaische Anordnung und Herstellungsverfahren
US6091021A (en) 1996-11-01 2000-07-18 Sandia Corporation Silicon cells made by self-aligned selective-emitter plasma-etchback process
US5871591A (en) 1996-11-01 1999-02-16 Sandia Corporation Silicon solar cells made by a self-aligned, selective-emitter, plasma-etchback process
JP3722326B2 (ja) 1996-12-20 2005-11-30 三菱電機株式会社 太陽電池の製造方法
US6552414B1 (en) 1996-12-24 2003-04-22 Imec Vzw Semiconductor device with selectively diffused regions
US5879172A (en) 1997-04-03 1999-03-09 Emulation Technology, Inc. Surface mounted adapter using elastomeric conductors
JP3468670B2 (ja) * 1997-04-28 2003-11-17 シャープ株式会社 太陽電池セルおよびその製造方法
DE19741832A1 (de) 1997-09-23 1999-03-25 Inst Solarenergieforschung Verfahren zur Herstellung einer Solarzelle und Solarzelle
DE29720377U1 (de) 1997-11-19 1998-03-26 Institut für Solarenergieforschung GmbH, 31860 Emmerthal Wärmedämmendes Gehäuse oder Rahmen zur Integration von solarthermischen Wandlern in Gebäudefassaden
DE19752678A1 (de) 1997-11-28 1999-06-02 Inst Solarenergieforschung Verfahren zur Herstellung eines Photovoltaik Moduls und Photovoltaik Modul
DE19757150A1 (de) 1997-12-20 1999-06-24 Inst Solarenergieforschung Duschkopf zur großflächigen Gasphasenbehandlung von Oberflächen
DE19980447D2 (de) 1998-03-13 2001-04-12 Steffen Keller Solarzellenanordnung
US6248948B1 (en) 1998-05-15 2001-06-19 Canon Kabushiki Kaisha Solar cell module and method of producing the same
JP3754841B2 (ja) 1998-06-11 2006-03-15 キヤノン株式会社 光起電力素子およびその製造方法
DE19845658C2 (de) 1998-10-05 2001-11-15 Daimler Chrysler Ag Solarzelle mit Bypassdiode
JP2000124341A (ja) 1998-10-21 2000-04-28 Sony Corp 半導体装置およびその製造方法
US6807059B1 (en) 1998-12-28 2004-10-19 James L. Dale Stud welded pin fin heat sink
US6034322A (en) 1999-07-01 2000-03-07 Space Systems/Loral, Inc. Solar cell assembly
US6635507B1 (en) 1999-07-14 2003-10-21 Hughes Electronics Corporation Monolithic bypass-diode and solar-cell string assembly
US6344736B1 (en) 1999-07-22 2002-02-05 Tensolite Company Self-aligning interface apparatus for use in testing electrical
NL1012961C2 (nl) 1999-09-02 2001-03-05 Stichting Energie Werkwijze voor het vervaardigen van een halfgeleiderinrichting.
JP2001210849A (ja) 2000-01-24 2001-08-03 Sumitomo Wiring Syst Ltd 太陽電池パネル用のコネクタ
JP2001326370A (ja) 2000-05-12 2001-11-22 Mitsubishi Electric Corp 太陽電池の製造方法及びその太陽電池
US20020062828A1 (en) 2000-05-26 2002-05-30 Nydahl John E. Solar collector system
DE10132113B4 (de) 2000-07-03 2004-05-27 Institut Für Solarenergieforschung Gmbh Verfahren zur Ermittlung des Ertrags von Solarthermieanlagen
DE10046170A1 (de) 2000-09-19 2002-04-04 Fraunhofer Ges Forschung Verfahren zur Herstellung eines Halbleiter-Metallkontaktes durch eine dielektrische Schicht
US6620645B2 (en) 2000-11-16 2003-09-16 G.T. Equipment Technologies, Inc Making and connecting bus bars on solar cells
KR100378016B1 (ko) 2001-01-03 2003-03-29 삼성에스디아이 주식회사 태양 전지용 반도체 기판의 텍스처링 방법
US6638820B2 (en) 2001-02-08 2003-10-28 Micron Technology, Inc. Method of forming chalcogenide comprising devices, method of precluding diffusion of a metal into adjacent chalcogenide material, and chalcogenide comprising devices
WO2002075816A1 (en) 2001-03-19 2002-09-26 Shin-Etsu Handotai Co.,Ltd. Solar cell and its manufacturing method
US6524880B2 (en) 2001-04-23 2003-02-25 Samsung Sdi Co., Ltd. Solar cell and method for fabricating the same
US6774300B2 (en) 2001-04-27 2004-08-10 Adrena, Inc. Apparatus and method for photovoltaic energy production based on internal charge emission in a solid-state heterostructure
JP2003031829A (ja) 2001-05-09 2003-01-31 Canon Inc 光起電力素子
JP4551586B2 (ja) 2001-05-22 2010-09-29 キヤノン株式会社 電圧印加プローブ、電子源の製造装置及び製造方法
US20030000568A1 (en) 2001-06-15 2003-01-02 Ase Americas, Inc. Encapsulated photovoltaic modules and method of manufacturing same
US7271333B2 (en) 2001-07-20 2007-09-18 Ascent Solar Technologies, Inc. Apparatus and method of production of thin film photovoltaic modules
US6815818B2 (en) 2001-11-19 2004-11-09 Micron Technology, Inc. Electrode structure for use in an integrated circuit
US6690041B2 (en) 2002-05-14 2004-02-10 Global Solar Energy, Inc. Monolithically integrated diodes in thin-film photovoltaic devices
US20040016456A1 (en) 2002-07-25 2004-01-29 Clean Venture 21 Corporation Photovoltaic device and method for producing the same
US6803513B2 (en) 2002-08-20 2004-10-12 United Solar Systems Corporation Series connected photovoltaic module and method for its manufacture
DE10239845C1 (de) 2002-08-29 2003-12-24 Day4 Energy Inc Elektrode für fotovoltaische Zellen, fotovoltaische Zelle und fotovoltaischer Modul
US7335835B2 (en) 2002-11-08 2008-02-26 The Boeing Company Solar cell structure with by-pass diode and wrapped front-side diode interconnection
US6784358B2 (en) 2002-11-08 2004-08-31 The Boeing Co. Solar cell structure utilizing an amorphous silicon discrete by-pass diode
JP2004193350A (ja) 2002-12-11 2004-07-08 Sharp Corp 太陽電池セルおよびその製造方法
US7153722B2 (en) 2003-06-06 2006-12-26 Canon Kabushiki Kaisha Method and apparatus for manufacturing photovoltaic device
US7196459B2 (en) 2003-12-05 2007-03-27 International Resistive Co. Of Texas, L.P. Light emitting assembly with heat dissipating support
JP2005191479A (ja) 2003-12-26 2005-07-14 Sekisui Jushi Co Ltd 太陽電池モジュール
US20050172996A1 (en) 2004-02-05 2005-08-11 Advent Solar, Inc. Contact fabrication of emitter wrap-through back contact silicon solar cells
US7406800B2 (en) 2004-05-18 2008-08-05 Andalay Solar, Inc. Mounting system for a solar panel
DE102004036734A1 (de) 2004-07-29 2006-03-23 Konarka Technologies, Inc., Lowell Kostengünstige organische Solarzelle und Verfahren zur Herstellung
JP2006049384A (ja) 2004-07-30 2006-02-16 Laserfront Technologies Inc ガントリー型xyステージ
DE102004050269A1 (de) 2004-10-14 2006-04-20 Institut Für Solarenergieforschung Gmbh Verfahren zur Kontakttrennung elektrisch leitfähiger Schichten auf rückkontaktierten Solarzellen und Solarzelle
DE102004050463B3 (de) 2004-10-16 2006-04-20 Manz Automation Ag Testsystem für Solarzellen
US20060130891A1 (en) 2004-10-29 2006-06-22 Carlson David E Back-contact photovoltaic cells
DE102004053873A1 (de) 2004-11-07 2006-05-11 Institut Für Solarenergieforschung Gmbh Verfahren zur Herstellung einer beidseitig lichtempfindlichen Solarzelle und beidseitig lichtempfindliche Solarzelle
DE102004061604A1 (de) 2004-12-17 2006-06-29 Institut Für Solarenergieforschung Gmbh Verfahren und Vorrichtung zur Herstellung von Solarzellen mit lokalen Oberflächenvertiefungen
DE102005001379A1 (de) 2005-01-12 2006-07-20 Institut Für Solarenergieforschung Gmbh Widerstandsthermometer insbesondere zur Messung örtlich gemittelter Temperaturen
DE102005040871A1 (de) 2005-04-16 2006-10-19 Institut Für Solarenergieforschung Gmbh Rückkontaktierte Solarzelle und Verfahren zu deren Herstellung
US7375378B2 (en) 2005-05-12 2008-05-20 General Electric Company Surface passivated photovoltaic devices
WO2006123938A1 (en) 2005-05-19 2006-11-23 Renewable Energy Corporation Asa Method for interconnection of solar cells
US20060283495A1 (en) 2005-06-06 2006-12-21 Solaria Corporation Method and system for integrated solar cell using a plurality of photovoltaic regions
US20070068567A1 (en) 2005-09-23 2007-03-29 Rubin Leonid B Testing apparatus and method for solar cells
US20070102038A1 (en) 2005-11-11 2007-05-10 Christian Kirschning Holding Element For Photovoltaic Modules
US20070137692A1 (en) 2005-12-16 2007-06-21 Bp Corporation North America Inc. Back-Contact Photovoltaic Cells
US20070144577A1 (en) 2005-12-23 2007-06-28 Rubin George L Solar cell with physically separated distributed electrical contacts
DE102006009112A1 (de) 2006-02-25 2008-02-21 Institut Für Solarenergieforschung Gmbh Vorrichtung zur Minderung der Stagnationsbelastung in thermischen Solaranlagen
DE102006013313A1 (de) 2006-03-21 2007-09-27 Institut Für Solarenergieforschung Gmbh Verfahren zur Erzeugung eines gezielt dotierten Bereichs in einer Halbleiterschicht unter Verwendung von Aus-Diffusion und entsprechendes Halbleiterbauelement
WO2008028123A2 (en) 2006-09-01 2008-03-06 Evergreen Solar, Inc. Interconnected solar cells
DE102007011749A1 (de) 2006-09-05 2008-03-13 Institut Für Solarenergieforschung Gmbh Verfahren zur Herstellung von Solarzellen mit mittels eines Ultrakurzpulslasers lokal entfernten Dielektrikumschichten
DE102006047579A1 (de) 2006-10-05 2008-04-17 Institut Für Solarenergieforschung Gmbh Verfahren zur Herstellung von Solarzellen mit durch eine Ätzlösung lokal strukturierten Oberflächen
US20080092944A1 (en) 2006-10-16 2008-04-24 Leonid Rubin Semiconductor structure and process for forming ohmic connections to a semiconductor structure
DE102007003682A1 (de) 2007-01-25 2008-08-07 Institut Für Solarenergieforschung Gmbh Verschaltung von Rückseitenkontaktsolarzellen mit Lötstoplack und Metalldrähten
US20100147368A1 (en) 2007-05-17 2010-06-17 Day4 Energy Inc. Photovoltaic cell with shallow emitter
US20080290368A1 (en) 2007-05-21 2008-11-27 Day4 Energy, Inc. Photovoltaic cell with shallow emitter
US20090025778A1 (en) 2007-07-23 2009-01-29 Day4 Energy Inc. Shading protection for solar cells and solar cell modules
DE102007035883A1 (de) 2007-07-31 2009-02-12 Institut Für Solarenergieforschung Gmbh Rückkontaktsolarzelle und Solarmodul mit reduzierten Serienwiderständen
DE102007054384A1 (de) 2007-11-14 2009-05-20 Institut Für Solarenergieforschung Gmbh Verfahren zum Herstellen einer Solarzelle mit einer oberflächenpassivierenden Dielektrikumdoppelschicht und entsprechende Solarzelle
DE102008030880A1 (de) 2007-12-11 2009-06-18 Institut Für Solarenergieforschung Gmbh Rückkontaktsolarzelle mit großflächigen Rückseiten-Emitterbereichen und Herstellungsverfahren hierfür
DE102007059490B4 (de) 2007-12-11 2012-10-25 Institut Für Solarenergieforschung Gmbh Rückkontaktsolarzelle mit integrierter Bypassdioden-Funktion sowie Herstellungsverfahren hierfür
DE102007059486A1 (de) 2007-12-11 2009-06-18 Institut Für Solarenergieforschung Gmbh Rückkontaktsolarzelle mit länglichen, ineinander verschachtelten Emitter- und Basisbereichen an der Rückseite und Herstellungsverfahren hierfür
CN101919066A (zh) 2007-12-18 2010-12-15 达伊4能量有限公司 具有对光伏链的边缘接入的光伏模块、互连方法、装置和系统
DE102008013068B4 (de) 2008-03-06 2012-06-21 Institut Für Solarenergieforschung Gmbh Verfahren und Vorrichtung zur ortsaufgelösten Bestimmung von Ladungsträgerlebensdauern in Halbleiterstrukturen
DE102008015157A1 (de) 2008-03-20 2009-09-24 Institut Für Solarenergieforschung Gmbh Wärmespeicher zur Installation im Erdreich

Patent Citations (4)

* Cited by examiner, † Cited by third party
Publication number Priority date Publication date Assignee Title
US4380112A (en) * 1980-08-25 1983-04-19 Spire Corporation Front surface metallization and encapsulation of solar cells
JPH06151915A (ja) * 1992-11-05 1994-05-31 Canon Inc 光発電素子、その製造方法及びそれに供される製造装置
JPH1065192A (ja) * 1996-05-17 1998-03-06 Canon Inc 光起電力デバイスおよびその製造方法
JP2000243990A (ja) * 1999-02-18 2000-09-08 Dainippon Printing Co Ltd 太陽電池用カバーフィルムおよびその製造方法、およびそのカバーフィルムを用いた太陽電池モジュール

Cited By (5)

* Cited by examiner, † Cited by third party
Publication number Priority date Publication date Assignee Title
US10637392B2 (en) 2011-05-27 2020-04-28 Nederlandse Organisatie Voor Toegepast-Natuurwetenschappelijk Onderzoek Tno Photovoltaic device and method of manufacturing the same
EP3675180A1 (en) 2018-12-27 2020-07-01 Panasonic Corporation Solar cell module including solar cells
US11652178B2 (en) 2018-12-27 2023-05-16 Panasonic Holdings Corporation Solar cell module including solar cells
JP2023086854A (ja) * 2019-04-08 2023-06-22 大日本印刷株式会社 太陽電池モジュール用の集電ワイヤー固定フィルム、及び、それを用いてなる太陽電池モジュール
JP7529087B2 (ja) 2019-04-08 2024-08-06 大日本印刷株式会社 太陽電池モジュール用の集電ワイヤー固定フィルム、及び、それを用いてなる太陽電池モジュール

Also Published As

Publication number Publication date
JP5185913B2 (ja) 2013-04-17
US7432438B2 (en) 2008-10-07
AU2003258427B2 (en) 2009-05-07
CA2496557A1 (en) 2004-03-11
ATE379849T1 (de) 2007-12-15
KR20050059156A (ko) 2005-06-17
DE60317805T2 (de) 2008-10-30
KR101014393B1 (ko) 2011-02-15
SI1547158T1 (sl) 2008-04-30
US20050241692A1 (en) 2005-11-03
BRPI0313851B1 (pt) 2016-12-13
DK1547158T3 (da) 2008-04-14
CN101425546B (zh) 2010-12-01
US20090025788A1 (en) 2009-01-29
US8013239B2 (en) 2011-09-06
DE10239845C1 (de) 2003-12-24
IL166854A (en) 2012-04-30
CY1107220T1 (el) 2012-11-21
CN100431175C (zh) 2008-11-05
ZA200501563B (en) 2006-07-26
AU2003258427A1 (en) 2004-03-19
WO2004021455A1 (en) 2004-03-11
CN101425546A (zh) 2009-05-06
EP1547158A1 (en) 2005-06-29
CA2496557C (en) 2013-04-16
ES2297257T3 (es) 2008-05-01
DE60317805D1 (de) 2008-01-10
EP1547158B1 (en) 2007-11-28
BR0313851A (pt) 2005-07-05
JP2005536894A (ja) 2005-12-02
HK1130365A1 (en) 2009-12-24
AU2003258427B8 (en) 2009-07-16
MXPA05002321A (es) 2005-09-12
HK1077122A1 (en) 2006-02-03
PT1547158E (pt) 2008-02-18
CN1679174A (zh) 2005-10-05

Similar Documents

Publication Publication Date Title
JP5185913B2 (ja) 光起電力電池用電極、光起電力電池および光起電力モジュール
US5158618A (en) Photovoltaic cells for converting light energy to electric energy and photoelectric battery
US5679176A (en) Group of solar cell elements, and solar cell module and production method thereof
JP3323573B2 (ja) 太陽電池モジュール及びその製造方法
WO2008080160A1 (en) Interconnect technologies for back contact solar cells and modules
US20120279546A1 (en) Solar cell connector electrode, solar cell module and method for electrically connecting a plurality of solar cells
CN105428446A (zh) 光伏模块
JPH04218980A (ja) 光起電力装置の製造方法
TW201214727A (en) Photovoltaic module including transparent sheet with channel
JP3972233B2 (ja) 太陽電池モジュール
JP4061525B2 (ja) 太陽電池モジュールの製造方法
HK1077122B (en) Electrode for photovoltaic cells, photovoltaic cell and photovoltaic module
HK1130365B (en) Electrode for photovoltaic cells, photovoltaic cell and photovoltaic module
TW202341506A (zh) 電極組件

Legal Events

Date Code Title Description
A621 Written request for application examination

Free format text: JAPANESE INTERMEDIATE CODE: A621

Effective date: 20091221

A521 Request for written amendment filed

Free format text: JAPANESE INTERMEDIATE CODE: A523

Effective date: 20100128

A131 Notification of reasons for refusal

Free format text: JAPANESE INTERMEDIATE CODE: A131

Effective date: 20120214

A521 Request for written amendment filed

Free format text: JAPANESE INTERMEDIATE CODE: A523

Effective date: 20120514

TRDD Decision of grant or rejection written
A01 Written decision to grant a patent or to grant a registration (utility model)

Free format text: JAPANESE INTERMEDIATE CODE: A01

Effective date: 20121127

A61 First payment of annual fees (during grant procedure)

Free format text: JAPANESE INTERMEDIATE CODE: A61

Effective date: 20130118

R150 Certificate of patent or registration of utility model

Ref document number: 5185913

Country of ref document: JP

Free format text: JAPANESE INTERMEDIATE CODE: R150

Free format text: JAPANESE INTERMEDIATE CODE: R150

FPAY Renewal fee payment (event date is renewal date of database)

Free format text: PAYMENT UNTIL: 20160125

Year of fee payment: 3

R250 Receipt of annual fees

Free format text: JAPANESE INTERMEDIATE CODE: R250

R250 Receipt of annual fees

Free format text: JAPANESE INTERMEDIATE CODE: R250

R250 Receipt of annual fees

Free format text: JAPANESE INTERMEDIATE CODE: R250

R250 Receipt of annual fees

Free format text: JAPANESE INTERMEDIATE CODE: R250

R250 Receipt of annual fees

Free format text: JAPANESE INTERMEDIATE CODE: R250

R250 Receipt of annual fees

Free format text: JAPANESE INTERMEDIATE CODE: R250

R250 Receipt of annual fees

Free format text: JAPANESE INTERMEDIATE CODE: R250

R250 Receipt of annual fees

Free format text: JAPANESE INTERMEDIATE CODE: R250

EXPY Cancellation because of completion of term