JP6861402B2 - 電池 - Google Patents
電池 Download PDFInfo
- Publication number
- JP6861402B2 JP6861402B2 JP2017540478A JP2017540478A JP6861402B2 JP 6861402 B2 JP6861402 B2 JP 6861402B2 JP 2017540478 A JP2017540478 A JP 2017540478A JP 2017540478 A JP2017540478 A JP 2017540478A JP 6861402 B2 JP6861402 B2 JP 6861402B2
- Authority
- JP
- Japan
- Prior art keywords
- solvent
- group
- carbonate
- positive electrode
- battery according
- Prior art date
- Legal status (The legal status is an assumption and is not a legal conclusion. Google has not performed a legal analysis and makes no representation as to the accuracy of the status listed.)
- Active
Links
Images
Classifications
-
- H—ELECTRICITY
- H01—ELECTRIC ELEMENTS
- H01M—PROCESSES OR MEANS, e.g. BATTERIES, FOR THE DIRECT CONVERSION OF CHEMICAL ENERGY INTO ELECTRICAL ENERGY
- H01M4/00—Electrodes
- H01M4/02—Electrodes composed of, or comprising, active material
- H01M4/13—Electrodes for accumulators with non-aqueous electrolyte, e.g. for lithium-accumulators; Processes of manufacture thereof
- H01M4/131—Electrodes based on mixed oxides or hydroxides, or on mixtures of oxides or hydroxides, e.g. LiCoOx
- H01M4/1315—Electrodes based on mixed oxides or hydroxides, or on mixtures of oxides or hydroxides, e.g. LiCoOx containing halogen atoms, e.g. LiCoOxFy
-
- C—CHEMISTRY; METALLURGY
- C01—INORGANIC CHEMISTRY
- C01G—COMPOUNDS CONTAINING METALS NOT COVERED BY SUBCLASSES C01D OR C01F
- C01G45/00—Compounds of manganese
- C01G45/20—Compounds containing manganese, with or without oxygen or hydrogen, and containing one or more other elements
- C01G45/22—Compounds containing manganese, with or without oxygen or hydrogen, and containing two or more other elements
-
- C—CHEMISTRY; METALLURGY
- C01—INORGANIC CHEMISTRY
- C01G—COMPOUNDS CONTAINING METALS NOT COVERED BY SUBCLASSES C01D OR C01F
- C01G51/00—Compounds of cobalt
- C01G51/80—Compounds containing cobalt, with or without oxygen or hydrogen, and containing one or more other elements
- C01G51/82—Compounds containing cobalt, with or without oxygen or hydrogen, and containing two or more other elements
-
- C—CHEMISTRY; METALLURGY
- C01—INORGANIC CHEMISTRY
- C01G—COMPOUNDS CONTAINING METALS NOT COVERED BY SUBCLASSES C01D OR C01F
- C01G53/00—Compounds of nickel
- C01G53/80—Compounds containing nickel, with or without oxygen or hydrogen, and containing one or more other elements
- C01G53/82—Compounds containing nickel, with or without oxygen or hydrogen, and containing two or more other elements
-
- H—ELECTRICITY
- H01—ELECTRIC ELEMENTS
- H01M—PROCESSES OR MEANS, e.g. BATTERIES, FOR THE DIRECT CONVERSION OF CHEMICAL ENERGY INTO ELECTRICAL ENERGY
- H01M10/00—Secondary cells; Manufacture thereof
- H01M10/05—Accumulators with non-aqueous electrolyte
- H01M10/052—Li-accumulators
- H01M10/0525—Rocking-chair batteries, i.e. batteries with lithium insertion or intercalation in both electrodes; Lithium-ion batteries
-
- H—ELECTRICITY
- H01—ELECTRIC ELEMENTS
- H01M—PROCESSES OR MEANS, e.g. BATTERIES, FOR THE DIRECT CONVERSION OF CHEMICAL ENERGY INTO ELECTRICAL ENERGY
- H01M10/00—Secondary cells; Manufacture thereof
- H01M10/05—Accumulators with non-aqueous electrolyte
- H01M10/056—Accumulators with non-aqueous electrolyte characterised by the materials used as electrolytes, e.g. mixed inorganic/organic electrolytes
- H01M10/0564—Accumulators with non-aqueous electrolyte characterised by the materials used as electrolytes, e.g. mixed inorganic/organic electrolytes the electrolyte being constituted of organic materials only
- H01M10/0566—Liquid materials
- H01M10/0568—Liquid materials characterised by the solutes
-
- H—ELECTRICITY
- H01—ELECTRIC ELEMENTS
- H01M—PROCESSES OR MEANS, e.g. BATTERIES, FOR THE DIRECT CONVERSION OF CHEMICAL ENERGY INTO ELECTRICAL ENERGY
- H01M10/00—Secondary cells; Manufacture thereof
- H01M10/05—Accumulators with non-aqueous electrolyte
- H01M10/056—Accumulators with non-aqueous electrolyte characterised by the materials used as electrolytes, e.g. mixed inorganic/organic electrolytes
- H01M10/0564—Accumulators with non-aqueous electrolyte characterised by the materials used as electrolytes, e.g. mixed inorganic/organic electrolytes the electrolyte being constituted of organic materials only
- H01M10/0566—Liquid materials
- H01M10/0569—Liquid materials characterised by the solvents
-
- H—ELECTRICITY
- H01—ELECTRIC ELEMENTS
- H01M—PROCESSES OR MEANS, e.g. BATTERIES, FOR THE DIRECT CONVERSION OF CHEMICAL ENERGY INTO ELECTRICAL ENERGY
- H01M4/00—Electrodes
- H01M4/02—Electrodes composed of, or comprising, active material
- H01M4/36—Selection of substances as active materials, active masses, active liquids
- H01M4/48—Selection of substances as active materials, active masses, active liquids of inorganic oxides or hydroxides
- H01M4/50—Selection of substances as active materials, active masses, active liquids of inorganic oxides or hydroxides of manganese
- H01M4/505—Selection of substances as active materials, active masses, active liquids of inorganic oxides or hydroxides of manganese of mixed oxides or hydroxides containing manganese for inserting or intercalating light metals, e.g. LiMn2O4 or LiMn2OxFy
-
- H—ELECTRICITY
- H01—ELECTRIC ELEMENTS
- H01M—PROCESSES OR MEANS, e.g. BATTERIES, FOR THE DIRECT CONVERSION OF CHEMICAL ENERGY INTO ELECTRICAL ENERGY
- H01M4/00—Electrodes
- H01M4/02—Electrodes composed of, or comprising, active material
- H01M4/36—Selection of substances as active materials, active masses, active liquids
- H01M4/48—Selection of substances as active materials, active masses, active liquids of inorganic oxides or hydroxides
- H01M4/52—Selection of substances as active materials, active masses, active liquids of inorganic oxides or hydroxides of nickel, cobalt or iron
- H01M4/525—Selection of substances as active materials, active masses, active liquids of inorganic oxides or hydroxides of nickel, cobalt or iron of mixed oxides or hydroxides containing iron, cobalt or nickel for inserting or intercalating light metals, e.g. LiNiO2, LiCoO2 or LiCoOxFy
-
- C—CHEMISTRY; METALLURGY
- C01—INORGANIC CHEMISTRY
- C01P—INDEXING SCHEME RELATING TO STRUCTURAL AND PHYSICAL ASPECTS OF SOLID INORGANIC COMPOUNDS
- C01P2002/00—Crystal-structural characteristics
- C01P2002/50—Solid solutions
- C01P2002/52—Solid solutions containing elements as dopants
- C01P2002/54—Solid solutions containing elements as dopants one element only
-
- C—CHEMISTRY; METALLURGY
- C01—INORGANIC CHEMISTRY
- C01P—INDEXING SCHEME RELATING TO STRUCTURAL AND PHYSICAL ASPECTS OF SOLID INORGANIC COMPOUNDS
- C01P2002/00—Crystal-structural characteristics
- C01P2002/70—Crystal-structural characteristics defined by measured X-ray, neutron or electron diffraction data
- C01P2002/76—Crystal-structural characteristics defined by measured X-ray, neutron or electron diffraction data by a space-group or by other symmetry indications
-
- C—CHEMISTRY; METALLURGY
- C01—INORGANIC CHEMISTRY
- C01P—INDEXING SCHEME RELATING TO STRUCTURAL AND PHYSICAL ASPECTS OF SOLID INORGANIC COMPOUNDS
- C01P2006/00—Physical properties of inorganic compounds
- C01P2006/40—Electric properties
-
- H—ELECTRICITY
- H01—ELECTRIC ELEMENTS
- H01M—PROCESSES OR MEANS, e.g. BATTERIES, FOR THE DIRECT CONVERSION OF CHEMICAL ENERGY INTO ELECTRICAL ENERGY
- H01M4/00—Electrodes
- H01M4/02—Electrodes composed of, or comprising, active material
- H01M2004/026—Electrodes composed of, or comprising, active material characterised by the polarity
- H01M2004/028—Positive electrodes
-
- H—ELECTRICITY
- H01—ELECTRIC ELEMENTS
- H01M—PROCESSES OR MEANS, e.g. BATTERIES, FOR THE DIRECT CONVERSION OF CHEMICAL ENERGY INTO ELECTRICAL ENERGY
- H01M2220/00—Batteries for particular applications
- H01M2220/30—Batteries in portable systems, e.g. mobile phone, laptop
-
- H—ELECTRICITY
- H01—ELECTRIC ELEMENTS
- H01M—PROCESSES OR MEANS, e.g. BATTERIES, FOR THE DIRECT CONVERSION OF CHEMICAL ENERGY INTO ELECTRICAL ENERGY
- H01M2300/00—Electrolytes
- H01M2300/0017—Non-aqueous electrolytes
- H01M2300/0025—Organic electrolyte
- H01M2300/0028—Organic electrolyte characterised by the solvent
- H01M2300/0034—Fluorinated solvents
-
- H—ELECTRICITY
- H01—ELECTRIC ELEMENTS
- H01M—PROCESSES OR MEANS, e.g. BATTERIES, FOR THE DIRECT CONVERSION OF CHEMICAL ENERGY INTO ELECTRICAL ENERGY
- H01M2300/00—Electrolytes
- H01M2300/0017—Non-aqueous electrolytes
- H01M2300/0025—Organic electrolyte
- H01M2300/0028—Organic electrolyte characterised by the solvent
- H01M2300/0037—Mixture of solvents
- H01M2300/004—Three solvents
-
- H—ELECTRICITY
- H01—ELECTRIC ELEMENTS
- H01M—PROCESSES OR MEANS, e.g. BATTERIES, FOR THE DIRECT CONVERSION OF CHEMICAL ENERGY INTO ELECTRICAL ENERGY
- H01M4/00—Electrodes
- H01M4/02—Electrodes composed of, or comprising, active material
- H01M4/36—Selection of substances as active materials, active masses, active liquids
- H01M4/48—Selection of substances as active materials, active masses, active liquids of inorganic oxides or hydroxides
- H01M4/485—Selection of substances as active materials, active masses, active liquids of inorganic oxides or hydroxides of mixed oxides or hydroxides for inserting or intercalating light metals, e.g. LiTi2O4 or LiTi2OxFy
-
- Y—GENERAL TAGGING OF NEW TECHNOLOGICAL DEVELOPMENTS; GENERAL TAGGING OF CROSS-SECTIONAL TECHNOLOGIES SPANNING OVER SEVERAL SECTIONS OF THE IPC; TECHNICAL SUBJECTS COVERED BY FORMER USPC CROSS-REFERENCE ART COLLECTIONS [XRACs] AND DIGESTS
- Y02—TECHNOLOGIES OR APPLICATIONS FOR MITIGATION OR ADAPTATION AGAINST CLIMATE CHANGE
- Y02E—REDUCTION OF GREENHOUSE GAS [GHG] EMISSIONS, RELATED TO ENERGY GENERATION, TRANSMISSION OR DISTRIBUTION
- Y02E60/00—Enabling technologies; Technologies with a potential or indirect contribution to GHG emissions mitigation
- Y02E60/10—Energy storage using batteries
Landscapes
- Chemical & Material Sciences (AREA)
- Inorganic Chemistry (AREA)
- General Chemical & Material Sciences (AREA)
- Chemical Kinetics & Catalysis (AREA)
- Electrochemistry (AREA)
- Engineering & Computer Science (AREA)
- Organic Chemistry (AREA)
- Manufacturing & Machinery (AREA)
- General Physics & Mathematics (AREA)
- Condensed Matter Physics & Semiconductors (AREA)
- Physics & Mathematics (AREA)
- Materials Engineering (AREA)
- Battery Electrode And Active Subsutance (AREA)
- Secondary Cells (AREA)
Description
実施の形態1における電池は、正極と、負極と、電解液と、を備える。
LixMeyOαFβ・・・式(1)
1.7≦x≦2.2、
0.8≦y≦1.3、
1≦α≦2.5、
0.5≦β≦2、
を満たす。
以下に、実施の形態1の正極活物質に含まれる上述の化合物の製造方法の一例が、説明される。
[正極活物質の合成]
LiFとLiMnO2をLiF/LiMnO2=1.0/1.0モル比でそれぞれ秤量した。
次に、70質量部の上述の化合物と、20質量部のアセチレンブラックと、10質量部のポリフッ化ビニリデンと、適量のN−メチル−2−ピロリドンとを、混合した。これにより、正極合剤スラリーを得た。
環状溶媒であるフルオロエチレンカーボネート(FEC)(CAS番号:114435−02−8)と、鎖状溶媒であるメチル3,3,3−トリフルオロプロピオネート(以下、FMPと称する)(CAS番号:18830−44−9)との混合溶媒(体積比20:80)に、1.0mol/LのLiPF6(CAS番号:21324−40−3)を溶解し、非水電解液とした。
図3は、実施例1における電池の概略構成を示す断面図である。
非水電解液として、環状溶媒であるFECと鎖状溶媒である(2,2,2−トリフルオロエチル)メチルカーボネート(以下、FEMCと称する)(CAS番号:156783−95−8)との混合溶媒(体積比20:80)に、1.0mol/LのLiPF6を溶解したものを用いた。
非水電解液として、環状状溶媒であるFECと鎖状溶媒である2,2,2−トリフルオロエチルアセテート(以下、FEAと称する)(CAS番号:406−95−1)との混合溶媒(体積比20:80)に、1.0mol/LのLiPF6を溶解したものを用いた。
非水電解液として、環状溶媒であるFECと鎖状溶媒であるFEMCと鎖状溶媒であるFMPとの混合溶媒(体積比20:60:20)に、1.0mol/LのLiPF6を溶解したものを用いた。
非水電解液として、環状溶媒であるFECと鎖状溶媒であるFEMCと鎖状溶媒である(2,2,2−トリフルオロエチル)エチルカーボネート(以下、FDECと称する)(CAS番号:156783−96−9)との混合溶媒(体積比20:60:20)に、1.0mol/LのLiPF6を溶解したものを用いた。
非水電解液として、環状溶媒であるFECと鎖状溶媒であるFEMCと鎖状溶媒であるメチルフルオロアセテート(以下、FMAと称する)(CAS番号:453−18−9)との混合溶媒(体積比20:60:20)に、1.0mol/LのLiPF6を溶解したものを用いた。
非水電解液として、環状溶媒であるFECと環状溶媒である3,3,3−トリフルオロプロピレンカーボネート(以下、FPCと称する)(CAS番号:167951−80−6)と鎖状溶媒であるFEMCとの混合溶媒(体積比20:10:70)に、1.0mol/LのLiPF6を溶解したものを用いた。
非水電解液として、環状溶媒であるFECと鎖状溶媒であるエチルメチルカーボネート(以下、EMCと称する)(CAS番号:623−53−0)との混合溶媒(体積比20:80)に、1.0mol/LのLiPF6を溶解したものを用いた。
正極活物質として、Li2MnO2Fの代わりに、空間群FM3−Mに属する結晶構造を有するLi2Ni0.33Co0.33Mn0.33O2Fを用いた。
非水電解液として、環状溶媒であるFECと鎖状溶媒であるEMCとの混合溶媒(体積比20:80)に、1.0mol/LのLiPF6を溶解したものを用いた。
正極活物質として、Li2MnO2Fの代わりに、空間群FM3−Mに属する結晶構造を有するLi2CoO2Fを用いた。
非水電解液として、環状溶媒であるFECと鎖状溶媒であるEMCとの混合溶媒(体積比20:80)に、1.0mol/LのLiPF6を溶解したものを用いた。
正極活物質として、Li2MnO2Fの代わりに、空間群FM3−Mに属する結晶構造を有するLi2MnO1.5F1.5を用いた。
非水電解液として、環状溶媒であるFECと鎖状溶媒であるEMCとの混合溶媒(体積比20:80)に、1.0mol/LのLiPF6を溶解したものを用いた。
非水電解液として、環状溶媒であるエチレンカーボネート(以下、ECと称する)(CAS番号:96−49−1)と鎖状溶媒であるEMCとの混合溶媒(体積比20:80)に、1.0mol/LのLiPF6を溶解したものを用いた。
非水電解液として、環状溶媒であるECと鎖状溶媒であるEMCとの混合溶媒(体積比20:80)に、1.0mol/LのLiPF6を溶解したものを用いた。
非水電解液として、環状溶媒であるECと鎖状溶媒であるEMCとの混合溶媒(体積比20:80)に、1.0mol/LのLiPF6を溶解したものを用いた。
非水電解液として、環状溶媒であるECと鎖状溶媒であるEMCとの混合溶媒(体積比20:80)に、1.0mol/LのLiPF6を溶解したものを用いた。
正極活物質として、Li2MnO2Fの代わりに、空間群R3−Mに属する結晶構造を有するLiCoO2を用いた。正極活物質LiCoO2は、公知の手法を用いて合成した。
上記に従って作製した電池は、評価の際、80×80cmのステンレス板(厚み2mm)でラミネートの上から電極板を挟み、コの字型のクランプで0.2MPa加圧した。また、評価はすべて25℃の恒温槽中で行った。
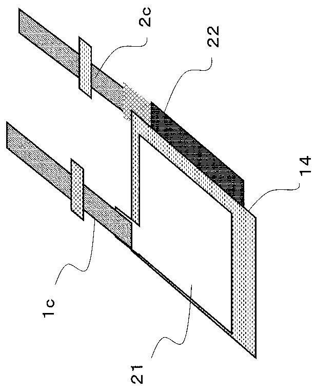
11 ケース
12 正極集電体
13 正極活物質層
14 セパレータ
15 封口板
16 負極集電体
17 負極活物質層
18 ガスケット
21 正極
22 負極
Claims (12)
- 正極活物質を含む正極と、
負極と、
非水溶媒を含む電解液と、
を備え、
前記正極活物質は、空間群FM3−Mに属する結晶構造を有する下記の組成式(1)により表される化合物を、90重量%以上の割合で、含み、
LixMeyOαFβ・・・式(1)、
ここで、前記Meは、Mn、Co、Niからなる群より選択される少なくとも一種であり、
かつ、下記の条件、
1.7≦x≦2.2、
0.8≦y≦1.3、
1≦α≦2.5、
0.5≦β≦2、
x+y=α+β=3、
を満たし、
前記非水溶媒は、フルオロ基を少なくとも1つ有する溶媒を含み、
前記非水溶媒における、前記フルオロ基を少なくとも1つ有する溶媒の体積比率は、20%以上である、
電池。 - 前記非水溶媒は、実質的に、前記フルオロ基を少なくとも1つ有する溶媒のみで構成される、
請求項1に記載の電池。 - 前記非水溶媒は、フルオロ基を少なくとも1つ有する環状溶媒と、フルオロ基を少なくとも1つ有する鎖状溶媒と、を含む、
請求項1または2に記載の電池。 - 前記フルオロ基を少なくとも1つ有する溶媒は、カーボネート、カルボン酸エステル、スルホン、ニトリル、からなる群より選ばれる少なくとも一種である、
請求項1から3のいずれかに記載の電池。 - 前記フルオロ基を少なくとも1つ有する溶媒は、カーボネート、カルボン酸エステル、からなる群より選ばれる少なくとも一種である、
請求項4に記載の電池。 - 前記フルオロ基を少なくとも1つ有する溶媒は、エチレンカーボネート、プロピレンカーボネート、ブチレンカーボネート、ジメチルカーボネート、エチルメチルカーボネート、ジエチルカーボネート、メチルアセテート、メチルプロピオネート、エチルアセテート、エチルプロピオネート、からなる群より選ばれる化合物の水素基の一部をフルオロ基で置換した化合物である、
請求項5に記載の電池。 - 前記フルオロ基を少なくとも1つ有する溶媒は、エチレンカーボネート、プロピレンカーボネート、エチルメチルカーボネート、ジエチルカーボネート、メチルアセテート、メチルプロピオネート、エチルアセテート、からなる群より選ばれる化合物の水素基の一部をフルオロ基で置換した化合物である、
請求項6に記載の電池。 - 前記フルオロ基を少なくとも1つ有する溶媒は、フルオロエチレンカーボネート、3,3,3−トリフルオロプロピレンカーボネート、(2,2,2−トリフルオロエチル)メチルカーボネート、(2,2,2−トリフルオロエチル)エチルカーボネート、2,2,2−トリフルオロエチルアセテート、メチル3,3,3−トリフルオロプロピオネート、メチルフルオロアセテート、からなる群より選ばれる少なくとも一種である、
請求項7に記載の電池。 - 前記電解液は、リチウム塩を含み、
前記リチウム塩は、LiBF4、LiPF6、LiN(SO2CF3)2、LiN(SO2F)2、リチウムビスオキサレートボレート、からなる群より選ばれる少なくとも一種である、
請求項1から8のいずれかに記載の電池。 - 前記Meは、MnとCoから選ばれる一種の元素であるか、または、NiとCoとMnとからなる固溶体である、
請求項1から9のいずれかに記載の電池。 - 前記化合物は、
1.79≦x≦2.18、を満たし、
0.82≦y≦1.21、を満たし、
1.5≦α≦2.5、を満たし、
0.5≦β≦1.5、を満たす、
請求項1から10のいずれかに記載の電池。 - 前記化合物は、
x=2であり、
y=1であり、
1.5≦α≦2、を満たし、
1≦β≦1.5、を満たす、
請求項11に記載の電池。
Applications Claiming Priority (3)
| Application Number | Priority Date | Filing Date | Title |
|---|---|---|---|
| JP2015182641 | 2015-09-16 | ||
| JP2015182641 | 2015-09-16 | ||
| PCT/JP2016/003953 WO2017047020A1 (ja) | 2015-09-16 | 2016-08-30 | 電池 |
Publications (2)
| Publication Number | Publication Date |
|---|---|
| JPWO2017047020A1 JPWO2017047020A1 (ja) | 2018-07-05 |
| JP6861402B2 true JP6861402B2 (ja) | 2021-04-21 |
Family
ID=58288469
Family Applications (1)
| Application Number | Title | Priority Date | Filing Date |
|---|---|---|---|
| JP2017540478A Active JP6861402B2 (ja) | 2015-09-16 | 2016-08-30 | 電池 |
Country Status (4)
| Country | Link |
|---|---|
| US (2) | US10833315B2 (ja) |
| JP (1) | JP6861402B2 (ja) |
| CN (1) | CN107408737B (ja) |
| WO (1) | WO2017047020A1 (ja) |
Families Citing this family (16)
| Publication number | Priority date | Publication date | Assignee | Title |
|---|---|---|---|---|
| EP3327835B1 (en) * | 2015-07-23 | 2019-09-11 | Panasonic Intellectual Property Management Co., Ltd. | Positive electrode active material and battery |
| JP6861402B2 (ja) * | 2015-09-16 | 2021-04-21 | パナソニックIpマネジメント株式会社 | 電池 |
| CN109643822B (zh) * | 2016-06-03 | 2023-04-28 | 索尔维公司 | 包含氟化砜的非水性电解质组合物 |
| US10707531B1 (en) | 2016-09-27 | 2020-07-07 | New Dominion Enterprises Inc. | All-inorganic solvents for electrolytes |
| EP3591755A4 (en) * | 2017-03-31 | 2021-04-14 | Daikin Industries, Ltd. | ELECTROLYTIC SOLUTION, ELECTROCHEMICAL DEVICE, RECHARGEABLE LITHIUM-ION BATTERY AND MODULE |
| WO2018231630A1 (en) * | 2017-06-12 | 2018-12-20 | The Regents Of The University Of California | High-capacity lithium metal oxyfluorides with combined metal and oxygen redox for li-ion battery cathodes |
| JP7112419B2 (ja) * | 2017-10-31 | 2022-08-03 | 関東電化工業株式会社 | 非水電解液及び非水電解液電池 |
| EP3719913A4 (en) * | 2017-11-30 | 2020-12-23 | Panasonic Corporation | NON-AQUEOUS ELECTROLYTE SECONDARY BATTERY |
| JP7062976B2 (ja) * | 2018-01-29 | 2022-05-09 | 株式会社Gsユアサ | 非水電解質及び非水電解質蓄電素子 |
| JP7172574B2 (ja) * | 2018-12-25 | 2022-11-16 | トヨタ自動車株式会社 | 固体電解質およびフッ化物イオン電池 |
| JP7143864B2 (ja) * | 2020-02-14 | 2022-09-29 | 株式会社豊田中央研究所 | リチウム複合酸化物、蓄電デバイス及びリチウム複合酸化物の製造方法 |
| JP2022172877A (ja) * | 2021-05-07 | 2022-11-17 | 株式会社Gsユアサ | 非水電解質蓄電素子 |
| JP7656995B2 (ja) | 2021-08-31 | 2025-04-04 | ワイルドキャット・ディスカバリー・テクノロジーズ・インコーポレイテッド | 被覆不規則岩塩型材料を備えた正極 |
| US12406987B2 (en) | 2022-06-03 | 2025-09-02 | Wildcat Discovery Technologies, Inc. | Disordered rocksalt cathode material and method of making it |
| KR20250018502A (ko) | 2022-06-03 | 2025-02-06 | 와일드캣 디스커버리 테크놀로지스 인크. | 무질서 암염 재료 및 이를 형성하는 방법 |
| CN117996155A (zh) * | 2024-03-06 | 2024-05-07 | 宁德新能源科技有限公司 | 一种二次电池及电子装置 |
Family Cites Families (72)
| Publication number | Priority date | Publication date | Assignee | Title |
|---|---|---|---|---|
| JPH07107851B2 (ja) | 1988-02-17 | 1995-11-15 | 三洋電機株式会社 | 非水系二次電池 |
| JP3340515B2 (ja) * | 1993-07-20 | 2002-11-05 | 新神戸電機株式会社 | リチウム電池 |
| US5830600A (en) | 1996-05-24 | 1998-11-03 | Sri International | Nonflammable/self-extinguishing electrolytes for batteries |
| JPH09330720A (ja) | 1996-06-11 | 1997-12-22 | Sanyo Electric Co Ltd | リチウム電池 |
| US6037095A (en) | 1997-03-28 | 2000-03-14 | Fuji Photo Film Co., Ltd. | Non-aqueous lithium ion secondary battery |
| JP4784608B2 (ja) | 1997-03-28 | 2011-10-05 | 宇部興産株式会社 | リチウムイオン非水電解質二次電池用正極活物質及びその製造方法 |
| JP4200539B2 (ja) | 1997-03-28 | 2008-12-24 | 宇部興産株式会社 | リチウムイオン非水電解質二次電池 |
| JP4061668B2 (ja) | 1997-04-21 | 2008-03-19 | 宇部興産株式会社 | リチウムイオン非水電解質二次電池 |
| JP4022937B2 (ja) | 1997-04-24 | 2007-12-19 | 宇部興産株式会社 | リチウムイオン非水電解質二次電池 |
| JP3982658B2 (ja) * | 1997-06-13 | 2007-09-26 | 日立マクセル株式会社 | 非水電解液二次電池用正極活物質およびその製造方法ならびに上記正極活物質を用いた非水電解液二次電池 |
| JP4106741B2 (ja) | 1998-05-28 | 2008-06-25 | 松下電器産業株式会社 | 非水電解質二次電池 |
| JP4171848B2 (ja) | 1998-06-02 | 2008-10-29 | 宇部興産株式会社 | リチウムイオン非水電解質二次電池 |
| KR100307160B1 (ko) | 1999-03-06 | 2001-09-26 | 김순택 | 리튬 이차 전지용 양극 활물질 및 그 제조 방법 |
| US6737195B2 (en) | 2000-03-13 | 2004-05-18 | Samsung Sdi Co., Ltd. | Positive active material for rechargeable lithium battery and method of preparing same |
| JP2002015776A (ja) | 2000-06-30 | 2002-01-18 | Toshiba Corp | 非水電解液二次電池 |
| EP1180810A2 (en) | 2000-08-18 | 2002-02-20 | Nissan Motor Co., Ltd. | Positive electrode active material for rechargeable lithium-ion battery |
| JP3578066B2 (ja) | 2000-08-18 | 2004-10-20 | 日産自動車株式会社 | Li欠損マンガン複合酸化物及びこれを用いた非水電解質二次電池 |
| EP1225650A3 (en) | 2001-01-23 | 2003-08-27 | Kabushiki Kaisha Toshiba | Positive electrode active material and lithium ion secondary battery |
| JP3675439B2 (ja) | 2001-11-27 | 2005-07-27 | 日本電気株式会社 | 二次電池用正極活物質およびそれを用いた二次電池用正極および二次電池 |
| US7011907B2 (en) | 2001-11-27 | 2006-03-14 | Nec Corporation | Secondary battery cathode active material, secondary battery cathode and secondary battery using the same |
| US8956421B2 (en) | 2007-02-06 | 2015-02-17 | Deka Products Limited Partnership | Dynamic support apparatus and system |
| JP2004311408A (ja) | 2003-03-25 | 2004-11-04 | Nichia Chem Ind Ltd | 非水電解質二次電池用正極活物質および非水電解質二次電池 |
| TWI286849B (en) | 2003-03-25 | 2007-09-11 | Nichia Corp | Positive electrode active material for nonaqueous electrolyte secondary battery and nonaqueous electrolyte secondary battery |
| JP4283594B2 (ja) | 2003-05-22 | 2009-06-24 | 三菱化学株式会社 | 非水系電解液及びそれを用いた非水系電解液二次電池 |
| JP4616592B2 (ja) | 2003-07-29 | 2011-01-19 | パナソニック株式会社 | 非水電解液二次電池とその製造方法及び電解液二次電池用電極材料 |
| KR101052450B1 (ko) | 2004-06-16 | 2011-07-28 | 에이지씨 세이미 케미칼 가부시키가이샤 | 리튬 2 차 전지용 정극 활물질 분말 |
| JP5085856B2 (ja) | 2005-07-07 | 2012-11-28 | パナソニック株式会社 | リチウムイオン二次電池 |
| JP4197002B2 (ja) | 2006-04-07 | 2008-12-17 | 宇部興産株式会社 | リチウムイオン非水電解質二次電池用正極活物質及びその製造方法 |
| JP2006278341A (ja) | 2006-04-07 | 2006-10-12 | Ube Ind Ltd | リチウムイオン非水電解質二次電池 |
| JP5305678B2 (ja) | 2008-02-07 | 2013-10-02 | 株式会社東芝 | 非水電解液電池及び組電池 |
| US8916294B2 (en) | 2008-09-30 | 2014-12-23 | Envia Systems, Inc. | Fluorine doped lithium rich metal oxide positive electrode battery materials with high specific capacity and corresponding batteries |
| US8741484B2 (en) | 2010-04-02 | 2014-06-03 | Envia Systems, Inc. | Doped positive electrode active materials and lithium ion secondary battery constructed therefrom |
| US9178249B2 (en) | 2010-05-27 | 2015-11-03 | Uchicago Argonne, Llc | Electrode stabilizing materials |
| JP2012014851A (ja) * | 2010-06-29 | 2012-01-19 | Hitachi Maxell Energy Ltd | 電気化学素子用電極および非水二次電池 |
| JP5641560B2 (ja) | 2010-07-30 | 2014-12-17 | Necエナジーデバイス株式会社 | 二次電池用正極活物質及びそれを使用した二次電池 |
| JP5682172B2 (ja) | 2010-08-06 | 2015-03-11 | Tdk株式会社 | 活物質、活物質の製造方法及びリチウムイオン二次電池 |
| KR101232836B1 (ko) | 2010-09-14 | 2013-02-13 | 한양대학교 산학협력단 | 리튬 이차 전지용 양극 활물질의 제조 방법, 상기 제조 방법에 따라 제조된 리튬 이차 전지용 양극 활물질, 및 이를 포함하는 리튬 이차 전지 |
| JP5404567B2 (ja) | 2010-09-17 | 2014-02-05 | 三菱化学株式会社 | 非水系電解液及びそれを用いたリチウム二次電池 |
| JP5831457B2 (ja) * | 2010-10-29 | 2015-12-09 | 旭硝子株式会社 | リチウムイオン二次電池用正極活物質、正極、電池、及び製造方法 |
| JPWO2012086602A1 (ja) | 2010-12-20 | 2014-05-22 | 旭硝子株式会社 | 二次電池用非水電解液および二次電池 |
| JP5617663B2 (ja) | 2011-01-27 | 2014-11-05 | 旭硝子株式会社 | リチウムイオン二次電池用の正極活物質およびその製造方法 |
| WO2012176267A1 (ja) | 2011-06-20 | 2012-12-27 | トヨタ自動車株式会社 | 二次電池用電極層、固体電解質層および全固体二次電池 |
| KR101336070B1 (ko) | 2011-07-13 | 2013-12-03 | 주식회사 엘지화학 | 에너지 밀도 특성이 향상된 고 에너지 리튬 이차전지 |
| JP2013222612A (ja) * | 2012-04-17 | 2013-10-28 | Hitachi Maxell Ltd | 非水二次電池 |
| JP6031861B2 (ja) | 2012-07-18 | 2016-11-24 | 三菱化学株式会社 | 非水系電解液及びそれを用いた非水系電解液電池 |
| EP3944374B1 (en) | 2012-10-02 | 2023-06-21 | Massachusetts Institute Of Technology | High-capacity positive electrode active material |
| KR101400593B1 (ko) | 2012-12-06 | 2014-05-27 | 삼성정밀화학 주식회사 | 양극 활물질, 이의 제조방법 및 이를 포함하는 리튬 이차 전지 |
| KR20140094959A (ko) * | 2013-01-23 | 2014-07-31 | 삼성에스디아이 주식회사 | 리튬 이차 전지용 전해액 및 이를 포함하는 리튬 이차 전지 |
| KR102141903B1 (ko) | 2013-02-18 | 2020-08-06 | 가부시기가이샤 닛뽕쇼꾸바이 | 전해액 및 이것을 구비한 리튬이온 이차전지 |
| US9246187B2 (en) | 2013-03-14 | 2016-01-26 | Uchicago Argonne, Llc | Non-aqueous electrolyte for lithium-ion battery |
| CN105074994B (zh) | 2013-03-27 | 2018-10-19 | 三菱化学株式会社 | 非水电解液及使用该非水电解液的非水电解质电池 |
| US9692043B2 (en) | 2013-03-27 | 2017-06-27 | Tokyo University Of Science Educational Foundation Administrative Organization | Active material for nonaqueous electrolyte energy storage device |
| KR101785262B1 (ko) * | 2013-07-08 | 2017-10-16 | 삼성에스디아이 주식회사 | 양극 활물질, 그 제조방법, 이를 채용한 양극 및 리튬이차전지 |
| JP2015022958A (ja) | 2013-07-22 | 2015-02-02 | トヨタ自動車株式会社 | 正極活物質、及び当該正極活物質を含むリチウム電池 |
| JP6090085B2 (ja) | 2013-09-27 | 2017-03-08 | トヨタ自動車株式会社 | 正極活物質及び正極活物質の製造方法並びにリチウム電池 |
| KR20150037085A (ko) | 2013-09-30 | 2015-04-08 | 주식회사 엘지화학 | 리튬 이차전지용 양극 활물질 및 이를 포함하는 리튬 이차전지 |
| JP6478090B2 (ja) | 2013-09-30 | 2019-03-06 | パナソニックIpマネジメント株式会社 | 非水電解質二次電池用正極活物質、非水電解質二次電池、及び非水電解質二次電池用正極活物質の製造方法 |
| JP6396153B2 (ja) | 2013-11-11 | 2018-09-26 | マクセルホールディングス株式会社 | リチウム二次電池 |
| JP2015118892A (ja) | 2013-12-20 | 2015-06-25 | 株式会社Gsユアサ | リチウム二次電池用正極活物質、その正極活物質の前駆体、リチウム二次電池用電極、リチウム二次電池及びバッテリーモジュール |
| CN103682322B (zh) * | 2013-12-26 | 2016-09-21 | 昆明理工大学 | 一种富锂Fe-Mn基锂离子电池正极材料及其制备方法 |
| JP6168603B2 (ja) * | 2013-12-27 | 2017-07-26 | 国立大学法人九州大学 | リチウムイオン電池用の正極活物質およびその製造方法 |
| JP6361518B2 (ja) | 2014-01-22 | 2018-07-25 | 三菱ケミカル株式会社 | 非水系電解液及びそれを用いた非水系電解液二次電池 |
| KR102183996B1 (ko) * | 2014-01-29 | 2020-11-27 | 삼성에스디아이 주식회사 | 양극 활물질 및 그 제조방법, 상기 양극 활물질을 채용한 양극과 리튬 전지 |
| KR102184372B1 (ko) * | 2014-02-10 | 2020-11-30 | 삼성에스디아이 주식회사 | 복합양극활물질, 그 제조방법 및 이를 채용한 양극 및 리튬전지 |
| EP2921455A1 (en) | 2014-03-20 | 2015-09-23 | Karlsruher Institut für Technologie | Oxyfluoride compounds for lithium-cells and batteries |
| CN103928672B (zh) | 2014-04-11 | 2016-07-06 | 武汉理工大学 | 一种锂离子电池用正极活性物质及其制备方法 |
| JP2016033902A (ja) | 2014-07-31 | 2016-03-10 | ソニー株式会社 | 正極活物質、正極および電池 |
| DE102015211110A1 (de) | 2015-06-17 | 2016-12-22 | Robert Bosch Gmbh | Aktivmaterial für eine Kathode einer Batteriezelle, Kathode und Batteriezelle |
| PL3136478T3 (pl) | 2015-08-26 | 2020-01-31 | Massachusetts Institute Of Technology | Tlenki o nieuporządkowanej strukturze kationów do litowych akumulatorów wielokrotnego ładowania i innych zastosowań |
| JP6861402B2 (ja) * | 2015-09-16 | 2021-04-21 | パナソニックIpマネジメント株式会社 | 電池 |
| WO2017047019A1 (ja) * | 2015-09-16 | 2017-03-23 | パナソニックIpマネジメント株式会社 | 電池 |
| JP6793354B2 (ja) * | 2015-09-16 | 2020-12-02 | パナソニックIpマネジメント株式会社 | 電池 |
-
2016
- 2016-08-30 JP JP2017540478A patent/JP6861402B2/ja active Active
- 2016-08-30 CN CN201680015415.3A patent/CN107408737B/zh active Active
- 2016-08-30 WO PCT/JP2016/003953 patent/WO2017047020A1/ja not_active Ceased
-
2017
- 2017-11-15 US US15/813,210 patent/US10833315B2/en active Active
-
2020
- 2020-09-14 US US17/020,530 patent/US11710816B2/en active Active
Also Published As
| Publication number | Publication date |
|---|---|
| CN107408737A (zh) | 2017-11-28 |
| US20200411848A1 (en) | 2020-12-31 |
| US11710816B2 (en) | 2023-07-25 |
| US20180090790A1 (en) | 2018-03-29 |
| US10833315B2 (en) | 2020-11-10 |
| CN107408737B (zh) | 2021-03-23 |
| WO2017047020A1 (ja) | 2017-03-23 |
| JPWO2017047020A1 (ja) | 2018-07-05 |
Similar Documents
| Publication | Publication Date | Title |
|---|---|---|
| US11721800B2 (en) | Battery | |
| US11710816B2 (en) | Battery | |
| JP6964246B2 (ja) | 正極活物質、および、正極活物質を用いた電池 | |
| US11799067B2 (en) | Battery | |
| JP6846627B2 (ja) | 正極活物質、および、電池 | |
| JP6872705B2 (ja) | 正極活物質、および、電池 | |
| JP6979586B2 (ja) | 電池用正極活物質、および、電池用正極活物質を用いた電池 | |
| JP6952251B2 (ja) | 電池用正極活物質、および、電池 | |
| JP6876955B2 (ja) | 正極活物質、および、電池 | |
| JP6861401B2 (ja) | 正極活物質、および、電池 | |
| JP6861400B2 (ja) | 正極活物質、および、電池 | |
| JP6876956B2 (ja) | 正極活物質、および、電池 | |
| JP2021073666A (ja) | 正極活物質、および、電池 |
Legal Events
| Date | Code | Title | Description |
|---|---|---|---|
| A621 | Written request for application examination |
Free format text: JAPANESE INTERMEDIATE CODE: A621 Effective date: 20190731 |
|
| A131 | Notification of reasons for refusal |
Free format text: JAPANESE INTERMEDIATE CODE: A131 Effective date: 20200707 |
|
| A521 | Request for written amendment filed |
Free format text: JAPANESE INTERMEDIATE CODE: A523 Effective date: 20200901 |
|
| TRDD | Decision of grant or rejection written | ||
| A01 | Written decision to grant a patent or to grant a registration (utility model) |
Free format text: JAPANESE INTERMEDIATE CODE: A01 Effective date: 20210224 |
|
| A61 | First payment of annual fees (during grant procedure) |
Free format text: JAPANESE INTERMEDIATE CODE: A61 Effective date: 20210316 |
|
| R151 | Written notification of patent or utility model registration |
Ref document number: 6861402 Country of ref document: JP Free format text: JAPANESE INTERMEDIATE CODE: R151 |
