JP6861400B2 - 正極活物質、および、電池 - Google Patents
正極活物質、および、電池 Download PDFInfo
- Publication number
- JP6861400B2 JP6861400B2 JP2017540474A JP2017540474A JP6861400B2 JP 6861400 B2 JP6861400 B2 JP 6861400B2 JP 2017540474 A JP2017540474 A JP 2017540474A JP 2017540474 A JP2017540474 A JP 2017540474A JP 6861400 B2 JP6861400 B2 JP 6861400B2
- Authority
- JP
- Japan
- Prior art keywords
- positive electrode
- active material
- electrode active
- battery
- lithium
- Prior art date
- Legal status (The legal status is an assumption and is not a legal conclusion. Google has not performed a legal analysis and makes no representation as to the accuracy of the status listed.)
- Active
Links
Images
Classifications
-
- H—ELECTRICITY
- H01—ELECTRIC ELEMENTS
- H01M—PROCESSES OR MEANS, e.g. BATTERIES, FOR THE DIRECT CONVERSION OF CHEMICAL ENERGY INTO ELECTRICAL ENERGY
- H01M4/00—Electrodes
- H01M4/02—Electrodes composed of, or comprising, active material
- H01M4/36—Selection of substances as active materials, active masses, active liquids
-
- C—CHEMISTRY; METALLURGY
- C01—INORGANIC CHEMISTRY
- C01G—COMPOUNDS CONTAINING METALS NOT COVERED BY SUBCLASSES C01D OR C01F
- C01G45/00—Compounds of manganese
- C01G45/20—Compounds containing manganese, with or without oxygen or hydrogen, and containing one or more other elements
- C01G45/22—Compounds containing manganese, with or without oxygen or hydrogen, and containing two or more other elements
-
- C—CHEMISTRY; METALLURGY
- C01—INORGANIC CHEMISTRY
- C01G—COMPOUNDS CONTAINING METALS NOT COVERED BY SUBCLASSES C01D OR C01F
- C01G51/00—Compounds of cobalt
- C01G51/80—Compounds containing cobalt, with or without oxygen or hydrogen, and containing one or more other elements
- C01G51/82—Compounds containing cobalt, with or without oxygen or hydrogen, and containing two or more other elements
-
- C—CHEMISTRY; METALLURGY
- C01—INORGANIC CHEMISTRY
- C01G—COMPOUNDS CONTAINING METALS NOT COVERED BY SUBCLASSES C01D OR C01F
- C01G53/00—Compounds of nickel
- C01G53/80—Compounds containing nickel, with or without oxygen or hydrogen, and containing one or more other elements
- C01G53/82—Compounds containing nickel, with or without oxygen or hydrogen, and containing two or more other elements
-
- H—ELECTRICITY
- H01—ELECTRIC ELEMENTS
- H01M—PROCESSES OR MEANS, e.g. BATTERIES, FOR THE DIRECT CONVERSION OF CHEMICAL ENERGY INTO ELECTRICAL ENERGY
- H01M10/00—Secondary cells; Manufacture thereof
- H01M10/05—Accumulators with non-aqueous electrolyte
- H01M10/052—Li-accumulators
-
- H—ELECTRICITY
- H01—ELECTRIC ELEMENTS
- H01M—PROCESSES OR MEANS, e.g. BATTERIES, FOR THE DIRECT CONVERSION OF CHEMICAL ENERGY INTO ELECTRICAL ENERGY
- H01M10/00—Secondary cells; Manufacture thereof
- H01M10/05—Accumulators with non-aqueous electrolyte
- H01M10/052—Li-accumulators
- H01M10/0525—Rocking-chair batteries, i.e. batteries with lithium insertion or intercalation in both electrodes; Lithium-ion batteries
-
- H—ELECTRICITY
- H01—ELECTRIC ELEMENTS
- H01M—PROCESSES OR MEANS, e.g. BATTERIES, FOR THE DIRECT CONVERSION OF CHEMICAL ENERGY INTO ELECTRICAL ENERGY
- H01M4/00—Electrodes
- H01M4/02—Electrodes composed of, or comprising, active material
- H01M4/13—Electrodes for accumulators with non-aqueous electrolyte, e.g. for lithium-accumulators; Processes of manufacture thereof
- H01M4/131—Electrodes based on mixed oxides or hydroxides, or on mixtures of oxides or hydroxides, e.g. LiCoOx
- H01M4/1315—Electrodes based on mixed oxides or hydroxides, or on mixtures of oxides or hydroxides, e.g. LiCoOx containing halogen atoms, e.g. LiCoOxFy
-
- H—ELECTRICITY
- H01—ELECTRIC ELEMENTS
- H01M—PROCESSES OR MEANS, e.g. BATTERIES, FOR THE DIRECT CONVERSION OF CHEMICAL ENERGY INTO ELECTRICAL ENERGY
- H01M4/00—Electrodes
- H01M4/02—Electrodes composed of, or comprising, active material
- H01M4/36—Selection of substances as active materials, active masses, active liquids
- H01M4/48—Selection of substances as active materials, active masses, active liquids of inorganic oxides or hydroxides
- H01M4/485—Selection of substances as active materials, active masses, active liquids of inorganic oxides or hydroxides of mixed oxides or hydroxides for inserting or intercalating light metals, e.g. LiTi2O4 or LiTi2OxFy
-
- H—ELECTRICITY
- H01—ELECTRIC ELEMENTS
- H01M—PROCESSES OR MEANS, e.g. BATTERIES, FOR THE DIRECT CONVERSION OF CHEMICAL ENERGY INTO ELECTRICAL ENERGY
- H01M4/00—Electrodes
- H01M4/02—Electrodes composed of, or comprising, active material
- H01M4/36—Selection of substances as active materials, active masses, active liquids
- H01M4/48—Selection of substances as active materials, active masses, active liquids of inorganic oxides or hydroxides
- H01M4/50—Selection of substances as active materials, active masses, active liquids of inorganic oxides or hydroxides of manganese
- H01M4/505—Selection of substances as active materials, active masses, active liquids of inorganic oxides or hydroxides of manganese of mixed oxides or hydroxides containing manganese for inserting or intercalating light metals, e.g. LiMn2O4 or LiMn2OxFy
-
- H—ELECTRICITY
- H01—ELECTRIC ELEMENTS
- H01M—PROCESSES OR MEANS, e.g. BATTERIES, FOR THE DIRECT CONVERSION OF CHEMICAL ENERGY INTO ELECTRICAL ENERGY
- H01M4/00—Electrodes
- H01M4/02—Electrodes composed of, or comprising, active material
- H01M4/36—Selection of substances as active materials, active masses, active liquids
- H01M4/48—Selection of substances as active materials, active masses, active liquids of inorganic oxides or hydroxides
- H01M4/52—Selection of substances as active materials, active masses, active liquids of inorganic oxides or hydroxides of nickel, cobalt or iron
- H01M4/525—Selection of substances as active materials, active masses, active liquids of inorganic oxides or hydroxides of nickel, cobalt or iron of mixed oxides or hydroxides containing iron, cobalt or nickel for inserting or intercalating light metals, e.g. LiNiO2, LiCoO2 or LiCoOxFy
-
- C—CHEMISTRY; METALLURGY
- C01—INORGANIC CHEMISTRY
- C01P—INDEXING SCHEME RELATING TO STRUCTURAL AND PHYSICAL ASPECTS OF SOLID INORGANIC COMPOUNDS
- C01P2002/00—Crystal-structural characteristics
- C01P2002/70—Crystal-structural characteristics defined by measured X-ray, neutron or electron diffraction data
- C01P2002/72—Crystal-structural characteristics defined by measured X-ray, neutron or electron diffraction data by d-values or two theta-values, e.g. as X-ray diagram
-
- C—CHEMISTRY; METALLURGY
- C01—INORGANIC CHEMISTRY
- C01P—INDEXING SCHEME RELATING TO STRUCTURAL AND PHYSICAL ASPECTS OF SOLID INORGANIC COMPOUNDS
- C01P2002/00—Crystal-structural characteristics
- C01P2002/70—Crystal-structural characteristics defined by measured X-ray, neutron or electron diffraction data
- C01P2002/76—Crystal-structural characteristics defined by measured X-ray, neutron or electron diffraction data by a space-group or by other symmetry indications
-
- C—CHEMISTRY; METALLURGY
- C01—INORGANIC CHEMISTRY
- C01P—INDEXING SCHEME RELATING TO STRUCTURAL AND PHYSICAL ASPECTS OF SOLID INORGANIC COMPOUNDS
- C01P2006/00—Physical properties of inorganic compounds
- C01P2006/40—Electric properties
-
- H—ELECTRICITY
- H01—ELECTRIC ELEMENTS
- H01M—PROCESSES OR MEANS, e.g. BATTERIES, FOR THE DIRECT CONVERSION OF CHEMICAL ENERGY INTO ELECTRICAL ENERGY
- H01M4/00—Electrodes
- H01M4/02—Electrodes composed of, or comprising, active material
- H01M2004/026—Electrodes composed of, or comprising, active material characterised by the polarity
- H01M2004/028—Positive electrodes
-
- H—ELECTRICITY
- H01—ELECTRIC ELEMENTS
- H01M—PROCESSES OR MEANS, e.g. BATTERIES, FOR THE DIRECT CONVERSION OF CHEMICAL ENERGY INTO ELECTRICAL ENERGY
- H01M2220/00—Batteries for particular applications
- H01M2220/30—Batteries in portable systems, e.g. mobile phone, laptop
-
- Y—GENERAL TAGGING OF NEW TECHNOLOGICAL DEVELOPMENTS; GENERAL TAGGING OF CROSS-SECTIONAL TECHNOLOGIES SPANNING OVER SEVERAL SECTIONS OF THE IPC; TECHNICAL SUBJECTS COVERED BY FORMER USPC CROSS-REFERENCE ART COLLECTIONS [XRACs] AND DIGESTS
- Y02—TECHNOLOGIES OR APPLICATIONS FOR MITIGATION OR ADAPTATION AGAINST CLIMATE CHANGE
- Y02E—REDUCTION OF GREENHOUSE GAS [GHG] EMISSIONS, RELATED TO ENERGY GENERATION, TRANSMISSION OR DISTRIBUTION
- Y02E60/00—Enabling technologies; Technologies with a potential or indirect contribution to GHG emissions mitigation
- Y02E60/10—Energy storage using batteries
Landscapes
- Chemical & Material Sciences (AREA)
- Chemical Kinetics & Catalysis (AREA)
- Electrochemistry (AREA)
- General Chemical & Material Sciences (AREA)
- Inorganic Chemistry (AREA)
- Organic Chemistry (AREA)
- Engineering & Computer Science (AREA)
- Materials Engineering (AREA)
- Manufacturing & Machinery (AREA)
- Battery Electrode And Active Subsutance (AREA)
- Inorganic Compounds Of Heavy Metals (AREA)
- Secondary Cells (AREA)
Description
ここで、前記Meは、B、Ce、Si、Zr、Nb、Pr、Ti、W、Ge、Mo、Snの単体および固溶体からなる群より選択される一種または二種以上の元素である。
1.8≦x≦2.2、
0.8≦y≦1.3、
1.2≦α≦2.5、
0.5≦β≦1.8、
を満たす。
実施の形態1における正極活物質は、空間群FM3−Mに属する結晶構造を有し、下記の組成式(1)により表される化合物を含む。
ここで、前記Meは、B、Ce、Si、Zr、Nb、Pr、Ti、W、Ge、Mo、Snの単体および固溶体からなる群より選択される少なくとも一種(すなわち、当該群より選択される一種または二種以上の元素)である。
1.8≦x≦2.2、
0.8≦y≦1.3、
1.2≦α≦2.5、
0.5≦β≦1.8、
を満たす。
以下に、実施の形態1の正極活物質に含まれる上述の化合物の製造方法の一例が、説明される。
以下、実施の形態2が説明される。なお、上述の実施の形態1と重複する説明は、適宜、省略される。
[正極活物質の作製]
LiFとLiCoO2とLiMoO2をLiF/LiCoO2/LiMoO2=1.0/0.8/0.2モル比でそれぞれ秤量した。
次に、70質量部の上述の化合物と、20質量部の導電剤と、10質量部のポリフッ化ビニリデン(PVDF)と、適量の2−メチルピロリドン(NMP)とを、混合した。これにより、正極合剤スラリーを得た。
上述の実施例1から、Meを、それぞれ、変えた。
LiCO3とMnCO3をLiCO3/MnCO3=1.05/1.0モル比でそれぞれ秤量した。
正極に対する電流密度を0.005mA/cm2に設定し、5.2Vの電圧に達するまで、実施例1の電池を充電した。
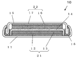
11 ケース
12 正極集電体
13 正極活物質層
14 セパレータ
15 封口板
16 負極集電体
17 負極活物質層
18 ガスケット
21 正極
22 負極
Claims (4)
- 空間群FM3−Mに属する結晶構造を有し、下記の組成式(1)により表される化合物を含む、
リチウムイオン二次電池用正極活物質。
LixMeyOαFβ・・・式(1)
ここで、前記Meは、CoとMoとからなる固溶体であるか、または、NiとMoとからなる固溶体であるか、または、MnとMoとからなる固溶体であるか、または、CoとNbとからなる固溶体であるか、または、NiとNbとからなる固溶体であるか、または、MnとNbとからなる固溶体であり、
かつ、下記の条件、
1.8≦x≦2.2、
0.8≦y≦1.3、
1.2≦α≦2.5、
0.5≦β≦1.8、
x+y=α+β=3、
を満たす。 - 前記化合物を、90重量%以上の割合で、含む、
請求項1に記載のリチウムイオン二次電池用正極活物質。 - 前記化合物は、Li2Co0.8Mo0.2O2F、または、Li2Ni0.8Mo0.2O2F、または、Li2Mn0.8Mo0.2O2F、または、Li2Co0.8Nb0.2O2F、または、Li2Ni0.8Nb0.2O2F、または、Li2Mn0.8Nb0.2O2F、である、
請求項1または2に記載のリチウムイオン二次電池用正極活物質。 - 請求項1から3のいずれかに記載のリチウムイオン二次電池用正極活物質を含む正極と、
負極と、
電解質と、
を備え、
前記負極は、リチウムを吸蔵および放出する特性を有する負極活物質を含み、
前記電解質は、非水電解液である、
リチウムイオン二次電池。
Applications Claiming Priority (3)
| Application Number | Priority Date | Filing Date | Title |
|---|---|---|---|
| JP2015182648 | 2015-09-16 | ||
| JP2015182648 | 2015-09-16 | ||
| PCT/JP2016/003949 WO2017047016A1 (ja) | 2015-09-16 | 2016-08-30 | 正極活物質、および、電池 |
Publications (2)
| Publication Number | Publication Date |
|---|---|
| JPWO2017047016A1 JPWO2017047016A1 (ja) | 2018-07-05 |
| JP6861400B2 true JP6861400B2 (ja) | 2021-04-21 |
Family
ID=58288461
Family Applications (1)
| Application Number | Title | Priority Date | Filing Date |
|---|---|---|---|
| JP2017540474A Active JP6861400B2 (ja) | 2015-09-16 | 2016-08-30 | 正極活物質、および、電池 |
Country Status (4)
| Country | Link |
|---|---|
| US (1) | US10497928B2 (ja) |
| JP (1) | JP6861400B2 (ja) |
| CN (2) | CN107408692B (ja) |
| WO (1) | WO2017047016A1 (ja) |
Families Citing this family (9)
| Publication number | Priority date | Publication date | Assignee | Title |
|---|---|---|---|---|
| EP3327835B1 (en) * | 2015-07-23 | 2019-09-11 | Panasonic Intellectual Property Management Co., Ltd. | Positive electrode active material and battery |
| CN110719893A (zh) * | 2017-06-12 | 2020-01-21 | 加利福尼亚大学董事会 | 用于Li离子电池阴极的具有组合的金属和氧氧化还原的高容量锂金属氟氧化物 |
| CN109309215A (zh) * | 2018-08-02 | 2019-02-05 | 中南大学 | 一种改性富锂锰基正极材料及其制备方法 |
| KR102680029B1 (ko) * | 2018-09-20 | 2024-06-28 | 주식회사 엘지에너지솔루션 | 리튬 이차전지용 양극 활물질 및 이의 제조방법 |
| JP2022108750A (ja) * | 2019-06-05 | 2022-07-27 | パナソニックIpマネジメント株式会社 | 正極活物質、および、電池 |
| WO2023034137A1 (en) | 2021-08-31 | 2023-03-09 | Wildcat Discovery Technologies, Inc. | Cathode with coated disordered rocksalt material |
| CN118922961A (zh) * | 2022-03-31 | 2024-11-08 | 松下知识产权经营株式会社 | 非水电解质二次电池用正极活性物质 |
| WO2023235473A1 (en) | 2022-06-03 | 2023-12-07 | Wildcat Discovery Technologies, Inc. | Disordered rocksalt material and method of forming it |
| JP2025518068A (ja) | 2022-06-03 | 2025-06-12 | ワイルドキャット・ディスカバリー・テクノロジーズ・インコーポレイテッド | 不規則岩塩型カソード材料及びその製造方法 |
Family Cites Families (14)
| Publication number | Priority date | Publication date | Assignee | Title |
|---|---|---|---|---|
| JPH07107851B2 (ja) | 1988-02-17 | 1995-11-15 | 三洋電機株式会社 | 非水系二次電池 |
| JPH06342673A (ja) * | 1993-05-31 | 1994-12-13 | Hitachi Maxell Ltd | リチウム二次電池 |
| JP3340515B2 (ja) * | 1993-07-20 | 2002-11-05 | 新神戸電機株式会社 | リチウム電池 |
| US6737195B2 (en) * | 2000-03-13 | 2004-05-18 | Samsung Sdi Co., Ltd. | Positive active material for rechargeable lithium battery and method of preparing same |
| JP2007005073A (ja) * | 2005-06-22 | 2007-01-11 | Sony Corp | 正極材料および電池、ならびに正極材料の製造方法 |
| JP2009064707A (ja) * | 2007-09-07 | 2009-03-26 | Panasonic Corp | 非水電解液二次電池用活物質及びそれを用いた電池 |
| EP2351124A4 (en) * | 2008-09-30 | 2012-08-29 | Envia Systems Inc | BATTERY MATERIALS FOR POSITIVE ELECTRODE POSITIVE ELECTRODE METAL OXIDE RICH IN LITHIUM DOPED BY FLUOR OF HIGH SPECIFIC CAPACITY AND BATTERY CORRESPONDING |
| US8741484B2 (en) * | 2010-04-02 | 2014-06-03 | Envia Systems, Inc. | Doped positive electrode active materials and lithium ion secondary battery constructed therefrom |
| CN103222094B (zh) * | 2010-11-16 | 2015-05-06 | 丰田自动车株式会社 | 正极活性物质及其制造方法、以及使用该正极活性物质的锂二次电池 |
| JP5360159B2 (ja) * | 2011-08-09 | 2013-12-04 | トヨタ自動車株式会社 | 複合正極活物質、全固体電池、および複合正極活物質の製造方法 |
| JP6197029B2 (ja) * | 2013-03-27 | 2017-09-13 | 株式会社Gsユアサ | 非水電解質蓄電素子用活物質 |
| KR101785262B1 (ko) * | 2013-07-08 | 2017-10-16 | 삼성에스디아이 주식회사 | 양극 활물질, 그 제조방법, 이를 채용한 양극 및 리튬이차전지 |
| JP6168603B2 (ja) * | 2013-12-27 | 2017-07-26 | 国立大学法人九州大学 | リチウムイオン電池用の正極活物質およびその製造方法 |
| EP2921455A1 (en) | 2014-03-20 | 2015-09-23 | Karlsruher Institut für Technologie | Oxyfluoride compounds for lithium-cells and batteries |
-
2016
- 2016-08-30 CN CN201680015249.7A patent/CN107408692B/zh active Active
- 2016-08-30 JP JP2017540474A patent/JP6861400B2/ja active Active
- 2016-08-30 WO PCT/JP2016/003949 patent/WO2017047016A1/ja not_active Ceased
- 2016-08-30 CN CN202111078974.8A patent/CN113745488A/zh active Pending
-
2017
- 2017-11-14 US US15/811,683 patent/US10497928B2/en active Active
Also Published As
| Publication number | Publication date |
|---|---|
| CN107408692B (zh) | 2021-09-17 |
| US10497928B2 (en) | 2019-12-03 |
| CN113745488A (zh) | 2021-12-03 |
| CN107408692A (zh) | 2017-11-28 |
| WO2017047016A1 (ja) | 2017-03-23 |
| JPWO2017047016A1 (ja) | 2018-07-05 |
| US20180090745A1 (en) | 2018-03-29 |
Similar Documents
| Publication | Publication Date | Title |
|---|---|---|
| JP6952247B2 (ja) | 正極活物質、および、電池 | |
| JP6872705B2 (ja) | 正極活物質、および、電池 | |
| JP6846627B2 (ja) | 正極活物質、および、電池 | |
| JP6964246B2 (ja) | 正極活物質、および、正極活物質を用いた電池 | |
| JP6861400B2 (ja) | 正極活物質、および、電池 | |
| JP6979586B2 (ja) | 電池用正極活物質、および、電池用正極活物質を用いた電池 | |
| JP6952251B2 (ja) | 電池用正極活物質、および、電池 | |
| JP6941811B2 (ja) | 電池用正極活物質、および、電池 | |
| JP6861401B2 (ja) | 正極活物質、および、電池 | |
| JP6876955B2 (ja) | 正極活物質、および、電池 | |
| JP6876956B2 (ja) | 正極活物質、および、電池 | |
| JP2021073666A (ja) | 正極活物質、および、電池 | |
| WO2017047018A1 (ja) | 電池 | |
| JP6587120B2 (ja) | 非水電解質二次電池用正極活物質および非水電解質二次電池、ならびに非水電解質二次電池用正極活物質の製造方法 | |
| JP2017004941A (ja) | 電池用正極活物質、および、電池 |
Legal Events
| Date | Code | Title | Description |
|---|---|---|---|
| A621 | Written request for application examination |
Free format text: JAPANESE INTERMEDIATE CODE: A621 Effective date: 20190731 |
|
| A131 | Notification of reasons for refusal |
Free format text: JAPANESE INTERMEDIATE CODE: A131 Effective date: 20200707 |
|
| A521 | Request for written amendment filed |
Free format text: JAPANESE INTERMEDIATE CODE: A523 Effective date: 20200901 |
|
| TRDD | Decision of grant or rejection written | ||
| A01 | Written decision to grant a patent or to grant a registration (utility model) |
Free format text: JAPANESE INTERMEDIATE CODE: A01 Effective date: 20210224 |
|
| A61 | First payment of annual fees (during grant procedure) |
Free format text: JAPANESE INTERMEDIATE CODE: A61 Effective date: 20210316 |
|
| R151 | Written notification of patent or utility model registration |
Ref document number: 6861400 Country of ref document: JP Free format text: JAPANESE INTERMEDIATE CODE: R151 |
