JP6861401B2 - 正極活物質、および、電池 - Google Patents
正極活物質、および、電池 Download PDFInfo
- Publication number
- JP6861401B2 JP6861401B2 JP2017540475A JP2017540475A JP6861401B2 JP 6861401 B2 JP6861401 B2 JP 6861401B2 JP 2017540475 A JP2017540475 A JP 2017540475A JP 2017540475 A JP2017540475 A JP 2017540475A JP 6861401 B2 JP6861401 B2 JP 6861401B2
- Authority
- JP
- Japan
- Prior art keywords
- positive electrode
- active material
- electrode active
- battery
- compound
- Prior art date
- Legal status (The legal status is an assumption and is not a legal conclusion. Google has not performed a legal analysis and makes no representation as to the accuracy of the status listed.)
- Active
Links
Images
Classifications
-
- H—ELECTRICITY
- H01—ELECTRIC ELEMENTS
- H01M—PROCESSES OR MEANS, e.g. BATTERIES, FOR THE DIRECT CONVERSION OF CHEMICAL ENERGY INTO ELECTRICAL ENERGY
- H01M4/00—Electrodes
- H01M4/02—Electrodes composed of, or comprising, active material
- H01M4/13—Electrodes for accumulators with non-aqueous electrolyte, e.g. for lithium-accumulators; Processes of manufacture thereof
- H01M4/131—Electrodes based on mixed oxides or hydroxides, or on mixtures of oxides or hydroxides, e.g. LiCoOx
- H01M4/1315—Electrodes based on mixed oxides or hydroxides, or on mixtures of oxides or hydroxides, e.g. LiCoOx containing halogen atoms, e.g. LiCoOxFy
-
- C—CHEMISTRY; METALLURGY
- C01—INORGANIC CHEMISTRY
- C01G—COMPOUNDS CONTAINING METALS NOT COVERED BY SUBCLASSES C01D OR C01F
- C01G45/00—Compounds of manganese
- C01G45/20—Compounds containing manganese, with or without oxygen or hydrogen, and containing one or more other elements
- C01G45/22—Compounds containing manganese, with or without oxygen or hydrogen, and containing two or more other elements
-
- C—CHEMISTRY; METALLURGY
- C01—INORGANIC CHEMISTRY
- C01G—COMPOUNDS CONTAINING METALS NOT COVERED BY SUBCLASSES C01D OR C01F
- C01G51/00—Compounds of cobalt
- C01G51/80—Compounds containing cobalt, with or without oxygen or hydrogen, and containing one or more other elements
- C01G51/82—Compounds containing cobalt, with or without oxygen or hydrogen, and containing two or more other elements
-
- H—ELECTRICITY
- H01—ELECTRIC ELEMENTS
- H01M—PROCESSES OR MEANS, e.g. BATTERIES, FOR THE DIRECT CONVERSION OF CHEMICAL ENERGY INTO ELECTRICAL ENERGY
- H01M10/00—Secondary cells; Manufacture thereof
- H01M10/05—Accumulators with non-aqueous electrolyte
- H01M10/052—Li-accumulators
-
- H—ELECTRICITY
- H01—ELECTRIC ELEMENTS
- H01M—PROCESSES OR MEANS, e.g. BATTERIES, FOR THE DIRECT CONVERSION OF CHEMICAL ENERGY INTO ELECTRICAL ENERGY
- H01M10/00—Secondary cells; Manufacture thereof
- H01M10/05—Accumulators with non-aqueous electrolyte
- H01M10/052—Li-accumulators
- H01M10/0525—Rocking-chair batteries, i.e. batteries with lithium insertion or intercalation in both electrodes; Lithium-ion batteries
-
- H—ELECTRICITY
- H01—ELECTRIC ELEMENTS
- H01M—PROCESSES OR MEANS, e.g. BATTERIES, FOR THE DIRECT CONVERSION OF CHEMICAL ENERGY INTO ELECTRICAL ENERGY
- H01M10/00—Secondary cells; Manufacture thereof
- H01M10/05—Accumulators with non-aqueous electrolyte
- H01M10/056—Accumulators with non-aqueous electrolyte characterised by the materials used as electrolytes, e.g. mixed inorganic/organic electrolytes
- H01M10/0564—Accumulators with non-aqueous electrolyte characterised by the materials used as electrolytes, e.g. mixed inorganic/organic electrolytes the electrolyte being constituted of organic materials only
- H01M10/0566—Liquid materials
-
- H—ELECTRICITY
- H01—ELECTRIC ELEMENTS
- H01M—PROCESSES OR MEANS, e.g. BATTERIES, FOR THE DIRECT CONVERSION OF CHEMICAL ENERGY INTO ELECTRICAL ENERGY
- H01M4/00—Electrodes
- H01M4/02—Electrodes composed of, or comprising, active material
- H01M4/36—Selection of substances as active materials, active masses, active liquids
- H01M4/48—Selection of substances as active materials, active masses, active liquids of inorganic oxides or hydroxides
- H01M4/485—Selection of substances as active materials, active masses, active liquids of inorganic oxides or hydroxides of mixed oxides or hydroxides for inserting or intercalating light metals, e.g. LiTi2O4 or LiTi2OxFy
-
- H—ELECTRICITY
- H01—ELECTRIC ELEMENTS
- H01M—PROCESSES OR MEANS, e.g. BATTERIES, FOR THE DIRECT CONVERSION OF CHEMICAL ENERGY INTO ELECTRICAL ENERGY
- H01M4/00—Electrodes
- H01M4/02—Electrodes composed of, or comprising, active material
- H01M4/36—Selection of substances as active materials, active masses, active liquids
- H01M4/48—Selection of substances as active materials, active masses, active liquids of inorganic oxides or hydroxides
- H01M4/50—Selection of substances as active materials, active masses, active liquids of inorganic oxides or hydroxides of manganese
- H01M4/505—Selection of substances as active materials, active masses, active liquids of inorganic oxides or hydroxides of manganese of mixed oxides or hydroxides containing manganese for inserting or intercalating light metals, e.g. LiMn2O4 or LiMn2OxFy
-
- H—ELECTRICITY
- H01—ELECTRIC ELEMENTS
- H01M—PROCESSES OR MEANS, e.g. BATTERIES, FOR THE DIRECT CONVERSION OF CHEMICAL ENERGY INTO ELECTRICAL ENERGY
- H01M4/00—Electrodes
- H01M4/02—Electrodes composed of, or comprising, active material
- H01M4/36—Selection of substances as active materials, active masses, active liquids
- H01M4/48—Selection of substances as active materials, active masses, active liquids of inorganic oxides or hydroxides
- H01M4/52—Selection of substances as active materials, active masses, active liquids of inorganic oxides or hydroxides of nickel, cobalt or iron
- H01M4/525—Selection of substances as active materials, active masses, active liquids of inorganic oxides or hydroxides of nickel, cobalt or iron of mixed oxides or hydroxides containing iron, cobalt or nickel for inserting or intercalating light metals, e.g. LiNiO2, LiCoO2 or LiCoOxFy
-
- C—CHEMISTRY; METALLURGY
- C01—INORGANIC CHEMISTRY
- C01P—INDEXING SCHEME RELATING TO STRUCTURAL AND PHYSICAL ASPECTS OF SOLID INORGANIC COMPOUNDS
- C01P2002/00—Crystal-structural characteristics
- C01P2002/20—Two-dimensional structures
-
- C—CHEMISTRY; METALLURGY
- C01—INORGANIC CHEMISTRY
- C01P—INDEXING SCHEME RELATING TO STRUCTURAL AND PHYSICAL ASPECTS OF SOLID INORGANIC COMPOUNDS
- C01P2002/00—Crystal-structural characteristics
- C01P2002/70—Crystal-structural characteristics defined by measured X-ray, neutron or electron diffraction data
- C01P2002/72—Crystal-structural characteristics defined by measured X-ray, neutron or electron diffraction data by d-values or two theta-values, e.g. as X-ray diagram
-
- C—CHEMISTRY; METALLURGY
- C01—INORGANIC CHEMISTRY
- C01P—INDEXING SCHEME RELATING TO STRUCTURAL AND PHYSICAL ASPECTS OF SOLID INORGANIC COMPOUNDS
- C01P2002/00—Crystal-structural characteristics
- C01P2002/70—Crystal-structural characteristics defined by measured X-ray, neutron or electron diffraction data
- C01P2002/76—Crystal-structural characteristics defined by measured X-ray, neutron or electron diffraction data by a space-group or by other symmetry indications
-
- C—CHEMISTRY; METALLURGY
- C01—INORGANIC CHEMISTRY
- C01P—INDEXING SCHEME RELATING TO STRUCTURAL AND PHYSICAL ASPECTS OF SOLID INORGANIC COMPOUNDS
- C01P2006/00—Physical properties of inorganic compounds
- C01P2006/40—Electric properties
-
- H—ELECTRICITY
- H01—ELECTRIC ELEMENTS
- H01M—PROCESSES OR MEANS, e.g. BATTERIES, FOR THE DIRECT CONVERSION OF CHEMICAL ENERGY INTO ELECTRICAL ENERGY
- H01M4/00—Electrodes
- H01M4/02—Electrodes composed of, or comprising, active material
- H01M2004/026—Electrodes composed of, or comprising, active material characterised by the polarity
- H01M2004/028—Positive electrodes
-
- H—ELECTRICITY
- H01—ELECTRIC ELEMENTS
- H01M—PROCESSES OR MEANS, e.g. BATTERIES, FOR THE DIRECT CONVERSION OF CHEMICAL ENERGY INTO ELECTRICAL ENERGY
- H01M2220/00—Batteries for particular applications
- H01M2220/30—Batteries in portable systems, e.g. mobile phone, laptop
-
- Y—GENERAL TAGGING OF NEW TECHNOLOGICAL DEVELOPMENTS; GENERAL TAGGING OF CROSS-SECTIONAL TECHNOLOGIES SPANNING OVER SEVERAL SECTIONS OF THE IPC; TECHNICAL SUBJECTS COVERED BY FORMER USPC CROSS-REFERENCE ART COLLECTIONS [XRACs] AND DIGESTS
- Y02—TECHNOLOGIES OR APPLICATIONS FOR MITIGATION OR ADAPTATION AGAINST CLIMATE CHANGE
- Y02E—REDUCTION OF GREENHOUSE GAS [GHG] EMISSIONS, RELATED TO ENERGY GENERATION, TRANSMISSION OR DISTRIBUTION
- Y02E60/00—Enabling technologies; Technologies with a potential or indirect contribution to GHG emissions mitigation
- Y02E60/10—Energy storage using batteries
Landscapes
- Chemical & Material Sciences (AREA)
- General Chemical & Material Sciences (AREA)
- Chemical Kinetics & Catalysis (AREA)
- Electrochemistry (AREA)
- Inorganic Chemistry (AREA)
- Engineering & Computer Science (AREA)
- Organic Chemistry (AREA)
- Manufacturing & Machinery (AREA)
- Materials Engineering (AREA)
- General Physics & Mathematics (AREA)
- Condensed Matter Physics & Semiconductors (AREA)
- Physics & Mathematics (AREA)
- Battery Electrode And Active Subsutance (AREA)
- Secondary Cells (AREA)
Description
LixAyMezOαFβ・・・式(1)
実施の形態1における正極活物質は、空間群FM3−Mに属する結晶構造を有し、下記の組成式(1)により表される化合物を含む正極活物質。
LixAyMezOαFβ・・・式(1)
1.7≦x+y≦2.2、
0<y≦0.2、
0.8≦z≦1.3、
1≦α≦2.5、
0.5≦β≦2、
を満たす。
以下に、実施の形態1の正極活物質に含まれる上述の化合物の製造方法の一例が、説明される。
以下、実施の形態2が説明される。なお、上述の実施の形態1と重複する説明は、適宜、省略される。
[正極活物質の作製]
LiFとNaFとLi2OとMn2O3をLiF/NaF/Li2O/Mn2O3=0.95/0.05/0.5/0.5モル比でそれぞれ秤量した。
次に、70質量部の上述の化合物と、20質量部の導電剤と、10質量部のポリフッ化ビニリデン(PVDF)と、適量の2−メチルピロリドン(NMP)とを、混合した。これにより、正極合剤スラリーを得た。
上述の実施例1から、Li/A/Meの比率および、O/Fの比率を、それぞれ、変えた。
公知の手法を用いて、コバルト酸リチウム(LiCoO2)を得た。
LiFとLi2OとMn2O3をLiF/Li2O/Mn2O3=1.0/0.5/0.5モル比でそれぞれ秤量した。
公知の手法を用いてコバルト酸リチウム(LiCoO2)を得た。
正極に対する電流密度を0.05mA/cm2に設定し、5.2Vの電圧に達するまで、実施例1の電池を充電した。
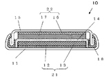
11 ケース
12 正極集電体
13 正極活物質層
14 セパレータ
15 封口板
16 負極集電体
17 負極活物質層
18 ガスケット
21 正極
22 負極
Claims (7)
- 空間群FM3−Mに属する結晶構造を有し、下記の組成式(1)により表される化合物を含む、
リチウムイオン二次電池用正極活物質。
LixAyMezOαFβ・・・式(1)
ここで、前記Aは、NaまたはKであり、
かつ、前記Meは、MnとCoとNiとから選ばれる一種の元素であり、
かつ、下記の条件、
1.7≦x+y≦2.2、
0<y≦0.2、
0.8≦z≦1.3、
1≦α≦2.5、
0.5≦β≦2、
x+y+z=α+β=3、
を満たす。 - 前記化合物を、90重量%以上の割合で、含む、
請求項1に記載のリチウムイオン二次電池用正極活物質。 - 前記Meは、MnとCoから選ばれる一種の元素である、
請求項1または2に記載のリチウムイオン二次電池用正極活物質。 - 0<y≦0.1、を満たす、
請求項1から3のいずれかに記載のリチウムイオン二次電池用正極活物質。 - 1.8≦x≦1.99、
0.01≦y≦0.2、を満たす、
請求項1から3のいずれかに記載のリチウムイオン二次電池用正極活物質。 - z=1、かつ、α=2、かつ、β=1、を満たす、
請求項1から5のいずれかに記載のリチウムイオン二次電池用正極活物質。 - 請求項1から6のいずれかに記載のリチウムイオン二次電池用正極活物質を含む正極と、
負極と、
電解質と、
を備え、
前記負極は、リチウムを吸蔵および放出する特性を有する負極活物質を含み、
前記電解質は、非水電解液である、
リチウムイオン二次電池。
Applications Claiming Priority (3)
| Application Number | Priority Date | Filing Date | Title |
|---|---|---|---|
| JP2015182645 | 2015-09-16 | ||
| JP2015182645 | 2015-09-16 | ||
| PCT/JP2016/003950 WO2017047017A1 (ja) | 2015-09-16 | 2016-08-30 | 正極活物質、および、電池 |
Publications (2)
| Publication Number | Publication Date |
|---|---|
| JPWO2017047017A1 JPWO2017047017A1 (ja) | 2018-07-05 |
| JP6861401B2 true JP6861401B2 (ja) | 2021-04-21 |
Family
ID=58288538
Family Applications (1)
| Application Number | Title | Priority Date | Filing Date |
|---|---|---|---|
| JP2017540475A Active JP6861401B2 (ja) | 2015-09-16 | 2016-08-30 | 正極活物質、および、電池 |
Country Status (5)
| Country | Link |
|---|---|
| US (2) | US10811671B2 (ja) |
| EP (1) | EP3352262B1 (ja) |
| JP (1) | JP6861401B2 (ja) |
| CN (1) | CN107431203B (ja) |
| WO (1) | WO2017047017A1 (ja) |
Families Citing this family (8)
| Publication number | Priority date | Publication date | Assignee | Title |
|---|---|---|---|---|
| EP3327835B1 (en) * | 2015-07-23 | 2019-09-11 | Panasonic Intellectual Property Management Co., Ltd. | Positive electrode active material and battery |
| EP3352262B1 (en) * | 2015-09-16 | 2019-10-16 | Panasonic Intellectual Property Management Co., Ltd. | Positive electrode active material and battery |
| CN109309215A (zh) * | 2018-08-02 | 2019-02-05 | 中南大学 | 一种改性富锂锰基正极材料及其制备方法 |
| WO2023034137A1 (en) | 2021-08-31 | 2023-03-09 | Wildcat Discovery Technologies, Inc. | Cathode with coated disordered rocksalt material |
| CN118922961A (zh) * | 2022-03-31 | 2024-11-08 | 松下知识产权经营株式会社 | 非水电解质二次电池用正极活性物质 |
| WO2023235473A1 (en) | 2022-06-03 | 2023-12-07 | Wildcat Discovery Technologies, Inc. | Disordered rocksalt material and method of forming it |
| JP2025518068A (ja) | 2022-06-03 | 2025-06-12 | ワイルドキャット・ディスカバリー・テクノロジーズ・インコーポレイテッド | 不規則岩塩型カソード材料及びその製造方法 |
| CN120072934B (zh) * | 2025-04-27 | 2025-08-08 | 广东石油化工学院 | 钒基电极材料及其制备方法和锂离子电池正极极片 |
Family Cites Families (73)
| Publication number | Priority date | Publication date | Assignee | Title |
|---|---|---|---|---|
| JPH07107851B2 (ja) | 1988-02-17 | 1995-11-15 | 三洋電機株式会社 | 非水系二次電池 |
| JP3340515B2 (ja) | 1993-07-20 | 2002-11-05 | 新神戸電機株式会社 | リチウム電池 |
| US5830600A (en) | 1996-05-24 | 1998-11-03 | Sri International | Nonflammable/self-extinguishing electrolytes for batteries |
| JPH09330720A (ja) | 1996-06-11 | 1997-12-22 | Sanyo Electric Co Ltd | リチウム電池 |
| JP4784608B2 (ja) | 1997-03-28 | 2011-10-05 | 宇部興産株式会社 | リチウムイオン非水電解質二次電池用正極活物質及びその製造方法 |
| US6037095A (en) | 1997-03-28 | 2000-03-14 | Fuji Photo Film Co., Ltd. | Non-aqueous lithium ion secondary battery |
| JP4200539B2 (ja) | 1997-03-28 | 2008-12-24 | 宇部興産株式会社 | リチウムイオン非水電解質二次電池 |
| JP4061668B2 (ja) | 1997-04-21 | 2008-03-19 | 宇部興産株式会社 | リチウムイオン非水電解質二次電池 |
| JP4022937B2 (ja) | 1997-04-24 | 2007-12-19 | 宇部興産株式会社 | リチウムイオン非水電解質二次電池 |
| JP3982658B2 (ja) | 1997-06-13 | 2007-09-26 | 日立マクセル株式会社 | 非水電解液二次電池用正極活物質およびその製造方法ならびに上記正極活物質を用いた非水電解液二次電池 |
| JP4106741B2 (ja) | 1998-05-28 | 2008-06-25 | 松下電器産業株式会社 | 非水電解質二次電池 |
| JP4171848B2 (ja) | 1998-06-02 | 2008-10-29 | 宇部興産株式会社 | リチウムイオン非水電解質二次電池 |
| KR100307160B1 (ko) | 1999-03-06 | 2001-09-26 | 김순택 | 리튬 이차 전지용 양극 활물질 및 그 제조 방법 |
| US6737195B2 (en) | 2000-03-13 | 2004-05-18 | Samsung Sdi Co., Ltd. | Positive active material for rechargeable lithium battery and method of preparing same |
| JP2002015776A (ja) | 2000-06-30 | 2002-01-18 | Toshiba Corp | 非水電解液二次電池 |
| EP1180810A2 (en) | 2000-08-18 | 2002-02-20 | Nissan Motor Co., Ltd. | Positive electrode active material for rechargeable lithium-ion battery |
| JP3578066B2 (ja) | 2000-08-18 | 2004-10-20 | 日産自動車株式会社 | Li欠損マンガン複合酸化物及びこれを用いた非水電解質二次電池 |
| US6872491B2 (en) | 2001-01-23 | 2005-03-29 | Kabushiki Kaisha Toshiba | Positive electrode active material and lithium ion secondary battery |
| US7011907B2 (en) | 2001-11-27 | 2006-03-14 | Nec Corporation | Secondary battery cathode active material, secondary battery cathode and secondary battery using the same |
| JP3675439B2 (ja) | 2001-11-27 | 2005-07-27 | 日本電気株式会社 | 二次電池用正極活物質およびそれを用いた二次電池用正極および二次電池 |
| US8956421B2 (en) | 2007-02-06 | 2015-02-17 | Deka Products Limited Partnership | Dynamic support apparatus and system |
| JP2004311408A (ja) | 2003-03-25 | 2004-11-04 | Nichia Chem Ind Ltd | 非水電解質二次電池用正極活物質および非水電解質二次電池 |
| TWI286849B (en) | 2003-03-25 | 2007-09-11 | Nichia Corp | Positive electrode active material for nonaqueous electrolyte secondary battery and nonaqueous electrolyte secondary battery |
| JP4283594B2 (ja) | 2003-05-22 | 2009-06-24 | 三菱化学株式会社 | 非水系電解液及びそれを用いた非水系電解液二次電池 |
| JP4616592B2 (ja) | 2003-07-29 | 2011-01-19 | パナソニック株式会社 | 非水電解液二次電池とその製造方法及び電解液二次電池用電極材料 |
| WO2005124898A1 (ja) | 2004-06-16 | 2005-12-29 | Seimi Chemical Co., Ltd. | リチウム二次電池用正極活物質粉末 |
| JP5085856B2 (ja) | 2005-07-07 | 2012-11-28 | パナソニック株式会社 | リチウムイオン二次電池 |
| JP4197002B2 (ja) | 2006-04-07 | 2008-12-17 | 宇部興産株式会社 | リチウムイオン非水電解質二次電池用正極活物質及びその製造方法 |
| JP2006278341A (ja) | 2006-04-07 | 2006-10-12 | Ube Ind Ltd | リチウムイオン非水電解質二次電池 |
| JP2009064707A (ja) * | 2007-09-07 | 2009-03-26 | Panasonic Corp | 非水電解液二次電池用活物質及びそれを用いた電池 |
| JP5305678B2 (ja) | 2008-02-07 | 2013-10-02 | 株式会社東芝 | 非水電解液電池及び組電池 |
| EP2351124A4 (en) | 2008-09-30 | 2012-08-29 | Envia Systems Inc | BATTERY MATERIALS FOR POSITIVE ELECTRODE POSITIVE ELECTRODE METAL OXIDE RICH IN LITHIUM DOPED BY FLUOR OF HIGH SPECIFIC CAPACITY AND BATTERY CORRESPONDING |
| KR101007504B1 (ko) * | 2009-11-11 | 2011-01-12 | 조재원 | 리튬이차전지용 양극 활물질 및 그 제조방법 |
| JP5474597B2 (ja) * | 2010-02-16 | 2014-04-16 | 三洋電機株式会社 | 非水電解質二次電池及びその製造方法 |
| JP5668537B2 (ja) * | 2010-03-31 | 2015-02-12 | 三洋電機株式会社 | 非水電解質二次電池 |
| US8741484B2 (en) | 2010-04-02 | 2014-06-03 | Envia Systems, Inc. | Doped positive electrode active materials and lithium ion secondary battery constructed therefrom |
| US9178249B2 (en) | 2010-05-27 | 2015-11-03 | Uchicago Argonne, Llc | Electrode stabilizing materials |
| JP2012014851A (ja) | 2010-06-29 | 2012-01-19 | Hitachi Maxell Energy Ltd | 電気化学素子用電極および非水二次電池 |
| JP5641560B2 (ja) | 2010-07-30 | 2014-12-17 | Necエナジーデバイス株式会社 | 二次電池用正極活物質及びそれを使用した二次電池 |
| JP5682172B2 (ja) | 2010-08-06 | 2015-03-11 | Tdk株式会社 | 活物質、活物質の製造方法及びリチウムイオン二次電池 |
| KR101232836B1 (ko) * | 2010-09-14 | 2013-02-13 | 한양대학교 산학협력단 | 리튬 이차 전지용 양극 활물질의 제조 방법, 상기 제조 방법에 따라 제조된 리튬 이차 전지용 양극 활물질, 및 이를 포함하는 리튬 이차 전지 |
| JP5404567B2 (ja) | 2010-09-17 | 2014-02-05 | 三菱化学株式会社 | 非水系電解液及びそれを用いたリチウム二次電池 |
| JPWO2012086602A1 (ja) | 2010-12-20 | 2014-05-22 | 旭硝子株式会社 | 二次電池用非水電解液および二次電池 |
| JP5617663B2 (ja) | 2011-01-27 | 2014-11-05 | 旭硝子株式会社 | リチウムイオン二次電池用の正極活物質およびその製造方法 |
| WO2012176267A1 (ja) | 2011-06-20 | 2012-12-27 | トヨタ自動車株式会社 | 二次電池用電極層、固体電解質層および全固体二次電池 |
| KR101336070B1 (ko) | 2011-07-13 | 2013-12-03 | 주식회사 엘지화학 | 에너지 밀도 특성이 향상된 고 에너지 리튬 이차전지 |
| JP5360159B2 (ja) * | 2011-08-09 | 2013-12-04 | トヨタ自動車株式会社 | 複合正極活物質、全固体電池、および複合正極活物質の製造方法 |
| JP2013222612A (ja) | 2012-04-17 | 2013-10-28 | Hitachi Maxell Ltd | 非水二次電池 |
| JP6031861B2 (ja) | 2012-07-18 | 2016-11-24 | 三菱化学株式会社 | 非水系電解液及びそれを用いた非水系電解液電池 |
| EP4160739A1 (en) | 2012-10-02 | 2023-04-05 | Massachusetts Institute Of Technology | High-capacity positive electrode active material |
| KR101400593B1 (ko) | 2012-12-06 | 2014-05-27 | 삼성정밀화학 주식회사 | 양극 활물질, 이의 제조방법 및 이를 포함하는 리튬 이차 전지 |
| KR20140094959A (ko) | 2013-01-23 | 2014-07-31 | 삼성에스디아이 주식회사 | 리튬 이차 전지용 전해액 및 이를 포함하는 리튬 이차 전지 |
| CN104995785B (zh) | 2013-02-18 | 2017-11-24 | 株式会社日本触媒 | 电解液及具备该电解液的锂离子二次电池 |
| US9246187B2 (en) | 2013-03-14 | 2016-01-26 | Uchicago Argonne, Llc | Non-aqueous electrolyte for lithium-ion battery |
| WO2014157591A1 (ja) | 2013-03-27 | 2014-10-02 | 三菱化学株式会社 | 非水系電解液及びそれを用いた非水系電解液電池 |
| JP6197029B2 (ja) | 2013-03-27 | 2017-09-13 | 株式会社Gsユアサ | 非水電解質蓄電素子用活物質 |
| KR101785262B1 (ko) | 2013-07-08 | 2017-10-16 | 삼성에스디아이 주식회사 | 양극 활물질, 그 제조방법, 이를 채용한 양극 및 리튬이차전지 |
| JP2015022958A (ja) | 2013-07-22 | 2015-02-02 | トヨタ自動車株式会社 | 正極活物質、及び当該正極活物質を含むリチウム電池 |
| JP6090085B2 (ja) | 2013-09-27 | 2017-03-08 | トヨタ自動車株式会社 | 正極活物質及び正極活物質の製造方法並びにリチウム電池 |
| KR20150037085A (ko) | 2013-09-30 | 2015-04-08 | 주식회사 엘지화학 | 리튬 이차전지용 양극 활물질 및 이를 포함하는 리튬 이차전지 |
| JP6478090B2 (ja) | 2013-09-30 | 2019-03-06 | パナソニックIpマネジメント株式会社 | 非水電解質二次電池用正極活物質、非水電解質二次電池、及び非水電解質二次電池用正極活物質の製造方法 |
| JP2015111552A (ja) | 2013-11-11 | 2015-06-18 | 日立マクセル株式会社 | リチウム二次電池 |
| JP2015118892A (ja) | 2013-12-20 | 2015-06-25 | 株式会社Gsユアサ | リチウム二次電池用正極活物質、その正極活物質の前駆体、リチウム二次電池用電極、リチウム二次電池及びバッテリーモジュール |
| JP6168603B2 (ja) * | 2013-12-27 | 2017-07-26 | 国立大学法人九州大学 | リチウムイオン電池用の正極活物質およびその製造方法 |
| JP6361518B2 (ja) | 2014-01-22 | 2018-07-25 | 三菱ケミカル株式会社 | 非水系電解液及びそれを用いた非水系電解液二次電池 |
| KR102183996B1 (ko) | 2014-01-29 | 2020-11-27 | 삼성에스디아이 주식회사 | 양극 활물질 및 그 제조방법, 상기 양극 활물질을 채용한 양극과 리튬 전지 |
| KR102184372B1 (ko) * | 2014-02-10 | 2020-11-30 | 삼성에스디아이 주식회사 | 복합양극활물질, 그 제조방법 및 이를 채용한 양극 및 리튬전지 |
| EP2921455A1 (en) * | 2014-03-20 | 2015-09-23 | Karlsruher Institut für Technologie | Oxyfluoride compounds for lithium-cells and batteries |
| CN103928672B (zh) | 2014-04-11 | 2016-07-06 | 武汉理工大学 | 一种锂离子电池用正极活性物质及其制备方法 |
| JP2016033902A (ja) | 2014-07-31 | 2016-03-10 | ソニー株式会社 | 正極活物質、正極および電池 |
| DE102015211110A1 (de) * | 2015-06-17 | 2016-12-22 | Robert Bosch Gmbh | Aktivmaterial für eine Kathode einer Batteriezelle, Kathode und Batteriezelle |
| HUE046075T2 (hu) | 2015-08-26 | 2020-01-28 | Massachusetts Inst Technology | Kation-rendezetlen oxidok újratölthetõ lítium akkumulátorokhoz és más alkalmazásokhoz |
| EP3352262B1 (en) * | 2015-09-16 | 2019-10-16 | Panasonic Intellectual Property Management Co., Ltd. | Positive electrode active material and battery |
-
2016
- 2016-08-30 EP EP16845895.8A patent/EP3352262B1/en active Active
- 2016-08-30 JP JP2017540475A patent/JP6861401B2/ja active Active
- 2016-08-30 CN CN201680015233.6A patent/CN107431203B/zh active Active
- 2016-08-30 WO PCT/JP2016/003950 patent/WO2017047017A1/ja not_active Ceased
-
2017
- 2017-11-14 US US15/811,684 patent/US10811671B2/en active Active
-
2020
- 2020-09-17 US US17/024,313 patent/US20210005883A1/en not_active Abandoned
Also Published As
| Publication number | Publication date |
|---|---|
| EP3352262A1 (en) | 2018-07-25 |
| WO2017047017A1 (ja) | 2017-03-23 |
| US20180090746A1 (en) | 2018-03-29 |
| CN107431203A (zh) | 2017-12-01 |
| JPWO2017047017A1 (ja) | 2018-07-05 |
| US20210005883A1 (en) | 2021-01-07 |
| EP3352262A4 (en) | 2018-08-15 |
| CN107431203B (zh) | 2021-08-20 |
| US10811671B2 (en) | 2020-10-20 |
| EP3352262B1 (en) | 2019-10-16 |
Similar Documents
| Publication | Publication Date | Title |
|---|---|---|
| JP6952247B2 (ja) | 正極活物質、および、電池 | |
| JP7113300B2 (ja) | 正極活物質、および、電池 | |
| JP6964246B2 (ja) | 正極活物質、および、正極活物質を用いた電池 | |
| JP6979586B2 (ja) | 電池用正極活物質、および、電池用正極活物質を用いた電池 | |
| JP6952251B2 (ja) | 電池用正極活物質、および、電池 | |
| JP6872705B2 (ja) | 正極活物質、および、電池 | |
| JP6941811B2 (ja) | 電池用正極活物質、および、電池 | |
| JP6861401B2 (ja) | 正極活物質、および、電池 | |
| JP6990854B2 (ja) | 正極活物質、および、電池 | |
| JP6861400B2 (ja) | 正極活物質、および、電池 | |
| JP6990855B2 (ja) | 正極活物質、および、電池 | |
| JP6876955B2 (ja) | 正極活物質、および、電池 | |
| JP6876956B2 (ja) | 正極活物質、および、電池 | |
| JPWO2017047020A1 (ja) | 電池 | |
| JP7113301B2 (ja) | 正極活物質、および、電池 | |
| JPWO2018163518A1 (ja) | 正極活物質、および、電池 | |
| WO2017047018A1 (ja) | 電池 | |
| JP2017004941A (ja) | 電池用正極活物質、および、電池 |
Legal Events
| Date | Code | Title | Description |
|---|---|---|---|
| A621 | Written request for application examination |
Free format text: JAPANESE INTERMEDIATE CODE: A621 Effective date: 20190731 |
|
| A131 | Notification of reasons for refusal |
Free format text: JAPANESE INTERMEDIATE CODE: A131 Effective date: 20200707 |
|
| A521 | Request for written amendment filed |
Free format text: JAPANESE INTERMEDIATE CODE: A523 Effective date: 20200901 |
|
| TRDD | Decision of grant or rejection written | ||
| A01 | Written decision to grant a patent or to grant a registration (utility model) |
Free format text: JAPANESE INTERMEDIATE CODE: A01 Effective date: 20210224 |
|
| A61 | First payment of annual fees (during grant procedure) |
Free format text: JAPANESE INTERMEDIATE CODE: A61 Effective date: 20210316 |
|
| R151 | Written notification of patent or utility model registration |
Ref document number: 6861401 Country of ref document: JP Free format text: JAPANESE INTERMEDIATE CODE: R151 |
