JP6190015B2 - 表示装置、表示モジュール及び電子機器 - Google Patents

表示装置、表示モジュール及び電子機器 Download PDF

Info

Publication number
JP6190015B2
JP6190015B2 JP2016150972A JP2016150972A JP6190015B2 JP 6190015 B2 JP6190015 B2 JP 6190015B2 JP 2016150972 A JP2016150972 A JP 2016150972A JP 2016150972 A JP2016150972 A JP 2016150972A JP 6190015 B2 JP6190015 B2 JP 6190015B2
Authority
JP
Japan
Prior art keywords
transistor
wiring
source
drain
electrically connected
Prior art date
Legal status (The legal status is an assumption and is not a legal conclusion. Google has not performed a legal analysis and makes no representation as to the accuracy of the status listed.)
Active
Application number
JP2016150972A
Other languages
English (en)
Other versions
JP2016212435A (ja
Inventor
宮入 秀和
秀和 宮入
茂樹 小森
茂樹 小森
敏行 伊佐
敏行 伊佐
敦司 梅崎
敦司 梅崎
Current Assignee (The listed assignees may be inaccurate. Google has not performed a legal analysis and makes no representation or warranty as to the accuracy of the list.)
Semiconductor Energy Laboratory Co Ltd
Original Assignee
Semiconductor Energy Laboratory Co Ltd
Priority date (The priority date is an assumption and is not a legal conclusion. Google has not performed a legal analysis and makes no representation as to the accuracy of the date listed.)
Filing date
Publication date
Application filed by Semiconductor Energy Laboratory Co Ltd filed Critical Semiconductor Energy Laboratory Co Ltd
Publication of JP2016212435A publication Critical patent/JP2016212435A/ja
Application granted granted Critical
Publication of JP6190015B2 publication Critical patent/JP6190015B2/ja
Active legal-status Critical Current
Anticipated expiration legal-status Critical

Links

Images

Classifications

    • HELECTRICITY
    • H10SEMICONDUCTOR DEVICES; ELECTRIC SOLID-STATE DEVICES NOT OTHERWISE PROVIDED FOR
    • H10DINORGANIC ELECTRIC SEMICONDUCTOR DEVICES
    • H10D86/00Integrated devices formed in or on insulating or conducting substrates, e.g. formed in silicon-on-insulator [SOI] substrates or on stainless steel or glass substrates
    • H10D86/40Integrated devices formed in or on insulating or conducting substrates, e.g. formed in silicon-on-insulator [SOI] substrates or on stainless steel or glass substrates characterised by multiple TFTs
    • HELECTRICITY
    • H10SEMICONDUCTOR DEVICES; ELECTRIC SOLID-STATE DEVICES NOT OTHERWISE PROVIDED FOR
    • H10DINORGANIC ELECTRIC SEMICONDUCTOR DEVICES
    • H10D86/00Integrated devices formed in or on insulating or conducting substrates, e.g. formed in silicon-on-insulator [SOI] substrates or on stainless steel or glass substrates
    • H10D86/01Manufacture or treatment
    • H10D86/021Manufacture or treatment of multiple TFTs
    • H10D86/0231Manufacture or treatment of multiple TFTs using masks, e.g. half-tone masks
    • HELECTRICITY
    • H10SEMICONDUCTOR DEVICES; ELECTRIC SOLID-STATE DEVICES NOT OTHERWISE PROVIDED FOR
    • H10DINORGANIC ELECTRIC SEMICONDUCTOR DEVICES
    • H10D86/00Integrated devices formed in or on insulating or conducting substrates, e.g. formed in silicon-on-insulator [SOI] substrates or on stainless steel or glass substrates
    • H10D86/40Integrated devices formed in or on insulating or conducting substrates, e.g. formed in silicon-on-insulator [SOI] substrates or on stainless steel or glass substrates characterised by multiple TFTs
    • H10D86/60Integrated devices formed in or on insulating or conducting substrates, e.g. formed in silicon-on-insulator [SOI] substrates or on stainless steel or glass substrates characterised by multiple TFTs wherein the TFTs are in active matrices
    • HELECTRICITY
    • H10SEMICONDUCTOR DEVICES; ELECTRIC SOLID-STATE DEVICES NOT OTHERWISE PROVIDED FOR
    • H10KORGANIC ELECTRIC SOLID-STATE DEVICES
    • H10K50/00Organic light-emitting devices
    • H10K50/10OLEDs or polymer light-emitting diodes [PLED]
    • H10K50/11OLEDs or polymer light-emitting diodes [PLED] characterised by the electroluminescent [EL] layers
    • HELECTRICITY
    • H10SEMICONDUCTOR DEVICES; ELECTRIC SOLID-STATE DEVICES NOT OTHERWISE PROVIDED FOR
    • H10KORGANIC ELECTRIC SOLID-STATE DEVICES
    • H10K59/00Integrated devices, or assemblies of multiple devices, comprising at least one organic light-emitting element covered by group H10K50/00
    • H10K59/10OLED displays
    • H10K59/12Active-matrix OLED [AMOLED] displays
    • H10K59/121Active-matrix OLED [AMOLED] displays characterised by the geometry or disposition of pixel elements
    • H10K59/1213Active-matrix OLED [AMOLED] displays characterised by the geometry or disposition of pixel elements the pixel elements being TFTs
    • HELECTRICITY
    • H10SEMICONDUCTOR DEVICES; ELECTRIC SOLID-STATE DEVICES NOT OTHERWISE PROVIDED FOR
    • H10KORGANIC ELECTRIC SOLID-STATE DEVICES
    • H10K71/00Manufacture or treatment specially adapted for the organic devices covered by this subclass
    • H10K71/10Deposition of organic active material
    • H10K71/16Deposition of organic active material using physical vapour deposition [PVD], e.g. vacuum deposition or sputtering
    • HELECTRICITY
    • H01ELECTRIC ELEMENTS
    • H01LSEMICONDUCTOR DEVICES NOT COVERED BY CLASS H10
    • H01L2924/00Indexing scheme for arrangements or methods for connecting or disconnecting semiconductor or solid-state bodies as covered by H01L24/00
    • H01L2924/10Details of semiconductor or other solid state devices to be connected
    • H01L2924/11Device type
    • H01L2924/13Discrete devices, e.g. 3 terminal devices
    • H01L2924/1304Transistor
    • H01L2924/1306Field-effect transistor [FET]
    • H01L2924/13069Thin film transistor [TFT]

Landscapes

  • Engineering & Computer Science (AREA)
  • Physics & Mathematics (AREA)
  • Manufacturing & Machinery (AREA)
  • Geometry (AREA)
  • Microelectronics & Electronic Packaging (AREA)
  • Optics & Photonics (AREA)
  • Electroluminescent Light Sources (AREA)
  • Devices For Indicating Variable Information By Combining Individual Elements (AREA)
  • Thin Film Transistor (AREA)
  • Control Of Indicators Other Than Cathode Ray Tubes (AREA)
  • Control Of El Displays (AREA)

Description

薄膜トランジスタを有するEL表示装置の作製方法に関する。
近年、ガラス基板等の絶縁性表面を有する基板上に形成された、厚さ数nm〜数百nm
程度の半導体薄膜により構成される薄膜トランジスタが注目されている。薄膜トランジス
タは、IC(Integrated Circuit)及び電気光学装置を始めとした電
子デバイスに広く応用されている。薄膜トランジスタは、特に液晶表示装置又はEL(E
lectro Luminescence)表示装置等に代表される、画像表示装置のス
イッチング素子として開発が急がれている。
アクティブマトリクス型EL表示装置では、選択された画素内に設けられた発光素子の
一方の電極と、該電極とともにEL層を挟持する他方の電極と、の間に電圧が印加される
ことにより、EL層に電流が流れて発光層が発光する。この発光が表示パターンとして観
察者に認識される。なお、ここで、アクティブマトリクス型EL表示装置とは、マトリク
ス状に配置された画素をスイッチング素子により駆動することによって、画面上に表示パ
ターンが形成される方式を採用したEL表示装置をいう。
アクティブマトリクス型EL表示装置の用途は拡大しており、画面サイズの大面積化、
高精細化及び高開口率化の要求が高まっている。また、アクティブマトリクス型EL表示
装置には高い信頼性が求められ、その生産方法には高い生産性及び生産コストの低減が求
められる。生産性を高め、生産コストを低減する方法の一つに、工程の簡略化が挙げられ
る。
アクティブマトリクス型EL表示装置では、スイッチング素子として主に薄膜トランジ
スタが用いられている。薄膜トランジスタの作製において、フォトリソグラフィに用いる
フォトマスクの枚数を削減することは、工程の簡略化のために重要である。例えばフォト
マスクが一枚増加すると、レジスト塗布、プリベーク、露光、現像、ポストベーク等の工
程と、その前後の工程において、被膜の形成及びエッチング工程、更にはレジスト剥離、
洗浄及び乾燥工程等が必要になる。そのため、作製工程に使用するフォトマスクが一枚増
加するだけで、工程数が大幅に増加する。そのため、作製工程におけるフォトマスクを低
減するために、数多くの技術開発がなされている。
薄膜トランジスタは、チャネル形成領域がゲート電極より下層に設けられるトップゲー
ト型と、チャネル形成領域がゲート電極より上層に設けられるボトムゲート型に大別され
る。ボトムゲート型薄膜トランジスタの作製工程において使用されるフォトマスクの枚数
は、トップゲート型薄膜トランジスタの作製工程において使用されるフォトマスクの枚数
よりも少ないことが知られている。ボトムゲート型薄膜トランジスタは、3枚のフォトマ
スクにより作製されることが一般的である。
フォトマスクの枚数を低減させる従来の技術としては、裏面露光、レジストリフロー又
はリフトオフ法といった複雑な技術を用いるものが多く、特殊な装置を必要とするものが
多い。このような複雑な技術を用いることで、これに起因する様々な問題が生じ、歩留ま
りの低下等が懸念されていた。また、薄膜トランジスタの電気的特性を犠牲にせざるを得
ないことも多い。
薄膜トランジスタの作製工程における、フォトマスクの枚数を減らすための代表的な手
段として、多階調マスク(ハーフトーンマスク又はグレートーンマスクと呼ばれるもの)
を用いた技術が広く知られている。多階調マスクを用いて作製工程を低減する技術として
、例えば特許文献1が挙げられる。
特開2003−179069号公報
しかし、上述した多階調マスクを用いてボトムゲート型薄膜トランジスタを作製する場
合であっても、少なくとも2枚のフォトマスクが必要であり、これ以上フォトマスクの枚
数を低減することは困難である。このうち1枚は、ゲート電極層のパターニングのために
用いられている。
ここで、本発明の一態様は、ゲート電極層のパターニングのためのフォトマスクを新た
に使用することなく薄膜トランジスタが作製可能な、新しい手法を提供することを課題と
する。すなわち、複雑な技術を用いる必要がなく、かつ1枚のフォトマスクでも作成可能
な、薄膜トランジスタの作製方法が開示される。
これにより、薄膜トランジスタの作製において、用いるフォトマスクの枚数を従来より
も少なくすることができる。
また、本発明の一態様である薄膜トランジスタは、特にEL表示装置の画素に用いられ
る。本発明の一態様は、EL表示装置の作製において、複雑な技術を用いることなく、フ
ォトリソグラフィ法に用いるフォトマスクの枚数を従来よりも少なくすることを課題とす
る。そして、EL表示装置の作製工程を簡略にすることを本発明の一態様の課題とする。
本発明の一態様である薄膜トランジスタの作製方法では、第1の導電膜と、該第1の導
電膜上に絶縁膜、半導体膜、不純物半導体膜及び第2の導電膜をこの順に積層した薄膜積
層体と、を形成し、第1のエッチングにより前記第1の導電膜を露出させつつ、少なくと
も前記薄膜積層体のパターンを形成し、第2のエッチングにより第1の導電膜のパターン
を形成する。ここで、第2のエッチングは、第1の導電膜がサイドエッチングされる条件
により行う。
ここで、第1のエッチングは、ドライエッチング又はウエットエッチングを用いればよ
いが、異方性の高いエッチング法(物理的エッチング)により行うことが好ましい。第1
のエッチングに異方性の高いエッチング法を用いることで、パターンの加工精度を向上さ
せることができる。なお、第1のエッチングをドライエッチングにより行う場合には、一
の工程にて行うことが可能であるが、第1のエッチングをウエットエッチングにより行う
場合には、複数の工程により第1のエッチングを行う。従って、第1のエッチングには、
ドライエッチングを用いることが好ましい。
また、第2のエッチングは、ドライエッチング又はウエットエッチングを用いればよい
が、等方性のエッチングが支配的なエッチング法(化学的エッチング)により行うことが
好ましい。第2のエッチングに等方性のエッチングが支配的なエッチング法(化学的エッ
チング)を用いることで、第1の導電膜をサイドエッチングすることができる。従って、
第2のエッチングには、ウエットエッチングを用いることが好ましい。
ここで、第2のエッチングは第1の導電膜のサイドエッチングを伴う条件により行うた
め、第1の導電膜は前記パターン形成された薄膜積層体よりも内側に後退する。従って、
第2のエッチング後の第1の導電膜の側面は、パターン形成された薄膜積層体の側面より
も内側に存在する。更には、パターン形成された第1の導電膜の側面とパターン形成され
た薄膜積層体の側面との間隔は概ね等しいものとなる。
なお、第1の導電膜のパターンとは、例えば、ゲート電極、ゲート配線及び容量電極を
形成する金属配線の上面レイアウトをいう。
本発明の一態様は、サイドエッチングを用いてゲート電極層を形成し、好ましくは凹部
を有するレジストマスクを用いて前記ゲート電極層より上層に設けられるソース電極及び
ドレイン電極層を形成した薄膜トランジスタを有するEL表示装置の作製方法である。
本発明の一態様は、第1の導電膜、第1の絶縁膜、半導体膜、不純物半導体膜及び第2
の導電膜を順に積層して形成し、前記第2の導電膜上に第1のレジストマスクを形成し、
前記第1のレジストマスクを用いて、前記第1の絶縁膜、前記半導体膜、前記不純物半導
体膜及び前記第2の導電膜に第1のエッチングを行って前記第1の導電膜の少なくとも表
面を露出させ、前記第1の導電膜の一部に第2のエッチングを行って前記第1の絶縁膜の
幅よりも幅が狭くなるようにゲート電極層を形成し、前記第2の導電膜上に第2のレジス
トマスクを形成し、前記第2のレジストマスクを用いて前記第2の導電膜、前記不純物半
導体膜及び前記半導体膜の一部に第3のエッチングを行ってソース電極及びドレイン電極
層、ソース領域及びドレイン領域層並びに半導体層を形成することで薄膜トランジスタを
形成し、前記第2のレジストマスクを除去し、前記薄膜トランジスタを覆って第2の絶縁
膜を形成し、前記ソース電極及びドレイン電極層の一部を露出するように前記第2の絶縁
膜に開口部を形成し、前記開口部及び前記第2の絶縁膜上に第1の画素電極を選択的に形
成し、前記第1の画素電極上にEL層を形成し、前記EL層上に第2の画素電極を形成す
ることを特徴とするEL表示装置の作製方法である。
本発明の一態様は、第1の導電膜、第1の絶縁膜、半導体膜、不純物半導体膜及び第2
の導電膜を順に積層して形成し、前記第2の導電膜上に第1のレジストマスクを形成し、
前記第1のレジストマスクを用いて、前記第1の絶縁膜、前記半導体膜、前記不純物半導
体膜及び前記第2の導電膜に第1のエッチングを行って前記第1の導電膜の少なくとも表
面を露出させ、前記第2の導電膜上に第2のレジストマスクを形成し、前記第2のレジス
トマスクを形成後に前記第1の導電膜の一部に第2のエッチングを行って前記第1の絶縁
膜の幅よりも幅が狭くなるようにゲート電極層を形成し、前記第2のレジストマスクを用
いて前記第2の導電膜、前記不純物半導体膜及び前記半導体膜の一部に第3のエッチング
を行ってソース電極及びドレイン電極層、ソース領域及びドレイン領域層並びに半導体層
を形成することで薄膜トランジスタを形成し、前記第2のレジストマスクを除去し、前記
薄膜トランジスタを覆って第2の絶縁膜を形成し、前記ソース電極及びドレイン電極層の
一部を露出するように前記第2の絶縁膜に開口部を形成し、前記開口部及び前記第2の絶
縁膜上に第1の画素電極を選択的に形成し、前記第1の画素電極上にEL層を形成し、前
記EL層上に第2の画素電極を形成することを特徴とするEL表示装置の作製方法である
本発明の一態様は、第1の導電膜、第1の絶縁膜、半導体膜、不純物半導体膜及び第2
の導電膜を順に積層して形成し、前記第2の導電膜上に凹部を有する第1のレジストマス
クを形成し、前記第1のレジストマスクを用いて、前記第1の絶縁膜、前記半導体膜、前
記不純物半導体膜及び前記第2の導電膜に第1のエッチングを行って前記第1の導電膜の
少なくとも表面を露出させ、前記第1の導電膜の一部に第2のエッチングを行って前記第
1の絶縁膜の幅よりも幅が狭くなるようにゲート電極層を形成し、前記第1のレジストマ
スクを後退させることで前記第1のレジストマスクの凹部と重畳する前記第2の導電膜を
露出させつつ第2のレジストマスクを形成し、前記第2のレジストマスクを用いて前記第
2の導電膜、前記不純物半導体膜及び前記半導体膜の一部に第3のエッチングを行ってソ
ース電極及びドレイン電極層、ソース領域及びドレイン領域層並びに半導体層を形成する
ことで薄膜トランジスタを形成し、前記第2のレジストマスクを除去し、前記薄膜トラン
ジスタを覆って第2の絶縁膜を形成し、前記ソース電極及びドレイン電極層の一部を露出
するように前記第2の絶縁膜に開口部を形成し、前記開口部及び前記第2の絶縁膜上に第
1の画素電極を選択的に形成し、前記第1の画素電極上にEL層を形成し、前記EL層上
に第2の画素電極を形成することを特徴とするEL表示装置の作製方法である。
本発明の一態様は、第1の導電膜、第1の絶縁膜、半導体膜、不純物半導体膜及び第2
の導電膜を順に積層して形成し、前記第2の導電膜上に凹部を有する第1のレジストマス
クを形成し、前記第1のレジストマスクを用いて、前記第1の絶縁膜、前記半導体膜、前
記不純物半導体膜及び前記第2の導電膜に第1のエッチングを行って前記第1の導電膜の
少なくとも表面を露出させ、前記第1のレジストマスクを後退させることで前記第1のレ
ジストマスクの凹部と重畳する前記第2の導電膜を露出させつつ第2のレジストマスクを
形成し、前記第2のレジストマスクを形成後に前記第1の導電膜の一部に第2のエッチン
グを行って前記第1の絶縁膜の幅よりも幅が狭くなるようにゲート電極層を形成し、前記
第2のレジストマスクを用いて前記第2の導電膜、前記不純物半導体膜及び前記半導体膜
の一部に第3のエッチングを行ってソース電極及びドレイン電極層、ソース領域及びドレ
イン領域層並びに半導体層を形成することで薄膜トランジスタを形成し、前記第2のレジ
ストマスクを除去し、前記薄膜トランジスタを覆って第2の絶縁膜を形成し、前記ソース
電極及びドレイン電極層の一部を露出するように前記第2の絶縁膜に開口部を形成し、前
記開口部及び前記第2の絶縁膜上に第1の画素電極を選択的に形成し、前記第1の画素電
極上にEL層を形成し、前記EL層上に第2の画素電極を形成することを特徴とするEL
表示装置の作製方法である。
上記構成の作製方法であって、第1のレジストマスクが凹部を有する場合において、前
記第1のレジストマスクは多階調マスクを用いて形成することが好ましい。多階調マスク
を用いることで、簡略な工程で凹部を有するレジストマスクを形成することができる。
上記構成のEL表示装置の作製方法を適用することで、前記第1のエッチングによって
素子領域が形成され、前記第2のエッチングによって前記素子領域の側面から概ね等しい
距離だけ内側にゲート電極層の側面を形成することができる。
上記構成の第1のエッチング及び第2のエッチングを用いるEL表示装置の作製方法の
いずれかにおいて、前記第1のエッチングはドライエッチングにより行い、前記第2のエ
ッチングはウエットエッチングにより行うことが好ましい。第1のエッチングによる加工
は高精度に行うことが好ましく、第2のエッチングによる加工はサイドエッチングを伴う
必要がある。高精度な加工を行うためにはドライエッチングが好ましく、また、ウエット
エッチングは化学反応を利用するためドライエッチングよりもサイドエッチングが生じや
すいためである。
上記構成のEL表示装置の作製方法において、前記第2の絶縁膜は、CVD法又はスパ
ッタリング法により形成した絶縁膜と、スピンコート法により形成した絶縁膜と、を積層
して形成することが好ましい。特に好ましくは窒化シリコン膜をCVD法又はスパッタリ
ング法により形成し、有機樹脂膜をスピンコート法により形成する。第2の絶縁膜をこの
ように形成することで、薄膜トランジスタの電気的特性に影響を及ぼしうる不純物元素等
から薄膜トランジスタを保護し、且つ画素電極の被形成面の平坦性を向上させて歩留まり
の低下を防止することができる。
上記構成のEL表示装置の作製方法を適用する際に形成される薄膜トランジスタは、ゲ
ート電極層を覆うゲート絶縁膜を有し、前記ゲート絶縁膜上に半導体層を有し、前記半導
体層上にソース領域及びドレイン領域を有し、前記ソース領域及びドレイン領域上にソー
ス電極及びドレイン電極を有し、前記ゲート電極層の側面に接して空洞が設けられている
ものである。空洞が設けられることによってゲート電極端部近傍を低誘電率化(low−
k化)できる。
なお、「膜」とは、全面に形成されたパターン形成されていないものをいい、「層」と
は、レジストマスク等により所望の形状にパターン形成されたものをいう。しかし、積層
膜の各層については、膜と層を特に区別することなく用いることがある。
なお、「食刻」とは、意図しないエッチングをいう。すなわち、エッチングは、「食刻
」が極力生じない条件により行うことが好ましい。
なお、本明細書中において、任意の膜が「耐熱性を有する」とは、後の工程における温
度によって当該膜が膜としての形態を保ち、且つ当該膜に求められる機能及び特性を保つ
ことができることをいう。
なお、「ゲート配線」とは、薄膜トランジスタのゲート電極に接続される配線をいう。
ゲート配線は、ゲート電極層により形成される。また、ゲート配線は走査線と呼ばれるこ
とがある。
また、「ソース配線」とは、薄膜トランジスタのソース電極及びドレイン電極の一方に
接続される配線をいう。ソース配線は、ソース電極及びドレイン電極層により形成される
。また、ソース配線は信号線と呼ばれることがある。
また、「電源線」とは、電源に接続された、一定の電位に保持された配線をいう。
ゲート電極のパターン形成に新たなフォトマスクを必要とせず、薄膜トランジスタの作
製工程数を大幅に削減することができ、該薄膜トランジスタはEL表示装置に適用できる
ため、EL表示装置の作製工程数を大幅に削減することができる。
より具体的には、フォトマスクの枚数を減らすことができる。一のフォトマスク(多階
調マスク)を用いて薄膜トランジスタを作製することも可能である。従って、EL表示装
置の作製工程数を大幅に削減することができる。
また、フォトマスクの枚数の低減を目的とした従来の技術とは異なり、裏面露光、レジ
ストリフロー及びリフトオフ法等の複雑な工程を経る必要がない。そのため、歩留まりを
低下させずにEL表示装置の作製工程数を大幅に削減することができる。
また、フォトマスクの枚数の低減を目的とした従来の技術では、電気的特性を犠牲にせ
ざるを得ないことも少なくなかったが、本発明の一態様では、薄膜トランジスタの電気的
特性を維持しつつ、薄膜トランジスタの作製工程数を大幅に削減することができる。その
ため、EL表示装置の表示品質等を犠牲にすることなく、EL表示装置の作製工程数を大
幅に削減することができる。
更には、上記効果により、EL表示装置の作製コストを大幅に削減することができる。
なお、本発明の一態様である薄膜トランジスタは、ゲート電極層端部に接して空洞を有す
るため、ゲート電極とドレイン電極との間に生じるリーク電流が小さいものとなる。
表示装置の画素回路の一例を説明する図。 薄膜トランジスタ及び表示装置の作製方法の一例を説明する図。 薄膜トランジスタ及び表示装置の作製方法の一例を説明する図。 薄膜トランジスタ及び表示装置の作製方法の一例を説明する図。 薄膜トランジスタ及び表示装置の作製方法の一例を説明する図。 薄膜トランジスタ及び表示装置の作製方法の一例を説明する図。 薄膜トランジスタ及び表示装置の作製方法の一例を説明する図。 薄膜トランジスタ及び表示装置の作製方法の一例を説明する図。 薄膜トランジスタ及び表示装置の作製方法の一例を説明する図。 薄膜トランジスタ及び表示装置の作製方法の一例を説明する図。 薄膜トランジスタ及び表示装置の作製方法の一例を説明する図。 薄膜トランジスタ及び表示装置の作製方法の一例を説明する図。 薄膜トランジスタ及び表示装置の作製方法の一例を説明する図。 薄膜トランジスタ及び表示装置の作製方法の一例を説明する図。 薄膜トランジスタ及び表示装置の作製方法の一例を説明する図。 多階調マスクを説明する図。 アクティブマトリクス基板の接続部を説明する図。 アクティブマトリクス基板の接続部を説明する図。 アクティブマトリクス基板の接続部を説明する図。 電子機器を説明する図。 電子機器を説明する図。 電子機器を説明する図。
以下では、本発明の実施の形態について図面を用いて詳細に説明する。ただし、本発明
は以下の説明に限定されず、本発明の趣旨およびその範囲から逸脱することなくその形態
および詳細を様々に変更し得ることは、当業者であれば容易に理解される。したがって、
本発明は以下に示す実施の形態の記載内容に限定して解釈されるものではない。なお、図
面を用いて発明の構成を説明するにあたり、同じものを指す符号は異なる図面間でも共通
して用いる。また、同様のものを指す際にはハッチパターンを同じくし、特に符号を付さ
ない場合がある。また、絶縁膜は上面図には表わさないものとする。
(実施の形態1)
本実施の形態では、薄膜トランジスタの作製方法及び該薄膜トランジスタがマトリクス
状に配置されたEL表示装置の作製方法の一例について、図1乃至図16を参照して説明
する。
薄膜トランジスタをスイッチング素子として用いるEL表示装置(アクティブ型EL表
示装置)の画素回路としては、様々なものが検討されている。本実施の形態では、単純な
画素回路の一例を、図1に示し、この画素回路を適用した画素構造の作製方法について説
明する。ただし、本実施の形態において、EL表示装置の画素回路は図1に示す構成に限
定されるものではない。
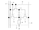
図1に示すEL表示装置の画素構造において、画素21は、第1のトランジスタ11、
第2のトランジスタ12、第3のトランジスタ13、容量素子14及び発光素子15を有
する。第1乃至第3のトランジスタはn型トランジスタである。第1のトランジスタ11
のゲート電極は、ゲート配線16に接続され、ソース電極及びドレイン電極の一方(第1
の電極とする。)は、ソース配線18に接続され、ソース電極及びドレイン電極の他方(
第2の電極とする。)は、第2のトランジスタ12のゲート電極、及び容量素子14の一
方の電極(第1の電極とする。)に接続されている。容量素子14の他方の電極(第2の
電極とする。)は、第2のトランジスタ12のソース電極及びドレイン電極の一方(第1
の電極とする。)、第3のトランジスタ13のソース電極及びドレイン電極の一方(第1
の電極とする。)、並びに発光素子15の一方の電極(第1の電極とする。)に接続され
ている。第2のトランジスタ12のソース電極及びドレイン電極の他方(第2の電極とす
る。)は、第2の電源線19に接続されている。第3のトランジスタ13のソース電極及
びドレイン電極の他方(第2の電極とする。)は、第1の電源線17に接続され、ゲート
電極はゲート配線16に接続されている。発光素子15の他方の電極(第2の電極とする
。)は、共通電極20に接続されている。なお、第1の電源線17と第2の電源線19の
電位は異なるものとする。
画素21の動作について説明する。ゲート配線16の信号によって第3のトランジスタ
13がオンすると、第2のトランジスタ12の第1の電極、発光素子15の第1の電極、
及び容量素子14の第2の電極の電位が、第1の電源線17の電位(V17)と等しくな
る。ここで、第1の電源線17の電位(V17)は一定とするため、第2のトランジスタ
12の第1の電極等の電位は一定(V17)である。
ゲート配線16の信号によって第1のトランジスタ11が選択されてオンすると、ソー
ス配線18からの信号の電位(V18)が第1のトランジスタ11を介して第2のトラン
ジスタ12のゲート電極に入力される。このとき、第2の電源線19の電位(V19)が
第1の電源線17の電位(V17)よりも高ければVgs=V18−V17となる。そし
て、Vgsが第2のトランジスタ12のしきい値電圧よりも大きければ、第2のトランジ
スタ12はオンする。
従って、第2のトランジスタ12を線形領域で動作させるときには、ソース配線18の
電位(V18)を変化させること(例えば、2値)で、第2のトランジスタ12のオンと
オフとを制御することができる。つまり、発光素子15が有するEL層に、電圧を印加す
るかしないかを制御することができる。
また、第2のトランジスタ12を飽和領域で動作させるときには、ソース配線18の電
位(V18)を変化させることで、発光素子15に流れる電流量を制御することができる
以上のようにして、第2のトランジスタ12を線形領域で動作させる場合、発光素子1
5に電圧を印加するかしないかを制御することができ、発光素子15の発光状態と非発光
状態とを制御することができる。このような駆動方法は、例えば、デジタル時間階調駆動
に用いることができる。デジタル時間階調駆動は、1フレームを複数のサブフレームに分
割し、各サブフレームにおいて発光素子15の発光状態と非発光状態とを制御する駆動方
法である。また、第2のトランジスタ12を飽和領域で動作させる場合、発光素子15に
流れる電流量を制御することができ、発光素子15の輝度を調整することができる。
次に、図1に示す画素回路を適用した画素構造と、その作製方法について以下に説明す
る。
なお、図2乃至図6には本実施の形態に係る薄膜トランジスタの上面図を示し、図6は
画素電極まで形成した完成図である。図7乃至図9は、図2乃至図6に示すA−A’にお
ける断面図である。図10乃至図12は、図2乃至図6に示すB−B’における断面図で
ある。図13乃至図15は、図2乃至図6に示すC−C’における断面図である。
まず、基板100上に第1の導電膜102、第1の絶縁膜104、半導体膜106、不
純物半導体膜108及び第2の導電膜110を形成する。これらの膜は、単層で形成して
もよいし、複数の膜を積層した積層膜であってもよい。
基板100は、絶縁性基板であり、例えばガラス基板又は石英基板を用いることができ
る。本実施の形態においては、ガラス基板を用いる。
第1の導電膜102は、導電性材料により形成する。第1の導電膜102は、例えばチ
タン、モリブデン、クロム、タンタル、タングステン、アルミニウム、銅、ネオジム、ニ
オブ若しくはスカンジウム等の金属材料又はこれらを主成分とする合金材料等の導電性材
料を用いて形成することができる。ただし、後の工程(第1の絶縁膜104の形成等)に
耐えうる程度の耐熱性は必要であり、後の工程(第2の導電膜110のエッチング等)で
食刻又は腐食されない材料を選択することを要する。この限りにおいて、第1の導電膜1
02は特定の材料に限定されるものではない。
なお、第1の導電膜102は、例えばスパッタリング法又はCVD法(熱CVD法又は
プラズマCVD法等を含む)等により形成することができる。ただし、特定の方法に限定
されるものではない。
第1の絶縁膜104は、絶縁性材料により形成する。第1の絶縁膜104は、例えば、
シリコンの酸化膜、窒化膜、酸化窒化膜又は窒化酸化膜等を用いて形成することができる
。ただし、第1の導電膜102と同様に、耐熱性が必要であり、後の工程で食刻又は腐食
されない材料を選択することを要する。この限りにおいて、第1の絶縁膜104は特定の
材料に限定されるものではない。
なお、第1の絶縁膜104は、例えばCVD法(熱CVD法又はプラズマCVD法等を
含む)又はスパッタリング法等により形成することができるが、特定の方法に限定される
ものではない。
第1の絶縁膜104は、ゲート絶縁膜として機能するものである。
半導体膜106は、半導体材料により形成する。半導体膜106は、例えば、シランガ
スにより形成される非晶質シリコン等を用いて形成することができる。ただし、第1の導
電膜102等と同様に、耐熱性が必要であり、後の工程にて食刻又は腐食されない材料を
選択することを要する。この限りにおいて、半導体膜106は特定の材料に限定されるも
のではない。従って、ゲルマニウム等を用いても良い。
なお、半導体膜106は、例えばCVD法(熱CVD法又はプラズマCVD法等を含む
)又はスパッタリング法等により形成することができる。ただし、特定の方法に限定され
るものではない。
半導体膜106は、結晶性半導体膜と、非晶質半導体膜との積層膜を用いることが好ま
しい。結晶性半導体膜としては、多結晶半導体膜又は微結晶半導体膜等が挙げられる。
多結晶半導体膜とは、結晶粒により構成され、該結晶粒間に多くの粒界を含む半導体膜
をいう。多結晶半導体膜は、例えば熱結晶化法又はレーザ結晶化法により形成される。こ
こで、熱結晶化法とは、基板上に非晶質半導体膜を形成し、該基板を加熱することで非晶
質半導体を結晶化する結晶化法をいう。また、レーザ結晶化法とは、基板上に非晶質半導
体膜を形成し、該非晶質半導体膜に対してレーザを照射して非晶質半導体を結晶化する結
晶化法をいう。または、ニッケル等の結晶化促進元素を添加して結晶化する結晶化法を用
いても良い。結晶化促進元素を添加して結晶化する場合には、該半導体膜に対してレーザ
照射を行うことが好ましい。
多結晶半導体は、ガラス基板に歪みを生じない程度の温度と時間で結晶化を行うLTP
S(Low Temperature Poly Silicon)と、より高温で結晶
化を行うHTPS(High Temperature Poly Silicon)に
分類される。
微結晶半導体膜とは、粒径が概ね2nm以上100nm以下の結晶粒を含む半導体膜を
いい、膜の全面が結晶粒のみによって構成されるもの、または結晶粒間に非晶質半導体が
介在するものを含む。微結晶半導体膜の形成方法としては、結晶核を形成して該結晶核を
成長させる方法、非晶質半導体膜を形成して該非晶質半導体膜に接して絶縁膜と金属膜と
を形成し、該金属膜に対してレーザを照射することで該金属膜に発生した熱により非晶質
半導体を結晶化させる方法等を用いればよい。ただし、非晶質半導体膜に対して熱結晶化
法又はレーザ結晶化法を用いて形成した結晶性半導体膜は含まないものとする。
半導体膜106として、例えば、結晶性半導体膜上に非晶質半導体膜を積層して形成し
た積層膜を用いると、EL表示装置の画素回路が有するトランジスタを高速に動作させる
ことができる。ここで、結晶性半導体膜としては、多結晶半導体(LTPS及びHTPS
を含む)膜を適用しても良いし、微結晶半導体膜を適用しても良い。
なお、結晶性半導体膜上に非晶質半導体膜を有することで、結晶性半導体膜の表面が酸
化されることを防止することができる。また、耐圧を向上させ、オフ電流を低下させるこ
とができる。
ただし、EL表示装置の画素回路が正常に動作する限りにおいて、半導体膜106の結
晶性については特に限定されない。
不純物半導体膜108は、一導電性を付与する不純物元素を含む半導体膜であり、一導
電性を付与する不純物元素が添加された半導体材料ガス等により形成される。本実施の形
態ではn型の薄膜トランジスタを設けるため、例えば、フォスフィン(化学式:PH
を含むシランガスにより形成される、リンを含むシリコン膜により設ければよい。ただし
、第1の導電膜102等と同様に、耐熱性が必要であり、後の工程で食刻又は腐食されな
い材料を選択することを要する。この限りにおいて、不純物半導体膜108は、特定の材
料に限定されるものではない。なお、不純物半導体膜108の結晶性についても特に限定
されるものではない。また、半導体膜106により形成される半導体層の一部に、ドーピ
ング等によりオーミック接触可能な領域を設ける場合などには、不純物半導体膜108を
設ける必要がない。
本実施の形態では、n型の薄膜トランジスタを作製するため、添加する一導電性を付与
する不純物元素として、ヒ素等を用いてもよく、不純物半導体膜108の形成に用いるシ
ランガスにはアルシン(化学式:AsH)を所望の濃度で含ませればよい。
なお、不純物半導体膜108の形成は、例えばCVD法(熱CVD法又はプラズマCV
D法等を含む)等により行うことができる。ただし、特定の方法に限定されるものではな
い。
第2の導電膜110は、導電性材料(第1の導電膜102として列挙した材料等)であ
って、第1の導電膜102とは異なる材料により形成する。ここで、「異なる材料」とは
、主成分が異なる材料をいう。具体的には、後に説明する第2のエッチングによりエッチ
ングされにくい材料を選択すればよい。また、第1の導電膜102等と同様に、耐熱性が
必要であり、後の工程で食刻又は腐食されない材料を選択することを要する。従って、こ
の限りにおいて、第2の導電膜110は特定の材料に限定されるものではない。
なお、第2の導電膜110は、例えばスパッタリング法又はCVD法(熱CVD法又は
プラズマCVD法等を含む)等により形成することができる。ただし、特定の方法に限定
されるものではない。
なお、上記説明した第1の導電膜102、第1の絶縁膜104、半導体膜106、不純
物半導体膜108及び第2の導電膜110に対して求められる耐熱性は、第1の導電膜1
02が最も高く、以下前記した順に続き、第2の導電膜110が最も低い。例えば、半導
体膜106が水素を含む非晶質半導体膜である場合には、約300℃以上とすることで半
導体膜中の水素が脱離し、電気的特性が変化する。そのため、例えば半導体膜106を形
成した後の工程では300℃を超えない温度とすることが好ましい。
次に、第2の導電膜110上に第1のレジストマスク112を形成する(図7(A)、
図10(A)、図13(A)を参照)。ここで、第1のレジストマスク112は凹部又は
凸部を有するレジストマスクであることが好ましい。換言すると、厚さの異なる複数の領
域(ここでは、二の領域)からなるレジストマスクともいうことができる。第1のレジス
トマスク112において、厚い領域を第1のレジストマスク112の凸部と呼び、薄い領
域を第1のレジストマスク112の凹部と呼ぶこととする。ただし、これに限定されず、
凹部又は凸部を有さないレジストマスクを用いてもよい。
第1のレジストマスク112において、ソース電極及びドレイン電極層が形成される領
域には凸部が形成され、ソース電極及びドレイン電極層を有さず半導体層が露出して形成
される領域には凹部が形成されている。
第1のレジストマスク112は、多階調マスクを用いることで形成することができる。
ここで、多階調マスクについて図16を参照して以下に説明する。
多階調マスクとは、多段階の光量で露光を行うことが可能なマスクであり、代表的には
、露光領域、半露光領域及び未露光領域の3段階の光量で露光を行うものをいう。多階調
マスクを用いることで、一度の露光及び現像工程によって、複数(代表的には二種類)の
厚さを有するレジストマスクを形成することができる。そのため、多階調マスクを用いる
ことで、フォトマスクの枚数を削減することができる。
図16(A−1)及び図16(B−1)は、代表的な多階調マスクの断面図を示す。図
16(A−1)にはグレートーンマスク140を示し、図16(B−1)にはハーフトー
ンマスク145を示す。
図16(A−1)に示すグレートーンマスク140は、透光性を有する基板141上に
遮光膜により形成された遮光部142、及び遮光膜のパターンにより設けられた回折格子
部143で構成されている。
回折格子部143は、露光に用いる光の解像度限界以下の間隔で設けられたスリット、
ドット又はメッシュ等を有することで、光の透過量を制御する。なお、回折格子部143
に設けられるスリット、ドット又はメッシュは周期的なものであってもよいし、非周期的
なものであってもよい。
透光性を有する基板141としては、石英等を用いることができる。遮光部142及び
回折格子部143を構成する遮光膜は、金属膜を用いて形成すればよく、好ましくはクロ
ム又は酸化クロム等により設けられる。
グレートーンマスク140に露光するための光を照射した場合、図16(A−2)に示
すように、遮光部142に重畳する領域における透光率は0%となり、遮光部142又は
回折格子部143が設けられていない領域における透光率は100%となる。また、回折
格子部143における透光率は、概ね10〜70%の範囲であり、回折格子のスリット、
ドット又はメッシュの間隔等により調整可能である。
図16(B−1)に示すハーフトーンマスク145は、透光性を有する基板146上に
半透光膜により形成された半透光部147、及び遮光膜により形成された遮光部148で
構成されている。
半透光部147は、MoSiN、MoSi、MoSiO、MoSiON、CrSi等の
膜を用いて形成することができる。遮光部148は、グレートーンマスクの遮光膜と同様
の金属膜を用いて形成すればよく、好ましくはクロム又は酸化クロム等により設けられる
ハーフトーンマスク145に露光するための光を照射した場合、図16(B−2)に示
すように、遮光部148に重畳する領域における透光率は0%となり、遮光部148又は
半透光部147が設けられていない領域における透光率は100%となる。また、半透光
部147における透光率は、概ね10〜70%の範囲であり、形成する材料の種類又は形
成する膜厚等により、調整可能である。
多階調マスクを用いて露光して現像を行うことで、膜厚の異なる領域を有する第1のレ
ジストマスク112を形成することができる。
ただし、これに限定されず、多階調マスクを用いることなく第1のレジストマスクを形
成してもよい。また、上記したように、第1のレジストマスクが凹部又は凸部を有さない
レジストマスクであってもよい。
次に、第1のレジストマスク112を用いて第1のエッチングを行う。すなわち、第1
の絶縁膜104、半導体膜106、不純物半導体膜108及び第2の導電膜110をエッ
チングによりパターニングし、薄膜積層体114を形成する(図2、図7(B)、図10
(B)、図13(B)を参照)。このとき、少なくとも第1の導電膜102の表面を露出
させることが好ましい。このエッチング工程を第1のエッチングとよぶ。第1のエッチン
グは、ドライエッチング又はウエットエッチングを用いればよい。なお、第1のエッチン
グをドライエッチングにより行う場合には一の工程にて行うことが可能であるが、第1の
エッチングをウエットエッチングにより行う場合には複数の工程により第1のエッチング
を行うと良い。被エッチング膜の種類によってエッチングレートが異なり、一の工程にて
行うことが困難だからである。
第1のエッチングは、例えば3段階のドライエッチングにより行えばよい。まず、Cl
ガスとCFガスとOガスの混合ガス中でエッチングを行い、次に、Clガスのみ
を用いてエッチングを行い、最後に、CHFガスのみを用いてエッチングを行えばよい
次に、第1のレジストマスク112を用いて第2のエッチングを行う。すなわち、第1
の導電膜102をエッチングによりパターニングし、ゲート電極層116を形成する(図
3、図7(C)、図10(C)、図13(C)を参照)。このエッチング工程を第2のエ
ッチングとよぶ。
なお、ゲート電極層116は、薄膜トランジスタのゲート電極、ゲート配線、容量素子
の一方の電極、及び支持部を構成している。ゲート電極層116Aと表記する場合には、
ゲート配線、第1のトランジスタ11のゲート電極、及び第3のトランジスタ13のゲー
ト電極を構成する電極層を指す。ゲート電極層116Bと表記する場合には、第2のトラ
ンジスタ12のゲート電極、及び容量素子14の一方の電極を構成する電極層を指す。ゲ
ート電極層116Cと表記する場合には、支持部を構成する電極層を指す。そして、これ
らを総括してゲート電極層116と呼ぶ。
第2のエッチングは、第1の導電膜102により形成されるゲート電極層116の側面
が、薄膜積層体114の側面より内側に形成されるエッチング条件により行う。換言する
と、ゲート電極層116の側面が、薄膜積層体114の底面に接して形成されるようにエ
ッチングを行う(A−A’断面においてゲート電極層116の幅が薄膜積層体114の幅
より小さくなるようにエッチングを行う)。更には、第2の導電膜110に対するエッチ
ングレートが小さく、且つ第1の導電膜102に対するエッチングレートが大きい条件に
より行う。換言すると、第2の導電膜110に対する第1の導電膜102のエッチング選
択比が大きい条件により行う。このような条件により第2のエッチングを行うことで、ゲ
ート電極層116を形成することができる。
なお、ゲート電極層116の側面の形状は特に限定されない。例えば、テーパ形状であ
っても良い。ゲート電極層116の側面の形状は、第2のエッチングにおいて用いる薬液
等の条件によって決められるものである。
ここで、「第2の導電膜110に対するエッチングレートが小さく、且つ第1の導電膜
102に対するエッチングレートが大きい条件」、又は「第2の導電膜110に対する第
1の導電膜102のエッチング選択比が大きい条件」とは、以下の第1の要件及び第2の
要件を満たすものをいう。
第1の要件は、ゲート電極層116が必要な箇所に残存することである。ゲート電極層
116の必要な箇所とは、図3乃至図6に点線で示される領域をいう。すなわち、第2の
エッチング後に、ゲート電極層116がゲート配線、トランジスタが有するゲート電極、
及び容量素子が有する一の電極を構成するように残存することが必要である。ゲート電極
層がゲート配線を構成するためには、これらの配線が断線しないように第2のエッチング
を行う必要がある。図3及び図7に示されるように、薄膜積層体114の側面から間隔d
だけ内側にゲート電極層116の側面が形成されることが好ましく、間隔dは実施者
がレイアウトに従って適宜設定すればよい。
第2の要件は、ゲート電極層116により構成されるゲート配線の最小幅d、並びに
ソース電極及びドレイン電極層120により構成されるソース配線及び電源線の最小幅d
が適切なものとなることである(図6を参照)。第2のエッチングによりソース電極及
びドレイン電極層120がエッチングされるとソース配線及び電源線の最小幅dが小さ
くなり、ソース配線及び電源線の電流密度が過大となり、電気的特性が低下するためであ
る。そのため、第2のエッチングは、第1の導電膜102のエッチングレートが過大にな
らず、且つ第2の導電膜110のエッチングレートが可能な限り小さい条件で行う。
また、ソース配線及び電源線の最小幅dは大きくすることが困難である。ソース配線
及び電源線の最小幅dはソース配線及び電源線と重畳する半導体層の最小幅dにより
決まり、ソース配線及び電源線の最小幅dを大きくするためには半導体層の最小幅d
を大きくせねばならず、隣接するゲート配線とを絶縁させることが困難になるためである
。半導体層の最小幅dは、前記した間隔dの概ね2倍よりも小さくする。換言すると
、間隔dは半導体層の最小幅dの約半分よりも大きくする。
なお、ソース配線及び電源線と重畳する半導体層の幅を最小幅dとする部分は、ゲー
ト電極層を素子毎に分離するために必要な箇所に適宜設ければよい。第2のエッチングに
より、半導体層の幅をdとした箇所と重畳する部分にはゲート電極層116が残存しな
いパターンを形成することができる。
なお、ソース電極及びドレイン電極層により形成される、画素電極層と接続される部分
の電極の幅はソース配線及び電源線の最小幅dとすることが好ましい。
上記説明したように、サイドエッチングを伴う条件により第2のエッチングを行うこと
は非常に重要である。第2のエッチングが第1の導電膜102のサイドエッチングを伴う
ことによって、ゲート電極層116により構成される、隣接するゲート配線間のみならず
、画素回路内の素子の接続を所望のものとするようにパターンの形成をすることができる
ためである。
ここで、サイドエッチングとは、被エッチング膜の厚さ方向(基板面に垂直な方向又は
被エッチング膜の下地膜の面に垂直な方向)のみならず、厚さ方向に対して垂直な方向(
基板面に平行な方向又は被エッチング膜の下地膜の面に平行な方向)にも被エッチング膜
が削られるエッチングをいう。サイドエッチングされた被エッチング膜の端部は、被エッ
チング膜に対するエッチングガス又はエッチングに用いる薬液のエッチングレートによっ
て様々な形状となるように形成されるが、端部が曲面となるように形成されることが多い
なお、図3に示すゲート電極層116Cは、薄膜積層体114を支える支持部として機
能する。支持部を有することで、ゲート電極層より上に形成されるゲート絶縁膜等の膜剥
がれを防止することができる。更には支持部を設けることで、第2のエッチングによりゲ
ート電極層116に接して形成される、空洞の領域が必要以上に広くなることを防止でき
る。なお、支持部を設けることで、薄膜積層体114が自重によって破壊され、又は破損
することをも防止することができ、歩留まりが向上するため好ましい。ただし、支持部を
有する形態に限定されず、支持部を設けなくとも良い。
以上説明したように、第2のエッチングは、ウエットエッチングにより行うことが好ま
しい。
第2のエッチングをウエットエッチングによって行う場合、第1の導電膜102として
アルミニウム又はモリブデンを形成し、第2の導電膜110としてチタン又はタングステ
ンを形成し、エッチングには硝酸、酢酸及びリン酸を含む薬液を用いればよい。または、
第1の導電膜102としてモリブデンを形成し、第2の導電膜110としてチタン、アル
ミニウム又はタングステンを形成し、エッチングには過酸化水素水を含む薬液を用いれば
よい。
第2のエッチングをウエットエッチングによって行う場合、最も好ましくは、第1の導
電膜102としてネオジムを添加したアルミニウム上にモリブデンを形成した積層膜を形
成し、第2の導電膜110としてタングステンを形成し、エッチングには硝酸を2%、酢
酸を10%、リン酸を72%含む薬液を用いる。このような組成の薬液を用いることで、
第2の導電膜110がエッチングされることなく、第1の導電膜102がエッチングされ
る。なお、第1の導電膜102に添加したネオジムは、アルミニウムの低抵抗化とヒロッ
ク防止を目的として添加されたものである。
なお、上面から見たゲート電極層116は角を有するように形成される(図3を参照)
。これは、ゲート電極層116を形成する第2のエッチングが概略等方的に進行するため
に、ゲート電極層116の側面と薄膜積層体114の側面との間隔dが概略等しくなる
ようにエッチングされるためである。
次に、第1のレジストマスク112を後退させて、第2の導電膜110を露出させつつ
、第2のレジストマスク118を形成する。第1のレジストマスク112を後退させて、
第2のレジストマスク118を形成する手段としては、例えば酸素プラズマを用いたアッ
シングが挙げられる。しかし、第1のレジストマスク112を後退させて第2のレジスト
マスク118を形成する手段はこれに限定されるものではない。第2のレジストマスク1
18が形成される領域は、第1のレジストマスク112の凸部の領域と概略一致する。な
お、ここでは第2のエッチングの後に第2のレジストマスク118を形成する場合につい
て説明したが、これに限定されず、第2のレジストマスク118を形成した後に第2のエ
ッチングを行ってもよい。
なお、第1のレジストマスク112の形成に多階調マスクを用いない場合には、異なる
フォトマスクを用いて第2のレジストマスク118を別途形成すればよい。
次に、第2のレジストマスク118を用いて、薄膜積層体114における第2の導電膜
110をエッチングし、ソース電極及びドレイン電極層120を形成する(図4、図8(
D)、図11(D)、図14(D)を参照)。ここでエッチング条件は、第2の導電膜1
10以外の膜に対する食刻及び腐食が生じず、又は生じ難い条件を選択する。特に、ゲー
ト電極層116の食刻及び腐食が生じず、又は生じ難い条件により行うことが重要である
なお、ソース電極及びドレイン電極層120は、薄膜トランジスタのソース電極若しく
はドレイン電極、ソース配線、電源線、容量素子の他方の電極、及び薄膜トランジスタと
発光素子の一の電極とを接続する電極を構成している。ソース電極及びドレイン電極層1
20Aと表記する場合には、ソース配線18、及び第1のトランジスタ11のソース電極
及びドレイン電極の一方を構成する電極層を指す。ソース電極及びドレイン電極層120
Bと表記する場合には、第1の電源線17を構成する電極層を指す。ソース電極及びドレ
イン電極層120Cと表記する場合には、第1のトランジスタ11のソース電極及びドレ
イン電極の他方、及び第1のトランジスタ11と画素電極とを接続する電極を構成する電
極層を指す。ソース電極及びドレイン電極層120Dと表記する場合には、第2の電源線
19、及び第2のトランジスタ12のソース電極及びドレイン電極の一方を構成する電極
層を指す。ソース電極及びドレイン電極層120Eと表記する場合には、第3のトランジ
スタ13のソース電極及びドレイン電極の一方を構成する電極層を指す。ソース電極及び
ドレイン電極層120Fと表記する場合には、容量素子14の他方の電極、第2のトラン
ジスタ12のソース電極及びドレイン電極の他方、第3のトランジスタ13のソース電極
及びドレイン電極の他方、並びにこれらから発光素子の一の電極に接続される電極を構成
する電極層を指す。
なお、第2のレジストマスク118Aは、ソース電極及びドレイン電極層120Aと重
畳するものを指し、第2のレジストマスク118Bは、ソース電極及びドレイン電極層1
20Bと重畳するものを指し、第2のレジストマスク118Cは、ソース電極及びドレイ
ン電極層120Cと重畳するものを指し、第2のレジストマスク118Dは、ソース電極
及びドレイン電極層120Dと重畳するものを指し、第2のレジストマスク118Eは、
ソース電極及びドレイン電極層120Eと重畳するものを指し、第2のレジストマスク1
18Fは、ソース電極及びドレイン電極層120Fと重畳するものを指す。
なお、薄膜積層体114における第2の導電膜110のエッチングは、ウエットエッチ
ング又はドライエッチングのどちらを用いても良い。
続いて、薄膜積層体114における不純物半導体膜108及び半導体膜106の上部(
バックチャネル部)をエッチングして、ソース領域及びドレイン領域122、半導体層1
24を形成する(図5、図8(E)、図11(E)、図14(E)を参照)。ここでエッ
チング条件は、不純物半導体膜108及び半導体膜106以外の膜に対する食刻及び腐食
が生じず、又は生じ難い条件を選択する。特に、ゲート電極層116の食刻及び腐食が生
じず、又は生じ難い条件により行うことが重要である。
なお、薄膜積層体114における不純物半導体膜108及び半導体膜106の上部(バ
ックチャネル部)のエッチングはドライエッチング又はウエットエッチングにより行うこ
とができる。
その後、第2のレジストマスク118を除去し、薄膜トランジスタが完成する(図6、
図8(F)、図11(F)、図14(F)を参照)。上記説明したように、薄膜トランジ
スタを一枚のフォトマスク(多階調マスク)により作製することができる。
なお、上記の図8(F)及び図8(E)を参照して説明した工程を一括して第3のエッ
チングとよぶ。第3のエッチングは、上記説明したように、複数の段階に分けて行っても
良いし、一括して行っても良い。
以上のようにして形成した薄膜トランジスタを覆って第2の絶縁膜を形成する。ここで
、第2の絶縁膜は、第1の保護膜126のみで形成しても良いが、ここでは第1の保護膜
126と第2の保護膜128により形成する(図9(G)、図12(G)、図15(G)
を参照)。第1の保護膜126は、第1の絶縁膜104と同様に形成すればよいが、好ま
しくは水素を含有する窒化シリコン又は水素を含有する酸化窒化シリコンにより形成し、
半導体層に金属等の不純物が侵入して拡散し、汚染されることを防止する。
第2の保護膜128は、表面が概略平坦になる方法により形成する。第2の保護膜12
8の表面を概略平坦にすることで、第2の保護膜128上に形成される第1の画素電極層
132の断切れ等を防止することができるためである。従って、ここで「概略平坦」とは
、上記目的を達成しうる程度のものであればよく、高い平坦性が要求されるわけではない
なお、第2の保護膜128は、例えば、感光性ポリイミド、アクリル又はエポキシ樹脂
等により、スピンコーティング法等により形成することができる。ただし、これらの材料
又は形成方法に限定されるものではない。
なお、第2の保護膜128は、表面が概略平坦になる方法により形成した上記の保護膜
と、これを覆って水分の侵入や放出を防止する保護膜を積層して形成したものであること
が好ましい。水分の侵入や放出を防止する保護膜は、具体的には、窒化シリコン、酸化窒
化シリコン、酸化窒化アルミニウム又は窒化アルミニウム等により形成されていることが
好ましい。形成方法としてはスパッタリング法を用いることが好ましい。
次に、第2の絶縁膜に第1の開口部130及び第2の開口部131を形成する(図9(
H)、図12(H)、図15(H)を参照)。第1の開口部130は、ソース電極及びド
レイン電極層の少なくとも表面に達するように形成する。第2の開口部131は、ゲート
電極層の少なくとも表面に達するように形成する。第1の開口部130及び第2の開口部
131の形成方法は、特定の方法に限定されず、第1の開口部130の径などに応じて実
施者が適宜選択すればよい。例えば、フォトリソグラフィ法によりドライエッチングを行
うことで第1の開口部130及び第2の開口部131を形成することができる。
第1の開口部130は、ソース電極及びドレイン電極層120に達するように設けられ
るものであり、図6に示すように必要な箇所に複数個設ける。第1の開口部130Aはソ
ース電極及びドレイン電極層120C上に設け、第1の開口部130Bはソース電極及び
ドレイン電極層120B上に設け、第1の開口部130Cはソース電極及びドレイン電極
層120E上に設け、第1の開口部130Dはソース電極及びドレイン電極層120F上
に設ける。
第2の開口部131は、ゲート電極層116に達するように設けられるものである。す
なわち、第2の開口部131は第2の絶縁膜のみならず、第1の絶縁膜104、半導体層
124の所望の箇所も除去して設けられるものである。
なお、フォトリソグラフィ法によって開口部を形成することで、フォトマスクを1枚使
用することになる。
次に、第2の絶縁膜上に第1の画素電極層132を形成する(図6、図9(H)、図1
2(H)、図15(H)を参照)。第1の画素電極層132は、第1の開口部130又は
第2の開口部131を介してソース電極及びドレイン電極層120又はゲート電極層11
6に接続されるように形成する。具体的には、第1の画素電極層132は、第1の開口部
130Aを介してソース電極及びドレイン電極層120Cに接続され、第1の開口部13
0Bを介してソース電極及びドレイン電極層120Bに接続され、第1の開口部130C
を介してソース電極及びドレイン電極層120Eに接続され、第1の開口部130Dを介
してソース電極及びドレイン電極層120Fに接続され、第2の開口部131を介してゲ
ート電極層116Bに接続されるように形成される。また、第1の画素電極層132につ
いても単層で形成しても良いし、複数の膜を積層した積層膜としてもよい。
なお、フォトリソグラフィ法によって第1の画素電極層132を形成することで、フォ
トマスクを一枚使用することになる。
画素が有する薄膜トランジスタがn型のトランジスタであるため、第1の画素電極層1
32は、陰極となる材料により形成することが好ましい。陰極となる材料には、仕事関数
が小さい材料、例えば、Ca、Al、MgAg、AlLi等が挙げられる。
次に、第1の画素電極層132の側面(端部)及び第2の絶縁膜上に隔壁133を形成
する。隔壁133は開口部を有し、該開口部において第1の画素電極層132が露出され
るように形成する。隔壁133は、有機樹脂膜、無機絶縁膜又は有機ポリシロキサンを用
いて形成する。具体的には、ポリイミド、ポリアミド、ポリイミドアミド、アクリル、ベ
ンゾシクロブテン系樹脂を用いて形成するとよい。特に感光性の材料を用いて、第1の画
素電極層132上に開口部を形成し、その開口部の側壁が連続した曲率を持って形成され
る傾斜面となるように形成することが好ましい。
次に、隔壁133の開口部において第1の画素電極層132と接するように、EL層1
34を形成する。EL層134は、単数の層で構成されていても、複数の層が積層されて
形成された積層膜により構成されていても良い。EL層134は、少なくとも発光層を有
する。発光層はホール輸送層を介して第2の画素電極層135と接続されることが好まし
い。
そして、EL層134を覆うように、陽極となる材料により第2の画素電極層135を
形成する。第2の画素電極層135は図1における共通電極20に相当する。第2の画素
電極層135は、透光性を有する導電性材料により形成することができる。ここで、透光
性を有する導電性材料としては、インジウム錫酸化物(以下、ITOという)、酸化タン
グステンを含むインジウム酸化物、酸化タングステンを含むインジウム亜鉛酸化物、酸化
チタンを含むインジウム酸化物、酸化チタンを含むインジウム錫酸化物、インジウム亜鉛
酸化物、又は酸化シリコンを添加したインジウム錫酸化物等が挙げられる。透光性を有す
る導電性材料の膜の形成はスパッタリング法又はCVD法等により行えばよいが、特定の
方法に限定されるものではない。また、第2の画素電極層135についても単層で形成し
ても良いし、複数の膜を積層した積層膜としてもよい。
ここでは、第2の画素電極層135としてITOを用いる。隔壁133の開口部におい
て、第1の画素電極層132とEL層134と第2の画素電極層135が重なり合うこと
で、発光素子136が形成される。発光素子136は、図1における発光素子15に相当
する。この後、発光素子136に酸素、水素、水分、二酸化炭素等が侵入しないように、
第2の画素電極層135及び隔壁133上に第3の保護膜137を形成することが好まし
い(図示しない)。第3の保護膜137は、第2の保護膜128と同様に材料により水分
の侵入や放出を防止する機能を有するものを選択する。窒化シリコン、酸化窒化シリコン
、酸化窒化アルミニウム又は窒化アルミニウム等により形成されていることが好ましい。
更に、第3の保護膜を覆って窒化シリコン膜又はDLC膜等を有することが好ましい。
そして、外気に曝されないように、保護フィルム(貼り合わせフィルム、紫外線硬化樹
脂フィルム等)又はカバー材によって、更なるパッケージング(封入)をすることが好ま
しい。保護フィルム及びカバー材は、ガス透過性が低く、脱ガスの少ない材料により設け
ることが好ましい。
以上説明したように、上面射出構造(トップエミッション)型EL表示装置の発光素子
まで形成することができる(図9(I)、図12(I)、図15(I)を参照)。しかし
、本実施の形態のEL表示装置は、上記の説明に限定されず、下面射出構造(ボトムエミ
ッション)型EL表示装置、または両面射出構造(デュアルエミッション)型EL表示装
置に適用することも可能である。下面射出構造及び両面射出構造では、第1の画素電極層
132に透光性を有する導電性材料を用いればよい。なお、第1の画素電極層132を陽
極となる材料により形成する場合には、第1の画素電極層132は、例えば、ITOによ
り形成することができる。第1の画素電極層132をこのような構造にすることで、発光
を取り出す効率を向上させることができ、ボトムエミッション型のEL表示装置を作製す
ることができる。そして、EL層134を覆うように、陰極となる材料により第2の画素
電極層135を形成するとよい。第2の画素電極層135は図1における共通電極20に
相当する。陰極となる材料には、仕事関数が小さい材料、例えば、Ca、Al、MgAg
、AlLi等が挙げられる。なお、EL層134及び第2の画素電極層135は、マスク
を介した蒸着により形成することが好ましい。従って、第2の画素電極層135は、蒸着
により形成することが可能な材料により形成するとよい。なお、EL表示装置の画素を図
1に示す回路により構成する場合には、第1の画素電極層132を陽極とし、第2の画素
電極層135を陰極とすることが好ましい。
なお、上記で説明した保護膜等は上記した材料又は形成方法に限定されず、EL層の発
光を妨げず、劣化等を防止することができる膜であればよい。
または、上面射出構造において、画素回路が形成されている領域をも含むように第1の
画素電極層132Aを形成してもよい。この場合には、まず、第1の画素電極層132B
及び第1の画素電極層132Cに相当する導電層のみを形成し、該導電層上に第1の開口
部130Dを有する絶縁膜を形成し、第1の開口部130Dを介してソース電極及びドレ
イン電極層120Fに接続されるように第1の画素電極層132Aを形成すればよい。画
素回路が形成されている領域をも含むように第1の画素電極層132Aを形成することで
、発光領域を拡大することができ、より高精細な表示が可能となる。
なお、ここでは、発光素子として有機EL素子について述べたが、発光素子として無機
EL素子を用いることも可能である。
ここで、上記の工程により作製したアクティブマトリクス基板の端子接続部について図
17乃至図19を参照して説明する。
図17乃至図19は、上記の工程により作製した、アクティブマトリクス基板における
ゲート配線側の端子接続部及びソース配線側の端子接続部の上面図及び断面図を示す。
図17は、ゲート配線側の端子接続部及びソース配線側の端子接続部における、画素部
から延伸したゲート配線及びソース配線の上面図を示す。なお、第1の電源線17及び第
2の電源線19についてもソース配線18と同様であってよい。また、隔壁133及び第
2の画素電極層135は、図17には図示していない。
図18は、図17のX−X’における断面図を示す。すなわち、図18は、ゲート配線
側の端子接続部における断面図を示す。図18では、ゲート電極層116のみが露出され
ている。このゲート電極層116が露出された領域に、端子部が接続される。
図19は、図17のY−Y’における断面図の例を示す。すなわち、図19は、ソース
配線側の端子接続部における断面図の例を示す。図19のY−Y’において、ゲート電極
層116と、ソース電極及びドレイン電極層120は第1の画素電極層132(少なくと
も、第1の画素電極層132B又は第1の画素電極層132Cと同一の層)を介して接続
されている。図19にはゲート電極層116と、ソース電極及びドレイン電極層120の
様々な接続形態を示している。ここで、EL表示装置の端子接続部には、これらのいずれ
を用いても良いし、図19に示すもの以外の接続形態を用いても良い。ソース電極及びド
レイン電極層120をゲート電極層116に接続させることで、端子の接続部の高さを概
ね等しくすることができる。
なお、開口部の数は図19に示す開口部の数に特に限定されない。一の端子に対して一
の開口部を設けるのみならず、一の端子に対して複数の開口部を設けても良い。一の端子
に対して複数の開口部を設けることで、開口部を形成するエッチング工程が不十分である
等の理由で開口部が良好に形成されなかったとしても、他の開口部により電気的接続を実
現することができる。更には、全ての開口部が問題なく形成された場合であっても、接触
面積を広くすることができるため、コンタクト抵抗を低減することができ、好ましい。
図19(A)では、第1の保護膜126及び第2の保護膜128の端部がエッチング等
により除去され、ゲート電極層116と、ソース電極及びドレイン電極層120とが露出
され、この露出された領域に第1の画素電極層132(少なくとも、第1の画素電極層1
32B又は第1の画素電極層132Cと同一の層)を形成することで電気的な接続を実現
している。図17に示す上面図は、図19(A)の上面図に相当する。
なお、ゲート電極層116と、ソース電極及びドレイン電極層120とが露出された領
域の形成は、第1の開口部130及び第2の開口部131の形成と同時に行うことができ
る。
図19(B)では、第1の保護膜126及び第2の保護膜128に第3の開口部160
Aが設けられ、第1の保護膜126及び第2の保護膜128の端部がエッチング等により
除去されることで、ゲート電極層116と、ソース電極及びドレイン電極層120とが露
出され、この露出された領域に第1の画素電極層132(少なくとも、第1の画素電極層
132B又は第1の画素電極層132Cと同一の層)を形成することで電気的な接続を実
現している。
なお、第3の開口部160Aの形成、及びゲート電極層116が露出された領域の形成
は、第1の開口部130及び第2の開口部131の形成と同時に行うことができる。
図19(C)では、第1の保護膜126及び第2の保護膜128に第3の開口部160
B及び第4の開口部161が設けられることで、ゲート電極層116と、ソース電極及び
ドレイン電極層120とが露出され、この露出された領域に第1の画素電極層132(少
なくとも、第1の画素電極層132B又は第1の画素電極層132Cと同一の層)を形成
することで電気的な接続を実現している。ここで、図19(A)及び(B)と同様に、第
1の保護膜126及び第2の保護膜128の端部はエッチング等により除去されているが
、この領域は端子の接続部として用いられる。
なお、第3の開口部160B及び第4の開口部161の形成、並びにゲート電極層11
6が露出された領域の形成は、第1の開口部130及び第2の開口部131の形成と同時
に行うことができる。
なお、第3の開口部160は、第1の開口部130と同様にソース電極及びドレイン電
極層120に達するように設けられ、第4の開口部161は、第2の開口部131と同様
にゲート電極層116に達するように設けられている。そして、図18及び図19には隔
壁133及び第2の画素電極層135を示しているが、これらは端子接続部には設けられ
ていなくてもよい。
この端子部の入力端子(図19において、ゲート電極層116の露出された領域)には
FPC(Flexible Printed Circuit)が接続される。FPCは
ポリイミド等の有機樹脂フィルム上に導電膜により配線が形成されており、異方性導電性
ペースト(Anisotropic Conductive Paste。以下、ACP
という)を介して入力端子と接続される。一般的なACPは、接着剤として機能するペー
ストと、金等がメッキされた数十〜数百μm径の導電性表面を有する粒子と、により構成
されている。ペースト中に混入された粒子が入力端子上の導電層と、FPCに形成された
配線に接続された端子上の導電層と、に接触することで、電気的な接続を実現することが
できる。
以上のように、EL表示装置を作製することができる。
以上説明したように、用いるフォトマスクの枚数が低減され、薄膜トランジスタ及びE
L表示装置の作製工程数を大幅に削減することができる。
また、裏面露光、レジストリフロー及びリフトオフ法等の複雑な工程を経ることなく、
薄膜トランジスタの作製工程数を大幅に削減することができる。そのため、複雑な工程を
経ることなく、EL表示装置の作製工程数を大幅に削減することができる。
また、薄膜トランジスタの電気的特性を維持しつつ、薄膜トランジスタの作製工程を大
幅に削減することができる。
更には、上記効果により、EL表示装置の作製コストを大幅に削減することができる。
(実施の形態2)
本実施の形態は、実施の形態1にて説明した方法により作製した表示パネル又は表示装
置を表示部として組み込んだ電子機器について図20乃至図22を参照して説明する。こ
のような電子機器としては、例えば、ビデオカメラ若しくはデジタルカメラ等のカメラ、
ヘッドマウントディスプレイ(ゴーグル型ディスプレイ)、カーナビゲーション、プロジ
ェクタ、カーステレオ、パーソナルコンピュータ、携帯情報端末(モバイルコンピュータ
、携帯電話または電子書籍等)が挙げられる。それらの一例を図20に示す。
図20(A)はテレビジョン装置を示す。EL表示パネルを筐体に組み込むことで、図
20(A)に示すテレビジョン装置を完成させることができる。実施の形態1にて説明し
た作製方法を適用した表示パネルにより主画面223が形成され、その他付属設備として
スピーカ部229、操作スイッチ等が備えられている。
図20(A)に示すように、筐体221に実施の形態1にて説明した作製方法を適用し
た表示用パネル222が組み込まれ、受信機225により一般のテレビ放送の受信をはじ
め、モデム224を介して有線又は無線による通信ネットワークに接続することにより一
方向(送信者から受信者)又は双方向(送信者と受信者間、又は受信者間同士)の情報通
信をすることもできる。テレビジョン装置の操作は、筐体に組みこまれたスイッチ又は別
体のリモコン操作機226により行うことが可能であり、このリモコン操作機226にも
、出力する情報を表示する表示部227が設けられていても良い。
また、テレビジョン装置にも、主画面223の他にサブ画面228を第2の表示パネル
で形成し、チャネルや音量などを表示する構成が付加されていても良い。
図21は、テレビ装置の主要な構成を示すブロック図を示している。表示パネルには、
画素部251が形成されている。信号線駆動回路252と走査線駆動回路253は、表示
パネルにCOG方式により実装されていても良い。
その他の外部回路の構成として、映像信号の入力側では、チューナ254で受信した信
号のうち、映像信号を増幅する映像信号増幅回路255と、そこから出力される信号を赤
、緑、青の各色に対応した色信号に変換する映像信号処理回路256と、その映像信号を
ドライバICの入力仕様に変換するためのコントロール回路257等を有している。コン
トロール回路257は、走査線側と信号線側にそれぞれ信号を出力する。デジタル駆動す
る場合には、信号線側に信号分割回路258を設け、入力デジタル信号を整数個に分割し
て供給する構成としても良い。
チューナ254で受信した信号のうち、音声信号は、音声信号増幅回路259に送られ
、その出力は音声信号処理回路260を経てスピーカ263に供給される。制御回路26
1は受信局(受信周波数)、音量の制御情報を入力部262から受け、チューナ254及
び音声信号処理回路260に信号を送出する。
勿論、本発明の一態様であるEL表示装置はテレビジョン装置に限定されず、パーソナ
ルコンピュータのモニタをはじめ、鉄道の駅や空港等における情報表示盤、又は街頭にお
ける広告表示盤等の大面積の表示媒体にも適用することができる。そのため、本発明の一
態様であるEL表示装置の作製方法を適用することで、これらの表示媒体の生産性を向上
させることができる。
主画面223、サブ画面228に、実施の形態1で説明した表示装置の作製方法を適用
した表示パネル又は表示装置を用いることで、テレビ装置の生産性を高めることができる
また、図20(B)に示す携帯型のコンピュータは、本体231及び表示部232等を
有する。表示部232に、実施の形態1で説明した表示装置の作製方法を適用した表示パ
ネル又は表示装置を用いることで、コンピュータの生産性を高めることができる。
図22は、携帯電話の一例であり、図22(A)が正面図、図22(B)が背面図、図
22(C)が2つの筐体をスライドさせたときの正面図である。携帯電話200は、筐体
201及び筐体202二つの筐体で構成されている。携帯電話200は、携帯電話と携帯
情報端末の双方の機能を備えており、コンピュータを内蔵し、音声通話以外にも様々なデ
ータ処理が可能な所謂スマートフォンである。
携帯電話200は、筐体201及び筐体202で構成されている。筐体201において
は、表示部203、スピーカ204、マイクロフォン205、操作キー206、ポインテ
ィングデバイス207、表面カメラ用レンズ208、外部接続端子ジャック209及びイ
ヤホン端子210等を備え、筐体202においては、キーボード211、外部メモリスロ
ット212、裏面カメラ213、ライト214等により構成されている。また、アンテナ
は筐体201に内蔵されている。
また、携帯電話200には、上記の構成に加えて、非接触型ICチップ、小型記録装置
等を内蔵していてもよい。
重なり合った筐体201と筐体202(図22(A)に示す。)は、スライドさせるこ
とが可能であり、スライドさせることで図22(C)のように展開する。表示部203に
は、実施の形態1で説明した表示装置の作製方法を適用した表示パネル又は表示装置を組
み込むことが可能である。表示部203と表面カメラ用レンズ208を同一の面に備えて
いるため、テレビ電話としての使用が可能である。また、表示部203をファインダーと
して用いることで、裏面カメラ213及びライト214で静止画及び動画の撮影が可能で
ある。
スピーカ204及びマイクロフォン205を用いることで、携帯電話200は、音声記
録装置(録音装置)又は音声再生装置として使用することができる。また、操作キー20
6により、電話の発着信操作、電子メール等の簡単な情報入力操作、表示部に表示する画
面のスクロール操作、表示部に表示する情報の選択等を行うカーソルの移動操作等が可能
である。
また、書類の作成、携帯情報端末としての使用等、取り扱う情報が多い場合は、キーボ
ード211を用いると便利である。更に、重なり合った筐体201と筐体202(図22
(A))をスライドさせることで、図22(C)のように展開させることができる。携帯
情報端末として使用する場合には、キーボード211及びポインティングデバイス207
を用いて、円滑な操作が可能である。外部接続端子ジャック209はACアダプタ及びU
SBケーブル等の各種ケーブルと接続可能であり、充電及びパーソナルコンピュータ等と
のデータ通信が可能である。また、外部メモリスロット212に記録媒体を挿入し、より
大量のデータ保存及び移動が可能になる。
筐体202の裏面(図22(B))には、裏面カメラ213及びライト214を備え、
表示部203をファインダーとして静止画及び動画の撮影が可能である。
また、上記の機能構成に加えて、赤外線通信機能、USBポート、テレビワンセグ受信
機能、非接触ICチップ又はイヤホンジャック等を備えたものであってもよい。
本実施の形態にて説明した各種電子機器は、実施の形態1にて説明した薄膜トランジス
タ及び表示装置の作製方法を適用して作製することができるため、これらの電子機器の生
産性を向上させることができる。
従って、これらの電子機器の作製コストを大幅に削減することができる。
11 第1のトランジスタ
12 第2のトランジスタ
13 第3のトランジスタ
14 容量素子
15 発光素子
16 ゲート配線
17 第1の電源線
18 ソース配線
19 第2の電源線
20 共通電極
21 画素
100 基板
102 第1の導電膜
104 第1の絶縁膜
106 半導体膜
108 不純物半導体膜
110 第2の導電膜
112 第1のレジストマスク
114 薄膜積層体
115 エッチングされた第1の導電膜
116 ゲート電極層
116A ゲート電極層
116B ゲート電極層
116C ゲート電極層
116D ゲート電極層
118 第2のレジストマスク
118A 第2のレジストマスク
118B 第2のレジストマスク
118C 第2のレジストマスク
118D 第2のレジストマスク
118E 第2のレジストマスク
118F 第2のレジストマスク
120 ソース電極及びドレイン電極層
120A ソース電極及びドレイン電極層
120B ソース電極及びドレイン電極層
120C ソース電極及びドレイン電極層
120D ソース電極及びドレイン電極層
120E ソース電極及びドレイン電極層
120F ソース電極及びドレイン電極層
122 ソース領域及びドレイン領域
122A ソース領域及びドレイン領域
122B ソース領域及びドレイン領域
122C ソース領域及びドレイン領域
122D ソース領域及びドレイン領域
124 半導体層
126 第1の保護膜
128 第2の保護膜
130 第1の開口部
130A 第1の開口部
130B 第1の開口部
130C 第1の開口部
130D 第1の開口部
131 第2の開口部
132 第1の画素電極層
132A 第1の画素電極層
132B 第1の画素電極層
132C 第1の画素電極層
133 隔壁
134 EL層
135 第2の画素電極層
136 発光素子
137 第3の保護膜
140 グレートーンマスク
141 基板
142 遮光部
143 回折格子部
145 ハーフトーンマスク
146 基板
147 半透光部
148 遮光部
160 第3の開口部
160A 第3の開口部
160B 第3の開口部
161 第4の開口部
170 第1のレジストマスク
171 第2のレジストマスク
200 携帯電話
201 筐体
202 筐体
203 表示部
204 スピーカ
205 マイクロフォン
206 操作キー
207 ポインティングデバイス
208 表面カメラ用レンズ
209 外部接続端子ジャック
210 イヤホン端子
211 キーボード
212 外部メモリスロット
213 裏面カメラ
214 ライト
221 筐体
222 表示用パネル
223 主画面
224 モデム
225 受信機
226 リモコン操作機
227 表示部
228 サブ画面
229 スピーカ部
231 本体
232 表示部
251 画素部
252 信号線駆動回路
253 走査線駆動回路
254 チューナ
255 映像信号増幅回路
256 映像信号処理回路
257 コントロール回路
258 信号分割回路
259 音声信号増幅回路
260 音声信号処理回路
261 制御回路
262 入力部
263 スピーカ

Claims (10)

  1. 画素部を有し、
    前記画素部は、第1のトランジスタと、第2のトランジスタと、第3のトランジスタと、第1の配線と、第2の配線と、第3の配線と、を有し、
    前記第1のトランジスタのチャネル形成領域は、酸化物半導体を有し、
    前記第2のトランジスタのチャネル形成領域は、酸化物半導体を有し、
    前記第3のトランジスタのチャネル形成領域は、酸化物半導体を有し、
    前記第1のトランジスタのソース又はドレインの一方は、前記第1の配線と電気的に接続され、
    前記第1のトランジスタのソース又はドレインの他方は、前記第2のトランジスタのゲートと電気的に接続され、
    前記第2のトランジスタのソース又はドレインの一方は、前記第2の配線と電気的に接続され、
    前記第2のトランジスタのソース又はドレインの他方は、画素電極と電気的に接続され、
    前記第3のトランジスタのソース又はドレインの一方は、第1の導電層を介して、前記第3の配線と電気的に接続され、
    前記第3のトランジスタのソース又はドレインの他方は、前記第2のトランジスタのソース又はドレインの他方と電気的に接続され、
    前記第1の配線は、第1の方向に沿うように設けられた領域を有し、
    前記第2の配線は、前記第1の方向に沿うように設けられた領域を有し、
    前記第3の配線は、前記第1の方向に沿うように設けられた領域を有し、
    前記第1の導電層は、前記第1の配線と交差する領域を有することを特徴とする表示装置。
  2. 画素部を有し、
    前記画素部は、第1のトランジスタと、第2のトランジスタと、第3のトランジスタと、第1の配線と、第2の配線と、第3の配線と、を有し、
    前記第1のトランジスタのチャネル形成領域は、酸化物半導体を有し、
    前記第2のトランジスタのチャネル形成領域は、酸化物半導体を有し、
    前記第3のトランジスタのチャネル形成領域は、酸化物半導体を有し、
    前記第1のトランジスタのソース又はドレインの一方は、前記第1の配線と電気的に接続され、
    前記第1のトランジスタのソース又はドレインの他方は、前記第2のトランジスタのゲートと電気的に接続され、
    前記第2のトランジスタのソース又はドレインの一方は、前記第2の配線と電気的に接続され、
    前記第2のトランジスタのソース又はドレインの他方は、画素電極と電気的に接続され、
    前記第3のトランジスタのソース又はドレインの一方は、第1の導電層を介して、前記第3の配線と電気的に接続され、
    前記第3のトランジスタのソース又はドレインの他方は、前記第2のトランジスタのソース又はドレインの他方と電気的に接続され、
    前記第1の配線は、第1の方向に沿うように設けられた領域を有し、
    前記第2の配線は、前記第1の方向に沿うように設けられた領域を有し、
    前記第3の配線は、前記第1の方向に沿うように設けられた領域を有し、
    前記第1の導電層は、前記第1の配線と交差する領域を有し、
    前記第1のトランジスタのゲートは、前記第3のトランジスタのゲートと電気的に接続されることを特徴とする表示装置。
  3. 画素部を有し、
    前記画素部は、第1のトランジスタと、第2のトランジスタと、第3のトランジスタと、第1の配線と、第2の配線と、第3の配線と、を有し、
    前記第1のトランジスタのチャネル形成領域は、酸化物半導体を有し、
    前記第2のトランジスタのチャネル形成領域は、酸化物半導体を有し、
    前記第3のトランジスタのチャネル形成領域は、酸化物半導体を有し、
    前記第1のトランジスタのソース又はドレインの一方は、前記第1の配線と電気的に接続され、
    前記第1のトランジスタのソース又はドレインの他方は、前記第2のトランジスタのゲートと電気的に接続され、
    前記第2のトランジスタのソース又はドレインの一方は、前記第2の配線と電気的に接続され、
    前記第2のトランジスタのソース又はドレインの他方は、画素電極と電気的に接続され、
    前記第3のトランジスタのソース又はドレインの一方は、第1の導電層を介して、前記第3の配線と電気的に接続され、
    前記第3のトランジスタのソース又はドレインの他方は、前記第2のトランジスタのソース又はドレインの他方と電気的に接続され、
    前記第1の配線は、第1の方向に沿うように設けられた領域を有し、
    前記第2の配線は、前記第1の方向に沿うように設けられた領域を有し、
    前記第3の配線は、前記第1の方向に沿うように設けられた領域を有し、
    前記第1の導電層は、前記第1の配線と交差する領域を有し、
    前記第1のトランジスタのゲートとなる領域を有する第2の導電層は、前記第3のトランジスタのゲートとなる領域を有することを特徴とする表示装置。
  4. 画素部を有し、
    前記画素部は、第1のトランジスタと、第2のトランジスタと、第3のトランジスタと、第1の配線と、第2の配線と、第3の配線と、を有し、
    前記第1のトランジスタのチャネル形成領域は、酸化物半導体を有し、
    前記第2のトランジスタのチャネル形成領域は、酸化物半導体を有し、
    前記第3のトランジスタのチャネル形成領域は、酸化物半導体を有し、
    前記第1のトランジスタのソース又はドレインの一方は、前記第1の配線と電気的に接続され、
    前記第1のトランジスタのソース又はドレインの他方は、前記第2のトランジスタのゲートと電気的に接続され、
    前記第2のトランジスタのソース又はドレインの一方は、前記第2の配線と電気的に接続され、
    前記第2のトランジスタのソース又はドレインの他方は、画素電極と電気的に接続され、
    前記第3のトランジスタのソース又はドレインの一方は、第1の導電層を介して、前記第3の配線と電気的に接続され、
    前記第3のトランジスタのソース又はドレインの他方は、前記第2のトランジスタのソース又はドレインの他方と電気的に接続され、
    前記第1の配線は、第1の方向に沿うように設けられた領域を有し、
    前記第2の配線は、前記第1の方向に沿うように設けられた領域を有し、
    前記第3の配線は、前記第1の方向に沿うように設けられた領域を有し、
    前記第1の導電層は、前記第1の配線と交差する領域を有し、
    前記第1のトランジスタのゲートとなる領域を有する第2の導電層は、前記第3のトランジスタのゲートとなる領域を有し、
    前記第2の導電層は、前記第1の導電層と異なる層であることを特徴とする表示装置。
  5. 画素部を有し、
    前記画素部は、第1のトランジスタと、第2のトランジスタと、第3のトランジスタと、EL素子と、第1の配線と、第2の配線と、第3の配線と、を有し、
    前記第1のトランジスタのチャネル形成領域は、酸化物半導体を有し、
    前記第2のトランジスタのチャネル形成領域は、酸化物半導体を有し、
    前記第3のトランジスタのチャネル形成領域は、酸化物半導体を有し、
    前記第1のトランジスタのソース又はドレインの一方は、前記第1の配線と電気的に接続され、
    前記第1のトランジスタのソース又はドレインの他方は、前記第2のトランジスタのゲートと電気的に接続され、
    前記第2のトランジスタのソース又はドレインの一方は、前記第2の配線と電気的に接続され、
    前記第2のトランジスタのソース又はドレインの他方は、前記EL素子と電気的に接続され、
    前記第3のトランジスタのソース又はドレインの一方は、第1の導電層を介して、前記第3の配線と電気的に接続され、
    前記第3のトランジスタのソース又はドレインの他方は、前記第2のトランジスタのソース又はドレインの他方と電気的に接続され、
    前記第1の配線は、第1の方向に沿うように設けられた領域を有し、
    前記第2の配線は、前記第1の方向に沿うように設けられた領域を有し、
    前記第3の配線は、前記第1の方向に沿うように設けられた領域を有し、
    前記第1の導電層は、前記第1の配線と交差する領域を有することを特徴とする表示装置。
  6. 画素部を有し、
    前記画素部は、第1のトランジスタと、第2のトランジスタと、第3のトランジスタと、EL素子と、第1の配線と、第2の配線と、第3の配線と、を有し、
    前記第1のトランジスタのチャネル形成領域は、酸化物半導体を有し、
    前記第2のトランジスタのチャネル形成領域は、酸化物半導体を有し、
    前記第3のトランジスタのチャネル形成領域は、酸化物半導体を有し、
    前記第1のトランジスタのソース又はドレインの一方は、前記第1の配線と電気的に接続され、
    前記第1のトランジスタのソース又はドレインの他方は、前記第2のトランジスタのゲートと電気的に接続され、
    前記第2のトランジスタのソース又はドレインの一方は、前記第2の配線と電気的に接続され、
    前記第2のトランジスタのソース又はドレインの他方は、前記EL素子と電気的に接続され、
    前記第3のトランジスタのソース又はドレインの一方は、第1の導電層を介して、前記第3の配線と電気的に接続され、
    前記第3のトランジスタのソース又はドレインの他方は、前記第2のトランジスタのソース又はドレインの他方と電気的に接続され、
    前記第1の配線は、第1の方向に沿うように設けられた領域を有し、
    前記第2の配線は、前記第1の方向に沿うように設けられた領域を有し、
    前記第3の配線は、前記第1の方向に沿うように設けられた領域を有し、
    前記第1の導電層は、前記第1の配線と交差する領域を有し、
    前記第1のトランジスタのゲートは、前記第3のトランジスタのゲートと電気的に接続されることを特徴とする表示装置。
  7. 画素部を有し、
    前記画素部は、第1のトランジスタと、第2のトランジスタと、第3のトランジスタと、EL素子と、第1の配線と、第2の配線と、第3の配線と、を有し、
    前記第1のトランジスタのチャネル形成領域は、酸化物半導体を有し、
    前記第2のトランジスタのチャネル形成領域は、酸化物半導体を有し、
    前記第3のトランジスタのチャネル形成領域は、酸化物半導体を有し、
    前記第1のトランジスタのソース又はドレインの一方は、前記第1の配線と電気的に接続され、
    前記第1のトランジスタのソース又はドレインの他方は、前記第2のトランジスタのゲートと電気的に接続され、
    前記第2のトランジスタのソース又はドレインの一方は、前記第2の配線と電気的に接続され、
    前記第2のトランジスタのソース又はドレインの他方は、前記EL素子と電気的に接続され、
    前記第3のトランジスタのソース又はドレインの一方は、第1の導電層を介して、前記第3の配線と電気的に接続され、
    前記第3のトランジスタのソース又はドレインの他方は、前記第2のトランジスタのソース又はドレインの他方と電気的に接続され、
    前記第1の配線は、第1の方向に沿うように設けられた領域を有し、
    前記第2の配線は、前記第1の方向に沿うように設けられた領域を有し、
    前記第3の配線は、前記第1の方向に沿うように設けられた領域を有し、
    前記第1の導電層は、前記第1の配線と交差する領域を有し、
    前記第1のトランジスタのゲートとなる領域を有する第2の導電層は、前記第3のトランジスタのゲートとなる領域を有することを特徴とする表示装置。
  8. 画素部を有し、
    前記画素部は、第1のトランジスタと、第2のトランジスタと、第3のトランジスタと、EL素子と、第1の配線と、第2の配線と、第3の配線と、を有し、
    前記第1のトランジスタのチャネル形成領域は、酸化物半導体を有し、
    前記第2のトランジスタのチャネル形成領域は、酸化物半導体を有し、
    前記第3のトランジスタのチャネル形成領域は、酸化物半導体を有し、
    前記第1のトランジスタのソース又はドレインの一方は、前記第1の配線と電気的に接続され、
    前記第1のトランジスタのソース又はドレインの他方は、前記第2のトランジスタのゲートと電気的に接続され、
    前記第2のトランジスタのソース又はドレインの一方は、前記第2の配線と電気的に接続され、
    前記第2のトランジスタのソース又はドレインの他方は、前記EL素子と電気的に接続され、
    前記第3のトランジスタのソース又はドレインの一方は、第1の導電層を介して、前記第3の配線と電気的に接続され、
    前記第3のトランジスタのソース又はドレインの他方は、前記第2のトランジスタのソース又はドレインの他方と電気的に接続され、
    前記第1の配線は、第1の方向に沿うように設けられた領域を有し、
    前記第2の配線は、前記第1の方向に沿うように設けられた領域を有し、
    前記第3の配線は、前記第1の方向に沿うように設けられた領域を有し、
    前記第1の導電層は、前記第1の配線と交差する領域を有し、
    前記第1のトランジスタのゲートとなる領域を有する第2の導電層は、前記第3のトランジスタのゲートとなる領域を有し、
    前記第2の導電層は、前記第1の導電層と異なる層であることを特徴とする表示装置。
  9. 請求項1乃至請求項8のいずれか一項に記載の表示装置と、
    FPCと、
    を有する表示モジュール。
  10. 請求項1乃至請求項8のいずれか一項に記載の表示装置と、
    スピーカ、筐体、操作キー、又はイヤホン端子、を有する電子機器。
JP2016150972A 2008-03-05 2016-08-01 表示装置、表示モジュール及び電子機器 Active JP6190015B2 (ja)

Applications Claiming Priority (2)

Application Number Priority Date Filing Date Title
JP2008055024 2008-03-05
JP2008055024 2008-03-05

Related Parent Applications (1)

Application Number Title Priority Date Filing Date
JP2015200980A Division JP5982550B2 (ja) 2008-03-05 2015-10-09 表示装置

Related Child Applications (1)

Application Number Title Priority Date Filing Date
JP2017150319A Division JP2018005239A (ja) 2008-03-05 2017-08-03 表示装置

Publications (2)

Publication Number Publication Date
JP2016212435A JP2016212435A (ja) 2016-12-15
JP6190015B2 true JP6190015B2 (ja) 2017-08-30

Family

ID=41052679

Family Applications (11)

Application Number Title Priority Date Filing Date
JP2009049191A Expired - Fee Related JP5512988B2 (ja) 2008-03-05 2009-03-03 El表示装置の作製方法
JP2013228991A Active JP5674899B2 (ja) 2008-03-05 2013-11-05 表示装置
JP2014141052A Active JP5824557B2 (ja) 2008-03-05 2014-07-09 表示装置
JP2015200980A Active JP5982550B2 (ja) 2008-03-05 2015-10-09 表示装置
JP2016150972A Active JP6190015B2 (ja) 2008-03-05 2016-08-01 表示装置、表示モジュール及び電子機器
JP2017150319A Withdrawn JP2018005239A (ja) 2008-03-05 2017-08-03 表示装置
JP2018227458A Active JP6666986B2 (ja) 2008-03-05 2018-12-04 表示装置
JP2020027919A Active JP7008095B2 (ja) 2008-03-05 2020-02-21 表示装置
JP2022001426A Active JP7225441B2 (ja) 2008-03-05 2022-01-07 El表示装置の作製方法
JP2023017862A Active JP7609906B2 (ja) 2008-03-05 2023-02-08 表示装置
JP2024223728A Pending JP2025032370A (ja) 2008-03-05 2024-12-19 表示装置

Family Applications Before (4)

Application Number Title Priority Date Filing Date
JP2009049191A Expired - Fee Related JP5512988B2 (ja) 2008-03-05 2009-03-03 El表示装置の作製方法
JP2013228991A Active JP5674899B2 (ja) 2008-03-05 2013-11-05 表示装置
JP2014141052A Active JP5824557B2 (ja) 2008-03-05 2014-07-09 表示装置
JP2015200980A Active JP5982550B2 (ja) 2008-03-05 2015-10-09 表示装置

Family Applications After (6)

Application Number Title Priority Date Filing Date
JP2017150319A Withdrawn JP2018005239A (ja) 2008-03-05 2017-08-03 表示装置
JP2018227458A Active JP6666986B2 (ja) 2008-03-05 2018-12-04 表示装置
JP2020027919A Active JP7008095B2 (ja) 2008-03-05 2020-02-21 表示装置
JP2022001426A Active JP7225441B2 (ja) 2008-03-05 2022-01-07 El表示装置の作製方法
JP2023017862A Active JP7609906B2 (ja) 2008-03-05 2023-02-08 表示装置
JP2024223728A Pending JP2025032370A (ja) 2008-03-05 2024-12-19 表示装置

Country Status (5)

Country Link
US (1) US8101442B2 (ja)
JP (11) JP5512988B2 (ja)
KR (1) KR101519890B1 (ja)
CN (2) CN101527284B (ja)
TW (3) TWI622321B (ja)

Families Citing this family (20)

* Cited by examiner, † Cited by third party
Publication number Priority date Publication date Assignee Title
US7749820B2 (en) * 2008-03-07 2010-07-06 Semiconductor Energy Laboratory Co., Ltd. Thin film transistor, manufacturing method thereof, display device, and manufacturing method thereof
US8207026B2 (en) * 2009-01-28 2012-06-26 Semiconductor Energy Laboratory Co., Ltd. Manufacturing method of thin film transistor and manufacturing method of display device
US7989234B2 (en) 2009-02-16 2011-08-02 Semiconductor Energy Laboratory Co., Ltd. Method for manufacturing thin film transistor and method for manufacturing display device
US8202769B2 (en) 2009-03-11 2012-06-19 Semiconductor Energy Laboratory Co., Ltd. Semiconductor device and manufacturing method thereof
JP5539765B2 (ja) * 2009-03-26 2014-07-02 株式会社半導体エネルギー研究所 トランジスタの作製方法
EP2492780B1 (en) * 2009-11-26 2014-07-02 Sharp Kabushiki Kaisha A touch panel manufacturing method, and a method for manufacturing a display device provided with a touch panel
CN102754187A (zh) * 2010-05-10 2012-10-24 松下电器产业株式会社 结晶性半导体膜的制造方法、带结晶性半导体膜的基板、薄膜晶体管
US8766253B2 (en) * 2010-09-10 2014-07-01 Semiconductor Energy Laboratory Co., Ltd. Semiconductor device
US9437743B2 (en) 2010-10-07 2016-09-06 Semiconductor Energy Laboratory Co., Ltd. Thin film element, semiconductor device, and method for manufacturing the same
US8679986B2 (en) 2010-10-14 2014-03-25 Semiconductor Energy Laboratory Co., Ltd. Method for manufacturing display device
KR101555113B1 (ko) * 2011-02-28 2015-09-22 샤프 가부시키가이샤 반도체 장치 및 그 제조방법 그리고 표시장치
JP6076038B2 (ja) * 2011-11-11 2017-02-08 株式会社半導体エネルギー研究所 表示装置の作製方法
JP6033071B2 (ja) * 2011-12-23 2016-11-30 株式会社半導体エネルギー研究所 半導体装置
KR101996438B1 (ko) * 2012-12-13 2019-07-05 삼성디스플레이 주식회사 표시 장치용 기판, 이를 포함한 표시 장치 및 표시 장치의 제조 방법
US9096426B2 (en) * 2013-04-05 2015-08-04 The United States Of America As Represented By The Secretary Of The Army Electronic device structure and method of making electronic devices and integrated circuits using grayscale technology and multilayer thin-film composites
CN104062843A (zh) 2014-07-18 2014-09-24 深圳市华星光电技术有限公司 一种掩膜板、阵列基板制作方法及阵列基板
CN105390551B (zh) * 2015-10-28 2018-05-29 京东方科技集团股份有限公司 薄膜晶体管及其制造方法、阵列基板、显示装置
CN105789327B (zh) * 2016-05-17 2019-05-03 京东方科技集团股份有限公司 一种薄膜晶体管及其制备方法、阵列基板、显示装置
EP4068265B1 (en) 2019-11-29 2025-03-26 BOE Technology Group Co., Ltd. Display substrate and manufacturing method therefor, and display device
CN115295563A (zh) * 2022-08-25 2022-11-04 昆山国显光电有限公司 阵列基板及其制备方法

Family Cites Families (97)

* Cited by examiner, † Cited by third party
Publication number Priority date Publication date Assignee Title
JPS56122123A (en) * 1980-03-03 1981-09-25 Shunpei Yamazaki Semiamorphous semiconductor
USRE34658E (en) * 1980-06-30 1994-07-12 Semiconductor Energy Laboratory Co., Ltd. Semiconductor device of non-single crystal-structure
JPS6484669A (en) 1987-09-26 1989-03-29 Casio Computer Co Ltd Thin film transistor
JPH0311744A (ja) 1989-06-09 1991-01-21 Citizen Watch Co Ltd 薄膜トランジスタの製造方法
JPH03161938A (ja) 1989-11-20 1991-07-11 Seiko Instr Inc 薄膜トランジスタの製造方法
JPH04188770A (ja) 1990-11-22 1992-07-07 Casio Comput Co Ltd 薄膜トランジスタ
JPH06194687A (ja) * 1992-10-30 1994-07-15 Nec Corp 透過型アクティブマトリクス型液晶素子
JPH07307477A (ja) 1994-03-15 1995-11-21 Sanyo Electric Co Ltd 半導体装置の製造方法
JP3866783B2 (ja) * 1995-07-25 2007-01-10 株式会社 日立ディスプレイズ 液晶表示装置
JP3663261B2 (ja) * 1995-10-05 2005-06-22 株式会社東芝 表示装置用アレイ基板及びその製造方法
DE69635239T2 (de) * 1995-11-21 2006-07-06 Samsung Electronics Co., Ltd., Suwon Verfahren zur Herstellung einer Flüssigkristall-Anzeige
JPH09292633A (ja) * 1996-02-27 1997-11-11 Canon Inc カラー液晶表示装置の製造方法
JPH10198292A (ja) * 1996-12-30 1998-07-31 Semiconductor Energy Lab Co Ltd 半導体装置およびその作製方法
CN101068025B (zh) * 1997-08-21 2010-05-12 精工爱普生株式会社 显示装置
JP4131297B2 (ja) * 1997-10-24 2008-08-13 エルジー ディスプレイ カンパニー リミテッド 液晶表示装置の製造方法
US6297519B1 (en) * 1998-08-28 2001-10-02 Fujitsu Limited TFT substrate with low contact resistance and damage resistant terminals
US6493048B1 (en) * 1998-10-21 2002-12-10 Samsung Electronics Co., Ltd. Thin film transistor array panel for a liquid crystal display and a method for manufacturing the same
US6576924B1 (en) * 1999-02-12 2003-06-10 Semiconductor Energy Laboratory Co., Ltd. Semiconductor device having at least a pixel unit and a driver circuit unit over a same substrate
JP2000307118A (ja) 1999-04-21 2000-11-02 Matsushita Electric Ind Co Ltd 薄膜トランジスタおよびその製造方法
JP2001109405A (ja) * 1999-10-01 2001-04-20 Sanyo Electric Co Ltd El表示装置
KR100669093B1 (ko) * 1999-11-05 2007-01-16 엘지.필립스 엘시디 주식회사 액정표시소자의 제조방법
TW578028B (en) * 1999-12-16 2004-03-01 Sharp Kk Liquid crystal display and manufacturing method thereof
JP3761756B2 (ja) * 1999-12-16 2006-03-29 シャープ株式会社 液晶表示装置およびその製造方法
KR100325079B1 (ko) * 1999-12-22 2002-03-02 주식회사 현대 디스플레이 테크놀로지 고개구율 및 고투과율 액정표시장치의 제조방법
JP2001188240A (ja) * 1999-12-28 2001-07-10 Sharp Corp 透明導電膜を有する電子装置
JP2001202035A (ja) * 2000-01-18 2001-07-27 Sharp Corp 有機エレクトロルミネッセンス表示装置
US7023021B2 (en) * 2000-02-22 2006-04-04 Semiconductor Energy Laboratory Co., Ltd. Semiconductor device and method of manufacturing the same
TW521256B (en) * 2000-05-18 2003-02-21 Semiconductor Energy Lab Electronic device and method of driving the same
KR100494683B1 (ko) * 2000-05-31 2005-06-13 비오이 하이디스 테크놀로지 주식회사 4-마스크를 이용한 박막 트랜지스터 액정표시장치의제조시에 사용하는 할프톤 노광 공정용 포토 마스크
US7223643B2 (en) * 2000-08-11 2007-05-29 Semiconductor Energy Laboratory Co., Ltd. Method of manufacturing a semiconductor device
KR100496420B1 (ko) * 2001-03-02 2005-06-17 삼성에스디아이 주식회사 2층구조의 소오스/드레인 전극을 갖는 박막 트랜지스터 및그의 제조방법과 이를 이용한 액티브 매트릭스형 표시소자및 그의 제조방법
TW488080B (en) * 2001-06-08 2002-05-21 Au Optronics Corp Method for producing thin film transistor
US6623653B2 (en) * 2001-06-12 2003-09-23 Sharp Laboratories Of America, Inc. System and method for etching adjoining layers of silicon and indium tin oxide
JP4876341B2 (ja) * 2001-07-13 2012-02-15 日本電気株式会社 アクティブマトリクス基板及びその製造方法
JP3831868B2 (ja) * 2001-08-13 2006-10-11 大林精工株式会社 アクティブマトリックス表示装置とその製造方法
JP4485119B2 (ja) 2001-11-13 2010-06-16 株式会社半導体エネルギー研究所 表示装置
JP2003179069A (ja) 2001-12-12 2003-06-27 Matsushita Electric Ind Co Ltd 薄膜トランジスタ、液晶表示装置、有機エレクトロルミネッセンス素子、ならびに表示装置用基板およびその製造方法
JP2003223119A (ja) * 2002-01-30 2003-08-08 Toshiba Corp 表示装置およびその製造方法
KR100789090B1 (ko) * 2002-12-30 2007-12-26 엘지.필립스 엘시디 주식회사 액정표시장치 제조방법
JP3952979B2 (ja) * 2003-03-25 2007-08-01 カシオ計算機株式会社 表示駆動装置及び表示装置並びにその駆動制御方法
TWI368774B (en) * 2003-07-14 2012-07-21 Semiconductor Energy Lab Light-emitting device
JP2005128040A (ja) * 2003-10-21 2005-05-19 Hitachi Displays Ltd 表示装置
KR101006439B1 (ko) * 2003-11-12 2011-01-06 삼성전자주식회사 박막 트랜지스터 표시판의 제조 방법
KR101012792B1 (ko) * 2003-12-08 2011-02-08 삼성전자주식회사 박막 트랜지스터 표시판과 그 제조 방법
KR100698062B1 (ko) * 2004-04-01 2007-03-23 엘지.필립스 엘시디 주식회사 액정표시소자 및 그 제조방법
TWI239651B (en) * 2004-04-30 2005-09-11 Quanta Display Inc Manufacturing method of a thin film transistor-liquid crystal display
KR101086478B1 (ko) * 2004-05-27 2011-11-25 엘지디스플레이 주식회사 표시 소자용 박막 트랜지스터 기판 및 그 제조 방법
KR101121620B1 (ko) * 2004-06-05 2012-02-28 엘지디스플레이 주식회사 표시 소자용 박막 트랜지스터 기판 및 그 제조 방법
CN100533746C (zh) * 2004-08-03 2009-08-26 株式会社半导体能源研究所 显示器件、其制造方法以及电视机
JP4700317B2 (ja) 2004-09-30 2011-06-15 株式会社半導体エネルギー研究所 表示装置の作製方法
KR100669752B1 (ko) * 2004-11-10 2007-01-16 삼성에스디아이 주식회사 유기 박막 트랜지스터, 이의 제조 방법 및 이를 구비한평판표시장치
KR20060079040A (ko) * 2004-12-31 2006-07-05 엘지.필립스 엘시디 주식회사 프린지 필드 스위칭 타입의 박막 트랜지스터 기판 및 그제조 방법
JP2006215275A (ja) * 2005-02-03 2006-08-17 Sony Corp 表示装置
KR20060120300A (ko) * 2005-05-19 2006-11-27 삼성전자주식회사 박막 트랜지스터 기판 및 그 제조 방법
KR101100891B1 (ko) * 2005-05-23 2012-01-02 삼성전자주식회사 박막트랜지스터 기판 및 이를 포함한 디스플레이장치
US7608490B2 (en) * 2005-06-02 2009-10-27 Semiconductor Energy Laboratory Co., Ltd. Semiconductor device and manufacturing method thereof
US7588970B2 (en) * 2005-06-10 2009-09-15 Semiconductor Energy Laboratory Co., Ltd. Semiconductor device and manufacturing method thereof
KR101201017B1 (ko) * 2005-06-27 2012-11-13 엘지디스플레이 주식회사 액정 표시 장치 및 그 제조 방법
KR101225440B1 (ko) * 2005-06-30 2013-01-25 엘지디스플레이 주식회사 액정 표시 장치 및 그 제조 방법
US7807516B2 (en) * 2005-06-30 2010-10-05 Semiconductor Energy Laboratory Co., Ltd. Semiconductor device and manufacturing method of the same
US7867791B2 (en) * 2005-07-29 2011-01-11 Semiconductor Energy Laboratory Co., Ltd. Manufacturing method of semiconductor device using multiple mask layers formed through use of an exposure mask that transmits light at a plurality of intensities
JP4039446B2 (ja) * 2005-08-02 2008-01-30 エプソンイメージングデバイス株式会社 電気光学装置及び電子機器
US7914971B2 (en) * 2005-08-12 2011-03-29 Semiconductor Energy Laboratory Co., Ltd. Light exposure mask and method for manufacturing semiconductor device using the same
KR20070019457A (ko) * 2005-08-12 2007-02-15 삼성전자주식회사 박막 트랜지스터 표시판 및 이를 포함하는 액정표시장치
JP5078246B2 (ja) * 2005-09-29 2012-11-21 株式会社半導体エネルギー研究所 半導体装置、及び半導体装置の作製方法
US8149346B2 (en) * 2005-10-14 2012-04-03 Semiconductor Energy Laboratory Co., Ltd. Display device and manufacturing method thereof
JP5105811B2 (ja) 2005-10-14 2012-12-26 株式会社半導体エネルギー研究所 表示装置
TWI460851B (zh) * 2005-10-17 2014-11-11 Semiconductor Energy Lab 半導體裝置及其製造方法
TWI289360B (en) * 2005-10-24 2007-11-01 Chunghwa Picture Tubes Ltd Thin film transistor array substrate and manufacturing method thereof
JP5025242B2 (ja) * 2005-12-02 2012-09-12 株式会社半導体エネルギー研究所 半導体装置、表示装置、モジュール、及び電子機器
EP3229066A1 (en) * 2005-12-05 2017-10-11 Semiconductor Energy Laboratory Co., Ltd. Transflective liquid crystal display with a horizontal electric field configuration
EP1958019B1 (en) * 2005-12-05 2017-04-12 Semiconductor Energy Laboratory Co., Ltd. Liquid crystal display device
US7821613B2 (en) * 2005-12-28 2010-10-26 Semiconductor Energy Laboratory Co., Ltd. Display device and manufacturing method thereof
JP2007212699A (ja) 2006-02-09 2007-08-23 Idemitsu Kosan Co Ltd 反射型tft基板及び反射型tft基板の製造方法
TWI322288B (en) * 2006-03-07 2010-03-21 Au Optronics Corp Manufacture method of pixel array substrate
US8053816B2 (en) * 2006-03-10 2011-11-08 Semiconductor Energy Laboratory Co., Ltd. Semiconductor device
CN100433338C (zh) * 2006-06-23 2008-11-12 北京京东方光电科技有限公司 一种薄膜晶体管器件阵列基板结构及其制造方法
KR20080001181A (ko) * 2006-06-29 2008-01-03 엘지.필립스 엘시디 주식회사 액정표시장치용 어레이 기판과 그 제조방법
KR101295192B1 (ko) * 2006-06-29 2013-08-09 엘지디스플레이 주식회사 유기전계 발광소자와 그 제조방법
WO2008099528A1 (ja) 2007-02-13 2008-08-21 Sharp Kabushiki Kaisha 表示装置、表示装置の製造方法
US20100182303A1 (en) 2007-07-30 2010-07-22 Shinji Takasugi Image display device
KR101296653B1 (ko) * 2007-10-05 2013-08-14 엘지디스플레이 주식회사 액정 표시 장치 및 이의 제조 방법
JP5380037B2 (ja) * 2007-10-23 2014-01-08 株式会社半導体エネルギー研究所 半導体装置の作製方法
JP5357493B2 (ja) * 2007-10-23 2013-12-04 株式会社半導体エネルギー研究所 半導体装置の作製方法
JP5427390B2 (ja) * 2007-10-23 2014-02-26 株式会社半導体エネルギー研究所 半導体装置の作製方法
KR101448903B1 (ko) * 2007-10-23 2014-10-13 가부시키가이샤 한도오따이 에네루기 켄큐쇼 반도체장치 및 그의 제작방법
US7824939B2 (en) * 2007-10-23 2010-11-02 Semiconductor Energy Laboratory Co., Ltd. Method for manufacturing display device comprising separated and electrically connected source wiring layers
TWI355553B (en) * 2007-10-30 2012-01-01 Au Optronics Corp Pixel structure and method for manufacturing the s
WO2009072451A1 (en) * 2007-12-03 2009-06-11 Semiconductor Energy Laboratory Co., Ltd. Manufacturing method of thin film transistor and manufacturing method of display device
US8035107B2 (en) * 2008-02-26 2011-10-11 Semiconductor Energy Laboratory Co., Ltd. Method for manufacturing display device
WO2009107686A1 (en) * 2008-02-27 2009-09-03 Semiconductor Energy Laboratory Co., Ltd. Liquid crystal display device and manufacturing method thereof, and electronic device
US7749820B2 (en) * 2008-03-07 2010-07-06 Semiconductor Energy Laboratory Co., Ltd. Thin film transistor, manufacturing method thereof, display device, and manufacturing method thereof
US7989275B2 (en) * 2008-03-10 2011-08-02 Semiconductor Energy Laboratory Co., Ltd. Thin film transistor, manufacturing method thereof, display device, and manufacturing method thereof
US7883943B2 (en) * 2008-03-11 2011-02-08 Semiconductor Energy Laboratory Co., Ltd. Method for manufacturing thin film transistor and method for manufacturing display device
JP5364422B2 (ja) * 2008-04-17 2013-12-11 株式会社半導体エネルギー研究所 発光装置及びその作製方法
US7790483B2 (en) * 2008-06-17 2010-09-07 Semiconductor Energy Laboratory Co., Ltd. Thin film transistor and manufacturing method thereof, and display device and manufacturing method thereof
KR101243824B1 (ko) * 2008-09-24 2013-03-18 엘지디스플레이 주식회사 액정표시장치 및 그 제조방법

Also Published As

Publication number Publication date
JP7225441B2 (ja) 2023-02-20
TWI486096B (zh) 2015-05-21
JP5512988B2 (ja) 2014-06-04
JP7609906B2 (ja) 2025-01-07
TWI622321B (zh) 2018-04-21
JP2016212435A (ja) 2016-12-15
KR101519890B1 (ko) 2015-05-21
JP6666986B2 (ja) 2020-03-18
JP5674899B2 (ja) 2015-02-25
CN101527284B (zh) 2014-07-02
JP2020096193A (ja) 2020-06-18
JP2022058527A (ja) 2022-04-12
KR20090095520A (ko) 2009-09-09
JP2009239272A (ja) 2009-10-15
JP5824557B2 (ja) 2015-11-25
JP2014063179A (ja) 2014-04-10
JP2025032370A (ja) 2025-03-11
TW201524264A (zh) 2015-06-16
TWI657716B (zh) 2019-04-21
TW200950583A (en) 2009-12-01
US8101442B2 (en) 2012-01-24
JP2019040215A (ja) 2019-03-14
JP2018005239A (ja) 2018-01-11
US20090224249A1 (en) 2009-09-10
TW201714489A (zh) 2017-04-16
JP2016048378A (ja) 2016-04-07
JP7008095B2 (ja) 2022-01-25
CN101527284A (zh) 2009-09-09
CN103987146A (zh) 2014-08-13
JP5982550B2 (ja) 2016-08-31
CN103987146B (zh) 2017-04-19
JP2023065419A (ja) 2023-05-12
JP2014206753A (ja) 2014-10-30

Similar Documents

Publication Publication Date Title
JP7225441B2 (ja) El表示装置の作製方法
JP5383256B2 (ja) 薄膜トランジスタ及びその作製方法、並びに表示装置及びその作製方法
JP5371487B2 (ja) 薄膜トランジスタ及びその作製方法、並びに表示装置及びその作製方法
JP5364422B2 (ja) 発光装置及びその作製方法
JP5396165B2 (ja) 薄膜トランジスタの作製方法及び表示装置の作製方法
JP5530111B2 (ja) 薄膜トランジスタの作製方法
JP5997725B2 (ja) 表示装置
JP5460096B2 (ja) 表示装置の作製方法

Legal Events

Date Code Title Description
TRDD Decision of grant or rejection written
A01 Written decision to grant a patent or to grant a registration (utility model)

Free format text: JAPANESE INTERMEDIATE CODE: A01

Effective date: 20170704

A61 First payment of annual fees (during grant procedure)

Free format text: JAPANESE INTERMEDIATE CODE: A61

Effective date: 20170803

R150 Certificate of patent or registration of utility model

Ref document number: 6190015

Country of ref document: JP

Free format text: JAPANESE INTERMEDIATE CODE: R150

R250 Receipt of annual fees

Free format text: JAPANESE INTERMEDIATE CODE: R250

R250 Receipt of annual fees

Free format text: JAPANESE INTERMEDIATE CODE: R250

R250 Receipt of annual fees

Free format text: JAPANESE INTERMEDIATE CODE: R250

R250 Receipt of annual fees

Free format text: JAPANESE INTERMEDIATE CODE: R250

R250 Receipt of annual fees

Free format text: JAPANESE INTERMEDIATE CODE: R250

R250 Receipt of annual fees

Free format text: JAPANESE INTERMEDIATE CODE: R250