JP2010056059A - Led電球及び照明器具 - Google Patents

Led電球及び照明器具 Download PDF

Info

Publication number
JP2010056059A
JP2010056059A JP2008311077A JP2008311077A JP2010056059A JP 2010056059 A JP2010056059 A JP 2010056059A JP 2008311077 A JP2008311077 A JP 2008311077A JP 2008311077 A JP2008311077 A JP 2008311077A JP 2010056059 A JP2010056059 A JP 2010056059A
Authority
JP
Japan
Prior art keywords
led
heat
heat radiating
globe
led bulb
Prior art date
Legal status (The legal status is an assumption and is not a legal conclusion. Google has not performed a legal analysis and makes no representation as to the accuracy of the status listed.)
Granted
Application number
JP2008311077A
Other languages
English (en)
Other versions
JP5353216B2 (ja
Inventor
Shigeru Osawa
滋 大澤
Kazuto Morikawa
和人 森川
Toshiya Tanaka
敏也 田中
Takeshi Hisayasu
武志 久安
Current Assignee (The listed assignees may be inaccurate. Google has not performed a legal analysis and makes no representation or warranty as to the accuracy of the list.)
Toshiba Lighting and Technology Corp
Original Assignee
Toshiba Lighting and Technology Corp
Priority date (The priority date is an assumption and is not a legal conclusion. Google has not performed a legal analysis and makes no representation as to the accuracy of the date listed.)
Filing date
Publication date
Application filed by Toshiba Lighting and Technology Corp filed Critical Toshiba Lighting and Technology Corp
Priority to JP2008311077A priority Critical patent/JP5353216B2/ja
Publication of JP2010056059A publication Critical patent/JP2010056059A/ja
Application granted granted Critical
Publication of JP5353216B2 publication Critical patent/JP5353216B2/ja
Expired - Fee Related legal-status Critical Current
Anticipated expiration legal-status Critical

Links

Images

Classifications

    • FMECHANICAL ENGINEERING; LIGHTING; HEATING; WEAPONS; BLASTING
    • F21LIGHTING
    • F21VFUNCTIONAL FEATURES OR DETAILS OF LIGHTING DEVICES OR SYSTEMS THEREOF; STRUCTURAL COMBINATIONS OF LIGHTING DEVICES WITH OTHER ARTICLES, NOT OTHERWISE PROVIDED FOR
    • F21V3/00Globes; Bowls; Cover glasses
    • F21V3/02Globes; Bowls; Cover glasses characterised by the shape
    • FMECHANICAL ENGINEERING; LIGHTING; HEATING; WEAPONS; BLASTING
    • F21LIGHTING
    • F21KNON-ELECTRIC LIGHT SOURCES USING LUMINESCENCE; LIGHT SOURCES USING ELECTROCHEMILUMINESCENCE; LIGHT SOURCES USING CHARGES OF COMBUSTIBLE MATERIAL; LIGHT SOURCES USING SEMICONDUCTOR DEVICES AS LIGHT-GENERATING ELEMENTS; LIGHT SOURCES NOT OTHERWISE PROVIDED FOR
    • F21K9/00Light sources using semiconductor devices as light-generating elements, e.g. using light-emitting diodes [LED] or lasers
    • F21K9/20Light sources comprising attachment means
    • F21K9/23Retrofit light sources for lighting devices with a single fitting for each light source, e.g. for substitution of incandescent lamps with bayonet or threaded fittings
    • F21K9/232Retrofit light sources for lighting devices with a single fitting for each light source, e.g. for substitution of incandescent lamps with bayonet or threaded fittings specially adapted for generating an essentially omnidirectional light distribution, e.g. with a glass bulb
    • FMECHANICAL ENGINEERING; LIGHTING; HEATING; WEAPONS; BLASTING
    • F21LIGHTING
    • F21VFUNCTIONAL FEATURES OR DETAILS OF LIGHTING DEVICES OR SYSTEMS THEREOF; STRUCTURAL COMBINATIONS OF LIGHTING DEVICES WITH OTHER ARTICLES, NOT OTHERWISE PROVIDED FOR
    • F21V29/00Protecting lighting devices from thermal damage; Cooling or heating arrangements specially adapted for lighting devices or systems
    • F21V29/50Cooling arrangements
    • F21V29/70Cooling arrangements characterised by passive heat-dissipating elements, e.g. heat-sinks
    • F21V29/74Cooling arrangements characterised by passive heat-dissipating elements, e.g. heat-sinks with fins or blades
    • F21V29/77Cooling arrangements characterised by passive heat-dissipating elements, e.g. heat-sinks with fins or blades with essentially identical diverging planar fins or blades, e.g. with fan-like or star-like cross-section
    • F21V29/773Cooling arrangements characterised by passive heat-dissipating elements, e.g. heat-sinks with fins or blades with essentially identical diverging planar fins or blades, e.g. with fan-like or star-like cross-section the planes containing the fins or blades having the direction of the light emitting axis
    • FMECHANICAL ENGINEERING; LIGHTING; HEATING; WEAPONS; BLASTING
    • F21LIGHTING
    • F21VFUNCTIONAL FEATURES OR DETAILS OF LIGHTING DEVICES OR SYSTEMS THEREOF; STRUCTURAL COMBINATIONS OF LIGHTING DEVICES WITH OTHER ARTICLES, NOT OTHERWISE PROVIDED FOR
    • F21V3/00Globes; Bowls; Cover glasses
    • FMECHANICAL ENGINEERING; LIGHTING; HEATING; WEAPONS; BLASTING
    • F21LIGHTING
    • F21SNON-PORTABLE LIGHTING DEVICES; SYSTEMS THEREOF; VEHICLE LIGHTING DEVICES SPECIALLY ADAPTED FOR VEHICLE EXTERIORS
    • F21S8/00Lighting devices intended for fixed installation
    • F21S8/02Lighting devices intended for fixed installation of recess-mounted type, e.g. downlighters
    • F21S8/026Lighting devices intended for fixed installation of recess-mounted type, e.g. downlighters intended to be recessed in a ceiling or like overhead structure, e.g. suspended ceiling
    • FMECHANICAL ENGINEERING; LIGHTING; HEATING; WEAPONS; BLASTING
    • F21LIGHTING
    • F21VFUNCTIONAL FEATURES OR DETAILS OF LIGHTING DEVICES OR SYSTEMS THEREOF; STRUCTURAL COMBINATIONS OF LIGHTING DEVICES WITH OTHER ARTICLES, NOT OTHERWISE PROVIDED FOR
    • F21V23/00Arrangement of electric circuit elements in or on lighting devices
    • F21V23/001Arrangement of electric circuit elements in or on lighting devices the elements being electrical wires or cables
    • F21V23/002Arrangements of cables or conductors inside a lighting device, e.g. means for guiding along parts of the housing or in a pivoting arm
    • FMECHANICAL ENGINEERING; LIGHTING; HEATING; WEAPONS; BLASTING
    • F21LIGHTING
    • F21YINDEXING SCHEME ASSOCIATED WITH SUBCLASSES F21K, F21L, F21S and F21V, RELATING TO THE FORM OR THE KIND OF THE LIGHT SOURCES OR OF THE COLOUR OF THE LIGHT EMITTED
    • F21Y2115/00Light-generating elements of semiconductor light sources
    • F21Y2115/10Light-emitting diodes [LED]

Landscapes

  • Engineering & Computer Science (AREA)
  • General Engineering & Computer Science (AREA)
  • Physics & Mathematics (AREA)
  • Microelectronics & Electronic Packaging (AREA)
  • Optics & Photonics (AREA)
  • Non-Portable Lighting Devices Or Systems Thereof (AREA)
  • Arrangement Of Elements, Cooling, Sealing, Or The Like Of Lighting Devices (AREA)

Abstract

【課題】LED点灯時の点灯回路の温度上昇を抑制でき、部品コストを上昇させずに点灯回路の寿命を維持できるLED電球を提供することである。
【解決手段】複数のLEDが面実装されたLEDモジュール11を放熱部12に取り付け、放熱部12の複数の放熱フィン18からLEDから発生する熱を放熱する。グローブ14は、LEDモジュール11を覆ってLEDからの放射光を外部に出射する。また、放熱部12のグローブ14の反対側の口金16の中空部23に、LEDを点灯する点灯回路17を内蔵する。これにより、LEDモジュール11のLEDから発生する熱のほとんどを放熱部12で放熱し、点灯回路の温度上昇を抑える。
【選択図】図1

Description

本発明は、LEDからの放射光を外部に出射するLED電球及び照明器具に関する。
光源であるLEDモジュールをグローブで覆って外観を白熱電球形状に形成したLED電球が知られている。LEDは、温度が上昇するに従い光出力の低下とともに寿命も短くなることから、LEDを光源とするランプでは、LEDの温度上昇を抑制することが求められている。
そこで、製造コストを増大させることなくLEDの放熱性を向上することができるようにしたLED電球が知られている(例えば、特許文献1参照)。これは、LEDが実装されたプリント配線板を複数の放熱フィンを有する金属製の器体に収納し、その際に、LEDはプリント配線板において器体の内面に近接する位置に実装し、これにより、器体の放熱フィンによるLEDの放熱を可能としたものである。また、LEDの電源を生成する電源回路(点灯回路)は、プリント配線板とは、別のプリント配線板に実装されて形成され、器体内の中空部に配置されている。
特開2006−40727号公報
しかし、特許文献1のものでは、器体内に点灯回路を内包しているので、LEDから発生する熱が放熱フィンを通して外部に放熱される際に、放熱部に内包した点灯回路にも伝わってしまう。このため、LEDの点灯時に点灯回路の部品が温度上昇し、点灯回路の寿命が著しく損なわれてしまう。一方で、点灯回路の寿命を維持するために耐熱性の高い部品を使用する必要が生じ、結果としてコストが高くなる。
本発明の目的は、LED点灯時の点灯回路の温度上昇を抑制でき、部品コストを上昇させずに点灯回路の寿命を維持できるLED電球及び照明器具を提供することである。
請求項1の発明に関わるLED電球は、複数のLEDが面実装されたLEDモジュールと;前記LEDモジュールが取り付けられ複数の放熱フィンから前記LEDから発生する熱を放熱する放熱部と;前記LEDモジュールを覆って前記LEDからの放射光を外部に出射するグローブと;前記放熱部の前記グローブの反対側に設けられ内部に中空部を有する口金と;この口金の中空部に内蔵され前記LEDを点灯する点灯回路と;を備えていることを特徴とする。
本発明及び以下の発明において用語の定義及び技術的意味は以下による。LEDモジュールとは、平板状の基体の一面に複数のLEDが面実装され、または取り付けられた光源ユニットをいう。LEDモジュールはLEDが面実装された一面側を外向きとなるようにして、LEDモジュールの他面側が放熱部に配置される。
放熱部はLEDから発生する熱を放熱するものであり、例えば、熱伝導率のよい金属部材が用いられ、放熱フィンを有している。グローブはLEDモジュールを覆ってLEDからの放射光を外部に出射する。
口金は放熱部のグローブの反対側に設けられる。また、LEDを点灯する点灯回路は、口金の中空部に配置され口金に電気的に接続される。
請求項2の発明に関わるLED電球は、請求項1の発明において、前記LEDモジュールは、前記放熱部の前記グローブ側に前記放熱部の表面に接触して設けられ、前記放熱部には少なくとも前記LEDモジュールから前記点灯回路に接続される配線が通る程度の大きさの配線通孔部が形成されていることを特徴とする。
「放熱部に接触して設けられ」とは、LEDモジュールのLEDから発生する熱が放熱部に伝達しやすいように接触面積を大きくして設置することをいう。放熱部の配線通孔部には絶縁体を設けて配線を施す。「配線が通る程度の大きさ」とは、配線と放熱部との絶縁が確保できる大きさをいう。

請求項3の発明に関わるLED電球は、請求項1の発明において、前記放熱フィンが放熱部の中心から外側に向かって放射状に延在するように形成されていて、前記放熱部の放熱フィンと隣接する部分の形状が放熱部の中心に向かうに従って口金側に突出する凸形状を有していることを特徴とする。
「放熱フィンが放熱部の中心から外側に向かって放射状に延在する」とは、放熱フィンは放熱部の中央部に設けられていることから、放熱部の中心軸側の放熱フィンの基端部から外側に向かって放射状に延在していることをいう。
「放熱部の放熱フィンと隣接する部分」とは、LEDモジュール11が接触して取り付けられた放熱板13側の部分をいう。「口金側に突出する凸形状」とは、口金側の方向に中央部が次第に突出するような略錐体状の形状をいう。
請求項4の発明に係わるLED電球は、請求項3の発明において、前記放熱部と口金との間には中空の絶縁部が配設されており、前記絶縁部の先端側部分には前記放熱フィンの端部が係止される溝部が形成されていることを特徴とする。
絶縁部とは、放熱部と口金との絶縁を保つための部材をいう。放熱部の放熱フィンの端部が溝部に挿入され係止されることで、放熱部と絶縁部とが連結される。
請求項5の発明に関わるLED電球は、請求項1の発明において、前記絶縁部の先端側部分が前記放熱部の内部へ嵌入され、前記放熱部の中心軸側の放熱フィンの基端部が絶縁部の最大外径部分よりも前記中心軸側に存在していることを特徴とする。
「絶縁部の先端側部分が放熱部の内部へ嵌入され」とは、LEDモジュールが取り付けられた放熱部と点灯回路を内蔵した口金との間に絶縁部を配置し、放熱部の口金側の内部に絶縁部の先端側部分を嵌入し、放熱部と口金とを絶縁部を介在して取り付けたことをいう。これにより、LEDモジュール、放熱部、絶縁部、口金の配置とし、LEDモジュールの放熱は放熱部で行い、点灯回路の放熱は口金で行い、全体としての放熱性を向上させる。
「放熱部の中心軸側の放熱フィンの基端部」とは、放熱部の中心軸の周囲に植設された放熱フィンの根元部分をいう。「放熱フィンの基端部が絶縁部の最大外径部分よりも中心軸側」とは、放熱フィンの基端部が絶縁部の最大外径部分よりも内側の中心軸側に位置していることをいう。
請求項6の発明に関わるLED電球は、請求項1の発明において、前記グローブから放熱部方向に出射される光を前記グローブ方向に反射する反射板を前記放熱部と前記グローブとの接合部に設けたことを特徴とする。
「グローブから放熱部方向に出射される光」とは、グローブで拡散してグローブの後方(放熱部方向)へ向かう光をいう。反射板は、例えば、白色反射板、アルミニウムやクロムめっきした反射板、またはアルミニウム蒸着された反射板を用いるのが好ましい。
請求項7の発明に関わるLED電球は、請求項1の発明において、前記放熱部と前記グローブとの接合部にくびれ部を設けたことを特徴とする。
「くびれ部」とは、放熱部とグローブとの接合部が縮径するように形成された凹み部をいい、放熱部とグローブとは互いに最大径より小さい外径部分で接合されていることをいう。
請求項8の発明に係わる照明器具は、請求項1乃至5のいずれか一記載のLED電球と;前記LED電球が装着されるソケットを有した照明器具本体と;を備えたことを特徴とする。
請求項1の発明によれば、口金の中空部に点灯回路を配置したので、LEDモジュールと点灯回路との距離が長くなり、LEDモジュールの熱はほとんどが放熱部で放熱される。これにより、点灯回路の温度上昇を抑えることができ、点灯回路の寿命が長くなり、結果としてコストを低減できる。
請求項2の発明によれば、口金の中空部に点灯回路を配置したことに伴い、放熱部の中空部は、LEDモジュールと点灯回路とを接続する配線が通る程度の大きさの配線通孔部とすることができ、これにより放熱部の放熱面積を大きくすることができる。従って、放熱部での放熱効率を向上させることができる。
請求項3の発明によれば、放熱フィンが放熱部の中心から外側に向かって放射状に延在するように形成され、放熱部の放熱フィンと隣接する部分の形状が放熱部の中心に向かうに従って口金側に突出する凸形状を有しているので、放熱フィンを対流する風の流れがよくなり放熱効果が向上する。
請求項4の発明によれば、絶縁部により放熱部と口金との間の絶縁を確保できる。また、放熱フィンの端部は絶縁部の溝部で係止されるので、放熱部と絶縁部との間の捻り強度を確保することができる。従って、LED電球をソケットに装着する場合の十分な捻り強度を確保できる。
請求項5の発明によれば、絶縁部の先端側部分が放熱部の内部へ嵌入され、放熱部の中心軸側の放熱フィンの基端部が絶縁部の最大外径部分よりも中心軸側に存在しているので、放熱フィンの表面積を大きくすることができ放熱効果を向上させることができる。
請求項6の発明によれば、放熱部とグローブ接続部との間に反射板を設け、拡散により後方へ向かう光を側面ないし前方のグローブ側に戻すので、光のロスを少なくでき器具効率を高めることができる。
請求項7の発明によれば、放熱部とグローブとの接合部にくびれ部を設けたので、グローブの側面及び後方の配光を高めることができる。
請求項8の発明によれば、請求項1乃至7のいずれか一の発明の効果を有する照明器具を提供できる。
図1は本発明の第1の実施の形態に係わるLED電球の正面図である。図1では左半分を断面したものを示している。複数のLEDが面実装されたLEDモジュール11は、放熱部12の放熱板13に接触して取り付けられている。また、放熱部12の放熱板13には、LEDモジュール11を覆ってグローブ14が取り付けられ、LEDモジュール11のLEDからの放射光を外部に出射する。一方、放熱部12のグローブ14の反対側には合成樹脂製の絶縁部15を介して口金16が取り付けられている。口金16の内部は中空となっており、この口金16の中空部23にLEDを点灯する点灯回路17が内蔵されている。
放熱部12は、前述したように放熱板13にLEDモジュール11が取り付けられ、側面部に複数の放熱フィン18が放熱部12の中心から外側に向けて放射状に延在するように設けられている。LEDモジュール11のLEDから発生する熱は放熱板13を通って複数の放熱フィン18に伝熱され、複数の放熱フィン18から放熱される。
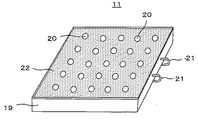
図2はLEDモジュール11の斜視図である。LEDモジュール11は、平板状の直方体の基板19の一面に複数のLED20が面実装され、側面部から配線21が引き出されている。例えば、LED20が青色LEDである場合には、青色LEDからの光を黄色蛍光体22を通して出射し白色光を得るようにしている。LEDモジュール11は、LEDモジュール11のLED20が面実装された面をグローブ14側の向きにして放熱部12の放熱板13に配置される。
LED20はチップ状の素子を基板19のマウント部に実装してリードワイヤにてボンディングされるCOBタイプのものでもよく、また、リード端子付きのLEDそして押しのパッケージ部品をランドに実装するSMDタイプのものでもよい。
放熱部12は、銅(Cu)、アルミニウム(Al)、鉄(Fe)などの金属またはその合金からなり、放熱板13と放熱フィン18とは一体形成されているか、または熱伝導可能に相互に接続されている。放熱部12の放熱板13にはLEDモジュール11の配線21を通すための溝が形成されている。LEDモジュール11は、放熱部12の放熱板13のグローブ14側に接触して設けられるが、その際、LEDモジュール11の配線21は放熱板13の溝に収納される。
また、放熱部12の配線通孔部24は放熱板13の中央部に形成され、その配線通孔部24にLEDモジュール11の配線21を通し、口金16の中空部23に配置された点灯回路17に接続するようになっている。放熱部12の配線通孔部24は、口金16の中空部23に点灯回路17を配置したことに伴い、LEDモジュール11と点灯回路17とを接続する配線21が通る程度の大きさとしている。なお、この場合、配線通孔部24の内面には絶縁体を設けて配線21と放熱部12との絶縁を確実なものにしている。
従って、LEDモジュール11と放熱部12の放熱板13との接触面積が大きくなり放熱効率が向上するとともに、放熱フィン18の大きさも大きくできるので、さらに放熱効率を向上させることができる。
また、LEDモジュール11のLEDから発生する熱は、LEDモジュール11の中央部に集中することから、従来のように、放熱部12の配線通孔部24が比較的大きい場合には、最もLEDから発生する熱が集中するLEDモジュール11の中央部が放熱部12の配線通孔部24に位置することになり、放熱効率の悪いものであったが、本発明の第1の実施の形態では、放熱部12の配線通孔部24をLEDモジュール11と点灯回路17とを接続する配線21が通る程度の大きさとしているので、放熱部12の配線通孔部24が小さいので放熱効率を向上できる。
一方、放熱部12は絶縁部15で口金16と隔離されているので、LEDから発生する熱が放熱部12の放熱フィン18を通って口金16に伝熱することがほとんどないので、口金16の中空部23に配置された点灯回路17にLEDから発生した熱が伝熱することを防止できる。
本発明の第1の実施の形態によれば、口金16の中空部23に点灯回路17を配置したので、LEDモジュール11と点灯回路17との距離が長くなり、また、放熱部12と口金16とは絶縁部15で隔離されるので、LEDモジュール11のLEDから発生する熱はほとんどが放熱部12で放熱される。従って、点灯回路の温度上昇を抑えることができる。これにより、点灯回路の寿命が長くなり、結果としてランプ交換に要するコストを低減することができる。
また、口金16の中空部23に点灯回路17を配置したことに伴い、放熱部12の中空部23は、LEDモジュール11と点灯回路17とを接続する配線21が通る程度の小さい大きさにできるので、放熱部12の放熱面積を大きくすることができるだけでなく、最もLEDから発生する熱が集中するLEDモジュール11の中央部の放熱効率を向上させることができる。
図3は本発明の第2の実施の形態に係わるLED電球の正面図である。この第2の実施の形態は、図1に示した第1の実施の形態に対し、放熱部12及び絶縁部15の形状が異なっている。すなわち、LEDモジュール11が接続・支持されている放熱部12の放熱板13を形成する支持部25の外側形状が中心に向かうに従って口金方向に次第に突出するような鍋蓋(または鍋底)形状なすように構成されている。一方、絶縁部15は、その上面側形状が中心に向かうに従って次第にグローブ側に突出するような鍋蓋(または鍋底)形状をなすように形成されている。図1と同一要素には同一符号を付し重複する説明は省略する。
より具体的には、放熱部12の支持部25の外周面は、放熱フィン18との境界部分が円弧形状をなすように略半球形状に形成されている。支持部25は、放熱部12のグローブ14側から見た場合には口金16側の方向に中央部が次第に突出するような略錐体状の形状である。
絶縁部15の上面形状は放熱フィン18との境界部分が円弧形状をなすようの略半球形状に形成されており、放熱部12の口金16側(絶縁部15側)から見た場合にはグローブ14方向に中央部が次第に突出するような略錐体状の形状である。
図4は本発明の第2の実施の形態に係わるLED電球の断面図である。放熱部12のグローブ14側の支持部25には、LEDモジュール11の配線21を通すための配線溝33が形成され、図1に示した第1の実施の形態と同様に、放熱部12の中央部に形成された配線通孔部24にLEDモジュール11の配線21を通し、口金16の中空部23に配置された点灯回路17に接続するようになっている。
放熱部12の中心軸には配線通孔部24を内部に形成した中空柱状の配線管部24aが設けられており、この配線管部24aから放熱フィン18が基端部18aを介して放射状に延在している。
図5は絶縁部15の構造図であり、図5(a)は絶縁部15の上面図、図5(b)は図5(a)のA−A線での一部拡大断面図である。絶縁部15は、放熱フィン18の端部を係止するための溝部26が形成されている。この溝部26に放熱部12の放熱フィン18の端部が挿入されて放熱フィン18の端部を係止する。
また、絶縁部15の中央部には放熱部12の配線通孔部24と連通する配線通孔部27が設けられ、放熱部12の配線通孔部24を通って来たLEDモジュール11の配線を口金16の中空部に配置された点灯回路に接続するようになっている。
そして、複数のLEDが面実装されたLEDモジュール11は、放熱部12の支持部25の内側に形成された放熱板の表面に接触して取り付けられ、第1の実施の形態における放熱板13を放熱部12に一体形成したものと同様の構成となっている。LEDモジュール11のLEDから発生した熱は、放熱部12の支持部25から複数の放熱フィン18に伝熱され、複数の放熱フィン18から放熱される。
第2の実施の形態によれば、放熱フィン18に隣接する支持部25及び絶縁部15の形状が中心に向かうに従って凸状をなす略錐体状の形状であるので、放熱フィン18を対流する空気が放熱部12の内側に回り込みやすくなり、通気の風の流れがよくなって放熱効果が向上する。また、放熱部12の支持部25にLEDモジュール11の配線21を通すための溝が形成されているので、支持部25は第1の実施の形態の放熱板13と比較して厚み寸法が大きくなることから、LEDモジュール11の配線21を通すための溝の形成が容易である。さらに、放熱フィン18の口金16側の端部は絶縁部15の溝部26で係止されるので、放熱部12と絶縁部15との間の捻り強度を確保することができる。従って、LED電球をソケットに装着する場合の十分な捻り強度を確保できる。
図6は本発明の第3の実施の形態に係わるLED電球の正面図、図7は本発明の第3の実施の形態に係わるLED電球の分解図である。この第3の実施の形態は、図1に示した第1の実施の形態に対し、放熱部12と口金16との間の絶縁部15の先端側部分を放熱部12の内部へ嵌入するようにしたものである。図1と同一要素には同一符号を付し重複する説明は省略する。
複数のLEDが面実装されたLEDモジュール11は、放熱部12の上部に一体的に被着面部34に接触して取り付けられている。また、LEDモジュール11が接触して取り付けられた被着面部34には、LEDモジュール11を覆ってグローブ14が取り付けられ、このグローブ14よりLEDモジュール11のLEDからの放射光を外部に出射する。
被着面部34の周囲にはPBT製で外周面が蒸着等により鏡面加工された円環状の反射リング13aが被嵌されている。この反射リング13aはグローブ14から出力された光を所望の方向に反射するように作用する。
放熱部12の中心軸に設けられた配線管部24aの周囲には放熱フィン18が基端部18aを介して植設されている。放熱フィン18の基端部18aは、配線管部24aの放熱フィン18の植設の根元部分である。放熱フィン18の基端部18aは、グローブ14側に向かって配線管部24aの径が小径となるようにテーパ状に形成されている。従って、放熱部12の中心軸側の放熱フィン18の基端部18aは、絶縁部12の最大外径Dの部分よりも中心軸側に位置するように形成される。
また、放熱部12のグローブ14の反対側は内部が開口しており、この開口部に絶縁部15の先端側部15aが嵌入される。絶縁部15は内部が中空に形成されている。
これにより、絶縁部15の先端側部15aが放熱部12の開口部に嵌入されたとき、放熱部12の放熱フィン18の基端部18aは絶縁部15の最大外径Dの部分よりも中心軸側に存在することになるので、グローブ14側では放熱フィンの表面積を大きくすることができ放熱効果を向上させることができる。
一方、絶縁部15の後端部15bは口金16に嵌入して取り付けられ、口金16の内部は中空となっており、この口金16の中空部23にLEDを点灯する点灯回路17が内蔵されている。
第3の実施の形態によれば、LEDモジュール11、放熱部12、絶縁部15、口金16の配置となり、絶縁部15で熱的な分離が行えるので、LEDモジュール11の放熱は主として放熱部12で行い、点灯回路17の放熱は口金16で行い、全体として放熱性を向上させることができる。また、放熱部12の中心軸側の放熱フィン18の基端部18aは、グローブ14側に向かって絶縁部12の最大外径Dの部分よりも中心軸側に位置するように形成されているので、放熱効果を向上させることができる。
図8は本発明の第4の実施の形態の説明図であり、図8(a)は第4の実施の形態に係わるLED電球の正面図、図8(b)は従来のLED電球の正面図である。この第4の実施の形態は、図1に示した第1の実施の形態に対し、放熱部12とグローブ14との接合部にグローブ14から放熱部方向に出射される光をグローブ方向に反射する反射板35を設けたものである。図1と同一要素には同一符号を付し重複する説明は省略する。
図8(a)に示すように、放熱部12とグローブ14との接合部には、反射板35が設けられている。LEDモジュール11のLED20から出射された光のうち、一部の光はグローブ14で拡散して後方へ向かうが、点線矢印X1に示すように放熱部方向に出射された光は、円環形状の反射板35の表面で反射されグローブ方向に出射される。LED電球が器具本体に装着された状態でグローブ14側に器具本体の反射面がある場合には、その反射面に向けて反射光を出射できる。従って、光のロスを少なくできる。一方、図8(b)に示すように、従来のものでは、グローブ14で拡散して後方へ向かう光は、反射板35がないので、そのまま後方へ向かう光の量が多く迷光として器具外に放射されにくくなるので光のロスが多くなる。
第4の実施の形態によれば、グローブ14で拡散して後方へ向かう光をグローブ側に戻すことができるので、光のロスを少なくでき器具効率を高めることができる。
図9は本発明の第5の実施の形態の説明図であり、図9(a)は第5の実施の形態に係わるLED電球の正面図、図9(b)は従来のLED電球の正面図である。この第5の実施の形態は、図1に示した第1の実施の形態に対し、前記放熱部と前記グローブとの接合部にくびれ部を設けたものである。図1と同一要素には同一符号を付し重複する説明は省略する。
図9(a)に示すように、放熱部12とグローブ14との接合部には、くびれ部36が形成されるようにグローブ14の開口端部及び放熱部12の上端縁のそれぞれの外径が次第に縮径するようにテーパ面が形成されている。くびれ部36が設けられたことに伴い、放熱部12とグローブ14とは互いに最大径より小さい外径部分で接合されることになる。LEDモジュール11のLED20から出射された光U1、U2のうち、一部の光U2は、くびれ部36から出射してグローブ14の側面方向または放熱部方向に出射する。従って、LED20からのグローブ14の側面及び後方(口金側)配光を高めて白熱電球の配光特性に近づけることができる。一方、図9(b)に示すように、従来のものでは、放熱部12の外径がグローブ14の最大径部分で接合しているので、LEDモジュール11のLED20から出射された光V1、V2のうち、一部の光V2は、放熱部12で妨げられてグローブ14の側面及び後方に出射することができないので、グローブ14の側面及び後方の配光が悪くなり、白熱電球の配光特性に近づけることができない。
本発明の第5の実施の形態によれば、放熱部12とグローブ14との接合部にくびれ部を設けたので、LED20からの光のグローブ14の側面及び後方の配光を高めることができ、白熱電球の配光特性に近づけることができる。なお、放熱部12側のくびれ部36に相当するテーパ面に第4の実施の形態で説明した円環状の反射板35を取り付けてもよい。この反射板35を用いることによって、グローブ14の最大外形部よりもくびれ部36側から放射されてテーパ面に入射する光をグローブ14側の外方へ反射させることができ、光のロスを低減することができる。
図10は本発明の第6の実施の形態に係わる照明装置の説明図である。照明装置本体28は、天井29に埋め込み式で取り付けられる。照明器具本体28には、第1の実施の形態乃至第5の実施の形態のLED電球30を装着するためのソケット31が設けられている。ソケット31にLED電球30をねじ込むことによりLED電球30は装着され、LED電球30からの光は反射板32で反射されて床面に向けて出射される。
本発明の第1の実施の形態に係わるLED電球の正面図。 本発明の第1の実施の形態におけるLEDモジュールの斜視図。 本発明の第2の実施の形態に係わるLED電球の正面図。 本発明の第2の実施の形態に係わるLED電球の断面図。 本発明の第2の実施の形態における絶縁部に形成された鍋蓋形状部の構造図。 本発明の第3の実施の形態に係わるLED電球の正面図。 本発明の第3の実施の形態に係わるLED電球の分解図。 本発明の第4の実施の形態に係わるLED電球の説明図。 本発明の第4の実施の形態に係わるLED電球の説明図。 本発明の第6の実施の形態に係わる照明装置の説明図。
符号の説明
11…LEDモジュール、12…放熱部、13…放熱板、14…グローブ、15…絶縁部、16…口金、17…点灯回路、18…放熱フィン、19…基板、20…LED、21…配線、22…黄色蛍光体、23…中空部、24…配線通孔部、25…支持部、26…溝部、27…配線通孔部、28…照明器具本体、29…天井、30…LED電球、31…ソケット、32…反射板、33…配線溝、34…被着面部、35…反射板、36…くびれ部

Claims (8)

  1. 複数のLEDが面実装されたLEDモジュールと;
    前記LEDモジュールが取り付けられ複数の放熱フィンから前記LEDから発生する熱を放熱する放熱部と;
    前記LEDモジュールを覆って前記LEDからの放射光を外部に出射するグローブと;
    前記放熱部の前記グローブの反対側に設けられ内部に中空部を有する口金と;
    この口金の中空部に内蔵され前記LEDを点灯する点灯回路と;
    を備えていることを特徴とするLED電球。
  2. 前記LEDモジュールは、前記放熱部の前記グローブ側に前記放熱部の表面に接触して設けられ、前記放熱部には少なくとも前記LEDモジュールから前記点灯回路に接続される配線が通る程度の大きさの配線通孔部が形成されていることを特徴とする請求項1記載のLED電球。
  3. 前記放熱フィンが放熱部の中心から外側に向かって放射状に延在するように形成されていて、前記放熱部の放熱フィンと隣接する部分の形状が放熱部の中心に向かうに従って口金側に突出する凸形状を有していることを特徴とする請求項1記載のLED電球。
  4. 前記放熱部と口金との間には中空の絶縁部が配設されており、前記絶縁部の先端側部分には前記放熱フィンの端部が係止される溝部が形成されていることを特徴とする請求項3記載のLED電球。
  5. 前記絶縁部の先端側部分が前記放熱部の内部へ嵌入され、前記放熱部の中心軸側の放熱フィンの基端部が絶縁部の最大外径部分よりも前記中心軸側に存在していることを特徴とする請求項1記載のLED電球。
  6. 前記グローブから放熱部方向に出射される光を前記グローブ方向に反射する反射板を前記放熱部と前記グローブとの接合部に設けたことを特徴とする請求項1記載のLED電球。
  7. 前記放熱部と前記グローブとの接合部にくびれ部を設けたことを特徴とする請求項1記載のLED電球。
  8. 請求項1乃至7のいずれか一記載のLED電球と;
    前記LED電球が装着されるソケットを有した照明器具本体と;
    を備えたことを特徴とする照明器具。
JP2008311077A 2008-01-07 2008-12-05 Led電球及び照明器具 Expired - Fee Related JP5353216B2 (ja)

Priority Applications (1)

Application Number Priority Date Filing Date Title
JP2008311077A JP5353216B2 (ja) 2008-01-07 2008-12-05 Led電球及び照明器具

Applications Claiming Priority (7)

Application Number Priority Date Filing Date Title
JP2008000268 2008-01-07
JP2008000268 2008-01-07
JP2008130747 2008-05-19
JP2008130747 2008-05-19
JP2008199049 2008-07-31
JP2008199049 2008-07-31
JP2008311077A JP5353216B2 (ja) 2008-01-07 2008-12-05 Led電球及び照明器具

Publications (2)

Publication Number Publication Date
JP2010056059A true JP2010056059A (ja) 2010-03-11
JP5353216B2 JP5353216B2 (ja) 2013-11-27

Family

ID=40853021

Family Applications (1)

Application Number Title Priority Date Filing Date
JP2008311077A Expired - Fee Related JP5353216B2 (ja) 2008-01-07 2008-12-05 Led電球及び照明器具

Country Status (5)

Country Link
US (1) US8450915B2 (ja)
EP (1) EP2228587B1 (ja)
JP (1) JP5353216B2 (ja)
CN (1) CN101910710B (ja)
WO (1) WO2009087897A1 (ja)

Cited By (23)

* Cited by examiner, † Cited by third party
Publication number Priority date Publication date Assignee Title
JP2011171277A (ja) * 2010-01-19 2011-09-01 Ichikoh Ind Ltd 車両用灯具の半導体型光源の光源ユニット、車両用灯具
JP2011171276A (ja) * 2010-01-19 2011-09-01 Ichikoh Ind Ltd 車両用灯具の半導体型光源の光源ユニット、車両用灯具
JP2011244141A (ja) * 2010-05-17 2011-12-01 Panasonic Electric Works Co Ltd 可視光通信led照明システム
WO2011152116A1 (ja) 2010-05-31 2011-12-08 シャープ株式会社 照明装置
JP2012022897A (ja) * 2010-07-14 2012-02-02 Panasonic Corp ランプ及び照明装置
JP2012099335A (ja) * 2010-11-02 2012-05-24 Rohm Co Ltd Led電球
JP2012113937A (ja) * 2010-11-24 2012-06-14 Rohm Co Ltd Led電球
JP2013074266A (ja) * 2011-09-29 2013-04-22 Hokumei Electric Industry Co Ltd 光源ユニット
JP2013524441A (ja) * 2010-04-02 2013-06-17 ジーイー ライティング ソリューションズ エルエルシー 軽量ヒートシンク及びこれを使用するledランプ
KR101295281B1 (ko) * 2011-08-31 2013-08-08 엘지전자 주식회사 조명 장치
US8523395B2 (en) 2010-07-22 2013-09-03 Rohm Co., Ltd. Light emitting diode lamp and method for manufacturing the same
WO2013161164A1 (ja) 2012-04-27 2013-10-31 ソニー株式会社 電球型光源装置及び透光性カバー
JP2013239465A (ja) * 2010-11-30 2013-11-28 Lg Innotek Co Ltd 照明装置
US8610141B2 (en) 2010-04-15 2013-12-17 Liquid Design Systems, Inc. Three-dimensional LED substrate and LED lighting device
CN103649636A (zh) * 2011-03-23 2014-03-19 长寿灯泡有限责任公司 用于基于led的灯泡或灯具装置的传热组件
KR101396591B1 (ko) 2012-11-13 2014-05-20 에스엔제이 주식회사 전구형 led 램프
US8847491B2 (en) 2012-01-06 2014-09-30 Sony Corporation Electric light bulb type light source apparatus
US8956017B2 (en) 2011-02-28 2015-02-17 Kabushiki Kaisha Toshiba Lighting apparatus
JP2015146325A (ja) * 2015-03-27 2015-08-13 北明電気工業株式会社 光源ユニット、トンネル用照明装置、街灯用照明装置
US9185773B2 (en) 2012-01-13 2015-11-10 Sony Corporation Electric light bulb type light source apparatus
US9841175B2 (en) 2012-05-04 2017-12-12 GE Lighting Solutions, LLC Optics system for solid state lighting apparatus
US9951938B2 (en) 2009-10-02 2018-04-24 GE Lighting Solutions, LLC LED lamp
US10340424B2 (en) 2002-08-30 2019-07-02 GE Lighting Solutions, LLC Light emitting diode component

Families Citing this family (40)

* Cited by examiner, † Cited by third party
Publication number Priority date Publication date Assignee Title
US7758223B2 (en) 2005-04-08 2010-07-20 Toshiba Lighting & Technology Corporation Lamp having outer shell to radiate heat of light source
JP4569683B2 (ja) * 2007-10-16 2010-10-27 東芝ライテック株式会社 発光素子ランプ及び照明器具
JP5353216B2 (ja) 2008-01-07 2013-11-27 東芝ライテック株式会社 Led電球及び照明器具
CN101615643A (zh) * 2008-06-25 2009-12-30 富准精密工业(深圳)有限公司 发光二极管结构
MX2010014517A (es) * 2008-06-27 2011-02-22 Toshiba Lighting & Technology Lampara de elemento emisor de luz y equipo de iluminacion.
JP5333758B2 (ja) * 2009-02-27 2013-11-06 東芝ライテック株式会社 照明装置および照明器具
US8362677B1 (en) * 2009-05-04 2013-01-29 Lednovation, Inc. High efficiency thermal management system for solid state lighting device
JP5348410B2 (ja) 2009-06-30 2013-11-20 東芝ライテック株式会社 口金付ランプおよび照明器具
JP5354191B2 (ja) * 2009-06-30 2013-11-27 東芝ライテック株式会社 電球形ランプおよび照明器具
JP2011049527A (ja) 2009-07-29 2011-03-10 Toshiba Lighting & Technology Corp Led照明装置
EP2288235A3 (en) * 2009-07-29 2012-12-05 Toshiba Lighting & Technology Corporation LED lighting equipment
KR100980588B1 (ko) * 2009-08-27 2010-09-06 윤인숙 엘이디 전구
JP5601512B2 (ja) * 2009-09-14 2014-10-08 東芝ライテック株式会社 発光装置および照明装置
JP2011071242A (ja) 2009-09-24 2011-04-07 Toshiba Lighting & Technology Corp 発光装置及び照明装置
JP2011091033A (ja) 2009-09-25 2011-05-06 Toshiba Lighting & Technology Corp 発光モジュール、電球形ランプおよび照明器具
US9097415B2 (en) * 2009-09-25 2015-08-04 Koninklijke Philips N.V. Lighting device with magnetically retained light source
CN102032479B (zh) * 2009-09-25 2014-05-07 东芝照明技术株式会社 灯泡型灯以及照明器具
CN102032480B (zh) 2009-09-25 2013-07-31 东芝照明技术株式会社 灯泡型灯以及照明器具
CN102032481B (zh) 2009-09-25 2014-01-08 东芝照明技术株式会社 附带灯口的照明灯及照明器具
JP5327472B2 (ja) * 2009-09-25 2013-10-30 東芝ライテック株式会社 電球形ランプおよび照明器具
DE102010001974A1 (de) * 2010-02-16 2011-08-18 Osram Gesellschaft mit beschränkter Haftung, 81543 Leuchtmittel sowie Verfahren zu dessen Herstellung
JP5257622B2 (ja) 2010-02-26 2013-08-07 東芝ライテック株式会社 電球形ランプおよび照明器具
JP5351817B2 (ja) * 2010-04-14 2013-11-27 株式会社Tosys 照明器具
EP2392853B1 (en) * 2010-06-04 2014-10-29 LG Innotek Co., Ltd. Lighting device
EA201300088A1 (ru) 2010-08-04 2013-06-28 Общество с ограниченной ответственностью "ДиС ПЛЮС" Осветительное устройство
JP4875198B1 (ja) 2010-09-17 2012-02-15 株式会社東芝 Led電球
CN201944569U (zh) * 2010-10-29 2011-08-24 东莞巨扬电器有限公司 一种微波感应led灯泡
WO2012060106A1 (ja) * 2010-11-04 2012-05-10 パナソニック株式会社 電球形ランプ及び照明装置
CN102095102A (zh) * 2010-12-28 2011-06-15 史杰 分体式led灯
CN102588757B (zh) * 2011-01-14 2015-06-17 富瑞精密组件(昆山)有限公司 灯具
JP5671356B2 (ja) * 2011-01-26 2015-02-18 ローム株式会社 Led電球
JP5296122B2 (ja) * 2011-02-28 2013-09-25 株式会社東芝 照明装置
JP5300935B2 (ja) * 2011-08-11 2013-09-25 株式会社東芝 Led電球
JP5799850B2 (ja) * 2012-02-22 2015-10-28 東芝ライテック株式会社 ランプ装置および照明器具
CN102606918A (zh) * 2012-02-28 2012-07-25 深圳市迈锐光电有限公司 一种新型led白光灯具及其白光产生方法
US20140016317A1 (en) * 2012-07-16 2014-01-16 Jst Performance, Inc. Dba Rigid Industries Landing light
US9194576B2 (en) * 2013-06-04 2015-11-24 Component Hardware Group, Inc. LED bulb with heat sink
JP2016213067A (ja) * 2015-05-08 2016-12-15 パナソニックIpマネジメント株式会社 照明装置
CN105202487B (zh) * 2015-10-20 2022-10-25 漳州立达信灯具有限公司 灯泡壳固定结构
US11168879B2 (en) * 2020-02-28 2021-11-09 Omachron Intellectual Property Inc. Light source

Citations (7)

* Cited by examiner, † Cited by third party
Publication number Priority date Publication date Assignee Title
JP2000083343A (ja) * 1998-09-03 2000-03-21 Mitsubishi Electric Corp モーターフレーム及びモーターフレームの製造方法
JP2005513815A (ja) * 2001-12-29 2005-05-12 杭州富陽新穎電子有限公司 発光ダイオード及び発光ダイオード・ランプ
JP2006502551A (ja) * 2002-10-03 2006-01-19 ゲルコアー リミテッド ライアビリティ カンパニー Ledベースのモジュール式ランプ
JP2006040727A (ja) * 2004-07-27 2006-02-09 Matsushita Electric Works Ltd 発光ダイオード点灯装置及び照明器具
JP3121916U (ja) * 2006-03-08 2006-06-01 超▲家▼科技股▲扮▼有限公司 Ledランプおよびその熱放散構造
JP2006310057A (ja) * 2005-04-27 2006-11-09 Arumo Technos Kk Led照明灯及びled点灯制御回路
JP2006313731A (ja) * 2005-04-08 2006-11-16 Toshiba Lighting & Technology Corp ランプ

Family Cites Families (115)

* Cited by examiner, † Cited by third party
Publication number Priority date Publication date Assignee Title
US534665A (en) * 1895-02-26 Method of casting projectiles
US534038A (en) * 1895-02-12 Dynamo-electric machine
US356107A (en) * 1887-01-18 Ella b
US1972790A (en) 1932-07-15 1934-09-04 Crouse Hinds Co Electric hand lamp
GB1601461A (en) 1977-05-21 1981-10-28 Amp Inc Electrical junction box
JPS57152706A (en) 1981-03-17 1982-09-21 T C Denshi Kk Antenna
US4503360A (en) 1982-07-26 1985-03-05 North American Philips Lighting Corporation Compact fluorescent lamp unit having segregated air-cooling means
JPH071374B2 (ja) 1984-03-06 1995-01-11 株式会社ニコン 光源装置
JPS6135216A (ja) 1984-07-27 1986-02-19 Sony Corp 金属外観ある一体成形品の製造方法
JPS62190366A (ja) 1986-02-13 1987-08-20 日本水産株式会社 合成含気氷ならびにその製造方法
JPS635581A (ja) 1986-06-25 1988-01-11 Semiconductor Res Found 抵抗器内装型led表示灯の放熱方法
JPS63102265A (ja) 1986-10-20 1988-05-07 Agency Of Ind Science & Technol 半導体装置の製造方法
JPS647204A (en) 1987-06-30 1989-01-11 Fanuc Ltd Preparation of nc data for rough working
USD356107S (en) 1992-05-15 1995-03-07 Fujitsu Limited Developing cartridge for copier
JP3121916B2 (ja) 1992-06-25 2001-01-09 矢橋工業株式会社 石灰焼結体の製造方法
JP2662488B2 (ja) 1992-12-04 1997-10-15 株式会社小糸製作所 自動車用灯具における前面レンズ脚部とシール溝間のシール構造
US5537301A (en) 1994-09-01 1996-07-16 Pacific Scientific Company Fluorescent lamp heat-dissipating apparatus
US5585697A (en) 1994-11-17 1996-12-17 General Electric Company PAR lamp having an integral photoelectric circuit arrangement
EP0835408B1 (en) 1995-06-29 2001-08-22 Siemens Microelectronics, Inc. Localized illumination using tir technology
US6095668A (en) 1996-06-19 2000-08-01 Radiant Imaging, Inc. Incandescent visual display system having a shaped reflector
US5785418A (en) 1996-06-27 1998-07-28 Hochstein; Peter A. Thermally protected LED array
US5857767A (en) 1996-09-23 1999-01-12 Relume Corporation Thermal management system for L.E.D. arrays
US5947588A (en) 1997-10-06 1999-09-07 Grand General Accessories Manufacturing Inc. Light fixture with an LED light bulb having a conventional connection post
EP1047903B1 (en) 1998-09-17 2007-06-27 Koninklijke Philips Electronics N.V. Led lamp
JP3753291B2 (ja) 1998-09-30 2006-03-08 東芝ライテック株式会社 電球形蛍光ランプ
US6502968B1 (en) 1998-12-22 2003-01-07 Mannesmann Vdo Ag Printed circuit board having a light source
JP2000294434A (ja) 1999-04-02 2000-10-20 Hanshin Electric Co Ltd 内燃機関用点火コイル
US6161910A (en) 1999-12-14 2000-12-19 Aerospace Lighting Corporation LED reading light
JP2001243809A (ja) 2000-02-28 2001-09-07 Mitsubishi Electric Lighting Corp Led電球
US6814470B2 (en) 2000-05-08 2004-11-09 Farlight Llc Highly efficient LED lamp
JP4659329B2 (ja) 2000-06-26 2011-03-30 ルネサスエレクトロニクス株式会社 半導体装置及びその製造方法
JP2002075011A (ja) 2000-08-30 2002-03-15 Matsushita Electric Ind Co Ltd 管 球
US6517217B1 (en) 2000-09-18 2003-02-11 Hwa Hsia Glass Co., Ltd. Ornamental solar lamp assembly
JP2002280617A (ja) 2001-03-19 2002-09-27 Matsushita Electric Ind Co Ltd 照明装置
US6598996B1 (en) 2001-04-27 2003-07-29 Pervaiz Lodhie LED light bulb
CN2489462Y (zh) 2001-06-17 2002-05-01 广东伟雄集团有限公司 带镶嵌条的节能灯
JP4674418B2 (ja) 2001-06-29 2011-04-20 パナソニック株式会社 照明装置
JP4076329B2 (ja) 2001-08-13 2008-04-16 エイテックス株式会社 Led電球
JP2003115203A (ja) 2001-10-03 2003-04-18 Matsushita Electric Ind Co Ltd 低圧水銀蒸気放電ランプ及びその製造方法
US6942365B2 (en) 2002-12-10 2005-09-13 Robert Galli LED lighting assembly
US6936855B1 (en) 2002-01-16 2005-08-30 Shane Harrah Bendable high flux LED array
US6685339B2 (en) 2002-02-14 2004-02-03 Polaris Pool Systems, Inc. Sparkle light bulb with controllable memory function
CN2557805Y (zh) * 2002-02-20 2003-06-25 葛世潮 大功率发光二极管灯
US6824296B2 (en) 2002-07-02 2004-11-30 Leviton Manufacturing Co., Inc. Night light assembly
US7111961B2 (en) 2002-11-19 2006-09-26 Automatic Power, Inc. High flux LED lighting device
US7188980B2 (en) 2002-12-02 2007-03-13 Honda Motor Co., Ltd. Head light system
US7153004B2 (en) 2002-12-10 2006-12-26 Galli Robert D Flashlight housing
JP2004193053A (ja) 2002-12-13 2004-07-08 Toshiba Lighting & Technology Corp 電球形蛍光ランプおよび照明器具
US6964501B2 (en) 2002-12-24 2005-11-15 Altman Stage Lighting Co., Ltd. Peltier-cooled LED lighting assembly
JP4038136B2 (ja) 2003-01-13 2008-01-23 シーシーエス株式会社 パワーledを利用したスポット照明装置
EP1447619A1 (fr) 2003-02-12 2004-08-18 Exterieur Vert S.A. Dispositif d'éclairage, notamment projecteur tel que luminaire étanche encastré dans le sol, à refroidissement par ventilation d'air
CN2637885Y (zh) 2003-02-20 2004-09-01 高勇 发光面为曲面的led灯泡
JP3885032B2 (ja) 2003-02-28 2007-02-21 松下電器産業株式会社 蛍光ランプ
AU2003902031A0 (en) 2003-04-29 2003-05-15 Eveready Battery Company, Inc Lighting device
US6921181B2 (en) 2003-07-07 2005-07-26 Mei-Feng Yen Flashlight with heat-dissipation device
US7679096B1 (en) 2003-08-21 2010-03-16 Opto Technology, Inc. Integrated LED heat sink
US7300173B2 (en) 2004-04-08 2007-11-27 Technology Assessment Group, Inc. Replacement illumination device for a miniature flashlight bulb
US7329024B2 (en) 2003-09-22 2008-02-12 Permlight Products, Inc. Lighting apparatus
US6982518B2 (en) 2003-10-01 2006-01-03 Enertron, Inc. Methods and apparatus for an LED light
US6942360B2 (en) 2003-10-01 2005-09-13 Enertron, Inc. Methods and apparatus for an LED light engine
US7144135B2 (en) 2003-11-26 2006-12-05 Philips Lumileds Lighting Company, Llc LED lamp heat sink
JP2005166578A (ja) 2003-12-05 2005-06-23 Hamai Denkyu Kogyo Kk 電球形ledランプ
US7198387B1 (en) 2003-12-18 2007-04-03 B/E Aerospace, Inc. Light fixture for an LED-based aircraft lighting system
US6948829B2 (en) 2004-01-28 2005-09-27 Dialight Corporation Light emitting diode (LED) light bulbs
JP2005286267A (ja) 2004-03-31 2005-10-13 Hitachi Lighting Ltd 発光ダイオードランプ
US7059748B2 (en) 2004-05-03 2006-06-13 Osram Sylvania Inc. LED bulb
US7367692B2 (en) 2004-04-30 2008-05-06 Lighting Science Group Corporation Light bulb having surfaces for reflecting light produced by electronic light generating sources
US7125146B2 (en) 2004-06-30 2006-10-24 H-Tech, Inc. Underwater LED light
EP1774570A2 (en) 2004-07-27 2007-04-18 Koninklijke Philips Electronics N.V. Integrated reflector lamp
CN2722034Y (zh) * 2004-08-25 2005-08-31 深圳市红绿蓝光电科技有限公司 Led照明装置
USD534038S1 (en) 2004-08-26 2006-12-26 Bullet Line, Inc. Ribbed mug
DE102004042186B4 (de) 2004-08-31 2010-07-01 Osram Opto Semiconductors Gmbh Optoelektronisches Bauelement
US7165866B2 (en) 2004-11-01 2007-01-23 Chia Mao Li Light enhanced and heat dissipating bulb
JP2005123200A (ja) 2004-11-04 2005-05-12 Toshiba Lighting & Technology Corp 電球形蛍光ランプ
JP2006156187A (ja) 2004-11-30 2006-06-15 Mitsubishi Electric Corp Led光源装置及びled電球
JP3787148B1 (ja) 2005-09-06 2006-06-21 株式会社未来 照明ユニット及び照明装置
US7144140B2 (en) 2005-02-25 2006-12-05 Tsung-Ting Sun Heat dissipating apparatus for lighting utility
JP2006244725A (ja) 2005-02-28 2006-09-14 Atex Co Ltd Led照明装置
US7255460B2 (en) 2005-03-23 2007-08-14 Nuriplan Co., Ltd. LED illumination lamp
NL1028678C2 (nl) * 2005-04-01 2006-10-03 Lemnis Lighting Ip Gmbh Koellichaam, lamp en werkwijze voor het vervaardigen van een koellichaam.
JP4482706B2 (ja) 2005-04-08 2010-06-16 東芝ライテック株式会社 電球型ランプ
JP4725231B2 (ja) 2005-04-08 2011-07-13 東芝ライテック株式会社 電球型ランプ
CN100559073C (zh) 2005-04-08 2009-11-11 东芝照明技术株式会社
US7758223B2 (en) * 2005-04-08 2010-07-20 Toshiba Lighting & Technology Corporation Lamp having outer shell to radiate heat of light source
USD534665S1 (en) 2005-04-15 2007-01-02 Toshiba Lighting & Technology Corporation Light emitting diode lamp
US7226189B2 (en) 2005-04-15 2007-06-05 Taiwan Oasis Technology Co., Ltd. Light emitting diode illumination apparatus
CN102496540A (zh) 2005-07-20 2012-06-13 Tbt国际资产管理有限公司 照明用的荧光灯
CA2621160A1 (en) 2005-09-06 2007-03-15 Lsi Industries, Inc. Linear lighting system
JP4715422B2 (ja) 2005-09-27 2011-07-06 日亜化学工業株式会社 発光装置
JP2007188832A (ja) 2006-01-16 2007-07-26 Toshiba Lighting & Technology Corp ランプ
JP2007207576A (ja) 2006-02-01 2007-08-16 Jefcom Kk Ledランプ
US8596819B2 (en) 2006-05-31 2013-12-03 Cree, Inc. Lighting device and method of lighting
TWM309051U (en) 2006-06-12 2007-04-01 Grand Halo Technology Co Ltd Light-emitting device
US7922359B2 (en) 2006-07-17 2011-04-12 Liquidleds Lighting Corp. Liquid-filled LED lamp with heat dissipation means
US7396146B2 (en) 2006-08-09 2008-07-08 Augux Co., Ltd. Heat dissipating LED signal lamp source structure
CN101128041B (zh) 2006-08-15 2010-05-12 华为技术有限公司 接入网和核心网间下行数据隧道失效后的处理方法和系统
WO2008036873A2 (en) 2006-09-21 2008-03-27 Cree Led Lighting Solutions, Inc. Lighting assemblies, methods of installing same, and methods of replacing lights
EP2084452B1 (en) 2006-11-14 2016-03-02 Cree, Inc. Lighting assemblies and components for lighting assemblies
KR101408613B1 (ko) 2006-11-30 2014-06-20 크리, 인코포레이티드 셀프 밸러스트형 고상 조명 장치
JP4753904B2 (ja) 2007-03-15 2011-08-24 シャープ株式会社 発光装置
JP2008277561A (ja) 2007-04-27 2008-11-13 Toshiba Lighting & Technology Corp 照明装置
CN101307887A (zh) 2007-05-14 2008-11-19 穆学利 一种led照明灯泡
CN101680613B (zh) 2007-05-23 2013-10-16 夏普株式会社 照明装置
US8403531B2 (en) 2007-05-30 2013-03-26 Cree, Inc. Lighting device and method of lighting
JP5029893B2 (ja) 2007-07-06 2012-09-19 東芝ライテック株式会社 電球形ledランプおよび照明装置
US9447955B2 (en) 2007-08-22 2016-09-20 Quantum Leap Research Inc. Lighting assembly featuring a plurality of light sources with a windage and elevation control mechanism therefor
JP4569683B2 (ja) 2007-10-16 2010-10-27 東芝ライテック株式会社 発光素子ランプ及び照明器具
JP2009135026A (ja) 2007-11-30 2009-06-18 Toshiba Lighting & Technology Corp Led照明器具
US20090184646A1 (en) 2007-12-21 2009-07-23 John Devaney Light emitting diode cap lamp
JP5353216B2 (ja) 2008-01-07 2013-11-27 東芝ライテック株式会社 Led電球及び照明器具
TWM336390U (en) 2008-01-28 2008-07-11 Neng Tyi Prec Ind Co Ltd LED lamp
CN102175000B (zh) 2008-07-30 2013-11-06 东芝照明技术株式会社 灯装置及照明器具
US7919339B2 (en) 2008-09-08 2011-04-05 Iledm Photoelectronics, Inc. Packaging method for light emitting diode module that includes fabricating frame around substrate
DE202008016231U1 (de) 2008-12-08 2009-03-05 Huang, Tsung-Hsien, Yuan Shan Wärmeableiter-Modul
KR20120032472A (ko) 2009-05-01 2012-04-05 익스프레스 이미징 시스템즈, 엘엘씨 수동 냉각을 구비한 가스-방전 램프 교체

Patent Citations (7)

* Cited by examiner, † Cited by third party
Publication number Priority date Publication date Assignee Title
JP2000083343A (ja) * 1998-09-03 2000-03-21 Mitsubishi Electric Corp モーターフレーム及びモーターフレームの製造方法
JP2005513815A (ja) * 2001-12-29 2005-05-12 杭州富陽新穎電子有限公司 発光ダイオード及び発光ダイオード・ランプ
JP2006502551A (ja) * 2002-10-03 2006-01-19 ゲルコアー リミテッド ライアビリティ カンパニー Ledベースのモジュール式ランプ
JP2006040727A (ja) * 2004-07-27 2006-02-09 Matsushita Electric Works Ltd 発光ダイオード点灯装置及び照明器具
JP2006313731A (ja) * 2005-04-08 2006-11-16 Toshiba Lighting & Technology Corp ランプ
JP2006310057A (ja) * 2005-04-27 2006-11-09 Arumo Technos Kk Led照明灯及びled点灯制御回路
JP3121916U (ja) * 2006-03-08 2006-06-01 超▲家▼科技股▲扮▼有限公司 Ledランプおよびその熱放散構造

Cited By (26)

* Cited by examiner, † Cited by third party
Publication number Priority date Publication date Assignee Title
US10340424B2 (en) 2002-08-30 2019-07-02 GE Lighting Solutions, LLC Light emitting diode component
US9951938B2 (en) 2009-10-02 2018-04-24 GE Lighting Solutions, LLC LED lamp
JP2011171277A (ja) * 2010-01-19 2011-09-01 Ichikoh Ind Ltd 車両用灯具の半導体型光源の光源ユニット、車両用灯具
JP2011171276A (ja) * 2010-01-19 2011-09-01 Ichikoh Ind Ltd 車両用灯具の半導体型光源の光源ユニット、車両用灯具
JP2013524441A (ja) * 2010-04-02 2013-06-17 ジーイー ライティング ソリューションズ エルエルシー 軽量ヒートシンク及びこれを使用するledランプ
US8610141B2 (en) 2010-04-15 2013-12-17 Liquid Design Systems, Inc. Three-dimensional LED substrate and LED lighting device
JP2011244141A (ja) * 2010-05-17 2011-12-01 Panasonic Electric Works Co Ltd 可視光通信led照明システム
WO2011152116A1 (ja) 2010-05-31 2011-12-08 シャープ株式会社 照明装置
JP2012022897A (ja) * 2010-07-14 2012-02-02 Panasonic Corp ランプ及び照明装置
US8523395B2 (en) 2010-07-22 2013-09-03 Rohm Co., Ltd. Light emitting diode lamp and method for manufacturing the same
JP2012099335A (ja) * 2010-11-02 2012-05-24 Rohm Co Ltd Led電球
JP2012113937A (ja) * 2010-11-24 2012-06-14 Rohm Co Ltd Led電球
JP2013239465A (ja) * 2010-11-30 2013-11-28 Lg Innotek Co Ltd 照明装置
US8956017B2 (en) 2011-02-28 2015-02-17 Kabushiki Kaisha Toshiba Lighting apparatus
CN103649636A (zh) * 2011-03-23 2014-03-19 长寿灯泡有限责任公司 用于基于led的灯泡或灯具装置的传热组件
US8905601B2 (en) 2011-08-31 2014-12-09 Lg Electronics Inc. Lighting apparatus having a thermal insulator
KR101295281B1 (ko) * 2011-08-31 2013-08-08 엘지전자 주식회사 조명 장치
JP2013074266A (ja) * 2011-09-29 2013-04-22 Hokumei Electric Industry Co Ltd 光源ユニット
US8847491B2 (en) 2012-01-06 2014-09-30 Sony Corporation Electric light bulb type light source apparatus
US9185773B2 (en) 2012-01-13 2015-11-10 Sony Corporation Electric light bulb type light source apparatus
US9851092B2 (en) 2012-04-27 2017-12-26 Sony Corporation Electric light bulb type light source apparatus and translucent cover
WO2013161164A1 (ja) 2012-04-27 2013-10-31 ソニー株式会社 電球型光源装置及び透光性カバー
US9841175B2 (en) 2012-05-04 2017-12-12 GE Lighting Solutions, LLC Optics system for solid state lighting apparatus
US10139095B2 (en) 2012-05-04 2018-11-27 GE Lighting Solutions, LLC Reflector and lamp comprised thereof
KR101396591B1 (ko) 2012-11-13 2014-05-20 에스엔제이 주식회사 전구형 led 램프
JP2015146325A (ja) * 2015-03-27 2015-08-13 北明電気工業株式会社 光源ユニット、トンネル用照明装置、街灯用照明装置

Also Published As

Publication number Publication date
US20100289396A1 (en) 2010-11-18
EP2228587A1 (en) 2010-09-15
US8450915B2 (en) 2013-05-28
EP2228587A4 (en) 2012-10-03
CN101910710B (zh) 2013-07-31
CN101910710A (zh) 2010-12-08
EP2228587B1 (en) 2014-11-12
WO2009087897A1 (ja) 2009-07-16
JP5353216B2 (ja) 2013-11-27

Similar Documents

Publication Publication Date Title
JP5353216B2 (ja) Led電球及び照明器具
JP5999498B2 (ja) Ledおよび照明装置
CN103486464B (zh) 灯泡形灯及照明器具
JP4995997B2 (ja) ランプ
JP4971530B2 (ja) ランプ
US20130170221A1 (en) Lamp
JP5551552B2 (ja) ランプ
JP2010055993A (ja) 照明装置および照明器具
JP2010205553A (ja) 照明装置
JP2015076281A (ja) 照明装置
JP4989791B2 (ja) ランプ
JP2011054340A (ja) 照明装置
JP5129411B1 (ja) ランプ
JPWO2013042238A1 (ja) 電球形ledランプ
JP5547595B2 (ja) ランプ
JP5524793B2 (ja) ランプ
JP5491345B2 (ja) ランプ
JP2012074251A (ja) ランプ
JP5134164B1 (ja) Ledランプおよび照明装置
JP5574425B2 (ja) ランプ
JP2012074249A (ja) ランプ
JP2014146574A (ja) ランプ及び照明装置
EP2662615A1 (en) Bulb-type lamp and luminaire
JP2014146573A (ja) ランプ及び照明装置

Legal Events

Date Code Title Description
A621 Written request for application examination

Free format text: JAPANESE INTERMEDIATE CODE: A621

Effective date: 20110307

RD02 Notification of acceptance of power of attorney

Free format text: JAPANESE INTERMEDIATE CODE: A7422

Effective date: 20120821

A521 Written amendment

Free format text: JAPANESE INTERMEDIATE CODE: A821

Effective date: 20120822

A977 Report on retrieval

Free format text: JAPANESE INTERMEDIATE CODE: A971007

Effective date: 20120913

A131 Notification of reasons for refusal

Free format text: JAPANESE INTERMEDIATE CODE: A131

Effective date: 20120925

A521 Written amendment

Free format text: JAPANESE INTERMEDIATE CODE: A523

Effective date: 20121122

A131 Notification of reasons for refusal

Free format text: JAPANESE INTERMEDIATE CODE: A131

Effective date: 20130402

A521 Written amendment

Free format text: JAPANESE INTERMEDIATE CODE: A523

Effective date: 20130523

TRDD Decision of grant or rejection written
A01 Written decision to grant a patent or to grant a registration (utility model)

Free format text: JAPANESE INTERMEDIATE CODE: A01

Effective date: 20130730

A61 First payment of annual fees (during grant procedure)

Free format text: JAPANESE INTERMEDIATE CODE: A61

Effective date: 20130812

LAPS Cancellation because of no payment of annual fees