JP2010009674A - 半導体装置 - Google Patents

半導体装置 Download PDF

Info

Publication number
JP2010009674A
JP2010009674A JP2008168093A JP2008168093A JP2010009674A JP 2010009674 A JP2010009674 A JP 2010009674A JP 2008168093 A JP2008168093 A JP 2008168093A JP 2008168093 A JP2008168093 A JP 2008168093A JP 2010009674 A JP2010009674 A JP 2010009674A
Authority
JP
Japan
Prior art keywords
semiconductor device
voltage
temperature
memory cell
temperature sensor
Prior art date
Legal status (The legal status is an assumption and is not a legal conclusion. Google has not performed a legal analysis and makes no representation as to the accuracy of the status listed.)
Granted
Application number
JP2008168093A
Other languages
English (en)
Other versions
JP5259270B2 (ja
JP2010009674A5 (ja
Inventor
Masao Shinozaki
雅雄 篠崎
Current Assignee (The listed assignees may be inaccurate. Google has not performed a legal analysis and makes no representation or warranty as to the accuracy of the list.)
Renesas Technology Corp
Original Assignee
Renesas Technology Corp
Priority date (The priority date is an assumption and is not a legal conclusion. Google has not performed a legal analysis and makes no representation as to the accuracy of the date listed.)
Filing date
Publication date
Application filed by Renesas Technology Corp filed Critical Renesas Technology Corp
Priority to JP2008168093A priority Critical patent/JP5259270B2/ja
Priority to US12/432,796 priority patent/US7961500B2/en
Publication of JP2010009674A publication Critical patent/JP2010009674A/ja
Publication of JP2010009674A5 publication Critical patent/JP2010009674A5/ja
Priority to US13/102,295 priority patent/US8279696B2/en
Priority to US13/584,271 priority patent/US8611166B2/en
Application granted granted Critical
Publication of JP5259270B2 publication Critical patent/JP5259270B2/ja
Active legal-status Critical Current
Anticipated expiration legal-status Critical

Links

Images

Classifications

    • GPHYSICS
    • G11INFORMATION STORAGE
    • G11CSTATIC STORES
    • G11C11/00Digital stores characterised by the use of particular electric or magnetic storage elements; Storage elements therefor
    • G11C11/21Digital stores characterised by the use of particular electric or magnetic storage elements; Storage elements therefor using electric elements
    • G11C11/34Digital stores characterised by the use of particular electric or magnetic storage elements; Storage elements therefor using electric elements using semiconductor devices
    • G11C11/40Digital stores characterised by the use of particular electric or magnetic storage elements; Storage elements therefor using electric elements using semiconductor devices using transistors
    • G11C11/41Digital stores characterised by the use of particular electric or magnetic storage elements; Storage elements therefor using electric elements using semiconductor devices using transistors forming static cells with positive feedback, i.e. cells not needing refreshing or charge regeneration, e.g. bistable multivibrator or Schmitt trigger
    • G11C11/413Auxiliary circuits, e.g. for addressing, decoding, driving, writing, sensing, timing or power reduction

Landscapes

  • Engineering & Computer Science (AREA)
  • Microelectronics & Electronic Packaging (AREA)
  • Computer Hardware Design (AREA)
  • Static Random-Access Memory (AREA)

Abstract

【課題】スタティック型メモリセルを有する半導体装置において、SNMとライトマージンの両方を同時に確保することができる技術を提供する。
【解決手段】スタティック型メモリセル(MC)1を有する半導体装置である。そして、複数のスタティック型メモリセル(MC)1が行列状に配置されたメモリセルアレイ5と、半導体装置内の温度を検知する温度センサ回路6と、メモリセルMCの書き込み又は読み出し動作時に、温度センサ回路6の出力に基づいて、メモリセルアレイ5のワード線WLに供給される電圧を制御するワードドライバ2と、を有する。
【選択図】図1

Description

本発明は、半導体装置に関し、特に、スタティック型メモリセルを有する半導体装置に関する。
本発明者が検討した技術として、例えば、スタティック型メモリセルを有する半導体装置においては、以下の技術が考えられる。
例えば、複数個のスタティック型メモリセルをマトリクス状(行列状)に配置して成るSRAM(Static Random Access Memory)においては、メモリセルの選択端子がロウ方向毎にワード線に結合され、メモリセルのデータ入出力端子がカラム方向毎に相補データ線(相補ビット線とも称される)に結合される。それぞれの相補データ線は、相補データ線に1対1で結合された複数個のカラム選択スイッチを含むY選択スイッチ回路を介して相補コモンデータ線に共通接続されている。そのようなSRAMにおいて、メモリセルアレイに供給される電源電圧は、一定とされる。
なお、このような半導体装置に関する技術としては、例えば、特許文献1,2及び非特許文献1に記載される技術などが挙げられる。
特開2005−108307号公報 特開平06−314491号公報 オバヤシ(S.Obayashi)、他、「ア・65ナノメートル・エスオーシー・エンベデット・6トランジスタ・エスラム・デザイン・フォー・マニュファクチュアリング・ウィズ・リード・アンド・ライト・スタビライジング・サーキッツ(A 65nm SoC Embedded 6T−SRAM Design for Manufacturing with Read and Write Stabilizing Circuits)」、2006・シンポジウム・オン・ブイエルエスアイ・サーキッツ・ダイジェスト・オブ・テクニカル・ペーパーズ(2006 Symposium on VLSI Circuits Digest of Technical Papers)、2006年
ところで、前記のような半導体装置の技術について、本発明者が検討した結果、以下のようなことが明らかとなった。
デバイスの微細化に伴い、SRAMメモリセルを構成するトランジスタの局所的な閾値電圧(Vth)のゆらぎ増大により、Vth管理幅内でSRAMのSNM(Static Noise Margin)とライトマージン(Write Margin)を両立させることが難しくなっている。なお、SNMとは、メモリセルのデータ読み出し時に、メモリセルに記憶されているデータが反転せずに保持することができるマージン(余裕度)をいう。ライトマージンとは、メモリセルのデータ書き込み時に、メモリセルに記憶されているデータを反転させて書き込むことができるマージンをいう。
図23に、SNMとライトマージンの関係を示す。図23において、縦軸は歩留、横軸はSRAMメモリセルのトランジスタの閾値電圧(Vth)を示す。図23に示すように、SNMとライトマージンは、トレードオフの関係にある。すなわち、高温になると閾値電圧が低くなるためSNMが悪化し、低温になると閾値電圧が高くなるためライトマージンは悪化する。
前記非特許文献1では、ワード線に接続された常時オンのn型MOSトランジスタによって、ワード線電位のハイ(High)レベルVWLを電源電圧VDDより低くすることにより、SNMのマージンを向上させる手法が紹介されている。図24に、ワード線WLのハイレベル電圧VWLの波形を示す。図24に示すように、ワード線WLのハイレベル電圧VWLを電源電圧VDDよりΔVだけ低くしている。
しかし、ワード線電位を電源電圧より低くすると、同時にライトマージンが悪化してしまうため、トランジスタの閾値電圧(Vth)に対する動作マージンを十分広げることができない。図25に、ワード線WLのハイレベル電圧VWLを電源電圧VDDよりΔVだけ低くした場合のSNMとライトマージンの関係を示す。図25において、縦軸は歩留、横軸はSRAMメモリセルのトランジスタの閾値電圧(Vth)を示す。また、実線はワード線WLのハイレベル電圧VWLがVDDの場合、破線はワード線WLのハイレベル電圧VWLがVDD−ΔVの場合を示す。図25に示すように、ワード線WLのハイレベル電圧VWLをVDD−ΔVとすることにより、SNMは良くなる(歩留が向上する)。しかし、同時にライトマージンが劣化してしまう(歩留が下がる)。
前記非特許文献1では、ライト(Write)サイクルにおいて、メモリセルのVDD電位(ARVDD)を下げることによりこれを解決している。
しかしながら、メモリセルのVDD電位を下げすぎると、同一カラム上の非活性セルのリテンションマージンが悪化する危険性がある。また、ライトマージンを確保できる電位までARVDDを下げて、その後、ARVDDをVDDまで上げる動作をライトサイクル内で行う必要があるため、サイクル周波数が悪化するという問題が発生する。このため、SNMとライトマージンの両方を同時に確保するには限界があった。
そこで、本発明の目的は、スタティック型メモリセルを有する半導体装置において、SNMとライトマージンの両方を同時に確保することができる技術を提供することにある。
本発明の前記並びにその他の目的と新規な特徴は、本明細書の記述及び添付図面から明らかになるであろう。
なお、本出願人は、発明した結果に基づき、「SNMとライトマージンを同時に確保するために温度センサを用いて、その出力によりワード線ドライバの出力電圧を制御するSRAM」という観点で先行技術調査を行った。その結果、前記特許文献1,2が抽出された。
特許文献1には、「温度検出回路の出力電圧=基準電圧発生回路の出力電圧」となる温度T0を検出して、この温度T0以下の低温度領域においては、可変電位発生回路により基準電圧Vrefの値を外部電源Vddよりも任意の電圧△Vだけ下げ、この下げた電圧(Vdd−△V)を可変電位電源Vcpとしてワード線ドライバを通じてメモリセルのワード線WLに供給するようにしたSRAMが記載されている。特許文献1は、データ保持時(非活性化時)の安定化を目的としたものであり、データ保持時に、温度が上がると非選択ワード線の電位を上げるというものである。
特許文献2には、温度センサの検出結果に基づいてメモリセル電圧を制御させることによって、動作範囲の拡大を図ったSRAMが記載されている。特許文献2は、低温時のデータ保持の安定化を目的としたものであり、アクティブ時については検討がなされていない。
本願において開示される実施例のうち、代表的なものの概要を簡単に説明すれば、次のとおりである。
すなわち、代表的な実施例による半導体装置は、スタティック型メモリセルを有する半導体装置である。そして、複数のスタティック型メモリセルが行列状に配置されたメモリセルアレイと、半導体装置内の温度を検知する温度センサ回路と、メモリセルの書き込み又は読み出し動作時に、温度センサ回路の出力に基づいて、メモリセルアレイに供給される電圧を制御する電圧制御回路と、を有するものである。
代表的な実施例によれば、広い閾値電圧Vth変動範囲で歩留を確保可能となる。
以下、本発明の実施の形態を図面に基づいて詳細に説明する。なお、実施の形態を説明するための全図において、同一部材には原則として同一の符号を付し、その繰り返しの説明は省略する。また、特にことわらない限り、端子名を表す記号は同時に配線名、信号名も兼ね、電源の場合はその電圧値も兼ねるものとする。
以下の実施の形態においては便宜上その必要があるときは、複数のセクションまたは実施の形態に分割して説明するが、特に明示した場合を除き、それらは互いに無関係なものではなく、一方は他方の一部または全部の変形例、詳細、補足説明等の関係にある。また、以下の実施の形態において、要素の数等(個数、数値、量、範囲等を含む)に言及する場合、特に明示した場合および原理的に明らかに特定の数に限定される場合等を除き、その特定の数に限定されるものではなく、特定の数以上でも以下でもよい。
(実施の形態1)
図1は本発明の実施の形態1による半導体装置において、SRAMモジュールの構成例を示すブロック図である。
まず、図1により、本実施の形態1の半導体装置におけるSRAMモジュールの構成の一例を説明する。本実施の形態1による半導体装置は、特に制限されないが、公知の半導体集積回路製造技術によってシリコン基板などの一つの半導体基板上に形成される。
本実施の形態1によるSRAMモジュールは、例えば、複数個のスタティック型メモリセル(MC)1がマトリクス状(行列状)に配置されたメモリセルアレイ(Memory Array)5と、メモリセル1の選択端子に接続されたワード線WL0〜WLnを駆動するためのワードドライバ2と、ロウデコーダ(Row Decoder)3と、SRAMモジュールの書き込み/読み出し動作等を制御するコントロールロジック(Control Logic)4と、カラムデコーダ(Column Decoder)11と、カラムスイッチ(Column Switch)12と、ライトアンプ(Write Amp)13と、センスアンプ(Sense Amp)14と、半導体装置内の温度を検知する温度センサ回路6などから構成される。
メモリセル1の選択端子はロウ方向毎にワード線WL0〜WLnに接続され、メモリセル1のデータ入出力端子はカラム方向毎に相補ビット線に接続されている。それぞれの相補ビット線は、カラムスイッチ12に接続されている。
アドレス選択信号AX,AYは、コントロールロジック4を経由してそれぞれロウデコーダ3とカラムデコーダ11に入力されてデコードされる。ロウデコーダ3の出力はワードドライバ2に入力され、ワード線WL0〜WLnの一本を活性化する。
一方、カラムデコーダ11の出力はカラムスイッチ(Column Switch)12に入力され、メモリセルアレイ5内の複数の相補ビット線の内一対と、ライトアンプ13、センスアンプ14とを導通させる。
読み出し(Read)サイクルでは、信号RENがハイレベルに活性化され、コントロールロジック4を経由して信号RENMRをハイレベルに活性化し、センスアンプ14を起動する。ワード線WLで選択されたメモリセル1から読み出されたデータは相補ビット線とカラムスイッチ12を経由して、センスアンプ14で増幅され、読み出しデータ(Read Data)として出力される。
なお、読み出しサイクルとは、センスアンプが活性化され、メモリセルからの読み出しデータがセンスアンプから出力され、センスアンプが非活性化されるまでの期間を含むものとする。
また、読み出し時とは、メモリセルからデータを読み出す際に、読み出されるメモリセルに接続されたワード線が活性化されている期間を含むものとする。
書き込み(Write)サイクルでは信号DICがハイレベルに活性化され、コントロールロジック4を経由して信号DICMRをハイレベルに活性化し、ライトアンプ13を活性化する。外部から書き込みデータ(Write Data)として入力されたデータはライトアンプ13によりカラムスイッチ12を経由して相補ビット線に伝達され、ワード線WLで選択されたメモリセル1に書き込まれる。また、ワード線WLを駆動するワードドライバ2には温度センサ回路6の出力信号TCNTが入力される。
なお、書き込みサイクルとは、ライトアンプ(書き込みドライバ)が活性化され、メモリセルへのデータ書込みがされ、ライトアンプが非活性化されるまでの期間を含むものとする。
また、書き込み時とは、メモリセルにデータを書き込む際に、書き込まれるメモリセルに接続されたワード線が活性化されている期間を含むものとする。
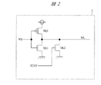
図2は図1に示したワードドライバ2の構成例を示す回路図、図3はワードドライバ2の出力であるワード線WLのハイレベル電圧VWLの温度特性を示す図である。
ロウデコーダ3によって該当ワードドライバ2が選択されると、信号WSがロウレベルとなりn型MOSトランジスタMn1がオフとなり、p型MOSトランジスタMp1によってワード線WLがハイレベルに引き上げられる。この時、信号TCNTがハイレベルに選択されると、ワード線WLのハイレベルはp型MOSトランジスタMp1とn型MOSトランジスタMn2の電流の引き合いにより電源電圧VDDより低い電圧(VDD−ΔV)になる。
温度センサ回路6は、低温では信号TCNTがロウレベル(TCNT=L)、高温では信号TCNTがハイレベル(TCNT=H)となる特性を持っている。このため、図3に示すように、ワード線WLのハイレベル電圧VWLは低温ではVWL=VDD、高温ではVWL=VDD−ΔVとなるような特性を持つ。
図4は、図1に示した温度センサ回路6の構成の一例を示す回路図、図5は温度センサ回路6の出力信号TCNTの温度特性を示す図である。
図4に示すように、温度センサ回路6は、温度センサ部61とシュミットトリガ回路62などから構成される。温度センサ部61は、差動アンプ63、電流源64、バイポーラトランジスタQ1,Q2、抵抗R1〜R4などから構成される。
温度センサ部61は、バイポーラトランジスタQ1,Q2の2段分のVBE電圧を差動アンプ63で増幅することによって、出力電圧VOUTを、図5に示すように低温で高く、高温で低くなるような温度勾配を持たせることが可能となる。出力電圧VOUTの勾配、および出力電圧VOUTが基準電圧VREFと交差する温度は抵抗R1〜R4の値を適当に設定することによって可能となる。
温度センサ回路6の出力(信号TCNT)は、複数のメモリモジュールに分配されるため、ノイズ耐性を考慮すると出力電圧VOUTのようなアナログ信号をデジタル信号レベルに変換した方が、都合が良い。そのため、シュミットトリガ回路62によってアナログレベルの出力電圧VOUTをデジタル信号TCNTに変換している。シュミットトリガ回路62では、低温から高温になる場合にデジタル信号TCNTがロウレベル(L)からハイレベル(H)に切り替わる閾値温度はT2、高温から低温になる場合に信号TCNTがハイレベル(H)からロウレベル(L)に切り替わる閾値温度がT1となるようなヒステリシス特性を持つシュミットトリガ回路を用いる。これは、温度がちょうど判定レベル付近の場合に、信号TCNTが高頻度でハイ(H)とロウ(L)が切り替わることにより、消費電力やノイズが増大することを防ぐことを目的としている。
このように、ワード線WLのハイレベル電圧VWLを、高温ではVWL=VDD−ΔV とすることができるため、図6に示したように、SNMの温度特性を補償することができるため、図8に示すように歩留を確保できる閾値電圧Vthの範囲を広げることが可能となる。
図6は、本実施の形態1において、6Tr−SRAMを構成するn型MOSトランジスタ(Access−MOS,Driver−MOS)の閾値電圧Vthと、SNM起因のSRAM歩留を示している。図6において、縦軸は歩留(SNM)、横軸はSRAMメモリセルのトランジスタの閾値電圧(Vth)を示す。また、101はワード線WLのハイレベル電圧VWLがVDDで温度が−40度の場合、102はワード線WLのハイレベル電圧VWLがVDDで温度が125度の場合、103はワード線WLのハイレベル電圧VWLがVDD−ΔVで温度が125度の場合を示す。
SNMは、メモリセルのn型MOSトランジスタの閾値電圧Vthが高いほどマージンが大きくなり、歩留が向上する。同様に、SNMは、高温になるとマージンが小さくなり、歩留が低下する特性を持つ(101→102)。本実施の形態1では、温度センサ回路6の出力(信号TCNT)により、高温になるとワード線WLのハイレベル電圧VWLがVDDからΔVだけ下がる(102→103)。SNMはVWLが低いほどマージンが向上するため、温度特性によるSNMの悪化を補償することが可能となる。
図7は、本実施の形態1において、6Tr−SRAMを構成するn型MOSトランジスタの閾値電圧Vthと、ライトマージン起因のSRAM歩留を示している。図7において、縦軸は歩留(ライトマージン)、横軸はSRAMメモリセルのトランジスタの閾値電圧(Vth)を示す。また、201はワード線WLのハイレベル電圧VWLがVDD−ΔVで温度が125度の場合、202はワード線WLのハイレベル電圧VWLがVDD−ΔVで温度が−40度の場合、203はワード線WLのハイレベル電圧VWLがVDDで温度が−40度の場合を示す。
ライトマージンはSNMと相反する特性を持つ。すなわちn型MOSトランジスタの閾値電圧Vthが低いほどマージンが大きくなり、歩留が向上する。同様に、ライトマージンは低温になるとマージンが小さくなり、歩留が低下する(201→202)。温度センサ回路6の出力(信号TCNT)により、低温になるとワード線WLのハイレベル電圧VWLがVDD−ΔVからVDDに戻るため(202→203)、ライトマージンに対しても温度特性によるマージン悪化を補償することが可能となる。
図8はSNMとライトマージンを総合した、n型MOSトランジスタの閾値電圧Vthに対するSRAM歩留を示した図である。温度センサ回路により、高温ではVWLがVDDからVDD−ΔVに自動的に調整されるため、歩留が確保できるVth範囲を広げることが可能となる。
(実施の形態2)
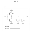
図9は、本発明の実施の形態2による半導体装置において、SRAMモジュールの構成例を示すブロック図、図10は、図9に示したワードドライバ2の構成例を示す回路図である。
本実施の形態2では、温度センサ回路6の出力に加えて、ヒューズ(FUSE)7の切断/非切断による信号をワードドライバ2に入力している。
信号TCNT<0>は温度センサ回路6の出力信号、信号TCNT<1>はヒューズ7の切断信号である。これらの信号がワードドライバ2に伝達され、それぞれの信号TCNT<0>,TCNT<1>が、ワード線WLに接続されたn型MOSトランジスタMn2,Mn3のゲートに入力される。ヒューズ7は、例えばウエハテスト時にチップ内部に用意されたモニタ回路によってチップ毎にアクセスMOSトランジスタ(Access MOS)の閾値電圧Vthを評価し、閾値電圧Vthが基準より低い場合に、ヒューズ7を切断して信号TCNT<1> をハイレベル固定とする。
これによりウエハ内でVthが低くばらついたチップのSNMを改善することが可能となり、ウエハ内のSRAM歩留を改善できることができる。これは温度センサ回路による温度特性の補償と独立に行うことができるので、前記実施の形態1で述べた歩留改善と合わせて、広いVth範囲で歩留を確保することが可能となる。
また、図9の構成では、温度センサ回路6の出力信号TCNTは、SRAMモジュール10内のフリップフロップにおいて、クロックCKで一旦同期化される。温度変動による信号TCNTの変動はクロックに対して非同期であるため、そのままワードドライバ2に入力されると、ワード線WLのハイレベル期間中にワード線のハイレベルが変化する可能性があり、回路設計、テスタ評価を困難にする可能性がある。信号TCNTをクロックCKで同期化することによって、アドレス選択信号AX,AY等と同等に扱うことが可能となる。
(実施の形態3)
図11は、本発明の実施の形態3による半導体装置において、SRAMモジュールの構成例を示すブロック図、図12は、図11に示したワードドライバ2及びドライバ電源回路8の構成例を示す回路図である。
図11の構成例では、信号TCNT<1:0>はドライバ電源回路8に入力され、ワードドライバ2の電源として電源電圧VDDRが供給される。ドライバ電源回路8から出力される電源電圧VDDRの電圧レベルは、p型MOSトランジスタMp1と、信号TCNT<1:0>によって選択されたp型MOSトランジスタMp2およびMp3の電流の引き合いによって決まる。ワード線WLのハイレベルはワードドライバ2の電源電圧VDDRとなるため、前記実施の形態2における図9の構成例と同様に、温度センサ回路6の出力とヒューズ(FUSE)7の切断信号によってワード線WLのハイレベル電圧を変えることが可能となる。
(実施の形態4)
図13は、本発明の実施の形態4による半導体装置において、SRAMモジュールの構成例を示すブロック図、図14は、図13に示したワードドライバ2及びドライバ電源回路8の構成例を示す回路図、図15は、温度センサ部61の出力電圧VOUTとワード線WLのハイレベル電圧VWLの温度特性を示す図である。
図13の構成例は、図1のCMOSレベルの温度センサ回路6の出力信号TCNTの代わりに、アナログレベルの温度センサ部61の出力電圧VOUTを直接ドライバ電源回路8に入力している。温度センサ部61は、図4に示した温度センサ回路6の前段部分であり、図15に示すように出力電圧VOUTが低温で高く、高温で低くなるような温度特性を持つ。VOUTは、図14のワードドライバ2のp型MOSトランジスタMp2のゲートに入力されており、高温では出力電圧VOUTが低くなるのでp型MOSトランジスタMp2の電流駆動力が上昇し、p型MOSトランジスタMp1との電流の引き合いによって決まる電源電圧VDDRのレベルを下げることが可能となる。メモリセルアレイ1個に対して温度センサ部を1個搭載できる場合では、図1の構成例に比べて、より精度の良い温度補償を得ることができる。
(実施の形態5)
図16は、本発明の実施の形態5による半導体装置において、SRAMモジュールの構成例を示すブロック図、図17は、ライトアシスト回路を用いたメモリセルへの書き込み動作を示す波形図、図18は、図17の拡大図である。
図16は、メモリセルアレイ(Memory Array)5のライトアシストレベルの調整に対して温度センサ回路6出力を用いた構成例を示している。図17はライトアシスト回路(Write Assist)16を用いたメモリセルへの書き込み動作を示している。
Yアドレスをデコードしたカラム選択信号YS0がハイレベルとなり、選択されたメモリセルアレイのビット線対の片側(DT)はライトアンプ13によってカラムスイッチ12を介してロウレベルに下げられる。同時に、Xアドレスをデコードしたワード線信号WL0がハイレベルになり、選択されたメモリセル1の内部ノードを反転させる。このとき、メモリセル1のp型MOSトランジスタのソース電圧ARVDDは、ライトアシスト回路16によってVDD−ΔVARVDDまで引き下げられる。ライトアシスト回路16では、カラム選択信号YS0と同時にライトイネーブル信号WICMRがハイレベルとなり、ARVDD0を引き下げ、p型MOSトランジスタMP3がオンすることによりARVDDを引き下げるが、このときARVDDは0Vまでは下がらず、ライトアシスト回路16のp型MOSトランジスタMP3,MP4の閾値電圧Vthで決まるレベルにとどまる。
このように書き込み動作時にARVDDを下げることにより、メモリセル1のp型MOSトランジスタのオン電流が弱くなるため、n型MOSトランジスタの閾値電圧Vthが高い場合でも安定してメモリセル1に書き込みを行うことができる。しかし、一方でARVDDを下げすぎると副作用も存在する。ARVDDには書き込み動作が行われるメモリセル以外にも、アクセスが行われないその他もメモリセルが接続されているが、ARVDDが下がり過ぎるとデータリテンション不良と呼ばれる、メモリセルのデータの破壊が発生する。
このようなデータリテンション不良が起こるARVDD下限電圧は高温ほど高くなる。従ってライトマージンが小さい低温時にはΔVARVDDを大きく、リテンション不良マージンが小さい高温時にはΔVARVDDを小さくすれば、書き込みとデータリテンションのマージンを両立できる。これを実現するために、p型MOSトランジスタMP5の閾値電圧Vthを低く、p型MOSトランジスタMP4の閾値電圧Vthを高く作り、低温時にTCNT=”L”となる温度センサ回路6をp型MOSトランジスタMP5のゲートに接続する。低温時にはp型MOSトランジスタMP5の閾値電圧VthによってARVDDが決まり、高温時にはp型MOSトランジスタMP4の閾値電圧VthによりARVDDが決まるため、前記のように低温時にはΔVARVDDを大きく、高温時にはΔVARVDDを小さくすることが可能となる。
(実施の形態6)
図19は、本発明の実施の形態6による半導体装置において、SRAMモジュールの構成例を示すブロック図、図20は、図19に示した降圧回路(2)17の構成例を示す回路図、図21は、降圧回路(2)17の出力電圧VDD1の温度特性を示す図である。
図19は温度センサ回路6によってワード線電圧を変えるその他の構成例を示す。半導体装置に供給される電源電圧VDDを降圧回路(1)によってVDD−ΔVまで降圧してメモリセルアレイを含む各ゲートの電源として供給しているが、ワードドライバ2に対しては温度センサ回路6で制御された降圧回路(2)17で降圧されたVDD1を電源として供給する構成例である。
ここで、温度センサ回路6の出力TCは図21に示すように半導体装置の温度補償範囲Tmin〜Tmaxの間で{011}{101}{110}の3段階に切り替わる3ビット信号である。図20に示す降圧回路(2)17では、出力TCによってVDD1から抵抗分圧して差動アンプにフィードバックする電圧VR0が切り替わる。差動アンプはVR0とVRが等しくなるように出力電圧VDD1を調整するので、出力TCが<011>の場合にはVDD1を高く、<110>の場合にはVDD1を低くする。
一方、降圧回路(1)は図20と同じ構成であり、<101>が常時選択されている。この結果、ワードドライバ2のワード線WLのハイレベル(=VDD1)は、低温時にはVDD−ΔVより高く、高温時にはVDD−ΔVより低くなる。前記実施の形態3の図11の構成例と異なりワード線電圧をメモリセルアレイより低くするだけでなく、高くすることができるため、より動作マージンを広く設計することが可能となる。
(実施の形態7)
図22は、本発明の実施の形態7による半導体装置において、複数のSRAMモジュールを含むSOCの構成例を示すブロック図である。
図22は、SOC(System On a Chip)15に、本発明を適用した構成例を示す。通常SOCではチップ内に容量の異なる複数のメモリモジュールを搭載している。本実施の形態7によるSOC15は、前記実施の形態1〜6で説明したSRAMモジュール10を複数個搭載している。図22において、module1,module2,module5が大容量のSRAMモジュール、module3が中容量のSRAMモジュール、module4は小容量のSRAMモジュールである。これらのSRAMモジュールは、メモリモジュールの一種である。なお、メモリモジュールとは、複数のメモリセルから構成されるメモリセルアレイ、センスアンプ、ドライバ、デコーダ、その他の周辺回路等を有し、メモリとして独立して機能するものをいう。
メモリ容量が大きくなるほど、閾値電圧Vthのばらつきの大きいSRAMメモリセルが存在する可能性が高くなるため、大容量モジュールでは温度センサ回路6とVth仕上がりに応じたヒューズ7切断を併用して歩留を確保する必要がある。一方、中容量のmodule3は温度センサ回路6のみで歩留が確保可能となり、小容量のmodule4はヒューズも温度センサ回路も必要としない。このようにメモリモジュールのメモリ容量に応じて、温度センサ回路6とヒューズ7を使い分けることが可能となり、メモリモジュール設計の容易化が可能となる。
また、module5は他のmoduleに対してチップ内の離れた場所に配置されるが、特にダイサイズの大きい製品ではチップ内の温度分布が一様でない可能性がある。このため温度センサ回路6をチップ内に複数個搭載し、メモリモジュール(module5)はより近傍の温度センサ回路6の出力を利用する。
以上、本発明者によってなされた発明をその実施の形態に基づき具体的に説明したが、本発明は前記実施の形態に限定されるものではなく、その要旨を逸脱しない範囲で種々変更可能であることはいうまでもない。
このため、例えば複数の実施の形態のそれぞれの一部もしくは全部を適宜組み合わせても良い。
本発明は、SRAMメモリを搭載した同期型半導体メモリに有効であり、とりわけ単体SRAM製品、SOC製品等に効果的である。
本発明の実施の形態1による半導体装置において、SRAMモジュールの構成例を示すブロック図である。 図1に示したワードドライバの構成例を示す回路図である。 本発明の実施の形態1による半導体装置において、ワードドライバの出力であるワード線WLのハイレベル電圧VWLの温度特性を示す図である。 図1に示した温度センサ回路の構成例を示す回路図である。 本発明の実施の形態1による半導体装置において、温度センサ回路の出力信号TCNTの温度特性を示す図である。 本発明の実施の形態1による半導体装置において、6Tr−SRAMを構成するn型MOSトランジスタの閾値電圧Vthと、SNM起因のSRAM歩留を示す図である。 本発明の実施の形態1による半導体装置において、6Tr−SRAMを構成するn型MOSトランジスタの閾値電圧Vthと、ライトマージン起因のSRAM歩留を示す図である。 本発明の実施の形態1による半導体装置において、SNMとライトマージンを総合した、n型MOSトランジスタの閾値電圧Vthに対するSRAM歩留を示す図である。 本発明の実施の形態2による半導体装置において、SRAMモジュールの構成例を示すブロック図である。 図9に示したワードドライバの構成例を示す回路図である。 本発明の実施の形態3による半導体装置において、SRAMモジュールの構成例を示すブロック図である。 図11に示したワードドライバ及びドライバ電源回路の構成例を示す回路図である。 本発明の実施の形態4による半導体装置において、SRAMモジュールの構成例を示すブロック図である。 図13に示したワードドライバ及びドライバ電源回路の構成例を示す回路図である。 本発明の実施の形態4による半導体装置において、温度センサ部の出力電圧VOUTとワード線WLのハイレベル電圧VWLの温度特性を示す図である。 本発明の実施の形態5による半導体装置において、SRAMモジュールの構成例を示すブロック図である。 本発明の実施の形態5による半導体装置において、ライトアシスト回路を用いたメモリセルへの書き込み動作を示す波形図である。 図17の拡大図である。 本発明の実施の形態6による半導体装置において、SRAMモジュールの構成例を示すブロック図である。 図19に示した降圧回路(2)の構成例を示す回路図である。 本発明の実施の形態6による半導体装置において、降圧回路(2)の出力電圧VDD1の温度特性を示す図である。 本発明の実施の形態7による半導体装置において、複数のSRAMモジュールを含むSOCの構成例を示すブロック図である。 本発明の前提として検討した、SNMとライトマージンの関係を示す図である。 本発明の前提として検討した、ワード線のハイレベル電圧の波形を示す図である。 本発明の前提として検討した、ワード線のハイレベル電圧を電源電圧VDDよりΔVだけ低くした場合のSNMとライトマージンの関係を示す図である。
符号の説明
1 メモリセル(MC)
2 ワードドライバ
3 ロウデコーダ(Row Decoder)
4 コントロールロジック(Control Logic)
5 メモリセルアレイ(Memory Array)
6 温度センサ回路
7 ヒューズ(FUSE)
8 ドライバ電源回路
10 SRAMモジュール
11 カラムデコーダ(Column Decoder)
12 カラムスイッチ(Column Switch)
13 ライトアンプ(Write Amp)
14 センスアンプ(Sense Amp)
15 SOC(System On a Chip)
16 ライトアシスト回路(Write Assist)
17 降圧回路(2)
61 温度センサ部
62 シュミットトリガ回路
63 差動アンプ
64 電流源
AX,AY アドレス選択信号
CK クロック
Mn1〜Mn3 n型MOSトランジスタ
Mp1〜Mp3,MP3〜MP5 p型MOSトランジスタ
Q1,Q2 バイポーラトランジスタ
R1〜R4 抵抗
VOUT 出力電圧
VREF 基準電圧
WL ワード線WLのハイレベル電圧
WL ワード線
YS0 カラム選択信号

Claims (8)

  1. スタティック型メモリセルを有する半導体装置であって、
    複数の前記スタティック型メモリセルが行列状に配置されたメモリセルアレイと、
    前記半導体装置内の温度を検知する温度センサ回路と、
    前記スタティック型メモリセルの書き込み又は読み出し動作時に、前記温度センサ回路の出力に基づいて、前記メモリセルアレイに供給される電圧を制御する電圧制御回路と、を有することを特徴とする半導体装置。
  2. 請求項1記載の半導体装置において、
    前記電圧制御回路により制御される電圧は、選択ワード線の電圧であり、
    前記電圧制御回路は、前記半導体装置内の温度が第1温度より低い場合に、前記選択ワード線の電圧を第1電圧に設定し、前記半導体装置内の温度が前記第1温度より高い場合に、前記選択ワード線の電圧を前記第1電圧より低い第2電圧に設定することを特徴とする半導体装置。
  3. 請求項2記載の半導体装置において、
    前記温度センサ回路は、ヒステリシス特性を有するシュミットトリガ回路を備えていることを特徴とする半導体装置。
  4. 請求項2記載の半導体装置において、
    前記半導体装置は、複数のメモリモジュールを有し、
    前記複数のメモリモジュールは、それぞれ、前記メモリセルアレイと前記電圧制御回路とを備え、
    前記複数のメモリモジュールのそれぞれに対して、前記温度センサ回路の出力が共通に入力していることを特徴とする半導体装置。
  5. 請求項4記載の半導体装置において、
    さらに、ヒューズを備え、
    前記電圧制御回路は、前記ヒューズと前記温度センサ回路の出力に基づいて前記メモリセルアレイに供給される電圧を制御することを特徴とする半導体装置。
  6. 請求項5記載の半導体装置において、
    さらに、前記複数のメモリモジュールの各メモリモジュールよりメモリ容量の大きい第2のメモリモジュールと、
    第2の温度センサ回路とを有し、
    前記第2の温度センサ回路の出力が、前記第2のメモリモジュールの電圧制御回路に入力していることを特徴とする半導体装置。
  7. 請求項1記載の半導体装置において、
    前記電圧制御回路により制御される電圧は、前記スタティック型メモリセルの書き込み動作時に、前記スタティック型メモリセルを構成するp型MOSトランジスタのソース側に供給される電圧であることを特徴とする半導体装置。
  8. 請求項7記載の半導体装置において、
    前記電圧制御回路は、前記半導体装置内の温度が第1温度より高い場合に、前記p型MOSトランジスタのソース側に供給される電圧を第1電圧に設定し、前記半導体装置内の温度が前記第1温度より低い場合に、前記p型MOSトランジスタのソース側に供給される電圧を前記第1電圧より低い第2電圧に設定することを特徴とする半導体装置。
JP2008168093A 2008-06-27 2008-06-27 半導体装置 Active JP5259270B2 (ja)

Priority Applications (4)

Application Number Priority Date Filing Date Title
JP2008168093A JP5259270B2 (ja) 2008-06-27 2008-06-27 半導体装置
US12/432,796 US7961500B2 (en) 2008-06-27 2009-04-30 Semiconductor device
US13/102,295 US8279696B2 (en) 2008-06-27 2011-05-06 Semiconductor device
US13/584,271 US8611166B2 (en) 2008-06-27 2012-08-13 Semiconductor device

Applications Claiming Priority (1)

Application Number Priority Date Filing Date Title
JP2008168093A JP5259270B2 (ja) 2008-06-27 2008-06-27 半導体装置

Publications (3)

Publication Number Publication Date
JP2010009674A true JP2010009674A (ja) 2010-01-14
JP2010009674A5 JP2010009674A5 (ja) 2011-04-28
JP5259270B2 JP5259270B2 (ja) 2013-08-07

Family

ID=41447206

Family Applications (1)

Application Number Title Priority Date Filing Date
JP2008168093A Active JP5259270B2 (ja) 2008-06-27 2008-06-27 半導体装置

Country Status (2)

Country Link
US (3) US7961500B2 (ja)
JP (1) JP5259270B2 (ja)

Cited By (7)

* Cited by examiner, † Cited by third party
Publication number Priority date Publication date Assignee Title
JP2010282704A (ja) * 2009-06-08 2010-12-16 Fujitsu Semiconductor Ltd 半導体メモリ
JP2012059330A (ja) * 2010-09-10 2012-03-22 Toshiba Corp 半導体装置
JP2012195033A (ja) * 2011-03-16 2012-10-11 Ricoh Co Ltd 半導体記憶装置
JP2014086112A (ja) * 2012-10-24 2014-05-12 Fujitsu Semiconductor Ltd 半導体記憶装置
US9013914B2 (en) 2012-08-21 2015-04-21 Fujitsu Semiconductor Limited Semiconductor memory device and method for controlling semiconductor memory device
JP2019510333A (ja) * 2016-03-30 2019-04-11 クゥアルコム・インコーポレイテッドQualcomm Incorporated ワード線調整スキーム
WO2025013462A1 (ja) * 2023-07-11 2025-01-16 ソニーセミコンダクタソリューションズ株式会社 半導体装置、センシングデータの読み出し方法及び電子機器

Families Citing this family (22)

* Cited by examiner, † Cited by third party
Publication number Priority date Publication date Assignee Title
JP5259270B2 (ja) * 2008-06-27 2013-08-07 ルネサスエレクトロニクス株式会社 半導体装置
JP2010282317A (ja) * 2009-06-03 2010-12-16 Elpida Memory Inc 内部電源回路、半導体装置、及び半導体装置の製造方法
US8755239B2 (en) * 2011-11-17 2014-06-17 Texas Instruments Incorporated Read assist circuit for an SRAM
US8693235B2 (en) * 2011-12-06 2014-04-08 Taiwan Semiconductor Manufacturing Company, Ltd. Methods and apparatus for finFET SRAM arrays in integrated circuits
US9939827B1 (en) * 2011-12-16 2018-04-10 Altera Corporation Temperature dependent power supply circuitry
US8995218B2 (en) * 2012-03-07 2015-03-31 Semiconductor Energy Laboratory Co., Ltd. Semiconductor device
US8938573B2 (en) * 2012-06-30 2015-01-20 Intel Corporation Row hammer condition monitoring
WO2014045372A1 (ja) * 2012-09-20 2014-03-27 株式会社日立製作所 半導体記憶装置
US9165668B1 (en) * 2013-07-29 2015-10-20 Western Digital Technologies, Inc. Data retention monitoring using temperature history in solid state drives
US9330790B2 (en) 2014-04-25 2016-05-03 Seagate Technology Llc Temperature tracking to manage threshold voltages in a memory
KR102251810B1 (ko) 2014-09-30 2021-05-13 삼성전자주식회사 메모리 장치, 메모리 시스템 및 메모리 장치에 대한 제어 방법
US9607676B2 (en) * 2015-08-12 2017-03-28 Avalanche Technology, Inc. Method and apparatus for adjustment of current through a magnetoresistive tunnel junction (MTJ) based on temperature fluctuations
US9627041B1 (en) * 2016-01-29 2017-04-18 Qualcomm Incorporated Memory with a voltage-adjustment circuit to adjust the operating voltage of memory cells for BTI effect screening
US9922700B2 (en) 2016-05-24 2018-03-20 Taiwan Semiconductor Manufacturing Co., Ltd. Memory read stability enhancement with short segmented bit line architecture
US10403384B2 (en) 2016-06-22 2019-09-03 Darryl G. Walker Testing a semiconductor device including a voltage detection circuit and temperature detection circuit that can be used to generate read assist and/or write assist in an SRAM circuit portion and method therefor
US20170372775A1 (en) 2016-06-22 2017-12-28 Darryl G. Walker Semiconductor devices, circuits and methods for read and/or write assist of an sram circuit portion based on voltage detection and/or temperature detection circuits
US9633734B1 (en) * 2016-07-14 2017-04-25 Ememory Technology Inc. Driving circuit for non-volatile memory
US10062431B2 (en) 2016-11-07 2018-08-28 Ambiq Micro, Inc. SRAM with multiple power domains
US10714166B2 (en) * 2018-08-13 2020-07-14 Micron Technology, Inc. Apparatus and methods for decoding memory access addresses for access operations
US10726926B2 (en) * 2018-09-29 2020-07-28 Sandisk Technologies Llp Hot-cold VTH mismatch using VREAD modulation
US11435811B2 (en) * 2019-12-09 2022-09-06 Micron Technology, Inc. Memory device sensors
US11972793B2 (en) 2021-09-15 2024-04-30 Mavagail Technology, LLC Integrated circuit device including an SRAM portion having end power select circuits

Citations (6)

* Cited by examiner, † Cited by third party
Publication number Priority date Publication date Assignee Title
JPH0685159A (ja) * 1992-09-02 1994-03-25 Hitachi Ltd 半導体記憶装置とそれを用いたメモリ装置
JPH10199242A (ja) * 1997-01-07 1998-07-31 Mitsubishi Electric Corp 内部電源電圧発生回路
JP2000155617A (ja) * 1998-11-19 2000-06-06 Mitsubishi Electric Corp 内部電圧発生回路
JP2006004612A (ja) * 2004-06-15 2006-01-05 Samsung Electronics Co Ltd ヒステリシス特性を有する温度感知回路
JP2007066493A (ja) * 2005-08-02 2007-03-15 Renesas Technology Corp 半導体記憶装置
JP2007193928A (ja) * 2005-12-19 2007-08-02 Matsushita Electric Ind Co Ltd 半導体記憶装置

Family Cites Families (44)

* Cited by examiner, † Cited by third party
Publication number Priority date Publication date Assignee Title
US4020358A (en) * 1975-12-16 1977-04-26 General Electric Company Device system and method for controlling the supply of power to an electrical load
DE3622713A1 (de) * 1986-07-05 1988-01-07 Blaupunkt Werke Gmbh Schaltungsanordnung mit einer brueckenendstufe
JPH06314491A (ja) 1993-04-30 1994-11-08 Hitachi Ltd 半導体記憶装置
US5784328A (en) * 1996-12-23 1998-07-21 Lsi Logic Corporation Memory system including an on-chip temperature sensor for regulating the refresh rate of a DRAM array
US6446019B1 (en) * 1998-12-29 2002-09-03 Intel Corporation Method and apparatus for calibrating analog sensor measurement
JP4027343B2 (ja) * 1999-10-06 2007-12-26 キヤノン株式会社 ズームレンズ及びそれを用いた撮像装置
US6128239A (en) * 1999-10-29 2000-10-03 Hewlett-Packard MRAM device including analog sense amplifiers
US6476716B1 (en) * 2000-11-15 2002-11-05 Dallas Semiconductor Corporation Temperature-controlled variable resistor
US6824307B2 (en) * 2000-12-12 2004-11-30 Harris Corporation Temperature sensor and related methods
US6662136B2 (en) * 2001-04-10 2003-12-09 International Business Machines Corporation Digital temperature sensor (DTS) system to monitor temperature in a memory subsystem
US6735546B2 (en) * 2001-08-31 2004-05-11 Matrix Semiconductor, Inc. Memory device and method for temperature-based control over write and/or read operations
US6608790B2 (en) * 2001-12-03 2003-08-19 Hewlett-Packard Development Company, L.P. Write current compensation for temperature variations in memory arrays
EP1420412B1 (en) * 2002-11-18 2008-07-09 STMicroelectronics S.r.l. Circuit and method for temperature tracing of devices including an element of chalcogenic material, in particular phase change memory devices
US6954394B2 (en) * 2002-11-27 2005-10-11 Matrix Semiconductor, Inc. Integrated circuit and method for selecting a set of memory-cell-layer-dependent or temperature-dependent operating conditions
JP2005108307A (ja) * 2003-09-29 2005-04-21 Nec Electronics Corp 半導体記憶装置
JP4497906B2 (ja) * 2003-12-10 2010-07-07 株式会社東芝 半導体集積回路装置
US7079438B2 (en) * 2004-02-17 2006-07-18 Hewlett-Packard Development Company, L.P. Controlled temperature, thermal-assisted magnetic memory device
JP2005234935A (ja) * 2004-02-20 2005-09-02 Renesas Technology Corp 情報記憶装置
JP4550053B2 (ja) * 2004-06-22 2010-09-22 富士通セミコンダクター株式会社 半導体メモリ
US7142009B1 (en) * 2004-09-15 2006-11-28 Altera Corporation Adaptive power supply voltage regulation for programmable logic
KR100882051B1 (ko) * 2004-10-07 2009-02-09 야마하 가부시키가이샤 온도 센서 및 온도 센서의 보정 방법
US7113424B2 (en) * 2004-11-23 2006-09-26 Infineon Technologies Ag Energy adjusted write pulses in phase-change memories
US7184313B2 (en) * 2005-06-17 2007-02-27 Saifun Semiconductors Ltd. Method circuit and system for compensating for temperature induced margin loss in non-volatile memory cells
CN101180683B (zh) * 2005-09-21 2010-05-26 株式会社瑞萨科技 半导体器件
KR100655084B1 (ko) * 2006-01-17 2006-12-08 삼성전자주식회사 센스앰프 인에이블 회로 및 이를 갖는 반도체 메모리 장치
KR100842996B1 (ko) * 2006-02-06 2008-07-01 주식회사 하이닉스반도체 온도에 따라 선택적으로 변경되는 워드 라인 전압을발생하는 워드 라인 전압 발생기와, 이를 포함하는 플래시메모리 장치 및 그 워드 라인 전압 발생 방법
JP4821363B2 (ja) * 2006-02-21 2011-11-24 日産自動車株式会社 組電池制御装置および組電池制御方法
KR100744131B1 (ko) * 2006-02-21 2007-08-01 삼성전자주식회사 냉온에서 동작 속도가 향상되는 메모리 집적회로 장치
US7460394B2 (en) * 2006-05-18 2008-12-02 Infineon Technologies Ag Phase change memory having temperature budget sensor
US7535786B1 (en) * 2006-04-19 2009-05-19 Darryl Walker Semiconductor device having variable parameter selection based on temperature and test method
US7283414B1 (en) * 2006-05-24 2007-10-16 Sandisk 3D Llc Method for improving the precision of a temperature-sensor circuit
KR100809334B1 (ko) * 2006-09-05 2008-03-05 삼성전자주식회사 상변화 메모리 장치
JP2008071440A (ja) * 2006-09-14 2008-03-27 Matsushita Electric Ind Co Ltd 強誘電体メモリ装置及びその制御方法
KR100851989B1 (ko) * 2006-10-12 2008-08-13 주식회사 하이닉스반도체 반도체 메모리 장치의 온도정보 출력회로 및 방법
ITRM20060652A1 (it) * 2006-12-06 2008-06-07 Micron Technology Inc Compensazione di temperatura di segnali di memoria impiegando segnali digitali
ITRM20060675A1 (it) * 2006-12-14 2008-06-15 Micron Technology Inc Sensore di temperatura su chip
US8018780B2 (en) * 2007-01-18 2011-09-13 Texas Instruments Incorporated Temperature dependent back-bias for a memory array
KR100856060B1 (ko) * 2007-04-06 2008-09-02 주식회사 하이닉스반도체 반도체메모리소자의 내부리프레쉬신호 생성장치
US7796424B2 (en) * 2007-06-21 2010-09-14 Qimonda North America Corp. Memory device having drift compensated read operation and associated method
WO2009008081A1 (ja) * 2007-07-12 2009-01-15 Fujitsu Microelectronics Limited 半導体装置
JP5259270B2 (ja) * 2008-06-27 2013-08-07 ルネサスエレクトロニクス株式会社 半導体装置
KR101020282B1 (ko) * 2008-07-09 2011-03-07 주식회사 하이닉스반도체 온도센서
US8027187B2 (en) * 2008-09-12 2011-09-27 Micron Technology, Inc. Memory sensing devices, methods, and systems
US7755965B2 (en) * 2008-10-13 2010-07-13 Seagate Technology Llc Temperature dependent system for reading ST-RAM

Patent Citations (6)

* Cited by examiner, † Cited by third party
Publication number Priority date Publication date Assignee Title
JPH0685159A (ja) * 1992-09-02 1994-03-25 Hitachi Ltd 半導体記憶装置とそれを用いたメモリ装置
JPH10199242A (ja) * 1997-01-07 1998-07-31 Mitsubishi Electric Corp 内部電源電圧発生回路
JP2000155617A (ja) * 1998-11-19 2000-06-06 Mitsubishi Electric Corp 内部電圧発生回路
JP2006004612A (ja) * 2004-06-15 2006-01-05 Samsung Electronics Co Ltd ヒステリシス特性を有する温度感知回路
JP2007066493A (ja) * 2005-08-02 2007-03-15 Renesas Technology Corp 半導体記憶装置
JP2007193928A (ja) * 2005-12-19 2007-08-02 Matsushita Electric Ind Co Ltd 半導体記憶装置

Cited By (7)

* Cited by examiner, † Cited by third party
Publication number Priority date Publication date Assignee Title
JP2010282704A (ja) * 2009-06-08 2010-12-16 Fujitsu Semiconductor Ltd 半導体メモリ
JP2012059330A (ja) * 2010-09-10 2012-03-22 Toshiba Corp 半導体装置
JP2012195033A (ja) * 2011-03-16 2012-10-11 Ricoh Co Ltd 半導体記憶装置
US9013914B2 (en) 2012-08-21 2015-04-21 Fujitsu Semiconductor Limited Semiconductor memory device and method for controlling semiconductor memory device
JP2014086112A (ja) * 2012-10-24 2014-05-12 Fujitsu Semiconductor Ltd 半導体記憶装置
JP2019510333A (ja) * 2016-03-30 2019-04-11 クゥアルコム・インコーポレイテッドQualcomm Incorporated ワード線調整スキーム
WO2025013462A1 (ja) * 2023-07-11 2025-01-16 ソニーセミコンダクタソリューションズ株式会社 半導体装置、センシングデータの読み出し方法及び電子機器

Also Published As

Publication number Publication date
US20110211385A1 (en) 2011-09-01
US8611166B2 (en) 2013-12-17
US8279696B2 (en) 2012-10-02
US7961500B2 (en) 2011-06-14
US20090323400A1 (en) 2009-12-31
JP5259270B2 (ja) 2013-08-07
US20120320664A1 (en) 2012-12-20

Similar Documents

Publication Publication Date Title
JP5259270B2 (ja) 半導体装置
JP5197241B2 (ja) 半導体装置
JP6161482B2 (ja) 半導体記憶装置
US8331187B2 (en) Memory with low power mode for write
JP4768437B2 (ja) 半導体記憶装置
JP2000149547A (ja) 半導体記憶装置
JP2007122814A (ja) 半導体集積回路及びリーク電流低減方法
JP4416474B2 (ja) 半導体記憶装置
KR101258346B1 (ko) 조정 접지 노드들을 구비한 메모리
JP2007213637A (ja) 内部電源生成回路及びこれらを備えた半導体装置
JP2010015614A (ja) 半導体装置
JP2011159365A (ja) 半導体装置及び半導体装置を含む情報処理システム
US6504784B1 (en) Semiconductor memory device with reduced standby current
JP4907117B2 (ja) 半導体装置
US9001610B2 (en) Semiconductor device generating internal voltage
JP2000310672A (ja) 半導体装置
US11581032B2 (en) Apparatuses and methods of power supply control for temperature compensated sense amplifiers
JP6469764B2 (ja) 半導体記憶装置及びそのテスト方法
JP5533264B2 (ja) 半導体メモリ
JP5974494B2 (ja) 半導体記憶装置の内部電圧生成回路
JP2013114546A (ja) 半導体装置
KR101035174B1 (ko) 반도체 메모리 소자
JPH03198296A (ja) 半導体メモリ
KR20020089606A (ko) 반도체 메모리 장치 및 그것의 독출 방법

Legal Events

Date Code Title Description
A711 Notification of change in applicant

Free format text: JAPANESE INTERMEDIATE CODE: A712

Effective date: 20100528

A521 Request for written amendment filed

Free format text: JAPANESE INTERMEDIATE CODE: A523

Effective date: 20110315

A621 Written request for application examination

Free format text: JAPANESE INTERMEDIATE CODE: A621

Effective date: 20110315

A977 Report on retrieval

Free format text: JAPANESE INTERMEDIATE CODE: A971007

Effective date: 20121010

A131 Notification of reasons for refusal

Free format text: JAPANESE INTERMEDIATE CODE: A131

Effective date: 20121023

A521 Request for written amendment filed

Free format text: JAPANESE INTERMEDIATE CODE: A523

Effective date: 20121207

TRDD Decision of grant or rejection written
A01 Written decision to grant a patent or to grant a registration (utility model)

Free format text: JAPANESE INTERMEDIATE CODE: A01

Effective date: 20130402

A61 First payment of annual fees (during grant procedure)

Free format text: JAPANESE INTERMEDIATE CODE: A61

Effective date: 20130424

FPAY Renewal fee payment (event date is renewal date of database)

Free format text: PAYMENT UNTIL: 20160502

Year of fee payment: 3

R150 Certificate of patent or registration of utility model

Ref document number: 5259270

Country of ref document: JP

Free format text: JAPANESE INTERMEDIATE CODE: R150

Free format text: JAPANESE INTERMEDIATE CODE: R150

S531 Written request for registration of change of domicile

Free format text: JAPANESE INTERMEDIATE CODE: R313531

R350 Written notification of registration of transfer

Free format text: JAPANESE INTERMEDIATE CODE: R350