JP2005294838A - リソグラフィ装置およびデバイス製造方法 - Google Patents

リソグラフィ装置およびデバイス製造方法 Download PDF

Info

Publication number
JP2005294838A
JP2005294838A JP2005100825A JP2005100825A JP2005294838A JP 2005294838 A JP2005294838 A JP 2005294838A JP 2005100825 A JP2005100825 A JP 2005100825A JP 2005100825 A JP2005100825 A JP 2005100825A JP 2005294838 A JP2005294838 A JP 2005294838A
Authority
JP
Japan
Prior art keywords
substrate
burl
burl plate
density
lithographic apparatus
Prior art date
Legal status (The legal status is an assumption and is not a legal conclusion. Google has not performed a legal analysis and makes no representation as to the accuracy of the status listed.)
Granted
Application number
JP2005100825A
Other languages
English (en)
Other versions
JP4350056B2 (ja
Inventor
Koen Jacobus Johannes Maria Zaal
ヤコブス ヨハンネス マリア ザール コエン
Johannes Sophia Maria Mertens Jeroen
ヨハンネス ソフィア マリア メルテンス イエロエン
Joost Jeroen Ottens
イエロエン オッテンス ヨースト
Current Assignee (The listed assignees may be inaccurate. Google has not performed a legal analysis and makes no representation or warranty as to the accuracy of the list.)
ASML Netherlands BV
Original Assignee
ASML Netherlands BV
Priority date (The priority date is an assumption and is not a legal conclusion. Google has not performed a legal analysis and makes no representation as to the accuracy of the date listed.)
Filing date
Publication date
Application filed by ASML Netherlands BV filed Critical ASML Netherlands BV
Publication of JP2005294838A publication Critical patent/JP2005294838A/ja
Application granted granted Critical
Publication of JP4350056B2 publication Critical patent/JP4350056B2/ja
Anticipated expiration legal-status Critical
Expired - Lifetime legal-status Critical Current

Links

Images

Classifications

    • GPHYSICS
    • G03PHOTOGRAPHY; CINEMATOGRAPHY; ANALOGOUS TECHNIQUES USING WAVES OTHER THAN OPTICAL WAVES; ELECTROGRAPHY; HOLOGRAPHY
    • G03FPHOTOMECHANICAL PRODUCTION OF TEXTURED OR PATTERNED SURFACES, e.g. FOR PRINTING, FOR PROCESSING OF SEMICONDUCTOR DEVICES; MATERIALS THEREFOR; ORIGINALS THEREFOR; APPARATUS SPECIALLY ADAPTED THEREFOR
    • G03F7/00Photomechanical, e.g. photolithographic, production of textured or patterned surfaces, e.g. printing surfaces; Materials therefor, e.g. comprising photoresists; Apparatus specially adapted therefor
    • G03F7/70Microphotolithographic exposure; Apparatus therefor
    • G03F7/70216Mask projection systems
    • G03F7/70341Details of immersion lithography aspects, e.g. exposure media or control of immersion liquid supply
    • GPHYSICS
    • G03PHOTOGRAPHY; CINEMATOGRAPHY; ANALOGOUS TECHNIQUES USING WAVES OTHER THAN OPTICAL WAVES; ELECTROGRAPHY; HOLOGRAPHY
    • G03FPHOTOMECHANICAL PRODUCTION OF TEXTURED OR PATTERNED SURFACES, e.g. FOR PRINTING, FOR PROCESSING OF SEMICONDUCTOR DEVICES; MATERIALS THEREFOR; ORIGINALS THEREFOR; APPARATUS SPECIALLY ADAPTED THEREFOR
    • G03F7/00Photomechanical, e.g. photolithographic, production of textured or patterned surfaces, e.g. printing surfaces; Materials therefor, e.g. comprising photoresists; Apparatus specially adapted therefor
    • G03F7/20Exposure; Apparatus therefor
    • G03F7/2041Exposure; Apparatus therefor in the presence of a fluid, e.g. immersion; using fluid cooling means
    • GPHYSICS
    • G03PHOTOGRAPHY; CINEMATOGRAPHY; ANALOGOUS TECHNIQUES USING WAVES OTHER THAN OPTICAL WAVES; ELECTROGRAPHY; HOLOGRAPHY
    • G03FPHOTOMECHANICAL PRODUCTION OF TEXTURED OR PATTERNED SURFACES, e.g. FOR PRINTING, FOR PROCESSING OF SEMICONDUCTOR DEVICES; MATERIALS THEREFOR; ORIGINALS THEREFOR; APPARATUS SPECIALLY ADAPTED THEREFOR
    • G03F7/00Photomechanical, e.g. photolithographic, production of textured or patterned surfaces, e.g. printing surfaces; Materials therefor, e.g. comprising photoresists; Apparatus specially adapted therefor
    • G03F7/70Microphotolithographic exposure; Apparatus therefor
    • G03F7/70691Handling of masks or workpieces

Landscapes

  • Physics & Mathematics (AREA)
  • General Physics & Mathematics (AREA)
  • Exposure And Positioning Against Photoresist Photosensitive Materials (AREA)
  • Exposure Of Semiconductors, Excluding Electron Or Ion Beam Exposure (AREA)
  • Manufacture Or Reproduction Of Printing Formes (AREA)

Abstract

【課題】最終レンズ要素と基板との間の空間に高屈折率の液体を供給することができ、且つ基板の歪曲を低減することができるリソグラフィ装置を提供すること。
【解決手段】本願発明によれば、液浸リソグラフィで使用するためのバール・プレートであって、その周縁部で中央部よりも高いバール密度を有しており、それによって、より高い圧力差が周縁部に適用されたときでも、バールの圧縮が依然として中央部と実質的に同じになるバール・プレートが提供される。
【選択図】図2

Description

本発明は、リソグラフィ装置およびデバイス製造方法に関するものである。
リソグラフィ装置は、基板のターゲット部分に所望のパターンを適用する機械である。リソグラフィ装置は、例えば集積回路(IC)の製造に使用することができる。その状況において、マスクなどのパターン形成デバイスが、ICの個々の層に対応した回路パターンを生成するために使用されることができ、このパターンが、放射線感光材料(レジスト)の層を有する基板(例えばシリコン・ウェハ)上のターゲット部分(例えば1つまたは複数のダイの一部を有するもの)に結像されることができる。一般には、単一の基板が、隣接するターゲット部分網を含み、それらのターゲット部分が連続的に露光される。既知のリソグラフィ装置は、ターゲット部分に全パターンを一度に露光することによって各ターゲット部分を照射するいわゆるステッパと、投影ビームによって所与の方向(「走査」方向)にパターンを走査しながら、それと同期的に、この方向と平行または逆平行方向に基板を走査することによって各ターゲット部分を照射するいわゆるスキャナとを含む。
リソグラフィ投影装置内で、比較的高い屈折率を有する液体(例えば水)の中に基板を液浸して、投影システムの最終要素と基板との空間を充填することが提案されている。この要点は、液体中では露光放射線がより短い波長を有するので、より小さなフィーチャの結像が可能になることにある(液体の効果は、システムの実効NAを増大させることと考えることもでき、また焦点深度を増大させることと考えることもできる)。固体粒子(例えば水晶)を浮遊させた水を含む、他の浸液も提案されている。
しかし、基板を、あるいは基板と基板テーブルとを液体槽内へ浸漬すること(例えば本明細書に参照として全体を組み込む米国特許第4,509,852号明細書参照)は、走査露光中に加速させなければならない大量の液体が存在することを意味する。これは追加の、あるいはより強力なモータを必要とし、液体中の乱流が、望ましくない予測不能な影響を引き起こす可能性がある。
提案されている解決策の1つは、液体供給システムが、液体密閉システムを使用して、基板の局所領域、および投影システムの最終要素と基板との間にのみ液体を提供することである(基板は通常、投影システムの最終要素よりも大きい表面積を有する)。このように構成するために提案されている一方法が、本明細書によって参照として全体を組み込む国際公開第99/49504号パンフレットに開示されている。添付図面の図5および図6に示すように、液体は、好ましくは最終要素に対する基板の移動方向に沿って、少なくとも1つの入口INから基板上に供給され、投影システムの下を通過した後、少なくとも1つの出口OUTから取り除かれる。すなわち、基板が−X方向で要素の下に走査されるとき、液体は、要素の+X側に供給され、−X側で抜き取られる。図5に、液体が入口INを通して供給され、要素のもう一方の側で、低圧源に接続された出口OUTから抜き取られる構成を模式的に示す。図5の例示では、液体は、最終要素に対する基板の移動方向に沿って供給されているが、必ずしもそうである必要はない。最終要素の周りに配置される入口および出口は、様々な向きおよび数とすることが可能であり、一例を図6に例示する。図中では、入口とその両側にある出口とのセットが4つ、最終要素の周りに規則的なパターンで提供されている。
提案されている別の解決策は、投影システムの最終要素と基板テーブルとの間の空間の境界の少なくとも一部に沿って延びるシール部材を液体供給システムに提供することである。シール部材は、Z方向(光軸の方向)ではある程度の相対運動をするかもしれないが、XY面では投影システムに対して実質的に静止している。シールは、シール部材と基板の表面との間に形成される。シールは、ガス・シールなど非接触シールであることが好ましい。そのようなシステムは、本明細書に参照として全体を組み込む欧州特許出願第03252955.4号に開示されている。さらなる解決策を添付図面の図7に示す。
欧州特許出願第03257072.3号では、ツインまたはデュアル・ステージ液浸リソグラフィ装置の概念が開示されている。そのような装置は、基板を支持するための2つのステージを備える。第1の位置にあるステージでは、浸液がない状態で水準測量が行われ、浸液が存在する第2の位置にあるステージで露光が行われる。別法では、装置がただ1つのステージを有している。
従来のリソグラフィ装置では、基板はしばしば、基板の上の大気と、基板の下の部分的に真空にされた空間との圧力差により、ピンプル(pimple)またはバール(burl)プレートにクランプされる。ピンプル・プレートは、基板の周縁に対応する真空壁内部の空間にわたって分配された複数の突起(ピンプルまたはバール)を有する。基板は、バールの上、および任意選択で真空壁の上に位置し、真空壁はピンプルよりも低く構成され、そのため、本明細書に参照として全体を組み込む米国特許第6,232,615号明細書で述べられているように、基板の下の空間内への制御された空気漏れが存在する。バール・プレートの主要な利点は、バールの頂部の総面積が基板の面積に比べて非常に小さく、そのため、基板の裏面の汚染物質粒子が基板とバールとの間に入って基板を歪曲する可能性がそれ相応に低いことである。したがって、クランプ力が圧力差によるものではなく静電気であるときにもバールを使用することができる。
投影レンズの最終要素と基板およびバール・プレートとの間の領域に高屈折率の液体(例えば水)を用いるリソグラフィ装置では、圧力差を生成する真空システムが、基板の縁部の周りで、空気ではなく浸液の漏れに、あるいは空気に加えて浸液の漏れに対処できる必要がある。その問題の1つの解決策は、基板の周縁の周りでの追加の真空排気を提供して漏れた流体に対処するというものである。これは、基板全体に及ぶ圧力差を高め、それにより基板の歪曲が生じる。
したがって最終レンズ要素と基板との間の空間に高屈折率の液体を供給することができ、且つ基板の歪曲を低減することができるリソグラフィ装置を提供することが望まれる。
本発明の1つの観点によれば、
放射線の投影ビームを提供するための照明システムと、
投影ビームの断面にパターンを与えるパターン形成デバイスを支持するための支持構造と、
基板を保持するための基板テーブルであって、バール・プレートと、該バール・プレートに保持された基板全体にわたる圧力差を確立するための真空システムとを有し、前記圧力差が、前記基板の周縁部で中央部よりも大きい基板テーブルと、
パターン形成されたビームを基板のターゲット部分に投影するための投影システムと、
前記投影システムの最終要素と前記基板テーブルに保持された基板との間の空間に高屈折率の液体を供給するための液体供給システムと
を有するリソグラフィ装置であって、
前記バール・プレート上のバールの密度が、前記周縁部で前記中央部よりも高いことを特徴とするリソグラフィ装置が提供される。
本発明者は、より高い圧力差の領域内のバールが増大した負荷によってより大きく圧縮されることが、基板の歪曲増大の原因であることを突き止めた。基板自体および基板テーブルも、異なる負荷を受けて異なる量だけ歪む場合がある。より高い圧力差の領域でバールの密度を高めることによって、その部分での各バールに対する単位面積当たりの負荷が低減され、したがってバールの圧縮が小さくなる。それにより、バールの圧縮はより均一になり、基板の歪曲が低減される。周縁部でのバールの密度と中央部でのバールの密度との比が、装置の使用時のそれらの部分での圧力差の比に実質的に等しいことが好ましい。
特に好ましい実施例では、周縁部および中央部にあるバールが全て実質的に同じ公称サイズであり、しかしそれらの間隔は周縁部で小さくなっており、したがって単位面積当たりの数が多くなっている。このようにすると、既知の製造技法を使用して、上記2つの部分でのバールの圧縮のより正確な均一化を実現することができる。別法として、周縁部でバールの断面積を大きくすることもできる。バール間での基板の湾曲が許容限界範囲内であることを保証するのに充分な数のバールが存在するという条件の下で、バールのサイズと間隔を共に変えることも可能である。いくつかの状況では、外側の領域でバールの高さを高くして、中央部にあるバールと同じ高さまで歪むようにできる場合もある。
周縁部は、基板の外周縁の内側で延びている実質的に環状の領域であることが好ましい。本発明の特定の実施例では、環状領域が、バール・プレートの半径の5%〜20%の範囲内の幅を有している。
1つの好ましい実施例では、バール・プレートの中央部の下の空間内に1つまたは複数の気体入口が提供され、それによって基板の下で中央から外側へ向かって一定の気体の流れが存在するようになる。この気流は、基板の下の空間へ水が進入するのを防止する助けとなる。
またバール・プレートが、周縁部を中央部から離隔する直立壁を有していることも好ましい。直立壁は、中央部と周縁部での異なる圧力差を保つ助けとなり、しかしバールと同じ高さではなくてもよく、それによって中央部から周辺部へ若干の気体漏れが存在するようになる。
本発明のさらに他の観点によれば、
基板を提供するステップと、
照明システムを使用して、放射線の投影ビームを提供するステップと、
パターン形成デバイスを使用して、投影ビームの断面にパターンを与えるステップと、
前記投影システムの最終要素と前記基板との間の空間に高屈折率の液体を提供するステップと、
パターン形成された放射線のビームを基板のターゲット部分に投影するステップと
を含むデバイス製造方法であって、
前記基板が、基板全体にわたる圧力差によってバール・プレート上に保持され、前記圧力差が、前記基板の周縁部で中央部よりも大きく、前記バール・プレート上のバールの密度が、前記周縁部で前記中央部よりも高いことを特徴とするデバイス製造方法が提供される。
本発明のさらに他の観点は、リソグラフィ投影装置で使用するためのバール・プレートであって、投影システムの最終要素と基板テーブルに保持された基板との間の空間に高屈折率の液体が供給され、バール・プレートの周縁部でのバールの密度が、その中央部での密度よりも高いバール・プレートを提供する。
本発明は、特に上述したタイプの液浸リソグラフィ装置に適用することができるが、それらに限定されるものではなく、任意の液浸リソグラフィ装置に適用することができる。
本文では、ICの製造でのリソグラフィ装置の使用に特に言及しているが、本明細書で述べるリソグラフィ装置が、集積光システム、磁気ドメイン・メモリ用の誘導および検出パターン、液晶ディスプレイ(LCD)、薄膜磁気ヘッドなど他の用途を有していてもよいことを理解すべきである。そのような他の用途の文脈では、本明細書での用語「ウェハ」または「ダイ」の使用を、それぞれより一般的な用語「基板」または「ターゲット部分」と同義と考えることができることを当業者は理解されよう。本明細書で言及する基板は、露光前または露光後に、例えばトラック(典型的には、レジストの層を基板に塗布し、露光されたレジストを現像するツール)、または測定ツールもしくは検査ツールで処理することができる。該当する場合には、本明細書の開示を、そのような基板処理ツール、およびその他の基板処理ツールに適用することができる。さらに、例えば多層ICを作成するために基板を複数回処理することもでき、したがって本明細書で使用される用語「基板」は、複数回処理された層を既に含む基板を表していてもよい。
本明細書で使用する用語「放射線」および「ビーム」は、紫外(UV)放射線(例えば波長が365、248、193、157、または126nm)を含めた全てのタイプの電磁放射線を包含する。
本明細書で使用する用語「パターン形成デバイス(パターニング・デバイス)」は、基板のターゲット部分にパターンを作成する目的で投影ビームの断面にパターンを与えるために使用することができるデバイスを表すものと広く解釈すべきである。投影ビームに与えられるパターンは、基板のターゲット部分での所望のパターンに正確には対応しない場合があることに留意すべきである。一般に、投影ビームに与えられるパターンは、集積回路などターゲット部分に作成されるデバイスの特定の機能層に対応している。
パターン形成デバイスは、透過型または反射型にすることができる。パターン形成デバイスの例として、マスク、プログラム可能ミラー・アレイ、およびプログラム可能LCDパネルが挙げられる。マスクはリソグラフィにおいてよく知られており、バイナリ・マスク、レベンソン型位相シフト・マスク、およびハーフトーン型位相シフト・マスクなどのマスク・タイプ、ならびに様々なハイブリッド・マスク・タイプを含む。プログラム可能ミラー・アレイの一例では、小さなミラーのマトリックス配列が採用され、入射する放射線ビームを異なる方向に反射するように各ミラーを個別に傾けることができる。この方法では、反射されたビームにパターンが形成される。パターン形成デバイスの各例では、支持構造は、例えばフレームまたはテーブルにすることができ、必要に応じて固定することも可動にすることもでき、例えば投影システムに対してパターン形成デバイスが所望の位置にあることを保証することができる。本明細書における用語「レチクル」または「マスク」の使用は、より一般的な用語「パターン形成デバイス」と同義と考えることができる。
本明細書で使用する用語「投影システム」は、例えば使用する露光放射線、または浸液の使用もしくは真空の使用など他の因子に適するように、屈折光学システム、反射光学システム、および反射屈折光学システムを含めた様々なタイプの投影システムを包含するものと広く解釈すべきである。本明細書における用語「レンズ」の使用は、より一般的な用語「投影システム」と同義と考えることができる。
また、照明システムは、放射線の投影ビームを方向付け、成形し、あるいは制御するための、屈折、反射、および反射屈折光学構成要素を含む様々なタイプの光学構成要素を包含していてもよく、以下、そのような構成要素を総称して、または個々に「レンズ」と呼ぶ場合がある。
リソグラフィ装置は、2つ(デュアル・ステージ)以上の基板テーブル(および/または2つ以上のマスク・テーブル)を有するタイプのものにすることができる。そのような「マルチ・ステージ」の機械では、追加のテーブルを並列に使用することができ、あるいは、1つまたは複数のテーブルで準備ステップを行い、同時に1つまたは複数の他のテーブルを露光用に使用することができる。
次に、本発明の実施例を、単に例として、添付の概略図面を参照しながら説明する。図面中、対応する参照符号は、対応する部分を指す。
図1に、本発明の特定の実施例によるリソグラフィ装置を模式的に示す。本装置は、
放射線(例えばUV放射線またはDUV放射線)の投影ビームPBを提供するための照明システム(照明器)ILと、
パターン形成デバイス(例えばマスク)MAを支持するための支持構造であって、要素PLに対してパターン形成デバイスを正確に位置決めするための第1の位置決めデバイスPMに接続された第1の支持構造(例えばマスク・テーブル)MTと、
基板(例えばレジスト被覆ウェハ)Wを保持するための基板テーブルであって、要素PLに対して基板を正確に位置決めするための第2の位置決めデバイスPWに接続された基板テーブル(例えばウェハ・テーブル)WTと、
パターン形成デバイスMAによって投影ビームPBに与えられたパターンを、基板Wのターゲット部分C(例えば、1つまたは複数のダイを備える)に結像するための投影システム(例えば屈折投影レンズ)PLと
を有する。
ここに描かれているように、本装置は(例えば透過マスクを採用する)透過型のものである。別法として、装置を、(例えば上で言及したタイプのプログラム可能ミラー・アレイを採用する)反射型のものにすることもできる。
照明器ILは、放射線源SOから放射線のビームを受ける。例えば放射線源がエキシマ・レーザであるとき、放射線源とリソグラフィ装置とを個体とすることができる。そのような場合、放射線源は、リソグラフィ装置の一部を成しているとはみなされず、放射線ビームは、例えば適切な方向付けミラーおよび/またはビーム拡大器を備えるビーム送達システムBDを用いて、放射線源SOから照明器ILに進められる。他の場合、例えば放射線源が水銀ランプであるときには、放射線源を装置の一部にすることができる。放射線源SOと照明器ILを、必要であればビーム送達システムBDと共に、放射線システムと呼んでもよい。
照明器ILは、ビームの角度強度分布を調整するための調整デバイスAMを備えることができる。一般に、照明器の瞳面での強度分布の少なくとも外側および/または内側ラジアル範囲(通常、それぞれσアウターおよびσインナーと呼ばれる)を調整することができる。さらに照明器ILは、通常、積分器INおよび集光器COなど様々な他の構成要素を備える。照明器は、断面で所望の一様性および強度分布を有する調整された放射線ビーム(投影ビームPBと呼ぶ)を提供する。
投影ビームPBは、マスク・テーブルMT上に保持されたマスクMAに入射する。マスクMAを通った後、投影ビームPBはレンズPLを通過し、レンズPLが、ビームを基板Wのターゲット部分Cに集束させる。第2の位置決めデバイスPWおよび位置センサIF(例えば干渉計デバイス)を用いて、例えばビームPBの経路内に様々なターゲット部分Cを位置決めするように基板テーブルWTを正確に移動させることができる。同様に、マスクMAを例えばマスク・ライブラリから機械的に取り出した後に、または走査中に、第1の位置決めデバイスPMおよび別の位置センサ(図1には明示していない)を使用して、マスクMAをビームPBの経路に対して正確に位置決めすることができる。一般に、オブジェクト・テーブルMTおよびWTの移動は、位置決めデバイスPMおよびPWの一部を成す長行程モジュール(粗い位置決め)および短行程モジュール(精密な位置決め)を用いて実現される。しかし(スキャナとは対照的に)、ステッパの場合、マスク・テーブルMTを短行程アクチュエータのみに接続してもよく、あるいはマスク・テーブルMTを固定してもよい。マスクMAおよび基板Wは、マスク・アラインメント・マークM1、M2および基板アラインメント・マークP1、P2を使用して位置合わせすることができる。
図示の装置は、以下の好ましいモードで使用することができる。
(1)ステップ・モードでは、マスク・テーブルMTおよび基板テーブルWTは基本的に静止したままであり、その間に、投影ビームに与えられた全パターンが一度にターゲット部分Cに投影される(すなわち、ただ1回の静的露光)。次いで、異なるターゲット部分Cを露光することができるように、基板テーブルWTがXおよび/またはY方向に移動される。ステップ・モードでは、露光領域の最大サイズが、ただ1回の静的露光で結像されるターゲット部分Cのサイズを制限する。
(2)走査モードでは、マスク・テーブルMTと基板テーブルWTとが同期して走査されるのと同時に、投影ビームに与えられたパターンがターゲット部分Cに投影される(すなわち、ただ1回の動的露光)。マスク・テーブルMTに対する基板テーブルWTの速度および方向は、投影システムPLの拡大(縮小)および像反転特性によって決定することができる。走査モードでは、露光領域の最大サイズが、ただ1回の動的露光におけるターゲット部分の(非走査方向での)幅を制限し、走査運動の長さが、ターゲット部分の(走査方向での)高さを決定する。
(3)別のモードでは、マスク・テーブルMTがプログラム可能パターン形成デバイスを保持して基本的に静止したまま、基板テーブルWTが移動または走査され、その間に、投影ビームに与えられたパターンがターゲット部分Cに投影される。このモードでは通常、パルス放射線源が採用され、プログラム可能パターン形成デバイスは、基板テーブルWTの毎回の移動後に、または走査中に、連続する放射線パルスの合間に、必要に応じて更新される。この動作モードは、上で言及したタイプのプログラム可能ミラー・アレイなどプログラム可能パターン形成デバイスを利用するマスクレス・リソグラフィに簡単に適用することができる。
上述した使用モードの組合せおよび/または変形態様、あるいは全く異なる使用モードを採用することもできる。
図2に、投影システムと基板ステージとの間の液体リザーバ10を示す。液体リザーバ10は、入口/出口管13を通して提供される比較的高い屈折率を有する液体11(例えば水)で充填される。この液体の効果は、液体中で放射線の投影ビームが空気または真空中よりも短い波長を有し、より小さなフィーチャを解像することができることである。投影システムの解像限界は、とりわけ投影ビームの波長およびシステムの開口数によって決まることが知られている。また液体の存在が実効開口数を増大させると考えることもできる。さらに、一定の開口数では、液体は、被写体深度を増大させる効果がある。
リザーバ10は、投影システムの像領域の周囲で、基板に対する非接触シールを形成し、それによって液体は基板表面と投影システムの最終要素との間の空間を充填するように閉じ込められる。リザーバは、投影システムPLの最終要素の下に位置決めされて最終要素を取り囲むシール部材12によって形成される。液体は、投影システムの下の空間内であって、シール部材12内に導入される。シール部材12は、投影システムの最終要素のわずかに上まで延びており、液体の高さは最終要素の上まで上昇し、それにより液体の緩衝域(バッファ)が提供される。シール部材12は、その上端部で投影システムまたはその最終要素のステップに近接した共形の内周を有し、例えば丸くされていてもよい。下端では、内周は、像領域の形状に近接した共形、例えば矩形であるが、必ずしもそうである必要はない。
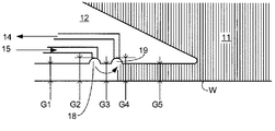
液体は、シール部材12の底部と基板Wの表面との間のガス・シール16によってリザーバ内に閉じ込められる。ガス・シールは、入口15を通してシール部材12と基板との間の間隙に圧力下で提供され、第1の出口14を通して抜き取られる気体(例えば空気または合成空気、しかし好ましくはNまたは別の不活性気体)によって形成される。気体入口15での過圧、第1の出口14での真空レベル、および隙間の幾何形状は、内側に液体を閉じ込める高速気流が存在するように構成される。図3に、これをより詳細に示す。
ガス・シールは、2つの環状溝18、19によって形成され、これらの溝は、溝の周りに間隔を空けて構成された一連の小さなコンダクトによって、それぞれ第1の入口15および第1の出口14に接続されている。マニホルドを形成するために、入口および出口それぞれで、シール部材内に大きな環状中空部分を提供してもよい。ガス・シールは、気体軸受として振舞うことによってシール部材12を支持する効果も有していてもよい。
気体入口15の外側での間隙G1は、外への空気流に対する抵抗を提供するように、小さく且つ長いことが好ましいが、必ずしもそうである必要はない。入口15の半径位置での間隙G2は、シール部材の周りでの気体の充分な分布を保証するようにわずかに大きめであり、入口15は、シール部材の周りにあるいくつかの小さな穴によって形成される。間隙G3は、シールを通る気流を制御するように選択される。間隙G4は、良好な真空分布を提供するように大きめであり、出口14は、入口15と同様にいくつかの小さな穴から形成される。間隙G5は小さく、空間内の液体への気体/酸素拡散を防止し、多量の液体が真空に進入して真空を擾乱するのを防止し、且つ毛細管作用によって常に間隙が液体で充填されていることを保証している。
したがってガス・シールは、間隙内へ液体を引き込む毛細管力と、液体を外に押し出す空気流との均衡を図っている。間隙がG5からG4へ広がっているので、毛細管力は小さくなり、空気流は増加し、それにより、基板が投影システムPLの下で移動するときでさえ液体境界がこの領域内にあり、安定している。
G2での入口とG4での出口との圧力差、ならびに間隙G3のサイズおよび幾何形状が、シール16を通る気流を決定し、これらは特定の実施例に従って決められる。ただし、想定される利点が実現されるのは、間隙G3の長さが短く、且つG2での絶対圧力がG4の2倍である場合であり、この場合、気体速度は、気体中での音速であり、それ以上に上昇することはあり得ない。したがって、安定した気流が実現される。
また気体入口での圧力を低減させ、液体が間隙G4に進入して真空システムによって吸い取られるように気体出口システムを使用することによって、システムから液体を完全に除去することができる。真空システムは、シールを形成するために使用される気体のみならず、液体をも扱うように簡単に配置することができる。またガス・シール内の圧力制御を行って、基板が移動する際に摩擦によって加熱される間隙G5内の液体が投影システムの下の空間内の液体の温度を擾乱しないように、間隙G5を通る液体の流れを保証することもできる。
乱流および振動を減らすために、気体入口および出口の周りのシール部材の形状は、できるだけ層流を提供するように選択すべきである。また液体を閉じ込める最大の力を提供するために、液体界面での流れ方向の変化ができるだけ大きくなるように気流を設定すべきである。
液体供給システムは、新しい液体がリザーバ10に提供されるように、リザーバ10内で液体を循環させる。
ガス・シール16は、シール部材12を支持するのに充分に大きな力を生み出すことができる。実際には、基板に向けてシール部材12にバイアスをかけ、シール部材12によって支持される実効重量がより大きくなるようにする必要があるかもしれない。いずれにせよ、シール部材12は(光軸に垂直な)XY面内で投影システムに対して実質的に静止した位置で投影システムの下に保持され、しかし投影システムから切り離されている。シール部材12は、Z方向では自由に動く。
図4に、基板クランプ構成をより詳細に示す。図は基板の一部しか示していないことに留意されたい。基板Wは、バール(またはピンプル)・プレート20上にあり、プレート20は、ウェハ・テーブルWTの平坦面上にある。バール・プレート20は、その上面に、バールまたはピンプルと呼ばれる複数の突起21、24を有する。バールは、25〜200μmの範囲内の高さを有することができ、上面の直径は0.5〜0.05mmの範囲内にすることができる。10000個ものバールが存在する場合があるが、バールの総面積は基板自体の面積に比べて小さく、したがって汚染物質(例えばダスト)の粒子が基板の底部に付着していた場合に、粒子がバールと基板との間に入って基板を歪曲させる可能性は低い。バール22、25に対応した構成が、バール・プレート20の下面にも提供されており、それによってミラー・ブロックMB(基板テーブルWTの上部)とバール・プレート20との間のダスト粒子に関して同じ効果が実現される。バール・プレートの下面でのバールは、上面のものと同じ寸法および間隔を有することが好ましいが、これは本質的なことではない。
基板を所定位置に堅固にクランプするために、基板の下の空間は、基板テーブルWT内の真空ポートVP(1つだけ図示する)に接続している真空システムVSによって部分的に排気される。バール・プレート20のアパーチャ26が、バール・プレートの上と下での圧力を均一化する。基板の縁部の周りに壁27が提供され、この壁27は、基板を歪曲させないようにバールよりもわずかに短いことが好ましく、そのため、基板の下の空間内への制御された「漏れ」が生成される。
液浸装置では、基板の縁部を基板テーブルに封止することが望ましくないので、多少の浸液11が基板の下の空間に進入することは避けられない。液体の量は、使用される液体供給システムのタイプに応じて異なる。局所型または「シャワーヘッド」型のシステムでは、例えばエッジ・ダイの露光中に基板の縁部が投影レンズの下を通るときにのみ漏れが生じてもよく、槽型の装置では漏れは恒常的であってもよい。それらにかかわらず、漏れた流体は除去しなければならず、したがって真空システムは、ある量の液体を受け入れることができなければならない。また、漏れた液体の急速な除去を保証し、漏れた浸液が基板テーブルの中心に向かって移動するのを防止するために、基板の周縁部の周りの圧力を、効果的なクランプに必要な圧力よりも低くする(真空を高める)ことが好ましい。
したがって周縁部PPでの基板の下の圧力が例えば大気圧以下0.6〜0.3barになり、中央領域MPでの圧力はそれよりも高く、例えば大気圧以下0.5〜0.25barになり、基板の上の空間は大気圧になるように、真空ポートVが位置付けられ、真空システムVSが設定される。圧力差を保つ助けとなるように、壁23が中央部を周縁部から離隔する。外壁27と同様に、壁23は、基板または基板ホルダと接触せず、しかし狭い間隙が残ることが好ましい。また中央部から周縁部へ、例えば速度5〜10ms−1で一定の気体の流れが提供され、浸液の液滴が基板の中心へ向かって進むのを防止している。気流は、気体入口28から提供することができ、入口28は、装置の周囲の大気に単純に接続されていてもよい。気流速度が高くなりすぎるのを防止するために、多数の小さな入口が存在することが好ましく、あるいは、いくつかのより大きな入口が採用される場合には、大気への経路内に気流制限器が提供される。
しかし、周縁部と中央部での異なる圧力は、バールが均等に分配された場合、バールに対する力が異なることを意味する。これは、バールを異なる量だけ圧縮され、基板および基板テーブルの局所圧縮を変え、ウェハ高さの差異をもたらす。0.5bar程度のクランプ圧、および3mm程度のバール・ピッチでは、バールは約80nm縮み、したがってバールに対する負荷の20%の変動が、大きな高さの差異をもたらす。そこで、本発明では、バールの圧縮がより均一になるように、クランプ圧がより高い部分ではバールの密度が増大される。この実施例では、周縁部でのバール24、25の間隔は、中央部でのバール21、22の間隔よりも小さく、それにより各バールに対する負荷が一定となる。間隔は、半径方向または円周方向、あるいはその両方で変えることができる。
周縁領域の幅は、真空構成に依存するが、バール・プレートの半径の5〜20%の範囲内にすることができ、バール・プレートの半径は、通常は基板の半径に実質的に等しい。一般に、周縁部は、バール・テーブルの全周にわたって延びており、しかし漏れが予想されない部分がある場合には、そこで周縁部を省いてもよい。
本発明の特定の実施例を上述してきたが、記載した以外の形で本発明を実施することもできることを理解されたい。本記載は、本発明を制限する意図のものではない。
本発明の一実施例によるリソグラフィ装置を示す図である。 図1の装置の液体リザーバを示す図である。 図1の装置の液体リザーバの一部の拡大図である。 バール・プレート上への基板の取付けを示す、図1の装置の基板テーブルの一部を示す図である。 代替の従来技術の液体供給システムを示す図である。 代替の従来技術の液体供給システムを示す図である。 代替の従来技術の液体供給システムを示す図である。
符号の説明
PB 投影ビーム
IL 照明システム、照明器
MA パターン形成デバイス
PM 第1の位置決め手段
MT 支持構造、マスク・テーブル
W 基板
PW 第2の位置決め手段
WT 基板テーブル、ウェハ・テーブル
C ターゲット部分
PL 投影システム
SO 放射線源
BD ビーム送達システム
AM 調整デバイス
IN 積分器
CO 集光器
MB ミラー・ブロック
10 液体リザーバ
11 高屈折率の液体
12 シール部材
13 入口/出口管
14 出口
15 入口
16 ガス・シール
18、19 溝
20 バール・プレート
21、22、24、25 バール
23、27 壁
26 アパーチャ
28 気体入口
G1、G2、G3、G4、G5 間隙

Claims (19)

  1. 放射線の投影ビームを提供するための照明システムと、
    投影ビームの断面にパターンを与えるように機能するパターン形成デバイスを支持するための支持構造と、
    基板を保持するための基板テーブルであって、バール・プレートと、該バール・プレート上に保持された基板全体にわたって圧力差を確立するための真空システムとを有し、前記圧力差は、前記基板の中央部よりも周縁部で大きい基板テーブルと、
    前記パターン形成されたビームを前記基板のターゲット部分に投影するための投影システムと、
    前記投影システムの最終要素と前記基板テーブルに保持された基板との間の空間に高屈折率の液体を供給するための液体供給システムと
    を有するリソグラフィ装置において、
    前記バール・プレート上のバールの密度が、前記中央部よりも前記周縁部で高いリソグラフィ装置。
  2. 前記周縁部でのバールの密度と前記中央部でのバールの密度との比が、装置の使用時のそれらの部分での圧力差の比に実質的に等しい請求項1に記載のリソグラフィ装置。
  3. 前記周縁部および中央部の前記バールが全て実質的に同じ公称サイズであり、しかし単位面積当たりの数が周縁部でより多い請求項1に記載のリソグラフィ装置。
  4. 前記バールの断面積が前記周縁部でより大きい請求項1に記載のリソグラフィ装置。
  5. 前記周縁部が、前記基板の外周縁の内側に延びる実質的に環状の領域である請求項1に記載のリソグラフィ装置。
  6. 前記環状領域が、前記バール・プレートの半径の5%〜20%の範囲の幅を有している請求項5に記載のリソグラフィ装置。
  7. 前記バール・プレートが、前記周縁部を前記中央部から離隔する直立壁を有している請求項1に記載のリソグラフィ装置。
  8. バールの密度が、前記周縁部内で実質的に一定である請求項1に記載のリソグラフィ装置。
  9. バールの密度が、前記中央部内で実質的に一定である請求項1に記載のリソグラフィ装置。
  10. 基板を提供するステップと、
    照明システムを使用して放射線の投影ビームを提供するステップと、
    パターン形成デバイスを使用して前記投影ビームの断面にパターンを与えるステップと、
    前記投影システムの最終要素と前記基板との間の空間に高屈折率の液体を提供するステップと、
    パターン形成された放射線のビームを前記基板のターゲット部分に投影するステップと
    を含むデバイス製造方法であって、
    前記基板が、前記基板にわたる圧力差によってバール・プレートに保持され、該圧力差が、前記基板の中央部よりも周縁部で大きく、前記バール・プレート上のバールの密度が、前記中央部よりも前記周縁部で高いデバイス製造方法。
  11. 前記投影システムの最終要素と前記基板テーブルに保持された基板との間の空間に高屈折率の液体が供給されるリソグラフィ投影装置で使用するためのバール・プレートであって、
    前記バール・プレートの周縁部でのバールの密度が、その中央部での密度よりも高いバール・プレート。
  12. 前記周縁部でのバールの密度と前記中央部でのバールの密度との比が、装置の使用時のそれらの部分での圧力差の比に実質的に等しい請求項11に記載のバール・プレート。
  13. 前記周縁部および中央部の前記バールが全て実質的に同じ公称サイズであり、しかし単位面積当たりの数が周縁部でより多い請求項11に記載のバール・プレート。
  14. 前記バールの断面積が周縁部でより大きい請求項11に記載のバール・プレート。
  15. 前記周縁部が、前記基板の外周縁の内側に延びる実質的に環状の領域である請求項11に記載のバール・プレート。
  16. 前記環状領域が、前記バール・プレートの半径の5%〜20%の範囲の幅を有している請求項11に記載のバール・プレート。
  17. 前記バール・プレートが、前記周縁部を前記中央部から離隔する直立壁を有している請求項11に記載のバール・プレート。
  18. バールの密度が、前記周縁部内で実質的に一定である請求項11に記載のバール・プレート。
  19. バールの密度が、前記中央部内で実質的に一定である請求項11に記載のバール・プレート。
JP2005100825A 2004-04-01 2005-03-31 リソグラフィ装置およびデバイス製造方法 Expired - Lifetime JP4350056B2 (ja)

Applications Claiming Priority (1)

Application Number Priority Date Filing Date Title
US10/814,815 US7227619B2 (en) 2004-04-01 2004-04-01 Lithographic apparatus and device manufacturing method

Related Child Applications (1)

Application Number Title Priority Date Filing Date
JP2008237316A Division JP4669033B2 (ja) 2004-04-01 2008-09-17 リソグラフィ装置

Publications (2)

Publication Number Publication Date
JP2005294838A true JP2005294838A (ja) 2005-10-20
JP4350056B2 JP4350056B2 (ja) 2009-10-21

Family

ID=34887725

Family Applications (3)

Application Number Title Priority Date Filing Date
JP2005100825A Expired - Lifetime JP4350056B2 (ja) 2004-04-01 2005-03-31 リソグラフィ装置およびデバイス製造方法
JP2008237316A Expired - Fee Related JP4669033B2 (ja) 2004-04-01 2008-09-17 リソグラフィ装置
JP2010257492A Expired - Fee Related JP5623880B2 (ja) 2004-04-01 2010-11-18 リソグラフィ装置、デバイス製造方法、およびバール・プレート

Family Applications After (2)

Application Number Title Priority Date Filing Date
JP2008237316A Expired - Fee Related JP4669033B2 (ja) 2004-04-01 2008-09-17 リソグラフィ装置
JP2010257492A Expired - Fee Related JP5623880B2 (ja) 2004-04-01 2010-11-18 リソグラフィ装置、デバイス製造方法、およびバール・プレート

Country Status (8)

Country Link
US (1) US7227619B2 (ja)
EP (1) EP1582935B1 (ja)
JP (3) JP4350056B2 (ja)
KR (1) KR100622089B1 (ja)
CN (1) CN100520589C (ja)
DE (1) DE602005000147T2 (ja)
SG (2) SG115818A1 (ja)
TW (1) TWI318725B (ja)

Cited By (5)

* Cited by examiner, † Cited by third party
Publication number Priority date Publication date Assignee Title
WO2007055237A1 (ja) * 2005-11-09 2007-05-18 Nikon Corporation 露光装置及び露光方法、並びにデバイス製造方法
JP2013214761A (ja) * 2003-07-28 2013-10-17 Nikon Corp 露光装置及びデバイス製造方法、並びに露光装置の制御方法
JP2014060447A (ja) * 2005-12-30 2014-04-03 Asml Netherlands Bv リソグラフィ装置およびデバイス製造方法
JP2020522732A (ja) * 2017-06-06 2020-07-30 エーエスエムエル ネザーランズ ビー.ブイ. サポートテーブルから物体をアンロードする方法
JP2024177192A (ja) * 2019-01-23 2024-12-19 エーエスエムエル ネザーランズ ビー.ブイ. リソグラフィ装置で用いる基板ホルダ及びデバイス製造方法

Families Citing this family (87)

* Cited by examiner, † Cited by third party
Publication number Priority date Publication date Assignee Title
US10503084B2 (en) 2002-11-12 2019-12-10 Asml Netherlands B.V. Lithographic apparatus and device manufacturing method
CN100568101C (zh) 2002-11-12 2009-12-09 Asml荷兰有限公司 光刻装置和器件制造方法
US9482966B2 (en) 2002-11-12 2016-11-01 Asml Netherlands B.V. Lithographic apparatus and device manufacturing method
DE10261775A1 (de) 2002-12-20 2004-07-01 Carl Zeiss Smt Ag Vorrichtung zur optischen Vermessung eines Abbildungssystems
KR101381538B1 (ko) 2003-02-26 2014-04-04 가부시키가이샤 니콘 노광 장치, 노광 방법 및 디바이스 제조 방법
ATE426914T1 (de) 2003-04-07 2009-04-15 Nikon Corp Belichtungsgerat und verfahren zur herstellung einer vorrichtung
JP4656057B2 (ja) * 2003-04-10 2011-03-23 株式会社ニコン 液浸リソグラフィ装置用電気浸透素子
KR101745223B1 (ko) 2003-04-10 2017-06-08 가부시키가이샤 니콘 액침 리소그래피 장치용 운반 영역을 포함하는 환경 시스템
EP2667253B1 (en) 2003-04-10 2015-06-10 Nikon Corporation Environmental system including vacuum scavenge for an immersion lithography apparatus
WO2004093160A2 (en) * 2003-04-10 2004-10-28 Nikon Corporation Run-off path to collect liquid for an immersion lithography apparatus
SG10201603067VA (en) 2003-04-11 2016-05-30 Nikon Corp Apparatus having an immersion fluid system configured to maintain immersion fluid in a gap adjacent an optical assembly
JP4582089B2 (ja) 2003-04-11 2010-11-17 株式会社ニコン 液浸リソグラフィ用の液体噴射回収システム
SG189557A1 (en) 2003-04-11 2013-05-31 Nikon Corp Cleanup method for optics in immersion lithography
ATE542167T1 (de) * 2003-04-17 2012-02-15 Nikon Corp Lithographisches immersionsgerät
JP4552853B2 (ja) * 2003-05-15 2010-09-29 株式会社ニコン 露光装置及びデバイス製造方法
TWI503865B (zh) * 2003-05-23 2015-10-11 尼康股份有限公司 A method of manufacturing an exposure apparatus and an element
TW201515064A (zh) 2003-05-23 2015-04-16 尼康股份有限公司 曝光方法及曝光裝置以及元件製造方法
KR20150036794A (ko) * 2003-05-28 2015-04-07 가부시키가이샤 니콘 노광 방법, 노광 장치, 및 디바이스 제조 방법
US7213963B2 (en) 2003-06-09 2007-05-08 Asml Netherlands B.V. Lithographic apparatus and device manufacturing method
US7684008B2 (en) 2003-06-11 2010-03-23 Asml Netherlands B.V. Lithographic apparatus and device manufacturing method
TW200511388A (en) 2003-06-13 2005-03-16 Nikon Corp Exposure method, substrate stage, exposure apparatus and method for manufacturing device
TWI433212B (zh) 2003-06-19 2014-04-01 尼康股份有限公司 An exposure apparatus, an exposure method, and an element manufacturing method
WO2005006026A2 (en) * 2003-07-01 2005-01-20 Nikon Corporation Using isotopically specified fluids as optical elements
EP2466382B1 (en) * 2003-07-08 2014-11-26 Nikon Corporation Wafer table for immersion lithography
KR20060026883A (ko) * 2003-07-09 2006-03-24 가부시키가이샤 니콘 결합장치, 노광장치 및 디바이스 제조방법
KR101296501B1 (ko) * 2003-07-09 2013-08-13 가부시키가이샤 니콘 노광 장치 및 디바이스 제조 방법
EP1646075B1 (en) 2003-07-09 2011-06-15 Nikon Corporation Exposure apparatus and device manufacturing method
EP3346485A1 (en) 2003-07-25 2018-07-11 Nikon Corporation Projection optical system inspecting method and inspection apparatus, and a projection optical system manufacturing method
EP1503244A1 (en) 2003-07-28 2005-02-02 ASML Netherlands B.V. Lithographic projection apparatus and device manufacturing method
US7779781B2 (en) 2003-07-31 2010-08-24 Asml Netherlands B.V. Lithographic apparatus and device manufacturing method
TWI263859B (en) 2003-08-29 2006-10-11 Asml Netherlands Bv Lithographic apparatus and device manufacturing method
EP2804048A1 (en) * 2003-08-29 2014-11-19 Nikon Corporation Exposure apparatus and device fabricating method
KR101371917B1 (ko) * 2003-09-03 2014-03-07 가부시키가이샤 니콘 액침 리소그래피용 유체를 제공하기 위한 장치 및 방법
JP4444920B2 (ja) * 2003-09-19 2010-03-31 株式会社ニコン 露光装置及びデバイス製造方法
EP2320273B1 (en) 2003-09-29 2015-01-21 Nikon Corporation Exposure apparatus, exposure method, and method for producing a device
JP2005136364A (ja) * 2003-10-08 2005-05-26 Zao Nikon Co Ltd 基板搬送装置、露光装置、並びにデバイス製造方法
EP1672681B8 (en) 2003-10-08 2011-09-21 Miyagi Nikon Precision Co., Ltd. Exposure apparatus, substrate carrying method, exposure method, and method for producing device
WO2005036623A1 (ja) 2003-10-08 2005-04-21 Zao Nikon Co., Ltd. 基板搬送装置及び基板搬送方法、露光装置及び露光方法、デバイス製造方法
TW201738932A (zh) 2003-10-09 2017-11-01 Nippon Kogaku Kk 曝光裝置及曝光方法、元件製造方法
US7411653B2 (en) * 2003-10-28 2008-08-12 Asml Netherlands B.V. Lithographic apparatus
WO2005055296A1 (ja) 2003-12-03 2005-06-16 Nikon Corporation 露光装置、露光方法及びデバイス製造方法、並びに光学部品
KR101119813B1 (ko) 2003-12-15 2012-03-06 가부시키가이샤 니콘 스테이지 장치, 노광 장치, 및 노광 방법
JPWO2005057635A1 (ja) * 2003-12-15 2007-07-05 株式会社ニコン 投影露光装置及びステージ装置、並びに露光方法
US8092733B2 (en) * 2003-12-31 2012-01-10 International Automotive Components Group North America, Inc. In mold lamination of decorative products
US7981342B2 (en) * 2003-12-31 2011-07-19 International Automotive Components Group North America, Inc. In-mold lamination of decorative products
JP2007517686A (ja) * 2003-12-31 2007-07-05 コリンズ・アンド・アイクマン・プロダクツ・コーポレーション 装飾製品の金型内ラミネーション
US8083979B2 (en) * 2003-12-31 2011-12-27 International Automotive Components Group North America, Inc. In mold lamination of decorative products
US7589822B2 (en) 2004-02-02 2009-09-15 Nikon Corporation Stage drive method and stage unit, exposure apparatus, and device manufacturing method
US7990516B2 (en) 2004-02-03 2011-08-02 Nikon Corporation Immersion exposure apparatus and device manufacturing method with liquid detection apparatus
TWI402893B (zh) 2004-03-25 2013-07-21 尼康股份有限公司 曝光方法
US7227619B2 (en) * 2004-04-01 2007-06-05 Asml Netherlands B.V. Lithographic apparatus and device manufacturing method
US7898642B2 (en) 2004-04-14 2011-03-01 Asml Netherlands B.V. Lithographic apparatus and device manufacturing method
EP1747499A2 (en) 2004-05-04 2007-01-31 Nikon Corporation Apparatus and method for providing fluid for immersion lithography
US7616383B2 (en) 2004-05-18 2009-11-10 Asml Netherlands B.V. Lithographic apparatus and device manufacturing method
CN101833247B (zh) 2004-06-04 2013-11-06 卡尔蔡司Smt有限责任公司 微光刻投影曝光系统的投影物镜的光学测量的测量系统
KR101433496B1 (ko) 2004-06-09 2014-08-22 가부시키가이샤 니콘 노광 장치 및 디바이스 제조 방법
US7463330B2 (en) 2004-07-07 2008-12-09 Asml Netherlands B.V. Lithographic apparatus and device manufacturing method
KR101433491B1 (ko) 2004-07-12 2014-08-22 가부시키가이샤 니콘 노광 장치 및 디바이스 제조 방법
US8305553B2 (en) * 2004-08-18 2012-11-06 Nikon Corporation Exposure apparatus and device manufacturing method
US7701550B2 (en) 2004-08-19 2010-04-20 Asml Netherlands B.V. Lithographic apparatus and device manufacturing method
US7397533B2 (en) 2004-12-07 2008-07-08 Asml Netherlands B.V. Lithographic apparatus and device manufacturing method
US7880860B2 (en) 2004-12-20 2011-02-01 Asml Netherlands B.V. Lithographic apparatus and device manufacturing method
US8692973B2 (en) 2005-01-31 2014-04-08 Nikon Corporation Exposure apparatus and method for producing device
KR20180125636A (ko) 2005-01-31 2018-11-23 가부시키가이샤 니콘 노광 장치 및 디바이스 제조 방법
US7282701B2 (en) 2005-02-28 2007-10-16 Asml Netherlands B.V. Sensor for use in a lithographic apparatus
US7411654B2 (en) * 2005-04-05 2008-08-12 Asml Netherlands B.V. Lithographic apparatus and device manufacturing method
USRE43576E1 (en) 2005-04-08 2012-08-14 Asml Netherlands B.V. Dual stage lithographic apparatus and device manufacturing method
US7357768B2 (en) * 2005-09-22 2008-04-15 William Marshall Recliner exerciser
KR101539517B1 (ko) * 2005-12-08 2015-07-24 가부시키가이샤 니콘 노광 장치, 노광 방법 및 디바이스 제조 방법
JP2007266504A (ja) * 2006-03-29 2007-10-11 Canon Inc 露光装置
US7978308B2 (en) * 2006-05-15 2011-07-12 Asml Netherlands B.V. Lithographic apparatus and device manufacturing method
US7443483B2 (en) * 2006-08-11 2008-10-28 Entegris, Inc. Systems and methods for fluid flow control in an immersion lithography system
US20100167026A1 (en) * 2007-01-17 2010-07-01 Hayes Marc A Decorative products having depth of image
US8654305B2 (en) 2007-02-15 2014-02-18 Asml Holding N.V. Systems and methods for insitu lens cleaning in immersion lithography
US8817226B2 (en) 2007-02-15 2014-08-26 Asml Holding N.V. Systems and methods for insitu lens cleaning using ozone in immersion lithography
US8237911B2 (en) * 2007-03-15 2012-08-07 Nikon Corporation Apparatus and methods for keeping immersion fluid adjacent to an optical assembly during wafer exchange in an immersion lithography machine
NL1036511A1 (nl) * 2008-02-13 2009-08-14 Asml Netherlands Bv Movable support, position control system, lithographic apparatus and method of controlling a position of an exchangeable object.
KR101448152B1 (ko) * 2008-03-26 2014-10-07 삼성전자주식회사 수직 포토게이트를 구비한 거리측정 센서 및 그를 구비한입체 컬러 이미지 센서
US9176393B2 (en) 2008-05-28 2015-11-03 Asml Netherlands B.V. Lithographic apparatus and a method of operating the apparatus
NL2006203A (en) * 2010-03-16 2011-09-19 Asml Netherlands Bv Cover for a substrate table, substrate table for a lithographic apparatus, lithographic apparatus, and device manufacturing method.
NL2006244A (en) * 2010-03-16 2011-09-19 Asml Netherlands Bv Lithographic apparatus, cover for use in a lithographic apparatus and method for designing a cover for use in a lithographic apparatus.
JP5313293B2 (ja) 2010-05-19 2013-10-09 エーエスエムエル ネザーランズ ビー.ブイ. リソグラフィ装置、リソグラフィ装置で使用する流体ハンドリング構造およびデバイス製造方法
NL2009189A (en) 2011-08-17 2013-02-19 Asml Netherlands Bv Support table for a lithographic apparatus, lithographic apparatus and device manufacturing method.
CN105934715B (zh) 2014-01-20 2019-01-01 Asml荷兰有限公司 衬底保持件、用于光刻设备的支撑台、光刻设备和器件制造方法
JP7121122B2 (ja) 2017-11-20 2022-08-17 エーエスエムエル ネザーランズ ビー.ブイ. 基板ホルダ、基板支持部、基板をクランプシステムにクランプする方法、およびリソグラフィ装置
CN114296324A (zh) * 2022-01-07 2022-04-08 长鑫存储技术有限公司 浸润液控制装置、曝光机设备及检测浸润液污染的方法
WO2025201814A1 (en) * 2024-03-29 2025-10-02 Asml Netherlands B.V. An electrostatic clamp

Citations (9)

* Cited by examiner, † Cited by third party
Publication number Priority date Publication date Assignee Title
JPH06124873A (ja) * 1992-10-09 1994-05-06 Canon Inc 液浸式投影露光装置
JPH06168866A (ja) * 1992-11-27 1994-06-14 Canon Inc 液浸式投影露光装置
JPH1050810A (ja) * 1997-04-07 1998-02-20 Nikon Corp 基板の吸着装置及び露光装置
JPH10233433A (ja) * 1996-01-31 1998-09-02 Canon Inc 基板の保持装置とこれを用いた露光装置、及びデバイスの製造方法
JPH10303114A (ja) * 1997-04-23 1998-11-13 Nikon Corp 液浸型露光装置
JPH10340846A (ja) * 1997-06-10 1998-12-22 Nikon Corp 露光装置及びその製造方法並びに露光方法及びデバイス製造方法
JP2001060617A (ja) * 1999-08-20 2001-03-06 Canon Inc 基板吸着保持装置および該基板吸着保持装置を用いた露光装置ならびにデバイスの製造方法
JP2001127145A (ja) * 1999-08-19 2001-05-11 Canon Inc 基板吸着保持方法、基板吸着保持装置および該基板吸着保持装置を用いた露光装置ならびにデバイス製造方法
JP2003249542A (ja) * 2001-12-20 2003-09-05 Nikon Corp 基板保持装置、露光装置及びデバイス製造方法

Family Cites Families (76)

* Cited by examiner, † Cited by third party
Publication number Priority date Publication date Assignee Title
DE224448C (ja)
DE206607C (ja)
DE242880C (ja)
DE221563C (ja)
GB1242527A (en) * 1967-10-20 1971-08-11 Kodak Ltd Optical instruments
US3573975A (en) * 1968-07-10 1971-04-06 Ibm Photochemical fabrication process
US4213698A (en) * 1978-12-01 1980-07-22 Bell Telephone Laboratories, Incorporated Apparatus and method for holding and planarizing thin workpieces
EP0023231B1 (de) 1979-07-27 1982-08-11 Tabarelli, Werner, Dr. Optisches Lithographieverfahren und Einrichtung zum Kopieren eines Musters auf eine Halbleiterscheibe
FR2474708B1 (fr) 1980-01-24 1987-02-20 Dme Procede de microphotolithographie a haute resolution de traits
JPS5754317A (en) * 1980-09-19 1982-03-31 Hitachi Ltd Method and device for forming pattern
US4346164A (en) * 1980-10-06 1982-08-24 Werner Tabarelli Photolithographic method for the manufacture of integrated circuits
US4509852A (en) * 1980-10-06 1985-04-09 Werner Tabarelli Apparatus for the photolithographic manufacture of integrated circuit elements
US4390273A (en) * 1981-02-17 1983-06-28 Censor Patent-Und Versuchsanstalt Projection mask as well as a method and apparatus for the embedding thereof and projection printing system
JPS57153433A (en) * 1981-03-18 1982-09-22 Hitachi Ltd Manufacturing device for semiconductor
JPS58202448A (ja) 1982-05-21 1983-11-25 Hitachi Ltd 露光装置
JPS6265326A (ja) 1985-09-18 1987-03-24 Hitachi Ltd 露光装置
JPS62121417A (ja) 1985-11-22 1987-06-02 Hitachi Ltd 液浸対物レンズ装置
JPS63157419A (ja) 1986-12-22 1988-06-30 Toshiba Corp 微細パタ−ン転写装置
US5040020A (en) * 1988-03-31 1991-08-13 Cornell Research Foundation, Inc. Self-aligned, high resolution resonant dielectric lithography
JPH03209479A (ja) 1989-09-06 1991-09-12 Sanee Giken Kk 露光方法
DE69133413D1 (de) * 1990-05-07 2004-10-21 Canon Kk Substratträger des Vakuumtyps
US5121256A (en) * 1991-03-14 1992-06-09 The Board Of Trustees Of The Leland Stanford Junior University Lithography system employing a solid immersion lens
JPH04305917A (ja) 1991-04-02 1992-10-28 Nikon Corp 密着型露光装置
JPH04305915A (ja) 1991-04-02 1992-10-28 Nikon Corp 密着型露光装置
JPH0521584A (ja) * 1991-07-16 1993-01-29 Nikon Corp 保持装置
JP2520833B2 (ja) 1992-12-21 1996-07-31 東京エレクトロン株式会社 浸漬式の液処理装置
JPH0718438A (ja) * 1993-06-17 1995-01-20 Anelva Corp 静電チャック装置
JPH07220990A (ja) 1994-01-28 1995-08-18 Hitachi Ltd パターン形成方法及びその露光装置
US5583736A (en) * 1994-11-17 1996-12-10 The United States Of America As Represented By The Department Of Energy Micromachined silicon electrostatic chuck
JPH08316124A (ja) * 1995-05-19 1996-11-29 Hitachi Ltd 投影露光方法及び露光装置
US5923408A (en) * 1996-01-31 1999-07-13 Canon Kabushiki Kaisha Substrate holding system and exposure apparatus using the same
US6104687A (en) * 1996-08-26 2000-08-15 Digital Papyrus Corporation Method and apparatus for coupling an optical lens to a disk through a coupling medium having a relatively high index of refraction
US5825043A (en) * 1996-10-07 1998-10-20 Nikon Precision Inc. Focusing and tilting adjustment system for lithography aligner, manufacturing apparatus or inspection apparatus
JP3612920B2 (ja) 1997-02-14 2005-01-26 ソニー株式会社 光学記録媒体の原盤作製用露光装置
JPH10255319A (ja) 1997-03-12 1998-09-25 Hitachi Maxell Ltd 原盤露光装置及び方法
US5900354A (en) * 1997-07-03 1999-05-04 Batchelder; John Samuel Method for optical inspection and lithography
JPH11176727A (ja) 1997-12-11 1999-07-02 Nikon Corp 投影露光装置
AU1505699A (en) 1997-12-12 1999-07-05 Nikon Corporation Projection exposure method and projection aligner
WO1999049504A1 (fr) 1998-03-26 1999-09-30 Nikon Corporation Procede et systeme d'exposition par projection
TW535034B (en) * 1998-03-31 2003-06-01 Asml Netherlands Bv Lithographic projection apparatus with improved substrate holder
JP2000058436A (ja) 1998-08-11 2000-02-25 Nikon Corp 投影露光装置及び露光方法
TWI242111B (en) * 1999-04-19 2005-10-21 Asml Netherlands Bv Gas bearings for use in vacuum chambers and their application in lithographic projection apparatus
US6809802B1 (en) * 1999-08-19 2004-10-26 Canon Kabushiki Kaisha Substrate attracting and holding system for use in exposure apparatus
JP4504479B2 (ja) 1999-09-21 2010-07-14 オリンパス株式会社 顕微鏡用液浸対物レンズ
JP2001272604A (ja) 2000-03-27 2001-10-05 Olympus Optical Co Ltd 液浸対物レンズおよびそれを用いた光学装置
JP4454784B2 (ja) * 2000-04-25 2010-04-21 東レ・ダウコーニング株式会社 熱可塑性樹脂組成物および成形品
TW591653B (en) * 2000-08-08 2004-06-11 Koninkl Philips Electronics Nv Method of manufacturing an optically scannable information carrier
KR100866818B1 (ko) * 2000-12-11 2008-11-04 가부시키가이샤 니콘 투영광학계 및 이 투영광학계를 구비한 노광장치
US20020163629A1 (en) * 2001-05-07 2002-11-07 Michael Switkes Methods and apparatus employing an index matching medium
US6600547B2 (en) * 2001-09-24 2003-07-29 Nikon Corporation Sliding seal
WO2003040830A2 (en) * 2001-11-07 2003-05-15 Applied Materials, Inc. Optical spot grid array printer
DE10210899A1 (de) 2002-03-08 2003-09-18 Zeiss Carl Smt Ag Refraktives Projektionsobjektiv für Immersions-Lithographie
DE10229818A1 (de) * 2002-06-28 2004-01-15 Carl Zeiss Smt Ag Verfahren zur Fokusdetektion und Abbildungssystem mit Fokusdetektionssystem
US20050151947A1 (en) * 2002-07-31 2005-07-14 Nikon Corporation Position measuring method, position control method, exposure method and exposure apparatus, and device manufacturing method
WO2004019128A2 (en) 2002-08-23 2004-03-04 Nikon Corporation Projection optical system and method for photolithography and exposure apparatus and method using same
US6788477B2 (en) * 2002-10-22 2004-09-07 Taiwan Semiconductor Manufacturing Co., Ltd. Apparatus for method for immersion lithography
DE10258718A1 (de) * 2002-12-09 2004-06-24 Carl Zeiss Smt Ag Projektionsobjektiv, insbesondere für die Mikrolithographie, sowie Verfahren zur Abstimmung eines Projektionsobjektives
EP1571694A4 (en) 2002-12-10 2008-10-15 Nikon Corp EXPOSURE APPARATUS AND METHOD FOR MANUFACTURING THE DEVICE
WO2004053957A1 (ja) 2002-12-10 2004-06-24 Nikon Corporation 面位置検出装置、露光方法、及びデバイス製造方法
EP1429190B1 (en) * 2002-12-10 2012-05-09 Canon Kabushiki Kaisha Exposure apparatus and method
DE10257766A1 (de) 2002-12-10 2004-07-15 Carl Zeiss Smt Ag Verfahren zur Einstellung einer gewünschten optischen Eigenschaft eines Projektionsobjektivs sowie mikrolithografische Projektionsbelichtungsanlage
EP1571698A4 (en) 2002-12-10 2006-06-21 Nikon Corp EXPOSURE APPARATUS, EXPOSURE METHOD, AND DEVICE MANUFACTURING METHOD
EP1571695A4 (en) 2002-12-10 2008-10-15 Nikon Corp EXPOSURE APPARATUS AND METHOD FOR MANUFACTURING THE SAME
KR20110086130A (ko) 2002-12-10 2011-07-27 가부시키가이샤 니콘 노광 장치 및 디바이스 제조 방법
WO2004053954A1 (ja) 2002-12-10 2004-06-24 Nikon Corporation 露光装置及びデバイス製造方法
AU2003302831A1 (en) 2002-12-10 2004-06-30 Nikon Corporation Exposure method, exposure apparatus and method for manufacturing device
JP4352874B2 (ja) 2002-12-10 2009-10-28 株式会社ニコン 露光装置及びデバイス製造方法
JP4232449B2 (ja) 2002-12-10 2009-03-04 株式会社ニコン 露光方法、露光装置、及びデバイス製造方法
AU2003302830A1 (en) 2002-12-10 2004-06-30 Nikon Corporation Exposure apparatus and method for manufacturing device
TW200421444A (en) 2002-12-10 2004-10-16 Nippon Kogaku Kk Optical device and projecting exposure apparatus using such optical device
EP1573730B1 (en) 2002-12-13 2009-02-25 Koninklijke Philips Electronics N.V. Liquid removal in a method and device for irradiating spots on a layer
EP1579435B1 (en) 2002-12-19 2007-06-27 Koninklijke Philips Electronics N.V. Method and device for irradiating spots on a layer
US7399978B2 (en) 2002-12-19 2008-07-15 Koninklijke Philips Electronics N.V. Method and device for irradiating spots on a layer
US6781670B2 (en) * 2002-12-30 2004-08-24 Intel Corporation Immersion lithography
JP2005175016A (ja) * 2003-12-08 2005-06-30 Canon Inc 基板保持装置およびそれを用いた露光装置ならびにデバイス製造方法
US7227619B2 (en) * 2004-04-01 2007-06-05 Asml Netherlands B.V. Lithographic apparatus and device manufacturing method

Patent Citations (9)

* Cited by examiner, † Cited by third party
Publication number Priority date Publication date Assignee Title
JPH06124873A (ja) * 1992-10-09 1994-05-06 Canon Inc 液浸式投影露光装置
JPH06168866A (ja) * 1992-11-27 1994-06-14 Canon Inc 液浸式投影露光装置
JPH10233433A (ja) * 1996-01-31 1998-09-02 Canon Inc 基板の保持装置とこれを用いた露光装置、及びデバイスの製造方法
JPH1050810A (ja) * 1997-04-07 1998-02-20 Nikon Corp 基板の吸着装置及び露光装置
JPH10303114A (ja) * 1997-04-23 1998-11-13 Nikon Corp 液浸型露光装置
JPH10340846A (ja) * 1997-06-10 1998-12-22 Nikon Corp 露光装置及びその製造方法並びに露光方法及びデバイス製造方法
JP2001127145A (ja) * 1999-08-19 2001-05-11 Canon Inc 基板吸着保持方法、基板吸着保持装置および該基板吸着保持装置を用いた露光装置ならびにデバイス製造方法
JP2001060617A (ja) * 1999-08-20 2001-03-06 Canon Inc 基板吸着保持装置および該基板吸着保持装置を用いた露光装置ならびにデバイスの製造方法
JP2003249542A (ja) * 2001-12-20 2003-09-05 Nikon Corp 基板保持装置、露光装置及びデバイス製造方法

Cited By (25)

* Cited by examiner, † Cited by third party
Publication number Priority date Publication date Assignee Title
JP2013214761A (ja) * 2003-07-28 2013-10-17 Nikon Corp 露光装置及びデバイス製造方法、並びに露光装置の制御方法
JP2014017527A (ja) * 2003-07-28 2014-01-30 Nikon Corp 露光装置及びデバイス製造方法、並びに露光装置の制御方法
WO2007055237A1 (ja) * 2005-11-09 2007-05-18 Nikon Corporation 露光装置及び露光方法、並びにデバイス製造方法
JPWO2007055237A1 (ja) * 2005-11-09 2009-04-30 株式会社ニコン 露光装置及び露光方法、並びにデバイス製造方法
US10222711B2 (en) 2005-12-30 2019-03-05 Asml Netherlands B.V. Lithographic apparatus and device manufacturing method
JP2021176021A (ja) * 2005-12-30 2021-11-04 エーエスエムエル ネザーランズ ビー.ブイ. リソグラフィ装置およびデバイス製造方法
US8947631B2 (en) 2005-12-30 2015-02-03 Asml Netherlands B.V. Lithographic apparatus and device manufacturing method
JP2015127836A (ja) * 2005-12-30 2015-07-09 エーエスエムエル ネザーランズ ビー.ブイ. リソグラフィ装置およびデバイス製造方法
JP2016146002A (ja) * 2005-12-30 2016-08-12 エーエスエムエル ネザーランズ ビー.ブイ. リソグラフィ装置およびデバイス製造方法
US9436096B2 (en) 2005-12-30 2016-09-06 Asml Netherlands B.V. Lithographic apparatus and device manufacturing method
US9851644B2 (en) 2005-12-30 2017-12-26 Asml Netherlands B.V. Lithographic apparatus and device manufacturing method
JP2019032568A (ja) * 2005-12-30 2019-02-28 エーエスエムエル ネザーランズ ビー.ブイ. リソグラフィ装置およびデバイス製造方法
JP2014060447A (ja) * 2005-12-30 2014-04-03 Asml Netherlands Bv リソグラフィ装置およびデバイス製造方法
JP7455783B2 (ja) 2005-12-30 2024-03-26 エーエスエムエル ネザーランズ ビー.ブイ. リソグラフィ装置およびデバイス製造方法
US10761433B2 (en) 2005-12-30 2020-09-01 Asml Netherlands B.V. Lithographic apparatus and device manufacturing method
US8941810B2 (en) 2005-12-30 2015-01-27 Asml Netherlands B.V. Lithographic apparatus and device manufacturing method
US11669021B2 (en) 2005-12-30 2023-06-06 Asml Netherlands B.V. Lithographic apparatus and device manufacturing method
US11275316B2 (en) 2005-12-30 2022-03-15 Asml Netherlands B.V. Lithographic apparatus and device manufacturing method
JP7072493B2 (ja) 2005-12-30 2022-05-20 エーエスエムエル ネザーランズ ビー.ブイ. リソグラフィ装置およびデバイス製造方法
US11500296B2 (en) 2017-06-06 2022-11-15 Asml Netherlands B.V. Method of unloading an object from a support table
JP7246325B2 (ja) 2017-06-06 2023-03-27 エーエスエムエル ネザーランズ ビー.ブイ. サポートテーブルから物体をアンロードする方法
US11175594B2 (en) 2017-06-06 2021-11-16 Asml Netherlands B.V. Method of unloading an object from a support table
US11846879B2 (en) 2017-06-06 2023-12-19 Asml Netherland B.V. Method of unloading an object from a support table
JP2020522732A (ja) * 2017-06-06 2020-07-30 エーエスエムエル ネザーランズ ビー.ブイ. サポートテーブルから物体をアンロードする方法
JP2024177192A (ja) * 2019-01-23 2024-12-19 エーエスエムエル ネザーランズ ビー.ブイ. リソグラフィ装置で用いる基板ホルダ及びデバイス製造方法

Also Published As

Publication number Publication date
KR20060045412A (ko) 2006-05-17
US20050219499A1 (en) 2005-10-06
US7227619B2 (en) 2007-06-05
JP4669033B2 (ja) 2011-04-13
DE602005000147T2 (de) 2007-10-25
SG115818A1 (en) 2005-10-28
TWI318725B (en) 2009-12-21
JP2011066440A (ja) 2011-03-31
EP1582935B1 (en) 2006-09-27
TW200604754A (en) 2006-02-01
CN1702555A (zh) 2005-11-30
EP1582935A1 (en) 2005-10-05
JP2008306217A (ja) 2008-12-18
SG136151A1 (en) 2007-10-29
DE602005000147D1 (de) 2006-11-09
CN100520589C (zh) 2009-07-29
JP4350056B2 (ja) 2009-10-21
JP5623880B2 (ja) 2014-11-12
KR100622089B1 (ko) 2006-09-15

Similar Documents

Publication Publication Date Title
JP4350056B2 (ja) リソグラフィ装置およびデバイス製造方法
JP4838333B2 (ja) リソグラフィ装置
JP4473811B2 (ja) リソグラフィ装置およびデバイス製造方法
JP5231280B2 (ja) リソグラフィ装置及びデバイス製造方法
JP5286431B2 (ja) リソグラフィ装置
KR100700372B1 (ko) 리소그래피 장치 및 디바이스 제조방법
US12287586B2 (en) Stage system, lithographic apparatus, method for positioning and device manufacturing method
JP5290333B2 (ja) リソグラフィ装置およびデバイス製造方法
JP2010074184A (ja) リソグラフィ装置およびデバイス製造方法
JP5412399B2 (ja) リソグラフィ装置およびデバイス製造方法
JP2011243981A (ja) 基板テーブル、リソグラフィ装置、基板のエッジを平らにする方法、及びデバイス製造方法
JP5155277B2 (ja) リソグラフィ装置及びデバイス製造方法
KR101077047B1 (ko) 침지 리소그래피 장치 및 디바이스 제조 방법
CN100524035C (zh) 光刻装置和器件制造方法
US7030967B2 (en) Lithographic apparatus, device manufacturing method and substrate holder

Legal Events

Date Code Title Description
RD03 Notification of appointment of power of attorney

Free format text: JAPANESE INTERMEDIATE CODE: A7423

Effective date: 20060904

RD05 Notification of revocation of power of attorney

Free format text: JAPANESE INTERMEDIATE CODE: A7425

Effective date: 20070614

A131 Notification of reasons for refusal

Free format text: JAPANESE INTERMEDIATE CODE: A131

Effective date: 20080618

A521 Request for written amendment filed

Free format text: JAPANESE INTERMEDIATE CODE: A523

Effective date: 20080917

TRDD Decision of grant or rejection written
A01 Written decision to grant a patent or to grant a registration (utility model)

Free format text: JAPANESE INTERMEDIATE CODE: A01

Effective date: 20090713

A01 Written decision to grant a patent or to grant a registration (utility model)

Free format text: JAPANESE INTERMEDIATE CODE: A01

A61 First payment of annual fees (during grant procedure)

Free format text: JAPANESE INTERMEDIATE CODE: A61

Effective date: 20090721

FPAY Renewal fee payment (event date is renewal date of database)

Free format text: PAYMENT UNTIL: 20120731

Year of fee payment: 3

R150 Certificate of patent or registration of utility model

Ref document number: 4350056

Country of ref document: JP

Free format text: JAPANESE INTERMEDIATE CODE: R150

Free format text: JAPANESE INTERMEDIATE CODE: R150

S802 Written request for registration of partial abandonment of right

Free format text: JAPANESE INTERMEDIATE CODE: R311802

FPAY Renewal fee payment (event date is renewal date of database)

Free format text: PAYMENT UNTIL: 20120731

Year of fee payment: 3

R350 Written notification of registration of transfer

Free format text: JAPANESE INTERMEDIATE CODE: R350

FPAY Renewal fee payment (event date is renewal date of database)

Free format text: PAYMENT UNTIL: 20120731

Year of fee payment: 3

FPAY Renewal fee payment (event date is renewal date of database)

Free format text: PAYMENT UNTIL: 20130731

Year of fee payment: 4

R250 Receipt of annual fees

Free format text: JAPANESE INTERMEDIATE CODE: R250

R250 Receipt of annual fees

Free format text: JAPANESE INTERMEDIATE CODE: R250

R250 Receipt of annual fees

Free format text: JAPANESE INTERMEDIATE CODE: R250

R250 Receipt of annual fees

Free format text: JAPANESE INTERMEDIATE CODE: R250

R250 Receipt of annual fees

Free format text: JAPANESE INTERMEDIATE CODE: R250

R250 Receipt of annual fees

Free format text: JAPANESE INTERMEDIATE CODE: R250

R250 Receipt of annual fees

Free format text: JAPANESE INTERMEDIATE CODE: R250

R250 Receipt of annual fees

Free format text: JAPANESE INTERMEDIATE CODE: R250

R250 Receipt of annual fees

Free format text: JAPANESE INTERMEDIATE CODE: R250

R250 Receipt of annual fees

Free format text: JAPANESE INTERMEDIATE CODE: R250

R250 Receipt of annual fees

Free format text: JAPANESE INTERMEDIATE CODE: R250

R250 Receipt of annual fees

Free format text: JAPANESE INTERMEDIATE CODE: R250

R250 Receipt of annual fees

Free format text: JAPANESE INTERMEDIATE CODE: R250

EXPY Cancellation because of completion of term