JP6996461B2 - 半導体装置 - Google Patents

半導体装置 Download PDF

Info

Publication number
JP6996461B2
JP6996461B2 JP2018169878A JP2018169878A JP6996461B2 JP 6996461 B2 JP6996461 B2 JP 6996461B2 JP 2018169878 A JP2018169878 A JP 2018169878A JP 2018169878 A JP2018169878 A JP 2018169878A JP 6996461 B2 JP6996461 B2 JP 6996461B2
Authority
JP
Japan
Prior art keywords
trench
igbt
fwd
region
pitch
Prior art date
Legal status (The legal status is an assumption and is not a legal conclusion. Google has not performed a legal analysis and makes no representation as to the accuracy of the status listed.)
Active
Application number
JP2018169878A
Other languages
English (en)
Other versions
JP2020043237A (ja
JP2020043237A5 (ja
Inventor
智喜 赤井
祐麻 利田
賢 妹尾
淳 大河原
Current Assignee (The listed assignees may be inaccurate. Google has not performed a legal analysis and makes no representation or warranty as to the accuracy of the list.)
Denso Corp
Original Assignee
Denso Corp
Priority date (The priority date is an assumption and is not a legal conclusion. Google has not performed a legal analysis and makes no representation as to the accuracy of the date listed.)
Filing date
Publication date
Application filed by Denso Corp filed Critical Denso Corp
Priority to JP2018169878A priority Critical patent/JP6996461B2/ja
Priority to CN201980058845.7A priority patent/CN112673466B/zh
Priority to PCT/JP2019/033935 priority patent/WO2020054447A1/ja
Publication of JP2020043237A publication Critical patent/JP2020043237A/ja
Priority to US17/197,308 priority patent/US11476355B2/en
Publication of JP2020043237A5 publication Critical patent/JP2020043237A5/ja
Application granted granted Critical
Publication of JP6996461B2 publication Critical patent/JP6996461B2/ja
Active legal-status Critical Current
Anticipated expiration legal-status Critical

Links

Images

Classifications

    • HELECTRICITY
    • H10SEMICONDUCTOR DEVICES; ELECTRIC SOLID-STATE DEVICES NOT OTHERWISE PROVIDED FOR
    • H10DINORGANIC ELECTRIC SEMICONDUCTOR DEVICES
    • H10D8/00Diodes
    • H10D8/422PN diodes having the PN junctions in mesas
    • HELECTRICITY
    • H01ELECTRIC ELEMENTS
    • H01LSEMICONDUCTOR DEVICES NOT COVERED BY CLASS H10
    • H01L21/00Processes or apparatus adapted for the manufacture or treatment of semiconductor or solid state devices or of parts thereof
    • H01L21/70Manufacture or treatment of devices consisting of a plurality of solid state components formed in or on a common substrate or of parts thereof; Manufacture of integrated circuit devices or of parts thereof
    • H01L21/71Manufacture of specific parts of devices defined in group H01L21/70
    • H01L21/76Making of isolation regions between components
    • HELECTRICITY
    • H10SEMICONDUCTOR DEVICES; ELECTRIC SOLID-STATE DEVICES NOT OTHERWISE PROVIDED FOR
    • H10DINORGANIC ELECTRIC SEMICONDUCTOR DEVICES
    • H10D12/00Bipolar devices controlled by the field effect, e.g. insulated-gate bipolar transistors [IGBT]
    • H10D12/411Insulated-gate bipolar transistors [IGBT]
    • H10D12/441Vertical IGBTs
    • H10D12/461Vertical IGBTs having non-planar surfaces, e.g. having trenches, recesses or pillars in the surfaces of the emitter, base or collector regions
    • H10D12/481Vertical IGBTs having non-planar surfaces, e.g. having trenches, recesses or pillars in the surfaces of the emitter, base or collector regions having gate structures on slanted surfaces, on vertical surfaces, or in grooves, e.g. trench gate IGBTs
    • HELECTRICITY
    • H10SEMICONDUCTOR DEVICES; ELECTRIC SOLID-STATE DEVICES NOT OTHERWISE PROVIDED FOR
    • H10DINORGANIC ELECTRIC SEMICONDUCTOR DEVICES
    • H10D30/00Field-effect transistors [FET]
    • H10D30/60Insulated-gate field-effect transistors [IGFET]
    • HELECTRICITY
    • H10SEMICONDUCTOR DEVICES; ELECTRIC SOLID-STATE DEVICES NOT OTHERWISE PROVIDED FOR
    • H10DINORGANIC ELECTRIC SEMICONDUCTOR DEVICES
    • H10D62/00Semiconductor bodies, or regions thereof, of devices having potential barriers
    • H10D62/10Shapes, relative sizes or dispositions of the regions of the semiconductor bodies; Shapes of the semiconductor bodies
    • H10D62/124Shapes, relative sizes or dispositions of the regions of semiconductor bodies or of junctions between the regions
    • H10D62/126Top-view geometrical layouts of the regions or the junctions
    • H10D62/127Top-view geometrical layouts of the regions or the junctions of cellular field-effect devices, e.g. multicellular DMOS transistors or IGBTs
    • HELECTRICITY
    • H10SEMICONDUCTOR DEVICES; ELECTRIC SOLID-STATE DEVICES NOT OTHERWISE PROVIDED FOR
    • H10DINORGANIC ELECTRIC SEMICONDUCTOR DEVICES
    • H10D62/00Semiconductor bodies, or regions thereof, of devices having potential barriers
    • H10D62/10Shapes, relative sizes or dispositions of the regions of the semiconductor bodies; Shapes of the semiconductor bodies
    • H10D62/129Cathode regions of diodes
    • HELECTRICITY
    • H10SEMICONDUCTOR DEVICES; ELECTRIC SOLID-STATE DEVICES NOT OTHERWISE PROVIDED FOR
    • H10DINORGANIC ELECTRIC SEMICONDUCTOR DEVICES
    • H10D62/00Semiconductor bodies, or regions thereof, of devices having potential barriers
    • H10D62/10Shapes, relative sizes or dispositions of the regions of the semiconductor bodies; Shapes of the semiconductor bodies
    • H10D62/13Semiconductor regions connected to electrodes carrying current to be rectified, amplified or switched, e.g. source or drain regions
    • H10D62/141Anode or cathode regions of thyristors; Collector or emitter regions of gated bipolar-mode devices, e.g. of IGBTs
    • H10D62/142Anode regions of thyristors or collector regions of gated bipolar-mode devices
    • HELECTRICITY
    • H10SEMICONDUCTOR DEVICES; ELECTRIC SOLID-STATE DEVICES NOT OTHERWISE PROVIDED FOR
    • H10DINORGANIC ELECTRIC SEMICONDUCTOR DEVICES
    • H10D64/00Electrodes of devices having potential barriers
    • H10D64/111Field plates
    • H10D64/117Recessed field plates, e.g. trench field plates or buried field plates
    • HELECTRICITY
    • H10SEMICONDUCTOR DEVICES; ELECTRIC SOLID-STATE DEVICES NOT OTHERWISE PROVIDED FOR
    • H10DINORGANIC ELECTRIC SEMICONDUCTOR DEVICES
    • H10D8/00Diodes
    • HELECTRICITY
    • H10SEMICONDUCTOR DEVICES; ELECTRIC SOLID-STATE DEVICES NOT OTHERWISE PROVIDED FOR
    • H10DINORGANIC ELECTRIC SEMICONDUCTOR DEVICES
    • H10D8/00Diodes
    • H10D8/60Schottky-barrier diodes 
    • HELECTRICITY
    • H10SEMICONDUCTOR DEVICES; ELECTRIC SOLID-STATE DEVICES NOT OTHERWISE PROVIDED FOR
    • H10DINORGANIC ELECTRIC SEMICONDUCTOR DEVICES
    • H10D84/00Integrated devices formed in or on semiconductor substrates that comprise only semiconducting layers, e.g. on Si wafers or on GaAs-on-Si wafers
    • HELECTRICITY
    • H10SEMICONDUCTOR DEVICES; ELECTRIC SOLID-STATE DEVICES NOT OTHERWISE PROVIDED FOR
    • H10DINORGANIC ELECTRIC SEMICONDUCTOR DEVICES
    • H10D84/00Integrated devices formed in or on semiconductor substrates that comprise only semiconducting layers, e.g. on Si wafers or on GaAs-on-Si wafers
    • H10D84/01Manufacture or treatment
    • H10D84/0123Integrating together multiple components covered by H10D12/00 or H10D30/00, e.g. integrating multiple IGBTs
    • H10D84/0126Integrating together multiple components covered by H10D12/00 or H10D30/00, e.g. integrating multiple IGBTs the components including insulated gates, e.g. IGFETs
    • HELECTRICITY
    • H10SEMICONDUCTOR DEVICES; ELECTRIC SOLID-STATE DEVICES NOT OTHERWISE PROVIDED FOR
    • H10DINORGANIC ELECTRIC SEMICONDUCTOR DEVICES
    • H10D84/00Integrated devices formed in or on semiconductor substrates that comprise only semiconducting layers, e.g. on Si wafers or on GaAs-on-Si wafers
    • H10D84/01Manufacture or treatment
    • H10D84/02Manufacture or treatment characterised by using material-based technologies
    • H10D84/03Manufacture or treatment characterised by using material-based technologies using Group IV technology, e.g. silicon technology or silicon-carbide [SiC] technology
    • H10D84/038Manufacture or treatment characterised by using material-based technologies using Group IV technology, e.g. silicon technology or silicon-carbide [SiC] technology using silicon technology, e.g. SiGe
    • HELECTRICITY
    • H10SEMICONDUCTOR DEVICES; ELECTRIC SOLID-STATE DEVICES NOT OTHERWISE PROVIDED FOR
    • H10DINORGANIC ELECTRIC SEMICONDUCTOR DEVICES
    • H10D62/00Semiconductor bodies, or regions thereof, of devices having potential barriers
    • H10D62/10Shapes, relative sizes or dispositions of the regions of the semiconductor bodies; Shapes of the semiconductor bodies
    • HELECTRICITY
    • H10SEMICONDUCTOR DEVICES; ELECTRIC SOLID-STATE DEVICES NOT OTHERWISE PROVIDED FOR
    • H10DINORGANIC ELECTRIC SEMICONDUCTOR DEVICES
    • H10D62/00Semiconductor bodies, or regions thereof, of devices having potential barriers
    • H10D62/10Shapes, relative sizes or dispositions of the regions of the semiconductor bodies; Shapes of the semiconductor bodies
    • H10D62/102Constructional design considerations for preventing surface leakage or controlling electric field concentration
    • H10D62/103Constructional design considerations for preventing surface leakage or controlling electric field concentration for increasing or controlling the breakdown voltage of reverse-biased devices
    • H10D62/105Constructional design considerations for preventing surface leakage or controlling electric field concentration for increasing or controlling the breakdown voltage of reverse-biased devices by having particular doping profiles, shapes or arrangements of PN junctions; by having supplementary regions, e.g. junction termination extension [JTE] 
    • H10D62/106Constructional design considerations for preventing surface leakage or controlling electric field concentration for increasing or controlling the breakdown voltage of reverse-biased devices by having particular doping profiles, shapes or arrangements of PN junctions; by having supplementary regions, e.g. junction termination extension [JTE]  having supplementary regions doped oppositely to or in rectifying contact with regions of the semiconductor bodies, e.g. guard rings with PN or Schottky junctions
    • HELECTRICITY
    • H10SEMICONDUCTOR DEVICES; ELECTRIC SOLID-STATE DEVICES NOT OTHERWISE PROVIDED FOR
    • H10DINORGANIC ELECTRIC SEMICONDUCTOR DEVICES
    • H10D62/00Semiconductor bodies, or regions thereof, of devices having potential barriers
    • H10D62/10Shapes, relative sizes or dispositions of the regions of the semiconductor bodies; Shapes of the semiconductor bodies
    • H10D62/102Constructional design considerations for preventing surface leakage or controlling electric field concentration
    • H10D62/103Constructional design considerations for preventing surface leakage or controlling electric field concentration for increasing or controlling the breakdown voltage of reverse-biased devices
    • H10D62/105Constructional design considerations for preventing surface leakage or controlling electric field concentration for increasing or controlling the breakdown voltage of reverse-biased devices by having particular doping profiles, shapes or arrangements of PN junctions; by having supplementary regions, e.g. junction termination extension [JTE] 
    • H10D62/106Constructional design considerations for preventing surface leakage or controlling electric field concentration for increasing or controlling the breakdown voltage of reverse-biased devices by having particular doping profiles, shapes or arrangements of PN junctions; by having supplementary regions, e.g. junction termination extension [JTE]  having supplementary regions doped oppositely to or in rectifying contact with regions of the semiconductor bodies, e.g. guard rings with PN or Schottky junctions
    • H10D62/107Buried supplementary regions, e.g. buried guard rings 

Landscapes

  • Engineering & Computer Science (AREA)
  • Physics & Mathematics (AREA)
  • Condensed Matter Physics & Semiconductors (AREA)
  • General Physics & Mathematics (AREA)
  • Manufacturing & Machinery (AREA)
  • Computer Hardware Design (AREA)
  • Microelectronics & Electronic Packaging (AREA)
  • Power Engineering (AREA)
  • Electrodes Of Semiconductors (AREA)
  • Metal-Oxide And Bipolar Metal-Oxide Semiconductor Integrated Circuits (AREA)

Description

本発明は、絶縁ゲート構造を有する絶縁ゲートバイポーラトランジスタ(以下では、IGBTという)素子とフリーホイールダイオード(以下では、FWDという)素子とが共通の半導体基板に形成された半導体装置に関するものである。
従来より、インバータ等に使用されるスイッチング素子として、例えば、IGBT素子を有するIGBT領域と、FWD素子を有するFWD領域とが共通の半導体基板に形成された半導体装置が提案されている(例えば、特許文献1参照)。
具体的には、この半導体装置では、N型のドリフト層を構成する半導体基板の表層部にベース層が形成され、ベース層を貫通するように複数のトレンチが形成されている。そして、各トレンチには、ゲート絶縁膜およびゲート電極が順に形成されている。これにより、トレンチゲート構造が構成されている。また、ベース層の表層部には、トレンチに接するようにN型のエミッタ領域が形成されている。半導体基板の裏面側には、P型のコレクタ層およびN型のカソード層が形成されている。
そして、半導体基板の表面側となる一面側には、ベース層およびエミッタ領域と電気的に接続される上部電極が形成されている。半導体基板の裏面側となる他面側には、コレクタ層およびカソード層と電気的に接続される下部電極が形成されている。
このような半導体装置では、半導体基板の裏面側にコレクタ層が形成されている領域がIGBT領域とされ、カソード層が形成されている領域がFWD領域とされる。なお、FWD領域では、上記構成とされていることにより、N型のカソード層およびドリフト層と、P型のベース層とによってPN接合を有するFWD素子が構成される。
また、上記半導体装置では、IGBT領域に形成されるトレンチは、一方向に延設された第1トレンチと、隣合う第1トレンチを繋ぐように一方向と交差する方向に延設された第2トレンチとが連通されて格子状とされている。
このような半導体装置では、トレンチが格子状とされているため、例えば、トレンチがストライプ状とされている場合と比較して、等電位線がトレンチを避けるように形成されることで等電位線が半導体基板の一面側に入り込み難くなる。このため、IGBT領域では、電界集中が発生し難くなり、耐圧の向上を図ることができる。
特開2016-82097号公報
ところで、上記のような半導体装置では、さらにFWD領域での耐圧を向上させることも望まれている。このため、FWD領域においても、トレンチを格子状とすることが考えられる。しかしながら、FWD領域のトレンチを格子状としてIGBT領域のトレンチとFWD領域のトレンチとを繋いでしまうと、IGBT領域に配置されたゲート電極とFWD領域に配置されたゲート電極とが電気的に接続されてしまう。この場合、FWD領域に配置されたゲート電極がIGBT領域に配置されたゲート電極と同電位となるため、FWD素子の特性が変動してしまう可能性がある。
したがって、FWD領域での耐圧を向上させつつ、FWD素子の特性が変動することを抑制するためには、例えば、FWD領域のトレンチを格子状としつつ、FWD領域のトレンチをIGBT領域のトレンチと連通させないようにすることが考えられる。しかしながら、この構成では、各領域に形成された格子状トレンチの間の領域では、トレンチ密度が低くなる可能性があり、当該領域の耐圧が低くなる可能性がある。
本発明は上記点に鑑み、耐圧を向上できる半導体装置を提供することを目的とする。
上記目的を達成するための請求項1、3、4、、10では、IGBT領域(1)とFWD領域(2)とが共通の半導体基板(10)に形成されている半導体装置であって、第1導電型のドリフト層(11)と、ドリフト層上に形成された第2導電型のベース層(12)と、ベース層を貫通するトレンチ(13a、13b)の壁面に形成されたゲート絶縁膜(14)と、ゲート絶縁膜上に形成されたゲート電極(15a、15b)と、を有する複数のトレンチゲート構造と、ベース層の表層部であって、IGBT領域に形成されたトレンチと接するように形成された第1導電型のエミッタ領域(19)と、ドリフト層を挟んでベース層側と反対側に形成された第2導電型のコレクタ層(16)と、ドリフト層を挟んでベース層と反対側に形成されると共にコレクタ層と隣接する第1導電型のカソード層(17)と、ベース層およびエミッタ領域と電気的に接続される第1電極(22)と、コレクタ層およびカソード層と電気的に接続される第2電極(18)と、を備えている。コレクタ層上の領域がIGBT領域とされ、カソード層上の領域がFWD領域とされており、トレンチは、IGBT領域に形成されるゲート電極としての第1ゲート電極(14a)が配置されるIGBT用トレンチ(13a)と、FWD領域に形成され、第1ゲート電極とは別に制御されるゲート電極としての第2ゲート電極(14b)が配置されるFWD用トレンチ(13b)であり、IGBT用トレンチは、半導体基板の面方向における一方向に沿った第1方向に延設されたIGBT用第1トレンチ(131a)と、半導体基板の面方向における第1方向と交差する第2方向に延設されたIGBT用第2トレンチ(132a)とが連通された格子状とされており、FWD用トレンチは、第1方向に延設されたFWD用第1トレンチ(131b)と、第2方向に延設されたFWD用第2トレンチ(132b)とが連通された格子状とされている。
そして、請求項1では、IGBT用第1トレンチのうちの最もFWD用トレンチ側に位置するトレンチ(133a)の中心と、FWD用第1トレンチのうちの最もIGBT用トレンチ側に位置するトレンチ(133b)の中心との間を分離セル領域(3a)とすると共に分離セル領域における第2方向の距離を分離セルピッチ(W1)とし、隣合うIGBT用第1トレンチ同士の中心間の最小距離をIGBT用第1トレンチピッチ(D1a)とし、隣合うIGBT用第2トレンチ同士の中心間の最小距離をIGBT用第2トレンチピッチ(D2a)とし、隣合うFWD用第1トレンチ同士の中心間の最小距離をFWD用第1トレンチピッチ(D1b)とし、隣合うFWD用第2トレンチ同士の中心間の最小距離をFWD用第2トレンチピッチ(D2b)とすると、分離セルピッチは、IGBT用第1トレンチピッチ、IGBT用第2トレンチピッチ、FWD用第1トレンチピッチ、FWD用第2トレンチピッチよりも狭くされている。
これによれば、分離セル領域では、分離セルピッチが各トレンチピッチ以上とされている場合と比較して、トレンチ密度を高くできる。このため、分離セル領域においても等電位線がベース層側に入り込み難くなり、分離セル領域でも電界集中が発生することを抑制できる。したがって、分離セル領域における耐圧を高くできるため、半導体装置の耐圧を高くできる。
請求項3では、IGBT用第1トレンチのうちの最もFWD用トレンチ側に位置するトレンチ(133a)の中心と、FWD用第1トレンチのうちの最もIGBT用トレンチ側に位置するトレンチ(133b)の中心との間を分離セル領域(3a)とすると共に分離セル領域における第2方向の距離を分離セルピッチ(W1)とし、分離セル領域には、第1方向に沿って延設された1つのダミートレンチ(23)が形成され、ダミートレンチ(23)には、ダミー絶縁膜(24)とダミー電極(25)とが配置されており、隣合うIGBT用第1トレンチ同士の中心間の最小距離をIGBT用第1トレンチピッチ(D1a)とし、隣合うIGBT用第2トレンチ同士の中心間の最小距離をIGBT用第2トレンチピッチ(D2a)とし、隣合うFWD用第1トレンチ同士の中心間の最小距離をFWD用第1トレンチピッチ(D1b)とし、隣合うFWD用第2トレンチ同士の中心間の最小距離をFWD用第2トレンチピッチ(D2b)とし、ダミートレンチの中心と、当該ダミートレンチと隣合うIGBT用第1トレンチの中心との間の距離を分離用第1トレンチピッチ(L1)とし、ダミートレンチの中心と、当該ダミートレンチと隣合うFWD用第1トレンチの中心との間の距離を分離用第2トレンチピッチ(L2)とすると、分離セルピッチは、IGBT用第1トレンチピッチ、IGBT用第2トレンチピッチ、FWD用第1トレンチピッチ、FWD用第2トレンチピッチの少なくとも1つより大きくされ、分離用第1トレンチおよび分離用第2トレンチピッチは、IGBT用第1トレンチピッチ、IGBT用第2トレンチピッチ、FWD用第1トレンチピッチ、FWD用第2トレンチピッチよりも狭くされている。
また、請求項4では、IGBT用第1トレンチのうちの最もFWD用トレンチ側に位置するトレンチ(133a)の中心と、FWD用第1トレンチのうちの最もIGBT用トレンチ側に位置するトレンチ(133b)の中心との間を分離セル領域(3a)とすると共に分離セル領域における第2方向の距離を分離セルピッチ(W1)とし、分離セル領域には、第1方向に沿って延設された複数のダミートレンチ(23)が形成され、ダミートレンチ(23)には、ダミー絶縁膜(24)とダミー電極(25)とが配置されており、隣合うIGBT用第1トレンチ同士の中心間の最小距離をIGBT用第1トレンチピッチ(D1a)とし、隣合うIGBT用第2トレンチ同士の中心間の最小距離をIGBT用第2トレンチピッチ(D2a)とし、隣合うFWD用第1トレンチ同士の中心間の最小距離をFWD用第1トレンチピッチ(D1b)とし、隣合うFWD用第2トレンチ同士の中心間の最小距離をFWD用第2トレンチピッチ(D2b)とし、ダミートレンチの中心と、当該ダミートレンチと隣合うIGBT用第1トレンチの中心との間の距離を分離用第1トレンチピッチ(L1)とし、ダミートレンチの中心と、当該ダミートレンチと隣合うFWD用第1トレンチの中心との間の距離を分離用第2トレンチピッチ(L2)とし、隣合うダミートレンチ同士の中心間の最大距離を分離用第3トレンチピッチ(L3)とすると、分離セルピッチは、IGBT用第1トレンチピッチ、IGBT用第2トレンチピッチ、FWD用第1トレンチピッチ、FWD用第2トレンチピッチの少なくとも1つより大きくされ、分離用第1トレンチピッチ、分離用第2トレンチピッチおよび分離用第3トレンチピッチは、IGBT用第1トレンチピッチ、IGBT用第2トレンチピッチ、FWD用第1トレンチピッチ、FWD用第2トレンチピッチよりも狭くされている。
これら請求項3および4によれば、各分離用ピッチが各トレンチピッチよりも狭くされる。このため、分離セル領域では、分離セルピッチが各トレンチピッチ以上とされていても、トレンチ密度を高くできる。このため、分離セル領域においても等電位線がベース層側に入り込み難くなり、分離セル領域でも電界集中が発生することを抑制できる。したがって、分離セル領域における耐圧を高くできるため、半導体装置の耐圧を高くできる。
請求項では、IGBT用第1トレンチのうちの最もFWD用トレンチ側に位置するトレンチ(133a)の中心と、FWD用第1トレンチのうちの最もIGBT用トレンチ側に位置するトレンチ(133b)の中心との間を分離セル領域(3a)とし、IGBT領域のうちの分離セル領域と異なる領域をIGBTセル領域(1a)とし、FWD領域のうちの分離セル領域と異なる領域をFWDセル領域(2a)とすると、分離セル領域のベース層は、IGBTセル領域およびFWDセル領域のベース層よりも単位体積当たりの不純物量が高くされ、分離セル領域には、IGBT用第1トレンチのうちの最もFWD用トレンチ側に位置するトレンチと、FWD用第1トレンチのうちの最もIGBT用トレンチ側に位置するトレンチとを連通させる連通トレンチ(134)が形成されており、連通トレンチには、第1ゲート電極と第2ゲート電極とを絶縁する絶縁膜(135)が配置されている
これによれば、分離セル領域では、IGBTセル領域およびFWDセル領域よりも、ベース層とドリフト層との間の空乏層がコレクタ層およびカソード層側に延びた状態となる。したがって、分離セル領域では、等電位線がベース層側に入り込み難くなり、分離セル領域で電界集中が発生することを抑制できる。したがって、分離セル領域における耐圧を高くできるため、半導体装置の耐圧を高くできる。
請求項10では、IGBT用第1トレンチのうちの最もFWD用トレンチ側に位置するトレンチ(133a)の中心と、FWD用第1トレンチのうちの最もIGBT用トレンチ側に位置するトレンチ(133b)の中心との間を分離セル領域(3a)とすると、分離セル領域には、IGBT用第1トレンチのうちの最もFWD用トレンチ側に位置するトレンチと、FWD用第1トレンチのうちの最もIGBT用トレンチ側に位置するトレンチとを連通させる連通トレンチ(134)が形成されており、連通トレンチには、第1ゲート電極と第2ゲート電極とを絶縁する絶縁膜(135)が配置されている。
これによれば、分離セル領域では、連通トレンチが形成されていることによってトレンチ密度を高くできる。このため、分離セル領域においても等電位線がベース層側に入り込み難くなり、分離セル領域で電界集中が発生することを抑制できる。したがって、分離セル領域における耐圧を高くできるため、半導体装置の耐圧を高くできる。
なお、各構成要素等に付された括弧付きの参照符号は、その構成要素等と後述する実施形態に記載の具体的な構成要素等との対応関係の一例を示すものである。
第1実施形態における半導体装置の断面図である。 図1に示す半導体装置の平面図である。 第2実施形態における半導体装置の断面図である。 図3に示す半導体装置の平面図である。 第2実施形態の変形例における半導体装置の平面図である。 第2実施形態の変形例における半導体装置の平面図である。 第3実施形態における半導体装置の平面図である。 第4実施形態における半導体装置の断面図である。 第5実施形態における半導体装置の平面図である。 第6実施形態における半導体装置の断面図である。 第6実施形態における半導体装置の平面図である。
以下、本発明の実施形態について図に基づいて説明する。なお、以下の各実施形態相互において、互いに同一もしくは均等である部分には、同一符号を付して説明を行う。
(第1実施形態)
第1実施形態について説明する。なお、本実施形態の半導体装置は、例えば、インバータ、DC/DCコンバータ等の電源回路に使用されるパワースイッチング素子として利用されると好適である。
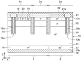
図1に示されるように、半導体装置は、IGBT素子を有するIGBT領域1と、FWD素子を有するFWD領域2とが共通の半導体基板10に形成されている。つまり、本実施形態の半導体装置は、RC(Reverse Conductingの略)-IGBTとされている。
具体的には、半導体装置は、N型のドリフト層11を構成する半導体基板10を有している。なお、本実施形態では、半導体基板10は、シリコン基板で構成される。そして、ドリフト層11上には、P型のベース層12が形成されている。なお、ドリフト層11上とは、言い換えると半導体基板10の一面10a側のことである。
半導体基板10には、ベース層12を貫通してドリフト層11に達するようにトレンチ13a、13bが形成されている。そして、各トレンチ13a、13bは、各トレンチ13a、13bの壁面を覆うように形成されたゲート絶縁膜14と、このゲート絶縁膜14の上に形成されたポリシリコン等により構成される第1、第2ゲート電極15a、15bとにより埋め込まれている。これにより、トレンチゲート構造が構成されている。
また、ドリフト層11を挟んでベース層12と反対側には、P型のコレクタ層16およびN型のカソード層17が形成されている。そして、本実施形態では、IGBT領域1とFWD領域2とは、半導体基板10の他面10b側に形成される層がコレクタ層16であるか、カソード層17であるかによって区画されている。すなわち、本実施形態では、コレクタ層16上の部分がIGBT領域1とされ、カソード層17上の部分がFWD領域2とされている。
コレクタ層16およびカソード層17を挟んでドリフト層11と反対側(すなわち、半導体基板10の他面10b)には、コレクタ層16およびカソード層17と電気的に接続される下部電極18が形成されている。つまり、IGBT領域1においてはコレクタ電極として機能し、FWD領域2においてはカソード電極として機能する下部電極18が形成されている。本実施形態では、下部電極18が第2電極に相当している。
ここで、本実施形態におけるトレンチ13a、13bの形状(すなわち、トレンチゲート構造の形状)について、図1および図2を参照しつつ説明する。なお、以下では、半導体基板10の面方向における一方向をX軸方向とし、半導体基板10の面方向における一方向であって、X軸方向と直交する方向をY軸方向とし、X軸方向およびY軸方向と直交する方向をZ軸方向とする。図1中では、紙面左右方向がX軸方向となり、紙面垂直方向がY軸方向となり、紙面上下方向がZ軸方向となる。図2中では、紙面左右方向がX軸方向となり、紙面上下方向がY軸方向となり、紙面垂直方向がZ軸方向となる。本実施形態では、Y軸方向が第1方向に相当し、X軸方向が第2方向に相当している。また、後述する各図においても、適宜X軸方向、Y軸方向、Z軸方向を示している。そして、図2は、後述する層間絶縁膜21および上部電極22を省略して示し、断面図ではないが、理解をし易くするために第1、第2ゲート電極15a、15bにハッチングを施してある。また、後述する図2に対応する各図においても、層間絶縁膜21および上部電極22を省略し、第1、第2ゲート電極15a、15bにハッチングを施してある。
半導体基板10には、IGBT領域1にIGBT用トレンチ13aが形成され、FWD領域2にFWD用トレンチ13bが形成されており、各トレンチ13a、13bはZ軸方向を深さ方向として掘り下げられている。
IGBT用トレンチ13aは、Y軸方向に沿って延設されたIGBT用第1トレンチ131aと、X軸方向に沿って延設されたIGBT用第2トレンチ132aとが連通されることで構成され、格子状とされている。なお、本実施形態では、IGBT用第1トレンチ131aは、X軸方向に沿って3本以上の複数本形成されており、隣合うIGBT用第1トレンチ131a同士の間隔が等しくされている。また、IGBT用第2トレンチ132aは、Y軸方向に沿って3本以上の複数本形成されており、隣合うIGBT用第2トレンチ132a同士の間隔が等しくされている。
FWD用トレンチ13bは、Y軸方向に沿って延設されたFWD用第1トレンチ131bと、X軸方向に沿って延設されたFWD用第2トレンチ132bとが連通されることで構成され、格子状とされている。
なお、本実施形態では、FWD用第1トレンチ131bは、X軸方向に沿って3本以上の複数本形成されている。そして、隣合うFWD用第1トレンチ131b同士の間隔は、互いに等しくされていると共に、隣合うIGBT用第1トレンチ131a同士の間隔とも等しくされている。また、FWD用第2トレンチ132bは、Y軸方向に沿って3本以上の複数本形成されている。そして、隣合うFWD用第2トレンチ132b同士の間隔は、互いに等しくされていると共に、隣合うIGBT用第2トレンチ132a同士の間隔とも等しくされている。
また、本実施形態では、1つのIGBT用第1トレンチ131aに対して反対側に突出する2つのIGBT用第2トレンチ132aは、Y軸方向に沿ってずれて配置されている。つまり、1つのIGBT用第1トレンチ131aに対して反対側に突出する2つのIGBT用第2トレンチ132aは、非対称とされている。同様に、1つのFWD用第1トレンチ131bに対して反対側に突出する2つのFWD用第2トレンチ132bは、Y軸方向に沿ってずれて配置されている。つまり、1つのFWD用第1トレンチ131bに対して反対側に突出する2つのFWD用第2トレンチ132bは、非対称とされている。
本実施形態では、このようにIGBT用トレンチ13aおよびFWD用トレンチ13bが形成されている。そして、IGBT用トレンチ13aとFWD用トレンチ13bとの間には、X軸方向に沿って延びるトレンチが形成されていない。つまり、本実施形態では、IGBT用トレンチ13aとFWD用トレンチ13bとは、連通されておらず、分離された状態となっている。このため、IGBT用トレンチ13aに埋め込まれた第1ゲート電極15aと、FWD用トレンチ13bに埋め込まれた第2ゲート電極15bとは、分離された状態となっており、電気的に絶縁された状態となっている。
そして、IGBT用トレンチ13aに埋め込まれた第1ゲート電極15aは、図示しないゲート配線を介して所定のゲート電圧が印加されるゲート駆動回路と接続される。一方、FWD用トレンチ13bに埋め込まれた第2ゲート電極15bは、例えば、後述する上部電極22と接続されて上部電極22の電位に維持される。
なお、IGBT用トレンチ13aおよびFWD用トレンチ13bについて、より詳しくは、第1ゲート電極15aが配置されたトレンチをIGBT用トレンチ13aとし、第2ゲート電極15bが配置されたトレンチをFWD用トレンチ13bとする。すなわち、本実施形態では、図1に示されるように、コレクタ層16とカソード層17との境界上にもトレンチが形成されているが、このトレンチには図2に示されるように第2ゲート電極15bが配置されている。このため、このトレンチは、FWD用トレンチ13bとなる。
以下では、IGBT用トレンチ13aのうちの最もFWD用トレンチ13b側のものをIGBT用端部トレンチ133aともいう。また、FWD用トレンチ13bのうちの最もIGBT用トレンチ13a側のものをFWD用端部トレンチ133bともいう。なお、本実施形態では、FWD用端部トレンチ133bは、X軸方向における中心がコレクタ層16とカソード層17との境界と略一致するように構成されている。
また、以下では、IGBT用端部トレンチ133aの中心とFWD用端部トレンチ133bの中心との間の領域を分離セル領域3aともいう。また、IGBT領域1のうちの分離セル領域3と異なる領域をIGBTセル領域1aともいい、FWD領域2のうちの分離セル領域3と異なる領域をFWDセル領域2aともいう。
なお、IGBT用端部トレンチ133aの中心とは、IGBT用端部トレンチ133aにおけるX軸方向の中心であり、FWD用端部トレンチ133bの中心とは、FWD用端部トレンチ133bにおけるX軸方向の中心のことである。そして、本実施形態では、FWD用端部トレンチ133bの中心がコレクタ層16とカソード層17との境界と略一致するように構成されている。このため、IGBT領域1に分離セル領域3aが含まれることになり、FWD領域2は全てFWDセル領域1bとなる。
また、IGBT用端部トレンチ133aの中心とFWD用端部トレンチ133bの中心との間の距離を分離セルピッチW1とする。つまり、分離セル領域3aにおけるX軸方向に沿った距離を分離セルピッチW1とする。
また、X軸方向に沿って隣合うIGBT用第1トレンチ131a同士の中心間の距離をIGBT用第1トレンチピッチD1aとする。また、Y軸方向に沿って隣合うIGBT用第2トレンチ132a同士の中心間の距離をIGBT用第2トレンチピッチD2aとする。なお、IGBT用第1トレンチ131aの中心とは、IGBT用第1トレンチ131aにおけるX軸方向の中心のことであり、IGBT用第2トレンチ132aの中心とは、IGBT用第2トレンチ132aにおけるY軸方向の中心のことである。
同様に、X軸方向に沿って隣合うFWD用第1トレンチ131b同士の中心間の距離をFWD用第1トレンチピッチD1bとする。また、Y軸方向に沿って隣合うFWD用第2トレンチ132bの中心間の距離をFWD用第2トレンチピッチD2bとする。なお、FWD用第1トレンチ131bの中心とは、FWD用第1トレンチ131bにおけるX軸方向の中心のことであり、FWD用第2トレンチ132bの中心とは、FWD用第2トレンチ132bにおけるY軸方向の中心のことである。
また、本実施形態では、上記のように、隣合うIGBT用第1トレンチ131a同士の間隔と、隣合うFWD用第1トレンチ131b同士の間隔とが等しくされている。このため、IGBT用第1トレンチピッチD1aとFWD用第1トレンチピッチD1bとは等しくなっている。また、隣合うIGBT用第2トレンチ132a同士の間隔と、隣合うFWD用第2トレンチ132b同士の間隔とが等しくされている。このため、IGBT用第2トレンチピッチD2aとFWD用第2トレンチピッチD2bとは等しくなっている。
そして、本実施形態では、分離セルピッチW1は、各トレンチピッチD1a、D2a、D1b、D2bより狭くされている。このため、本実施形態の分離セル領域3aは、例えば、分離セルピッチW1がIGBT用第1トレンチピッチD1aおよびFWD用第1トレンチピッチD1b以上とされている場合と比較して、トレンチ密度が高くなっている。
以上が本実施形態におけるトレンチ13a、13bの構成である。
そして、各IGBTセル領域1aにおいては、ベース層12の表層部に、ドリフト層11よりも高不純物濃度とされたN型のエミッタ領域19、およびベース層12よりも高不純物濃度とされたP型のコンタクト領域20がそれぞれ形成されている。具体的には、本実施形態では、エミッタ領域19は、IGBT用トレンチ13aに沿って形成されている。つまり、エミッタ領域19は、半導体基板10の面方向に対する法線方向から視たとき、枠状に形成されている。そして、コンタクト領域20は、エミッタ領域19と隣接しつつエミッタ領域19で囲まれるように形成され、IGBT用トレンチ13aと離れた位置に形成されている。なお、ベース層12の表層部とは、言い換えると、半導体基板10の一面10a側のことである。
また、FWDセル領域2aおよび分離セル領域3aでは、ベース層12の表層部に、IGBTセル領域1aに形成されるコンタクト領域20と同様のコンタクト領域20が形成されている。なお、本実施形態では、分離セル領域3aにはエミッタ領域19は形成されていない。つまり、IGBT用端部トレンチ133aの分離セル領域3側には、エミッタ領域19が形成されていない。すなわち、本実施形態では、分離セル領域3aをIGBT素子として動作しなくなるようにしている。これにより、IGBT動作時にFWD用端部トレンチ133bに配置された第2ゲート電極15bがゲート干渉し、FWD素子の特性が変動することを抑制できる。
半導体基板10の一面10a上には、BPSG(Borophosphosilicate Glassの略)等で構成される層間絶縁膜21が形成されている。そして、層間絶縁膜21上には、層間絶縁膜21に形成されたコンタクトホール21aを通じてエミッタ領域19およびコンタクト領域20(すなわち、ベース層12)と電気的に接続される第1電極としての上部電極22が形成されている。つまり、層間絶縁膜21上には、IGBT領域1においてエミッタ電極として機能し、FWD領域2においてアノード電極として機能する上部電極22が形成されている。
なお、分離セル領域3aでは、図1とは別断面において、層間絶縁膜21にコンタクト領域20を露出させるコンタクトホール21aが形成されている。より詳しくは、本実施形態の半導体装置は、特に図示しないが、上記IGBT領域1およびFWD領域2を囲むように外周領域が配置されている。そして、分離セル領域3aでは、外周領域の近傍で層間絶縁膜21にコンタクトホールが形成され、当該コンタクトホール21aを通じてコンタクト領域20が上部電極22と電気的に接続されている。
このため、後述するようにダイオード動作をする際、分離セル領域3aのコンタクトホール21aが外周領域の近傍に形成されているため、分離セル領域3aを介して上部電極22にキャリアが流れ難くなり、分離セル領域3aがダイオード動作し難くなる。これにより、ダイオード動作時にIGBT用端部トレンチ133aに配置された第1ゲート電極15aがゲート干渉し、IGBT素子の特性が変動することを抑制できる。
そして、上記のように構成されていることにより、FWDセル領域2aにおいては、ベース層12およびコンタクト領域20をアノードとし、ドリフト層11、カソード層17をカソードとしてPN接合されたFWD素子が構成される。
以上が本実施形態における半導体装置の構成である。なお、本実施形態では、N型、N型、N型が第1導電型に相当しており、P型、P型が第2導電型に相当している。また、本実施形態では、上記のように、半導体基板10は、コレクタ層16、カソード層17、ドリフト層11、ベース層12、エミッタ領域19、コンタクト領域20を有する構成とされている。
次に、上記半導体装置の作動について、簡単に説明する。
まず、半導体装置は、下部電極18に上部電極22より高い電圧が印加されると、ベース層12とドリフト層11との間に形成されるPN接合が逆導通状態となって空乏層が形成される。そして、第1ゲート電極15aに、絶縁ゲート構造の閾値電圧Vth未満であるローレベル(例えば、0V)の電圧が印加されているときには、上部電極22と下部電極18との間に電流は流れない。
そして、IGBT素子をオン状態にするには、下部電極18に上部電極22より高い電圧が印加された状態で、第1ゲート電極15aに、絶縁ゲート構造の閾値電圧Vth以上であるハイレベルの電圧が印加されるようにする。これにより、ベース層12のうちの第1ゲート電極15aが配置されるIGBT用トレンチ13aと接している部分には、反転層が形成される。そして、エミッタ領域19から反転層を介して電子がドリフト層11に供給されることによってコレクタ層16から正孔がドリフト層11に供給され、伝導度変調によりドリフト層11の抵抗値が低下することでオン状態となる。
また、IGBT素子をオフ状態にし、FWD素子をオン状態にする(すなわち、FWD素子をダイオード動作させる)際には、上部電極22と下部電極18に印加する電圧をスイッチングし、上部電極22に下部電極18より高い電圧を印加する。そして、第1ゲート電極15aに絶縁ゲート構造の閾値電圧Vth未満であるローレベル(例えば、0V)の電圧を印加する。これにより、ベース層12のうちのIGBT用第1トレンチ131aと接する部分に反転層が形成されなくなり、ベース層12から正孔が供給されると共にカソード層17から電子が供給されることでFWD素子がダイオード動作をする。
その後、FWD素子をオン状態からオフ状態にする際には、下部電極18に上部電極22より高い電圧を印加する逆電圧印加を行う。つまり、FWD素子に順方向電流が流れている状態から当該電流を遮断する際、下部電極18に上部電極22より高い電圧を印加する逆電圧印加を行う。これにより、FWD素子がリカバリ状態となった後にオフ状態となる。
この際、半導体装置では、等電位線が各トレンチ13a、13bを避けるように湾曲して形成される。そして、本実施形態では、分離セルピッチW1を各トレンチピッチD1a、D2a、D1b、D2bより狭くしている。このため、分離セルピッチW1が各トレンチピッチD1a、D2a、D1b、D2b以上とされている場合と比較して、分離セル領域3aのトレンチ密度が高くなる。したがって、分離セル領域3aにおいても等電位線がベース層12側に入り込み難くなり、分離セル領域3aでも電界集中が発生することを抑制できる。したがって、分離セル領域3aにおける耐圧を高くできるため、半導体装置の耐圧を高くできる。
以上説明したように、本実施形態では、分離セルピッチW1が各トレンチピッチD1a、D2a、D1b、D2bより狭くされている。このため、分離セル領域3aでは、分離セルピッチW1が各トレンチピッチD1a、D2a、D1b、D2b以上とされている場合と比較して、トレンチ密度が高くなる。これにより、分離セル領域3aにおいても等電位線がベース層12側に入り込み難くなり、分離セル領域3aでも電界集中が発生することを抑制できる。したがって、分離セル領域3aにおける耐圧を高くできるため、半導体装置の耐圧を高くできる。
(第2実施形態)
第2実施形態について説明する。本実施形態は、第1実施形態に対し、分離セル領域3aにダミートレンチを形成したものである。その他に関しては第1実施形態と同様であるため、ここでは説明を省略する。
本実施形態では、図3および図4に示されるように、分離セル領域3aには、Y軸方向に沿って延び、IGBT用トレンチ13aおよびFWD用トレンチ13bとは分離された1つのダミートレンチ23が形成されている。本実施形態では、このダミートレンチ23は、IGBT用トレンチ13aおよびFWD用トレンチ13bよりも深く形成されている。
そして、ダミートレンチ23は、ダミートレンチ23の壁面を覆うように形成されたダミー絶縁膜24と、このダミー絶縁膜24の上に形成されたポリシリコン等により構成されるダミー電極25とにより埋め込まれている。なお、本実施形態のダミー電極25は、図1とは別断面において、上部電極22と電気的に接続されている。
ここで、本実施形態では、ダミートレンチ23の中心と、IGBT用端部トレンチ133aの中心との間の距離を分離用第1トレンチピッチL1とする。また、ダミートレンチ23の中心と、FWD用端部トレンチ133bの中心との間の距離を分離用第2トレンチピッチL2とする。なお、ダミートレンチ23の中心とは、ダミートレンチ23におけるX軸方向の中心のことである。また、分離セルピッチW1は、分離用第1トレンチピッチL1と分離用第2トレンチピッチL2との和となる。
そして、本実施形態では、分離用第1トレンチピッチL1および分離用第2トレンチピッチL2が各トレンチピッチD1a、D2a、D1b、D2bより狭くされ、かつ分離セルピッチW1が各トレンチピッチD1a、D2a、D1b、D2bより狭くされている。なお、本実施形態では、分離用第1トレンチピッチL1と分離用第2トレンチピッチL2とは等しくされている。
以上説明したように、本実施形態では、分離セル領域3aにダミートレンチ23が形成されている。このため、分離セル領域3aでは、さらにトレンチ密度を高くでき、さらに耐圧の向上を図ることができる。
また、ダミートレンチ23は、IGBT用トレンチ13aおよびFWD用トレンチ13bよりも深くまで形成されている。このため、ダミートレンチ23がIGBT用トレンチ13aおよびFWD用トレンチ13bと同じ深さとされている場合と比較して、分離セル領域3aでは、さらに等電位線がベース層12側に入り込み難くなる。したがって、さらに分離セル領域3aの耐圧を向上できる。
(第2実施形態の変形例)
上記第2実施形態の変形例について説明する。上記第2実施形態において、図5に示されるように、分離セル領域3aには、複数のダミートレンチ23がX軸方向に沿って配列されるように形成されていてもよい。この場合、IGBT用端部トレンチ133aの中心と、IGBT用端部トレンチ133aと隣合うダミートレンチ23の中心との間の距離を分離用第1トレンチピッチL1とする。また、FWD用端部トレンチ133bの中心と、FWD用端部トレンチ133bと隣合うダミートレンチ23の中心との間の距離を分離用第2トレンチピッチL2とする。そして、隣合うダミートレンチ23同士の中心間の距離を分離用第3トレンチピッチL3とする。この場合、分離用第1~第3トレンチピッチL1~L3は、各トレンチピッチD1a、D2a、D1b、D2bより狭くなる。
また、このような変形例において、さらに複数のダミートレンチ23を形成するようにしてもよい。この場合は、隣合うダミートレンチ23同士の中心間の最大距離を分離用第3トレンチピッチL3とすればよい。
さらに、上記第2実施形態において、図6に示されるように、ダミートレンチ23は、Y軸方向に沿って複数に分離されていてもよい。なお、このような構成とする場合には、Y軸方向に沿って隣合うダミートレンチ23の間隔を分離用第4トレンチピッチL4とすると、ダミートレンチ23は、分離用第4トレンチピッチL4も各トレンチピッチD1a、D2a、D1b、D2bより狭くなるように構成される。これにより、分離セル領域3aのトレンチ密度の向上を図ることができ、上記第2実施形態と同様の効果を得ることができる。
(第3実施形態)
第3実施形態について説明する。第3実施形態は、第2実施形態に対し、分離セルピッチW1と、各トレンチピッチD1a、D2a、D1b、D2bとの関係を変更したものである。その他に関しては第1実施形態と同様であるため、ここでは説明を省略する。
本実施形態では、図7に示されるように、分離セルピッチW1は、各トレンチピッチD1a、D2a、D1b、D2bよりも広くされている。しかしながら、分離用第1トレンチピッチL1および分離用第2トレンチピッチL2は、それぞれ各トレンチピッチD1a、D2a、D1b、D2bよりも狭くされている。
以上説明したように、分離セルピッチW1は、分離用第1、第2トレンチピッチL1、L2が各トレンチピッチD1a、D2a、D1b、D2bより狭くなるのであれば、各トレンチピッチD1a、D2a、D1b、D2bより広くされていてもよい。このような半導体装置としても、分離セル領域3aのトレンチ密度が向上するため、上記第2実施形態と同様の効果を得ることができる。
なお、特に図示しないが、本実施形態は、上記第2実施形態の変形例を適宜組み合わせることも可能である。この場合、例えば、図5の構成を採用する場合には、分離用第1~第3トレンチピッチL1~L3が各トレンチピッチD1a、D2a、D1b、D2bより狭くなるようにすればよい。
(第4実施形態)
第4実施形態について説明する。第4実施形態は、第1実施形態に対し、分離セル領域3aのベース層12の構成を変更したものである。その他に関しては、第1実施形態と同様であるため、ここでは説明を省略する。
本実施形態では、図8に示されるように、分離セル領域3aでは、ベース層12の深さがIGBTセル領域1aおよびFWDセル領域2aよりも深く形成されている。つまり、分離セル領域3aは、IGBTセル領域1aおよびFWDセル領域1bよりもベース層12における単位体積当たりの不純物量が高くなるように構成されている。
なお、このような半導体装置におけるベース層12は、例えば、次のように製造される。すなわち、ベース層12は、半導体基板10にP型の不純物をイオン注入して熱処理することで形成される。この場合、分離セル領域3aを構成する部分では、イオン注入時の加速電圧を大きくする、または複数回に渡ってイオン注入を行うことにより、IGBTセル領域1aおよびFWDセル領域2aよりもベース層12が深くなるように形成される。
以上説明したように、本実施形態では、分離セル領域3aでは、IGBTセル領域1aおよびFWDセル領域2aよりもベース層12が深くまで形成されている。このため、分離セル領域3aでは、IGBTセル領域1aおよびFWDセル領域2aよりも、ベース層12とドリフト層11との間の空乏層が半導体基板10の他面10b側に延びた状態となる。したがって、分離セル領域3aでは、さらに等電位線がベース層12側に入り込み難くなり、分離セル領域3aで電界集中が発生することを抑制できる。
(第4実施形態の変形例)
上記第4実施形態の変形例について説明する。上記第4実施形態において、分離セル領域3aにおけるベース層12は、IGBTセル領域1aおよびFWDセル領域2aにおけるベース層12よりも高不純物濃度とされていてもよい。これによれば、さらに等電位線がベース層12側に入り込み難くなり、分離セル領域3で電界集中が発生することを抑制できる。なお、このような構成では、分離セル領域3aにおけるベース層12は、IGBTセル領域1aおよびFWDセル領域1bにおけるベース層12と同じ深さとされていてもよい。
また、上記第4実施形態では、分離セルピッチW1は、各トレンチピッチD1a、D2a、D1b、D2b以上とされていてもよい。このような半導体装置としても、分離セル領域3aのベース層12を変更することによって電界集中が発生することを抑制できるため、耐圧の向上を図ることができる。
(第5実施形態)
第5実施形態について説明する。第5実施形態は、第1実施形態に対し、分離セル領域3aに連通トレンチを形成したものである。その他に関しては、第1実施形態と同様であるため、ここでは説明を省略する。
本実施形態では、図9に示されるように、分離セル領域3aには、IGBT用端部トレンチ133aとFWD用端部トレンチ133bとを繋ぐ連通トレンチ134が形成されている。具体的には、連通トレンチ134は、X軸方向に沿って延びるように形成されていると共に、複数形成されている。そして、IGBT用端部トレンチ133aとFWD用端部トレンチ133bとは、各連通トレンチ134を介して連通されている。つまり、本実施形態では、IGBT用トレンチ13aとFWD用トレンチ13bとが一体的に形成されている。
そして、連通トレンチ134には、第1ゲート電極15aと第2ゲート電極15bとを絶縁する絶縁膜135が配置されている。
以上説明したように、本実施形態では、分離セル領域3aに連通トレンチ134が形成されている。このため、分離セル領域3aのトレンチ密度をさらに高くできる。したがって、さらに分離セル領域3aでの電界集中が発生することを抑制できる。
(第5実施形態の変形例)
上記第5実施形態の変形例について説明する。上記第5実施形態において、分離セルピッチW1は、各トレンチピッチD1a、D2a、D1b、D2b以上とされていてもよい。このような半導体装置としても、分離セル領域3aに連通トレンチ134を形成することにより、連通トレンチ134が形成されていない場合と比較して電界集中が発生することを抑制できるため、耐圧の向上を図ることができる。
また、上記第5実施形態において、連通トレンチ134は1つのみ形成されていてもよい。このような半導体装置としても、連通トレンチ134が形成されていない場合と比較すれば、トレンチ密度を高くできる。
さらに、上記第5実施形態において、第1ゲート電極15aと第2ゲート電極15bとが絶縁されるのであれば、第1ゲート電極15aおよび第2ゲート電極15bは、一部が連通トレンチ134内まで延設されていてもよい。
(第6実施形態)
第6実施形態について説明する。第6実施形態は、第1実施形態に対し、ピラー領域、バリア領域、電界緩和領域を形成したものである。その他に関しては、第1実施形態と同様であるため、ここでは説明を省略する。
本実施形態では、図10および図11に示されるように、IGBTセル領域1a、分離セル領域3a、FWDセル領域2bにおいて、ドリフト層11とベース層12との間に、ベース層12よりも低不純物濃度とされたP--型の電界緩和領域26が形成されている。そして、IGBTセル領域1a、FWDセル領域2a、分離セル領域3aにおいて、電界緩和領域26とベース層12との間には、ドリフト層11より高不純物濃度とされたN型のバリア領域27が形成されている。なお、各トレンチ13a、13bは、ベース層12、バリア領域27、電界緩和領域26を貫通してドリフト層11に達するように形成されている。
また、本実施形態では、IGBTセル領域1aおよびFWDセル領域2aにおいて、エミッタ領域19が形成されている。具体的には、IGBTセル領域1aでは、エミッタ領域19は、当該IGBTセル領域1aの1セルを形造る一対のIGBT用第1トレンチ131aに対し、それぞれ略中央部に位置する部分に沿って形成されている。同様に、FWDセル領域2aでは、エミッタ領域19は、当該FWDセル領域2aの1セルを形造る一対のFWD用第1トレンチ131bに対し、それぞれ略中央部に位置する部分に沿って形成されている。
また、IGBTセル領域1aおよびFWDセル領域2aには、ベース層12の表層部に、コンタクト領域20に囲まれるように、N型のピラー領域28が形成されている。ピラー領域28は、バリア領域27に達し、バリア領域27と接続されるように形成されている。ピラー領域28は、上部電極22に対してショットキー接続されている。
そして、本実施形態では、IGBTセル領域1aおよびFWDセル領域2aでは上記のようにエミッタ領域19、コンタクト領域20、ピラー領域28が形成されているため、半導体基板10の一面10aには、ベース層12も露出した状態となっている。
また、ドリフト層11のうちのベース層12側と反対側(すなわち、半導体基板10の他面10b側)には、ドリフト層11よりも高不純物濃度とされたN型のフィールドストップ層(以下では、FS層という)29が形成されている。このFS層29は、空乏層の広がりを防ぐことで耐圧と定常損失の性能向上を図ると共に、半導体基板10の他面10b側から注入されるホールの注入量を制御するためのものである。
さらに、本実施形態では、カソード層17には、部分的にp型の注入領域30が形成された状態となっている。本実施形態では、注入領域30は、複数形成されて格子状に形成されているが、1つのみとされていてもよいし、Y軸方向に沿って延びるストライプ状とされていてもよいし、不規則に形成されていてもよい。なお、この注入領域30は、コンタクト領域20と同じ不純物濃度とされている。
以上説明した本実施形態では、バリア領域27がピラー領域28を介して上部電極22の電位に維持される。このため、この半導体装置では、FWD素子をオンさせる際には、ベース層12とバリア領域27との間のpn接合によって構成されるダイオードがオンし難くなり、上部電極22の電位を上昇させることでオンする。したがって、ダイオード動作を安定させることができる。
また、本実施形態の半導体装置では、バリア領域27とドリフト層11との間には、P型の電界緩和領域26が形成されている。このため、電界緩和領域26が形成されていない場合と比較して、電界緩和領域26とドリフト層11との間に構成されるpn接合により、等電位線が各トレンチ13の間に入り込み難くなり、さらに耐圧の向上を図ることができる。
(他の実施形態)
本発明は上記した実施形態に限定されるものではなく、特許請求の範囲に記載した範囲内において適宜変更が可能である。
例えば、上記各実施形態では、第1導電型をN型とし、第2導電型をP型とした例について説明したが、第1導電型をP型とし、第2導電型をN型とすることもできる。
また、上記各実施形態において、分離セル領域3aでは、IGBT用トレンチ13aと接するようにエミッタ領域19が形成され、当該エミッタ領域19も上部電極22と接続されるようにしてもよい。
さらに、上記各実施形態において、分離セル領域3aでは、外周領域から離れた位置にコンタクトホール21aが形成されていてもよい。例えば、上記第1実施形態では、図1において、分離セル領域3aのコンタクト領域20を露出させるコンタクトホール21aが形成されていてもよい。
また、上記各実施形態において、コレクタ層16とカソード層17との境界は、他の位置に形成されていてもよい。例えば、コレクタ層16とカソード層17との境界は、IGBT用端部トレンチ133aの直下に形成されるようにしてもよいし、IGBT用端部トレンチ133aとFWD用端部トレンチ133bとの間の中央部に形成されるようにしてもよい。つまり、分離セル領域3aは、FWD領域2内にのみ含まれるようにしてもよいし、IGBT領域1およびFWD領域2に含まれるようにしてもよい。
さらに、上記第1、第2、第4~第6実施形態において、例えば、隣合うIGBT用第1トレンチ131a同士の間隔が異なっており、IGBT用第1トレンチピッチD1aが部分毎に異なっていてもよい。同様に、隣合うIGBT用第2トレンチ132a同士の間隔、隣合うFWD用第1トレンチ131b同士の間隔、隣合うFWD用第2トレンチ132b同士の間隔も異なっていてもよい。これらのような構成とする場合には、分離セルピッチW1は、各トレンチピッチD1a、D2a、D1b、D2bの最小距離より狭くされていればよい。
また、上記第1~第5実施形態において、FWD領域2にもエミッタ領域19が形成されていてもよい。そして、上記第6実施形態において、FWD領域2にエミッタ領域19が形成されていなくてもよい。
さらに、上記第2実施形態において、ダミー電極25は、上部電極22等と接続されておらず、浮遊状態とされていてもよい。
また、上記各実施形態を適宜組み合わせてもよい。例えば、上記第4実施形態は、上記第2、第3実施形態にも適宜組み合わせ可能である。また、上記第5実施形態は、上記第2~第4実施形態にも適宜組み合わせ可能である。さらに、上記第6実施形態は、上記第2~第5実施形態にも適宜組み合わせ可能である。そして、各実施形態を組み合わせたもの同士をさらに組み合わせるようにしてもよい。
1 IGBT領域
2 FWD領域
3a 分離セル領域
10 半導体基板
11 ドリフト層
12 ベース層
13a IGBT用トレンチ
13b FWD用トレンチ
14 ゲート絶縁膜
15a 第1ゲート電極
15b 第2ゲート電極
16 コレクタ層
17 カソード層
18 下部電極(第2電極)
22 上部電極(第1電極)
131a IGBT用第1トレンチ
131b FWD用第1トレンチ
132a IGBT用第2トレンチ
132b FWD用第2トレンチ

Claims (11)

  1. IGBT領域(1)とFWD領域(2)とが共通の半導体基板(10)に形成されている半導体装置であって、
    第1導電型のドリフト層(11)と、
    前記ドリフト層上に形成された第2導電型のベース層(12)と、
    前記ベース層を貫通するトレンチ(13a、13b)の壁面に形成されたゲート絶縁膜(14)と、前記ゲート絶縁膜上に形成されたゲート電極(15a、15b)と、を有する複数のトレンチゲート構造と、
    前記ベース層の表層部であって、前記IGBT領域に形成された前記トレンチと接するように形成された第1導電型のエミッタ領域(19)と、
    前記ドリフト層を挟んで前記ベース層側と反対側に形成された第2導電型のコレクタ層(16)と、
    前記ドリフト層を挟んで前記ベース層と反対側に形成されると共に前記コレクタ層と隣接する第1導電型のカソード層(17)と、
    前記ベース層および前記エミッタ領域と電気的に接続される第1電極(22)と、
    前記コレクタ層および前記カソード層と電気的に接続される第2電極(18)と、を備え、
    前記コレクタ層上の領域が前記IGBT領域とされ、前記カソード層上の領域が前記FWD領域とされており、
    前記トレンチは、前記IGBT領域に形成される前記ゲート電極としての第1ゲート電極(14a)が配置されるIGBT用トレンチ(13a)と、前記FWD領域に形成され、前記第1ゲート電極とは別に制御される前記ゲート電極としての第2ゲート電極(14b)が配置されるFWD用トレンチ(13b)であり、
    前記IGBT用トレンチは、前記半導体基板の面方向における一方向に沿った第1方向に延設されたIGBT用第1トレンチ(131a)と、前記半導体基板の面方向における前記第1方向と交差する第2方向に延設されたIGBT用第2トレンチ(132a)とが連通された格子状とされており、
    前記FWD用トレンチは、前記第1方向に延設されたFWD用第1トレンチ(131b)と、前記第2方向に延設されたFWD用第2トレンチ(132b)とが連通された格子状とされ、
    前記IGBT用第1トレンチのうちの最も前記FWD用トレンチ側に位置するトレンチ(133a)の中心と、前記FWD用第1トレンチのうちの最も前記IGBT用トレンチ側に位置するトレンチ(133b)の中心との間を分離セル領域(3a)とすると共に前記分離セル領域における前記第2方向の距離を分離セルピッチ(W1)とし、隣合う前記IGBT用第1トレンチ同士の中心間の最小距離をIGBT用第1トレンチピッチ(D1a)とし、隣合う前記IGBT用第2トレンチ同士の中心間の最小距離をIGBT用第2トレンチピッチ(D2a)とし、隣合う前記FWD用第1トレンチ同士の中心間の最小距離をFWD用第1トレンチピッチ(D1b)とし、隣合う前記FWD用第2トレンチ同士の中心間の最小距離をFWD用第2トレンチピッチ(D2b)とすると、
    前記分離セルピッチは、前記IGBT用第1トレンチピッチ、前記IGBT用第2トレンチピッチ、前記FWD用第1トレンチピッチ、前記FWD用第2トレンチピッチよりも狭くされている半導体装置。
  2. 前記分離セル領域には、前記第1方向に沿って延設されたダミートレンチ(23)が形成され、
    前記ダミートレンチ(23)には、ダミー絶縁膜(24)とダミー電極(25)とが配置されている請求項1に記載の半導体装置。
  3. IGBT領域(1)とFWD領域(2)とが共通の半導体基板(10)に形成されている半導体装置であって、
    第1導電型のドリフト層(11)と、
    前記ドリフト層上に形成された第2導電型のベース層(12)と、
    前記ベース層を貫通するトレンチ(13a、13b)の壁面に形成されたゲート絶縁膜(14)と、前記ゲート絶縁膜上に形成されたゲート電極(15a、15b)と、を有する複数のトレンチゲート構造と、
    前記ベース層の表層部であって、前記IGBT領域に形成された前記トレンチと接するように形成された第1導電型のエミッタ領域(19)と、
    前記ドリフト層を挟んで前記ベース層側と反対側に形成された第2導電型のコレクタ層(16)と、
    前記ドリフト層を挟んで前記ベース層と反対側に形成されると共に前記コレクタ層と隣接する第1導電型のカソード層(17)と、
    前記ベース層および前記エミッタ領域と電気的に接続される第1電極(22)と、
    前記コレクタ層および前記カソード層と電気的に接続される第2電極(18)と、を備え、
    前記コレクタ層上の領域が前記IGBT領域とされ、前記カソード層上の領域が前記FWD領域とされており、
    前記トレンチは、前記IGBT領域に形成される前記ゲート電極としての第1ゲート電極(14a)が配置されるIGBT用トレンチ(13a)と、前記FWD領域に形成され、前記第1ゲート電極とは別に制御される前記ゲート電極としての第2ゲート電極(14b)が配置されるFWD用トレンチ(13b)であり、
    前記IGBT用トレンチは、前記半導体基板の面方向における一方向に沿った第1方向に延設されたIGBT用第1トレンチ(131a)と、前記半導体基板の面方向における前記第1方向と交差する第2方向に延設されたIGBT用第2トレンチ(132a)とが連通された格子状とされており、
    前記FWD用トレンチは、前記第1方向に延設されたFWD用第1トレンチ(131b)と、前記第2方向に延設されたFWD用第2トレンチ(132b)とが連通された格子状とされ、
    前記IGBT用第1トレンチのうちの最も前記FWD用トレンチ側に位置するトレンチ(133a)の中心と、前記FWD用第1トレンチのうちの最も前記IGBT用トレンチ側に位置するトレンチ(133b)の中心との間を分離セル領域(3a)とすると共に前記分離セル領域における前記第2方向の距離を分離セルピッチ(W1)とし、
    前記分離セル領域には、前記第1方向に沿って延設された1つのダミートレンチ(23)が形成され、
    前記ダミートレンチ(23)には、ダミー絶縁膜(24)とダミー電極(25)とが配置されており、
    隣合う前記IGBT用第1トレンチ同士の中心間の最小距離をIGBT用第1トレンチピッチ(D1a)とし、隣合う前記IGBT用第2トレンチ同士の中心間の最小距離をIGBT用第2トレンチピッチ(D2a)とし、隣合う前記FWD用第1トレンチ同士の中心間の最小距離をFWD用第1トレンチピッチ(D1b)とし、隣合う前記FWD用第2トレンチ同士の中心間の最小距離をFWD用第2トレンチピッチ(D2b)とし、前記ダミートレンチの中心と、当該ダミートレンチと隣合う前記IGBT用第1トレンチの中心との間の距離を分離用第1トレンチピッチ(L1)とし、前記ダミートレンチの中心と、当該ダミートレンチと隣合う前記FWD用第1トレンチの中心との間の距離を分離用第2トレンチピッチ(L2)とすると、
    前記分離セルピッチは、前記IGBT用第1トレンチピッチ、前記IGBT用第2トレンチピッチ、前記FWD用第1トレンチピッチ、前記FWD用第2トレンチピッチの少なくとも1つより大きくされ、
    前記分離用第1トレンチピッチおよび前記分離用第2トレンチピッチは、前記IGBT用第1トレンチピッチ、前記IGBT用第2トレンチピッチ、前記FWD用第1トレンチピッチ、前記FWD用第2トレンチピッチよりも狭くされている半導体装置。
  4. IGBT領域(1)とFWD領域(2)とが共通の半導体基板(10)に形成されている半導体装置であって、
    第1導電型のドリフト層(11)と、
    前記ドリフト層上に形成された第2導電型のベース層(12)と、
    前記ベース層を貫通するトレンチ(13a、13b)の壁面に形成されたゲート絶縁膜(14)と、前記ゲート絶縁膜上に形成されたゲート電極(15a、15b)と、を有する複数のトレンチゲート構造と、
    前記ベース層の表層部であって、前記IGBT領域に形成された前記トレンチと接するように形成された第1導電型のエミッタ領域(19)と、
    前記ドリフト層を挟んで前記ベース層側と反対側に形成された第2導電型のコレクタ層(16)と、
    前記ドリフト層を挟んで前記ベース層と反対側に形成されると共に前記コレクタ層と隣接する第1導電型のカソード層(17)と、
    前記ベース層および前記エミッタ領域と電気的に接続される第1電極(22)と、
    前記コレクタ層および前記カソード層と電気的に接続される第2電極(18)と、を備え、
    前記コレクタ層上の領域が前記IGBT領域とされ、前記カソード層上の領域が前記FWD領域とされており、
    前記トレンチは、前記IGBT領域に形成される前記ゲート電極としての第1ゲート電極(14a)が配置されるIGBT用トレンチ(13a)と、前記FWD領域に形成され、前記第1ゲート電極とは別に制御される前記ゲート電極としての第2ゲート電極(14b)が配置されるFWD用トレンチ(13b)であり、
    前記IGBT用トレンチは、前記半導体基板の面方向における一方向に沿った第1方向に延設されたIGBT用第1トレンチ(131a)と、前記半導体基板の面方向における前記第1方向と交差する第2方向に延設されたIGBT用第2トレンチ(132a)とが連通された格子状とされており、
    前記FWD用トレンチは、前記第1方向に延設されたFWD用第1トレンチ(131b)と、前記第2方向に延設されたFWD用第2トレンチ(132b)とが連通された格子状とされ、
    前記IGBT用第1トレンチのうちの最も前記FWD用トレンチ側に位置するトレンチ(133a)の中心と、前記FWD用第1トレンチのうちの最も前記IGBT用トレンチ側に位置するトレンチ(133b)の中心との間を分離セル領域(3a)とすると共に前記分離セル領域における前記第2方向の距離を分離セルピッチ(W1)とし、
    前記分離セル領域には、前記第1方向に沿って延設された複数のダミートレンチ(23)が形成され、
    前記ダミートレンチ(23)には、ダミー絶縁膜(24)とダミー電極(25)とが配置されており、
    隣合う前記IGBT用第1トレンチ同士の中心間の最小距離をIGBT用第1トレンチピッチ(D1a)とし、隣合う前記IGBT用第2トレンチ同士の中心間の最小距離をIGBT用第2トレンチピッチ(D2a)とし、隣合う前記FWD用第1トレンチ同士の中心間の最小距離をFWD用第1トレンチピッチ(D1b)とし、隣合う前記FWD用第2トレンチ同士の中心間の最小距離をFWD用第2トレンチピッチ(D2b)とし、前記ダミートレンチの中心と、当該ダミートレンチと隣合う前記IGBT用第1トレンチの中心との間の距離を分離用第1トレンチピッチ(L1)とし、前記ダミートレンチの中心と、当該ダミートレンチと隣合う前記FWD用第1トレンチの中心との間の距離を分離用第2トレンチピッチ(L2)とし、隣合う前記ダミートレンチ同士の中心間の最大距離を分離用第3トレンチピッチ(L3)とすると、
    前記分離セルピッチは、前記IGBT用第1トレンチピッチ、前記IGBT用第2トレンチピッチ、前記FWD用第1トレンチピッチ、前記FWD用第2トレンチピッチの少なくとも1つより大きくされ、
    前記分離用第1トレンチピッチ、前記分離用第2トレンチピッチおよび前記分離用第3トレンチピッチは、前記IGBT用第1トレンチピッチ、前記IGBT用第2トレンチピッチ、前記FWD用第1トレンチピッチ、前記FWD用第2トレンチピッチよりも狭くされている半導体装置。
  5. 前記IGBT領域のうちの前記分離セル領域と異なる領域をIGBTセル領域(1a)とし、前記FWD領域のうちの前記分離セル領域と異なる領域をFWDセル領域(2a)とすると、
    前記分離セル領域のベース層は、前記IGBTセル領域および前記FWDセル領域のベース層よりも単位体積当たりの不純物量が高くされている請求項1ないし4のいずれか1つに記載の半導体装置。
  6. 前記分離セル領域には、前記IGBT用第1トレンチのうちの最も前記FWD用トレンチ側に位置するトレンチと、前記FWD用第1トレンチのうちの最も前記IGBT用トレンチ側に位置するトレンチとを連通させる連通トレンチ(134)が形成されており、
    前記連通トレンチには、前記第1ゲート電極と前記第2ゲート電極とを絶縁する絶縁膜(135)が配置されている請求項1ないしのいずれか1つに記載の半導体装置。
  7. IGBT領域(1)とFWD領域(2)とが共通の半導体基板(10)に形成されている半導体装置であって、
    第1導電型のドリフト層(11)と、
    前記ドリフト層上に形成された第2導電型のベース層(12)と、
    前記ベース層を貫通するトレンチ(13a、13b)の壁面に形成されたゲート絶縁膜(14)と、前記ゲート絶縁膜上に形成されたゲート電極(15a、15b)と、を有する複数のトレンチゲート構造と、
    前記ベース層の表層部であって、前記IGBT領域に形成された前記トレンチと接するように形成された第1導電型のエミッタ領域(19)と、
    前記ドリフト層を挟んで前記ベース層側と反対側に形成された第2導電型のコレクタ層(16)と、
    前記ドリフト層を挟んで前記ベース層と反対側に形成されると共に前記コレクタ層と隣接する第1導電型のカソード層(17)と、
    前記ベース層および前記エミッタ領域と電気的に接続される第1電極(22)と、
    前記コレクタ層および前記カソード層と電気的に接続される第2電極(18)と、を備え、
    前記コレクタ層上の領域が前記IGBT領域とされ、前記カソード層上の領域が前記FWD領域とされており、
    前記トレンチは、前記IGBT領域に形成される前記ゲート電極としての第1ゲート電極(14a)が配置されるIGBT用トレンチ(13a)と、前記FWD領域に形成され、前記第1ゲート電極とは別に制御される前記ゲート電極としての第2ゲート電極(14b)が配置されるFWD用トレンチ(13b)であり、
    前記IGBT用トレンチは、前記半導体基板の面方向における一方向に沿った第1方向に延設されたIGBT用第1トレンチ(131a)と、前記半導体基板の面方向における前記第1方向と交差する第2方向に延設されたIGBT用第2トレンチ(132a)とが連通された格子状とされており、
    前記FWD用トレンチは、前記第1方向に延設されたFWD用第1トレンチ(131b)と、前記第2方向に延設されたFWD用第2トレンチ(132b)とが連通された格子状とされ、
    前記IGBT用第1トレンチのうちの最も前記FWD用トレンチ側に位置するトレンチ(133a)の中心と、前記FWD用第1トレンチのうちの最も前記IGBT用トレンチ側に位置するトレンチ(133b)の中心との間を分離セル領域(3a)とし、前記IGBT領域のうちの前記分離セル領域と異なる領域をIGBTセル領域(1a)とし、前記FWD領域のうちの前記分離セル領域と異なる領域をFWDセル領域(2a)とすると、
    前記分離セル領域のベース層は、前記IGBTセル領域および前記FWDセル領域のベース層よりも単位体積当たりの不純物量が高くされており、
    前記分離セル領域には、前記IGBT用第1トレンチのうちの最も前記FWD用トレンチ側に位置するトレンチと、前記FWD用第1トレンチのうちの最も前記IGBT用トレンチ側に位置するトレンチとを連通させる連通トレンチ(134)が形成されており、
    前記連通トレンチには、前記第1ゲート電極と前記第2ゲート電極とを絶縁する絶縁膜(135)が配置されている半導体装置。
  8. 前記分離セル領域のベース層は、前記IGBTセル領域および前記FWDセル領域のベース層よりも深くまで形成されている請求項5ないし7のいずれか1つに記載の半導体装置。
  9. 前記分離セル領域のベース層は、前記IGBTセル領域および前記FWDセル領域のベース層よりも不純物濃度が高くされている請求項5ないしのいずれか1つに記載の半導体装置。
  10. IGBT領域(1)とFWD領域(2)とが共通の半導体基板(10)に形成されている半導体装置であって、
    第1導電型のドリフト層(11)と、
    前記ドリフト層上に形成された第2導電型のベース層(12)と、
    前記ベース層を貫通するトレンチ(13a、13b)の壁面に形成されたゲート絶縁膜(14)と、前記ゲート絶縁膜上に形成されたゲート電極(15a、15b)と、を有する複数のトレンチゲート構造と、
    前記ベース層の表層部であって、前記IGBT領域に形成された前記トレンチと接するように形成された第1導電型のエミッタ領域(19)と、
    前記ドリフト層を挟んで前記ベース層側と反対側に形成された第2導電型のコレクタ層(16)と、
    前記ドリフト層を挟んで前記ベース層と反対側に形成されると共に前記コレクタ層と隣接する第1導電型のカソード層(17)と、
    前記ベース層および前記エミッタ領域と電気的に接続される第1電極(22)と、
    前記コレクタ層および前記カソード層と電気的に接続される第2電極(18)と、を備え、
    前記コレクタ層上の領域が前記IGBT領域とされ、前記カソード層上の領域が前記FWD領域とされており、
    前記トレンチは、前記IGBT領域に形成される前記ゲート電極としての第1ゲート電極(14a)が配置されるIGBT用トレンチ(13a)と、前記FWD領域に形成され、前記第1ゲート電極とは別に制御される前記ゲート電極としての第2ゲート電極(14b)が配置されるFWD用トレンチ(13b)であり、
    前記IGBT用トレンチは、前記半導体基板の面方向における一方向に沿った第1方向に延設されたIGBT用第1トレンチ(131a)と、前記半導体基板の面方向における前記第1方向と交差する第2方向に延設されたIGBT用第2トレンチ(132a)とが連通された格子状とされており、
    前記FWD用トレンチは、前記第1方向に延設されたFWD用第1トレンチ(131b)と、前記第2方向に延設されたFWD用第2トレンチ(132b)とが連通された格子状とされ、
    前記IGBT用第1トレンチのうちの最も前記FWD用トレンチ側に位置するトレンチ(133a)の中心と、前記FWD用第1トレンチのうちの最も前記IGBT用トレンチ側に位置するトレンチ(133b)の中心との間を分離セル領域(3a)とすると、
    前記分離セル領域には、前記IGBT用第1トレンチのうちの最も前記FWD用トレンチ側に位置するトレンチと、前記FWD用第1トレンチのうちの最も前記IGBT用トレンチ側に位置するトレンチとを連通させる連通トレンチ(134)が形成されており、
    前記連通トレンチには、前記第1ゲート電極と前記第2ゲート電極とを絶縁する絶縁膜(135)が配置されている半導体装置。
  11. 前記ドリフト層と前記ベース層との間には、第2導電型の電界緩和領域(26)が形成され、
    前記電界緩和領域と前記ベース層との間には、第1導電型のバリア領域(27)が形成され、
    前記ベース層の表層部には、前記第1電極と接続されると共に前記バリア領域と接続される第1導電型のピラー領域(28)が形成されている請求項1ないし10のいずれか1つに記載の半導体装置。
JP2018169878A 2018-09-11 2018-09-11 半導体装置 Active JP6996461B2 (ja)

Priority Applications (4)

Application Number Priority Date Filing Date Title
JP2018169878A JP6996461B2 (ja) 2018-09-11 2018-09-11 半導体装置
CN201980058845.7A CN112673466B (zh) 2018-09-11 2019-08-29 半导体装置
PCT/JP2019/033935 WO2020054447A1 (ja) 2018-09-11 2019-08-29 半導体装置
US17/197,308 US11476355B2 (en) 2018-09-11 2021-03-10 Semiconductor device

Applications Claiming Priority (1)

Application Number Priority Date Filing Date Title
JP2018169878A JP6996461B2 (ja) 2018-09-11 2018-09-11 半導体装置

Publications (3)

Publication Number Publication Date
JP2020043237A JP2020043237A (ja) 2020-03-19
JP2020043237A5 JP2020043237A5 (ja) 2021-03-25
JP6996461B2 true JP6996461B2 (ja) 2022-01-17

Family

ID=69778271

Family Applications (1)

Application Number Title Priority Date Filing Date
JP2018169878A Active JP6996461B2 (ja) 2018-09-11 2018-09-11 半導体装置

Country Status (4)

Country Link
US (1) US11476355B2 (ja)
JP (1) JP6996461B2 (ja)
CN (1) CN112673466B (ja)
WO (1) WO2020054447A1 (ja)

Families Citing this family (10)

* Cited by examiner, † Cited by third party
Publication number Priority date Publication date Assignee Title
JP7319601B2 (ja) * 2019-11-01 2023-08-02 株式会社東芝 半導体装置
JP7459666B2 (ja) * 2020-06-04 2024-04-02 三菱電機株式会社 半導体装置
EP3953972A1 (en) * 2020-06-18 2022-02-16 Dynex Semiconductor Limited Reverse conducting igbt with controlled anode injection
JP7456902B2 (ja) 2020-09-17 2024-03-27 株式会社東芝 半導体装置
JP7486407B2 (ja) * 2020-11-27 2024-05-17 三菱電機株式会社 半導体装置および半導体装置の製造方法
JP7528743B2 (ja) * 2020-11-27 2024-08-06 三菱電機株式会社 半導体装置
EP4139965A1 (en) * 2021-03-31 2023-03-01 Dynex Semiconductor Limited Power semiconductor device
JP2024067299A (ja) * 2022-11-04 2024-05-17 株式会社デンソー 半導体装置とその製造方法
CN121040233A (zh) * 2023-11-29 2025-11-28 富士电机株式会社 半导体装置
EP4583165A1 (en) * 2024-01-04 2025-07-09 Nio Technology (Anhui) Co., Ltd Reverse conducting insulated-gate bipolar transistor and method of manufacturing

Citations (4)

* Cited by examiner, † Cited by third party
Publication number Priority date Publication date Assignee Title
JP2009021557A (ja) 2007-06-14 2009-01-29 Denso Corp 半導体装置
JP2012151470A (ja) 2011-01-17 2012-08-09 Infineon Technologies Austria Ag 半導体素子および逆導通igbt
JP2016197678A (ja) 2015-04-06 2016-11-24 三菱電機株式会社 半導体装置
JP2016225560A (ja) 2015-06-03 2016-12-28 トヨタ自動車株式会社 半導体装置

Family Cites Families (26)

* Cited by examiner, † Cited by third party
Publication number Priority date Publication date Assignee Title
JP4799829B2 (ja) 2003-08-27 2011-10-26 三菱電機株式会社 絶縁ゲート型トランジスタ及びインバータ回路
JP4830360B2 (ja) * 2005-06-17 2011-12-07 株式会社デンソー 半導体装置およびその製造方法
JP5470826B2 (ja) * 2008-12-08 2014-04-16 株式会社デンソー 半導体装置
JP2010263149A (ja) * 2009-05-11 2010-11-18 Toyota Motor Corp 半導体装置
JP5768395B2 (ja) * 2010-07-27 2015-08-26 株式会社デンソー 半導体装置およびその制御方法
US8716746B2 (en) 2010-08-17 2014-05-06 Denso Corporation Semiconductor device
JP5321669B2 (ja) * 2010-11-25 2013-10-23 株式会社デンソー 半導体装置
JP5874210B2 (ja) 2011-06-23 2016-03-02 トヨタ自動車株式会社 ダイオード
CN103733344B (zh) * 2011-09-08 2018-05-18 富士电机株式会社 半导体装置
US9159786B2 (en) * 2012-02-20 2015-10-13 Taiwan Semiconductor Manufacturing Company, Ltd. Dual gate lateral MOSFET
JP5825201B2 (ja) * 2012-03-05 2015-12-02 株式会社デンソー 半導体装置およびその製造方法
US9136158B2 (en) * 2012-03-09 2015-09-15 Taiwan Semiconductor Manufacturing Company, Ltd. Lateral MOSFET with dielectric isolation trench
JP5942737B2 (ja) * 2012-09-24 2016-06-29 株式会社デンソー 半導体装置
JP6135636B2 (ja) 2014-10-17 2017-05-31 トヨタ自動車株式会社 半導体装置
JP6260515B2 (ja) 2014-11-13 2018-01-17 三菱電機株式会社 半導体装置
WO2016080269A1 (ja) * 2014-11-17 2016-05-26 富士電機株式会社 半導体装置および半導体装置の製造方法
JP6261494B2 (ja) * 2014-12-03 2018-01-17 三菱電機株式会社 電力用半導体装置
DE112015006006T5 (de) * 2015-01-14 2017-10-26 Mitsubishi Electric Corporation Halbleitervorrichtung und verfahren zum herstellen dieser
WO2016114131A1 (ja) * 2015-01-16 2016-07-21 株式会社デンソー 半導体装置
JP6641983B2 (ja) * 2015-01-16 2020-02-05 株式会社デンソー 半導体装置
JP6334465B2 (ja) * 2015-06-17 2018-05-30 富士電機株式会社 半導体装置
JP6428503B2 (ja) * 2015-06-24 2018-11-28 株式会社デンソー 半導体装置
US10559663B2 (en) * 2016-10-14 2020-02-11 Fuji Electric Co., Ltd. Semiconductor device with improved current flow distribution
JP6589817B2 (ja) * 2016-10-26 2019-10-16 株式会社デンソー 半導体装置
CN109891595B (zh) * 2017-05-31 2022-05-24 富士电机株式会社 半导体装置
JP6881599B2 (ja) * 2017-12-06 2021-06-02 富士電機株式会社 半導体装置

Patent Citations (4)

* Cited by examiner, † Cited by third party
Publication number Priority date Publication date Assignee Title
JP2009021557A (ja) 2007-06-14 2009-01-29 Denso Corp 半導体装置
JP2012151470A (ja) 2011-01-17 2012-08-09 Infineon Technologies Austria Ag 半導体素子および逆導通igbt
JP2016197678A (ja) 2015-04-06 2016-11-24 三菱電機株式会社 半導体装置
JP2016225560A (ja) 2015-06-03 2016-12-28 トヨタ自動車株式会社 半導体装置

Also Published As

Publication number Publication date
JP2020043237A (ja) 2020-03-19
US20210202725A1 (en) 2021-07-01
US11476355B2 (en) 2022-10-18
CN112673466A (zh) 2021-04-16
WO2020054447A1 (ja) 2020-03-19
CN112673466B (zh) 2024-02-23

Similar Documents

Publication Publication Date Title
JP6996461B2 (ja) 半導体装置
JP6589817B2 (ja) 半導体装置
JP6443267B2 (ja) 半導体装置
JP5636808B2 (ja) 半導体装置
JP6641983B2 (ja) 半導体装置
JP2007134625A (ja) 半導体装置およびその製造方法
JP2016029710A (ja) 半導体装置
WO2017199679A1 (ja) 半導体装置
JP7435214B2 (ja) 半導体装置
JP2016092163A (ja) 半導体装置
US12191381B2 (en) Semiconductor device
WO2016114131A1 (ja) 半導体装置
CN108735808A (zh) 半导体开关元件及其制造方法
JP5151175B2 (ja) 半導体装置
JP5664029B2 (ja) 半導体装置
JP2021145026A (ja) 半導体装置
WO2019098122A1 (ja) 半導体装置
JP2016096307A (ja) 半導体装置
JP7338242B2 (ja) 半導体装置
JP7517218B2 (ja) 半導体装置
JP7294004B2 (ja) 半導体装置
CN114388612A (zh) 半导体装置及半导体装置的制造方法
JP4830732B2 (ja) 半導体装置
JP7596930B2 (ja) 半導体装置
JP2025069398A (ja) 半導体装置

Legal Events

Date Code Title Description
A711 Notification of change in applicant

Free format text: JAPANESE INTERMEDIATE CODE: A711

Effective date: 20201030

A521 Request for written amendment filed

Free format text: JAPANESE INTERMEDIATE CODE: A821

Effective date: 20201030

A621 Written request for application examination

Free format text: JAPANESE INTERMEDIATE CODE: A621

Effective date: 20201120

A521 Request for written amendment filed

Free format text: JAPANESE INTERMEDIATE CODE: A523

Effective date: 20210212

TRDD Decision of grant or rejection written
A01 Written decision to grant a patent or to grant a registration (utility model)

Free format text: JAPANESE INTERMEDIATE CODE: A01

Effective date: 20211116

A61 First payment of annual fees (during grant procedure)

Free format text: JAPANESE INTERMEDIATE CODE: A61

Effective date: 20211129

R151 Written notification of patent or utility model registration

Ref document number: 6996461

Country of ref document: JP

Free format text: JAPANESE INTERMEDIATE CODE: R151

R250 Receipt of annual fees

Free format text: JAPANESE INTERMEDIATE CODE: R250

R250 Receipt of annual fees

Free format text: JAPANESE INTERMEDIATE CODE: R250