JP4386830B2 - 排気ガス浄化用ハニカムフィルタ - Google Patents
排気ガス浄化用ハニカムフィルタ Download PDFInfo
- Publication number
- JP4386830B2 JP4386830B2 JP2004501785A JP2004501785A JP4386830B2 JP 4386830 B2 JP4386830 B2 JP 4386830B2 JP 2004501785 A JP2004501785 A JP 2004501785A JP 2004501785 A JP2004501785 A JP 2004501785A JP 4386830 B2 JP4386830 B2 JP 4386830B2
- Authority
- JP
- Japan
- Prior art keywords
- filler
- porosity
- honeycomb filter
- columnar body
- weight
- Prior art date
- Legal status (The legal status is an assumption and is not a legal conclusion. Google has not performed a legal analysis and makes no representation as to the accuracy of the status listed.)
- Expired - Lifetime
Links
Images
Classifications
-
- B—PERFORMING OPERATIONS; TRANSPORTING
- B01—PHYSICAL OR CHEMICAL PROCESSES OR APPARATUS IN GENERAL
- B01D—SEPARATION
- B01D53/00—Separation of gases or vapours; Recovering vapours of volatile solvents from gases; Chemical or biological purification of waste gases, e.g. engine exhaust gases, smoke, fumes, flue gases, aerosols
- B01D53/34—Chemical or biological purification of waste gases
- B01D53/92—Chemical or biological purification of waste gases of engine exhaust gases
- B01D53/94—Chemical or biological purification of waste gases of engine exhaust gases by catalytic processes
- B01D53/9445—Simultaneously removing carbon monoxide, hydrocarbons or nitrogen oxides making use of three-way catalysts [TWC] or four-way-catalysts [FWC]
- B01D53/9454—Simultaneously removing carbon monoxide, hydrocarbons or nitrogen oxides making use of three-way catalysts [TWC] or four-way-catalysts [FWC] characterised by a specific device
-
- F—MECHANICAL ENGINEERING; LIGHTING; HEATING; WEAPONS; BLASTING
- F01—MACHINES OR ENGINES IN GENERAL; ENGINE PLANTS IN GENERAL; STEAM ENGINES
- F01N—GAS-FLOW SILENCERS OR EXHAUST APPARATUS FOR MACHINES OR ENGINES IN GENERAL; GAS-FLOW SILENCERS OR EXHAUST APPARATUS FOR INTERNAL-COMBUSTION ENGINES
- F01N13/00—Exhaust or silencing apparatus characterised by constructional features
- F01N13/011—Exhaust or silencing apparatus characterised by constructional features having two or more purifying devices arranged in parallel
- F01N13/017—Exhaust or silencing apparatus characterised by constructional features having two or more purifying devices arranged in parallel the purifying devices are arranged in a single housing
-
- F—MECHANICAL ENGINEERING; LIGHTING; HEATING; WEAPONS; BLASTING
- F01—MACHINES OR ENGINES IN GENERAL; ENGINE PLANTS IN GENERAL; STEAM ENGINES
- F01N—GAS-FLOW SILENCERS OR EXHAUST APPARATUS FOR MACHINES OR ENGINES IN GENERAL; GAS-FLOW SILENCERS OR EXHAUST APPARATUS FOR INTERNAL-COMBUSTION ENGINES
- F01N13/00—Exhaust or silencing apparatus characterised by constructional features
- F01N13/18—Construction facilitating manufacture, assembly, or disassembly
- F01N13/1888—Construction facilitating manufacture, assembly, or disassembly the housing of the assembly consisting of two or more parts, e.g. two half-shells
-
- F—MECHANICAL ENGINEERING; LIGHTING; HEATING; WEAPONS; BLASTING
- F01—MACHINES OR ENGINES IN GENERAL; ENGINE PLANTS IN GENERAL; STEAM ENGINES
- F01N—GAS-FLOW SILENCERS OR EXHAUST APPARATUS FOR MACHINES OR ENGINES IN GENERAL; GAS-FLOW SILENCERS OR EXHAUST APPARATUS FOR INTERNAL-COMBUSTION ENGINES
- F01N3/00—Exhaust or silencing apparatus having means for purifying, rendering innocuous, or otherwise treating exhaust
- F01N3/02—Exhaust or silencing apparatus having means for purifying, rendering innocuous, or otherwise treating exhaust for cooling, or for removing solid constituents of, exhaust
- F01N3/021—Exhaust or silencing apparatus having means for purifying, rendering innocuous, or otherwise treating exhaust for cooling, or for removing solid constituents of, exhaust by means of filters
- F01N3/022—Exhaust or silencing apparatus having means for purifying, rendering innocuous, or otherwise treating exhaust for cooling, or for removing solid constituents of, exhaust by means of filters characterised by specially adapted filtering structure, e.g. honeycomb, mesh or fibrous
- F01N3/0222—Exhaust or silencing apparatus having means for purifying, rendering innocuous, or otherwise treating exhaust for cooling, or for removing solid constituents of, exhaust by means of filters characterised by specially adapted filtering structure, e.g. honeycomb, mesh or fibrous the structure being monolithic, e.g. honeycombs
-
- F—MECHANICAL ENGINEERING; LIGHTING; HEATING; WEAPONS; BLASTING
- F01—MACHINES OR ENGINES IN GENERAL; ENGINE PLANTS IN GENERAL; STEAM ENGINES
- F01N—GAS-FLOW SILENCERS OR EXHAUST APPARATUS FOR MACHINES OR ENGINES IN GENERAL; GAS-FLOW SILENCERS OR EXHAUST APPARATUS FOR INTERNAL-COMBUSTION ENGINES
- F01N2330/00—Structure of catalyst support or particle filter
- F01N2330/06—Ceramic, e.g. monoliths
-
- F—MECHANICAL ENGINEERING; LIGHTING; HEATING; WEAPONS; BLASTING
- F01—MACHINES OR ENGINES IN GENERAL; ENGINE PLANTS IN GENERAL; STEAM ENGINES
- F01N—GAS-FLOW SILENCERS OR EXHAUST APPARATUS FOR MACHINES OR ENGINES IN GENERAL; GAS-FLOW SILENCERS OR EXHAUST APPARATUS FOR INTERNAL-COMBUSTION ENGINES
- F01N2330/00—Structure of catalyst support or particle filter
- F01N2330/14—Sintered material
-
- F—MECHANICAL ENGINEERING; LIGHTING; HEATING; WEAPONS; BLASTING
- F01—MACHINES OR ENGINES IN GENERAL; ENGINE PLANTS IN GENERAL; STEAM ENGINES
- F01N—GAS-FLOW SILENCERS OR EXHAUST APPARATUS FOR MACHINES OR ENGINES IN GENERAL; GAS-FLOW SILENCERS OR EXHAUST APPARATUS FOR INTERNAL-COMBUSTION ENGINES
- F01N2330/00—Structure of catalyst support or particle filter
- F01N2330/30—Honeycomb supports characterised by their structural details
- F01N2330/48—Honeycomb supports characterised by their structural details characterised by the number of flow passages, e.g. cell density
-
- F—MECHANICAL ENGINEERING; LIGHTING; HEATING; WEAPONS; BLASTING
- F01—MACHINES OR ENGINES IN GENERAL; ENGINE PLANTS IN GENERAL; STEAM ENGINES
- F01N—GAS-FLOW SILENCERS OR EXHAUST APPARATUS FOR MACHINES OR ENGINES IN GENERAL; GAS-FLOW SILENCERS OR EXHAUST APPARATUS FOR INTERNAL-COMBUSTION ENGINES
- F01N2450/00—Methods or apparatus for fitting, inserting or repairing different elements
- F01N2450/28—Methods or apparatus for fitting, inserting or repairing different elements by using adhesive material, e.g. cement
-
- F—MECHANICAL ENGINEERING; LIGHTING; HEATING; WEAPONS; BLASTING
- F01—MACHINES OR ENGINES IN GENERAL; ENGINE PLANTS IN GENERAL; STEAM ENGINES
- F01N—GAS-FLOW SILENCERS OR EXHAUST APPARATUS FOR MACHINES OR ENGINES IN GENERAL; GAS-FLOW SILENCERS OR EXHAUST APPARATUS FOR INTERNAL-COMBUSTION ENGINES
- F01N2510/00—Surface coverings
- F01N2510/06—Surface coverings for exhaust purification, e.g. catalytic reaction
- F01N2510/065—Surface coverings for exhaust purification, e.g. catalytic reaction for reducing soot ignition temperature
-
- F—MECHANICAL ENGINEERING; LIGHTING; HEATING; WEAPONS; BLASTING
- F01—MACHINES OR ENGINES IN GENERAL; ENGINE PLANTS IN GENERAL; STEAM ENGINES
- F01N—GAS-FLOW SILENCERS OR EXHAUST APPARATUS FOR MACHINES OR ENGINES IN GENERAL; GAS-FLOW SILENCERS OR EXHAUST APPARATUS FOR INTERNAL-COMBUSTION ENGINES
- F01N3/00—Exhaust or silencing apparatus having means for purifying, rendering innocuous, or otherwise treating exhaust
- F01N3/02—Exhaust or silencing apparatus having means for purifying, rendering innocuous, or otherwise treating exhaust for cooling, or for removing solid constituents of, exhaust
- F01N3/021—Exhaust or silencing apparatus having means for purifying, rendering innocuous, or otherwise treating exhaust for cooling, or for removing solid constituents of, exhaust by means of filters
- F01N3/023—Exhaust or silencing apparatus having means for purifying, rendering innocuous, or otherwise treating exhaust for cooling, or for removing solid constituents of, exhaust by means of filters using means for regenerating the filters, e.g. by burning trapped particles
-
- F—MECHANICAL ENGINEERING; LIGHTING; HEATING; WEAPONS; BLASTING
- F01—MACHINES OR ENGINES IN GENERAL; ENGINE PLANTS IN GENERAL; STEAM ENGINES
- F01N—GAS-FLOW SILENCERS OR EXHAUST APPARATUS FOR MACHINES OR ENGINES IN GENERAL; GAS-FLOW SILENCERS OR EXHAUST APPARATUS FOR INTERNAL-COMBUSTION ENGINES
- F01N3/00—Exhaust or silencing apparatus having means for purifying, rendering innocuous, or otherwise treating exhaust
- F01N3/02—Exhaust or silencing apparatus having means for purifying, rendering innocuous, or otherwise treating exhaust for cooling, or for removing solid constituents of, exhaust
- F01N3/021—Exhaust or silencing apparatus having means for purifying, rendering innocuous, or otherwise treating exhaust for cooling, or for removing solid constituents of, exhaust by means of filters
- F01N3/033—Exhaust or silencing apparatus having means for purifying, rendering innocuous, or otherwise treating exhaust for cooling, or for removing solid constituents of, exhaust by means of filters in combination with other devices
- F01N3/035—Exhaust or silencing apparatus having means for purifying, rendering innocuous, or otherwise treating exhaust for cooling, or for removing solid constituents of, exhaust by means of filters in combination with other devices with catalytic reactors
-
- Y—GENERAL TAGGING OF NEW TECHNOLOGICAL DEVELOPMENTS; GENERAL TAGGING OF CROSS-SECTIONAL TECHNOLOGIES SPANNING OVER SEVERAL SECTIONS OF THE IPC; TECHNICAL SUBJECTS COVERED BY FORMER USPC CROSS-REFERENCE ART COLLECTIONS [XRACs] AND DIGESTS
- Y02—TECHNOLOGIES OR APPLICATIONS FOR MITIGATION OR ADAPTATION AGAINST CLIMATE CHANGE
- Y02T—CLIMATE CHANGE MITIGATION TECHNOLOGIES RELATED TO TRANSPORTATION
- Y02T10/00—Road transport of goods or passengers
- Y02T10/10—Internal combustion engine [ICE] based vehicles
- Y02T10/12—Improving ICE efficiencies
-
- Y—GENERAL TAGGING OF NEW TECHNOLOGICAL DEVELOPMENTS; GENERAL TAGGING OF CROSS-SECTIONAL TECHNOLOGIES SPANNING OVER SEVERAL SECTIONS OF THE IPC; TECHNICAL SUBJECTS COVERED BY FORMER USPC CROSS-REFERENCE ART COLLECTIONS [XRACs] AND DIGESTS
- Y10—TECHNICAL SUBJECTS COVERED BY FORMER USPC
- Y10T—TECHNICAL SUBJECTS COVERED BY FORMER US CLASSIFICATION
- Y10T428/00—Stock material or miscellaneous articles
- Y10T428/24—Structurally defined web or sheet [e.g., overall dimension, etc.]
- Y10T428/24149—Honeycomb-like
-
- Y—GENERAL TAGGING OF NEW TECHNOLOGICAL DEVELOPMENTS; GENERAL TAGGING OF CROSS-SECTIONAL TECHNOLOGIES SPANNING OVER SEVERAL SECTIONS OF THE IPC; TECHNICAL SUBJECTS COVERED BY FORMER USPC CROSS-REFERENCE ART COLLECTIONS [XRACs] AND DIGESTS
- Y10—TECHNICAL SUBJECTS COVERED BY FORMER USPC
- Y10T—TECHNICAL SUBJECTS COVERED BY FORMER US CLASSIFICATION
- Y10T428/00—Stock material or miscellaneous articles
- Y10T428/24—Structurally defined web or sheet [e.g., overall dimension, etc.]
- Y10T428/24149—Honeycomb-like
- Y10T428/24157—Filled honeycomb cells [e.g., solid substance in cavities, etc.]
Landscapes
- Engineering & Computer Science (AREA)
- Chemical & Material Sciences (AREA)
- Combustion & Propulsion (AREA)
- General Engineering & Computer Science (AREA)
- Mechanical Engineering (AREA)
- Oil, Petroleum & Natural Gas (AREA)
- Analytical Chemistry (AREA)
- General Chemical & Material Sciences (AREA)
- Environmental & Geological Engineering (AREA)
- Chemical Kinetics & Catalysis (AREA)
- Biomedical Technology (AREA)
- Health & Medical Sciences (AREA)
- Filtering Materials (AREA)
- Processes For Solid Components From Exhaust (AREA)
- Filtering Of Dispersed Particles In Gases (AREA)
- Filters For Electric Vacuum Cleaners (AREA)
- Cylinder Crankcases Of Internal Combustion Engines (AREA)
Description
本出願は、2002年4月11日に出願された日本国特許出願2002−109717号を基礎出願として優先権主張する出願である。
技術分野
本発明は、ディーゼルエンジン等の内燃機関から排出される排気ガス中のパティキュレート等を除去するフィルタとして用いられる排気ガス浄化用ハニカムフィルタに関する。
背景技術
バス、トラック等の車両や建設機械等の内燃機関から排出される排気ガス中に含有されるパティキュレート(微粒子)が環境や人体に害を及ぼすことが最近問題となっている。
この排気ガスを多孔質セラミックに通過させ、排気ガス中のパティキュレートを捕集して、排気ガスを浄化することができるセラミックフィルタが種々提案されている。
このようなセラミックフィルタは、通常、一方向に多数の貫通孔が並設された柱状体の貫通孔同士を隔てる隔壁がフィルタとして機能するようになっている。
即ち、上記ハニカムフィルタにおいて、上記柱状体に形成された貫通孔は、排気ガスの入り口側又は出口側の端部のいずれかが充填材により、所謂、市松模様となるように目封じされ、一の貫通孔に流入した排気ガスは、必ず貫通孔を隔てる隔壁を通過した後、他の貫通孔から流出するようになっており、排気ガスがこの隔壁を通過する際、パティキュレートが隔壁部分で捕捉され、排気ガスが浄化される。
このような排気ガスの浄化作用に伴い、ハニカムフィルタの貫通孔を隔てる隔壁部分には、次第にパティキュレートが堆積し、目詰まりを起こして通気を妨げるようになる。このため、上記ハニカムフィルタでは、定期的にヒータ等の加熱手段を用いて目詰まりの原因となっているパティキュレートを燃焼除去して再生する再生処理を行う必要がある。
従来、このようなハニカムフィルタにおいて、貫通孔の端部に充填された充填材は、貫通孔に流入した排気ガスがハニカムフィルタを素通りしてしまうことを防止し、確実に上記排気ガスが隔壁を通過するようにするために、緻密化されていることが望ましいと考えられていた(例えば、特開昭59−225718号公報参照)。
しかしながら、このような従来のハニカムフィルタにおいて、上記柱状体は多孔質セラミックからなるものであり、この柱状体の熱膨張率と、緻密化された充填材の熱膨張率とが異なるものであった。
そのため、このようなハニカムフィルタは、例えば、製造時の焼成工程で、上記柱状体の熱膨張率と充填材の熱膨張率との相違に起因して、充填材と該充填材に接触する部分の隔壁との間に大きな熱応力が作用し、上記充填材と隔壁との間に隙間が形成されたり、上記充填材や該充填材に接触する部分の隔壁にクラックが発生したりすることがあった。
このような問題を解決するために、ハニカムフィルタと充填材との間の熱膨張係数を調整することによって、製造過程で、クラックが起こらないようにしたフィルタが開示されている(特開昭57−42316号公報参照)。
しかしながら、ハニカムフィルタの製造時に、充填材と隔壁との間に隙間が形成されておらず、充填材や該充填材に接触する部分の隔壁にクラックが発生していない場合であっても、このようなハニカムフィルタを用いて実際に排気ガスの浄化を行うと、高温の排気ガスや、ハニカムフィルタの再生処理時等の加熱によって繰り返し印加される冷熱サイクルによって、ハニカムフィルタの充填材と、該充填材に接触する部分の隔壁との間に、柱状体の熱膨張率と隔壁の熱膨張率との相違に起因した熱応力が蓄積され、上記充填材と隔壁との間に隙間が形成されたり、上記充填材や該充填材に接触する部分の隔壁にクラックが発生したりすることがあった。
さらに、昨今、上記ハニカムフィルタの再生処理を、上述したようなヒータ等の加熱手段を用いる方法に代えて、ハニカムフィルタの気孔中に酸化触媒を担持させることで、上記ハニカムフィルタに流入した排気ガスに含まれる炭化水素と、上記酸化触媒とを反応させ、その際に発生する熱を利用したハニカムフィルタの再生処理を行う考え方がある。このようにして再生処理を行うハニカムフィルタでは、ハニカムフィルタの気孔中に酸化触媒を担持させるため、パティキュレートによる気孔の目詰まりが発生しやすいこと、及び、大量の熱を発生させるためには、できるだけ多くの酸化触媒を担持させる必要があること等の理由から、その気孔率を高くする必要があった。
ところが、このような高気孔率のハニカムフィルタは、柱状体の熱膨張率と、緻密化された充填材の熱膨張率との差はより大きくなるため、上述したような、製造時の焼成工程や、使用時の高温の排気ガス等に起因して充填材と隔壁との間に生じる熱応力により、充填材と隔壁との間に隙間が形成されたり、充填材や該充填材に接触する部分の隔壁にクラックが発生したりする問題が生じやすいものであった。
加えて、このような高い気孔率のハニカムフィルタに、触媒を担持させるためには、通常、高比表面積を有するγ−アルミナ等をハニカムフィルタにコーティングして、触媒担持膜を形成し、その触媒担持膜上に触媒となる貴金属を分散担持させる方法が用いられるが、充填材と該充填材に接触する部分の隔壁との間に侵入して触媒担持膜が形成されてしまうことがあり、これらの材料の熱膨張率の差に起因した熱応力により、クラック等が発生する問題が生じることもあった。
なお、従来、排気ガス中から捕集したパティキュレートを逆洗浄の際に剥離させ易くするために充填材を通気性にしたハニカムフィルタ(特開平7−332064号公報参照)、浄化性能を向上させるために充填材の気孔率を限定したハニカムフィルタ(特開2003−3823号公報参照)が開示されている。しかしながら、これらのハニカムフィルタは、上述の問題を認識したものではなく、その目的が全く異なっているため、技術的な前提が全く異なるものである。
発明の要約
本発明は、これらの問題を解決するためになされたもので、充填材と隔壁との間に隙間が形成されたり、上記充填材や該充填材に接触する部分の壁部にクラックが発生したりすることがなく、耐久性に優れる排気ガス浄化用ハニカムフィルタを提供することを目的とするものである。
本発明の排気ガス浄化用ハニカムフィルタは、多数の貫通孔が壁部を隔てて長手方向に並設された、多孔質セラミックからなる柱状体の一方の端部では、上記貫通孔のうち、所定の貫通孔が充填材により充填され、一方、上記柱状体の他方の端部で、上記一方の端部で前記充填材により充填されていない貫通孔が充填材により充填され、上記壁部の一部又は全部が粒子捕集用フィルタとして機能するように構成された排気ガス浄化用ハニカムフィルタであって、
上記柱状体の気孔率は、20〜80%であり、上記充填材の気孔率は、90%以下であり、かつ、上記柱状体の気孔率の0.15〜4.0倍であることを特徴とするものである。
また、本発明の排気ガス浄化用ハニカムフィルタに触媒が担持される場合には、上記柱状体及び充填材の気孔率は、本発明の排気ガス浄化用ハニカムフィルタに触媒担持膜が付与された後に測定されることが望ましい。
発明の詳細な開示
本発明は、多数の貫通孔が壁部を隔てて長手方向に並設された、多孔質セラミックからなる柱状体の一方の端部では、上記貫通孔のうち、所定の貫通孔が充填材により充填され、一方、上記柱状体の他方の端部で、上記一方の端部で前記充填材により充填されていない貫通孔が充填材により充填され、上記壁部の一部又は全部が粒子捕集用フィルタとして機能するように構成された排気ガス浄化用ハニカムフィルタであって、
上記柱状体の気孔率は、20〜80%であり、上記充填材の気孔率は、90%以下であり、かつ、上記柱状体の気孔率の0.15〜4.0倍であることを特徴とする排気ガス浄化用ハニカムフィルタである。
また、本発明の排気ガス浄化用ハニカムフィルタに触媒が担持される場合には、上記柱状体及び充填材の気孔率は、本発明の排気ガス浄化用ハニカムフィルタに触媒担持膜が付与された後に測定されることが望ましい。
図1(a)は、本発明の排気ガス浄化用ハニカムフィルタ(以下、単に本発明のハニカムフィルタともいう)の一例を模式的に示した斜視図であり、(b)は、そのA−A線断面図である。
図1(a)に示したように、本発明のハニカムフィルタ10は、多数の貫通孔11が壁部13を隔てて長手方向に並設された一の多孔質セラミック焼結体からなる柱状体の一方の端部、又は、他方の端部における貫通孔11に充填材12が充填されており、壁部13の全部が粒子捕集用フィルタとして機能するように構成されている。
即ち、ハニカムフィルタ10に形成された貫通孔11は、図1(b)に示したように、排気ガスの入り口側又は出口側のいずれかが充填材12により目封じされ、一の貫通孔11に流入した排気ガスは、必ず貫通孔11を隔てる壁部13を通過した後、他の貫通孔11から流出されるようになっている。
そして、本発明のハニカムフィルタ10に流入した排気ガス中に含まれるパティキュレートは、壁部13を通過する際、壁部13で捕捉され、排気ガスが浄化されるようになっている。
このような構成のハニカムフィルタ10が内燃機関の排気通路に配設される排気ガス浄化装置に設置されて使用される。
なお、上記排気ガス浄化装置については後述する。
本発明のハニカムフィルタ10において、上記柱状体は、多数の貫通孔11が壁部13を隔てて長手方向に並設された多孔質セラミックからなる柱状の部材であり、上記柱状体の気孔率は20〜80%である。上記柱状体の気孔率が20%未満であると、ハニカムフィルタ10がすぐに目詰まりを起こすことがあり、一方、上記柱状体の気孔率が80%を超えると、ハニカムフィルタ10の強度が低下して容易に破壊されることがある。
なお、上記気孔率は、例えば、水銀圧入法、アルキメデス法及び走査型電子顕微鏡(SEM)による観測等、従来公知の方法により測定することができる。
上記柱状体の大きさとしては特に限定されず、使用する内燃機関の排気通路の大きさ等を考慮して適宜決定される。また、その形状としては、柱状であれば特に限定されず、例えば、円柱状、楕円柱状、角柱状等任意の形状を挙げることができるが、通常、図1に示したように、円柱状のものがよく用いられる。
上記柱状体を構成する多孔質セラミックとしては特に限定されず、例えば、コージェライト、アルミナ、シリカ、ムライト等の酸化物セラミック、炭化ケイ素、炭化ジルコニウム、炭化チタン、炭化タンタル、炭化タングステン等の炭化物セラミック、及び、窒化アルミニウム、窒化ケイ素、窒化ホウ素、窒化チタン等の窒化物セラミックを挙げることができるが、通常、コージェライト等の酸化物セラミックが使用される。安価に製造することができるとともに、比較的熱膨張係数が小さく、使用中に酸化されることがないからである。なお、上述したセラミックに金属珪素を配合した珪素含有セラミック、珪素や珪酸塩化合物で結合されたセラミックも用いることができる。
上記柱状体の平均気孔径は5〜100μm程度であることが望ましい。平均気孔径が5μm未満であると、パティキュレートが容易に目詰まりを起こすことがある。一方、平均気孔径が100μmを超えると、パティキュレートが気孔を通り抜けてしまい、該パティキュレートを捕集することができず、フィルタとして機能することができないことがある。
また、本発明のハニカムフィルタ10は、上記柱状体の一方の端部、又は、他方の端部における貫通孔11に充填材12が充填されたものであり、この充填材12の気孔率は90%以下である。充填材12の気孔率が90%を超えると、充填材12の強度が低下してしまい、ハニカムフィルタ10に流入される高温の排気ガスや、再生時の冷熱サイクル等に起因する熱衝撃等により充填材12が容易に破壊されてしまう。また、充填材12が破壊されない場合であっても、パティキュレートが充填材12の内部を通過してしまい、排気ガス浄化用のフィルタとして充分に機能することができなくなる。
また、上記柱状体の気孔率に対する充填材12の気孔率の倍率は、その下限が0.15倍であり、その上限が4.0倍である。
上記柱状体の気孔率に対する充填材12の気孔率の倍率の下限が0.15倍未満であると、柱状体の熱膨張率と、充填材12の熱膨張率との差が大きくなりすぎ、製造時の焼成工程において、上記熱膨張率の相違に起因して充填材12と壁部13との間に隙間や、充填材12や充填材12に接触する部分の壁部13にクラックが発生する。一方、上記柱状体の気孔率に対する充填材12の気孔率の倍率の上限が4.0倍を超えると、やはり上記柱状体の熱膨張率と、充填材12の熱膨張率との差が大きくなりすぎ、製造時の焼成工程において、熱膨張率の相違に起因して充填材12と壁部13との間に隙間や、充填材12や充填材12に接触する部分の壁部13にクラックが発生し、強度が低下すると推定される。
また、上記柱状体の気孔率に対する充填材12の気孔率の倍率の下限は、0.25倍であることが望ましく、その上限は1.5倍であることが望ましい。
上記柱状体の気孔率に対する充填材12の気孔率の倍率の下限が0.25倍未満であると、柱状体の熱膨張率と、充填材12の熱膨張率との差が比較的大きく、製造時の焼成工程において、上述した隙間やクラックが発生していない場合であっても、使用時の高温の排気ガスや再生処理時の加熱等により繰り返し印加される冷熱サイクルにより、充填材12と壁部13との間に隙間が生じたり、充填材12や充填材12に接触する部分の壁部13にクラックが発生し、強度が低下することがある。また、本発明のハニカムフィルタに触媒担持膜が形成されている場合には、触媒担持膜が充填材12と充填材12に接触する部分の壁部13との間に侵入して形成されていることがあり、この場合には、触媒担持膜と充填材12、充填材12に接触する部分の壁部13との熱膨張率の差に起因した熱応力によっても、同様にクラックが発生し、強度が低下することがある。
一方、上記柱状体の気孔率に対する充填材12の気孔率の倍率の上限が1.5倍を超えると、やはり柱状体の熱膨張率と、充填材12の熱膨張率との差が比較的大きく、製造時の焼成工程において、上述したような隙間やクラックが発生していない場合であっても、高温の排気ガスや再生処理時の加熱等により繰り返し印加される冷熱サイクルに起因した熱応力が充填材12や充填材12に接触する部分の壁部13に蓄積され、充填材12と壁部13との間に隙間が生じたり、充填材12や充填材12に接触する部分の壁部13にクラックが発生し、強度が低下すると推定される。さらに、繰り返し長期間使用すると、高温の排気ガスが気孔率の高い充填材12部分に集中するため熱衝撃を受けやすく、充填材12が破壊されてしまうことがある。また、本発明のハニカムフィルタに触媒担持膜が形成されている場合には、触媒担持膜が充填材12と充填材12に接触する部分の壁部13との間に侵入して形成されていることがあり、この場合には、触媒担持膜と充填材12、充填材12に接触する部分の壁部13との熱膨張率の差に起因した熱応力によっても、同様にクラックが発生することがある。
本発明のハニカムフィルタに触媒担持膜が1g/L以上形成されている場合には、上記柱状体の気孔率に対する充填材12の気孔率の倍率は、0.3〜1.2倍であることがより好ましい。
また、上述したように、充填材12の気孔率の上限は90%であるが、本発明のハニカムフィルタ10において、柱状体の気孔率の下限が20%であり、上記柱状体の気孔率に対する充填材12の気孔率の倍率の下限が0.15倍であることから、充填材12の気孔率の下限は3%となる。
充填材12の気孔率が3%未満であると、充填材12と壁部13との接着強度が低くなるため、このようなハニカムフィルタを用いて排気ガスの浄化を行うと、高温の排気ガスや、再生処理時の加熱等に起因する熱衝撃によって、充填材と壁部との間に隙間やクラックが形成され、また、充填材12が抜け落ちてしまうことがある。これは、ハニカムフィルタの充填材の気孔率を3%未満と低くしようとすると、充填材の層を形成する際に使用する充填材ペーストの粘度が高くなり非常に流動しにくくなる。このような高粘度の充填材ペーストは、柱状体となるセラミック成形体の所定の貫通孔の端部に隙間なく、かつ、セラミック成形体の端面から充分な幅で充填させることが非常に困難となる。従って、製造するハニカムフィルタの充填材と、壁部との接触面積が小さくなり、充填材と壁部との接着強度が低くなるものと考えられる。
なお、上記ハニカムフィルタの製造方法については、後で詳述する。
このような充填材12は多孔質セラミックからなるものであることが望ましい。
本発明のハニカムフィルタ10において、充填材12が充填された柱状体は多孔質セラミックからなるものであるため、充填材12を上記柱状体と同じ多孔質セラミックとすることで、両者の接着強度を高くすることができるとともに、充填材12の気孔率が上述した条件を満たすように調整することで、上記柱状体の熱膨張率と充填材12の熱膨張率との整合を図ることができ、製造時や使用時の熱応力によって充填材12と壁部13との間に隙間が生じたり、充填材12や充填材12に接触する部分の壁部13にクラックが発生したりすることを防止することができる。
充填材12が多孔質セラミックからなる場合、その材料としては特に限定されず、例えば、上述した柱状体を構成するセラミック材料と同様の材料を挙げることができる。
また、本発明のハニカムフィルタにおいて、柱状体は、複数の貫通孔が隔壁を隔てて長手方向に並設された角柱形状の多孔質セラミック部材がシール材層を介して複数個結束されて構成されていることが望ましい。上記柱状体が複数の多孔質セラミック部材に分割されているため、使用中に多孔質セラミック部材に作用する熱応力を低減させることができ、本発明のハニカムフィルタを非常に耐熱性に優れたものとすることができる。また、多孔質セラミック部材の個数を増減させることで自由にその大きさを調整することができる。
図2は、本発明のハニカムフィルタの別の一例を模式的に示した斜視図であり、図3(a)は、図2に示したハニカムフィルタを構成する多孔質セラミック部材の一例を模式的に示した斜視図であり、(b)は、そのB−B線断面図である。
図2に示したように、本発明のハニカムフィルタ20は、多孔質セラミック部材30がシール材層24を介して複数個結束されてセラミックブロック25を構成し、このセラミックブロック25の周囲にもシール材層26が形成されている。また、この多孔質セラミック部材30は、図3に示したように、長手方向に多数の貫通孔31が並設され、貫通孔31同士を隔てる隔壁33がフィルタとして機能するようになっている。
即ち、多孔質セラミック部材30に形成された貫通孔31は、図3(b)に示したように、排気ガスの入り口側又は出口側の端部のいずれかが充填材32により目封じされ、一の貫通孔31に流入した排気ガスは、必ず貫通孔31を隔てる隔壁33を通過した後、他の貫通孔31から流出されるようになっている。
また、セラミックブロック25の周囲に形成されたシール材層26は、ハニカムフィルタ20を内燃機関の排気通路に設置した際、セラミックブロック25の外周部から排気ガスが漏れ出すことを防止する目的で設けられているものである。
なお、図3(b)中、矢印は排気ガスの流れを示している。
このような構成のハニカムフィルタ20が内燃機関の排気通路に配設された排気ガス浄化装置に設置され、内燃機関より排出された排気ガス中のパティキュレートは、このハニカムフィルタ20を通過する際に隔壁33により捕捉され、排気ガスが浄化される。
このようなハニカムフィルタ20は、極めて耐熱性に優れ、再生処理等も容易であるため、種々の大型車両やディーゼルエンジン搭載車両等に使用されている。
このような構造の本発明のハニカムフィルタ20において、柱状体(セラミックブロック25から充填材32を除いた部材)の気孔率は、20〜80%であり、充填材32の気孔率は、90%以下であり、かつ、上記柱状体の気孔率に対する充填材32の気孔率の倍率は、その下限が0.15倍であり、上限は4.0倍である。上記図1を用いたハニカムフィルタ10で説明した通りである。
また、本発明のハニカムフィルタ10において説明した充填材12と同様に、上記柱状体の気孔率に対する充填材32の気孔率の倍率は、その下限は0.25倍であり、上限は1.5倍であることが望ましく、充填材32の気孔率の下限は3%となり、さらに、充填材32は多孔質セラミックからなるものであることが望ましい。
多孔質セラミック部材30の材料としては特に限定されず、上述した本発明のハニカムフィルタ10の柱状体を構成するセラミック材料と同様の材料を挙げることができるが、これらのなかでは、耐熱性が大きく、機械的特性に優れ、かつ、熱伝導率も大きい炭化ケイ素が望ましい。
このような多孔質セラミック部材30を製造する際に使用するセラミックの粒径としては特に限定されないが、後の焼成工程で収縮が少ないものが望ましく、例えば、0.3〜50μm程度の平均粒径を有する粉末100重量部と、0.1〜1.0μm程度の平均粒径を有する粉末5〜65重量部とを組み合わせたものが望ましい。上記粒径のセラミック粉末を上記配合で混合することで、多孔質セラミック部材30を製造することができるからである。
本発明のハニカムフィルタ20では、このような多孔質セラミック部材30がシール材層24を介して複数個結束されてセラミックブロック25が構成されており、このセラミックブロック25の外周にもシール材層26が形成されている。
即ち、本発明のハニカムフィルタ20において、シール材層は、多孔質セラミック部材30間、及び、セラミックブロック25の外周に形成されており、多孔質セラミック部材30間に形成されたシール材層(シール材層24)は、複数の多孔質セラミック部材30同士を結束する接着剤層として機能し、一方、セラミックブロック25の外周に形成されたシール材層(シール材層26)は、本発明のハニカムフィルタ20を内燃機関の排気通路に設置した際、セラミックブロック25の外周から排気ガスが漏れ出すことを防止するための封止材として機能する。
上記シール材層(シール材層24及びシール材層26)を構成する材料としては特に限定されず、例えば、無機バインダー、有機バインダー、無機繊維及び無機粒子からなるもの等を挙げることができる。
なお、上述した通り、本発明のハニカムフィルタ20において、シール材層は、多孔質セラミック部材30間、及び、セラミックブロック25の外周に形成されているが、これらのシール材層(シール材層24及びシール材層26)は、同じ材料からなるものであってもよく、異なる材料からなるものであってもよい。さらに、上記シール材層が同じ材料からなるものである場合、その材料の配合比は同じものであってもよく、異なるものであってもよい。
上記無機バインダーとしては、例えば、シリカゾル、アルミナゾル等を挙げることができる。これらは、単独で用いてもよく、2種以上を併用してもよい。上記無機バインダーのなかでは、シリカゾルが望ましい。
上記有機バインダーとしては、例えば、ポリビニルアルコール、メチルセルロース、エチルセルロース、カルボキシメチルセルロース等を挙げることができる。これらは、単独で用いてもよく、2種以上を併用してもよい。上記有機バインダーのなかでは、カルボキシメチルセルロースが望ましい。
上記無機繊維としては、例えば、シリカ−アルミナ、ムライト、アルミナ、シリカ等のセラミックファイバー等を挙げることができる。これらは、単独で用いてもよく、2種以上を併用してもよい。上記無機繊維のなかでは、シリカ−アルミナファイバーが望ましい。
上記無機粒子としては、例えば、炭化物、窒化物等を挙げることができ、具体的には、炭化珪素、窒化珪素、窒化硼素等からなる無機粉末又はウィスカー等を挙げることができる。これらは、単独で用いてもよく、2種以上を併用してもよい。上記無機粒子のなかでは、熱伝導性に優れる炭化珪素が望ましい。
図2に示したハニカムフィルタ20では、セラミックブロック25の形状は円柱状であるが、本発明のハニカムフィルタにおいては、セラミックブロックの形状は円柱状に限定されることはなく、例えば、楕円柱状や角柱状等任意の形状のものを挙げることができる。
セラミックブロック25の外周に形成されたシール材層26の厚さとしては特に限定されず、例えば、0.3〜1.0mm程度であることが望ましい。0.3mm未満であると、セラミックブロック25の外周から排気ガスが漏れ出す場合があり、一方、1.0mmを超えると、排気ガスの漏れ出しは充分に防止することができるものの、経済性に劣るものとなる。
また、本発明のハニカムフィルタには、触媒が付与されていることが望ましい。本発明のハニカムフィルタは、このような触媒を担持することにより、排気ガス中のパティキュレートを捕集するフィルタとして機能するとともに、排気ガスに含有される上記CO、HC及びNOx等を浄化するための触媒担持体として機能することができる。
上記触媒としては、排気ガス中のCO、HC及びNOx等を浄化することができる触媒であれば特に限定されず、例えば、白金、パラジウム、ロジウム等の貴金属等を挙げることができる。また、貴金属に加えて、アルカリ金属(元素周期表1族)、アルカリ土類金属(元素周期表2族)、希土類元素(元素周期表3族)、遷移金属元素が加わることもある。
また、本発明のハニカムフィルタに上記触媒を付与する際には、予めその表面に触媒担持膜を形成した後に、上記触媒を付与することが好ましい。これにより、比表面積を大きくして、触媒の分散度を高め、触媒の反応部位を増やすことができる。また、触媒担持膜によって触媒金属のシンタリングを防止することができるので、触媒の耐熱性も向上する。加えて、圧力損失を下げることを可能にする。なお、本発明のハニカムフィルタは、上記柱状体の気孔率が20〜80%であり、上記充填材の気孔率が90%以下であり、かつ、上記柱状体の気孔率の0.15〜4.0倍であるので、触媒担持膜が形成されていても、触媒担持膜の熱膨張率に起因したクラック等の問題が発生することがない。
上記触媒担持膜としては、例えば、アルミナ、ジルコニア、チタニア、シリカ等から構成される膜を挙げることができる。
上記触媒担持膜を形成する方法としては特に限定されないが、例えば、アルミナからなる触媒担持膜を形成する場合には、γ−Al2O3粉末を溶媒に分散させたスラリー状溶液に浸漬する方法、アルミナゾルの溶液を隔壁に付着させた後、ゲル化させてアルミナの膜を形成するゾルゲル法等を挙げることができる。
また、触媒担持膜形成用の溶液を注入又はマスキング等の方法を用いて、充填材に選択的に含浸させることにより、上記柱状体における触媒担持膜の形成量と上記充填材における触媒担持膜の形成量とを異なるものとしてもよい。
上記触媒が担持された本発明のハニカムフィルタは、従来公知の触媒付DPF(ディーゼル・パティキュレート・フィルタ)と同様のガス浄化装置として機能するものである。従って、ここでは、本発明のハニカムフィルタが触媒担持体としても機能する場合の詳しい説明を省略する。
上述した通り、本発明のハニカムフィルタは、該ハニカムフィルタを構成する柱状体の気孔率が20〜80%であり、充填材の気孔率が90%以下であり、かつ、上記柱状体の気孔率の0.15〜4.0倍である。即ち、本発明のハニカムフィルタを構成する柱状体の気孔率と、充填材の気孔率とは、余り相違しないこととなる。その結果、上記柱状体の熱膨張率と、上記充填材の熱膨張率との差を小さくすることができ、製造時の焼成工程において、熱膨張率の相違に起因して充填材と壁部との間に隙間が生じたり、充填材や該充填材に接触する部分の壁部にクラックが発生したりすることがない。また、本発明のハニカムフィルタを使用し、高温の排気ガスや再生処理時の加熱等により繰り返し冷熱サイクルが印加された場合であっても、上記柱状体の熱膨張率と、上記充填材の熱膨張率との差が余りないため、上記冷熱サイクルに起因する熱応力の蓄積等によって、上記充填材と壁部との間に隙間が生じたり、上記充填材や該充填材に接触する部分の壁部にクラックが発生したりすることがなく、本発明のハニカムフィルタは、耐久性に優れたものとなる。
次に、上述した本発明のハニカムフィルタの製造方法の一例について説明する。
本発明のハニカムフィルタの構造が図1に示したような、その全体が一の焼結体から構成されたものである場合、まず、上述したようなセラミックを主成分とする原料ペーストを用いて押出成形を行い、図1に示したハニカムフィルタ10と略同形状のセラミック成形体を作製する。
上記原料ペーストは、製造後の柱状体の気孔率が20〜80%となるものであれば特に限定されず、例えば、上述したようなセラミックからなる粉末にバインダー及び分散媒液を加えたものを挙げることができる。
上記バインダーとしては特に限定されず、例えば、メチルセルロース、カルボキシメチルセルロース、ヒドロキシエチルセルロース、ポリエチレングリコール、フェノール樹脂、エポキシ樹脂等を挙げることができる。
上記バインダーの配合量は、通常、セラミック粉末100重量部に対して、1〜10重量部程度が望ましい。
上記分散媒液としては特に限定されず、例えば、ベンゼン等の有機溶媒;メタノール等のアルコール、水等を挙げることができる。
上記分散媒液は、原料ペーストの粘度が一定範囲内となるように、適量配合される。
これらセラミック粉末、バインダー及び分散媒液は、アトライター等で混合し、ニーダー等で充分に混練した後、押出成形して上記セラミック成形体を作製する。
また、上記原料ペーストには、必要に応じて成形助剤を添加してもよい。
上記成形助剤としては特に限定されず、例えば、エチレングリコール、デキストリン、脂肪酸石鹸、ポリアルコール等を挙げることができる。
さらに、上記原料ペーストには、必要に応じて酸化物系セラミックを成分とする微小中空球体であるバルーンや、球状アクリル粒子、グラファイト等の造孔剤を添加してもよい。
上記バルーンとしては特に限定されず、例えば、アルミナバルーン、ガラスマイクロバルーン、シラスバルーン、フライアッシュバルーン(FAバルーン)及びムライトバルーン等を挙げることができる。これらのなかでは、フライアッシュバルーンが望ましい。
そして、上記セラミック成形体を、マイクロ波乾燥機、熱風乾燥機、誘電乾燥機、減圧乾燥機、真空乾燥機及び凍結乾燥機等を用いて乾燥させた後、所定の貫通孔に充填材となる充填材ペーストを充填し、上記貫通孔に目封じする封口処理を施す。
図4(a)は、上記封口処理を行う際に使用する封口装置の一例を模式的に示した断面図であり、(b)は、その一部を示す部分拡大断面図である。
図4に示したように、上記封口処理で用いる封口装置100は、所定のパターンに開口部111aが形成されたマスク111が側面に設置され、その内部が充填材ペースト120で満たされた二組の密閉式の充填材吐出槽110が、マスク111が形成された側面同士を向かい合うように配設されている。
このような封口装置100を用いて上記セラミック乾燥体の封口処理を行うには、まず、セラミック乾燥体40の端面40aと、充填材吐出槽110の側面に形成されたマスク111とが当接するようにセラミック乾燥体40を充填材吐出槽110の間に固定する。
このとき、マスク111の開口部111aとセラミック乾燥体40の貫通孔42とは、ちょうど対向する位置関係となっている。
続いて、充填材吐出槽110に、例えば、モノポンプ等のポンプを用いて一定の圧力を加えて、充填材ペースト120をマスク111の開口部111aより吐出させ、セラミック乾燥体40の貫通孔42の端部に充填材ペースト120を侵入させることで、セラミック乾燥体40の所定の貫通孔42に、充填材となる充填材ペースト120を充填することができる。
なお、上記封口処理で使用する封口装置は、上述したような封口装置100に限定されることはなく、例えば、その内部に攪拌片が配設された開放式の充填材吐出槽を備え、上記攪拌片を上下方向に移動させることにより、上記充填材吐出槽に満たされた充填材ペーストを流動させ、該充填材ペーストの充填を行う方式であってもよい。
上記充填材ペーストとしては、後工程を経て製造される充填材の気孔率が90%以下であり、かつ、セラミック乾燥体40を焼成することで製造される柱状体の気孔率の0.15〜4.0倍となるものであれば特に限定されず、例えば、上記原料ペーストと同様のものを用いることができるが、上記原料ペーストで用いたセラミック粉末に潤滑剤、溶剤、分散剤及びバインダーを添加したものであることが望ましい。上記封口処理の途中で充填材ペースト中のセラミック粒子が沈降することを防止することができるからである。なお、上記充填材ペーストが、上述した条件を外れるようなものであると、本発明のハニカムフィルタにおいて説明したように、後工程を経て製造するハニカムフィルタに、充填材と壁部との接着強度の低下、充填材の強度の低下、充填材と壁部との間に隙間やクラックの発生、及び、充填材や該充填材に接触する部分の壁部にクラックが発生する等の不具合が生じることとなる。
このような充填材ペーストにおいて、上記セラミック粉末は、その平均粒径が大きな粗粉に、その平均粒径が小さな微粉が少量添加されたものであることが望ましい。上記微粉がセラミック粒子同士を接着させるからである。また、上記粗粉の平均粒径の下限は5μmであることが望ましく、10μmであることがより望ましい。また、上記粗粉の平均粒径の上限は100μmであることが望ましく、50μmであることがより望ましい。一方、上記微粉の平均粒径はサブミクロンであることが望ましい。
上記潤滑剤としては特に限定されず、例えば、ポリオキシエチレンアルキルエーテル、ポリオキシプロピレンアルキルエーテル等からなるものを挙げることができる。
このような潤滑剤は、セラミック粉末100重量部に対して0.5〜8重量部添加されることが望ましい。0.5重量部未満であると、充填材ペースト中のセラミック粒子の沈降速度が大きくなり、すぐに分離してしまうことがある。また、充填材ペーストの流路抵抗が高くなるためセラミック乾燥体の貫通孔内に充分に充填材ペーストを進入させることが困難となることがある。一方、8重量部を超えると、セラミック乾燥体を焼成する際の収縮が大きくなりクラックが発生しやすくなる。
上記ポリオキシエチレンアルキルエーテル又はポリオキシプロピレンアルキルエーテルは、アルコールに酸化エチレン又は酸化プロピレンを付加重合させて製造されるものであり、ポリオキシエチレン(ポリオキシプロピレン)の一端の酸素にアルキル基が結合したものである。上記アルキル基としては特に限定されず、例えば、炭素数が3〜22のものを挙げることができる。このアルキル基は、直鎖状のものでも、側鎖を有するものでもよい。
また、上記ポリオキシエチレンアルキルエーテルと、ポリオキシプロピレンアルキルエーテルとは、ポリオキシエチレンとポリオキシプロピレンとからなるブロックコポリマーにアルキル基が結合したものであってもよい。
上記溶剤としては特に限定されず、例えば、ジエチレングリコールモノ−2−エチルヘキシルエーテル等を挙げることができる。
このような溶剤は、セラミック粉末100重量部に対して5〜20重量部添加されることが望ましい。この範囲を外れるとセラミック乾燥体の貫通孔に充填材ペーストを充填することが困難となる。
上記分散剤としては特に限定されず、例えば、リン酸エステル塩からなる界面活性剤を挙げることができる。上記リン酸エステル塩としては、例えば、ポリオキシエチレンアルキルエーテルリン酸塩、ポリオキシエチレンアルキルフェニルエーテルリン酸塩、アルキルリン酸塩等を挙げることができる。
このような分散剤は、セラミック粉末100重量部に対して0.1〜5重量部添加されることが望ましい。0.1重量部未満であると、セラミック粒子を充填材ペースト中に均一に分散させることができないことがあり、一方、5重量部を超えると、充填材ペーストの密度が低下するため、焼成時の収縮量が大きくなってクラック等が発生しやすくなる。
上記バインダーとしては特に限定されず、例えば、(メタ)アクリル酸n−ブチル、(メタ)アクリル酸n−ペンチル、(メタ)アクリル酸n−ヘキシル等の(メタ)アクリル酸エステル系化合物等を挙げることができる。
このようなバインダーは、セラミック粉末100重量部に対して1〜10重量部添加されることが望ましい。1重量部未満であると、セラミック粒子と他の添加剤との結合力を充分に確保することができないことがある。一方、10重量部を超えると、バインダーの量が多くなりすぎるため、焼成工程において収縮量が大きくなってクラック等が発生しやすくなる。
そして、上記充填材ペーストが充填されたセラミック乾燥体に、所定の条件で脱脂、焼成を行うことにより、多孔質セラミックからなり、その全体が一の焼結体から構成されたハニカムフィルタを製造する。
なお、上記セラミック乾燥体の脱脂及び焼成の条件等は、従来から多孔質セラミックからなるハニカムフィルタを製造する際に用いられている条件を適用することができる。
また、本発明のハニカムフィルタの構造が、図2に示したような、多孔質セラミック部材がシール材層を介して複数個結束されて構成されたものである場合、まず、上述したセラミックを主成分とする原料ペーストを用いて押出成形を行い、図3に示した多孔質セラミック部材30のような形状の生成形体を作製する。
なお、上記原料ペーストは、上述した一の焼結体からなるハニカムフィルタにおいて説明した原料ペーストと同様のものを挙げることができる。
次に、上記生成形体を、マイクロ波乾燥機等を用いて乾燥させて乾燥体とした後、該乾燥体の所定の貫通孔に充填材となる充填材ペーストを充填し、上記貫通孔を目封じする封口処理を施す。
なお、上記充填材ペーストは、上述した一の焼結体からなるハニカムフィルタにおいて説明した充填材ペーストと同様のものを挙げることができ、上記封口処理は、充填材ペーストを充填する対象が異なるほかは、上述したハニカムフィルタ10の場合と同様の方法を挙げることができる。
次に、上記封口処理を経た乾燥体に所定の条件で脱脂、焼成を行うことにより、複数の貫通孔が隔壁を隔てて長手方向に並設された多孔質セラミック部材を製造する。
なお、上記生成形体の脱脂及び焼成の条件等は、従来から多孔質セラミック部材がシール材層を介して複数個結束されて構成されたハニカムフィルタを製造する際に用いられている条件等を適用することができる。
次に、図5に示したように、多孔質セラミック部材30が斜めに傾斜した状態で積み上げることができるように、断面V字形状に構成された台80の上に、多孔質セラミック部材30を傾斜した状態で載置した後、上側を向いた2つの側面30a、30bに、シール材層24となるシール材ペーストを均一な厚さで塗布してシール材ペースト層81を形成し、このシール材ペースト層81の上に、順次他の多孔質セラミック部材30を積層する工程を繰り返し、所定の大きさの角柱状の多孔質セラミック部材30の積層体を作製する。この際、積層体の4隅にあたる多孔質セラミック部材30には、四角柱形状の多孔質セラミック部材を2つに切断して作製した三角柱状の多孔質セラミック部材30cと、三角柱状の多孔質セラミック部材30cと同じ形状の樹脂部材82とを易剥離性の両面テープ等で貼り合わせてなるものを使用し、多孔質セラミック部材30の積層が完了した後に、積層体の4隅を構成する樹脂部材82を全て取り除くことによって、積層体を断面多角柱状にしてもよい。これにより、積層体の外周部を切削加工してセラミックブロックを作製した後に廃棄されることとなる多孔質セラミック部材からなる廃棄物の量を減らすことができる。
上記図5に示した方法以外であっても、断面多角柱状の積層体を作製する方法としては、作製するハニカムフィルタの形状に合わせて、例えば、4隅の多孔質セラミック部材を省略する方法、三角柱状の多孔質セラミック部材を組み合わせる方法等を用いることができる。また、もちろん四角柱状の積層体を作製してもよい。
なお、上記シール材ペーストを構成する材料としては、上述した本発明のハニカムフィルタにおいて説明した通りであるのでここではその説明を省略する。
次に、この多孔質セラミック部材30の積層体を加熱してシール材ペースト層81を乾燥、固化させてシール材層24とし、その後、例えば、ダイヤモンドカッター等を用いて、その外周部を図2に示したような形状に切削することで、セラミックブロック25を作製する。
そして、セラミックブロック25の外周に上記シール材ペーストを用いてシール材層26を形成することで、多孔質セラミック部材がシール材層を介して複数個結束されて構成されたハニカムフィルタを製造することができる。
このようにして製造したハニカムフィルタはいずれも柱状であり、その構造は、多数の貫通孔が壁部を隔てて並設されている。
ただし、ハニカムフィルタが、図1に示したような、その全体が一の焼結体からなる構造である場合、多数の貫通孔を隔てる壁部は、その全体が粒子捕集用フィルタとして機能するのに対し、ハニカムフィルタが、図2に示したような、多孔質セラミック部材がシール材層を介して複数個結束された構造である場合、多数の貫通孔を隔てる壁部は、多孔質セラミック部材を構成する隔壁と、当該多孔質セラミック部材を結束するシール材層とからなるため、その一部、即ち、多孔質セラミック部材のシール材層と接していない隔壁部分が粒子捕集用フィルタとして機能する。
本発明のハニカムフィルタは、エンジン等の内燃機関の排気通路に配設される排気ガス浄化装置に設置されて使用される。なお、本発明のハニカムフィルタでは、捕集して堆積した微粒子を除去する再生処理の方法として、気流により逆洗浄を行う方法が用いられてもよく、それ以外の方法が用いられてもよい。それ以外の方法としては特に限定されるものではないが、例えば、排気ガスを加熱することにより微粒子を燃焼させて除去する方法等が挙げられる。
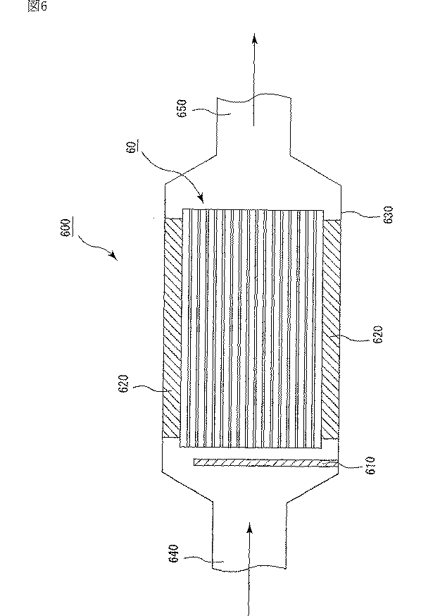
図6は、本発明のハニカムフィルタが設置された排気ガス浄化装置の一例を模式的に示した断面図である。なお、図6に示す本発明のハニカムフィルタでは、捕集して堆積した微粒子を除去する再生処理の方法として、上述した加熱により微粒子を除去する方法が用いられている。
図6に示したように、排気ガス浄化装置600は、主に、本発明のハニカムフィルタ60、ハニカムフィルタ60の外方を覆うケーシング630、ハニカムフィルタ60とケーシング630との間に配置された保持シール材620、及び、ハニカムフィルタ60の排気ガス流入側に設けられた加熱手段610から構成されており、ケーシング630の排気ガスが導入される側の端部には、エンジン等の内燃機関に連結された導入管640が接続されており、ケーシング630の他端部には、外部に連結された排出管650が接続されている。なお、図6中、矢印は排気ガスの流れを示している。
また、図6において、ハニカムフィルタ60は、図1に示したハニカムフィルタ10であってもよく、図2に示したハニカムフィルタ20であってもよい。
このような構成からなる排気ガス浄化装置600では、エンジン等の内燃機関から排出された排気ガスは、導入管640を通ってケーシング630内に導入され、ハニカムフィルタ60の貫通孔から壁部(隔壁)を通過してこの壁部(隔壁)でパティキュレートが捕集されて浄化された後、排出管650を通って外部へ排出されることとなる。
そして、ハニカムフィルタ60の壁部(隔壁)に大量のパティキュレートが堆積し、圧損が高くなると、ハニカムフィルタ60の再生処理が行われる。
上記再生処理では、加熱手段610を用いて加熱されたガスをハニカムフィルタ60の貫通孔の内部へ流入させることで、ハニカムフィルタ60を加熱し、壁部(隔壁)に堆積したパティキュレートを燃焼除去するのである。
保持シール材620を構成する材料としては特に限定されず、例えば、結晶質アルミナ繊維、アルミナ−シリカ繊維、シリカ繊維等の無機繊維や、これらの無機繊維を一種以上含む繊維等を挙げることができる。
また、保持シール材620には、アルミナ及び/又はシリカが含有されていることが望ましい。保持シール材620の耐熱性及び耐久性が優れたものとなるからである。特に、保持シール材620は、50重量%以上のアルミナが含有されていることが望ましい。900〜950℃程度の高温下であっても、弾性力が高くなり、ハニカムフィルタ60を保持する力が高まるからである。
また、保持シール材620には、ニードルパンチ処理が施されていることが望ましい。保持シール材620を構成する繊維同士が絡み合い、弾性力が高くなり、ハニカムフィルタ60を保持する力が向上するからである。
保持シール材620の形状としては、ハニカムフィルタ60の外周に被覆することができる形状であれば特に限定されず、任意の形状を挙げることができるが、矩形状の基材部の一の辺に凸部が形成され、該一の辺に対向する辺に凹部が形成され、ハニカムフィルタ60の外周に被覆した際、上記凸部と凹部とがちょうど嵌合されるような形状であることが望ましい。ハニカムフィルタ60の外周に被覆した保持シール材620にズレが発生しにくくなるからである。
ケーシング630の材質としては特に限定されず、例えば、ステンレス等を挙げることができる。
また、その形状は特に限定されず、図7(a)に示したケーシング71のような筒状であってもよく、(b)に示したケーシング72のような筒をその軸方向に2分割した2分割シェル状であってもよい。
また、ケーシング630の大きさは、ハニカムフィルタ60を、保持シール材620を介して内部に設置することができるように適宜調整される。そして、図6に示したように、ケーシング630の一端面には、排気ガスを導入させる導入管640が接続され、他端面には、排気ガスを排出させる排出管650が接続されるようになっている。
加熱手段610は、上述した通り、ハニカムフィルタ60の再生処理において、ハニカムフィルタ60の壁部(隔壁)に堆積したパティキュレートを燃焼除去させるために、貫通孔の内部に流入させるガスを加熱するために設けられており、このような加熱手段610としては特に限定されず、例えば、電気ヒータやバーナー等を挙げることができる。
なお、上記貫通孔の内部に流入させるガスとしては、例えば、排気ガスや空気等を挙げることができる。
また、このような排気ガス浄化装置では、図6に示したように、ハニカムフィルタ60の排気ガス流入側に設けた加熱手段610によりハニカムフィルタ60を加熱するような方式であってもよく、例えば、ハニカムフィルタに酸化触媒を担持させ、この酸化触媒を担持させたハニカムフィルタに炭化水素を流入させることで、上記ハニカムフィルタを発熱させる方式であってもよく、また、ハニカムフィルタの排気ガス流入側に酸化触媒を配置し、該酸化触媒に炭化水素を供給することで発熱させ、上記ハニカムフィルタを加熱する方式であってもよい。
酸化触媒と炭化水素との反応は、発熱反応であるので、この反応時に発生する多量の熱を利用することにより、排気ガスの浄化と並行して、ハニカムフィルタの再生を行うことができる。
このような本発明のハニカムフィルタを設置した排気ガス浄化装置を製造するには、まず、本発明のハニカムフィルタの外周に被覆する保持シール材を作製する。
上記保持シール材を作製するには、まず、結晶質アルミナ繊維、アルミナ−シリカ繊維、シリカ繊維等の無機繊維や、これらの無機繊維を一種以上含む繊維等を用いて無機質マット状物(ウェッブ)を形成する。
また、上記無機質マット状物を形成する方法としては特に限定されず、例えば、上述した繊維等を、接着剤を含んだ溶液中に分散させ、紙を作る抄紙機等を利用して無機質マット状物を形成する方法等を挙げることができる。
また、上記無機質マット状物にニードルパンチ処理を施すことが望ましい。ニードルパンチ処理を施すことにより、繊維同士を絡み合わせることができ、弾性力が高く、ハニカムフィルタを保持する力に優れる保持シール材を作製することができるからである。
その後、上記無機質マット状物に切断加工を施して、例えば、上述したような矩形状の基材部の一の辺に凸部が設けられ、該一の辺に対向する辺に凹部が設けられたような形状の保持シール材を作製する。
次に、本発明のハニカムフィルタの外周に上記保持シール材を被覆し、該保持シール材を固定する。
上記保持シール材を固定する手段としては特に限定されず、例えば、接着剤で貼着したり、紐状体で縛る手段等を挙げることができる。また、特別な手段で固定をせず、ハニカムフィルタに被覆しただけの状態で、次の工程に移行しても差し支えない。なお、上記紐状体は、熱で分解する材料であってもよい。ケーシング内にハニカムフィルタを設置した後であれば、紐状体が熱により分解してもハニカムフィルタはケーシング内に設置されているので、保持シール材が剥がれてしまうことはないからである。
次に、上記工程を経たハニカムフィルタをケーシング内に設置する。
なお、上記ケーシングの材料、形状及び構成等については、上述した通りであるのでここでは、その説明を省略する。
ハニカムフィルタを、ケーシング内に設置する方法としては、上記ケーシングが筒状のケーシング71である場合(図7(a))、例えば、保持シール材が被覆されたハニカムフィルタをその一端面から押し込み、所定の位置に設置した後、導入管、配管及び排出管等と接続するための端面を、ケーシング71の両端部に形成する方法を挙げることができる。なお、ケーシング71は有底の筒状であってもよい。
この際、固定したハニカムフィルタが容易に移動しないように、かなりの力を加えた状態で、ようやく押し込むことができる程度に、保持シール材の厚さ、ハニカムフィルタの大きさ、ケーシング71の大きさ等を調整する必要がある。
また、図7(b)に示したように、上記ケーシングの形状が2分割シェル状のケーシング72である場合には、例えば、ハニカムフィルタを半筒状の下部シェル72b内の所定箇所に設置した後、上部固定部73に形成した貫通孔73aと、下部固定部74に形成した貫通孔74aとがちょうど重なるように、半筒状の上部シェル72aを下部シェル72bの上に載置する。そして、ボルト75を貫通孔73a、74aに挿通しナット等で固定することで、上部シェル72aと下部シェル72bとを固定する。そして、導入管、配管及び排出管等と接続するための開口を有する端面を、ケーシング72の両端部に形成する方法を挙げることができる。この場合にも、固定したハニカムフィルタが移動しないように、保持シール材の厚さ、ハニカムフィルタの大きさ、ケーシング72の大きさ等を調整する必要がある。
この2分割シェル状のケーシング72は、内部に設置したハニカムフィルタの取替えが、筒状のケーシング71よりも容易である。
次に、本発明のハニカムフィルタの再生処理を行う際に、ハニカムフィルタの貫通孔内に流入させるガスを加熱するための加熱手段を設ける。
上記加熱手段としては特に限定されず、例えば、電気ヒータやバーナー等を挙げることがでる。
また、上記加熱手段は、通常、ケーシング内に設置したハニカムフィルタの排気ガス流入側の端面近傍に設ける。
なお、上記排気ガス浄化装置において説明した通り、上述したような加熱手段を設けずに、本発明のハニカムフィルタに酸化触媒を担持させてもよく、ハニカムフィルタの排気ガス流入側に酸化触媒を配置してもよい。
次に、本発明のハニカムフィルタと加熱手段とを内部に設置したケーシングを内燃機関の排気通路に接続することで本発明のハニカムフィルタを設置した排気ガス浄化装置を製造することができる。
具体的には、上記ケーシングの加熱手段が設けられた側の端面をエンジン等の内燃機関に連結された導入管に接続し、他端面を外部へ連結された排出管に接続する。
発明を実施するための最良の形態
以下に実施例を掲げて本発明を更に詳しく説明するが、本発明はこれら実施例のみに限定されるものではない。
(実施例1)
(1)平均粒径10μmのα型炭化珪素粉末60重量%と、平均粒径0.5μmのβ型炭化珪素粉末40重量%とを湿式混合し、得られた混合物100重量部に対して、有機バインダー(メチルセルロース)を5重量部、水を10重量部加えて混練して原料ペーストを調製した。
次に、上記原料ペーストを押出成形機に充填し、押出速度10cm/分にて図3に示した多孔質セラミック部材30と略同形状のセラミック成形体を作製し、上記セラミック成形体を、マイクロ波乾燥機を用いて乾燥させてセラミック乾燥体とした。
次に、平均粒径10μmのα型炭化珪素粉末60重量%と、平均粒径0.5μmのβ型炭化珪素粉末40重量%とを混合し、得られた混合物100重量部に、ポリオキシエチレンモノブチルエーテルからなる潤滑剤(日本油脂社製、商品名:ユニルーブ)を2重量部、ジエチレングリコールモノ−2−エチルヘキシルエーテルからなる溶剤(協和発酵社製、商品名:OX−20)を8重量部、リン酸エステル系化合物からなる分散剤(第一工業製薬社製、商品名:プライサーフ)を1.1重量部、メタクリル酸n−ブチルをOX−20で溶解したバインダー(東栄化成社製、商品名:バインダーD)を4重量部、及び、アクリル粒子を0.15重量部配合して均一に混合することにより充填材ペーストを調製した。
この充填材ペーストを図4に示した封口装置100の充填材吐出槽110に充填し、上記工程で作製したセラミック乾燥体を所定の位置に移動、固定し、充填材吐出槽110を移動させることにより、マスク111をセラミック乾燥体の端面に当接させた。このとき、マスク111の開口部111aとセラミック乾燥体の貫通孔とは、ちょうど対向する位置関係となっている。
続いて、モノポンプを用いて充填材吐出槽110に所定の圧力を印加することにより、充填材ペーストをマスク111の開口部111aより吐出させ、セラミック乾燥体の貫通孔の端部に進入させる封口処理を行った。
そして、上記封口処理を行ったセラミック乾燥体を、再びマイクロ波乾燥機を用いて乾燥させた後、400℃で脱脂し、常圧のアルゴン雰囲気下2200℃、4時間で焼成を行うことにより、図2に示したような、その大きさが33mm×33mm×300mmで、貫通孔の数が31個/cm2、隔壁の厚さが0.3mmの炭化珪素焼結体からなる多孔質セラミック部材を製造した。
(2)繊維長0.2mmのアルミナファイバー19.6重量%、平均粒径0.6μmの炭化珪素粒子67.8重量%、シリカゾル10.1重量%及びカルボキシメチルセルロース2.5重量%を含む耐熱性のシール材ペーストを用いて上記多孔質セラミック部材を、図5を用いて説明した方法により多数結束させ、続いて、ダイヤモンドカッターを用いて切断することにより、図2に示したような直径が165mmで円柱形状のセラミックブロックを作製した。
次に、無機繊維としてアルミナシリケートからなるセラミックファイバー(ショット含有率:3%、繊維長:0.1〜100mm)23.3重量%、無機粒子として平均粒径0.3μmの炭化珪素粉末30.2重量%、無機バインダーとしてシリカゾル(ゾル中のSiO2の含有率:30重量%)7重量%、有機バインダーとしてカルボキシメチルセルロース0.5重量%及び水39重量%を混合、混練してシール材ペーストを調製した。
次に、上記シール材ペーストを用いて、上記セラミックブロックの外周部に厚さ1.0mmのシール材ペースト層を形成した。そして、このシール材ペースト層を120℃で乾燥して、図1に示したような円柱形状のハニカムフィルタを製造した。
このようにして製造したハニカムフィルタにおいて、充填材を除いた柱状体の平均気孔径は10μm、気孔率は20%であり、上記充填材の気孔率は3%であり、この充填材の気孔率は、上記柱状体の気孔率の0.15倍であった。
(実施例2)
平均粒径10μmのα型炭化珪素粉末60重量%と、平均粒径0.5μmのβ型炭化珪素粉末40重量%とを湿式混合し、得られた混合物100重量部に、ユニルーブを2重量部、OX−20を8重量部、プライサーフを1.1重量部、バインダーDを4重量部、及び、アクリル粒子を0.2重量部配合して均一に混合することにより充填材ペーストを調製し、この充填材ペーストを用いたほかは、実施例1と同様にしてハニカムフィルタを製造した。
このようにして製造した実施例2に係るハニカムフィルタにおいて、充填材を除いた柱状体の平均気孔径は10μm、気孔率は20%であり、充填材の気孔率は5%であり、この充填材の気孔率は、上記柱状体の気孔率の0.25倍であった。
(実施例3)
平均粒径10μmのα型炭化珪素粉末60重量%と、平均粒径0.5μmのβ型炭化珪素粉末40重量%とを湿式混合し、得られた混合物100重量部に、ユニルーブを4重量部、OX−20を11重量部、プライサーフを2重量部、バインダーDを5重量部、及び、アクリル粒子を10重量部配合して均一に混合することにより充填材ペーストを調製し、この充填材ペーストを用いたほかは、実施例1と同様にしてハニカムフィルタを製造した。
このようにして製造した実施例3に係るハニカムフィルタにおいて、充填材を除いた柱状体の平均気孔径は10μm、気孔率は20%であり、充填材の気孔率は30%であり、この充填材の気孔率は、上記柱状体の気孔率の1.5倍であった。
(実施例4)
平均粒径10μmのα型炭化珪素粉末70重量%と、平均粒径0.5μmのβ型炭化珪素粉末30重量%とを湿式混合し、得られた混合物100重量部に、ユニルーブを10重量部、OX−20を15重量部、プライサーフを3重量部、バインダーDを8重量部、及び、アクリル粒子を25重量部配合して均一に混合することにより充填材ペーストを調製し、この充填材ペーストを用いたほかは、実施例1と同様にしてハニカムフィルタを製造した。
このようにして製造した実施例3に係るハニカムフィルタにおいて、充填材を除いた柱状体の平均気孔径は10μm、気孔率は20%であり、充填材の気孔率は80%であり、この充填材の気孔率は、上記柱状体の気孔率の4.0倍であった。
(比較例1)
平均粒径10μmのα型炭化珪素粉末60重量%と、平均粒径0.5μmのβ型炭化珪素粉末40重量%とを混合し、得られた組成物100重量部に、ユニルーブを2重量部、OX−20を8重量部、プライサーフを1.1重量部、バインダーDを4重量部、及び、アクリル粒子を0.1重量部配合して均一に混合することにより充填材ペーストを調製し、この充填材ペーストを用いたほかは、実施例1と同様にしてハニカムフィルタを製造した。
このようにして製造した比較例1に係るハニカムフィルタにおいて、充填材を除いた柱状体の平均気孔径は10μm、気孔率は20%であり、充填材の気孔率は2%であり、この充填材の気孔率は、上記柱状体の気孔率の0.1倍であった。
(比較例2)
平均粒径10μmのα型炭化珪素粉末70重量%と、平均粒径0.5μmのβ型炭化珪素粉末30重量%とを混合し、得られた組成物100重量部に、ユニルーブを10重量部、OX−20を15重量部、プライサーフを3重量部、バインダーDを8重量部、及び、アクリル粒子を28重量部配合して均一に混合することにより充填材ペーストを調製し、この充填材ペーストを用いたほかは、実施例1と同様にしてハニカムフィルタを製造した。
このようにして製造した比較例2に係るハニカムフィルタにおいて、充填材を除いた柱状体の平均気孔径は10μm、気孔率は20%であり、充填材の気孔率は85%であり、この充填材の気孔率は、上記柱状体の気孔率の4.25倍であった。
(実施例5)
原料ペースト及び充填材ペーストを以下の通りとしたほかは、実施例1と同様にハニカムフィルタを製造した。
<原料ペーストの調製>
平均粒径10μmのα型炭化珪素粉末70重量%と、平均粒径0.5μmのβ型炭化珪素粉末30重量%とを湿式混合し、得られた混合物100重量部に対して、有機バインダー(メチルセルロース)を13重量部、水を20重量部、及び、平均粒径10μmのアクリル粒子を70重量部加えて混練して原料ペーストを調製した。
<充填材ペーストの調製>
平均粒径10μmのα型炭化珪素粉末60重量%と、平均粒径0.5μmのβ型炭化珪素粉末40重量%とを混合し、得られた組成物100重量部に、ユニルーブを2.2重量部、OX−20を9重量部、プライサーフを2重量部、バインダーDを4重量部、及び、アクリル粒子を0.3重量部配合して均一に混合することにより充填材ペーストを調製した。
このような原料ペースト及び充填材ペーストを用いて製造した実施例5に係るハニカムフィルタにおいて、充填材を除いた柱状体の平均気孔径は10μm、気孔率は50%であり、充填材の気孔率は7.5%であり、この充填材の気孔率は、上記柱状体の気孔率の0.15倍であった。
(実施例6)
平均粒径10μmのα型炭化珪素粉末60重量%と、平均粒径0.5μmのβ型炭化珪素粉末40重量%とを混合し、得られた組成物100重量部に、ユニルーブを4重量部、OX−20を11重量部、プライサーフを2重量部、バインダーDを5重量部、及び、アクリル粒子を5重量部配合して均一に混合することにより充填材ペーストを調製し、この充填材ペーストを用いたほかは、実施例5と同様にしてハニカムフィルタを製造した。
このようにして製造した実施例6に係るハニカムフィルタにおいて、充填材を除いた柱状体の平均気孔径は10μm、気孔率は50%であり、充填材の気孔率は12%であり、この充填材の気孔率は、上記柱状体の気孔率の0.24倍であった。
(実施例7)
平均粒径10μmのα型炭化珪素粉末70重量%と、平均粒径0.5μmのβ型炭化珪素粉末30重量%とを混合し、得られた組成物100重量部に、ユニルーブを10重量部、OX−20を15重量部、プライサーフを3重量部、バインダーDを8重量部、及び、アクリル粒子を23重量部配合して均一に混合することにより充填材ペーストを調製し、この充填材ペーストを用いたほかは、実施例5と同様にしてハニカムフィルタを製造した。
このようにして製造した実施例7に係るハニカムフィルタにおいて、充填材を除いた柱状体の平均気孔径は10μm、気孔率は50%であり、充填材の気孔率は75%であり、この充填材の気孔率は、上記柱状体の気孔率の1.5倍であった。
(実施例8)
平均粒径10μmのα型炭化珪素粉末70重量%と、平均粒径0.5μmのβ型炭化珪素粉末30重量%とを混合し、得られた組成物100重量部に、ユニルーブを10重量部、OX−20を15重量部、プライサーフを3重量部、バインダーDを8重量部、及び、アクリル粒子を30重量部配合して均一に混合することにより充填材ペーストを調製し、この充填材ペーストを用いたほかは、実施例5と同様にしてハニカムフィルタを製造した。
このようにして製造した実施例8に係るハニカムフィルタにおいて、充填材を除いた柱状体の平均気孔径は10μm、気孔率は50%であり、充填材の気孔率は90%であり、この充填材の気孔率は、上記柱状体の気孔率の1.8倍であった。
(比較例3)
平均粒径10μmのα型炭化珪素粉末60重量%と、平均粒径0.5μmのβ型炭化珪素粉末40重量%とを混合し、得られた組成物100重量部に、ユニルーブを2重量部、OX−20を8重量部、プライサーフを1.1重量部、バインダーDを4重量部、及び、アクリル粒子を0.2重量部配合して均一に混合することにより充填材ペーストを調製し、この充填材ペーストを用いたほかは、実施例5と同様にしてハニカムフィルタを製造した。
このようにして製造した比較例3に係るハニカムフィルタにおいて、充填材を除いた柱状体の平均気孔径は10μm、気孔率は50%であり、充填材の気孔率は5%であり、この充填材の気孔率は、上記柱状体の気孔率の0.1倍であった。
(比較例4)
平均粒径10μmのα型炭化珪素粉末70重量%と、平均粒径0.5μmのβ型炭化珪素粉末30重量%とを混合し、得られた組成物100重量部に、ユニルーブを10重量部、OX−20を15重量部、プライサーフを3重量部、バインダーDを8.3重量部、及び、アクリル粒子を33重量部配合して均一に混合することにより充填材ペーストを調製し、この充填材ペーストを用いたほかは、実施例5と同様にしてハニカムフィルタを製造した。
このようにして製造した比較例4に係るハニカムフィルタにおいて、充填材を除いた柱状体の平均気孔径は10μm、気孔率は50%であり、充填材の気孔率は92%であり、この充填材の気孔率は、上記柱状体の気孔率の1.84倍であった。
(実施例9)
原料ペースト及び充填材ペーストを以下の通りとしたほかは、実施例1と同様にハニカムフィルタを製造した。
<原料ペーストの調製>
平均粒径10μmのα型炭化珪素粉末80重量%と、平均粒径0.5μmのβ型炭化珪素粉末20重量%とを湿式混合し、得られた混合物100重量部に対して、有機バインダー(メチルセルロース)を30重量部、水を35重量部、及び、平均粒径10μmのアクリル粒子を80重量部加えて混練して原料ペーストを調製した。
<充填材ペーストの調製>
平均粒径10μmのα型炭化珪素粉末60重量%と、平均粒径0.5μmのβ型炭化珪素粉末40重量%とを混合し、得られた組成物100重量部に、ユニルーブを4重量部、OX−20を11重量部、プライサーフを2重量部、バインダーDを5重量部、及び、アクリル粒子5重量部を配合して均一に混合することにより充填材ペーストを調製した。
このような原料ペースト及び充填材ペーストを用いて製造した実施例9に係るハニカムフィルタにおいて、充填材を除いた柱状体の平均気孔径は10μm、気孔率は80%であり、充填材の気孔率は12%であり、この充填材の気孔率は、上記柱状体の気孔率の0.15倍であった。
(実施例10)
平均粒径10μmのα型炭化珪素粉末60重量%と、平均粒径0.5μmのβ型炭化珪素粉末40重量%とを混合し、得られた組成物100重量部に、ユニルーブを4重量部、OX−20を11重量部、プライサーフを2重量部、バインダーDを5重量部、及び、アクリル粒子を7重量部配合して均一に混合することにより充填材ペーストを調製し、この充填材ペーストを用いたほかは、実施例9と同様にしてハニカムフィルタを製造した。
このようにして製造した実施例10に係るハニカムフィルタにおいて、充填材を除いた柱状体の平均気孔径は10μm、気孔率は80%であり、充填材の気孔率は20%であり、この充填材の気孔率は、上記柱状体の気孔率の0.25倍であった。
(実施例11)
平均粒径10μmのα型炭化珪素粉末70重量%と、平均粒径0.5μmのβ型炭化珪素粉末30重量%とを混合し、得られた組成物100重量部に、ユニルーブを10重量部、OX−20を15重量部、プライサーフを3重量部、バインダーDを8重量部、及び、アクリル粒子30重量部を配合して均一に混合することにより充填材ペーストを調製し、この充填材ペーストを用いたほかは、実施例9と同様にしてハニカムフィルタを製造した。
このようにして製造した実施例11に係るハニカムフィルタにおいて、充填材を除いた柱状体の平均気孔径は10μm、気孔率は80%であり、充填材の気孔率は90%であり、この充填材の気孔率は、上記柱状体の気孔率の1.125倍であった。
(比較例5)
平均粒径10μmのα型炭化珪素粉末60重量%と、平均粒径0.5μmのβ型炭化珪素粉末40重量%とを混合し、得られた組成物100重量部に、ユニルーブを2.2重量部、OX−20を9重量部、プライサーフを2重量部、バインダーDを4重量部、及び、アクリル粒子を0.35重量部配合して均一に混合することにより充填材ペーストを調製し、この充填材ペーストを用いたほかは、実施例9と同様にしてハニカムフィルタを製造した。
このようにして製造した比較例5に係るハニカムフィルタにおいて、充填材を除いた柱状体の平均気孔径は10μm、気孔率は80%であり、充填材の気孔率は10%であり、この充填材の気孔率は、上記柱状体の気孔率の0.125倍であった。
(比較例6)
平均粒径10μmのα型炭化珪素粉末70重量%と、平均粒径0.5μmのβ型炭化珪素粉末30重量%とを混合し、得られた組成物100重量部に、ユニルーブを10重量部、OX−20を15重量部、プライサーフを3重量部、バインダーDを8.3重量部、及び、アクリル粒子を33重量部配合して均一に混合することにより充填材ペーストを調製し、この充填材ペーストを用いたほかは、実施例9と同様にしてハニカムフィルタを製造した。
このようにして製造した比較例6に係るハニカムフィルタにおいて、充填材を除いた柱状体の平均気孔径は10μm、気孔率は80%であり、充填材の気孔率は92%であり、この充填材の気孔率は、上記柱状体の気孔率の1.15倍であった。
このようにして製造した実施例1〜11、及び、比較例1〜6に係るハニカムフィルタの充填材の気孔率(%)、柱状体の気孔率(%)、及び、上記充填材の気孔率が上記柱状体の気孔率の何倍であるかを下記表1にまとめる。
また、実施例1〜11、及び、比較例1〜6に係るハニカムフィルタを焼成した後の充填材と隔壁との間に隙間が形成されているか否か、及び、充填材や該充填材に接触する部分の隔壁にクラックが発生していないか否かを確認し、上記隙間やクラックの発生していなかったハニカムフィルタについて、耐久性試験として、各実施例、及び、比較例に係るハニカムフィルタをエンジンの排気通路に配設した図6に示したような排気ガス浄化装置に設置し、上記エンジンを回転数3000min−1、トルク50Nmで10時間運転して排気ガスの浄化を行った。そして、上記耐久性試験を行った後、各ハニカムフィルタを取り出し、目視によりクラックの有無等を確認した。さらに、上記耐久試験後に、クラックが発生していなかったハニカムフィルタについて、上記耐久試験を300回繰り返すヒートサイクル試験を行い、各ハニカムフィルタを取り出し、目視によりクラックの有無等を確認した。
結果を下記表1に示す。
表1に示した通り、実施例2、3、6、7、10及び11に係るハニカムフィルタでは、焼成後、耐久試験後及びヒートサイクル試験後のいずれにおいても充填材と隔壁との間に隙間は観察されず、また、上記充填材や、該充填材に接触する部分の隔壁にクラックは観察されなかった。また、実施例1、4、5、8及び9に係るハニカムフィルタでは、焼成後及び耐久試験後では、充填材と隔壁との間に隙間は観察されず、また、上記充填材や、該充填材に接触する部分の隔壁にクラックは観察されなかったが、ヒートサイクル試験後にクラックが観察された。
一方、比較例1、3、5に係るハニカムフィルタでは、焼成後の充填材と隔壁との間に隙間やクラック等は観察されなかったが、耐久試験後の充填材や、該充填材に接触する隔壁にクラックが観察された。また、比較例2に係るハニカムフィルタでは、焼成後の充填材と隔壁との間に隙間が観察され、比較例4、6に係るハニカムフィルタでは、焼成後の充填材にクラックが観察された。
実施例1〜11に係るハニカムフィルタの評価試験の結果より、柱状体の気孔率が20〜80%であり、充填材の気孔率が90%以下であり、かつ、柱状体の気孔率の0.15〜4.0倍であるハニカムフィルタは、焼成後や加熱時に、充填材と隔壁との間に隙間が形成されたり、充填材や、該充填材に接触する部分の隔壁にクラックが発生したりすることがないが、実施例1、4、5、8及び9に係るハニカムフィルタの評価試験の結果より、充填材の気孔率が柱状体の気孔率の0.25倍未満であるか、又は、1.5倍を超えるものであると、長期間繰り返し使用すると、充填材や、該充填材に接触する部分の隔壁にクラックが発生することがある。
また、比較例1、3及び5に係るハニカムフィルタの結果より、充填材の気孔率が柱状体の気孔率の0.15倍未満であると、例え、焼成後の充填材や該充填材に接触する部分の隔壁にクラックが発生していなくても、柱状体の熱膨張率と、充填材の熱膨張率との差が大きくなり、高温の排気ガスにより柱状体及び充填材が加熱されると、両者の間に熱応力が蓄積され、充填材や該充填材に接触する部分の隔壁にクラックが発生してしまう。
また、比較例2に係るハニカムフィルタの結果より、充填材の気孔率が柱状体の気孔率の4.0倍を超えると、焼成後の充填材と該充填材に接触する部分の隔壁との間に隙間が発生してしまう。
さらに、比較例4、6に係るハニカムフィルタの結果より、充填材の気孔率が90%を超えるものであると、例え、上記充填材の気孔率が柱状体の気孔率の0.15〜4.0倍であったとしても、充填材の強度が低下し、焼成時に充填材や該充填材に接触する部分の隔壁にクラックが発生してしまう。
このような比較例1〜6に係るハニカムフィルタは、いずれも、フィルタとして充分に機能することができないものであった。
(実施例12)
(1)実施例1と同様にして、充填材を除いた柱状体の平均気孔径が10μm、気孔率が20%であり、上記充填材の気孔率が3%であり、この充填材の気孔率が上記柱状体の気孔率の0.15倍であるハニカムフィルタを製造した。
(2)5μm以下に粉砕したγ−Al2O3粉末を1,3−ブタンジオール中に投入し、60℃で5時間攪拌することによりアルミナを3重量%含有するスラリー状の1,3−ブタンジオール溶液を調製した。この1,3−ブタンジオール溶液中に上記ハニカムフィルタを浸漬した後、150℃で2時間、400℃で2時間、700℃で8時間加熱して、ハニカムフィルタ(充填材を除いた柱状体、及び、充填材)の表面に触媒担持膜となるアルミナ層を1g/Lの割合で形成した。
白金濃度4.53重量%のジニトロジアンミン白金硝酸([Pt(NH3)2(NO2)2]HNO3)を蒸留水で希釈し、吸水量28.0g/Lの上記ハニカムフィルタにPtが2g/Lとなるように浸漬した後、110℃で2時間、窒素雰囲気中、500℃で1時間加熱して、表面に白金触媒を担持させたハニカムフィルタを製造した。
表面に白金触媒を担持させたハニカムフィルタにおいて、充填材を除いた柱状体の平均気孔径は10μm、気孔率は20%であり、上記充填材の気孔率は3%であり、この充填材の気孔率は、上記柱状体の気孔率の0.15倍であった。
(実施例13)
(1)実施例2と同様にして、充填材を除いた柱状体の平均気孔径が10μm、気孔率が20%であり、上記充填材の気孔率が5%であり、この充填材の気孔率が上記柱状体の気孔率の0.25倍であるハニカムフィルタを製造した。
(2)実施例12と同様にして、ハニカムフィルタ(充填材を除いた柱状体、及び、充填材)の表面に触媒担持膜となるアルミナ層を1g/Lの割合で形成し、表面に白金触媒を担持させたハニカムフィルタを製造した。
表面に白金触媒を担持させたハニカムフィルタにおいて、充填材を除いた柱状体の平均気孔径は10μm、気孔率は20%であり、上記充填材の気孔率は5%であり、この充填材の気孔率は、上記柱状体の気孔率の0.25倍であった。
(実施例14)
(1)平均粒径10μmのα型炭化珪素粉末60重量%と、平均粒径0.5μmのβ型炭化珪素粉末40重量%とを湿式混合し、得られた混合物100重量部に、ユニルーブを2重量部、OX−20を8.5重量部、プライサーフを1.3重量部、バインダーDを4重量部、及び、アクリル粒子を0.25重量部配合して均一に混合することにより充填材ペーストを調製し、この充填材ペーストを用いたほかは、実施例1と同様にしてハニカムフィルタを製造した。
このようにして製造したハニカムフィルタにおいて、充填材を除いた柱状体の平均気孔径は10μm、気孔率は20%であり、充填材の気孔率は6%であり、この充填材の気孔率は、上記柱状体の気孔率の0.30倍であった。
(2)実施例12と同様にして、ハニカムフィルタ(充填材を除いた柱状体、及び、充填材)の表面に触媒担持膜となるアルミナ層を1g/Lの割合で形成し、表面に白金触媒を担持させたハニカムフィルタを製造した。
表面に白金触媒を担持させたハニカムフィルタにおいて、充填材を除いた柱状体の平均気孔径は10μm、気孔率は20%であり、上記充填材の気孔率は6%であり、この充填材の気孔率は、上記柱状体の気孔率の0.30倍であった。
(実施例15)
(1)実施例3と同様にして、充填材を除いた柱状体の平均気孔径が10μm、気孔率が20%であり、上記充填材の気孔率が30%であり、この充填材の気孔率が上記柱状体の気孔率の1.50倍であるハニカムフィルタを製造した。
(2)5μm以下に粉砕したγ−Al2O3粉末を1,3−ブタンジオール中に投入し、60℃で5時間攪拌することによりアルミナを3重量%含有するスラリー状の1,3−ブタンジオール溶液を調製し、この1,3−ブタンジオール溶液中に上記ハニカムフィルタを浸漬した。同様に、γ−Al2O3粉末を1,3−ブタンジオール中に投入し、60℃で5時間攪拌することによりアルミナを20重量%含有するスラリー状の1,3−ブタンジオール溶液を調製し、この1,3−ブタンジオール溶液をハニカムフィルタの充填材部分に注入した。次いで、150℃で2時間、400℃で2時間、700℃で8時間加熱することにより、ハニカムフィルタの充填材を除いた柱状体の表面に触媒担持膜となるアルミナ層を1g/Lの割合で、ハニカムフィルタの充填材の表面にアルミナ層を20g/Lの割合で形成した。
白金濃度4.53重量%のジニトロジアンミン白金硝酸([Pt(NH3)2(NO2)2]HNO3)を蒸留水で希釈し、吸水量28.0g/Lの上記多孔質セラミック部材にPtが2g/Lとなるように浸漬した後、110℃で2時間、窒素雰囲気中、500℃で1時間加熱して、表面に白金触媒を担持させたハニカムフィルタを製造した。
表面に白金触媒を担持させたハニカムフィルタにおいて、充填材を除いた柱状体の平均気孔径は10μm、気孔率は20%であり、上記充填材の気孔率は24%であり、この充填材の気孔率は、上記柱状体の気孔率の1.20倍であった。
(実施例16)
(1)実施例3と同様にして、充填材を除いた柱状体の平均気孔径が10μm、気孔率が20%であり、上記充填材の気孔率が30%であり、この充填材の気孔率が上記柱状体の気孔率の1.50倍であるハニカムフィルタを製造した。
(2)実施例12と同様にして、ハニカムフィルタ(充填材を除いた柱状体、及び、充填材)の表面に触媒担持膜となるアルミナ層を1g/Lの割合で形成し、表面に白金触媒を担持させたハニカムフィルタを製造した。
表面に白金触媒を担持させたハニカムフィルタにおいて、充填材を除いた柱状体の平均気孔径は10μm、気孔率は20%であり、上記充填材の気孔率は30%であり、この充填材の気孔率は、上記柱状体の気孔率の1.50倍であった。
(実施例17)
(1)実施例4と同様にして、充填材を除いた柱状体の平均気孔径が10μm、気孔率が20%であり、上記充填材の気孔率が80%であり、この充填材の気孔率が上記柱状体の気孔率の4.00倍であるハニカムフィルタを製造した。
(2)実施例12と同様にして、ハニカムフィルタ(充填材を除いた柱状体、及び、充填材)の表面に触媒担持膜となるアルミナ層を1g/Lの割合で形成し、表面に白金触媒を担持させたハニカムフィルタを製造した。
表面に白金触媒を担持させたハニカムフィルタにおいて、充填材を除いた柱状体の平均気孔径は10μm、気孔率は20%であり、上記充填材の気孔率は80%であり、この充填材の気孔率は、上記柱状体の気孔率の4.00倍であった。
(実施例18)
(1)実施例5と同様にして、充填材を除いた柱状体の平均気孔径が10μm、気孔率が50%であり、上記充填材の気孔率が7.5%であり、この充填材の気孔率が上記柱状体の気孔率の0.15倍であるハニカムフィルタを製造した。
(2)実施例12と同様にして、ハニカムフィルタ(充填材を除いた柱状体、及び、充填材)の表面に触媒担持膜となるアルミナ層を1g/Lの割合で形成し、表面に白金触媒を担持させたハニカムフィルタを製造した。
表面に白金触媒を担持させたハニカムフィルタにおいて、充填材を除いた柱状体の平均気孔径は10μm、気孔率は50%であり、上記充填材の気孔率は7.5%であり、この充填材の気孔率は、上記柱状体の気孔率の0.15倍であった。
(実施例19)
(1)実施例6と同様にして、充填材を除いた柱状体の平均気孔径が10μm、気孔率が50%であり、上記充填材の気孔率が12%であり、この充填材の気孔率が上記柱状体の気孔率の0.24倍であるハニカムフィルタを製造した。
(2)実施例12と同様にして、ハニカムフィルタ(充填材を除いた柱状体、及び、充填材)の表面に触媒担持膜となるアルミナ層を1g/Lの割合で形成し、表面に白金触媒を担持させたハニカムフィルタを製造した。
表面に白金触媒を担持させたハニカムフィルタにおいて、充填材を除いた柱状体の平均気孔径は10μm、気孔率は50%であり、上記充填材の気孔率は12%であり、この充填材の気孔率は、上記柱状体の気孔率の0.24倍であった。
(実施例20)
(1)平均粒径10μmのα型炭化珪素粉末60重量%と、平均粒径0.5μmのβ型炭化珪素粉末40重量%とを湿式混合し、得られた混合物100重量部に、ユニルーブを4重量部、OX−20を11重量部、プライサーフを2重量部、バインダーDを5重量部、及び、アクリル粒子を10重量部配合して均一に混合することにより充填材ペーストを調製し、この充填材ペーストを用いたほかは、実施例5と同様にしてハニカムフィルタを製造した。
このようにして製造したハニカムフィルタにおいて、充填材を除いた柱状体の平均気孔径は10μm、気孔率は50%であり、充填材の気孔率は30%であり、この充填材の気孔率は、上記柱状体の気孔率の0.60倍であった。
(2)実施例15と同様にして、ハニカムフィルタの充填材を除いた柱状体の表面に触媒担持膜となるアルミナ層を1g/Lの割合で、ハニカムフィルタの充填材の表面に触媒担持膜となるアルミナ層を20g/Lの割合で形成し、表面に白金触媒を担持させたハニカムフィルタを製造した。
表面に白金触媒を担持させたハニカムフィルタにおいて、充填材を除いた柱状体の平均気孔径は10μm、気孔率は50%であり、上記充填材の気孔率は15%であり、この充填材の気孔率は、上記柱状体の気孔率の0.30倍であった。
(実施例21)
(1)実施例7と同様にして、充填材を除いた柱状体の平均気孔径が10μm、気孔率が50%であり、上記充填材の気孔率が75%であり、この充填材の気孔率が上記柱状体の気孔率の1.50倍であるハニカムフィルタを製造した。
(2)5μm以下に粉砕したγ−Al2O3粉末を1,3−ブタンジオール中に投入し、60℃で5時間攪拌することによりアルミナを3重量%含有するスラリー状の1,3−ブタンジオール溶液を調製し、この1,3−ブタンジオール溶液中に上記ハニカムフィルタを浸漬した。同様に、γ−Al2O3粉末を1,3−ブタンジオール中に投入し、60℃で5時間攪拌することによりアルミナを40重量%含有するスラリー状の1,3−ブタンジオール溶液を調製し、この1,3−ブタンジオール溶液をハニカムフィルタの充填材部分に注入した。次いで、150℃で2時間、400℃で2時間、700℃で8時間加熱することにより、ハニカムフィルタの充填材を除いた柱状体の表面に触媒担持膜となるアルミナ層を1g/Lの割合で、ハニカムフィルタの充填材の表面にアルミナ層を60g/Lの割合で形成した。
白金濃度4.53重量%のジニトロジアンミン白金硝酸([Pt(NH3)2(NO2)2]HNO3)を蒸留水で希釈し、吸水量28.0g/Lの上記多孔質セラミック部材にPtが2g/Lとなるように浸漬した後、110℃で2時間、窒素雰囲気中、500℃で1時間加熱して、表面に白金触媒を担持させたハニカムフィルタを製造した。
表面に白金触媒を担持させたハニカムフィルタにおいて、充填材を除いた柱状体の平均気孔径は10μm、気孔率は50%であり、上記充填材の気孔率は60%であり、この充填材の気孔率は、上記柱状体の気孔率の1.20倍であった。
(実施例22)
(1)実施例7と同様にして、充填材を除いた柱状体の平均気孔径が10μm、気孔率が50%であり、上記充填材の気孔率が75%であり、この充填材の気孔率が上記柱状体の気孔率の1.50倍であるハニカムフィルタを製造した。
(2)実施例12と同様にして、ハニカムフィルタ(充填材を除いた柱状体、及び、充填材)の表面に触媒担持膜となるアルミナ層を1g/Lの割合で形成し、表面に白金触媒を担持させたハニカムフィルタを製造した。
表面に白金触媒を担持させたハニカムフィルタにおいて、充填材を除いた柱状体の平均気孔径は10μm、気孔率は50%であり、上記充填材の気孔率は75%であり、この充填材の気孔率は、上記柱状体の気孔率の1.50倍であった。
(実施例23)
(1)実施例8と同様にして、充填材を除いた柱状体の平均気孔径が10μm、気孔率が50%であり、上記充填材の気孔率が90%であり、この充填材の気孔率が上記柱状体の気孔率の1.80倍であるハニカムフィルタを製造した。
(2)実施例12と同様にして、ハニカムフィルタ(充填材を除いた柱状体、及び、充填材)の表面に触媒担持膜となるアルミナ層を1g/Lの割合で形成し、表面に白金触媒を担持させたハニカムフィルタを製造した。
表面に白金触媒を担持させたハニカムフィルタにおいて、充填材を除いた柱状体の平均気孔径は10μm、気孔率は50%であり、上記充填材の気孔率は90%であり、この充填材の気孔率は、上記柱状体の気孔率の1.80倍であった。
(実施例24)
(1)実施例9と同様にして、充填材を除いた柱状体の平均気孔径が10μm、気孔率が80%であり、上記充填材の気孔率が12%であり、この充填材の気孔率が上記柱状体の気孔率の0.15倍であるハニカムフィルタを製造した。
(2)実施例12と同様にして、ハニカムフィルタ(充填材を除いた柱状体、及び、充填材)の表面に触媒担持膜となるアルミナ層を1g/Lの割合で形成し、表面に白金触媒を担持させたハニカムフィルタを製造した。
表面に白金触媒を担持させたハニカムフィルタにおいて、充填材を除いた柱状体の平均気孔径は10μm、気孔率は80%であり、上記充填材の気孔率は12%であり、この充填材の気孔率は、上記柱状体の気孔率の0.15倍であった。
(実施例25)
(1)実施例10と同様にして、充填材を除いた柱状体の平均気孔径が10μm、気孔率が80%であり、上記充填材の気孔率が20%であり、この充填材の気孔率が上記柱状体の気孔率の0.25倍であるハニカムフィルタを製造した。
(2)実施例12と同様にして、ハニカムフィルタ(充填材を除いた柱状体、及び、充填材)の表面に触媒担持膜となるアルミナ層を1g/Lの割合で形成し、表面に白金触媒を担持させたハニカムフィルタを製造した。
表面に白金触媒を担持させたハニカムフィルタにおいて、充填材を除いた柱状体の平均気孔径は10μm、気孔率は80%であり、上記充填材の気孔率は20%であり、この充填材の気孔率は、上記柱状体の気孔率の0.25倍であった。
(実施例26)
(1)平均粒径10μmのα型炭化珪素粉末60重量%と、平均粒径0.5μmのβ型炭化珪素粉末40重量%とを湿式混合し、得られた混合物100重量部に、ユニルーブを4重量部、OX−20を11重量部、プライサーフを2重量部、バインダーDを5重量部、及び、アクリル粒子を10重量部配合して均一に混合することにより充填材ペーストを調製し、この充填材ペーストを用いたほかは、実施例9と同様にしてハニカムフィルタを製造した。
このようにして製造したハニカムフィルタにおいて、充填材を除いた柱状体の平均気孔径は10μm、気孔率は80%であり、充填材の気孔率は30%であり、この充填材の気孔率は、上記柱状体の気孔率の0.38倍であった。
(2)5μm以下に粉砕したγ−Al2O3粉末を1,3−ブタンジオール中に投入し、60℃で5時間攪拌することによりアルミナを3重量%含有するスラリー状の1,3−ブタンジオール溶液を調製し、この1,3−ブタンジオール溶液中に上記ハニカムフィルタを浸漬した。同様に、γ−Al2O3粉末を1,3−ブタンジオール中に投入し、60℃で5時間攪拌することによりアルミナを10重量%含有するスラリー状の1,3−ブタンジオール溶液を調製し、この1,3−ブタンジオール溶液をハニカムフィルタの充填材部分に注入した。次いで、150℃で2時間、400℃で2時間、700℃で8時間加熱することにより、ハニカムフィルタの充填材を除いた柱状体の表面に触媒担持膜となるアルミナ層を1g/Lの割合で、ハニカムフィルタの充填材の表面にアルミナ層を15g/Lの割合で形成した。
白金濃度4.53重量%のジニトロジアンミン白金硝酸([Pt(NH3)2(NO2)2]HNO3)を蒸留水で希釈し、吸水量28.0g/Lの上記多孔質セラミック部材にPtが2g/Lとなるように浸漬した後、110℃で2時間、窒素雰囲気中、500℃で1時間加熱して、表面に白金触媒を担持させたハニカムフィルタを製造した。
表面に白金触媒を担持させたハニカムフィルタにおいて、充填材を除いた柱状体の平均気孔径は10μm、気孔率は80%であり、上記充填材の気孔率は24%であり、この充填材の気孔率は、上記柱状体の気孔率の0.30倍であった。
(実施例27)
(1)平均粒径10μmのα型炭化珪素粉末70重量%と、平均粒径0.5μmのβ型炭化珪素粉末30重量%とを湿式混合し、得られた混合物100重量部に、ユニルーブを10重量部、OX−20を15重量部、プライサーフを3重量部、バインダーDを8重量部、及び、アクリル粒子を23重量部配合して均一に混合することにより充填材ペーストを調製し、この充填材ペーストを用いたほかは、実施例9と同様にしてハニカムフィルタを製造した。
このようにして製造したハニカムフィルタにおいて、充填材を除いた柱状体の平均気孔径は10μm、気孔率は80%であり、充填材の気孔率は75%であり、この充填材の気孔率は、上記柱状体の気孔率の0.94倍であった。
(2)実施例12と同様にして、ハニカムフィルタ(充填材を除いた柱状体、及び、充填材)の表面に触媒担持膜となるアルミナ層を1g/Lの割合で形成し、表面に白金触媒を担持させたハニカムフィルタを製造した。
表面に白金触媒を担持させたハニカムフィルタにおいて、充填材を除いた柱状体の平均気孔径は10μm、気孔率は80%であり、上記充填材の気孔率は75%であり、この充填材の気孔率は、上記柱状体の気孔率の0.94倍であった。
(実施例28)
(1)実施例11と同様にして、充填材を除いた柱状体の平均気孔径が10μm、気孔率が80%であり、上記充填材の気孔率が90%であり、この充填材の気孔率が上記柱状体の気孔率の1.13倍であるハニカムフィルタを製造した。
(2)実施例12と同様にして、ハニカムフィルタ(充填材を除いた柱状体、及び、充填材)の表面に触媒担持膜となるアルミナ層を1g/Lの割合で形成し、表面に白金触媒を担持させたハニカムフィルタを製造した。
表面に白金触媒を担持させたハニカムフィルタにおいて、充填材を除いた柱状体の平均気孔径は10μm、気孔率は80%であり、上記充填材の気孔率は90%であり、この充填材の気孔率は、上記柱状体の気孔率の1.13倍であった。
このようにして製造した実施例12〜28に係るハニカムフィルタに関して、アルミナ付与前の柱状体及び充填材の気孔率(%)、アルミナ付与前の柱状体の気孔率に対する充填材の気孔率の倍率、柱状体及び充填材のアルミナ付与量(g/L)、アルミナ付与後の柱状体及び充填材の気孔率(%)、アルミナ付与後の柱状体の気孔率に対する充填材の気孔率の倍率を下記表2にまとめる。
また、実施例12〜28に係るハニカムフィルタを焼成した後に充填材と隔壁との間に隙間が形成されていたか否か、及び、充填材や該充填材に接触する部分の隔壁にクラックが発生していたか否かを確認した。
更に、焼成後に上記隙間やクラックの発生していなかったハニカムフィルタについては、耐久性試験として、エンジンの排気通路に配設した図6に示したような排気ガス浄化装置に設置し、上記エンジンを回転数3000min−1、トルク50Nmで10時間運転して排気ガスの浄化を行った。そして、上記耐久性試験を行った後、各ハニカムフィルタを取り出し、目視によりクラックの有無等を確認した。
上記耐久試験後にクラックが発生しなかったハニカムフィルタについては、上記耐久試験を繰り返し行うヒートサイクル試験を行い、上記耐久試験を100回繰り返した後、及び、上記耐久試験を300回繰り返した後にそれぞれ各ハニカムフィルタを取り出し、目視によりクラックの有無等を確認した。
結果を下記表2に示す。下記表2には、参照用として比較例1〜6の結果も併せて示した。
表2に示した通り、実施例14、15、20、21及び26〜28に係るハニカムフィルタでは、焼成後、耐久試験後及びヒートサイクル試験後のいずれにおいても、充填材と隔壁との間に隙間は観察されず、また、上記充填材や、該充填材に接触する部分の隔壁にクラックは観察されなかった。また、実施例13、16、19、22及び25に係るハニカムフィルタでは、焼成後、耐久試験後、及び、ヒートサイクル試験の耐久試験100回繰り返し後では、充填材と隔壁との間に隙間は観察されず、また、上記充填材や、該充填材に接触する部分の隔壁にクラックは観察されなかったが、ヒートサイクル試験の耐久試験300回繰り返し後にクラックが観察された。更に、実施例12、17、18、23及び24に係るハニカムフィルタでは、焼成後、及び、耐久試験後では、充填材と隔壁との間に隙間は観察されず、また、上記充填材や、該充填材に接触する部分の隔壁にクラックは観察されなかったが、ヒートサイクル試験の耐久試験100回繰り返し後にクラックが観察された。
実施例12〜28に係るハニカムフィルタの評価試験の結果より、柱状体の気孔率が20〜80%であり、充填材の気孔率が90%以下であり、かつ、柱状体の気孔率の0.15〜4.0倍であるハニカムフィルタは、触媒担持膜としてアルミナ層が表面に形成されていても、焼成後や加熱時に、充填材と隔壁との間に隙間が形成されたり、充填材や、該充填材に接触する部分の隔壁にクラックが発生したりすることがないが、実施例12、13、16〜19及び22〜25に係るハニカムフィルタの評価試験の結果より、充填材の気孔率が柱状体の気孔率の0.25倍未満であるか、又は、1.5倍を超えるものであると、長期間繰り返し使用すると、充填材や、該充填材に接触する部分の隔壁にクラックが発生することがある。
産業上の利用可能性
本発明の排気ガス浄化用ハニカムフィルタは、上述の通りであるので、製造時や使用時に、充填材と隔壁との間に隙間が形成されたり、上記充填材や該充填材に接触する部分の壁部にクラックが発生したりすることがなく、耐久性に優れたものとなる。
【図面の簡単な説明】
図1(a)は、本発明の排気ガス浄化用ハニカムフィルタの一例を模式的に示した斜視図であり、図1(b)は、そのA−A線断面図である。
図2は、本発明の排気ガス浄化用ハニカムフィルタの別の一例を模式的に示した斜視図である。
図3(a)は、図2に示した本発明の排気ガス浄化用のハニカムフィルタに用いる多孔質セラミック部材を模式的に示した斜視図であり、図3(b)は、そのB−B線縦断面図である。
図4(a)は、本発明の排気ガス浄化用ハニカムフィルタを製造する際の封口処理の様子を模式的に示した断面図であり、図4(b)は、その部分拡大断面である。
図5は、本発明のハニカムフィルタを製造する様子を模式的に示した側面図である。
図6は、本発明の排気ガス浄化用ハニカムフィルタを用いた排気ガス浄化装置の一例を模式的に示した断面図である。
図7(a)は、金属シェルの一例を模式的に示した斜視図であり、図7(b)は、金属シェルの別の一例を模式的に示した斜視図である。
符号の説明
10、20 ハニカムフィルタ
11、31 貫通孔
12、32 充填材
13 壁部
24 シール材層
25 セラミックブロック
26 シール材層
30 多孔質セラミック部材
33 隔壁
Claims (6)
- 多数の貫通孔が壁部を隔てて長手方向に並設された角柱形状の多孔質セラミック部材がシール材層を介して複数個結束されて構成された柱状体からなり、前記多孔質セラミック部材の一方の端部では、前記貫通孔のうち、所定の貫通孔が充填材により充填され、一方、前記多孔質セラミック部材の他方の端部で、前記一方の端部で前記充填材により充填されていない貫通孔が充填材により充填され、前記壁部の一部又は全部が粒子捕集用フィルタとして機能するように構成された排気ガス浄化用ハニカムフィルタであって、
前記柱状体の気孔率は、20〜80%であり、前記充填材の気孔率は、90%以下であり、かつ、前記柱状体の気孔率の0.15〜4.0倍であることを特徴とする排気ガス浄化用ハニカムフィルタ。 - 充填材の気孔率は、柱状体の気孔率の0.25〜1.5倍である請求の範囲第1項記載の排気ガス浄化用ハニカムフィルタ。
- 触媒が付与されている請求の範囲第1又は2項に記載の排気ガス浄化用ハニカムフィルタ。
- 表面に触媒担持膜を有する請求の範囲第1〜3項のいずれかに記載の排気ガス浄化用ハニカムフィルタ。
- 前記多孔質セラミック部材は、炭化珪素を含んでなる請求の範囲第1〜4項のいずれかに記載の排気ガス浄化用ハニカムフィルタ。
- 排気ガスを加熱して、捕集して堆積した微粒子を除去する方法が用いられる請求の範囲第1〜5項のいずれかに記載の排気ガス浄化用ハニカムフィルタ。
Applications Claiming Priority (3)
| Application Number | Priority Date | Filing Date | Title |
|---|---|---|---|
| JP2002109717 | 2002-04-11 | ||
| JP2002109717 | 2002-04-11 | ||
| PCT/JP2003/004480 WO2003093658A1 (en) | 2002-04-11 | 2003-04-09 | Honeycomb filter for clarifying exhaust gas |
Publications (2)
| Publication Number | Publication Date |
|---|---|
| JPWO2003093658A1 JPWO2003093658A1 (ja) | 2005-09-08 |
| JP4386830B2 true JP4386830B2 (ja) | 2009-12-16 |
Family
ID=29393105
Family Applications (1)
| Application Number | Title | Priority Date | Filing Date |
|---|---|---|---|
| JP2004501785A Expired - Lifetime JP4386830B2 (ja) | 2002-04-11 | 2003-04-09 | 排気ガス浄化用ハニカムフィルタ |
Country Status (7)
| Country | Link |
|---|---|
| US (1) | US20050153099A1 (ja) |
| EP (1) | EP1500799B1 (ja) |
| JP (1) | JP4386830B2 (ja) |
| AT (1) | ATE376617T1 (ja) |
| DE (1) | DE60317056T2 (ja) |
| ES (1) | ES2295617T3 (ja) |
| WO (1) | WO2003093658A1 (ja) |
Families Citing this family (117)
| Publication number | Priority date | Publication date | Assignee | Title |
|---|---|---|---|---|
| DE20023987U1 (de) * | 1999-09-29 | 2008-09-18 | IBIDEN CO., LTD., Ogaki-shi | Keramische Filteranordnung |
| CN100427730C (zh) * | 2002-02-05 | 2008-10-22 | 揖斐电株式会社 | 废气净化用蜂巢式过滤器、接合剂、涂布材料以及废气净化用蜂巢式过滤器的制造方法 |
| EP1604723B1 (en) | 2002-03-15 | 2007-09-26 | Ibiden Co., Ltd. | Ceramic filter for exhaust gas purification |
| WO2003081001A1 (en) * | 2002-03-22 | 2003-10-02 | Ibiden Co., Ltd. | Honeycomb filter for clarification of exhaust gas |
| WO2004024294A1 (ja) * | 2002-09-13 | 2004-03-25 | Ibiden Co., Ltd. | フィルタ |
| US7387657B2 (en) | 2002-10-07 | 2008-06-17 | Ibiden Co., Ltd. | Honeycomb structural body |
| JP4197425B2 (ja) | 2002-11-07 | 2008-12-17 | 日本碍子株式会社 | ハニカム構造体 |
| CN100360768C (zh) * | 2003-06-05 | 2008-01-09 | 揖斐电株式会社 | 蜂窝结构体 |
| WO2005026074A1 (ja) * | 2003-09-12 | 2005-03-24 | Ibiden Co., Ltd. | セラミック焼結体およびセラミックフィルタ |
| PL1676620T5 (pl) * | 2003-10-20 | 2012-10-31 | Ibiden Co Ltd | Struktura plastra miodu |
| JP4439236B2 (ja) * | 2003-10-23 | 2010-03-24 | イビデン株式会社 | ハニカム構造体 |
| WO2005044422A1 (ja) | 2003-11-07 | 2005-05-19 | Ibiden Co., Ltd. | ハニカム構造体 |
| KR100824243B1 (ko) * | 2003-12-25 | 2008-04-24 | 이비덴 가부시키가이샤 | 배기 가스 정화 장치 및 배기 가스 정화 장치의 재생 방법 |
| US7387829B2 (en) | 2004-01-13 | 2008-06-17 | Ibiden Co., Ltd. | Honeycomb structure, porous body, pore forming material for the porous body, and methods for manufacturing the pore forming material, the porous body and the honeycomb structure |
| JP4699702B2 (ja) * | 2004-01-30 | 2011-06-15 | 日本碍子株式会社 | ハニカム構造体及びその製造方法 |
| EP1726795A4 (en) * | 2004-02-23 | 2008-03-05 | Ibiden Co Ltd | STRUCTURAL BODY OF BEES AND APPARATUS FOR EXHAUST GAS PURIFICATION |
| JP4666390B2 (ja) * | 2004-04-05 | 2011-04-06 | イビデン株式会社 | ハニカム構造体、ハニカム構造体の製造方法及び排気ガス浄化装置 |
| ATE397573T1 (de) * | 2004-05-06 | 2008-06-15 | Ibiden Co Ltd | Wabenstruktur und herstellungsverfahren dafür |
| EP1952871B1 (en) * | 2004-05-18 | 2016-10-19 | Ibiden Co., Ltd. | Exhaust gas purifying device and its holding sealing material |
| WO2006013652A1 (ja) * | 2004-08-04 | 2006-02-09 | Ibiden Co., Ltd. | 連続焼成炉及びこれを用いた多孔質セラミック部材の製造方法 |
| PL1662219T3 (pl) | 2004-08-04 | 2009-02-27 | Ibiden Co Ltd | Piec do wypalania oraz sposób wytwarzania w nim porowatego elementu ceramicznego |
| JP2006046200A (ja) * | 2004-08-05 | 2006-02-16 | Hitachi Ltd | ディーゼル内燃機関用排ガス浄化フィルタとその製造方法及び排ガス浄化装置 |
| JPWO2006016430A1 (ja) | 2004-08-10 | 2008-05-01 | イビデン株式会社 | 焼成炉及び該焼成炉を用いたセラミック部材の製造方法 |
| JPWO2006035823A1 (ja) * | 2004-09-30 | 2008-05-15 | イビデン株式会社 | ハニカム構造体 |
| WO2006035822A1 (ja) | 2004-09-30 | 2006-04-06 | Ibiden Co., Ltd. | ハニカム構造体 |
| WO2006041174A1 (ja) * | 2004-10-12 | 2006-04-20 | Ibiden Co., Ltd. | セラミックハニカム構造体 |
| EP1818098A4 (en) * | 2004-11-26 | 2008-02-06 | Ibiden Co Ltd | hONEYCOMB STRUCTURE |
| WO2006070539A1 (ja) * | 2004-12-27 | 2006-07-06 | Ibiden Co., Ltd. | ハニカム構造体及びシール材層 |
| EP1769837B1 (en) * | 2005-02-04 | 2016-05-04 | Ibiden Co., Ltd. | Ceramic honeycomb structure and method for manufacture thereof |
| EP1767508B1 (en) * | 2005-02-04 | 2010-02-24 | Ibiden Co., Ltd. | Ceramic honeycomb structure |
| JP2006223983A (ja) * | 2005-02-17 | 2006-08-31 | Ibiden Co Ltd | ハニカム構造体 |
| CN100453511C (zh) | 2005-03-28 | 2009-01-21 | 揖斐电株式会社 | 蜂窝结构体及密封材料 |
| JPWO2006112052A1 (ja) * | 2005-03-30 | 2008-11-27 | イビデン株式会社 | 炭化珪素含有粒子、炭化珪素質焼結体を製造する方法、炭化珪素質焼結体、及びフィルター |
| WO2006106785A1 (ja) * | 2005-03-31 | 2006-10-12 | Ibiden Co., Ltd. | ハニカム構造体 |
| EP1871525A2 (fr) * | 2005-04-08 | 2008-01-02 | Saint-Gobain Centre de Recherches et d'Etudes Européen | Filtre catalytique pour la filtration d'un gaz comprenant un revetement et/ou un joint de porosite controlee |
| WO2006117899A1 (ja) * | 2005-04-28 | 2006-11-09 | Ibiden Co., Ltd. | ハニカム構造体 |
| US20060251548A1 (en) * | 2005-05-06 | 2006-11-09 | Willey Ray L | Exhaust aftertreatment device |
| WO2006132011A1 (ja) * | 2005-06-06 | 2006-12-14 | Ibiden Co., Ltd. | 梱包材及びハニカム構造体の輸送方法 |
| WO2006137164A1 (ja) * | 2005-06-24 | 2006-12-28 | Ibiden Co., Ltd. | ハニカム構造体 |
| US7867313B2 (en) | 2005-07-05 | 2011-01-11 | Helsa-Automotive Gmbh & Co. Kg | Porous β-SiC-containing ceramic molded article comprising an aluminum oxide coating, and method for the production thereof |
| EP1741685B1 (de) * | 2005-07-05 | 2014-04-30 | MANN+HUMMEL Innenraumfilter GmbH & Co. KG | Poröser beta-SiC-haltiger keramischer Formkörper und Verfahren zu dessen Herstellung. |
| EP1832565A4 (en) * | 2005-08-03 | 2007-10-17 | Ibiden Co Ltd | TEMPLATE FOR COOKING SILICON CARBIDE AND PROCESS FOR PRODUCING POROUS SILICON CARBIDE BODY |
| JPWO2007023653A1 (ja) * | 2005-08-26 | 2009-02-26 | イビデン株式会社 | ハニカム構造体及びその製造方法 |
| KR100944133B1 (ko) * | 2005-09-28 | 2010-02-24 | 이비덴 가부시키가이샤 | 허니컴 필터 |
| JPWO2007039991A1 (ja) * | 2005-10-05 | 2009-04-16 | イビデン株式会社 | 押出成形用金型及び多孔質セラミック部材の製造方法 |
| CN100529341C (zh) * | 2005-10-12 | 2009-08-19 | 揖斐电株式会社 | 蜂窝单元及蜂窝结构体 |
| JP4616752B2 (ja) * | 2005-10-26 | 2011-01-19 | 日本碍子株式会社 | ハニカム構造体 |
| JP5127450B2 (ja) * | 2005-11-18 | 2013-01-23 | イビデン株式会社 | ハニカム構造体 |
| CN101312809A (zh) * | 2005-12-26 | 2008-11-26 | 揖斐电株式会社 | 蜂窝结构体的制造方法 |
| WO2007074528A1 (ja) * | 2005-12-27 | 2007-07-05 | Ibiden Co., Ltd. | 脱脂用治具、セラミック成形体の脱脂方法、及び、ハニカム構造体の製造方法 |
| CN101309883B (zh) * | 2006-01-27 | 2012-12-26 | 揖斐电株式会社 | 蜂窝结构体及其制造方法 |
| WO2007086143A1 (ja) * | 2006-01-30 | 2007-08-02 | Ibiden Co., Ltd. | ハニカム構造体の検査方法、及び、ハニカム構造体の製造方法 |
| WO2007094075A1 (ja) * | 2006-02-17 | 2007-08-23 | Ibiden Co., Ltd. | 乾燥用治具組立装置、乾燥用治具分解装置、乾燥用治具循環装置、セラミック成形体の乾燥方法、及び、ハニカム構造体の製造方法 |
| JPWO2007097056A1 (ja) * | 2006-02-23 | 2009-07-09 | イビデン株式会社 | ハニカム構造体および排ガス浄化装置 |
| WO2007096986A1 (ja) * | 2006-02-24 | 2007-08-30 | Ibiden Co., Ltd. | 端面加熱装置、ハニカム集合体の端面乾燥方法、及び、ハニカム構造体の製造方法 |
| WO2007097000A1 (ja) * | 2006-02-24 | 2007-08-30 | Ibiden Co., Ltd. | ハニカム成形体用封口装置、封止材ペーストの充填方法、及び、ハニカム構造体の製造方法 |
| WO2007097004A1 (ja) * | 2006-02-24 | 2007-08-30 | Ibiden Co., Ltd. | 湿式混合機、湿式混合方法及びハニカム構造体の製造方法 |
| EP1826517B1 (en) * | 2006-02-28 | 2008-08-13 | Ibiden Co., Ltd. | Drying jig, drying method of honeycomb molded body, and manufacturing method of honeycomb structured body |
| WO2007102216A1 (ja) * | 2006-03-08 | 2007-09-13 | Ibiden Co., Ltd. | 脱脂炉投入装置、及び、ハニカム構造体の製造方法 |
| WO2007102217A1 (ja) * | 2006-03-08 | 2007-09-13 | Ibiden Co., Ltd. | 焼成体用冷却機、焼成炉、セラミック焼成体の冷却方法、及び、ハニカム構造体の製造方法 |
| WO2007108076A1 (ja) * | 2006-03-17 | 2007-09-27 | Ibiden Co., Ltd. | 乾燥装置、セラミック成形体の乾燥方法及びハニカム構造体の製造方法 |
| WO2007116529A1 (ja) * | 2006-04-11 | 2007-10-18 | Ibiden Co., Ltd. | 成形体切断装置、セラミック成形体の切断方法、及び、ハニカム構造体の製造方法 |
| WO2007122680A1 (ja) * | 2006-04-13 | 2007-11-01 | Ibiden Co., Ltd. | 押出成形機、押出成形方法及びハニカム構造体の製造方法 |
| WO2007122707A1 (ja) * | 2006-04-19 | 2007-11-01 | Ibiden Co., Ltd. | ハニカム構造体の製造方法 |
| WO2007122715A1 (ja) * | 2006-04-20 | 2007-11-01 | Ibiden Co., Ltd. | ハニカム焼成体の検査方法、及び、ハニカム構造体の製造方法 |
| WO2007122716A1 (ja) * | 2006-04-20 | 2007-11-01 | Ibiden Co., Ltd. | 搬送装置、及び、ハニカム構造体の製造方法 |
| US20070252310A1 (en) * | 2006-04-27 | 2007-11-01 | Brockway David J | Method for manufacturing a plugged honeycomb filter with a single firing cycle |
| WO2007129391A1 (ja) * | 2006-05-01 | 2007-11-15 | Ibiden Co., Ltd. | 焼成用治具組立装置、焼成用治具分解装置、循環装置、セラミック成形体の焼成方法、及び、ハニカム構造体の製造方法 |
| WO2007129399A1 (ja) * | 2006-05-08 | 2007-11-15 | Ibiden Co., Ltd. | ハニカム構造体の製造方法、ハニカム成形体受取機及びハニカム成形体取出機 |
| WO2007132530A1 (ja) * | 2006-05-17 | 2007-11-22 | Ibiden Co., Ltd. | ハニカム成形体用端面処理装置、ハニカム成形体の封止方法、及び、ハニカム構造体の製造方法 |
| WO2007138701A1 (ja) * | 2006-05-31 | 2007-12-06 | Ibiden Co., Ltd. | 把持装置、及び、ハニカム構造体の製造方法 |
| EP1864774A1 (en) * | 2006-06-05 | 2007-12-12 | Ibiden Co., Ltd. | Method and apparatus for cutting honeycomb structure |
| JP2007331978A (ja) * | 2006-06-15 | 2007-12-27 | Shin Etsu Chem Co Ltd | 押出成形又は射出成形用の組成物及び成形体の製造方法 |
| JP2008006398A (ja) * | 2006-06-30 | 2008-01-17 | Tokyo Yogyo Co Ltd | ハニカム構造体の目封じ方法 |
| JP5060743B2 (ja) * | 2006-06-30 | 2012-10-31 | 東京窯業株式会社 | SiC系接合材 |
| ATE425852T1 (de) * | 2006-07-07 | 2009-04-15 | Ibiden Co Ltd | Apparat und verfahren zur bearbeitung der endflache eines wabenkírpers und verfahren zur herstellung eines wabenkírpers |
| WO2008032390A1 (fr) * | 2006-09-14 | 2008-03-20 | Ibiden Co., Ltd. | Procédé de production d'une structure en nid d'abeille |
| WO2008032391A1 (fr) * | 2006-09-14 | 2008-03-20 | Ibiden Co., Ltd. | Procédé de production d'une structure en nid d'abeille et composition de matière première pour nid d'abeille calciné |
| DE602006014830D1 (de) * | 2006-09-14 | 2010-07-22 | Ibiden Co Ltd | Verfahren zur Herstellung eines Wabenkörpers und Zusammensetzung für Sinterwabenkörper |
| WO2008047404A1 (fr) * | 2006-10-16 | 2008-04-24 | Ibiden Co., Ltd. | Support de montage pour structure alvéolaire et dispositif d'inspection pour structure alvéolaire |
| WO2008059576A1 (en) * | 2006-11-16 | 2008-05-22 | Ibiden Co., Ltd. | Honeycomb structural body and method of producing the same |
| JP5084517B2 (ja) * | 2007-01-26 | 2012-11-28 | イビデン株式会社 | 外周層形成装置 |
| WO2008105081A1 (ja) * | 2007-02-28 | 2008-09-04 | Ibiden Co., Ltd. | ハニカムフィルタ |
| WO2008120291A1 (ja) * | 2007-02-28 | 2008-10-09 | Ibiden Co., Ltd. | ハニカム構造体の製造方法 |
| JPWO2008105082A1 (ja) * | 2007-02-28 | 2010-06-03 | イビデン株式会社 | ハニカム構造体 |
| JP5756597B2 (ja) * | 2007-03-28 | 2015-07-29 | 日本碍子株式会社 | 目封止ハニカム構造体 |
| WO2008126332A1 (ja) | 2007-03-30 | 2008-10-23 | Ibiden Co., Ltd. | ハニカムフィルタ |
| JPWO2008126321A1 (ja) * | 2007-03-30 | 2010-07-22 | イビデン株式会社 | 排ガス浄化システム |
| WO2008126335A1 (ja) * | 2007-03-30 | 2008-10-23 | Ibiden Co., Ltd. | ハニカム構造体及びハニカム構造体の製造方法 |
| WO2008126334A1 (ja) * | 2007-03-30 | 2008-10-23 | Ibiden Co., Ltd. | ハニカム構造体の製造方法 |
| WO2008126320A1 (ja) * | 2007-03-30 | 2008-10-23 | Ibiden Co., Ltd. | ハニカム構造体の製造方法 |
| WO2008126331A1 (ja) * | 2007-03-30 | 2008-10-23 | Ibiden Co., Ltd. | ハニカムフィルタ |
| WO2008126333A1 (ja) * | 2007-03-30 | 2008-10-23 | Ibiden Co., Ltd. | ハニカム構造体 |
| WO2008126330A1 (ja) * | 2007-03-30 | 2008-10-23 | Ibiden Co., Ltd. | ハニカム構造体 |
| WO2008136078A1 (ja) * | 2007-04-20 | 2008-11-13 | Ibiden Co., Ltd. | ハニカムフィルタ |
| WO2008139581A1 (ja) * | 2007-05-09 | 2008-11-20 | Ibiden Co., Ltd. | 炭化ケイ素焼成用原料の製造方法、及び、ハニカム構造体の製造方法 |
| WO2008139608A1 (ja) * | 2007-05-14 | 2008-11-20 | Ibiden Co., Ltd. | ハニカム構造体及び該ハニカム構造体の製造方法 |
| WO2008149435A1 (ja) * | 2007-06-06 | 2008-12-11 | Ibiden Co., Ltd. | 焼成用治具及びハニカム構造体の製造方法 |
| WO2008155856A1 (ja) * | 2007-06-21 | 2008-12-24 | Ibiden Co., Ltd. | ハニカム構造体、及び、ハニカム構造体の製造方法 |
| CN104876619A (zh) * | 2007-07-31 | 2015-09-02 | 康宁股份有限公司 | 应用于陶瓷蜂窝体的组合物 |
| JP5180835B2 (ja) * | 2007-10-31 | 2013-04-10 | イビデン株式会社 | ハニカム構造体用梱包体、及び、ハニカム構造体の輸送方法 |
| WO2009066388A1 (ja) * | 2007-11-21 | 2009-05-28 | Ibiden Co., Ltd. | ハニカム構造体及びハニカム構造体の製造方法 |
| JP5150231B2 (ja) * | 2007-12-11 | 2013-02-20 | 日本碍子株式会社 | ハニカムセグメント接合体の作製方法 |
| WO2009101682A1 (ja) * | 2008-02-13 | 2009-08-20 | Ibiden Co., Ltd. | ハニカム構造体、排ガス浄化装置、及び、ハニカム構造体の製造方法 |
| WO2009101683A1 (ja) | 2008-02-13 | 2009-08-20 | Ibiden Co., Ltd. | ハニカム構造体の製造方法 |
| WO2009107230A1 (ja) * | 2008-02-29 | 2009-09-03 | イビデン株式会社 | ハニカム構造体用シール材、ハニカム構造体、及び、ハニカム構造体の製造方法 |
| WO2009118814A1 (ja) * | 2008-03-24 | 2009-10-01 | イビデン株式会社 | ハニカムフィルタ |
| WO2009118813A1 (ja) * | 2008-03-24 | 2009-10-01 | イビデン株式会社 | ハニカム構造体及びハニカム構造体の製造方法 |
| WO2009118862A1 (ja) * | 2008-03-27 | 2009-10-01 | イビデン株式会社 | ハニカム構造体の製造方法 |
| JP2009255032A (ja) * | 2008-03-27 | 2009-11-05 | Ibiden Co Ltd | ハニカム構造体 |
| WO2009118866A1 (ja) * | 2008-03-27 | 2009-10-01 | イビデン株式会社 | ハニカム構造体 |
| WO2011030461A1 (ja) * | 2009-09-14 | 2011-03-17 | イビデン株式会社 | ハニカム構造体の製造方法 |
| US20110076443A1 (en) * | 2009-09-30 | 2011-03-31 | Ngk Insulators, Ltd. | Honeycomb structure and method for manufacturing the same |
| JP6492495B2 (ja) * | 2014-01-27 | 2019-04-03 | 株式会社デンソー | 排ガス浄化フィルタ及びその製造方法 |
| JP6746386B2 (ja) * | 2016-06-06 | 2020-08-26 | イビデン株式会社 | ハニカム構造体 |
| DE102018104140A1 (de) * | 2018-02-23 | 2019-08-29 | Volkswagen Aktiengesellschaft | Partikelfilter für einen Verbrennungsmotor sowie Verfahren zur Herstellung eines solchen Partikelfilters |
| USD1034897S1 (en) * | 2021-01-04 | 2024-07-09 | Ye Siang Enterprise Co., Ltd. | Gas phase filter |
Family Cites Families (90)
| Publication number | Priority date | Publication date | Assignee | Title |
|---|---|---|---|---|
| JPS577217A (en) * | 1980-06-16 | 1982-01-14 | Ngk Insulators Ltd | Ceramic honeycomb filter and preparation thereof |
| JPH059450Y2 (ja) * | 1984-09-27 | 1993-03-09 | ||
| US5140813A (en) * | 1990-10-31 | 1992-08-25 | Whittenberger William A | Composite catalytic converter |
| US6869573B2 (en) * | 1990-11-09 | 2005-03-22 | Ngk Insulators, Ltd. | Heater and catalytic converter |
| JPH07332064A (ja) * | 1994-06-10 | 1995-12-19 | Ngk Insulators Ltd | 排ガスフィルタおよび排ガス処理装置 |
| JPH09173866A (ja) * | 1995-12-28 | 1997-07-08 | Nippon Soken Inc | ディーゼル排ガス浄化フィルタ |
| EP1306358B2 (en) * | 1996-01-12 | 2012-08-22 | Ibiden Co., Ltd. | Sealing member |
| US5930994A (en) * | 1996-07-02 | 1999-08-03 | Ibiden Co., Ltd. | Reverse cleaning regeneration type exhaust emission control device and method of regenerating the same |
| JP3394449B2 (ja) * | 1998-06-18 | 2003-04-07 | 日本碍子株式会社 | 薄壁ハニカム構造体およびその補強方法 |
| JP2000167329A (ja) * | 1998-09-30 | 2000-06-20 | Ibiden Co Ltd | 排気ガス浄化装置の再生システム |
| JP2002530175A (ja) * | 1998-11-20 | 2002-09-17 | コーニンクレッカ フィリップス エレクトロニクス エヌ ヴィ | コードレス走査ヘッドの充電器を備える超音波診断イメージングシステム |
| JP4642955B2 (ja) * | 1999-06-23 | 2011-03-02 | イビデン株式会社 | 触媒担体およびその製造方法 |
| JP2001073743A (ja) * | 1999-09-03 | 2001-03-21 | Nissan Diesel Motor Co Ltd | ディーゼル機関の排気浄化装置 |
| DE20023987U1 (de) * | 1999-09-29 | 2008-09-18 | IBIDEN CO., LTD., Ogaki-shi | Keramische Filteranordnung |
| JP4455708B2 (ja) * | 2000-01-17 | 2010-04-21 | 日本碍子株式会社 | ハニカム構造体及びその製造方法 |
| JP2001329830A (ja) * | 2000-03-15 | 2001-11-30 | Ibiden Co Ltd | 排気ガス浄化フィルタの再生装置及びフィルタ再生方法、排気ガス浄化フィルタの再生プログラム及びそのプログラムを格納する記録媒体 |
| CN1266372C (zh) * | 2001-03-22 | 2006-07-26 | 揖斐电株式会社 | 废气净化装置 |
| JP3982285B2 (ja) * | 2001-04-19 | 2007-09-26 | 株式会社デンソー | 排ガス浄化フィルタ |
| JP3727550B2 (ja) * | 2001-05-30 | 2005-12-14 | 株式会社デンソー | 排ガス浄化フィルタ及びその製造方法 |
| CN100427730C (zh) * | 2002-02-05 | 2008-10-22 | 揖斐电株式会社 | 废气净化用蜂巢式过滤器、接合剂、涂布材料以及废气净化用蜂巢式过滤器的制造方法 |
| WO2003081001A1 (en) * | 2002-03-22 | 2003-10-02 | Ibiden Co., Ltd. | Honeycomb filter for clarification of exhaust gas |
| JP4437085B2 (ja) * | 2002-10-07 | 2010-03-24 | イビデン株式会社 | ハニカム構造体 |
| WO2005026074A1 (ja) * | 2003-09-12 | 2005-03-24 | Ibiden Co., Ltd. | セラミック焼結体およびセラミックフィルタ |
| US7387829B2 (en) * | 2004-01-13 | 2008-06-17 | Ibiden Co., Ltd. | Honeycomb structure, porous body, pore forming material for the porous body, and methods for manufacturing the pore forming material, the porous body and the honeycomb structure |
| JP4666390B2 (ja) * | 2004-04-05 | 2011-04-06 | イビデン株式会社 | ハニカム構造体、ハニカム構造体の製造方法及び排気ガス浄化装置 |
| ATE397573T1 (de) * | 2004-05-06 | 2008-06-15 | Ibiden Co Ltd | Wabenstruktur und herstellungsverfahren dafür |
| EP1952871B1 (en) * | 2004-05-18 | 2016-10-19 | Ibiden Co., Ltd. | Exhaust gas purifying device and its holding sealing material |
| JPWO2006013931A1 (ja) * | 2004-08-04 | 2008-05-01 | イビデン株式会社 | 焼成炉及びその焼成炉を用いた多孔質セラミック焼成体の製造方法 |
| EP1666826A4 (en) * | 2004-08-06 | 2008-04-09 | Ibiden Co Ltd | SINTERING OVEN AND METHOD FOR PRODUCING A SINTERED BODY FROM POROUS CERAMICS USING THIS OVEN |
| EP1677063A4 (en) * | 2004-08-25 | 2007-05-30 | Ibiden Co Ltd | KILN and Method for Making a Porous Ceramic Cooked Product Using KILN |
| WO2006041174A1 (ja) * | 2004-10-12 | 2006-04-20 | Ibiden Co., Ltd. | セラミックハニカム構造体 |
| KR100820619B1 (ko) * | 2004-12-28 | 2008-04-08 | 이비덴 가부시키가이샤 | 필터 및 필터 집합체 |
| KR100692942B1 (ko) * | 2005-02-01 | 2007-03-12 | 이비덴 가부시키가이샤 | 허니컴 구조체 |
| EP1767508B1 (en) * | 2005-02-04 | 2010-02-24 | Ibiden Co., Ltd. | Ceramic honeycomb structure |
| EP1769837B1 (en) * | 2005-02-04 | 2016-05-04 | Ibiden Co., Ltd. | Ceramic honeycomb structure and method for manufacture thereof |
| JP2006223983A (ja) * | 2005-02-17 | 2006-08-31 | Ibiden Co Ltd | ハニカム構造体 |
| JP4812316B2 (ja) * | 2005-03-16 | 2011-11-09 | イビデン株式会社 | ハニカム構造体 |
| JPWO2006103811A1 (ja) * | 2005-03-28 | 2008-09-04 | イビデン株式会社 | ハニカム構造体 |
| CN100453511C (zh) * | 2005-03-28 | 2009-01-21 | 揖斐电株式会社 | 蜂窝结构体及密封材料 |
| JPWO2006112052A1 (ja) * | 2005-03-30 | 2008-11-27 | イビデン株式会社 | 炭化珪素含有粒子、炭化珪素質焼結体を製造する方法、炭化珪素質焼結体、及びフィルター |
| KR100822246B1 (ko) * | 2005-04-07 | 2008-04-16 | 이비덴 가부시키가이샤 | 허니컴 구조체 |
| JP2006289237A (ja) * | 2005-04-08 | 2006-10-26 | Ibiden Co Ltd | ハニカム構造体 |
| WO2006132011A1 (ja) * | 2005-06-06 | 2006-12-14 | Ibiden Co., Ltd. | 梱包材及びハニカム構造体の輸送方法 |
| EP1832565A4 (en) * | 2005-08-03 | 2007-10-17 | Ibiden Co Ltd | TEMPLATE FOR COOKING SILICON CARBIDE AND PROCESS FOR PRODUCING POROUS SILICON CARBIDE BODY |
| JPWO2007023653A1 (ja) * | 2005-08-26 | 2009-02-26 | イビデン株式会社 | ハニカム構造体及びその製造方法 |
| KR100944133B1 (ko) * | 2005-09-28 | 2010-02-24 | 이비덴 가부시키가이샤 | 허니컴 필터 |
| JPWO2007039991A1 (ja) * | 2005-10-05 | 2009-04-16 | イビデン株式会社 | 押出成形用金型及び多孔質セラミック部材の製造方法 |
| CN100529341C (zh) * | 2005-10-12 | 2009-08-19 | 揖斐电株式会社 | 蜂窝单元及蜂窝结构体 |
| KR100855167B1 (ko) * | 2005-11-18 | 2008-08-29 | 이비덴 가부시키가이샤 | 벌집형 구조체 |
| JP5127450B2 (ja) * | 2005-11-18 | 2013-01-23 | イビデン株式会社 | ハニカム構造体 |
| US20070187651A1 (en) * | 2005-12-26 | 2007-08-16 | Kazuya Naruse | Method for mixing powder, agitation apparatus, and method for manufacturing honeycomb structured body |
| CN101312895A (zh) * | 2005-12-27 | 2008-11-26 | 揖斐电株式会社 | 搬运装置和蜂窝结构体的制造方法 |
| WO2007074528A1 (ja) * | 2005-12-27 | 2007-07-05 | Ibiden Co., Ltd. | 脱脂用治具、セラミック成形体の脱脂方法、及び、ハニカム構造体の製造方法 |
| CN101309883B (zh) * | 2006-01-27 | 2012-12-26 | 揖斐电株式会社 | 蜂窝结构体及其制造方法 |
| WO2007086143A1 (ja) * | 2006-01-30 | 2007-08-02 | Ibiden Co., Ltd. | ハニカム構造体の検査方法、及び、ハニカム構造体の製造方法 |
| WO2007094075A1 (ja) * | 2006-02-17 | 2007-08-23 | Ibiden Co., Ltd. | 乾燥用治具組立装置、乾燥用治具分解装置、乾燥用治具循環装置、セラミック成形体の乾燥方法、及び、ハニカム構造体の製造方法 |
| JPWO2007097056A1 (ja) * | 2006-02-23 | 2009-07-09 | イビデン株式会社 | ハニカム構造体および排ガス浄化装置 |
| WO2007097004A1 (ja) * | 2006-02-24 | 2007-08-30 | Ibiden Co., Ltd. | 湿式混合機、湿式混合方法及びハニカム構造体の製造方法 |
| WO2007096986A1 (ja) * | 2006-02-24 | 2007-08-30 | Ibiden Co., Ltd. | 端面加熱装置、ハニカム集合体の端面乾燥方法、及び、ハニカム構造体の製造方法 |
| WO2007097000A1 (ja) * | 2006-02-24 | 2007-08-30 | Ibiden Co., Ltd. | ハニカム成形体用封口装置、封止材ペーストの充填方法、及び、ハニカム構造体の製造方法 |
| ATE551167T1 (de) * | 2006-02-28 | 2012-04-15 | Ibiden Co Ltd | Verfahren zur herstellung von einem wabenstrukturkörper |
| EP1826517B1 (en) * | 2006-02-28 | 2008-08-13 | Ibiden Co., Ltd. | Drying jig, drying method of honeycomb molded body, and manufacturing method of honeycomb structured body |
| WO2007102216A1 (ja) * | 2006-03-08 | 2007-09-13 | Ibiden Co., Ltd. | 脱脂炉投入装置、及び、ハニカム構造体の製造方法 |
| WO2007102217A1 (ja) * | 2006-03-08 | 2007-09-13 | Ibiden Co., Ltd. | 焼成体用冷却機、焼成炉、セラミック焼成体の冷却方法、及び、ハニカム構造体の製造方法 |
| WO2007108076A1 (ja) * | 2006-03-17 | 2007-09-27 | Ibiden Co., Ltd. | 乾燥装置、セラミック成形体の乾燥方法及びハニカム構造体の製造方法 |
| WO2007116529A1 (ja) * | 2006-04-11 | 2007-10-18 | Ibiden Co., Ltd. | 成形体切断装置、セラミック成形体の切断方法、及び、ハニカム構造体の製造方法 |
| WO2007122680A1 (ja) * | 2006-04-13 | 2007-11-01 | Ibiden Co., Ltd. | 押出成形機、押出成形方法及びハニカム構造体の製造方法 |
| WO2007122707A1 (ja) * | 2006-04-19 | 2007-11-01 | Ibiden Co., Ltd. | ハニカム構造体の製造方法 |
| WO2007122716A1 (ja) * | 2006-04-20 | 2007-11-01 | Ibiden Co., Ltd. | 搬送装置、及び、ハニカム構造体の製造方法 |
| WO2007122715A1 (ja) * | 2006-04-20 | 2007-11-01 | Ibiden Co., Ltd. | ハニカム焼成体の検査方法、及び、ハニカム構造体の製造方法 |
| WO2007129391A1 (ja) * | 2006-05-01 | 2007-11-15 | Ibiden Co., Ltd. | 焼成用治具組立装置、焼成用治具分解装置、循環装置、セラミック成形体の焼成方法、及び、ハニカム構造体の製造方法 |
| WO2007129399A1 (ja) * | 2006-05-08 | 2007-11-15 | Ibiden Co., Ltd. | ハニカム構造体の製造方法、ハニカム成形体受取機及びハニカム成形体取出機 |
| WO2007132530A1 (ja) * | 2006-05-17 | 2007-11-22 | Ibiden Co., Ltd. | ハニカム成形体用端面処理装置、ハニカム成形体の封止方法、及び、ハニカム構造体の製造方法 |
| WO2007138701A1 (ja) * | 2006-05-31 | 2007-12-06 | Ibiden Co., Ltd. | 把持装置、及び、ハニカム構造体の製造方法 |
| EP1864774A1 (en) * | 2006-06-05 | 2007-12-12 | Ibiden Co., Ltd. | Method and apparatus for cutting honeycomb structure |
| ATE425852T1 (de) * | 2006-07-07 | 2009-04-15 | Ibiden Co Ltd | Apparat und verfahren zur bearbeitung der endflache eines wabenkírpers und verfahren zur herstellung eines wabenkírpers |
| WO2008032390A1 (fr) * | 2006-09-14 | 2008-03-20 | Ibiden Co., Ltd. | Procédé de production d'une structure en nid d'abeille |
| WO2008032391A1 (fr) * | 2006-09-14 | 2008-03-20 | Ibiden Co., Ltd. | Procédé de production d'une structure en nid d'abeille et composition de matière première pour nid d'abeille calciné |
| DE602006014830D1 (de) * | 2006-09-14 | 2010-07-22 | Ibiden Co Ltd | Verfahren zur Herstellung eines Wabenkörpers und Zusammensetzung für Sinterwabenkörper |
| WO2008047404A1 (fr) * | 2006-10-16 | 2008-04-24 | Ibiden Co., Ltd. | Support de montage pour structure alvéolaire et dispositif d'inspection pour structure alvéolaire |
| JP5084517B2 (ja) * | 2007-01-26 | 2012-11-28 | イビデン株式会社 | 外周層形成装置 |
| WO2008114335A1 (ja) * | 2007-02-21 | 2008-09-25 | Ibiden Co., Ltd. | 加熱炉及びハニカム構造体の製造方法 |
| WO2008126320A1 (ja) * | 2007-03-30 | 2008-10-23 | Ibiden Co., Ltd. | ハニカム構造体の製造方法 |
| WO2008129691A1 (ja) * | 2007-03-30 | 2008-10-30 | Ibiden Co., Ltd. | ハニカムフィルタ |
| WO2008126319A1 (ja) * | 2007-03-30 | 2008-10-23 | Ibiden Co., Ltd. | 多孔質炭化ケイ素焼結体の製造方法 |
| WO2008139581A1 (ja) * | 2007-05-09 | 2008-11-20 | Ibiden Co., Ltd. | 炭化ケイ素焼成用原料の製造方法、及び、ハニカム構造体の製造方法 |
| WO2008149435A1 (ja) * | 2007-06-06 | 2008-12-11 | Ibiden Co., Ltd. | 焼成用治具及びハニカム構造体の製造方法 |
| WO2008155856A1 (ja) * | 2007-06-21 | 2008-12-24 | Ibiden Co., Ltd. | ハニカム構造体、及び、ハニカム構造体の製造方法 |
| JP5180835B2 (ja) * | 2007-10-31 | 2013-04-10 | イビデン株式会社 | ハニカム構造体用梱包体、及び、ハニカム構造体の輸送方法 |
| WO2009066388A1 (ja) * | 2007-11-21 | 2009-05-28 | Ibiden Co., Ltd. | ハニカム構造体及びハニカム構造体の製造方法 |
-
2003
- 2003-04-09 JP JP2004501785A patent/JP4386830B2/ja not_active Expired - Lifetime
- 2003-04-09 ES ES03747537T patent/ES2295617T3/es not_active Expired - Lifetime
- 2003-04-09 WO PCT/JP2003/004480 patent/WO2003093658A1/ja not_active Ceased
- 2003-04-09 DE DE60317056T patent/DE60317056T2/de not_active Expired - Lifetime
- 2003-04-09 EP EP03747537A patent/EP1500799B1/en not_active Revoked
- 2003-04-09 AT AT03747537T patent/ATE376617T1/de not_active IP Right Cessation
- 2003-04-09 US US10/509,688 patent/US20050153099A1/en not_active Abandoned
Also Published As
| Publication number | Publication date |
|---|---|
| EP1500799A1 (en) | 2005-01-26 |
| JPWO2003093658A1 (ja) | 2005-09-08 |
| DE60317056T2 (de) | 2008-07-31 |
| DE60317056D1 (de) | 2007-12-06 |
| ATE376617T1 (de) | 2007-11-15 |
| WO2003093658A1 (en) | 2003-11-13 |
| EP1500799B1 (en) | 2007-10-24 |
| US20050153099A1 (en) | 2005-07-14 |
| EP1500799A4 (en) | 2005-05-04 |
| ES2295617T3 (es) | 2008-04-16 |
Similar Documents
| Publication | Publication Date | Title |
|---|---|---|
| JP4386830B2 (ja) | 排気ガス浄化用ハニカムフィルタ | |
| JPWO2003093657A1 (ja) | 排気ガス浄化用ハニカムフィルタ | |
| KR100831836B1 (ko) | 벌집형 유닛 및 벌집형 구조체 | |
| JP5142532B2 (ja) | ハニカム構造体 | |
| JP5142529B2 (ja) | ハニカム構造体 | |
| JP4863904B2 (ja) | ハニカム構造体およびその製造方法 | |
| US8003190B2 (en) | Honeycomb structure | |
| JP5001009B2 (ja) | セラミックハニカム構造体 | |
| KR100680078B1 (ko) | 벌집형 구조체 | |
| JP4229843B2 (ja) | 排気ガス浄化用ハニカムフィルタ | |
| JP4516017B2 (ja) | セラミックハニカム構造体 | |
| JPWO2005108328A1 (ja) | ハニカム構造体及びその製造方法 | |
| WO2007058006A1 (ja) | ハニカム構造体 | |
| WO2006035823A1 (ja) | ハニカム構造体 | |
| WO2006137164A1 (ja) | ハニカム構造体 | |
| JP2008309163A (ja) | セラミックフィルタおよび排ガス浄化装置 | |
| JPWO2003074848A1 (ja) | 排気ガス浄化用ハニカムフィルタ及び排気ガス浄化装置 | |
| CN100540507C (zh) | 蜂窝结构体及其制造方法 | |
| JP2001097777A (ja) | 多孔質炭化珪素焼結体、ハニカムフィルタ、セラミックフィルタ集合体 | |
| US7541006B2 (en) | Honeycomb structured body | |
| JP4753785B2 (ja) | ハニカム構造体 | |
| JP2004188278A (ja) | 排気ガス浄化用ハニカムフィルタ | |
| JP2004051674A (ja) | コーティング材、ハニカム構造体及びその製造方法 |
Legal Events
| Date | Code | Title | Description |
|---|---|---|---|
| A621 | Written request for application examination |
Free format text: JAPANESE INTERMEDIATE CODE: A621 Effective date: 20051207 |
|
| A131 | Notification of reasons for refusal |
Free format text: JAPANESE INTERMEDIATE CODE: A131 Effective date: 20081021 |
|
| A521 | Request for written amendment filed |
Free format text: JAPANESE INTERMEDIATE CODE: A523 Effective date: 20081128 |
|
| TRDD | Decision of grant or rejection written | ||
| A01 | Written decision to grant a patent or to grant a registration (utility model) |
Free format text: JAPANESE INTERMEDIATE CODE: A01 Effective date: 20090929 |
|
| A01 | Written decision to grant a patent or to grant a registration (utility model) |
Free format text: JAPANESE INTERMEDIATE CODE: A01 |
|
| A61 | First payment of annual fees (during grant procedure) |
Free format text: JAPANESE INTERMEDIATE CODE: A61 Effective date: 20090929 |
|
| R150 | Certificate of patent or registration of utility model |
Ref document number: 4386830 Country of ref document: JP Free format text: JAPANESE INTERMEDIATE CODE: R150 Free format text: JAPANESE INTERMEDIATE CODE: R150 |
|
| FPAY | Renewal fee payment (event date is renewal date of database) |
Free format text: PAYMENT UNTIL: 20121009 Year of fee payment: 3 |
|
| FPAY | Renewal fee payment (event date is renewal date of database) |
Free format text: PAYMENT UNTIL: 20131009 Year of fee payment: 4 |
|
| R250 | Receipt of annual fees |
Free format text: JAPANESE INTERMEDIATE CODE: R250 |
|
| R250 | Receipt of annual fees |
Free format text: JAPANESE INTERMEDIATE CODE: R250 |
|
| R250 | Receipt of annual fees |
Free format text: JAPANESE INTERMEDIATE CODE: R250 |
|
| R250 | Receipt of annual fees |
Free format text: JAPANESE INTERMEDIATE CODE: R250 |
|
| R250 | Receipt of annual fees |
Free format text: JAPANESE INTERMEDIATE CODE: R250 |
|
| R250 | Receipt of annual fees |
Free format text: JAPANESE INTERMEDIATE CODE: R250 |
|
| R250 | Receipt of annual fees |
Free format text: JAPANESE INTERMEDIATE CODE: R250 |
|
| EXPY | Cancellation because of completion of term |
