WO2012108216A1 - インクジェット記録装置 - Google Patents

インクジェット記録装置 Download PDF

Info

Publication number
WO2012108216A1
WO2012108216A1 PCT/JP2012/000919 JP2012000919W WO2012108216A1 WO 2012108216 A1 WO2012108216 A1 WO 2012108216A1 JP 2012000919 W JP2012000919 W JP 2012000919W WO 2012108216 A1 WO2012108216 A1 WO 2012108216A1
Authority
WO
WIPO (PCT)
Prior art keywords
cleaning
nozzle
suction
recording apparatus
blade
Prior art date
Legal status (The legal status is an assumption and is not a legal conclusion. Google has not performed a legal analysis and makes no representation as to the accuracy of the status listed.)
Ceased
Application number
PCT/JP2012/000919
Other languages
English (en)
French (fr)
Japanese (ja)
Inventor
豊 狩野
神田 英彦
進 廣澤
健太郎 室
Current Assignee (The listed assignees may be inaccurate. Google has not performed a legal analysis and makes no representation or warranty as to the accuracy of the list.)
Canon Inc
Original Assignee
Canon Inc
Priority date (The priority date is an assumption and is not a legal conclusion. Google has not performed a legal analysis and makes no representation as to the accuracy of the date listed.)
Filing date
Publication date
Application filed by Canon Inc filed Critical Canon Inc
Priority to CN201280007777.XA priority Critical patent/CN103370202B/zh
Priority to US13/569,344 priority patent/US20120299996A1/en
Publication of WO2012108216A1 publication Critical patent/WO2012108216A1/ja
Anticipated expiration legal-status Critical
Ceased legal-status Critical Current

Links

Images

Classifications

    • BPERFORMING OPERATIONS; TRANSPORTING
    • B41PRINTING; LINING MACHINES; TYPEWRITERS; STAMPS
    • B41JTYPEWRITERS; SELECTIVE PRINTING MECHANISMS, i.e. MECHANISMS PRINTING OTHERWISE THAN FROM A FORME; CORRECTION OF TYPOGRAPHICAL ERRORS
    • B41J2/00Typewriters or selective printing mechanisms characterised by the printing or marking process for which they are designed
    • B41J2/005Typewriters or selective printing mechanisms characterised by the printing or marking process for which they are designed characterised by bringing liquid or particles selectively into contact with a printing material
    • B41J2/01Ink jet
    • B41J2/135Nozzles
    • B41J2/165Prevention or detection of nozzle clogging, e.g. cleaning, capping or moistening for nozzles
    • B41J2/16585Prevention or detection of nozzle clogging, e.g. cleaning, capping or moistening for nozzles for paper-width or non-reciprocating print heads
    • BPERFORMING OPERATIONS; TRANSPORTING
    • B41PRINTING; LINING MACHINES; TYPEWRITERS; STAMPS
    • B41JTYPEWRITERS; SELECTIVE PRINTING MECHANISMS, i.e. MECHANISMS PRINTING OTHERWISE THAN FROM A FORME; CORRECTION OF TYPOGRAPHICAL ERRORS
    • B41J2/00Typewriters or selective printing mechanisms characterised by the printing or marking process for which they are designed
    • B41J2/005Typewriters or selective printing mechanisms characterised by the printing or marking process for which they are designed characterised by bringing liquid or particles selectively into contact with a printing material
    • B41J2/01Ink jet
    • B41J2/135Nozzles
    • B41J2/165Prevention or detection of nozzle clogging, e.g. cleaning, capping or moistening for nozzles
    • B41J2/16517Cleaning of print head nozzles
    • B41J2/1652Cleaning of print head nozzles by driving a fluid through the nozzles to the outside thereof, e.g. by applying pressure to the inside or vacuum at the outside of the print head
    • B41J2/16532Cleaning of print head nozzles by driving a fluid through the nozzles to the outside thereof, e.g. by applying pressure to the inside or vacuum at the outside of the print head by applying vacuum only
    • BPERFORMING OPERATIONS; TRANSPORTING
    • B41PRINTING; LINING MACHINES; TYPEWRITERS; STAMPS
    • B41JTYPEWRITERS; SELECTIVE PRINTING MECHANISMS, i.e. MECHANISMS PRINTING OTHERWISE THAN FROM A FORME; CORRECTION OF TYPOGRAPHICAL ERRORS
    • B41J2/00Typewriters or selective printing mechanisms characterised by the printing or marking process for which they are designed
    • B41J2/005Typewriters or selective printing mechanisms characterised by the printing or marking process for which they are designed characterised by bringing liquid or particles selectively into contact with a printing material
    • B41J2/01Ink jet
    • B41J2/135Nozzles
    • B41J2/165Prevention or detection of nozzle clogging, e.g. cleaning, capping or moistening for nozzles
    • B41J2/16517Cleaning of print head nozzles
    • B41J2/16535Cleaning of print head nozzles using wiping constructions
    • B41J2/16538Cleaning of print head nozzles using wiping constructions with brushes or wiper blades perpendicular to the nozzle plate
    • BPERFORMING OPERATIONS; TRANSPORTING
    • B41PRINTING; LINING MACHINES; TYPEWRITERS; STAMPS
    • B41JTYPEWRITERS; SELECTIVE PRINTING MECHANISMS, i.e. MECHANISMS PRINTING OTHERWISE THAN FROM A FORME; CORRECTION OF TYPOGRAPHICAL ERRORS
    • B41J2/00Typewriters or selective printing mechanisms characterised by the printing or marking process for which they are designed
    • B41J2/005Typewriters or selective printing mechanisms characterised by the printing or marking process for which they are designed characterised by bringing liquid or particles selectively into contact with a printing material
    • B41J2/01Ink jet
    • B41J2/135Nozzles
    • B41J2/165Prevention or detection of nozzle clogging, e.g. cleaning, capping or moistening for nozzles
    • B41J2/16517Cleaning of print head nozzles
    • B41J2/16535Cleaning of print head nozzles using wiping constructions
    • B41J2/16544Constructions for the positioning of wipers
    • BPERFORMING OPERATIONS; TRANSPORTING
    • B41PRINTING; LINING MACHINES; TYPEWRITERS; STAMPS
    • B41JTYPEWRITERS; SELECTIVE PRINTING MECHANISMS, i.e. MECHANISMS PRINTING OTHERWISE THAN FROM A FORME; CORRECTION OF TYPOGRAPHICAL ERRORS
    • B41J2/00Typewriters or selective printing mechanisms characterised by the printing or marking process for which they are designed
    • B41J2/005Typewriters or selective printing mechanisms characterised by the printing or marking process for which they are designed characterised by bringing liquid or particles selectively into contact with a printing material
    • B41J2/01Ink jet
    • B41J2/135Nozzles
    • B41J2/165Prevention or detection of nozzle clogging, e.g. cleaning, capping or moistening for nozzles
    • B41J2/16517Cleaning of print head nozzles
    • B41J2/16535Cleaning of print head nozzles using wiping constructions
    • B41J2/16541Means to remove deposits from wipers or scrapers

Definitions

  • the present invention relates to an ink jet recording apparatus.
  • Patent Document 1 discloses a cleaning in which an elastic blade for scraping paper dust and dust around a nozzle of a recording head of an ink jet recording apparatus is combined with a suction unit that sucks bubbles and thickened / fixed ink inside the nozzle.
  • a mechanism is disclosed. This cleaning mechanism sucks air bubbles and thickened / fixed ink mixed inside the nozzle while scraping paper dust and dust adhering to the periphery of the nozzle while moving the elastic blade and the suction part in the nozzle row direction. .
  • a sealing portion for sealing wiring exists on the nozzle forming surface of the recording head. Since the sealing part protrudes from the nozzle formation surface, a step is generated between the sealing part and the nozzle formation surface.
  • One of the objects of the present invention is to provide an ink jet recording apparatus capable of more reliably cleaning the nozzle surface of a line type recording head in which a plurality of nozzle chips are regularly arranged.
  • the ink jet recording apparatus of the present invention is an ink jet recording apparatus having a recording head in which a plurality of nozzle chips having nozzle rows are arranged on a common surface, and cleaning the chip mounting surface of the recording head including the nozzle surface by wiping.
  • the present invention it is possible to more reliably clean the nozzle forming surface of a line type recording head in which a plurality of nozzle chips are regularly arranged.
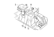
  • FIG. 1 is a perspective view of a main part of a recording apparatus according to an embodiment of the present invention. Sectional drawing of the principal part of a recording device.
  • FIG. 3 is a cross-sectional view illustrating a state during a cleaning operation of the recording apparatus.
  • FIG. 3 is a side view showing a structure of a recording head.
  • Front view showing the structure of the recording head
  • the front view which shows the structure of a nozzle tip.
  • Sectional drawing which shows the structure of a nozzle tip.
  • the elements on larger scale which show the positional relationship of a nozzle tip and a suction nozzle.
  • the perspective view which shows the structure of a cleaning mechanism.
  • the perspective view which shows the structure of a cleaning mechanism.
  • blade The perspective view which shows the operation
  • movement The figure which shows the state of the positioning member and head positioning member at the time of cleaning operation
  • movement. 6 is a flowchart showing the operation of the cleaning mechanism in the first embodiment.
  • FIG. 9 is a flowchart showing the operation of the cleaning mechanism in the second embodiment.
  • FIG. 1 is a perspective view illustrating a configuration of a main part centering on a recording unit of a recording apparatus according to an embodiment
  • FIG. 2 is a cross-sectional view illustrating a cross-sectional structure of the apparatus of FIG.
  • FIG. 3 is a cross-sectional view showing a state during the cleaning operation.
  • the ink jet recording apparatus of the present embodiment is a line printer that performs printing while continuously transporting a sheet in the transport direction (first direction) using a long line head.
  • a holder for holding a sheet 4 such as continuous paper wound in a roll shape, a transport mechanism 7 for transporting the sheet 4 in a first direction at a predetermined speed, and a recording unit 3 for recording the sheet 4 with a line head are provided.
  • the sheet is not limited to a continuous roll sheet, and may be a cut sheet.
  • the recording apparatus 1 includes a cleaning unit 6 that cleans the nozzle surface of the recording head by wiping.
  • a cutter unit for cutting the sheet 4 a drying unit for forcibly drying the sheet, and a discharge tray are provided downstream of the recording unit 3 along the sheet conveyance path.
  • the recording unit 3 includes a plurality of recording heads 2 corresponding to different ink colors. In this example, four recording heads corresponding to four colors of CMYK are used, but the number of colors is not limited to this. Each color ink is supplied from the ink tank to the recording head 2 via an ink tube.
  • the plurality of recording heads 2 are integrally held by a head holder 5 and have a mechanism for moving the head holder 5 up and down so that the distance between the plurality of recording heads 2 and the surface of the sheet 4 can be changed.
  • the head holder 5 has a mechanism that translates the head holder 5 in a direction that intersects the first direction horizontally (second direction).
  • the cleaning unit 6 has a plurality (four) of cleaning mechanisms 9 corresponding to a plurality (four) of the recording heads 2. Details of each cleaning mechanism 9 will be described later.
  • the cleaning unit 6 is configured to be slidable in the first direction by a drive motor (not shown). 1 and 2 show a state during recording.
  • the cleaning unit 6 is located downstream of the recording unit 3 in the sheet conveying direction.
  • FIG. 3 shows a state during the cleaning operation, and the cleaning unit 6 is located immediately below the recording head 2 of the recording unit 3. 2 and 3, the movable range of the cleaning unit 6 is indicated by an arrow.
  • the recording head 2 is a line-type recording head in which an inkjet nozzle row is formed in a range that covers the maximum width of a sheet that is assumed to be used.
  • the arrangement direction of the nozzle rows is a direction (second direction) intersecting the first direction, for example, a direction orthogonal to the first direction.
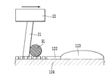
  • a plurality of nozzle chips 120 are arranged along the longitudinal direction (second direction) on the base substrate 124 (on the common surface). As shown in FIG.
  • a plurality (12 in this example) of nozzle chips 120 having the same size and the same structure are regularly provided over the entire longitudinal direction in a two-row staggered arrangement. That is, in the recording head 2, a plurality of first nozzle chips and a plurality of second nozzle chips each having a nozzle row are arranged along the longitudinal direction (second direction) as different rows and adjacent to each other. The first nozzle tip and the second nozzle tip are displaced in the longitudinal direction. Adjacent first nozzle chips and second nozzle chips are partially overlapped in the second direction in the nozzle rows included therein.
  • the nozzle chip 120 includes a nozzle surface 122 on which a plurality of nozzle rows 121 for discharging ink is formed, and has a nozzle substrate in which energy elements formed corresponding to the respective nozzles are embedded. A plurality (four in this example) of nozzle rows 121 are arranged in parallel in four rows in the first direction.
  • the nozzle substrate of the nozzle chip 120 is provided on the base substrate 124.
  • the nozzle substrate and the base substrate 124 are connected by an electrical connection portion, and the electrical connection portion is covered with a sealing portion 123 made of a resin material, and is protected from corrosion and disconnection. As shown in FIG.
  • the sealing portion 123 when the nozzle surface 122 is viewed from the side, the sealing portion 123 is formed on the base substrate 124 and protrudes in the ink ejection direction (referred to as the third direction) from the nozzle surface 122. It is a convex part.
  • the sealing portion 123 is provided in the vicinity of the two end portions of the nozzle surface 122 in the nozzle row formation direction (second direction). As described above, the sealing portion 123 has a shape proximate to the plurality of nozzle rows 121 and protruding so as to protrude from the nozzle surface 122 with a gentle step in the ink ejection direction.
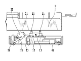
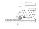
  • FIG. 7 and 8 are perspective views showing detailed configurations of the cleaning unit 6 and one cleaning mechanism 9.
  • FIG. 7 shows a state in which the cleaning mechanism is under the recording head 2 (during a cleaning operation)
  • FIG. 8 shows the cleaning mechanism 9 in a state where the recording head 2 is not present.
  • the cleaning unit 6 is provided with a cleaning mechanism 9, a cap 51 and a positioning member 71.
  • the cleaning mechanism 9 includes a cleaning unit 46 that wipes ink and dust adhering to the nozzle surface of the recording head 2, and a moving mechanism that moves the cleaning unit 46 in the cleaning direction (longitudinal direction of the recording head, that is, the second direction). And a frame 47 that supports them integrally.
  • the cleaning unit 46 is a unit in which a wiper blade and a suction nozzle, which will be described later, are movable.
  • the moving mechanism reciprocates the cleaning unit 46 guided and supported by the two shafts 45 in the longitudinal direction of the recording head 2 by driving the driving source.
  • the drive source includes a drive motor 41 and reduction gears 42 and 43, and rotates the drive shaft 37. The rotation of the drive shaft 37 is transmitted by the belt 44 and the pulley to move the cleaning unit 46.
  • the cleaning unit 46 removes ink and dust on the nozzle surface of the recording head 2 by a combination of a blade and a suction nozzle, as will be described later.
  • a trigger lever 27 is provided outside the cleaning region of the frame 47 in order to switch the direction of the blade 21 described later.
  • the cap 51 is held by the cap holder 52.
  • the cap holder 52 is urged by a spring which is an elastic body in a direction perpendicular to the nozzle surface of the recording head 2 and can move against the spring.
  • the recording head 2 moves in the direction perpendicular to the nozzle surface, and is brought into close contact with and separated from the cap 51.
  • the positioning member 71 is in contact with a head positioning member 81 (not shown) provided in the head holder 5 (described in FIG. 15) during the cleaning operation and capping, so that the recording head 2 and the cleaning unit 6 in the first direction and second direction.
  • the positional relationship in the direction and the direction perpendicular to the nozzle surface (third direction) is determined.
  • FIG. 9 is a diagram showing the configuration of the cleaning unit 46.
  • Two suction nozzles 11 as suction means are provided corresponding to the first and second nozzle chip rows.
  • the two suction nozzles 11 have the same interval as the interval between the two nozzle chip rows in the first direction.
  • the two suction nozzles 11 have the same or substantially the same amount of displacement (predetermined distance) between adjacent nozzle chips in the two nozzle chip rows in the second direction.
  • the suction nozzle 11 is held by a suction holder 12, and the suction holder 12 is urged by a spring 14 that is an elastic body in a direction perpendicular to the nozzle surface of the recording head 2 (third direction). It can move in the direction.
  • This displacement mechanism is for absorbing the movement of the moving suction nozzle 11 over the sealing portion 123. Details will be described later.
  • a tube 15 is connected to the two suction nozzles 11 via a suction holder 12.
  • a decompression means such as a suction pump is connected to the tube 15.
  • the inside of the suction nozzle 11 is decompressed in order to suck ink and dust.
  • a total of four blades 21 are held by the blade holder 22, two on each of the left and right blades 21.
  • the blade holder 22 is pivotally supported at both ends in the first direction, and is configured to be rotatable about the first direction as a rotation axis. Normally, the blade holder 22 is biased by a spring 25 against a stopper 26.
  • the blade 21 can switch the direction of the blade surface between a cleanable cleaning position and a retracted position by an operation of a switching mechanism described later.
  • the suction holder 12 and the blade holder 22 are installed on a common support for the cleaning unit 46.
  • FIG. 6 is a virtual partial enlarged view showing the relative positional relationship between the nozzle tip 120 of the recording head and the suction nozzle 11.
  • a nozzle chip 120 and a nozzle chip 120 adjacent to the nozzle chip 120 in an adjacent row are arranged apart from each other by a predetermined distance Lh in the second direction.
  • the two suction nozzles 11 include a first suction nozzle 11 a corresponding to the first nozzle chip row 125 and a second suction nozzle 11 b corresponding to the second nozzle chip row 126.
  • the first suction nozzle 11a and the second suction nozzle 11b are spaced apart by the same distance as the distance between the first nozzle chip row 125 and the second nozzle chip row 126 (the distance between the centers). ing.
  • the first suction nozzle 11a and the second suction nozzle 11b are arranged so that the openings of the suction nozzles are located in a range that covers a plurality of nozzle rows included in the corresponding nozzle chip 120 in the first direction.
  • the first suction nozzle 11a and the second suction nozzle 11b are arranged so as to be separated from each other by a distance Lc in the second direction.
  • the displacement distance Lh of the nozzle tip 120 and the displacement distance Lc of the suction nozzle are equal.
  • the term “equal” here is not limited to exactly matching, but also includes substantially equality.
  • the expression “equal” has the same meaning.
  • the term “substantially equal” means that there is a moment when the first suction nozzle 11a and the second suction nozzle 11b simultaneously contact the sealing portion 123a and 123b.
  • the displacement distance Lh and the displacement distance Lc are equal to the extent that the two suction nozzles do not touch the sealing portions of the corresponding nozzle chips at the same time.
  • the first suction unit and the second suction unit are displaced in the second direction in correspondence with the shift in the second direction between adjacent first nozzle chips and second nozzle chips in different rows. It has become.
  • Both the first suction nozzle 11a and the second suction nozzle 11b have a width Dc in the second direction.
  • the width Dc is a range that covers a part of the nozzle row in the second direction, and corresponds to several to several tens of nozzles.
  • the interval between the adjacent nozzle chips (first nozzle chip and second nozzle chip) 120 in the same row is a distance. Dh.
  • the width Dc and the distance Dh are compared, the relationship of Dc ⁇ Dh is satisfied.
  • a cleaner holder 31 is provided at a position facing the cleaning unit 46 outside the cleaning region.
  • the cleaner holder 31 holds a blade cleaner 30 for scraping off ink adhering to the blade 21 when the recording head 2 is wiped.
  • a release lever 28 is rotatably supported by the cleaner holder 31 while being biased by the tension of the spring 29. The release lever 28 is provided at a position where it can come into contact with the contact portion 23.
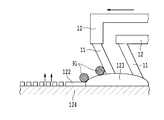
  • FIG. 10A shows the state of the blade 21 when wiping the nozzle surface.
  • the blade holder 22 has a normal orientation, and the blade 21 has a blade surface that is perpendicular to the nozzle surface of the recording head 2 (cleaning position).
  • the tip of the blade 21 is closer to the nozzle surface of the recording head 2 than the tip of the suction nozzle 11.
  • the cleaning unit 46 moves in the direction of arrow A in FIG. 10A, the blade 21 comes into contact with the blade cleaner 30, and ink and dust attached to the blade 21 are scraped off by the blade cleaner 30.
  • the contact portion 23 of the cleaning unit 46 contacts the inclined surface of the release lever 28, and the inclined surface of the release lever 28 is pressed by the contact portion 23 and gradually rotates against the bias of the spring 29. Move.
  • the contact portion 23 passes the slope of the release lever 28, the release lever 28 returns to the original state by the bias of the spring 29.
  • FIG. 10B shows a state where the cleaning of the blade 21 is completed.
  • the contact portion 23 contacts the end surface of the release lever 28. Even if the release lever 28 is pushed from this direction, the release lever 28 is fixed by the locking portion of the cleaner holder 31 and does not rotate. Therefore, the contact portion 23 is pushed by the release lever 28, and the blade holder 22 rotates in the direction opposite to the moving direction of the cleaning unit 46 against the urging force of the spring 25.
  • the tensile force of the spring 25 works as a force in a direction to maintain the rotated state.
  • FIG. 10C shows a state as a result of rotating the blade holder 22.
  • the blade holder 22 is inclined and the blade 21 is inclined (retracted position) with the blade surface inclined with respect to the nozzle surface of the recording head 2.
  • the tip of the blade 21 is located farther from the nozzle surface than the previous cleaning position, and is not in contact with the nozzle surface. That is, in the third direction, the tip of the suction nozzle 11 (the part closest to the nozzle surface of the suction means) is located between the position of the blade tip at the cleaning position and the position of the blade tip at the retracted position. It is a positional relationship.
  • FIGS. 11A and 11B The operation of switching the blade 21 from the retracted position to the cleaning position will be described with reference to FIGS. 11A and 11B.
  • the cleaning unit 46 moves in the direction of the arrow.
  • the abutting portion 23 of the blade holder 22 abuts on the distal end portion of the trigger lever 27 fixed to the frame 47.
  • the blade holder 22 is rotated by being pressed by the trigger lever 27, and the blade 21 moves to the cleaning position shown in FIG.
  • FIG. 12A and 12B are side views for explaining the operation of the cleaning mechanism.
  • FIG. 12A shows the state of the suction mode in which the recording head 2 is cleaned by the suction nozzle 11.
  • FIG. 12B shows a wiping mode in which the recording head 2 is cleaned by the blade 21.
  • the blade 21 is moved to the retracted position as shown in FIG. 12A.
  • the position (suction mode position) in the third direction of the recording head 2 is set and held so that the tip of the suction nozzle 11 and the nozzle surface of the recording head 2 are in contact with each other.
  • the cleaning unit 46 is moved in the longitudinal direction (second direction) while the suction nozzle 11 is decompressed by the decompression means, the ink and dust adhering to the nozzle can be sucked and removed from the suction nozzle 11.
  • the suction nozzle 11 is pushed in the third direction by the sealing portion 123 protruding from the nozzle surface from the recording head 2.
  • the suction holder 12 can be displaced in the direction of escape (third direction) with respect to the nozzle surface, so that even if the suction nozzle 11 is pushed, the movement of the suction holder 12 is changed. Can be escaped by. Note that it is not essential to bring the suction nozzle 11 into contact with the nozzle surface during suction cleaning. Suction can also be achieved by reducing the pressure in a state close to a very close position without contact. That is, in the suction mode, the suction nozzle 11 and the nozzle surface may be brought close to each other (including contact).
  • the timing at which the first suction nozzle 11a and the second suction nozzle 11b face the sealing portion 123 of the corresponding nozzle chip 120 is equal. Thereafter, the timing at which the first suction nozzle 11a and the second suction nozzle 11b face the nozzle rows included in the first and second nozzle chips 120 is also equal.
  • the suction nozzle 11 rides on the level difference of the sealing portion 123, a force in a direction for tilting the suction nozzle 11 is applied to the suction holder 12 via the suction nozzle 11 and tilts. Further, during the ride, the suction nozzle 11 is pressed and displaced in the third direction.
  • the timing at which the first suction nozzle 11a and the second suction nozzle 11b ride on the sealing portions 123 in each row is substantially the same, the timing at which the suction holder 12 is tilted by these two suction nozzles is substantially the same.
  • the timing at which the first suction nozzle 11a and the second suction nozzle 11b are pushed in the third direction is substantially the same. Therefore, the suction holder 12 is not tilted or pushed in while the first suction nozzle 11a and the second suction nozzle 11b are sucking, so that suction is not unstable. For the above reasons, the nozzle cleaning reliability is improved.
  • the cleaning unit 46 In the suction mode (second cleaning means), the cleaning unit 46 is reciprocated in the second direction by the moving mechanism, and the pressure inside the suction nozzle 11, that is, the suction force is reduced between the backward movement and the forward movement. Means are controlled. Specifically, the pressure during the backward movement is reduced more than the pressure during the forward movement. Further, in the suction mode, the cleaning unit 46 reciprocates in the second direction, and the moving speed differs between the backward movement and the forward movement. Specifically, the speed during the backward movement is lower than that during the forward movement. When sucking back and forth, most of the ink and dust is absorbed in the first return path, and only a small amount of remaining ink and dust is removed in the next return path.
  • the suction pressure is increased more reliably in the first operation by increasing the pressure reduction value / decreasing the moving speed and moving it slowly than in the forward path.
  • the blade 21 is switched to the cleaning position as shown in FIG. 12B.
  • the position (wiping mode position) of the recording head 2 in the third direction is set and held so that the tip of the blade 21 and the nozzle surface of the recording head 2 are in proper contact. At this time, the tip of the suction nozzle 11 and the nozzle surface of the recording head 2 are separated from the state of FIG. 12A.
  • the decompression means stops.
  • the cleaning unit 46 is moved in the second direction, the nozzle surface can be wiped by the blade 21 to remove ink and dust.
  • the cleaning mechanism has two modes of the wiping mode and the suction mode, and the same cleaning unit 46 can selectively perform any mode in each cleaning direction.
  • FIG. 13 is a perspective view of a positioning member 71 provided in the cleaning unit 6, and FIG. 14 is a side view of the positioning member 71.
  • the positioning member 71 has a first third-direction contact surface 73, a second third-direction contact surface 74, and a third third-surface provided at different heights in the direction perpendicular to the nozzle surface (third direction).
  • a three-direction contact surface 72 is provided. Further, it has first direction contact surfaces 76 and 77 that contact the head positioning member 81 in the first direction, and a second direction contact surface 75 that contacts in the second direction.
  • FIG. 15A shows the positional relationship between the positioning member 71 and the head positioning member 81 during capping (capping position).
  • FIG. 15B shows the positional relationship between the positioning member 71 and the head positioning member 81 in the suction mode (suction mode position).
  • FIG. 15C shows the positional relationship between the positioning member 71 and the head positioning member 81 in the wiping mode (wiping mode position).
  • the positioning member 71 provided in the cleaning unit 6 at the capping position is in contact with the head positioning member 81 provided on the head holder 5 in the first direction in the first direction and the second direction in the second direction. It is in contact with the direction contact surface 75. Further, in the third direction, it is in contact with the third third direction contact surface 72, thereby determining the positional relationship between the recording head 2 and the cleaning unit 6.
  • the recording head 2 is in close contact with the cap 51, and capping the nozzle surface suppresses the drying of the nozzle.
  • the positioning member 71 in the suction mode position, the positioning member 71 is in contact with the head positioning member 81 in the first direction with the first direction contact surface 77, and in the third direction, with the first third direction contact surface 73. It is in contact.
  • the tip of the suction nozzle 11 and the nozzle surface of the recording head 2 are in contact with each other.
  • the cleaning unit 46 is moved in the second direction while reducing the pressure inside the suction nozzle 11 by the pressure reducing means, the ink and dust adhering to the nozzle can be sucked from the suction nozzle 11 and removed.
  • the positioning member 71 contacts the head positioning member 81 with the first direction contact surface 77 in the first direction, and in the third direction with the second third direction contact surface 74. It is in contact.
  • the tip of the blade 21 and the nozzle surface of the recording head 2 are in proper contact with each other at the wiping mode position and the cleaning unit 46 is moved in the second direction, the nozzle surface is wiped by the blade 21 to wipe ink and dust. And can be removed.
  • the first embodiment is characterized in that the suction mode is performed after the wiping mode is performed, and the moving direction (cleaning direction) of the cleaning unit 46 is different between the wiping mode and the suction mode. That is, the movement direction of the cleaning unit 46 in the wiping mode is selected as the second direction forward path (first cleaning direction), and the movement direction of the cleaning unit 46 in the suction mode is determined as the second direction return path (second cleaning direction). Select.
  • the forward path in the second direction is the direction of the arrow A illustrated in FIG. 10A
  • the backward path in the second direction is the direction of the arrow B illustrated in FIG. 10B.
  • wiping wiping can be performed only in the forward path (first cleaning direction) due to the restriction of the switching mechanism.
  • the blade when wiping is performed in the return path (second cleaning direction), the blade returns to the retracted position due to the frictional force between the blade and the nozzle surface. Therefore, when the suction mode is wiped in the return path, the movement time of the wiper unit can be shortened.
  • FIG. 16 shows a flowchart of the cleaning operation in the first embodiment.
  • the blade 21 is switched to the cleaning position as shown in FIG. 12B (S101). As shown in FIG. 15C, the positioning member 71 and the head positioning member 81 are held at the wiping mode position (S102). The cleaning unit 46 is moved in the outward direction in the second direction, and the wiping mode is performed (S103). The nozzle 21 and the base substrate 124, which is the chip mounting surface, are wiped by the blade 21, and ink and dust are wiped away. As a result, the nozzle surface can be cleaned without consuming ink from the nozzles. To implement the suction mode, the blade 21 is switched to the retracted position as shown in FIG. 12A (S104). As shown in FIG.
  • the positioning member 71 and the head positioning member 81 are held at the suction mode position (S105).
  • the cleaning unit 46 is moved to the return path in the second direction to implement the suction mode (S107).
  • the suction nozzle 11 sucks ink and dust adhering to the nozzle surface and the nozzle. Accordingly, cleaning can be performed while suppressing ink consumption from the nozzles.
  • FIG. 17A is a diagram illustrating a state before the blade 21 reaches the sealing portion from the nozzle surface in the first embodiment.
  • FIG. 17A is a diagram illustrating a state in which the blade 21 wipes the nozzle surface 122 at the boundary between the nozzle surface 122 and the sealing portion 123 of FIG. 5B.
  • the cleaning unit 46 is shown upside down.
  • the blade holder 22 is moving at a rate of 5 inches / sec in the outward path in the second direction (right direction in FIG. 17A).
  • the ink / dust 91 moves on the nozzle surface 122 while being in contact with the blade 21 and the nozzle surface 122, so that the ink / dust 91 attached to the nozzle surface 122 can be removed.
  • FIG. 17B is a diagram illustrating a state after the blade 21 reaches the sealing portion from the nozzle surface in the first embodiment.
  • FIG. 17B is a diagram illustrating a state in which the blade 21 wipes the sealing portion 123 at the boundary portion between the nozzle surface 122 and the sealing portion 123 in FIG. 5B.
  • the blade holder 22 is moving at a rate of 5 inches / sec on the outward path in the second direction (right direction in FIG. 17B). Since the nozzle surface 122 and the sealing portion 123 have a level difference after reaching the sealing portion from the nozzle surface, a part of the ink / dust 91 adhering to the nozzle surface 122 is formed between the nozzle surface 122 and the sealing portion 123. Adhere to the boundary. Other ink / dust 91 moves in the sealing portion 123 while contacting the blade 21 and the sealing portion 123.
  • FIG. 18A is a diagram showing a state before the suction means reaches the nozzle surface from the sealing portion in the first embodiment.
  • 18A is a diagram illustrating a state where the suction nozzle 11 wipes the sealing portion 123 at the boundary portion between the nozzle surface 122 and the sealing portion 123 of FIG. 5B.
  • the suction holder 12 moves at 0.5 inch / sec on the return path in the second direction (left direction in FIG. 18A).
  • the ink / dust 91 is attached to the boundary portion between the nozzle surface 122 and the sealing portion 123.
  • FIG. 18B is a diagram illustrating a state after the suction nozzle 11 reaches the nozzle surface 122 from the sealing portion 123 in the first embodiment.
  • 18B is a diagram illustrating a state where the suction nozzle 11 wipes the nozzle surface 122 at the boundary between the nozzle surface 122 and the sealing portion 123 of FIG. 5B.
  • the suction holder 12 is moving at 0.5 inch / sec in the return path in the second direction (left direction in FIG. 18B). After moving from the sealing portion 123 to the nozzle surface 122, the ink / dust 91 adhering to the boundary portion between the nozzle surface 122 and the sealing portion 123 is scraped off by the suction nozzle 11.
  • a part of the scraped ink / dust 91 is sucked together with the ink / bubbles drawn from the nozzle by the pressure reduction inside the suction nozzle 11.
  • Other ink / dust 91 moves on the nozzle surface 122 while contacting the suction nozzle 11 and the nozzle surface 122.
  • the wiping mode and the suction mode are used together.
  • the suction mode is performed twice, and the moving direction (cleaning direction) of the cleaning unit 46 is made different between the first suction mode and the second suction mode. That is, the moving direction of the cleaning unit 46 in the first suction mode selects the second direction, and the moving direction of the cleaning unit 46 in the second suction mode selects the second direction.
  • the moving direction of the cleaning unit 46 in the first suction mode selects the second direction
  • the moving direction of the cleaning unit 46 in the second suction mode selects the second direction.
  • FIG. 19 shows a flowchart of the cleaning operation in the second embodiment.
  • the blade 21 is switched to the retracted position as shown in FIG. 12A (S201).
  • the positioning member 71 and the head positioning member 81 are held at the suction mode position (S202).
  • the cleaning unit 46 is moved to the return path in the second direction to implement the first suction mode (S204).
  • the suction nozzle 11 sucks ink and dust adhering to the nozzle surface and the nozzle.
  • the cleaning unit 46 is moved to the outward path in the second direction to implement the second suction mode (S205).
  • the ink consumption is larger than that in the first embodiment, cleaning can be performed with priority given to the recoverability of the nozzles.
  • FIG. 20A is a diagram illustrating a state before the suction nozzle 11 reaches the sealing portion 123 from the nozzle surface 122 in the second embodiment.
  • 20A is a diagram illustrating a state in which the suction nozzle 11 cleans the nozzle surface 122 at the boundary between the nozzle surface 122 and the sealing portion 123 in FIG. 5B.
  • the cleaning unit 46 is shown upside down.
  • the suction holder 12 is moving at 0.5 inch / sec in the outward path in the second direction (right direction in FIG. 20A).
  • the ink / dust 91 moves on the nozzle surface 122 while being in contact with the suction nozzle 11 and the nozzle surface 122, so that the ink / dust 91 attached to the nozzle surface 122 can be removed. Further, since the suction nozzle 11 can suck a part of the ink / dust 91 together with the ink drawn from the nozzle, the absolute amount of the ink / dust 91 can be reduced as compared with the case of the first embodiment.
  • FIG. 20B is a diagram illustrating a state after the suction nozzle 11 reaches the sealing portion 123 from the nozzle surface 122 in the second embodiment.
  • 20B is a diagram illustrating a state in which the suction nozzle 11 has cleaned the sealing portion 123 at the boundary portion between the nozzle surface 122 and the sealing portion 123 of FIG. 5B.
  • the suction holder 12 is moving at 0.5 inch / sec in the outward path in the second direction (right direction in FIG. 21A). Since the nozzle surface 122 and the sealing portion 123 have a level difference after reaching the sealing portion from the nozzle surface, a part of the ink / dust 91 adhering to the nozzle surface 122 is formed between the nozzle surface 122 and the sealing portion 123. Adhere to the boundary. Other ink / dust 91 moves through the sealing portion 123 while contacting the suction nozzle 11 and the sealing portion 123.
  • FIG. 21A is a diagram illustrating a state before the suction nozzle 11 reaches the nozzle surface 122 from the sealing portion 123 in the second embodiment.
  • FIG. 21A is a diagram illustrating a state where the suction nozzle 11 cleans the sealing portion 123 at the boundary portion between the nozzle surface 122 and the sealing portion 123 of FIG. 5B.
  • the suction holder 12 moves at 0.5 inch / sec in the return path in the second direction (left direction in FIG. 21A).
  • the ink / dust 91 is attached to the boundary between the nozzle surface 122 and the sealing portion 123 before reaching the nozzle surface from the sealing portion.
  • FIG. 21B is a diagram illustrating a state after the suction nozzle 11 reaches the nozzle surface 122 from the sealing portion 123 in the second embodiment.
  • FIG. 21B is a diagram illustrating a state where the suction nozzle 11 wipes the nozzle surface 122 at the boundary between the nozzle surface 122 and the sealing portion 123 of FIG. 5B.
  • the suction holder 12 is moving at 0.5 inch / sec on the return path in the second direction (left direction in FIG. 21B). After reaching the nozzle surface 122 from the sealing portion 123, the ink / dust 91 adhering to the boundary between the nozzle surface 122 and the sealing portion 123 is scraped off by the suction nozzle 11.
  • a part of the scraped ink / dust 91 is sucked together with the ink / bubbles pulled out from the nozzle by the pressure reduction in the suction nozzle 11.
  • Other ink / dust 91 moves on the nozzle surface 122 while contacting the suction nozzle 11 and the nozzle surface 122.
  • the wiping mode is described as 5 inch / sec, and the suction mode is described as 0.5 inch / sec.
  • the wiping speed is not limited to this value.
  • the wiping speed since the correlation between the wiping speed and the ink / dust removal property is low, the wiping speed is preferably as fast as possible from the viewpoint of throughput.
  • the suction mode the correlation between the wiping speed and the ink / dust removal performance is high (the slower the wiping speed, the more ink is drawn from the nozzle and the higher the nozzle recovery performance). Is as late as possible.
  • the recording head 2 includes a plurality of first nozzle chips each having a nozzle row and a plurality of second nozzle chips arranged in the second direction as different rows, and adjacent first nozzle chips.
  • the second nozzle tip has a positional relationship shifted in the second direction.
  • a part of nozzle row contained in the adjacent 1st nozzle chip and the 2nd nozzle chip overlaps in the 2nd direction.
  • the present invention is not limited to this, and a system in which the recording head moves with respect to the cleaning unit to perform cleaning. It may be. That is, the present invention can be applied to a recording apparatus having an ink suction unit that is opposed to a part of nozzles of a nozzle array of a recording head and is relatively moved along the nozzle array forming direction. .
  • the blade can be cleaned only in the first cleaning direction.
  • the blade can also be implemented in the second cleaning direction.
  • blade and a suction nozzle in common was demonstrated, it is also possible to provide the moving means to move separately.

Landscapes

  • Ink Jet (AREA)
PCT/JP2012/000919 2011-02-10 2012-02-10 インクジェット記録装置 Ceased WO2012108216A1 (ja)

Priority Applications (2)

Application Number Priority Date Filing Date Title
CN201280007777.XA CN103370202B (zh) 2011-02-10 2012-02-10 喷墨打印装置
US13/569,344 US20120299996A1 (en) 2011-02-10 2012-08-08 Ink jet printing apparatus

Applications Claiming Priority (2)

Application Number Priority Date Filing Date Title
JP2011-027195 2011-02-10
JP2011027195A JP5858622B2 (ja) 2011-02-10 2011-02-10 インクジェット記録装置

Related Child Applications (1)

Application Number Title Priority Date Filing Date
US13/569,344 Continuation US20120299996A1 (en) 2011-02-10 2012-08-08 Ink jet printing apparatus

Publications (1)

Publication Number Publication Date
WO2012108216A1 true WO2012108216A1 (ja) 2012-08-16

Family

ID=46638436

Family Applications (1)

Application Number Title Priority Date Filing Date
PCT/JP2012/000919 Ceased WO2012108216A1 (ja) 2011-02-10 2012-02-10 インクジェット記録装置

Country Status (4)

Country Link
US (1) US20120299996A1 (enExample)
JP (1) JP5858622B2 (enExample)
CN (1) CN103370202B (enExample)
WO (1) WO2012108216A1 (enExample)

Families Citing this family (15)

* Cited by examiner, † Cited by third party
Publication number Priority date Publication date Assignee Title
JP5955053B2 (ja) 2012-03-28 2016-07-20 キヤノン株式会社 記録装置および記録装置の制御方法
US9676195B2 (en) * 2014-02-18 2017-06-13 Hewlett-Packard Development Company, L.P. Printhead wiping
JP6497024B2 (ja) 2014-05-21 2019-04-10 株式会社リコー 液滴吐出ヘッド回復機構
JP6700576B2 (ja) * 2015-10-09 2020-05-27 セイコーエプソン株式会社 液体噴射装置
JP2019018503A (ja) * 2017-07-20 2019-02-07 セイコーエプソン株式会社 液体噴射装置
CN107933094B (zh) * 2017-12-28 2023-07-28 深圳劲鑫科技有限公司 一种丝杠与气缸混合驱动式喷头清洗装置
JP7023774B2 (ja) 2018-04-11 2022-02-22 株式会社ミマキエンジニアリング インクジェットプリンター
JP7047611B2 (ja) 2018-06-07 2022-04-05 株式会社リコー 液体出力装置、メンテナンス制御方法およびプログラム
JP7242215B2 (ja) * 2018-08-10 2023-03-20 キヤノン株式会社 メンテナンス装置および液体吐出装置
JP7379038B2 (ja) 2018-10-04 2023-11-14 キヤノン株式会社 インクジェット記録方法、及びインクジェット記録装置
JP7379037B2 (ja) 2018-10-04 2023-11-14 キヤノン株式会社 インクジェット記録方法、及びインクジェット記録装置
JP7255199B2 (ja) 2019-01-24 2023-04-11 ブラザー工業株式会社 液体吐出装置
ES2952246T3 (es) * 2019-03-05 2023-10-30 Neos S R L Dispositivo de impresión digital con sistema de limpieza mejorado de placa de boquilla
JP7370772B2 (ja) * 2019-09-06 2023-10-30 東芝テック株式会社 クリーニング装置及び液体吐出記録装置
IT202200024624A1 (it) * 2022-11-29 2024-05-29 Atlantic Zeiser Gmbh Gruppo di pulizia per una testina di stampa drop-on-demand

Citations (8)

* Cited by examiner, † Cited by third party
Publication number Priority date Publication date Assignee Title
JPH05201012A (ja) * 1992-01-28 1993-08-10 Canon Inc インクジェット記録装置
JPH06135004A (ja) * 1992-10-26 1994-05-17 Canon Inc インクジェット記録装置
JPH07171967A (ja) * 1993-12-20 1995-07-11 Canon Inc インクジェット記録装置
JP2002019120A (ja) * 2000-07-10 2002-01-23 Canon Inc 液体噴射記録ヘッドおよびその製造方法
JP2006187948A (ja) * 2005-01-06 2006-07-20 Canon Inc インクジェット記録ヘッド
JP2007253408A (ja) * 2006-03-22 2007-10-04 Fujifilm Corp 液体吐出ヘッドの吐出回復装置並びにこれを備えた画像形成装置
JP2008254235A (ja) * 2007-04-02 2008-10-23 Fuji Xerox Co Ltd キャッピング機構及び液滴吐出装置
JP2011240550A (ja) * 2010-05-17 2011-12-01 Canon Inc 記録装置

Family Cites Families (21)

* Cited by examiner, † Cited by third party
Publication number Priority date Publication date Assignee Title
JP3305099B2 (ja) * 1994-03-22 2002-07-22 富士ゼロックス株式会社 インクジェット記録装置
JP3428254B2 (ja) * 1995-10-25 2003-07-22 セイコーエプソン株式会社 インクジェット式記録装置
JPH10157117A (ja) * 1996-12-02 1998-06-16 Canon Inc インクジェット記録ヘッド、インクジェット記録装置、および情報処理装置
JPH10324001A (ja) * 1997-05-23 1998-12-08 Tec Corp インクジェットプリンタ
JP2001001557A (ja) * 1999-06-23 2001-01-09 Copyer Co Ltd 回復装置及び回復方法
US7156485B2 (en) * 2002-03-14 2007-01-02 Sony Corporation Liquid discharge head, cleaning method thereof, and liquid discharge apparatus
JP3931698B2 (ja) * 2002-03-14 2007-06-20 ソニー株式会社 クリーニング部材及びヘッドクリーニング方法並びに画像形成装置
JP2004167928A (ja) * 2002-11-21 2004-06-17 Canon Inc インクジェット記録装置のブレード及びインクジェット記録ヘッド
US20040257396A1 (en) * 2003-06-19 2004-12-23 Toshiba Tec Kabushiki Kaisha Ink jet head cleaning apparatus and ink jet recording apparatus
JP2005022193A (ja) * 2003-07-01 2005-01-27 Canon Inc インクジェット記録装置
US7004559B2 (en) * 2003-12-08 2006-02-28 Scitex Vision Ltd. Method and apparatus for ink jet print head nozzle plate cleaning
JP2006150862A (ja) * 2004-11-30 2006-06-15 Olympus Corp インクジェット記録装置のメンテナンス機構
JP4939184B2 (ja) * 2005-12-15 2012-05-23 キヤノン株式会社 液体吐出ヘッドの製造方法
JP4724805B2 (ja) * 2006-01-19 2011-07-13 オリンパス株式会社 インクジェット記録装置
JP5157077B2 (ja) * 2006-04-03 2013-03-06 富士ゼロックス株式会社 液滴吐出装置
JP5073594B2 (ja) * 2007-09-04 2012-11-14 株式会社リコー 液体吐出ヘッドユニット及び画像形成装置
JP2009101578A (ja) * 2007-10-23 2009-05-14 Canon Inc インクジェット記録ヘッド及び、インクジェット記録装置
JP5104486B2 (ja) * 2008-04-02 2012-12-19 ブラザー工業株式会社 記録装置
JP5590852B2 (ja) * 2008-12-17 2014-09-17 キヤノン株式会社 液体吐出ヘッドカートリッジの液体充填方法、製造方法および製造装置
JP5436298B2 (ja) * 2009-06-03 2014-03-05 キヤノン株式会社 液体吐出記録ヘッド
JP5455575B2 (ja) * 2009-11-17 2014-03-26 キヤノン株式会社 記録装置

Patent Citations (8)

* Cited by examiner, † Cited by third party
Publication number Priority date Publication date Assignee Title
JPH05201012A (ja) * 1992-01-28 1993-08-10 Canon Inc インクジェット記録装置
JPH06135004A (ja) * 1992-10-26 1994-05-17 Canon Inc インクジェット記録装置
JPH07171967A (ja) * 1993-12-20 1995-07-11 Canon Inc インクジェット記録装置
JP2002019120A (ja) * 2000-07-10 2002-01-23 Canon Inc 液体噴射記録ヘッドおよびその製造方法
JP2006187948A (ja) * 2005-01-06 2006-07-20 Canon Inc インクジェット記録ヘッド
JP2007253408A (ja) * 2006-03-22 2007-10-04 Fujifilm Corp 液体吐出ヘッドの吐出回復装置並びにこれを備えた画像形成装置
JP2008254235A (ja) * 2007-04-02 2008-10-23 Fuji Xerox Co Ltd キャッピング機構及び液滴吐出装置
JP2011240550A (ja) * 2010-05-17 2011-12-01 Canon Inc 記録装置

Also Published As

Publication number Publication date
JP2012166374A (ja) 2012-09-06
US20120299996A1 (en) 2012-11-29
CN103370202A (zh) 2013-10-23
CN103370202B (zh) 2015-07-29
JP5858622B2 (ja) 2016-02-10

Similar Documents

Publication Publication Date Title
JP5858622B2 (ja) インクジェット記録装置
JP5455575B2 (ja) 記録装置
JP5665366B2 (ja) 記録装置
JP4752533B2 (ja) 液体噴射装置及び液体噴射ヘッドのメンテナンス方法
JP5261356B2 (ja) インクジェット記録装置
JP5538826B2 (ja) 記録装置
JP5927989B2 (ja) 画像形成装置
KR100788668B1 (ko) 잉크젯 화상형성장치
JP6178079B2 (ja) インクジェット記録装置
JP2005007711A (ja) 画像記録装置
JP6429635B2 (ja) インクジェット記録装置
CN105856845B (zh) 记录装置
JP6432264B2 (ja) 液体吐出装置
JP6379949B2 (ja) 液体吐出装置
JP6370213B2 (ja) 印刷装置および印刷装置のクリーニング方法
JP2010208268A (ja) インクジェット記録装置
JP2009190176A (ja) クリーニング装置、および液体噴射装置
JP5748431B2 (ja) インクジェット記録装置
JP2024080809A (ja) ワイパ機構
JP6319146B2 (ja) インクジェット記録装置
JP2025068255A (ja) ワイパ機構
JP2009172820A (ja) クリーニング装置、および液体噴射装置
JP2005169913A (ja) インクジェット記録ヘッド用クリーニング装置、およびインクジェット記録装置
JP2016175319A (ja) インクジェット記録装置
JP2010005874A (ja) 記録装置及びヘッドメンテナンス方法

Legal Events

Date Code Title Description
121 Ep: the epo has been informed by wipo that ep was designated in this application

Ref document number: 12745365

Country of ref document: EP

Kind code of ref document: A1

NENP Non-entry into the national phase

Ref country code: DE

122 Ep: pct application non-entry in european phase

Ref document number: 12745365

Country of ref document: EP

Kind code of ref document: A1