JP7635332B2 - 表示装置 - Google Patents
表示装置 Download PDFInfo
- Publication number
- JP7635332B2 JP7635332B2 JP2023172795A JP2023172795A JP7635332B2 JP 7635332 B2 JP7635332 B2 JP 7635332B2 JP 2023172795 A JP2023172795 A JP 2023172795A JP 2023172795 A JP2023172795 A JP 2023172795A JP 7635332 B2 JP7635332 B2 JP 7635332B2
- Authority
- JP
- Japan
- Prior art keywords
- layer
- oxide semiconductor
- oxide
- transistor
- crystal
- Prior art date
- Legal status (The legal status is an assumption and is not a legal conclusion. Google has not performed a legal analysis and makes no representation as to the accuracy of the status listed.)
- Active
Links
Images
Classifications
-
- G—PHYSICS
- G02—OPTICS
- G02F—OPTICAL DEVICES OR ARRANGEMENTS FOR THE CONTROL OF LIGHT BY MODIFICATION OF THE OPTICAL PROPERTIES OF THE MEDIA OF THE ELEMENTS INVOLVED THEREIN; NON-LINEAR OPTICS; FREQUENCY-CHANGING OF LIGHT; OPTICAL LOGIC ELEMENTS; OPTICAL ANALOGUE/DIGITAL CONVERTERS
- G02F1/00—Devices or arrangements for the control of the intensity, colour, phase, polarisation or direction of light arriving from an independent light source, e.g. switching, gating or modulating; Non-linear optics
- G02F1/01—Devices or arrangements for the control of the intensity, colour, phase, polarisation or direction of light arriving from an independent light source, e.g. switching, gating or modulating; Non-linear optics for the control of the intensity, phase, polarisation or colour
- G02F1/13—Devices or arrangements for the control of the intensity, colour, phase, polarisation or direction of light arriving from an independent light source, e.g. switching, gating or modulating; Non-linear optics for the control of the intensity, phase, polarisation or colour based on liquid crystals, e.g. single liquid crystal display cells
- G02F1/133—Constructional arrangements; Operation of liquid crystal cells; Circuit arrangements
- G02F1/1333—Constructional arrangements; Manufacturing methods
- G02F1/1345—Conductors connecting electrodes to cell terminals
- G02F1/13454—Drivers integrated on the active matrix substrate
-
- H—ELECTRICITY
- H10—SEMICONDUCTOR DEVICES; ELECTRIC SOLID-STATE DEVICES NOT OTHERWISE PROVIDED FOR
- H10D—INORGANIC ELECTRIC SEMICONDUCTOR DEVICES
- H10D30/00—Field-effect transistors [FET]
- H10D30/01—Manufacture or treatment
- H10D30/021—Manufacture or treatment of FETs having insulated gates [IGFET]
- H10D30/031—Manufacture or treatment of FETs having insulated gates [IGFET] of thin-film transistors [TFT]
-
- H—ELECTRICITY
- H10—SEMICONDUCTOR DEVICES; ELECTRIC SOLID-STATE DEVICES NOT OTHERWISE PROVIDED FOR
- H10D—INORGANIC ELECTRIC SEMICONDUCTOR DEVICES
- H10D30/00—Field-effect transistors [FET]
- H10D30/01—Manufacture or treatment
- H10D30/021—Manufacture or treatment of FETs having insulated gates [IGFET]
- H10D30/031—Manufacture or treatment of FETs having insulated gates [IGFET] of thin-film transistors [TFT]
- H10D30/0312—Manufacture or treatment of FETs having insulated gates [IGFET] of thin-film transistors [TFT] characterised by the gate electrodes
-
- H—ELECTRICITY
- H10—SEMICONDUCTOR DEVICES; ELECTRIC SOLID-STATE DEVICES NOT OTHERWISE PROVIDED FOR
- H10D—INORGANIC ELECTRIC SEMICONDUCTOR DEVICES
- H10D30/00—Field-effect transistors [FET]
- H10D30/60—Insulated-gate field-effect transistors [IGFET]
- H10D30/67—Thin-film transistors [TFT]
- H10D30/674—Thin-film transistors [TFT] characterised by the active materials
- H10D30/6755—Oxide semiconductors, e.g. zinc oxide, copper aluminium oxide or cadmium stannate
-
- H—ELECTRICITY
- H10—SEMICONDUCTOR DEVICES; ELECTRIC SOLID-STATE DEVICES NOT OTHERWISE PROVIDED FOR
- H10D—INORGANIC ELECTRIC SEMICONDUCTOR DEVICES
- H10D62/00—Semiconductor bodies, or regions thereof, of devices having potential barriers
- H10D62/40—Crystalline structures
- H10D62/405—Orientations of crystalline planes
-
- H—ELECTRICITY
- H10—SEMICONDUCTOR DEVICES; ELECTRIC SOLID-STATE DEVICES NOT OTHERWISE PROVIDED FOR
- H10D—INORGANIC ELECTRIC SEMICONDUCTOR DEVICES
- H10D86/00—Integrated devices formed in or on insulating or conducting substrates, e.g. formed in silicon-on-insulator [SOI] substrates or on stainless steel or glass substrates
- H10D86/01—Manufacture or treatment
- H10D86/021—Manufacture or treatment of multiple TFTs
- H10D86/0221—Manufacture or treatment of multiple TFTs comprising manufacture, treatment or patterning of TFT semiconductor bodies
- H10D86/0223—Manufacture or treatment of multiple TFTs comprising manufacture, treatment or patterning of TFT semiconductor bodies comprising crystallisation of amorphous, microcrystalline or polycrystalline semiconductor materials
- H10D86/0229—Manufacture or treatment of multiple TFTs comprising manufacture, treatment or patterning of TFT semiconductor bodies comprising crystallisation of amorphous, microcrystalline or polycrystalline semiconductor materials characterised by control of the annealing or irradiation parameters
-
- H—ELECTRICITY
- H10—SEMICONDUCTOR DEVICES; ELECTRIC SOLID-STATE DEVICES NOT OTHERWISE PROVIDED FOR
- H10D—INORGANIC ELECTRIC SEMICONDUCTOR DEVICES
- H10D86/00—Integrated devices formed in or on insulating or conducting substrates, e.g. formed in silicon-on-insulator [SOI] substrates or on stainless steel or glass substrates
- H10D86/40—Integrated devices formed in or on insulating or conducting substrates, e.g. formed in silicon-on-insulator [SOI] substrates or on stainless steel or glass substrates characterised by multiple TFTs
- H10D86/421—Integrated devices formed in or on insulating or conducting substrates, e.g. formed in silicon-on-insulator [SOI] substrates or on stainless steel or glass substrates characterised by multiple TFTs having a particular composition, shape or crystalline structure of the active layer
- H10D86/423—Integrated devices formed in or on insulating or conducting substrates, e.g. formed in silicon-on-insulator [SOI] substrates or on stainless steel or glass substrates characterised by multiple TFTs having a particular composition, shape or crystalline structure of the active layer comprising semiconductor materials not belonging to the Group IV, e.g. InGaZnO
-
- H—ELECTRICITY
- H10—SEMICONDUCTOR DEVICES; ELECTRIC SOLID-STATE DEVICES NOT OTHERWISE PROVIDED FOR
- H10D—INORGANIC ELECTRIC SEMICONDUCTOR DEVICES
- H10D86/00—Integrated devices formed in or on insulating or conducting substrates, e.g. formed in silicon-on-insulator [SOI] substrates or on stainless steel or glass substrates
- H10D86/40—Integrated devices formed in or on insulating or conducting substrates, e.g. formed in silicon-on-insulator [SOI] substrates or on stainless steel or glass substrates characterised by multiple TFTs
- H10D86/441—Interconnections, e.g. scanning lines
-
- H—ELECTRICITY
- H10—SEMICONDUCTOR DEVICES; ELECTRIC SOLID-STATE DEVICES NOT OTHERWISE PROVIDED FOR
- H10D—INORGANIC ELECTRIC SEMICONDUCTOR DEVICES
- H10D86/00—Integrated devices formed in or on insulating or conducting substrates, e.g. formed in silicon-on-insulator [SOI] substrates or on stainless steel or glass substrates
- H10D86/40—Integrated devices formed in or on insulating or conducting substrates, e.g. formed in silicon-on-insulator [SOI] substrates or on stainless steel or glass substrates characterised by multiple TFTs
- H10D86/60—Integrated devices formed in or on insulating or conducting substrates, e.g. formed in silicon-on-insulator [SOI] substrates or on stainless steel or glass substrates characterised by multiple TFTs wherein the TFTs are in active matrices
-
- H—ELECTRICITY
- H10—SEMICONDUCTOR DEVICES; ELECTRIC SOLID-STATE DEVICES NOT OTHERWISE PROVIDED FOR
- H10D—INORGANIC ELECTRIC SEMICONDUCTOR DEVICES
- H10D99/00—Subject matter not provided for in other groups of this subclass
-
- G—PHYSICS
- G02—OPTICS
- G02F—OPTICAL DEVICES OR ARRANGEMENTS FOR THE CONTROL OF LIGHT BY MODIFICATION OF THE OPTICAL PROPERTIES OF THE MEDIA OF THE ELEMENTS INVOLVED THEREIN; NON-LINEAR OPTICS; FREQUENCY-CHANGING OF LIGHT; OPTICAL LOGIC ELEMENTS; OPTICAL ANALOGUE/DIGITAL CONVERTERS
- G02F1/00—Devices or arrangements for the control of the intensity, colour, phase, polarisation or direction of light arriving from an independent light source, e.g. switching, gating or modulating; Non-linear optics
- G02F1/01—Devices or arrangements for the control of the intensity, colour, phase, polarisation or direction of light arriving from an independent light source, e.g. switching, gating or modulating; Non-linear optics for the control of the intensity, phase, polarisation or colour
- G02F1/13—Devices or arrangements for the control of the intensity, colour, phase, polarisation or direction of light arriving from an independent light source, e.g. switching, gating or modulating; Non-linear optics for the control of the intensity, phase, polarisation or colour based on liquid crystals, e.g. single liquid crystal display cells
- G02F1/133—Constructional arrangements; Operation of liquid crystal cells; Circuit arrangements
- G02F1/1333—Constructional arrangements; Manufacturing methods
- G02F1/133345—Insulating layers
-
- G—PHYSICS
- G02—OPTICS
- G02F—OPTICAL DEVICES OR ARRANGEMENTS FOR THE CONTROL OF LIGHT BY MODIFICATION OF THE OPTICAL PROPERTIES OF THE MEDIA OF THE ELEMENTS INVOLVED THEREIN; NON-LINEAR OPTICS; FREQUENCY-CHANGING OF LIGHT; OPTICAL LOGIC ELEMENTS; OPTICAL ANALOGUE/DIGITAL CONVERTERS
- G02F1/00—Devices or arrangements for the control of the intensity, colour, phase, polarisation or direction of light arriving from an independent light source, e.g. switching, gating or modulating; Non-linear optics
- G02F1/01—Devices or arrangements for the control of the intensity, colour, phase, polarisation or direction of light arriving from an independent light source, e.g. switching, gating or modulating; Non-linear optics for the control of the intensity, phase, polarisation or colour
- G02F1/13—Devices or arrangements for the control of the intensity, colour, phase, polarisation or direction of light arriving from an independent light source, e.g. switching, gating or modulating; Non-linear optics for the control of the intensity, phase, polarisation or colour based on liquid crystals, e.g. single liquid crystal display cells
- G02F1/133—Constructional arrangements; Operation of liquid crystal cells; Circuit arrangements
- G02F1/1333—Constructional arrangements; Manufacturing methods
- G02F1/1343—Electrodes
- G02F1/134309—Electrodes characterised by their geometrical arrangement
-
- G—PHYSICS
- G02—OPTICS
- G02F—OPTICAL DEVICES OR ARRANGEMENTS FOR THE CONTROL OF LIGHT BY MODIFICATION OF THE OPTICAL PROPERTIES OF THE MEDIA OF THE ELEMENTS INVOLVED THEREIN; NON-LINEAR OPTICS; FREQUENCY-CHANGING OF LIGHT; OPTICAL LOGIC ELEMENTS; OPTICAL ANALOGUE/DIGITAL CONVERTERS
- G02F1/00—Devices or arrangements for the control of the intensity, colour, phase, polarisation or direction of light arriving from an independent light source, e.g. switching, gating or modulating; Non-linear optics
- G02F1/01—Devices or arrangements for the control of the intensity, colour, phase, polarisation or direction of light arriving from an independent light source, e.g. switching, gating or modulating; Non-linear optics for the control of the intensity, phase, polarisation or colour
- G02F1/13—Devices or arrangements for the control of the intensity, colour, phase, polarisation or direction of light arriving from an independent light source, e.g. switching, gating or modulating; Non-linear optics for the control of the intensity, phase, polarisation or colour based on liquid crystals, e.g. single liquid crystal display cells
- G02F1/133—Constructional arrangements; Operation of liquid crystal cells; Circuit arrangements
- G02F1/1333—Constructional arrangements; Manufacturing methods
- G02F1/1345—Conductors connecting electrodes to cell terminals
- G02F1/13452—Conductors connecting driver circuitry and terminals of panels
-
- G—PHYSICS
- G02—OPTICS
- G02F—OPTICAL DEVICES OR ARRANGEMENTS FOR THE CONTROL OF LIGHT BY MODIFICATION OF THE OPTICAL PROPERTIES OF THE MEDIA OF THE ELEMENTS INVOLVED THEREIN; NON-LINEAR OPTICS; FREQUENCY-CHANGING OF LIGHT; OPTICAL LOGIC ELEMENTS; OPTICAL ANALOGUE/DIGITAL CONVERTERS
- G02F1/00—Devices or arrangements for the control of the intensity, colour, phase, polarisation or direction of light arriving from an independent light source, e.g. switching, gating or modulating; Non-linear optics
- G02F1/01—Devices or arrangements for the control of the intensity, colour, phase, polarisation or direction of light arriving from an independent light source, e.g. switching, gating or modulating; Non-linear optics for the control of the intensity, phase, polarisation or colour
- G02F1/13—Devices or arrangements for the control of the intensity, colour, phase, polarisation or direction of light arriving from an independent light source, e.g. switching, gating or modulating; Non-linear optics for the control of the intensity, phase, polarisation or colour based on liquid crystals, e.g. single liquid crystal display cells
- G02F1/133—Constructional arrangements; Operation of liquid crystal cells; Circuit arrangements
- G02F1/136—Liquid crystal cells structurally associated with a semi-conducting layer or substrate, e.g. cells forming part of an integrated circuit
- G02F1/1362—Active matrix addressed cells
- G02F1/136286—Wiring, e.g. gate line, drain line
-
- G—PHYSICS
- G02—OPTICS
- G02F—OPTICAL DEVICES OR ARRANGEMENTS FOR THE CONTROL OF LIGHT BY MODIFICATION OF THE OPTICAL PROPERTIES OF THE MEDIA OF THE ELEMENTS INVOLVED THEREIN; NON-LINEAR OPTICS; FREQUENCY-CHANGING OF LIGHT; OPTICAL LOGIC ELEMENTS; OPTICAL ANALOGUE/DIGITAL CONVERTERS
- G02F1/00—Devices or arrangements for the control of the intensity, colour, phase, polarisation or direction of light arriving from an independent light source, e.g. switching, gating or modulating; Non-linear optics
- G02F1/01—Devices or arrangements for the control of the intensity, colour, phase, polarisation or direction of light arriving from an independent light source, e.g. switching, gating or modulating; Non-linear optics for the control of the intensity, phase, polarisation or colour
- G02F1/13—Devices or arrangements for the control of the intensity, colour, phase, polarisation or direction of light arriving from an independent light source, e.g. switching, gating or modulating; Non-linear optics for the control of the intensity, phase, polarisation or colour based on liquid crystals, e.g. single liquid crystal display cells
- G02F1/133—Constructional arrangements; Operation of liquid crystal cells; Circuit arrangements
- G02F1/136—Liquid crystal cells structurally associated with a semi-conducting layer or substrate, e.g. cells forming part of an integrated circuit
- G02F1/1362—Active matrix addressed cells
- G02F1/1368—Active matrix addressed cells in which the switching element is a three-electrode device
-
- G—PHYSICS
- G02—OPTICS
- G02F—OPTICAL DEVICES OR ARRANGEMENTS FOR THE CONTROL OF LIGHT BY MODIFICATION OF THE OPTICAL PROPERTIES OF THE MEDIA OF THE ELEMENTS INVOLVED THEREIN; NON-LINEAR OPTICS; FREQUENCY-CHANGING OF LIGHT; OPTICAL LOGIC ELEMENTS; OPTICAL ANALOGUE/DIGITAL CONVERTERS
- G02F2201/00—Constructional arrangements not provided for in groups G02F1/00 - G02F7/00
- G02F2201/12—Constructional arrangements not provided for in groups G02F1/00 - G02F7/00 electrode
- G02F2201/123—Constructional arrangements not provided for in groups G02F1/00 - G02F7/00 electrode pixel
-
- G—PHYSICS
- G09—EDUCATION; CRYPTOGRAPHY; DISPLAY; ADVERTISING; SEALS
- G09G—ARRANGEMENTS OR CIRCUITS FOR CONTROL OF INDICATING DEVICES USING STATIC MEANS TO PRESENT VARIABLE INFORMATION
- G09G2300/00—Aspects of the constitution of display devices
- G09G2300/04—Structural and physical details of display devices
- G09G2300/0421—Structural details of the set of electrodes
- G09G2300/0426—Layout of electrodes and connections
-
- G—PHYSICS
- G09—EDUCATION; CRYPTOGRAPHY; DISPLAY; ADVERTISING; SEALS
- G09G—ARRANGEMENTS OR CIRCUITS FOR CONTROL OF INDICATING DEVICES USING STATIC MEANS TO PRESENT VARIABLE INFORMATION
- G09G2310/00—Command of the display device
- G09G2310/02—Addressing, scanning or driving the display screen or processing steps related thereto
- G09G2310/0264—Details of driving circuits
- G09G2310/0286—Details of a shift registers arranged for use in a driving circuit
-
- G—PHYSICS
- G09—EDUCATION; CRYPTOGRAPHY; DISPLAY; ADVERTISING; SEALS
- G09G—ARRANGEMENTS OR CIRCUITS FOR CONTROL OF INDICATING DEVICES USING STATIC MEANS TO PRESENT VARIABLE INFORMATION
- G09G2310/00—Command of the display device
- G09G2310/08—Details of timing specific for flat panels, other than clock recovery
-
- G—PHYSICS
- G09—EDUCATION; CRYPTOGRAPHY; DISPLAY; ADVERTISING; SEALS
- G09G—ARRANGEMENTS OR CIRCUITS FOR CONTROL OF INDICATING DEVICES USING STATIC MEANS TO PRESENT VARIABLE INFORMATION
- G09G2330/00—Aspects of power supply; Aspects of display protection and defect management
- G09G2330/02—Details of power systems and of start or stop of display operation
- G09G2330/021—Power management, e.g. power saving
- G09G2330/023—Power management, e.g. power saving using energy recovery or conservation
-
- G—PHYSICS
- G09—EDUCATION; CRYPTOGRAPHY; DISPLAY; ADVERTISING; SEALS
- G09G—ARRANGEMENTS OR CIRCUITS FOR CONTROL OF INDICATING DEVICES USING STATIC MEANS TO PRESENT VARIABLE INFORMATION
- G09G3/00—Control arrangements or circuits, of interest only in connection with visual indicators other than cathode-ray tubes
- G09G3/20—Control arrangements or circuits, of interest only in connection with visual indicators other than cathode-ray tubes for presentation of an assembly of a number of characters, e.g. a page, by composing the assembly by combination of individual elements arranged in a matrix no fixed position being assigned to or needed to be assigned to the individual characters or partial characters
- G09G3/22—Control arrangements or circuits, of interest only in connection with visual indicators other than cathode-ray tubes for presentation of an assembly of a number of characters, e.g. a page, by composing the assembly by combination of individual elements arranged in a matrix no fixed position being assigned to or needed to be assigned to the individual characters or partial characters using controlled light sources
- G09G3/30—Control arrangements or circuits, of interest only in connection with visual indicators other than cathode-ray tubes for presentation of an assembly of a number of characters, e.g. a page, by composing the assembly by combination of individual elements arranged in a matrix no fixed position being assigned to or needed to be assigned to the individual characters or partial characters using controlled light sources using electroluminescent panels
- G09G3/32—Control arrangements or circuits, of interest only in connection with visual indicators other than cathode-ray tubes for presentation of an assembly of a number of characters, e.g. a page, by composing the assembly by combination of individual elements arranged in a matrix no fixed position being assigned to or needed to be assigned to the individual characters or partial characters using controlled light sources using electroluminescent panels semiconductive, e.g. using light-emitting diodes [LED]
- G09G3/3208—Control arrangements or circuits, of interest only in connection with visual indicators other than cathode-ray tubes for presentation of an assembly of a number of characters, e.g. a page, by composing the assembly by combination of individual elements arranged in a matrix no fixed position being assigned to or needed to be assigned to the individual characters or partial characters using controlled light sources using electroluminescent panels semiconductive, e.g. using light-emitting diodes [LED] organic, e.g. using organic light-emitting diodes [OLED]
- G09G3/3266—Details of drivers for scan electrodes
-
- G—PHYSICS
- G09—EDUCATION; CRYPTOGRAPHY; DISPLAY; ADVERTISING; SEALS
- G09G—ARRANGEMENTS OR CIRCUITS FOR CONTROL OF INDICATING DEVICES USING STATIC MEANS TO PRESENT VARIABLE INFORMATION
- G09G3/00—Control arrangements or circuits, of interest only in connection with visual indicators other than cathode-ray tubes
- G09G3/20—Control arrangements or circuits, of interest only in connection with visual indicators other than cathode-ray tubes for presentation of an assembly of a number of characters, e.g. a page, by composing the assembly by combination of individual elements arranged in a matrix no fixed position being assigned to or needed to be assigned to the individual characters or partial characters
- G09G3/22—Control arrangements or circuits, of interest only in connection with visual indicators other than cathode-ray tubes for presentation of an assembly of a number of characters, e.g. a page, by composing the assembly by combination of individual elements arranged in a matrix no fixed position being assigned to or needed to be assigned to the individual characters or partial characters using controlled light sources
- G09G3/30—Control arrangements or circuits, of interest only in connection with visual indicators other than cathode-ray tubes for presentation of an assembly of a number of characters, e.g. a page, by composing the assembly by combination of individual elements arranged in a matrix no fixed position being assigned to or needed to be assigned to the individual characters or partial characters using controlled light sources using electroluminescent panels
- G09G3/32—Control arrangements or circuits, of interest only in connection with visual indicators other than cathode-ray tubes for presentation of an assembly of a number of characters, e.g. a page, by composing the assembly by combination of individual elements arranged in a matrix no fixed position being assigned to or needed to be assigned to the individual characters or partial characters using controlled light sources using electroluminescent panels semiconductive, e.g. using light-emitting diodes [LED]
- G09G3/3208—Control arrangements or circuits, of interest only in connection with visual indicators other than cathode-ray tubes for presentation of an assembly of a number of characters, e.g. a page, by composing the assembly by combination of individual elements arranged in a matrix no fixed position being assigned to or needed to be assigned to the individual characters or partial characters using controlled light sources using electroluminescent panels semiconductive, e.g. using light-emitting diodes [LED] organic, e.g. using organic light-emitting diodes [OLED]
- G09G3/3275—Details of drivers for data electrodes
-
- G—PHYSICS
- G09—EDUCATION; CRYPTOGRAPHY; DISPLAY; ADVERTISING; SEALS
- G09G—ARRANGEMENTS OR CIRCUITS FOR CONTROL OF INDICATING DEVICES USING STATIC MEANS TO PRESENT VARIABLE INFORMATION
- G09G3/00—Control arrangements or circuits, of interest only in connection with visual indicators other than cathode-ray tubes
- G09G3/20—Control arrangements or circuits, of interest only in connection with visual indicators other than cathode-ray tubes for presentation of an assembly of a number of characters, e.g. a page, by composing the assembly by combination of individual elements arranged in a matrix no fixed position being assigned to or needed to be assigned to the individual characters or partial characters
- G09G3/34—Control arrangements or circuits, of interest only in connection with visual indicators other than cathode-ray tubes for presentation of an assembly of a number of characters, e.g. a page, by composing the assembly by combination of individual elements arranged in a matrix no fixed position being assigned to or needed to be assigned to the individual characters or partial characters by control of light from an independent source
- G09G3/36—Control arrangements or circuits, of interest only in connection with visual indicators other than cathode-ray tubes for presentation of an assembly of a number of characters, e.g. a page, by composing the assembly by combination of individual elements arranged in a matrix no fixed position being assigned to or needed to be assigned to the individual characters or partial characters by control of light from an independent source using liquid crystals
- G09G3/3611—Control of matrices with row and column drivers
- G09G3/3674—Details of drivers for scan electrodes
- G09G3/3677—Details of drivers for scan electrodes suitable for active matrices only
-
- G—PHYSICS
- G09—EDUCATION; CRYPTOGRAPHY; DISPLAY; ADVERTISING; SEALS
- G09G—ARRANGEMENTS OR CIRCUITS FOR CONTROL OF INDICATING DEVICES USING STATIC MEANS TO PRESENT VARIABLE INFORMATION
- G09G3/00—Control arrangements or circuits, of interest only in connection with visual indicators other than cathode-ray tubes
- G09G3/20—Control arrangements or circuits, of interest only in connection with visual indicators other than cathode-ray tubes for presentation of an assembly of a number of characters, e.g. a page, by composing the assembly by combination of individual elements arranged in a matrix no fixed position being assigned to or needed to be assigned to the individual characters or partial characters
- G09G3/34—Control arrangements or circuits, of interest only in connection with visual indicators other than cathode-ray tubes for presentation of an assembly of a number of characters, e.g. a page, by composing the assembly by combination of individual elements arranged in a matrix no fixed position being assigned to or needed to be assigned to the individual characters or partial characters by control of light from an independent source
- G09G3/36—Control arrangements or circuits, of interest only in connection with visual indicators other than cathode-ray tubes for presentation of an assembly of a number of characters, e.g. a page, by composing the assembly by combination of individual elements arranged in a matrix no fixed position being assigned to or needed to be assigned to the individual characters or partial characters by control of light from an independent source using liquid crystals
- G09G3/3611—Control of matrices with row and column drivers
- G09G3/3685—Details of drivers for data electrodes
- G09G3/3688—Details of drivers for data electrodes suitable for active matrices only
Landscapes
- Physics & Mathematics (AREA)
- Nonlinear Science (AREA)
- Mathematical Physics (AREA)
- Chemical & Material Sciences (AREA)
- Crystallography & Structural Chemistry (AREA)
- General Physics & Mathematics (AREA)
- Optics & Photonics (AREA)
- Thin Film Transistor (AREA)
- Liquid Crystal (AREA)
- Devices For Indicating Variable Information By Combining Individual Elements (AREA)
- Electroluminescent Light Sources (AREA)
- Engineering & Computer Science (AREA)
- Microelectronics & Electronic Packaging (AREA)
- Recrystallisation Techniques (AREA)
- Metal-Oxide And Bipolar Metal-Oxide Semiconductor Integrated Circuits (AREA)
- Physical Deposition Of Substances That Are Components Of Semiconductor Devices (AREA)
- Electrochromic Elements, Electrophoresis, Or Variable Reflection Or Absorption Elements (AREA)
Description
電子機器に関する。
スシリコン、多結晶シリコンなどによって構成されている。アモルファスシリコンを用い
たトランジスタは電界効果移動度が低いもののガラス基板の大面積化に対応することがで
きる。また、多結晶シリコンを用いたトランジスタの電界効果移動度は高いがガラス基板
の大面積化には適していないという欠点を有している。
電子デバイスや光デバイスに応用する技術が注目されている。例えば酸化物半導体として
、酸化亜鉛、In-Ga-Zn-O系酸化物を用いてトランジスタを作製し、表示装置の
画素のスイッチング素子などに用いる技術が特許文献1および特許文献2で開示されてい
る。
ランジスタよりも高い電界効果移動度が得られている。アモルファスシリコンのトランジ
スタの電界効果移動度は通常0.5cm2/Vs程度であるのに対して、酸化物半導体を
用いたトランジスタの電界効果移動度は10~20cm2/Vsが得られている。また、
酸化物半導体はスパッタ法などで活性層を形成することが可能であり、多結晶シリコンを
用いたトランジスタのようにレーザー装置を使用せず簡単に製造が可能である。
を形成し、液晶表示装置、有機EL表示装置、電子ペーパー等への応用が期待されている
。
40インチから50インチクラスのテレビも普及し始めており、今後はさらに普及が加速
されると思われる。酸化物半導体を用いたトランジスタは前述したように、アモルファス
シリコンのトランジスタの10倍以上の電界効果移動度が得られるため、大型の表示装置
においても画素のスイッチング素子としては十分な性能が得られる。
タによって構成しようとするとき、従来の酸化物半導体のトランジスタの性能では不足を
生じていた。具体的にはトランジスタの電流能力を上げるため、従来の酸化物半導体の電
界効果移動度をさらに数倍にあげる必要がある。電界効果移動度が10cm2/Vsの酸
化物半導体を用いたトランジスタを用いてドライバを構成した場合、表示装置の大きさは
20インチ未満となり、それ以上の表示装置を構成するにはドライバを別途に実装する必
要があった。
査線を有するアクティブマトリクス型表示装置において、前記絶縁基板上に電界効果移動
度が少なくとも50cm2/Vs以上、好ましくは100cm2/Vs以上を有する酸化
物半導体のトランジスタを有し、トランジスタを1つの構成要素とするゲートドライバ、
ソース線駆動アナログスイッチを有する表示装置である。
査線を有するアクティブマトリクス型表示装置において、前記絶縁基板上に電界効果移動
度が少なくとも50cm2/Vs以上、好ましくは100cm2/Vs以上を有する酸化
物半導体のトランジスタを有し、トランジスタを1つの構成要素とするゲートドライバ、
ソースドライバを有する表示装置である。
、加熱処理を行って表面から内部に向かって結晶成長し、下地部材に少なくとも一部接す
る第1の酸化物結晶部材を形成し、第1の酸化物結晶部材上に第2の酸化物結晶部材を積
層して設ける積層酸化物材料の作製方法である。特に第1の酸化物結晶部材と第2の酸化
物結晶部材がc軸を共通している。なお、第1の酸化物結晶部材は、第1の酸化物結晶部
材の表面に対して垂直方向にc軸配向をしている。なお、a-b面での隣り合っている平
面の複数の元素は同一である。また、第1の酸化物結晶部材のc軸方向は、深さ方向に一
致する。
なくとも一部または全部接して設けることを特徴とする。酸化物部材の膜厚または、加熱
処理の条件などを適宜調節することにより、第1の酸化物結晶部材の結晶配向した下側表
面を下地部材と少なくとも一部または全部接して設ける。
物半導体層の成膜を行い、その後、第1の酸化物結晶部と第2の酸化物半導体層の界面よ
り上方の第2の酸化物半導体層の表面に向かって結晶成長をさせる。第1の酸化物結晶部
材は、第2の酸化物半導体層にとっては種結晶に相当する。その上側に第2の酸化物結晶
部材として多結晶層が形成されることが重要である。
を実現できる。
のしきい値電圧の変化量を抑制することができ、高い信頼性を実現することができる。
性、例えば-30℃~120℃までのオン電流やオフ電流などの変化量を抑制できる。
は、多結晶部材であることを特徴の一つとしている。
存在する水、水素という不純物を意図的に除去することにより、酸化物半導体自体を高純
度化することである。すなわち、ドナー準位を構成する水または水素を除去し、さらに酸
素欠損を低減し、酸化物半導体を構成する主成分材料の酸素を十分に供給することにより
、酸化物半導体を高純度化することである。
質量分析)で測定される。このドナー準位の原因となる水または水素を意図的に除去し、
さらに水または水素の除去に伴い同時に減少してしまう酸素(酸化物半導体の成分の一つ
)を酸化物半導体に加えることにより、酸化物半導体を高純度化し、電気的にi型(真性
)半導体とする。
ほど好ましく、キャリアも少なければ少ないほど良い。すなわち、キャリア密度は1×1
012cm-3未満、さらに好ましくは測定限界以下の1.45×1010cm-3未満
が求められる。更には、本発明の技術思想的には、ゼロに近いまたはゼロが理想である。
特に、酸化物半導体を、酸素、窒素、または超乾燥空気(水の含有量が20ppm以下、
好ましくは1ppm以下、好ましくは10ppb以下の空気)雰囲気で、450℃以上8
50℃以下、好ましくは550℃以上750℃以下の加熱処理をすることにより、n型不
純物となる水、または水素を除去し、高純度化することができる。また、水、または水素
等の不純物を除去することにより、酸化物半導体を高純度化することで、キャリア密度を
1×1012cm-3未満、さらに好ましくは測定限界以下の1.45×1010cm-
3未満とすることができる。
とすると、酸化物半導体を高純度化すると共に、結晶化させることが可能であり、酸化物
半導体の表面から内部に向かって結晶成長し、c軸配向を有する多結晶領域を有する酸化
物半導体となる。
を種結晶として、その上に第2の酸化物半導体を設け、450℃以上850℃以下、好ま
しくは550℃以上750℃以下の加熱処理をすることで、第2の酸化物半導体を、種結
晶と同様にc軸配向を有する多結晶領域とすることができる。即ち、種結晶と第2の酸化
物半導体のc軸が同軸となる、理想的なアキシャル成長、またはエピタキシャル成長をさ
せることができる。
はなく、200℃以上600℃以下で加熱しながら第2の酸化物半導体を成膜、代表的に
はスパッタリングすることで、堆積しつつ結晶成長させることができる。また、スパッタ
法による酸化物半導体膜の成膜中に基板を200℃以上600℃以下に加熱すると、直接
エピタキシャル成長またはアキシャル成長することができる。
ジスタにおいて酸化物半導体はキャリアを通過させる通路(パス)として機能させる。そ
の結果、酸化物半導体は高純度化したi型(真性)半導体であり、キャリアがない、また
は極めて少なくせしめることにより、トランジスタのオフ状態ではオフ電流を極めて低く
できるというのが本発明に用いる酸化物半導体の技術思想である。
い、または極めて少ないように高純度化したi型(真性)とすると、キャリアは電極のソ
ース、ドレインにより供給される。酸化物半導体の電子親和力χおよびフェルミレベル、
理想的には真性フェルミレベルと一致したフェルミレベルと、ソース、ドレインの電極の
仕事関数とを適宜選択することで、ソース電極及びドレイン電極からキャリアを注入させ
ることが可能となり、n型トランジスタ及びp型トランジスタを適宜作製することができ
る。
In-Sn-Ga-Zn-O膜や、三元系金属酸化物であるIn-Ga-Zn-O膜、I
n-Sn-Zn-O膜、In-Al-Zn-O膜、Sn-Ga-Zn-O膜、Al-Ga
-Zn-O膜、Sn-Al-Zn-O系や、二元系金属酸化物であるIn-Zn-O膜、
Sn-Zn-O膜、Al-Zn-O膜、Zn-Mg-O膜、Sn-Mg-O膜、In-M
g-O膜や、In-O膜、Sn-O膜、Zn-O膜などの金属酸化物膜を用いることがで
きる。なお、ここで、例えば、In-Sn-Ga-Zn-O膜とは、インジウム(In)
、錫(Sn)、ガリウム(Ga)、亜鉛(Zn)を有する酸化物膜、という意味であり、
その化学量論比はとくに問わない。
mは自然数でない)で表記される薄膜を用いることができる。ここで、Mは、Ga、Al
、MnおよびCoから選ばれた一または複数の金属元素を示す。例えばMとして、Ga、
Ga及びAl、Ga及びMn、またはGa及びCoなどがある。
ガリウム(Ga)やアルミニウム(Al)などの13族元素、シリコン(Si)やゲルマ
ニウム(Ge)に代表される14族元素などから選択される一または複数種類の元素を表
す。また、Bは、亜鉛(Zn)に代表される12族元素から選択される一又は複数種類の
元素を表す。なお、In、A、Bの含有量は任意であり、Aの含有量がゼロの場合を含む
。一方、InおよびBの含有量はゼロではない。すなわち、上述の表記には、In-Ga
-Zn-OやIn-Zn-Oなどが含まれる。また、本明細書でいうIn-Ga-Zn-
Oで表記される酸化物半導体材料は、InGaO3(ZnO)m(m>0、且つmは自然
数でない)であり、mが自然数でないことは、ICP-MS分析や、RBS分析を用いて
確認することができる。
気下(窒素雰囲気、酸素雰囲気、乾燥空気雰囲気(例えば、水分については露点-40℃
以下、好ましくは露点-50℃以下)など)で第1の加熱処理を行う。この第1の加熱処
理は、酸化物半導体層中からH、OHなどを脱離させる脱水化または脱水素化とも呼ぶこ
とができ、不活性雰囲気下で昇温し、途中で切り替え酸素を含む雰囲気下とする加熱処理
を行う場合や、酸素雰囲気下で加熱処理を行う場合は、加酸化処理とも呼べる。
Rapid Thermal Anneal)法またはランプ光を用いるLRTA(La
mp Rapid Thermal Anneal)法などの瞬間加熱方法などを用いる
ことができる。また、第1の加熱処理は、450nm以下の光を照射する加熱も同時に行
ってもよい。高純度化のための第1の加熱処理を行った酸化物半導体層は、第1の加熱処
理後の酸化物半導体層に対してTDS(Thermal Desorption Spe
ctroscopy)で450℃まで測定を行っても水の2つのピークのうち、少なくと
も300℃付近に現れる1つのピークは検出されない程度の条件で加熱する。従って、高
純度化のための加熱処理が行われた酸化物半導体層を用いたトランジスタに対してTDS
で450℃まで測定を行っても少なくとも300℃付近に現れる水のピークは検出されな
い。
で短時間に加熱を行い、表面からの結晶成長のみとなるようにすることが好ましい。また
、酸化物半導体層の表面が平坦であると、良好な板状の多結晶層を得ることができるため
、できるだけ下地部材、例えば絶縁層や、基板の平坦性が高いことが望ましい。平坦性を
高くすることにより、下地部材全面に接する多結晶層を形成しやすくなるため、有用であ
る。例えば、市販されているシリコンウェハと同程度の平坦性、例えば、表面粗度が1μ
m四方の領域におけるAFM測定での高低差が1nm以下、好ましくは0.2nmとする
。
電気伝導率σを大きくする。従って、多結晶層を有するトランジスタは、高い電界効果移
動度を実現することができる。
一つを以下に図1(A)、図1(B)、及び図1(C)を用いて示す。
化するための第1の加熱処理を行い、高純度化するための第1の加熱処理と同一工程によ
り、第1の酸化物半導体層の表面に結晶方位の揃った多結晶層を形成し、その上に第2の
酸化物半導体層を積層する。さらに結晶化のための第2の加熱処理を行うことにより、第
1の酸化物半導体層の表面の多結晶層を種として第2の酸化物半導体層を結晶化するとい
う順序で行われる。
のに対して、第2の加熱処理は、種となる平板状の多結晶層があるため、結晶成長が可能
な最低温度で長時間に加熱を行うと良好な結晶性を得ることができ、好ましい。第2の加
熱処理により行われる結晶方向は、下から上の方向、基板側から表面側の方向(再結晶方
向とも呼ぶ)であり、第1の加熱処理での結晶方向と異なっている。また、第1の加熱処
理で得られた多結晶層は第2の加熱処理で再び加熱されるため、さらに結晶性が向上する
。
めの第1の加熱処理が行われた後の状態を示している。第1の加熱処理は、酸素、窒素、
または超乾燥空気雰囲気で、450℃以上850℃以下、好ましくは550℃以上750
℃以下の加熱処理である。また、不活性雰囲気下で昇温し、途中で切り替え酸素を含む雰
囲気下とする加熱処理を行う場合や、酸素雰囲気下で加熱処理を行ってもよい。第1の加
熱処理が行われた後、第1の酸化物半導体層は、表面に対して垂直方向にc軸配向してい
る平板状の多結晶である第1の酸化物結晶部材501となる。
化物半導体層502は、スパッタ法で形成され、その金属酸化物ターゲットは、In2O
3:Ga2O3:ZnO=1:1:2[mol数比]の金属酸化物ターゲットや、In2
O3:Ga2O3:ZnO=1:1:4[mol数比]の金属酸化物ターゲットを用いれ
ばよい。
の酸化物結晶部材501の多結晶層を種として第2の酸化物半導体層502の表面に向か
って上方に結晶成長し、第2の酸化物結晶部材503bが形成され、結晶部材同士がc軸
配向を有する。
水素化とも呼ぶことができ、不活性雰囲気下で昇温し、途中で切り替え酸素を含む雰囲気
下とする加熱処理を行う場合や、酸素雰囲気下で加熱処理を行う場合は、加酸化処理とも
呼べる。
に結晶性が向上した第3の酸化物結晶部材503aとなる。
さらには実質的には0が好ましい。また、酸化物半導体層のキャリア密度が1×1012
cm-3未満、さらに好ましくは測定限界以下の1.45×1010cm-3未満である
。即ち、酸化物半導体層のキャリア密度は、限りなくゼロに近い。また、バンドギャップ
は2eV以上、好ましくは2.5eV以上、より好ましくは3eV以上である。なお、酸
化物半導体層中の水素濃度測定は、二次イオン質量分析法(SIMS)で行うことができ
る。キャリア密度は、ホール効果測定により測定することができる。また、より低密度の
キャリア密度の測定は、CV測定(Capacitance-Voltage-Meas
urement)の測定結果及び数式1により求めることができる。
a、第2の酸化物結晶部材503bの順に積層された2層構造と言える。第1の酸化物結
晶部材501と第2の酸化物結晶部材503bの材料は、表面に対して垂直方向にc軸配
向している多結晶が得られるのであれば、特に限定されず、異なる材料を用いてもよいし
、同一成分を含む材料を用いてもよい。同一成分を含むとは同じ元素を有する意味である
。
に、第3の酸化物結晶部材503aと第2の酸化物結晶部材503bの境界は不明瞭とな
り、単層構造となる。
る多結晶層は、2回の加熱処理に分けて結晶成長させることができる。
板状結晶層は、表面から深さ方向に結晶成長するため、下地部材の影響を受けることなく
形成することができる。
た結晶層が形成されるメカニズムを一例に説明する。加熱処理により、In-Ga-Zn
-O膜中に含まれる亜鉛が拡散し、表面近傍に集まり、結晶成長の種となり、その結晶成
長は、横方向(表面に平行な方向)の結晶成長のほうが、深さ方向(表面に垂直な方向)
の結晶成長よりも強いため、平板状の多結晶層が形成される。即ち、a-b面の方向とc
軸の方向とはa-b面の方向が結晶化しやすい。また、それぞれの結晶のa-b面は一致
していない。また、In-Ga-Zn-O膜の表面より上は自由空間であり、ここでの上
方への結晶の成長はない。これらのことは、TDSの測定時に450℃まで測定を行った
際、InやGaは検出されないが、亜鉛は真空加熱条件下、特に300℃付近でピーク検
出されることが確認できていることから推察される。なお、TDSの測定は真空中で行わ
れ、亜鉛の離脱は200℃付近から検出されていることが確認できている。
再度成膜した後に結晶成長させることで膜厚の厚い板状結晶層を形成することができると
言え、本明細書で開示する方法が極めて有用である。
c軸配向をしている結晶層を得ることができることも有用である。
を用いるデバイスや、SiCを用いるデバイスや、GaNを用いるデバイスとは全く異な
っている。
ている。しかしながら、SiCやGaNは高価な材料である。また、SiCやGaNは、
1500℃以上の処理温度を必要としており、ガラス基板上での薄膜化は実質的に不可能
である。
結晶であることを必要としている。したがって、製造工程で意図しない微量の不純物が混
入することによって、それがドナーやアクセプタとなるため、キャリア濃度の下限には限
界がある。一方、金属酸化物は、アモルファス、多結晶、または単結晶の全ての結晶構造
を利用することができる。PN接合の制御を用いることなく、φMS対χOS+1/2E
gOS、φMD対χOS+1/2EgOSと、ソース及びドレインの仕事関数と、金属酸
化物の電子親和力とエネルギーバンド幅の物性を利用してPN接合と等価のバンド制御を
行っていることが金属酸化物の特徴の一つである。
3倍広く、SiCに比べ製造コストが低くできるので安価な材料である。
リア密度を計算する。固体中の電子のエネルギー分布f(E)は次の式で示されるフェル
ミ・ディラック統計に従うことが知られている。
する。
近似される。
ドギャップ(Eg)の値を代入し、真性キャリア密度を計算した。その結果を表1に示す
。
IGZOのバンドギャップとして3.05eVを選んだ場合、SiとIn-Ga-Zn-
Oでは、真性キャリア濃度におよそフェルミ・ディラックの分布則が正しいと仮定して、
前者は後者よりキャリア密度が約1017倍大きいと言える。
が可能であり、プロセス最高温度は300℃以上800℃以下とすることができ、プロセ
ス最高温度をガラスの歪み点以下とする場合には、大面積のガラス基板上に形成すること
も可能である。従って、工業化にはプロセス最高温度が300℃以上800℃以下でバン
ドギャップの広い金属酸化物を作製できることが重要である。
、あるいは、1500℃程度の高温での処理により単結晶を得るもののみであったが、上
記に示したように、金属酸化物の平板状の多結晶を形成した後、金属酸化物の平板状の多
結晶を種として結晶成長させる方法により比較的低温でc軸配向を有する薄膜多結晶がで
き、さらに厚膜多結晶ができると、より広い工業応用が開ける。なお、良質な厚膜多結晶
を得るには、基板の平坦性・平滑性が高いことが好ましい。なぜならば、わずかな基板の
凹凸が、局所的なc軸のぶれとなり、結晶成長が進展するにつれて、隣接する結晶のc軸
の向きと異なることにより結晶の転移等の欠陥となるからである。
るトランジスタを実現できる。また、オフ電流が低いトランジスタを実現できる。また、
所謂ノーマリーオフのスイッチング素子を実現し、低消費電力の半導体装置を提供するこ
とができる。
以下の説明に限定されず、その形態および詳細を様々に変更し得ることは、当業者であれ
ば容易に理解される。また、本発明は以下に示す実施の形態の記載内容に限定して解釈さ
れるものではない。
図4に本発明の実施形態を示す。図4(A)はガラス基板1501上に、画素部1502
、ゲートドライバ1503、1504を内蔵し、ソース線駆動にアナログスイッチ150
5を内蔵した表示装置である。ソース線駆動にアナログスイッチ1505を使用するのは
以下の理由による。例えばフルハイビジョン表示装置の場合ソース信号線は1920xR
GBの5760本存在する。ソースドライバを同一基板上に形成しない場合は、この端子
にそれぞれソースドライバの端子が接続される。そのため、機械的な衝撃などにより、端
子の接触不良が発生しやすいという問題があった。端子を減らすことが接触不良低減に有
効である。そこでアナログスイッチアレイを同一基板上に形成し、RGBの各端子を時分
割で選択的にソースドライバに接続し、端子数を減らすことを目的としている。
は表示装置の外部に接続される端子はソースドライバの出力端子となる1920本とスイ
ッチアレイのゲートを制御する端子3本の合計1923本となり、約3分の1に削減でき
る。これらはFPC1506、1507、1508、1509に接続される。一方でアナ
ログスイッチにつながるソースドライバは時分割をおこなう場合に比べて3倍の速度で動
作させる必要があり、ソース信号線への書き込み時間は3分の1にする必要がある。ソー
ス信号線への書き込み時間を削減のためにはアナログスイッチに用いられるトランジスタ
の電流能力を向上させることが重要である。
ソース線の書き込みは1ライン期間の間におこなわれれば良いのであれば、時分割をおこ
なう場合には1ライン期間の1/3以下の時間で書き込みがおこなわれなければならない
。また、近年、表示装置においては動画の特性を良好にするために2倍速、4倍速などの
駆動方法が普及している。これはテレビの放送は1倍速であるが、テレビの内部でフレー
ムとフレームの間に映像を作り出し、映像の細やかさを向上させるものである。
速、4倍速においての各時間を示す。図5(A)においてゲートクロックのパルス幅aが
1水平ライン期間に相当し、この期間内にソース線の書き込みが終了する必要がある。a
の値は図5(B)に示すように1倍速(フレーム周波数60Hz)のとき15.3μs、
2倍速(フレーム周波数120Hz)のとき7.63μs、4倍速(フレーム周波数24
0Hz)のとき3.81μsである。
半導体を用いたトランジスタの移動度を向上させることによって、これらを満足すること
が可能になる。ここいう表示装置は液晶表示装置、有機EL表示装置、電子ペーパーなど
のトランジスタを使用して構成する表示装置に当てはまる。
図6にソースドライバを内蔵した表示装置の実施形態を示す。図6(A)に示すのはガラ
ス基板1701上に画素部1702、ゲートドライバ1703、1704、ソースドライ
バ1705を内蔵した例である。ゲートドライバ1703、1704、ソースドライバ1
705にはFPC1706、1707より信号が供給される。ゲートドライバ1703、
1704を表示装置の左右両側に配置し、画素を駆動することによって、片側の場合の半
分の駆動能力で駆動することが可能である。
、1714、1715、1716を表示装置の上下に、ソースドライバ1717、171
8、1719、1720を左右に配置した例である。ゲートドライバ、ソースドライバに
はFPC1721、1722、1723、1724より信号が供給される。このような配
置をすることによって、それぞれのドライバは表示装置の1/4を駆動するだけの駆動能
力があれば、表示が可能となる。表示装置がフルバイビジョン仕様であればドライバはQ
HD(クオーターハイビジョン)の能力があれば駆動が可能になる。したがって、本発明
によって、酸化物半導体を用いたトランジスタの電界効果移動度が向上し、50cm2/
Vs以上、好ましくは100cm2/Vsであれば、100インチ程度のフルハイビジョ
ン表示装置を倍速駆動することも可能になる。
ソース線駆動にアナログスイッチを使用した場合の計算結果を以下に示す。計算は表示装
置を100インチの液晶表示装置、フレーム周波数を240Hz(4倍速)の場合を想定
している。前述したように4倍速ではソース線の書き込みを0.7μs以下でおこなう必
要がある。このときのサンプリング用アナログスイッチに用いるトランジスタ素子サイズ
はL/W=3μm/1500μm、電界効果移動度は100cm2/Vs、しきい値1.
5Vとした。そして、ソース信号線のシート抵抗を0.01Ω/□、ソース線抵抗を2.
08KΩ、ソース線容量を18.5pF、線幅6μmとした。そしてソース線電位が期待
値の99.9%まで書き込みができることを目標としている。
の上限を0.5μsとすると100インチであってもゲート線の遅延時間は要求を満たす
ことができる。この計算ではゲート線のシート抵抗を0.1Ω/□、容量を41.3pF
、線幅を23μmとしている。
に書き込みがおこなわれ、入力信号と書き込みされたソース線電位が近づくように動作す
る。図8ではサンプリングパルスと入力信号とソース線のもっとも入力から離れた点の電
位を示している。図8に示されるようにソース線の電位が入力信号の立ち上がりから0.
2μsで99.9%の書き込みができていることを示している。このように酸化物半導体
を用いたトランジスタの移動度を向上させることによって、ソース線駆動用アナログスイ
ッチを内蔵し、100インチのフルハイビジョン表示装置を4倍速で駆動できることがで
きた。ここでは表示装置の大きさを100インチとして計算をおこなったが、このサイズ
に限定するものではなく、100インチ以下も可能であるし、電界効果移動度のさらなる
向上や、配線抵抗の削減をおこなえば100インチ以上も可能である。
また、ソース線駆動にシフトレジスタ型ソースドライバを使用した場合の計算結果を示す
。シフトレジスタは図9に示すようなセットリセット型のシフトレジスタを用いた。また
、ソースドライバは図6(B)に示すような配置を仮定し駆動をおこなうものとした。サ
ンプリングは960点同時サンプリングとしている。フルハイビジョンの4分の1の領域
を1つのソースドライバで書き込むため、サンプリングすべき点は960xRGB=28
80点である。これを960点同時サンプリングするため必要なシフトレジスタの段数は
30段となる。そのタイミングチャートを図10(A)に示す。また図10(A)にて設
定される期間を図10(B)に示す。ソースドライバのクロック周波数は図10(B)の
Bの期間の2倍の逆数にあたる。
は1.15MHz、4倍速では2.31MHzとなる。電界効果移動度が100cm2/
Vsであればこの条件でシフトレジスタの動作は可能である。この場合、ソース線を書き
込むのに許容される時間は1倍速で0.43μs、2倍速で0.22μs、4倍速で0.
11μsとなる。ソースドライバの能力としては問題ないが、ソース線の遅延時間が問題
になる。尚、このときのソース線の条件は表示装置が100インチの場合、実質50イン
チ相当の駆動になるため、ソース信号線のシート抵抗を0.01Ω/□、ソース線抵抗を
1.04KΩ、ソース線容量9.3pFを、線幅20μmとした。
許容時間の6割程度で書き込みを終了する必要がある。したがって100インチでは書き
込みは困難である。図11は表示装置のサイズを10インチとして、フレーム周波数を4
倍速としたデータである。ここではサンプリングパルスと入力信号とソース線のもっとも
入力から離れた点での電位を示している。サンプリングパルスがハイの期間で書き込みが
おこなわれ、入力信号とソース線電位が同じになるように動作する。入力信号の立ち上が
りから約0.07μsで入力信号の99.9%に達しており10インチでは4倍速動作が
可能であることを示している。
計算結果である。周波数以外の条件は前述と同じである。ここではサンプリングパルスと
入力信号とソース線のもっとも入力から離れた点での電位を示している。サンプリングパ
ルスがハイの期間で書き込みがおこなわれ、入力信号とソース線電位が同じになるように
動作する。入力信号の立ち上がりから、約0.13μsにて99.9%に達している。こ
の場合は表示装置が100インチであっても規定時間の範囲で99.9%の書き込みがで
きることを示している。このように移動度が100cm2/Vsあればソースドライバを
内蔵し、2倍速において、表示サイズが100インチであっても動作をおこなうことが可
能になる。
本実施の形態では、トランジスタの作製例の一例を図1、図2、及び図3を用いて示す。
を用いてフォトリソグラフィ工程によりゲート電極層401を設ける。
板400として用いるガラス基板は、後の工程で行う加熱処理の温度が高い場合には、歪
み点が730℃以上のものを用いると良い。また、基板400には、例えば、アルミノシ
リケートガラス、アルミノホウケイ酸ガラス、バリウムホウケイ酸ガラスなどのガラス材
料が用いられている。なお、酸化ホウ素と比較して酸化バリウム(BaO)を多く含ませ
ることで、より実用的な耐熱ガラスが得られる。このため、B2O3よりBaOを多く含
むガラス基板を用いることが好ましい。
層は、基板400からの不純物元素の拡散を防止する機能があり、窒化珪素、酸化珪素、
窒化酸化珪素、または酸化窒化珪素から選ばれた一または複数の層による積層構造により
形成することができる。
ては、Al、Cr、Cu、Ta、Ti、Mo、Wから選ばれた元素、または上述した元素
を成分とする合金か、上述した元素を組み合わせた合金等を用いるのが好ましい。例えば
、チタン層上にアルミニウム層と、該アルミニウム層上にチタン層が積層された三層の積
層構造、またはモリブデン層上にアルミニウム層と、該アルミニウム層上にモリブデン層
を積層した三層の積層構造とすることが好ましい。勿論、金属導電層として単層、または
2層構造、または4層以上の積層構造としてもよい。後に加熱処理を行う場合、ゲート電
極層401としてその加熱処理温度に耐えうる材料を選択することが好ましい、
、プラズマCVD法又はスパッタ法等を用いて、酸化珪素層、窒化珪素層、酸化ハフニウ
ム層、酸化窒化珪素層又は窒化酸化珪素層を単層で又は積層して形成することができる。
例えば、窒化珪素膜と酸化珪素膜の積層とする。ゲート絶縁層402の膜厚は50nm以
上200nm以下とする。
ここでは、高密度プラズマ装置は、1×1011/cm3以上のプラズマ密度を達成でき
る装置を指している。例えば、3kW~6kWのマイクロ波電力を印加してプラズマを発
生させて、絶縁膜の成膜を行う。
スを導入し、10Pa~30Paの圧力下で高密度プラズマを発生させてガラス等の絶縁
表面を有する基板上に絶縁膜を形成する。その後、モノシランガスの供給を停止し、大気
に曝すことなく亜酸化窒素(N2O)と希ガスとを導入して絶縁膜表面にプラズマ処理を
行ってもよい。少なくとも亜酸化窒素(N2O)と希ガスとを導入して絶縁膜表面に行わ
れるプラズマ処理は、絶縁膜の成膜より後に行う。上記プロセス順序を経た絶縁膜は、膜
厚が薄く、例えば100nm未満であっても信頼性を確保することができる絶縁膜である
。
酸化窒素(N2O)との流量比は、1:10から1:200の範囲とする。また、チャン
バーに導入する希ガスとしては、ヘリウム、アルゴン、クリプトン、キセノンなどを用い
ることができるが、中でも安価であるアルゴンを用いることが好ましい。
段差被覆性に優れている。また、高密度プラズマ装置により得られる絶縁膜は、薄い膜の
厚みを精密に制御することができる。
は大きく異なっており、同じエッチャントを用いてエッチング速度を比較した場合におい
て、平行平板型のPCVD装置で得られる絶縁膜の10%以上または20%以上遅く、高
密度プラズマ装置で得られる絶縁膜は緻密な膜と言える。
の酸化窒化珪素膜(SiOxNyとも呼ぶ、ただし、x>y>0)を用いる。
を形成する。また、第1の酸化物半導体層は、希ガス(代表的にはアルゴン)雰囲気下、
酸素雰囲気下、又は希ガス(代表的にはアルゴン)及び酸素混合雰囲気下においてスパッ
タ法により形成することができる。
に残存している水分などを除去することが好ましい。スパッタ装置内の残留水分を除去す
るためには、吸着型の真空ポンプを用いることが好ましい。例えば、クライオポンプ、イ
オンポンプ、チタンサブリメーションポンプを用いることが好ましい。また、排気手段と
しては、ターボポンプにコールドトラップを加えたものであってもよい。クライオポンプ
を用いて排気したスパッタ装置の成膜室は、例えば、水素原子や、水(H2O)など水素
原子を含む化合物等が排気されるため、当該成膜室で成膜し酸化物半導体膜に含まれる不
純物の濃度を低減できる。
Zn-O系酸化物半導体ターゲット(In2O3:Ga2O3:ZnO=1:1:2[m
ol数比])を用いて、基板とターゲットの間との距離を170mm、圧力0.4Pa、
直流(DC)電源0.5kW、酸素のみ、アルゴンのみ、又はアルゴン及び酸素雰囲気下
で膜厚5nmの第1の酸化物半導体層を成膜する。また、酸化物半導体ターゲットとして
In2O3:Ga2O3:ZnO=1:1:1[mol数比]の組成比を有するターゲッ
ト、またはIn2O3:Ga2O3:ZnO=1:1:4[mol数比]の組成比を有す
るターゲットを用いることもできる。本実施の形態では、後に加熱処理を行い意図的に結
晶化させるため、結晶化が生じやすい酸化物半導体ターゲットを用いることが好ましい。
5%以上、さらに好ましくは99.9%以上とするのが好ましい。相対密度の高いターゲ
ットを用いると、形成される酸化物半導体膜中の不純物濃度を低減することができ、電気
特性または信頼性の高いトランジスタを得ることができる。
ーゲット材料中に残存している水分または水素を除去するためにプリヒート処理を行うと
良い。プリヒート処理としては成膜チャンバー内を減圧下で200℃~600℃に加熱す
る方法や、加熱しながら窒素や不活性ガスの導入と排気を繰り返す方法等がある。
。第1の加熱処理の温度は、450℃以上850℃以下とする。また、加熱時間は1分以
上24時間以下とする。第1の加熱処理によって表面から結晶成長した多結晶層である第
1の酸化物半導体層403を形成する(図2(A)参照。)。また、表面に形成される結
晶層は、その表面にa-b面を有し、表面に対して垂直方向にc軸配向をしている。本実
施の形態では、第1の加熱処理によって第1の酸化物半導体層の全体に渡って結晶(CG
(Co-growing)結晶とも呼ぶ)とする例を示す。
希ガスに、水、水素などが含まれないことが好ましい。または、加熱処理装置に導入する
窒素、酸素、またはヘリウム、ネオン、アルゴン等の希ガスの純度を、6N以上、好まし
くは7N以上、とすることが好ましい。また、H2Oが20ppm以下の乾燥空気雰囲気
下で第1の加熱処理を行っても良い。
処理を行う。
素雰囲気として雰囲気を切り替えてもよく、窒素雰囲気で脱水または脱水化が行われた後
、雰囲気を切り替えて酸素雰囲気にすることで第1の酸化物半導体層内部に酸素を補給し
てI型とすることができる。
物半導体層403よりも膜厚の厚く、10μm以下の膜厚範囲の第2の酸化物半導体層4
04を形成する(図2(B)参照。)。なお、第2の酸化物半導体層404の膜厚は、作
製するデバイスによって最適な膜厚を実施者が決定すればよい。例えば、ボトムゲート型
トランジスタを作製する場合は、第1の酸化物半導体層403と第2の酸化物半導体層4
04の合計膜厚は10nm以上200nm以下とする。
-O膜や、三元系金属酸化物であるIn-Ga-Zn-O膜、In-Sn-Zn-O膜、
In-Al-Zn-O膜、Sn-Ga-Zn-O膜、Al-Ga-Zn-O膜、Sn-A
l-Zn-O系や、二元系金属酸化物であるIn-Zn-O膜、Sn-Zn-O膜、Al
-Zn-O膜、Zn-Mg-O膜、Sn-Mg-O膜、In-Mg-O膜や、In-O膜
、Sn-O膜、Zn-O膜などの酸化物半導体膜を用いることができる。
料を用いること、あるいは同一の結晶構造かつ近接した格子定数(ミスマッチが1%以下
)を有することが好ましい。同一成分を含む材料を用いる場合、後に行われる結晶化にお
いて第1の酸化物半導体層403の多結晶層を種として結晶成長を行いやすくなる。また
、同一成分を含む材料である場合には、密着性などの界面物性や電気的特性も良好である
。
長を行う。第2の加熱処理の温度は、450℃以上850℃以下、好ましくは550℃以
上650℃以下とする。また、加熱時間は1分以上24時間以下とする。第2の加熱処理
によって第2の酸化物半導体層を結晶化させる。こうして板状結晶の酸化物半導体積層4
30を得ることができる(図2(C)参照。)。
ましい。また、単結晶体でなくともチャネル形成領域で各結晶のa軸およびb軸が配向し
、かつ、酸化物半導体層の表面に対して垂直にc軸配向した多結晶体であることが好まし
い。なお、酸化物半導体層の下地表面に凹凸がある場合、板状結晶は、多結晶体となる。
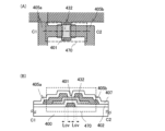
るために、図1(A)、図1(B)、及び図1(C)に拡大模式図を示す。
酸化物結晶部材501を示している。図1(A)は図2(A)に対応しており、下地部材
500は、ゲート絶縁層402に相当する。また、図1(B)は図2(B)に対応してお
り、第2の酸化物半導体層502の成膜直後の断面図である。また、図1(C)は、図2
(C)に対応しており、第2の加熱処理後の断面図である。第2の加熱処理によって、さ
らに高い配向性を有する結晶層からなる第3の酸化物結晶部材503aとなる。また、第
1の酸化物部材と第2の酸化物部材に同一成分を含む酸化物半導体材料を用いる場合、図
1(C)に示すように、第3の酸化物結晶部材503aの結晶層を核として第2の酸化物
部材の表面に向かって上方に結晶成長し、第2の酸化物結晶部材503bが形成され、結
晶部材同士がc軸配向を有する。そのため、図1(C)では点線で示したが、第3の酸化
物結晶部材と第2の酸化物結晶部材の境界は不明瞭となる。また、第2の加熱処理によっ
て、成膜直後の第2の酸化物部材の内部は、高純度化され、非晶質を含む層となる。
0をフォトリソグラフィ工程により島状の酸化物半導体積層431に加工する(図2(D
)参照。)。また、島状の酸化物半導体積層431を形成するためのレジストマスクをイ
ンクジェット法で形成してもよい。レジストマスクをインクジェット法で形成するとフォ
トマスクを使用しないため、製造コストを低減できる。
より金属導電膜を形成した後、フォトリソグラフィ工程によりレジストマスクを形成し、
選択的にエッチングを行って金属電極層を形成する。
電膜の材料としては、Al、Cu、Cr、Ta、Ti、Mo、Wなどの金属材料、または
該金属材料を成分とする合金材料で形成する。また、Al、Cuなどの金属層の下側もし
くは上側の一方または双方にCr、Ta、Ti、Mo、Wなどの高融点金属層を積層させ
た構成としても良い。また、Si、Ti、Ta、W、Mo、Cr、Nd、Sc、YなどA
l膜に生ずるヒロックやウィスカーの発生を防止する元素が添加されているAl材料を用
いることで耐熱性を向上させることが可能となる。
タン層が積層された三層の積層構造、またはモリブデン層上にアルミニウム層と、該アル
ミニウム層上にモリブデン層を積層した三層の積層構造とすることが好ましい。また、金
属導電膜としてアルミニウム層とタングステン層を積層した二層の積層構造、銅層とタン
グステン層を積層した二層の積層構造、アルミニウム層とモリブデン層を積層した二層の
積層構造とすることもできる。勿論、金属導電膜として単層、または4層以上の積層構造
としてもよい。
し、選択的にエッチングを行ってソース電極層405a、及びドレイン電極層405bを
形成した後、レジストマスクを除去する(図2(E)参照。)。なお、このフォトリソグ
ラフィ工程では、島状の酸化物半導体積層431は一部のみがエッチングされ、溝部(凹
部)を有する酸化物半導体層となることもある。
ドレイン電極層405b)と重なる領域を有することも特徴の一つである。ソース電極層
405aの端部と、ゲート絶縁層402の段差、即ち断面図において、ゲート絶縁層の平
坦面からテーパー面となる変化点との間の領域(ここでは図2(E)中で示したLOV領
域)を有している。LOV領域は、ゲート電極層の端部の凹凸で生じる結晶粒界に、キャ
リアが流れないようにするために重要である。
電極層405bと接する結晶層が非晶質状態となることもある。
スクをインクジェット法で形成してもよい。レジストマスクをインクジェット法で形成す
るとフォトマスクを使用しないため、製造コストを低減できる。
した光が複数の強度となる露光マスクである多階調マスクによって形成されたレジストマ
スクを用いてエッチング工程を行ってもよい。多階調マスクを用いて形成したレジストマ
スクは複数の膜厚を有する形状となり、エッチングを行うことさらに形状を変形すること
ができるため、異なるパターンに加工する複数のエッチング工程に用いることができる。
よって、一枚の多階調マスクによって、少なくとも二種類以上の異なるパターンに対応す
るレジストマスクを形成することができる。よって露光マスク数を削減することができ、
対応するフォトリソグラフィ工程も削減できるため、工程の簡略化が可能となる。
。
層407に水、水素等の不純物を混入させない方法を適宜用いて形成することができる。
本実施の形態では、酸化物絶縁層407として膜厚300nmの酸化珪素膜をスパッタ法
を用いて成膜する。成膜時の基板温度は、室温以上300℃以下とすればよく、本実施の
形態では100℃とする。酸化珪素膜のスパッタ法による成膜は、希ガス(代表的にはア
ルゴン)雰囲気下、酸素雰囲気下、または希ガス(代表的にはアルゴン)と酸素の混合雰
囲気下において行うことができる。また、ターゲットとして酸化珪素ターゲットまたは珪
素ターゲットを用いることができる。例えば、珪素ターゲットを用いて、酸素、及び窒素
雰囲気下でスパッタ法により酸化珪素を形成することができる。低抵抗化した酸化物半導
体層に接して形成する酸化物絶縁層407は、無機絶縁膜を用い、代表的には酸化珪素膜
、窒化酸化珪素膜、酸化アルミニウム膜、または酸化窒化アルミニウム膜などを用いる。
さらに、酸化物絶縁層407上に窒化珪素膜、窒化アルミニウム膜などの保護絶縁層を形
成してもよい。
るコンタクトホールを形成し、ゲート電極層401に電気的に接続し、ゲート電位を与え
る接続電極を酸化物絶縁層407上に形成してもよい。また、ゲート絶縁層402を形成
後にゲート電極層401に達するコンタクトホールを形成し、その上にソース電極層また
はドレイン電極層と同じ材料で接続電極を形成し、接続電極上に酸化物絶縁層407を形
成し、酸化物絶縁層407に接続電極に達するコンタクトホールを形成した後、接続電極
と電気的に接続する電極を形成してゲート電位を与える電極を酸化物絶縁層407上に形
成してもよい。
にトランジスタ470の上面図の一例を示す。なお、図3(B)は、図3(A)の鎖線C
1-C2で切断した断面図に相当する。
に垂直にc軸配向して酸化物部材を有するとともに、ソース電極層またはドレイン電極層
は、ゲート電極層の端部による凹凸にまで重なり合っていることも特徴の一つである。酸
化物部材(本実施の形態では酸化物半導体積層432)は、基板側に凹凸があった場合に
は、凹部のぶつかる領域に結晶粒界がある多結晶となる。従って、図3(B)に示すLo
v領域を形成することによって、ゲート電極層の端部の凹凸で生じる結晶粒界に、キャリ
アが流れないようにすることができる。そのため、トランジスタ470において、ソース
電極層またはドレイン電極層は、ゲート電極の平坦部の上方にまで渡って設け、ゲート電
極層とかさなり(オーバーラップ)を有する。
ない。トップゲート型トランジスタや、ボトムゲート型トランジスタであればよく、例え
ば、図2(E)でのソース電極層及びドレイン電極層の形成時のエッチングダメージを保
護するために、チャネル形成領域と重なる酸化物絶縁層をチャネルストッパーとして設け
るチャネルストップ型のトランジスタとしてもよい。
てもよい。バックゲートの電位は、固定電位、例えば0Vや、接地電位とすることができ
、実施者が適宜決定すればよい。また、バックゲートに加えるゲート電圧を制御すること
によって、しきい値電圧を制御することができる。また、しきい値電圧を正としてエンハ
ンスメント型トランジスタとして機能させることができる。また、しきい値電圧を負とし
てデプレッション型トランジスタとして機能させることもできる。例えば、エンハンスメ
ント型トランジスタとデプレッション型トランジスタを組み合わせてインバータ回路(以
下、EDMOS回路という)を構成し、駆動回路に用いることができる。駆動回路は、論
理回路部と、スイッチ部またはバッファ部を少なくとも有する。論理回路部は上記EDM
OS回路を含む回路構成とする。
明する。
)上にゲート絶縁膜(GI)を介して酸化物半導体層(OS)が設けられ、その上にソー
ス電極(S)及びドレイン電極(D)が設けられている。また、ソース電極(S)及びド
レイン電極(D)上に酸化物半導体層(OS)のチャネル形成領域と重なる酸化物絶縁層
を有している。
図14(A)はソースとドレインの間の電圧を等電位(VD=0V)とした場合を示し、
図14(B)はソースに対しドレインに正の電位(VD>0)を加えた場合を示す。また
、図7中の黒丸(●)は電子を示し、白丸(○)は正孔を示し、それぞれは電荷(-q,
+q)を有している。
し、ゲート電圧が0Vの場合の状態を示す。図15(A)はゲート(G1)に正の電位(
+VG)が印加された状態であり、ソースとドレイン間にキャリア(電子)が流れるオン
状態を示している。また、図15(B)は、ゲート(G1)に負の電位(-VG)が印加
された状態であり、オフ状態(少数キャリアは流れない)である場合を示す。
ナー濃度が1×1018/cm3以下であれば、空乏層は酸化物半導体の全体に渡って広
がる。すなわち完全空乏型の状態とみなすことができる。
係を示す。
半導体は一般にn型であり、その場合のフェルミ準位(Ef)は、バンドギャップ中央に
位置する真性フェルミ準位(Ei)から離れて、伝導帯寄りに位置している。なお、酸化
物半導体において水素はドナーでありn型化する一つの要因であることが知られている。
除去し、酸化物半導体の主成分以外の不純物が極力含まれないように高純度化することに
より真性(I型)とし、又は真性型とせんとしたものである。すなわち、不純物を添加し
てI型化するのでなく、水素や水等の不純物を極力除去したことにより、高純度化された
I型(真性半導体)又はそれに近づけることを特徴としている。そうすることにより、フ
ェルミ準位(Ef)は真性フェルミ準位(Ei)と同じレベルにまですることができる。
。酸化物半導体のバンドギャップ(Eg)が3.15eVである場合、電子親和力(χ)
は4.3eVと言われている。ソース電極及びドレイン電極を構成するチタン(Ti)仕
事関数は、酸化物半導体の電子親和力(χ)とほぼ等しい。この場合、金属-酸化物半導
体界面において、電子に対してショットキー型の障壁は形成されない。
両者が接触すると図14(A)で示すようなエネルギーバンド図(模式図)が示される。
電子はバリア(h)をこえて酸化物半導体に注入され、ドレインに向かって流れる。この
場合、バリア(h)の高さは、ゲート電圧とドレイン電圧に依存して変化するが、正のド
レイン電圧が印加された場合には、電圧印加のない図14(A)のバリアの高さすなわち
バンドギャップ(Eg)の1/2よりもバリアの高さ(h)は小さい値となる。
体との界面における、酸化物半導体側のエネルギー的に安定な最低部を移動する。
れると、少数キャリアであるホールは実質的にゼロであるため、電流は限りなくゼロに近
い値となる。
とにより真性(I型)とし、又は実質的に真性型とすることで、ゲート絶縁膜との界面特
性が顕在化するので、バルクの特性と分離して考える必要がある。そのためゲート絶縁膜
は、酸化物半導体と良好な界面を形成できるものが必要となる。例えば、VHF帯~マイ
クロ波帯の電源周波数で生成される高密度プラズマを用いたCVD法で作製される絶縁膜
、又はスパッタリング法で作製される絶縁膜を用いることが好ましい。
することにより、トランジスタの特性としてチャネル幅Wが1×104μmでチャネル長
が3μmの素子であっても、オフ電流が10-13A以下であり、サブスレッショルドス
イング値(S値)が0.1V/dec.(ゲート絶縁膜の膜厚100nm)という特性が
十分に期待される。
ことにより、移動度の高いトランジスタを形成し、トランジスタの動作を良好なものとす
ることができる。
実施の形態5は、第1の酸化物部材と第2の酸化物部材に同一成分を含む酸化物半導体材
料を用いる場合を示したが、本実施の形態では異なる成分の酸化物半導体材料を用いる場
合を示す。
ゲットを用い、第1の酸化物半導体層を5nmの膜厚とする例を示す。ボトムゲート型の
トランジスタとする場合、Gaの酸化物は絶縁物であるため、第1の酸化物半導体層とし
てIn-Ga-Zn-O膜を用いるよりもIn-Zn-O膜を用いることで電界効果移動
度を高くすることができる。
度や加熱時間などの条件にもよるが、第1の加熱処理により、表面から結晶成長させて下
地部材520の界面にまで多結晶である第1の酸化物結晶部材531を形成する(図17
(A)参照。)。
加熱処理により、下地部材の材料に関係なく、第1の酸化物半導体層の表面に比較的結晶
方位の揃った多結晶である第1の酸化物結晶部材531は、表面から深さ方向に結晶成長
する。また、第1の酸化物結晶部材531は、表面に対して垂直方向にc軸配向している
。
膜した直後の断面図である。本実施の形態では、第2の酸化物部材532として、In-
Ga-Zn-O系酸化物半導体ターゲット(In2O3:Ga2O3:ZnO=1:1:
2[mol数比])を用い、膜厚50nmのIn-Ga-Zn-O膜を形成する。
によって、図17(C)に示すように結晶成長を行う。図17(C)に示すように、第1
の酸化物結晶部材531の結晶層を種として第2の酸化物部材の表面に向かって上方に結
晶成長し、第2の酸化物結晶部材533bが形成される。
熱されるため、さらに結晶性が向上した第3の酸化物結晶部材533aとなる。
導体材料を用いるため、図17(C)に示すように、第3の酸化物結晶部材533aと第
2の酸化物結晶部材533bの境界が形成される。また、第2の加熱処理によっても、ゲ
ート絶縁層界面付近を含め第1の酸化物半導体層のほとんどを多結晶とする。
の酸化物結晶部材533bの順に積層された2層構造と言える。異なる材料を用いること
によって、トランジスタの電界効果移動度を高くすることができる。また、In-Ga-
Zn-O膜よりも結晶しやすいIn-Zn-O膜を用い、結晶成長の種とすることで、効
率よくその上方向に結晶成長を行い、In-Ga-Zn-O膜を多結晶とすることができ
る。
はホモエピタキシーと呼ぶ。また、成長させたい第2の酸化物結晶部材と下地となる第1
の酸化物結晶部材が異なる場合はヘテロエピタキシーと呼ぶ。本実施の形態では、それぞ
れの材料の選択により、どちらも可能である。
する。
本実施の形態では、c軸配向した結晶層を有する積層酸化物材料を含むトランジスタを作
製し、該トランジスタを画素部、さらには駆動回路に用いて表示機能を有する半導体装置
(表示装置ともいう)を作製する場合について説明する。また、トランジスタを、駆動回
路の一部または全体を、画素部と同一基板上に形成し、システムオンパネルを形成するこ
とができる。
素子(発光表示素子ともいう)を用いることができる。発光素子は、電流または電圧によ
って輝度が制御される素子をその範疇に含んでおり、具体的には無機EL(Electr
o Luminescence)、有機EL等が含まれる。また、電子インクなど、電気
的作用によりコントラストが変化する表示媒体も適用することができる。
該表示装置を作製する過程における、表示素子が完成する前の一形態に相当する素子基板
に関し、該素子基板は、電流を表示素子に供給するための手段を複数の各画素に備える。
素子基板は、具体的には、表示素子の画素電極のみが形成された状態であっても良いし、
画素電極となる導電層を形成した後であって、エッチングして画素電極を形成する前の状
態であっても良いし、あらゆる形態があてはまる。
ず、半導体装置の一形態に相当する液晶表示パネルの外観及び断面について、図18を用
いて説明する。図18(A)は、第1の基板4001上に形成されたc軸配向した結晶層
を有する積層酸化物材料を半導体層として含むトランジスタ4010、4011、及び液
晶素子4013を、第2の基板4006との間にシール材4005によって封止した、パ
ネルの上面図であり、図18(B)は、図18(A)のM-Nにおける断面図に相当する
。
線駆動回路4004とを囲むようにして、シール材4005が設けられている。また画素
部4002と、信号線駆動回路4003と、走査線駆動回路4004の上に第2の基板4
006が設けられている。よって画素部4002、信号線駆動回路4003、及び走査線
駆動回路4004は、第1の基板4001とシール材4005と第2の基板4006とに
よって、液晶層4008と共に封止されている。
、走査線駆動回路4004は、トランジスタを複数有しており、図18(B)では、画素
部4002に含まれるトランジスタ4010と、走査線駆動回路4004に含まれるトラ
ンジスタ4011とを例示している。トランジスタ4010、4011上には絶縁層40
20、4021が設けられている。
積層酸化物材料を含むトランジスタを適用することができる。本実施の形態において、ト
ランジスタ4010、4011はnチャネル型トランジスタである。
ネル形成領域と重なる位置に導電層4040が設けられている。導電層4040を酸化物
半導体層のチャネル形成領域と重なる位置に設けることによって、BT試験前後における
トランジスタ4011のしきい値電圧の変化量を低減することができる。また、導電層4
040は、電位がトランジスタ4011のゲート電極層と同じでもよいし、異なっていて
も良く、第2のゲート電極層として機能させることもできる。また、導電層4040の電
位がGND、0V、或いはフローティング状態であってもよい。
に接続されている。そして液晶素子4013の対向電極層4031は第2の基板4006
上に形成されている。画素電極層4030と対向電極層4031と液晶層4008とが重
なっている部分が、液晶素子4013に相当する。なお、画素電極層4030、対向電極
層4031はそれぞれ配向膜として機能する絶縁層4032、4033が設けられ、絶縁
層4032、4033を介して液晶層4008を挟持している。
スチックとしては、FRP(Fiberglass-Reinforced Plast
ics)板、PVF(ポリビニルフルオライド)フィルム、ポリエステルフィルムまたは
アクリル樹脂フィルムを用いることができる。また、アルミニウムホイルをPVFフィル
ムやポリエステルフィルムで挟んだ構造のシートを用いることもできる。
、画素電極層4030と対向電極層4031との間の距離(セルギャップ)を制御するた
めに設けられている。なお球状のスペーサを用いていても良い。また、対向電極層403
1は、トランジスタ4010と同一基板上に設けられる共通電位線と電気的に接続される
。また、共通接続部を用いて、一対の基板間に配置される導電性粒子を介して対向電極層
4031と共通電位線とを電気的に接続することができる。なお、導電性粒子はシール材
4005に含有させる。
あり、コレステリック液晶を昇温していくと、コレステリック相から等方相へ転移する直
前に発現する相である。ブルー相は狭い温度範囲でしか発現しないため、温度範囲を改善
するために5重量%以上のカイラル剤を混合させた液晶組成物を用いて液晶層4008に
用いる。ブルー相を示す液晶とカイラル剤とを含む液晶組成物は、応答速度が1msec
以下と短く、光学的等方性であるため配向処理が不要であり、視野角依存性が小さい。
ング処理によって引き起こされる静電破壊を防止することができ、作製工程中の液晶表示
装置の不良や破損を軽減することができる。よって液晶表示装置の生産性を向上させるこ
とが可能となる。特に、酸化物半導体層を用いるトランジスタは、静電気の影響によりト
ランジスタの電気的な特性が著しく変動して設計範囲を逸脱する恐れがある。よって酸化
物半導体層を用いるトランジスタを有する液晶表示装置にブルー相の液晶材料を用いるこ
とはより効果的である。
置は反射型液晶表示装置でも半透過型液晶表示装置でも適用できる。
側に着色層、表示素子に用いる電極層という順に設ける例を示すが、偏光板は基板の内側
に設けてもよい。また、偏光板と着色層の積層構造も本実施の形態に限定されず、偏光板
及び着色層の材料や作製工程条件によって適宜設定すればよい。また、必要に応じてブラ
ックマトリクスとして機能する遮光層を設けてもよい。
信頼性を向上させるため、トランジスタを保護層や平坦化絶縁層として機能する絶縁層(
絶縁層4020、絶縁層4021)で覆う構成となっている。なお、保護層は、大気中に
浮遊する有機物や金属物、水蒸気などの汚染不純物の侵入を防ぐためのものであり、緻密
な膜が好ましい。保護層は、スパッタ法を用いて、酸化珪素層、窒化珪素層、酸化窒化珪
素層、窒化酸化珪素層、酸化アルミニウム層、窒化アルミニウム層、酸化窒化アルミニウ
ム層、又は窒化酸化アルミニウム層の単層、又は積層で形成すればよい。本実施の形態で
は保護層をスパッタ法で形成する例を示すが、特に限定されず種々の方法で形成すればよ
い。
0の一層目として、スパッタ法を用いて酸化珪素層を形成する。保護層として酸化珪素層
を用いると、ソース電極層及びドレイン電極層として用いるアルミニウム層のヒロック防
止に効果がある。
て、スパッタ法を用いて窒化珪素層を形成する。保護層として窒化珪素層を用いると、ナ
トリウム等のイオンが半導体領域中に侵入して、トランジスタの電気特性を変化させるこ
とを抑制することができる。
ミド、アクリル、ベンゾシクロブテン、ポリアミド、エポキシ等の、耐熱性を有する有機
材料を用いることができる。また上記有機材料の他に、低誘電率材料(low-k材料)
、シロキサン系樹脂、PSG(リンガラス)、BPSG(リンボロンガラス)等を用いる
ことができる。なお、これらの材料で形成される絶縁層を複数積層させることで、絶縁層
4021を形成してもよい。
i結合を含む樹脂に相当する。シロキサン系樹脂は置換基としては有機基(例えばアルキ
ル基やアリール基)やフルオロ基を用いても良い。また、有機基はフルオロ基を有してい
ても良い。
、スピンコート、ディップ、スプレー塗布、液滴吐出法(インクジェット法、スクリーン
印刷、オフセット印刷等)、ドクターナイフ、ロールコーター、カーテンコーター、ナイ
フコーター等を用いることができる。絶縁層4021を材料液を用いて形成する場合、ベ
ークする工程で同時に、半導体層のアニール(300℃~400℃)を行ってもよい。絶
縁層4021の焼成工程と半導体層のアニールを兼ねることで効率よく半導体装置を作製
することが可能となる。
、酸化タングステンを含むインジウム亜鉛酸化物、酸化チタンを含むインジウム酸化物、
酸化チタンを含むインジウム錫酸化物、インジウム錫酸化物(以下、ITOと示す。)、
インジウム亜鉛酸化物、酸化ケイ素を添加したインジウム錫酸化物などの透光性を有する
導電性材料を用いることができる。
ともいう)を含む導電性組成物を用いて形成することができる。導電性組成物を用いて形
成した画素電極は、シート抵抗が10000Ω/□以下、波長550nmにおける透光率
が70%以上であることが好ましい。また、導電性組成物に含まれる導電性高分子の抵抗
率が0.1Ω・cm以下であることが好ましい。
ば、ポリアニリンまたはその誘導体、ポリピロールまたはその誘導体、ポリチオフェンま
たはその誘導体、若しくはこれらの2種以上の共重合体などがあげられる。
002に与えられる各種信号及び電位は、FPC4018から供給されている。
30と同じ導電層から形成され、端子電極4016は、トランジスタ4010、4011
のソース電極層及びドレイン電極層と同じ導電層で形成されている。
て電気的に接続されている。
装している例を示しているが、本実施の形態はこの構成に限定されない。走査線駆動回路
を画素部4002と同じ基板上に形成して実装しても良いし、信号線駆動回路の一部また
は走査線駆動回路の一部のみを画素部4002と同じ基板上に形成して実装しても良い。
01と第2の基板4006の外側には偏光板や拡散板を設ける。また、バックライトの光
源は冷陰極管やLEDにより構成されて液晶表示モジュールとなる。
n-Plane-Switching)モード、FFS(Fringe Field S
witching)モード、MVA(Multi-domain Vertical A
lignment)モード、PVA(Patterned Vertical Alig
nment)モード、ASM(Axially Symmetric aligned
Micro-cell)モード、OCB(Optical Compensated B
irefringence)モード、FLC(Ferroelectric Liqui
d Crystal)モード、AFLC(AntiFerroelectric Liq
uid Crystal)モードなどを用いることができる。
て液晶表示装置の駆動回路のトランジスタを作製することにより、駆動回路部のトランジ
スタのノーマリーオフを実現し、省電力化を図ることができる。
である。
半導体装置の一形態に相当する発光表示パネル(発光パネルともいう)の外観及び断面に
ついて、図19を用いて説明する。図19(A)は、第1の基板上に形成されたc軸配向
した結晶層を有する積層酸化物材料を含むトランジスタ及び発光素子を、第2の基板との
間にシール材によって封止した、パネルの平面図であり、図19(B)は、図19(A)
のH-Iにおける断面図に相当する。
3b、及び走査線駆動回路4504a、4504bを囲むようにして、シール材4505
が設けられている。また画素部4502、信号線駆動回路4503a、4503b、及び
走査線駆動回路4504a、4504bの上に第2の基板4506が設けられている。よ
って画素部4502、信号線駆動回路4503a、4503b、及び走査線駆動回路45
04a、4504bは、第1の基板4501とシール材4505と第2の基板4506と
によって、充填材4507と共に密封されている。このように外気に曝されないように気
密性が高く、脱ガスの少ない保護フィルム(貼り合わせフィルム、紫外線硬化樹脂フィル
ム等)やカバー材でパッケージング(封入)することが好ましい。
503b、及び走査線駆動回路4504a、4504bは、トランジスタを複数有してお
り、図19(B)では、画素部4502に含まれるトランジスタ4510と、信号線駆動
回路4503aに含まれるトランジスタ4509とを例示している。
積層酸化物材料を含む信頼性の高いトランジスタを適用することができる。本実施の形態
において、トランジスタ4509、4510はnチャネル型トランジスタである。
ル形成領域と重なる位置に導電層4540が設けられている。導電層4540を酸化物半
導体層のチャネル形成領域と重なる位置に設けることによって、BT試験前後におけるト
ランジスタ4509のしきい値電圧の変化量を低減することができる。また、導電層45
40は、電位がトランジスタ4509のゲート電極層と同じでもよいし、異なっていても
良く、第2のゲート電極層として機能させることもできる。また、導電層4540の電位
がGND、0V、或いはフローティング状態であってもよい。
縁層4541が形成されている。絶縁層4541は実施の形態5で示した酸化物絶縁層4
07と同様な材料及び方法で形成すればよい。また、トランジスタの表面凹凸を低減する
ため平坦化絶縁層として機能する絶縁層4544で覆う構成となっている。ここでは、絶
縁層4541として、実施の形態5に示す酸化物絶縁層407を用いてスパッタ法により
酸化珪素層を形成する。
44としては、実施の形態7で示した絶縁層4021と同様な材料及び方法で形成すれば
よい。ここでは、絶縁層4544としてアクリルを用いる。
層4517は、トランジスタ4510のソース電極層またはドレイン電極層と電気的に接
続されている。なお発光素子4511の構成は、第1の電極層4517、電界発光層45
12、第2の電極層4513の積層構造であるが、示した構成に限定されない。発光素子
4511から取り出す光の方向などに合わせて、発光素子4511の構成は適宜変えるこ
とができる。
特に感光性の材料を用い、第1の電極層4517上に開口部を形成し、その開口部の側壁
が連続した曲率を持って形成される傾斜面となるように形成することが好ましい。
されていてもどちらでも良い。
4513及び隔壁4520上に保護層を形成してもよい。保護層としては、窒化珪素層、
窒化酸化珪素層、DLC層等を形成することができる。
、または画素部4502に与えられる各種信号及び電位は、FPC4518a、4518
bから供給されている。
から形成され、端子電極4516は、トランジスタ4509、4510が有するソース電
極層及びドレイン電極層と同じ導電層から形成されている。
して電気的に接続されている。
ければならない。その場合には、ガラス板、プラスチック板、ポリエステルフィルムまた
はアクリルフィルムのような透光性を有する材料を用いる。
脂または熱硬化樹脂を用いることができ、PVC(ポリビニルクロライド)、アクリル、
ポリイミド、エポキシ樹脂、シリコーン樹脂、PVB(ポリビニルブチラル)またはEV
A(エチレンビニルアセテート)を用いることができる。例えば充填材として窒素を用い
ればよい。
位相差板(λ/4板、λ/2板)、カラーフィルタなどの光学フィルムを適宜設けてもよ
い。また、偏光板又は円偏光板に反射防止膜を設けてもよい。例えば、表面の凹凸により
反射光を拡散し、映り込みを低減できるアンチグレア処理を施すことができる。
である。
半導体装置の一形態として電子ペーパーの例を示す。
むトランジスタは、スイッチング素子と電気的に接続する素子を利用して電子インクを駆
動させる電子ペーパーに用いてもよい。電子ペーパーは、電気泳動表示装置(電気泳動デ
ィスプレイ)とも呼ばれており、紙と同じ読みやすさ、他の表示装置に比べ低消費電力、
薄くて軽い形状とすることが可能という利点を有している。
子と、マイナスの電荷を有する第2の粒子とを含むマイクロカプセルが溶媒または溶質に
複数分散されたものであり、マイクロカプセルに電界を印加することによって、マイクロ
カプセル中の粒子を互いに反対方向に移動させて一方側に集合した粒子の色のみを表示す
るものである。なお、第1の粒子または第2の粒子は染料を含み、電界がない場合におい
て移動しないものである。また、第1の粒子の色と第2の粒子の色は異なるもの(無色を
含む)とする。
いわゆる誘電泳動的効果を利用したディスプレイである。
の電子インクはガラス、プラスチック、布、紙などの表面に印刷することができる。また
、カラーフィルタや色素を有する粒子を用いることによってカラー表示も可能である。
ロカプセルを複数配置すればアクティブマトリクス型の表示装置が完成し、マイクロカプ
セルに電界を印加すれば表示を行うことができる。例えば、実施の形態5のc軸配向した
結晶層を有する積層酸化物材料を含むトランジスタによって得られるアクティブマトリク
ス基板を用いることができる。
半導体材料、磁性材料、液晶材料、強誘電性材料、エレクトロルミネセント材料、エレク
トロクロミック材料、磁気泳動材料から選ばれた一種の材料、またはこれらの複合材料を
用いればよい。
装置に用いられるトランジスタ581としては、実施の形態5で示すトランジスタと同様
に作製でき、c軸配向した結晶層を有する積層酸化物材料を含む信頼性の高いトランジス
タである。
トボール表示方式とは、白と黒に塗り分けられた球形粒子を表示素子に用いる電極層であ
る第1の電極層及び第2の電極層の間に配置し、第1の電極層及び第2の電極層に電位差
を生じさせての球形粒子の向きを制御することにより、表示を行う方法である。
583に覆われている。トランジスタ581のソース電極層又はドレイン電極層は、第1
の電極層587と、絶縁層583、585に形成する開口で接しており電気的に接続して
いる。第1の電極層587と第2の電極層588との間には黒色領域590a及び白色領
域590bを有し、周りに液体で満たされているキャビティ594を含む球形粒子589
が一対の基板580、596の間に設けられており、球形粒子589の周囲は樹脂等の充
填材595で充填されている(図20参照。)。
る。第2の電極層588は、トランジスタ581と同一絶縁基板上に設けられる共通電位
線と電気的に接続される。共通接続部を用いて、一対の基板間に配置される導電性粒子を
介して第2の電極層588と共通電位線とを電気的に接続することができる。
と、正に帯電した白い微粒子と負に帯電した黒い微粒子とを封入した直径10μm~20
0μm程度のマイクロカプセルを用いる。第1の電極層と第2の電極層との間に設けられ
るマイクロカプセルは、第1の電極層と第2の電極層によって、電場が与えられると、白
い微粒子と、黒い微粒子が逆の方向に移動し、白または黒を表示することができる。この
原理を応用した表示素子が電気泳動表示素子であり、一般的に電子ペーパーとよばれてい
る。電気泳動表示素子は、液晶表示素子に比べて反射率が高いため、補助ライトは不要で
あり、また消費電力が小さく、薄暗い場所でも表示部を認識することが可能である。また
、表示部に電源が供給されない場合であっても、一度表示した像を保持することが可能で
あるため、電波発信源から表示機能付き半導体装置(単に表示装置、又は表示装置を具備
する半導体装置ともいう)を遠ざけた場合であっても、表示された像を保存しておくこと
が可能となる。
である。
本明細書に開示する半導体装置は、さまざまな電子機器(遊技機も含む)に適用すること
ができる。電子機器としては、例えば、テレビジョン装置(テレビ、またはテレビジョン
受信機ともいう)、コンピュータ用などのモニタ、デジタルカメラ、デジタルビデオカメ
ラ、デジタルフォトフレーム、携帯電話機(携帯電話、携帯電話装置ともいう)、携帯型
ゲーム機、携帯情報端末、音響再生装置、パチンコ機などの大型ゲーム機などが挙げられ
る。
機器の例について図21及び図22を用いて説明する。
ソナルコンピュータであり、本体3001、筐体3002、表示部3003、キーボード
3004などによって構成されている。なお、実施の形態7に示す液晶表示装置をノート
型のパーソナルコンピュータは有している。
PDA)であり、本体3021には表示部3023と、外部インターフェイス3025と
、操作ボタン3024等が設けられている。また操作用の付属品としてスタイラス302
2がある。なお、実施の形態8に示す発光表示装置を携帯情報端末は有している。
書籍である。図21(C)は、電子書籍2700を示している。例えば、電子書籍270
0は、筐体2701および筐体2703の2つの筐体で構成されている。筐体2701お
よび筐体2703は、軸部2711により一つの電子機器とされており、該軸部2711
を軸として開閉動作を行うことができる。このような構成により、紙の書籍のような動作
を行うことが可能となる。
込まれている。表示部2705および表示部2707は、続き画面を表示する構成として
もよいし、異なる画面を表示する構成としてもよい。異なる画面を表示する構成とするこ
とで、例えば右側の表示部(図21(C)では表示部2705)に文章を表示し、左側の
表示部(図21(C)では表示部2707)に画像を表示することができる。
筐体2701において、電源2721、操作キー2723、スピーカ2725などを備え
ている。操作キー2723により、頁を送ることができる。なお、筐体の表示部と同一面
にキーボードやポインティングデバイスなどを備える構成としてもよい。また、筐体の裏
面や側面に、外部接続用端子(イヤホン端子、USB端子、またはACアダプタおよびU
SBケーブルなどの各種ケーブルと接続可能な端子など)、記録媒体挿入部などを備える
構成としてもよい。さらに、電子書籍2700は、電子辞書としての機能を持たせた構成
としてもよい。
電子書籍サーバから、所望の書籍データなどを購入し、ダウンロードする構成とすること
も可能である。
、筐体2800及び筐体2801の二つの筐体で構成されている。筐体2801には、表
示パネル2802、スピーカー2803、マイクロフォン2804、ポインティングデバ
イス2806、カメラ用レンズ2807、外部接続端子2808などを備えている。また
、筐体2801には、携帯型情報端末の充電を行う太陽電池セル2810、外部メモリス
ロット2811などを備えている。また、アンテナは筐体2801内部に内蔵されている
。
ている複数の操作キー2805を点線で示している。なお、太陽電池セル2810で出力
される電圧を各回路に必要な電圧に昇圧するための昇圧回路も実装している。
ル2802と同一面上にカメラ用レンズ2807を備えているため、テレビ電話が可能で
ある。スピーカー2803及びマイクロフォン2804は音声通話に限らず、テレビ電話
、録音、再生などが可能である。さらに、筐体2800と筐体2801は、スライドし、
図21(D)のように展開している状態から重なり合った状態とすることができ、携帯に
適した小型化が可能である。
であり、充電及びパーソナルコンピュータなどとのデータ通信が可能である。また、外部
メモリスロット2811に記録媒体を挿入し、より大量のデータ保存及び移動に対応でき
る。
もよい。
あり、本体3051、表示部(A)3057、接眼部3053、操作スイッチ3054、
表示部(B)3055、バッテリー3056などによって構成されている。
9601に表示部9603が組み込まれている。表示部9603により、映像を表示する
ことが可能である。また、ここでは、スタンド9605により筐体9601を支持した構
成を示している。
コン操作機9610により行うことができる。リモコン操作機9610が備える操作キー
9609により、チャンネルや音量の操作を行うことができ、表示部9603に表示され
る映像を操作することができる。また、リモコン操作機9610に、当該リモコン操作機
9610から出力する情報を表示する表示部9607を設ける構成としてもよい。
より一般のテレビ放送の受信を行うことができ、さらにモデムを介して有線または無線に
よる通信ネットワークに接続することにより、一方向(送信者から受信者)または双方向
(送信者と受信者間、あるいは受信者間同士など)の情報通信を行うことも可能である。
を複数配置し、その表示部9603と同一絶縁基板上に形成する駆動回路として実施の形
態5に示す移動度の高いトランジスタを配置する。
401 ゲート電極層
402 ゲート絶縁層
403 第1の酸化物半導体層
404 第2の酸化物半導体層
405a ソース電極層
405b ドレイン電極層
407 酸化物絶縁層
430 酸化物半導体積層
431 島状の酸化物半導体積層
432 酸化物半導体積層
470 トランジスタ
500 下地部材
501 第1の酸化物結晶部材
502 酸化物半導体層
503a 酸化物結晶部材
503b 酸化物結晶部材
504 非晶質を含む層
520 下地部材
531 酸化物結晶部材
532 酸化物部材
533a 酸化物結晶部材
533b 酸化物結晶部材
580 基板
581 トランジスタ
583 絶縁層
585 絶縁層
587 電極層
588 電極層
589 球形粒子
590a 黒色領域
590b 白色領域
594 キャビティ
595 充填材
596 基板
1501 ガラス基板
1502 画素部
1503 ゲートドライバ
1504 ゲートドライバ
1505 アナログスイッチ
1506 FPC
1507 FPC
1508 FPC
1509 FPC
1701 ガラス基板
1702 画素部
1703 ゲートドライバ
1704 ゲートドライバ
1705 ソースドライバ
1706 FPC
1707 FPC
1711 ガラス基板
1712 画素部
1713 ゲートドライバ
1714 ゲートドライバ
1715 ゲートドライバ
1716 ゲートドライバ
1717 ソースドライバ
1718 ソースドライバ
1719 ソースドライバ
1720 ソースドライバ
1721 FPC
1722 FPC
1723 FPC
1724 FPC
2700 電子書籍
2701 筐体
2703 筐体
2705 表示部
2707 表示部
2711 軸部
2721 電源
2723 操作キー
2725 スピーカ
2800 筐体
2801 筐体
2802 表示パネル
2803 スピーカー
2804 マイクロフォン
2805 操作キー
2806 ポインティングデバイス
2807 カメラ用レンズ
2808 外部接続端子
2810 太陽電池セル
2811 外部メモリスロット
3001 本体
3002 筐体
3003 表示部
3004 キーボード
3021 本体
3022 スタイラス
3023 表示部
3024 操作ボタン
3025 外部インターフェイス
3051 本体
3053 接眼部
3054 操作スイッチ
3055 表示部(B)
3056 バッテリー
3057 表示部(A)
4001 基板
4002 画素部
4003 信号線駆動回路
4004 走査線駆動回路
4005 シール材
4006 基板
4008 液晶層
4010 トランジスタ
4011 トランジスタ
4013 液晶素子
4015 接続端子電極
4016 端子電極
4018 FPC
4019 異方性導電層
4020 絶縁層
4021 絶縁層
4030 画素電極層
4031 対向電極層
4032 絶縁層
4033 絶縁層
4035 スペーサー
4040 導電層
4501 基板
4502 画素部
4503a 信号線駆動回路
4503b 信号線駆動回路
4504a 走査線駆動回路
4504b 走査線駆動回路
4505 シール材
4506 基板
4507 充填材
4509 トランジスタ
4510 トランジスタ
4511 発光素子
4512 電界発光層
4513 電極層
4515 接続端子電極
4516 端子電極
4517 電極層
4518a FPC
4518b FPC
4519 異方性導電層
4520 隔壁
4540 導電層
4541 絶縁層
4544 絶縁層
9600 テレビジョン装置
9601 筐体
9603 表示部
9605 スタンド
9607 表示部
9609 操作キー
9610 リモコン操作機
Claims (2)
- 基板上に、駆動回路と、画素部とを有し、
前記駆動回路は、第1の酸化物半導体層を有する第1のトランジスタを有し、
前記画素部は、マトリクス状に配置された複数の画素を有し、
前記画素の少なくとも一は、第2の酸化物半導体層を有する第2のトランジスタと、前記第2のトランジスタと電気的に接続された画素電極と、を有し、
前記第2の酸化物半導体層の下方に配置され、前記第2のトランジスタのゲート電極として機能する領域を有する第1の導電層を有し、
前記第2の酸化物半導体層は、前記第1の導電層の上面と重なる第1の領域と、前記第1の導電層の側面の傾斜に沿うように傾斜した第2の領域と、を有し、
前記第1の領域は、c軸に配向した結晶部を有し、
前記第2の領域は、c軸に配向した結晶部を有し、
前記第1の領域におけるc軸の向きと、前記第2の領域におけるc軸の向きとは、異なる方向である、表示装置。 - 基板上に、駆動回路と、画素部とを有し、
前記駆動回路は、第1の酸化物半導体層を有する第1のトランジスタを有し、
前記画素部は、マトリクス状に配置された複数の画素を有し、
前記画素の少なくとも一は、第2の酸化物半導体層を有する第2のトランジスタと、前記第2のトランジスタと電気的に接続された画素電極と、を有し、
前記第2の酸化物半導体層の下方に配置され、前記第2のトランジスタのゲート電極として機能する領域を有する第1の導電層を有し、
前記第2の酸化物半導体層は、前記第1の導電層の上面と重なる第1の領域と、前記第1の導電層の側面の傾斜に沿うように傾斜した第2の領域と、を有し、
前記第1の領域は、c軸に配向した結晶部を有し、
前記第2の領域は、c軸に配向した結晶部を有し、
前記第1の領域におけるc軸の向きと、前記第2の領域におけるc軸の向きとは、異なる方向であり、
前記駆動回路は、前記第1の導電層と電気的に接続される、表示装置。
Priority Applications (1)
| Application Number | Priority Date | Filing Date | Title |
|---|---|---|---|
| JP2025020575A JP2025087713A (ja) | 2009-12-04 | 2025-02-12 | 表示装置 |
Applications Claiming Priority (4)
| Application Number | Priority Date | Filing Date | Title |
|---|---|---|---|
| JP2009276918 | 2009-12-04 | ||
| JP2009276918 | 2009-12-04 | ||
| JP2021022365A JP7039742B2 (ja) | 2009-12-04 | 2021-02-16 | トランジスタ |
| JP2022036123A JP7362811B2 (ja) | 2009-12-04 | 2022-03-09 | 表示装置 |
Related Parent Applications (1)
| Application Number | Title | Priority Date | Filing Date |
|---|---|---|---|
| JP2022036123A Division JP7362811B2 (ja) | 2009-12-04 | 2022-03-09 | 表示装置 |
Related Child Applications (1)
| Application Number | Title | Priority Date | Filing Date |
|---|---|---|---|
| JP2025020575A Division JP2025087713A (ja) | 2009-12-04 | 2025-02-12 | 表示装置 |
Publications (2)
| Publication Number | Publication Date |
|---|---|
| JP2024012304A JP2024012304A (ja) | 2024-01-30 |
| JP7635332B2 true JP7635332B2 (ja) | 2025-02-25 |
Family
ID=44114873
Family Applications (11)
| Application Number | Title | Priority Date | Filing Date |
|---|---|---|---|
| JP2010269522A Active JP5778919B2 (ja) | 2009-12-04 | 2010-12-02 | 表示装置 |
| JP2014207209A Active JP5735692B2 (ja) | 2009-12-04 | 2014-10-08 | 表示装置 |
| JP2015084032A Active JP5978342B2 (ja) | 2009-12-04 | 2015-04-16 | 表示装置 |
| JP2016145128A Active JP6211149B2 (ja) | 2009-12-04 | 2016-07-25 | 表示装置 |
| JP2017174803A Active JP6370979B2 (ja) | 2009-12-04 | 2017-09-12 | 表示装置 |
| JP2018131177A Active JP6553258B2 (ja) | 2009-12-04 | 2018-07-11 | 表示装置 |
| JP2019124128A Active JP6840193B2 (ja) | 2009-12-04 | 2019-07-03 | トランジスタ |
| JP2021022365A Active JP7039742B2 (ja) | 2009-12-04 | 2021-02-16 | トランジスタ |
| JP2022036123A Active JP7362811B2 (ja) | 2009-12-04 | 2022-03-09 | 表示装置 |
| JP2023172795A Active JP7635332B2 (ja) | 2009-12-04 | 2023-10-04 | 表示装置 |
| JP2025020575A Pending JP2025087713A (ja) | 2009-12-04 | 2025-02-12 | 表示装置 |
Family Applications Before (9)
| Application Number | Title | Priority Date | Filing Date |
|---|---|---|---|
| JP2010269522A Active JP5778919B2 (ja) | 2009-12-04 | 2010-12-02 | 表示装置 |
| JP2014207209A Active JP5735692B2 (ja) | 2009-12-04 | 2014-10-08 | 表示装置 |
| JP2015084032A Active JP5978342B2 (ja) | 2009-12-04 | 2015-04-16 | 表示装置 |
| JP2016145128A Active JP6211149B2 (ja) | 2009-12-04 | 2016-07-25 | 表示装置 |
| JP2017174803A Active JP6370979B2 (ja) | 2009-12-04 | 2017-09-12 | 表示装置 |
| JP2018131177A Active JP6553258B2 (ja) | 2009-12-04 | 2018-07-11 | 表示装置 |
| JP2019124128A Active JP6840193B2 (ja) | 2009-12-04 | 2019-07-03 | トランジスタ |
| JP2021022365A Active JP7039742B2 (ja) | 2009-12-04 | 2021-02-16 | トランジスタ |
| JP2022036123A Active JP7362811B2 (ja) | 2009-12-04 | 2022-03-09 | 表示装置 |
Family Applications After (1)
| Application Number | Title | Priority Date | Filing Date |
|---|---|---|---|
| JP2025020575A Pending JP2025087713A (ja) | 2009-12-04 | 2025-02-12 | 表示装置 |
Country Status (5)
| Country | Link |
|---|---|
| US (9) | US8247813B2 (ja) |
| JP (11) | JP5778919B2 (ja) |
| KR (6) | KR102333270B1 (ja) |
| TW (3) | TWI527123B (ja) |
| WO (1) | WO2011068017A1 (ja) |
Families Citing this family (67)
| Publication number | Priority date | Publication date | Assignee | Title |
|---|---|---|---|---|
| CN102576737B (zh) | 2009-10-09 | 2015-10-21 | 株式会社半导体能源研究所 | 半导体器件及其制造方法 |
| KR102317763B1 (ko) | 2009-11-06 | 2021-10-27 | 가부시키가이샤 한도오따이 에네루기 켄큐쇼 | 반도체 장치 및 반도체 장치의 제작 방법 |
| WO2011065210A1 (en) * | 2009-11-28 | 2011-06-03 | Semiconductor Energy Laboratory Co., Ltd. | Stacked oxide material, semiconductor device, and method for manufacturing the semiconductor device |
| CN105206514B (zh) * | 2009-11-28 | 2018-04-10 | 株式会社半导体能源研究所 | 层叠的氧化物材料、半导体器件、以及用于制造该半导体器件的方法 |
| KR102333270B1 (ko) | 2009-12-04 | 2021-12-02 | 가부시키가이샤 한도오따이 에네루기 켄큐쇼 | 반도체 장치 |
| CN102648525B (zh) | 2009-12-04 | 2016-05-04 | 株式会社半导体能源研究所 | 显示装置 |
| KR101770976B1 (ko) * | 2009-12-11 | 2017-08-24 | 가부시키가이샤 한도오따이 에네루기 켄큐쇼 | 반도체 장치 |
| WO2011074407A1 (en) * | 2009-12-18 | 2011-06-23 | Semiconductor Energy Laboratory Co., Ltd. | Semiconductor device and method for manufacturing the same |
| CN105023942B (zh) | 2009-12-28 | 2018-11-02 | 株式会社半导体能源研究所 | 制造半导体装置的方法 |
| WO2011108346A1 (en) | 2010-03-05 | 2011-09-09 | Semiconductor Energy Laboratory Co., Ltd. | Manufacturing method of oxide semiconductor film and manufacturing method of transistor |
| US8629438B2 (en) | 2010-05-21 | 2014-01-14 | Semiconductor Energy Laboratory Co., Ltd. | Semiconductor device and manufacturing method thereof |
| JP5458443B2 (ja) | 2010-09-14 | 2014-04-02 | 株式会社ジャパンディスプレイ | タッチ検出機能付き表示装置、および電子機器 |
| KR101900525B1 (ko) * | 2011-03-18 | 2018-09-19 | 가부시키가이샤 한도오따이 에네루기 켄큐쇼 | 산화물 반도체막, 반도체 장치, 및 반도체 장치의 제작 방법 |
| US8878288B2 (en) | 2011-04-22 | 2014-11-04 | Semiconductor Energy Laboratory Co., Ltd. | Semiconductor device |
| US8932913B2 (en) | 2011-04-22 | 2015-01-13 | Semiconductor Energy Laboratory Co., Ltd. | Manufacturing method of semiconductor device |
| US8916868B2 (en) | 2011-04-22 | 2014-12-23 | Semiconductor Energy Laboratory Co., Ltd. | Semiconductor device and method for manufacturing semiconductor device |
| US8809854B2 (en) | 2011-04-22 | 2014-08-19 | Semiconductor Energy Laboratory Co., Ltd. | Semiconductor device |
| US8946066B2 (en) | 2011-05-11 | 2015-02-03 | Semiconductor Energy Laboratory Co., Ltd. | Method of manufacturing semiconductor device |
| US8847233B2 (en) | 2011-05-12 | 2014-09-30 | Semiconductor Energy Laboratory Co., Ltd. | Semiconductor device having a trenched insulating layer coated with an oxide semiconductor film |
| JP6109489B2 (ja) | 2011-05-13 | 2017-04-05 | 株式会社半導体エネルギー研究所 | El表示装置 |
| JP6110075B2 (ja) | 2011-05-13 | 2017-04-05 | 株式会社半導体エネルギー研究所 | 表示装置 |
| KR20140003315A (ko) | 2011-06-08 | 2014-01-09 | 가부시키가이샤 한도오따이 에네루기 켄큐쇼 | 스퍼터링 타겟, 스퍼터링 타겟의 제조 방법 및 박막의 형성 방법 |
| US9130044B2 (en) | 2011-07-01 | 2015-09-08 | Semiconductor Energy Laboratory Co., Ltd. | Semiconductor device and manufacturing method thereof |
| US8952377B2 (en) * | 2011-07-08 | 2015-02-10 | Semiconductor Energy Laboratory Co., Ltd. | Semiconductor device and manufacturing method thereof |
| WO2013011844A1 (en) * | 2011-07-15 | 2013-01-24 | Semiconductor Energy Laboratory Co., Ltd. | Semiconductor device and method for driving the same |
| KR101953724B1 (ko) | 2011-08-26 | 2019-03-04 | 가부시키가이샤 한도오따이 에네루기 켄큐쇼 | 발광 모듈, 발광 장치, 발광 모듈의 제작 방법, 발광 장치의 제작 방법 |
| US9431545B2 (en) | 2011-09-23 | 2016-08-30 | Semiconductor Energy Laboratory Co., Ltd. | Semiconductor device and method for manufacturing the same |
| WO2013047629A1 (en) | 2011-09-29 | 2013-04-04 | Semiconductor Energy Laboratory Co., Ltd. | Semiconductor device |
| JP5912394B2 (ja) | 2011-10-13 | 2016-04-27 | 株式会社半導体エネルギー研究所 | 半導体装置 |
| US8637864B2 (en) | 2011-10-13 | 2014-01-28 | Semiconductor Energy Laboratory Co., Ltd. | Semiconductor device and method of manufacturing the same |
| US10002968B2 (en) | 2011-12-14 | 2018-06-19 | Semiconductor Energy Laboratory Co., Ltd. | Semiconductor device and display device including the same |
| JP6053490B2 (ja) | 2011-12-23 | 2016-12-27 | 株式会社半導体エネルギー研究所 | 半導体装置の作製方法 |
| KR20230004930A (ko) | 2012-04-13 | 2023-01-06 | 가부시키가이샤 한도오따이 에네루기 켄큐쇼 | 반도체 장치 |
| JP6076612B2 (ja) * | 2012-04-17 | 2017-02-08 | 株式会社半導体エネルギー研究所 | 半導体装置 |
| WO2013179922A1 (en) * | 2012-05-31 | 2013-12-05 | Semiconductor Energy Laboratory Co., Ltd. | Semiconductor device and method for manufacturing the same |
| KR101568631B1 (ko) * | 2012-06-06 | 2015-11-11 | 가부시키가이샤 고베 세이코쇼 | 박막 트랜지스터 |
| US9885108B2 (en) | 2012-08-07 | 2018-02-06 | Semiconductor Energy Laboratory Co., Ltd. | Method for forming sputtering target |
| CN102856392B (zh) * | 2012-10-09 | 2015-12-02 | 深圳市华星光电技术有限公司 | 薄膜晶体管主动装置及其制作方法 |
| US20140151095A1 (en) * | 2012-12-05 | 2014-06-05 | Samsung Electro-Mechanics Co., Ltd. | Printed circuit board and method for manufacturing the same |
| TW201442249A (zh) * | 2013-02-13 | 2014-11-01 | Idemitsu Kosan Co | 薄膜電晶體 |
| JP6141777B2 (ja) | 2013-02-28 | 2017-06-07 | 株式会社半導体エネルギー研究所 | 半導体装置の作製方法 |
| US10304859B2 (en) | 2013-04-12 | 2019-05-28 | Semiconductor Energy Laboratory Co., Ltd. | Semiconductor device having an oxide film on an oxide semiconductor film |
| KR102089326B1 (ko) * | 2013-10-01 | 2020-03-17 | 엘지디스플레이 주식회사 | 표시장치 |
| JP2015115469A (ja) | 2013-12-12 | 2015-06-22 | ソニー株式会社 | 薄膜トランジスタ、表示装置、電子機器、および薄膜トランジスタの製造方法 |
| JP6537264B2 (ja) * | 2013-12-12 | 2019-07-03 | 株式会社半導体エネルギー研究所 | 半導体装置 |
| KR102127240B1 (ko) * | 2013-12-13 | 2020-06-26 | 엘지디스플레이 주식회사 | 표시장치 및 그 신호라인, 그 제조방법 |
| JP5802343B2 (ja) * | 2014-01-15 | 2015-10-28 | 株式会社神戸製鋼所 | 薄膜トランジスタ |
| FR3037438B1 (fr) * | 2015-06-09 | 2017-06-16 | Soitec Silicon On Insulator | Procede de fabrication d'un element semi-conducteur comprenant une couche de piegeage de charges |
| US10302019B2 (en) * | 2016-03-03 | 2019-05-28 | General Electric Company | High pressure compressor augmented bleed with autonomously actuated valve |
| KR102640383B1 (ko) | 2016-03-22 | 2024-02-27 | 가부시키가이샤 한도오따이 에네루기 켄큐쇼 | 반도체 장치, 및 상기 반도체 장치를 포함하는 표시 장치 |
| FR3058561B1 (fr) | 2016-11-04 | 2018-11-02 | Soitec | Procede de fabrication d'un element semi-conducteur comprenant un substrat hautement resistif |
| WO2018168984A1 (ja) * | 2017-03-17 | 2018-09-20 | シャープ株式会社 | アクティブマトリクス基板および表示装置 |
| WO2018181296A1 (ja) * | 2017-03-29 | 2018-10-04 | シャープ株式会社 | チャネルエッチ型薄膜トランジスタの製造方法 |
| CN107544185B (zh) * | 2017-09-25 | 2020-08-18 | 京东方科技集团股份有限公司 | 阵列基板、显示面板及显示装置 |
| CN107862998B (zh) * | 2017-11-09 | 2020-05-19 | 深圳市华星光电半导体显示技术有限公司 | 一种柔性goa显示面板及其制作方法 |
| CN107919365B (zh) * | 2017-11-21 | 2019-10-11 | 深圳市华星光电半导体显示技术有限公司 | 背沟道蚀刻型tft基板及其制作方法 |
| JPWO2019111105A1 (ja) | 2017-12-06 | 2020-12-03 | 株式会社半導体エネルギー研究所 | 半導体装置、および半導体装置の作製方法 |
| US20190280052A1 (en) * | 2018-03-12 | 2019-09-12 | Wuhan China Star Optoelectronics Semiconductor Display Technology Co., Ltd. | Method for manufacturing a touch-control panel and oled touch-control apparauts |
| US11430404B2 (en) * | 2018-05-25 | 2022-08-30 | Semiconductor Energy Laboratory Co., Ltd. | Display device including pixel and electronic device |
| TWI699086B (zh) * | 2019-01-24 | 2020-07-11 | 研能科技股份有限公司 | 微機電泵模組 |
| TWI693785B (zh) * | 2019-01-24 | 2020-05-11 | 研能科技股份有限公司 | 微機電泵模組 |
| TWI697192B (zh) * | 2019-01-24 | 2020-06-21 | 研能科技股份有限公司 | 微機電泵模組 |
| JPWO2020229917A1 (ja) * | 2019-05-10 | 2020-11-19 | ||
| KR102840468B1 (ko) | 2019-07-16 | 2025-07-29 | 삼성전자주식회사 | 반도체 장치 |
| KR20240095556A (ko) * | 2022-11-30 | 2024-06-26 | 삼성디스플레이 주식회사 | 표시 장치 |
| KR20240134617A (ko) * | 2023-03-02 | 2024-09-10 | 삼성전자주식회사 | 디스플레이 장치 |
| CN118884712A (zh) * | 2024-08-14 | 2024-11-01 | 业桓科技(成都)有限公司 | 光学系统及头戴式显示设备 |
Citations (3)
| Publication number | Priority date | Publication date | Assignee | Title |
|---|---|---|---|---|
| JP2007123861A (ja) | 2005-09-29 | 2007-05-17 | Semiconductor Energy Lab Co Ltd | 半導体装置及びその作製方法 |
| US20080023698A1 (en) | 2006-07-28 | 2008-01-31 | Xerox Corporation | Device having zinc oxide semiconductor and indium/zinc electrode |
| JP2008277665A (ja) | 2007-05-02 | 2008-11-13 | Kochi Prefecture Sangyo Shinko Center | 電子素子及び電子素子の製造方法 |
Family Cites Families (156)
| Publication number | Priority date | Publication date | Assignee | Title |
|---|---|---|---|---|
| JPS60198861A (ja) | 1984-03-23 | 1985-10-08 | Fujitsu Ltd | 薄膜トランジスタ |
| JPH0244256B2 (ja) | 1987-01-28 | 1990-10-03 | Kagaku Gijutsucho Mukizaishitsu Kenkyushocho | Ingazn2o5deshimesarerurotsuhoshokeinosojokozoojusurukagobutsuoyobisonoseizoho |
| JPH0244260B2 (ja) | 1987-02-24 | 1990-10-03 | Kagaku Gijutsucho Mukizaishitsu Kenkyushocho | Ingazn5o8deshimesarerurotsuhoshokeinosojokozoojusurukagobutsuoyobisonoseizoho |
| JPH0244258B2 (ja) | 1987-02-24 | 1990-10-03 | Kagaku Gijutsucho Mukizaishitsu Kenkyushocho | Ingazn3o6deshimesarerurotsuhoshokeinosojokozoojusurukagobutsuoyobisonoseizoho |
| JPS63210023A (ja) | 1987-02-24 | 1988-08-31 | Natl Inst For Res In Inorg Mater | InGaZn↓4O↓7で示される六方晶系の層状構造を有する化合物およびその製造法 |
| JPH0244262B2 (ja) | 1987-02-27 | 1990-10-03 | Kagaku Gijutsucho Mukizaishitsu Kenkyushocho | Ingazn6o9deshimesarerurotsuhoshokeinosojokozoojusurukagobutsuoyobisonoseizoho |
| JPH0244263B2 (ja) | 1987-04-22 | 1990-10-03 | Kagaku Gijutsucho Mukizaishitsu Kenkyushocho | Ingazn7o10deshimesarerurotsuhoshokeinosojokozoojusurukagobutsuoyobisonoseizoho |
| JPH05251705A (ja) | 1992-03-04 | 1993-09-28 | Fuji Xerox Co Ltd | 薄膜トランジスタ |
| JP3479375B2 (ja) | 1995-03-27 | 2003-12-15 | 科学技術振興事業団 | 亜酸化銅等の金属酸化物半導体による薄膜トランジスタとpn接合を形成した金属酸化物半導体装置およびそれらの製造方法 |
| EP0820644B1 (en) | 1995-08-03 | 2005-08-24 | Koninklijke Philips Electronics N.V. | Semiconductor device provided with transparent switching element |
| JP3625598B2 (ja) | 1995-12-30 | 2005-03-02 | 三星電子株式会社 | 液晶表示装置の製造方法 |
| JP3881407B2 (ja) * | 1996-07-31 | 2007-02-14 | Hoya株式会社 | 導電性酸化物薄膜、この薄膜を有する物品及びその製造方法 |
| US5859630A (en) | 1996-12-09 | 1999-01-12 | Thomson Multimedia S.A. | Bi-directional shift register |
| JP3945887B2 (ja) * | 1998-01-30 | 2007-07-18 | Hoya株式会社 | 導電性酸化物薄膜を有する物品及びその製造方法 |
| JP2000026119A (ja) | 1998-07-09 | 2000-01-25 | Hoya Corp | 透明導電性酸化物薄膜を有する物品及びその製造方法 |
| JP4170454B2 (ja) | 1998-07-24 | 2008-10-22 | Hoya株式会社 | 透明導電性酸化物薄膜を有する物品及びその製造方法 |
| JP2000150861A (ja) | 1998-11-16 | 2000-05-30 | Tdk Corp | 酸化物薄膜 |
| JP3276930B2 (ja) | 1998-11-17 | 2002-04-22 | 科学技術振興事業団 | トランジスタ及び半導体装置 |
| TW460731B (en) | 1999-09-03 | 2001-10-21 | Ind Tech Res Inst | Electrode structure and production method of wide viewing angle LCD |
| WO2002016679A1 (en) | 2000-08-18 | 2002-02-28 | Tohoku Techno Arch Co., Ltd. | Polycrystalline semiconductor material and method of manufacture thereof |
| JP4089858B2 (ja) | 2000-09-01 | 2008-05-28 | 国立大学法人東北大学 | 半導体デバイス |
| KR20020038482A (ko) | 2000-11-15 | 2002-05-23 | 모리시타 요이찌 | 박막 트랜지스터 어레이, 그 제조방법 및 그것을 이용한표시패널 |
| JP3997731B2 (ja) | 2001-03-19 | 2007-10-24 | 富士ゼロックス株式会社 | 基材上に結晶性半導体薄膜を形成する方法 |
| JP2002289859A (ja) | 2001-03-23 | 2002-10-04 | Minolta Co Ltd | 薄膜トランジスタ |
| JP3925839B2 (ja) | 2001-09-10 | 2007-06-06 | シャープ株式会社 | 半導体記憶装置およびその試験方法 |
| JP4090716B2 (ja) | 2001-09-10 | 2008-05-28 | 雅司 川崎 | 薄膜トランジスタおよびマトリクス表示装置 |
| WO2003040441A1 (fr) | 2001-11-05 | 2003-05-15 | Japan Science And Technology Agency | Film mince monocristallin homologue a super-reseau naturel, procede de preparation et dispositif dans lequel est utilise ledit film mince monocristallin |
| JP4164562B2 (ja) | 2002-09-11 | 2008-10-15 | 独立行政法人科学技術振興機構 | ホモロガス薄膜を活性層として用いる透明薄膜電界効果型トランジスタ |
| JP4083486B2 (ja) | 2002-02-21 | 2008-04-30 | 独立行政法人科学技術振興機構 | LnCuO(S,Se,Te)単結晶薄膜の製造方法 |
| CN1445821A (zh) | 2002-03-15 | 2003-10-01 | 三洋电机株式会社 | ZnO膜和ZnO半导体层的形成方法、半导体元件及其制造方法 |
| JP3933591B2 (ja) | 2002-03-26 | 2007-06-20 | 淳二 城戸 | 有機エレクトロルミネッセント素子 |
| US7339187B2 (en) | 2002-05-21 | 2008-03-04 | State Of Oregon Acting By And Through The Oregon State Board Of Higher Education On Behalf Of Oregon State University | Transistor structures |
| JP2004022625A (ja) | 2002-06-13 | 2004-01-22 | Murata Mfg Co Ltd | 半導体デバイス及び該半導体デバイスの製造方法 |
| TWI306311B (en) | 2002-06-21 | 2009-02-11 | Sanyo Electric Co | Thin film transistor and method for producing thin film transistor |
| US7105868B2 (en) | 2002-06-24 | 2006-09-12 | Cermet, Inc. | High-electron mobility transistor with zinc oxide |
| US7067843B2 (en) | 2002-10-11 | 2006-06-27 | E. I. Du Pont De Nemours And Company | Transparent oxide semiconductor thin film transistors |
| GB2397710A (en) | 2003-01-25 | 2004-07-28 | Sharp Kk | A shift register for an LCD driver, comprising reset-dominant RS flip-flops |
| JP4166105B2 (ja) | 2003-03-06 | 2008-10-15 | シャープ株式会社 | 半導体装置およびその製造方法 |
| JP2004273732A (ja) | 2003-03-07 | 2004-09-30 | Sharp Corp | アクティブマトリクス基板およびその製造方法 |
| JP4108633B2 (ja) | 2003-06-20 | 2008-06-25 | シャープ株式会社 | 薄膜トランジスタおよびその製造方法ならびに電子デバイス |
| US7262463B2 (en) | 2003-07-25 | 2007-08-28 | Hewlett-Packard Development Company, L.P. | Transistor including a deposited channel region having a doped portion |
| JP2005150203A (ja) | 2003-11-12 | 2005-06-09 | Matsushita Electric Ind Co Ltd | 電界効果トランジスタ及び相補型電界効果トランジスタ並びにこれらの製造方法 |
| US7145174B2 (en) | 2004-03-12 | 2006-12-05 | Hewlett-Packard Development Company, Lp. | Semiconductor device |
| US7297977B2 (en) | 2004-03-12 | 2007-11-20 | Hewlett-Packard Development Company, L.P. | Semiconductor device |
| CN1998087B (zh) | 2004-03-12 | 2014-12-31 | 独立行政法人科学技术振兴机构 | 非晶形氧化物和薄膜晶体管 |
| US7282782B2 (en) | 2004-03-12 | 2007-10-16 | Hewlett-Packard Development Company, L.P. | Combined binary oxide semiconductor device |
| JP4713192B2 (ja) * | 2004-03-25 | 2011-06-29 | 株式会社半導体エネルギー研究所 | 薄膜トランジスタの作製方法 |
| KR101058176B1 (ko) | 2004-03-25 | 2011-08-22 | 가부시키가이샤 한도오따이 에네루기 켄큐쇼 | 박막 트랜지스터의 제조 방법 |
| JP4583797B2 (ja) * | 2004-04-14 | 2010-11-17 | 株式会社半導体エネルギー研究所 | 半導体装置の作製方法 |
| US7211825B2 (en) | 2004-06-14 | 2007-05-01 | Yi-Chi Shih | Indium oxide-based thin film transistors and circuits |
| US7622338B2 (en) | 2004-08-31 | 2009-11-24 | Semiconductor Energy Laboratory Co., Ltd. | Method for manufacturing semiconductor device |
| JP2006100760A (ja) | 2004-09-02 | 2006-04-13 | Casio Comput Co Ltd | 薄膜トランジスタおよびその製造方法 |
| US7285501B2 (en) | 2004-09-17 | 2007-10-23 | Hewlett-Packard Development Company, L.P. | Method of forming a solution processed device |
| US7470604B2 (en) | 2004-10-08 | 2008-12-30 | Semiconductor Energy Laboratory Co., Ltd. | Method for manufacturing display device |
| JP5110785B2 (ja) * | 2004-10-08 | 2012-12-26 | 株式会社半導体エネルギー研究所 | 表示装置の作製方法 |
| US7298084B2 (en) | 2004-11-02 | 2007-11-20 | 3M Innovative Properties Company | Methods and displays utilizing integrated zinc oxide row and column drivers in conjunction with organic light emitting diodes |
| US7863611B2 (en) | 2004-11-10 | 2011-01-04 | Canon Kabushiki Kaisha | Integrated circuits utilizing amorphous oxides |
| KR20070085879A (ko) | 2004-11-10 | 2007-08-27 | 캐논 가부시끼가이샤 | 발광 장치 |
| US7868326B2 (en) | 2004-11-10 | 2011-01-11 | Canon Kabushiki Kaisha | Field effect transistor |
| US7791072B2 (en) | 2004-11-10 | 2010-09-07 | Canon Kabushiki Kaisha | Display |
| CA2585190A1 (en) | 2004-11-10 | 2006-05-18 | Canon Kabushiki Kaisha | Amorphous oxide and field effect transistor |
| US7829444B2 (en) | 2004-11-10 | 2010-11-09 | Canon Kabushiki Kaisha | Field effect transistor manufacturing method |
| US7453065B2 (en) | 2004-11-10 | 2008-11-18 | Canon Kabushiki Kaisha | Sensor and image pickup device |
| US7579224B2 (en) | 2005-01-21 | 2009-08-25 | Semiconductor Energy Laboratory Co., Ltd. | Method for manufacturing a thin film semiconductor device |
| TWI569441B (zh) | 2005-01-28 | 2017-02-01 | 半導體能源研究所股份有限公司 | 半導體裝置,電子裝置,和半導體裝置的製造方法 |
| TWI472037B (zh) | 2005-01-28 | 2015-02-01 | 半導體能源研究所股份有限公司 | 半導體裝置,電子裝置,和半導體裝置的製造方法 |
| US7858451B2 (en) | 2005-02-03 | 2010-12-28 | Semiconductor Energy Laboratory Co., Ltd. | Electronic device, semiconductor device and manufacturing method thereof |
| US7948171B2 (en) | 2005-02-18 | 2011-05-24 | Semiconductor Energy Laboratory Co., Ltd. | Light emitting device |
| US20060197092A1 (en) | 2005-03-03 | 2006-09-07 | Randy Hoffman | System and method for forming conductive material on a substrate |
| US8681077B2 (en) | 2005-03-18 | 2014-03-25 | Semiconductor Energy Laboratory Co., Ltd. | Semiconductor device, and display device, driving method and electronic apparatus thereof |
| US7544967B2 (en) | 2005-03-28 | 2009-06-09 | Massachusetts Institute Of Technology | Low voltage flexible organic/transparent transistor for selective gas sensing, photodetecting and CMOS device applications |
| US7645478B2 (en) | 2005-03-31 | 2010-01-12 | 3M Innovative Properties Company | Methods of making displays |
| US8300031B2 (en) | 2005-04-20 | 2012-10-30 | Semiconductor Energy Laboratory Co., Ltd. | Semiconductor device comprising transistor having gate and drain connected through a current-voltage conversion element |
| JP2006344849A (ja) | 2005-06-10 | 2006-12-21 | Casio Comput Co Ltd | 薄膜トランジスタ |
| US7402506B2 (en) | 2005-06-16 | 2008-07-22 | Eastman Kodak Company | Methods of making thin film transistors comprising zinc-oxide-based semiconductor materials and transistors made thereby |
| US7691666B2 (en) | 2005-06-16 | 2010-04-06 | Eastman Kodak Company | Methods of making thin film transistors comprising zinc-oxide-based semiconductor materials and transistors made thereby |
| US7507618B2 (en) | 2005-06-27 | 2009-03-24 | 3M Innovative Properties Company | Method for making electronic devices using metal oxide nanoparticles |
| KR100711890B1 (ko) | 2005-07-28 | 2007-04-25 | 삼성에스디아이 주식회사 | 유기 발광표시장치 및 그의 제조방법 |
| JP2007059128A (ja) | 2005-08-23 | 2007-03-08 | Canon Inc | 有機el表示装置およびその製造方法 |
| JP5116225B2 (ja) | 2005-09-06 | 2013-01-09 | キヤノン株式会社 | 酸化物半導体デバイスの製造方法 |
| JP2007073705A (ja) | 2005-09-06 | 2007-03-22 | Canon Inc | 酸化物半導体チャネル薄膜トランジスタおよびその製造方法 |
| JP4280736B2 (ja) | 2005-09-06 | 2009-06-17 | キヤノン株式会社 | 半導体素子 |
| JP4850457B2 (ja) | 2005-09-06 | 2012-01-11 | キヤノン株式会社 | 薄膜トランジスタ及び薄膜ダイオード |
| JP5078246B2 (ja) | 2005-09-29 | 2012-11-21 | 株式会社半導体エネルギー研究所 | 半導体装置、及び半導体装置の作製方法 |
| EP1998373A3 (en) | 2005-09-29 | 2012-10-31 | Semiconductor Energy Laboratory Co, Ltd. | Semiconductor device having oxide semiconductor layer and manufacturing method thereof |
| JP5037808B2 (ja) | 2005-10-20 | 2012-10-03 | キヤノン株式会社 | アモルファス酸化物を用いた電界効果型トランジスタ、及び該トランジスタを用いた表示装置 |
| JP5089139B2 (ja) * | 2005-11-15 | 2012-12-05 | 株式会社半導体エネルギー研究所 | 半導体装置の作製方法 |
| WO2007058329A1 (en) | 2005-11-15 | 2007-05-24 | Semiconductor Energy Laboratory Co., Ltd. | Semiconductor device and manufacturing method thereof |
| TWI292281B (en) | 2005-12-29 | 2008-01-01 | Ind Tech Res Inst | Pixel structure of active organic light emitting diode and method of fabricating the same |
| KR101437086B1 (ko) | 2006-01-07 | 2014-09-03 | 가부시키가이샤 한도오따이 에네루기 켄큐쇼 | 반도체장치와, 이 반도체장치를 구비한 표시장치 및 전자기기 |
| US7867636B2 (en) | 2006-01-11 | 2011-01-11 | Murata Manufacturing Co., Ltd. | Transparent conductive film and method for manufacturing the same |
| JP4977478B2 (ja) | 2006-01-21 | 2012-07-18 | 三星電子株式会社 | ZnOフィルム及びこれを用いたTFTの製造方法 |
| US7576394B2 (en) | 2006-02-02 | 2009-08-18 | Kochi Industrial Promotion Center | Thin film transistor including low resistance conductive thin films and manufacturing method thereof |
| US7977169B2 (en) | 2006-02-15 | 2011-07-12 | Kochi Industrial Promotion Center | Semiconductor device including active layer made of zinc oxide with controlled orientations and manufacturing method thereof |
| JP5015473B2 (ja) | 2006-02-15 | 2012-08-29 | 財団法人高知県産業振興センター | 薄膜トランジスタアレイ及びその製法 |
| KR20070101595A (ko) | 2006-04-11 | 2007-10-17 | 삼성전자주식회사 | ZnO TFT |
| US20070252233A1 (en) | 2006-04-28 | 2007-11-01 | Semiconductor Energy Laboratory Co., Ltd. | Semiconductor device and method for manufacturing the semiconductor device |
| US20070252928A1 (en) | 2006-04-28 | 2007-11-01 | Toppan Printing Co., Ltd. | Structure, transmission type liquid crystal display, reflection type display and manufacturing method thereof |
| JP5271504B2 (ja) * | 2006-04-28 | 2013-08-21 | 株式会社半導体エネルギー研究所 | 半導体装置の作製方法 |
| EP2025004A1 (en) * | 2006-06-02 | 2009-02-18 | Kochi Industrial Promotion Center | Semiconductor device including an oxide semiconductor thin film layer of zinc oxide and manufacturing method thereof |
| US20070287221A1 (en) | 2006-06-12 | 2007-12-13 | Xerox Corporation | Fabrication process for crystalline zinc oxide semiconductor layer |
| JP5028033B2 (ja) | 2006-06-13 | 2012-09-19 | キヤノン株式会社 | 酸化物半導体膜のドライエッチング方法 |
| JP4999400B2 (ja) | 2006-08-09 | 2012-08-15 | キヤノン株式会社 | 酸化物半導体膜のドライエッチング方法 |
| JP4609797B2 (ja) | 2006-08-09 | 2011-01-12 | Nec液晶テクノロジー株式会社 | 薄膜デバイス及びその製造方法 |
| JP4332545B2 (ja) | 2006-09-15 | 2009-09-16 | キヤノン株式会社 | 電界効果型トランジスタ及びその製造方法 |
| JP5164357B2 (ja) | 2006-09-27 | 2013-03-21 | キヤノン株式会社 | 半導体装置及び半導体装置の製造方法 |
| JP4274219B2 (ja) | 2006-09-27 | 2009-06-03 | セイコーエプソン株式会社 | 電子デバイス、有機エレクトロルミネッセンス装置、有機薄膜半導体装置 |
| JP4932415B2 (ja) * | 2006-09-29 | 2012-05-16 | 株式会社半導体エネルギー研究所 | 半導体装置 |
| TWI850180B (zh) | 2006-09-29 | 2024-07-21 | 日商半導體能源研究所股份有限公司 | 半導體裝置 |
| US7622371B2 (en) | 2006-10-10 | 2009-11-24 | Hewlett-Packard Development Company, L.P. | Fused nanocrystal thin film semiconductor and method |
| US7511343B2 (en) | 2006-10-12 | 2009-03-31 | Xerox Corporation | Thin film transistor |
| JP2008116652A (ja) * | 2006-11-02 | 2008-05-22 | Seiko Epson Corp | 配線基板およびその製造方法、並びに電子機器 |
| US7772021B2 (en) | 2006-11-29 | 2010-08-10 | Samsung Electronics Co., Ltd. | Flat panel displays comprising a thin-film transistor having a semiconductive oxide in its channel and methods of fabricating the same for use in flat panel displays |
| JP2008140684A (ja) | 2006-12-04 | 2008-06-19 | Toppan Printing Co Ltd | カラーelディスプレイおよびその製造方法 |
| US8143115B2 (en) | 2006-12-05 | 2012-03-27 | Canon Kabushiki Kaisha | Method for manufacturing thin film transistor using oxide semiconductor and display apparatus |
| KR101303578B1 (ko) | 2007-01-05 | 2013-09-09 | 삼성전자주식회사 | 박막 식각 방법 |
| US8207063B2 (en) | 2007-01-26 | 2012-06-26 | Eastman Kodak Company | Process for atomic layer deposition |
| TWI478347B (zh) | 2007-02-09 | 2015-03-21 | Idemitsu Kosan Co | A thin film transistor, a thin film transistor substrate, and an image display device, and an image display device, and a semiconductor device |
| KR100851215B1 (ko) | 2007-03-14 | 2008-08-07 | 삼성에스디아이 주식회사 | 박막 트랜지스터 및 이를 이용한 유기 전계 발광표시장치 |
| US8158974B2 (en) | 2007-03-23 | 2012-04-17 | Idemitsu Kosan Co., Ltd. | Semiconductor device, polycrystalline semiconductor thin film, process for producing polycrystalline semiconductor thin film, field effect transistor, and process for producing field effect transistor |
| JP5197058B2 (ja) | 2007-04-09 | 2013-05-15 | キヤノン株式会社 | 発光装置とその作製方法 |
| WO2008126879A1 (en) | 2007-04-09 | 2008-10-23 | Canon Kabushiki Kaisha | Light-emitting apparatus and production method thereof |
| US7795613B2 (en) | 2007-04-17 | 2010-09-14 | Toppan Printing Co., Ltd. | Structure with transistor |
| KR101325053B1 (ko) | 2007-04-18 | 2013-11-05 | 삼성디스플레이 주식회사 | 박막 트랜지스터 기판 및 이의 제조 방법 |
| KR20080094300A (ko) | 2007-04-19 | 2008-10-23 | 삼성전자주식회사 | 박막 트랜지스터 및 그 제조 방법과 박막 트랜지스터를포함하는 평판 디스플레이 |
| KR101334181B1 (ko) | 2007-04-20 | 2013-11-28 | 삼성전자주식회사 | 선택적으로 결정화된 채널층을 갖는 박막 트랜지스터 및 그제조 방법 |
| CN101663762B (zh) | 2007-04-25 | 2011-09-21 | 佳能株式会社 | 氧氮化物半导体 |
| WO2008136505A1 (ja) * | 2007-05-08 | 2008-11-13 | Idemitsu Kosan Co., Ltd. | 半導体デバイス及び薄膜トランジスタ、並びに、それらの製造方法 |
| JP5164427B2 (ja) * | 2007-05-11 | 2013-03-21 | 株式会社ジャパンディスプレイウェスト | 半導体装置およびその駆動方法、表示装置およびその駆動方法 |
| JP5215589B2 (ja) | 2007-05-11 | 2013-06-19 | キヤノン株式会社 | 絶縁ゲート型トランジスタ及び表示装置 |
| JP4462289B2 (ja) | 2007-05-18 | 2010-05-12 | ソニー株式会社 | 半導体層の成長方法および半導体発光素子の製造方法 |
| KR101345376B1 (ko) | 2007-05-29 | 2013-12-24 | 삼성전자주식회사 | ZnO 계 박막 트랜지스터 및 그 제조방법 |
| US8354674B2 (en) * | 2007-06-29 | 2013-01-15 | Semiconductor Energy Laboratory Co., Ltd. | Semiconductor device wherein a property of a first semiconductor layer is different from a property of a second semiconductor layer |
| JP5354999B2 (ja) | 2007-09-26 | 2013-11-27 | キヤノン株式会社 | 電界効果型トランジスタの製造方法 |
| JP2009135448A (ja) | 2007-11-01 | 2009-06-18 | Semiconductor Energy Lab Co Ltd | 半導体基板の作製方法及び半導体装置の作製方法 |
| US7768008B2 (en) | 2007-11-13 | 2010-08-03 | Toppan Printing Co., Ltd. | Thin film transistor, method for manufacturing the same and display using the same |
| JP5215158B2 (ja) * | 2007-12-17 | 2013-06-19 | 富士フイルム株式会社 | 無機結晶性配向膜及びその製造方法、半導体デバイス |
| JP5219529B2 (ja) | 2008-01-23 | 2013-06-26 | キヤノン株式会社 | 電界効果型トランジスタ及び、該電界効果型トランジスタを備えた表示装置 |
| JP4555358B2 (ja) | 2008-03-24 | 2010-09-29 | 富士フイルム株式会社 | 薄膜電界効果型トランジスタおよび表示装置 |
| JP2009231664A (ja) * | 2008-03-25 | 2009-10-08 | Idemitsu Kosan Co Ltd | 電界効果トランジスタ及びその製造方法 |
| KR100941850B1 (ko) | 2008-04-03 | 2010-02-11 | 삼성모바일디스플레이주식회사 | 박막 트랜지스터, 그의 제조 방법 및 박막 트랜지스터를구비하는 평판 표시 장치 |
| JP2009267399A (ja) | 2008-04-04 | 2009-11-12 | Fujifilm Corp | 半導体装置,半導体装置の製造方法,表示装置及び表示装置の製造方法 |
| KR100963027B1 (ko) | 2008-06-30 | 2010-06-10 | 삼성모바일디스플레이주식회사 | 박막 트랜지스터, 그의 제조 방법 및 박막 트랜지스터를구비하는 평판 표시 장치 |
| KR100963026B1 (ko) | 2008-06-30 | 2010-06-10 | 삼성모바일디스플레이주식회사 | 박막 트랜지스터, 그의 제조 방법 및 박막 트랜지스터를구비하는 평판 표시 장치 |
| JP5345456B2 (ja) | 2008-08-14 | 2013-11-20 | 富士フイルム株式会社 | 薄膜電界効果型トランジスタ |
| JP4623179B2 (ja) | 2008-09-18 | 2011-02-02 | ソニー株式会社 | 薄膜トランジスタおよびその製造方法 |
| JP5451280B2 (ja) | 2008-10-09 | 2014-03-26 | キヤノン株式会社 | ウルツ鉱型結晶成長用基板およびその製造方法ならびに半導体装置 |
| JP5606682B2 (ja) | 2009-01-29 | 2014-10-15 | 富士フイルム株式会社 | 薄膜トランジスタ、多結晶酸化物半導体薄膜の製造方法、及び薄膜トランジスタの製造方法 |
| US8330702B2 (en) * | 2009-02-12 | 2012-12-11 | Semiconductor Energy Laboratory Co., Ltd. | Pulse output circuit, display device, and electronic device |
| JP4571221B1 (ja) | 2009-06-22 | 2010-10-27 | 富士フイルム株式会社 | Igzo系酸化物材料及びigzo系酸化物材料の製造方法 |
| JP4415062B1 (ja) | 2009-06-22 | 2010-02-17 | 富士フイルム株式会社 | 薄膜トランジスタ及び薄膜トランジスタの製造方法 |
| KR102333270B1 (ko) | 2009-12-04 | 2021-12-02 | 가부시키가이샤 한도오따이 에네루기 켄큐쇼 | 반도체 장치 |
| JP2011138934A (ja) | 2009-12-28 | 2011-07-14 | Sony Corp | 薄膜トランジスタ、表示装置および電子機器 |
| JP2011187506A (ja) | 2010-03-04 | 2011-09-22 | Sony Corp | 薄膜トランジスタおよびその製造方法、並びに表示装置 |
| JP2012160679A (ja) | 2011-02-03 | 2012-08-23 | Sony Corp | 薄膜トランジスタ、表示装置および電子機器 |
| FR2982887B1 (fr) | 2011-11-18 | 2014-01-31 | Coatex Sas | Polymeres faiblement anioniques pour sauces de couchage destinees a des papiers pour impression de type jet d'encre |
-
2010
- 2010-11-04 KR KR1020207025239A patent/KR102333270B1/ko active Active
- 2010-11-04 KR KR1020187004920A patent/KR102010752B1/ko active Active
- 2010-11-04 KR KR1020127017051A patent/KR101833198B1/ko active Active
- 2010-11-04 KR KR1020227037566A patent/KR102719739B1/ko active Active
- 2010-11-04 WO PCT/JP2010/070062 patent/WO2011068017A1/en not_active Ceased
- 2010-11-04 KR KR1020197023002A patent/KR102153034B1/ko active Active
- 2010-11-04 KR KR1020217038353A patent/KR102462239B1/ko active Active
- 2010-11-30 TW TW099141514A patent/TWI527123B/zh active
- 2010-11-30 TW TW104144469A patent/TWI584385B/zh active
- 2010-11-30 TW TW106105944A patent/TWI654688B/zh active
- 2010-12-01 US US12/957,517 patent/US8247813B2/en active Active
- 2010-12-02 JP JP2010269522A patent/JP5778919B2/ja active Active
-
2012
- 2012-08-09 US US13/570,297 patent/US8866138B2/en active Active
-
2014
- 2014-10-06 US US14/507,204 patent/US9721971B2/en active Active
- 2014-10-08 JP JP2014207209A patent/JP5735692B2/ja active Active
-
2015
- 2015-04-16 JP JP2015084032A patent/JP5978342B2/ja active Active
-
2016
- 2016-07-25 JP JP2016145128A patent/JP6211149B2/ja active Active
- 2016-12-06 US US15/370,034 patent/US9991286B2/en active Active
-
2017
- 2017-09-12 JP JP2017174803A patent/JP6370979B2/ja active Active
-
2018
- 2018-05-24 US US15/988,534 patent/US10840268B2/en active Active
- 2018-07-11 JP JP2018131177A patent/JP6553258B2/ja active Active
-
2019
- 2019-07-03 JP JP2019124128A patent/JP6840193B2/ja active Active
- 2019-10-15 US US16/653,007 patent/US20200052004A1/en not_active Abandoned
-
2021
- 2021-02-16 JP JP2021022365A patent/JP7039742B2/ja active Active
- 2021-12-01 US US17/539,249 patent/US11728349B2/en active Active
-
2022
- 2022-03-09 JP JP2022036123A patent/JP7362811B2/ja active Active
-
2023
- 2023-08-08 US US18/231,382 patent/US20240055436A1/en not_active Abandoned
- 2023-10-04 JP JP2023172795A patent/JP7635332B2/ja active Active
-
2025
- 2025-01-13 US US19/018,109 patent/US20250151408A1/en active Pending
- 2025-02-12 JP JP2025020575A patent/JP2025087713A/ja active Pending
Patent Citations (3)
| Publication number | Priority date | Publication date | Assignee | Title |
|---|---|---|---|---|
| JP2007123861A (ja) | 2005-09-29 | 2007-05-17 | Semiconductor Energy Lab Co Ltd | 半導体装置及びその作製方法 |
| US20080023698A1 (en) | 2006-07-28 | 2008-01-31 | Xerox Corporation | Device having zinc oxide semiconductor and indium/zinc electrode |
| JP2008277665A (ja) | 2007-05-02 | 2008-11-13 | Kochi Prefecture Sangyo Shinko Center | 電子素子及び電子素子の製造方法 |
Also Published As
Similar Documents
| Publication | Publication Date | Title |
|---|---|---|
| JP7635332B2 (ja) | 表示装置 | |
| JP5122016B2 (ja) | 部材の作製方法 |
Legal Events
| Date | Code | Title | Description |
|---|---|---|---|
| A621 | Written request for application examination |
Free format text: JAPANESE INTERMEDIATE CODE: A621 Effective date: 20231102 |
|
| A521 | Request for written amendment filed |
Free format text: JAPANESE INTERMEDIATE CODE: A523 Effective date: 20231228 |
|
| TRDD | Decision of grant or rejection written | ||
| A01 | Written decision to grant a patent or to grant a registration (utility model) |
Free format text: JAPANESE INTERMEDIATE CODE: A01 Effective date: 20250114 |
|
| A61 | First payment of annual fees (during grant procedure) |
Free format text: JAPANESE INTERMEDIATE CODE: A61 Effective date: 20250212 |
|
| R150 | Certificate of patent or registration of utility model |
Ref document number: 7635332 Country of ref document: JP Free format text: JAPANESE INTERMEDIATE CODE: R150 |





