JP6923552B2 - 可変焦点レンズ要素を用いた拡張現実システムおよび方法 - Google Patents

可変焦点レンズ要素を用いた拡張現実システムおよび方法 Download PDF

Info

Publication number
JP6923552B2
JP6923552B2 JP2018552046A JP2018552046A JP6923552B2 JP 6923552 B2 JP6923552 B2 JP 6923552B2 JP 2018552046 A JP2018552046 A JP 2018552046A JP 2018552046 A JP2018552046 A JP 2018552046A JP 6923552 B2 JP6923552 B2 JP 6923552B2
Authority
JP
Japan
Prior art keywords
eye
viewer
lens element
light
display system
Prior art date
Legal status (The legal status is an assumption and is not a legal conclusion. Google has not performed a legal analysis and makes no representation as to the accuracy of the status listed.)
Active
Application number
JP2018552046A
Other languages
English (en)
Other versions
JP2019514055A5 (ja
JP2019514055A (ja
Inventor
サムエル エー. ミラー,
サムエル エー. ミラー,
ポール エム. グレコ,
ポール エム. グレコ,
ブライアン ティー. ショーウェンゲルト,
ブライアン ティー. ショーウェンゲルト,
Current Assignee (The listed assignees may be inaccurate. Google has not performed a legal analysis and makes no representation or warranty as to the accuracy of the list.)
Magic Leap Inc
Original Assignee
Magic Leap Inc
Priority date (The priority date is an assumption and is not a legal conclusion. Google has not performed a legal analysis and makes no representation as to the accuracy of the date listed.)
Filing date
Publication date
Application filed by Magic Leap Inc filed Critical Magic Leap Inc
Publication of JP2019514055A publication Critical patent/JP2019514055A/ja
Publication of JP2019514055A5 publication Critical patent/JP2019514055A5/ja
Priority to JP2021124069A priority Critical patent/JP7171849B2/ja
Application granted granted Critical
Publication of JP6923552B2 publication Critical patent/JP6923552B2/ja
Priority to JP2022176192A priority patent/JP7402960B2/ja
Active legal-status Critical Current
Anticipated expiration legal-status Critical

Links

Images

Classifications

    • GPHYSICS
    • G02OPTICS
    • G02BOPTICAL ELEMENTS, SYSTEMS OR APPARATUS
    • G02B27/00Optical systems or apparatus not provided for by any of the groups G02B1/00 - G02B26/00, G02B30/00
    • G02B27/0093Optical systems or apparatus not provided for by any of the groups G02B1/00 - G02B26/00, G02B30/00 with means for monitoring data relating to the user, e.g. head-tracking, eye-tracking
    • GPHYSICS
    • G02OPTICS
    • G02BOPTICAL ELEMENTS, SYSTEMS OR APPARATUS
    • G02B27/00Optical systems or apparatus not provided for by any of the groups G02B1/00 - G02B26/00, G02B30/00
    • G02B27/01Head-up displays
    • G02B27/017Head mounted
    • G02B27/0172Head mounted characterised by optical features
    • GPHYSICS
    • G02OPTICS
    • G02CSPECTACLES; SUNGLASSES OR GOGGLES INSOFAR AS THEY HAVE THE SAME FEATURES AS SPECTACLES; CONTACT LENSES
    • G02C11/00Non-optical adjuncts; Attachment thereof
    • G02C11/10Electronic devices other than hearing aids
    • GPHYSICS
    • G02OPTICS
    • G02FOPTICAL DEVICES OR ARRANGEMENTS FOR THE CONTROL OF LIGHT BY MODIFICATION OF THE OPTICAL PROPERTIES OF THE MEDIA OF THE ELEMENTS INVOLVED THEREIN; NON-LINEAR OPTICS; FREQUENCY-CHANGING OF LIGHT; OPTICAL LOGIC ELEMENTS; OPTICAL ANALOGUE/DIGITAL CONVERTERS
    • G02F1/00Devices or arrangements for the control of the intensity, colour, phase, polarisation or direction of light arriving from an independent light source, e.g. switching, gating or modulating; Non-linear optics
    • G02F1/01Devices or arrangements for the control of the intensity, colour, phase, polarisation or direction of light arriving from an independent light source, e.g. switching, gating or modulating; Non-linear optics for the control of the intensity, phase, polarisation or colour 
    • G02F1/13Devices or arrangements for the control of the intensity, colour, phase, polarisation or direction of light arriving from an independent light source, e.g. switching, gating or modulating; Non-linear optics for the control of the intensity, phase, polarisation or colour  based on liquid crystals, e.g. single liquid crystal display cells
    • G02F1/133Constructional arrangements; Operation of liquid crystal cells; Circuit arrangements
    • G02F1/1333Constructional arrangements; Manufacturing methods
    • G02F1/1335Structural association of cells with optical devices, e.g. polarisers or reflectors
    • G02F1/133502Antiglare, refractive index matching layers
    • GPHYSICS
    • G06COMPUTING OR CALCULATING; COUNTING
    • G06FELECTRIC DIGITAL DATA PROCESSING
    • G06F1/00Details not covered by groups G06F3/00 - G06F13/00 and G06F21/00
    • G06F1/16Constructional details or arrangements
    • G06F1/1613Constructional details or arrangements for portable computers
    • G06F1/163Wearable computers, e.g. on a belt
    • GPHYSICS
    • G06COMPUTING OR CALCULATING; COUNTING
    • G06FELECTRIC DIGITAL DATA PROCESSING
    • G06F3/00Input arrangements for transferring data to be processed into a form capable of being handled by the computer; Output arrangements for transferring data from processing unit to output unit, e.g. interface arrangements
    • G06F3/01Input arrangements or combined input and output arrangements for interaction between user and computer
    • G06F3/011Arrangements for interaction with the human body, e.g. for user immersion in virtual reality
    • GPHYSICS
    • G06COMPUTING OR CALCULATING; COUNTING
    • G06FELECTRIC DIGITAL DATA PROCESSING
    • G06F3/00Input arrangements for transferring data to be processed into a form capable of being handled by the computer; Output arrangements for transferring data from processing unit to output unit, e.g. interface arrangements
    • G06F3/01Input arrangements or combined input and output arrangements for interaction between user and computer
    • G06F3/011Arrangements for interaction with the human body, e.g. for user immersion in virtual reality
    • G06F3/013Eye tracking input arrangements
    • GPHYSICS
    • G06COMPUTING OR CALCULATING; COUNTING
    • G06FELECTRIC DIGITAL DATA PROCESSING
    • G06F3/00Input arrangements for transferring data to be processed into a form capable of being handled by the computer; Output arrangements for transferring data from processing unit to output unit, e.g. interface arrangements
    • G06F3/01Input arrangements or combined input and output arrangements for interaction between user and computer
    • G06F3/03Arrangements for converting the position or the displacement of a member into a coded form
    • G06F3/0304Detection arrangements using opto-electronic means
    • GPHYSICS
    • G02OPTICS
    • G02BOPTICAL ELEMENTS, SYSTEMS OR APPARATUS
    • G02B27/00Optical systems or apparatus not provided for by any of the groups G02B1/00 - G02B26/00, G02B30/00
    • G02B27/01Head-up displays
    • G02B27/0101Head-up displays characterised by optical features
    • G02B2027/011Head-up displays characterised by optical features comprising device for correcting geometrical aberrations, distortion
    • GPHYSICS
    • G02OPTICS
    • G02BOPTICAL ELEMENTS, SYSTEMS OR APPARATUS
    • G02B27/00Optical systems or apparatus not provided for by any of the groups G02B1/00 - G02B26/00, G02B30/00
    • G02B27/01Head-up displays
    • G02B27/0101Head-up displays characterised by optical features
    • G02B2027/0138Head-up displays characterised by optical features comprising image capture systems, e.g. camera
    • GPHYSICS
    • G02OPTICS
    • G02BOPTICAL ELEMENTS, SYSTEMS OR APPARATUS
    • G02B27/00Optical systems or apparatus not provided for by any of the groups G02B1/00 - G02B26/00, G02B30/00
    • G02B27/01Head-up displays
    • G02B27/0101Head-up displays characterised by optical features
    • G02B2027/014Head-up displays characterised by optical features comprising information/image processing systems
    • GPHYSICS
    • G02OPTICS
    • G02BOPTICAL ELEMENTS, SYSTEMS OR APPARATUS
    • G02B27/00Optical systems or apparatus not provided for by any of the groups G02B1/00 - G02B26/00, G02B30/00
    • G02B27/01Head-up displays
    • G02B27/017Head mounted
    • G02B2027/0178Eyeglass type
    • GPHYSICS
    • G02OPTICS
    • G02FOPTICAL DEVICES OR ARRANGEMENTS FOR THE CONTROL OF LIGHT BY MODIFICATION OF THE OPTICAL PROPERTIES OF THE MEDIA OF THE ELEMENTS INVOLVED THEREIN; NON-LINEAR OPTICS; FREQUENCY-CHANGING OF LIGHT; OPTICAL LOGIC ELEMENTS; OPTICAL ANALOGUE/DIGITAL CONVERTERS
    • G02F1/00Devices or arrangements for the control of the intensity, colour, phase, polarisation or direction of light arriving from an independent light source, e.g. switching, gating or modulating; Non-linear optics
    • G02F1/29Devices or arrangements for the control of the intensity, colour, phase, polarisation or direction of light arriving from an independent light source, e.g. switching, gating or modulating; Non-linear optics for the control of the position or the direction of light beams, i.e. deflection
    • G02F1/294Variable focal length devices
    • GPHYSICS
    • G02OPTICS
    • G02FOPTICAL DEVICES OR ARRANGEMENTS FOR THE CONTROL OF LIGHT BY MODIFICATION OF THE OPTICAL PROPERTIES OF THE MEDIA OF THE ELEMENTS INVOLVED THEREIN; NON-LINEAR OPTICS; FREQUENCY-CHANGING OF LIGHT; OPTICAL LOGIC ELEMENTS; OPTICAL ANALOGUE/DIGITAL CONVERTERS
    • G02F2202/00Materials and properties
    • G02F2202/09Materials and properties inorganic glass

Landscapes

  • Engineering & Computer Science (AREA)
  • Physics & Mathematics (AREA)
  • General Physics & Mathematics (AREA)
  • Theoretical Computer Science (AREA)
  • General Engineering & Computer Science (AREA)
  • Optics & Photonics (AREA)
  • Human Computer Interaction (AREA)
  • Nonlinear Science (AREA)
  • Computer Hardware Design (AREA)
  • Health & Medical Sciences (AREA)
  • Ophthalmology & Optometry (AREA)
  • General Health & Medical Sciences (AREA)
  • Mathematical Physics (AREA)
  • Acoustics & Sound (AREA)
  • Chemical & Material Sciences (AREA)
  • Otolaryngology (AREA)
  • Crystallography & Structural Chemistry (AREA)
  • Lenses (AREA)
  • Mechanical Optical Scanning Systems (AREA)
  • Eye Examination Apparatus (AREA)
  • Optical Elements Other Than Lenses (AREA)
  • Computer Graphics (AREA)
  • Software Systems (AREA)

Description

(優先権主張)
本願は、2016年4月8日に出願された米国仮特許出願第62/320,375号の優先権の利益を主張するものであり、該米国仮特許出願は、その全体が参照により本明細書中に援用される。
(参照による援用)
本願はまた、米国出願第14/555,585号(出願日2014年11月27日);米国出願第14/690,401号(出願日2015年4月18日);米国出願第14/212,961号(出願日2014年3月14日);米国出願第14/331,218号(出願日2014年7月14日);および米国出願第15/072,290号(出願日2016年3月16日)の各々の特許出願の全体を参照により援用する。
本開示は、拡張現実イメージングおよび可視化システムを含む、光学デバイスに関する。
現代のコンピューティングおよびディスプレイ技術は、いわゆる「仮想現実」または「拡張現実」体験のためのシステムの開発を促進しており、デジタル的に再現された画像またはその一部が、現実であるように見える、またはそのように知覚され得る様式でユーザに提示される。仮想現実または「VR」シナリオは、典型的には、他の実際の実世界の視覚的入力に対する透明性を伴わずに、デジタルまたは仮想画像情報の提示を伴い、拡張現実または「AR」シナリオは、典型的には、ユーザの周囲の実際の世界の可視化に対する拡張としてのデジタルまたは仮想画像情報の提示を伴う。複合現実または「MR」シナリオは、一種のARシナリオであって、典型的には、自然世界の中に統合され、それに応答する、仮想オブジェクトを伴う。例えば、MRシナリオは、実世界内のオブジェクトによってブロックされて見える、または別様にそれと相互作用するように知覚される、AR画像コンテンツを含んでもよい。
図1を参照すると、拡張現実場面10が、描写されている。AR技術のユーザには、背景における人々、木々、建物を特徴とする実世界公園状設定20と、コンクリートプラットフォーム30とが見える。ユーザはまた、実世界プラットフォーム30上に立っているロボット像40と、マルハナバチの擬人化のように見える、飛んでいる漫画のようなアバタキャラクタ50等の「仮想コンテンツ」を「見ている」と知覚する。これらの要素50、40は、実世界には存在しないという点で、「仮想」である。ヒトの視知覚系は、複雑であって、他の仮想または実世界画像要素間における仮想画像要素の快適で、自然のような感覚で、かつ豊かな提示を促進する、AR技術の生成は、困難である。
本明細書に開示されるシステムおよび方法は、ARまたはVR技術に関連する種々の課題に対処する。
いくつかの実施形態では、ディスプレイシステムが、提供される。ディスプレイシステムは、光を視認者に投影し、画像情報を1つ以上の深度平面上に表示するように構成される、頭部搭載型ディスプレイを備える。ディスプレイは、光を視認者に投影するように構成される、1つ以上の導波管を備える。1つ以上の導波管はさらに、周囲環境内のオブジェクトからの光を視認者に透過するように構成される。ディスプレイはまた、1つ以上の導波管と視認者の第1の眼との間の第1の可変焦点レンズ要素と、1つ以上の導波管と周囲環境との間の第2の可変焦点レンズ要素とを備える。眼追跡システムは、視認者の眼の輻輳・開散運動(vergence)を決定するように構成される。ディスプレイシステムは、視認者の眼の決定された輻輳・開散運動に基づいて、第1および第2の可変焦点レンズ要素の屈折力を調節することによって、ユーザの眼の屈折誤差を補正するように構成される。
いくつかの他の実施形態では、画像情報を頭部搭載型ディスプレイ上に表示するための方法が、提供される。本方法は、視認者の頭部上に搭載されるディスプレイを提供するステップを含み、ディスプレイは、画像情報を1つ以上の深度平面上に表示するように構成される。ディスプレイは、光を視認者に投影し、画像情報を表示するように構成される、1つ以上の導波管を備える。1つ以上の導波管はさらに、周囲環境内のオブジェクトからの光を視認者に透過するように構成される。本方法はさらに、視認者の眼の輻輳・開散運動点を決定するステップと、視認者の眼の屈折誤差を補正するステップとを含む。屈折誤差は、決定された輻輳・開散運動点に基づいて、1つ以上の導波管と視認者の眼との間に配置される第1の可変焦点レンズ要素の屈折力を変動させるステップと、決定された輻輳・開散運動点に基づいて、1つ以上の導波管と視認者を囲繞する環境との間に配置される第2の可変焦点レンズ要素の屈折力を変動させるステップとによって、補正されてもよい。
実施例1:ディスプレイシステムであって、
光を視認者に投影し、画像情報を1つ以上の深度平面上に表示するように構成される頭部搭載型ディスプレイであって、前記ディスプレイは、
光を視認者に投影するように構成される1つ以上の導波管であって、前記1つ以上の導波管は、周囲環境内のオブジェクトからの光を視認者に透過させるようにさらに構成される、1つ以上の導波管と、
1つ以上の導波管と視認者の第1の眼との間の第1の可変焦点レンズ要素と、
1つ以上の導波管と周囲環境との間の第2の可変焦点レンズ要素と
を備える、ディスプレイと、
視認者の眼の輻輳・開散運動を決定するように構成される眼追跡システムと
を備え、ディスプレイシステムは、視認者の眼の決定された輻輳・開散運動に基づいて、第1および第2の可変焦点レンズ要素の屈折力を調節することによって、ユーザの眼の屈折誤差を補正するように構成される、ディスプレイシステム。
実施例2:ディスプレイシステムは、画像情報を表示するために、深度平面に応じて第1および第2の可変焦点レンズ要素の屈折力を修正するように構成される、実施例1に記載のディスプレイシステム。
実施例3:ディスプレイシステムは、第1の可変焦点レンズ要素の屈折力に応答して、第2の可変焦点レンズ要素の屈折力を調節するように構成される、実施例1−2のいずれかに記載のディスプレイシステム。
実施例4:1つ以上の導波管は、発散光を視認者に投影し、画像情報を表示するように構成される、実施例1−3のいずれかに記載のディスプレイシステム。
実施例5:1つ以上の導波管の各々は、固定屈折力を有する、実施例1−4のいずれかに記載のディスプレイシステム。
実施例6:1つ以上の導波管と視認者の第2の眼との間の第3の可変焦点要素をさらに備える、実施例1−5のいずれかに記載のディスプレイシステム。
実施例7:1つ以上の導波管と周囲環境との間の第4の可変焦点要素をさらに備える、実施例6に記載のディスプレイシステム。
実施例8:システムは、決定された輻輳・開散運動に基づいて、第3の可変焦点レンズ要素の屈折力を調節し、投影された光の波面を変動させるように構成される、実施例6−7のいずれかに記載のディスプレイシステム。
実施例9:システムは、決定された輻輳・開散運動に基づいて、第4の可変焦点レンズ要素の屈折力を調節し、周囲環境内のオブジェクトからの入射光の波面を変動させるように構成される、実施例6−8のいずれかに記載のディスプレイシステム。
実施例10:眼追跡システムは、1つ以上のカメラを備える、実施例1−9のいずれかに記載のディスプレイシステム。
実施例11:第1および/または第2の可変焦点レンズ要素の屈折力は、2つ以上の距離における視認者の視覚を補正するために、処方箋に従って調節される、実施例1−10のいずれかに記載のディスプレイシステム。
実施例12:システムは、第1および第2の可変焦点レンズ要素の各々に対し、3つ以上の事前に設定された処方箋屈折力を有する、実施例1−11のいずれかに記載のディスプレイシステム。
実施例13:利用可能な処方箋屈折力の数は、少なくともディスプレイのための深度平面の総数と等しい、実施例1−12のいずれかに記載のディスプレイシステム。
実施例14:第1および/または第2の可変焦点レンズ要素は、2つの基板間に挟入された液晶の層を備える、実施例1−13のいずれかに記載のディスプレイシステム。
実施例15:第1および/または第2の可変焦点レンズ要素は、電圧の印加に応じて液晶層の屈折率を改変するための電極を備える、実施例14に記載のディスプレイシステム。
実施例16:基板は、ガラスを含む、実施例14−15に記載のディスプレイシステム。
実施例17:電流または電圧の印加によって第1および/または第2の可変焦点レンズ要素の屈折率を変動させるように構成される電子ハードウェア制御システムをさらに備える、実施例1−16のいずれかに記載のディスプレイシステム。
実施例18:眼追跡システムは、電子ハードウェア制御システムへのフィードバックループを形成し、視認者の眼の決定された輻輳・開散運動に従って、第1および/または第2の可変焦点レンズ要素の屈折率を変動させる、実施例17に記載のディスプレイシステム。
実施例19:画像情報を頭部搭載型ディスプレイ上に表示するための方法であって、前記方法は、
視認者の頭部上に搭載されるディスプレイを提供することであって、ディスプレイは、画像情報を1つ以上の深度平面上に表示するように構成され、ディスプレイは、
光を視認者に投影し、画像情報を表示するように構成される1つ以上の導波管
を備え、
1つ以上の導波管はさらに、周囲環境内のオブジェクトからの光を視認者に透過させるように構成される、ことと、
視認者の眼の輻輳・開散運動点を決定することと、
視認者の眼の屈折誤差を補正することであって、前記補正することは、
決定された輻輳・開散運動点に基づいて、1つ以上の導波管と視認者の眼との間に配置される第1の可変焦点レンズ要素の屈折力を変動させることと、
決定された輻輳・開散運動点に基づいて、1つ以上の導波管と視認者を囲繞する環境との間に配置される第2の可変焦点レンズ要素の屈折力を変動させることと
によって行われる、ことと
を含む、方法。
実施例20:
第3の可変焦点レンズ要素および第4の可変焦点レンズ要素であって、第3の可変焦点レンズ要素は、1つ以上の導波管と視認者の他方の眼との間にあり、第4の可変焦点レンズ要素は、第3の可変焦点レンズの直前かつ1つ以上の導波管と周囲環境との間にある、第3の可変焦点レンズ要素および第4の可変焦点レンズ要素
をさらに備え、
決定された輻輳・開散運動点に基づいて、第3および第4の可変焦点レンズ要素の屈折力を変動させることによって、他方の眼の屈折誤差を補正することを含む、実施例19に記載の方法。
実施例21:輻輳・開散運動点を決定することは、1つ以上のカメラを使用して、視認者の両眼の輻輳・開散運動を追跡することを含む、実施例20に記載の方法。
実施例22:第1の可変焦点レンズ要素の屈折力は、第2の可変焦点レンズ要素の屈折力と同時に変動される、実施例19−21のいずれかに記載の方法。
実施例23:1つ以上の導波管の各々は、導波管からの発散光を出力するように構成される、回折光学要素を備える、実施例19−22のいずれかに記載の方法。
本願明細書は、例えば、以下の項目も提供する。
(項目1)
ディスプレイシステムであって、
光を視認者に投影し、画像情報を1つ以上の深度平面上に表示するように構成される頭部搭載型ディスプレイであって、前記ディスプレイは、
前記光を前記視認者に投影するように構成される1つ以上の導波管であって、前記1つ以上の導波管は、周囲環境内のオブジェクトからの光を前記視認者に透過させるようにさらに構成される、1つ以上の導波管と、
前記1つ以上の導波管と前記視認者の第1の眼との間の第1の可変焦点レンズ要素と、
前記1つ以上の導波管と周囲環境との間の第2の可変焦点レンズ要素と
を備える、ディスプレイと、
前記視認者の眼の輻輳・開散運動を決定するように構成される眼追跡システムと
を備え、
前記ディスプレイシステムは、前記視認者の眼の決定された輻輳・開散運動に基づいて、前記第1および第2の可変焦点レンズ要素の屈折力を調節することによって、前記ユーザの眼の屈折誤差を補正するように構成される、ディスプレイシステム。
(項目2)
前記ディスプレイシステムは、前記画像情報を表示するために、深度平面に応じて前記第1および第2の可変焦点レンズ要素の屈折力を修正するように構成される、項目1に記載のディスプレイシステム。
(項目3)
前記ディスプレイシステムは、前記第1の可変焦点レンズ要素の屈折力に応答して、前記第2の可変焦点レンズ要素の屈折力を調節するように構成される、項目1に記載のディスプレイシステム。
(項目4)
前記1つ以上の導波管は、発散光を前記視認者に投影し、前記画像情報を表示するように構成される、項目1に記載のディスプレイシステム。
(項目5)
前記1つ以上の導波管の各々は、固定屈折力を有する、項目1に記載のディスプレイシステム。
(項目6)
前記1つ以上の導波管と前記視認者の第2の眼との間の第3の可変焦点要素をさらに備える、項目1に記載のディスプレイシステム。
(項目7)
前記1つ以上の導波管と周囲環境との間の第4の可変焦点要素をさらに備える、項目6に記載のディスプレイシステム。
(項目8)
前記システムは、前記決定された輻輳・開散運動に基づいて、前記第3の可変焦点レンズ要素の屈折力を調節し、前記投影された光の波面を変動させるように構成される、項目6に記載のディスプレイシステム。
(項目9)
前記システムは、前記決定された輻輳・開散運動に基づいて、前記第4の可変焦点レンズ要素の屈折力を調節し、前記周囲環境内のオブジェクトからの入射光の波面を変動させるように構成される、項目8に記載のディスプレイシステム。
(項目10)
眼追跡システムは、1つ以上のカメラを備える、項目1に記載のディスプレイシステム。
(項目11)
前記第1および/または第2の可変焦点レンズ要素の屈折力は、2つ以上の距離における前記視認者の視覚を補正するために、処方箋に従って調節される、項目1に記載のディスプレイシステム。
(項目12)
前記システムは、前記第1および第2の可変焦点レンズ要素の各々に対し、3つ以上の事前に設定された処方箋屈折力を有する、項目1に記載のディスプレイシステム。
(項目13)
利用可能な処方箋屈折力の数は、少なくとも前記ディスプレイのための深度平面の総数と等しい、項目1に記載のディスプレイシステム。
(項目14)
前記第1および/または第2の可変焦点レンズ要素は、2つの基板間に挟入された液晶の層を備える、項目1に記載のディスプレイシステム。
(項目15)
前記第1および/または第2の可変焦点レンズ要素は、電圧の印加に応じて前記液晶層の屈折率を改変するための電極を備える、項目14に記載のディスプレイシステム。
(項目16)
前記基板は、ガラスを含む、項目14に記載のディスプレイシステム。
(項目17)
電流または電圧の印加によって前記第1および/または第2の可変焦点レンズ要素の屈折率を変動させるように構成される電子ハードウェア制御システムをさらに備える、項目1に記載のディスプレイシステム。
(項目18)
前記眼追跡システムは、前記電子ハードウェア制御システムへのフィードバックループを形成し、前記視認者の眼の決定された輻輳・開散運動に従って、前記第1および/または第2の可変焦点レンズ要素の屈折率を変動させる、項目17に記載のディスプレイシステム。
(項目19)
画像情報を頭部搭載型ディスプレイ上に表示するための方法であって、前記方法は、
視認者の頭部上に搭載されるディスプレイを提供することであって、前記ディスプレイは、画像情報を1つ以上の深度平面上に表示するように構成され、前記ディスプレイは、
光を前記視認者に投影し、前記画像情報を表示するように構成される1つ以上の導波管
を備え、
前記1つ以上の導波管はさらに、周囲環境内のオブジェクトからの光を前記視認者に透過させるように構成される、ことと、
前記視認者の眼の輻輳・開散運動点を決定することと、
前記視認者の眼の屈折誤差を補正することであって、前記補正することは、
前記決定された輻輳・開散運動点に基づいて、前記1つ以上の導波管と前記視認者の眼との間に配置される第1の可変焦点レンズ要素の屈折力を変動させることと、
前記決定された輻輳・開散運動点に基づいて、前記1つ以上の導波管と前記視認者を囲繞する環境との間に配置される第2の可変焦点レンズ要素の屈折力を変動させることと
によって行われる、ことと
を含む、方法。
(項目20)
第3の可変焦点レンズ要素および第4の可変焦点レンズ要素であって、前記第3の可変焦点レンズ要素は、前記1つ以上の導波管と前記視認者の他方の眼との間にあり、前記第4の可変焦点レンズ要素は、前記第3の可変焦点レンズの直前かつ前記1つ以上の導波管と周囲環境との間にある、第3の可変焦点レンズ要素および第4の可変焦点レンズ要素
をさらに備え、
前記決定された輻輳・開散運動点に基づいて、前記第3および第4の可変焦点レンズ要素の屈折力を変動させることによって、前記他方の眼の屈折誤差を補正することを含む、項目19に記載の方法
(項目21)
前記輻輳・開散運動点を決定することは、1つ以上のカメラを使用して、前記視認者の両眼の輻輳・開散運動を追跡することを含む、項目20に記載の方法。
(項目22)
前記第1の可変焦点レンズ要素の屈折力は、前記第2の可変焦点レンズ要素の屈折力と同時に変動される、項目19に記載の方法。
(項目23)
前記1つ以上の導波管の各々は、前記導波管からの発散光を出力するように構成される、回折光学要素を備える、項目19に記載の方法。
図1は、ARデバイスを通した拡張現実(AR)のユーザのビューを図示する。 図2は、ウェアラブルディスプレイシステムの実施例を図示する。 図3は、ユーザのための3次元画像をシミュレートするための従来のディスプレイシステムを図示する。 図4は、複数の深度平面を使用して3次元画像をシミュレートするためのアプローチの側面を図示する。 図5A−5Cは、曲率半径と焦点半径との間の関係を図示する。 図6は、画像情報をユーザに出力するための導波管スタックの実施例を図示する。 図7は、導波管によって出力された出射ビームの実施例を図示する。 図8は、スタックされた導波管アセンブリの実施例を図示し、各深度平面は、複数の異なる原色を使用して形成される画像を含む。 図9Aは、それぞれ、内部結合光学要素を含む、スタックされた導波管のセットの実施例の断面側面図を図示する。 図9Bは、図9Aの複数のスタックされた導波管の実施例の斜視図を図示する。 図9Cは、図9Aおよび9Bの複数のスタックされた導波管の実施例の上下平面図を図示する。 図10Aおよび10Bは、可変焦点レンズ要素と、1つ以上の導波管とを有する、ディスプレイの実施例の概略図である。図10Aは、単一導波管を伴う導波管スタックを示し、図10Bは、複数の導波管を伴う導波管スタックを示す。 図10Aおよび10Bは、可変焦点レンズ要素と、1つ以上の導波管とを有する、ディスプレイの実施例の概略図である。図10Aは、単一導波管を伴う導波管スタックを示し、図10Bは、複数の導波管を伴う導波管スタックを示す。 図11は、眼追跡システムを備える、拡張現実システムの種々のコンポーネントの概略図を示す。 図12は、ユーザの眼の輻輳・開散運動に基づいて、可変焦点レンズ要素の屈折力を変動させるための方法の実施例を描写する。
図面は、例示的実施形態を図示するために提供され、本開示の範囲を限定することを意図するものではない。
本明細書に開示されるように、拡張現実(AR)システムは、依然として、視認者が、自身の周囲の世界を見ることを可能にしながら、仮想コンテンツを視認者に表示し得る。好ましくは、本コンテンツは、例えば、画像情報を視認者の眼に投影し、周囲環境からの光をそれらの眼に透過させながら、その周囲環境のビューも可能にする、アイウェアの一部として、頭部搭載型ディスプレイ上に表示される。
しかしながら、多くの視認者は、光が自身の眼の網膜に正確に集束させることを妨害する、屈折誤差を伴う眼を有する。屈折誤差の実施例は、近視、遠視、老眼、および乱視を含む。これらの視認者は、ディスプレイによって投影された画像情報を明確に視認するために、特定の処方箋屈折力を伴うレンズ要素を要求し得る。いくつかの実施形態では、そのようなレンズ要素は、画像情報を投影するための導波管と視認者の眼との間に位置付けられてもよい。望ましくないことに、これらのレンズ要素と、可能性として、導波管等のディスプレイの他の光学透過部品とは、周囲環境の視認者のビューに収差を生じさせ得る。加えて、多くのレンズ要素は、視認者によって被られる屈折誤差の全てに対処し得ない、固定屈折力を有する。
いくつかの実施形態では、ディスプレイシステムは、導波管または複数の導波管を挟入する(その両側に位置付けられる)、第1および第2の可変焦点レンズ要素を含む。第1のレンズ要素は、1つ以上の導波管と視認者の眼との間にあってもよく、1つ以上の導波管からその眼に投影される光の集束における屈折誤差を補正するように構成されてもよい。加えて、いくつかの実施形態では、第1のレンズ要素は、適切な量の屈折力を提供し、表示される仮想コンテンツを所望の深度平面上に設置するように構成されてもよい。第2のレンズ要素は、周囲環境と1つ以上の導波管との間にあってもよく、屈折力を提供し、導波管および第1のレンズ要素を通した周囲環境からの光の透過における収差を補償するように構成されてもよい。いくつかの実施形態では、視認者の他方の眼における屈折誤差は、別個に補正されてもよい。例えば、他方の眼と導波管との間の第3の可変焦点レンズ要素と、導波管と周囲環境との間の第4の可変焦点レンズ要素とが、本他方の眼における屈折誤差を補正するために使用されてもよい。可変焦点要素の焦点距離/屈折力は、実世界および/または仮想コンテンツがユーザの眼の網膜上に集束され、それによって、ユーザが高い光学的画像品質を伴って実および仮想オブジェクトの両方を視認することを可能にするように変動されてもよい。
いくつかの実施形態では、ディスプレイは、視認者の眼の輻輳・開散運動を決定するように構成される眼追跡システムを含む、ディスプレイシステムの一部である。眼追跡システムは、例えば、眼の輻輳・開散運動点を決定する、1つ以上のカメラであってもよく、その結果、眼が集束される距離を決定し、その距離に対して眼の適切な補正を導出するために利用されてもよい。異なる補正が、異なる輻輳・開散運動点のために要求され得、例えば、異なる補正が、視認者の眼が近距離、遠距離、または中間距離のオブジェクトに適切に集束するために要求され得る(実または仮想オブジェクトにかかわらず)ことを理解されたい。いくつかの実施形態では、可変焦点レンズ要素が可変屈折力を提供する能力は、例えば、処方箋眼鏡またはコンタクトレンズに容易に利用可能ではない、段階的補正を可能にし得る。例えば、2つ以上の、3つ以上の、4つ以上の、または5つ以上の一意の補正(いくつかの実施形態では、各眼に対して)が、利用可能であり得る。
固定処方箋光学装置を装着する代わりに、可変焦点レンズ要素が、所望の補正をユーザに提供するために構成されてもよい。例えば、拡張現実ディスプレイシステムは、異なる深度平面から投影された仮想オブジェクトおよび/または異なる距離における実世界オブジェクトのための異なる屈折力を提供するように構成されてもよい。例えば、近見視力補正を要求するユーザに関して、可変焦点レンズ要素は、ユーザが近見視力域に対応する距離に位置する仮想オブジェクトまたは実世界オブジェクトを視認するとき、近見視力屈折力を提供するように構成されてもよい。別の実施例として、中間距離視力補正を要求するユーザに関して、可変焦点レンズ要素は、ユーザが中間距離視力域に対応する距離に位置する仮想オブジェクトまたは実世界オブジェクトを視認するとき、中間距離視力屈折力を提供するように構成されてもよい。さらに別の実施例として、遠見視力補正を要求するユーザに関して、可変焦点レンズ要素は、ユーザが遠見視力域に対応する距離に位置する仮想オブジェクトまたは実世界オブジェクトを視認するとき、遠見視力屈折力を提供するように構成されてもよい。いくつかの実施形態では、近見視力補正、中間距離視力補正、および遠見視力補正のためのユーザの処方箋が、ディスプレイシステムによってアクセスされてもよく、システムは、ユーザが近見視力域、中間距離視力域、および遠見視力域に対応する距離に位置する仮想オブジェクトまたは実世界オブジェクトを視認するとき、ユーザの処方箋に従って、可変焦点レンズ要素の屈折力を変動させてもよい。
有利には、第1および/または第2のレンズ要素は、同一頭部搭載型ディスプレイが、補正レンズ要素を物理的に変更せずに、種々のユーザによって使用されることを可能にし得る。むしろ、ディスプレイは、ユーザに適合する。加えて、可変焦点レンズ要素は、適切な屈折力を提供し、1つ以上の導波管から投影された画像情報を所望の深度平面上に設置するように構成されてもよい。例えば、可変焦点レンズ要素は、1つ以上の導波管から視認者に投影される光の発散を変動させるように構成されてもよい。可変焦点レンズ要素によって提供される適合性は、同一ディスプレイが、提供され、異なるユーザによって使用され得、より少ない光学構造が、画像情報をある範囲の深度平面上に表示するために要求され得るため、ディスプレイの製造および設計を単純化するための利点を提供し得る。さらに、広範囲の補正をリアルタイムでもたらす能力は、従来の補正眼鏡を用いて容易に利用可能なものより多数の段階的補正を可能にし得る。これは、世界の視認者のビューおよび表示される画像情報の鮮明度および/または鮮鋭度を改良し得、また、長期のユーザの快適性を促進し得る。加えて、可変焦点レンズ要素は、例えば、ユーザが、加齢し、一方または両方の眼の状態が変化したとき、単に、ディスプレイシステムの中にプログラムされる事前に設定された補正を変更し、それによって、ディスプレイが新しいユーザの処方箋に容易に適合することを可能にすることによって、異なる処方箋を用いて構成されてもよい。
ここで、図面を参照するが、同様の参照番号は、全体を通して同様の部分を指す。
図2は、ウェアラブルディスプレイシステム60の実施例を図示する。ディスプレイシステム60は、ディスプレイ70と、そのディスプレイ70の機能をサポートするための種々の機械的および電子的なモジュールおよびシステムとを含む。ディスプレイ70は、フレーム80に結合されてもよく、これは、ディスプレイシステムユーザまたは視認者90によって装着可能であって、ディスプレイ70をユーザ90の眼の正面に位置付けるように構成される。ディスプレイ70は、いくつかの実施形態においてはアイウェアと見なされてもよい。いくつかの実施形態では、スピーカ100が、フレーム80に結合され、ユーザ90の外耳道に隣接して位置付けられるように構成される(いくつかの実施形態では、示されない別のスピーカが、随意に、ユーザの他方の外耳道に隣接して位置付けられ、ステレオ/成形可能音制御を提供してもよい)。ディスプレイシステムはまた、1つ以上のマイクロホン110または他のデバイスを含み、音を検出してもよい。いくつかの実施形態では、マイクロホンは、ユーザが、入力またはコマンドをシステム60に提供することを可能にするように構成され(例えば、音声メニューコマンドの選択、自然言語質問等)、および/または他の人物(例えば、類似ディスプレイシステムの他のユーザ)とのオーディオ通信を可能にしてもよい。マイクロホンはさらに、周辺センサとして構成され、オーディオデータ(例えば、ユーザおよび/または環境からの音)を収集してもよい。いくつかの実施形態では、ディスプレイシステムもまた、周辺センサ120aを含んでもよく、これは、フレーム80と別個であって、ユーザ90の身体(例えば、ユーザ90の頭部、胴体、四肢等上)に取り付けられてもよい。周辺センサ120aは、いくつかの実施形態では、ユーザ90の生理学的状態を特徴付けるデータを取得するように構成されてもよい。例えば、センサ120aは、電極であってもよい。
図2を継続して参照すると、ディスプレイ70は、有線導線または無線コネクティビティ等の通信リンク130によって、ローカルデータ処理モジュール140に動作可能に結合され、これは、フレーム80に固定して取り付けられる、ユーザによって装着されるヘルメットまたは帽子に固定して取り付けられる、ヘッドホン内に埋設される、または別様にユーザ90に除去可能に取り付けられる(例えば、リュック式構成、ベルト結合式構成において)等、種々の構成で搭載されてもよい。同様に、センサ120aは、通信リンク120b、例えば、有線導線または無線コネクティビティによって、ローカルデータ処理モジュール140に動作可能に結合されてもよい。ローカル処理およびデータモジュール140は、ハードウェアプロセッサと、不揮発性メモリ(例えば、フラッシュメモリまたはハードディスクドライブ)等のデジタルメモリとを備えてもよく、これらの両方は、データの処理、キャッシュ、および記憶を補助するために利用されてもよい。データは、a)センサ(例えば、画像捕捉デバイス(カメラ等)、マイクロホン、慣性測定ユニット、加速度計、コンパス、GPSユニット、無線デバイス、ジャイロスコープ、および/または本明細書に開示される他のセンサ(例えば、フレーム80に動作可能に結合され得るかまたは別様にユーザ90に取り付けられ得る))から捕捉されたデータ、および/または、b)可能性として処理または読出後にディスプレイ70への通過のための遠隔処理モジュール150および/または遠隔データリポジトリ160(仮想コンテンツに関連するデータを含む)を使用して取得および/または処理されたデータを含む。ローカル処理およびデータモジュール140は、これらの遠隔モジュール150、160が相互に動作可能に結合され、ローカル処理およびデータモジュール140に対するリソースとして利用可能であるように、有線または無線通信リンクを介して等、通信リンク170、180によって、遠隔処理モジュール150および遠隔データリポジトリ160に動作可能に結合されてもよい。いくつかの実施形態では、ローカル処理およびデータモジュール140は、画像捕捉デバイス、マイクロホン、慣性測定ユニット、加速度計、コンパス、GPSユニット、無線デバイス、および/またはジャイロスコープのうちの1つ以上のものを含んでもよい。いくつかの他の実施形態では、これらのセンサのうちの1つ以上のものは、フレーム80に取り付けられてもよい、または有線または無線通信経路によってローカル処理およびデータモジュール140と通信する、独立構造であってもよい。
図2を継続して参照すると、いくつかの実施形態では、遠隔処理モジュール150は、データおよび/または画像情報を分析および処理するように構成される、1つ以上のプロセッサを備えてもよい。いくつかの実施形態では、遠隔データリポジトリ160は、インターネットまたは「クラウド」リソース構成における他のネットワーキング構成を通して利用可能であり得る、デジタルデータ記憶設備を備えてもよい。いくつかの実施形態では、遠隔データリポジトリ160は、1つ以上の遠隔サーバを含んでもよく、これは、情報(例えば、拡張現実コンテンツを生成するための情報)をローカル処理およびデータモジュール140および/または遠隔処理モジュール150に提供する。いくつかの実施形態では、全てのデータが、記憶され、全ての計算は、ローカル処理およびデータモジュール内で行われ、遠隔モジュールからの完全に自律的な使用を可能にする。
ここで図3を参照すると、「3次元」または「3−D」としての画像の知覚は、視認者の各眼への画像の若干異なる提示を提供することによって達成され得る。図3は、ユーザに関する3次元画像をシミュレートするための従来のディスプレイシステムを図示する。各眼210、220に対して1つの2つの明確に異なる画像190、200が、ユーザに出力される。画像190、200は、視認者の視線と平行な光学軸またはz−軸に沿って距離230だけ眼210、220から離間される。画像190、200は、平坦であって、眼210、220は、単一の遠近調節された状態をとることによって、画像上に合焦し得る。そのような3−Dディスプレイシステムは、ヒト視覚系に依拠し、画像190、200を組み合わせ、組み合わせられた画像の深度および/または尺度の知覚を提供する。
しかしながら、ヒト視覚系は、より複雑であって、深度の現実的知覚を提供することは、より困難であることを理解されたい。例えば、従来の「3−D」ディスプレイシステムの多くの視認者は、そのようなシステムが不快であることを見出す、または深度の感覚を全く知覚しない場合がある。理論によって限定されるわけではないが、オブジェクトの視認者は、輻輳・開散運動(vergence)および遠近調節(accommodation)の組み合わせに起因して、オブジェクトを「3次元」として知覚し得ると考えられる。相互に対する2つの眼の輻輳・開散運動の移動(例えば、瞳孔が、眼の視線を収束させ、オブジェクトを凝視するための相互に向かって、またはそこから離れるように移動する、眼の転動)は、眼の水晶体および瞳孔の集束(または「遠近調節」)と密接に関連付けられる。通常条件下では、眼の水晶体の焦点を変化させること、または、眼を遠近調節し、1つのオブジェクトから異なる距離における別のオブジェクトに焦点を変化させることは、「遠近調節−輻輳・開散運動反射」および瞳孔拡張または収縮として知られる関係下、同一距離までの輻輳・開散運動における整合的変化を自動的に生じさせるであろう。同様に、輻輳・開散運動における変化は、正常条件下では、水晶体形状および瞳孔サイズの遠近調節における整合変化を誘起するであろう。本明細書に記載されるように、多くの立体視または「3−D」ディスプレイシステムは、3次元視点がヒト視覚系によって知覚されるように、各眼への若干異なる提示(したがって、若干異なる画像)を使用して、場面を表示する。しかしながら、そのようなシステムは、とりわけ、単に、場面の異なる提示を提供するが、眼が全画像情報を単一の遠近調節された状態において視認すると、「遠近調節−輻輳・開散運動反射」に対抗して機能するため、多くの視認者にとって不快である。遠近調節と輻輳・開散運動との間のより優れた整合を提供するディスプレイシステムは、3次元画像のより現実的かつ快適なシミュレーションを形成し得る。
図4は、複数の深度平面を使用して3次元画像をシミュレートするためのアプローチの側面を図示する。図4を参照すると、z−軸上の眼210、220からの種々の距離におけるオブジェクトは、それらのオブジェクトが合焦するように、眼210、220によって遠近調節される。眼210、220は、特定の遠近調節された状態をとり、z−軸に沿って異なる距離においてオブジェクトに合焦する。その結果、特定の遠近調節された状態は、特定の深度平面におけるオブジェクトまたはオブジェクトの一部が、眼がその深度平面のための遠近調節された状態にあるとき合焦するように、関連付けられた焦点距離を有する、深度平面240のうちの特定の1つと関連付けられると言え得る。いくつかの実施形態では、3次元画像は、各眼210、220に対して画像の異なる提示を提供することによって、また、深度平面のそれぞれに対応する画像の異なる提示を提供することによってシミュレートされてもよい。例証を明確にするために、別個であるように示されるが、眼210、220の視野は、例えば、z−軸に沿った距離が増加するにつれて重複し得ることを理解されたい。加えて、例証を容易にするために、平坦として示されるが、深度平面の輪郭は、深度平面内の全ての特徴が特定の遠近調節された状態における眼と合焦するように、物理的空間内で湾曲され得ることを理解されたい。
オブジェクトと眼210または220との間の距離はまた、その眼によって視認されるようなそのオブジェクトからの光の発散の量を変化させ得る。図5A−5Cは、距離と光線の発散との間の関係を図示する。オブジェクトと眼210との間の距離は、減少距離R1、R2、およびR3の順序で表される。図5A−5Cに示されるように、光線は、オブジェクトまでの距離が減少するにつれてより発散する。距離が増加するにつれて、光線は、よりコリメートされる。換言すると、点(オブジェクトまたはオブジェクトの一部)によって生成される光場は、点がユーザの眼から離れている距離の関数である、球状波面曲率を有すると言え得る。曲率は、オブジェクトと眼210との間の距離の減少に伴って増加する。その結果、異なる深度平面では、光線の発散度もまた、異なり、発散度は、深度平面と視認者の眼210との間の距離の減少に伴って増加する。単眼210のみが、例証を明確にするために、図5A−5Cおよび本明細書の種々の他の図に図示されるが、眼210に関する議論は、視認者の両眼210および220に適用され得ることを理解されたい。
理論によって限定されるわけではないが、ヒトの眼は、典型的には、有限数の深度平面を解釈し、深度知覚を提供することができると考えられる。その結果、知覚された深度の高度に真実味のあるシミュレーションが、眼にこれらの限定数の深度平面のそれぞれに対応する画像の異なる提示を提供することによって達成され得る。異なる提示は、視認者の眼によって別個に集束され、それによって、異なる深度平面上に位置する場面のための異なる画像特徴に合焦させるために要求される眼の遠近調節に基づいて、および/または焦点がずれている異なる深度平面上の異なる画像特徴の観察に基づいて、ユーザに深度合図を提供することに役立ててもよい。
図6は、画像情報をユーザに出力するための導波管スタックの実施例を図示する。ディスプレイシステム250は、複数の導波管270、280、290、300、310を使用して3次元知覚を眼/脳に提供するために利用され得る、導波管のスタックまたはスタックされた導波管アセンブリ260を含む。いくつかの実施形態では、ディスプレイシステム250は、図2のシステム60であって、図6は、そのシステム60のいくつかの部分をより詳細に概略的に示す。例えば、導波管アセンブリ260は、図2のディスプレイ70の一部であってもよい。ディスプレイシステム250は、いくつかの実施形態では、ライトフィールドディスプレイと見なされてもよいことを理解されたい。加えて、導波管アセンブリ260はまた、接眼レンズとも称され得る。
図6を継続して参照すると、導波管アセンブリ260はまた、複数の特徴320、330、340、350を導波管間に含んでもよい。いくつかの実施形態では、特徴320、330、340、350は、1つ以上のレンズであってもよい。導波管270、280、290、300、310および/または複数のレンズ320、330、340、350は、種々のレベルの波面曲率または光線発散を用いて画像情報を眼に送信するように構成されてもよい。各導波管レベルは、特定の深度平面と関連付けられてもよく、その深度平面に対応する画像情報を出力するように構成されてもよい。画像投入デバイス360、370、380、390、400は、導波管のための光源として機能してもよく、画像情報を導波管270、280、290、300、310の中に投入するために利用されてもよく、それぞれ、本明細書に説明されるように、眼210に向かって出力するために各個別の導波管を横断して入射光を分散させるように構成されてもよい。光は、画像投入デバイス360、370、380、390、400の出力表面410、420、430、440、450から出射し、導波管270、280、290、300、310の対応する入力表面460、470、480、490、500の中に投入される。いくつかの実施形態では、入力表面460、470、480、490、500はそれぞれ、対応する導波管の縁であってもよい、または対応する導波管の主要表面の一部(すなわち、世界510または視認者の眼210に直接面する導波管表面のうちの1つ)であってもよい。いくつかの実施形態では、光の単一ビーム(例えば、コリメートされたビーム)が、各導波管の中に投入され、クローン化されたコリメートビームの全体場を出力してもよく、これは、特定の導波管と関連付けられた深度平面に対応する特定の角度(および発散量)において眼210に向かって指向される。いくつかの実施形態では、画像投入デバイス360、370、380、390、400のうちの単一の1つは、複数(例えば、3つ)の導波管270、280、290、300、310と関連付けられ、その中に光を投入してもよい。
いくつかの実施形態では、画像投入デバイス360、370、380、390、400はそれぞれ、それぞれ対応する導波管270、280、290、300、310の中への投入のために画像情報を生成する、離散ディスプレイである。いくつかの他の実施形態では、画像投入デバイス360、370、380、390、400は、例えば、画像情報を1つ以上の光学導管(光ファイバケーブル等)を介して画像投入デバイス360、370、380、390、400のそれぞれに送り得る、単一の多重化されたディスプレイの出力端である。画像投入デバイス360、370、380、390、400によって提供される画像情報は、異なる波長または色(例えば、本明細書に議論されるように、異なる原色)の光を含んでもよいことを理解されたい。
いくつかの実施形態では、導波管270、280、290、300、310の中に投入される光は、光プロジェクタシステム520によって提供され、これは、光モジュール540を備え、これは、発光ダイオード(LED)等の光エミッタを含んでもよい。光モジュール540からの光は、ビームスプリッタ550を介して、光変調器530、例えば、空間光変調器によって指向および修正されてもよい。光変調器530は、導波管270、280、290、300、310の中に投入される光の知覚される強度を変化させるように構成されてもよい。空間光変調器の実施例は、液晶ディスプレイ(LCD)を含み、シリコン上液晶(LCOS)ディスプレイを含む。画像投入デバイス360、370、380、390、400は、概略的に図示され、いくつかの実施形態では、これらの画像投入デバイスは、光を導波管270、280、290、300、310の関連付けられたものの中に出力するように構成される、共通投影システム内の異なる光経路および場所を表し得ることを理解されたい。
いくつかの実施形態では、ディスプレイシステム250は、光を種々のパターン(例えば、ラスタ走査、螺旋走査、リサジューパターン等)で1つ以上の導波管270、280、290、300、310の中に、最終的には、視認者の眼210に投影するように構成される、1つ以上の走査ファイバを備える、走査ファイバディスプレイであってもよい。いくつかの実施形態では、図示される画像投入デバイス360、370、380、390、400は、光を1つまたは複数の導波管270、280、290、300、310の中に投入するように構成される、単一走査ファイバまたは走査ファイバの束を概略的に表し得る。いくつかの他の実施形態では、図示される画像投入デバイス360、370、380、390、400は、複数の走査ファイバまたは走査ファイバの複数の束を概略的に表し得、それぞれ、光を導波管270、280、290、300、310のうちの関連付けられた1つの中に投入するように構成される。1つ以上の光ファイバは、光を光モジュール540から1つ以上の導波管270、280、290、300、310に透過するように構成されてもよいことを理解されたい。1つ以上の介在光学構造が、走査ファイバまたは複数のファイバと、1つ以上の導波管270、280、290、300、310との間に提供され、例えば、走査ファイバから出射する光を1つ以上の導波管270、280、290、300、310の中に再指向してもよいことを理解されたい。
コントローラ560は、画像投入デバイス360、370、380、390、400、光源540、および光モジュール530の動作を含む、スタックされた導波管アセンブリ260のうちの1つ以上のものの動作を制御する。いくつかの実施形態では、コントローラ560は、ローカルデータ処理モジュール140の一部である。コントローラ560は、例えば、本明細書に開示される種々のスキームのいずれかに従って、導波管270、280、290、300、310への画像情報のタイミングおよびプロビジョニングを調整する、プログラミング(例えば、非一過性媒体内の命令)を含む。いくつかの実施形態では、コントローラは、単一の一体型デバイスまたは有線または無線通信チャネルによって接続される分散型システムであってもよい。コントローラ560は、いくつかの実施形態では、処理モジュール140または150(図2)の一部であってもよい。
図6を継続して参照すると、導波管270、280、290、300、310は、全内部反射(TIR)によって各個別の導波管内で光を伝搬するように構成されてもよい。導波管270、280、290、300、310はそれぞれ、主要上部表面および主要底部表面およびそれらの主要上部表面と主要底部表面との間に延在する縁を伴う、平面であるかまたは別の形状(例えば、湾曲)を有してもよい。図示される構成では、導波管270、280、290、300、310はそれぞれ、外部結合光学要素570、580、590、600、610を含んでもよく、これらの外部結合光学要素は、画像情報を眼210に出力するために、各個別の導波管内で伝搬する光を導波管から再指向させることによって、光を導波管から抽出するように構成される。抽出された光はまた、外部結合光と称され得、外部結合光学要素はまた、光抽出光学要素と称され得る。抽出された光のビームは、導波管によって、導波管内を伝搬する光が光抽出光学要素に衝打する場所において出力され得る。外部結合光学要素570、580、590、600、610は、例えば、本明細書にさらに議論されるような回折光学特徴を含む、格子であってもよい。説明の容易性および図面の明確性のために、導波管270、280、290、300、310の底部主要表面に配置されて図示されるが、いくつかの実施形態では、外部結合光学要素570、580、590、600、610は、本明細書にさらに議論されるように、上部主要表面および/または底部主要表面に配置されてもよい、および/または導波管270、280、290、300、310の体積内に直接配置されてもよい。いくつかの実施形態では、外部結合光学要素570、580、590、600、610は、透明基板に取り付けられ、導波管270、280、290、300、310を形成する、材料の層内に形成されてもよい。いくつかの他の実施形態では、導波管270、280、290、300、310は、材料のモノリシック部品であってもよく、外部結合光学要素570、580、590、600、610は、材料のその部品の表面上および/またはその内部に形成されてもよい。
図6を継続して参照すると、本明細書に議論されるように、各導波管270、280、290、300、310は、光を出力し、特定の深度平面に対応する画像を形成するように構成される。例えば、眼の最近傍の導波管270は、眼210にコリメートされた光(そのような導波管270の中に投入された)を送達するように構成されてもよい。コリメートされた光は、光学無限遠焦点面を表し得る。次の上方の導波管280は、眼210に到達し得る前に、第1のレンズ350(例えば、負のレンズ)を通して通過する、コリメートされた光を送出するように構成されてもよい。そのような第1のレンズ350は、眼/脳が、その次の上方の導波管280から生じる光を光学無限遠から眼210に向かって内向きにより近い第1の焦点面から生じるように解釈するように、若干の凸面波面曲率を生成するように構成されてもよい。同様に、第3の上方の導波管290は、眼210に到達する前に、その出力光を第1のレンズ350および第2のレンズ340の両方を通して通過させる。第1のレンズ350および第2のレンズ340の組み合わせられた屈折力は、眼/脳が、第3の導波管290から生じる光が次の上方の導波管280からの光であったよりも光学無限遠から人物に向かって内向きにさらに近い第2の焦点面から生じるように解釈するように、別の漸増量の波面曲率を生成するように構成されてもよい。
他の導波管層300、310およびレンズ330、320も同様に構成され、スタック内の最高導波管310は、人物に最も近い焦点面を表す集約焦点力のために、その出力をそれと眼との間のレンズの全てを通して送出する。スタックされた導波管アセンブリ260の他側の世界510から生じる光を視認/解釈するとき、レンズ320、330、340、350のスタックを補償するために、補償レンズ層620が、スタックの上部に配置され、下方のレンズスタック320、330、340、350の集約力を補償してもよい。そのような構成は、利用可能な導波管/レンズ対と同じ数の知覚される焦点面を提供する。導波管の外部結合光学要素およびレンズの集束側面は両方とも、静的であってもよい(すなわち、動的または電気活性ではない)。いくつかの代替実施形態では、一方または両方とも、電気活性特徴を使用して動的であってもよい。
いくつかの実施形態では、導波管270、280、290、300、310のうちの2つ以上のものは、同一の関連付けられた深度平面を有してもよい。例えば、複数の導波管270、280、290、300、310が、同一深度平面に設定される画像を出力するように構成されてもよい、または導波管270、280、290、300、310の複数のサブセットが、各深度平面に対して1つのセットを伴う、同一の複数の深度平面に設定される画像を出力するように構成されてもよい。これは、それらの深度平面において拡張された視野を提供するようにタイリングされた画像を形成する利点を提供し得る。
図6を継続して参照すると、外部結合光学要素570、580、590、600、610は、導波管と関連付けられた特定の深度平面のために、光をその個別の導波管から再指向させることと、本光を適切な量の発散またはコリメーションを伴って出力することとの両方を行うように構成されてもよい。その結果、異なる関連付けられた深度平面を有する導波管は、外部結合光学要素570、580、590、600、610の異なる構成を有してもよく、これは、関連付けられた深度平面に応じて、異なる量の発散を伴う光を出力する。いくつかの実施形態では、光抽出光学要素570、580、590、600、610は、体積特徴または表面特徴であってもよく、これは、具体的角度において光を出力するように構成されてもよい。例えば、光抽出光学要素570、580、590、600、610は、体積ホログラム、表面ホログラム、および/または回折格子であってもよい。いくつかの実施形態では、特徴320、330、340、350は、レンズではなくてもよい。むしろ、それらは、単に、スペーサ(例えば、クラッディング層および/または空隙を形成するための構造)であってもよい。
いくつかの実施形態では、外部結合光学要素570、580、590、600、610は、回折パターンまたは「回折光学要素」(また、本明細書では、「DOE」とも称される)を形成する、回折特徴である。好ましくは、DOEは、ビームの光の一部のみがDOEの各交差部で眼210に向かって偏向される一方、残りがTIRを介して導波管を通して移動し続けるように、十分に低い回折効率を有する。画像情報を搬送する光は、したがって、様々な場所において導波管から出射するいくつかの関連出射ビームに分割され、その結果は、導波管内でバウンスする本特定のコリメートされたビームに関して、眼210に向かって非常に均一なパターンで出射する放出となる。
いくつかの実施形態では、1つ以上のDOEは、能動的に回折する「オン」状態と有意に回折しない「オフ」状態との間で切替可能であってもよい。例えば、切替可能なDOEは、ポリマー分散液晶の層を備えてもよく、その中で微小液滴は、ホスト媒体中に回折パターンを備え、微小液滴の屈折率は、ホスト材料の屈折率に実質的に整合するように切り替えられてもよい(その場合、パターンは、入射光を著しく回折させない)、または微小液滴は、ホスト媒体のものに整合しない屈折率に切り替えられてもよい(その場合、パターンは、入射光を能動的に回折させる)。
いくつかの実施形態では、カメラアセンブリ630(例えば、可視光および赤外線光カメラを含む、デジタルカメラ)が、眼210および/または眼210の周囲の組織の画像を捕捉し、例えば、ユーザ入力を検出する、および/またはユーザの生理学的状態を監視するために提供されてもよい。本明細書で使用されるように、カメラは、任意の画像捕捉デバイスであってもよい。いくつかの実施形態では、カメラアセンブリ630は、画像捕捉デバイスと、光(例えば、赤外線光)を眼に投影し、その光が、次いで、眼によって反射され、画像捕捉デバイスによって検出され得る、光源とを含んでもよい。いくつかの実施形態では、カメラアセンブリ630は、フレーム80(図2)に取り付けられてもよく、カメラアセンブリ630からの画像情報を処理し得る、処理モジュール140および/または150と電気通信してもよい。いくつかの実施形態では、1つのカメラアセンブリ630が、各眼に対して利用され、各眼を別個に監視してもよい。
ここで図7を参照すると、導波管によって出力された出射ビームの実施例が、示される。1つの導波管が図示されるが、導波管アセンブリ260(図6)内の他の導波管も同様に機能し得、導波管アセンブリ260は、複数の導波管を含むことを理解されたい。光640が、導波管270の入力表面460において導波管270の中に投入され、TIRによって導波管270内を伝搬する。光640がDOE570上に衝突する点では、光の一部は、導波管から出射ビーム650として出射する。出射ビーム650は、略平行として図示されるが、本明細書に議論されるように、これらはまた、導波管270と関連付けられた深度平面に応じて、ある角度(例えば、発散出射ビームを形成する)において眼210に伝搬するように再指向されてもよい。略平行出射ビームは、眼210からの遠距離(例えば、光学無限遠)における深度平面に設定されるように現れる画像を形成するように光を外部結合する、外部結合光学要素を伴う導波管を示し得ることを理解されたい。他の導波管または他の外部結合光学要素のセットは、より発散する、出射ビームパターンを出力してもよく、これは、眼210がより近い距離に遠近調節し、それが網膜に合焦することを要求し、光学無限遠より眼210に近い距離からの光として脳によって解釈されるであろう。
いくつかの実施形態では、フルカラー画像が、原色、例えば、3つ以上の原色のそれぞれに画像をオーバーレイすることによって、各深度平面において形成されてもよい。図8は、スタックされた導波管アセンブリの実施例を図示し、各深度平面は、複数の異なる原色を使用して形成される画像を含む。図示される実施形態は、深度平面240a−240fを示すが、より多いまたはより少ない深度もまた、検討される。各深度平面は、第1の色Gの第1の画像、第2の色Rの第2の画像、および第3の色Bの第3の画像を含む、それと関連付けられた3つ以上の原色画像を有してもよい。異なる深度平面は、文字G、R、およびBに続くジオプタ(dpt)に関する異なる数字によって図に示される。単なる実施例として、これらの文字のそれぞれに続く数字は、ジオプタ(1/m)、すなわち、視認者からの深度平面の逆距離を示し、図中の各ボックスは、個々の原色画像を表す。いくつかの実施形態では、異なる波長の光の眼の集束における差異を考慮するために、異なる原色に関する深度平面の正確な場所は、変動してもよい。例えば、所与の深度平面に関する異なる原色画像は、ユーザからの異なる距離に対応する深度平面上に設置されてもよい。そのような配列は、視力およびユーザ快適性を増加させ得、および/または色収差を減少させ得る。
いくつかの実施形態では、各原色の光は、単一の専用導波管によって出力されてもよく、その結果、各深度平面は、それと関連付けられた複数の導波管を有してもよい。そのような実施形態では、文字G、R、またはBを含む、図中の各ボックスは、個々の導波管を表すものと理解され得、3つの導波管は、深度平面毎に提供されてもよく、3つの原色画像が、深度平面毎に提供される。各深度平面と関連付けられた導波管は、本図面では、説明を容易にするために相互に隣接して示されるが、物理的デバイスでは、導波管は全て、レベル毎に1つの導波管を伴うスタックで配列されてもよいことを理解されたい。いくつかの他の実施形態では、複数の原色が、例えば、単一の導波管のみが深度平面毎に提供され得るように、同一の導波管によって出力されてもよい。
図8を継続して参照すると、いくつかの実施形態では、Gは、緑色であって、Rは、赤色であって、Bは、青色である。いくつかの他の実施形態では、マゼンタ色およびシアン色を含む、光の他の波長と関連付けられた他の色も、赤色、緑色、または青色のうちの1つ以上のものに加えて使用されてもよい、またはそれらに取って代わってもよい。
本開示全体を通した所与の光の色の言及は、その所与の色として視認者によって知覚される、光の波長の範囲内の1つ以上の波長の光を包含するものと理解されると理解されたい。例えば、赤色光は、約620〜780nmの範囲内である1つ以上の波長の光を含んでもよく、緑色光は、約492〜577nmの範囲内である1つ以上の波長の光を含んでもよく、青色光は、約435〜493nmの範囲内である1つ以上の波長の光を含んでもよい。
いくつかの実施形態では、光源540(図6)は、視認者の視覚的知覚範囲外の1つ以上の波長、例えば、赤外線および/または紫外線波長の光を放出するように構成されてもよい。加えて、ディスプレイ250の導波管の内部結合、外部結合、および他の光再指向構造は、例えば、イメージング用途および/またはユーザ刺激用途のために、本光をディスプレイからユーザの眼210に向かって指向および放出するように構成されてもよい。
ここで図9Aを参照すると、いくつかの実施形態では、導波管に衝突する光は、その光を導波管の中に内部結合するために再指向される必要があり得る。内部結合光学要素が、光をその対応する導波管の中に再指向および内部結合するために使用されてもよい。図9Aは、各々が内部結合光学要素を含む複数またはセットのスタックされた導波管660の実施例の断面側面図を図示する。導波管はそれぞれ、1つ以上の異なる波長または1つ以上の異なる波長範囲の光を出力するように構成されてもよい。スタック660は、スタック260(図6)に対応してもよく、スタック660の図示される導波管は、複数の導波管270、280、290、300、310の一部に対応してもよいが、画像投入デバイス360、370、380、390、400のうちの1つ以上のものからの光が、内部結合のために光が再指向されることを要求する位置から、導波管の中に投入されることを理解されたい。
スタックされた導波管の図示されるセット660は、導波管670、680、および690を含む。各導波管は、関連付けられた内部結合光学要素(導波管上の光入力面積とも称され得る)を含み、例えば、内部結合光学要素700は、導波管670の主要表面(例えば、上側主要表面)上に配置され、内部結合光学要素710は、導波管680の主要表面(例えば、上側主要表面)上に配置され、内部結合光学要素720は、導波管690の主要表面(例えば、上側主要表面)上に配置される。いくつかの実施形態では、内部結合光学要素700、710、720のうちの1つ以上のものは、個別の導波管670、680、690の底部主要表面上に配置されてもよい(特に、1つ以上の内部結合光学要素は、反射性偏向光学要素である)。図示されるように、内部結合光学要素700、710、720は、その個別の導波管670、680、690の上側主要表面(または次の下側導波管の上部)上に配置されてもよく、特に、それらの内部結合光学要素は、透過性偏向光学要素である。いくつかの実施形態では、内部結合光学要素700、710、720は、個別の導波管670、680、690の本体内に配置されてもよい。いくつかの実施形態では、本明細書に議論されるように、内部結合光学要素700、710、720は、他の光の波長を透過させながら、光の1つ以上の波長を選択的に再指向させるように波長選択的である。その個別の導波管670、680、690の片側または角に図示されるが、内部結合光学要素700、710、720は、いくつかの実施形態では、その個別の導波管670、680、690の他の面積内に配置されてもよいことを理解されたい。
図示されるように、内部結合光学要素700、710、720は、相互から側方にオフセットされてもよい。いくつかの実施形態では、各内部結合光学要素は、それが光を受信し、その光が別の内部結合光学要素を通して通過しないように、オフセットされてもよい。例えば、各内部結合光学要素700、710、720は、図6に示されるように、光を異なる画像投入デバイス360、370、380、390、および400から受信するように構成されてもよく、光を内部結合光学要素700、710、720の他のものから実質的に受信しないように、他の内部結合光学要素700、710、720から分離されてもよい(例えば、側方に離間される)。
各導波管はまた、関連付けられた光分散要素を含み、例えば、光分散要素730は、導波管670の主要表面(例えば、上部主要表面)上に配置され、光分散要素740は、導波管680の主要表面(例えば、上部主要表面)上に配置され、光分散要素750は、導波管690の主要表面(例えば、上部主要表面)上に配置される。いくつかの他の実施形態では、光分散要素730、740、750は、それぞれ、関連付けられた導波管670、680、690の底部主要表面上に配置されてもよい。いくつかの他の実施形態では、光分散要素730、740、750は、それぞれ、関連付けられた導波管670、680、690の上部および底部両方の主要表面上に配置されてもよい、または光分散要素730、740、750は、それぞれ、異なる関連付けられた導波管670、680、690内の上部主要表面および底部主要表面の異なるもの上に配置されてもよい。
導波管670、680、690は、例えば、材料のガス、液体および/または固体層によって離間および分離されてもよい。例えば、図示されるように、層760aは、導波管670および680を分離してもよく、層760bは、導波管680および690を分離してもよい。いくつかの実施形態では、層760aおよび760bは、低屈折率材料(すなわち、導波管670、680、690の直近のものを形成する材料より低い屈折率を有する材料)から形成される。好ましくは、層760a、760bを形成する材料の屈折率は、導波管670、680、690を形成する材料の屈折率の0.05以上または0.10以下である。有利には、より低い屈折率の層760a、760bは、導波管670、680、690を通る光の全内部反射(TIR)(例えば、各導波管の上部主要表面および底部主要表面間のTIR)を促進する、クラッディング層として機能してもよい。いくつかの実施形態では、層760a、760bは、空気から形成される。図示されないが、導波管の図示されるセット660の上部および底部は、直近クラッディング層を含んでもよいことを理解されたい。
好ましくは、製造および他の考慮点を容易にするために、導波管670、680、690を形成する材料は、類似または同一であって、層760a、760bを形成する材料は、類似または同一である。いくつかの実施形態では、導波管670、680、690を形成する材料は、1つ以上の導波管間で異なってもよい、および/または、層760a、760bを形成する材料は、依然として、前述の種々の屈折率関係を保持しながら、異なってもよい。
図9Aを継続して参照すると、光線770、780、790が、導波管のセット660に入射する。光線770、780、790は、1つ以上の画像投入デバイス360、370、380、390、400(図6)によって導波管670、680、690の中に投入されてもよいことを理解されたい。
いくつかの実施形態では、光線770、780、790は、異なる色に対応し得る、異なる性質、例えば、異なる波長または異なる波長範囲を有する。内部結合光学要素700、710、720はそれぞれ、光が、TIRによって、導波管670、680、690のうちの個別の1つを通して伝搬するように、入射光を偏向させる。いくつかの実施形態では、内部結合光学要素700、710、720はそれぞれ、他の波長を下層導波管および関連付けられた内部結合光学要素に透過させながら、1つ以上の特定の光の波長を選択的に偏向させる。
例えば、内部結合光学要素700は、それぞれ、異なる第2および第3の波長または波長範囲を有する、光線780および790を透過させながら、第1の波長または波長範囲を有する光線770を偏向させるように構成されてもよい。透過された光線780は、第2の波長または波長範囲の光を偏向させるように構成される、内部結合光学要素710に衝突し、それによって偏向される。光線790は、第3の波長または波長範囲の光を選択的に偏向させるように構成される、内部結合光学要素720によって偏向される。
図9Aを継続して参照すると、偏向された光線770、780、790は、対応する導波管670、680、690を通して伝搬するように偏向される。すなわち、各導波管の内部結合光学要素700、710、720は、光をその対応する導波管670、680、690の中に偏向させ、光を対応する導波管の中に内部結合する。光線770、780、790は、光をTIRによって個別の導波管670、680、690を通して伝搬させる角度で偏向される。光線770、780、790は、導波管の対応する光分散要素730、740、750に衝突するまで、TIRによって個別の導波管670、680、690を通して伝搬する。
ここで図9Bを参照すると、図9Aの複数のスタックされた導波管の実施例の斜視図が、図示される。前述のように、内部結合された光線770、780、790は、それぞれ、内部結合光学要素700、710、720によって偏向され、次いで、それぞれ、導波管670、680、690内でTIRによって伝搬する。光線770、780、790は、次いで、それぞれ、光分散要素730、740、750に衝突する。光分散要素730、740、750は、それぞれ、外部結合光学要素800、810、820に向かって伝搬するように、光線770、780、790を偏向させる。
いくつかの実施形態では、光分散要素730、740、750は、直交瞳エクスパンダ(OPE)である。いくつかの実施形態では、OPEは、光を外部結合光学要素800、810、820に偏向または分散させ、いくつかの実施形態では、また、外部結合光学要素に伝搬するにつれて、本光のビームまたはスポットサイズを増加させ得る。いくつかの実施形態では、光分散要素730、740、750は、省略されてもよく、内部結合光学要素700、710、720は、光を外部結合光学要素800、810、820に直接偏向させるように構成されてもよい。例えば、図9Aを参照すると、光分散要素730、740、750は、それぞれ、外部結合光学要素800、810、820と置換されてもよい。いくつかの実施形態では、外部結合光学要素800、810、820は、光を視認者の眼210(図7)に指向させる、射出瞳(EP)または射出瞳エクスパンダ(EPE)である。OPEは、少なくとも1つの軸においてアイボックスの寸法を増加させるように構成されてもよく、EPEは、OPEの軸と交差する、例えば、直交する軸においてアイボックスを増加させてもよいことを理解されたい。例えば、各OPEは、光の残りの部分が導波管を辿って伝搬し続けることを可能にしながら、OPEに衝打する光の一部を同一導波管のEPEに再指向するように構成されてもよい。OPEへの衝突に応じて、再び、残りの光の別の部分は、EPEに再指向され、その部分の残りの部分は、導波管等を辿ってさらに伝搬し続ける。同様に、EPEへの衝打に応じて、衝突光の一部は、導波管からユーザに向かって指向され、その光の残りの部分は、EPに再び衝打するまで、導波管を通して伝搬し続け、その時点で、衝突する光の別の部分は、導波管から指向される等となる。その結果、内部結合された光の単一ビームは、その光の一部がOPEまたはEPEによって再指向される度に、「複製」され、それによって、図6に示されるように、クローン化された光のビーム野を形成し得る。いくつかの実施形態では、OPEおよび/またはEPEは、光のビームのサイズを修正するように構成されてもよい。
故に、図9Aおよび9Bを参照すると、いくつかの実施形態では、導波管のセット660は、各原色に対し、導波管670、680、690と、内部結合光学要素700、710、720と、光分散要素(例えば、OPE)730、740、750と、外部結合光学要素(例えば、EP)800、810、820とを含む。導波管670、680、690は、各1つの間に空隙/クラッディング層を伴ってスタックされてもよい。内部結合光学要素700、710、720は、(異なる波長の光を受信する異なる内部結合光学要素を用いて)入射光をその導波管の中に再指向または偏向させる。光は、次いで、個別の導波管670、680、690内にTIRをもたらすであろう角度で伝搬する。示される実施例では、光線770(例えば、青色光)は、前述の様式において、第1の内部結合光学要素700によって偏光され、次いで、導波管を辿ってバウンスし続け、光分散要素(例えば、OPE)730、次いで、外部結合光学要素(例えば、EP)800と相互作用する。光線780および790(例えば、それぞれ、緑色光および赤色光)は、導波管670を通して通過し、光線780は、内部結合光学要素710上に入射し、それによって偏向される。光線780は、次いで、TIRを介して、導波管680を辿ってバウンスし、その光分散要素(例えば、OPE)740、次いで、外部結合光学要素(例えば、EP)810に進むであろう。最後に、光線790(例えば、赤色光)は、導波管690を通して通過し、導波管690の光内部結合光学要素720に衝突する。光内部結合光学要素720は、光線が、TIRによって光分散要素(例えば、OPE)750に伝搬し、次いで、TIRによって外部結合光学要素(例えば、EP)820に伝搬するように、光線790を偏向させる。外部結合光学要素820は、次いで、最後に、光線790を視認者に外部結合し、視認者はまた、他の導波管670、680からの外部結合した光も受信する。
図9Cは、図9Aおよび9Bの複数のスタックされた導波管の実施例の上下平面図を図示する。図示されるように、導波管670、680、690は、各導波管の関連付けられた光分散要素730、740、750および関連付けられた外部結合光学要素800、810、820とともに、垂直に整合されてもよい。しかしながら、本明細書に議論されるように、内部結合光学要素700、710、720は、垂直に整合されない。むしろ、内部結合光学要素は、好ましくは、非重複する(例えば、上下図に見られるように、側方に離間される)。本明細書でさらに議論されるように、本非重複空間配列は、1対1ベースで異なるリソースから異なる導波管の中への光の投入を促進し、それによって、具体的光源が具体的導波管に一意に結合されることを可能にする。いくつかの実施形態では、非重複の空間的に分離される内部結合光学要素を含む配列は、偏移瞳システムと称され得、これらの配列内の内部結合光学要素は、サブ瞳に対応し得る。
ここで、図10Aおよび10Bを参照する。上記に説明されるもの等の拡張現実ディスプレイのいくつかの実施形態は、拡張現実システム内に含まれる可変焦点レンズ要素の焦点距離を調整することによって、光の波面を調節するように構成されてもよい(拡張現実システムから投影される画像情報のための光および周囲実世界内のオブジェクトからの入射光を含む)。上記に議論されるように、拡張現実システムは、光をユーザまたは視認者(例えば、図2の視認者またはユーザ90)の眼に向かって投影する、複数のスタックされた導波管(例えば、図9Aおよび9Bの複数またはセットのスタックされた導波管660に対応する、または図6のスタックされた導波管アセンブリ260に対応する)を含み得る、ディスプレイデバイスを備えてもよい。いくつかの他の実施形態では、ディスプレイデバイスは、単一導波管のみを含んでもよい。その結果、複数の導波管が、本明細書の開示の種々の部分で参照されるが、複数の導波管は、単一導波管によって置換されてもよいことを理解されたい。
本明細書に議論されるように、導波管から投影された光は、仮想拡張現実画像情報を視認者に提供するために使用されてもよい。光は、ユーザが、視認者からの1つ以上の異なる深度または距離から生じるように光を知覚するように投影されてもよい。ディスプレイデバイスは、ユーザにディスプレイデバイスを通して周囲環境内の実世界オブジェクトが見えるように、光学的に透過性であってもよい。いくつかの実施形態では、導波管は、固定屈折力を有するように構成されてもよい。投影された光が異なる深度から生じるような外観を提供するために、導波管は、異なる深度平面に対応する異なる発散量を伴う光の発散ビームを出力するように構成されてもよい。
導波管の固定屈折力は、視認者の眼が、好適な遠近調節範囲を有し、導波管によって出力された光を集束させると想定していることを理解されたい。しかしながら、前述のように、一部の視認者は、明確に見えるように補正レンズを要求し得、その結果、導波管から出力された画像情報は、そのような視認者に明確に見えない場合がある。いくつかの実施形態では、第1の可変焦点レンズ要素が、導波管と視認者の眼との間に提供され、導波管によって出力された光の波面に対して適切な調節を提供し、本光が視認者の眼によって正しく集束されることを可能にしてもよい。しかしながら、本第1のレンズ要素もまた、周囲環境から視認者の眼に伝搬する光の経路内にある。その結果、第1のレンズ要素は、周囲環境からの光の波面を修正し、それによって、収差を世界の視認者のビューに生じさせ得る。そのような収差を補正するために、第2の可変焦点レンズ要素が、第1の可変焦点レンズ要素とは複数のスタックされた導波管の反対側に配置されてもよい。すなわち、第2の可変焦点レンズ要素は、複数のスタックされた導波管と周囲実世界との間にあって、周囲環境内の実世界オブジェクトからの光の波面を調節してもよい。第2の可変焦点レンズ要素は、第1の可変焦点レンズ要素によって生じる収差を補償するように構成されてもよい。いくつかの実施形態では、第2の可変焦点レンズもまた、導波管によって生じる収差を補償するように構成されてもよい。
いくつかの実施形態では、第2の可変焦点レンズ要素の焦点は、第1の可変焦点レンズ要素の焦点の反転または反対であってもよい。例えば、第1の可変焦点レンズ要素が、正の屈折力を有する場合、第2の可変焦点レンズ要素は、負の屈折力を有してもよく、これは、類似した大きさであってもよい。いくつかの他の実施形態では、第1の可変焦点レンズ要素の屈折力および介在導波管の屈折力の両方を補償するために、第2のレンズ要素の屈折力は、第1のレンズ要素および導波管の集約屈折力と反対かつ類似した大きさであってもよい。
いくつかの他の実施形態では、導波管は、屈折力を有していなくてもよく(例えば、導波管は、コリメートされた光を出力するように構成されてもよく)、第1の可変焦点レンズ要素は、導波管から放出される光の波面を修正し、画像情報が特定の深度平面上にあるように視認者によって解釈されるために適切な発散量を提供するように構成されてもよい。適切な発散量は、画像情報を特定の深度平面上に設置するための屈折力が、その深度平面のための視認者の光学処方箋を考慮するために特定の差異によって調節され得るので、異なる視認者のために変動し得ることを理解されたい。そのような実施形態では、第1および第2の可変焦点レンズ要素間の導波管スタックは、単に、単一導波管によって形成されてもよい。
第1および第2の可変焦点レンズ要素は、視認者の眼のうちの一方のために提供されてもよく、第1および第2の可変焦点レンズ要素に類似する、第3および第4の可変焦点レンズ要素が、それぞれ、視認者の他方の眼のために提供されてもよいことを理解されたい。
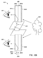
図10Aおよび10Bは、可変焦点レンズ要素と、導波管スタックとを有する、ディスプレイシステム(例えば、拡張現実ディスプレイシステム)の実施例の略図を示す。ディスプレイシステム2010は、ディスプレイシステム250(図6)に対応してもよいことを理解されたい。図10Aの例示的ディスプレイシステム2010は、単一導波管を伴う導波管スタックを示す一方、図10Bの実施例は、複数の導波管を伴う導波管スタックを示す。図10Aおよび10Bの両方では、第1の可変焦点レンズ要素2007aおよび第2の可変焦点レンズ要素2007bは、導波管スタック2005(図10A)の両側に配置され、第3の可変焦点レンズ要素2008aおよび第4の可変焦点レンズ要素2008bは、導波管スタック2006(図10B)の両側に配置される。
図10Aおよび10Bの種々の図示される導波管2005a、2005b、2006a、2006bは、図6の導波管270、280、290、300、310および/または図9Aおよび9Bの導波管670、680、および690の個々のものに類似する特性および/または特徴を有してもよい。導波管スタック2005、2006は、図9Aおよび9Bの複数またはセットのスタックされた導波管660または図6のスタックされた導波管アセンブリ260に類似する特性および/または特徴を有してもよい。いくつかの実施形態では、導波管2005a、2005b、2006a、2006bは、屈折力、例えば、固定屈折力を伴う導波管を提供する、回折光学要素等の光学要素を含んでもよい。例えば、これらの導波管のうちの1つ以上のものは、0ジオプタ〜約5.0ジオプタ、約0.5ジオプタ〜約4.5ジオプタ、約1.0ジオプタ〜約4.0ジオプタ、約1.5ジオプタ〜約3.5ジオプタ、約2.0ジオプタ〜約3.0ジオプタの範囲内、またはこれらの範囲またはサブ範囲内の任意の値の屈折力を有してもよい。別の実施例として、特定の実施形態では、導波管はそれぞれ、1.5ジオプタの屈折力を有してもよい。
前述のように、光学源2003または2004から画像情報(例えば、仮想コンテンツ)を提供する光は、光が全内部反射によってそれらの導波管のそれぞれを通して伝搬するように、それぞれ、導波管2005aまたは2006aの中に投入されてもよい。伝搬する光は、導波管2005a(または導波管2005b)から外部結合要素(例えば、図9Aおよび9Bの外部結合要素800、810、820に対応する)によってユーザの眼2001に向かって投影されてもよい。いくつかの実施形態では、光学源2003、2004は、本明細書に開示されるように、可動ファイバを利用して、2D画像パターンを作成する、ファイバ走査デバイス(FSD)であってもよい。FSDは、例えば、ラスタ走査、スパイラル走査、リサジュー等の種々のパターンにおいて光を投影させることによって、2D画像パターンを作成してもよい。いくつかの他の実施形態では、光学源2003a(および/または2003b)は、例えば、同様に本明細書に開示されるように、全画像が導波管上に投影される、画像投影システムであってもよい。光学源2003a(および/または2003b)からの光は、導波管の縁を通して、または導波管の主要表面を通して、導波管スタック2005の中に投入されてもよいことを理解されたい。導波管スタックは、複数の導波管を含む場合、光学源2003および/または2004は、光をこれらの導波管の複数のものの中に投入するように構成されてもよい、または付加的な光学源、例えば、各導波管に対して1つの光学源が、提供されてもよい。
図10Aおよび10Bに図示されるように、第1の可変焦点レンズ要素2007aが、導波管スタック2005とユーザの眼2001との間に配置されてもよく、第2の可変焦点レンズ要素2007bが、導波管スタック2005とユーザを囲繞する実世界との間に配置されてもよい。眼2001は、図6の視認者の眼210に対応してもよいことを理解されたい。同様に、第3の可変焦点レンズ要素2008aが、導波管スタック2006とユーザの眼2002との間に配置されてもよく、第2の可変焦点レンズ要素2008bが、導波管スタック2006とユーザを囲繞する実世界との間に配置されてもよい。
いくつかの実施形態では、第1および第2の可変焦点レンズ要素2007aおよび2007bおよび第3および第4の可変焦点レンズ要素2008aおよび2008bは、適合可能光学要素であってもよい。適合可能光学要素は、例えば、電気信号をそこに印加し、その上に入射する波面の形状を変化させることによって、動的に改変されてもよい。いくつかの実施形態では、適合可能光学要素は、動的レンズ(例えば、液晶レンズ、電気活性レンズ、可動要素を伴う従来の屈折レンズ、機械的変形ベースのレンズ、エレクトロウェッティングレンズ、エラストマレンズ、または異なる屈折率を伴う複数の流体)等の透過光学要素を備えてもよい。適合可能光学形状、屈折率、または他の特性を改変することによって、その上に入射する波面が、本明細書に説明されるように、変化され、例えば、視認者の眼による光の焦点を改変し得る。
いくつかの実施形態では、可変焦点レンズ要素2007a、2007b、2008a、2008bは、2つの基板間に挟入される液晶の層を備えてもよい。基板は、例えば、ガラス、プラスチック、アクリル等の光学的に透過性の材料を備えてもよい。いくつかの実施形態では、基板は、平坦であってもよい。いくつかの実施形態では、基板は、基板の一部が固定屈折力を有し得るように、湾曲領域を有してもよい。
いくつかの実施形態では、可変焦点レンズ要素2007a、2007b、2008a、2008bの屈折力は、例えば、液晶層および/または基板と統合される1つ以上の薄膜トランジスタ(TFT)および/または電極を介して液晶層に印加される電気信号(例えば、電流および/または電圧)を調節することによって、変動されてもよい。液晶層内の液晶種の配向は、層の屈折率を決定することを理解されたい。印加された電気信号は、液晶種の配向を設定し、それによって、印加される電気信号を改変することによって、所望に応じて、液晶層の屈折率が変動されることを可能にする。いくつかの実施形態では、可変焦点レンズ要素2007a、2007b、2008a、2008bの屈折力は、約±5.0ジオプタ間で変動されてもよい(例えば、約−4.0ジオプタ〜+4.0ジオプタ、約−3.5ジオプタ〜約+3.5ジオプタ、約−3.0ジオプタ〜約+3.0ジオプタ、約−2.0ジオプタ〜約+2.0ジオプタ、約−1.5ジオプタ〜約+1.5ジオプタ、これらの範囲またはサブ範囲のいずれか内の値を含む)。
有利には、可変焦点レンズ要素2007a、2007b、2008a、2008bは、その個別の関連付けられた導波管スタック2005、2006の導波管の開口に実質的に合致される広開口を有してもよい。いくつかの実施形態では、可変焦点レンズ要素2007a、2007b、2008a、2008bの開口は、導波管スタック2005、2006の導波管の表面積と実質的に等しくてもよい(例えば、約±20%、約±15%、または約±10%以内)。その結果、可変焦点レンズ要素2007a、2007b、2008a、2008bおよび導波管スタック2005、2206が、光を関連付けられた眼2001、2002に透過させる面積は、実質的に等しくあり得る。
図10Aおよび10Bを継続して参照すると、第1および第3の可変焦点レンズ要素2007a、2008aはそれぞれ、その屈折力を変動させ、それぞれ、導波管スタック2005、2006の導波管から投影された光の波面を調節し、その光を、それぞれ、眼2001、2002の網膜上に適切に集束させ得る。本明細書に記載されるように、第1および第3の可変焦点レンズ要素2007a、2008aは、収差を周囲環境内のオブジェクト2009からの入射光の波面に生じさせ、それによって、第1の可変焦点レンズ要素2007aを通して視認される実世界オブジェクト2009の光学画質を減少させ得る。第2および第4の可変焦点レンズ要素2007b、2008bは、有利には、オブジェクト2009を視認するとき、それぞれ、第1および第3の可変焦点レンズ要素2007a、2008aおよび任意の導波管によって導入される収差を補償し得る。いくつかの実施形態では、第2および第4の可変焦点レンズ要素2007b、2008bは、それぞれ、第1および第3の可変焦点レンズ要素2007a、2008aおよび関連付けられた導波管スタック2005、2006によって提供される屈折力と反対の屈折力を提供するように構成されてもよい。いくつかの実施形態では、反対の屈折力の大きさは、各眼2001、2002に対するディスプレイシステム2010の正味屈折力が、眼が輻輳・開散運動している深度平面における眼のための光学処方箋と等しくなるように構成されるようなものである。第1および第2の可変焦点レンズ要素2007aおよび2007bによって提供される屈折力は、電子ハードウェア制御システム2011によって変動および制御されてもよい。いくつかの実施形態では、電子ハードウェア制御システム2011は、図2のローカル処理およびデータモジュール140および/または遠隔処理モジュール150に対応してもよい。
いくつかの実施形態では、拡張現実ディスプレイシステム2010は、ユーザの眼の輻輳・開散運動を決定するように構成されてもよい。第1および第2の可変焦点レンズ要素2007a、2007bの屈折力は、眼2001、2002の輻輳・開散運動点に基づいて、設定されてもよい。第3および第4の可変焦点レンズ要素2008a、2008bの屈折力もまた、本輻輳・開散運動点に基づいて、設定されてもよい。輻輳・開散運動点は、眼2001、2002の視線が収束する空間内の点であって、それらの眼の生理学的遠近調節標的に対応し得ることを理解されたい。いくつかの実施形態では、点が眼2001、2002から離れる距離が、例えば、眼2001、2002と各眼によって成される角度との間の分離の既知の量に基づいて、計算されてもよい。いったんその距離が計算されると、その距離に関する視認者のための適切な補正が、決定されてもよい。例えば、ディスプレイシステム2010は、1つ以上の光学処方箋を用いてプログラムされてもよい。いくつかの実施形態では、光学処方箋は、ローカル処理およびデータモジュール140および/または遠隔データリポジトリ160内に記憶されてもよい。眼2001、2002と輻輳・開散運動点との間の距離は、その距離に関する適切な補正と合致されてもよく、可変焦点レンズ要素2007a、2007b、2008a、2008bは、補正を提供するように調節されてもよい。いくつかの実施形態では、眼2001、2002は、異なる事前に規定された補正を有し得、その結果、可変焦点レンズ要素の対2007a、2007b、および2008a、2008bは、異なる屈折力を提供してもよい。
有利には、可変焦点レンズ要素2007a、2007b、2008a、2008bは、その屈折力が、例えば、異なる電圧の印加によって、所望に応じて調節され得るため、多数の可能性として考えられる補正を提供する。いくつかの実施形態では、眼毎の補正の総数は、1、2、3、または4つを上回ってもよい。いくつかの実施形態では、眼毎の補正の総数は、ディスプレイシステム2010が画像情報を表示するように構成される、深度平面の数と等しくてもよい。これらの補正は、光学処方箋に対応してもよく、これは、眼2001、2002からの種々の距離におけるオブジェクトに関して決定されてもよいことを理解されたい。例えば、4つの処方箋が、眼2001、2002からの4つの徐々に離れた距離(例えば、近、中近、中遠、および遠距離)における屈折誤差の補正を決定することによって、取得されてもよい。いくつかの実施形態では、導波管スタック2005によって出力された画像コンテンツを視認するための可能性として考えられる補正の数は、周囲環境内のオブジェクト2009を視認するときの可能性として考えられる補正の数と異なってもよい。
図10Aおよび10Bを継続して参照すると、いくつかの実施形態では、可変焦点レンズ要素2007a、2007b、2008a、2008bの焦点または屈折力はそれぞれ、ユーザの眼2001、2004の決定された輻輳・開散運動に基づいて、設定されてもよい。例えば、第1および第2の可変焦点レンズ要素の屈折力2007aおよび2007bは、他のレンズ要素の屈折力を具体的に参照せずに、ユーザの眼2001の輻輳・開散運動に基づいて、変動されてもよい。
いくつかの実施形態では、第1および第2の可変焦点レンズ要素2007a、2007bのうちの一方または第3および第4の可変焦点要素2008a、2008bのうちの一方は、マスタとして指定されてもよく、第1および第2の可変焦点レンズ要素2007a、2007bまたは第3および第4の可変焦点要素2008a、2008bのうちの他方は、スレーブとして指定されてもよい。スレーブとして指定された可変焦点レンズ要素は、マスタ可変焦点レンズ要素に従うように構成されてもよい。いくつかの他の実施形態では、第2および第4の可変焦点レンズ要素2007b、2008bは、第1および第3の可変焦点レンズ要素2007a、2008aにスレーブ化されてもよく、第1および第3の可変焦点レンズ要素2007a、2008aの焦点は、ユーザの眼2001、2002の決定された輻輳・開散運動点に基づいて、設定されてもよい。例えば、導波管2005a(および/または導波管2005b)が、約1.5ジオプタの屈折力を有し、ユーザが、2.0ジオプタにおいて輻輳・開散運動している場合、第1の可変焦点レンズ要素2007aは、+0.5ジオプタの屈折力を有してもよく、第2の可変焦点レンズ要素2007bは、屈折力−0.5ジオプタの屈折力を有してもよい。
可変焦点レンズ要素2007a、2007b、2008a、2008bの屈折力は、リアルタイムで変動されてもよく、好ましくは、ヒトの眼が遠近調節状態を変化させるレートに等しい以上のレートで変化されてもよい。好ましくは、第1および第2の可変焦点レンズ要素は、ユーザが所与の輻輳・開散運動点に関して適切な補正を受信する際に遅延を被らないように、ヒトの眼が遠近調節状態を変化させる前に、その屈折力を変化させることができる。いくつかの実施形態では、第1および第2の可変焦点レンズ要素は、約300ms未満、約275ms未満、または約250ms未満において屈折力を変化させることができる。電子ハードウェア制御システム2011は、可変焦点レンズ要素2007a、2007b、2008a、2008bの屈折力が同時に変動され得るように、可変焦点レンズ要素2007a、2007b、2008a、2008bを駆動してもよい。
本明細書に説明される拡張現実ディスプレイシステムの種々の実施形態は、1つ以上の眼追跡カメラまたはイメージングシステムを備える眼追跡システムを含み、ユーザの1つ以上の眼を追跡し、ユーザの眼の輻輳・開散運動を決定/測定してもよい。眼追跡システム22を含む、拡張現実システム2010の例示的実施形態は、図11に図示される。眼追跡システム22は、指向される光源26(例えば、赤外線光源)と対合されたカメラ24(例えば、赤外線カメラ)を含み、ユーザの眼2001、2002を監視および追跡するように構成されてもよい。これらのカメラ24および光源26は、ローカル処理モジュール140に動作可能に結合されてもよい。そのようなカメラ24は、個別の眼の配向、瞳孔サイズ、および対応する視線方向のうちの1つ以上のものを監視してもよい。本明細書に説明されるように、カメラ24は、眼2001、2002の輻輳・開散運動点を決定するように構成されてもよい。
図11を継続して参照すると、カメラ24および光源26は、フレーム80上に搭載されてもよく、これはまた、導波管スタック2005、2006を保持してもよい。いくつかの実施形態では、カメラ24は、通信リンク170、180を通して、ローカル処理およびデータモジュール140と通信してもよい。
いくつかの実施形態では、眼2001、2002の輻輳・開散運動を決定することに加え、カメラ24は、ユーザ入力を提供する眼を追跡するために利用されてもよい。例えば、眼追跡システム22は、仮想メニュー上のアイテムを選択する、および/または他の入力をディスプレイシステム2010に提供するために利用されてもよい。
ここで図12Aを参照すると、フローチャート2200が、提供され、ユーザの決定された輻輳・開散運動に基づいて、可変焦点レンズ要素の屈折力を変動させる例示的方法を描写する。ブロック2205では、ユーザの眼の輻輳・開散運動点が、決定または測定されてもよい。そのような決定は、例えば、本明細書に説明される眼追跡システムを使用して行われてもよい。本決定に基づいて、ユーザの眼が指向される距離および/または深度平面が、推定されてもよい。可変レンズ要素の対の屈折力が、決定された輻輳・開散運動に従って変動され、ユーザによって視認される仮想オブジェクトおよび/または実世界オブジェクトの画質を改良してもよい。ブロック2215では、可変焦点レンズ要素の屈折力(例えば、可変焦点レンズ要素2007a、2007b、2008a、2008bのうちの1つ)が、変動され、導波管スタック2005、2006(図10Aおよび10B)の導波管等の導波管から投影された光の波面を調節する。ブロック2220では、別の可変焦点レンズ要素の屈折力(例えば、可変焦点レンズ要素2007a、2007b、2008a、2008bのうちの異なるもの)が、変動され、周囲環境内のオブジェクトからの入射周囲光の波面を調節する。ブロック2215、2220は、連続して実施されてもよい(例えば、2215が2220の前に実施される、またはその逆)、またはこれらのブロック2215、2220は、並行して実施されてもよいことを理解されたい。いくつかの実施形態では、ブロック2205、2215、2220は、ディスプレイシステム2010によって持続的に実施され、自動的かつ持続的に、可変焦点レンズ要素の屈折力を調節し、ユーザのための快適な視認体験を提供してもよい。
本明細書に説明される、および/または図に描写されるプロセス、方法、およびアルゴリズムはそれぞれ、具体的かつ特定のコンピュータ命令を実行するように構成される、1つ以上の物理的コンピューティングシステム、ハードウェアコンピュータプロセッサ、特定用途向け回路、および/または電子ハードウェアによって実行される、コードモジュールにおいて具現化され、それによって完全または部分的に自動化され得ることを理解されたい。例えば、コンピューティングシステムは、具体的コンピュータ命令とともにプログラムされた汎用コンピュータ(例えば、サーバ)または専用コンピュータ、専用回路等を含むことができる。コードモジュールは、実行可能プログラムにコンパイルおよびリンクされる、動的リンクライブラリ内にインストールされ得る、または解釈されるプログラミング言語において書き込まれ得る。いくつかの実装では、特定の動作および方法が、所与の機能に特有の回路によって実施され得る。
さらに、本開示の機能性のある実装は、十分に数学的、コンピュータ的、または技術的に複雑であるため、(適切な特殊化された実行可能命令を利用する)特定用途向けハードウェアまたは1つ以上の物理的コンピューティングデバイスは、例えば、関与する計算の量または複雑性に起因して、または結果を実質的にリアルタイムで提供するために、機能性を実施する必要があり得る。例えば、ビデオは、多くのフレームを含み、各フレームは、数百万のピクセルを有し得、具体的にプログラムされたコンピュータハードウェアは、商業的に妥当な時間量において所望の画像処理タスクまたは用途を提供するようにビデオデータを処理する必要がある。
コードモジュールまたは任意のタイプのデータは、ハードドライブ、ソリッドステートメモリ、ランダムアクセスメモリ(RAM)、読取専用メモリ(ROM)、光学ディスク、揮発性または不揮発性記憶装置、同一物の組み合わせ、および/または同等物を含む、物理的コンピュータ記憶装置等の任意のタイプの非一過性コンピュータ可読媒体上に記憶され得る。いくつかの実施形態では、非一過性コンピュータ可読媒体は、ローカル処理およびデータモジュール(70)、遠隔処理モジュール(72)、および遠隔データリポジトリ(74)のうちの1つ以上のものの一部であってもよい。本方法およびモジュール(またはデータ)はまた、無線ベースおよび有線/ケーブルベースの媒体を含む、種々のコンピュータ可読伝送媒体上で生成されたデータ信号として(例えば、搬送波または他のアナログまたはデジタル伝搬信号の一部として)透過され得、種々の形態(例えば、単一または多重化アナログ信号の一部として、または複数の離散デジタルパケットまたはフレームとして)をとり得る。開示されるプロセスまたはプロセスステップの結果は、任意のタイプの非一過性有形コンピュータ記憶装置内に持続的または別様に記憶され得る、またはコンピュータ可読伝送媒体を介して通信され得る。
本明細書に説明される、および/または添付される図に描写されるフロー図における任意のプロセス、ブロック、状態、ステップ、または機能性は、プロセスにおいて具体的機能(例えば、論理または算術)またはステップを実装するための1つ以上の実行可能命令を含む、コードモジュール、セグメント、またはコードの一部を潜在的に表すものとして理解されたい。種々のプロセス、ブロック、状態、ステップ、または機能性は、組み合わせられる、再配列される、追加される、削除される、修正される、または別様に本明細書に提供される例証的実施例から変更されてもよい。いくつかの実施形態では、付加的または異なるコンピューティングシステムまたはコードモジュールが、本明細書に説明される機能性のいくつかまたは全てを実施し得る。本明細書に説明される方法およびプロセスはまた、任意の特定のシーケンスに限定されず、それに関連するブロック、ステップ、または状態は、適切な他のシーケンスで、例えば、連続して、並行して、またはある他の様式で実施されることができる。タスクまたはイベントが、開示される例示的実施形態に追加される、またはそれから除去され得る。さらに、本明細書に説明される実装における種々のシステムコンポーネントの分離は、例証を目的とし、全ての実施形態においてそのような分離を要求するものとして理解されるべきではない。説明されるプログラムコンポーネント、方法、およびシステムは、概して、単一コンピュータ製品においてともに統合される、または複数のコンピュータ製品にパッケージ化され得ることを理解されたい。
前述の明細書では、本発明は、その具体的実施形態を参照して説明された。しかしながら、種々の修正および変更が、本発明のより広義の精神および範囲から逸脱することなくそこに行われ得ることが明白となるであろう。明細書および図面は、故に、限定的意味ではなく、例証と見なされるべきである。
実際、本開示のシステムおよび方法は、それぞれ、いくつかの革新的側面を有し、そのうちのいかなるものも、本明細書に開示される望ましい属性に単独で関与しない、またはそのために要求されないことを理解されたい。上記に説明される種々の特徴およびプロセスは、相互に独立して使用され得る、または種々の方法で組み合わせられ得る。全ての可能な組み合わせおよび副次的組み合わせが、本開示の範囲内に該当することが意図される。
別個の実施形態の文脈において本明細書に説明される特定の特徴はまた、単一実施形態における組み合わせにおいて実装されてもよい。逆に、単一実施形態の文脈において説明される種々の特徴はまた、複数の実施形態において別個に、または任意の好適な副次的組み合わせにおいて実装されてもよい。さらに、特徴が特定の組み合わせにおいて作用するものとして上記に説明され、さらに、そのようなものとしてまずは請求され得るが、請求される組み合わせからの1つ以上の特徴は、いくつかの場合では、組み合わせから削除されてもよく、請求される組み合わせは、副次的組み合わせまたは副次的組み合わせの変形例を対象とし得る。いかなる単一の特徴または特徴のグループも、あらゆる実施形態に必要または必須ではない。
とりわけ、「〜できる(can)」、「〜し得る(could)」、「〜し得る(might)」、「〜し得る(may)」、「例えば(e.g.)」、および同等物等、本明細書で使用される条件文は、別様に具体的に記載されない限り、または使用されるような文脈内で別様に理解されない限り、概して、特定の実施形態が特定の特徴、要素、および/またはステップを含む一方、他の実施形態がそれらを含まないことを伝えることが意図されることを理解されたい。したがって、そのような条件文は、概して、特徴、要素、および/またはステップが、1つ以上の実施形態に対していかようにも要求されること、または1つ以上の実施形態が、著者の入力または促しの有無を問わず、これらの特徴、要素、および/またはステップが任意の特定の実施形態において含まれる、または実施されるべきかどうかを決定するための論理を必然的に含むことを示唆することを意図されない。用語「〜を備える」、「〜を含む」、「〜を有する」、および同等物は、同義語であり、非限定的方式で包括的に使用され、付加的要素、特徴、行為、動作等を除外しない。また、用語「または」は、その包括的意味において使用され(およびその排他的意味において使用されず)、したがって、例えば、要素のリストを接続するために使用されると、用語「または」は、リスト内の要素のうちの1つ、いくつか、または全てを意味する。加えて、本願および添付される請求項で使用されるような冠詞「a」、「an」、および「the」は、別様に規定されない限り、「1つ以上の」または「少なくとも1つ」を意味するように解釈されるべきである。同様に、動作は、特定の順序で図面に描写され得るが、これは、望ましい結果を達成するために、そのような動作が示される特定の順序または連続的順序で実施されること、または、全ての図示される動作が実施されることは必要ではないと認識されるべきである。さらに、図面は、フローチャートの形態で1つ以上の例示的プロセスを概略的に描写し得る。しかしながら、描写されない他の動作も、概略的に図示される例示的方法およびプロセス内に組み込まれることができる。例えば、1つ以上の付加的動作が、図示される動作のいずれかの前に、その後に、それと同時に、またはその間に実施されることができる。加えて、動作は、他の実施形態において再配列される、または再順序付けられ得る。ある状況では、マルチタスクおよび並列処理が、有利であり得る。さらに、上記に説明される実施形態における種々のシステムコンポーネントの分離は、全ての実施形態におけるそのような分離を要求するものとして理解されるべきではなく、説明されるプログラムコンポーネントおよびシステムは、概して、単一のソフトウェア製品においてともに統合される、または複数のソフトウェア製品にパッケージ化され得ることを理解されたい。加えて、他の実装も、以下の請求項の範囲内である。いくつかの場合では、請求項に列挙されるアクションは、異なる順序で実施され、依然として、望ましい結果を達成することができる。
故に、請求項は、本明細書に示される実装に限定されることを意図されず、本明細書に開示される本開示、原理、および新規の特徴と一貫する最も広い範囲を与えられるべきである。

Claims (23)

  1. ディスプレイシステムであって、前記ディスプレイシステムは、
    光を視認者に投影することにより、仮想オブジェクトを1つ以上の深度平面上に表示するように構成されている頭部搭載型ディスプレイであって、前記ディスプレイは、
    前記光を前記視認者に投影するように構成されている1つ以上の導波管であって、前記1つ以上の導波管は、周囲環境内のオブジェクトからの光を前記視認者に透過させるようにさらに構成されている、1つ以上の導波管と、
    前記1つ以上の導波管と前記視認者の第1の眼との間の第1の可変焦点レンズ要素と、
    前記1つ以上の導波管と周囲環境との間の第2の可変焦点レンズ要素と
    を備える、ディスプレイと、
    前記視認者の眼の輻輳・開散運動を決定するように構成されている眼追跡システムと
    を備え、
    前記ディスプレイシステムは、
    前記視認者の眼の前記輻輳・開散運動の深度を決定することと、
    度平面上に前記仮想オブジェクトを形成するために前記投影された光の波面発散を修正することを前記第1の可変焦点レンズ要素に行わせることと
    を行うように構成されており、
    前記波面発散の前記修正の量は、前記視認者の眼の前記輻輳・開散運動の前記決定された深度に対して前記視認者の第1の眼の屈折誤差を補正するための量基づく、ディスプレイシステム。
  2. 前記ディスプレイシステムは深度平面上に前記周囲環境内の前記オブジェクトからの入射光の波面発散を修正することを前記第2の可変焦点レンズ要素に行わせるように構成されており、前記波面発散の前記修正の量は、前記視認者の眼の前記輻輳・開散運動の前記決定された深度と、前記視認者の第1の眼の前記屈折誤差を補正するための量とに基づく、請求項1に記載のディスプレイシステム。
  3. 前記ディスプレイシステムは、前記第1の可変焦点レンズ要素の前記補正された屈折誤差の量に応答して、前記第2の可変焦点レンズ要素の補正された屈折誤差の量を調節するように構成されている、請求項1に記載のディスプレイシステム。
  4. 前記1つ以上の導波管は、発散光を前記視認者に投影することにより、前記仮想オブジェクトを表示するように構成されている、請求項1に記載のディスプレイシステム。
  5. 前記1つ以上の導波管の各々は、固定屈折力を有する、請求項1に記載のディスプレイシステム。
  6. 前記ディスプレイシステムは、前記1つ以上の導波管と前記視認者の第2の眼との間の第3の可変焦点要素をさらに備える、請求項1に記載のディスプレイシステム。
  7. 前記ディスプレイシステムは、前記1つ以上の導波管と周囲環境との間の第4の可変焦点要素をさらに備える、請求項6に記載のディスプレイシステム。
  8. 前記ディスプレイシステムは深度平面上に前記仮想オブジェクトを形成するために前記投影された光の波面発散を修正することを前記第3の可変焦点レンズ要素に行わせるように構成されており、前記波面発散の前記修正の量は、前記視認者の眼の前記輻輳・開散運動の前記決定された深度と、前記視認者の第2の眼の屈折誤差を補正するための量とに基づく、請求項7に記載のディスプレイシステム。
  9. 前記ディスプレイシステムは深度平面上に前記周囲環境内の前記オブジェクトからの入射光の波面発散を修正することを前記第4の可変焦点レンズ要素に行わせるように構成されており、前記波面発散の前記修正の量は、前記視認者の眼の前記輻輳・開散運動の前記決定された深度と、前記視認者の第2の眼の前記屈折誤差を補正するための量とに基づく、請求項8に記載のディスプレイシステム。
  10. 眼追跡システムは、1つ以上のカメラを備える、請求項1に記載のディスプレイシステム。
  11. 前記第1の可変焦点レンズ要素および/または前記第2の可変焦点レンズ要素の補正された屈折誤差の量は、2つ以上の距離における前記視認者の第1の眼の視覚を補正するために、光学処方箋に従って調節される、請求項1に記載のディスプレイシステム。
  12. 前記ディスプレイシステムは、前記第1の可変焦点レンズ要素および前記第2の可変焦点レンズ要素の各々に対し、3つ以上の事前に設定された光学処方箋屈折誤差を有する、請求項1に記載のディスプレイシステム。
  13. 利用可能な光学処方箋屈折誤差の数は、少なくとも前記ディスプレイのための深度平面の総数と等しい、請求項1に記載のディスプレイシステム。
  14. 前記第1の可変焦点レンズ要素および/または前記第2の可変焦点レンズ要素は、2つの基板間に挟入された液晶の層を備える、請求項1に記載のディスプレイシステム。
  15. 前記第1の可変焦点レンズ要素および/または前記第2の可変焦点レンズ要素は、電圧の印加に応じて前記液晶層の屈折率を改変するための電極を備える、請求項14に記載のディスプレイシステム。
  16. 前記基板は、ガラスを含む、請求項14に記載のディスプレイシステム。
  17. 前記ディスプレイシステムは、電子ハードウェア制御システムをさらに備え、前記電子ハードウェア制御システムは、電流または電圧の印加によって前記第1の可変焦点レンズ要素および/または前記第2の可変焦点レンズ要素の屈折率を変動させるように構成されてい請求項15に記載のディスプレイシステム。
  18. 前記眼追跡システムは、前記電子ハードウェア制御システムへのフィードバックループを形成することにより、前記視認者の眼の決定された輻輳・開散運動に従って、前記第1の可変焦点レンズ要素および/または前記第2の可変焦点レンズ要素の屈折率を変動させる、請求項17に記載のディスプレイシステム。
  19. 画像情報を頭部搭載型ディスプレイ上に表示するための方法であって、前記方法は、
    視認者の頭部上に搭載されているディスプレイを提供することであって、前記ディスプレイは、仮想オブジェクトを1つ以上の深度平面上に表示するように構成されており、前記ディスプレイは光を前記視認者に投影することにより、前記仮想オブジェクトを表示するように構成されている1つ以上の導波管備え前記1つ以上の導波管は周囲環境内のオブジェクトからの光を前記視認者に透過させるようにさらに構成されている、ことと、
    前記視認者の眼の輻輳・開散運動点を決定することと、
    前記視認者の前記視認者の第1の眼の屈折誤差を補正することであって、前記補正することは、
    前記1つ以上の導波管と前記視認者の眼との間に配置されている第1の可変焦点レンズ要素の屈折力を変動させることであって、前記第1の可変焦点レンズ要素は、深度平面上に前記仮想オブジェクトを形成するために前記投影された光の波面発散を修正し、前記波面発散の前記修正の量は、前記視認者の眼の前記輻輳・開散運動の前記決定された深度と、前記視認者の第1の眼の屈折誤差を補正するための量とに基づく、ことと、
    前記1つ以上の導波管と前記視認者を囲繞する環境との間に配置されている第2の可変焦点レンズ要素の屈折力を変動させることであって、前記第2の可変焦点レンズ要素の前記屈折力は、深度平面上に前記周囲環境内の前記オブジェクトからの入射光の波面発散を修正し、前記波面発散の前記修正の量は、前記視認者の眼の前記輻輳・開散運動の前記決定された深度に対して前記視認者の第1の眼の前記屈折誤差を補正するための量基づく、ことと
    によって行われる、ことと
    を含む、方法。
  20. 第3の可変焦点レンズ要素および第4の可変焦点レンズ要素であって、前記第3の可変焦点レンズ要素は、前記1つ以上の導波管と前記視認者の第2の眼との間にあり、前記第4の可変焦点レンズ要素は、前記1つ以上の導波管と周囲環境との間にある、第3の可変焦点レンズ要素および第4の可変焦点レンズ要素さらに備え、
    前記第3の可変焦点レンズ要素の屈折力を変動させることであって、前記第3の可変焦点レンズ要素は、深度平面上に前記仮想オブジェクトを形成するために前記投影された光の波面発散を修正し、前記波面発散の前記修正の量は、前記視認者の眼の前記輻輳・開散運動の前記決定された深度と、前記視認者の第2の眼の屈折誤差を補正するための量とに基づく、ことと
    前記第4の可変焦点レンズ要素の屈折力を変動させることであって、前記第4の可変焦点レンズ要素は、深度平面上に前記周囲環境内の前記オブジェクトからの入射光の波面発散を修正し、前記波面発散の前記修正の量は、前記視認者の眼の前記輻輳・開散運動の前記決定された深度と、前記視認者の第1の眼の前記屈折誤差を補正するための量とに基づく、ことと
    によって、前記視認者の第2の眼の屈折誤差を補正することを含む、請求項19に記載の方法
  21. 前記輻輳・開散運動点を決定することは、1つ以上のカメラを使用して、前記視認者の両眼の輻輳・開散運動を追跡することを含む、請求項20に記載の方法。
  22. 前記第1の可変焦点レンズ要素の屈折力は、前記第2の可変焦点レンズ要素の屈折力と同時に変動される、請求項19に記載の方法。
  23. 前記1つ以上の導波管の各々は、前記導波管からの発散光を出力するように構成されている回折光学要素を備える、請求項19に記載の方法。
JP2018552046A 2016-04-08 2017-04-05 可変焦点レンズ要素を用いた拡張現実システムおよび方法 Active JP6923552B2 (ja)

Priority Applications (2)

Application Number Priority Date Filing Date Title
JP2021124069A JP7171849B2 (ja) 2016-04-08 2021-07-29 可変焦点レンズ要素を用いた拡張現実システムおよび方法
JP2022176192A JP7402960B2 (ja) 2016-04-08 2022-11-02 可変焦点レンズ要素を用いた拡張現実システムおよび方法

Applications Claiming Priority (3)

Application Number Priority Date Filing Date Title
US201662320375P 2016-04-08 2016-04-08
US62/320,375 2016-04-08
PCT/US2017/026171 WO2017176898A1 (en) 2016-04-08 2017-04-05 Augmented reality systems and methods with variable focus lens elements

Related Child Applications (1)

Application Number Title Priority Date Filing Date
JP2021124069A Division JP7171849B2 (ja) 2016-04-08 2021-07-29 可変焦点レンズ要素を用いた拡張現実システムおよび方法

Publications (3)

Publication Number Publication Date
JP2019514055A JP2019514055A (ja) 2019-05-30
JP2019514055A5 JP2019514055A5 (ja) 2020-05-14
JP6923552B2 true JP6923552B2 (ja) 2021-08-18

Family

ID=59998079

Family Applications (3)

Application Number Title Priority Date Filing Date
JP2018552046A Active JP6923552B2 (ja) 2016-04-08 2017-04-05 可変焦点レンズ要素を用いた拡張現実システムおよび方法
JP2021124069A Active JP7171849B2 (ja) 2016-04-08 2021-07-29 可変焦点レンズ要素を用いた拡張現実システムおよび方法
JP2022176192A Active JP7402960B2 (ja) 2016-04-08 2022-11-02 可変焦点レンズ要素を用いた拡張現実システムおよび方法

Family Applications After (2)

Application Number Title Priority Date Filing Date
JP2021124069A Active JP7171849B2 (ja) 2016-04-08 2021-07-29 可変焦点レンズ要素を用いた拡張現実システムおよび方法
JP2022176192A Active JP7402960B2 (ja) 2016-04-08 2022-11-02 可変焦点レンズ要素を用いた拡張現実システムおよび方法

Country Status (10)

Country Link
US (3) US10459231B2 (ja)
EP (2) EP3440497B1 (ja)
JP (3) JP6923552B2 (ja)
KR (4) KR102884587B1 (ja)
CN (2) CN109313341B (ja)
AU (2) AU2017246901B2 (ja)
CA (1) CA3019946C (ja)
IL (2) IL299497B2 (ja)
NZ (1) NZ747005A (ja)
WO (1) WO2017176898A1 (ja)

Cited By (1)

* Cited by examiner, † Cited by third party
Publication number Priority date Publication date Assignee Title
JP2021182148A (ja) * 2016-04-08 2021-11-25 マジック リープ, インコーポレイテッドMagic Leap, Inc. 可変焦点レンズ要素を用いた拡張現実システムおよび方法

Families Citing this family (84)

* Cited by examiner, † Cited by third party
Publication number Priority date Publication date Assignee Title
NZ773822A (en) 2015-03-16 2022-07-29 Magic Leap Inc Methods and systems for diagnosing and treating health ailments
CA3015210A1 (en) 2016-02-26 2017-08-31 Magic Leap, Inc. Display system having a plurality of light pipes for a plurality of light emitters
US10901205B1 (en) * 2016-08-09 2021-01-26 Facebook Technologies, Llc Focus adjusting liquid crystal lenses in a head-mounted display
AU2017350941B2 (en) 2016-10-28 2022-07-28 Magic Leap, Inc. Method and system for large field of view display with scanning reflector
US10248001B1 (en) 2016-11-16 2019-04-02 Facebook Technologies, Llc Varifocal structure comprising a liquid lens structure in optical series with a liquid crystal lens in a head-mounted display
US10379419B1 (en) 2016-11-23 2019-08-13 Facebook Technologies, Llc Focus adjusting pancharatnam berry phase liquid crystal lenses in a head-mounted display
US10429652B2 (en) 2016-12-12 2019-10-01 Facebook Technologies, Llc Tiled waveguide display with a wide field-of-view
US10885676B2 (en) * 2016-12-27 2021-01-05 Samsung Electronics Co., Ltd. Method and apparatus for modifying display settings in virtual/augmented reality
US10151961B2 (en) 2016-12-29 2018-12-11 Facebook Technologies, Llc Switchable bragg gratings for chromatic error correction of pancharatnam berry phase (PBP) components
IL307602A (en) 2017-02-23 2023-12-01 Magic Leap Inc Variable focus virtual imagers based on polarization conversion
KR102636903B1 (ko) 2017-06-12 2024-02-14 매직 립, 인코포레이티드 깊이 평면들을 변경하기 위한 다중-엘리먼트 적응형 렌즈를 갖는 증강 현실 디스플레이
US10338400B2 (en) 2017-07-03 2019-07-02 Holovisions LLC Augmented reality eyewear with VAPE or wear technology
US10859834B2 (en) 2017-07-03 2020-12-08 Holovisions Space-efficient optical structures for wide field-of-view augmented reality (AR) eyewear
US10546430B1 (en) 2017-08-29 2020-01-28 Facebook Technologies, Llc Image plane adjustment in a near-eye display
US11733516B2 (en) 2017-10-11 2023-08-22 Magic Leap, Inc. Augmented reality display comprising eyepiece having a transparent emissive display
EP3697286A4 (en) * 2017-10-19 2021-07-28 Virginia Commonwealth University EYE TRACKING PROCEDURES AND SYSTEMS ACTIVATED BY EYE VERGENCE
KR102890224B1 (ko) 2017-10-26 2025-11-21 매직 립, 인코포레이티드 액정 가변 초점 엘리먼트를 갖는 증강 현실 디스플레이 그리고 이를 형성하기 위한 롤투롤 방법 및 장치
KR102698364B1 (ko) 2017-10-26 2024-08-23 매직 립, 인코포레이티드 증강 현실 디스플레이를 위한 광대역 적응형 렌즈 어셈블리
IL274907B2 (en) 2017-12-11 2025-10-01 Magic Leap Inc Meir leads the way
US12372793B2 (en) 2017-12-11 2025-07-29 Magic Leap, Inc. Illumination layout for compact projection system
KR102096928B1 (ko) * 2017-12-18 2020-04-03 삼성전자주식회사 광학 시스템 및 이를 구비한 웨어러블 표시장치
US10422989B2 (en) 2018-02-06 2019-09-24 Microsoft Technology Licensing, Llc Optical systems including a single actuator and multiple fluid-filled optical lenses for near-eye-display devices
JP7304874B2 (ja) 2018-03-12 2023-07-07 マジック リープ, インコーポレイテッド 超高屈折率接眼レンズ基板ベースの視認光学系アセンブリアーキテクチャ
CN112136073A (zh) * 2018-03-14 2020-12-25 奇跃公司 用于剪辑内容以增加观看舒适感的显示系统和方法
US20190295507A1 (en) * 2018-03-21 2019-09-26 International Business Machines Corporation Adaptive Rendering of Virtual and Augmented Displays to Improve Display Quality for Users Having Different Visual Abilities
WO2019186132A2 (en) 2018-03-26 2019-10-03 Adlens Ltd. Improvements in or relating to augmented reality display units and augmented reality headsets comprising the same
US10747309B2 (en) * 2018-05-10 2020-08-18 Microsoft Technology Licensing, Llc Reconfigurable optics for switching between near-to-eye display modes
KR102664392B1 (ko) 2018-06-28 2024-05-08 삼성전자주식회사 디스플레이 장치
CN112655204A (zh) 2018-07-24 2021-04-13 奇跃公司 用于确定左显示器和右显示器与用户眼睛之间的垂直对准的显示系统和方法
WO2020023546A1 (en) 2018-07-24 2020-01-30 Magic Leap, Inc. Diffractive optical elements with mitigation of rebounce-induced light loss and related systems and methods
KR102673817B1 (ko) 2018-07-30 2024-06-10 삼성전자주식회사 3차원 영상 표시 장치 및 영상 처리 방법
KR102546321B1 (ko) 2018-07-30 2023-06-21 삼성전자주식회사 3차원 영상 표시 장치 및 방법
US11822079B2 (en) 2018-08-10 2023-11-21 Apple Inc. Waveguided display system with adjustable lenses
EP3841410A1 (en) * 2018-08-22 2021-06-30 Optotune AG Orientation independent coma compensating liquid lens
JP2021536592A (ja) 2018-08-31 2021-12-27 マジック リープ, インコーポレイテッドMagic Leap, Inc. 拡張現実デバイスのための空間的に分解された動的調光
US10979681B2 (en) * 2018-09-13 2021-04-13 Varjo Technologies Oy Display apparatus and method of displaying using light source and beam scanning arrangement
US10627901B2 (en) * 2018-09-14 2020-04-21 Facebook Technologies, Llc Vergence determination
EP3857294A4 (en) * 2018-09-26 2022-06-08 Magic Leap, Inc. DIFFRACTIVE OPTICAL ELEMENTS WITH OPTICAL PERFORMANCE
EP3864575B1 (en) 2018-10-09 2026-01-28 Magic Leap, Inc. Systems and methods for virtual and augmented reality
US10852619B1 (en) 2018-11-01 2020-12-01 Facebook Technologies, Llc Multifocal system using adaptive lenses
US10778953B2 (en) 2018-12-10 2020-09-15 Universal City Studios Llc Dynamic convergence adjustment in augmented reality headsets
KR102748631B1 (ko) * 2018-12-18 2024-12-31 삼성전자주식회사 영상을 표시하는 장치, 방법 및 컴퓨터 프로그램
JP7451534B2 (ja) * 2018-12-28 2024-03-18 マジック リープ, インコーポレイテッド 発光型マイクロディスプレイを伴う仮想および拡張現実ディスプレイシステム
JP7585206B2 (ja) 2019-01-11 2024-11-18 マジック リープ, インコーポレイテッド 種々の深度における仮想コンテンツの時間多重化された表示
EP3924768B1 (en) 2019-02-13 2026-01-21 Corning Incorporated Waveguide for transmitting light
TWI832976B (zh) * 2019-02-27 2024-02-21 美商愛奎有限公司 測量視力功能的裝置及方法
US20200275071A1 (en) * 2019-03-20 2020-08-27 Anton Zavoyskikh Electronic visual headset
US11973375B2 (en) 2019-05-24 2024-04-30 Magic Leap, Inc. Annular axial flux motors
JP2022533483A (ja) 2019-05-24 2022-07-22 マジック リープ, インコーポレイテッド 可変焦点アセンブリ
KR102858205B1 (ko) * 2019-05-27 2025-09-09 삼성전자주식회사 사용자의 시선 방향에 따라 초점 영역을 조절하는 증강 현실 디바이스 및 그 동작 방법
US11467370B2 (en) 2019-05-27 2022-10-11 Samsung Electronics Co., Ltd. Augmented reality device for adjusting focus region according to direction of user's view and operating method of the same
CN113892050B (zh) * 2019-07-04 2025-01-14 三星电子株式会社 用于显示增强现实的电子设备和方法
JP7406622B2 (ja) 2019-08-21 2023-12-27 マジック リープ, インコーポレイテッド 高屈折率材料を使用した平坦スペクトル応答格子
JP7582675B2 (ja) 2019-11-06 2024-11-13 ヒーズ アイピー ホールディングス エルエルシー 奥行きのある物体を表示するシステム及び方法
WO2021119212A1 (en) 2019-12-09 2021-06-17 Magic Leap, Inc. Systems and methods for operating a head-mounted display system based on user identity
WO2021202746A1 (en) * 2020-04-03 2021-10-07 Magic Leap, Inc. Wearable display systems with nanowire led micro-displays
JP7585351B2 (ja) * 2020-05-22 2024-11-18 マジック リープ, インコーポレイテッド 相関内部結合および外部結合光学領域を伴う拡張および仮想現実ディスプレイシステム
WO2021242773A1 (en) * 2020-05-26 2021-12-02 Magic Leap, Inc. Monovision display for wearable device
WO2021246777A1 (en) 2020-06-03 2021-12-09 Samsung Electronics Co., Ltd. Device and method for displaying augmented reality
WO2021247435A1 (en) * 2020-06-05 2021-12-09 Magic Leap, Inc. Enhanced eye tracking techniques based on neural network analysis of images
CN111629198B (zh) * 2020-06-08 2022-08-09 京东方科技集团股份有限公司 成像系统及其控制方法、控制装置和存储介质
JP7628172B2 (ja) 2020-08-07 2025-02-07 マジック リープ, インコーポレイテッド インプリントのための多目的整合の管理
JP2023537486A (ja) 2020-08-07 2023-09-01 マジック リープ, インコーポレイテッド 調整可能円柱レンズおよびそれを含む頭部搭載型ディスプレイ
US12271062B1 (en) * 2020-08-12 2025-04-08 Apple Inc. System for calibrating adjustable lenses
RU2757072C1 (ru) * 2020-08-19 2021-10-11 Самсунг Электроникс Ко., Лтд. Многозонная перестраиваемая линза
US12099282B2 (en) 2020-08-19 2024-09-24 Samsung Electronics Co., Ltd. Tunable optical lens and electronic apparatus employing the same
CN111812847B (zh) * 2020-08-20 2025-03-25 杭州光粒科技有限公司 一种波导器件和ar显示设备
RU2757074C1 (ru) * 2020-08-27 2021-10-11 Самсунг Электроникс Ко., Лтд. Перестраиваемая линза с наложением электродных структур
US11360346B2 (en) 2020-08-27 2022-06-14 Samsung Electronics Co., Ltd. Optical lens having a tunable focal length and display device including the same
US12529891B2 (en) * 2020-12-17 2026-01-20 Lumus Ltd. Optical systems and methods for eye tracking based on eye imaging via collimating element and light-guide optical element
CN117043660A (zh) 2021-03-15 2023-11-10 奇跃公司 采用可调谐柱面透镜的光学器件和头戴式显示器
WO2022212072A1 (en) * 2021-03-31 2022-10-06 Snap Inc. Eyewear projector brightness control
CN115145028A (zh) * 2021-03-31 2022-10-04 华为技术有限公司 增强现实设备及其显示方法
CN113281906A (zh) * 2021-04-25 2021-08-20 凤凰光学股份有限公司 一种可拆分增强现实显示设备及其系统
US12147043B2 (en) * 2021-04-26 2024-11-19 Meta Platforms Technologies, Llc Apparatus, system, and method for disposing photonic integrated circuits on surfaces
CN113253459A (zh) * 2021-05-20 2021-08-13 深圳市光舟半导体技术有限公司 一种光波导片与透镜集成镜片、集成方法及ar显示模组
WO2023028284A1 (en) * 2021-08-26 2023-03-02 Google Llc Variable world blur for occlusion and contrast enhancement via tunable lens elements
EP4381340A4 (en) * 2021-09-22 2024-11-20 Samsung Electronics Co., Ltd. AUGMENTED REALITY DEVICE BASED ON VARIABLE CURVATURE WAVEGUIDE, METHOD FOR OPERATING THE AUGMENTED REALITY DEVICE, AUGMENTED REALITY GLASSES, OPTICAL COMPENSATOR
US12055835B2 (en) * 2021-09-24 2024-08-06 Arm Limited Apparatus and method of focusing light
CN114236819B (zh) * 2021-12-29 2022-09-27 东南大学 一种基于偏振体全息光栅的波导显示二维扩瞳方法
US12564321B2 (en) * 2022-01-11 2026-03-03 Welch Allyn, Inc. Method to monitor accommodation state during visual testing
TWI818537B (zh) * 2022-05-06 2023-10-11 國立陽明交通大學 光學顯示系統
EP4524641A4 (en) 2022-08-19 2025-12-03 Samsung Electronics Co Ltd DISPLAY DEVICE
ES3030938A1 (es) 2023-12-28 2025-07-02 Univ Murcia Instrumento optoelectrónico binocular de tipo gafa para la mejora visual de ambos ojos y método para la mejora visual

Family Cites Families (537)

* Cited by examiner, † Cited by third party
Publication number Priority date Publication date Assignee Title
US3309162A (en) 1963-06-28 1967-03-14 Ibm Electro-optical high speed adjustable focusing zone plate
US3724938A (en) 1969-11-28 1973-04-03 D Nepela Variable contrast image projection
US4065208A (en) 1974-10-29 1977-12-27 Currey Thomas A Ophthalmoscope
JPS5576323A (en) 1978-12-01 1980-06-09 Seiko Epson Corp Electronic spectacles
US4693544A (en) 1982-12-14 1987-09-15 Nippon Sheet Glass Co., Ltd. Optical branching device with internal waveguide
GB8318863D0 (en) 1983-07-12 1983-08-10 Secr Defence Thermochromic liquid crystal displays
US4573982A (en) 1983-11-10 1986-03-04 Merck & Co., Inc. Eye frame ophthalmic drug delivery device
US4601545A (en) 1984-05-16 1986-07-22 Kern Seymour P Variable power lens system
US4795248A (en) 1984-08-31 1989-01-03 Olympus Optical Company Ltd. Liquid crystal eyeglass
US4669836A (en) 1984-09-28 1987-06-02 The United States Of America As Represented By The Administrator Of The National Aeronautics And Space Administration Photorefractor ocular screening system
US4726667A (en) * 1984-10-19 1988-02-23 Asahi Kogaku Kogyo Kabushiki Kaisha Focusing method in optical lens system with variable focal length
JPS61156227A (ja) * 1984-12-28 1986-07-15 Olympus Optical Co Ltd フレネル液晶眼鏡
US4756605A (en) 1985-02-01 1988-07-12 Olympus Optical Co., Ltd. Liquid crystal spectacles
US4711512A (en) 1985-07-12 1987-12-08 Environmental Research Institute Of Michigan Compact head-up display
IT1209106B (it) 1985-11-05 1989-07-10 Ivano Paolini Macchina automatica per sagomare il profilo esterno di lenti per occhiali
US4826308A (en) 1985-12-31 1989-05-02 University Of Southern California Method and system for detecting, characterizing and monitoring optic nerve diseases
JPS62269174A (ja) 1986-05-18 1987-11-21 Ricoh Co Ltd カラ−複写機における光路分割・色分解光学装置
US4848898A (en) 1987-06-30 1989-07-18 Lkc Technologies, Inc. Apparatus for testing color vision
US4981342A (en) 1987-09-24 1991-01-01 Allergan Inc. Multifocal birefringent lens system
US4968127A (en) 1988-11-23 1990-11-06 Russell James P Controllable, variable transmissivity eyewear
US4991924A (en) 1989-05-19 1991-02-12 Cornell Research Foundation, Inc. Optical switches using cholesteric or chiral nematic liquid crystals and method of using same
US5082354A (en) 1989-08-29 1992-01-21 Kaiser Aerospace And Electronics Corporation Optical switch and color selection assembly
JPH0384516A (ja) 1989-08-29 1991-04-10 Fujitsu Ltd 3次元表示装置
GB2249387B (en) 1990-10-11 1995-01-25 Holtronic Technologies Ltd Apparatus for and a method of transverse position measurement in proximity lithographic systems
US20040130783A1 (en) 2002-12-02 2004-07-08 Solomon Dennis J Visual display with full accommodation
US8730129B2 (en) 1990-12-07 2014-05-20 Dennis J Solomon Advanced immersive visual display system
US20060033992A1 (en) 2002-12-02 2006-02-16 Solomon Dennis J Advanced integrated scanning focal immersive visual display
US5847798A (en) 1991-05-02 1998-12-08 Kent State University Polymer stabilized black-white cholesteric reflective display
US6234966B1 (en) 1991-08-31 2001-05-22 Nidek Co., Ltd. Noncontact type tonometer
US5166778A (en) 1991-09-05 1992-11-24 General Electric Company Single-lens color video stereoscopic helmet mountable display
DE69221102T2 (de) 1991-12-20 1998-01-08 Fujitsu Ltd Flüssigkristall-Anzeigevorrichtung mit verschiedenen aufgeteilten Orientierungsbereichen
US5223971A (en) 1991-12-31 1993-06-29 Texas Instruments Incorporated Light beam steering with deformable membrane device
WO2004077136A1 (ja) 1992-01-10 2004-09-10 Masayuki Iijima 情報記録媒体及び情報記録再生方法
US5293187A (en) 1992-02-05 1994-03-08 Biocontrol Systems, Inc. Method and apparatus for eye tracking for convergence and strabismus measurement
US6222525B1 (en) 1992-03-05 2001-04-24 Brad A. Armstrong Image controllers with sheet connected sensors
US6219015B1 (en) 1992-04-28 2001-04-17 The Board Of Directors Of The Leland Stanford, Junior University Method and apparatus for using an array of grating light valves to produce multicolor optical images
US5359444A (en) 1992-12-24 1994-10-25 Motorola, Inc. Auto-focusing optical apparatus
JPH08508826A (ja) 1993-04-07 1996-09-17 ザ テクノロジィー パートナーシップ ピーエルシー 切換可能レンズ
FR2707781B1 (fr) 1993-07-16 1995-09-01 Idmatic Sa Carte souple équipée d'un dispositif de contrôle de validité.
US5537162A (en) 1993-12-17 1996-07-16 Carl Zeiss, Inc. Method and apparatus for optical coherence tomographic fundus imaging without vignetting
US5544268A (en) 1994-09-09 1996-08-06 Deacon Research Display panel with electrically-controlled waveguide-routing
US6015507A (en) 1994-11-08 2000-01-18 Minolta Co., Ltd. Liquid crystal element having composite layer
JPH08154924A (ja) 1994-12-05 1996-06-18 Konan:Kk 測定機能を有する眼底カメラ
US6437762B1 (en) 1995-01-11 2002-08-20 William A. Birdwell Dynamic diffractive optical transform
JP3836140B2 (ja) 1995-02-28 2006-10-18 コーニンクレッカ フィリップス エレクトロニクス エヌ ヴィ 電気光学装置
US5825448A (en) 1995-05-19 1998-10-20 Kent State University Reflective optically active diffractive device
US5670988A (en) 1995-09-05 1997-09-23 Interlink Electronics, Inc. Trigger operated electronic device
US5654786A (en) 1996-01-11 1997-08-05 Robert C. Burlingame Optical lens structure and control system for maintaining a selected constant level of transmitted light at a wearer's eyes
US6003991A (en) 1996-02-17 1999-12-21 Erik Scott Viirre Eye examination apparatus and method for remote examination of a patient by a health professional
CN1103776C (zh) 1996-07-01 2003-03-26 默克专利股份有限公司 手性掺杂剂和包含它的液晶材料和聚合物膜
US5861936A (en) * 1996-07-26 1999-01-19 Gillan Holdings Limited Regulating focus in accordance with relationship of features of a person's eyes
US6386706B1 (en) 1996-07-31 2002-05-14 Virtual-Eye.Com Visual function testing with virtual retinal display
US6447119B1 (en) 1996-08-12 2002-09-10 Visionrx, Inc. Apparatus for visualizing the eye's tear film
JP3649818B2 (ja) 1996-09-19 2005-05-18 富士通ディスプレイテクノロジーズ株式会社 液晶表示装置
US5915051A (en) 1997-01-21 1999-06-22 Massascusetts Institute Of Technology Wavelength-selective optical add/drop switch
CA2289022C (en) 1997-04-07 2009-03-31 Teri A. Lawton Methods and apparatus for diagnosing and remediating reading disorders
US6626532B1 (en) 1997-06-10 2003-09-30 Olympus Optical Co., Ltd. Vari-focal spectacles
US5776068A (en) 1997-06-19 1998-07-07 Cornell Research Foundation Ultrasonic scanning of the eye using a stationary transducer
US6181393B1 (en) 1997-12-26 2001-01-30 Kabushiki Kaisha Toshiba Liquid crystal display device and method of manufacturing the same
US5997141A (en) 1998-03-06 1999-12-07 Odyssey Optical Systems, Llc System for treating the fundus of an eye
EP0947183B1 (en) 1998-03-31 2003-05-28 Nidek Co., Ltd. Laser treatment apparatus
JP4081907B2 (ja) 1998-04-15 2008-04-30 コニカミノルタホールディングス株式会社 液晶表示装置及び液晶表示素子の駆動方法
US6251101B1 (en) 1998-06-26 2001-06-26 Visx, Incorporated Surgical laser system microscope with separated ocular and objective lenses
US6151167A (en) 1998-08-05 2000-11-21 Microvision, Inc. Scanned display with dual signal fiber transmission
US6188462B1 (en) 1998-09-02 2001-02-13 Kent State University Diffraction grating with electrically controlled periodicity
US6785447B2 (en) 1998-10-09 2004-08-31 Fujitsu Limited Single and multilayer waveguides and fabrication process
US6690845B1 (en) 1998-10-09 2004-02-10 Fujitsu Limited Three-dimensional opto-electronic modules with electrical and optical interconnections and methods for making
JP3624112B2 (ja) 1999-03-02 2005-03-02 独立行政法人科学技術振興機構 自動焦点調節眼鏡
US6334960B1 (en) 1999-03-11 2002-01-01 Board Of Regents, The University Of Texas System Step and flash imprint lithography
US6305804B1 (en) 1999-03-25 2001-10-23 Fovioptics, Inc. Non-invasive measurement of blood component using retinal imaging
US6309350B1 (en) 1999-05-03 2001-10-30 Tricardia, L.L.C. Pressure/temperature/monitor device for heart implantation
US6517203B1 (en) 1999-07-02 2003-02-11 E-Vision, Llc System, apparatus, and method for correcting vision using electro-active spectacles
US6619799B1 (en) 1999-07-02 2003-09-16 E-Vision, Llc Optical lens system with electro-active lens having alterably different focal lengths
US6857741B2 (en) 2002-01-16 2005-02-22 E-Vision, Llc Electro-active multi-focal spectacle lens
US6986579B2 (en) 1999-07-02 2006-01-17 E-Vision, Llc Method of manufacturing an electro-active lens
US6491394B1 (en) 1999-07-02 2002-12-10 E-Vision, Llc Method for refracting and dispensing electro-active spectacles
US7023594B2 (en) 2000-06-23 2006-04-04 E-Vision, Llc Electro-optic lens with integrated components
US6491391B1 (en) 1999-07-02 2002-12-10 E-Vision Llc System, apparatus, and method for reducing birefringence
US6733130B2 (en) 1999-07-02 2004-05-11 E-Vision, Llc Method for refracting and dispensing electro-active spectacles
US6871951B2 (en) 2000-06-23 2005-03-29 E-Vision, Llc Electro-optic lens with integrated components
US6490319B1 (en) 1999-06-22 2002-12-03 Intel Corporation Region of interest video coding
US7404636B2 (en) 1999-07-02 2008-07-29 E-Vision, Llc Electro-active spectacle employing modal liquid crystal lenses
US6851805B2 (en) 1999-07-02 2005-02-08 E-Vision, Llc Stabilized electro-active contact lens
US7264354B2 (en) 1999-07-02 2007-09-04 E-Vision, Llc Method and apparatus for correcting vision using an electro-active phoropter
US6723396B1 (en) 1999-08-17 2004-04-20 Western Washington University Liquid crystal imprinting
CA2385849A1 (en) 1999-09-23 2001-03-29 Richard G. Nadeau Medical applications of orthogonal polarization spectral imaging
JP2001091715A (ja) 1999-09-27 2001-04-06 Nippon Mitsubishi Oil Corp 複合回折素子
US6873087B1 (en) 1999-10-29 2005-03-29 Board Of Regents, The University Of Texas System High precision orientation alignment and gap control stages for imprint lithography processes
US6579235B1 (en) 1999-11-01 2003-06-17 The Johns Hopkins University Method for monitoring intraocular pressure using a passive intraocular pressure sensor and patient worn monitoring recorder
GB9928126D0 (en) 1999-11-30 2000-01-26 Secr Defence Bistable nematic liquid crystal device
EP1246596B1 (en) 1999-12-27 2004-03-17 Neurovision, Inc. Systems and methods for improving visual perception
US6307682B1 (en) * 2000-02-16 2001-10-23 Silicon Valley Group, Inc. Zoom illumination system for use in photolithography
US6769770B2 (en) 2000-03-27 2004-08-03 California Institute Of Technology Computer-based 3D visual field testing with peripheral fixation points
US7460200B2 (en) 2000-03-27 2008-12-02 Helwett-Packard Development Company, L.P. Liquid crystal alignment
JP2001290101A (ja) 2000-04-06 2001-10-19 Tomohiko Hattori 奥行き方向視点調節意志検出と意志駆動方式および遠近自動補正眼鏡
EP1274339B1 (en) 2000-04-17 2011-06-08 The University of Sydney Method for objective electrophysiological assessment of visual function
US6975898B2 (en) 2000-06-19 2005-12-13 University Of Washington Medical imaging, diagnosis, and therapy using a scanning single optical fiber system
US6816290B2 (en) 2000-07-05 2004-11-09 Sony Corporation Image display element, and image display device
IL137625A0 (en) 2000-08-01 2001-10-31 Sensis Ltd Detector for an electrophoresis apparatus
DE10047237A1 (de) 2000-09-23 2002-04-11 Physoptics Opto Electronic Gmb System zur Aufnahme des Netzhautreflexbildes
US7621887B2 (en) 2000-10-10 2009-11-24 Meridian Medical Technologies, Inc. Wet/dry automatic injector assembly
JP2005506555A (ja) 2000-11-03 2005-03-03 アクチュアリティー システムズ, インク. 3次元表示システム
US6856712B2 (en) 2000-11-27 2005-02-15 University Of Washington Micro-fabricated optical waveguide for use in scanning fiber displays and scanned fiber image acquisition
US6795138B2 (en) 2001-01-11 2004-09-21 Sipix Imaging, Inc. Transmissive or reflective liquid crystal display and novel process for its manufacture
EP1227347A1 (en) 2001-01-29 2002-07-31 Rolic AG Optical device and method for manufacturing same
US20020124843A1 (en) 2001-02-01 2002-09-12 Skiba Jeffry B. Eye medication delivery system
US7339090B2 (en) 2001-02-13 2008-03-04 Avigenics, Inc. Microinjection devices and methods of use
US20080124787A1 (en) 2001-02-13 2008-05-29 Avigenics, Inc. Microinjection devices and methods of use
WO2002065443A1 (en) 2001-02-15 2002-08-22 Tveye Inc. Method and apparatus for low bandwidth transmission of data utilizing of the human eye anatomy
US6735224B2 (en) 2001-03-01 2004-05-11 Applied Optoelectronics, Inc. Planar lightwave circuit for conditioning tunable laser output
GB2374081B (en) 2001-04-06 2004-06-09 Central Research Lab Ltd A method of forming a liquid crystal polymer layer
KR100701442B1 (ko) 2001-05-10 2007-03-30 엘지.필립스 엘시디 주식회사 잉크젯 방식 액정 도포방법
US6963118B2 (en) 2001-05-17 2005-11-08 Sioptical, Inc. Hybrid active and electronic circuit with evanescent coupling
WO2002095485A2 (en) 2001-05-23 2002-11-28 E-Vision, L.L.C. Focusing mirrors having variable reflective properties
US6582079B2 (en) 2001-06-05 2003-06-24 Metrologic Instruments, Inc. Modular adaptive optical subsystem for integration with a fundus camera body and CCD camera unit and improved fundus camera employing same
US6709108B2 (en) 2001-08-31 2004-03-23 Adaptive Optics Associates, Inc. Ophthalmic instrument with adaptive optic subsystem that measures aberrations (including higher order aberrations) of a human eye and that provides a view of compensation of such aberrations to the human eye
JP2003085289A (ja) 2001-09-13 2003-03-20 Matsushita Electric Ind Co Ltd 食生活改善支援装置
US7019890B2 (en) 2001-10-05 2006-03-28 E-Vision, Llc Hybrid electro-active lens
EP1433020A1 (en) 2001-10-05 2004-06-30 E-Vision, LLC Hybrid electro-active lens
WO2003042746A1 (en) 2001-10-29 2003-05-22 Comprehensive Neuropsychological Services, Llc Occluded contact lens with peripheral vision functionality
US6542671B1 (en) 2001-12-12 2003-04-01 Super Light Wave Corp. Integrated 3-dimensional multi-layer thin-film optical couplers and attenuators
US6998196B2 (en) 2001-12-28 2006-02-14 Wavefront Technology Diffractive optical element and method of manufacture
US20030210378A1 (en) 2002-01-17 2003-11-13 Riza Nabeel Agha Optoelectronic eye examination system
GB0201132D0 (en) 2002-01-18 2002-03-06 Epigem Ltd Method of making patterned retarder
JP3768901B2 (ja) 2002-02-28 2006-04-19 松下電器産業株式会社 立体光導波路の製造方法
US6902577B2 (en) 2002-03-29 2005-06-07 Isaac Lipshitz Intraocular lens implant with mirror
US20040136570A1 (en) 2002-04-30 2004-07-15 Shimon Ullman Method and apparatus for image enhancement for the visually impaired
WO2003107039A2 (en) 2002-06-13 2003-12-24 I See Tech Ltd. Method and apparatus for a multisensor imaging and scene interpretation system to aid the visually impaired
GB0215153D0 (en) 2002-07-01 2002-08-07 Univ Hull Luminescent compositions
US6900881B2 (en) 2002-07-11 2005-05-31 Molecular Imprints, Inc. Step and repeat imprint lithography systems
US7070405B2 (en) 2002-08-01 2006-07-04 Molecular Imprints, Inc. Alignment systems for imprint lithography
US7106509B2 (en) 2002-09-06 2006-09-12 Colorlink, Inc. Filter for enhancing vision and/or protecting the eyes and method of making a filter
US20080091250A1 (en) 2002-09-26 2008-04-17 Lumiport, Llc Light therapy desk lamp
US9153074B2 (en) 2011-07-18 2015-10-06 Dylan T X Zhou Wearable augmented reality eyeglass communication device including mobile phone and mobile computing via virtual touch screen gesture control and neuron command
US6982818B2 (en) 2002-10-10 2006-01-03 Nuonics, Inc. Electronically tunable optical filtering modules
AU2003278314A1 (en) 2002-10-17 2004-05-04 Zbd Displays Ltd. Liquid crystal alignment layer
KR100484174B1 (ko) 2002-11-06 2005-04-18 삼성전자주식회사 머리장착형 표시장치
JP3551187B2 (ja) 2002-11-28 2004-08-04 セイコーエプソン株式会社 光学素子及び照明装置並びに投射型表示装置
US20040254438A1 (en) 2003-01-09 2004-12-16 The Regents Of The University Of California Implantable devices and methods for measuring intraocular, subconjunctival or subdermal pressure and/or analyte concentration
TW556031B (en) 2003-01-17 2003-10-01 Chunghwa Picture Tubes Ltd Non-rubbing liquid crystal alignment method
EP1592992B1 (en) 2003-01-24 2012-05-30 University of Washington Optical beam scanning system for compact image display or image acquisition
US7036931B2 (en) 2003-01-29 2006-05-02 Novartis Ag Ophthalmic lenses
US6736510B1 (en) 2003-02-04 2004-05-18 Ware Tec Vision Systems, Inc. Ophthalmic talbot-moire wavefront sensor
JP2004247947A (ja) 2003-02-13 2004-09-02 Olympus Corp 光学装置
US7341348B2 (en) 2003-03-25 2008-03-11 Bausch & Lomb Incorporated Moiré aberrometer
JP4153341B2 (ja) 2003-03-26 2008-09-24 三菱電線工業株式会社 光ファイバ
WO2004088616A1 (ja) 2003-03-28 2004-10-14 Sharp Kabushiki Kaisha 表示装置
TWM249027U (en) 2003-06-06 2004-11-01 Hon Hai Prec Ind Co Ltd An aspherical lens
ES2310744T3 (es) 2003-06-06 2009-01-16 The General Hospital Corporation Fuente de luz sintonizable en longitudes de onda.
JP5002118B2 (ja) 2003-06-18 2012-08-15 コニカミノルタアドバンストレイヤー株式会社 光ピックアップ装置用の光学素子、及び光ピックアップ装置
US8128606B2 (en) 2003-07-03 2012-03-06 Hewlett-Packard Development Company, L.P. Ophthalmic apparatus and method for administering agents to the eye
US7311723B2 (en) 2003-07-11 2007-12-25 University Of Washington Scanning laser device and methods of use
AR045370A1 (es) 2003-08-15 2005-10-26 E Vision Llc Sistema de lente electro-activo
US7400447B2 (en) 2003-09-03 2008-07-15 Canon Kabushiki Kaisha Stereoscopic image display device
WO2005024469A2 (en) 2003-09-04 2005-03-17 Sioptical, Inc. Interfacing multiple wavelength sources to thin optical waveguides utilizing evanescent coupling
US8009358B2 (en) 2003-10-17 2011-08-30 Explay Ltd. Optical system and method for use in projection systems
US7122482B2 (en) 2003-10-27 2006-10-17 Molecular Imprints, Inc. Methods for fabricating patterned features utilizing imprint lithography
US7425067B2 (en) 2003-11-14 2008-09-16 Ophthonix, Inc. Ophthalmic diagnostic instrument
DE602004023641D1 (de) 2003-11-27 2009-11-26 Asahi Glass Co Ltd Optisches element mit einem flüssigkristall mit optischer isotropie
WO2005057252A2 (en) 2003-12-02 2005-06-23 Wavetec Vision Systems, Inc. Interactive refractor incorporating wavefront sensing and adaptive optics
DE10357734B4 (de) 2003-12-05 2009-10-01 Imedos Gmbh Universelles ophthalmologisches Untersuchungsgerät und ophthalmologisches Untersuchungsverfahren
US7430355B2 (en) 2003-12-08 2008-09-30 University Of Cincinnati Light emissive signage devices based on lightwave coupling
US7385660B2 (en) 2003-12-08 2008-06-10 Sharp Kabushiki Kaisha Liquid crystal display device for transflector having opening in a first electrode for forming a liquid crystal domain and openings at first and second corners of the domain on a second electrode
EP1699345B1 (en) 2003-12-12 2013-03-27 Indiana University Research and Technology Corporation System and method for optimizing clinical optic prescriptions
US7706863B2 (en) 2004-01-21 2010-04-27 University Of Washington Methods for assessing a physiological state of a mammalian retina
EP1716804A4 (en) 2004-02-20 2009-06-24 Riken METHOD AND INSTRUMENT FOR THE OPTICAL MEASUREMENT OF THE RETINA FUNCTION
US8076386B2 (en) 2004-02-23 2011-12-13 Molecular Imprints, Inc. Materials for imprint lithography
GB2411735A (en) 2004-03-06 2005-09-07 Sharp Kk Control of liquid crystal alignment in an optical device
US7418170B2 (en) 2004-03-29 2008-08-26 Sony Corporation Optical device and virtual image display device
US20050232530A1 (en) 2004-04-01 2005-10-20 Jason Kekas Electronically controlled volume phase grating devices, systems and fabrication methods
EP2444021B8 (en) 2004-04-20 2018-04-18 Alcon Research, Ltd. Integrated surgical microscope and wavefront sensor
US20060159395A1 (en) 2004-04-20 2006-07-20 Alan Hnatiw Optical compensator array for dispersive element arrays
US20050237485A1 (en) 2004-04-21 2005-10-27 Blum Ronald D Method and apparatus for correcting vision
US7140861B2 (en) 2004-04-27 2006-11-28 Molecular Imprints, Inc. Compliant hard template for UV imprinting
JP2005316314A (ja) 2004-04-30 2005-11-10 Casio Comput Co Ltd 撮像装置
US20050242771A1 (en) 2004-04-30 2005-11-03 Blum Ronald D Method and apparatus for recharging eyeglasses
JP4631308B2 (ja) 2004-04-30 2011-02-16 ソニー株式会社 画像表示装置
US20050244463A1 (en) 2004-04-30 2005-11-03 Allergan, Inc. Sustained release intraocular implants and methods for treating ocular vasculopathies
DE602005022874D1 (de) 2004-06-03 2010-09-23 Molecular Imprints Inc Fluidausgabe und tropfenausgabe nach bedarf für die herstellung im nanobereich
WO2005122872A2 (en) 2004-06-10 2005-12-29 Optimedica Corporation Scanning ophthalmic fixation method and apparatus
US7387387B2 (en) 2004-06-17 2008-06-17 Amo Manufacturing Usa, Llc Correction of presbyopia using adaptive optics and associated methods
DE112005001545T5 (de) 2004-06-25 2007-05-10 Technion Research & Development Foundation Ltd., Technion City Brille für verbesserte Okularsicht
EP1782228A1 (en) 2004-08-03 2007-05-09 Silverbrook Research Pty. Ltd Walk-up printing
KR20070064319A (ko) 2004-08-06 2007-06-20 유니버시티 오브 워싱톤 가변 응시 시거리 주사 광 디스플레이
WO2006030658A1 (ja) 2004-09-15 2006-03-23 Matsushita Electric Works, Ltd. 視野計
JPWO2006038662A1 (ja) 2004-10-07 2008-05-15 株式会社ウエアビジョン 画像表示装置および電子眼鏡
CN100587819C (zh) * 2004-10-19 2010-02-03 旭硝子株式会社 液晶衍射透镜元件和拾光头装置
US7140730B2 (en) 2004-11-08 2006-11-28 Optovue, Inc. Optical apparatus and method for comprehensive eye diagnosis
US10413188B2 (en) 2004-11-17 2019-09-17 Lawrence Livermore National Security, Llc Assessment of tissue or lesion depth using temporally resolved light scattering spectroscopy
US7192144B2 (en) 2004-11-30 2007-03-20 Northrop Grumman Corporation Bi-directionally actuated thin membrane mirror
JP4720424B2 (ja) 2004-12-03 2011-07-13 コニカミノルタホールディングス株式会社 光学デバイスの製造方法
US7594727B2 (en) 2004-12-03 2009-09-29 Searete Llc Vision modification with reflected image
US9155483B2 (en) 2004-12-03 2015-10-13 The Invention Science Fund I, Llc Vision modification with reflected image
US7206107B2 (en) 2004-12-13 2007-04-17 Nokia Corporation Method and system for beam expansion in a display device
ATE552524T1 (de) 2004-12-13 2012-04-15 Nokia Corp System und verfahren zur strahlerweiterung mit nahem brennpunkt in einer anzeigeeinrichtung
US20060152525A1 (en) 2005-01-13 2006-07-13 Woog Kenneth M Viewing screen color limiting device and method
US7585424B2 (en) 2005-01-18 2009-09-08 Hewlett-Packard Development Company, L.P. Pattern reversal process for self aligned imprint lithography and device
US7189961B2 (en) 2005-02-23 2007-03-13 University Of Washington Scanning beam device with detector assembly
CN101846811A (zh) 2005-03-01 2010-09-29 荷兰聚合物研究所 介晶膜中的偏振光栅
US8537310B2 (en) 2005-03-01 2013-09-17 North Carolina State University Polarization-independent liquid crystal display devices including multiple polarization grating arrangements and related devices
US7573640B2 (en) 2005-04-04 2009-08-11 Mirage Innovations Ltd. Multi-plane optical apparatus
US20070010748A1 (en) 2005-07-06 2007-01-11 Rauch Steven D Ambulatory monitors
AU2006275852B2 (en) 2005-07-29 2012-02-16 Alcon Inc. Ophthalmic device positioning system and associated methods
US20090153796A1 (en) 2005-09-02 2009-06-18 Arthur Rabner Multi-functional optometric-ophthalmic system for testing diagnosing, or treating, vision or eyes of a subject, and methodologies thereof
US20080043334A1 (en) 2006-08-18 2008-02-21 Mirage Innovations Ltd. Diffractive optical relay and method for manufacturing the same
US11428937B2 (en) 2005-10-07 2022-08-30 Percept Technologies Enhanced optical and perceptual digital eyewear
US20070081123A1 (en) 2005-10-07 2007-04-12 Lewis Scott W Digital eyewear
US8696113B2 (en) 2005-10-07 2014-04-15 Percept Technologies Inc. Enhanced optical and perceptual digital eyewear
US8956396B1 (en) 2005-10-24 2015-02-17 Lockheed Martin Corporation Eye-tracking visual prosthetic and method
US20070121120A1 (en) 2005-11-16 2007-05-31 Schachar Ronald A Apparatus and method for measuring scleral curvature and velocity of tissues of the eye
US8919960B2 (en) 2005-12-20 2014-12-30 James Waller Lambuth Lewis Adaptive infrared retinoscopic device for detecting ocular aberrations
US8668334B2 (en) 2006-02-27 2014-03-11 Vital Art And Science Incorporated Vision measurement and training system and method of operation thereof
JP2009528128A (ja) 2006-03-03 2009-08-06 ユニヴァーシティ オブ ワシントン 多クラッド光ファイバ走査器
US9423397B2 (en) 2006-03-10 2016-08-23 Indx Lifecare, Inc. Waveguide-based detection system with scanning light source
JP2007265581A (ja) 2006-03-30 2007-10-11 Fujinon Sano Kk 回折素子
JP4864516B2 (ja) 2006-04-07 2012-02-01 株式会社トプコン 眼科装置
ITTO20060303A1 (it) 2006-04-26 2007-10-27 Consiglio Nazionale Ricerche Lettera di incarico segue
CA2651761A1 (en) 2006-05-11 2007-11-22 Eran Eilat Eye medicament dispenser
US8968195B2 (en) 2006-05-12 2015-03-03 Bao Tran Health monitoring appliance
EP1862110A1 (en) 2006-05-29 2007-12-05 Essilor International (Compagnie Generale D'optique) Method for optimizing eyeglass lenses
US20080043166A1 (en) 2006-07-28 2008-02-21 Hewlett-Packard Development Company Lp Multi-level layer
US20080213904A1 (en) 2006-08-24 2008-09-04 Sliwa John W Monitoring drug compliance, food-intake or toxin-intake using non-invasively-read labels
JP2010503026A (ja) * 2006-09-01 2010-01-28 ジョンソン・アンド・ジョンソン・ビジョン・ケア・インコーポレイテッド 抵抗性電極を使用する電気光学レンズ
US7620147B2 (en) 2006-12-13 2009-11-17 Oraya Therapeutics, Inc. Orthovoltage radiotherapy
WO2008071830A1 (en) 2006-12-14 2008-06-19 Nokia Corporation Display device having two operating modes
WO2008081071A1 (en) 2006-12-28 2008-07-10 Nokia Corporation Light guide plate and a method of manufacturing thereof
WO2008081070A1 (en) 2006-12-28 2008-07-10 Nokia Corporation Device for expanding an exit pupil in two dimensions
CN101222009A (zh) 2007-01-12 2008-07-16 清华大学 发光二极管
US7394841B1 (en) 2007-01-18 2008-07-01 Epicrystals Oy Light emitting device for visual applications
ES2396165T3 (es) 2007-03-20 2013-02-19 Topcon Europe Medical B.V. Aparato para observar un ojo, así como módulo OCT
WO2008130561A1 (en) 2007-04-16 2008-10-30 North Carolina State University Multi-layer achromatic liquid crystal polarization gratings and related fabrication methods
EP2137558B1 (en) 2007-04-16 2011-10-19 North Carolina State University Low-twist chiral liquid crystal polarization gratings and related fabrication methods
US7568802B2 (en) 2007-05-09 2009-08-04 Honeywell International Inc. Eye-safe near infra-red imaging illumination method and system
GB2449682A (en) 2007-06-01 2008-12-03 Sharp Kk Optical system for converting a flat image to a non-flat image
WO2008149341A2 (en) 2007-06-08 2008-12-11 Svip 4 Llc Device for monitoring and modifying eating behavior
US7771051B2 (en) 2007-06-13 2010-08-10 Rahim Hirji Near eye opthalmic device
EP2485075B1 (en) 2007-06-14 2014-07-16 Nokia Corporation Displays with integrated backlighting
JP2009028287A (ja) 2007-07-27 2009-02-12 Topcon Corp 非接触型眼圧計
US20090036955A1 (en) 2007-08-03 2009-02-05 Xiang Simon Han Method, System and Apparatus For Guaranteeing Laser Shut-Down Time
US20140300695A1 (en) 2007-08-11 2014-10-09 Massachusetts Institute Of Technology Full-Parallax Acousto-Optic/Electro-Optic Holographic Video Display
US7659972B2 (en) 2007-08-22 2010-02-09 Kld Labs, Inc. Rail measurement system
US8380314B2 (en) 2007-09-26 2013-02-19 Medtronic, Inc. Patient directed therapy control
US8355610B2 (en) 2007-10-18 2013-01-15 Bae Systems Plc Display systems
US8066372B2 (en) 2007-10-23 2011-11-29 Mcgill University Binocular vision assessment and/or therapy
US20100069775A1 (en) 2007-11-13 2010-03-18 Michael Milgramm EEG-Related Methods
JP2009128565A (ja) 2007-11-22 2009-06-11 Toshiba Corp 表示装置、表示方法及びヘッドアップディスプレイ
JP4395802B2 (ja) 2007-11-29 2010-01-13 ソニー株式会社 画像表示装置
US8508848B2 (en) 2007-12-18 2013-08-13 Nokia Corporation Exit pupil expanders with wide field-of-view
JP5169253B2 (ja) * 2008-01-29 2013-03-27 ブラザー工業株式会社 画像表示装置
CN101945612B (zh) 2008-02-14 2013-09-25 诺基亚公司 用于确定注视方向的设备和方法
US8664362B2 (en) 2008-03-03 2014-03-04 NovelMed Therapeutics Humanized and chimeric anti-properdin antibodies
US7731364B2 (en) 2008-03-11 2010-06-08 Gholam A. Peyman Ocular centration of visual axis and evaluation of retinal function
US8348429B2 (en) 2008-03-27 2013-01-08 Doheny Eye Institute Optical coherence tomography device, method, and system
WO2010009447A2 (en) 2008-07-18 2010-01-21 Doheny Eye Institute Optical coherence tomography - based ophthalmic testing methods, devices and systems
US8496588B2 (en) 2008-04-03 2013-07-30 Arcscan, Inc. Procedures for an ultrasonic arc scanning apparatus
US20100149073A1 (en) 2008-11-02 2010-06-17 David Chaum Near to Eye Display System and Appliance
US8079711B2 (en) 2008-04-24 2011-12-20 Carl Zeiss Meditec, Inc. Method for finding the lateral position of the fovea in an SDOCT image volume
ES2327704B1 (es) 2008-04-30 2010-08-30 Universitat Politecnica De Catalunya Metodo y sistema para la medida objetiva de la acomodacion ocular.
JP5410692B2 (ja) 2008-05-03 2014-02-05 株式会社ニデック 非接触式超音波眼圧計
US8757812B2 (en) 2008-05-19 2014-06-24 University of Washington UW TechTransfer—Invention Licensing Scanning laser projection display devices and methods for projecting one or more images onto a surface with a light-scanning optical fiber
JPWO2010013592A1 (ja) * 2008-07-28 2012-01-12 日本電気株式会社 光学ユニット、制御方法、及び、光学的情報記録再生装置
US8406859B2 (en) 2008-08-10 2013-03-26 Board Of Regents, The University Of Texas System Digital light processing hyperspectral imaging apparatus
CN101359098B (zh) 2008-09-09 2010-07-07 东南大学 一种相干光成像装置
KR101542251B1 (ko) 2008-10-09 2015-08-05 노쓰 캐롤라이나 스테이트 유니버시티 복수의 편광 격자 배열을 포함하는 편광 독립적인 액정 디스플레이 장치 및 그와 관련된 장치
US20100245765A1 (en) 2008-10-28 2010-09-30 Dyer Holdings, Llc Video infrared ophthalmoscope
ES2721600T5 (es) 2008-12-12 2022-04-11 Bae Systems Plc Mejoras en o relacionadas con guías de onda
WO2010071898A2 (en) 2008-12-19 2010-06-24 The Johns Hopkins Univeristy A system and method for automated detection of age related macular degeneration and other retinal abnormalities
US9700210B2 (en) 2009-03-02 2017-07-11 Canon Kabushiki Kaisha Image processing apparatus and method for controlling the same
CA2758633C (en) 2009-04-14 2017-09-26 Bae Systems Plc Optical waveguide and display device
AU2010247901B2 (en) 2009-05-09 2015-05-21 Vital Art And Science, Llc Shape discrimination vision assessment and tracking system
JP2010271565A (ja) 2009-05-22 2010-12-02 Seiko Epson Corp 頭部装着型表示装置
US8178011B2 (en) 2009-07-29 2012-05-15 Empire Technology Development Llc Self-assembled nano-lithographic imprint masks
JP2011033400A (ja) 2009-07-30 2011-02-17 Weather Service Co Ltd 環境情報提供装置、システム、方法およびプログラム
AT508113B1 (de) 2009-08-07 2010-11-15 Levett Rene Dr Verfahren zum abschätzen des gesundheitsrisikos eines probanden
JP2011071500A (ja) 2009-08-31 2011-04-07 Fujifilm Corp パターン転写装置及びパターン形成方法
US20110075257A1 (en) 2009-09-14 2011-03-31 The Arizona Board Of Regents On Behalf Of The University Of Arizona 3-Dimensional electro-optical see-through displays
US8454165B2 (en) 2009-09-16 2013-06-04 Cerebral Assessment Systems, Inc. Method and system for quantitative assessment of visual contrast sensitivity
US8233204B1 (en) 2009-09-30 2012-07-31 Rockwell Collins, Inc. Optical displays
US11320571B2 (en) 2012-11-16 2022-05-03 Rockwell Collins, Inc. Transparent waveguide display providing upper and lower fields of view with uniform light extraction
JP5059079B2 (ja) 2009-10-21 2012-10-24 キヤノン株式会社 積層型回折光学素子および光学系
US20110118556A1 (en) 2009-11-13 2011-05-19 Siegel Peter H Systems and Methods for Diagnostics, Control and Treatment of Neurological Functions and Disorders by Exposure to Electromagnetic Waves
EP2322123A1 (en) 2009-11-13 2011-05-18 Carl Zeiss Surgical GmbH Surgical device
WO2011060525A1 (en) 2009-11-19 2011-05-26 Esight Corporation Image magnification on a head mounted display
EP2329761A1 (en) 2009-12-02 2011-06-08 RetCorr AB An apparatus and method for establishing and/or improving binocular vision
US20110267663A1 (en) 2009-12-21 2011-11-03 Olympus Corporation Holographic image projection method and holographic image projection system
RU2569707C2 (ru) 2010-01-21 2015-11-27 Конинклейке Филипс Электроникс Н.В. Управляющее устройство, переносное устройство и осветительная система для целей фототерапии
US8467133B2 (en) 2010-02-28 2013-06-18 Osterhout Group, Inc. See-through display with an optical assembly including a wedge-shaped illumination system
US20120249797A1 (en) 2010-02-28 2012-10-04 Osterhout Group, Inc. Head-worn adaptive display
US20120206485A1 (en) 2010-02-28 2012-08-16 Osterhout Group, Inc. Ar glasses with event and sensor triggered user movement control of ar eyepiece facilities
US8482859B2 (en) 2010-02-28 2013-07-09 Osterhout Group, Inc. See-through near-eye display glasses wherein image light is transmitted to and reflected from an optically flat film
US20110213664A1 (en) 2010-02-28 2011-09-01 Osterhout Group, Inc. Local advertising content on an interactive head-mounted eyepiece
JP5631776B2 (ja) 2010-03-03 2014-11-26 株式会社東芝 照明装置およびこれを備えた液晶表示装置
WO2011107831A1 (en) 2010-03-04 2011-09-09 Nokia Corporation Optical apparatus and method for expanding an exit pupil
US20140186348A1 (en) 2010-03-10 2014-07-03 Novelmed Therapeutics, Inc. Humanized and chimeric anti-properdin antibodies
US11657606B2 (en) 2010-03-16 2023-05-23 OMNIQ Corp. Dynamic image capture and processing
DE102010012616A1 (de) 2010-03-20 2011-09-22 Carl Zeiss Meditec Ag Ophthalmologische Laser-Behandlungseinrichtung und Betriebsverfahren für eine solche
US8721572B1 (en) 2010-06-10 2014-05-13 Eyedetec Medical, Inc. Systems, devices, kits and methods for therapy of the eye
US8909327B1 (en) 2010-06-23 2014-12-09 Allergan, Inc. Instrument and method for diagnosing dry eye in a patient
US20120019703A1 (en) 2010-07-22 2012-01-26 Thorn Karl Ola Camera system and method of displaying photos
US8743023B2 (en) 2010-07-23 2014-06-03 Biological Illumination, Llc System for generating non-homogenous biologically-adjusted light and associated methods
NL2006747A (en) 2010-07-26 2012-01-30 Asml Netherlands Bv Imprint lithography alignment method and apparatus.
US8376548B2 (en) 2010-09-22 2013-02-19 Vuzix Corporation Near-eye display with on-axis symmetry
US8603014B2 (en) 2010-10-05 2013-12-10 Cerevast Therapeutics, Inc. Hands-free operator-independent transcranial ultrasound apparatus and methods
US8823856B2 (en) 2010-10-12 2014-09-02 Blackberry Limited Convergence feedback indicator, provided when taking a picture in a camera application
GB201017637D0 (en) 2010-10-20 2010-12-01 Univ Dundee Device for monitoring intraocular pressure
US20120147163A1 (en) 2010-11-08 2012-06-14 DAN KAMINSKY HOLDINGS LLC, a corporation of the State of Delaware Methods and systems for creating augmented reality for color blindness
US9292973B2 (en) 2010-11-08 2016-03-22 Microsoft Technology Licensing, Llc Automatic variable virtual focus for augmented reality displays
US9406166B2 (en) 2010-11-08 2016-08-02 Seereal Technologies S.A. Display device, in particular a head-mounted display, based on temporal and spatial multiplexing of hologram tiles
US9304319B2 (en) * 2010-11-18 2016-04-05 Microsoft Technology Licensing, Llc Automatic focus improvement for augmented reality displays
US8591031B2 (en) 2010-11-19 2013-11-26 Ziemer Ophthalmic Systems Ag Device and method for determining the visual field
US8602555B2 (en) 2010-11-22 2013-12-10 The Research Foundation Of State University Of New York Method and system for treating binocular anomalies
US8988463B2 (en) * 2010-12-08 2015-03-24 Microsoft Technology Licensing, Llc Sympathetic optic adaptation for see-through display
NZ706893A (en) 2010-12-24 2017-02-24 Magic Leap Inc An ergonomic head mounted display device and optical system
US10156722B2 (en) 2010-12-24 2018-12-18 Magic Leap, Inc. Methods and systems for displaying stereoscopy with a freeform optical system with addressable focus for virtual and augmented reality
WO2012092584A1 (en) 2010-12-30 2012-07-05 AMO Wavefront Sciences LLC. Improved treatment planning method and system for controlling laser refractive surgery
CA2824148C (en) 2011-01-14 2016-01-05 Jx Nippon Oil & Energy Corporation Method for producing mold for minute pattern transfer, method for producing diffraction grating using the same, and method for producing organic el element including the diffraction grating
US8646917B2 (en) 2011-01-20 2014-02-11 Disney Enterprises, Inc. Three dimensional display with multiplane image display elements
EP2667778B1 (en) 2011-01-28 2021-04-28 Bar Ilan University Method and system for non-invasively monitoring biological or biochemical parameters of individual
US8939579B2 (en) * 2011-01-28 2015-01-27 Light Prescriptions Innovators, Llc Autofocusing eyewear, especially for presbyopia correction
EP3527121B1 (en) 2011-02-09 2023-08-23 Apple Inc. Gesture detection in a 3d mapping environment
WO2012111558A1 (ja) 2011-02-15 2012-08-23 シャープ株式会社 液晶表示装置
EP2923638B1 (en) 2011-03-18 2019-02-20 SensoMotoric Instruments Gesellschaft für innovative Sensorik mbH Optical measuring device and system
US8279544B1 (en) 2011-03-18 2012-10-02 Premier Systems USA, Inc Selectively attachable and removable lenses for communication devices
US9046729B2 (en) 2011-03-24 2015-06-02 The Hong Kong University Of Science And Technology Cholesteric liquid crystal structure
US9033510B2 (en) 2011-03-30 2015-05-19 Carl Zeiss Meditec, Inc. Systems and methods for efficiently obtaining measurements of the human eye using tracking
JP5958027B2 (ja) 2011-03-31 2016-07-27 株式会社ニデック 眼科用レーザ治療装置
US20130245505A1 (en) 2011-04-08 2013-09-19 The Board of Trustees of the Leland Stanford Junior University Noninvasive Ultrasound-Based Retinal Stimulator: Ultrasonic Eye
US9055892B2 (en) 2011-04-27 2015-06-16 Carl Zeiss Meditec, Inc. Systems and methods for improved ophthalmic imaging
CA3035118C (en) 2011-05-06 2022-01-04 Magic Leap, Inc. Massive simultaneous remote digital presence world
US8911087B2 (en) 2011-05-20 2014-12-16 Eyefluence, Inc. Systems and methods for measuring reactions of head, eyes, eyelids and pupils
US8471967B2 (en) 2011-07-15 2013-06-25 Google Inc. Eyepiece for near-to-eye display with multi-reflectors
AU2012284246B2 (en) 2011-07-16 2017-02-23 David M. Devilbiss Systems and methods for the physiological assessment of brain health and the remote quality control of EEG systems
DE102011052002B4 (de) 2011-07-20 2013-04-11 Telesto GmbH Lasertherapiesystem mit UVA- und IR-Laser-Licht zur gerichteten Erzeugung einer dermalen Kollagen-Matrix
US8226228B2 (en) 2011-08-16 2012-07-24 Totada R Shantha Cooling and heating eyeglasses
US8548290B2 (en) 2011-08-23 2013-10-01 Vuzix Corporation Dynamic apertured waveguide for near-eye display
US9462262B1 (en) 2011-08-29 2016-10-04 Amazon Technologies, Inc. Augmented reality environment with environmental condition control
US9013793B2 (en) 2011-09-21 2015-04-21 Google Inc. Lightweight eyepiece for head mounted display
EP2761362A2 (en) * 2011-09-26 2014-08-06 Microsoft Corporation Video display modification based on sensor input for a see-through near-to-eye display
EP2760363A4 (en) 2011-09-29 2015-06-24 Magic Leap Inc TACTILE GLOVE FOR HUMAN COMPUTER INTERACTION
GB201117029D0 (en) 2011-10-04 2011-11-16 Bae Systems Plc Optical waveguide and display device
GB201117480D0 (en) 2011-10-10 2011-11-23 Palikaras George Filter
US8885161B2 (en) 2011-10-12 2014-11-11 Spectroclick, Inc. Energy dispersion device
US9314154B2 (en) 2011-10-17 2016-04-19 The Board Of Trustees Of The Leland Stanford Junior University System and method for providing analysis of visual function using a mobile device with display
CN104010564A (zh) 2011-10-21 2014-08-27 肯特·泰伯 功能性视力测试仪
RU2017115669A (ru) 2011-10-28 2019-01-28 Мэджик Лип, Инк. Система и способ для дополненной и виртуальной реальности
US9170436B2 (en) 2011-10-31 2015-10-27 Hewlett-Packard Development Company, L.P. Luminescent stacked waveguide display
CN104067316B (zh) 2011-11-23 2017-10-27 奇跃公司 三维虚拟和增强现实显示系统
US9459457B2 (en) 2011-12-01 2016-10-04 Seebright Inc. Head mounted display with remote control
US8824779B1 (en) 2011-12-20 2014-09-02 Christopher Charles Smyth Apparatus and method for determining eye gaze from stereo-optic views
US9004683B2 (en) 2011-12-29 2015-04-14 Elwha Llc Optical device with active user-based aberration correction
US9575366B2 (en) 2011-12-29 2017-02-21 The Hong Kong University Of Science And Technology Fast switchable and high diffraction efficiency grating ferroelectric liquid crystal cell
US20130177883A1 (en) 2012-01-11 2013-07-11 Axio, Inc. Systems and Methods for Directing Brain Activity
US9916005B2 (en) 2012-02-06 2018-03-13 Sony Corporation Gaze tracking with projector
US9060718B2 (en) 2012-02-13 2015-06-23 Massachusetts Institute Of Technology Methods and apparatus for retinal imaging
EP3798717B1 (en) 2012-02-16 2023-07-05 University Of Washington Through Its Center For Commercialization Extended depth of focus for high-resolution image scanning
JP5957972B2 (ja) 2012-03-07 2016-07-27 セイコーエプソン株式会社 虚像表示装置
US9125724B2 (en) 2012-03-09 2015-09-08 John Berdahi Intraocular pressure modification
US8970571B1 (en) 2012-03-13 2015-03-03 Google Inc. Apparatus and method for display lighting adjustment
US8848289B2 (en) 2012-03-15 2014-09-30 Google Inc. Near-to-eye display with diffractive lens
US8985803B2 (en) 2012-03-21 2015-03-24 Microsoft Technology Licensing, Llc Freeform-prism eyepiece with illumination waveguide
US9274338B2 (en) 2012-03-21 2016-03-01 Microsoft Technology Licensing, Llc Increasing field of view of reflective waveguide
US8736963B2 (en) 2012-03-21 2014-05-27 Microsoft Corporation Two-dimensional exit-pupil expansion
EP2831497B1 (en) 2012-03-29 2025-05-07 École Polytechnique Fédérale de Lausanne (EPFL) Methods and apparatus for imaging with multimode optical fibers
BR112014024941A2 (pt) 2012-04-05 2017-09-19 Magic Leap Inc dispositivo de imagem de campo de visão amplo com capacidade de focalização ativa
US20130286053A1 (en) 2012-04-25 2013-10-31 Rod G. Fleck Direct view augmented reality eyeglass-type display
US20130285885A1 (en) 2012-04-25 2013-10-31 Andreas G. Nowatzyk Head-mounted light-field display
EP2842003B1 (en) 2012-04-25 2019-02-27 Rockwell Collins, Inc. Holographic wide angle display
US20140046291A1 (en) 2012-04-26 2014-02-13 Evena Medical, Inc. Vein imaging systems and methods
US20140039309A1 (en) 2012-04-26 2014-02-06 Evena Medical, Inc. Vein imaging systems and methods
CN102683803B (zh) 2012-04-28 2015-04-22 深圳光启高等理工研究院 一种基于超材料卫星天线的商业液晶显示屏
WO2013166477A2 (en) 2012-05-04 2013-11-07 Tearscience, Inc. Apparatuses and methods for determining tear film break-up time and/or for detecting lid margin contact and blink rates, particularly for diagnosing, measuring, and/or analyzing dry eye conditions and symptoms
US20130300635A1 (en) 2012-05-09 2013-11-14 Nokia Corporation Method and apparatus for providing focus correction of displayed information
WO2013170091A1 (en) 2012-05-09 2013-11-14 The Schepens Eye Research Institute, Inc. Rapid measurement of visual sensitivity
US9456744B2 (en) 2012-05-11 2016-10-04 Digilens, Inc. Apparatus for eye tracking
US10502876B2 (en) 2012-05-22 2019-12-10 Microsoft Technology Licensing, Llc Waveguide optics focus elements
US20130314765A1 (en) 2012-05-25 2013-11-28 The Trustees Of Boston College Metamaterial Devices with Environmentally Responsive Materials
US8989535B2 (en) 2012-06-04 2015-03-24 Microsoft Technology Licensing, Llc Multiple waveguide imaging structure
AU2013274359B2 (en) 2012-06-11 2017-05-25 Magic Leap, Inc. Multiple depth plane three-dimensional display using a wave guide reflector array projector
US9671566B2 (en) * 2012-06-11 2017-06-06 Magic Leap, Inc. Planar waveguide apparatus with diffraction element(s) and system employing same
US9841537B2 (en) 2012-07-02 2017-12-12 Nvidia Corporation Near-eye microlens array displays
US9320427B2 (en) 2012-07-09 2016-04-26 Arcscan, Inc. Combination optical and ultrasonic imaging of an eye
WO2014015378A1 (en) 2012-07-24 2014-01-30 Nexel Pty Ltd. A mobile computing device, application server, computer readable storage medium and system for calculating a vitality indicia, detecting an environmental hazard, vision assistance and detecting disease
KR102117138B1 (ko) 2012-07-27 2020-06-01 시리얼 테크놀로지즈 에스.에이. 경사 입사각을 위한 편광 격자
US9250445B2 (en) 2012-08-08 2016-02-02 Carol Ann Tosaya Multiple-pixel-beam retinal displays
WO2014031961A1 (en) 2012-08-23 2014-02-27 University Of Washington Through Its Center For Commercialization Methods and systems for determining volumetric properties of a tissue
EP2887913A4 (en) 2012-08-24 2016-04-13 Ic Inside Ltd VISUAL AID PROJECTOR
US10155121B2 (en) 2012-08-25 2018-12-18 National Chiao Tung University Stimuli generating methods, devices and control systems to induce visual evoked potentials using imperceptible flickering multi-color lights
US8911080B2 (en) 2012-08-27 2014-12-16 Johnson & Johnson Vision Care, Inc. Usage compliance indicator for contact lenses
JP2014063151A (ja) 2012-08-29 2014-04-10 Canon Inc 顕微鏡用照明光学系およびこれを用いた顕微鏡
JP2014045868A (ja) 2012-08-30 2014-03-17 Canon Inc インタラクティブ制御装置
US8885997B2 (en) 2012-08-31 2014-11-11 Microsoft Corporation NED polarization system for wavelength pass-through
KR20140030735A (ko) 2012-09-03 2014-03-12 삼성전자주식회사 디스플레이 장치 및 방법
WO2014037036A1 (en) 2012-09-05 2014-03-13 Seereal Technologies S.A. Controllable diffraction device for a light modulator device
JP2015534108A (ja) 2012-09-11 2015-11-26 マジック リープ, インコーポレイテッド 人間工学的な頭部搭載型ディスプレイデバイスおよび光学システム
WO2014043142A1 (en) 2012-09-11 2014-03-20 Augmented Vision, Inc. Compact eye imaging and eye tracking apparatus
DE102012217573A1 (de) 2012-09-27 2014-03-27 Krones Ag Bediensystem für eine Maschine
ES2727498T3 (es) 2012-09-30 2019-10-16 Optica Amuka A A Ltd Lentes con potencia y alineación eléctricamente ajustable
WO2014055600A1 (en) 2012-10-02 2014-04-10 University Hospitals Of Cleveland Apparatus and methods for diagnosis of strabismus
US10025089B2 (en) 2012-10-05 2018-07-17 Microsoft Technology Licensing, Llc Backlight for viewing three-dimensional images from a display from variable viewing angles
US9230062B2 (en) 2012-11-06 2016-01-05 20/20 Vision Center, Llc Systems and methods for enabling customers to obtain vision and eye health examinations
US9933684B2 (en) 2012-11-16 2018-04-03 Rockwell Collins, Inc. Transparent waveguide display providing upper and lower fields of view having a specific light output aperture configuration
US9671538B2 (en) 2012-11-19 2017-06-06 The Arizona Board Of Regents On Behalf Of The University Of Arizona Optical elements comprising cholesteric liquid crystal polymers
EP2929378A1 (en) 2012-12-10 2015-10-14 BAE Systems PLC Display comprising an optical waveguide and switchable diffraction gratings and method of producing the same
US20140194740A1 (en) 2013-01-07 2014-07-10 Cerebrosonics, Llc Emboli detection in the brain using a transcranial doppler photoacoustic device capable of vasculature and perfusion measurement
US9395543B2 (en) 2013-01-12 2016-07-19 Microsoft Technology Licensing, Llc Wearable behavior-based vision system
IL301489B2 (en) 2013-01-15 2024-08-01 Magic Leap Inc A system for scanning electromagnetic imaging radiation
US8873149B2 (en) 2013-01-28 2014-10-28 David D. Bohn Projection optical system for coupling image light to a near-eye display
US20150262424A1 (en) 2013-01-31 2015-09-17 Google Inc. Depth and Focus Discrimination for a Head-mountable device using a Light-Field Display System
KR102067759B1 (ko) 2013-02-15 2020-01-17 삼성전자주식회사 파이버 스캐닝 프로젝터
US20140240842A1 (en) 2013-02-22 2014-08-28 Ian Nguyen Alignment-insensitive image input coupling
KR20230044041A (ko) 2013-03-11 2023-03-31 매직 립, 인코포레이티드 증강 및 가상 현실을 위한 시스템 및 방법
US10772497B2 (en) 2014-09-12 2020-09-15 Envision Diagnostics, Inc. Medical interfaces and other medical devices, systems, and methods for performing eye exams
WO2017048873A1 (en) 2015-09-17 2017-03-23 Envision Diagnostics, Inc. Medical interfaces and other medical devices, systems, and methods for performing eye exams
US9226856B2 (en) 2013-03-14 2016-01-05 Envision Diagnostics, Inc. Inflatable medical interfaces and other medical devices, systems, and methods
US9392129B2 (en) 2013-03-15 2016-07-12 John Castle Simmons Light management for image and data control
CN105142498B (zh) 2013-03-15 2022-10-11 感知技术有限公司 增强光学和感知数字护目镜
WO2014140849A2 (en) 2013-03-15 2014-09-18 Amo Groningen B.V. Wavefront generation for ophthalmic applications
CN105229719B (zh) 2013-03-15 2018-04-27 奇跃公司 显示系统和方法
CN103207458B (zh) 2013-03-25 2015-04-01 李志扬 一种采用平面光波导回路的立体成像方法及装置
KR20150136601A (ko) 2013-03-25 2015-12-07 에꼴 뽈리떼끄닉 뻬데랄 드 로잔느 (으뻬에프엘) 다수의 출사동을 가진 헤드 착용 디스플레이로부터 투영된 이미지를 디스플레이하기 위한 방법
US9411210B2 (en) 2013-03-28 2016-08-09 Panasonic Intellectual Property Management Co., Ltd. Image display device
US10335027B2 (en) 2013-04-10 2019-07-02 Eyenetra, Inc. Methods and apparatus for assessment of refractive condition
US20150018781A1 (en) 2013-04-10 2015-01-15 California Institute Of Technology Systems, devices, and methods for topical drug delivery to the eye
US9304594B2 (en) 2013-04-12 2016-04-05 Microsoft Technology Licensing, Llc Near-plane segmentation using pulsed light source
US10150918B2 (en) 2013-04-15 2018-12-11 Kent State University Patterned liquid crystal alignment using ink-jet printed nanoparticles and use thereof to produce patterned, electro-optically addressable devices; ink-jet printable compositions
US20160106591A1 (en) 2013-04-19 2016-04-21 Nexxtvision Llc Methods for preventing or treating posterior capsular opacification
US9462945B1 (en) 2013-04-22 2016-10-11 VisionQuest Biomedical LLC System and methods for automatic processing of digital retinal images in conjunction with an imaging device
WO2014182769A1 (en) 2013-05-07 2014-11-13 The Johns Hopkins University Automated and non-mydriatic fundus-perimetry camera for irreversible eye diseases
WO2014179857A1 (en) * 2013-05-07 2014-11-13 Ravenni Technology Inc. Autofocus eyeglass system
JP2014224846A (ja) 2013-05-15 2014-12-04 セイコーエプソン株式会社 表示装置
US9519144B2 (en) 2013-05-17 2016-12-13 Nvidia Corporation System, method, and computer program product to produce images for a near-eye light field display having a defect
DE102013105246B4 (de) 2013-05-22 2017-03-23 Leonhard Kurz Stiftung & Co. Kg Optisch variables Element
AU2014274726B2 (en) 2013-06-06 2018-07-19 Tricord Holdings, L.L.C. Modular physiologic monitoring systems, kits, and methods
US10262462B2 (en) 2014-04-18 2019-04-16 Magic Leap, Inc. Systems and methods for augmented and virtual reality
US9874749B2 (en) 2013-11-27 2018-01-23 Magic Leap, Inc. Virtual and augmented reality systems and methods
US9710130B2 (en) 2013-06-12 2017-07-18 Microsoft Technology Licensing, Llc User focus controlled directional user input
GB201310658D0 (en) 2013-06-14 2013-07-31 Adlens Ltd Focal length adjustment
US9498114B2 (en) 2013-06-18 2016-11-22 Avedro, Inc. Systems and methods for determining biomechanical properties of the eye for applying treatment
US10228561B2 (en) 2013-06-25 2019-03-12 Microsoft Technology Licensing, Llc Eye-tracking system using a freeform prism and gaze-detection light
US9664905B2 (en) 2013-06-28 2017-05-30 Microsoft Technology Licensing, Llc Display efficiency optimization by color filtering
US10533850B2 (en) 2013-07-12 2020-01-14 Magic Leap, Inc. Method and system for inserting recognized object data into a virtual world
JP5693803B1 (ja) 2013-07-26 2015-04-01 シチズンホールディングス株式会社 光源装置および投影装置
US9001316B2 (en) 2013-07-29 2015-04-07 Bausch & Lomb Incorporated Use of an optical system simulating behavior of human eye to generate retinal images and an image quality metric to evaluate same
US10345903B2 (en) 2013-07-30 2019-07-09 Microsoft Technology Licensing, Llc Feedback for optic positioning in display devices
KR102089661B1 (ko) 2013-08-27 2020-03-17 삼성전자주식회사 와이어 그리드 편광판 및 이를 구비하는 액정 표시패널 및 액정 표시장치
EP3042249B1 (en) 2013-09-04 2020-03-18 Essilor International Methods and systems for augmented reality
US10095833B2 (en) 2013-09-22 2018-10-09 Ricoh Co., Ltd. Mobile information gateway for use by medical personnel
TWI549649B (zh) 2013-09-24 2016-09-21 廣達電腦股份有限公司 頭戴式系統
EP3058418B1 (en) 2013-10-16 2023-10-04 Magic Leap, Inc. Virtual or augmented reality headsets having adjustable interpupillary distance
US20150257735A1 (en) 2013-10-24 2015-09-17 Evena Medical, Inc. Systems and methods for displaying medical images
KR102651578B1 (ko) 2013-11-27 2024-03-25 매직 립, 인코포레이티드 가상 및 증강 현실 시스템들 및 방법들
KR102067229B1 (ko) 2013-11-27 2020-02-12 엘지디스플레이 주식회사 액정표시장치 및 그 제조방법
US9857591B2 (en) 2014-05-30 2018-01-02 Magic Leap, Inc. Methods and system for creating focal planes in virtual and augmented reality
WO2015091277A1 (en) 2013-12-19 2015-06-25 Bae Systems Plc Improvements in and relating to waveguides
US9392153B2 (en) 2013-12-24 2016-07-12 Lytro, Inc. Plenoptic camera resolution
US9459451B2 (en) * 2013-12-26 2016-10-04 Microsoft Technology Licensing, Llc Eye tracking apparatus, method and system
US9872606B2 (en) 2013-12-27 2018-01-23 University Of Washington Through Its Center For Commercialization Adaptive control of a fiber scanner with piezoelectric sensing
US9465237B2 (en) * 2013-12-27 2016-10-11 Intel Corporation Automatic focus prescription lens eyeglasses
US10986997B2 (en) 2013-12-31 2021-04-27 Memorial Sloan Kettering Cancer Center Systems, methods, and apparatus for multichannel imaging of fluorescent sources in real time
US9836122B2 (en) 2014-01-21 2017-12-05 Osterhout Group, Inc. Eye glint imaging in see-through computer display systems
NZ722903A (en) 2014-01-31 2020-05-29 Magic Leap Inc Multi-focal display system and method
KR102177133B1 (ko) 2014-01-31 2020-11-10 매직 립, 인코포레이티드 멀티-포컬 디스플레이 시스템 및 방법
US20150234188A1 (en) 2014-02-18 2015-08-20 Aliphcom Control of adaptive optics
KR102539365B1 (ko) 2014-03-05 2023-06-01 아리조나 보드 오브 리전츠 온 비해프 오브 더 유니버시티 오브 아리조나 가변 초점 및/또는 객체 인식 기능을 가진 웨어러블 3d 증강 현실 디스플레이
US10203762B2 (en) 2014-03-11 2019-02-12 Magic Leap, Inc. Methods and systems for creating virtual and augmented reality
EP3552594A1 (en) 2014-03-19 2019-10-16 Copa Animal Health LLC Sensory stimulation or monitoring apparatus for the back of neck
US9939628B2 (en) 2014-03-20 2018-04-10 CSEM Centre Suisse d'Electronique et de Microtechnique SA—Recherche et Développement Imaging system
US9971153B2 (en) 2014-03-29 2018-05-15 Frimory Technologies Ltd. Method and apparatus for displaying video data
US20150313949A1 (en) 2014-05-02 2015-11-05 Infinity Health Advisors, LLC Method for Metabolic Correction
EP3140779A4 (en) 2014-05-09 2017-11-29 Google LLC Systems and methods for using eye signals with secure mobile communications
NZ764905A (en) 2014-05-30 2022-05-27 Magic Leap Inc Methods and systems for generating virtual content display with a virtual or augmented reality apparatus
US9507066B2 (en) 2014-06-30 2016-11-29 Microsoft Technology Licensing, Llc Eyepiece for near eye display system
CN104090372B (zh) 2014-07-11 2017-04-05 北京理工大学 基于衍射光学元件的波导式集成成像三维显示系统
US9411105B2 (en) 2014-07-14 2016-08-09 Cisco Technology, Inc. Multi-axis graded-index photonic coupling
US9724239B2 (en) 2014-07-14 2017-08-08 Novartis Ag Movable wide-angle ophthalmic surgical system
JP6726110B2 (ja) 2014-07-31 2020-07-22 イマジンオプティクス・コーポレイション 光学素子、及び回折光学素子
US10746994B2 (en) 2014-08-07 2020-08-18 Microsoft Technology Licensing, Llc Spherical mirror having a decoupled aspheric
KR20170041844A (ko) 2014-08-13 2017-04-17 쓰리엠 이노베이티브 프로퍼티즈 컴파니 머리-장착형 디스플레이 시스템 및 구성요소
KR102213662B1 (ko) 2014-08-22 2021-02-08 삼성전자주식회사 음향광학 소자 어레이
US20160067087A1 (en) 2014-09-09 2016-03-10 LumiThera, Inc. Wearable devices and methods for multi-wavelength photobiomodulation for ocular treatments
US20160077338A1 (en) 2014-09-16 2016-03-17 Steven John Robbins Compact Projection Light Engine For A Diffractive Waveguide Display
US9494799B2 (en) 2014-09-24 2016-11-15 Microsoft Technology Licensing, Llc Waveguide eye tracking employing switchable diffraction gratings
JP6456085B2 (ja) 2014-09-25 2019-01-23 キヤノン株式会社 形状可変鏡システム、その制御方法および眼科装置
AU2015323940B2 (en) 2014-09-29 2021-05-20 Magic Leap, Inc. Architectures and methods for outputting different wavelength light out of waveguides
US20160097930A1 (en) 2014-10-06 2016-04-07 Steven John Robbins Microdisplay optical system having two microlens arrays
US9443488B2 (en) 2014-10-14 2016-09-13 Digital Vision Enhancement Inc Image transforming vision enhancement device
EP3212073A4 (en) 2014-11-02 2018-05-16 Ngoggle Inc. Smart audio headphone system
US9804669B2 (en) 2014-11-07 2017-10-31 Eye Labs, Inc. High resolution perception of content in a wide field of view of a head-mounted display
WO2016082031A1 (en) 2014-11-24 2016-06-02 Lensvector Inc. Liquid crystal beam control device with improved zone transition and method of manufacture thereof
US9493112B2 (en) 2014-12-08 2016-11-15 The Boeing Company Ambient lighting system to mitigate the impact of travel across time zones
US10571696B2 (en) 2014-12-26 2020-02-25 Cy Vision Inc. Near-to-eye display device
US10437064B2 (en) 2015-01-12 2019-10-08 Digilens Inc. Environmentally isolated waveguide display
EP3245551B1 (en) 2015-01-12 2019-09-18 DigiLens Inc. Waveguide light field displays
US9439044B2 (en) 2015-01-14 2016-09-06 Tektronix Texas, Llc Mechanism for determining location history via multiple historical predictors
EP3062142B1 (en) 2015-02-26 2018-10-03 Nokia Technologies OY Apparatus for a near-eye display
WO2016141157A1 (en) 2015-03-03 2016-09-09 Co-Optical Non-invasive bioelectric lifestyle management device
NZ773822A (en) 2015-03-16 2022-07-29 Magic Leap Inc Methods and systems for diagnosing and treating health ailments
US9955862B2 (en) 2015-03-17 2018-05-01 Raytrx, Llc System, method, and non-transitory computer-readable storage media related to correction of vision defects using a visual display
US10591869B2 (en) 2015-03-24 2020-03-17 Light Field Lab, Inc. Tileable, coplanar, flat-panel 3-D display with tactile and audio interfaces
EP3278169B1 (en) 2015-04-02 2022-05-04 University of Rochester Freeform nanostructured surface for virtual and augmented reality near eye display
US10251544B2 (en) 2015-05-07 2019-04-09 Kali Care, Inc. Head-mounted display for performing ophthalmic examinations
WO2016182974A1 (en) 2015-05-08 2016-11-17 Ngoggle Head-mounted display eeg device
USD758367S1 (en) 2015-05-14 2016-06-07 Magic Leap, Inc. Virtual reality headset
IL256276B (en) 2015-06-15 2022-09-01 Magic Leap Inc Display system with optical components for coupling multiple light streams
KR102390375B1 (ko) 2015-08-26 2022-04-25 삼성전자주식회사 백라이트 유닛 및 이를 포함한 입체 영상 표시 장치
US9557568B1 (en) 2015-09-03 2017-01-31 3M Innovative Properties Company Head-mounted display
CN108351527B (zh) 2015-09-23 2024-06-18 奇跃公司 采用离轴成像器的眼睛成像
US10195076B2 (en) 2015-10-23 2019-02-05 Eye Labs, LLC Head-mounted device providing diagnosis and treatment and multisensory experience
WO2017079329A1 (en) 2015-11-04 2017-05-11 Magic Leap, Inc. Dynamic display calibration based on eye-tracking
KR102404944B1 (ko) 2015-11-06 2022-06-08 삼성디스플레이 주식회사 표시 기판 및 이를 포함하는 액정 표시 장치
DE102015122055B4 (de) 2015-12-17 2018-08-30 Carl Zeiss Ag Optisches System sowie Verfahren zum Übertragen eines Quellbildes
USD805734S1 (en) 2016-03-04 2017-12-26 Nike, Inc. Shirt
USD794288S1 (en) 2016-03-11 2017-08-15 Nike, Inc. Shoe with illuminable sole light sequence
EP3440497B1 (en) 2016-04-08 2023-08-16 Magic Leap, Inc. Augmented reality systems and methods with variable focus lens elements
US20170373459A1 (en) 2016-06-27 2017-12-28 University Of Central Florida Research Foundation, Inc. Volume polarization grating, methods of making, and applications
JP2018004950A (ja) 2016-07-01 2018-01-11 フォーブ インコーポレーテッド 映像表示システム、映像表示方法、映像表示プログラム
CN105911697B (zh) 2016-07-05 2018-07-13 苏州市齐科光学科技有限公司 基于Pancharatnam-Berry相位液晶透镜的智能眼镜
KR102723374B1 (ko) 2016-07-25 2024-10-29 매직 립, 인코포레이티드 광 필드 프로세서 시스템
US10551622B2 (en) 2016-10-26 2020-02-04 Microsoft Technology Licensing, Llc Field of view tiling in waveguide-based near-eye displays
CA3042554C (en) 2016-11-16 2023-07-18 Magic Leap, Inc. Multi-resolution display assembly for head-mounted display systems
US11067860B2 (en) 2016-11-18 2021-07-20 Magic Leap, Inc. Liquid crystal diffractive devices with nano-scale pattern and methods of manufacturing the same
IL312713A (en) 2016-11-18 2024-07-01 Magic Leap Inc Waveguide light multiplexer using crossed gratings
KR102506485B1 (ko) 2016-11-18 2023-03-03 매직 립, 인코포레이티드 넓은 입사 각도 범위들의 광을 방향전환시키기 위한 다중층 액정 회절 격자들
KR102533671B1 (ko) 2016-11-18 2023-05-16 매직 립, 인코포레이티드 공간 가변적 액정 회절 격자들
IL304304B2 (en) 2016-12-08 2024-08-01 Magic Leap Inc Diffractive devices based on cholesteric liquid crystal
KR102550742B1 (ko) 2016-12-14 2023-06-30 매직 립, 인코포레이티드 표면 정렬 패턴들의 소프트-임프린트 복제를 이용한 액정들의 패터닝
WO2018123832A1 (ja) 2016-12-27 2018-07-05 富士フイルム株式会社 光学フィルムおよびその製造方法
US10746999B2 (en) 2016-12-28 2020-08-18 Magic Leap, Inc. Dual depth exit pupil expander
US10545346B2 (en) 2017-01-05 2020-01-28 Digilens Inc. Wearable heads up displays
WO2018140502A1 (en) 2017-01-27 2018-08-02 Magic Leap, Inc. Antireflection coatings for metasurfaces
US11243450B2 (en) 2017-01-30 2022-02-08 The Charles Stark Draper Laboratory, Inc. Saw modulator having optical power component for extended angular redirection of light
IL307602A (en) 2017-02-23 2023-12-01 Magic Leap Inc Variable focus virtual imagers based on polarization conversion
CN115576048A (zh) 2017-03-21 2023-01-06 奇跃公司 用于组合视场的具有不同衍射光栅的堆叠波导
IL269317B2 (en) 2017-03-21 2023-11-01 Magic Leap Inc An eye imaging device that uses optical refractive elements
EP3685215B1 (en) 2017-09-21 2024-01-03 Magic Leap, Inc. Augmented reality display with waveguide configured to capture images of eye and/or environment
US10816804B2 (en) 2018-08-31 2020-10-27 Google Llc Near-eye display system with polarization-based optical path folding and variable focus catadioptric lens assembly
EP3857294A4 (en) 2018-09-26 2022-06-08 Magic Leap, Inc. DIFFRACTIVE OPTICAL ELEMENTS WITH OPTICAL PERFORMANCE

Cited By (4)

* Cited by examiner, † Cited by third party
Publication number Priority date Publication date Assignee Title
JP2021182148A (ja) * 2016-04-08 2021-11-25 マジック リープ, インコーポレイテッドMagic Leap, Inc. 可変焦点レンズ要素を用いた拡張現実システムおよび方法
JP7171849B2 (ja) 2016-04-08 2022-11-15 マジック リープ, インコーポレイテッド 可変焦点レンズ要素を用いた拡張現実システムおよび方法
JP2023014089A (ja) * 2016-04-08 2023-01-26 マジック リープ, インコーポレイテッド 可変焦点レンズ要素を用いた拡張現実システムおよび方法
JP7402960B2 (ja) 2016-04-08 2023-12-21 マジック リープ, インコーポレイテッド 可変焦点レンズ要素を用いた拡張現実システムおよび方法

Also Published As

Publication number Publication date
KR20180124147A (ko) 2018-11-20
IL299497A (en) 2023-02-01
WO2017176898A1 (en) 2017-10-12
EP3440497A1 (en) 2019-02-13
IL299497B2 (en) 2024-02-01
KR20250054839A (ko) 2025-04-23
KR102798670B1 (ko) 2025-04-21
JP2021182148A (ja) 2021-11-25
IL262132B2 (en) 2023-06-01
NZ747005A (en) 2020-04-24
AU2017246901B2 (en) 2022-06-02
JP2019514055A (ja) 2019-05-30
JP7171849B2 (ja) 2022-11-15
JP7402960B2 (ja) 2023-12-21
KR20220040511A (ko) 2022-03-30
EP4273615B1 (en) 2025-11-12
EP4273615A2 (en) 2023-11-08
AU2022218527A1 (en) 2022-09-08
EP3440497A4 (en) 2019-12-11
CA3019946A1 (en) 2017-10-12
KR20230084603A (ko) 2023-06-13
AU2017246901A1 (en) 2018-10-25
CN109313341A (zh) 2019-02-05
IL262132A (en) 2018-11-29
EP3440497B1 (en) 2023-08-16
KR102379691B1 (ko) 2022-03-25
US11614626B2 (en) 2023-03-28
US20170293145A1 (en) 2017-10-12
CN109313341B (zh) 2021-11-02
JP2023014089A (ja) 2023-01-26
US20210389593A1 (en) 2021-12-16
KR102884587B1 (ko) 2025-11-11
US10459231B2 (en) 2019-10-29
CN114236812A (zh) 2022-03-25
EP4273615A3 (en) 2024-01-17
IL299497B1 (en) 2023-10-01
AU2022218527B2 (en) 2023-08-10
US11106041B2 (en) 2021-08-31
CA3019946C (en) 2023-02-28
US20200057309A1 (en) 2020-02-20

Similar Documents

Publication Publication Date Title
JP7402960B2 (ja) 可変焦点レンズ要素を用いた拡張現実システムおよび方法
JP7273940B2 (ja) 深度平面間の低減された切り替えを伴う多深度平面ディスプレイシステム
US11138793B2 (en) Multi-depth plane display system with reduced switching between depth planes

Legal Events

Date Code Title Description
A521 Request for written amendment filed

Free format text: JAPANESE INTERMEDIATE CODE: A523

Effective date: 20200402

A621 Written request for application examination

Free format text: JAPANESE INTERMEDIATE CODE: A621

Effective date: 20200402

A977 Report on retrieval

Free format text: JAPANESE INTERMEDIATE CODE: A971007

Effective date: 20210224

A131 Notification of reasons for refusal

Free format text: JAPANESE INTERMEDIATE CODE: A131

Effective date: 20210303

A521 Request for written amendment filed

Free format text: JAPANESE INTERMEDIATE CODE: A523

Effective date: 20210602

TRDD Decision of grant or rejection written
A01 Written decision to grant a patent or to grant a registration (utility model)

Free format text: JAPANESE INTERMEDIATE CODE: A01

Effective date: 20210629

A61 First payment of annual fees (during grant procedure)

Free format text: JAPANESE INTERMEDIATE CODE: A61

Effective date: 20210729

R150 Certificate of patent or registration of utility model

Ref document number: 6923552

Country of ref document: JP

Free format text: JAPANESE INTERMEDIATE CODE: R150

R250 Receipt of annual fees

Free format text: JAPANESE INTERMEDIATE CODE: R250

R250 Receipt of annual fees

Free format text: JAPANESE INTERMEDIATE CODE: R250