JP5259702B2 - 塩を含有する水性組成物、製造方法および使用 - Google Patents
塩を含有する水性組成物、製造方法および使用 Download PDFInfo
- Publication number
- JP5259702B2 JP5259702B2 JP2010511619A JP2010511619A JP5259702B2 JP 5259702 B2 JP5259702 B2 JP 5259702B2 JP 2010511619 A JP2010511619 A JP 2010511619A JP 2010511619 A JP2010511619 A JP 2010511619A JP 5259702 B2 JP5259702 B2 JP 5259702B2
- Authority
- JP
- Japan
- Prior art keywords
- aqueous composition
- acid
- fraction
- less
- chlorine
- Prior art date
- Legal status (The legal status is an assumption and is not a legal conclusion. Google has not performed a legal analysis and makes no representation as to the accuracy of the status listed.)
- Expired - Fee Related
Links
- 239000000203 mixture Substances 0.000 title claims description 221
- 238000000034 method Methods 0.000 title claims description 125
- 230000008569 process Effects 0.000 title claims description 106
- 150000003839 salts Chemical class 0.000 title claims description 79
- 239000000460 chlorine Substances 0.000 claims description 74
- HEMHJVSKTPXQMS-UHFFFAOYSA-M Sodium hydroxide Chemical compound [OH-].[Na+] HEMHJVSKTPXQMS-UHFFFAOYSA-M 0.000 claims description 72
- ZAMOUSCENKQFHK-UHFFFAOYSA-N Chlorine atom Chemical compound [Cl] ZAMOUSCENKQFHK-UHFFFAOYSA-N 0.000 claims description 67
- 238000005868 electrolysis reaction Methods 0.000 claims description 67
- 229910052801 chlorine Inorganic materials 0.000 claims description 63
- 239000007788 liquid Substances 0.000 claims description 57
- 238000011282 treatment Methods 0.000 claims description 49
- FAPWRFPIFSIZLT-UHFFFAOYSA-M Sodium chloride Chemical group [Na+].[Cl-] FAPWRFPIFSIZLT-UHFFFAOYSA-M 0.000 claims description 43
- OKTJSMMVPCPJKN-UHFFFAOYSA-N Carbon Chemical compound [C] OKTJSMMVPCPJKN-UHFFFAOYSA-N 0.000 claims description 42
- PEDCQBHIVMGVHV-UHFFFAOYSA-N Glycerine Chemical compound OCC(O)CO PEDCQBHIVMGVHV-UHFFFAOYSA-N 0.000 claims description 41
- 238000006243 chemical reaction Methods 0.000 claims description 40
- 238000007254 oxidation reaction Methods 0.000 claims description 38
- XEPXTKKIWBPAEG-UHFFFAOYSA-N 1,1-dichloropropan-1-ol Chemical compound CCC(O)(Cl)Cl XEPXTKKIWBPAEG-UHFFFAOYSA-N 0.000 claims description 36
- 230000003647 oxidation Effects 0.000 claims description 34
- -1 C 9 H 10 O 2 Chemical compound 0.000 claims description 33
- VEXZGXHMUGYJMC-UHFFFAOYSA-N Hydrochloric acid Chemical compound Cl VEXZGXHMUGYJMC-UHFFFAOYSA-N 0.000 claims description 33
- BRLQWZUYTZBJKN-UHFFFAOYSA-N Epichlorohydrin Chemical compound ClCC1CO1 BRLQWZUYTZBJKN-UHFFFAOYSA-N 0.000 claims description 32
- 238000000605 extraction Methods 0.000 claims description 32
- 229910052799 carbon Inorganic materials 0.000 claims description 31
- 239000012528 membrane Substances 0.000 claims description 28
- DEWLEGDTCGBNGU-UHFFFAOYSA-N 1,3-dichloropropan-2-ol Chemical compound ClCC(O)CCl DEWLEGDTCGBNGU-UHFFFAOYSA-N 0.000 claims description 27
- QTBSBXVTEAMEQO-UHFFFAOYSA-N Acetic acid Chemical compound CC(O)=O QTBSBXVTEAMEQO-UHFFFAOYSA-N 0.000 claims description 27
- 238000004519 manufacturing process Methods 0.000 claims description 25
- 150000002894 organic compounds Chemical class 0.000 claims description 25
- 150000001875 compounds Chemical class 0.000 claims description 24
- 150000007514 bases Chemical class 0.000 claims description 23
- 239000011780 sodium chloride Substances 0.000 claims description 23
- 150000001732 carboxylic acid derivatives Chemical class 0.000 claims description 22
- 239000001257 hydrogen Substances 0.000 claims description 21
- 229910052739 hydrogen Inorganic materials 0.000 claims description 21
- IXCSERBJSXMMFS-UHFFFAOYSA-N hydrogen chloride Substances Cl.Cl IXCSERBJSXMMFS-UHFFFAOYSA-N 0.000 claims description 21
- 229910000041 hydrogen chloride Inorganic materials 0.000 claims description 21
- 239000000376 reactant Substances 0.000 claims description 19
- 239000000126 substance Substances 0.000 claims description 19
- ZXCYIJGIGSDJQQ-UHFFFAOYSA-N 2,3-dichloropropan-1-ol Chemical compound OCC(Cl)CCl ZXCYIJGIGSDJQQ-UHFFFAOYSA-N 0.000 claims description 18
- UFHFLCQGNIYNRP-UHFFFAOYSA-N Hydrogen Chemical compound [H][H] UFHFLCQGNIYNRP-UHFFFAOYSA-N 0.000 claims description 18
- PXHVJJICTQNCMI-UHFFFAOYSA-N Nickel Chemical compound [Ni] PXHVJJICTQNCMI-UHFFFAOYSA-N 0.000 claims description 18
- 238000004821 distillation Methods 0.000 claims description 18
- 239000007800 oxidant agent Substances 0.000 claims description 18
- 238000001556 precipitation Methods 0.000 claims description 18
- BDAGIHXWWSANSR-UHFFFAOYSA-N methanoic acid Natural products OC=O BDAGIHXWWSANSR-UHFFFAOYSA-N 0.000 claims description 17
- 239000012429 reaction media Substances 0.000 claims description 17
- 238000001179 sorption measurement Methods 0.000 claims description 16
- 229940051269 1,3-dichloro-2-propanol Drugs 0.000 claims description 15
- 238000001704 evaporation Methods 0.000 claims description 14
- 230000008020 evaporation Effects 0.000 claims description 14
- QSHDDOUJBYECFT-UHFFFAOYSA-N mercury Chemical compound [Hg] QSHDDOUJBYECFT-UHFFFAOYSA-N 0.000 claims description 14
- 229910052753 mercury Inorganic materials 0.000 claims description 14
- 229910052751 metal Inorganic materials 0.000 claims description 14
- 239000002184 metal Substances 0.000 claims description 14
- SSZWWUDQMAHNAQ-UHFFFAOYSA-N 3-chloropropane-1,2-diol Chemical compound OCC(O)CCl SSZWWUDQMAHNAQ-UHFFFAOYSA-N 0.000 claims description 13
- XUIMIQQOPSSXEZ-UHFFFAOYSA-N Silicon Chemical compound [Si] XUIMIQQOPSSXEZ-UHFFFAOYSA-N 0.000 claims description 13
- 239000010703 silicon Substances 0.000 claims description 13
- 229910052710 silicon Inorganic materials 0.000 claims description 13
- VYPSYNLAJGMNEJ-UHFFFAOYSA-N Silicium dioxide Chemical compound O=[Si]=O VYPSYNLAJGMNEJ-UHFFFAOYSA-N 0.000 claims description 11
- HGINCPLSRVDWNT-UHFFFAOYSA-N Acrolein Chemical compound C=CC=O HGINCPLSRVDWNT-UHFFFAOYSA-N 0.000 claims description 10
- 239000000463 material Substances 0.000 claims description 10
- 230000001590 oxidative effect Effects 0.000 claims description 10
- 238000004064 recycling Methods 0.000 claims description 10
- CSCPPACGZOOCGX-UHFFFAOYSA-N Acetone Chemical compound CC(C)=O CSCPPACGZOOCGX-UHFFFAOYSA-N 0.000 claims description 9
- AEMRFAOFKBGASW-UHFFFAOYSA-N Glycolic acid Chemical compound OCC(O)=O AEMRFAOFKBGASW-UHFFFAOYSA-N 0.000 claims description 9
- MUBZPKHOEPUJKR-UHFFFAOYSA-N Oxalic acid Chemical compound OC(=O)C(O)=O MUBZPKHOEPUJKR-UHFFFAOYSA-N 0.000 claims description 9
- 235000011054 acetic acid Nutrition 0.000 claims description 9
- ZTQSAGDEMFDKMZ-UHFFFAOYSA-N butyric aldehyde Natural products CCCC=O ZTQSAGDEMFDKMZ-UHFFFAOYSA-N 0.000 claims description 9
- XLSMFKSTNGKWQX-UHFFFAOYSA-N hydroxyacetone Chemical compound CC(=O)CO XLSMFKSTNGKWQX-UHFFFAOYSA-N 0.000 claims description 9
- 229910052759 nickel Inorganic materials 0.000 claims description 9
- CFXQEHVMCRXUSD-UHFFFAOYSA-N 1,2,3-Trichloropropane Chemical compound ClCC(Cl)CCl CFXQEHVMCRXUSD-UHFFFAOYSA-N 0.000 claims description 8
- WSLDOOZREJYCGB-UHFFFAOYSA-N 1,2-Dichloroethane Chemical compound ClCCCl WSLDOOZREJYCGB-UHFFFAOYSA-N 0.000 claims description 8
- OSWFIVFLDKOXQC-UHFFFAOYSA-N 4-(3-methoxyphenyl)aniline Chemical compound COC1=CC=CC(C=2C=CC(N)=CC=2)=C1 OSWFIVFLDKOXQC-UHFFFAOYSA-N 0.000 claims description 8
- CTKINSOISVBQLD-UHFFFAOYSA-N Glycidol Chemical compound OCC1CO1 CTKINSOISVBQLD-UHFFFAOYSA-N 0.000 claims description 8
- XEEYBQQBJWHFJM-UHFFFAOYSA-N Iron Chemical compound [Fe] XEEYBQQBJWHFJM-UHFFFAOYSA-N 0.000 claims description 8
- KFZMGEQAYNKOFK-UHFFFAOYSA-N Isopropanol Chemical compound CC(C)O KFZMGEQAYNKOFK-UHFFFAOYSA-N 0.000 claims description 8
- YGYAWVDWMABLBF-UHFFFAOYSA-N Phosgene Chemical compound ClC(Cl)=O YGYAWVDWMABLBF-UHFFFAOYSA-N 0.000 claims description 8
- 239000003513 alkali Substances 0.000 claims description 8
- 235000019253 formic acid Nutrition 0.000 claims description 8
- VNWKTOKETHGBQD-UHFFFAOYSA-N methane Chemical compound C VNWKTOKETHGBQD-UHFFFAOYSA-N 0.000 claims description 8
- VXEGSRKPIUDPQT-UHFFFAOYSA-N 4-[4-(4-methoxyphenyl)piperazin-1-yl]aniline Chemical compound C1=CC(OC)=CC=C1N1CCN(C=2C=CC(N)=CC=2)CC1 VXEGSRKPIUDPQT-UHFFFAOYSA-N 0.000 claims description 7
- 229910019142 PO4 Inorganic materials 0.000 claims description 7
- NBIIXXVUZAFLBC-UHFFFAOYSA-N Phosphoric acid Chemical class OP(O)(O)=O NBIIXXVUZAFLBC-UHFFFAOYSA-N 0.000 claims description 7
- WNLRTRBMVRJNCN-UHFFFAOYSA-N adipic acid Chemical compound OC(=O)CCCCC(O)=O WNLRTRBMVRJNCN-UHFFFAOYSA-N 0.000 claims description 7
- 235000021317 phosphate Nutrition 0.000 claims description 7
- 239000005049 silicon tetrachloride Substances 0.000 claims description 7
- BVKZGUZCCUSVTD-UHFFFAOYSA-M Bicarbonate Chemical class OC([O-])=O BVKZGUZCCUSVTD-UHFFFAOYSA-M 0.000 claims description 6
- NBBJYMSMWIIQGU-UHFFFAOYSA-N Propionic aldehyde Chemical compound CCC=O NBBJYMSMWIIQGU-UHFFFAOYSA-N 0.000 claims description 6
- 125000004432 carbon atom Chemical group C* 0.000 claims description 6
- BGTOWKSIORTVQH-UHFFFAOYSA-N cyclopentanone Chemical compound O=C1CCCC1 BGTOWKSIORTVQH-UHFFFAOYSA-N 0.000 claims description 6
- XBDQKXXYIPTUBI-UHFFFAOYSA-N dimethylselenoniopropionate Natural products CCC(O)=O XBDQKXXYIPTUBI-UHFFFAOYSA-N 0.000 claims description 6
- 150000004679 hydroxides Chemical class 0.000 claims description 6
- 238000012545 processing Methods 0.000 claims description 6
- HJGHXDNIPAWLLE-OWOJBTEDSA-N trans-3-chloroprop-2-en-1-ol Chemical compound OC\C=C\Cl HJGHXDNIPAWLLE-OWOJBTEDSA-N 0.000 claims description 6
- UGFAIRIUMAVXCW-UHFFFAOYSA-N Carbon monoxide Chemical compound [O+]#[C-] UGFAIRIUMAVXCW-UHFFFAOYSA-N 0.000 claims description 5
- 229910000831 Steel Inorganic materials 0.000 claims description 5
- 150000001412 amines Chemical class 0.000 claims description 5
- 150000001642 boronic acid derivatives Chemical class 0.000 claims description 5
- 150000004649 carbonic acid derivatives Chemical class 0.000 claims description 5
- 150000008280 chlorinated hydrocarbons Chemical class 0.000 claims description 5
- 238000005660 chlorination reaction Methods 0.000 claims description 5
- 150000003013 phosphoric acid derivatives Chemical class 0.000 claims description 5
- 239000000377 silicon dioxide Substances 0.000 claims description 5
- 239000010959 steel Substances 0.000 claims description 5
- OSCXYTRISGREIM-UHFFFAOYSA-N 2-chloroprop-2-en-1-ol Chemical compound OCC(Cl)=C OSCXYTRISGREIM-UHFFFAOYSA-N 0.000 claims description 4
- DYPJJAAKPQKWTM-UHFFFAOYSA-N 2-chloropropane-1,3-diol Chemical compound OCC(Cl)CO DYPJJAAKPQKWTM-UHFFFAOYSA-N 0.000 claims description 4
- LCTONWCANYUPML-UHFFFAOYSA-N Pyruvic acid Chemical compound CC(=O)C(O)=O LCTONWCANYUPML-UHFFFAOYSA-N 0.000 claims description 4
- RTAQQCXQSZGOHL-UHFFFAOYSA-N Titanium Chemical compound [Ti] RTAQQCXQSZGOHL-UHFFFAOYSA-N 0.000 claims description 4
- 239000001361 adipic acid Substances 0.000 claims description 4
- 235000011037 adipic acid Nutrition 0.000 claims description 4
- 229910052782 aluminium Inorganic materials 0.000 claims description 4
- XAGFODPZIPBFFR-UHFFFAOYSA-N aluminium Chemical compound [Al] XAGFODPZIPBFFR-UHFFFAOYSA-N 0.000 claims description 4
- 229910052788 barium Inorganic materials 0.000 claims description 4
- DSAJWYNOEDNPEQ-UHFFFAOYSA-N barium atom Chemical compound [Ba] DSAJWYNOEDNPEQ-UHFFFAOYSA-N 0.000 claims description 4
- 229910002091 carbon monoxide Inorganic materials 0.000 claims description 4
- 239000010941 cobalt Substances 0.000 claims description 4
- 229910017052 cobalt Inorganic materials 0.000 claims description 4
- GUTLYIVDDKVIGB-UHFFFAOYSA-N cobalt atom Chemical compound [Co] GUTLYIVDDKVIGB-UHFFFAOYSA-N 0.000 claims description 4
- 210000003298 dental enamel Anatomy 0.000 claims description 4
- JXTHNDFMNIQAHM-UHFFFAOYSA-N dichloroacetic acid Chemical compound OC(=O)C(Cl)Cl JXTHNDFMNIQAHM-UHFFFAOYSA-N 0.000 claims description 4
- 229910052742 iron Inorganic materials 0.000 claims description 4
- JVTAAEKCZFNVCJ-UHFFFAOYSA-N lactic acid Chemical compound CC(O)C(O)=O JVTAAEKCZFNVCJ-UHFFFAOYSA-N 0.000 claims description 4
- 239000011133 lead Substances 0.000 claims description 4
- 229920001343 polytetrafluoroethylene Polymers 0.000 claims description 4
- 239000004810 polytetrafluoroethylene Substances 0.000 claims description 4
- QQONPFPTGQHPMA-UHFFFAOYSA-N propylene Natural products CC=C QQONPFPTGQHPMA-UHFFFAOYSA-N 0.000 claims description 4
- 125000004805 propylene group Chemical group [H]C([H])([H])C([H])([*:1])C([H])([H])[*:2] 0.000 claims description 4
- 230000009467 reduction Effects 0.000 claims description 4
- 238000006722 reduction reaction Methods 0.000 claims description 4
- 229910052712 strontium Inorganic materials 0.000 claims description 4
- CIOAGBVUUVVLOB-UHFFFAOYSA-N strontium atom Chemical compound [Sr] CIOAGBVUUVVLOB-UHFFFAOYSA-N 0.000 claims description 4
- 239000010936 titanium Substances 0.000 claims description 4
- 229910052719 titanium Inorganic materials 0.000 claims description 4
- FOLYKNXDLNPWGC-UHFFFAOYSA-N 1-chloro-3-methoxypropan-2-ol Chemical compound COCC(O)CCl FOLYKNXDLNPWGC-UHFFFAOYSA-N 0.000 claims description 3
- ZWEHNKRNPOVVGH-UHFFFAOYSA-N 2-Butanone Chemical compound CCC(C)=O ZWEHNKRNPOVVGH-UHFFFAOYSA-N 0.000 claims description 3
- OYPRJOBELJOOCE-UHFFFAOYSA-N Calcium Chemical compound [Ca] OYPRJOBELJOOCE-UHFFFAOYSA-N 0.000 claims description 3
- MNQZXJOMYWMBOU-VKHMYHEASA-N D-glyceraldehyde Chemical compound OC[C@@H](O)C=O MNQZXJOMYWMBOU-VKHMYHEASA-N 0.000 claims description 3
- VGGSQFUCUMXWEO-UHFFFAOYSA-N Ethene Chemical compound C=C VGGSQFUCUMXWEO-UHFFFAOYSA-N 0.000 claims description 3
- 239000005977 Ethylene Substances 0.000 claims description 3
- 229910000519 Ferrosilicon Inorganic materials 0.000 claims description 3
- FYYHWMGAXLPEAU-UHFFFAOYSA-N Magnesium Chemical compound [Mg] FYYHWMGAXLPEAU-UHFFFAOYSA-N 0.000 claims description 3
- 239000004743 Polypropylene Substances 0.000 claims description 3
- QAOWNCQODCNURD-UHFFFAOYSA-N Sulfuric acid Chemical class OS(O)(=O)=O QAOWNCQODCNURD-UHFFFAOYSA-N 0.000 claims description 3
- IKHGUXGNUITLKF-XPULMUKRSA-N acetaldehyde Chemical compound [14CH]([14CH3])=O IKHGUXGNUITLKF-XPULMUKRSA-N 0.000 claims description 3
- 229910001514 alkali metal chloride Inorganic materials 0.000 claims description 3
- 229910001617 alkaline earth metal chloride Inorganic materials 0.000 claims description 3
- 239000002585 base Substances 0.000 claims description 3
- 239000011575 calcium Substances 0.000 claims description 3
- 229910052791 calcium Inorganic materials 0.000 claims description 3
- 229910001902 chlorine oxide Inorganic materials 0.000 claims description 3
- BULLHNJGPPOUOX-UHFFFAOYSA-N chloroacetone Chemical compound CC(=O)CCl BULLHNJGPPOUOX-UHFFFAOYSA-N 0.000 claims description 3
- 125000004122 cyclic group Chemical group 0.000 claims description 3
- GPLRAVKSCUXZTP-UHFFFAOYSA-N diglycerol Chemical compound OCC(O)COCC(O)CO GPLRAVKSCUXZTP-UHFFFAOYSA-N 0.000 claims description 3
- 238000010790 dilution Methods 0.000 claims description 3
- 239000012895 dilution Substances 0.000 claims description 3
- 230000007062 hydrolysis Effects 0.000 claims description 3
- 238000006460 hydrolysis reaction Methods 0.000 claims description 3
- 239000011777 magnesium Substances 0.000 claims description 3
- 229910052749 magnesium Inorganic materials 0.000 claims description 3
- WPBNNNQJVZRUHP-UHFFFAOYSA-L manganese(2+);methyl n-[[2-(methoxycarbonylcarbamothioylamino)phenyl]carbamothioyl]carbamate;n-[2-(sulfidocarbothioylamino)ethyl]carbamodithioate Chemical compound [Mn+2].[S-]C(=S)NCCNC([S-])=S.COC(=O)NC(=S)NC1=CC=CC=C1NC(=S)NC(=O)OC WPBNNNQJVZRUHP-UHFFFAOYSA-L 0.000 claims description 3
- WSFSSNUMVMOOMR-NJFSPNSNSA-N methanone Chemical compound O=[14CH2] WSFSSNUMVMOOMR-NJFSPNSNSA-N 0.000 claims description 3
- 235000006408 oxalic acid Nutrition 0.000 claims description 3
- 229920001155 polypropylene Polymers 0.000 claims description 3
- 235000019260 propionic acid Nutrition 0.000 claims description 3
- IUVKMZGDUIUOCP-BTNSXGMBSA-N quinbolone Chemical compound O([C@H]1CC[C@H]2[C@H]3[C@@H]([C@]4(C=CC(=O)C=C4CC3)C)CC[C@@]21C)C1=CCCC1 IUVKMZGDUIUOCP-BTNSXGMBSA-N 0.000 claims description 3
- 238000004062 sedimentation Methods 0.000 claims description 3
- HBMJWWWQQXIZIP-UHFFFAOYSA-N silicon carbide Chemical compound [Si+]#[C-] HBMJWWWQQXIZIP-UHFFFAOYSA-N 0.000 claims description 3
- 229910010271 silicon carbide Inorganic materials 0.000 claims description 3
- 150000003467 sulfuric acid derivatives Chemical class 0.000 claims description 3
- HGBOYTHUEUWSSQ-UHFFFAOYSA-N valeric aldehyde Natural products CCCCC=O HGBOYTHUEUWSSQ-UHFFFAOYSA-N 0.000 claims description 3
- LKMJVFRMDSNFRT-UHFFFAOYSA-N 2-(methoxymethyl)oxirane Chemical compound COCC1CO1 LKMJVFRMDSNFRT-UHFFFAOYSA-N 0.000 claims description 2
- 229910000975 Carbon steel Inorganic materials 0.000 claims description 2
- KDYFGRWQOYBRFD-UHFFFAOYSA-N Succinic acid Natural products OC(=O)CCC(O)=O KDYFGRWQOYBRFD-UHFFFAOYSA-N 0.000 claims description 2
- WAIPAZQMEIHHTJ-UHFFFAOYSA-N [Cr].[Co] Chemical compound [Cr].[Co] WAIPAZQMEIHHTJ-UHFFFAOYSA-N 0.000 claims description 2
- 230000001580 bacterial effect Effects 0.000 claims description 2
- KDYFGRWQOYBRFD-NUQCWPJISA-N butanedioic acid Chemical compound O[14C](=O)CC[14C](O)=O KDYFGRWQOYBRFD-NUQCWPJISA-N 0.000 claims description 2
- 239000010962 carbon steel Substances 0.000 claims description 2
- FOCAUTSVDIKZOP-UHFFFAOYSA-N chloroacetic acid Chemical compound OC(=O)CCl FOCAUTSVDIKZOP-UHFFFAOYSA-N 0.000 claims description 2
- 229960005215 dichloroacetic acid Drugs 0.000 claims description 2
- 239000004310 lactic acid Substances 0.000 claims description 2
- 235000014655 lactic acid Nutrition 0.000 claims description 2
- 238000006386 neutralization reaction Methods 0.000 claims description 2
- 238000000197 pyrolysis Methods 0.000 claims description 2
- 229940107700 pyruvic acid Drugs 0.000 claims description 2
- 239000010935 stainless steel Substances 0.000 claims description 2
- 229910001220 stainless steel Inorganic materials 0.000 claims description 2
- YNJBWRMUSHSURL-UHFFFAOYSA-N trichloroacetic acid Chemical compound OC(=O)C(Cl)(Cl)Cl YNJBWRMUSHSURL-UHFFFAOYSA-N 0.000 claims description 2
- RBNPOMFGQQGHHO-UHFFFAOYSA-N -2,3-Dihydroxypropanoic acid Natural products OCC(O)C(O)=O RBNPOMFGQQGHHO-UHFFFAOYSA-N 0.000 claims 1
- RBNPOMFGQQGHHO-UWTATZPHSA-N D-glyceric acid Chemical compound OC[C@@H](O)C(O)=O RBNPOMFGQQGHHO-UWTATZPHSA-N 0.000 claims 1
- 238000010668 complexation reaction Methods 0.000 claims 1
- RDYOACUIENLGER-UHFFFAOYSA-N phenol;propane-1,2,3-triol Chemical compound OCC(O)CO.OC1=CC=CC=C1 RDYOACUIENLGER-UHFFFAOYSA-N 0.000 claims 1
- XLYOFNOQVPJJNP-UHFFFAOYSA-N water Substances O XLYOFNOQVPJJNP-UHFFFAOYSA-N 0.000 description 40
- 229910001868 water Inorganic materials 0.000 description 40
- 239000012267 brine Substances 0.000 description 32
- HPALAKNZSZLMCH-UHFFFAOYSA-M sodium;chloride;hydrate Chemical compound O.[Na+].[Cl-] HPALAKNZSZLMCH-UHFFFAOYSA-M 0.000 description 32
- WQYVRQLZKVEZGA-UHFFFAOYSA-N hypochlorite Inorganic materials Cl[O-] WQYVRQLZKVEZGA-UHFFFAOYSA-N 0.000 description 24
- XTEGARKTQYYJKE-UHFFFAOYSA-M Chlorate Chemical class [O-]Cl(=O)=O XTEGARKTQYYJKE-UHFFFAOYSA-M 0.000 description 23
- 239000000243 solution Substances 0.000 description 16
- 239000000047 product Substances 0.000 description 14
- 235000011187 glycerol Nutrition 0.000 description 11
- 239000002904 solvent Substances 0.000 description 11
- 239000003518 caustics Substances 0.000 description 10
- 238000001914 filtration Methods 0.000 description 10
- QWPPOHNGKGFGJK-UHFFFAOYSA-N hypochlorous acid Chemical compound ClO QWPPOHNGKGFGJK-UHFFFAOYSA-N 0.000 description 10
- 150000002739 metals Chemical class 0.000 description 10
- 239000002253 acid Substances 0.000 description 9
- 239000007864 aqueous solution Substances 0.000 description 9
- 238000009835 boiling Methods 0.000 description 9
- IJGRMHOSHXDMSA-UHFFFAOYSA-N Atomic nitrogen Chemical compound N#N IJGRMHOSHXDMSA-UHFFFAOYSA-N 0.000 description 8
- MHAJPDPJQMAIIY-UHFFFAOYSA-N Hydrogen peroxide Chemical compound OO MHAJPDPJQMAIIY-UHFFFAOYSA-N 0.000 description 8
- 239000007789 gas Substances 0.000 description 8
- WKBOTKDWSSQWDR-UHFFFAOYSA-N Bromine atom Chemical compound [Br] WKBOTKDWSSQWDR-UHFFFAOYSA-N 0.000 description 7
- RTZKZFJDLAIYFH-UHFFFAOYSA-N Diethyl ether Chemical compound CCOCC RTZKZFJDLAIYFH-UHFFFAOYSA-N 0.000 description 7
- 150000007513 acids Chemical class 0.000 description 7
- 239000003570 air Substances 0.000 description 7
- 238000006298 dechlorination reaction Methods 0.000 description 7
- CURLTUGMZLYLDI-UHFFFAOYSA-N Carbon dioxide Chemical compound O=C=O CURLTUGMZLYLDI-UHFFFAOYSA-N 0.000 description 6
- ISWSIDIOOBJBQZ-UHFFFAOYSA-N Phenol Chemical compound OC1=CC=CC=C1 ISWSIDIOOBJBQZ-UHFFFAOYSA-N 0.000 description 6
- 229910000287 alkaline earth metal oxide Inorganic materials 0.000 description 6
- GDTBXPJZTBHREO-UHFFFAOYSA-N bromine Substances BrBr GDTBXPJZTBHREO-UHFFFAOYSA-N 0.000 description 6
- 229910052794 bromium Inorganic materials 0.000 description 6
- 229910052731 fluorine Inorganic materials 0.000 description 6
- 239000003921 oil Substances 0.000 description 6
- 235000019198 oils Nutrition 0.000 description 6
- SUKJFIGYRHOWBL-UHFFFAOYSA-N sodium hypochlorite Chemical compound [Na+].Cl[O-] SUKJFIGYRHOWBL-UHFFFAOYSA-N 0.000 description 6
- 239000007787 solid Substances 0.000 description 6
- ZCYVEMRRCGMTRW-UHFFFAOYSA-N 7553-56-2 Chemical compound [I] ZCYVEMRRCGMTRW-UHFFFAOYSA-N 0.000 description 5
- 229910000497 Amalgam Inorganic materials 0.000 description 5
- LYCAIKOWRPUZTN-UHFFFAOYSA-N Ethylene glycol Chemical compound OCCO LYCAIKOWRPUZTN-UHFFFAOYSA-N 0.000 description 5
- YCKRFDGAMUMZLT-UHFFFAOYSA-N Fluorine atom Chemical compound [F] YCKRFDGAMUMZLT-UHFFFAOYSA-N 0.000 description 5
- 150000001299 aldehydes Chemical class 0.000 description 5
- 150000001735 carboxylic acids Chemical class 0.000 description 5
- 238000001816 cooling Methods 0.000 description 5
- 239000011737 fluorine Substances 0.000 description 5
- 229910052740 iodine Inorganic materials 0.000 description 5
- 238000012546 transfer Methods 0.000 description 5
- KBPLFHHGFOOTCA-UHFFFAOYSA-N 1-Octanol Chemical compound CCCCCCCCO KBPLFHHGFOOTCA-UHFFFAOYSA-N 0.000 description 4
- QGZKDVFQNNGYKY-UHFFFAOYSA-O Ammonium Chemical compound [NH4+] QGZKDVFQNNGYKY-UHFFFAOYSA-O 0.000 description 4
- 239000005708 Sodium hypochlorite Substances 0.000 description 4
- 239000003463 adsorbent Substances 0.000 description 4
- 150000001298 alcohols Chemical class 0.000 description 4
- BVKZGUZCCUSVTD-UHFFFAOYSA-N carbonic acid Chemical compound OC(O)=O BVKZGUZCCUSVTD-UHFFFAOYSA-N 0.000 description 4
- 239000003153 chemical reaction reagent Substances 0.000 description 4
- 239000000567 combustion gas Substances 0.000 description 4
- MWKFXSUHUHTGQN-UHFFFAOYSA-N decan-1-ol Chemical compound CCCCCCCCCCO MWKFXSUHUHTGQN-UHFFFAOYSA-N 0.000 description 4
- 235000014113 dietary fatty acids Nutrition 0.000 description 4
- 150000002148 esters Chemical class 0.000 description 4
- 239000000194 fatty acid Substances 0.000 description 4
- 229930195729 fatty acid Natural products 0.000 description 4
- 229960004275 glycolic acid Drugs 0.000 description 4
- FUZZWVXGSFPDMH-UHFFFAOYSA-N hexanoic acid Chemical compound CCCCCC(O)=O FUZZWVXGSFPDMH-UHFFFAOYSA-N 0.000 description 4
- 239000011630 iodine Substances 0.000 description 4
- 150000002576 ketones Chemical class 0.000 description 4
- ZAZKJZBWRNNLDS-UHFFFAOYSA-N methyl tetradecanoate Chemical compound CCCCCCCCCCCCCC(=O)OC ZAZKJZBWRNNLDS-UHFFFAOYSA-N 0.000 description 4
- 229910052757 nitrogen Inorganic materials 0.000 description 4
- 239000003960 organic solvent Substances 0.000 description 4
- 239000002994 raw material Substances 0.000 description 4
- 238000000926 separation method Methods 0.000 description 4
- 238000003756 stirring Methods 0.000 description 4
- 238000003860 storage Methods 0.000 description 4
- HLZKNKRTKFSKGZ-UHFFFAOYSA-N tetradecan-1-ol Chemical compound CCCCCCCCCCCCCCO HLZKNKRTKFSKGZ-UHFFFAOYSA-N 0.000 description 4
- BVKZGUZCCUSVTD-UHFFFAOYSA-L Carbonate Chemical compound [O-]C([O-])=O BVKZGUZCCUSVTD-UHFFFAOYSA-L 0.000 description 3
- 235000019484 Rapeseed oil Nutrition 0.000 description 3
- 238000010793 Steam injection (oil industry) Methods 0.000 description 3
- 235000019486 Sunflower oil Nutrition 0.000 description 3
- 239000007900 aqueous suspension Substances 0.000 description 3
- QVGXLLKOCUKJST-UHFFFAOYSA-N atomic oxygen Chemical compound [O] QVGXLLKOCUKJST-UHFFFAOYSA-N 0.000 description 3
- 230000008901 benefit Effects 0.000 description 3
- SXDBWCPKPHAZSM-UHFFFAOYSA-M bromate Inorganic materials [O-]Br(=O)=O SXDBWCPKPHAZSM-UHFFFAOYSA-M 0.000 description 3
- SXDBWCPKPHAZSM-UHFFFAOYSA-N bromic acid Chemical compound OBr(=O)=O SXDBWCPKPHAZSM-UHFFFAOYSA-N 0.000 description 3
- 239000001569 carbon dioxide Substances 0.000 description 3
- 229910002092 carbon dioxide Inorganic materials 0.000 description 3
- 239000003054 catalyst Substances 0.000 description 3
- 239000003795 chemical substances by application Substances 0.000 description 3
- XTEGARKTQYYJKE-UHFFFAOYSA-N chloric acid Chemical compound OCl(=O)=O XTEGARKTQYYJKE-UHFFFAOYSA-N 0.000 description 3
- 229940005991 chloric acid Drugs 0.000 description 3
- 238000000576 coating method Methods 0.000 description 3
- 230000000295 complement effect Effects 0.000 description 3
- 230000006378 damage Effects 0.000 description 3
- 150000002009 diols Chemical class 0.000 description 3
- OSVXSBDYLRYLIG-UHFFFAOYSA-N dioxidochlorine(.) Chemical compound O=Cl=O OSVXSBDYLRYLIG-UHFFFAOYSA-N 0.000 description 3
- ZITKDVFRMRXIJQ-UHFFFAOYSA-N dodecane-1,2-diol Chemical compound CCCCCCCCCCC(O)CO ZITKDVFRMRXIJQ-UHFFFAOYSA-N 0.000 description 3
- WGCNASOHLSPBMP-UHFFFAOYSA-N hydroxyacetaldehyde Natural products OCC=O WGCNASOHLSPBMP-UHFFFAOYSA-N 0.000 description 3
- ICIWUVCWSCSTAQ-UHFFFAOYSA-M iodate Chemical compound [O-]I(=O)=O ICIWUVCWSCSTAQ-UHFFFAOYSA-M 0.000 description 3
- 238000002156 mixing Methods 0.000 description 3
- MWUXSHHQAYIFBG-UHFFFAOYSA-N nitrogen oxide Inorganic materials O=[N] MWUXSHHQAYIFBG-UHFFFAOYSA-N 0.000 description 3
- 239000001301 oxygen Substances 0.000 description 3
- 229910052760 oxygen Inorganic materials 0.000 description 3
- 238000010979 pH adjustment Methods 0.000 description 3
- VLTRZXGMWDSKGL-UHFFFAOYSA-N perchloric acid Chemical compound OCl(=O)(=O)=O VLTRZXGMWDSKGL-UHFFFAOYSA-N 0.000 description 3
- 230000000737 periodic effect Effects 0.000 description 3
- 239000012071 phase Substances 0.000 description 3
- 238000000746 purification Methods 0.000 description 3
- CXMXRPHRNRROMY-UHFFFAOYSA-N sebacic acid Chemical compound OC(=O)CCCCCCCCC(O)=O CXMXRPHRNRROMY-UHFFFAOYSA-N 0.000 description 3
- 239000000725 suspension Substances 0.000 description 3
- WRIDQFICGBMAFQ-UHFFFAOYSA-N (E)-8-Octadecenoic acid Natural products CCCCCCCCCC=CCCCCCCC(O)=O WRIDQFICGBMAFQ-UHFFFAOYSA-N 0.000 description 2
- DWANEFRJKWXRSG-UHFFFAOYSA-N 1,2-tetradecanediol Chemical compound CCCCCCCCCCCCC(O)CO DWANEFRJKWXRSG-UHFFFAOYSA-N 0.000 description 2
- 239000005968 1-Decanol Substances 0.000 description 2
- LQJBNNIYVWPHFW-UHFFFAOYSA-N 20:1omega9c fatty acid Natural products CCCCCCCCCCC=CCCCCCCCC(O)=O LQJBNNIYVWPHFW-UHFFFAOYSA-N 0.000 description 2
- QSBYPNXLFMSGKH-UHFFFAOYSA-N 9-Heptadecensaeure Natural products CCCCCCCC=CCCCCCCCC(O)=O QSBYPNXLFMSGKH-UHFFFAOYSA-N 0.000 description 2
- QGZKDVFQNNGYKY-UHFFFAOYSA-N Ammonia Chemical compound N QGZKDVFQNNGYKY-UHFFFAOYSA-N 0.000 description 2
- KZBUYRJDOAKODT-UHFFFAOYSA-N Chlorine Chemical compound ClCl KZBUYRJDOAKODT-UHFFFAOYSA-N 0.000 description 2
- 239000004155 Chlorine dioxide Substances 0.000 description 2
- RYGMFSIKBFXOCR-UHFFFAOYSA-N Copper Chemical compound [Cu] RYGMFSIKBFXOCR-UHFFFAOYSA-N 0.000 description 2
- 241000945534 Hamana Species 0.000 description 2
- 244000020551 Helianthus annuus Species 0.000 description 2
- FLIACVVOZYBSBS-UHFFFAOYSA-N Methyl palmitate Chemical compound CCCCCCCCCCCCCCCC(=O)OC FLIACVVOZYBSBS-UHFFFAOYSA-N 0.000 description 2
- HPEUJPJOZXNMSJ-UHFFFAOYSA-N Methyl stearate Chemical compound CCCCCCCCCCCCCCCCCC(=O)OC HPEUJPJOZXNMSJ-UHFFFAOYSA-N 0.000 description 2
- ZOKXTWBITQBERF-UHFFFAOYSA-N Molybdenum Chemical compound [Mo] ZOKXTWBITQBERF-UHFFFAOYSA-N 0.000 description 2
- 229910019093 NaOCl Inorganic materials 0.000 description 2
- 239000005642 Oleic acid Substances 0.000 description 2
- ZQPPMHVWECSIRJ-UHFFFAOYSA-N Oleic acid Natural products CCCCCCCCC=CCCCCCCCC(O)=O ZQPPMHVWECSIRJ-UHFFFAOYSA-N 0.000 description 2
- CBENFWSGALASAD-UHFFFAOYSA-N Ozone Chemical compound [O-][O+]=O CBENFWSGALASAD-UHFFFAOYSA-N 0.000 description 2
- 235000019482 Palm oil Nutrition 0.000 description 2
- WCUXLLCKKVVCTQ-UHFFFAOYSA-M Potassium chloride Chemical compound [Cl-].[K+] WCUXLLCKKVVCTQ-UHFFFAOYSA-M 0.000 description 2
- 235000021355 Stearic acid Nutrition 0.000 description 2
- PDCULOOSTZMYBM-UHFFFAOYSA-N [Cl].[Hg] Chemical compound [Cl].[Hg] PDCULOOSTZMYBM-UHFFFAOYSA-N 0.000 description 2
- 230000002378 acidificating effect Effects 0.000 description 2
- 229910001615 alkaline earth metal halide Inorganic materials 0.000 description 2
- 229910045601 alloy Inorganic materials 0.000 description 2
- 239000000956 alloy Substances 0.000 description 2
- XXROGKLTLUQVRX-UHFFFAOYSA-N allyl alcohol Chemical compound OCC=C XXROGKLTLUQVRX-UHFFFAOYSA-N 0.000 description 2
- AXCZMVOFGPJBDE-UHFFFAOYSA-L calcium dihydroxide Chemical compound [OH-].[OH-].[Ca+2] AXCZMVOFGPJBDE-UHFFFAOYSA-L 0.000 description 2
- 239000000920 calcium hydroxide Substances 0.000 description 2
- 229910001861 calcium hydroxide Inorganic materials 0.000 description 2
- 239000004359 castor oil Substances 0.000 description 2
- 235000019438 castor oil Nutrition 0.000 description 2
- 239000007795 chemical reaction product Substances 0.000 description 2
- QBWCMBCROVPCKQ-UHFFFAOYSA-N chlorous acid Chemical compound OCl=O QBWCMBCROVPCKQ-UHFFFAOYSA-N 0.000 description 2
- 239000011248 coating agent Substances 0.000 description 2
- 239000003240 coconut oil Substances 0.000 description 2
- 235000019864 coconut oil Nutrition 0.000 description 2
- 229910052802 copper Inorganic materials 0.000 description 2
- 239000010949 copper Substances 0.000 description 2
- 235000005687 corn oil Nutrition 0.000 description 2
- 239000002285 corn oil Substances 0.000 description 2
- 235000012343 cottonseed oil Nutrition 0.000 description 2
- 239000002385 cottonseed oil Substances 0.000 description 2
- NZNMSOFKMUBTKW-UHFFFAOYSA-N cyclohexanecarboxylic acid Chemical compound OC(=O)C1CCCCC1 NZNMSOFKMUBTKW-UHFFFAOYSA-N 0.000 description 2
- GHVNFZFCNZKVNT-UHFFFAOYSA-N decanoic acid Chemical compound CCCCCCCCCC(O)=O GHVNFZFCNZKVNT-UHFFFAOYSA-N 0.000 description 2
- 150000001991 dicarboxylic acids Chemical class 0.000 description 2
- RCJVRSBWZCNNQT-UHFFFAOYSA-N dichloridooxygen Chemical compound ClOCl RCJVRSBWZCNNQT-UHFFFAOYSA-N 0.000 description 2
- FLKPEMZONWLCSK-UHFFFAOYSA-N diethyl phthalate Chemical compound CCOC(=O)C1=CC=CC=C1C(=O)OCC FLKPEMZONWLCSK-UHFFFAOYSA-N 0.000 description 2
- LQZZUXJYWNFBMV-UHFFFAOYSA-N dodecan-1-ol Chemical compound CCCCCCCCCCCCO LQZZUXJYWNFBMV-UHFFFAOYSA-N 0.000 description 2
- POULHZVOKOAJMA-UHFFFAOYSA-N dodecanoic acid Chemical compound CCCCCCCCCCCC(O)=O POULHZVOKOAJMA-UHFFFAOYSA-N 0.000 description 2
- 150000002118 epoxides Chemical class 0.000 description 2
- 150000002170 ethers Chemical class 0.000 description 2
- SHZIWNPUGXLXDT-UHFFFAOYSA-N ethyl hexanoate Chemical compound CCCCCC(=O)OCC SHZIWNPUGXLXDT-UHFFFAOYSA-N 0.000 description 2
- 239000011552 falling film Substances 0.000 description 2
- 150000004665 fatty acids Chemical class 0.000 description 2
- 239000010408 film Substances 0.000 description 2
- 238000004508 fractional distillation Methods 0.000 description 2
- 238000012239 gene modification Methods 0.000 description 2
- 230000005017 genetic modification Effects 0.000 description 2
- 235000013617 genetically modified food Nutrition 0.000 description 2
- 239000011521 glass Substances 0.000 description 2
- ZEMPKEQAKRGZGQ-XOQCFJPHSA-N glycerol triricinoleate Natural products CCCCCC[C@@H](O)CC=CCCCCCCCC(=O)OC[C@@H](COC(=O)CCCCCCCC=CC[C@@H](O)CCCCCC)OC(=O)CCCCCCCC=CC[C@H](O)CCCCCC ZEMPKEQAKRGZGQ-XOQCFJPHSA-N 0.000 description 2
- 229910052736 halogen Inorganic materials 0.000 description 2
- 150000002367 halogens Chemical class 0.000 description 2
- 238000010438 heat treatment Methods 0.000 description 2
- 229910001385 heavy metal Inorganic materials 0.000 description 2
- GOQYKNQRPGWPLP-UHFFFAOYSA-N heptadecan-1-ol Chemical compound CCCCCCCCCCCCCCCCCO GOQYKNQRPGWPLP-UHFFFAOYSA-N 0.000 description 2
- BXWNKGSJHAJOGX-UHFFFAOYSA-N hexadecan-1-ol Chemical compound CCCCCCCCCCCCCCCCO BXWNKGSJHAJOGX-UHFFFAOYSA-N 0.000 description 2
- IPCSVZSSVZVIGE-UHFFFAOYSA-N hexadecanoic acid Chemical compound CCCCCCCCCCCCCCCC(O)=O IPCSVZSSVZVIGE-UHFFFAOYSA-N 0.000 description 2
- 229910017053 inorganic salt Inorganic materials 0.000 description 2
- PNDPGZBMCMUPRI-UHFFFAOYSA-N iodine Chemical compound II PNDPGZBMCMUPRI-UHFFFAOYSA-N 0.000 description 2
- 239000003456 ion exchange resin Substances 0.000 description 2
- 229920003303 ion-exchange polymer Polymers 0.000 description 2
- 150000002500 ions Chemical class 0.000 description 2
- QXJSBBXBKPUZAA-UHFFFAOYSA-N isooleic acid Natural products CCCCCCCC=CCCCCCCCCC(O)=O QXJSBBXBKPUZAA-UHFFFAOYSA-N 0.000 description 2
- 239000000944 linseed oil Substances 0.000 description 2
- 235000021388 linseed oil Nutrition 0.000 description 2
- YRHYCMZPEVDGFQ-UHFFFAOYSA-N methyl decanoate Chemical compound CCCCCCCCCC(=O)OC YRHYCMZPEVDGFQ-UHFFFAOYSA-N 0.000 description 2
- UQDUPQYQJKYHQI-UHFFFAOYSA-N methyl laurate Chemical compound CCCCCCCCCCCC(=O)OC UQDUPQYQJKYHQI-UHFFFAOYSA-N 0.000 description 2
- 229910052750 molybdenum Inorganic materials 0.000 description 2
- 239000011733 molybdenum Substances 0.000 description 2
- 229910000510 noble metal Inorganic materials 0.000 description 2
- ZWRUINPWMLAQRD-UHFFFAOYSA-N nonan-1-ol Chemical compound CCCCCCCCCO ZWRUINPWMLAQRD-UHFFFAOYSA-N 0.000 description 2
- FBUKVWPVBMHYJY-UHFFFAOYSA-N nonanoic acid Chemical compound CCCCCCCCC(O)=O FBUKVWPVBMHYJY-UHFFFAOYSA-N 0.000 description 2
- GLDOVTGHNKAZLK-UHFFFAOYSA-N octadecan-1-ol Chemical compound CCCCCCCCCCCCCCCCCCO GLDOVTGHNKAZLK-UHFFFAOYSA-N 0.000 description 2
- QIQXTHQIDYTFRH-UHFFFAOYSA-N octadecanoic acid Chemical compound CCCCCCCCCCCCCCCCCC(O)=O QIQXTHQIDYTFRH-UHFFFAOYSA-N 0.000 description 2
- OQCDKBAXFALNLD-UHFFFAOYSA-N octadecanoic acid Natural products CCCCCCCC(C)CCCCCCCCC(O)=O OQCDKBAXFALNLD-UHFFFAOYSA-N 0.000 description 2
- WWZKQHOCKIZLMA-UHFFFAOYSA-N octanoic acid Chemical compound CCCCCCCC(O)=O WWZKQHOCKIZLMA-UHFFFAOYSA-N 0.000 description 2
- ZQPPMHVWECSIRJ-KTKRTIGZSA-N oleic acid Chemical compound CCCCCCCC\C=C/CCCCCCCC(O)=O ZQPPMHVWECSIRJ-KTKRTIGZSA-N 0.000 description 2
- 235000021313 oleic acid Nutrition 0.000 description 2
- MPQXHAGKBWFSNV-UHFFFAOYSA-N oxidophosphanium Chemical class [PH3]=O MPQXHAGKBWFSNV-UHFFFAOYSA-N 0.000 description 2
- 230000020477 pH reduction Effects 0.000 description 2
- 239000003346 palm kernel oil Substances 0.000 description 2
- 235000019865 palm kernel oil Nutrition 0.000 description 2
- 239000002540 palm oil Substances 0.000 description 2
- SECPZKHBENQXJG-FPLPWBNLSA-N palmitoleic acid Chemical compound CCCCCC\C=C/CCCCCCCC(O)=O SECPZKHBENQXJG-FPLPWBNLSA-N 0.000 description 2
- 239000010452 phosphate Substances 0.000 description 2
- XNGIFLGASWRNHJ-UHFFFAOYSA-N phthalic acid Chemical compound OC(=O)C1=CC=CC=C1C(O)=O XNGIFLGASWRNHJ-UHFFFAOYSA-N 0.000 description 2
- 229920000642 polymer Polymers 0.000 description 2
- 230000035484 reaction time Effects 0.000 description 2
- 239000003549 soybean oil Substances 0.000 description 2
- 235000012424 soybean oil Nutrition 0.000 description 2
- 241000894007 species Species 0.000 description 2
- 239000008117 stearic acid Substances 0.000 description 2
- 239000000758 substrate Substances 0.000 description 2
- 239000002600 sunflower oil Substances 0.000 description 2
- 239000003784 tall oil Substances 0.000 description 2
- 230000007704 transition Effects 0.000 description 2
- ZMBHCYHQLYEYDV-UHFFFAOYSA-N trioctylphosphine oxide Chemical compound CCCCCCCCP(=O)(CCCCCCCC)CCCCCCCC ZMBHCYHQLYEYDV-UHFFFAOYSA-N 0.000 description 2
- ZDPHROOEEOARMN-UHFFFAOYSA-N undecanoic acid Chemical compound CCCCCCCCCCC(O)=O ZDPHROOEEOARMN-UHFFFAOYSA-N 0.000 description 2
- 239000010457 zeolite Substances 0.000 description 2
- DNIAPMSPPWPWGF-VKHMYHEASA-N (+)-propylene glycol Chemical compound C[C@H](O)CO DNIAPMSPPWPWGF-VKHMYHEASA-N 0.000 description 1
- NMPAICLYKOKXAP-UHFFFAOYSA-N (2-chlorophenyl) diphenyl phosphate Chemical compound ClC1=CC=CC=C1OP(=O)(OC=1C=CC=CC=1)OC1=CC=CC=C1 NMPAICLYKOKXAP-UHFFFAOYSA-N 0.000 description 1
- OYHQOLUKZRVURQ-NTGFUMLPSA-N (9Z,12Z)-9,10,12,13-tetratritiooctadeca-9,12-dienoic acid Chemical compound C(CCCCCCC\C(=C(/C\C(=C(/CCCCC)\[3H])\[3H])\[3H])\[3H])(=O)O OYHQOLUKZRVURQ-NTGFUMLPSA-N 0.000 description 1
- ZOKHGHDRKCYWTH-UHFFFAOYSA-N 1,1-dichloropropan-2-ol Chemical compound CC(O)C(Cl)Cl ZOKHGHDRKCYWTH-UHFFFAOYSA-N 0.000 description 1
- BZPCMSSQHRAJCC-UHFFFAOYSA-N 1,2,3,3,4,4,5,5,5-nonafluoro-1-(1,2,3,3,4,4,5,5,5-nonafluoropent-1-enoxy)pent-1-ene Chemical compound FC(F)(F)C(F)(F)C(F)(F)C(F)=C(F)OC(F)=C(F)C(F)(F)C(F)(F)C(F)(F)F BZPCMSSQHRAJCC-UHFFFAOYSA-N 0.000 description 1
- NWUYHJFMYQTDRP-UHFFFAOYSA-N 1,2-bis(ethenyl)benzene;1-ethenyl-2-ethylbenzene;styrene Chemical compound C=CC1=CC=CC=C1.CCC1=CC=CC=C1C=C.C=CC1=CC=CC=C1C=C NWUYHJFMYQTDRP-UHFFFAOYSA-N 0.000 description 1
- LZDKZFUFMNSQCJ-UHFFFAOYSA-N 1,2-diethoxyethane Chemical compound CCOCCOCC LZDKZFUFMNSQCJ-UHFFFAOYSA-N 0.000 description 1
- VPBZZPOGZPKYKX-UHFFFAOYSA-N 1,2-diethoxypropane Chemical compound CCOCC(C)OCC VPBZZPOGZPKYKX-UHFFFAOYSA-N 0.000 description 1
- PVMMVWNXKOSPRB-UHFFFAOYSA-N 1,2-dipropoxypropane Chemical compound CCCOCC(C)OCCC PVMMVWNXKOSPRB-UHFFFAOYSA-N 0.000 description 1
- 229940031723 1,2-octanediol Drugs 0.000 description 1
- YPFDHNVEDLHUCE-UHFFFAOYSA-N 1,3-propanediol Substances OCCCO YPFDHNVEDLHUCE-UHFFFAOYSA-N 0.000 description 1
- IIHAWQOFHTYWGM-UHFFFAOYSA-N 1,4-diethoxybutane Chemical compound CCOCCCCOCC IIHAWQOFHTYWGM-UHFFFAOYSA-N 0.000 description 1
- GDXHBFHOEYVPED-UHFFFAOYSA-N 1-(2-butoxyethoxy)butane Chemical compound CCCCOCCOCCCC GDXHBFHOEYVPED-UHFFFAOYSA-N 0.000 description 1
- QMGJMGFZLXYHCR-UHFFFAOYSA-N 1-(2-butoxypropoxy)butane Chemical compound CCCCOCC(C)OCCCC QMGJMGFZLXYHCR-UHFFFAOYSA-N 0.000 description 1
- ITZAHBOREXAZFQ-UHFFFAOYSA-N 1-(2-hexoxyethoxy)hexane Chemical compound CCCCCCOCCOCCCCCC ITZAHBOREXAZFQ-UHFFFAOYSA-N 0.000 description 1
- HQSLKNLISLWZQH-UHFFFAOYSA-N 1-(2-propoxyethoxy)propane Chemical compound CCCOCCOCCC HQSLKNLISLWZQH-UHFFFAOYSA-N 0.000 description 1
- QRUDYUQVHZEMPL-UHFFFAOYSA-N 1-[2-(2-hexoxyethoxy)ethoxy]hexane Chemical compound CCCCCCOCCOCCOCCCCCC QRUDYUQVHZEMPL-UHFFFAOYSA-N 0.000 description 1
- BOGFHOWTVGAYFK-UHFFFAOYSA-N 1-[2-(2-propoxyethoxy)ethoxy]propane Chemical compound CCCOCCOCCOCCC BOGFHOWTVGAYFK-UHFFFAOYSA-N 0.000 description 1
- WWYUQXYAGXKBNE-UHFFFAOYSA-N 1-[bis(2,4,4-trimethylpentyl)phosphoryl]-2,4,4-trimethylpentane Chemical compound CC(C)(C)CC(C)CP(=O)(CC(C)CC(C)(C)C)CC(C)CC(C)(C)C WWYUQXYAGXKBNE-UHFFFAOYSA-N 0.000 description 1
- FTKKDUVZLDDBEN-UHFFFAOYSA-N 1-[ethyl(octyl)phosphoryl]octane Chemical compound CCCCCCCCP(=O)(CC)CCCCCCCC FTKKDUVZLDDBEN-UHFFFAOYSA-N 0.000 description 1
- MSKVTMZQUUEALA-UHFFFAOYSA-N 1-[hexyl(2-methylpropyl)phosphoryl]hexane Chemical compound CCCCCCP(=O)(CC(C)C)CCCCCC MSKVTMZQUUEALA-UHFFFAOYSA-N 0.000 description 1
- YYTSGNJTASLUOY-UHFFFAOYSA-N 1-chloropropan-2-ol Chemical compound CC(O)CCl YYTSGNJTASLUOY-UHFFFAOYSA-N 0.000 description 1
- BRLCBJSJAACAFG-UHFFFAOYSA-N 1-didodecylphosphoryldodecane Chemical compound CCCCCCCCCCCCP(=O)(CCCCCCCCCCCC)CCCCCCCCCCCC BRLCBJSJAACAFG-UHFFFAOYSA-N 0.000 description 1
- PPDZLUVUQQGIOJ-UHFFFAOYSA-N 1-dihexylphosphorylhexane Chemical group CCCCCCP(=O)(CCCCCC)CCCCCC PPDZLUVUQQGIOJ-UHFFFAOYSA-N 0.000 description 1
- ZIKLJUUTSQYGQI-UHFFFAOYSA-N 1-ethoxy-2-(2-ethoxypropoxy)propane Chemical compound CCOCC(C)OCC(C)OCC ZIKLJUUTSQYGQI-UHFFFAOYSA-N 0.000 description 1
- KIAMPLQEZAMORJ-UHFFFAOYSA-N 1-ethoxy-2-[2-(2-ethoxyethoxy)ethoxy]ethane Chemical compound CCOCCOCCOCCOCC KIAMPLQEZAMORJ-UHFFFAOYSA-N 0.000 description 1
- AETIPHBKCCVQJU-UHFFFAOYSA-N 1-ethoxy-2-[2-[2-[2-[2-(2-ethoxyethoxy)ethoxy]ethoxy]ethoxy]ethoxy]ethane Chemical compound CCOCCOCCOCCOCCOCCOCCOCC AETIPHBKCCVQJU-UHFFFAOYSA-N 0.000 description 1
- BPIUIOXAFBGMNB-UHFFFAOYSA-N 1-hexoxyhexane Chemical compound CCCCCCOCCCCCC BPIUIOXAFBGMNB-UHFFFAOYSA-N 0.000 description 1
- FZGBADVTTLOFPU-UHFFFAOYSA-N 2-(2-dodecanoyloxyethoxy)ethyl dodecanoate Chemical compound CCCCCCCCCCCC(=O)OCCOCCOC(=O)CCCCCCCCCCC FZGBADVTTLOFPU-UHFFFAOYSA-N 0.000 description 1
- TWJNQYPJQDRXPH-UHFFFAOYSA-N 2-cyanobenzohydrazide Chemical compound NNC(=O)C1=CC=CC=C1C#N TWJNQYPJQDRXPH-UHFFFAOYSA-N 0.000 description 1
- ZNQVEEAIQZEUHB-UHFFFAOYSA-N 2-ethoxyethanol Chemical compound CCOCCO ZNQVEEAIQZEUHB-UHFFFAOYSA-N 0.000 description 1
- LIAWCKFOFPPVGF-UHFFFAOYSA-N 2-ethyladamantane Chemical compound C1C(C2)CC3CC1C(CC)C2C3 LIAWCKFOFPPVGF-UHFFFAOYSA-N 0.000 description 1
- CRWNQZTZTZWPOF-UHFFFAOYSA-N 2-methyl-4-phenylpyridine Chemical compound C1=NC(C)=CC(C=2C=CC=CC=2)=C1 CRWNQZTZTZWPOF-UHFFFAOYSA-N 0.000 description 1
- IEBAJFDSHJYDCK-UHFFFAOYSA-N 2-methylundecan-4-one Chemical compound CCCCCCCC(=O)CC(C)C IEBAJFDSHJYDCK-UHFFFAOYSA-N 0.000 description 1
- PZBLUWVMZMXIKZ-UHFFFAOYSA-N 2-o-(2-ethoxy-2-oxoethyl) 1-o-ethyl benzene-1,2-dicarboxylate Chemical compound CCOC(=O)COC(=O)C1=CC=CC=C1C(=O)OCC PZBLUWVMZMXIKZ-UHFFFAOYSA-N 0.000 description 1
- YJERZJLSXBRUDQ-UHFFFAOYSA-N 2-o-(3,4-dihydroxybutyl) 1-o-methyl benzene-1,2-dicarboxylate Chemical compound COC(=O)C1=CC=CC=C1C(=O)OCCC(O)CO YJERZJLSXBRUDQ-UHFFFAOYSA-N 0.000 description 1
- HYDWALOBQJFOMS-UHFFFAOYSA-N 3,6,9,12,15-pentaoxaheptadecane Chemical compound CCOCCOCCOCCOCCOCC HYDWALOBQJFOMS-UHFFFAOYSA-N 0.000 description 1
- NWDHHLKROQOLMQ-UHFFFAOYSA-N 3,9-diethyltridecan-6-ol Chemical compound CCCCC(CC)CCC(O)CCC(CC)CC NWDHHLKROQOLMQ-UHFFFAOYSA-N 0.000 description 1
- RKJGHINMWRVRJW-UHFFFAOYSA-N 3-[bis(2-ethylhexyl)phosphorylmethyl]heptane Chemical compound CCCCC(CC)CP(=O)(CC(CC)CCCC)CC(CC)CCCC RKJGHINMWRVRJW-UHFFFAOYSA-N 0.000 description 1
- VATRWWPJWVCZTA-UHFFFAOYSA-N 3-oxo-n-[2-(trifluoromethyl)phenyl]butanamide Chemical compound CC(=O)CC(=O)NC1=CC=CC=C1C(F)(F)F VATRWWPJWVCZTA-UHFFFAOYSA-N 0.000 description 1
- AWQSAIIDOMEEOD-UHFFFAOYSA-N 5,5-Dimethyl-4-(3-oxobutyl)dihydro-2(3H)-furanone Chemical compound CC(=O)CCC1CC(=O)OC1(C)C AWQSAIIDOMEEOD-UHFFFAOYSA-N 0.000 description 1
- WYXKGYXADPUOOM-UHFFFAOYSA-N 5-ethylnonan-2-ol Chemical compound CCCCC(CC)CCC(C)O WYXKGYXADPUOOM-UHFFFAOYSA-N 0.000 description 1
- JKKBSZCOVNFRCQ-UHFFFAOYSA-N 7-ethyl-2-methylundecan-4-ol Chemical compound CCCCC(CC)CCC(O)CC(C)C JKKBSZCOVNFRCQ-UHFFFAOYSA-N 0.000 description 1
- PLLBRTOLHQQAQQ-UHFFFAOYSA-N 8-methylnonan-1-ol Chemical compound CC(C)CCCCCCCO PLLBRTOLHQQAQQ-UHFFFAOYSA-N 0.000 description 1
- OSDWBNJEKMUWAV-UHFFFAOYSA-N Allyl chloride Chemical compound ClCC=C OSDWBNJEKMUWAV-UHFFFAOYSA-N 0.000 description 1
- VHUUQVKOLVNVRT-UHFFFAOYSA-N Ammonium hydroxide Chemical compound [NH4+].[OH-] VHUUQVKOLVNVRT-UHFFFAOYSA-N 0.000 description 1
- 235000017060 Arachis glabrata Nutrition 0.000 description 1
- 244000105624 Arachis hypogaea Species 0.000 description 1
- 235000010777 Arachis hypogaea Nutrition 0.000 description 1
- 235000018262 Arachis monticola Nutrition 0.000 description 1
- 241000894006 Bacteria Species 0.000 description 1
- LSNNMFCWUKXFEE-UHFFFAOYSA-M Bisulfite Chemical compound OS([O-])=O LSNNMFCWUKXFEE-UHFFFAOYSA-M 0.000 description 1
- 240000002791 Brassica napus Species 0.000 description 1
- CPELXLSAUQHCOX-UHFFFAOYSA-M Bromide Chemical compound [Br-] CPELXLSAUQHCOX-UHFFFAOYSA-M 0.000 description 1
- 239000005632 Capric acid (CAS 334-48-5) Substances 0.000 description 1
- 239000005635 Caprylic acid (CAS 124-07-2) Substances 0.000 description 1
- VEXZGXHMUGYJMC-UHFFFAOYSA-M Chloride anion Chemical compound [Cl-] VEXZGXHMUGYJMC-UHFFFAOYSA-M 0.000 description 1
- 244000060011 Cocos nucifera Species 0.000 description 1
- 235000013162 Cocos nucifera Nutrition 0.000 description 1
- PYGXAGIECVVIOZ-UHFFFAOYSA-N Dibutyl decanedioate Chemical compound CCCCOC(=O)CCCCCCCCC(=O)OCCCC PYGXAGIECVVIOZ-UHFFFAOYSA-N 0.000 description 1
- HXQPUEQDBSPXTE-UHFFFAOYSA-N Diisobutylcarbinol Chemical compound CC(C)CC(O)CC(C)C HXQPUEQDBSPXTE-UHFFFAOYSA-N 0.000 description 1
- LFQSCWFLJHTTHZ-UHFFFAOYSA-N Ethanol Chemical compound CCO LFQSCWFLJHTTHZ-UHFFFAOYSA-N 0.000 description 1
- 229920003935 Flemion® Polymers 0.000 description 1
- KRHYYFGTRYWZRS-UHFFFAOYSA-M Fluoride anion Chemical compound [F-] KRHYYFGTRYWZRS-UHFFFAOYSA-M 0.000 description 1
- 239000005639 Lauric acid Substances 0.000 description 1
- PWHULOQIROXLJO-UHFFFAOYSA-N Manganese Chemical compound [Mn] PWHULOQIROXLJO-UHFFFAOYSA-N 0.000 description 1
- 241001465754 Metazoa Species 0.000 description 1
- 239000005640 Methyl decanoate Substances 0.000 description 1
- 235000021360 Myristic acid Nutrition 0.000 description 1
- TUNFSRHWOTWDNC-UHFFFAOYSA-N Myristic acid Natural products CCCCCCCCCCCCCC(O)=O TUNFSRHWOTWDNC-UHFFFAOYSA-N 0.000 description 1
- 235000021314 Palmitic acid Nutrition 0.000 description 1
- 235000021319 Palmitoleic acid Nutrition 0.000 description 1
- 235000019483 Peanut oil Nutrition 0.000 description 1
- 239000005643 Pelargonic acid Substances 0.000 description 1
- OAICVXFJPJFONN-UHFFFAOYSA-N Phosphorus Chemical compound [P] OAICVXFJPJFONN-UHFFFAOYSA-N 0.000 description 1
- 239000004698 Polyethylene Substances 0.000 description 1
- 239000004793 Polystyrene Substances 0.000 description 1
- 239000004372 Polyvinyl alcohol Substances 0.000 description 1
- 229920001131 Pulp (paper) Polymers 0.000 description 1
- 229910004298 SiO 2 Inorganic materials 0.000 description 1
- BQCADISMDOOEFD-UHFFFAOYSA-N Silver Chemical compound [Ag] BQCADISMDOOEFD-UHFFFAOYSA-N 0.000 description 1
- 229920002472 Starch Polymers 0.000 description 1
- NINIDFKCEFEMDL-UHFFFAOYSA-N Sulfur Chemical compound [S] NINIDFKCEFEMDL-UHFFFAOYSA-N 0.000 description 1
- LSNNMFCWUKXFEE-UHFFFAOYSA-N Sulfurous acid Chemical compound OS(O)=O LSNNMFCWUKXFEE-UHFFFAOYSA-N 0.000 description 1
- YSMRWXYRXBRSND-UHFFFAOYSA-N TOTP Chemical compound CC1=CC=CC=C1OP(=O)(OC=1C(=CC=CC=1)C)OC1=CC=CC=C1C YSMRWXYRXBRSND-UHFFFAOYSA-N 0.000 description 1
- GTVWRXDRKAHEAD-UHFFFAOYSA-N Tris(2-ethylhexyl) phosphate Chemical compound CCCCC(CC)COP(=O)(OCC(CC)CCCC)OCC(CC)CCCC GTVWRXDRKAHEAD-UHFFFAOYSA-N 0.000 description 1
- BZHJMEDXRYGGRV-UHFFFAOYSA-N Vinyl chloride Chemical compound ClC=C BZHJMEDXRYGGRV-UHFFFAOYSA-N 0.000 description 1
- 239000012445 acidic reagent Substances 0.000 description 1
- 239000012190 activator Substances 0.000 description 1
- 229910052783 alkali metal Inorganic materials 0.000 description 1
- 150000008044 alkali metal hydroxides Chemical class 0.000 description 1
- 229910052784 alkaline earth metal Inorganic materials 0.000 description 1
- PNEYBMLMFCGWSK-UHFFFAOYSA-N aluminium oxide Inorganic materials [O-2].[O-2].[O-2].[Al+3].[Al+3] PNEYBMLMFCGWSK-UHFFFAOYSA-N 0.000 description 1
- 229910000147 aluminium phosphate Inorganic materials 0.000 description 1
- 229910021529 ammonia Inorganic materials 0.000 description 1
- 239000000908 ammonium hydroxide Substances 0.000 description 1
- 239000010775 animal oil Substances 0.000 description 1
- 239000008346 aqueous phase Substances 0.000 description 1
- RBFQJDQYXXHULB-UHFFFAOYSA-N arsane Chemical class [AsH3] RBFQJDQYXXHULB-UHFFFAOYSA-N 0.000 description 1
- VUEDNLCYHKSELL-UHFFFAOYSA-N arsonium Chemical compound [AsH4+] VUEDNLCYHKSELL-UHFFFAOYSA-N 0.000 description 1
- 125000003118 aryl group Chemical group 0.000 description 1
- SAOKZLXYCUGLFA-UHFFFAOYSA-N bis(2-ethylhexyl) adipate Chemical compound CCCCC(CC)COC(=O)CCCCC(=O)OCC(CC)CCCC SAOKZLXYCUGLFA-UHFFFAOYSA-N 0.000 description 1
- PDLPMCXGPIVYQQ-UHFFFAOYSA-N bis(4-tert-butylphenyl) phenyl phosphate Chemical compound C1=CC(C(C)(C)C)=CC=C1OP(=O)(OC=1C=CC(=CC=1)C(C)(C)C)OC1=CC=CC=C1 PDLPMCXGPIVYQQ-UHFFFAOYSA-N 0.000 description 1
- 229910052797 bismuth Inorganic materials 0.000 description 1
- JCXGWMGPZLAOME-UHFFFAOYSA-N bismuth atom Chemical compound [Bi] JCXGWMGPZLAOME-UHFFFAOYSA-N 0.000 description 1
- 125000005620 boronic acid group Chemical group 0.000 description 1
- 230000005587 bubbling Effects 0.000 description 1
- COPHVUDURPSYBO-UHFFFAOYSA-N butyl dioctyl phosphate Chemical compound CCCCCCCCOP(=O)(OCCCC)OCCCCCCCC COPHVUDURPSYBO-UHFFFAOYSA-N 0.000 description 1
- 125000000484 butyl group Chemical group [H]C([*])([H])C([H])([H])C([H])([H])C([H])([H])[H] 0.000 description 1
- 229910002090 carbon oxide Inorganic materials 0.000 description 1
- 150000001734 carboxylic acid salts Chemical class 0.000 description 1
- 230000003197 catalytic effect Effects 0.000 description 1
- 238000010531 catalytic reduction reaction Methods 0.000 description 1
- 239000001913 cellulose Substances 0.000 description 1
- 229920002678 cellulose Polymers 0.000 description 1
- 239000000919 ceramic Substances 0.000 description 1
- 229960000541 cetyl alcohol Drugs 0.000 description 1
- 238000003889 chemical engineering Methods 0.000 description 1
- 239000012320 chlorinating reagent Substances 0.000 description 1
- 235000019398 chlorine dioxide Nutrition 0.000 description 1
- 229940077239 chlorous acid Drugs 0.000 description 1
- 238000004587 chromatography analysis Methods 0.000 description 1
- SECPZKHBENQXJG-UHFFFAOYSA-N cis-palmitoleic acid Natural products CCCCCCC=CCCCCCCCC(O)=O SECPZKHBENQXJG-UHFFFAOYSA-N 0.000 description 1
- 239000003245 coal Substances 0.000 description 1
- 230000009918 complex formation Effects 0.000 description 1
- 238000009833 condensation Methods 0.000 description 1
- 230000005494 condensation Effects 0.000 description 1
- 239000000470 constituent Substances 0.000 description 1
- 238000010924 continuous production Methods 0.000 description 1
- 238000009402 cross-breeding Methods 0.000 description 1
- 239000012043 crude product Substances 0.000 description 1
- 230000001186 cumulative effect Effects 0.000 description 1
- VZFUCHSFHOYXIS-UHFFFAOYSA-N cycloheptane carboxylic acid Natural products OC(=O)C1CCCCCC1 VZFUCHSFHOYXIS-UHFFFAOYSA-N 0.000 description 1
- NRVKWKPZZQHRSP-UHFFFAOYSA-N cyclohexyl octadecanoate Chemical compound CCCCCCCCCCCCCCCCCC(=O)OC1CCCCC1 NRVKWKPZZQHRSP-UHFFFAOYSA-N 0.000 description 1
- YSRSBDQINUMTIF-UHFFFAOYSA-N decane-1,2-diol Chemical compound CCCCCCCCC(O)CO YSRSBDQINUMTIF-UHFFFAOYSA-N 0.000 description 1
- 238000010908 decantation Methods 0.000 description 1
- 230000000593 degrading effect Effects 0.000 description 1
- RDLZJCXTAYHYHX-UHFFFAOYSA-N dibenzylphosphorylmethylbenzene Chemical compound C=1C=CC=CC=1CP(CC=1C=CC=CC=1)(=O)CC1=CC=CC=C1 RDLZJCXTAYHYHX-UHFFFAOYSA-N 0.000 description 1
- LEFPWWWXFFNJAA-UHFFFAOYSA-N dicyclohexylphosphorylcyclohexane Chemical compound C1CCCCC1P(C1CCCCC1)(=O)C1CCCCC1 LEFPWWWXFFNJAA-UHFFFAOYSA-N 0.000 description 1
- HCQHIEGYGGJLJU-UHFFFAOYSA-N didecyl hexanedioate Chemical compound CCCCCCCCCCOC(=O)CCCCC(=O)OCCCCCCCCCC HCQHIEGYGGJLJU-UHFFFAOYSA-N 0.000 description 1
- AOAUYBZIBQRSBZ-UHFFFAOYSA-N dihexylphosphorylmethylbenzene Chemical compound CCCCCCP(=O)(CCCCCC)CC1=CC=CC=C1 AOAUYBZIBQRSBZ-UHFFFAOYSA-N 0.000 description 1
- SZAQMRYDICITOU-UHFFFAOYSA-N dioctylphosphorylmethylbenzene Chemical compound CCCCCCCCP(=O)(CCCCCCCC)CC1=CC=CC=C1 SZAQMRYDICITOU-UHFFFAOYSA-N 0.000 description 1
- 238000004090 dissolution Methods 0.000 description 1
- 238000009826 distribution Methods 0.000 description 1
- 230000009977 dual effect Effects 0.000 description 1
- QYDYPVFESGNLHU-UHFFFAOYSA-N elaidic acid methyl ester Natural products CCCCCCCCC=CCCCCCCCC(=O)OC QYDYPVFESGNLHU-UHFFFAOYSA-N 0.000 description 1
- 238000003411 electrode reaction Methods 0.000 description 1
- 239000003822 epoxy resin Substances 0.000 description 1
- ZANNOFHADGWOLI-UHFFFAOYSA-N ethyl 2-hydroxyacetate Chemical compound CCOC(=O)CO ZANNOFHADGWOLI-UHFFFAOYSA-N 0.000 description 1
- 125000004494 ethyl ester group Chemical group 0.000 description 1
- 235000021323 fish oil Nutrition 0.000 description 1
- 229940013317 fish oils Drugs 0.000 description 1
- 239000012530 fluid Substances 0.000 description 1
- 125000001153 fluoro group Chemical group F* 0.000 description 1
- 229920002313 fluoropolymer Polymers 0.000 description 1
- 238000005187 foaming Methods 0.000 description 1
- 239000000499 gel Substances 0.000 description 1
- PCHJSUWPFVWCPO-UHFFFAOYSA-N gold Chemical compound [Au] PCHJSUWPFVWCPO-UHFFFAOYSA-N 0.000 description 1
- 229910052737 gold Inorganic materials 0.000 description 1
- 239000010931 gold Substances 0.000 description 1
- 239000010439 graphite Substances 0.000 description 1
- 229910002804 graphite Inorganic materials 0.000 description 1
- 230000005484 gravity Effects 0.000 description 1
- 150000008282 halocarbons Chemical class 0.000 description 1
- 229930195733 hydrocarbon Natural products 0.000 description 1
- 150000002430 hydrocarbons Chemical class 0.000 description 1
- 238000007038 hydrochlorination reaction Methods 0.000 description 1
- XMBWDFGMSWQBCA-UHFFFAOYSA-N hydrogen iodide Chemical compound I XMBWDFGMSWQBCA-UHFFFAOYSA-N 0.000 description 1
- 229940079826 hydrogen sulfite Drugs 0.000 description 1
- PEYVWSJAZONVQK-UHFFFAOYSA-N hydroperoxy(oxo)borane Chemical compound OOB=O PEYVWSJAZONVQK-UHFFFAOYSA-N 0.000 description 1
- 150000002433 hydrophilic molecules Chemical class 0.000 description 1
- XLYOFNOQVPJJNP-UHFFFAOYSA-M hydroxide Chemical compound [OH-] XLYOFNOQVPJJNP-UHFFFAOYSA-M 0.000 description 1
- 125000002887 hydroxy group Chemical group [H]O* 0.000 description 1
- 150000007529 inorganic bases Chemical class 0.000 description 1
- 150000002484 inorganic compounds Chemical class 0.000 description 1
- 229910010272 inorganic material Inorganic materials 0.000 description 1
- 229910052500 inorganic mineral Inorganic materials 0.000 description 1
- 150000004966 inorganic peroxy acids Chemical class 0.000 description 1
- 238000005342 ion exchange Methods 0.000 description 1
- 159000000014 iron salts Chemical class 0.000 description 1
- 239000002655 kraft paper Substances 0.000 description 1
- 229910052748 manganese Inorganic materials 0.000 description 1
- 239000011572 manganese Substances 0.000 description 1
- 229910001092 metal group alloy Inorganic materials 0.000 description 1
- 229910021645 metal ion Inorganic materials 0.000 description 1
- 125000002496 methyl group Chemical group [H]C([H])([H])* 0.000 description 1
- QYDYPVFESGNLHU-KHPPLWFESA-N methyl oleate Chemical compound CCCCCCCC\C=C/CCCCCCCC(=O)OC QYDYPVFESGNLHU-KHPPLWFESA-N 0.000 description 1
- 229940073769 methyl oleate Drugs 0.000 description 1
- 235000013336 milk Nutrition 0.000 description 1
- 239000008267 milk Substances 0.000 description 1
- 210000004080 milk Anatomy 0.000 description 1
- 235000010755 mineral Nutrition 0.000 description 1
- 239000011707 mineral Substances 0.000 description 1
- 150000007522 mineralic acids Chemical class 0.000 description 1
- 238000012544 monitoring process Methods 0.000 description 1
- 150000002762 monocarboxylic acid derivatives Chemical class 0.000 description 1
- 239000000178 monomer Substances 0.000 description 1
- WQEPLUUGTLDZJY-UHFFFAOYSA-N n-Pentadecanoic acid Natural products CCCCCCCCCCCCCCC(O)=O WQEPLUUGTLDZJY-UHFFFAOYSA-N 0.000 description 1
- WIBFFTLQMKKBLZ-SEYXRHQNSA-N n-butyl oleate Chemical compound CCCCCCCC\C=C/CCCCCCCC(=O)OCCCC WIBFFTLQMKKBLZ-SEYXRHQNSA-N 0.000 description 1
- FCBBRODPXVPZAH-UHFFFAOYSA-N nonan-5-ol Chemical compound CCCCC(O)CCCC FCBBRODPXVPZAH-UHFFFAOYSA-N 0.000 description 1
- 235000014571 nuts Nutrition 0.000 description 1
- AEIJTFQOBWATKX-UHFFFAOYSA-N octane-1,2-diol Chemical compound CCCCCCC(O)CO AEIJTFQOBWATKX-UHFFFAOYSA-N 0.000 description 1
- 229960002446 octanoic acid Drugs 0.000 description 1
- 239000011368 organic material Substances 0.000 description 1
- 239000012074 organic phase Substances 0.000 description 1
- AUONHKJOIZSQGR-UHFFFAOYSA-N oxophosphane Chemical compound P=O AUONHKJOIZSQGR-UHFFFAOYSA-N 0.000 description 1
- 238000005192 partition Methods 0.000 description 1
- 235000020232 peanut Nutrition 0.000 description 1
- 239000000312 peanut oil Substances 0.000 description 1
- 150000002978 peroxides Chemical class 0.000 description 1
- JRKICGRDRMAZLK-UHFFFAOYSA-L peroxydisulfate Chemical compound [O-]S(=O)(=O)OOS([O-])(=O)=O JRKICGRDRMAZLK-UHFFFAOYSA-L 0.000 description 1
- 235000020030 perry Nutrition 0.000 description 1
- 229920001568 phenolic resin Polymers 0.000 description 1
- 239000005011 phenolic resin Substances 0.000 description 1
- DJFBJKSMACBYBD-UHFFFAOYSA-N phosphane;hydrate Chemical compound O.P DJFBJKSMACBYBD-UHFFFAOYSA-N 0.000 description 1
- NBIIXXVUZAFLBC-UHFFFAOYSA-K phosphate Chemical compound [O-]P([O-])([O-])=O NBIIXXVUZAFLBC-UHFFFAOYSA-K 0.000 description 1
- 150000003003 phosphines Chemical class 0.000 description 1
- 229910052698 phosphorus Inorganic materials 0.000 description 1
- 239000011574 phosphorus Substances 0.000 description 1
- 125000001557 phthalyl group Chemical group C(=O)(O)C1=C(C(=O)*)C=CC=C1 0.000 description 1
- 239000004033 plastic Substances 0.000 description 1
- 229920003023 plastic Polymers 0.000 description 1
- 229920002492 poly(sulfone) Polymers 0.000 description 1
- 229920000647 polyepoxide Polymers 0.000 description 1
- 229920000573 polyethylene Polymers 0.000 description 1
- 229920000223 polyglycerol Polymers 0.000 description 1
- 239000002952 polymeric resin Substances 0.000 description 1
- 229920000098 polyolefin Polymers 0.000 description 1
- 229920002223 polystyrene Polymers 0.000 description 1
- 229920001021 polysulfide Polymers 0.000 description 1
- 229920000166 polytrimethylene carbonate Polymers 0.000 description 1
- 229920002451 polyvinyl alcohol Polymers 0.000 description 1
- 229920002981 polyvinylidene fluoride Polymers 0.000 description 1
- 239000001103 potassium chloride Substances 0.000 description 1
- 235000011164 potassium chloride Nutrition 0.000 description 1
- 230000001376 precipitating effect Effects 0.000 description 1
- 150000003138 primary alcohols Chemical class 0.000 description 1
- 238000010926 purge Methods 0.000 description 1
- 239000012264 purified product Substances 0.000 description 1
- 238000007670 refining Methods 0.000 description 1
- 239000011819 refractory material Substances 0.000 description 1
- 239000011347 resin Substances 0.000 description 1
- 229920005989 resin Polymers 0.000 description 1
- WBHHMMIMDMUBKC-XLNAKTSKSA-N ricinelaidic acid Chemical compound CCCCCC[C@@H](O)C\C=C\CCCCCCCC(O)=O WBHHMMIMDMUBKC-XLNAKTSKSA-N 0.000 description 1
- 229960003656 ricinoleic acid Drugs 0.000 description 1
- FEUQNCSVHBHROZ-UHFFFAOYSA-N ricinoleic acid Natural products CCCCCCC(O[Si](C)(C)C)CC=CCCCCCCCC(=O)OC FEUQNCSVHBHROZ-UHFFFAOYSA-N 0.000 description 1
- 239000011435 rock Substances 0.000 description 1
- 238000005070 sampling Methods 0.000 description 1
- 239000004576 sand Substances 0.000 description 1
- 229920006395 saturated elastomer Polymers 0.000 description 1
- 239000013535 sea water Substances 0.000 description 1
- 150000003333 secondary alcohols Chemical class 0.000 description 1
- 229910052709 silver Inorganic materials 0.000 description 1
- 239000004332 silver Substances 0.000 description 1
- 239000010802 sludge Substances 0.000 description 1
- MWNQXXOSWHCCOZ-UHFFFAOYSA-L sodium;oxido carbonate Chemical compound [Na+].[O-]OC([O-])=O MWNQXXOSWHCCOZ-UHFFFAOYSA-L 0.000 description 1
- 239000006104 solid solution Substances 0.000 description 1
- 239000007921 spray Substances 0.000 description 1
- 239000008107 starch Substances 0.000 description 1
- 235000019698 starch Nutrition 0.000 description 1
- 239000007858 starting material Substances 0.000 description 1
- 238000004659 sterilization and disinfection Methods 0.000 description 1
- 229910052717 sulfur Inorganic materials 0.000 description 1
- 239000011593 sulfur Substances 0.000 description 1
- XTQHKBHJIVJGKJ-UHFFFAOYSA-N sulfur monoxide Chemical class S=O XTQHKBHJIVJGKJ-UHFFFAOYSA-N 0.000 description 1
- 229910052815 sulfur oxide Inorganic materials 0.000 description 1
- 235000020238 sunflower seed Nutrition 0.000 description 1
- 239000004094 surface-active agent Substances 0.000 description 1
- 229920003002 synthetic resin Polymers 0.000 description 1
- 229910052715 tantalum Inorganic materials 0.000 description 1
- GUVRBAGPIYLISA-UHFFFAOYSA-N tantalum atom Chemical compound [Ta] GUVRBAGPIYLISA-UHFFFAOYSA-N 0.000 description 1
- 238000012360 testing method Methods 0.000 description 1
- 150000000000 tetracarboxylic acids Chemical class 0.000 description 1
- TUNFSRHWOTWDNC-HKGQFRNVSA-N tetradecanoic acid Chemical compound CCCCCCCCCCCCC[14C](O)=O TUNFSRHWOTWDNC-HKGQFRNVSA-N 0.000 description 1
- 238000005809 transesterification reaction Methods 0.000 description 1
- STCOOQWBFONSKY-UHFFFAOYSA-N tributyl phosphate Chemical group CCCCOP(=O)(OCCCC)OCCCC STCOOQWBFONSKY-UHFFFAOYSA-N 0.000 description 1
- 150000003628 tricarboxylic acids Chemical class 0.000 description 1
- GAJQCIFYLSXSEZ-UHFFFAOYSA-L tridecyl phosphate Chemical compound CCCCCCCCCCCCCOP([O-])([O-])=O GAJQCIFYLSXSEZ-UHFFFAOYSA-L 0.000 description 1
- SFENPMLASUEABX-UHFFFAOYSA-N trihexyl phosphate Chemical compound CCCCCCOP(=O)(OCCCCCC)OCCCCCC SFENPMLASUEABX-UHFFFAOYSA-N 0.000 description 1
- FDGZUBKNYGBWHI-UHFFFAOYSA-N trioctadecyl phosphate Chemical compound CCCCCCCCCCCCCCCCCCOP(=O)(OCCCCCCCCCCCCCCCCCC)OCCCCCCCCCCCCCCCCCC FDGZUBKNYGBWHI-UHFFFAOYSA-N 0.000 description 1
- WVPGXJOLGGFBCR-UHFFFAOYSA-N trioctyl phosphate Chemical compound CCCCCCCCOP(=O)(OCCCCCCCC)OCCCCCCCC WVPGXJOLGGFBCR-UHFFFAOYSA-N 0.000 description 1
- KJIOQYGWTQBHNH-UHFFFAOYSA-N undecanol Chemical compound CCCCCCCCCCCO KJIOQYGWTQBHNH-UHFFFAOYSA-N 0.000 description 1
- 235000015112 vegetable and seed oil Nutrition 0.000 description 1
- 239000008158 vegetable oil Substances 0.000 description 1
- 235000013311 vegetables Nutrition 0.000 description 1
- 239000002023 wood Substances 0.000 description 1
Images
Classifications
-
- C—CHEMISTRY; METALLURGY
- C25—ELECTROLYTIC OR ELECTROPHORETIC PROCESSES; APPARATUS THEREFOR
- C25B—ELECTROLYTIC OR ELECTROPHORETIC PROCESSES FOR THE PRODUCTION OF COMPOUNDS OR NON-METALS; APPARATUS THEREFOR
- C25B1/00—Electrolytic production of inorganic compounds or non-metals
- C25B1/01—Products
- C25B1/34—Simultaneous production of alkali metal hydroxides and chlorine, oxyacids or salts of chlorine, e.g. by chlor-alkali electrolysis
-
- C—CHEMISTRY; METALLURGY
- C01—INORGANIC CHEMISTRY
- C01D—COMPOUNDS OF ALKALI METALS, i.e. LITHIUM, SODIUM, POTASSIUM, RUBIDIUM, CAESIUM, OR FRANCIUM
- C01D3/00—Halides of sodium, potassium or alkali metals in general
- C01D3/04—Chlorides
-
- C—CHEMISTRY; METALLURGY
- C07—ORGANIC CHEMISTRY
- C07D—HETEROCYCLIC COMPOUNDS
- C07D301/00—Preparation of oxiranes
- C07D301/02—Synthesis of the oxirane ring
- C07D301/24—Synthesis of the oxirane ring by splitting off HAL—Y from compounds containing the radical HAL—C—C—OY
- C07D301/26—Y being hydrogen
-
- C—CHEMISTRY; METALLURGY
- C25—ELECTROLYTIC OR ELECTROPHORETIC PROCESSES; APPARATUS THEREFOR
- C25B—ELECTROLYTIC OR ELECTROPHORETIC PROCESSES FOR THE PRODUCTION OF COMPOUNDS OR NON-METALS; APPARATUS THEREFOR
- C25B1/00—Electrolytic production of inorganic compounds or non-metals
- C25B1/01—Products
- C25B1/02—Hydrogen or oxygen
-
- C—CHEMISTRY; METALLURGY
- C25—ELECTROLYTIC OR ELECTROPHORETIC PROCESSES; APPARATUS THEREFOR
- C25B—ELECTROLYTIC OR ELECTROPHORETIC PROCESSES FOR THE PRODUCTION OF COMPOUNDS OR NON-METALS; APPARATUS THEREFOR
- C25B1/00—Electrolytic production of inorganic compounds or non-metals
- C25B1/01—Products
- C25B1/24—Halogens or compounds thereof
- C25B1/26—Chlorine; Compounds thereof
-
- C—CHEMISTRY; METALLURGY
- C25—ELECTROLYTIC OR ELECTROPHORETIC PROCESSES; APPARATUS THEREFOR
- C25B—ELECTROLYTIC OR ELECTROPHORETIC PROCESSES FOR THE PRODUCTION OF COMPOUNDS OR NON-METALS; APPARATUS THEREFOR
- C25B1/00—Electrolytic production of inorganic compounds or non-metals
- C25B1/01—Products
- C25B1/34—Simultaneous production of alkali metal hydroxides and chlorine, oxyacids or salts of chlorine, e.g. by chlor-alkali electrolysis
- C25B1/46—Simultaneous production of alkali metal hydroxides and chlorine, oxyacids or salts of chlorine, e.g. by chlor-alkali electrolysis in diaphragm cells
Landscapes
- Chemical & Material Sciences (AREA)
- Organic Chemistry (AREA)
- Materials Engineering (AREA)
- Inorganic Chemistry (AREA)
- Engineering & Computer Science (AREA)
- Metallurgy (AREA)
- Electrochemistry (AREA)
- Chemical Kinetics & Catalysis (AREA)
- Organic Low-Molecular-Weight Compounds And Preparation Thereof (AREA)
- Electrolytic Production Of Non-Metals, Compounds, Apparatuses Therefor (AREA)
- Cosmetics (AREA)
- Medicinal Preparation (AREA)
- Acyclic And Carbocyclic Compounds In Medicinal Compositions (AREA)
Description
本件出願は、その両方の内容が参照により本明細書に援用される、2008年1月31日出願の欧州特許出願公開第08150927.5号および2007年6月12日出願の仏国特許出願公開第07/5569号の優先権を主張するものである。
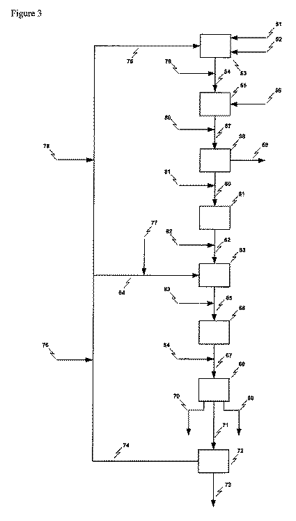
a)エピクロロヒドリンおよび少なくとも1種の塩を形成するために、液体反応媒体中に、1,3−ジクロロ−2−プロパノールおよび2,3−ジクロロ−1−プロパノール含有率の合計に対して1,3−ジクロロ−2−プロパノール含有量が10重量%以上である1,3−ジクロロ−2−プロパノールおよび2,3−ジクロロ−1−プロパノールを含むジクロロプロパノールの混合物を、少なくとも1種の塩基性化合物と反応させる工程と、
b)工程a)からの液体反応媒体の少なくとも一部を、沈殿操作前に工程a)からの反応媒体の一部に含有されたエピクロロヒドリンのほとんどを含有する第1の画分が、沈殿操作前に工程a)からの反応媒体の一部に含有された塩のほとんどを含有する第2の画分から分離される沈殿操作に供する工程と、
c)工程b)で分離された第2の画分は、物理的処理、化学的処理、生物学的処理、およびそれらの任意の組み合わせから選択される少なくとも1つにかけられる工程と
を含む、本発明による水性組成物の製造方法に関する。
I.塩化水素でのグリセロールの塩素化によるジクロロプロパノールの製造工程と、
II.エピクロロヒドリンと塩化ナトリウムを含有する水性組成物とを得るために水酸化ナトリウムでの工程(I)で得られたジクロロプロパノールの脱塩化水素の工程と、
III.本発明による水性組成物を得るために活性塩素との反応を含む工程(II)の水性組成物を処理する工程と、
IV.水素、塩素および水酸化ナトリウムを得るために工程(III)の水性組成物を電解する工程と、
任意選択的に少なくとも1つの次の工程
V.工程(IV)で得られた水酸化ナトリウムの画分を工程(II)にリサイクルする工程と、
VI.塩化水素を製造するために、工程(IV)で得られた塩素の画分を、
a.工程(IV)で得られた水素および/または
b.プロピレン、メタン、塩素化炭化水素、クロロハイドロフルオロカーボン、またはそれらの混合物から選択される化合物
と反応させ、そして工程(VI)で生成した塩化水素の画分を工程(I)にリサイクルする工程と、
VII.塩化水素を製造するために、工程(IV)で得られた塩素の画分を、
a.四塩化ケイ素を生み出すために、ケイ素、高ケイ素フェロシリコン、炭化ケイ素、シリカおよび炭素と、および/または1,2−ジクロロエタンを生み出すためにエチレンとおよび/またはホスゲンを生み出すために一酸化炭素と反応させる、および/または
b.四塩化ケイ素および/または1,2−ジクロロエタンおよび/またはホスゲンをそれぞれ火炎加水分解、熱分解およびアミンとの反応にかけ、
そして工程(VII)で生成した水素の画分を工程(I)にリサイクルする工程と、
VIII.工程(IV)で得られた塩素の画分を工程(III)にリサイクルする工程と
を含む方法に関する。
1リットルのガラス恒温反応器に、258.76gの1,3−ジクロロプロパン−2−オール(2.01モル)を装入した。このフラスコに20分にわたって、25℃で激しく撹拌しながら、397.1gのNaOHの19.1重量%水溶液(1.90モル)を加えた。添加の終わりに、生じた混合物を分液漏斗へ移した。その密度が1.185である、179.39gの有機画分と、その密度が1.182であり、その全有機炭素含有率(TOC)が8.7gのC/lである、488.95gの第2の画分とを回収した。第2の画分のアリコート部分を、14.6重量%の凝縮蒸留物とそのTOCが0.69gC/lであり、その主有機成分が3−クロロ−1,2−プロパンジオールである蒸発残留物とが回収されるまで、90℃で150トルの減圧下に蒸発操作にかけた。蒸留物の、および蒸発残留物の、分離された水性および有機画分のg/kg単位で表される、組成を表1に示す(M.C.=主成分)。
25%のNaClおよび2.6%の3−クロロ−1,2−プロパンジオールを含有する、ある容積の水性組成物を、半分容積の抽出溶剤と接触させた。30分間激しく撹拌した後、混合物を分液漏斗で分離した。3−クロロ−1,2−プロパンジオール含有率をそれぞれの相でクロマトグラフ分析によって測定し、g/kg単位での有機相中の3−クロロ−1,2−プロパンジオールの重量濃度対g/kg単位での水相中の3−クロロ−1,2−プロパンジオールの重量濃度の比に相当する、3−クロロ−1,2−プロパンジオールの分配係数を計算した。表2は、例示的な溶剤について、試験温度およびまた、平衡相のそれぞれで得られた濃度ならびに計算された分配係数を繰り返す。LUBRIROB 926.65は、Novanceによって販売されるオレイン酸メチルである。
22.2%のNaCl、9.46gC/kgのTOC、38g/kgの1,3−ジクロロ−2−プロパノールおよび0.59g/kgの2,3−ジクロロ−l−プロパノールならびに0.07g/kgのエピクロロヒドリンを含有する水性組成物が、1,3−ジクロロ−2−プロパノールおよび2,3−ジクロロ−1−プロパノール含有率の合計に対する1,3−ジクロロ−2−プロパノール含有率が少なくとも10重量%である、1,3−ジクロロ−2−プロパノールと2,3−ジクロロ−1−プロパノールとを含有するジクロロプロパノールの混合物と、塩基性化合物との間の反応の終わりにそれ自体得られた第2分離画分の、1,3−ジクロロプロパン−2−オールによる、抽出の終わりに得られた。
1部の吸着剤を、20%のNaClおよび5g/kgの3−クロロ−1,2−プロパンジオールを含有する10部の水性組成物に加えた。この懸濁液を周囲温度で撹拌し、アリコートを1および22時間後に取り出した。濾過後に回収された液体中の3−クロロ−1,2−プロパンジオールの量を測定した。表3は、得られた結果を示す。
水性組成物の酸化処理操作を、磁気撹拌棒と562mlの一定容積の液体が反応器に保たれることを可能にする排水システムとを備えた、ポリテトラフルオロエチレン被覆ジャケット付き反応器で実施した。処理される水性組成物は、前もって1,3−ジクロロ−2−プロパノールで抽出し、スチーム−ストリッピングした、505mgC/lのTOCを有する、20%のNaClおよび1.4g/kgの1,3−ジクロロ−2−プロパノールからなる、実施例3に記載されたものなどの分離画分から得られた。使用した酸化剤は、11.2%g/gのNaOCl、8.8%のNaClおよび2.0%のNaOHを含有する次亜塩素酸ナトリウム溶液であった。水性組成物および次亜塩素酸塩溶液を、それぞれ、1448g/時間および109.2g/時間の一定流量で反応器へ導入した。反応を、4バールの自生圧力下に120℃で実施した。冷却後に反応器を出る時に回収した水性組成物は、11.71のpHおよび230mgC/lのTOCを有した。
水性組成物の酸化処理操作を、直列接続した3つの恒温ガラス反応器で連続的に実施し;2つの最初の反応器は磁気撹拌棒で撹拌し、最後の反応器はプラグフロー型のものであった。処理される水性組成物は、実施例3に記載されたものなどの、分離画分から得られた。水性組成物は、1.4gC/lのTOC値および3.9gO/lの化学的酸素要求量(COD)値を有する。その組成を表5に示す。水性組成物を第1反応器に連続的に供給した。使用した酸化剤は、10.2%g/gのNaOCl、8.2%のNaClおよび2.3%のNaOHを含有する次亜塩素酸ナトリウム溶液であった。次亜塩素酸塩溶液の一部(流出物のCODの1.2当量)を第1反応器へ連続的に導入し、次亜塩素酸塩の第2部分(流出物のCODの0.8当量)を一定流量で第2反応器に連続的に加えた。pHを濃塩酸の添加によって2つの撹拌反応器で8.5に調整した(サンプリング後に25℃で測定)。温度を105℃に維持し、圧力を1絶対バールに維持し、滞留時間は、第1、第2および第3反応器でそれぞれ66、56および47分であった。第3反応器を出る時に回収された水性組成物は冷却後に7.4のpHおよび60mgC/lのTOCを有した。処理後に得られた水性組成物の組成を表5に示す。
膜電解プロセスで出発原料として古典的に使用される組成物が得られた。当該組成物は、1kg当たり250gのNaClを含み、3mgC/lのTOC含有率を有した。
Claims (30)
- 塩素の製造のための電解プロセスにおける反応体として使用するための水性組成物であって、
組成物1kg当たり少なくとも30gの量の少なくとも1つの塩、
少なくとも1つのカルボン酸、および、
前記水性組成物1kg当たり500mg以下の含有率の多価金属、
を含有し、
前記水性組成物の全有機炭素含有率が、組成物1リットル当たり少なくとも1μgのCおよび多くとも5gのC/lである、水性組成物。 - 前記カルボン酸が1〜10個の炭素原子を含む、請求項1に記載の電解反応体としての水性組成物。
- 前記カルボン酸が、ギ酸、酢酸、プロピオン酸、グリコール酸、乳酸、モノクロロ酢酸、ジクロロ酢酸、トリクロロ酢酸、シュウ酸、コハク酸、アジピン酸、グリセリン酸、ピルビン酸、およびそれらの少なくとも2つの混合物から選択される、請求項1または2に記載の電解反応体としての水性組成物。
- 前記カルボン酸が酢酸である、請求項3に記載の電解反応体としての水性組成物。
- 前記塩がアルカリまたはアルカリ土類金属塩化物、硫酸塩、硫酸水素塩、水酸化物、炭酸塩、炭酸水素塩、リン酸塩、リン酸水素塩、ホウ酸塩、およびそれらの混合物から選択される、請求項1〜4のいずれか一項に記載の電解反応体としての水性組成物。
- 前記塩が塩化ナトリウムである、請求項5に記載の電解反応体としての水性組成物。
- 前記多価金属が、カルシウム、マグネシウム、ストロンチウム、バリウム、ケイ素、鉛、コバルト、マンガン、アルミニウム、水銀、鉄およびニッケルから選択される、請求項1〜6のいずれか一項に記載の電解反応体としての水性組成物。
- 前記電解プロセスが、水銀電解、隔膜電解プロセス、または膜電解プロセスから選択される、請求項1〜7のいずれか一項に記載の電解反応体としての水性組成物。
- 前記電解プロセスが、隔膜電解プロセスまたは膜電解プロセスから選択される、請求項1〜7のいずれか一項に記載の電解反応体としての水性組成物。
- 前記電解プロセスが、膜電解プロセスである、請求項1〜7のいずれか一項に記載の電解反応体としての水性組成物。
- 水性組成物1kg当たり0.001mg以上のCl2、かつ水性組成物1kg当たり1g以下のCl2の含有率で活性塩素を含有する、請求項1〜10のいずれか一項に記載の電解反応体としての水性組成物。
- アセトン、アクロレイン、2−ブタノン、イソプロパノール、3−メトキシ−1,2−エポキシプロパン、シクロペンタノン、エピクロロヒドリン、クロロアセトン、ヒドロキシアセトン(アセトール)、C6H12O、1,2,3−トリクロロプロパン、2,3−エポキシ−1−プロパノール(グリシドール)、2−クロロ−2−プロペン−1−オール、3−クロロ−2−プロペン−1−オール シス、1−メトキシ−3−クロロプロパン−2−オール、3−クロロ−1−プロパン−1−オール、3−クロロ−2−プロペン−1−オール トランス、C6H8O2、C6H12OCl2、C6H10O2Cl2、1,3−ジクロロ−2−プロパノール、C9H10O2、2,3−ジクロロ−1−プロパノール、フェノール、グリセロール、1−クロロ−2,3−プロパンジオール、2−クロロ−1,3−プロパンジオール、グリセロール、環状ジグリセロール、グリセルアルデヒド、ホルムアルデヒド、アセトアルデヒド、プロピオンアルデヒド、ブチルアルデヒド、およびそれらの混合物から選択される追加の有機化合物を含有する、請求項1〜11のいずれか一項に記載の電解反応体としての水性組成物。
- 次の工程:
a)液体反応媒体中で、1,3−ジクロロ−2−プロパノール含有率が1,3−ジクロロ−2−プロパノールおよび2,3−ジクロロ−1−プロパノール含有率の合計に対して少なくとも10重量%である、1,3−ジクロロ−2−プロパノールおよび2,3−ジクロロ−1−プロパノールを含有するジクロロプロパノールの混合物を、エピクロロヒドリンと少なくとも1つの塩とを形成するために少なくとも1つの塩基性化合物と反応させる工程と、
b)工程a)からの液体反応媒体の少なくとも一部が沈降操作にかけられ、その操作で沈降操作前の工程a)からの反応媒体の一部に含有されるエピクロロヒドリンのほとんどを含有する第1の画分を、沈降操作前の工程a)からの反応媒体の一部に含有される塩のほとんどを含有する第2の画分から分離する工程と、
c)工程b)で分離された第2の画分を、物理的処理、化学的処理、生物学的処理、およびそれらの任意の組み合わせから選択される少なくとも1つの処理にかける工程と
を含む、請求項1〜12のいずれか一項に記載の水性組成物の製造方法。 - 用いられる場合に前記物理的処理が、単独でかまたは組み合わせて、希釈、濃縮、蒸発、蒸留、ストリッピング、液体/液体抽出および吸着操作から選ばれ、用いられる場合に前記化学的処理が、単独でかまたは組み合わせて、酸化、還元、中和、錯体形成および沈殿操作から選ばれ、そして用いられる場合に前記生物学的処理が、単独でかまたは組み合わせて、好気性および嫌気性バクテリア処理から選ばれる、請求項13に記載の方法。
- 前記処理がスチームで実施される少なくとも1つのストリッピング操作、引き続く活性塩素を含有する酸化剤の存在下に実施される少なくとも1つの酸化操作を含む、請求項14に記載の方法。
- 前記処理が、ストリッピング操作前に実施される、1,3−ジクロロ−2−プロパノールと2,3−ジクロロ−1−プロパノールとの混合物での少なくとも1つの液体/液体抽出操作をさらに含む、請求項15に記載の方法。
- 前記工程a)〜c)が、工程a)反応条件、工程b)沈降条件および工程c)処理条件下に塩基性化合物に耐性があり、かつ、工程c)処理条件下に酸化剤に耐性がある材料から製造されたかまたはそれで覆われた機器で実施され、塩基性化合物に耐性がある材料が、炭素鋼、ステンレススチール、ニッケル、エナメルスチール、ポリプロピレンおよびポリテトラフルオロエチレンから選ばれ、酸化剤に耐性がある材料がチタン、エナメルスチールおよびハステロイCから選ばれる、請求項13〜16のいずれか一項に記載の方法。
- 塩素の製造のための膜電解プロセスでの反応体としての請求項1〜12のいずれか一項に記載の水性組成物の使用。
- 前記膜電解プロセスが0℃以上および120℃以下の温度および0.01絶対バール以上および5絶対バール以下の圧力で実施される、請求項18に記載の使用。
- 前記膜電解プロセスが隔膜電解槽でかまたは膜電解槽で実施される、請求項18または19に記載の使用。
- 前記膜電解プロセスが水素、塩素および水酸化ナトリウムを製造する、請求項18〜20のいずれか一項に記載の使用。
- 前記水酸化ナトリウムの画分を、エピクロロヒドリンと塩化ナトリウムを含有する水性組成物とを得るためにジクロロプロパノールと反応させる、請求項21に記載の使用。
- 前記塩素の画分を、塩化水素を得るために、水素および/またはプロピレン、メタン、塩素化炭化水素、クロロハイドロフルオロカーボン、またはそれらの混合物から選択される化合物と反応させる、請求項21または22に記載の使用。
- 前記塩素の画分を、四塩化ケイ素を得るためにケイ素および/または高ケイ素フェロシリコンおよび/または炭化ケイ素および/またはシリカおよび炭素と、および/または1,2−ジクロロエタンを得るためにエチレンと、および/またはホスゲンを得るために一酸化炭素と反応させる、請求項21または22に記載の使用。
- 塩化水素を得るために、四塩化ケイ素を火炎加水分解する、および/または1,2−ジクロロエタンを熱分解する、および/またはホスゲンをアミンと反応させる、請求項24に記載の使用。
- 前記塩化水素の画分を、ジクロロプロパノールを得るためにグリセロールと反応させる、請求項23または25のいずれか一項に記載の使用。
- 前記ジクロロプロパノールの画分を、エピクロロヒドリンと塩化ナトリウムを含有する水性組成物とを得るために水酸化ナトリウムと反応させる、請求項26に記載の使用。
- 塩化ナトリウムを含有する前記水性組成物を、請求項1〜12のいずれか一項に記載の水性組成物を得るために活性塩素と反応させる、請求項22に記載の使用。
- 前記活性塩素が塩素を含有する、請求項28に記載の使用。
- エピクロロヒドリンの製造方法であって、
I.塩化水素でのグリセロールの塩素化によるジクロロプロパノールの製造工程と、
II.エピクロロヒドリンと塩化ナトリウムを含有する水性組成物とを得るために水酸化ナトリウムでの工程(I)で得られたジクロロプロパノールの脱塩化水素の工程と、
III.請求項1〜10のいずれか一項に記載の水性組成物を得るために活性塩素との反応を含む工程(II)の水性組成物を処理する工程と、
IV.水素、塩素および水酸化ナトリウムを得るために工程(III)の水性組成物を電解する工程と、
任意選択的に少なくとも1つの次の工程
V.工程(IV)で得られた水酸化ナトリウムの画分を工程(II)にリサイクルする工程と、
VI.塩化水素を製造するために、工程(IV)で得られた塩素の画分を、
a.工程(IV)で得られた水素および/または
b.プロピレン、メタン、塩素化炭化水素、クロロハイドロフルオロカーボン、またはそれらの混合物から選択される化合物
と反応させ、そして工程(VI)で生成した塩化水素の画分を工程(I)にリサイクルする工程と、
VII.工程(IV)で得られた塩素の画分を、
a.四塩化ケイ素を生み出すためにケイ素および/または1,2−ジクロロエタンを生み出すためにエチレンおよび/またはホスゲンを生み出すために一酸化炭素と反応させる、および/または
b.四塩化ケイ素および/または1,2−ジクロロエタンおよび/またはホスゲンをそれぞれ火炎加水分解、熱分解およびアミンとの反応にかけ、
塩化水素を製造し、そして工程(VII)で生成した水素の画分を工程(I)にリサイクルする工程と、
VIII.工程(IV)で得られた塩素の画分を工程(III)にリサイクルする工程と
を含む方法。
Applications Claiming Priority (5)
| Application Number | Priority Date | Filing Date | Title |
|---|---|---|---|
| FR0755697 | 2007-06-12 | ||
| FR0755697A FR2917400B1 (fr) | 2007-06-12 | 2007-06-12 | Composition aqueuse contenant un sel, procede de fabrication et utilisation |
| EP08150927.5 | 2008-01-31 | ||
| EP08150927 | 2008-01-31 | ||
| PCT/EP2008/057245 WO2008152043A1 (en) | 2007-06-12 | 2008-06-11 | Aqueous composition containing a salt, manufacturing process and use |
Publications (2)
| Publication Number | Publication Date |
|---|---|
| JP2010529301A JP2010529301A (ja) | 2010-08-26 |
| JP5259702B2 true JP5259702B2 (ja) | 2013-08-07 |
Family
ID=39689207
Family Applications (1)
| Application Number | Title | Priority Date | Filing Date |
|---|---|---|---|
| JP2010511619A Expired - Fee Related JP5259702B2 (ja) | 2007-06-12 | 2008-06-11 | 塩を含有する水性組成物、製造方法および使用 |
Country Status (12)
| Country | Link |
|---|---|
| US (2) | US8197665B2 (ja) |
| EP (1) | EP2160356A1 (ja) |
| JP (1) | JP5259702B2 (ja) |
| KR (1) | KR20100022521A (ja) |
| CN (1) | CN101679057A (ja) |
| AR (1) | AR070303A1 (ja) |
| BR (1) | BRPI0812481A2 (ja) |
| CA (1) | CA2690006A1 (ja) |
| EA (1) | EA201070001A1 (ja) |
| MX (1) | MX2009013546A (ja) |
| TW (1) | TW200911693A (ja) |
| WO (1) | WO2008152043A1 (ja) |
Families Citing this family (54)
| Publication number | Priority date | Publication date | Assignee | Title |
|---|---|---|---|---|
| EP2053034B1 (en) | 2003-11-20 | 2018-01-24 | Solvay Sa | Process for producing a chlorohydrin |
| KR20080037615A (ko) | 2005-05-20 | 2008-04-30 | 솔베이(소시에떼아노님) | 클로로히드린의 제조 방법 |
| BRPI0618325A2 (pt) * | 2005-11-08 | 2011-08-23 | Solvay | processo parar a produção de dicloropropanol |
| US20100032617A1 (en) * | 2007-02-20 | 2010-02-11 | Solvay (Societe Anonyme) | Process for manufacturing epichlorohydrin |
| FR2913684B1 (fr) * | 2007-03-14 | 2012-09-14 | Solvay | Procede de fabrication de dichloropropanol |
| TW200911693A (en) * | 2007-06-12 | 2009-03-16 | Solvay | Aqueous composition containing a salt, manufacturing process and use |
| FR2918058A1 (fr) * | 2007-06-28 | 2009-01-02 | Solvay | Produit a base de glycerol, procede pour sa purification et son utilisation dans la fabrication de dichloropropanol |
| KR20100089835A (ko) * | 2007-10-02 | 2010-08-12 | 솔베이(소시에떼아노님) | 용기의 내부식성 향상을 위한 실리콘-함유 조성물의 용도 |
| FR2925045B1 (fr) | 2007-12-17 | 2012-02-24 | Solvay | Produit a base de glycerol, procede pour son obtention et son utilisation dans la fabrication de dichloropropanol |
| TWI478875B (zh) | 2008-01-31 | 2015-04-01 | Solvay | 使水性組成物中之有機物質降解之方法 |
| EA201071157A1 (ru) | 2008-04-03 | 2011-04-29 | Солвей (Сосьете Аноним) | Композиция, содержащая глицерин, способ ее получения и применение в производстве дихлорпропанола |
| FR2935968B1 (fr) | 2008-09-12 | 2010-09-10 | Solvay | Procede pour la purification de chlorure d'hydrogene |
| FR2939434B1 (fr) * | 2008-12-08 | 2012-05-18 | Solvay | Procede de traitement de glycerol. |
| CA2749136A1 (en) | 2009-01-29 | 2010-08-05 | Princeton University | Conversion of carbon dioxide to organic products |
| US20110020862A1 (en) * | 2009-05-29 | 2011-01-27 | Kainos Power LLC. | Biological solids processing system and method |
| FR2952060B1 (fr) | 2009-11-04 | 2011-11-18 | Solvay | Procede de fabrication d'un produit derive de l'epichlorhydrine |
| EP2496625A1 (en) | 2009-11-04 | 2012-09-12 | Solvay Sa | Process for manufacturing an epoxy resin |
| US8500987B2 (en) | 2010-03-19 | 2013-08-06 | Liquid Light, Inc. | Purification of carbon dioxide from a mixture of gases |
| US8721866B2 (en) | 2010-03-19 | 2014-05-13 | Liquid Light, Inc. | Electrochemical production of synthesis gas from carbon dioxide |
| US8845877B2 (en) | 2010-03-19 | 2014-09-30 | Liquid Light, Inc. | Heterocycle catalyzed electrochemical process |
| US8845878B2 (en) | 2010-07-29 | 2014-09-30 | Liquid Light, Inc. | Reducing carbon dioxide to products |
| FR2963338B1 (fr) * | 2010-08-02 | 2014-10-24 | Solvay | Procede d'electrolyse |
| FR2964096A1 (fr) | 2010-08-27 | 2012-03-02 | Solvay | Procede d'epuration d'une saumure |
| EP2621911A1 (en) | 2010-09-30 | 2013-08-07 | Solvay Sa | Derivative of epichlorohydrin of natural origin |
| FR2966825B1 (fr) | 2010-10-29 | 2014-05-16 | Solvay | Procede de fabrication d'epichlorhydrine |
| US8568581B2 (en) | 2010-11-30 | 2013-10-29 | Liquid Light, Inc. | Heterocycle catalyzed carbonylation and hydroformylation with carbon dioxide |
| US8961774B2 (en) | 2010-11-30 | 2015-02-24 | Liquid Light, Inc. | Electrochemical production of butanol from carbon dioxide and water |
| US9090976B2 (en) | 2010-12-30 | 2015-07-28 | The Trustees Of Princeton University | Advanced aromatic amine heterocyclic catalysts for carbon dioxide reduction |
| US9200375B2 (en) * | 2011-05-19 | 2015-12-01 | Calera Corporation | Systems and methods for preparation and separation of products |
| CN104080737A (zh) * | 2011-12-19 | 2014-10-01 | 索尔维公司 | 用于减少水性组合物的总有机碳的方法 |
| ITMI20120486A1 (it) * | 2012-03-27 | 2013-09-28 | Industrie De Nora Spa | Trattamento di effluenti da impianti di produzione di composti epossidici |
| EP2669308A1 (en) * | 2012-06-01 | 2013-12-04 | Solvay Sa | Process for manufacturing an epoxy resin |
| EP2669307A1 (en) | 2012-06-01 | 2013-12-04 | Solvay Sa | Process for manufacturing an epoxide |
| EP2669305A1 (en) * | 2012-06-01 | 2013-12-04 | Solvay Sa | Process for manufacturing an epoxy resin |
| US9175407B2 (en) | 2012-07-26 | 2015-11-03 | Liquid Light, Inc. | Integrated process for producing carboxylic acids from carbon dioxide |
| US8444844B1 (en) | 2012-07-26 | 2013-05-21 | Liquid Light, Inc. | Electrochemical co-production of a glycol and an alkene employing recycled halide |
| US8641885B2 (en) | 2012-07-26 | 2014-02-04 | Liquid Light, Inc. | Multiphase electrochemical reduction of CO2 |
| US10329676B2 (en) | 2012-07-26 | 2019-06-25 | Avantium Knowledge Centre B.V. | Method and system for electrochemical reduction of carbon dioxide employing a gas diffusion electrode |
| US20130105304A1 (en) | 2012-07-26 | 2013-05-02 | Liquid Light, Inc. | System and High Surface Area Electrodes for the Electrochemical Reduction of Carbon Dioxide |
| US9267212B2 (en) | 2012-07-26 | 2016-02-23 | Liquid Light, Inc. | Method and system for production of oxalic acid and oxalic acid reduction products |
| US9873951B2 (en) | 2012-09-14 | 2018-01-23 | Avantium Knowledge Centre B.V. | High pressure electrochemical cell and process for the electrochemical reduction of carbon dioxide |
| US9422256B2 (en) | 2012-09-28 | 2016-08-23 | Conser Spa | Continuous process for producing epichlorohydrin from glycerol |
| EP2935654B1 (en) * | 2012-12-21 | 2018-02-28 | Avantium Knowledge Centre B.V. | Method for production of oxalic acid and oxalic acid reduction products |
| TWI633206B (zh) | 2013-07-31 | 2018-08-21 | 卡利拉股份有限公司 | 使用金屬氧化物之電化學氫氧化物系統及方法 |
| WO2015091871A1 (en) * | 2013-12-20 | 2015-06-25 | Solvay Sa | Process for manufacturing an epoxide |
| US11040903B2 (en) | 2015-10-05 | 2021-06-22 | The Chemours Company Fc, Llc | Purification of NaCl brine containing iodine |
| EP3767011A1 (en) | 2015-10-28 | 2021-01-20 | Calera Corporation | Electrochemical, halogenation, and oxyhalogenation systems and methods |
| US10619254B2 (en) | 2016-10-28 | 2020-04-14 | Calera Corporation | Electrochemical, chlorination, and oxychlorination systems and methods to form propylene oxide or ethylene oxide |
| WO2019060345A1 (en) | 2017-09-19 | 2019-03-28 | Calera Corporation | SYSTEMS AND METHODS USING LANTHANIDE HALIDE |
| US10590054B2 (en) | 2018-05-30 | 2020-03-17 | Calera Corporation | Methods and systems to form propylene chlorohydrin from dichloropropane using Lewis acid |
| US20210238071A1 (en) * | 2018-07-27 | 2021-08-05 | Spolek Pro Chemickou A Hutni Vyrobu, Akciova Spolecnost | Process to treat waste brine |
| WO2020216648A1 (de) * | 2019-04-25 | 2020-10-29 | Basf Se | Verfahren zur herstellung von phosgen |
| TWI772980B (zh) * | 2020-11-25 | 2022-08-01 | 義芳化學工業股份有限公司 | 二氯丙醇及環氧氯丙烷的製造方法 |
| WO2025117963A1 (en) * | 2023-11-30 | 2025-06-05 | 1S1 Energy, Inc. | Boronic acid-functionalized carbon materials |
Family Cites Families (239)
| Publication number | Priority date | Publication date | Assignee | Title |
|---|---|---|---|---|
| DE238341C (ja) | ||||
| DE1075103B (de) | 1960-02-11 | VEB Leuna-Werke "Walter Ulbricht", Leuna (Kr. Merseburg) | Verfahren zur kontinuierlichen Herstellung von Epichlorhydrin aus Glyzerin | |
| DE197308C (ja) | ||||
| DE58396C (de) | Dr. P. FRITSCH in Rostock i. M., Augustenstr. 40 | Verfahren zur Darstellung von Glyceriden aromatischer Säuren | ||
| DE197309C (ja) | ||||
| DE180668C (ja) | ||||
| US280693A (en) * | 1883-07-03 | Hay-rack | ||
| US3061615A (en) | 1962-10-30 | Process for the production of alpha-epichlorhydrin | ||
| US865727A (en) * | 1907-08-09 | 1907-09-10 | Augustin L J Queneau | Method of making and utilizing gas. |
| GB406345A (en) | 1931-08-24 | 1934-02-26 | Du Pont | Improvements in or relating to the production of formic acid |
| US2063891A (en) | 1932-07-15 | 1936-12-15 | Dreyfus Henry | Manufacture of chlorhydrins and their ethers |
| GB404938A (en) | 1932-07-15 | 1934-01-15 | Henry Dreyfus | Manufacture of chlorhydrins and ethers thereof |
| US2060715A (en) * | 1933-01-13 | 1936-11-10 | Du Pont | Synthetic resins |
| GB467481A (en) | 1935-09-12 | 1937-06-14 | Eastman Kodak Co | Processes of removing water from aqueous aliphatic acids |
| US2198600A (en) | 1936-09-10 | 1940-04-30 | Dow Chemical Co | Glycerol dichlorohydrin |
| US2144612A (en) | 1936-09-10 | 1939-01-24 | Dow Chemical Co | Preparation of glycerol dichlorohydrin |
| US2319876A (en) * | 1937-12-04 | 1943-05-25 | Celanese Corp | Preparation of aromatic sulphonamide-phenol-dihalide reaction products |
| GB541357A (en) | 1939-02-24 | 1941-11-24 | Du Pont | Improvements in or relating to the production of glycerol |
| US2248635A (en) | 1939-06-20 | 1941-07-08 | Shell Dev | Treatment of halogenated polyhydric alcohols |
| NL59974C (ja) * | 1943-06-16 | |||
| DE869193C (de) | 1944-08-22 | 1953-03-05 | Chloberag Chlor Betr Rheinfeld | Verfahren zum Reinigen von Chlorwasserstoff |
| GB679536A (en) | 1947-06-11 | 1952-09-17 | Devoe & Raynolds Co | Improvements in epoxide preparation |
| US2505735A (en) * | 1948-05-22 | 1950-04-25 | Harshaw Chem Corp | Purufication of crude glycerine |
| DE848799C (de) | 1948-12-23 | 1956-08-02 | Elektrochemische Werke Rheinfe | Vorrichtung zur Absorption von Gasen durch Fluessigkeiten, insbesondere zur Erzeugung von Salzsaeure |
| GB702143A (en) | 1949-10-25 | 1954-01-13 | Hoechst Ag | Cold-hardening compositions containing phenol-formaldehyde condensation products, and a process for making such compositions |
| US2735829A (en) | 1952-07-05 | 1956-02-21 | Compositions containing a mixture of | |
| DE1041488B (de) | 1954-03-19 | 1958-10-23 | Huels Chemische Werke Ag | Verfahren zur Herstellung von Oxidoalkoholen |
| US2811227A (en) | 1955-01-20 | 1957-10-29 | Houdaille Industries Inc | Flutter damper |
| US2860146A (en) | 1955-04-14 | 1958-11-11 | Shell Dev | Manufacture of epihalohydrins |
| US2829124A (en) * | 1955-12-23 | 1958-04-01 | Borden Co | Epoxide resin |
| GB799567A (en) | 1956-04-30 | 1958-08-13 | Solvay | Process for the production of alpha-epichlorhydrin |
| US2945004A (en) | 1956-05-29 | 1960-07-12 | Devoe & Raynolds Co | Epoxide resins reacted with polyhydric phenols |
| US2876217A (en) * | 1956-12-31 | 1959-03-03 | Corn Products Co | Starch ethers containing nitrogen and process for making the same |
| US2960447A (en) | 1957-07-15 | 1960-11-15 | Shell Oil Co | Purification of synthetic glycerol |
| US3135705A (en) * | 1959-05-11 | 1964-06-02 | Hercules Powder Co Ltd | Polymeric epoxides |
| US3026270A (en) | 1958-05-29 | 1962-03-20 | Hercules Powder Co Ltd | Cross-linking of polymeric epoxides |
| SU123153A3 (ru) | 1958-11-18 | 1958-11-30 | Словак Гельмут | Способ непрерывного получени эпихлоргидрина |
| US3052612A (en) * | 1959-02-16 | 1962-09-04 | Olin Mathieson | Recovery of chlorine from electrol ysis of brine |
| US3158580A (en) * | 1960-03-11 | 1964-11-24 | Hercules Powder Co Ltd | Poly (epihalohydrin) s |
| GB984446A (en) | 1960-07-05 | 1965-02-24 | Pfaudler Permutit Inc | Improvements relating to semicrystalline glass and to the coating of metal therewith |
| US3158581A (en) | 1960-07-27 | 1964-11-24 | Hercules Powder Co Ltd | Polymeric epoxides |
| FR1306231A (fr) | 1960-10-17 | 1962-10-13 | Shell Int Research | Procédé de préparation de polyéthers glycidiques |
| NL270270A (ja) * | 1960-10-17 | |||
| FR1279331A (fr) | 1960-11-07 | 1961-12-22 | Electrochimie Soc | Procédé et fabrication de résines époxy et produits obtenus |
| US3247227A (en) | 1962-04-24 | 1966-04-19 | Ott Chemical Company | Epoxidation of organic halohydrins |
| US3341491A (en) | 1963-09-10 | 1967-09-12 | Hercules Inc | Vulcanized epihalohydrin polymers |
| FR1417388A (fr) | 1963-10-21 | 1965-11-12 | Hooker Chemical Corp | Purification de l'acide chlorhydrique |
| NL129282C (ja) * | 1963-10-21 | |||
| CH460734A (de) | 1963-11-19 | 1968-08-15 | Shell Int Research | Herstellung von neuen Epoxyäthern |
| DE1226554B (de) | 1964-06-06 | 1966-10-13 | Henkel & Cie Gmbh | Verfahren zur Herstellung von Glycid aus Glycerinmonochlorhydrin |
| US3355511A (en) | 1965-04-09 | 1967-11-28 | Shell Oil Co | Flame retardant epoxy compositions containing polyglycidyl ethers of hexahalo bicycloheptadiene bisphenols |
| FR1476073A (fr) | 1965-04-09 | 1967-04-07 | Shell Int Research | Résine époxyde retardant la propagation des flammes |
| US3445197A (en) * | 1966-05-27 | 1969-05-20 | Continental Oil Co | Removing benzene from aqueous muriatic acid using a liquid paraffin |
| US3457282A (en) | 1966-06-01 | 1969-07-22 | Olin Mathieson | Glycidol recovery process |
| DE1643497C3 (de) | 1967-09-02 | 1979-06-21 | Hoechst Ag, 6000 Frankfurt | Verfahren zur Herstellung von Glycidyläthern ein- und mehrwertiger Phenole |
| US3968178A (en) * | 1967-11-08 | 1976-07-06 | Stauffer Chemical Company | Chlorination of hydrocarbons |
| DE1809607C3 (de) * | 1968-11-19 | 1974-01-10 | Deutsche Gold- Und Silber-Scheideanstalt Vormals Roessler, 6000 Frankfurt | Verfahren zur absorptiven Trennung von bei der Gasphasenreaktion von Chlor und Cyanwasserstoff anfallenden Gemischen aus Chlorcyan und Chlorwasserstoff |
| US3867166A (en) | 1969-01-27 | 1975-02-18 | Tycon Spa | Coated metal article and method of making the same |
| BE744659A (fr) | 1969-01-27 | 1970-07-01 | Haveg Industries Inc | Article metallique revetu et procede pour le fabriquer |
| CH544801A (de) * | 1970-03-16 | 1973-11-30 | Reichhold Albert Chemie Ag | Verfahren zum Herstellen von Glycidyläthern |
| US3711388A (en) * | 1970-12-11 | 1973-01-16 | Dow Chemical Co | Oxidation step in electrolysis of aqueous hci |
| CH545778A (ja) | 1971-03-26 | 1974-02-15 | ||
| US3839169A (en) * | 1971-08-11 | 1974-10-01 | Dow Chemical Co | Photooxidizing organic contaminants in aqueous brine solutions |
| DE2143994A1 (de) | 1971-09-02 | 1973-03-15 | Bayer Ag | Verfahren zur reinigung von chlorwasserstoff |
| BE792326A (fr) | 1971-12-07 | 1973-03-30 | Degussa | Procede pour la preparation d'halogenohydrines |
| LU67005A1 (ja) | 1973-02-12 | 1974-10-01 | ||
| US4173710A (en) * | 1972-05-15 | 1979-11-06 | Solvay & Cie | Halogenated polyether polyols and polyurethane foams produced therefrom |
| JPS5121635B2 (ja) | 1972-07-31 | 1976-07-03 | ||
| DE2241393A1 (de) | 1972-08-23 | 1974-02-28 | Bayer Ag | Glycidylaether mehrwertiger phenole |
| CH575405A5 (ja) | 1973-02-15 | 1976-05-14 | Inventa Ag | |
| US3865886A (en) | 1973-06-20 | 1975-02-11 | Lummus Co | Production of allyl chloride |
| CH593272A5 (ja) | 1974-05-24 | 1977-11-30 | Inventa Ag | |
| LU70739A1 (ja) | 1974-08-14 | 1976-08-19 | ||
| US4011251A (en) * | 1975-03-13 | 1977-03-08 | Boris Konstantinovich Tjurin | Method of preparing esters of glycerol and polyglycerols and C5-C9 monocarboxylic fatty acids |
| US4024301A (en) * | 1975-05-02 | 1977-05-17 | The B. F. Goodrich Company | Internally coated reaction vessel for use in olefinic polymerization |
| DE2522286C3 (de) * | 1975-05-20 | 1978-05-18 | Hoechst Ag, 6000 Frankfurt | Verfahren zur Reinigung von Rohchlorwasserstoff |
| US3954581A (en) | 1975-07-22 | 1976-05-04 | Ppg Industries, Inc. | Method of electrolysis of brine |
| FR2321455A1 (fr) | 1975-08-22 | 1977-03-18 | Ugine Kuhlmann | Nouveau procede d'epuration oxydante des eaux |
| US4255470A (en) * | 1977-07-15 | 1981-03-10 | The B. F. Goodrich Company | Process for preventing polymer buildup in a polymerization reactor |
| US4127594A (en) * | 1978-02-21 | 1978-11-28 | Shell Oil Company | Selective hydrogenation of olefinic impurities in epichlorohydrin |
| JPS6051395B2 (ja) | 1978-09-21 | 1985-11-13 | 東亞合成株式会社 | 陽イオン交換膜の再生方法 |
| FR2455580A1 (fr) * | 1979-05-04 | 1980-11-28 | Propylox Sa | Procede pour l'epuration de solutions organiques de peracides carboxyliques |
| JPS55157607A (en) * | 1979-05-25 | 1980-12-08 | Ryonichi Kk | Suspension polymerization of vinyl chloride |
| US4415460A (en) | 1979-07-30 | 1983-11-15 | The Lummus Company | Oxidation of organics in aqueous salt solutions |
| US4240885A (en) * | 1979-07-30 | 1980-12-23 | The Lummus Company | Oxidation of organics in aqueous salt solutions |
| DE3003819A1 (de) | 1980-02-02 | 1981-08-13 | Basf Ag, 6700 Ludwigshafen | Elektroden |
| US4609751A (en) * | 1981-12-14 | 1986-09-02 | General Electric Company | Method of hydrolyzing chlorosilanes |
| US4390680A (en) * | 1982-03-29 | 1983-06-28 | The Dow Chemical Company | Phenolic hydroxyl-containing compositions and epoxy resins prepared therefrom |
| US4405465A (en) * | 1982-06-30 | 1983-09-20 | Olin Corporation | Process for the removal of chlorate and hypochlorite from spent alkali metal chloride brines |
| US4499255B1 (en) * | 1982-09-13 | 2000-01-11 | Dow Chemical Co | Preparation of epoxy resins |
| SU1125226A1 (ru) | 1982-10-15 | 1984-11-23 | Башкирский государственный научно-исследовательский и проектный институт нефтяной промышленности | Способ обработки глинистых буровых и цементных растворов |
| DE3243617A1 (de) | 1982-11-25 | 1984-05-30 | Hermetic-Pumpen Gmbh, 7803 Gundelfingen | Pumpe zum foerdern hochkorrosiver medien |
| US4595469A (en) * | 1983-05-31 | 1986-06-17 | Chevron Research Company | Electrolytic process for production of gaseous hydrogen chloride and aqueous alkali metal hydroxide |
| SU1159716A1 (ru) | 1983-07-13 | 1985-06-07 | Чувашский государственный университет им.И.Н.Ульянова | Св зующее дл изготовлени литейных форм и стержней теплового отверждени |
| DE3339051A1 (de) * | 1983-10-28 | 1985-05-09 | Henkel KGaA, 4000 Düsseldorf | Verfahren zur verbesserten destillativen aufarbeitung von glycerin |
| JPS60258171A (ja) | 1984-06-04 | 1985-12-20 | Showa Denko Kk | エピクロルヒドリンの製造方法 |
| PL136598B2 (en) | 1984-07-11 | 1986-03-31 | Method of removing impurities in the form of organic chlorine compounds from hydrogen chloride | |
| GB2173496B (en) | 1985-04-04 | 1989-01-05 | Inst Ciezkiej Syntezy Orga | Method for producing epichlorohydrin |
| JPS62242638A (ja) | 1986-04-14 | 1987-10-23 | Nisso Yuka Kogyo Kk | 塩素化エ−テル化合物の製造方法 |
| JPH0737677B2 (ja) * | 1986-05-26 | 1995-04-26 | 日本鋼管株式会社 | 電気亜鉛めっき浴 |
| JPS63195288A (ja) | 1987-02-10 | 1988-08-12 | Tosoh Corp | 金属水酸化物の製造法 |
| DE3811826A1 (de) | 1987-06-25 | 1989-10-19 | Solvay Werke Gmbh | Verfahren zur herstellung von polyglycerinen |
| DE3721003C1 (en) | 1987-06-25 | 1988-12-01 | Solvay Werke Gmbh | Process for the preparation of polyglycerols |
| DE3809882A1 (de) | 1988-03-24 | 1989-10-05 | Solvay Werke Gmbh | Verfahren zur herstellung von polyglycerinen |
| DE3816783A1 (de) * | 1988-05-17 | 1989-11-30 | Wacker Chemie Gmbh | Verfahren zur reinigung von rohem, gasfoermigem chlorwasserstoff |
| US4882098A (en) | 1988-06-20 | 1989-11-21 | General Signal Corporation | Mass transfer mixing system especially for gas dispersion in liquids or liquid suspensions |
| KR900006513Y1 (ko) | 1988-07-06 | 1990-07-26 | 주식회사 불티나종합상사 | 라이터의 잠금장치 |
| CA1329782C (en) | 1988-08-09 | 1994-05-24 | Thomas Buenemann | Process for purifying crude glycerol |
| DE3842692A1 (de) | 1988-12-19 | 1990-06-21 | Solvay Werke Gmbh | Verfahren zur herstellung von polyglycerinen |
| SU1685969A1 (ru) | 1989-07-26 | 1991-10-23 | Всесоюзный научно-исследовательский и проектный институт галургии | Способ пылеподавлени водорастворимых солей |
| KR910007854A (ko) | 1989-10-04 | 1991-05-30 | 리챠드 지. 워터만 | 모노에폭사이드의 제조방법 |
| WO1991009924A1 (en) * | 1989-12-29 | 1991-07-11 | The Procter & Gamble Company | Ultra mild surfactant with good lather |
| JPH0625196B2 (ja) | 1990-01-29 | 1994-04-06 | ダイソー株式会社 | エピクロルヒドリンの製造方法 |
| US5278260A (en) * | 1990-04-12 | 1994-01-11 | Ciba-Geigy Corporation | Process for the preparation of epoxy resins with concurrent addition of glycidol and epihalohydrin |
| KR0168057B1 (ko) | 1990-04-12 | 1999-03-20 | 베르너 발데크 | 에폭시 수지의 제조방법 |
| PL162910B1 (pl) | 1990-05-24 | 1994-01-31 | Politechnika Szczecinska | Sposób odzyskiwania chlorowodoru i chloropochodnych organicznych PL |
| US5227030A (en) * | 1990-05-29 | 1993-07-13 | The Dow Chemical Company | Electrocatalytic cathodes and methods of preparation |
| DE4039750A1 (de) * | 1990-12-13 | 1992-06-17 | Basf Ag | Verfahren zur entfernung von phosgen aus abgasen |
| FR2677643B1 (fr) | 1991-06-12 | 1993-10-15 | Onidol | Procede pour l'obtention de polyglycerols et d'esters de polyglycerols. |
| IT1248564B (it) | 1991-06-27 | 1995-01-19 | Permelec Spa Nora | Processo di decomposizione elettrochimica di sali neutri senza co-produzione di alogeni o di acido e cella di elettrolisi adatta per la sua realizzazione. |
| US5139622A (en) | 1991-10-03 | 1992-08-18 | Texaco Chemical Company | Purification of propylene oxide by extractive distillation |
| BE1005719A3 (fr) | 1992-03-17 | 1993-12-28 | Solvay | Procede de production d'epichlorhydrine. |
| DE4210997C1 (ja) | 1992-04-02 | 1993-01-14 | Krupp Vdm Gmbh, 5980 Werdohl, De | |
| US5393724A (en) | 1992-04-30 | 1995-02-28 | Tosoh Corporation | Process for removing oxidizable substance or reducible substance, composite containing metal oxide or hydroxide, and process for production thereof |
| DE4225870A1 (de) | 1992-08-05 | 1994-02-10 | Basf Ag | Verfahren zur Herstellung von Glycerincarbonat |
| EP0586998B1 (de) * | 1992-09-06 | 1998-01-07 | Solvay Deutschland GmbH | Verfahren zur Behandlung von organischen Stoffen, insbesondere chlororganische Verbindungen enthaltenden Abwässern aus der Epichlorhydrinherstellung |
| US5286354A (en) * | 1992-11-30 | 1994-02-15 | Sachem, Inc. | Method for preparing organic and inorganic hydroxides and alkoxides by electrolysis |
| DE4244482A1 (de) * | 1992-12-30 | 1994-07-07 | Solvay Deutschland | Verfahren zur Abwasserbehandlung |
| DE4302306A1 (de) | 1993-01-28 | 1994-08-04 | Erdoelchemie Gmbh | Verfahren zur Verminderung des AOX-Gehaltes von AOX-haltigen Abwässern |
| DE4309741A1 (de) | 1993-03-25 | 1994-09-29 | Henkel Kgaa | Verfahren zum Herstellen von Diglycerin |
| EP0618170B1 (en) | 1993-03-31 | 1996-09-04 | Basf Corporation | Process for producing reagent grade hydrochloric acid from the manufacture of organic isocyanates |
| DE4314108A1 (de) * | 1993-04-29 | 1994-11-03 | Solvay Deutschland | Verfahren zur Behandlung von organische und anorganische Verbindungen enthaltenden Abwässern, vorzugsweise aus der Epichlorhydrin-Herstellung |
| JP3268890B2 (ja) | 1993-05-17 | 2002-03-25 | 東和化成工業株式会社 | 1,3−シクロヘキサンジカルボン酸の製造方法 |
| DE4401635A1 (de) | 1994-01-21 | 1995-07-27 | Bayer Ag | Substituierte 1,2,3,4-Tetrahydro-5-nitro-pyrimidine |
| FR2723585B1 (fr) * | 1994-08-12 | 1996-09-27 | Rhone Poulenc Chimie | Procede de preparation de composes du type polyisocyanates aromatiques en phase gazeuse. |
| ATE174009T1 (de) | 1994-09-08 | 1998-12-15 | Solvay Umweltchemie Gmbh | Verfahren zur entfernung von chlorat- und bromatverbindungen aus wasser durch katalytische reduktion |
| US5486627A (en) * | 1994-12-02 | 1996-01-23 | The Dow Chemical Company | Method for producing epoxides |
| US5578740A (en) | 1994-12-23 | 1996-11-26 | The Dow Chemical Company | Process for preparation of epoxy compounds essentially free of organic halides |
| US5731476A (en) * | 1995-01-13 | 1998-03-24 | Arco Chemical Technology, L.P. | Poly ether preparation |
| US6177599B1 (en) * | 1995-11-17 | 2001-01-23 | Oxy Vinyls, L.P. | Method for reducing formation of polychlorinated aromatic compounds during oxychlorination of C1-C3 hydrocarbons |
| JPH09299953A (ja) | 1996-05-14 | 1997-11-25 | Matsushita Refrig Co Ltd | 電解水生成装置 |
| US5744655A (en) | 1996-06-19 | 1998-04-28 | The Dow Chemical Company | Process to make 2,3-dihalopropanols |
| FR2752242B1 (fr) | 1996-08-08 | 1998-10-16 | Inst Francais Du Petrole | Procede de fabrication d'esters a partir d'huiles vegetales ou animales et d'alcools |
| JP3228156B2 (ja) | 1996-11-14 | 2001-11-12 | 東亞合成株式会社 | 1,1−ビス(クロロメチル)−1−ヒドロキシメチルプロパンおよび1−モノ(クロロメチル)−1,1−ビス(ヒドロキシメチル)プロパンの製造方法 |
| JP4392862B2 (ja) | 1997-02-20 | 2010-01-06 | ゾルファイ ドイチュラント ゲゼルシャフト ミット ベシュレンクテル ハフツング | 溶液から塩素酸イオンを除去するための方法 |
| BE1011456A3 (fr) | 1997-09-18 | 1999-09-07 | Solvay | Procede de fabrication d'un oxiranne. |
| EP0916624B1 (en) | 1997-11-11 | 2001-07-25 | Kawasaki Steel Corporation | Porcelain-enameled steel sheets and frits for enameling |
| BE1011576A3 (fr) | 1997-11-27 | 1999-11-09 | Solvay | Produit a base d'epichlorhydrine et procede de fabrication de ce produit. |
| EP1042219A1 (en) | 1997-12-22 | 2000-10-11 | The Dow Chemical Company | Production of one or more useful products from lesser value halogenated materials |
| BE1011880A4 (fr) | 1998-04-21 | 2000-02-01 | Solvay | Procede d'epuration de saumures. |
| US6024829A (en) * | 1998-05-21 | 2000-02-15 | Lucent Technologies Inc. | Method of reducing agglomerate particles in a polishing slurry |
| US6103092A (en) * | 1998-10-23 | 2000-08-15 | General Electric Company | Method for reducing metal ion concentration in brine solution |
| US6142458A (en) * | 1998-10-29 | 2000-11-07 | General Signal Corporation | Mixing system for dispersion of gas into liquid media |
| KR100715882B1 (ko) | 1998-12-18 | 2007-05-09 | 다우 글로벌 테크놀로지스 인크. | 2,3-디할로프로판올의 제조방법 |
| US6350868B1 (en) * | 1999-04-26 | 2002-02-26 | University Of North Carolina At Chapel Hill | Antisense human fucosyltransferase sequences and methods of use thereof |
| DE60014831T2 (de) | 1999-05-17 | 2005-10-13 | Mitsubishi Heavy Industries, Ltd. | Verfahren zur behandlung der abwässer einer abgasenentschwefelungsanlage |
| US6111153A (en) * | 1999-06-01 | 2000-08-29 | Dow Corning Corporation | Process for manufacturing methyl chloride |
| EP1059278B1 (en) | 1999-06-08 | 2004-12-01 | Showa Denko Kabushiki Kaisha | Process for producing epichlorohydrin and intermediate thereof |
| EP1200359B1 (de) * | 1999-06-18 | 2004-02-25 | Bayer Aktiengesellschaft | Verfahren zum abbau organischer verbindungen in wasser |
| JP2001037469A (ja) | 1999-07-27 | 2001-02-13 | Nissan Chem Ind Ltd | エピクロロヒドリンの微生物分解 |
| CN1119320C (zh) | 1999-11-10 | 2003-08-27 | 中国石化集团齐鲁石油化工公司 | 3-氯-2-羟丙基三甲基氯化铵有机副产物的分离方法 |
| AU1935601A (en) | 1999-12-10 | 2001-06-18 | Inca International S.P.A. | Impeller draft tube agitation system for gas-liquid mixing in a stirred tank reactor |
| JP3712903B2 (ja) * | 2000-01-28 | 2005-11-02 | 花王株式会社 | グリセリンの製造方法 |
| JP4389327B2 (ja) | 2000-03-16 | 2009-12-24 | 東亞合成株式会社 | 塩酸の回収方法 |
| CN1427879A (zh) | 2000-05-05 | 2003-07-02 | 陶氏环球技术公司 | 耐火压力容器 |
| JP5407100B2 (ja) | 2000-05-08 | 2014-02-05 | 東ソー株式会社 | 有機物含有無機塩の精製方法及び食塩電解用精製塩 |
| US6740633B2 (en) * | 2000-05-09 | 2004-05-25 | Basf Aktiengesellschaft | Polyelectrolyte complexes and a method for production thereof |
| JP3825959B2 (ja) | 2000-06-16 | 2006-09-27 | キヤノン株式会社 | 汚染物質分解方法及び装置 |
| AU2001292985A1 (en) | 2000-09-28 | 2002-04-08 | Honeywell International, Inc. | Fluorination process |
| JP2002256494A (ja) * | 2000-12-28 | 2002-09-11 | Fuji Kogyo Co Ltd | マグネシウム合金上への陽極酸化皮膜の形成方法 |
| EP1930318B1 (en) * | 2001-01-22 | 2017-03-08 | Nippon Soda Co., Ltd. | Process for producing diphenyl sulfone compound |
| EP1229015B1 (en) * | 2001-02-02 | 2007-01-10 | Nippon Shokubai Co., Ltd. | Method for production of aromatic compounds |
| EP1231189B2 (de) | 2001-02-08 | 2018-03-07 | Pfaudler GmbH | Hochkorrosionsbeständige schwermetallfreie Emailzusammensetzung sowie Verfahren zu deren Herstellung und Verwendung, und beschichtete Körper |
| JP4219608B2 (ja) | 2001-04-05 | 2009-02-04 | 日本曹達株式会社 | ジフェニルスルホン化合物の製造方法 |
| DE10124386A1 (de) * | 2001-05-18 | 2002-11-28 | Basf Ag | Verfahren zur Destillation oder Reaktivdestillation eines Gemisches, das mindestens eine toxische Komponente enthält |
| EP1411027A4 (en) | 2001-06-28 | 2009-07-29 | Sumitomo Chemical Co | PROCESS FOR CLEANING CHLORINE AND METHOD FOR PRODUCING 1,2-DICHLORETHANE |
| JP2003081891A (ja) | 2001-06-28 | 2003-03-19 | Sumitomo Chem Co Ltd | 1,2―ジクロロエタンの製造方法 |
| US6794478B2 (en) | 2001-09-28 | 2004-09-21 | Dainippon Ink And Chemicals, Inc. | Preparing epoxy resin by distilling two fractions to recover and reuse epihalohydrin without glycidol |
| US7517445B2 (en) | 2001-10-09 | 2009-04-14 | Scimist, Inc. | Mediated electrochemical oxidation of food waste materials |
| DE10203914C1 (de) | 2002-01-31 | 2003-10-02 | Degussa | Verfahren zur Reinigung eines HCI-haltigen Abgases aus der Organosilanesterherstellung und dessen Verwendung |
| DE10207442A1 (de) * | 2002-02-22 | 2003-09-11 | Bayer Ag | Aufbereitung von Kochsalz enthaltenden Abwässern zum Einsatz in der Chlor-Alkali-Elektrolyse |
| US6719957B2 (en) * | 2002-04-17 | 2004-04-13 | Bayer Corporation | Process for purification of anhydrous hydrogen chloride gas |
| US6802976B2 (en) | 2002-05-13 | 2004-10-12 | E. I. Du Pont De Nemours And Company | Organic sulfur reduction in wastewater |
| US6745726B2 (en) * | 2002-07-29 | 2004-06-08 | Visteon Global Technologies, Inc. | Engine thermal management for internal combustion engine |
| DE10235476A1 (de) * | 2002-08-02 | 2004-02-12 | Basf Ag | Integriertes Verfahren zur Herstellung von Isocyanaten |
| US7037481B2 (en) * | 2002-09-09 | 2006-05-02 | United Brine Services Company, Llc | Production of ultra pure salt |
| JP2004130263A (ja) * | 2002-10-11 | 2004-04-30 | Kao Corp | 次亜塩素酸生成噴霧器 |
| DE10254709A1 (de) | 2002-11-23 | 2004-06-09 | Reinhold Denz | Elektrolyse-Vorrichtung |
| DE10260084A1 (de) * | 2002-12-19 | 2004-07-01 | Basf Ag | Auftrennung eines Stoffgemisches aus Clorwasserstoff und Phosgen |
| CZ20032346A3 (cs) | 2003-09-01 | 2005-04-13 | Spolek Pro Chemickou A Hutní Výrobu,A.S. | Způsob přípravy dichlorpropanolů z glycerinu |
| FR2868419B1 (fr) | 2004-04-05 | 2008-08-08 | Solvay Sa Sa Belge | Procede de fabrication de dichloropropanol |
| FR2862644B1 (fr) | 2003-11-20 | 2007-01-12 | Solvay | Utilisation de ressources renouvelables |
| EP2053034B1 (en) | 2003-11-20 | 2018-01-24 | Solvay Sa | Process for producing a chlorohydrin |
| ES2367572T3 (es) | 2003-11-20 | 2011-11-04 | Solvay (Société Anonyme) | Proceso para producción de dicloropropanol a partir de glicerol y un agente clorado y en presencia de un catalizador seleccionado de ácido adípico y ácido glutárico. |
| FR2869612B1 (fr) | 2004-05-03 | 2008-02-01 | Inst Francais Du Petrole | Procede de transesterification d'huiles vegetales ou animales au moyen de catalyseurs heterogenes a base de zinc, de titane et d'aluminium |
| EP1593732A1 (fr) | 2004-05-03 | 2005-11-09 | Institut Français du Pétrole | Procede de transesterification d'huiles vegezales ou animales au moyen de catalyseurs heterogenes a base de zinc ou de bismuth de titane et d'aluminium |
| FR2869613B1 (fr) | 2004-05-03 | 2008-08-29 | Inst Francais Du Petrole | Procede de transesterification d'huiles vegetales ou animales au moyen de catalyseurs heterogenes a base de bismuth, de titane et d'aluminium |
| FR2872504B1 (fr) * | 2004-06-30 | 2006-09-22 | Arkema Sa | Purification de l'acide chlorhydrique sous-produit de la synthese de l'acide methane sulfonique |
| CN102516205B (zh) | 2004-07-21 | 2016-05-04 | 兰科知识产权有限责任公司 | 多羟基化脂族烃或其酯向氯醇的转化 |
| JP2006052434A (ja) * | 2004-08-10 | 2006-02-23 | Kaneka Corp | 食塩水電解槽の性能回復方法ならびに該方法により処理された含フッ素陽イオン交換膜を用いた生産苛性ソーダ溶液および塩素の製造方法 |
| EP1632558A1 (en) * | 2004-09-06 | 2006-03-08 | The Procter & Gamble | A composition comprising a surface deposition enhancing cationic polymer |
| DE102004044592A1 (de) * | 2004-09-13 | 2006-03-30 | Basf Ag | Verfahren zur Trennung von Chlorwasserstoff und Phosgen |
| JP2008516048A (ja) * | 2004-10-08 | 2008-05-15 | ザ プロクター アンド ギャンブル カンパニー | オリゴマーアルキルグリセリルスルホネート及び/又はサルフェート界面活性剤混合物、並びにそれを含む洗剤組成物 |
| FR2881732B1 (fr) | 2005-02-08 | 2007-11-02 | Solvay | Procede pour la purification de chlorure d'hydrogene |
| TW200630385A (en) * | 2005-02-09 | 2006-09-01 | Vinnolit Gmbh & Co Kg | Process for the polymerisation of vinyl-containing monomers |
| TWI333945B (en) | 2005-05-20 | 2010-12-01 | Solvay | Process for preparing a chlorohydrin by converting polyhydroxylated aliphatic hydrocarbons |
| EP1762556A1 (en) | 2005-05-20 | 2007-03-14 | SOLVAY (Société Anonyme) | Process for producing dichloropropanol from glycerol |
| FR2885903B1 (fr) | 2005-05-20 | 2015-06-26 | Solvay | Procede de fabrication d'epichlorhydrine |
| KR20080037615A (ko) | 2005-05-20 | 2008-04-30 | 솔베이(소시에떼아노님) | 클로로히드린의 제조 방법 |
| JP4899357B2 (ja) | 2005-07-01 | 2012-03-21 | 株式会社Ihi | 基板吸着装置 |
| BRPI0618325A2 (pt) | 2005-11-08 | 2011-08-23 | Solvay | processo parar a produção de dicloropropanol |
| US7126032B1 (en) * | 2006-03-23 | 2006-10-24 | Sunoco, Inc. (R&M) | Purification of glycerin |
| BRPI0712775A2 (pt) | 2006-06-14 | 2012-09-04 | Solvay | Produto com base em glicerol bruto, e, processos para a purificação do produto com base em glicerol bruto, para a fabricação de dicloropropanol partindo de glicerol, para a fabricação de epocloroidrina, para a fabricação de resinas de epóxi, e, para a fabricação de dicloropropanol |
| FR2913683A1 (fr) | 2007-03-15 | 2008-09-19 | Solvay | Produit brut a base de glycerol, procede pour sa purification et son utilisation dans la fabrication de dichloropropanol |
| DE102006041465A1 (de) * | 2006-09-02 | 2008-03-06 | Bayer Materialscience Ag | Verfahren zur Herstellung von Diarylcarbonat |
| US20100032617A1 (en) * | 2007-02-20 | 2010-02-11 | Solvay (Societe Anonyme) | Process for manufacturing epichlorohydrin |
| FR2912743B1 (fr) | 2007-02-20 | 2009-04-24 | Solvay | Procede de fabrication d'epichlorhydrine |
| FR2913421B1 (fr) | 2007-03-07 | 2009-05-15 | Solvay | Procede de fabrication de dichloropropanol. |
| FR2913684B1 (fr) | 2007-03-14 | 2012-09-14 | Solvay | Procede de fabrication de dichloropropanol |
| CN101041421A (zh) | 2007-03-22 | 2007-09-26 | 广东富远稀土新材料股份有限公司 | 萃取提纯工业盐酸的方法 |
| TW200911740A (en) | 2007-06-01 | 2009-03-16 | Solvay | Process for manufacturing a chlorohydrin |
| FR2917411B1 (fr) | 2007-06-12 | 2012-08-03 | Solvay | Epichlorhydrine, procede de fabrication et utilisation |
| TW200911693A (en) * | 2007-06-12 | 2009-03-16 | Solvay | Aqueous composition containing a salt, manufacturing process and use |
| FR2918058A1 (fr) | 2007-06-28 | 2009-01-02 | Solvay | Produit a base de glycerol, procede pour sa purification et son utilisation dans la fabrication de dichloropropanol |
| FR2919609A1 (fr) | 2007-07-30 | 2009-02-06 | Solvay | Procede de fabrication de glycidol |
| KR20100051104A (ko) * | 2007-08-23 | 2010-05-14 | 다우 글로벌 테크놀로지스 인크. | 산업적 염수의 정제 방법 및 장치 |
| BRPI0814904A2 (pt) | 2007-08-23 | 2015-02-03 | Dow Global Technologies Inc | Processo para reduzir conteúdo orgânico de uma solução de salmoura |
| KR20100089835A (ko) | 2007-10-02 | 2010-08-12 | 솔베이(소시에떼아노님) | 용기의 내부식성 향상을 위한 실리콘-함유 조성물의 용도 |
| DE102007058701A1 (de) * | 2007-12-06 | 2009-06-10 | Bayer Materialscience Ag | Verfahren zur Herstellung von Diarylcarbonat |
| FR2925045B1 (fr) | 2007-12-17 | 2012-02-24 | Solvay | Produit a base de glycerol, procede pour son obtention et son utilisation dans la fabrication de dichloropropanol |
| EP2085364A1 (en) | 2008-01-31 | 2009-08-05 | SOLVAY (Société Anonyme) | Process for degrading organic substances in an aqueous composition |
| TWI478875B (zh) | 2008-01-31 | 2015-04-01 | Solvay | 使水性組成物中之有機物質降解之方法 |
| JP2009263338A (ja) | 2008-03-12 | 2009-11-12 | Daiso Co Ltd | エピクロロヒドリンの新規な製造方法 |
| FR2929611B3 (fr) | 2008-04-03 | 2010-09-03 | Solvay | Composition comprenant du glycerol, procede pour son obtention et son utilisation dans la fabrication de dichloropropanol |
| EA201071157A1 (ru) | 2008-04-03 | 2011-04-29 | Солвей (Сосьете Аноним) | Композиция, содержащая глицерин, способ ее получения и применение в производстве дихлорпропанола |
| TWI368616B (en) * | 2008-08-01 | 2012-07-21 | Dow Global Technologies Llc | Process for producing epoxides |
| FR2935699A1 (fr) | 2008-09-10 | 2010-03-12 | Solvay | Procede de fabrication d'un produit chimique |
| FR2935968B1 (fr) | 2008-09-12 | 2010-09-10 | Solvay | Procede pour la purification de chlorure d'hydrogene |
| FR2939434B1 (fr) | 2008-12-08 | 2012-05-18 | Solvay | Procede de traitement de glycerol. |
-
2008
- 2008-06-10 TW TW097121537A patent/TW200911693A/zh unknown
- 2008-06-11 MX MX2009013546A patent/MX2009013546A/es not_active Application Discontinuation
- 2008-06-11 KR KR1020107000536A patent/KR20100022521A/ko not_active Abandoned
- 2008-06-11 JP JP2010511619A patent/JP5259702B2/ja not_active Expired - Fee Related
- 2008-06-11 US US12/663,753 patent/US8197665B2/en not_active Expired - Fee Related
- 2008-06-11 BR BRPI0812481-7A2A patent/BRPI0812481A2/pt not_active IP Right Cessation
- 2008-06-11 EA EA201070001A patent/EA201070001A1/ru unknown
- 2008-06-11 CA CA2690006A patent/CA2690006A1/en not_active Abandoned
- 2008-06-11 WO PCT/EP2008/057245 patent/WO2008152043A1/en not_active Ceased
- 2008-06-11 CN CN200880019442A patent/CN101679057A/zh active Pending
- 2008-06-11 EP EP08760804A patent/EP2160356A1/en not_active Withdrawn
- 2008-06-12 AR ARP080102504A patent/AR070303A1/es unknown
-
2012
- 2012-04-20 US US13/451,636 patent/US20120199493A1/en not_active Abandoned
Also Published As
| Publication number | Publication date |
|---|---|
| MX2009013546A (es) | 2010-01-26 |
| AR070303A1 (es) | 2010-03-31 |
| CN101679057A (zh) | 2010-03-24 |
| JP2010529301A (ja) | 2010-08-26 |
| CA2690006A1 (en) | 2008-12-18 |
| US8197665B2 (en) | 2012-06-12 |
| EA201070001A1 (ru) | 2010-06-30 |
| EP2160356A1 (en) | 2010-03-10 |
| BRPI0812481A2 (pt) | 2014-12-02 |
| KR20100022521A (ko) | 2010-03-02 |
| US20100170805A1 (en) | 2010-07-08 |
| US20120199493A1 (en) | 2012-08-09 |
| WO2008152043A1 (en) | 2008-12-18 |
| TW200911693A (en) | 2009-03-16 |
Similar Documents
| Publication | Publication Date | Title |
|---|---|---|
| JP5259702B2 (ja) | 塩を含有する水性組成物、製造方法および使用 | |
| TWI478875B (zh) | 使水性組成物中之有機物質降解之方法 | |
| KR101009858B1 (ko) | 유기 화합물의 제조 방법 | |
| TWI335323B (en) | Process for preparing an epoxide | |
| JP5436515B2 (ja) | グリセロールからジクロロプロパノールを製造するための方法であって、該グリセロールが最終的にバイオディーゼルの製造における動物性脂肪の転化から生じる方法 | |
| CN103052596B (zh) | 电解方法 | |
| CZ20032346A3 (cs) | Způsob přípravy dichlorpropanolů z glycerinu | |
| KR20100045489A (ko) | 염소분해를 통해 염수에서 총 유기 탄소(toc)를 감소시키는 방법 | |
| JP2010523702A (ja) | 多ヒドロキシル化脂肪族炭化水素またはそのエステルのクロロヒドリンへの変換 | |
| HK1140996A (en) | Aqueous composition containing a salt, manufacturing process and use | |
| FR2917400A1 (fr) | Composition aqueuse contenant un sel, procede de fabrication et utilisation | |
| JP4710142B2 (ja) | アリルクロライドの製造方法 | |
| HK1149541A (en) | Process for degrading organic substances in an aqueous composition |
Legal Events
| Date | Code | Title | Description |
|---|---|---|---|
| A977 | Report on retrieval |
Free format text: JAPANESE INTERMEDIATE CODE: A971007 Effective date: 20120426 |
|
| A131 | Notification of reasons for refusal |
Free format text: JAPANESE INTERMEDIATE CODE: A131 Effective date: 20120515 |
|
| A601 | Written request for extension of time |
Free format text: JAPANESE INTERMEDIATE CODE: A601 Effective date: 20120810 |
|
| A602 | Written permission of extension of time |
Free format text: JAPANESE INTERMEDIATE CODE: A602 Effective date: 20120817 |
|
| A521 | Request for written amendment filed |
Free format text: JAPANESE INTERMEDIATE CODE: A523 Effective date: 20121115 |
|
| A131 | Notification of reasons for refusal |
Free format text: JAPANESE INTERMEDIATE CODE: A131 Effective date: 20121211 |
|
| A601 | Written request for extension of time |
Free format text: JAPANESE INTERMEDIATE CODE: A601 Effective date: 20130301 |
|
| A602 | Written permission of extension of time |
Free format text: JAPANESE INTERMEDIATE CODE: A602 Effective date: 20130308 |
|
| TRDD | Decision of grant or rejection written | ||
| A01 | Written decision to grant a patent or to grant a registration (utility model) |
Free format text: JAPANESE INTERMEDIATE CODE: A01 Effective date: 20130402 |
|
| A61 | First payment of annual fees (during grant procedure) |
Free format text: JAPANESE INTERMEDIATE CODE: A61 Effective date: 20130424 |
|
| FPAY | Renewal fee payment (event date is renewal date of database) |
Free format text: PAYMENT UNTIL: 20160502 Year of fee payment: 3 |
|
| R150 | Certificate of patent or registration of utility model |
Free format text: JAPANESE INTERMEDIATE CODE: R150 |
|
| LAPS | Cancellation because of no payment of annual fees |
