EP2863480B1 - Communication terminal apparatus comprising an antenna device - Google Patents
Communication terminal apparatus comprising an antenna device Download PDFInfo
- Publication number
- EP2863480B1 EP2863480B1 EP14197927.8A EP14197927A EP2863480B1 EP 2863480 B1 EP2863480 B1 EP 2863480B1 EP 14197927 A EP14197927 A EP 14197927A EP 2863480 B1 EP2863480 B1 EP 2863480B1
- Authority
- EP
- European Patent Office
- Prior art keywords
- coil
- antenna
- conductor
- planar conductor
- communication terminal
- Prior art date
- Legal status (The legal status is an assumption and is not a legal conclusion. Google has not performed a legal analysis and makes no representation as to the accuracy of the status listed.)
- Active
Links
Images
Classifications
-
- H—ELECTRICITY
- H01—ELECTRIC ELEMENTS
- H01Q—ANTENNAS, i.e. RADIO AERIALS
- H01Q7/00—Loop antennas with a substantially uniform current distribution around the loop and having a directional radiation pattern in a plane perpendicular to the plane of the loop
- H01Q7/06—Loop antennas with a substantially uniform current distribution around the loop and having a directional radiation pattern in a plane perpendicular to the plane of the loop with core of ferromagnetic material
- H01Q7/08—Ferrite rod or like elongated core
-
- H—ELECTRICITY
- H01—ELECTRIC ELEMENTS
- H01Q—ANTENNAS, i.e. RADIO AERIALS
- H01Q7/00—Loop antennas with a substantially uniform current distribution around the loop and having a directional radiation pattern in a plane perpendicular to the plane of the loop
- H01Q7/06—Loop antennas with a substantially uniform current distribution around the loop and having a directional radiation pattern in a plane perpendicular to the plane of the loop with core of ferromagnetic material
-
- G—PHYSICS
- G06—COMPUTING OR CALCULATING; COUNTING
- G06K—GRAPHICAL DATA READING; PRESENTATION OF DATA; RECORD CARRIERS; HANDLING RECORD CARRIERS
- G06K17/00—Methods or arrangements for effecting co-operative working between equipments covered by two or more of main groups G06K1/00 - G06K15/00, e.g. automatic card files incorporating conveying and reading operations
-
- G—PHYSICS
- G06—COMPUTING OR CALCULATING; COUNTING
- G06K—GRAPHICAL DATA READING; PRESENTATION OF DATA; RECORD CARRIERS; HANDLING RECORD CARRIERS
- G06K19/00—Record carriers for use with machines and with at least a part designed to carry digital markings
- G06K19/06—Record carriers for use with machines and with at least a part designed to carry digital markings characterised by the kind of the digital marking, e.g. shape, nature, code
- G06K19/067—Record carriers with conductive marks, printed circuits or semiconductor circuit elements, e.g. credit or identity cards also with resonating or responding marks without active components
- G06K19/07—Record carriers with conductive marks, printed circuits or semiconductor circuit elements, e.g. credit or identity cards also with resonating or responding marks without active components with integrated circuit chips
-
- G—PHYSICS
- G06—COMPUTING OR CALCULATING; COUNTING
- G06K—GRAPHICAL DATA READING; PRESENTATION OF DATA; RECORD CARRIERS; HANDLING RECORD CARRIERS
- G06K7/00—Methods or arrangements for sensing record carriers, e.g. for reading patterns
- G06K7/10—Methods or arrangements for sensing record carriers, e.g. for reading patterns by electromagnetic radiation, e.g. optical sensing; by corpuscular radiation
- G06K7/10009—Methods or arrangements for sensing record carriers, e.g. for reading patterns by electromagnetic radiation, e.g. optical sensing; by corpuscular radiation sensing by radiation using wavelengths larger than 0.1 mm, e.g. radio-waves or microwaves
- G06K7/10316—Methods or arrangements for sensing record carriers, e.g. for reading patterns by electromagnetic radiation, e.g. optical sensing; by corpuscular radiation sensing by radiation using wavelengths larger than 0.1 mm, e.g. radio-waves or microwaves using at least one antenna particularly designed for interrogating the wireless record carriers
-
- G—PHYSICS
- G06—COMPUTING OR CALCULATING; COUNTING
- G06K—GRAPHICAL DATA READING; PRESENTATION OF DATA; RECORD CARRIERS; HANDLING RECORD CARRIERS
- G06K7/00—Methods or arrangements for sensing record carriers, e.g. for reading patterns
- G06K7/10—Methods or arrangements for sensing record carriers, e.g. for reading patterns by electromagnetic radiation, e.g. optical sensing; by corpuscular radiation
- G06K7/10009—Methods or arrangements for sensing record carriers, e.g. for reading patterns by electromagnetic radiation, e.g. optical sensing; by corpuscular radiation sensing by radiation using wavelengths larger than 0.1 mm, e.g. radio-waves or microwaves
- G06K7/10316—Methods or arrangements for sensing record carriers, e.g. for reading patterns by electromagnetic radiation, e.g. optical sensing; by corpuscular radiation sensing by radiation using wavelengths larger than 0.1 mm, e.g. radio-waves or microwaves using at least one antenna particularly designed for interrogating the wireless record carriers
- G06K7/10336—Methods or arrangements for sensing record carriers, e.g. for reading patterns by electromagnetic radiation, e.g. optical sensing; by corpuscular radiation sensing by radiation using wavelengths larger than 0.1 mm, e.g. radio-waves or microwaves using at least one antenna particularly designed for interrogating the wireless record carriers the antenna being of the near field type, inductive coil
-
- H—ELECTRICITY
- H01—ELECTRIC ELEMENTS
- H01Q—ANTENNAS, i.e. RADIO AERIALS
- H01Q1/00—Details of, or arrangements associated with, antennas
- H01Q1/12—Supports; Mounting means
- H01Q1/22—Supports; Mounting means by structural association with other equipment or articles
- H01Q1/2208—Supports; Mounting means by structural association with other equipment or articles associated with components used in interrogation type services, i.e. in systems for information exchange between an interrogator/reader and a tag/transponder, e.g. in Radio Frequency Identification [RFID] systems
-
- H—ELECTRICITY
- H01—ELECTRIC ELEMENTS
- H01Q—ANTENNAS, i.e. RADIO AERIALS
- H01Q1/00—Details of, or arrangements associated with, antennas
- H01Q1/12—Supports; Mounting means
- H01Q1/22—Supports; Mounting means by structural association with other equipment or articles
- H01Q1/2208—Supports; Mounting means by structural association with other equipment or articles associated with components used in interrogation type services, i.e. in systems for information exchange between an interrogator/reader and a tag/transponder, e.g. in Radio Frequency Identification [RFID] systems
- H01Q1/2216—Supports; Mounting means by structural association with other equipment or articles associated with components used in interrogation type services, i.e. in systems for information exchange between an interrogator/reader and a tag/transponder, e.g. in Radio Frequency Identification [RFID] systems used in interrogator/reader equipment
-
- H—ELECTRICITY
- H01—ELECTRIC ELEMENTS
- H01Q—ANTENNAS, i.e. RADIO AERIALS
- H01Q1/00—Details of, or arrangements associated with, antennas
- H01Q1/12—Supports; Mounting means
- H01Q1/22—Supports; Mounting means by structural association with other equipment or articles
- H01Q1/24—Supports; Mounting means by structural association with other equipment or articles with receiving set
-
- H—ELECTRICITY
- H01—ELECTRIC ELEMENTS
- H01Q—ANTENNAS, i.e. RADIO AERIALS
- H01Q1/00—Details of, or arrangements associated with, antennas
- H01Q1/12—Supports; Mounting means
- H01Q1/22—Supports; Mounting means by structural association with other equipment or articles
- H01Q1/24—Supports; Mounting means by structural association with other equipment or articles with receiving set
- H01Q1/241—Supports; Mounting means by structural association with other equipment or articles with receiving set used in mobile communications, e.g. GSM
- H01Q1/242—Supports; Mounting means by structural association with other equipment or articles with receiving set used in mobile communications, e.g. GSM specially adapted for hand-held use
-
- H—ELECTRICITY
- H01—ELECTRIC ELEMENTS
- H01Q—ANTENNAS, i.e. RADIO AERIALS
- H01Q1/00—Details of, or arrangements associated with, antennas
- H01Q1/12—Supports; Mounting means
- H01Q1/22—Supports; Mounting means by structural association with other equipment or articles
- H01Q1/24—Supports; Mounting means by structural association with other equipment or articles with receiving set
- H01Q1/241—Supports; Mounting means by structural association with other equipment or articles with receiving set used in mobile communications, e.g. GSM
- H01Q1/242—Supports; Mounting means by structural association with other equipment or articles with receiving set used in mobile communications, e.g. GSM specially adapted for hand-held use
- H01Q1/243—Supports; Mounting means by structural association with other equipment or articles with receiving set used in mobile communications, e.g. GSM specially adapted for hand-held use with built-in antennas
-
- H—ELECTRICITY
- H01—ELECTRIC ELEMENTS
- H01Q—ANTENNAS, i.e. RADIO AERIALS
- H01Q1/00—Details of, or arrangements associated with, antennas
- H01Q1/36—Structural form of radiating elements, e.g. cone, spiral, umbrella; Particular materials used therewith
- H01Q1/38—Structural form of radiating elements, e.g. cone, spiral, umbrella; Particular materials used therewith formed by a conductive layer on an insulating support
-
- H—ELECTRICITY
- H01—ELECTRIC ELEMENTS
- H01Q—ANTENNAS, i.e. RADIO AERIALS
- H01Q21/00—Antenna arrays or systems
- H01Q21/29—Combinations of different interacting antenna units for giving a desired directional characteristic
- H01Q21/293—Combinations of different interacting antenna units for giving a desired directional characteristic one unit or more being an array of identical aerial elements
-
- H—ELECTRICITY
- H01—ELECTRIC ELEMENTS
- H01Q—ANTENNAS, i.e. RADIO AERIALS
- H01Q25/00—Antennas or antenna systems providing at least two radiating patterns
-
- H—ELECTRICITY
- H01—ELECTRIC ELEMENTS
- H01Q—ANTENNAS, i.e. RADIO AERIALS
- H01Q7/00—Loop antennas with a substantially uniform current distribution around the loop and having a directional radiation pattern in a plane perpendicular to the plane of the loop
Definitions
- the present invention relates to a communication terminal apparatus and, in particular, to a communication terminal apparatus used in a communication system in the high-frequency (HF) range.
- HF high-frequency
- a radio frequency identification (RFID) system for exchanging information between a reader/writer and an RFID tag by non-contact communications is known.
- Each of the reader/writer and the RFID tag includes an antenna device for transmitting and receiving a radio signal.
- the antenna device of an RFID tag and the antenna device of a reader/writer are coupled to each other mainly through an induction field and transmit and receive predetermined information.
- the antenna module is one in which a planar coil antenna is disposed on a planar substrate.
- WO 2006/046714 A1 discloses a portable telephone with a broadcast receiver.
- a loop element as a television receiving antenna is placed in a range at the upper end of an upper case.
- the end of an upper circuit board is aligned so that conductors other than the antenna element are not present in the range at the upper end of the upper case.
- a monopole element for portable-telephone communication is placed at the lower end of a lower case.
- the communication distance between the antenna devices depends on a magnetic flux flowing through the coil antennas. That is, to have a certain degree of communication distance between the antenna devices, it is necessary for the coil antennas to have an increased size. The increased size of the coil antenna impedes miniaturization of the communication terminal apparatus.
- a communication terminal apparatus comprising an antenna device that occupies a small area while achieving a predetermined communication distance.
- the invention provides for a communication terminal apparatus according to claim 1. Further developments of the invention are defined in the dependent claims.
- an antenna device of the present invention includes a coil antenna and a planar conductor, the antenna device occupying a small area while ensuring a predetermined communication distance can be achieved and therefore a small communication terminal apparatus can be achieved.
- An antenna device and a communication terminal apparatus are used in an RFID system in the HF range, such as near field communication (NFC).
- NFC near field communication
- Fig. 1(A) is a perspective view of an antenna device 201 according to a first example and Fig. 1(B) is a plan view thereof.
- the antenna device 201 includes four coil antennas 100A, 100B, 100C, and 100D.
- Each of the coil antennas 100A, 100B, 100C, and 100D has a structure in which a coil conductor is wound around a magnetic core, as described below.
- the antenna device 201 further includes a planar conductor 11 including a surface parallel to the winding axis direction of each of the coil conductors.
- the planar conductor 11 is disposed on a base 10.
- the coil antennas 100A, 100B, 100C, and 100D are mounted on the base 10.
- Each of the coil antennas 100A, 100B, 100C, and 100D is arranged such that a coil opening of the coil conductor is adjacent (close) to the edge end portion of the planar conductor 11.
- the planar conductor is made of metallic foil of copper, silver, aluminum, or other metal and is disposed on the base made of flexible resin.
- each of the coil antennas 100A, 100B, 100C, and 100D is arranged such that, when seen from a direction normal to the planar conductor 11, the end portion of the planar conductor 11 and at least a part of the coil conductor overlap each other.
- Fig. 2 is a perspective view of the coil antenna 100A.
- the other coil antennas 100B, 100C, and 100D have the same configuration as in the coil antenna 100A, and the coil antenna 100A is described here as a representative.
- the coil antenna 100A has a structure in which a coil conductor 21 made of silver, copper, or other material is wound around a magnetic core 20 made of, for example, ferrite.
- the coil conductor 21 is wound around the outer surface of the magnetic core 20 such that the winding axis extends in a direction parallel to the direction of the short sides of the magnetic core 20 having the shape of a rectangular parallelepiped. That is, the coil conductor 21 is wound along the longitudinal direction (x-axis direction) of the magnetic core 20.
- the winding axis and the coil openings of the coil conductor 21 extend along the transverse direction (y-axis direction). That is, the coil openings of the coil conductor 21 are disposed on the long sides.
- the coil antenna 100A is configured as a so-called surface-mount coil antenna (chip coil antenna) and includes two mounting terminal electrodes (not illustrated) on the back side of the coil antenna. One of the two mounting terminal electrodes is connected to a first end of the coil conductor 21, and the other is connected to a second end of the coil conductor 21. That is, the coil antenna 100A is surface-mountable on various substrates, including a printed wiring board.
- each of the coil antennas 100A, 100B, 100C, and 100D is arranged such that the coil opening on a first end face side thereof faces the planar conductor and such that the winding axes of the coil conductors cross above the region where the planar conductor 11 is formed.
- the coil antennas are disposed on the respective sides of the planar conductor 11 having the shape of a rectangle.
- the coil antennas 100A, 100B, 100C, and 100D are arranged so as to surround the planar conductor 11.
- the surface of the planar conductor is overlaid with an insulating film (not illustrated), and the planar conductor 11 and each of the coil antennas 100A, 100B, 100C, and 100D are not directly connected to each other.
- the antenna device 201 can be arranged in a communication terminal apparatus 301, such as a cellular phone, as illustrated in Fig. 3 , for example. That is, in the communication terminal apparatus 301, a main substrate 111 and the base 10 as a sub substrate are incorporated in a terminal housing 320, and the antenna device 201 is configured at the surface of the base 10. The antenna device 201 and a battery pack 112 are arranged in the vicinity of the back surface BS of the terminal housing 320.
- the main substrate 111 is a large printed wiring board including a hard resin substrate made of, for example, epoxy resin. Circuit elements forming a driving circuit of a display device, a control circuit of the battery, and other circuit are mounted on the main substrate 111.
- the base 10 as the sub substrate includes a flexible resin substrate made of a polyimide, a liquid crystal polymer, or other resin.
- circuit elements forming a communication circuit (RF circuit) and other circuit are mounted on the base 10.
- Fig. 4 illustrates a relation between the winding axis direction of the coil conductor of each of the coil antennas and the planar conductor 11.
- the coil conductors of the coil antennas are denoted as coils L1 to L4 here.
- the coils L1 to L4 are connected in series and connected to a feed circuit FC.
- connection wiring W1 between the feed circuit FC and the coil L1, connection wiring W2 to W4 between the coils L1 to L4, connection wiring W5 between the coil L4 and the feed circuit FC be arranged outside the area formed by an imaginary straight line that connects the center positions of the coil antennas together because the usable area in the planar conductor 11 is wide.
- the connection wiring W1 to W5 be arranged outside the planar conductor 11.
- the feed circuit FC can be a radio-frequency integrated circuit (RFIC) including a communication circuit and tag information, for example.
- RFIC radio-frequency integrated circuit
- Fig. 5(A) illustrates a relation between currents that flow through the coils L1 to L4 and a current that flows through the planar conductor 11, and Fig. 5(B) illustrates a linkage state to the coil antennas 100A, 100B, 100C, and 100D.
- an eddy current (induced current) occurs in the planar conductor 11.
- the eddy current also flows in the vicinity of the end edge portion of the planar conductor 11, as indicated by the arrows (of dotted lines) in Fig. 5(A) .
- the magnetic field produced by that current causes a current in a direction opposite to the direction of the current flowing through the end edge portion of the planar conductor 11 to flow through a portion of each of the coils L1 to L4, the portion being close to the edge end portion of the planar conductor 11.
- currents indicated by the arrows (of dot-and-dash lines) in Fig. 5(A) also flow through the connection wiring W1 to W5.
- a magnetic flux (indicated by the solid lines in Fig. 5(B) ) other than the component from which the eddy current occurs in the planar conductor 11 passes through each of the coil antennas 100A, 100B, 100C, and 100D, which are arranged on the edge end portion of the planar conductor 11, as illustrated in Fig. 5(B) . That is, the magnetic flux entering each of the coils L1 to L4 illustrated in Fig. 5(A) induces a current in the coil conductor, and as a result, the currents flow, as indicated by the arrows (of dot-and-dash lines) in Fig. 5(A) .
- the planar conductor 11 acts as a booster antenna.
- the use of a plurality of coil antennas, in particular, a plurality of surface-mount coil antennas in addition, the use of a magnetic field coupling between the planar conductor and the coil antennas enables an antenna device having electric characteristics substantially equivalent to or better than those of a large coil antenna and can reduce the area occupied by the coil antennas without the use of a large coil antenna.
- the communication terminal apparatus can be miniaturized.
- the winding axis direction of the coil conductor of each coil antenna is parallel to the surface of the planar conductor. Being parallel does not necessarily require being strictly parallel and only requires that the surface of the planar conductor extend along the winding axis of the coil conductor. In other words, it is only required that the coil antenna be arranged such that the winding axis of the coil conductor extends along the planar conductor. For example, when the winding axis direction of the coil conductor is in the range from -45° to +45° with respect to a direction normal to the planar conductor 11, this is considered to be the state of extending "along" in the present invention. The same applies to other examples and embodiments described below.
- each coil antenna be close to the end portion of the planar conductor 11. It is preferable that, when seen from a direction normal to the planar conductor 11, the end portion of the planar conductor 11 and at least a part of the coil conductor 21 overlap each other, as described above because a current flowing through the end portion of the planar conductor 11 can be more easily induced to the coil conductor 21. From the same reason, it is preferable that a portion in the coil conductor 21, the portion being closest to the end portion of the planar conductor 11, extend in a direction parallel to the end portion of the planar conductor 11.
- the end portion of the planar conductor 11 and at least a part of the magnetic core 20 overlap each other because a conductive portion of the coil conductor 21 in the vicinity of the bottom side of the magnetic core 20 and the planar conductor 11 are coupled, whereas a conductive portion in the vicinity of the top side of the magnetic core 20 is not easily coupled to the planar conductor 11, and the occurrence of currents cancelling out each other can be prevented.
- each coil antenna be arranged such that the winding axes of the coil conductors 21 are parallel (coaxial) to each other because the component of a magnetic flux in the winding axis direction is cancelled and directivity of the antenna device in a direction normal to the planar conductor 11 is obtained.
- each coil antenna be arranged such that the winding axes of the coil conductors 21 of the coil antennas cross above the region where the planar conductor 11 is formed because a magnetic flux heading for that intersection can sufficiently flow through each coil antenna.
- the magnetic core 20 in each of the coil antennas have the shape of a rectangular parallelepiped and that the coil conductor 21 be wound so as to have the winding axis being parallel to the short sides of the magnetic core 20, that is, the coil conductor 21 be wound such that the coil openings are disposed on the long side of the magnetic core 20.
- a current flowing through the planar conductor 11 can be more easily guided to the coil conductor 21 and a magnetic flux flowing in a direction parallel to the planar conductor 11 can more easily flow through the coil antenna without an increase in the area for disposing the coil antenna.
- the coil conductor 21 when seen from a direction normal to the planar conductor 11, the coil conductor 21 be arranged so as to include a first portion where it overlaps the end portion of the planar conductor 11 and a second portion where it does not overlap the planar conductor 11.
- the frequency characteristic does not tend to vary if the coil antenna is misaligned at the time of placement and also because an eddy current flowing through the planar conductor 11 is large in the vicinity of the edge end portion of the planar conductor 11 and thus the degree of coupling (magnetic coupling) between the planar conductor 11 and the coil conductor 21 can be large, and as a result, an antenna device with a reduced loss can be achieved.
- Fig. 6 illustrates a connection relation between the coil antennas of an antenna device 202 according to a second example and a connection relation with a feed circuit.
- the coil conductors of the coil antennas are denoted as the coils L1 to L4 here.
- the configuration of each coil antenna is substantially the same as in the first example.
- each of the coils L1 to L4 is connected to the feed circuit FC. That is, the coil conductors of the coil antennas are connected to the feed circuit FC such that they are in parallel to each other. More specifically, a first input/output port of the feed circuit FC is connected to a first end of the coil L1 through wiring W1, and a second end of the coil L1 is connected to a second input/output port of the feed circuit FC through wiring W2. Similarly, the first input/output port of the feed circuit FC is connected to a first end of the coil L2 through wiring W3, and a second end of the coil L2 is connected to the second input/output port of the feed circuit FC through wiring W4.
- the first input/output port of the feed circuit FC is connected to a first end of the coil L3 through wiring W5, and a second end of the coil L3 is connected to the second input/output port of the feed circuit FC through wiring W6.
- the first input/output port of the feed circuit FC is connected to a first end of the coil L4 through wiring W7, and a second end of the coil L4 is connected to the second input/output port of the feed circuit FC through wiring W8.
- each of the wiring W1 to W8 connecting the coil antennas and the feed circuit FC is routed outside the area formed by an imaginary straight line that connects the center positions of the coil antennas (coil L1, coil L2, coil L3, and coil L4) together. Moreover, each of the wiring W1 to W8 is routed outside the planar conductor 11. Routing the wiring W1 to W8 in this manner widens the area usable as the antenna device in the planar conductor 11.
- the coil antennas when seen from a direction normal to the planar conductor 11, the coil antennas (coils L1 to L4) may be arranged such that all of them are located within the area of the planar conductor 11. Because the core of each of the coil antennas is magnetic, currents that cancel out each other do not tend to occur for any arrangement.
- Fig. 7(A) is a perspective view of an antenna device 203 according to a third example and Fig. 7(B) is a plan view thereof.
- the antenna device 203 is the one in which the first coil antenna 100A is arranged in the vicinity of one of the two long sides of the rectangular planar conductor 11 and the second coil antenna 100B and the third coil antenna 100C are arranged in the vicinities of the two short sides.
- the arrangement in which a plurality of coil antennas are arranged such that the coil openings thereof face each other in the direction of the long sides of the planar conductor 11 enables a magnetic flux to be efficiently guided to the coil antennas.
- the arrangement in which the plurality of coil antennas 100A, 100B, and 100C are asymmetric with respect to the center of the planar conductor 11 enables the antenna device 203 to have directivity. Accordingly, for example, arrangement of the plurality of coil antennas with respect to the planar conductor 11 can be set such that, in a state where the antenna device 203 is embedded in a communication terminal apparatus, the directivity direction is inclined to the longitudinal direction of the housing.
- the coil antennas may be connected in series, or alternatively, may also be connected in parallel.
- Fig. 8(A) is a perspective view of an antenna device 204 according to a fourth example
- Fig. 8(B) is a plan view thereof
- Fig. 8(C) is a plan view that illustrates a state where the antenna device 204 is embedded in a communication terminal apparatus
- Fig. 8(D) is a front view thereof.
- the antenna device 204 is the one in which the first coil antenna 100A is disposed on one of the four sides of the rectangular planar conductor 11 and the second coil antenna 100B, the third coil antenna 100C, and the fourth coil antenna 100D are disposed on the opposed side.
- the arrangement in which the plurality of coil antennas 100A, 100B, 100C, and 100D are arranged asymmetric with respect to the center of the planar conductor 11 enables the antenna device 204 to have directivity.
- the communication distance for the side on which the second coil antenna 100B, the third coil antenna 100C, and the fourth coil antenna 100D are disposed can be increased.
- the antenna device 204 is arranged in a leading end portion of the terminal housing 320 of the communication terminal apparatus. That is, arrangement in which the antenna device 204, which is asymmetric to have directivity in the above-described direction, is positioned at the base 10 (printed substrate) such that the side on which the second coil antenna 100B, the third coil antenna 100C, and the fourth coil antenna 100D are arranged is situated at the leading end portion of the terminal housing 320 enables the communication terminal apparatus to have the illustrated directivity.
- the coil antennas may be connected in series, or alternatively, may also be connected in parallel.
- Fig. 9(A) is a perspective view of an antenna device 205 according to a fifth example and Fig. 9(B) is a front view that illustrates a state where the antenna device 205 is embedded in a communication terminal apparatus.
- the antenna device 205 includes a first planar conductor region 11A in which the first coil antenna 100A, the second coil antenna 100B, and the third coil antenna 100C are arranged and a second planar conductor region 11B in which the fourth coil antenna 100D is arranged.
- the first planar conductor region 11A and the second planar conductor region 11B are formed on respective planes that intersect each other at a predetermined angle ⁇ .
- the antenna device has directivity in a direction that is intermediate between a direction normal to the first planar conductor region 11A and a direction normal to the second planar conductor region 11B and can have an increased communication distance in that direction.
- the antenna device 205 is arranged on a front end FE side of the terminal housing 320 of the communication terminal apparatus. That is, arrangement in which the antenna device 205, which is asymmetric to have directivity in that direction, is positioned in the vicinity of the back surface BS of the terminal housing 320 and the second planar conductor region 11B is disposed on the leading end portion FE side enables the communication terminal apparatus to have the illustrated directivity.
- the coil antennas may be connected in series, or alternatively, may also be connected in parallel.
- the angle ⁇ formed between the first planar conductor region 11A and the second planar conductor region 11B be larger than 90° and smaller than 135°.
- Fig. 10(A) is a perspective view of an antenna device 206 according to a sixth example and Fig. 10(B) is an exploded perspective view thereof.
- the antenna device 206 includes a chip coil antenna 106 and the planar conductor 11.
- the coil antenna 106 and the planar conductor 11 are directly connected to each other with a conductive binder, such as solder, disposed therebetween.
- the coil antenna 106 includes, as a body, a stacked magnetic core in which magnetic layers 20a, 20c, and 20b are stacked.
- a conductive pattern 21a on the surface of the magnetic layer 20a, a conductive pattern 21c on the side surface of each of the magnetic layers 20a, 20c, and 20b, and a conductive pattern 21b on the surface of the magnetic layer 20b form a coil conductor.
- Input/output-terminal connection electrodes 22a and 22b for use in connecting to input/output terminals 12a and 12b and a coupling electrode 24 for use in connecting to the planar conductor 11 are disposed on the back surface of the magnetic layer 20b, that is, on the mounting surface of the coil antenna 106.
- the coil conductor is connected at one end to the input/output-terminal connection electrode 22a and is connected at the other end to the input/output-terminal connection electrode 22b.
- the input/output-terminal connection electrodes 22a and 22b are connected and fixed to the input/output terminals 12a and 12b with a conductive binder, such as solder, disposed therebetween.
- the coupling electrode 24 is connected and fixed to a connection area CA indicated by the broken lines in Fig. 10(B) with a conductive binder, such as solder, disposed therebetween, the connection area CA being a part of the planar conductor 11.
- the input/output terminals 12a and 12b are connected to an input/output port of a feed circuit and another coil antenna.
- an eddy current (induced current) flowing through the planar conductor 11 is also guided to the coupling electrode 24 through the conductive binder because the planar conductor 11 and the coupling electrode 24 have the same potential.
- a current flowing in a direction opposite to the direction of the current flowing in the coupling electrode 24 flows through the conductive pattern 21b on the surface of the magnetic layer 20b, and as a result, the current flows through the coil conductor.
- the coupling electrode 24 and the coil conductor face each other such that the magnetic layer is disposed therebetween, a magnetic field produced by the current flowing in the coupling electrode 24 is trapped in the magnetic layer and is efficiently guided to the coil conductor. Accordingly, the degree of the magnetic field coupling between the coupling electrode 24 and the coil conductor can be increased, and the antenna device with a reduced loss can be achieved.
- Fig. 11(A) is a plan view of an antenna device 207 according to a seventh example and Fig. 11 (B) illustrates a relation between the winding axis directions of the coil conductors of the coil antennas and the planar conductor 11.
- the coil conductors of the coil antennas are denoted as coils L1 and L2 here.
- the number of coil antennas is not limited to three or more.
- the two coil antennas 100A and 100B may be used. Arrangement in which the two coil antennas 100A and 100B are asymmetric with respect to the center of the planar conductor 11 enables the antenna device 207 to have directivity. Also in this case, as illustrated in Fig. 11 (B) , the coil conductors (coils L1 and L2) of the two coil antennas may be connected in series, or alternatively, may also be connected in parallel.
- An increase in the number of coil antennas facilitates the coil conductors to catch an eddy current occurring in the planar conductor 11, but increases the size of the antenna device accordingly.
- the number of coil antennas can be determined in consideration of balance between the electric characteristics required for the antenna device and the size.
- Figs. 12(A) and 12(B) are plan views of antenna devices 208A and 208B according to an eighth example, respectively.
- the shape of the planar conductor 11 is not limited to a rectangular.
- the planar conductor 11 may be circular.
- the planar conductor 11 may be hexagonal.
- a coil antenna having substantially the same configuration as any of the coil antennas described above may be applied to the coil antennas 100A, 100B, 100C, and 100D.
- Figs. 13(A) and 13(B) are plan views of antenna devices 209A and 209B according to a ninth example, respectively.
- the shape of the planar conductor 11 is not limited to a continuous planar shape.
- the planar conductor 11 may have an opening A in the central portion, or alternatively, as illustrated in Fig. 13(B) , the planar conductor 11 may have a slit SL in the vicinity of a coil opening of each of the coil antennas 100A, 100B, 100C, and 100D.
- These structures allow a magnetic flux to exit through the opening A or the slit SL and thus enable communication to not only a first main surface side but also a second main surface side. Additionally, the total magnetic flux is also increased, and the distance at which communication can be carried out is also increased.
- Fig. 14(A) is a perspective view of an antenna device 210 according to a tenth example
- Fig. 14(B) is a plan view thereof
- Fig. 14(C) is a front view thereof.
- the base 10 of the antenna device 210 is a printed wiring board.
- the planar conductor 11 is disposed on the base 10.
- the coil antenna 100 includes the magnetic core 20 and the coil conductor 21 wound around the magnetic core 20.
- the coil antenna 100 is arranged such that a coil opening of the coil conductor is adjacent (close) to the edge end portion of the planar conductor 11.
- d1 is the distance from the inner end face of the magnetic core 20 to the edge end of the planar conductor 11 and d1 is the distance from the inner end portion of the winding region of the coil conductor to the edge end of the planar conductor 11.
- Fig. 15(A) is a perspective view that illustrates a direction of each of a current that flows through the coil conductor of the coil antenna 100 in the antenna device 210, a current that flows through the planar conductor 11, a magnetic field produced by the coil antenna 100, and a magnetic field produced by the planar conductor 11.
- Fig. 15(B) illustrates a relation between a current that flows through the planar conductor 11 and a magnetic flux produced by the current.
- a current "a" flowing through the coil conductor 21 induces a current "b" in the planar conductor 11.
- a magnetic field occurs in the coil antenna 100 in the direction indicated by the arrow A
- a magnetic field occurs in the planar conductor 11 in the direction indicated by the arrow B.
- the planar conductor 11 functions as a booster antenna, and a magnetic field larger than a magnetic field produced by the coil antenna 100 alone can be produced.
- directivity in the 0° direction and that in the 45° direction are enhanced.
- the reason why the above phenomenon, in which such a large magnetic field can be produced, occurs can be that, when seen from a direction normal to the planar conductor 11, the direction of a current flowing through the coil conductor 21 and the direction of a current circulating in the edge end of the planar conductor 11 are the same.
- Fig. 16(A) is a cross-sectional view of a communication terminal apparatus 310 including the antenna device 210 and Fig. 16(B) is a plan view that illustrates an inside portion thereof.
- a magnetic flux produced by the coil antenna 100 and a magnetic flux produced by the planar conductor 11 are combined, and the antenna device 210 has directivity in the direction indicated by the arrow illustrated in Fig. 16(A) . That is, arrangement of the coil antenna 100 in the antenna device 210 on the end portion side of the terminal housing 320 enables the antenna device 210 to have a high gain in an inclined direction between the back surface BS direction and the leading end FE direction of the terminal housing 320 of the communication terminal apparatus 310. Accordingly, when a user grips a proximal portion HP of the communication terminal apparatus 310 and holds the lower surface side angle of the leading end portion over an object at the other end in communication, the communication can be carried out with a high gain.
- Fig. 17(A) is a plan view of an antenna device 211 according to an 11th example and Fig. 17(B) is a front view thereof.
- the base 10 is a printed wiring board.
- the coil antenna 100 includes the magnetic core 20 and the coil conductor 21 wound around the magnetic core 20. Both ends of the coil conductor 21 are not connected to the planar conductors 11A and 11B, and the planar conductors 11A and 11B are in an insulated state in terms of direct current.
- the coil conductor 21 has a circuit configuration illustrated in Fig. 17(C) .
- the coil antenna 100 and the planar conductors 11A and 11B are arranged such that the two coil openings of the coil conductor 21 of the coil antenna 100 are adjacent (close) to the edge end portions of the planar conductors 11A and 11B, respectively.
- Fig. 18 is an exploded perspective view of an antenna device 212 according to a 12th example.
- a base is made of a stacked substrate in which base layers 10a, 10b, and 10c are stacked.
- the conductive pattern 21a is disposed on the base layer 10a, and the conductive pattern 21c is disposed on the base layer 10c.
- the base layers 10a, 10b, and 10c have via conductors 21v,
- the conductive patterns 21a and 21c and the via conductors 21v form a single coil conductor having a plurality of turns.
- the input/output-terminal connection electrodes 22a and 22b are disposed on the lower surface of the base layer 10c.
- the planar conductor 11 is disposed on the base layer 10a.
- the planar conductor 11 is disposed such that the edge end portion is adjacent (close) to a coil opening of the coil conductor. In this manner, the antenna device in which the coil antenna and the planar conductor are integrated in the stacked substrate is configured.
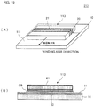
- Fig. 19(A) is a perspective view of an antenna device 213 according to a 13th example and Fig. 19(B) is a cross-sectional view thereof.
- Fig. 20(A) is an exploded perspective view of the antenna device 213, and Fig. 20(B) is a cross-sectional view thereof and illustrates behavior of a current and a magnetic flux.
- the antenna device 213 includes a chip coil antenna 113 and the planar conductor 11.
- the coil antenna 113 and the planar conductor 11 are directly connected to each other with a conductive binder cb, such as solder, disposed therebetween.
- the coil antenna 113 includes, as a body, a stacked magnetic core in which the magnetic layers 20a, 20c, and 20b are stacked.
- the conductive pattern 21a on the surface of the magnetic layer 20a, the conductive pattern 21c on the side surface of each of the magnetic layers 20a, 20c, and 20b, and the conductive pattern 21b on the surface of the magnetic layer 20b form a coil conductor.
- the input/output-terminal connection electrodes 22a and 22b for use in connecting to the input/output terminals 12a and 12b and a strip coupling electrode 23 are disposed on the back surface of the magnetic layer 20b, that is, on the mounting surface of the coil antenna 113.
- the coil conductor is connected at one end to the input/output-terminal connection electrode 22a through a via conductor and is connected at the other end to the input/output-terminal connection electrode 22b through a via conductor.
- the input/output-terminal connection electrodes 22a and 22b are connected and fixed to the input/output terminals 12a and 12b with a conductive binder, such as solder, disposed therebetween.
- the coupling electrode 23 is connected and fixed to the connection area CA indicated by the broken lines in Fig. 20(A) with a conductive binder, such as solder, disposed therebetween, the connection area CA being a part of the planar conductor 11.
- the input/output terminals 12a and 12b are connected to an input/output port of a feed circuit and another coil antenna.
- an eddy current (induced current) flowing through the planar conductor 11 is also guided to the coupling electrode 23 through the conductive binder because the planar conductor 11 and the coupling electrode 23 have the same potential.
- a current flowing in a direction opposite to the direction of the current flowing in the coupling electrode 23 flows through the conductive pattern 21b on the surface of the magnetic layer 20b, and as a result, the current flows through the coil conductor.
- the coupling electrode 23 and the coil conductor face each other such that the magnetic layer is disposed therebetween, a magnetic field produced by the current flowing in the coupling electrode 23 is trapped in the magnetic layer and is efficiently guided to the coil conductor. Accordingly, the degree of the magnetic field coupling between the coupling electrode 23 and the coil conductor can be increased, and the antenna device with a reduced loss can be achieved.
- Fig. 21(A) is an exploded perspective view of a coil antenna 114 included in an antenna device according to a 14th example and Fig. 21(B) is a cross-sectional view of the antenna device 214 according to the 14th example.
- the antenna device 214 includes the chip coil antenna 114 and the planar conductor 11.
- the coil antenna 114 and the planar conductor 11 are directly connected to each other with a conductive binder, such as solder, disposed therebetween.
- the coil antenna 114 includes, as a body, a stacked magnetic core in which the magnetic layers 20a, 20c, 20b, and 20d are stacked.
- the conductive pattern 21a on the surface of the magnetic layer 20a, the conductive pattern 21c on the side surface of each of the magnetic layers 20a, 20c, and 20b, and the conductive pattern 21b on the surface of the magnetic layer 20b form a coil conductor.
- the coupling electrode 23 is disposed on the upper surface of the magnetic layer 20d.
- the input/output-terminal connection electrodes 22a and 22b electrically connected to both ends of the coil conductor through via conductors and coupling-electrode connection electrodes 23a and 23b electrically connected to both ends of the coupling electrode 23 through via conductors are disposed on the back surface of the magnetic layer 20d, that is, on the mounting surface of the coil antenna 114.
- the input/output-terminal connection electrodes 22a and 22b are connected and fixed to the input/output terminals on the base 10 with a conductive binder, such as solder, disposed therebetween.
- the coupling-electrode connection electrodes 23a and 23b are connected and fixed to the connection area being a part of the planar conductor 11 with a conductive binder, such as solder, disposed therebetween.
- An underfill 25 is disposed on the lower surface of the coil antenna 114.
- an eddy current (induced current) flowing through the planar conductor 11 is also guided to the coupling electrode 23 through the conductive binder.
- a current flowing in a direction opposite to the direction of the current flowing in the coupling electrode 23 flows through the conductive pattern 21b on the surface of the magnetic layer 20b, and as a result, the current flows through the coil conductor.
- the coupling electrode 23 and the coil conductor face each other such that the magnetic layer is disposed therebetween, a magnetic field produced by the current flowing in the coupling electrode 23 is trapped in the magnetic layer and is efficiently guided to the coil conductor. Accordingly, the degree of the magnetic field coupling between the coupling electrode 23 and the coil conductor can be increased, and the antenna device with a reduced loss can be achieved.
- Fig. 22 is a perspective view that illustrates an inside portion of a communication terminal apparatus 315 according to a 15th example.
- the main substrate 111 and the base 10 as a sub substrate are incorporated in the terminal housing 320, and an antenna device 215 is configured at the base 10.
- the antenna device 215 includes the planar conductor 11 and two coil antennas 113A and 113B.
- Each of the coil antennas 113A and 113B is the one illustrated in Figs. 19 and 20 in the 13th example.
- the coil antennas 113A and 113B are arranged on two sections of the edge end portion of the planar conductor 11.
- the antenna device 215 and the battery pack 112 are arranged in the vicinity of the back surface BS of the terminal housing 320.
- the two coil antennas 113A and 113B of the antenna device 215 are opposed to each other, components in the plane direction (horizontal direction) of the planar conductor 11 of the magnetic fluxes produced by the coil antennas 113A and 113B are cancelled.
- directivity of the antenna device 215 has a characteristic in which it is directed to a direction normal to the planar conductor 11.
- the antenna device 215 and the coil antenna 400 at the other end in communication are coupled mainly through an induction field, and predetermined information is transmitted and received.
- Fig. 23(A) is a perspective view of an antenna device 216 according to a 16th example and Fig. 23(B) is a perspective view that illustrates an inside portion of a communication terminal apparatus 316 including the antenna device 216.
- the main substrate 111 and the base 10 as a sub substrate are incorporated in the terminal housing 320.
- the antenna device 216 is configured at the base 10.
- the antenna device 216 includes the planar conductor 11 and the single coil antenna 114.
- the coil antenna 114 is the one illustrated in Fig. 21 in the 14th example.
- the antenna device 216 and the battery pack 112 are arranged in the vicinity of the back surface BS of the terminal housing 320.
- the antenna coil 114 is arranged on the edge end portion of the planar conductor 11 inside the leading end portion FE of the terminal housing 320, a magnetic flux produced by the coil antenna 114 and a magnetic flux produced by the planar conductor 11 are combined, and thus the antenna device 216 has directivity in the direction indicated by the arrow illustrated in Fig. 23(B) . That is, the antenna device 216 obtains a high gain in an inclined direction between the back surface BS direction and the leading end FE direction of the terminal housing 320 of the communication terminal apparatus 316. Accordingly, when a user grips the proximal portion of the communication terminal apparatus 316 and holds the lower surface side angle of the leading end portion over the coil antenna 400 at the other end in communication, the communication can be carried out with a high gain.
- Fig. 24 is a perspective view of an antenna device 217 according to a first embodiment.
- the antenna device 217 of the first embodiment includes a booster antenna (booster coil) 130 coupled to the coil antenna 100.
- the planar conductor 11 is disposed inside the main substrate (printed wiring board) 111.
- the coil opening on a first end face side in the coil antenna 100 faces the planar conductor 11, and the coil antenna 100 is arranged on the upper surface of the main substrate 111.
- the coil antenna 100 has the same configuration as that illustrated in Fig. 2 and other drawings in the first example.
- the booster antenna 130 is coupled to the coil antenna 100 and a coil antenna at the other end in communication and acts as a booster antenna, as described below.
- the coil antenna 100 is connected to a feed circuit, and that feed circuit carries out communication through the coil antenna 100, the booster antenna 130, and the coil antenna at the other end in communication.
- Fig. 25(A) is an exploded perspective view of the booster antenna 130 included in the antenna device 217
- Fig. 25(B) is an equivalent circuit diagram thereof
- Fig. 25(C) is an equivalent circuit diagram of the antenna device 217.
- the booster antenna 130 includes a base sheet 30, a first coil conductor 31, and a second coil conductor 32.
- Each of the coil conductor 31 and the coil conductor 32 is patterned so as to have a rectangular spiral shape.
- the winding direction of the coil conductor 31 and that of the coil conductor 32 are opposite (the same when seen through from one direction), and both are coupled through an electromagnetic field.
- Fig. 25(A) is an exploded perspective view of the booster antenna 130 included in the antenna device 217
- Fig. 25(B) is an equivalent circuit diagram thereof
- Fig. 25(C) is an equivalent circuit diagram of the antenna device 217.
- the booster antenna 130 includes a base sheet 30, a first coil conductor 31, and a second coil conductor 32.
- an inductor L31 is the one in which an inductance produced by the coil conductor 31 is indicated by a symbol
- an inductor L32 is the one in which an inductance produced by the coil conductor 32 is indicated by a symbol
- each of capacitors C1 and C2 is the one in which a capacitance occurring between the coil conductors 31 and 32 is indicated by a symbol of a lumped constant.
- the two coil conductors 31 and 32 of the booster antenna 130 are wound and arranged such that an induced current flowing through the coil conductor 31 and that through the coil conductor 32 propagate in the same direction, and the coil conductors 31 and 32 are coupled through the capacitances.
- This booster antenna has the inductances of the coil conductors themselves and the capacitances resulting from capacitive coupling of the coil conductors, and the inductances and capacitances form a resonant circuit. It is preferable that the resonant frequency of that resonant circuit substantially correspond to the carrier frequency used in communication. This enables an increase in the communication distance.
- an inductor L21 is the one in which an inductance produced by the coil conductor of the coil antenna 100 is indicated by a symbol
- a capacitor CIC is the one in which a capacitance associated with the coil conductor of the coil antenna 100, such as a parasitic capacitance of a radio-frequency integrated circuit (RFIC), is indicated by a symbol.
- the inductor L21 is coupled to the inductors L31 and L32 through an electromagnetic field. LC resonance occurs between the inductor L21 and the capacitor CIC. This enables the RFIC to be coupled to the LC circuit resulting from the booster antenna 130 in an impedance matched state.
- Fig. 26(A) is a plan view of the antenna device 217 and Fig. 26(B) is a cross-sectional view of a communication terminal apparatus including the antenna device 217.
- the coil antenna 100 is mounted on the main substrate (printed wiring board) 111 in the terminal housing 320 as a surface-mount component.
- the booster antenna 130 is attached to the inner wall of the terminal housing 320 with an adhesive layer 40 disposed therebetween.
- the coil antenna 100 functions as a feed coil.
- the coil antenna 100 and the booster antenna 130 are coupled through a magnetic field. More strictly, because a magnetic flux occurring in the planar conductor 11 (magnetic flux occurring in the direction of the arrow B illustrated in Fig. 15(A) ) links the coil conductors 31 and 32 of the booster antenna 130, the booster antenna 130 is also coupled to the planar conductor 11 through a magnetic field. That is, the three elements of the coil antenna 100, the planar conductor 11, and the booster antenna 130 are coupled through a magnetic field. As a result, a magnetic field component that is a loss is small, and the antenna device with a reduced loss can be achieved.
- the direction in which the conductive pattern of each of the coil conductors 31 and 32 of the booster antenna 130 extends and the direction in which the coil conductor 21 of the coil antenna 100 extends be parallel to each other and that the coil conductor 21 of the coil antenna 100 overlap the coil conductors 31 and 32 of the booster antenna 130 in plan view. That is, it is preferable that the winding axis of each of the coil conductors 31 and 32 of the booster antenna 130 be substantially orthogonal to the winding axis of the coil antenna 100. In this case, as indicated by the broken line illustrated in Fig. 26(B) , a magnetic flux links the coil conductor 21 of the coil antenna 100 and the coil conductors 31 and 32 of the booster antenna 130.
- the coil conductor 21 of the coil antenna 100 and a part of the coil conductors 31 and 32 of the booster antenna 130 extend in substantially the same direction, they are also coupled through an electric field. That is, the coil antenna 100 is directly coupled to the booster antenna 130 through an electromagnetic field.
- the antenna device further include the booster antenna 130.
- the booster antenna 130 is arranged on a side near to the antenna at the other end in communication, the maximum distance at which communication can be carried out for the antenna device can be further extended.
- a communication signal is in the HF range, because the coil antenna 100 and the booster antenna 130 are coupled mainly through a magnetic field, it is not necessary to use mechanical connection means, such as a contact pin or a flexible cable.
- the shape of the coil conductor of the booster antenna is not limited to a spiral; it may be a loop shape.
- Fig. 27(A) is a plan view of an antenna device 218 according to a second embodiment and Fig. 27(B) is a cross-sectional view of a communication terminal apparatus including the antenna device 218.
- the booster antenna 130 is arranged such that its coil opening is situated outside the end portion of the planar conductor 11.
- the other configuration is the same as that illustrated in the first embodiment.
- a magnetic flux occurring in the planar conductor 11 links the coil conductors 31 and 32 of the booster antenna 130.
- the direct coupling between the coil antenna 100 and the booster antenna 130 is substantially the same as in the antenna device 217 in the first embodiment.
- Fig. 28 is a plan view that illustrates a communication terminal apparatus including an antenna device 219 according to a third embodiment in a state where the upper housing is detached.
- the planar conductor 11 is a ground conductor disposed on the main substrate 111.
- the configuration of the coil antenna 100 is the same as that illustrated in the first example.
- the configuration of the booster antenna 130 is the same as that illustrated in the first embodiment.
- the planar conductor 11 constitutes a large proportion of the terminal housing 320 in terms of the plane.
- the coil antenna 100 is arranged such that the coil openings are positioned along the long sides of the planar conductor.
- the coil antenna 100 be arranged such that a coil opening faces a part of the long side. That is, when communication is carried out in the state where a magnetic flux is input and output in a central portion of the planar conductor 11, the magnetic field (magnetic flux) tends to flow toward the long sides, which have a shorter distance from the center of the planar conductor 11. Accordingly, the arrangement in which a coil opening of the coil antenna 100 faces the long side of the planar conductor 11 enables more stable communication.
- Fig. 29(A) is a plan view of an antenna device 220 and Fig. 29(B) is a cross-sectional view of the antenna device 220.
- the antenna device 220 includes the four coil antennas 100A, 100B, 100C, and 100D. These coil antennas 100A, 100B, 100C, and 100D are mounted on the main substrate (printed wiring board) 111 in the terminal housing as a surface-mount component.
- the booster antenna 130 can be attached to the inner wall of the housing, for example. The configuration of the booster antenna 130 is illustrated in the first embodiment.
- the coil antennas 100A, 100B, 100C, and 100D are disposed on the respective sides of the rectangular planar conductor 11 and arranged so as to surround the planar conductor 11.
- the coil conductors of the coil antennas 100A, 100B, 100C, and 100D are connected in series in a direction in which electromotive force is accumulated and connected to a single feed circuit.
- the path of a magnetic flux flowing through the coil antennas 100A, 100B, 100C, and 100D and the planar conductor 11 is the same as that illustrated in Fig. 5(B) .
- the connection relation among the coil conductors of the coil antennas 100A, 100B, 100C, and 100D is the same as that illustrated in Fig. 5(A) .
- the use of the plurality of coil antennas easily enables a necessary inductance.
- the arrangement in which the plurality of coil antennas 100A, 100B, 100C, and 100D are disposed around the planar conductor 11 strengthens the coupling between the plurality of coil antennas and the booster antenna 130, enhances the efficiency of the booster antenna 130, and reduces a loss.
- the advantageous effects produced by the use of the single planar conductor and the plurality of coil antennas, as illustrated in the first example, are also obtainable.
- the planar conductor may be a ground electrode on a wiring substrate, or alternatively, may be a metal that sheathes a battery pack. That is, the planar conductor is not limited to a dedicated planar conductor. Other metal body in part (or in whole) may be used as the planar conductor in an antenna device.
- the magnetic core of the coil antenna may be a ceramic body, such as a ferrite ceramic body, or alternatively, may be a resin layer that contains ferrite powder distributed in a resin.
- the coil antenna in which the coil conductor is wound around the surface of the magnetic core, may be overlaid with an insulating layer with the aim of, for example, protecting the coil conductor and protecting the magnetic core.
- the coil conductor may be one in which metal wire is wound around the magnetic core.
- the coil conductor may be a metal sintered body, such as one made of silver, simultaneously sintered with the ferrite ceramic.
- the coil conductor may not be formed on the top surface of the magnetic core; the coil conductor in part or in whole may be disposed inside the magnetic core.
- the antenna device in the terminal housing may be arranged in the vicinity of the front side (on the side on which a display unit and an input operation unit are disposed) of the terminal housing, or alternatively, may be disposed above the battery pack.
- the coil antenna may preferably be arranged on a side adjacent to an object at the other end in communication with respect to the planar conductor.
- the surface on which the coil antenna is arranged may be on a side opposite to an object at the other end in communication with respect to the planar conductor.
- the coil conductor includes a portion that overlaps the planar conductor and another portion that does not overlap the planar conductor and also when the planar conductor is sufficiently thin, even if the coil antenna is arranged on a side opposite to an object at the other end in communication with respect to the planar conductor, it is sufficiently possible for this antenna device to carry out communication with the antenna device at the other end in communication.
- the antenna device may be arranged as the sub substrate in the housing in the communication terminal apparatus, or alternatively, may be arranged on the main substrate. Alternatively, the antenna device may be embedded in a card module that can be inserted into the communication terminal apparatus.
- the antenna device is not limited to uses in a communication system in the HF range.
- the antenna device may be used as an antenna device used in other frequency ranges, including the ultrahigh frequency (UHF) range and the superhigh frequency (SHF) range, and may also be used in communication systems other than an RFID system.
- UHF ultrahigh frequency
- SHF superhigh frequency
- the communication terminal apparatus of the present invention is useful as a communication terminal apparatus that includes an RFID system in the HF range, for example.
Landscapes
- Engineering & Computer Science (AREA)
- Physics & Mathematics (AREA)
- Health & Medical Sciences (AREA)
- Toxicology (AREA)
- Computer Networks & Wireless Communication (AREA)
- Theoretical Computer Science (AREA)
- General Physics & Mathematics (AREA)
- Computer Vision & Pattern Recognition (AREA)
- Artificial Intelligence (AREA)
- General Health & Medical Sciences (AREA)
- Electromagnetism (AREA)
- Computer Hardware Design (AREA)
- Microelectronics & Electronic Packaging (AREA)
- Variable-Direction Aerials And Aerial Arrays (AREA)
- Details Of Aerials (AREA)
- Support Of Aerials (AREA)
- Near-Field Transmission Systems (AREA)
- Aerials With Secondary Devices (AREA)
- Telephone Function (AREA)
Applications Claiming Priority (5)
| Application Number | Priority Date | Filing Date | Title |
|---|---|---|---|
| JP2010200237 | 2010-09-07 | ||
| JP2010200966 | 2010-09-08 | ||
| JP2011010459 | 2011-01-21 | ||
| EP11823506.8A EP2573871B1 (en) | 2010-09-07 | 2011-09-05 | Antenna apparatus and communication terminal apparatus |
| PCT/JP2011/070099 WO2012033031A1 (ja) | 2010-09-07 | 2011-09-05 | アンテナ装置および通信端末装置 |
Related Parent Applications (2)
| Application Number | Title | Priority Date | Filing Date |
|---|---|---|---|
| EP11823506.8A Division EP2573871B1 (en) | 2010-09-07 | 2011-09-05 | Antenna apparatus and communication terminal apparatus |
| EP11823506.8A Division-Into EP2573871B1 (en) | 2010-09-07 | 2011-09-05 | Antenna apparatus and communication terminal apparatus |
Publications (2)
| Publication Number | Publication Date |
|---|---|
| EP2863480A1 EP2863480A1 (en) | 2015-04-22 |
| EP2863480B1 true EP2863480B1 (en) | 2018-11-07 |
Family
ID=45810632
Family Applications (2)
| Application Number | Title | Priority Date | Filing Date |
|---|---|---|---|
| EP14197927.8A Active EP2863480B1 (en) | 2010-09-07 | 2011-09-05 | Communication terminal apparatus comprising an antenna device |
| EP11823506.8A Active EP2573871B1 (en) | 2010-09-07 | 2011-09-05 | Antenna apparatus and communication terminal apparatus |
Family Applications After (1)
| Application Number | Title | Priority Date | Filing Date |
|---|---|---|---|
| EP11823506.8A Active EP2573871B1 (en) | 2010-09-07 | 2011-09-05 | Antenna apparatus and communication terminal apparatus |
Country Status (6)
| Country | Link |
|---|---|
| US (4) | US9391369B2 (enExample) |
| EP (2) | EP2863480B1 (enExample) |
| JP (6) | JP5062382B2 (enExample) |
| KR (1) | KR101276282B1 (enExample) |
| CN (2) | CN102959800B (enExample) |
| WO (1) | WO2012033031A1 (enExample) |
Families Citing this family (66)
| Publication number | Priority date | Publication date | Assignee | Title |
|---|---|---|---|---|
| KR102593172B1 (ko) * | 2016-10-05 | 2023-10-24 | 삼성전자 주식회사 | 루프 안테나를 갖는 전자 장치 |
| CN102668241B (zh) * | 2010-03-24 | 2015-01-28 | 株式会社村田制作所 | Rfid系统 |
| EP2523255B1 (en) | 2011-02-15 | 2014-12-31 | Murata Manufacturing Co., Ltd. | Antenna device and communication terminal device |
| DE102011104878B4 (de) * | 2011-06-07 | 2025-05-22 | HELLA GmbH & Co. KGaA | Antennenvorrichtung |
| WO2013099546A1 (ja) * | 2011-12-28 | 2013-07-04 | 日本発條株式会社 | 非接触情報媒体、非接触情報媒体用ボビン部材、非接触情報媒体用本体部材、及び非接触情報媒体の製造方法 |
| EP2629364A1 (en) * | 2012-02-14 | 2013-08-21 | Harman Becker Automotive Systems GmbH | Antenna assembly and method of use of the antenna assembly |
| JP5639606B2 (ja) * | 2012-02-27 | 2014-12-10 | 三智商事株式会社 | 無線icタグ |
| KR101339486B1 (ko) * | 2012-03-29 | 2013-12-10 | 삼성전기주식회사 | 박막 코일 및 이를 구비하는 전자 기기 |
| JP2013207727A (ja) * | 2012-03-29 | 2013-10-07 | Equos Research Co Ltd | アンテナコイル |
| JP2013243431A (ja) * | 2012-05-17 | 2013-12-05 | Equos Research Co Ltd | アンテナコイル |
| JP5772868B2 (ja) * | 2012-05-21 | 2015-09-02 | 株式会社村田製作所 | アンテナ装置および無線通信装置 |
| JP6089446B2 (ja) * | 2012-05-22 | 2017-03-08 | 株式会社村田製作所 | アンテナ装置および通信端末装置 |
| JP5660254B2 (ja) * | 2012-05-28 | 2015-01-28 | 株式会社村田製作所 | アンテナ装置及び無線通信装置 |
| CN103765675B (zh) | 2012-06-04 | 2015-06-10 | 株式会社村田制作所 | 天线装置及通信终端设备 |
| JP5757345B2 (ja) * | 2012-06-04 | 2015-07-29 | 株式会社村田製作所 | 無線通信装置 |
| AU2013201425A1 (en) * | 2012-07-13 | 2014-01-30 | Sato Holdings Corporation | Antenna Design and Interrogator System |
| JP5967028B2 (ja) * | 2012-08-09 | 2016-08-10 | 株式会社村田製作所 | アンテナ装置、無線通信装置およびアンテナ装置の製造方法 |
| WO2014024762A1 (ja) | 2012-08-09 | 2014-02-13 | 株式会社村田製作所 | アンテナ装置および無線通信装置 |
| WO2014065050A1 (ja) | 2012-10-26 | 2014-05-01 | 株式会社村田製作所 | インタフェース、通信装置及びプログラム |
| US9281118B2 (en) * | 2012-12-10 | 2016-03-08 | Intel Corporation | Cascaded coils for multi-surface coverage in near field communication |
| DE102013104059B8 (de) | 2013-04-22 | 2024-09-19 | Infineon Technologies Ag | Antennen-Anordnung und Kommunikationsgerät |
| US20140320368A1 (en) * | 2013-04-24 | 2014-10-30 | Jeffrey Thomas Hubbard | Antenna with planar loop element |
| CN104956543A (zh) * | 2013-09-27 | 2015-09-30 | 松下知识产权经营株式会社 | 近程通信元件和装载了它的电子设备 |
| GB2536511B (en) * | 2013-12-26 | 2018-04-11 | Murata Manufacturing Co | Antenna device and electronic appliance |
| GB2536510B (en) * | 2013-12-26 | 2019-01-02 | Murata Manufacturing Co | Antenna device and electronic appliance |
| CN205039258U (zh) | 2013-12-26 | 2016-02-17 | 株式会社村田制作所 | 天线装置及电子设备 |
| US20150188227A1 (en) * | 2013-12-31 | 2015-07-02 | Identive Group, Inc. | Antenna for near field communication, antenna arrangement, transponder with antenna, flat panel and methods of manufacturing |
| EP2996191B1 (en) * | 2014-09-11 | 2021-05-12 | Neopost Technologies | Planar antenna for RFID reader and RFID PDA incorporating the same |
| US10014588B2 (en) | 2014-12-05 | 2018-07-03 | Samsung Electro-Mechanics Co., Ltd. | Near-field antenna apparatus using eddy current and electronic device including the same |
| TWI552443B (zh) * | 2014-12-27 | 2016-10-01 | 啟碁科技股份有限公司 | 天線結構 |
| CN105844320A (zh) * | 2015-01-14 | 2016-08-10 | 南通大学 | 天线和射频识别系统 |
| WO2016121501A1 (ja) | 2015-01-29 | 2016-08-04 | 株式会社村田製作所 | アンテナ装置、カード型情報媒体および通信端末装置 |
| US10403979B2 (en) | 2015-03-13 | 2019-09-03 | Samsung Electro-Mechanics Co., Ltd. | Antenna apparatus and electronic device including the same |
| DE212016000166U1 (de) * | 2015-06-30 | 2018-03-13 | Murata Manufacturing Co., Ltd. | Kopplungsunterstützungsgerät und RFID-Kommunikationssystem |
| US20170005395A1 (en) * | 2015-06-30 | 2017-01-05 | Tdk Corporation | Antenna device |
| KR102280037B1 (ko) | 2015-07-29 | 2021-07-21 | 삼성전자주식회사 | 디스플레이에 구비된 내장 안테나용 급전장치 |
| CN208336488U (zh) * | 2015-07-31 | 2019-01-04 | 株式会社村田制作所 | 线圈天线以及天线装置 |
| JP6672639B2 (ja) * | 2015-08-26 | 2020-03-25 | カシオ計算機株式会社 | 誘電体アンテナ |
| JP6679244B2 (ja) * | 2015-08-27 | 2020-04-15 | 富士通株式会社 | Rfidタグ |
| US10090592B2 (en) * | 2015-10-29 | 2018-10-02 | Sonitus Technologies Inc. | Communication device |
| EP3166181A1 (fr) * | 2015-11-05 | 2017-05-10 | Gemalto Sa | Procede de fabrication d'antenne radiofrequence sur un support et antenne ainsi obtenue |
| KR20170072762A (ko) | 2015-12-17 | 2017-06-27 | 삼성전기주식회사 | 무선 통신용 코일 및 그를 이용한 모바일 단말 |
| DE112017000032B4 (de) | 2016-01-14 | 2019-10-02 | Murata Manufacturing Co., Ltd. | Antennenvorrichtung und elektronische apparatur |
| CN105552562A (zh) * | 2016-02-03 | 2016-05-04 | 深圳市信维通信股份有限公司 | Z字形贴片式nfc天线及天线系统 |
| CN105552563B (zh) | 2016-02-03 | 2018-08-10 | 深圳市信维通信股份有限公司 | 基于z字形的双环绕线式nfc天线及天线系统 |
| JP6618825B2 (ja) * | 2016-02-23 | 2019-12-11 | 株式会社東芝 | アレーアンテナ装置 |
| JP2017175246A (ja) * | 2016-03-22 | 2017-09-28 | Tdk株式会社 | アンテナ装置及びこれを備える携帯無線機器 |
| KR102533473B1 (ko) * | 2016-04-26 | 2023-05-18 | 삼성전자주식회사 | 복수의 방향으로 전자기파를 방사하는 전자 장치 |
| US10522912B2 (en) * | 2016-05-12 | 2019-12-31 | Tdk Corporation | Antenna device and mobile wireless device provided with the same |
| CN109565113B (zh) * | 2016-06-01 | 2021-03-30 | 户田工业株式会社 | 天线装置以及使用其的ic标签 |
| US11088450B2 (en) * | 2016-08-16 | 2021-08-10 | Amotech Co., Ltd. | Antenna module for near field communication |
| CN208862187U (zh) * | 2016-09-26 | 2019-05-14 | 株式会社村田制作所 | 天线装置以及电子设备 |
| DE112016000113T5 (de) | 2016-10-12 | 2018-05-30 | Kunshan ZhouYuan Electronics. Co., Ltd | NFC-Antenne des Oberflächenmontagetyps und Antennensystem |
| US10186779B2 (en) * | 2016-11-10 | 2019-01-22 | Advanced Semiconductor Engineering, Inc. | Semiconductor device package and method of manufacturing the same |
| US10567042B2 (en) * | 2016-12-01 | 2020-02-18 | Wits Co., Ltd. | Coil module |
| WO2018139519A1 (ja) * | 2017-01-27 | 2018-08-02 | 株式会社村田製作所 | アンテナ装置、非接触伝送装置および非接触伝送システム |
| JP2018182686A (ja) * | 2017-04-21 | 2018-11-15 | 日本発條株式会社 | 携帯型無線通信装置、および携帯型無線通信装置を用いる情報識別装置 |
| SK500312017A3 (sk) * | 2017-04-27 | 2018-11-05 | Smk-Logomotion Corporation | Anténna sústava, najmä na NFC čítačku |
| WO2019048981A1 (ja) * | 2017-09-06 | 2019-03-14 | 株式会社半導体エネルギー研究所 | 半導体装置、バッテリーユニット、バッテリーモジュール |
| WO2020003568A1 (ja) * | 2018-06-25 | 2020-01-02 | 株式会社村田製作所 | Rfidタグ及びrfid付き物品 |
| SK289250B6 (sk) * | 2018-08-02 | 2024-10-23 | Logomotion, S.R.O. | Anténová sústava aspoň s dvoma anténami, najmä na NFC prenos |
| KR102508859B1 (ko) | 2018-10-23 | 2023-03-10 | 삼성전자 주식회사 | 제 1 코일 및 상기 제 1 코일의 옆에 위치한 제 2 코일을 이용하여 근거리 무선 통신을 지원하는 전자 장치 |
| CN114242407B (zh) * | 2021-12-07 | 2023-11-17 | 北京铁路信号有限公司 | 一种多线圈磁棒电感及其参数标定方法、天线和通讯设备 |
| TWI819513B (zh) * | 2022-03-08 | 2023-10-21 | 緯創資通股份有限公司 | 穿戴式裝置 |
| KR102764445B1 (ko) * | 2023-03-22 | 2025-02-07 | 주식회사 엔에이블 | 무접점 방식 메탈카드 및 그 제조방법 |
| WO2025239618A1 (ko) * | 2024-05-13 | 2025-11-20 | 삼성전자 주식회사 | 무선 송수신 구조를 포함하는 폴더블 전자 장치 |
Family Cites Families (72)
| Publication number | Priority date | Publication date | Assignee | Title |
|---|---|---|---|---|
| JPH01194502A (ja) * | 1988-01-28 | 1989-08-04 | Nippon Antenna Kk | 車両用放送波受信アンテナ |
| JPH03503467A (ja) * | 1988-02-04 | 1991-08-01 | ユニスキャン リミティド | 磁界集中装置 |
| US5130697A (en) * | 1990-10-30 | 1992-07-14 | Sensormatic Electronics Corporation | Method and apparatus for shaping a magnetic field |
| JP3362607B2 (ja) * | 1995-08-22 | 2003-01-07 | 三菱マテリアル株式会社 | トランスポンダ用アンテナ及びトランスポンダ |
| JPH1076113A (ja) | 1996-09-03 | 1998-03-24 | Yoshihiko Yamamoto | 循環加熱式オイル濾過器の製造方法 磁力内噴射式装置の組付け製造方法 |
| JPH1098322A (ja) * | 1996-09-20 | 1998-04-14 | Murata Mfg Co Ltd | チップアンテナ及びアンテナ装置 |
| JP4280313B2 (ja) * | 1997-10-16 | 2009-06-17 | 株式会社日立国際電気 | Icカードシステム |
| JP3503467B2 (ja) | 1998-03-20 | 2004-03-08 | ソニー株式会社 | カメラ |
| JP2000138621A (ja) * | 1998-10-30 | 2000-05-16 | Hitachi Maxell Ltd | 非接触情報媒体を利用する通信システム及びかかる通信システムに使用される通信補助装置 |
| US7334734B2 (en) * | 2000-01-27 | 2008-02-26 | Hitachi Maxwell, Ltd. | Non-contact IC module |
| EP1158601A1 (de) | 2000-05-15 | 2001-11-28 | Häni Prolectron Ag | Trägerelement für eine Antenne mit geringer Handempfindlichkeit |
| KR100580991B1 (ko) * | 2000-10-04 | 2006-05-17 | 모토로라 인코포레이티드 | Gps 어플리케이션용의 폴디드 역 f형 안테나 |
| JP4628611B2 (ja) * | 2000-10-27 | 2011-02-09 | 三菱マテリアル株式会社 | アンテナ |
| JP2002157559A (ja) * | 2000-11-17 | 2002-05-31 | Hitachi Maxell Ltd | 非接触通信式情報担体 |
| DE10133588A1 (de) * | 2001-07-11 | 2002-09-05 | Infineon Technologies Ag | Anordnung eines Chips und einer Leiterstruktur |
| JP2003036543A (ja) | 2001-07-24 | 2003-02-07 | Pioneer Electronic Corp | 記録ディスク及び記録情報再生装置 |
| JP2003069329A (ja) | 2001-08-29 | 2003-03-07 | Mitsubishi Materials Corp | アンテナ |
| JP2003124725A (ja) | 2001-10-11 | 2003-04-25 | Murata Mfg Co Ltd | チップアンテナ装置およびチップアンテナの実装構造 |
| JP2003124825A (ja) | 2001-10-15 | 2003-04-25 | Hitachi Unisia Automotive Ltd | ノイズ除去装置 |
| JP2006295981A (ja) * | 2002-01-17 | 2006-10-26 | Mitsubishi Materials Corp | リーダ/ライタ用アンテナ及び該アンテナを備えたリーダ/ライタ |
| JP3896965B2 (ja) | 2002-01-17 | 2007-03-22 | 三菱マテリアル株式会社 | リーダ/ライタ用アンテナ及び該アンテナを備えたリーダ/ライタ |
| US6765536B2 (en) * | 2002-05-09 | 2004-07-20 | Motorola, Inc. | Antenna with variably tuned parasitic element |
| US7042418B2 (en) * | 2002-11-27 | 2006-05-09 | Matsushita Electric Industrial Co., Ltd. | Chip antenna |
| KR101066378B1 (ko) * | 2003-02-03 | 2011-09-20 | 파나소닉 주식회사 | 미소 루프 안테나를 이용한 안테나 장치 및 그 안테나 장치를 사용한 무선 통신 장치 |
| JP2004364199A (ja) | 2003-06-06 | 2004-12-24 | Sony Corp | アンテナモジュール及びこれを備えた携帯型通信端末 |
| US7699231B2 (en) * | 2003-08-13 | 2010-04-20 | Murata Manufacturing Co., Ltd. | Reader/writer and mobile communication apparatus |
| JP2005184094A (ja) * | 2003-12-16 | 2005-07-07 | Olympus Corp | アンテナおよびアンテナの製造方法 |
| JP3964401B2 (ja) | 2004-04-27 | 2007-08-22 | Necトーキン株式会社 | アンテナ用コア、コイルアンテナ、時計、携帯電話機、電子装置 |
| JP2006080700A (ja) | 2004-09-08 | 2006-03-23 | Ngk Spark Plug Co Ltd | インピーダンス整合が容易なチップアンテナ |
| JP4372158B2 (ja) * | 2004-10-28 | 2009-11-25 | パナソニック株式会社 | 放送用受信機付き携帯電話 |
| JP4634166B2 (ja) * | 2005-02-03 | 2011-02-16 | 株式会社東海理化電機製作所 | アンテナ装置及びそれを備えた携帯機 |
| JP4821965B2 (ja) * | 2005-07-07 | 2011-11-24 | 戸田工業株式会社 | 磁性体アンテナ |
| JP4793584B2 (ja) | 2007-01-10 | 2011-10-12 | 戸田工業株式会社 | 磁性体アンテナを実装した基板 |
| US8072387B2 (en) * | 2005-07-07 | 2011-12-06 | Toda Kogyo Corporation | Magnetic antenna and board mounted with the same |
| KR101010834B1 (ko) | 2006-01-19 | 2011-01-25 | 가부시키가이샤 무라타 세이사쿠쇼 | 무선ic디바이스 및 무선ic디바이스용 부품 |
| JP3121577U (ja) * | 2006-03-02 | 2006-05-18 | 株式会社スマート | 偏心磁性体コイルシステム |
| JP2007295213A (ja) * | 2006-04-25 | 2007-11-08 | Takion Co Ltd | 集積回路装置及び送信装置 |
| JP4013987B1 (ja) * | 2006-07-07 | 2007-11-28 | 株式会社村田製作所 | アンテナ装置 |
| JP3957000B1 (ja) * | 2006-07-07 | 2007-08-08 | 株式会社村田製作所 | 基板実装用アンテナコイル及びアンテナ装置 |
| JP2008042761A (ja) | 2006-08-09 | 2008-02-21 | Toshiba Corp | アンテナ装置 |
| US20100321251A1 (en) | 2006-09-28 | 2010-12-23 | Jan Hesselbarth | Antenna elements, arrays and base stations including mast-mounted antenna arrays |
| WO2008090745A1 (ja) | 2007-01-25 | 2008-07-31 | Nidec Sankyo Corporation | ループアンテナ |
| US8816484B2 (en) * | 2007-02-09 | 2014-08-26 | Semiconductor Energy Laboratory Co., Ltd. | Semiconductor device |
| WO2008120392A1 (ja) * | 2007-03-29 | 2008-10-09 | Panasonic Corporation | アンテナ装置及び携帯端末機器 |
| JP5161485B2 (ja) * | 2007-05-18 | 2013-03-13 | パナソニック株式会社 | アンテナ装置 |
| JP4885093B2 (ja) * | 2007-06-11 | 2012-02-29 | 株式会社タムラ製作所 | ブースターアンテナコイル |
| KR101006808B1 (ko) * | 2007-07-18 | 2011-01-10 | 가부시키가이샤 무라타 세이사쿠쇼 | 무선 ic 디바이스 |
| US7830311B2 (en) * | 2007-07-18 | 2010-11-09 | Murata Manufacturing Co., Ltd. | Wireless IC device and electronic device |
| JP4885092B2 (ja) | 2007-09-06 | 2012-02-29 | 株式会社タムラ製作所 | ブースターアンテナコイル |
| US20090085807A1 (en) * | 2007-10-02 | 2009-04-02 | General Electric Company | Coil array for an electromagnetic tracking system |
| JP2009124595A (ja) * | 2007-11-16 | 2009-06-04 | Murata Mfg Co Ltd | 基板実装型アンテナ装置 |
| JP5118462B2 (ja) * | 2007-12-12 | 2013-01-16 | 日本発條株式会社 | コイルアンテナおよび非接触情報媒体 |
| GB0724692D0 (en) * | 2007-12-19 | 2008-01-30 | Rhodes Mark | Antenna formed of multiple resonant loops |
| EP2840648B1 (en) * | 2008-05-21 | 2016-03-23 | Murata Manufacturing Co., Ltd. | Wireless IC device |
| JP2010103295A (ja) | 2008-10-23 | 2010-05-06 | Nec Saitama Ltd | 端面スルーホール配線基板の製造方法 |
| JP5003653B2 (ja) * | 2008-10-30 | 2012-08-15 | パナソニック株式会社 | アンテナ装置 |
| US20100109966A1 (en) | 2008-10-31 | 2010-05-06 | Mateychuk Duane N | Multi-Layer Miniature Antenna For Implantable Medical Devices and Method for Forming the Same |
| JP5113727B2 (ja) * | 2008-11-20 | 2013-01-09 | 株式会社日立製作所 | 無線icタグ |
| JP5576107B2 (ja) | 2008-12-27 | 2014-08-20 | ベック株式会社 | 断熱構造体 |
| JP4359648B1 (ja) * | 2009-01-19 | 2009-11-04 | 吉英 山田 | 非接触給電型ノーマルモードヘリカルアンテナ |
| JP5018803B2 (ja) | 2009-02-16 | 2012-09-05 | パナソニック株式会社 | アンテナ装置 |
| JP5251610B2 (ja) * | 2009-03-03 | 2013-07-31 | Tdk株式会社 | アンテナ装置及びこれに用いるアンテナ素子 |
| JP4715954B2 (ja) * | 2009-08-28 | 2011-07-06 | パナソニック株式会社 | アンテナ装置 |
| US20110050531A1 (en) * | 2009-08-28 | 2011-03-03 | Panasonic Corporation | Antenna unit and communication device using the same |
| JP4807464B1 (ja) * | 2010-04-28 | 2011-11-02 | パナソニック株式会社 | アンテナ装置 |
| US9153855B2 (en) * | 2009-08-28 | 2015-10-06 | Panasonic Intellectual Property Management Co., Ltd. | Antenna, antenna unit, and communication device using them |
| JP5388765B2 (ja) | 2009-09-01 | 2014-01-15 | キヤノン株式会社 | 眼底カメラ |
| US9008574B2 (en) | 2009-09-14 | 2015-04-14 | Qualcomm Incorporated | Focused antenna, multi-purpose antenna, and methods related thereto |
| GB2487491B (en) * | 2009-11-20 | 2014-09-03 | Murata Manufacturing Co | Antenna device and mobile communication terminal |
| JP4935964B2 (ja) * | 2009-12-24 | 2012-05-23 | 株式会社村田製作所 | 通信端末 |
| JP5018918B2 (ja) * | 2010-03-17 | 2012-09-05 | パナソニック株式会社 | アンテナ装置およびそれを用いた携帯端末装置 |
| JP4883208B2 (ja) * | 2010-07-28 | 2012-02-22 | パナソニック株式会社 | アンテナ装置及びこれを備えた通信装置 |
-
2011
- 2011-09-05 EP EP14197927.8A patent/EP2863480B1/en active Active
- 2011-09-05 CN CN201180031691.6A patent/CN102959800B/zh active Active
- 2011-09-05 KR KR1020127033181A patent/KR101276282B1/ko active Active
- 2011-09-05 JP JP2012509410A patent/JP5062382B2/ja active Active
- 2011-09-05 WO PCT/JP2011/070099 patent/WO2012033031A1/ja not_active Ceased
- 2011-09-05 EP EP11823506.8A patent/EP2573871B1/en active Active
- 2011-09-05 CN CN201510037232.9A patent/CN104701627B/zh active Active
-
2012
- 2012-08-09 JP JP2012176620A patent/JP5429333B2/ja active Active
- 2012-12-28 US US13/729,377 patent/US9391369B2/en active Active
-
2013
- 2013-12-02 JP JP2013249177A patent/JP5696770B2/ja not_active Expired - Fee Related
-
2015
- 2015-02-12 JP JP2015025203A patent/JP5949973B2/ja active Active
-
2016
- 2016-06-08 US US15/176,456 patent/US9865924B2/en active Active
- 2016-06-08 JP JP2016114013A patent/JP6168198B2/ja active Active
- 2016-06-08 US US15/176,488 patent/US9948005B2/en active Active
- 2016-06-08 JP JP2016114014A patent/JP6197918B2/ja active Active
-
2017
- 2017-01-17 US US15/407,807 patent/US9825365B2/en not_active Expired - Fee Related
Non-Patent Citations (1)
| Title |
|---|
| None * |
Also Published As
| Publication number | Publication date |
|---|---|
| JP6197918B2 (ja) | 2017-09-20 |
| JP2014053964A (ja) | 2014-03-20 |
| US20130181876A1 (en) | 2013-07-18 |
| EP2863480A1 (en) | 2015-04-22 |
| US9865924B2 (en) | 2018-01-09 |
| KR20130018933A (ko) | 2013-02-25 |
| CN102959800A (zh) | 2013-03-06 |
| CN102959800B (zh) | 2015-03-11 |
| CN104701627A (zh) | 2015-06-10 |
| WO2012033031A1 (ja) | 2012-03-15 |
| US9391369B2 (en) | 2016-07-12 |
| JP6168198B2 (ja) | 2017-07-26 |
| US9948005B2 (en) | 2018-04-17 |
| US20170125905A1 (en) | 2017-05-04 |
| JPWO2012033031A1 (ja) | 2014-01-20 |
| JP2016197864A (ja) | 2016-11-24 |
| EP2573871B1 (en) | 2015-01-28 |
| KR101276282B1 (ko) | 2013-06-21 |
| EP2573871A1 (en) | 2013-03-27 |
| EP2573871A4 (en) | 2013-11-27 |
| US20160285154A1 (en) | 2016-09-29 |
| JP5429333B2 (ja) | 2014-02-26 |
| US9825365B2 (en) | 2017-11-21 |
| JP5949973B2 (ja) | 2016-07-13 |
| JP2016174417A (ja) | 2016-09-29 |
| JP2015092777A (ja) | 2015-05-14 |
| JP5696770B2 (ja) | 2015-04-08 |
| JP5062382B2 (ja) | 2012-10-31 |
| US20160285155A1 (en) | 2016-09-29 |
| CN104701627B (zh) | 2018-11-20 |
| JP2013013110A (ja) | 2013-01-17 |
Similar Documents
| Publication | Publication Date | Title |
|---|---|---|
| EP2863480B1 (en) | Communication terminal apparatus comprising an antenna device | |
| US9997834B1 (en) | Antenna device and communication terminal apparatus | |
| US10033104B2 (en) | Antenna device and wireless communication device | |
| US9692128B2 (en) | Antenna device and wireless communication device | |
| EP2811656B1 (en) | Antenna device and wireless communication device | |
| US9219301B2 (en) | Antenna device, battery pack with antenna, and communication terminal device | |
| CN106058474B (zh) | 天线装置及通信终端装置 |
Legal Events
| Date | Code | Title | Description |
|---|---|---|---|
| PUAI | Public reference made under article 153(3) epc to a published international application that has entered the european phase |
Free format text: ORIGINAL CODE: 0009012 |
|
| 17P | Request for examination filed |
Effective date: 20141215 |
|
| AC | Divisional application: reference to earlier application |
Ref document number: 2573871 Country of ref document: EP Kind code of ref document: P |
|
| AK | Designated contracting states |
Kind code of ref document: A1 Designated state(s): AL AT BE BG CH CY CZ DE DK EE ES FI FR GB GR HR HU IE IS IT LI LT LU LV MC MK MT NL NO PL PT RO RS SE SI SK SM TR |
|
| R17P | Request for examination filed (corrected) |
Effective date: 20151022 |
|
| RBV | Designated contracting states (corrected) |
Designated state(s): AL AT BE BG CH CY CZ DE DK EE ES FI FR GB GR HR HU IE IS IT LI LT LU LV MC MK MT NL NO PL PT RO RS SE SI SK SM TR |
|
| GRAP | Despatch of communication of intention to grant a patent |
Free format text: ORIGINAL CODE: EPIDOSNIGR1 |
|
| STAA | Information on the status of an ep patent application or granted ep patent |
Free format text: STATUS: GRANT OF PATENT IS INTENDED |
|
| INTG | Intention to grant announced |
Effective date: 20180326 |
|
| GRAS | Grant fee paid |
Free format text: ORIGINAL CODE: EPIDOSNIGR3 |
|
| GRAA | (expected) grant |
Free format text: ORIGINAL CODE: 0009210 |
|
| STAA | Information on the status of an ep patent application or granted ep patent |
Free format text: STATUS: THE PATENT HAS BEEN GRANTED |
|
| AC | Divisional application: reference to earlier application |
Ref document number: 2573871 Country of ref document: EP Kind code of ref document: P |
|
| AK | Designated contracting states |
Kind code of ref document: B1 Designated state(s): AL AT BE BG CH CY CZ DE DK EE ES FI FR GB GR HR HU IE IS IT LI LT LU LV MC MK MT NL NO PL PT RO RS SE SI SK SM TR |
|
| REG | Reference to a national code |
Ref country code: GB Ref legal event code: FG4D |
|
| REG | Reference to a national code |
Ref country code: CH Ref legal event code: EP Ref country code: AT Ref legal event code: REF Ref document number: 1063199 Country of ref document: AT Kind code of ref document: T Effective date: 20181115 |
|
| REG | Reference to a national code |
Ref country code: IE Ref legal event code: FG4D |
|
| REG | Reference to a national code |
Ref country code: DE Ref legal event code: R096 Ref document number: 602011053771 Country of ref document: DE |
|
| REG | Reference to a national code |
Ref country code: NL Ref legal event code: MP Effective date: 20181107 |
|
| REG | Reference to a national code |
Ref country code: LT Ref legal event code: MG4D |
|
| REG | Reference to a national code |
Ref country code: AT Ref legal event code: MK05 Ref document number: 1063199 Country of ref document: AT Kind code of ref document: T Effective date: 20181107 |
|
| PG25 | Lapsed in a contracting state [announced via postgrant information from national office to epo] |
Ref country code: IS Free format text: LAPSE BECAUSE OF FAILURE TO SUBMIT A TRANSLATION OF THE DESCRIPTION OR TO PAY THE FEE WITHIN THE PRESCRIBED TIME-LIMIT Effective date: 20190307 Ref country code: FI Free format text: LAPSE BECAUSE OF FAILURE TO SUBMIT A TRANSLATION OF THE DESCRIPTION OR TO PAY THE FEE WITHIN THE PRESCRIBED TIME-LIMIT Effective date: 20181107 Ref country code: NO Free format text: LAPSE BECAUSE OF FAILURE TO SUBMIT A TRANSLATION OF THE DESCRIPTION OR TO PAY THE FEE WITHIN THE PRESCRIBED TIME-LIMIT Effective date: 20190207 Ref country code: AT Free format text: LAPSE BECAUSE OF FAILURE TO SUBMIT A TRANSLATION OF THE DESCRIPTION OR TO PAY THE FEE WITHIN THE PRESCRIBED TIME-LIMIT Effective date: 20181107 Ref country code: ES Free format text: LAPSE BECAUSE OF FAILURE TO SUBMIT A TRANSLATION OF THE DESCRIPTION OR TO PAY THE FEE WITHIN THE PRESCRIBED TIME-LIMIT Effective date: 20181107 Ref country code: LV Free format text: LAPSE BECAUSE OF FAILURE TO SUBMIT A TRANSLATION OF THE DESCRIPTION OR TO PAY THE FEE WITHIN THE PRESCRIBED TIME-LIMIT Effective date: 20181107 Ref country code: HR Free format text: LAPSE BECAUSE OF FAILURE TO SUBMIT A TRANSLATION OF THE DESCRIPTION OR TO PAY THE FEE WITHIN THE PRESCRIBED TIME-LIMIT Effective date: 20181107 Ref country code: LT Free format text: LAPSE BECAUSE OF FAILURE TO SUBMIT A TRANSLATION OF THE DESCRIPTION OR TO PAY THE FEE WITHIN THE PRESCRIBED TIME-LIMIT Effective date: 20181107 Ref country code: BG Free format text: LAPSE BECAUSE OF FAILURE TO SUBMIT A TRANSLATION OF THE DESCRIPTION OR TO PAY THE FEE WITHIN THE PRESCRIBED TIME-LIMIT Effective date: 20190207 |
|
| PG25 | Lapsed in a contracting state [announced via postgrant information from national office to epo] |
Ref country code: PT Free format text: LAPSE BECAUSE OF FAILURE TO SUBMIT A TRANSLATION OF THE DESCRIPTION OR TO PAY THE FEE WITHIN THE PRESCRIBED TIME-LIMIT Effective date: 20190307 Ref country code: AL Free format text: LAPSE BECAUSE OF FAILURE TO SUBMIT A TRANSLATION OF THE DESCRIPTION OR TO PAY THE FEE WITHIN THE PRESCRIBED TIME-LIMIT Effective date: 20181107 Ref country code: RS Free format text: LAPSE BECAUSE OF FAILURE TO SUBMIT A TRANSLATION OF THE DESCRIPTION OR TO PAY THE FEE WITHIN THE PRESCRIBED TIME-LIMIT Effective date: 20181107 Ref country code: NL Free format text: LAPSE BECAUSE OF FAILURE TO SUBMIT A TRANSLATION OF THE DESCRIPTION OR TO PAY THE FEE WITHIN THE PRESCRIBED TIME-LIMIT Effective date: 20181107 Ref country code: SE Free format text: LAPSE BECAUSE OF FAILURE TO SUBMIT A TRANSLATION OF THE DESCRIPTION OR TO PAY THE FEE WITHIN THE PRESCRIBED TIME-LIMIT Effective date: 20181107 Ref country code: GR Free format text: LAPSE BECAUSE OF FAILURE TO SUBMIT A TRANSLATION OF THE DESCRIPTION OR TO PAY THE FEE WITHIN THE PRESCRIBED TIME-LIMIT Effective date: 20190208 |
|
| PG25 | Lapsed in a contracting state [announced via postgrant information from national office to epo] |
Ref country code: CZ Free format text: LAPSE BECAUSE OF FAILURE TO SUBMIT A TRANSLATION OF THE DESCRIPTION OR TO PAY THE FEE WITHIN THE PRESCRIBED TIME-LIMIT Effective date: 20181107 Ref country code: PL Free format text: LAPSE BECAUSE OF FAILURE TO SUBMIT A TRANSLATION OF THE DESCRIPTION OR TO PAY THE FEE WITHIN THE PRESCRIBED TIME-LIMIT Effective date: 20181107 Ref country code: DK Free format text: LAPSE BECAUSE OF FAILURE TO SUBMIT A TRANSLATION OF THE DESCRIPTION OR TO PAY THE FEE WITHIN THE PRESCRIBED TIME-LIMIT Effective date: 20181107 Ref country code: IT Free format text: LAPSE BECAUSE OF FAILURE TO SUBMIT A TRANSLATION OF THE DESCRIPTION OR TO PAY THE FEE WITHIN THE PRESCRIBED TIME-LIMIT Effective date: 20181107 |
|
| REG | Reference to a national code |
Ref country code: DE Ref legal event code: R097 Ref document number: 602011053771 Country of ref document: DE |
|
| PG25 | Lapsed in a contracting state [announced via postgrant information from national office to epo] |
Ref country code: SM Free format text: LAPSE BECAUSE OF FAILURE TO SUBMIT A TRANSLATION OF THE DESCRIPTION OR TO PAY THE FEE WITHIN THE PRESCRIBED TIME-LIMIT Effective date: 20181107 Ref country code: EE Free format text: LAPSE BECAUSE OF FAILURE TO SUBMIT A TRANSLATION OF THE DESCRIPTION OR TO PAY THE FEE WITHIN THE PRESCRIBED TIME-LIMIT Effective date: 20181107 Ref country code: RO Free format text: LAPSE BECAUSE OF FAILURE TO SUBMIT A TRANSLATION OF THE DESCRIPTION OR TO PAY THE FEE WITHIN THE PRESCRIBED TIME-LIMIT Effective date: 20181107 Ref country code: SK Free format text: LAPSE BECAUSE OF FAILURE TO SUBMIT A TRANSLATION OF THE DESCRIPTION OR TO PAY THE FEE WITHIN THE PRESCRIBED TIME-LIMIT Effective date: 20181107 |
|
| PLBE | No opposition filed within time limit |
Free format text: ORIGINAL CODE: 0009261 |
|
| STAA | Information on the status of an ep patent application or granted ep patent |
Free format text: STATUS: NO OPPOSITION FILED WITHIN TIME LIMIT |
|
| 26N | No opposition filed |
Effective date: 20190808 |
|
| PG25 | Lapsed in a contracting state [announced via postgrant information from national office to epo] |
Ref country code: SI Free format text: LAPSE BECAUSE OF FAILURE TO SUBMIT A TRANSLATION OF THE DESCRIPTION OR TO PAY THE FEE WITHIN THE PRESCRIBED TIME-LIMIT Effective date: 20181107 |
|
| PG25 | Lapsed in a contracting state [announced via postgrant information from national office to epo] |
Ref country code: TR Free format text: LAPSE BECAUSE OF FAILURE TO SUBMIT A TRANSLATION OF THE DESCRIPTION OR TO PAY THE FEE WITHIN THE PRESCRIBED TIME-LIMIT Effective date: 20181107 |
|
| PG25 | Lapsed in a contracting state [announced via postgrant information from national office to epo] |
Ref country code: MC Free format text: LAPSE BECAUSE OF FAILURE TO SUBMIT A TRANSLATION OF THE DESCRIPTION OR TO PAY THE FEE WITHIN THE PRESCRIBED TIME-LIMIT Effective date: 20181107 |
|
| REG | Reference to a national code |
Ref country code: CH Ref legal event code: PL |
|
| PG25 | Lapsed in a contracting state [announced via postgrant information from national office to epo] |
Ref country code: CH Free format text: LAPSE BECAUSE OF NON-PAYMENT OF DUE FEES Effective date: 20190930 Ref country code: IE Free format text: LAPSE BECAUSE OF NON-PAYMENT OF DUE FEES Effective date: 20190905 Ref country code: LU Free format text: LAPSE BECAUSE OF NON-PAYMENT OF DUE FEES Effective date: 20190905 Ref country code: LI Free format text: LAPSE BECAUSE OF NON-PAYMENT OF DUE FEES Effective date: 20190930 |
|
| REG | Reference to a national code |
Ref country code: BE Ref legal event code: MM Effective date: 20190930 |
|
| PG25 | Lapsed in a contracting state [announced via postgrant information from national office to epo] |
Ref country code: BE Free format text: LAPSE BECAUSE OF NON-PAYMENT OF DUE FEES Effective date: 20190930 |
|
| GBPC | Gb: european patent ceased through non-payment of renewal fee |
Effective date: 20190905 |
|
| PG25 | Lapsed in a contracting state [announced via postgrant information from national office to epo] |
Ref country code: FR Free format text: LAPSE BECAUSE OF NON-PAYMENT OF DUE FEES Effective date: 20190930 Ref country code: GB Free format text: LAPSE BECAUSE OF NON-PAYMENT OF DUE FEES Effective date: 20190905 |
|
| PG25 | Lapsed in a contracting state [announced via postgrant information from national office to epo] |
Ref country code: CY Free format text: LAPSE BECAUSE OF FAILURE TO SUBMIT A TRANSLATION OF THE DESCRIPTION OR TO PAY THE FEE WITHIN THE PRESCRIBED TIME-LIMIT Effective date: 20181107 |
|
| PG25 | Lapsed in a contracting state [announced via postgrant information from national office to epo] |
Ref country code: MT Free format text: LAPSE BECAUSE OF FAILURE TO SUBMIT A TRANSLATION OF THE DESCRIPTION OR TO PAY THE FEE WITHIN THE PRESCRIBED TIME-LIMIT Effective date: 20181107 Ref country code: HU Free format text: LAPSE BECAUSE OF FAILURE TO SUBMIT A TRANSLATION OF THE DESCRIPTION OR TO PAY THE FEE WITHIN THE PRESCRIBED TIME-LIMIT; INVALID AB INITIO Effective date: 20110905 |
|
| PG25 | Lapsed in a contracting state [announced via postgrant information from national office to epo] |
Ref country code: MK Free format text: LAPSE BECAUSE OF FAILURE TO SUBMIT A TRANSLATION OF THE DESCRIPTION OR TO PAY THE FEE WITHIN THE PRESCRIBED TIME-LIMIT Effective date: 20181107 |
|
| PGFP | Annual fee paid to national office [announced via postgrant information from national office to epo] |
Ref country code: DE Payment date: 20240918 Year of fee payment: 14 |