WO2020054447A1 - 半導体装置 - Google Patents

半導体装置 Download PDF

Info

Publication number
WO2020054447A1
WO2020054447A1 PCT/JP2019/033935 JP2019033935W WO2020054447A1 WO 2020054447 A1 WO2020054447 A1 WO 2020054447A1 JP 2019033935 W JP2019033935 W JP 2019033935W WO 2020054447 A1 WO2020054447 A1 WO 2020054447A1
Authority
WO
WIPO (PCT)
Prior art keywords
trench
igbt
fwd
region
pitch
Prior art date
Legal status (The legal status is an assumption and is not a legal conclusion. Google has not performed a legal analysis and makes no representation as to the accuracy of the status listed.)
Ceased
Application number
PCT/JP2019/033935
Other languages
English (en)
French (fr)
Japanese (ja)
Inventor
智喜 赤井
祐麻 利田
賢 妹尾
淳 大河原
Current Assignee (The listed assignees may be inaccurate. Google has not performed a legal analysis and makes no representation or warranty as to the accuracy of the list.)
Denso Corp
Original Assignee
Denso Corp
Priority date (The priority date is an assumption and is not a legal conclusion. Google has not performed a legal analysis and makes no representation as to the accuracy of the date listed.)
Filing date
Publication date
Application filed by Denso Corp filed Critical Denso Corp
Priority to CN201980058845.7A priority Critical patent/CN112673466B/zh
Publication of WO2020054447A1 publication Critical patent/WO2020054447A1/ja
Priority to US17/197,308 priority patent/US11476355B2/en
Anticipated expiration legal-status Critical
Ceased legal-status Critical Current

Links

Images

Classifications

    • HELECTRICITY
    • H10SEMICONDUCTOR DEVICES; ELECTRIC SOLID-STATE DEVICES NOT OTHERWISE PROVIDED FOR
    • H10DINORGANIC ELECTRIC SEMICONDUCTOR DEVICES
    • H10D8/00Diodes
    • H10D8/422PN diodes having the PN junctions in mesas
    • HELECTRICITY
    • H01ELECTRIC ELEMENTS
    • H01LSEMICONDUCTOR DEVICES NOT COVERED BY CLASS H10
    • H01L21/00Processes or apparatus adapted for the manufacture or treatment of semiconductor or solid state devices or of parts thereof
    • H01L21/70Manufacture or treatment of devices consisting of a plurality of solid state components formed in or on a common substrate or of parts thereof; Manufacture of integrated circuit devices or of parts thereof
    • H01L21/71Manufacture of specific parts of devices defined in group H01L21/70
    • H01L21/76Making of isolation regions between components
    • HELECTRICITY
    • H10SEMICONDUCTOR DEVICES; ELECTRIC SOLID-STATE DEVICES NOT OTHERWISE PROVIDED FOR
    • H10DINORGANIC ELECTRIC SEMICONDUCTOR DEVICES
    • H10D12/00Bipolar devices controlled by the field effect, e.g. insulated-gate bipolar transistors [IGBT]
    • H10D12/411Insulated-gate bipolar transistors [IGBT]
    • H10D12/441Vertical IGBTs
    • H10D12/461Vertical IGBTs having non-planar surfaces, e.g. having trenches, recesses or pillars in the surfaces of the emitter, base or collector regions
    • H10D12/481Vertical IGBTs having non-planar surfaces, e.g. having trenches, recesses or pillars in the surfaces of the emitter, base or collector regions having gate structures on slanted surfaces, on vertical surfaces, or in grooves, e.g. trench gate IGBTs
    • HELECTRICITY
    • H10SEMICONDUCTOR DEVICES; ELECTRIC SOLID-STATE DEVICES NOT OTHERWISE PROVIDED FOR
    • H10DINORGANIC ELECTRIC SEMICONDUCTOR DEVICES
    • H10D30/00Field-effect transistors [FET]
    • H10D30/60Insulated-gate field-effect transistors [IGFET]
    • HELECTRICITY
    • H10SEMICONDUCTOR DEVICES; ELECTRIC SOLID-STATE DEVICES NOT OTHERWISE PROVIDED FOR
    • H10DINORGANIC ELECTRIC SEMICONDUCTOR DEVICES
    • H10D62/00Semiconductor bodies, or regions thereof, of devices having potential barriers
    • H10D62/10Shapes, relative sizes or dispositions of the regions of the semiconductor bodies; Shapes of the semiconductor bodies
    • H10D62/124Shapes, relative sizes or dispositions of the regions of semiconductor bodies or of junctions between the regions
    • H10D62/126Top-view geometrical layouts of the regions or the junctions
    • H10D62/127Top-view geometrical layouts of the regions or the junctions of cellular field-effect devices, e.g. multicellular DMOS transistors or IGBTs
    • HELECTRICITY
    • H10SEMICONDUCTOR DEVICES; ELECTRIC SOLID-STATE DEVICES NOT OTHERWISE PROVIDED FOR
    • H10DINORGANIC ELECTRIC SEMICONDUCTOR DEVICES
    • H10D62/00Semiconductor bodies, or regions thereof, of devices having potential barriers
    • H10D62/10Shapes, relative sizes or dispositions of the regions of the semiconductor bodies; Shapes of the semiconductor bodies
    • H10D62/129Cathode regions of diodes
    • HELECTRICITY
    • H10SEMICONDUCTOR DEVICES; ELECTRIC SOLID-STATE DEVICES NOT OTHERWISE PROVIDED FOR
    • H10DINORGANIC ELECTRIC SEMICONDUCTOR DEVICES
    • H10D62/00Semiconductor bodies, or regions thereof, of devices having potential barriers
    • H10D62/10Shapes, relative sizes or dispositions of the regions of the semiconductor bodies; Shapes of the semiconductor bodies
    • H10D62/13Semiconductor regions connected to electrodes carrying current to be rectified, amplified or switched, e.g. source or drain regions
    • H10D62/141Anode or cathode regions of thyristors; Collector or emitter regions of gated bipolar-mode devices, e.g. of IGBTs
    • H10D62/142Anode regions of thyristors or collector regions of gated bipolar-mode devices
    • HELECTRICITY
    • H10SEMICONDUCTOR DEVICES; ELECTRIC SOLID-STATE DEVICES NOT OTHERWISE PROVIDED FOR
    • H10DINORGANIC ELECTRIC SEMICONDUCTOR DEVICES
    • H10D64/00Electrodes of devices having potential barriers
    • H10D64/111Field plates
    • H10D64/117Recessed field plates, e.g. trench field plates or buried field plates
    • HELECTRICITY
    • H10SEMICONDUCTOR DEVICES; ELECTRIC SOLID-STATE DEVICES NOT OTHERWISE PROVIDED FOR
    • H10DINORGANIC ELECTRIC SEMICONDUCTOR DEVICES
    • H10D8/00Diodes
    • HELECTRICITY
    • H10SEMICONDUCTOR DEVICES; ELECTRIC SOLID-STATE DEVICES NOT OTHERWISE PROVIDED FOR
    • H10DINORGANIC ELECTRIC SEMICONDUCTOR DEVICES
    • H10D8/00Diodes
    • H10D8/60Schottky-barrier diodes 
    • HELECTRICITY
    • H10SEMICONDUCTOR DEVICES; ELECTRIC SOLID-STATE DEVICES NOT OTHERWISE PROVIDED FOR
    • H10DINORGANIC ELECTRIC SEMICONDUCTOR DEVICES
    • H10D84/00Integrated devices formed in or on semiconductor substrates that comprise only semiconducting layers, e.g. on Si wafers or on GaAs-on-Si wafers
    • HELECTRICITY
    • H10SEMICONDUCTOR DEVICES; ELECTRIC SOLID-STATE DEVICES NOT OTHERWISE PROVIDED FOR
    • H10DINORGANIC ELECTRIC SEMICONDUCTOR DEVICES
    • H10D84/00Integrated devices formed in or on semiconductor substrates that comprise only semiconducting layers, e.g. on Si wafers or on GaAs-on-Si wafers
    • H10D84/01Manufacture or treatment
    • H10D84/0123Integrating together multiple components covered by H10D12/00 or H10D30/00, e.g. integrating multiple IGBTs
    • H10D84/0126Integrating together multiple components covered by H10D12/00 or H10D30/00, e.g. integrating multiple IGBTs the components including insulated gates, e.g. IGFETs
    • HELECTRICITY
    • H10SEMICONDUCTOR DEVICES; ELECTRIC SOLID-STATE DEVICES NOT OTHERWISE PROVIDED FOR
    • H10DINORGANIC ELECTRIC SEMICONDUCTOR DEVICES
    • H10D84/00Integrated devices formed in or on semiconductor substrates that comprise only semiconducting layers, e.g. on Si wafers or on GaAs-on-Si wafers
    • H10D84/01Manufacture or treatment
    • H10D84/02Manufacture or treatment characterised by using material-based technologies
    • H10D84/03Manufacture or treatment characterised by using material-based technologies using Group IV technology, e.g. silicon technology or silicon-carbide [SiC] technology
    • H10D84/038Manufacture or treatment characterised by using material-based technologies using Group IV technology, e.g. silicon technology or silicon-carbide [SiC] technology using silicon technology, e.g. SiGe
    • HELECTRICITY
    • H10SEMICONDUCTOR DEVICES; ELECTRIC SOLID-STATE DEVICES NOT OTHERWISE PROVIDED FOR
    • H10DINORGANIC ELECTRIC SEMICONDUCTOR DEVICES
    • H10D62/00Semiconductor bodies, or regions thereof, of devices having potential barriers
    • H10D62/10Shapes, relative sizes or dispositions of the regions of the semiconductor bodies; Shapes of the semiconductor bodies
    • HELECTRICITY
    • H10SEMICONDUCTOR DEVICES; ELECTRIC SOLID-STATE DEVICES NOT OTHERWISE PROVIDED FOR
    • H10DINORGANIC ELECTRIC SEMICONDUCTOR DEVICES
    • H10D62/00Semiconductor bodies, or regions thereof, of devices having potential barriers
    • H10D62/10Shapes, relative sizes or dispositions of the regions of the semiconductor bodies; Shapes of the semiconductor bodies
    • H10D62/102Constructional design considerations for preventing surface leakage or controlling electric field concentration
    • H10D62/103Constructional design considerations for preventing surface leakage or controlling electric field concentration for increasing or controlling the breakdown voltage of reverse-biased devices
    • H10D62/105Constructional design considerations for preventing surface leakage or controlling electric field concentration for increasing or controlling the breakdown voltage of reverse-biased devices by having particular doping profiles, shapes or arrangements of PN junctions; by having supplementary regions, e.g. junction termination extension [JTE] 
    • H10D62/106Constructional design considerations for preventing surface leakage or controlling electric field concentration for increasing or controlling the breakdown voltage of reverse-biased devices by having particular doping profiles, shapes or arrangements of PN junctions; by having supplementary regions, e.g. junction termination extension [JTE]  having supplementary regions doped oppositely to or in rectifying contact with regions of the semiconductor bodies, e.g. guard rings with PN or Schottky junctions
    • HELECTRICITY
    • H10SEMICONDUCTOR DEVICES; ELECTRIC SOLID-STATE DEVICES NOT OTHERWISE PROVIDED FOR
    • H10DINORGANIC ELECTRIC SEMICONDUCTOR DEVICES
    • H10D62/00Semiconductor bodies, or regions thereof, of devices having potential barriers
    • H10D62/10Shapes, relative sizes or dispositions of the regions of the semiconductor bodies; Shapes of the semiconductor bodies
    • H10D62/102Constructional design considerations for preventing surface leakage or controlling electric field concentration
    • H10D62/103Constructional design considerations for preventing surface leakage or controlling electric field concentration for increasing or controlling the breakdown voltage of reverse-biased devices
    • H10D62/105Constructional design considerations for preventing surface leakage or controlling electric field concentration for increasing or controlling the breakdown voltage of reverse-biased devices by having particular doping profiles, shapes or arrangements of PN junctions; by having supplementary regions, e.g. junction termination extension [JTE] 
    • H10D62/106Constructional design considerations for preventing surface leakage or controlling electric field concentration for increasing or controlling the breakdown voltage of reverse-biased devices by having particular doping profiles, shapes or arrangements of PN junctions; by having supplementary regions, e.g. junction termination extension [JTE]  having supplementary regions doped oppositely to or in rectifying contact with regions of the semiconductor bodies, e.g. guard rings with PN or Schottky junctions
    • H10D62/107Buried supplementary regions, e.g. buried guard rings 

Definitions

  • the present disclosure relates to a semiconductor device in which an insulated gate bipolar transistor (hereinafter, referred to as IGBT) element having an insulated gate structure and a freewheel diode (hereinafter, referred to as FWD) element are formed on a common semiconductor substrate.
  • IGBT insulated gate bipolar transistor
  • FWD freewheel diode
  • a base layer is formed in a surface layer portion of a semiconductor substrate constituting an N ⁇ type drift layer, and a plurality of trenches are formed to penetrate the base layer.
  • a gate insulating film and a gate electrode are sequentially formed in each trench.
  • a trench gate structure is formed.
  • an N + -type emitter region is formed in the surface portion of the base layer so as to be in contact with the trench.
  • a P + -type collector layer and an N + -type cathode layer are formed on the back side of the semiconductor substrate.
  • An upper electrode that is electrically connected to the base layer and the emitter region is formed on one surface side that is the front surface side of the semiconductor substrate.
  • a lower electrode electrically connected to the collector layer and the cathode layer is formed on the other surface, which is the back surface of the semiconductor substrate.
  • a region where the collector layer is formed on the back surface side of the semiconductor substrate is an IGBT region, and a region where the cathode layer is formed is an FWD region.
  • an FWD element having a PN junction is formed by the N-type cathode layer and the drift layer, and the P-type base layer.
  • the trench formed in the IGBT region includes a first trench extending in one direction and a second trench extending in a direction intersecting the one direction so as to connect adjacent first trenches.
  • the trench communicates with the trench to form a lattice.
  • the trench is formed in a lattice shape, the equipotential lines are formed so as to avoid the trench, for example, as compared with a case where the trench is formed in a stripe shape. Is difficult to enter the one surface side of the semiconductor substrate. For this reason, in the IGBT region, electric field concentration hardly occurs, and the withstand voltage can be improved.
  • the trenches are formed in a lattice shape also in the FWD region.
  • the gate electrode disposed in the IGBT region is electrically connected to the gate electrode disposed in the FWD region.
  • the trench in the FWD region is connected to the trench in the IGBT region while the trench in the FWD region is formed in a lattice shape. It is conceivable not to let them. However, in this configuration, in a region between the lattice-shaped trenches formed in each region, the trench density may be low, and the withstand voltage of the region may be low.
  • the present disclosure aims to provide a semiconductor device capable of improving withstand voltage.
  • a semiconductor device in which an IGBT region and a FWD region are formed on a common semiconductor substrate includes a first conductivity type drift layer and a second conductivity type drift layer formed on the drift layer.
  • a plurality of trench gate structures each including a base layer, a gate insulating film formed on a wall surface of a trench penetrating the base layer, and a gate electrode formed on the gate insulating film; and a surface layer of the base layer.
  • a first conductivity type emitter region formed in contact with the trench formed in the IGBT region; a second conductivity type collector layer formed on the side opposite to the base layer with the drift layer interposed; A first conductive type cathode layer formed on the side opposite to the base layer with the layer interposed therebetween and adjacent to the collector layer; a first electrode electrically connected to the base layer and the emitter region; A second electrode connected to micro cathode layer and electrically, and a.
  • the region on the collector layer is an IGBT region
  • the region on the cathode layer is an FWD region
  • the trench is an IGBT trench in which a first gate electrode as a gate electrode formed in the IGBT region is arranged.
  • the IGBT trench is formed in one direction in a plane direction of the semiconductor substrate.
  • the FWD trench is a lattice in which a first FWD trench extending in a first direction and a second FWD trench extending in a second direction communicate with each other. There is a.
  • the center of the trench located closest to the FWD trench among the first trenches for IGBT, and the trench located closest to the IGBT trench among the first trenches for FWD is defined as the separation cell pitch
  • the minimum distance between the centers of the adjacent first IGBT trenches is defined as the IGBT first trench pitch
  • the minimum distance between the centers of the matching second trenches for IGBT is defined as the second trench pitch for IGBT
  • the minimum distance between the centers of adjacent first trenches for FWD is defined as the first trench pitch for FWD
  • the separation cell pitch is the first trench pitch for IGBT.
  • the second trench pitch for IGBT, first trench pitch for FWD are narrower than the second trench pitch for FWD.
  • the trench density can be increased as compared with the case where the separation cell pitch is equal to or more than each trench pitch. For this reason, it is difficult for the equipotential lines to enter the base layer side even in the separation cell region, and it is possible to suppress the occurrence of electric field concentration also in the separation cell region. Therefore, the withstand voltage in the isolation cell region can be increased, so that the withstand voltage of the semiconductor device can be increased.
  • the center of the trench located closest to the FWD trench among the first trenches for IGBT and the trench located closest to the IGBT trench among the first trenches for FWD And a distance in the second direction in the separation cell region is defined as a separation cell pitch, and one dummy trench extending along the first direction is formed in the separation cell region.
  • a dummy insulating film and a dummy electrode are arranged in the separation cell region.
  • the minimum distance between the centers of the adjacent first IGBT trenches is defined as a first IGBT trench pitch.
  • the minimum distance between centers is defined as a second trench pitch for IGBT
  • the minimum distance between centers of adjacent first trenches for FWD is defined as a first trench pitch for FWD
  • the minimum distance between the centers of the adjacent second trenches for FWD is defined as a second trench pitch for FWD
  • the distance between the center of the dummy trench and the center of the first trench for IGBT adjacent to the dummy trench is determined.
  • the isolation cell pitch is the first for the IGBT.
  • Pitch, second trench pitch for IGBT, first trench pitch for FWD, second trench pitch for FWD It is smaller.
  • the center of the trench located closest to the FWD trench among the first trenches for IGBT and the trench located closest to the IGBT trench among the first trenches for FWD And a distance in the second direction in the separation cell region is defined as a separation cell pitch, and a plurality of dummy trenches extending along the first direction are formed in the separation cell region.
  • a dummy insulating film and a dummy electrode are arranged in the separation cell region.
  • the minimum distance between the centers of the adjacent first IGBT trenches is defined as a first IGBT trench pitch.
  • the minimum distance between centers is defined as a second trench pitch for IGBT, and the minimum distance between centers of adjacent first trenches for FWD is defined as a first trench pitch for FWD.
  • the minimum distance between the centers of the adjacent second trenches for FWD is defined as a second trench pitch for FWD, and the distance between the center of the dummy trench and the center of the first trench for IGBT adjacent to the dummy trench is determined.
  • a first trench pitch for isolation, a distance between the center of the dummy trench and the center of the first trench for FWD adjacent to the dummy trench is a second trench pitch for isolation, and a distance between the centers of adjacent dummy trenches.
  • the isolation cell pitch is made larger than at least one of the first trench pitch for IGBT, the second trench pitch for IGBT, the first trench pitch for FWD, and the second trench pitch for FWD.
  • the first trench pitch for isolation, the second trench pitch for isolation, and the third trench pitch for isolation are for IGBTs.
  • 1 trench pitch, the second trench pitch for IGBT, first trench pitch for FWD, are narrower than the second trench pitch for FWD.
  • each separation pitch is narrower than each trench pitch. Therefore, in the isolation cell region, the trench density can be increased even if the isolation cell pitch is equal to or more than each trench pitch. For this reason, it is difficult for the equipotential lines to enter the base layer side even in the separation cell region, and it is possible to suppress the occurrence of electric field concentration also in the separation cell region. Therefore, the withstand voltage in the isolation cell region can be increased, so that the withstand voltage of the semiconductor device can be increased.
  • the center of the trench located closest to the FWD trench among the first trenches for IGBT and the trench located closest to the IGBT trench among the first trenches for FWD Is defined as a separation cell region
  • a region of the IGBT region different from the separation cell region is defined as an IGBT cell region
  • a region of the FWD region different from the separation cell region is defined as an FWD cell region.
  • the base layer has a higher impurity amount per unit volume than the base layers of the IGBT cell region and the FWD cell region.
  • the depletion layer between the base layer and the drift layer extends toward the collector layer and the cathode layer more than the IGBT cell region and the FWD cell region. Therefore, it is difficult for the equipotential lines to enter the base layer side in the separation cell region, and it is possible to suppress the occurrence of electric field concentration in the separation cell region. Therefore, the withstand voltage in the isolation cell region can be increased, so that the withstand voltage of the semiconductor device can be increased.
  • the center of the trench located closest to the FWD trench among the first trenches for IGBT and the trench located closest to the IGBT trench among the first trenches for FWD Is defined as a separation cell region
  • the separation cell region includes a trench located closest to the FWD trench among the first IGBT trenches and a trench closest to the IGBT trench among the first FWD trenches.
  • a communication trench (134) is formed to communicate with the trench located at the second position, and an insulating film for insulating the first gate electrode and the second gate electrode is arranged in the communication trench.
  • the trench density can be increased by forming the communication trench. Therefore, it is difficult for the equipotential lines to enter the base layer side even in the separation cell region, and it is possible to suppress the occurrence of electric field concentration in the separation cell region. Therefore, the withstand voltage in the isolation cell region can be increased, so that the withstand voltage of the semiconductor device can be increased.
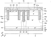
  • FIG. 2 is a cross-sectional view of the semiconductor device according to the first embodiment.
  • FIG. 2 is a plan view of the semiconductor device shown in FIG. 1.
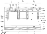
  • FIG. 9 is a cross-sectional view of a semiconductor device according to a second embodiment.
  • FIG. 4 is a plan view of the semiconductor device shown in FIG. 3.
  • FIG. 14 is a plan view of a semiconductor device according to a modification of the second embodiment.
  • FIG. 14 is a plan view of a semiconductor device according to a modification of the second embodiment. It is a top view of the semiconductor device in a 3rd embodiment.
  • FIG. 14 is a sectional view of a semiconductor device according to a fourth embodiment. It is a top view of the semiconductor device in a 5th embodiment. It is sectional drawing of the semiconductor device in 6th Embodiment. It is a top view of the semiconductor device in a 6th embodiment.
  • the semiconductor device of the present embodiment is preferably used as a power switching element used in a power supply circuit such as an inverter and a DC / DC converter.
  • an IGBT region 1 having an IGBT element and an FWD region 2 having an FWD element are formed on a common semiconductor substrate 10. That is, the semiconductor device of this embodiment is RC (abbreviation of Reverse Conducting) -IGBT.
  • the semiconductor device has a semiconductor substrate 10 forming an N ⁇ type drift layer 11.
  • the semiconductor substrate 10 is formed of a silicon substrate.
  • a P-type base layer 12 is formed on the drift layer 11. Note that, on the drift layer 11, in other words, on the one surface 10 a side of the semiconductor substrate 10.
  • trenches 13a and 13b are formed so as to penetrate the base layer 12 and reach the drift layer 11.
  • Each of the trenches 13a and 13b is formed of a gate insulating film 14 formed so as to cover a wall surface of each of the trenches 13a and 13b, and a first and a second polysilicon layers formed on the gate insulating film 14. It is buried with the second gate electrodes 15a and 15b. Thereby, a trench gate structure is formed.
  • a P + -type collector layer 16 and an N + -type cathode layer 17 are formed on the opposite side of the drift layer 11 from the base layer 12.
  • the IGBT region 1 and the FWD region 2 are separated by whether the layer formed on the other surface 10b side of the semiconductor substrate 10 is the collector layer 16 or the cathode layer 17. That is, in the present embodiment, the portion on the collector layer 16 is the IGBT region 1 and the portion on the cathode layer 17 is the FWD region 2.
  • a lower electrode 18 electrically connected to the collector layer 16 and the cathode layer 17 is formed on the opposite side of the drift layer 11 with respect to the collector layer 16 and the cathode layer 17 (ie, the other surface 10b of the semiconductor substrate 10). That is, the lower electrode 18 which functions as a collector electrode in the IGBT region 1 and functions as a cathode electrode in the FWD region 2 is formed. In the present embodiment, the lower electrode 18 corresponds to a second electrode.
  • one direction in the surface direction of the semiconductor substrate 10 is defined as an X-axis direction
  • one direction in the surface direction of the semiconductor substrate 10 is defined as a Y-axis direction
  • a direction orthogonal to the X-axis direction is defined as an X-axis direction
  • a direction orthogonal to the Y-axis direction is defined as a Z-axis direction.
  • the horizontal direction of the paper is the X-axis direction
  • the vertical direction of the paper is the Y-axis direction
  • the vertical direction of the paper is the Z-axis direction.
  • the horizontal direction of the paper is the X-axis direction
  • the vertical direction of the paper is the Y-axis direction
  • the vertical direction of the paper is the Z-axis direction.
  • the Y-axis direction corresponds to the first direction
  • the X-axis direction corresponds to the second direction.
  • FIG. 2 omits an interlayer insulating film 21 and an upper electrode 22, which are described later, and is not a cross-sectional view. However, in order to facilitate understanding, hatching is applied to the first and second gate electrodes 15a and 15b. is there. Also, in each of the drawings corresponding to FIG. 2 described later, the interlayer insulating film 21 and the upper electrode 22 are omitted, and the first and second gate electrodes 15a and 15b are hatched.
  • an IGBT trench 13a is formed in the IGBT region 1, and an FWD trench 13b is formed in the FWD region 2.
  • Each of the trenches 13a and 13b is dug down with the Z-axis direction as a depth direction. .
  • the IGBT trench 13a is configured such that the first IGBT trench 131a extending along the Y-axis direction and the second IGBT trench 132a extending along the X-axis direction communicate with each other. It has a lattice shape.
  • three or more first IGBT trenches 131a are formed along the X-axis direction, and the intervals between adjacent first IGBT trenches 131a are equalized.
  • a plurality of three or more second IGBT trenches 132a are formed along the Y-axis direction, and the intervals between adjacent second IGBT trenches 132a are equalized.
  • the FWD trench 13b is configured such that a first FWD trench 131b extending along the Y-axis direction and a second FWD trench 132b extending along the X-axis direction communicate with each other. It has a lattice shape.
  • a plurality of three or more FWD first trenches 131b are formed along the X-axis direction.
  • the intervals between the adjacent first trenches for FWD 131b are made equal to each other, and the intervals between the first trenches 131a for adjacent IGBTs are also made equal.
  • a plurality of three or more FWD second trenches 132b are formed along the Y-axis direction. The intervals between adjacent FWD second trenches 132b are equal to each other, and the intervals between adjacent IGBT second trenches 132a are also equal.
  • the two second IGBT trenches 132a protruding on the opposite side to one IGBT first trench 131a are arranged to be shifted along the Y-axis direction. That is, the two second IGBT trenches 132a projecting to the opposite side to one IGBT first trench 131a are asymmetric.
  • the two FWD second trenches 132b protruding on the opposite side to one FWD first trench 131b are displaced along the Y-axis direction. That is, the two FWD second trenches 132b projecting to the opposite side to one FWD first trench 131b are asymmetric.
  • the IGBT trench 13a and the FWD trench 13b are thus formed. Then, no trench extending along the X-axis direction is formed between the IGBT trench 13a and the FWD trench 13b. That is, in the present embodiment, the trench 13a for IGBT and the trench 13b for FWD are not communicated with each other and are in a separated state. For this reason, the first gate electrode 15a embedded in the trench 13a for IGBT and the second gate electrode 15b embedded in the trench 13b for FWD are in a separated state, and are in an electrically insulated state. It has become.
  • the first gate electrode 15a embedded in the IGBT trench 13a is connected to a gate drive circuit to which a predetermined gate voltage is applied via a gate wiring (not shown).
  • the second gate electrode 15b buried in the FWD trench 13b is connected to, for example, an upper electrode 22, which will be described later, and is maintained at the potential of the upper electrode 22.
  • the trench in which the first gate electrode 15a is disposed is referred to as an IGBT trench 13a
  • the trench in which the second gate electrode 15b is disposed is referred to as an FWD trench 13b.
  • I do That is, in the present embodiment, as shown in FIG. 1, a trench is also formed on the boundary between the collector layer 16 and the cathode layer 17, but the second gate is formed in this trench as shown in FIG. The electrode 15b is arranged. For this reason, this trench becomes the trench 13b for FWD.
  • the one closest to the FWD trench 13b is also referred to as an IGBT end trench 133a.
  • the trench 13a for IGBT closest to the trench 13a is also referred to as an end trench 133b for FWD.
  • the FWD end trench 133b is configured such that the center in the X-axis direction substantially coincides with the boundary between the collector layer 16 and the cathode layer 17.
  • a region between the center of the IGBT end trench 133a and the center of the FWD end trench 133b is also referred to as an isolation cell region 3a.
  • a region of the IGBT region 1 different from the separation cell region 3a is also referred to as an IGBT cell region 1a
  • a region of the FWD region 2 different from the separation cell region 3a is also referred to as an FWD cell region 2a.
  • the center of the IGBT end trench 133a is the center of the IGBT end trench 133a in the X-axis direction
  • the center of the FWD end trench 133b is the center of the FWD end trench 133b in the X-axis direction. It is the center.
  • the center of the FWD end trench 133b is configured to substantially coincide with the boundary between the collector layer 16 and the cathode layer 17. For this reason, the isolation cell region 3a is included in the IGBT region 1, and the entire FWD region 2 becomes the FWD cell region 2a.
  • the distance between the center of the IGBT end trench 133a and the center of the FWD end trench 133b is defined as a separation cell pitch W1. That is, the distance along the X-axis direction in the separation cell region 3a is defined as a separation cell pitch W1.
  • the distance between the centers of the first IGBT trenches 131a adjacent in the X-axis direction is defined as a first IGBT trench pitch D1a.
  • the distance between the centers of the adjacent second IGBT trenches 132a along the Y-axis direction is defined as a second IGBT trench pitch D2a.
  • the center of the first IGBT trench 131a is the center of the first IGBT trench 131a in the X-axis direction
  • the center of the second IGBT trench 132a is the center of the second IGBT trench 132a. It is the center of the direction.
  • first trench pitch D1b for FWD The distance between the centers of the adjacent second trenches 132b for FWD along the Y-axis direction is defined as a second trench pitch D2b for FWD.
  • the center of the first trench 131b for FWD refers to the center of the first trench 131b for FWD in the X-axis direction
  • the center of the second trench 132b for FWD refers to the Y-axis of the second trench 132b for FWD 132b. It is the center of the direction.
  • the interval between adjacent first IGBT trenches 131a is equal to the interval between adjacent FWD first trenches 131b.
  • the first trench pitch D1a for IGBT and the first trench pitch D1b for FWD are equal.
  • the interval between adjacent second trenches 132a for IGBTs is equal to the interval between second trenches 132b for adjacent FWDs. Therefore, the second trench pitch D2a for IGBT and the second trench pitch D2b for FWD are equal.
  • the separation cell pitch W1 is narrower than each of the trench pitches D1a, D2a, D1b, D2b. For this reason, the isolation cell region 3a of the present embodiment has a higher trench density than the case where the isolation cell pitch W1 is greater than or equal to the IGBT first trench pitch D1a and the FWD first trench pitch D1b, for example. ing.
  • the N + -type emitter region 19 having a higher impurity concentration than the drift layer 11 and the P + impurity region having a higher impurity concentration than the base layer 12 are formed in the surface layer of the base layer 12.
  • Each of the + -type contact regions 20 is formed.
  • the emitter region 19 is formed along the IGBT trench 13a. That is, the emitter region 19 is formed in a frame shape when viewed from the direction normal to the surface of the semiconductor substrate 10.
  • the contact region 20 is formed so as to be surrounded by the emitter region 19 while being adjacent to the emitter region 19, and formed at a position apart from the IGBT trench 13a.
  • the surface layer of the base layer 12 is, in other words, the one surface 10a side of the semiconductor substrate 10.
  • a contact region 20 similar to the contact region 20 formed in the IGBT cell region 1a is formed in the surface layer of the base layer 12.
  • the emitter region 19 is not formed in the separation cell region 3a. That is, the emitter region 19 is not formed on the isolation cell region 3a side of the IGBT end trench 133a. That is, in the present embodiment, the isolation cell region 3a does not operate as an IGBT element.
  • an interlayer insulating film 21 made of BPSG (abbreviation of borophosphosilicate glass) or the like is formed on one surface 10a of the semiconductor substrate 10.
  • an upper electrode as a first electrode electrically connected to the emitter region 19 and the contact region 20 (that is, the base layer 12) through the contact hole 21a formed in the interlayer insulating film 21. 22 are formed on the interlayer insulating film 21. That is, the upper electrode 22 that functions as an emitter electrode in the IGBT region 1 and functions as an anode electrode in the FWD region 2 is formed on the interlayer insulating film 21.
  • a contact hole 21a for exposing the contact region 20 is formed in the interlayer insulating film 21 in a section different from that of FIG. More specifically, in the semiconductor device of the present embodiment, although not shown, an outer peripheral region is arranged so as to surround the IGBT region 1 and the FWD region 2. In the isolation cell region 3a, a contact hole is formed in the interlayer insulating film 21 near the outer peripheral region, and the contact region 20 is electrically connected to the upper electrode 22 through the contact hole 21a.
  • a PN junction is formed in which the base layer 12 and the contact region 20 are used as anodes and the drift layer 11 and the cathode layer 17 are used as cathodes.
  • N-type, N + -type, and N ⁇ -type correspond to the first conductivity type
  • P-type and P + -type correspond to the second conductivity type
  • the semiconductor substrate 10 is configured to include the collector layer 16, the cathode layer 17, the drift layer 11, the base layer 12, the emitter region 19, and the contact region 20.
  • the semiconductor device when a voltage higher than that of the upper electrode 22 is applied to the lower electrode 18, the PN junction formed between the base layer 12 and the drift layer 11 is in a reverse conducting state, and a depletion layer is formed. You. When a low-level (for example, 0 V) voltage lower than the threshold voltage Vth of the insulated gate structure is applied to the first gate electrode 15a, no current flows between the upper electrode 22 and the lower electrode 18. .
  • a low-level (for example, 0 V) voltage lower than the threshold voltage Vth of the insulated gate structure is applied to the first gate electrode 15a, no current flows between the upper electrode 22 and the lower electrode 18.
  • a high-level voltage that is equal to or higher than the threshold voltage Vth of the insulated gate structure is applied to the first gate electrode 15a while a voltage higher than the upper electrode 22 is applied to the lower electrode 18. Is applied. Thereby, an inversion layer is formed in a portion of the base layer 12 that is in contact with the IGBT trench 13a in which the first gate electrode 15a is arranged. Then, when electrons are supplied from the emitter region 19 to the drift layer 11 via the inversion layer, holes are supplied from the collector layer 16 to the drift layer 11, and the resistance value of the drift layer 11 decreases due to conductivity modulation. Turns on.
  • the FWD element When the IGBT element is turned off and the FWD element is turned on (that is, the FWD element operates as a diode), the voltage applied to the upper electrode 22 and the lower electrode 18 is switched, and the lower electrode is applied to the upper electrode 22. A voltage higher than that of the electrode 18 is applied. Then, a low-level (for example, 0 V) voltage lower than the threshold voltage Vth of the insulated gate structure is applied to the first gate electrode 15a. As a result, an inversion layer is not formed in a portion of the base layer 12 that is in contact with the first IGBT trench 131a, and holes are supplied from the base layer 12 and electrons are supplied from the cathode layer 17, so that the FWD element is provided. Performs diode operation.
  • the equipotential lines are formed to be curved so as to avoid the trenches 13a and 13b.
  • the separation cell pitch W1 is narrower than each of the trench pitches D1a, D2a, D1b, D2b.
  • the trench density of the isolation cell region 3a is higher than in the case where the isolation cell pitch W1 is equal to or more than each of the trench pitches D1a, D2a, D1b, D2b. Therefore, it is difficult for the equipotential lines to enter the base layer 12 side even in the separation cell region 3a, and it is possible to suppress the occurrence of electric field concentration also in the separation cell region 3a. Therefore, the breakdown voltage in the isolation cell region 3a can be increased, and the breakdown voltage of the semiconductor device can be increased.
  • the separation cell pitch W1 is narrower than each of the trench pitches D1a, D2a, D1b, D2b. Therefore, in the separation cell region 3a, the trench density is higher than in the case where the separation cell pitch W1 is equal to or more than each of the trench pitches D1a, D2a, D1b, D2b. This makes it difficult for the equipotential lines to enter the base layer 12 side even in the separation cell region 3a, and it is possible to suppress the occurrence of electric field concentration also in the separation cell region 3a. Therefore, the breakdown voltage in the isolation cell region 3a can be increased, and the breakdown voltage of the semiconductor device can be increased.
  • one dummy trench 23 extending in the Y-axis direction is separated from the IGBT trench 13a and the FWD trench 13b in the isolation cell region 3a. Are formed.
  • the dummy trench 23 is formed deeper than the IGBT trench 13a and the FWD trench 13b.
  • the dummy trench 23 is buried with a dummy insulating film 24 formed so as to cover the wall surface of the dummy trench 23 and a dummy electrode 25 made of polysilicon or the like formed on the dummy insulating film 24. ing.
  • the dummy electrode 25 of the present embodiment is electrically connected to the upper electrode 22 in a section different from that of FIG.
  • the distance between the center of the dummy trench 23 and the center of the end trench 133a for IGBT is defined as a first separation trench pitch L1.
  • the distance between the center of the dummy trench 23 and the center of the FWD end trench 133b is defined as a second isolation trench pitch L2.
  • the center of the dummy trench 23 is the center of the dummy trench 23 in the X-axis direction.
  • the separation cell pitch W1 is the sum of the first separation trench pitch L1 and the second separation trench pitch L2.
  • the first isolation trench pitch L1 and the second isolation trench pitch L2 are narrower than the respective trench pitches D1a, D2a, D1b, D2b, and the isolation cell pitch W1 is equal to the respective trench pitches D1a, D2a, D1b. , D2b.
  • the first isolation trench pitch L1 is equal to the second isolation trench pitch L2.
  • the dummy trench 23 is formed in the isolation cell region 3a. Therefore, in the isolation cell region 3a, the trench density can be further increased, and the withstand voltage can be further improved.
  • the dummy trench 23 is formed deeper than the IGBT trench 13a and the FWD trench 13b. Therefore, as compared with the case where the dummy trench 23 has the same depth as the IGBT trench 13a and the FWD trench 13b, in the isolation cell region 3a, it is more difficult for the equipotential lines to enter the base layer 12 side. Therefore, the breakdown voltage of the isolation cell region 3a can be further improved.
  • a plurality of dummy trenches 23 may be formed in the isolation cell region 3a so as to be arranged along the X-axis direction.
  • the distance between the center of the IGBT end trench 133a and the center of the dummy trench 23 adjacent to the IGBT end trench 133a is defined as a first separation trench pitch L1.
  • the distance between the center of the FWD end trench 133b and the center of the dummy trench 23 adjacent to the FWD end trench 133b is defined as a second isolation trench pitch L2.
  • the distance between the centers of the adjacent dummy trenches 23 is defined as a third trench pitch L3 for isolation.
  • the first to third trench pitches L1 to L3 for isolation are narrower than the respective trench pitches D1a, D2a, D1b, D2b.
  • a plurality of dummy trenches 23 may be further formed.
  • the maximum distance between the centers of the adjacent dummy trenches 23 may be set as the third trench pitch L3 for isolation.
  • the dummy trench 23 may be divided into a plurality along the Y-axis direction.
  • the dummy trench 23 also has the fourth trench pitch L4 for isolation. It is configured to be narrower than the trench pitches D1a, D2a, D1b, D2b. Thereby, the trench density of the isolation cell region 3a can be improved, and the same effect as in the second embodiment can be obtained.
  • a third embodiment will be described.
  • the third embodiment is different from the second embodiment in that the relationship between the separation cell pitch W1 and each of the trench pitches D1a, D2a, D1b, D2b is changed.
  • the rest is the same as in the first embodiment, and a description thereof will be omitted.
  • the separation cell pitch W1 is wider than the trench pitches D1a, D2a, D1b, D2b.
  • the first separating trench pitch L1 and the second separating trench pitch L2 are narrower than the respective trench pitches D1a, D2a, D1b, D2b.
  • the separation cell pitch W1 is set to be equal to each trench pitch D1a, D2a, D1b if the first and second trench pitches L1 and L2 for separation are narrower than the respective trench pitches D1a, D2a, D1b and D2b. It may be wider than D2b. Even in such a semiconductor device, the same effect as in the second embodiment can be obtained because the trench density of the isolation cell region 3a is improved.
  • the present embodiment can appropriately combine the modifications of the second embodiment.
  • the first to third trench pitches L1 to L3 for isolation may be narrower than the respective trench pitches D1a, D2a, D1b, D2b.
  • the fourth embodiment is different from the first embodiment in that the configuration of the base layer 12 in the isolation cell region 3a is changed. The rest is the same as in the first embodiment, and a description thereof will not be repeated.
  • the depth of the base layer 12 is formed deeper than the IGBT cell region 1a and the FWD cell region 2a. That is, the isolation cell region 3a is configured such that the impurity amount per unit volume in the base layer 12 is higher than the IGBT cell region 1a and the FWD cell region 2a.
  • the base layer 12 in such a semiconductor device is manufactured, for example, as follows. That is, the base layer 12 is formed by ion-implanting a P-type impurity into the semiconductor substrate 10 and performing heat treatment. In this case, in the portion constituting the separation cell region 3a, the acceleration voltage at the time of ion implantation is increased, or ion implantation is performed a plurality of times, so that the base layer 12 is smaller than the IGBT cell region 1a and the FWD cell region 2a. Is formed to be deeper.
  • the base layer 12 is formed deeper than the IGBT cell region 1a and the FWD cell region 2a. Therefore, in the isolation cell region 3a, the depletion layer between the base layer 12 and the drift layer 11 extends toward the other surface 10b of the semiconductor substrate 10 more than the IGBT cell region 1a and the FWD cell region 2a. Therefore, in the separation cell region 3a, it becomes more difficult for the equipotential lines to enter the base layer 12 side, and the occurrence of electric field concentration in the separation cell region 3a can be suppressed.
  • the base layer 12 in the isolation cell region 3a may have a higher impurity concentration than the base layer 12 in the IGBT cell region 1a and the FWD cell region 2a. According to this, it is further difficult for the equipotential lines to enter the base layer 12 side, and the occurrence of electric field concentration in the separation cell region 3a can be suppressed. In such a configuration, base layer 12 in isolation cell region 3a may have the same depth as base layer 12 in IGBT cell region 1a and FWD cell region 2a.
  • the separation cell pitch W1 may be equal to or more than each of the trench pitches D1a, D2a, D1b, D2b. Also in such a semiconductor device, since the occurrence of electric field concentration can be suppressed by changing the base layer 12 of the isolation cell region 3a, the withstand voltage can be improved.
  • a fifth embodiment will be described.
  • the fifth embodiment is different from the first embodiment in that a communication trench is formed in the isolation cell region 3a.
  • the rest is the same as in the first embodiment, and a description thereof will not be repeated.
  • a communication trench 134 that connects the IGBT end trench 133a and the FWD end trench 133b is formed in the isolation cell region 3a.
  • the communication trench 134 is formed so as to extend along the X-axis direction, and a plurality of the communication trenches 134 are formed.
  • the IGBT end trench 133a and the FWD end trench 133b communicate with each other via each communication trench 134. That is, in the present embodiment, the IGBT trench 13a and the FWD trench 13b are formed integrally.
  • an insulating film 135 for insulating the first gate electrode 15a and the second gate electrode 15b is arranged.
  • the communication trench 134 is formed in the isolation cell region 3a. For this reason, the trench density of the isolation cell region 3a can be further increased. Therefore, the occurrence of electric field concentration in the separation cell region 3a can be further suppressed.
  • the separation cell pitch W1 may be equal to or more than each of the trench pitches D1a, D2a, D1b, D2b. Even in such a semiconductor device, by forming the communication trenches 134 in the isolation cell region 3a, it is possible to suppress the occurrence of electric field concentration as compared with a case where the communication trenches 134 are not formed. Can be planned.
  • only one communication trench 134 may be formed. Even in such a semiconductor device, the trench density can be increased as compared with the case where the communication trench 134 is not formed.
  • first gate electrode 15a and the second gate electrode 15b are insulated, a part of the first gate electrode 15a and the second gate electrode 15b is extended into the communication trench 134. It may be extended.
  • the sixth embodiment is different from the first embodiment in that a pillar region, a barrier region, and an electric field relaxation region are formed. The rest is the same as in the first embodiment, and a description thereof will not be repeated.
  • the emitter region 19 is formed in the IGBT cell region 1a and the FWD cell region 2a. Specifically, in the IGBT cell region 1a, the emitter region 19 is formed along a portion located substantially at the center of each of the pair of IGBT first trenches 131a forming one cell of the IGBT cell region 1a. Have been. Similarly, in the FWD cell region 2a, the emitter region 19 is formed along a substantially central portion with respect to a pair of first trenches 131b for FWD forming one cell of the FWD cell region 2a. I have.
  • an N-type pillar region 28 is formed in the surface layer of the base layer 12 so as to be surrounded by the contact region 20.
  • the pillar region 28 is formed so as to reach the barrier region 27 and be connected to the barrier region 27.
  • the pillar region 28 is Schottky connected to the upper electrode 22.
  • the emitter region 19, the contact region 20, and the pillar region 28 are formed in the IGBT cell region 1a and the FWD cell region 2a as described above. 12 is also exposed.
  • drift layer 11 an N-type field stop layer having a higher impurity concentration than the drift layer 11 (hereinafter, referred to as “drift layer 11”).
  • FS layer 29 are formed on the side of the drift layer 11 opposite to the base layer 12 side (that is, on the other surface 10 b side of the semiconductor substrate 10).
  • the FS layer 29 prevents the spread of the depletion layer, improves the withstand voltage and the steady loss performance, and controls the amount of holes injected from the other surface 10b of the semiconductor substrate 10.
  • the cathode layer 17 is in a state where the p + -type implantation region 30 is partially formed.
  • a plurality of implantation regions 30 are formed and formed in a lattice shape. However, only one implantation region 30 may be formed, or a stripe shape extending along the Y-axis direction may be used. , May be formed irregularly.
  • the implantation region 30 has the same impurity concentration as the contact region 20.
  • the barrier region 27 is maintained at the potential of the upper electrode 22 via the pillar region 28. For this reason, in this semiconductor device, when the FWD element is turned on, it is difficult for the diode formed by the pn junction between the base layer 12 and the barrier region 27 to be turned on, and the potential of the upper electrode 22 is increased. To turn on. Therefore, the diode operation can be stabilized.
  • a P-type electric field relaxation region 26 is formed between the barrier region 27 and the drift layer 11. Therefore, as compared with the case where the electric field relaxation region 26 is not formed, the equipotential lines enter between the trenches 13a and 13b due to the pn junction formed between the electric field relaxation region 26 and the drift layer 11. This makes it difficult to further improve the withstand voltage.
  • the first conductivity type was N-type and the second conductivity type was P-type.
  • the first conductivity type was P-type
  • the second conductivity type was N-type. You can also.
  • the emitter region 19 may be formed in the isolation cell region 3a so as to be in contact with the IGBT trench 13a, and the emitter region 19 may be connected to the upper electrode 22.
  • the contact hole 21a may be formed at a position apart from the outer peripheral region in the separation cell region 3a.
  • a contact hole 21a exposing the contact region 20 of the isolation cell region 3a may be formed.
  • the boundary between the collector layer 16 and the cathode layer 17 may be formed at another position.
  • the boundary between the collector layer 16 and the cathode layer 17 may be formed immediately below the end trench 133a for IGBT, or between the end trench 133a for IGBT and the end trench 133b for FWD. It may be formed at the center. That is, the separation cell region 3a may be included only in the FWD region 2, or may be included in the IGBT region 1 and the FWD region 2.
  • the interval between adjacent IGBT first trenches 131a is different, and the first IGBT trench pitch D1a is different for each part. Is also good.
  • the interval between adjacent second trenches 132a for IGBT, the interval between first trenches 131b for adjacent FWD, and the interval between second trenches 132b for adjacent FWD may be different.
  • the separation cell pitch W1 may be narrower than the minimum distance of each of the trench pitches D1a, D2a, D1b, D2b.
  • the emitter region 19 may be formed in the FWD region 2 as well. In the sixth embodiment, the emitter region 19 may not be formed in the FWD region 2.
  • the dummy electrode 25 may be in a floating state without being connected to the upper electrode 22 or the like.
  • the fourth embodiment can be appropriately combined with the second and third embodiments.
  • the fifth embodiment can be appropriately combined with the second to fourth embodiments.
  • the sixth embodiment can be appropriately combined with the second to fifth embodiments. And what combined each embodiment may be further combined.

Landscapes

  • Engineering & Computer Science (AREA)
  • Physics & Mathematics (AREA)
  • Condensed Matter Physics & Semiconductors (AREA)
  • General Physics & Mathematics (AREA)
  • Manufacturing & Machinery (AREA)
  • Computer Hardware Design (AREA)
  • Microelectronics & Electronic Packaging (AREA)
  • Power Engineering (AREA)
  • Electrodes Of Semiconductors (AREA)
  • Metal-Oxide And Bipolar Metal-Oxide Semiconductor Integrated Circuits (AREA)
PCT/JP2019/033935 2018-09-11 2019-08-29 半導体装置 Ceased WO2020054447A1 (ja)

Priority Applications (2)

Application Number Priority Date Filing Date Title
CN201980058845.7A CN112673466B (zh) 2018-09-11 2019-08-29 半导体装置
US17/197,308 US11476355B2 (en) 2018-09-11 2021-03-10 Semiconductor device

Applications Claiming Priority (2)

Application Number Priority Date Filing Date Title
JP2018-169878 2018-09-11
JP2018169878A JP6996461B2 (ja) 2018-09-11 2018-09-11 半導体装置

Related Child Applications (1)

Application Number Title Priority Date Filing Date
US17/197,308 Continuation US11476355B2 (en) 2018-09-11 2021-03-10 Semiconductor device

Publications (1)

Publication Number Publication Date
WO2020054447A1 true WO2020054447A1 (ja) 2020-03-19

Family

ID=69778271

Family Applications (1)

Application Number Title Priority Date Filing Date
PCT/JP2019/033935 Ceased WO2020054447A1 (ja) 2018-09-11 2019-08-29 半導体装置

Country Status (4)

Country Link
US (1) US11476355B2 (enExample)
JP (1) JP6996461B2 (enExample)
CN (1) CN112673466B (enExample)
WO (1) WO2020054447A1 (enExample)

Cited By (1)

* Cited by examiner, † Cited by third party
Publication number Priority date Publication date Assignee Title
EP3953972A1 (en) * 2020-06-18 2022-02-16 Dynex Semiconductor Limited Reverse conducting igbt with controlled anode injection

Families Citing this family (8)

* Cited by examiner, † Cited by third party
Publication number Priority date Publication date Assignee Title
JP7319601B2 (ja) * 2019-11-01 2023-08-02 株式会社東芝 半導体装置
JP7459666B2 (ja) * 2020-06-04 2024-04-02 三菱電機株式会社 半導体装置
JP7456902B2 (ja) 2020-09-17 2024-03-27 株式会社東芝 半導体装置
JP7528743B2 (ja) * 2020-11-27 2024-08-06 三菱電機株式会社 半導体装置
JP7486407B2 (ja) * 2020-11-27 2024-05-17 三菱電機株式会社 半導体装置および半導体装置の製造方法
JP2024067299A (ja) * 2022-11-04 2024-05-17 株式会社デンソー 半導体装置とその製造方法
CN121040233A (zh) * 2023-11-29 2025-11-28 富士电机株式会社 半导体装置
EP4583165A1 (en) * 2024-01-04 2025-07-09 Nio Technology (Anhui) Co., Ltd Reverse conducting insulated-gate bipolar transistor and method of manufacturing

Citations (4)

* Cited by examiner, † Cited by third party
Publication number Priority date Publication date Assignee Title
JP2009021557A (ja) * 2007-06-14 2009-01-29 Denso Corp 半導体装置
JP2012151470A (ja) * 2011-01-17 2012-08-09 Infineon Technologies Austria Ag 半導体素子および逆導通igbt
JP2016197678A (ja) * 2015-04-06 2016-11-24 三菱電機株式会社 半導体装置
JP2016225560A (ja) * 2015-06-03 2016-12-28 トヨタ自動車株式会社 半導体装置

Family Cites Families (26)

* Cited by examiner, † Cited by third party
Publication number Priority date Publication date Assignee Title
JP4799829B2 (ja) 2003-08-27 2011-10-26 三菱電機株式会社 絶縁ゲート型トランジスタ及びインバータ回路
JP4830360B2 (ja) * 2005-06-17 2011-12-07 株式会社デンソー 半導体装置およびその製造方法
JP5470826B2 (ja) * 2008-12-08 2014-04-16 株式会社デンソー 半導体装置
JP2010263149A (ja) * 2009-05-11 2010-11-18 Toyota Motor Corp 半導体装置
JP5768395B2 (ja) * 2010-07-27 2015-08-26 株式会社デンソー 半導体装置およびその制御方法
US8716746B2 (en) 2010-08-17 2014-05-06 Denso Corporation Semiconductor device
JP5321669B2 (ja) * 2010-11-25 2013-10-23 株式会社デンソー 半導体装置
JP5874210B2 (ja) 2011-06-23 2016-03-02 トヨタ自動車株式会社 ダイオード
CN103733344B (zh) * 2011-09-08 2018-05-18 富士电机株式会社 半导体装置
US9159786B2 (en) * 2012-02-20 2015-10-13 Taiwan Semiconductor Manufacturing Company, Ltd. Dual gate lateral MOSFET
JP5825201B2 (ja) * 2012-03-05 2015-12-02 株式会社デンソー 半導体装置およびその製造方法
US9136158B2 (en) * 2012-03-09 2015-09-15 Taiwan Semiconductor Manufacturing Company, Ltd. Lateral MOSFET with dielectric isolation trench
JP5942737B2 (ja) * 2012-09-24 2016-06-29 株式会社デンソー 半導体装置
JP6135636B2 (ja) 2014-10-17 2017-05-31 トヨタ自動車株式会社 半導体装置
JP6260515B2 (ja) 2014-11-13 2018-01-17 三菱電機株式会社 半導体装置
JP6344483B2 (ja) * 2014-11-17 2018-06-20 富士電機株式会社 半導体装置および半導体装置の製造方法
JP6261494B2 (ja) * 2014-12-03 2018-01-17 三菱電機株式会社 電力用半導体装置
CN107534053A (zh) * 2015-01-14 2018-01-02 三菱电机株式会社 半导体装置及其制造方法
WO2016114131A1 (ja) * 2015-01-16 2016-07-21 株式会社デンソー 半導体装置
JP6641983B2 (ja) * 2015-01-16 2020-02-05 株式会社デンソー 半導体装置
JP6334465B2 (ja) * 2015-06-17 2018-05-30 富士電機株式会社 半導体装置
JP6428503B2 (ja) * 2015-06-24 2018-11-28 株式会社デンソー 半導体装置
CN107958906B (zh) * 2016-10-14 2023-06-23 富士电机株式会社 半导体装置
JP6589817B2 (ja) * 2016-10-26 2019-10-16 株式会社デンソー 半導体装置
JP6780777B2 (ja) * 2017-05-31 2020-11-04 富士電機株式会社 半導体装置
WO2019111572A1 (ja) * 2017-12-06 2019-06-13 富士電機株式会社 半導体装置

Patent Citations (4)

* Cited by examiner, † Cited by third party
Publication number Priority date Publication date Assignee Title
JP2009021557A (ja) * 2007-06-14 2009-01-29 Denso Corp 半導体装置
JP2012151470A (ja) * 2011-01-17 2012-08-09 Infineon Technologies Austria Ag 半導体素子および逆導通igbt
JP2016197678A (ja) * 2015-04-06 2016-11-24 三菱電機株式会社 半導体装置
JP2016225560A (ja) * 2015-06-03 2016-12-28 トヨタ自動車株式会社 半導体装置

Cited By (1)

* Cited by examiner, † Cited by third party
Publication number Priority date Publication date Assignee Title
EP3953972A1 (en) * 2020-06-18 2022-02-16 Dynex Semiconductor Limited Reverse conducting igbt with controlled anode injection

Also Published As

Publication number Publication date
US20210202725A1 (en) 2021-07-01
CN112673466A (zh) 2021-04-16
JP6996461B2 (ja) 2022-01-17
JP2020043237A (ja) 2020-03-19
US11476355B2 (en) 2022-10-18
CN112673466B (zh) 2024-02-23

Similar Documents

Publication Publication Date Title
WO2020054447A1 (ja) 半導体装置
JP6641983B2 (ja) 半導体装置
JP6589817B2 (ja) 半導体装置
JP5605073B2 (ja) 半導体装置
JP6443267B2 (ja) 半導体装置
JP6226786B2 (ja) 半導体装置およびその製造方法
JP2012043890A (ja) 半導体装置
JP2016029710A (ja) 半導体装置
JP6954333B2 (ja) 半導体装置
JP7354897B2 (ja) 半導体装置
WO2017199679A1 (ja) 半導体装置
US11404411B2 (en) Semiconductor device having alternately arranged IGBT regions and diode regions
JP7435214B2 (ja) 半導体装置
CN109509789A (zh) 半导体装置
JP7172920B2 (ja) 半導体装置
WO2016114131A1 (ja) 半導体装置
JP2018182240A (ja) 半導体スイッチング素子及びその製造方法
JP2020043301A (ja) 半導体装置
JP5664029B2 (ja) 半導体装置
JP2022038239A (ja) 半導体装置
JP2016096307A (ja) 半導体装置
JP2019161190A (ja) 半導体装置
US12389615B2 (en) Semiconductor device
US20230038806A1 (en) Semiconductor device
JP7294004B2 (ja) 半導体装置

Legal Events

Date Code Title Description
121 Ep: the epo has been informed by wipo that ep was designated in this application

Ref document number: 19859637

Country of ref document: EP

Kind code of ref document: A1

NENP Non-entry into the national phase

Ref country code: DE

122 Ep: pct application non-entry in european phase

Ref document number: 19859637

Country of ref document: EP

Kind code of ref document: A1