WO2014010502A1 - レーダ装置 - Google Patents
レーダ装置 Download PDFInfo
- Publication number
- WO2014010502A1 WO2014010502A1 PCT/JP2013/068344 JP2013068344W WO2014010502A1 WO 2014010502 A1 WO2014010502 A1 WO 2014010502A1 JP 2013068344 W JP2013068344 W JP 2013068344W WO 2014010502 A1 WO2014010502 A1 WO 2014010502A1
- Authority
- WO
- WIPO (PCT)
- Prior art keywords
- wall
- radar
- wall body
- radome
- radar apparatus
- Prior art date
- Legal status (The legal status is an assumption and is not a legal conclusion. Google has not performed a legal analysis and makes no representation as to the accuracy of the status listed.)
- Ceased
Links
Images
Classifications
-
- H—ELECTRICITY
- H01—ELECTRIC ELEMENTS
- H01Q—ANTENNAS, i.e. RADIO AERIALS
- H01Q1/00—Details of, or arrangements associated with, antennas
- H01Q1/42—Housings not intimately mechanically associated with radiating elements, e.g. radome
-
- G—PHYSICS
- G01—MEASURING; TESTING
- G01S—RADIO DIRECTION-FINDING; RADIO NAVIGATION; DETERMINING DISTANCE OR VELOCITY BY USE OF RADIO WAVES; LOCATING OR PRESENCE-DETECTING BY USE OF THE REFLECTION OR RERADIATION OF RADIO WAVES; ANALOGOUS ARRANGEMENTS USING OTHER WAVES
- G01S7/00—Details of systems according to groups G01S13/00, G01S15/00, G01S17/00
- G01S7/02—Details of systems according to groups G01S13/00, G01S15/00, G01S17/00 of systems according to group G01S13/00
- G01S7/28—Details of pulse systems
- G01S7/2813—Means providing a modification of the radiation pattern for cancelling noise, clutter or interfering signals, e.g. side lobe suppression, side lobe blanking, null-steering arrays
-
- H—ELECTRICITY
- H01—ELECTRIC ELEMENTS
- H01Q—ANTENNAS, i.e. RADIO AERIALS
- H01Q1/00—Details of, or arrangements associated with, antennas
- H01Q1/27—Adaptation for use in or on movable bodies
- H01Q1/32—Adaptation for use in or on road or rail vehicles
- H01Q1/3208—Adaptation for use in or on road or rail vehicles characterised by the application wherein the antenna is used
- H01Q1/3233—Adaptation for use in or on road or rail vehicles characterised by the application wherein the antenna is used particular used as part of a sensor or in a security system, e.g. for automotive radar, navigation systems
-
- H—ELECTRICITY
- H01—ELECTRIC ELEMENTS
- H01Q—ANTENNAS, i.e. RADIO AERIALS
- H01Q1/00—Details of, or arrangements associated with, antennas
- H01Q1/42—Housings not intimately mechanically associated with radiating elements, e.g. radome
- H01Q1/421—Means for correcting aberrations introduced by a radome
-
- G—PHYSICS
- G01—MEASURING; TESTING
- G01S—RADIO DIRECTION-FINDING; RADIO NAVIGATION; DETERMINING DISTANCE OR VELOCITY BY USE OF RADIO WAVES; LOCATING OR PRESENCE-DETECTING BY USE OF THE REFLECTION OR RERADIATION OF RADIO WAVES; ANALOGOUS ARRANGEMENTS USING OTHER WAVES
- G01S13/00—Systems using the reflection or reradiation of radio waves, e.g. radar systems; Analogous systems using reflection or reradiation of waves whose nature or wavelength is irrelevant or unspecified
- G01S13/88—Radar or analogous systems specially adapted for specific applications
- G01S13/93—Radar or analogous systems specially adapted for specific applications for anti-collision purposes
- G01S13/931—Radar or analogous systems specially adapted for specific applications for anti-collision purposes of land vehicles
-
- G—PHYSICS
- G01—MEASURING; TESTING
- G01S—RADIO DIRECTION-FINDING; RADIO NAVIGATION; DETERMINING DISTANCE OR VELOCITY BY USE OF RADIO WAVES; LOCATING OR PRESENCE-DETECTING BY USE OF THE REFLECTION OR RERADIATION OF RADIO WAVES; ANALOGOUS ARRANGEMENTS USING OTHER WAVES
- G01S7/00—Details of systems according to groups G01S13/00, G01S15/00, G01S17/00
- G01S7/02—Details of systems according to groups G01S13/00, G01S15/00, G01S17/00 of systems according to group G01S13/00
- G01S7/027—Constructional details of housings, e.g. form, type, material or ruggedness
Definitions
- the present invention relates to a radar apparatus including an antenna and a radome that protects the antenna.
- the radar device is a device that detects a distance, a direction, and the like with an obstacle existing around by transmitting a radio wave and receiving a reflected wave of the transmitted radio wave.
- the antenna provided in the radar apparatus is protected by a radome.
- Patent Document 1 a radome having an attenuation radome portion is known (see Patent Document 1).
- the attenuation radome described in Patent Document 1 has a core layer formed of a material that gives high loss to a radio wave transmitted and received by an antenna (hereinafter referred to as a radar wave), and a direction through the attenuation radome Reduce the emission of radio waves.
- the attenuation radome described in Patent Document 1 has a radio wave attenuation rate that increases in proportion to the thickness of the core layer. Therefore, it is necessary to sufficiently attenuate radio wave radiation in order to achieve desired directivity. In such a case, there is a problem that the core layer must be formed thick. That is, there is a possibility that downsizing of the apparatus may be hindered.
- the present invention has been made in view of these problems, and it would be desirable to be able to provide a radar apparatus capable of realizing desired directivity without hindering downsizing of the apparatus.
- a radar apparatus includes an antenna that performs at least one of transmission and reception of a radar wave, a radome that transmits the radar wave, and a wall portion.
- the wall portion is provided on the surface (opposing surface) of the radome facing the antenna.
- the wall portion protrudes from the facing surface toward the space formed by the radome, and at least a part of the outer periphery of the opening projection portion that projects the antenna opening surface on the facing surface in the normal direction of the antenna opening surface. It is formed along.
- the wall portion may be formed intermittently along the outer periphery of the aperture projection portion, or may be formed so as to surround the outer periphery of the aperture projection portion depending on the mode. Or the said wall part may be provided only in the direction which suppresses a radar wave.
- the value of the side lobe formed in the direction deviating from the normal direction of the antenna opening surface in the directivity pattern formed by the antenna can be reduced by the wall portion. Further, since the wall portion is provided inside the radome, it does not affect the outer shape (size) of the radar apparatus. Therefore, desired directivity can be realized without hindering downsizing of the apparatus.
- the wall portion may be configured to include a plurality of wall bodies arranged at intervals in a direction from the aperture projection portion toward the outside of the aperture projection portion, depending on an aspect. it can. By providing a plurality of wall bodies, it is possible to increase the attenuation by the wall portion.
- At least one of the walls is 2n ⁇ 1 times (where n is a natural number) a quarter of the wavelength of the radar wave in the wall. It can comprise so that it may consist of a 1st wall body which has thickness.
- a radar apparatus for example, when a radar wave is transmitted from an antenna through a radome, a transmission wave that passes through the first wall body as it is and a first wave body that passes through the first wall body after multiple reflection at the first wall body.
- the transmission wave has a path difference that is an integral multiple of one half of the wavelength of the radar wave in the first wall, and is out of phase by one-half wavelength. For this reason, both transmission waves act so as to cancel each other.
- the radar wave transmitted through the wall portion made of the first wall body can be efficiently attenuated.
- the attenuation effect of a radar wave can be improved more.
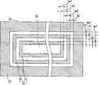
- FIG. 1 is a perspective view showing a radar apparatus according to a first embodiment of the present invention. It is sectional drawing of the said radar apparatus in the II-II line
- FIG. 3 is a cross-sectional view of the radar apparatus taken along line III-III in FIG. 2. It is explanatory drawing which shows an example of the path
- (A) is explanatory drawing which shows the synthetic directivity of an antenna part
- (b) is explanatory drawing which shows the synthetic directivity of the antenna part changed by having provided the wall part. It is explanatory drawing which shows the structure of the radar apparatus of 2nd embodiment of this invention.
- (A) to (d) is an explanatory view showing a state in which a radome of a radar apparatus according to another embodiment described in (v) is viewed from the main body side. It is explanatory drawing which shows the structure of the wall part and 3rd wall body of the radar apparatus of other embodiment described in (vi).
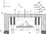
- a radar apparatus 1 according to the first embodiment shown in FIG. 1 is mounted on a vehicle, transmits a radio wave having a predetermined frequency f0 (hereinafter referred to as a radar wave), and receives a reflected wave of a radar wave from a target. By doing so, the target existing around the vehicle is recognized.
- a radar wave a radio wave having a predetermined frequency f0
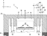
- the radar device 1 includes a circuit board on which an antenna is formed, and transmits and receives radar waves to recognize a target existing around the vehicle, a main body 10 that houses the radar unit 50, and a main body 10. And a radome 20 that protects the circuit board 60 of the radar unit 50 housed in the main body 10.
- the circuit board 60 is formed on one surface with a transmission antenna unit 64 that transmits a radar wave and a reception antenna unit 66 that receives a reflected wave from a target that reflects the radar wave. .
- the circuit board 60 is disposed such that the surface on which both antenna portions 64 and 66 are formed (hereinafter referred to as “antenna formation surface”) is exposed to the radome 20 side at the opening of the main body 10.
- antenna unit 62 when the antenna units 64 and 66 are not identified, both are collectively referred to as the antenna unit 62.
- the antenna unit 62 has a performance (combined directivity) obtained by combining the directivity of the transmission antenna unit 64 and the directivity of the reception antenna unit 66.
- This combined directivity extends in a normal direction (in the direction of arrow a in FIG. 2) with respect to a region where both antenna portions 64 and 66 are formed (hereinafter referred to as “antenna opening surface”), and the normal direction a It has a symmetrical shape.
- the normal direction a is referred to as the beam direction a of the antenna unit 62.
- the beam direction a corresponds to the direction of the z coordinate shown in FIG.
- the radome 20 is formed of a transmission material that is a material that transmits radar waves with low loss.
- the part facing the circuit board 60 in the radome 20, that is, the part located in the beam direction a of the antenna part 62 is the front part 35, and the thickness t1 of the front part 35 is expressed by the following equation (1): It is set to one half of the wavelength of the radar wave propagating through the transmitting material.
- ⁇ 0 is the wavelength of the radar wave propagating in free space
- ⁇ 1 represents the dielectric constant of the transmission material.
- a surface 37 (hereinafter referred to as “opposing surface”) 37 facing the circuit board 60 in the front portion 35 is formed so as to protrude toward a space 18 (hereinafter referred to as “radome space”) 18 formed by the radome 20.
- the wall part 41 which consists of the made first wall bodies 51 and 52 is provided.
- the first wall bodies 51 and 52 are formed of the same transmissive material as the radome 20 and surround the outer periphery of a portion 39 (hereinafter referred to as “opening projection portion”) 39 in which the antenna opening surface is projected on the opposing surface 37 in the normal direction a. (See FIGS. 2 and 3).
- the first wall bodies 51 and 52 are arranged at a predetermined interval tt1 in a direction from the opening projection unit 39 to the outside of the opening projection unit 39.
- ⁇ 2 represents the dielectric constant in the radome space 18. Further, the first wall body 52 is arranged such that the distance tt2 between the radome 20 and the side wall 33 is the same value as the distance tt1.
- the amount of projection (height) of the first wall bodies 51 and 52 from the facing surface 37 is desirably set so that the tip portions of the first wall bodies 51 and 52 are as close as possible to the antenna formation surface of the circuit board 60.
- the first wall bodies 51 and 52 are formed at the same height, and the height P is such that the distance P between the tip portion and the antenna forming surface (see FIG. 2) propagates through the radome space 18.
- the value is set to be equal to or less than a quarter value of the wavelength of the radar wave to be transmitted.
- the operation of the wall 41 will be described by taking as an example a case where a radar wave is transmitted from the antenna 62 through the radome 20 to the outside of the radar apparatus 1.
- a radar wave is transmitted from the antenna 62 through the radome 20 to the outside of the radar apparatus 1.
- the space between the first wall bodies 51 and 52 is referred to as a first air layer 82.
- a space between the first wall body 52 and the side wall 33 of the radome 20 is referred to as a second air layer 84.
- a path that enters the first wall body 51 and exits from the first wall body 51 without being reflected in the first wall body is referred to as a first path 71.
- a path that is emitted, that is, a path that is multiple-reflected by the first wall body 51 is referred to as a second path 72.
- a path that is emitted to the first air layer 82 and is incident on the first wall body 52 without being reflected by the first air layer 82 is referred to as a third path 73.
- the first wall body A path that is incident on 52, that is, a path that is multiple-reflected by the first air layer 82 is a fourth path 74.
- a path difference having a value half that of the wavelength of the radar wave at the first wall 51 is generated. That is, since these radar waves are out of phase by a half wavelength, they act so as to cancel each other.
- the radar waves emitted to the first air layer 82 in the same phase the radar waves incident on the first wall body 52 via the third path 73 and the fourth path 74 also in the first air layer 82.
- a path difference of half the value of the wavelength of the radar wave occurs, and these radar waves act so as to cancel each other.
- the first route 71 to the fourth route 74 have been described by way of example, but in addition to the above, in various routes in which radar waves are transmitted from the antenna unit 62 through the wall portion 41 to the outside of the radar apparatus 1, As described above, when the path difference between the radar waves becomes a half value of the wavelength, or when the path difference becomes an odd multiple of the half of the wavelength, the radar waves act so as to cancel each other.
- the radar apparatus 1 includes the first wall bodies 51 and 52 so that the radar waves transmitted through the first wall bodies 51 and 52 cancel each other due to the path difference. Since the wall 41 is provided, it is possible to attenuate a radar wave in a direction deviating from the beam direction a of the antenna unit 62. Specifically, for example, as shown in FIG. 5A, when the antenna unit 62 has a combined directivity composed of the main lobe M1 and the side lobes S1 and S2, the wall portion 41 is provided so that As shown in b), the side lobes S1 and S2 formed in a direction deviating from the beam direction a of the antenna unit 62 can be suppressed.
- the wall part 41 is provided inside the radome 20, the outer shape (size) of the radar apparatus 1 is not affected. Therefore, desired directivity can be realized without hindering the miniaturization of the radar apparatus 1.
- the wall portion 41 may be configured by setting the interval tt1 to a value t3 in the direction from the opening projection portion 39 to the outside of the opening projection portion 39 and further disposing the first wall body.
- the side lobes S1 and S2 formed in a direction deviating from the beam direction a can be further suppressed.
- the antenna unit Radar waves in a direction deviating from the beam direction a 62 can be efficiently attenuated.
- the wall part 41 is formed with the same material as the material which forms the radome 20, the wall part 41 and the radome 20 can be manufactured in the same process. That is, the manufacturing process can be simplified.
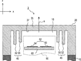
- the radar device 2 according to the second embodiment of the present invention will be described.
- the configuration of the wall portion 43 is not the first wall body unlike the radar apparatus 1 of the first embodiment, but the first wall body 52 and the first wall body. Since 52 is composed of the second wall body 53 having a different thickness, the difference will be mainly described.
- the wall portion 43 includes a first wall body 52 and a second wall body 53 disposed closer to the opening projection unit 39 than the first wall body 52.
- a path of a radar wave transmitted from the antenna unit 62 to the outside through the wall 43 for example, as shown in FIG. 7, a path reflected by the surface of the second wall 53 and returning to the radome space 18 is a fifth path 75. And Further, a path that enters the second wall body 53, is reflected at the boundary between the second wall body 53 and the first air layer 82, and returns to the radome space 18 is a sixth path 76.
- a phase shift corresponding to a half wavelength occurs in the reflected wave by the fifth path 75, and in the reflected wave by the sixth path 76 A phase shift corresponding to one wavelength occurs. That is, the reflected waves generated by the fifth path 75 and the sixth path 76 act so as to cancel each other.
- radar waves transmitted to the outside of the radar device 2 through the second wall 53, the first air layer 82, the first wall 52, and the second air layer 84 are It attenuates in the wall and air layer.
- the radar apparatus 2 by providing the wall portion 43 including the first wall body and the second wall body having different thicknesses, the reflected waves returned to the radome space 18 are canceled out by the path difference. At the same time, the radar wave transmitted to the outside can be attenuated.
- the reflected wave to the radome space 18 caused by providing these wall bodies affects the combined directivity of the antenna unit 62.
- the main lobe M2 may be disturbed (see FIG. 8).
- the reflected wave to the radome space 18 is reduced, and the main lobe M2 is reduced. Can be suppressed.
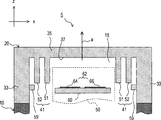
- the heights of the first wall bodies 51 and 52 from the facing surface 37 are set to the same value, but the present invention is not limited to this. Instead, for example, the height of the first wall body 55 located on the side close to the aperture projection section 39 is compared with the height of the first wall body 52, as in the wall section 45 of the radar apparatus 3 shown in FIG. A small value may be set. Thereby, similarly to said 2nd embodiment, the reflected wave to the radome space 18 produced by providing a wall body can be reduced.
- the first wall bodies 51 and 52 are made of the same material as that forming the radome 20, but the present invention is not limited to this.
- the first wall bodies 57 and 58 are formed of a material that has a dielectric constant different from that of the transmission material forming the radome 20 and transmits radar waves with high loss.
- the wall 47 may be constituted by these. Thereby, the amount of attenuation when the radar wave passes through the first wall bodies 57 and 58 can be increased.
- the value of the interval tt1 of the first air layer 82 may be set to a value (natural number) that is arbitrarily determined in Equation (3).
- the value of the thickness tw3 of the second wall may be set to a value (natural number) in which n is arbitrarily determined in Expression (4).
- the first wall bodies 51 and 52 are formed in a continuous wall shape surrounding the outer shape of the opening projection unit 39, but the present invention is not limited to this. Instead, for example, the first wall bodies 51 and 52 may be configured by a plurality of partial wall bodies 69 as shown in FIG.
- the first wall has a wall shape surrounding the outer shape of the opening projection unit 39, but the present invention is not limited to this. Instead, for example, it may be formed along at least a part of the outer periphery of the opening projection unit 39.
- the first wall bodies 91 a, 92 b and 91 b, 92 b are partial walls provided along a pair of sides facing the opening projection unit 39.
- the structure which consists of the body 69 may be sufficient. That is, the first wall body may be formed intermittently along the outer periphery of the opening projection portion 39.
- the first wall bodies 91 c, 92 c and 91 d, 92 d are provided so that part of the first wall bodies 91 c, 92 c and 91 d, 92 d is along a pair of sides facing each other.
- the structure which consists of the partial wall body 69 may be sufficient.
- the 1st wall body may be provided only in the direction which suppresses a radar wave. Similar alternatives are possible for the second embodiment.
- the wall portion 41 including the first wall bodies 51 and 52 is provided on the facing surface 37 of the radome 20.
- a third wall body 59 formed so as to protrude toward the radome space 18 may be provided on the side wall 33 of the radome 20 of the radar device 5.
- the third wall 59 is made of, for example, the same transmission material as that of the radome 20, and the height from the side wall 33 is 2n-1 times the value of a quarter of the wavelength of the radar wave propagating through the transmission material ( Where n is a natural number). It is desirable that the third wall body 59 is provided at a position as close as possible to the circuit board 60 in the vertical direction with the normal direction a as the vertical direction. Thereby, the radar wave transmitted to the outside can be suppressed also in the direction along the circuit board 60.
Landscapes
- Engineering & Computer Science (AREA)
- Radar, Positioning & Navigation (AREA)
- Remote Sensing (AREA)
- Computer Networks & Wireless Communication (AREA)
- Physics & Mathematics (AREA)
- General Physics & Mathematics (AREA)
- Computer Security & Cryptography (AREA)
- Details Of Aerials (AREA)
- Radar Systems Or Details Thereof (AREA)
- Variable-Direction Aerials And Aerial Arrays (AREA)
Priority Applications (2)
| Application Number | Priority Date | Filing Date | Title |
|---|---|---|---|
| US14/414,359 US9780443B2 (en) | 2012-07-13 | 2013-07-04 | Radar apparatus |
| CN201380037379.7A CN104487862B (zh) | 2012-07-13 | 2013-07-04 | 雷达装置 |
Applications Claiming Priority (2)
| Application Number | Priority Date | Filing Date | Title |
|---|---|---|---|
| JP2012157998A JP6171277B2 (ja) | 2012-07-13 | 2012-07-13 | レーダ装置 |
| JP2012-157998 | 2012-07-13 |
Publications (1)
| Publication Number | Publication Date |
|---|---|
| WO2014010502A1 true WO2014010502A1 (ja) | 2014-01-16 |
Family
ID=49915960
Family Applications (1)
| Application Number | Title | Priority Date | Filing Date |
|---|---|---|---|
| PCT/JP2013/068344 Ceased WO2014010502A1 (ja) | 2012-07-13 | 2013-07-04 | レーダ装置 |
Country Status (4)
| Country | Link |
|---|---|
| US (1) | US9780443B2 (enExample) |
| JP (1) | JP6171277B2 (enExample) |
| CN (1) | CN104487862B (enExample) |
| WO (1) | WO2014010502A1 (enExample) |
Families Citing this family (31)
| Publication number | Priority date | Publication date | Assignee | Title |
|---|---|---|---|---|
| US8943744B2 (en) * | 2012-02-17 | 2015-02-03 | Nathaniel L. Cohen | Apparatus for using microwave energy for insect and pest control and methods thereof |
| DE102013220259A1 (de) * | 2013-10-08 | 2015-04-09 | Robert Bosch Gmbh | Radarsensor mit Radom |
| JP6326920B2 (ja) * | 2014-04-04 | 2018-05-23 | 株式会社Soken | レーダ装置 |
| JP2016006411A (ja) * | 2014-05-27 | 2016-01-14 | パナソニックIpマネジメント株式会社 | ミリ波用アンテナ及び車載用レーダ装置 |
| JP6235424B2 (ja) * | 2014-07-01 | 2017-11-22 | 株式会社Soken | アンテナ装置 |
| US10082571B2 (en) * | 2014-09-30 | 2018-09-25 | Nidec Elesys Corporation | Monitoring apparatus |
| CN107850661A (zh) * | 2015-05-13 | 2018-03-27 | 通用汽车环球科技运作有限责任公司 | 雷达和盖板之间的结构 |
| EP3107151B1 (en) * | 2015-06-17 | 2022-04-27 | Volvo Car Corporation | Low reflection radar bracket |
| JP6802995B2 (ja) * | 2016-07-20 | 2020-12-23 | スズキ株式会社 | 車両用センサ周辺構造 |
| JP6968527B2 (ja) * | 2016-10-24 | 2021-11-17 | 豊田合成株式会社 | 電波透過性カバー |
| KR101877645B1 (ko) * | 2016-12-12 | 2018-07-11 | 재단법인대구경북과학기술원 | 외부 영향을 최소화하는 투과형 레이더 장치 |
| US10389019B2 (en) * | 2016-12-17 | 2019-08-20 | Point Road Solutions, Llc | Methods and systems for wet radome attenuation mitigation in phased-array antennae applications and networked use of such applications |
| KR102065025B1 (ko) * | 2017-01-20 | 2020-01-10 | 주식회사 인비지블 | 자동차용 레이더의 전자기파 투과 부재 |
| JP6840564B2 (ja) * | 2017-02-21 | 2021-03-10 | 日本無線株式会社 | 平面アンテナ装置 |
| JP6738763B2 (ja) * | 2017-04-18 | 2020-08-12 | 株式会社Soken | レーダ装置 |
| DE102017218103B4 (de) | 2017-10-11 | 2024-06-13 | Vitesco Technologies GmbH | Gehäuse für einen Radarsensor und Vorrichtung zur Übertragung elektrischer Energie mittels induktiver Kopplung |
| CN107843878A (zh) * | 2017-11-08 | 2018-03-27 | 绍兴上虞威拓机械电子有限公司 | 一种电子雷达装置 |
| WO2019180926A1 (ja) * | 2018-03-23 | 2019-09-26 | 三菱電機株式会社 | レーダ装置 |
| JP7099861B2 (ja) * | 2018-04-23 | 2022-07-12 | 株式会社デンソーテン | レーダ装置 |
| JP7163209B2 (ja) * | 2019-02-06 | 2022-10-31 | 日立Astemo株式会社 | レーダ装置 |
| JP7095625B2 (ja) * | 2019-03-01 | 2022-07-05 | 株式会社デンソー | 車載用レーダ装置 |
| US11226397B2 (en) * | 2019-08-06 | 2022-01-18 | Waymo Llc | Slanted radomes |
| US11385325B2 (en) * | 2019-08-07 | 2022-07-12 | Waymo Llc | Corrugated radomes |
| CN110542800B (zh) * | 2019-08-12 | 2021-08-17 | 中国电子科技集团公司第四十一研究所 | 一种可调节的电厚度贴合反射测试波导探头设计方法 |
| EP3798676B1 (en) | 2019-09-24 | 2025-08-27 | Qualcomm Auto Ltd. | A radar side-shield and a radar transceiver assembly |
| JP7499460B2 (ja) * | 2019-09-30 | 2024-06-14 | パナソニックIpマネジメント株式会社 | 照明器具 |
| JP7417491B2 (ja) * | 2020-07-31 | 2024-01-18 | 株式会社Soken | レーダ装置 |
| JP7579358B2 (ja) | 2020-12-07 | 2024-11-07 | 日立Astemo株式会社 | レーダ装置 |
| KR20220137484A (ko) | 2021-04-02 | 2022-10-12 | 삼성전자주식회사 | 안테나 레이돔 및 이를 포함하는 전자 장치 |
| KR20240035375A (ko) | 2021-08-05 | 2024-03-15 | 닛토덴코 가부시키가이샤 | 전자파 실드 |
| EP4641831A1 (en) * | 2024-04-23 | 2025-10-29 | Aptiv Technologies AG | Radar radome with rib structure |
Citations (5)
| Publication number | Priority date | Publication date | Assignee | Title |
|---|---|---|---|---|
| JP2001044750A (ja) * | 1998-12-28 | 2001-02-16 | Tokai Rubber Ind Ltd | 透明電波吸収体 |
| JP2005249659A (ja) * | 2004-03-05 | 2005-09-15 | Mitsubishi Electric Corp | レーダ装置用送受信アンテナ |
| JP2007013311A (ja) * | 2005-06-28 | 2007-01-18 | Murata Mfg Co Ltd | アンテナモジュールおよび無線装置 |
| JP2010210297A (ja) * | 2009-03-09 | 2010-09-24 | Furukawa Electric Co Ltd:The | 広覆域レーダ装置 |
| JP2012093305A (ja) * | 2010-10-28 | 2012-05-17 | Denso Corp | レーダ装置、レドーム |
Family Cites Families (5)
| Publication number | Priority date | Publication date | Assignee | Title |
|---|---|---|---|---|
| JP2003243920A (ja) | 2002-02-18 | 2003-08-29 | Mitsubishi Electric Corp | レドーム |
| JP3764877B2 (ja) * | 2002-10-16 | 2006-04-12 | 株式会社日立製作所 | レーダ装置 |
| JP2004325160A (ja) | 2003-04-23 | 2004-11-18 | Hitachi Ltd | 車載用レーダ |
| JP2005109687A (ja) | 2003-09-29 | 2005-04-21 | Mitsumi Electric Co Ltd | アンテナ装置 |
| JP5603636B2 (ja) * | 2010-04-09 | 2014-10-08 | 古野電気株式会社 | レドーム、アンテナ装置、およびレーダ装置 |
-
2012
- 2012-07-13 JP JP2012157998A patent/JP6171277B2/ja active Active
-
2013
- 2013-07-04 CN CN201380037379.7A patent/CN104487862B/zh active Active
- 2013-07-04 US US14/414,359 patent/US9780443B2/en active Active
- 2013-07-04 WO PCT/JP2013/068344 patent/WO2014010502A1/ja not_active Ceased
Patent Citations (5)
| Publication number | Priority date | Publication date | Assignee | Title |
|---|---|---|---|---|
| JP2001044750A (ja) * | 1998-12-28 | 2001-02-16 | Tokai Rubber Ind Ltd | 透明電波吸収体 |
| JP2005249659A (ja) * | 2004-03-05 | 2005-09-15 | Mitsubishi Electric Corp | レーダ装置用送受信アンテナ |
| JP2007013311A (ja) * | 2005-06-28 | 2007-01-18 | Murata Mfg Co Ltd | アンテナモジュールおよび無線装置 |
| JP2010210297A (ja) * | 2009-03-09 | 2010-09-24 | Furukawa Electric Co Ltd:The | 広覆域レーダ装置 |
| JP2012093305A (ja) * | 2010-10-28 | 2012-05-17 | Denso Corp | レーダ装置、レドーム |
Also Published As
| Publication number | Publication date |
|---|---|
| CN104487862A (zh) | 2015-04-01 |
| CN104487862B (zh) | 2017-09-19 |
| JP6171277B2 (ja) | 2017-08-02 |
| JP2014020846A (ja) | 2014-02-03 |
| US20150207217A1 (en) | 2015-07-23 |
| US9780443B2 (en) | 2017-10-03 |
Similar Documents
| Publication | Publication Date | Title |
|---|---|---|
| JP6171277B2 (ja) | レーダ装置 | |
| JP5953969B2 (ja) | レーダ装置 | |
| JP5661423B2 (ja) | レーダ装置 | |
| CN110546815B (zh) | 天线装置 | |
| WO2017146163A1 (ja) | アンテナ装置 | |
| JP2019158592A (ja) | アンテナ装置 | |
| JP2024517921A (ja) | 自動車レーダアプリケーション用のアンテナ装置 | |
| JP2017211199A (ja) | レーダ装置 | |
| JP7313009B2 (ja) | レーダ装置 | |
| US20120123274A1 (en) | Ultrasonic transducer and method of manufacturing the same | |
| JP7132167B2 (ja) | レーダ装置及びレーダ装置用ブラケット | |
| JP6608775B2 (ja) | 車載用周波数選択板および車載レーダシステム | |
| JP6235424B2 (ja) | アンテナ装置 | |
| JP6704169B2 (ja) | 誘電体基板及びアンテナ装置 | |
| US12300881B2 (en) | Radar device | |
| JP2007235287A (ja) | 車載用電波レーダ装置 | |
| JP5041416B2 (ja) | アンテナ装置 | |
| US20240069155A1 (en) | Radar apparatus | |
| JP6198216B1 (ja) | リフレクトアレーアンテナ | |
| WO2018198970A1 (ja) | アンテナ装置 | |
| JP2007104199A (ja) | 電磁波透過性部品及び、物体検知システム | |
| JP7567506B2 (ja) | 電波吸収体および電波吸収体の形成方法 | |
| JP5952718B2 (ja) | アンテナ装置、その反射板 | |
| JP2017229231A (ja) | 電磁波漏洩防止装置および無線電力伝送システム | |
| US20210092511A1 (en) | Speaker |
Legal Events
| Date | Code | Title | Description |
|---|---|---|---|
| 121 | Ep: the epo has been informed by wipo that ep was designated in this application |
Ref document number: 13817616 Country of ref document: EP Kind code of ref document: A1 |
|
| WWE | Wipo information: entry into national phase |
Ref document number: 14414359 Country of ref document: US |
|
| NENP | Non-entry into the national phase |
Ref country code: DE |
|
| 122 | Ep: pct application non-entry in european phase |
Ref document number: 13817616 Country of ref document: EP Kind code of ref document: A1 |