WO2010013646A1 - エピタキシャルウェーハの製造方法及びそれに用いられるウェーハの保持具 - Google Patents

エピタキシャルウェーハの製造方法及びそれに用いられるウェーハの保持具 Download PDF

Info

Publication number
WO2010013646A1
WO2010013646A1 PCT/JP2009/063243 JP2009063243W WO2010013646A1 WO 2010013646 A1 WO2010013646 A1 WO 2010013646A1 JP 2009063243 W JP2009063243 W JP 2009063243W WO 2010013646 A1 WO2010013646 A1 WO 2010013646A1
Authority
WO
WIPO (PCT)
Prior art keywords
wafer
lift pin
bottom wall
lift
susceptor
Prior art date
Legal status (The legal status is an assumption and is not a legal conclusion. Google has not performed a legal analysis and makes no representation as to the accuracy of the status listed.)
Ceased
Application number
PCT/JP2009/063243
Other languages
English (en)
French (fr)
Japanese (ja)
Inventor
雅哉 櫻井
昌幸 石橋
Current Assignee (The listed assignees may be inaccurate. Google has not performed a legal analysis and makes no representation or warranty as to the accuracy of the list.)
Sumco Corp
Original Assignee
Sumco Corp
Priority date (The priority date is an assumption and is not a legal conclusion. Google has not performed a legal analysis and makes no representation as to the accuracy of the date listed.)
Filing date
Publication date
Application filed by Sumco Corp filed Critical Sumco Corp
Priority to US13/003,440 priority Critical patent/US8980001B2/en
Priority to DE112009001826.2T priority patent/DE112009001826B4/de
Publication of WO2010013646A1 publication Critical patent/WO2010013646A1/ja
Anticipated expiration legal-status Critical
Ceased legal-status Critical Current

Links

Images

Classifications

    • HELECTRICITY
    • H01ELECTRIC ELEMENTS
    • H01LSEMICONDUCTOR DEVICES NOT COVERED BY CLASS H10
    • H01L21/00Processes or apparatus adapted for the manufacture or treatment of semiconductor or solid state devices or of parts thereof
    • H01L21/67Apparatus specially adapted for handling semiconductor or electric solid state devices during manufacture or treatment thereof; Apparatus specially adapted for handling wafers during manufacture or treatment of semiconductor or electric solid state devices or components ; Apparatus not specifically provided for elsewhere
    • H01L21/683Apparatus specially adapted for handling semiconductor or electric solid state devices during manufacture or treatment thereof; Apparatus specially adapted for handling wafers during manufacture or treatment of semiconductor or electric solid state devices or components ; Apparatus not specifically provided for elsewhere for supporting or gripping
    • H01L21/687Apparatus specially adapted for handling semiconductor or electric solid state devices during manufacture or treatment thereof; Apparatus specially adapted for handling wafers during manufacture or treatment of semiconductor or electric solid state devices or components ; Apparatus not specifically provided for elsewhere for supporting or gripping using mechanical means, e.g. chucks, clamps or pinches
    • H01L21/68714Apparatus specially adapted for handling semiconductor or electric solid state devices during manufacture or treatment thereof; Apparatus specially adapted for handling wafers during manufacture or treatment of semiconductor or electric solid state devices or components ; Apparatus not specifically provided for elsewhere for supporting or gripping using mechanical means, e.g. chucks, clamps or pinches the wafers being placed on a susceptor, stage or support
    • H01L21/68742Apparatus specially adapted for handling semiconductor or electric solid state devices during manufacture or treatment thereof; Apparatus specially adapted for handling wafers during manufacture or treatment of semiconductor or electric solid state devices or components ; Apparatus not specifically provided for elsewhere for supporting or gripping using mechanical means, e.g. chucks, clamps or pinches the wafers being placed on a susceptor, stage or support characterised by a lifting arrangement, e.g. lift pins
    • CCHEMISTRY; METALLURGY
    • C23COATING METALLIC MATERIAL; COATING MATERIAL WITH METALLIC MATERIAL; CHEMICAL SURFACE TREATMENT; DIFFUSION TREATMENT OF METALLIC MATERIAL; COATING BY VACUUM EVAPORATION, BY SPUTTERING, BY ION IMPLANTATION OR BY CHEMICAL VAPOUR DEPOSITION, IN GENERAL; INHIBITING CORROSION OF METALLIC MATERIAL OR INCRUSTATION IN GENERAL
    • C23CCOATING METALLIC MATERIAL; COATING MATERIAL WITH METALLIC MATERIAL; SURFACE TREATMENT OF METALLIC MATERIAL BY DIFFUSION INTO THE SURFACE, BY CHEMICAL CONVERSION OR SUBSTITUTION; COATING BY VACUUM EVAPORATION, BY SPUTTERING, BY ION IMPLANTATION OR BY CHEMICAL VAPOUR DEPOSITION, IN GENERAL
    • C23C16/00Chemical coating by decomposition of gaseous compounds, without leaving reaction products of surface material in the coating, i.e. chemical vapour deposition [CVD] processes
    • C23C16/22Chemical coating by decomposition of gaseous compounds, without leaving reaction products of surface material in the coating, i.e. chemical vapour deposition [CVD] processes characterised by the deposition of inorganic material, other than metallic material
    • C23C16/24Deposition of silicon only
    • CCHEMISTRY; METALLURGY
    • C23COATING METALLIC MATERIAL; COATING MATERIAL WITH METALLIC MATERIAL; CHEMICAL SURFACE TREATMENT; DIFFUSION TREATMENT OF METALLIC MATERIAL; COATING BY VACUUM EVAPORATION, BY SPUTTERING, BY ION IMPLANTATION OR BY CHEMICAL VAPOUR DEPOSITION, IN GENERAL; INHIBITING CORROSION OF METALLIC MATERIAL OR INCRUSTATION IN GENERAL
    • C23CCOATING METALLIC MATERIAL; COATING MATERIAL WITH METALLIC MATERIAL; SURFACE TREATMENT OF METALLIC MATERIAL BY DIFFUSION INTO THE SURFACE, BY CHEMICAL CONVERSION OR SUBSTITUTION; COATING BY VACUUM EVAPORATION, BY SPUTTERING, BY ION IMPLANTATION OR BY CHEMICAL VAPOUR DEPOSITION, IN GENERAL
    • C23C16/00Chemical coating by decomposition of gaseous compounds, without leaving reaction products of surface material in the coating, i.e. chemical vapour deposition [CVD] processes
    • C23C16/44Chemical coating by decomposition of gaseous compounds, without leaving reaction products of surface material in the coating, i.e. chemical vapour deposition [CVD] processes characterised by the method of coating
    • C23C16/458Chemical coating by decomposition of gaseous compounds, without leaving reaction products of surface material in the coating, i.e. chemical vapour deposition [CVD] processes characterised by the method of coating characterised by the method used for supporting substrates in the reaction chamber
    • C23C16/4582Rigid and flat substrates, e.g. plates or discs
    • C23C16/4583Rigid and flat substrates, e.g. plates or discs the substrate being supported substantially horizontally
    • C23C16/4586Elements in the interior of the support, e.g. electrodes, heating or cooling devices
    • CCHEMISTRY; METALLURGY
    • C23COATING METALLIC MATERIAL; COATING MATERIAL WITH METALLIC MATERIAL; CHEMICAL SURFACE TREATMENT; DIFFUSION TREATMENT OF METALLIC MATERIAL; COATING BY VACUUM EVAPORATION, BY SPUTTERING, BY ION IMPLANTATION OR BY CHEMICAL VAPOUR DEPOSITION, IN GENERAL; INHIBITING CORROSION OF METALLIC MATERIAL OR INCRUSTATION IN GENERAL
    • C23CCOATING METALLIC MATERIAL; COATING MATERIAL WITH METALLIC MATERIAL; SURFACE TREATMENT OF METALLIC MATERIAL BY DIFFUSION INTO THE SURFACE, BY CHEMICAL CONVERSION OR SUBSTITUTION; COATING BY VACUUM EVAPORATION, BY SPUTTERING, BY ION IMPLANTATION OR BY CHEMICAL VAPOUR DEPOSITION, IN GENERAL
    • C23C16/00Chemical coating by decomposition of gaseous compounds, without leaving reaction products of surface material in the coating, i.e. chemical vapour deposition [CVD] processes
    • C23C16/44Chemical coating by decomposition of gaseous compounds, without leaving reaction products of surface material in the coating, i.e. chemical vapour deposition [CVD] processes characterised by the method of coating
    • C23C16/46Chemical coating by decomposition of gaseous compounds, without leaving reaction products of surface material in the coating, i.e. chemical vapour deposition [CVD] processes characterised by the method of coating characterised by the method used for heating the substrate
    • CCHEMISTRY; METALLURGY
    • C30CRYSTAL GROWTH
    • C30BSINGLE-CRYSTAL GROWTH; UNIDIRECTIONAL SOLIDIFICATION OF EUTECTIC MATERIAL OR UNIDIRECTIONAL DEMIXING OF EUTECTOID MATERIAL; REFINING BY ZONE-MELTING OF MATERIAL; PRODUCTION OF A HOMOGENEOUS POLYCRYSTALLINE MATERIAL WITH DEFINED STRUCTURE; SINGLE CRYSTALS OR HOMOGENEOUS POLYCRYSTALLINE MATERIAL WITH DEFINED STRUCTURE; AFTER-TREATMENT OF SINGLE CRYSTALS OR A HOMOGENEOUS POLYCRYSTALLINE MATERIAL WITH DEFINED STRUCTURE; APPARATUS THEREFOR
    • C30B25/00Single-crystal growth by chemical reaction of reactive gases, e.g. chemical vapour-deposition growth
    • C30B25/02Epitaxial-layer growth
    • C30B25/12Substrate holders or susceptors
    • CCHEMISTRY; METALLURGY
    • C30CRYSTAL GROWTH
    • C30BSINGLE-CRYSTAL GROWTH; UNIDIRECTIONAL SOLIDIFICATION OF EUTECTIC MATERIAL OR UNIDIRECTIONAL DEMIXING OF EUTECTOID MATERIAL; REFINING BY ZONE-MELTING OF MATERIAL; PRODUCTION OF A HOMOGENEOUS POLYCRYSTALLINE MATERIAL WITH DEFINED STRUCTURE; SINGLE CRYSTALS OR HOMOGENEOUS POLYCRYSTALLINE MATERIAL WITH DEFINED STRUCTURE; AFTER-TREATMENT OF SINGLE CRYSTALS OR A HOMOGENEOUS POLYCRYSTALLINE MATERIAL WITH DEFINED STRUCTURE; APPARATUS THEREFOR
    • C30B29/00Single crystals or homogeneous polycrystalline material with defined structure characterised by the material or by their shape
    • C30B29/02Elements
    • C30B29/06Silicon
    • HELECTRICITY
    • H01ELECTRIC ELEMENTS
    • H01LSEMICONDUCTOR DEVICES NOT COVERED BY CLASS H10
    • H01L21/00Processes or apparatus adapted for the manufacture or treatment of semiconductor or solid state devices or of parts thereof
    • H01L21/67Apparatus specially adapted for handling semiconductor or electric solid state devices during manufacture or treatment thereof; Apparatus specially adapted for handling wafers during manufacture or treatment of semiconductor or electric solid state devices or components ; Apparatus not specifically provided for elsewhere
    • H01L21/67005Apparatus not specifically provided for elsewhere
    • H01L21/67011Apparatus for manufacture or treatment
    • H01L21/67098Apparatus for thermal treatment
    • H01L21/67115Apparatus for thermal treatment mainly by radiation
    • YGENERAL TAGGING OF NEW TECHNOLOGICAL DEVELOPMENTS; GENERAL TAGGING OF CROSS-SECTIONAL TECHNOLOGIES SPANNING OVER SEVERAL SECTIONS OF THE IPC; TECHNICAL SUBJECTS COVERED BY FORMER USPC CROSS-REFERENCE ART COLLECTIONS [XRACs] AND DIGESTS
    • Y10TECHNICAL SUBJECTS COVERED BY FORMER USPC
    • Y10TTECHNICAL SUBJECTS COVERED BY FORMER US CLASSIFICATION
    • Y10T117/00Single-crystal, oriented-crystal, and epitaxy growth processes; non-coating apparatus therefor
    • Y10T117/10Apparatus
    • YGENERAL TAGGING OF NEW TECHNOLOGICAL DEVELOPMENTS; GENERAL TAGGING OF CROSS-SECTIONAL TECHNOLOGIES SPANNING OVER SEVERAL SECTIONS OF THE IPC; TECHNICAL SUBJECTS COVERED BY FORMER USPC CROSS-REFERENCE ART COLLECTIONS [XRACs] AND DIGESTS
    • Y10TECHNICAL SUBJECTS COVERED BY FORMER USPC
    • Y10TTECHNICAL SUBJECTS COVERED BY FORMER US CLASSIFICATION
    • Y10T117/00Single-crystal, oriented-crystal, and epitaxy growth processes; non-coating apparatus therefor
    • Y10T117/10Apparatus
    • Y10T117/1016Apparatus with means for treating single-crystal [e.g., heat treating]

Definitions

  • the present invention relates to a method of manufacturing an epitaxial wafer by forming an epitaxial layer on the surface of a semiconductor wafer such as a silicon wafer mounted on a susceptor in a reaction vessel while rotating the wafer, and an epitaxial layer formed on the wafer.
  • the present invention relates to a holder for holding a wafer.
  • a part of lift pins are arranged on the lower side of the susceptor on which the wafer is placed in the epitaxial layer forming chamber, and the lift pins are inserted into through holes provided in the susceptor to lift the wafer after the epitaxial layer is formed
  • An epitaxial wafer manufacturing apparatus configured to suppress heat transfer during the formation of an epitaxial layer between a wafer upper surface side and a susceptor lower surface side that transfers heat to the lift pin arrangement region via the lift pins is disclosed by a heat transfer suppressing means.
  • a heat transfer suppressing means for example, refer to Patent Document 1.
  • the head portion of the lift pin is accommodated in the through hole of the susceptor, and the leg portion protrudes below the susceptor.
  • the heat transfer suppressing means is constituted by a material having a thermal conductivity of less than 128 W / m ⁇ K, which is lower than the thermal conductivity of the susceptor.
  • the through hole for inserting the lift pin formed in the susceptor is tapered at least on the upper surface side so that the hole cross-sectional area becomes narrower from the upper surface side to the lower surface side, and the head portion of the lift pin substantially covers the upper surface of the susceptor. It is formed in a dish shape that matches the upper surface and fits in the through hole without any gap. Infrared lamps are disposed above and below the epitaxial layer forming chamber, and the wafers placed on the susceptor are heated from both the upper and lower sides by these lamps.
  • the heat transfer suppressing means suppresses the heat transfer from the wafer upper surface side to the lower surface side of the susceptor through the lift pins during the formation of the epitaxial layer.
  • the temperature can be prevented from lowering than other regions by the heat transfer suppression means. As a result, it is possible to suppress a decrease in the drop of the epitaxial layer due to the temperature drop.
  • JP 2000-323556 A (Claims 1 to 3, paragraphs [0011] and paragraph [0025])
  • the lift pins are formed in a dish shape so that the lift pins fit into the through holes without gaps, and the upper surface of the head portion of the lift pins is made to coincide with the upper surface of the susceptor.
  • a difference in thermal conductivity due to the difference in shape and material between the susceptor and the lift pin still occurs, and heat release from the upper part to the lower part of the lift pin still occurs. Therefore, when the output ratio of the upper lamp and the lower lamp is changed, there is a problem that unevenness occurs in the film thickness of the epitaxial layer at a position facing the lift pin.
  • the output of the lower lamp is made larger than the output of the upper lamp in order to uniformly heat the upper and lower surfaces of the wafer.
  • the temperature of the back surface of the wafer is lower than the temperature of the susceptor, and silicon is deposited on the back surface of the wafer. Therefore, when the output of the lower lamp is lowered, the film thickness of the epitaxial layer at the position facing the lift pins as described above. There was a problem that unevenness occurred.
  • An object of the present invention is to provide an epitaxial wafer manufacturing method in which even if the output ratio of the upper lamp and the lower lamp is varied, unevenness is not generated in the epitaxial layer at a position facing the lift pins, and silicon is not deposited on the back surface of the wafer. And providing a holder for the wafer used therefor.
  • a susceptor having a concave portion and a ring-shaped step portion formed in the concave portion and having a plurality of through holes formed in a bottom wall of the concave portion excluding the step portion is provided as a reaction vessel.
  • an epitaxial wafer manufacturing method for forming an epitaxial layer on the surface of a wafer accommodated in a recess when the epitaxial layer is formed on the wafer surface, the lift pins protrude above the bottom wall top surface, and the lift pins are based on the bottom wall top surface.
  • the height h of the top of the head is set in a range from a position exceeding 0 mm to immediately before contacting the lift pin wafer.
  • the second aspect of the present invention is an invention based on the first aspect, wherein the distance H between the extended surface of the upper surface of the stepped portion of the susceptor and the extended surface of the upper surface of the bottom wall at the lift pin position in the concave portion of the susceptor is It is 0.1 to 1 mm.
  • a third aspect of the present invention is an invention based on the first aspect, wherein when the epitaxial layer is further formed on the wafer surface, the lift pin protrudes upward from the bottom wall upper surface, and the lift pin is based on the bottom wall upper surface.
  • the height h of the top of the head is set to a range of 0.05 mm or more and immediately before contacting the lift pin wafer.
  • a fourth aspect of the present invention is an invention based on the first to third aspects, wherein the susceptor is further formed of carbon covered with a SiC film, and the lift pins are made of SiC, glassy carbon, or quartz. It is formed.
  • a recess and a ring-shaped step formed in the recess have a plurality of through holes formed in the bottom wall of the recess excluding the step and are disposed in the reaction vessel. Susceptors and lift pins that are inserted through the through holes and temporarily hold the wafer, and after the wafer is temporarily held by the lift pins, the lower surface of the outer periphery of the wafer is placed on the stepped portion so that the wafer is accommodated in the recess.
  • the lift pins are The range from the position where the height h of the top portion of the lift pin, which protrudes upward and the top surface of the bottom wall as a reference, exceeds 0 mm to immediately before contacting the lift pin wafer. Characterized in that it is set to.
  • a sixth aspect of the present invention is an invention based on the fifth aspect, and further, the distance H between the extended surface of the upper surface of the stepped portion of the susceptor and the extended surface of the upper surface of the bottom wall at the lift pin position in the concave portion of the susceptor is It is 0.1 to 1 mm.
  • a seventh aspect of the present invention is the invention based on the fifth aspect, wherein when the epitaxial layer is further formed on the wafer surface, the lift pins protrude above the upper surface of the bottom wall and are based on the upper surface of the bottom wall.
  • the height h of the top portion of the lift pin is set to 0.05 mm or more and the range immediately before contacting the lift pin wafer.
  • An eighth aspect of the present invention is an invention based on the fifth to seventh aspects, wherein the susceptor is formed of carbon covered with a SiC film, and the lift pins are made of SiC, glassy carbon, or quartz. It is formed.
  • the epitaxial layer at a position facing the lift pins even if the output of the upper lamp and the lower lamp is set so that the temperatures of the wafer and the susceptor are equal. Asperities are not generated on the wafer, and silicon is not deposited on the back surface of the wafer.
  • the planarization of the epitaxial layer is maintained and the wafer back surface is maintained. Since silicon deposition can be suppressed, the quality of the epitaxial wafer can be improved.
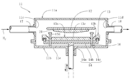
  • the single wafer epitaxial wafer manufacturing apparatus includes a reaction vessel 11.
  • the reaction vessel 11 has a substantially upper bowl-shaped upper dome 11a and a substantially bowl-shaped lower dome 11b, and a space is formed inside by bringing these domes 11a and 11b into close contact with each other.
  • the space inside the reaction vessel 11 is provided with a susceptor 13 that supports a single silicon wafer 12 for growing an epitaxial layer (not shown) on the surface (upper surface).
  • the susceptor 13 is rotated by a rotating shaft 14. Held possible.
  • the susceptor 13 is formed in a relatively thick disk shape.
  • the susceptor 13 is formed with a recess 13a for accommodating the silicon wafer 12, and a ring-shaped step 13b on which the outer periphery of the silicon wafer 12 is placed is formed in the recess 13a.
  • the rotary shaft 14 is rotatably inserted in the center of the lower dome 11b, and the upper surface of the rotary shaft portion 14a is concentrically provided integrally with the shaft portion 14a. And a disk-shaped receiving portion 14b for receiving the lower surface.
  • the outer diameter of the receiving portion 14 b is formed slightly smaller than the outer diameter of the susceptor 13.
  • the bottom wall 13c excluding the ring-shaped step portion 13b in the recess 13a of the susceptor 13 has a plurality of through holes on the same circumference centered on the axis of the rotation shaft portion 14a and at equal intervals in the circumferential direction. 13d is formed.
  • a through hole 14 c is formed at a position facing the through hole 13 d of the receiving portion 14 b of the rotating shaft 14.
  • the lift pin 16 is inserted into the through hole 13d and the through hole 14c.
  • the lift pin 16 is provided integrally with the lift shaft portion 16a via the lift taper portion 16b on the upper surface of the lift shaft portion 16a and the lift shaft portion 16a, and has a larger diameter than the lift shaft portion 16a.
  • a head portion 16c The upper surface of the lift head 16c, that is, the top 16d is formed in a spherical shape.
  • the through hole 13d of the susceptor 13 has a small diameter hole portion 13e formed slightly larger in diameter than the lift shaft portion 16a of the lift pin 16, and the same taper as the lift taper portion 16b, and accommodates the lift taper portion 16b.
  • the susceptor 13 is made of carbon covered with a SiC film, and the lift pins 16 are made of SiC, glassy carbon (glassy carbon), or quartz.
  • the distance H between the extended surface of the upper surface of the stepped portion 13b of the susceptor 13 and the extended surface of the upper surface of the bottom wall 13c at the position of the lift pin 16 in the recess 13a of the susceptor 13 is 0.1 to 1 mm, preferably 0.2 to 0.
  • the range is set to 8 mm.
  • the distance H between the extended surface of the upper surface of the stepped portion 13b of the susceptor 13 and the extended surface of the upper surface of the bottom wall 13c at the position of the lift pin 16 in the recess 13a of the susceptor 13 is limited to the range of 0.1 to 1 mm. If it is less than 0.1 mm, there is a problem of contact with the lift pins 16 due to warpage of the wafer 12, and if it exceeds 1 mm, there is a problem that slip occurs.
  • a gas supply port 11c and a gas discharge port 11d are disposed on the outer peripheral surface of the upper dome 11a.
  • One end of a gas introduction pipe 17 for supplying a source gas and a carrier gas is connected to the gas supply port 11c, and one end of a gas discharge pipe 18 is connected to the gas discharge port 11d.
  • the gas introduction pipe 17 and the gas discharge pipe 18 are formed of a hydrochloric acid resistant alloy such as Hastelloy.
  • an upper lamp (not shown) is provided above the upper dome 11a, and a lower lamp (not shown) is provided below the lower dome 11b. These lamps are formed by halogen lamps, incandescent lamps, arc lamps, graphite heaters or the like.
  • the reaction vessel 11 is configured such that the source gas is introduced together with the carrier gas.
  • the source gas examples include SiH 2 Cl 2 , SiHCl 3 , SiH 4, and SiCl 4
  • examples of the carrier gas mainly include H 2 .
  • the source gas introduced from the gas introduction pipe 17 and the gas supply port 11c flows through the space between the upper dome 11a and the silicon wafer 12, and after forming an epitaxial layer made of a silicon single crystal thin film on the surface of the silicon wafer 12, The gas is discharged through the gas discharge port 11d and the gas discharge pipe 18.
  • the lift pin 16 protrudes upward from the upper surface of the bottom wall 13c, and the height h of the top 16d of the lift pin 16 with respect to the upper surface of the bottom wall 13c is from a position exceeding 0 mm.
  • the height h of the top 16d of the lift pin 16 is limited to a range from a position exceeding 0 mm to immediately before contacting the silicon wafer 12 of the lift pin 16 when the length of the lift pin 16 is 0 mm or less.
  • the thickness of the bottom wall 13c is larger than the thickness of the bottom wall 13c, the temperature of the portion of the lift pin 16 decreases due to heat conduction, and when the lift pin 16 comes into contact with the silicon wafer 12, damage to the back surface of the wafer and generation of heat radiation from the lift pin 16 in contact with the wafer. Because there is.
  • the rotating shaft 14 is lowered relative to the reaction vessel 11 (FIG. 2).
  • the lower end of the lift pin 16 comes into contact with the upper surface of the lower wall 13c of the lower dome 11b, and the top 16d of the lift pin 16 projects upward from the upper surface of the susceptor 13.
  • the transfer blade 19 on which the silicon wafer 12 is placed is inserted into the reaction vessel 11, the silicon wafer 12 is placed on the lift pins 16, and the silicon wafer 12 is temporarily held by the lift pins 16 (FIG. 3).
  • the rotating shaft 14 is raised relative to the reaction vessel 11.
  • the lower end of the lift pin 16 is separated from the upper surface of the lower wall 11e of the lower dome 11b, and the lift head portion 16c of the lift pin 16 is accommodated in the large-diameter hole portion 13g of the through hole 13d (FIG. 1).
  • the lift taper portion 16b of the lift pin 16 contacts the taper hole portion 13f of the through hole 13d, and contacts the silicon wafer 12 of the lift pin 16 from a position where the height h of the top 16d of the lift pin 16 exceeds 0 mm. It becomes the range until just before.
  • the lower surface of the outer peripheral portion of the silicon wafer 12 is placed on the upper surface of the stepped portion 13b, and the silicon wafer 12 is accommodated in the concave portion 13a.
  • the raw material gas is introduced into the reaction vessel 11 together with the carrier gas through the gas introduction pipe 17 and the gas supply port 11c.
  • the upper lamp and the lower lamp are turned on, and a carrier gas is allowed to flow into the reaction vessel 11.
  • the source gas introduced together with the carrier gas reaches the surface of the silicon wafer 12, an epitaxial layer made of a silicon single crystal thin film is formed on the surface of the silicon wafer 12.
  • the rotating shaft 14 is lowered relative to the reaction vessel 11.
  • the lower end of the lift pin 16 comes into contact with the upper surface of the lower wall 11c of the lower dome 11b, and the top 16d of the lift pin 16 comes into contact with the lower surface of the silicon wafer 12 so that the lift pin 16 pushes up the silicon wafer 12 (FIG. 3).
  • the transfer blade 19 is inserted between the silicon wafer 12 and the susceptor 13
  • the blade 19 is raised to place the silicon wafer 12 on the blade 19 (FIG. 2).
  • the silicon wafer 12 on which the epitaxial layer is formed can be taken out from the reaction vessel 11.
  • a silicon wafer is used as the semiconductor wafer, but a GaAs wafer, InP wafer, ZnS wafer, or ZnSe wafer may be used.
  • Example 1 A lamp heating horizontal single-wafer epitaxial growth apparatus (manufactured by AMAT) was prepared. First, the ratio (Wa: Wb) between the output Wa of the upper lamp and the output Wb of the lower lamp of this apparatus was set to 50:50, and a carrier gas (H 2 ) was allowed to flow. In this state, the rotating shaft 14 was lowered relative to the reaction vessel 11 (FIG. 2). As a result, the lower end of the lift pin 16 abuts on the upper surface of the lower wall 13c of the lower dome 11b, and the top 16d of the lift pin 16 protrudes upward from the upper surface of the susceptor 13.
  • the lift taper portion 16b of the lift pin 16 was in contact with the taper hole portion 13f of the through hole 13d, and the height h of the top 16d of the lift pin 16 was +0.05 mm. That is, the lift pin 16 protrudes upward by 0.05 mm from the upper surface of the bottom wall 13c. Further, the lower surface of the outer peripheral portion of the silicon wafer 12 was placed on the upper surface of the stepped portion 13b, and the silicon wafer 12 was accommodated in the concave portion 13a. In this state, while maintaining the output ratio Wa: Wb of the upper lamp and the lower lamp at 50:50, the silicon wafer 12 is heated with these lamps, and the gas is introduced into the reaction vessel 11 through the gas introduction pipe 17 and the gas supply port 11c.
  • a source gas (SiHCl 3 ) was introduced together with a carrier gas (H 2 ), and an epitaxial layer made of a single crystal silicon thin film having a thickness of 3 ⁇ m was formed on the surface of the silicon wafer 12 to produce an epitaxial wafer.
  • the distance H between the extended surface of the upper surface of the stepped portion 13b of the susceptor 13 and the extended surface of the upper surface of the bottom wall 13c at the position of the lift pin 16 in the concave portion 13a of the susceptor 13 is 0.3 mm.
  • the temperature measured by a thermometer was 1100 ° C.
  • Example 2 An epitaxial wafer was produced in the same manner as in Example 1 except that the ratio (Wa: Wb) of the upper lamp output Wa to the lower lamp output Wb was set to 55:45.
  • Example 3 The height h of the top of the lift pin when the lift head of the lift pin was accommodated in the large-diameter hole of the through hole was +0.12 mm (the lift pin protruded upward by 0.12 mm from the top of the bottom wall) Except for this, an epitaxial wafer was produced in the same manner as in Example 1.
  • Example 4 The head of the lift pin when the ratio of the output Wa of the upper lamp to the output Wb of the lower lamp (Wa: Wb) is set to 55:45 and the lift head of the lift pin is accommodated in the large-diameter hole of the through hole
  • An epitaxial wafer was manufactured in the same manner as in Example 1 except that the height h of the top was +0.12 mm (the lift pins protruded upward by 0.12 mm from the upper surface of the bottom wall).
  • ⁇ Comparative example 4> Lift pin head when the ratio of the upper lamp output Wa to the lower lamp output Wb (Wa: Wb) is set to 46:54, and the lift head of the lift pin is accommodated in the large-diameter hole of the through hole.
  • An epitaxial wafer was manufactured in the same manner as in Example 1 except that the height h of the top was +0.12 mm (the lift pins protruded upward by 0.12 mm from the upper surface of the bottom wall).
  • Epitaxial wafer was prepared in the same manner as in Example 1 except that the height h of the top was ⁇ 0.7 mm (the top of the lift pin was pulled into the through hole by 0.7 mm from the top of the bottom wall). did.
  • the backside deposition refers to a phenomenon in which the silicon film covering the susceptor surface is peeled off by the hydrochloric acid component in the source gas (SiHCl 3 ) and attached to the back side on the high temperature side of the silicon wafer. This backside deposition was judged by the difference between the thickness of the silicon wafer before forming the epitaxial layer and the thickness of the epitaxial wafer after forming the epitaxial layer.
  • Ref is backside deposition when the ratio (Wa: Wb) of the upper lamp output Wa to the lower lamp output Wb is set to 42:58, ie, Comparative Example 1. 3, 5, 7, and 11 are used as reference values.
  • B indicates that the backside deposition was reduced by less than 20% from the reference value
  • A indicates that the backside deposition was 20% or more and less than 40% from the reference value.
  • AA indicates that the rear surface deposition is extremely greatly reduced to 40% or more and less than 65% from the reference value.
  • nanotopography is an index representing the flatness of the epitaxial layer surface of an epitaxial wafer.
  • This nanotopography was measured with a nanomapper (manufactured by ADE).
  • A indicates that the unevenness was as small as less than 5 nm
  • B indicates that the unevenness was more than 5 nm and less than 10 nm
  • BB indicates the unevenness. Is very large at 10 nm or more.
  • the present invention can be used to form an epitaxial layer on the surface of a semiconductor wafer such as a silicon wafer placed on a susceptor in a reaction vessel while holding it with a holder and rotating it.
  • a semiconductor wafer such as a silicon wafer placed on a susceptor in a reaction vessel while holding it with a holder and rotating it.

Landscapes

  • Chemical & Material Sciences (AREA)
  • Engineering & Computer Science (AREA)
  • Materials Engineering (AREA)
  • Metallurgy (AREA)
  • Organic Chemistry (AREA)
  • General Chemical & Material Sciences (AREA)
  • Chemical Kinetics & Catalysis (AREA)
  • Mechanical Engineering (AREA)
  • Crystallography & Structural Chemistry (AREA)
  • Physics & Mathematics (AREA)
  • General Physics & Mathematics (AREA)
  • Manufacturing & Machinery (AREA)
  • Computer Hardware Design (AREA)
  • Microelectronics & Electronic Packaging (AREA)
  • Power Engineering (AREA)
  • Condensed Matter Physics & Semiconductors (AREA)
  • Inorganic Chemistry (AREA)
  • Container, Conveyance, Adherence, Positioning, Of Wafer (AREA)
  • Chemical Vapour Deposition (AREA)
PCT/JP2009/063243 2008-07-31 2009-07-24 エピタキシャルウェーハの製造方法及びそれに用いられるウェーハの保持具 Ceased WO2010013646A1 (ja)

Priority Applications (2)

Application Number Priority Date Filing Date Title
US13/003,440 US8980001B2 (en) 2008-07-31 2009-07-24 Method for manufacturing epitaxial wafer and wafer holder used in the method
DE112009001826.2T DE112009001826B4 (de) 2008-07-31 2009-07-24 Herstellungsverfahren für einen epitaktischen Wafer und die dabei zum Halten des Wafer verwendete Haltevorrichtung

Applications Claiming Priority (2)

Application Number Priority Date Filing Date Title
JP2008-197723 2008-07-31
JP2008197723A JP5412759B2 (ja) 2008-07-31 2008-07-31 エピタキシャルウェーハの保持具及びそのウェーハの製造方法

Publications (1)

Publication Number Publication Date
WO2010013646A1 true WO2010013646A1 (ja) 2010-02-04

Family

ID=41610345

Family Applications (1)

Application Number Title Priority Date Filing Date
PCT/JP2009/063243 Ceased WO2010013646A1 (ja) 2008-07-31 2009-07-24 エピタキシャルウェーハの製造方法及びそれに用いられるウェーハの保持具

Country Status (4)

Country Link
US (1) US8980001B2 (enExample)
JP (1) JP5412759B2 (enExample)
DE (1) DE112009001826B4 (enExample)
WO (1) WO2010013646A1 (enExample)

Cited By (1)

* Cited by examiner, † Cited by third party
Publication number Priority date Publication date Assignee Title
WO2016098510A1 (ja) * 2014-12-19 2016-06-23 信越半導体株式会社 エピタキシャルウェーハの製造方法

Families Citing this family (25)

* Cited by examiner, † Cited by third party
Publication number Priority date Publication date Assignee Title
JP5698043B2 (ja) * 2010-08-04 2015-04-08 株式会社ニューフレアテクノロジー 半導体製造装置
CN102747418B (zh) * 2012-07-25 2015-12-16 东莞市天域半导体科技有限公司 一种高温大面积碳化硅外延生长装置及处理方法
JP6017328B2 (ja) * 2013-01-22 2016-10-26 東京エレクトロン株式会社 載置台及びプラズマ処理装置
JP5999511B2 (ja) * 2013-08-26 2016-09-28 信越半導体株式会社 気相エピタキシャル成長装置及びそれを用いたエピタキシャルウェーハの製造方法
KR101548903B1 (ko) * 2015-03-19 2015-09-04 (주)코미코 리프트 핀 및 이의 제조 방법
JP6424726B2 (ja) 2015-04-27 2018-11-21 株式会社Sumco サセプタ及びエピタキシャル成長装置
TWI615917B (zh) * 2015-04-27 2018-02-21 Sumco股份有限公司 承托器及磊晶生長裝置
JP6539929B2 (ja) * 2015-12-21 2019-07-10 昭和電工株式会社 ウェハ支持機構、化学気相成長装置およびエピタキシャルウェハの製造方法
JP6500792B2 (ja) * 2016-01-25 2019-04-17 株式会社Sumco エピタキシャルウェーハの品質評価方法および製造方法
CN108886014B (zh) * 2016-03-28 2023-08-08 应用材料公司 基座支撑件
TWI729101B (zh) * 2016-04-02 2021-06-01 美商應用材料股份有限公司 用於旋轉料架基座中的晶圓旋轉的設備及方法
JP2018026503A (ja) * 2016-08-12 2018-02-15 株式会社Sumco サセプタ、エピタキシャル成長装置、及びエピタキシャルウェーハの製造方法
US20180102247A1 (en) * 2016-10-06 2018-04-12 Asm Ip Holding B.V. Substrate processing apparatus and method of manufacturing semiconductor device
CN106607320B (zh) * 2016-12-22 2019-10-01 武汉华星光电技术有限公司 适用于柔性基板的热真空干燥装置
US11264265B2 (en) * 2017-02-02 2022-03-01 Sumco Corporation Lift pin, and epitaxial growth apparatus and method of producing silicon epitaxial wafer using the lift pin
US10755955B2 (en) * 2018-02-12 2020-08-25 Applied Materials, Inc. Substrate transfer mechanism to reduce back-side substrate contact
US11121019B2 (en) 2018-06-19 2021-09-14 Kla Corporation Slotted electrostatic chuck
KR102640172B1 (ko) 2019-07-03 2024-02-23 삼성전자주식회사 기판 처리 장치 및 이의 구동 방법
JP7192756B2 (ja) * 2019-12-19 2022-12-20 株式会社Sumco 気相成長装置及び気相成長方法
JP7519784B2 (ja) * 2020-02-19 2024-07-22 グローバルウェーハズ・ジャパン株式会社 シリコンウェーハの製造方法
FI130021B (en) 2021-05-10 2022-12-30 Picosun Oy Substrate processing apparatus and method
JP7734211B2 (ja) * 2021-05-12 2025-09-04 アプライド マテリアルズ インコーポレイテッド 低質量基板支持体
TWI779896B (zh) * 2021-10-22 2022-10-01 環球晶圓股份有限公司 晶圓治具、晶圓結構及晶圓的加工方法
US20240363390A1 (en) * 2023-04-26 2024-10-31 Applied Materials, Inc. Gas flow substrate supports, processing chambers, and related methods and apparatus, for semiconductor manufacturing
WO2025174527A1 (en) * 2024-02-14 2025-08-21 Applied Materials, Inc. Lift pin assembly for a susceptor of a processing chamber

Citations (6)

* Cited by examiner, † Cited by third party
Publication number Priority date Publication date Assignee Title
JP2000026192A (ja) * 1998-04-28 2000-01-25 Shin Etsu Handotai Co Ltd 薄膜成長装置
JP2000323556A (ja) * 1999-05-13 2000-11-24 Komatsu Electronic Metals Co Ltd エピタキシャルウェーハ製造装置
WO2005034219A1 (ja) * 2003-10-01 2005-04-14 Shin-Etsu Handotai Co., Ltd. シリコンエピタキシャルウェーハの製造方法、及びシリコンエピタキシャルウェーハ
JP2005311108A (ja) * 2004-04-22 2005-11-04 Shin Etsu Handotai Co Ltd 気相成長装置
JP2007235116A (ja) * 2006-01-31 2007-09-13 Tokyo Electron Ltd 基板載置台および基板処理装置
JP2007273623A (ja) * 2006-03-30 2007-10-18 Sumco Techxiv株式会社 エピタキシャルウェーハの製造方法及び製造装置

Family Cites Families (10)

* Cited by examiner, † Cited by third party
Publication number Priority date Publication date Assignee Title
US6596086B1 (en) * 1998-04-28 2003-07-22 Shin-Etsu Handotai Co., Ltd. Apparatus for thin film growth
JP2001313329A (ja) * 2000-04-28 2001-11-09 Applied Materials Inc 半導体製造装置におけるウェハ支持装置
AU2002305733A1 (en) * 2001-05-30 2002-12-09 Asm America, Inc Low temperature load and bake
US20030178145A1 (en) * 2002-03-25 2003-09-25 Applied Materials, Inc. Closed hole edge lift pin and susceptor for wafer process chambers
JP3908112B2 (ja) * 2002-07-29 2007-04-25 Sumco Techxiv株式会社 サセプタ、エピタキシャルウェーハ製造装置及びエピタキシャルウェーハ製造方法
US20070089836A1 (en) * 2005-10-24 2007-04-26 Applied Materials, Inc. Semiconductor process chamber
WO2007088894A1 (ja) * 2006-01-31 2007-08-09 Tokyo Electron Limited 基板処理装置、ならびにそれに用いられる基板載置台およびプラズマに曝される部材
TW200802552A (en) * 2006-03-30 2008-01-01 Sumco Techxiv Corp Method of manufacturing epitaxial silicon wafer and apparatus thereof
JP2010016312A (ja) * 2008-07-07 2010-01-21 Sumco Corp エピタキシャルウェーハの製造方法
JP5141541B2 (ja) * 2008-12-24 2013-02-13 株式会社Sumco エピタキシャルウェーハの製造方法

Patent Citations (6)

* Cited by examiner, † Cited by third party
Publication number Priority date Publication date Assignee Title
JP2000026192A (ja) * 1998-04-28 2000-01-25 Shin Etsu Handotai Co Ltd 薄膜成長装置
JP2000323556A (ja) * 1999-05-13 2000-11-24 Komatsu Electronic Metals Co Ltd エピタキシャルウェーハ製造装置
WO2005034219A1 (ja) * 2003-10-01 2005-04-14 Shin-Etsu Handotai Co., Ltd. シリコンエピタキシャルウェーハの製造方法、及びシリコンエピタキシャルウェーハ
JP2005311108A (ja) * 2004-04-22 2005-11-04 Shin Etsu Handotai Co Ltd 気相成長装置
JP2007235116A (ja) * 2006-01-31 2007-09-13 Tokyo Electron Ltd 基板載置台および基板処理装置
JP2007273623A (ja) * 2006-03-30 2007-10-18 Sumco Techxiv株式会社 エピタキシャルウェーハの製造方法及び製造装置

Cited By (4)

* Cited by examiner, † Cited by third party
Publication number Priority date Publication date Assignee Title
WO2016098510A1 (ja) * 2014-12-19 2016-06-23 信越半導体株式会社 エピタキシャルウェーハの製造方法
JP2016119380A (ja) * 2014-12-19 2016-06-30 信越半導体株式会社 エピタキシャルウェーハの製造方法
TWI629712B (zh) * 2014-12-19 2018-07-11 信越半導體股份有限公司 Method for manufacturing epitaxial wafer
US10119193B2 (en) 2014-12-19 2018-11-06 Shin-Etsu Handotai Co., Ltd. Method of manufacturing an epitaxial wafer comprising measuring a level difference between a front surface of a susceptor and an upper surface of a lift pin and adjusting a ratio of the heat source output

Also Published As

Publication number Publication date
US20110114014A1 (en) 2011-05-19
US8980001B2 (en) 2015-03-17
DE112009001826T5 (de) 2011-06-09
JP5412759B2 (ja) 2014-02-12
DE112009001826B4 (de) 2016-02-25
JP2010034476A (ja) 2010-02-12

Similar Documents

Publication Publication Date Title
JP5412759B2 (ja) エピタキシャルウェーハの保持具及びそのウェーハの製造方法
JP5092975B2 (ja) エピタキシャルウェーハの製造方法
JP4798163B2 (ja) エピタキシャル成長用サセプタ
CN102144280B (zh) 具有变化热阻的晶片载体
EP2037485B1 (en) Fabrication apparatus and fabrication method of semiconductor device produced by heating a substrate
TWI396250B (zh) 晶座、半導體製造裝置及半導體製造方法
US9708732B2 (en) Susceptor with groove provided on back surface and method for manufacturing epitaxial wafer using the same
JP5446760B2 (ja) エピタキシャル成長方法
JP3092801B2 (ja) 薄膜成長装置
KR20090027146A (ko) 서셉터, 반도체 제조 장치 및 반도체 제조 방법
WO2012066752A1 (ja) サセプタ及びエピタキシャルウェーハの製造方法
JP2017109900A (ja) エピタキシャル成長装置、エピタキシャル成長方法及び半導体素子の製造方法
JP5161748B2 (ja) 気相成長用サセプタ及び気相成長装置並びにエピタキシャルウェーハの製造方法
JP3594074B2 (ja) シリコンエピタキシャルウェーハおよびその製造方法
WO2019098033A1 (ja) サセプタ、エピタキシャルウェーハの製造方法
JP2002033284A (ja) 縦型cvd用ウェハホルダー
JP2005294508A (ja) サセプタ
JP2006041028A (ja) サセプタ、およびエピタキシャルウェーハの製造方法
TWI835249B (zh) 一種用於晶圓磊晶生長的晶圓支撐桿裝置、設備及方法
KR20110087440A (ko) 반도체 제조용 서셉터 및 이를 포함하는 반도체 제조 장치
JP2010034337A (ja) 気相成長装置用のサセプタ
JP7296914B2 (ja) サテライトおよび炭化珪素半導体装置の製造方法
KR20250127623A (ko) 서셉터 및 이를 포함하는 에피택셜층 성장 장치
KR20160024165A (ko) 웨이퍼 제조 장치
JP2010028034A (ja) 気相成長装置用のサセプタ、気相成長装置及びエピタキシャルウェーハの製造方法

Legal Events

Date Code Title Description
121 Ep: the epo has been informed by wipo that ep was designated in this application

Ref document number: 09802889

Country of ref document: EP

Kind code of ref document: A1

WWE Wipo information: entry into national phase

Ref document number: 13003440

Country of ref document: US

RET De translation (de og part 6b)

Ref document number: 112009001826

Country of ref document: DE

Date of ref document: 20110609

Kind code of ref document: P

122 Ep: pct application non-entry in european phase

Ref document number: 09802889

Country of ref document: EP

Kind code of ref document: A1