JP4635607B2 - 熱アシスト磁気記録ヘッド及び熱アシスト磁気記録装置 - Google Patents

熱アシスト磁気記録ヘッド及び熱アシスト磁気記録装置 Download PDF

Info

Publication number
JP4635607B2
JP4635607B2 JP2004380527A JP2004380527A JP4635607B2 JP 4635607 B2 JP4635607 B2 JP 4635607B2 JP 2004380527 A JP2004380527 A JP 2004380527A JP 2004380527 A JP2004380527 A JP 2004380527A JP 4635607 B2 JP4635607 B2 JP 4635607B2
Authority
JP
Japan
Prior art keywords
recording
magnetic
magnetic recording
magnetic pole
laser beam
Prior art date
Legal status (The legal status is an assumption and is not a legal conclusion. Google has not performed a legal analysis and makes no representation as to the accuracy of the status listed.)
Expired - Fee Related
Application number
JP2004380527A
Other languages
English (en)
Other versions
JP2006185548A (ja
Inventor
勇武 佐藤
太郎 大池
直樹 花島
Current Assignee (The listed assignees may be inaccurate. Google has not performed a legal analysis and makes no representation or warranty as to the accuracy of the list.)
TDK Corp
Original Assignee
TDK Corp
Priority date (The priority date is an assumption and is not a legal conclusion. Google has not performed a legal analysis and makes no representation as to the accuracy of the date listed.)
Filing date
Publication date
Application filed by TDK Corp filed Critical TDK Corp
Priority to JP2004380527A priority Critical patent/JP4635607B2/ja
Priority to US11/319,164 priority patent/US7538978B2/en
Publication of JP2006185548A publication Critical patent/JP2006185548A/ja
Application granted granted Critical
Publication of JP4635607B2 publication Critical patent/JP4635607B2/ja
Anticipated expiration legal-status Critical
Expired - Fee Related legal-status Critical Current

Links

Images

Classifications

    • GPHYSICS
    • G11INFORMATION STORAGE
    • G11BINFORMATION STORAGE BASED ON RELATIVE MOVEMENT BETWEEN RECORD CARRIER AND TRANSDUCER
    • G11B5/00Recording by magnetisation or demagnetisation of a record carrier; Reproducing by magnetic means; Record carriers therefor
    • G11B5/127Structure or manufacture of heads, e.g. inductive
    • G11B5/1278Structure or manufacture of heads, e.g. inductive specially adapted for magnetisations perpendicular to the surface of the record carrier
    • GPHYSICS
    • G11INFORMATION STORAGE
    • G11BINFORMATION STORAGE BASED ON RELATIVE MOVEMENT BETWEEN RECORD CARRIER AND TRANSDUCER
    • G11B5/00Recording by magnetisation or demagnetisation of a record carrier; Reproducing by magnetic means; Record carriers therefor
    • G11B2005/0002Special dispositions or recording techniques
    • G11B2005/0005Arrangements, methods or circuits
    • G11B2005/0021Thermally assisted recording using an auxiliary energy source for heating the recording layer locally to assist the magnetization reversal
    • GPHYSICS
    • G11INFORMATION STORAGE
    • G11BINFORMATION STORAGE BASED ON RELATIVE MOVEMENT BETWEEN RECORD CARRIER AND TRANSDUCER
    • G11B5/00Recording by magnetisation or demagnetisation of a record carrier; Reproducing by magnetic means; Record carriers therefor
    • G11B2005/0002Special dispositions or recording techniques
    • G11B2005/0026Pulse recording
    • G11B2005/0029Pulse recording using magnetisation components of the recording layer disposed mainly perpendicularly to the record carrier surface

Landscapes

  • Engineering & Computer Science (AREA)
  • Manufacturing & Machinery (AREA)
  • Recording Or Reproducing By Magnetic Means (AREA)
  • Magnetic Heads (AREA)

Description

本発明は、磁気記録装置に搭載され、磁気記録媒体における記録領域を磁気記録の際に加熱するようにした熱アシスト磁気記録ヘッド及びこれを用いた熱アシスト磁気記録装置に関する。
HDD(Hard Disk Drive)やDASD(Direct Access Strage Device)等の磁気記録媒体への情報の記録は、この磁気記録媒体上を浮上走行する磁気ヘッドの記録素子により行なわれ、又記録されたデジタル情報の検出は磁気ヘッドの再生素子により行なわれる。この磁気記録媒体において、記録密度を高めるためには、記録膜の保磁力Hcを高めると共に、記録膜を構成する材料の結晶粒径(D)を微細化する必要があるが、結晶粒径を微細化すると、いわゆる熱擾乱により、情報が記録された結晶粒の磁化が不安定になったり、磁化が発生してしまう等の状態が発生する。
磁化の安定状態を示す指針として、Ku・V/k・Tが70以上の値をとることが望ましいと言われている。ここで、Kuは異方性エネルギー、Vは結晶粒の体積、kはボルツマン定数、Tは絶対温度である。
従って、数百Gb/in2以上の高密度記録を実現するためには、FeCo、CoPt等
のKuの値が107erg/ccオーダーの高異方性エネルギーを持つ記録膜の開発が進められている。
しかしながら、KuとHcは、第1次近似的にHc≒2Ku/Ms(Msは結晶粒の飽和磁化)となり、Kuを高めるとHcも増加し、Hcが10kOeをも超えてしまい、現実の磁気記録媒体のHc(3〜4kOe)の2倍以上となってしまうという問題点がある。
前記のように、磁気記録媒体への情報の記録は、磁気ヘッドの記録素子から発生する記録磁界によりなされ、通常前記Hcの2倍程度の記録磁界を印加する必要があると言われている。ここで、記録磁界の強度は、記録素子の形状や記録素子材料の飽和磁束密度Bs等により決まるが、このBsの影響が最も大きい。
現在、Bs≒2T(テスラ)前後の記録素子材料が実用の先端にあり、いわゆるスレーターポーリング曲線から2.4Tが実用限界と言われているので、Hcが10kOeを超えるような記録膜にデジタル情報を記録することは極めて困難である。
これに対して、磁気記録媒体に磁気ヘッドから記録磁界を印加すると同時に、スポットを絞った光ビームを照射して、記録膜を加熱することにより、この記録膜のHcを低下させて情報の記録を行なう熱アシスト記録という方法が提案されている。この熱アシスト記録の原理に関連して、特許文献1は、熱源やヒートシンクを搭載した磁気ヘッドを提案している。又、特許文献2では、ニアフィールドの発光開口部を備えた磁気ヘッドを提案している。又、特許文献3では、円弧状の記録パターンを形成する方法が提案されている。
しかしながら、特許文献1あるいは2には、実際に必要となるスライダー長1mm以下の小型の磁気ヘッドに熱アシストのための熱源や光路、ヒートシンク等の部材をコンパクトに実装する方法の開示が無く、又、実際には、記録膜を高温に加熱するためには光ビームのパワーが不足し、更に、熱対策のために、磁気系と光学系を分離しなければならないが、これの解決手段の開示が無い。
更に又、前記特許文献3記載の場合は、円弧状の記録パターンはエッジノイズやクロストークの影響が大きくなるという問題点がある。
特許第3471285号公報 特許第3441417号公報 特許第2665022号公報
この発明は、熱アシストのための熱源や光路、ヒートシンク等の部材をコンパクトに実装することができる熱アシスト磁気記録ヘッドを提供することを課題とする。
又、この発明は、記録膜を高温にするために十分な出射パワーを有するレーザダイオードを利用することができると共に、磁気系と光学系を分離することができるようにした熱アシスト磁気記録ヘッドを提供することを課題とする。
更に、この発明は、エッジノイズやクロストークの少ない磁気記録をすることができるようにした熱アシスト磁気記録ヘッドを提供することを課題とする。
又本発明は、上記のような熱アシスト磁気記録ヘッドを用いた磁気記録装置を提供することを課題とする。
次のような本発明により上記課題を解決することができる。
(1)サスペンションに取付けられた浮上スライダーに搭載され、記録用の記録磁極を備えた磁気記録素子及び再生信号検出用の磁気再生素子と、加熱用レーザビームの光源となるレーザダイオードと、前記磁気記録素子に近接配置され、磁気記録媒体における前記記録磁極により記録される微小磁化領域に対して、前記加熱用レーザビームを導く光学的な開口と、前記開口の背面側に設けられ、前記加熱用レーザビームを該開口に導く光導波路と、を有してなる熱アシスト磁気記録ヘッドであって、前記光導波路は、前記浮上スライダーの側面に形成され、前記浮上スライダーは前記サスペンションの一方の面に支持され、このサスペンションの他方の面には、前記浮上スライダーの背面側に、該浮上スライダーとともに前記サスペンションを挟み込んで、ヒートシンクが支持され、前記ヒートシンクは、前記レーザダイオードを支持可能な側面を有し、前記レーザダイオードは、出射された加熱用レーザビームが、前記サスペンションに形成された貫通孔を介して前記光導波路の、前記開口と反対側の光入射面に入射するように前記側面に支持されたことを特徴とする熱アシスト磁気記録ヘッド。
)前記開口は誘電率εが1以上の空気を含む誘電体により構成され、その正面形状は、C形、D形、E形、台形、修正H形、L形のいずれかとされ、前記記録磁極と磁気記録媒体との相対移動方向と直交する方向の長い辺に沿って、同方向に扁平な加熱用レーザビームを出射するようにされたことを特徴とする(1)に記載の熱アシスト磁気記録ヘッド。
)前記記録磁極は、軟磁性金属により形成された垂直磁化記録のための単磁極構造を有し、且つ、磁気記録媒体に対する相対移動方向である厚さ方向の両側が記録磁極用シールドにより隔離され、正面形状が台形又は矩形であって、前記厚さ方向の厚さPt及びこれと直交する方向の幅Pwは、それぞれ20nm以上200nm以下であることを特徴とする(1)又は2)に記載の熱アシスト磁気記録ヘッド。
)前記開口の、前記幅方向の幅Gw及び前記厚さ方向の高さGtは、各々100nm以下であって、且つ、Gw≦Pw,Gt≦Ptであることを特徴とする()に記載の熱アシスト磁気記録ヘッド。
)前記開口は、前記記録磁極の中心からトレーリング側の領域及び前記記録磁極のトレーリングエッジに隣接した領域のいずれかに配置され、且つ、該開口から出射される加熱用レーザビームのビーム径が100nm以下のエバネッセント波であって、このエバネッセント波による最大パワーの照射位置が、前記トレーリングエッジから、前記磁気記録媒体との相対移動方向に±20〜40nmの範囲にあるようにされたことを特徴とする()に記載の熱アシスト磁気記録ヘッド。
)前記記録磁極は軟磁性金属により形成され、水平磁化記録のためのトレーリング側記録磁極とリーディング側記録磁極からなるリング構造を有し、リーディング側記録磁極にはトリミングが施され、前記トレーリング側記録磁極は正面形状が矩形とされ、且つ、前記磁気記録媒体との相対移動方向である厚さ方向の厚さPt及びこれと直交する方向の幅Pwは、それぞれ200nm以下とされたことを特徴とする(1)又は2)に記載の熱アシスト磁気記録ヘッド。
)前記開口の、前記幅方向の幅Gw及び前記厚さ方向の高さGtは、各々100nm以下であって、且つ、Gw≦Pw,Gt≦Ptであることを特徴とする()に記載の熱アシスト磁気記録ヘッド。
)前記開口は、前記記録磁極の中心からトレーリング側の領域及び前記記録磁極のトレーリングエッジに隣接した領域のいずれかに配置され、且つ、該開口から出射される加熱用レーザビームのビーム径が100nm以下のエバネッセント波であって、このエバネッセント波による最大パワーの照射位置が、前記トレーリングエッジから、前記磁気記録媒体との相対移動方向に±20〜40nmの範囲にあるようにされたことを特徴とする()又は()に記載の熱アシスト磁気記録ヘッド。
)前記レーザダイオードによる前記加熱用レーザビームの照射タイミングを制御するレーザ制御装置が設けられ、このレーザ制御装置は、前記記録磁極と磁気再生素子との距離Lが、前記磁気記録媒体の、前記記録磁極と磁気再生素子の近傍における、これらに対する相対移動速度をvとしたとき、L/v<3nSのとき、前記記録磁極による前記微小磁化領域を磁化するタイミングから±3nSの時間差で加熱用レーザビームを照射するようにされたことを特徴とする(1)乃至()のいずれかに記載の熱アシスト磁気記録ヘッド。
10)前記レーザダイオードによる前記加熱用レーザビームの照射タイミングを制御するレーザ制御装置が設けられ、このレーザ制御装置は、前記記録磁極と磁気再生素子との距離Lが、前記磁気記録媒体の、前記記録磁極と磁気再生素子の近傍における、これらに対する相対移動速度をvとしたとき、L/v≧3nSのとき、前記記録磁極による前記微小磁化領域の磁化するタイミングよりも先行して加熱用レーザビームを照射するようにされたことを特徴とする(1)乃至()のいずれかに記載の熱アシスト磁気記録ヘッド。
11)前記レーザ制御装置は、前記記録磁極と同期して、前記レーザダイオードをパルス発振させるようにされたことを特徴とする()又は(10)に記載の熱アシスト磁気記録ヘッド。
12)(1)乃至(11)のいずれかに記載の熱アシスト磁気記録ヘッドと、前記磁気記録媒体と、を有してなり、前記磁気記録媒体は、その記録層が、厚さ方向に異方性を持ち、前記加熱用レーザビームの照射により昇温して低下した保磁力Hcが、記録動作時に10kOe以下となる磁気材料及び光磁気材料の一方からなることを特徴とする熱アシスト磁気記録装置。
13)(1)乃至(11)のいずれかに記載の熱アシスト磁気記録ヘッドと、前記磁気記録媒体と、を有してなり、前記磁気記録媒体は、その記録層が、前記記録磁極と磁気記録媒体との相対移動方向に異方性を持ち、前記加熱用レーザビームの照射により昇温して低下した保磁力Hcが、記録動作時に8kOe以下となる磁気材料からなることを特徴とする熱アシスト磁気記録装置。
14)前記磁気記録媒体は、複数の層から形成され、この複数の層のうち少なくとも一層は、前記微小磁化領域、又は、厚さ方向にこれに重なる領域に対して、少なくとも前記記録磁極に対する相対移動方向と直交する方向に隣接する領域が、微小磁化領域又はこれに重なる領域よりも熱伝導率が低い非磁性層から形成されることにより形状分離されていることを特徴とする(12)又は(13)に記載の熱アシスト磁気記録装置。
この発明においては、レーザダイオードから出射される加熱用レーザビームを、光導波路を用いて開口の背面側に導き、この開口から加熱用レーザビームを磁気記録媒体に照射する構成であるので、スライダ長が1mm以下の場合であっても、レーザダイオードあるいは必要なヒートシンク等の部材をコンパクトに実装することができる。又、光導波路を用いることによってレーザダイオードを記録磁極から離れた位置に設けることができ、これによって、レーザダイオードの出力を大きくしても、磁気系に熱の影響を及ぼさないという効果がある。
この発明の実施のための最良の形態に係る熱アシスト磁気記録ヘッドは、浮上スライダーに搭載された記録用の記録磁極を備えた磁気記録素子及び再生信号検出用の磁気再生素子と、加熱用レーザビームの光源となるレーザダイオードと、前記磁気記録素子に近接配置され、磁気記録媒体における前記記録磁極により記録される微小磁化領域に対して、前記加熱用レーザビームを導く光学的な開口と、この開口の背面側に前記加熱用光ビームを該開口に導く光導波路を設け、この光導波路の少なくとも前記開口との接続部近傍を加熱用レーザビームをTM波に変換するモード変換形導波路とし、更に、このモード変換形導波路を、前記磁気再生素子及び記録磁極の先端面と直交し、且つ、記録磁極から磁気再生素子へ向かう方向の面内で、該方向に長い扁平形状であって、この方向と直交する厚さが前記開口の厚さと同一となるようにする。又、前記開口は、誘電率εが1以上の空気を含む誘電体により構成し、その正面形状が、C形、D形、E形、台形、修正H形、L形のいずれかとされ、前記記録磁極と磁気記録媒体との相対移動方向と直交する方向の長い辺に沿って、同方向に扁平な加熱用レーザビームを出射するように構成する。
以下図1を参照して本発明の実施例1に係る熱アシスト磁気記録ヘッド10について説明する。
この熱アシスト磁気記録ヘッド10は、垂直磁気記録用であって、HDD(全体図示省略)におけるサスペンション12の、図1において下側面に取付けられた浮上スライダー14に搭載された記録用の記録磁極16(図2、図3参照)を備えた磁気記録素子18及び再生信号検出用の磁気再生素子20と、加熱用レーザビームの光源となるレーザダイオード22と、前記加熱用レーザビームを磁気記録媒体に照射するための光学的な開口24と、この開口24の背面側に前記加熱用レーザビームを導く光導波路26とを備えて構成されている。
前記開口24は、孔(即ち空間)あるいはSiO、Al23等の誘電率εが1以上の透明な誘電体から構成されていて、前記磁気記録素子18に近接配置され、磁気記録媒体28における前記記録磁極16により記録される微小磁化領域(詳細後述)に対して加熱用レーザビームを照射できるようにされている。
又、前記光導波路26は、前記開口24と同様に、空気、SiO2、Al23等の、誘
電率εが1以上の誘電体から構成されていて、図1において上端の光入射面26Aから入射する加熱用レーザビームをTM波に変換するモード変換形導波路とされている。
前記レーザダイオード22は、図1において下向きにレーザ光を出射するようにされ、且つ、サスペンション12に形成された貫通孔13Aを介して、該出射された加熱用レーザビームが前記光導波路26の光入射面26Aに入射するように配置されている。
又、前記レーザダイオード22は、前記浮上スライダー14の反対側でサスペンション12に支持されたヒートシンク30の側面に支持されている。図1の符号32は前記レーザダイオード22を駆動する電流を供給するためのボンディングワイヤを示す。
前記熱アシスト磁気記録ヘッド10の詳細な構成を、図2及び図3を用いて更に説明する。
図2及び図3に示されるように、前記開口24は、単磁極である記録磁極16内に設けられている。前記熱アシスト磁気記録ヘッド10を、正面(磁気記録媒体28側から見た面;ABS面)において、前記記録磁極16は非磁性層18Aによって囲まれ、この非磁性層18Aは、図2、3において上下、即ち熱アシスト磁気記録ヘッド10と磁気記録媒体28との相対移動方向(以下相対移動方向)の両側が、記録磁極用シールド層18B、18Cによってシールドされ、又、前記磁気再生素子20は、その相対移動方向両側が上部シールド層21A及び下部シールド層21Bによりシールドされている。図2及び図3において符号11Aは基板、11Bはカバー層をそれぞれ示す。
又、図3において符号19は記録用磁場を形成するためのコイル27はバッファ層としての下部クラッドコアを、それぞれ示す。
図3に示されるように、前記モード変換形の光導波路26は、前記磁気再生素子20及び記録磁極16の先端面と直交し、且つ記録磁極16から磁気再生素子20へ向かう方向(相対移動方向)の面内で、該方向に長い扁平形状であって、この方向と直交する厚さが前記開口24の厚さと同一となるようにされている。
更に、前記モード変換形の光導波路26における前記開口24側の先端は、前記面内で、前記開口24との接続部に向かって先細りとなるテーパ先端面26Bとされている。
ここで、前記光導波路26がモード変換形導波路として成立するためには、例えば、開口24が、正面から見て直径が100nmとし、光導波路26に入射する加熱用レーザビームの波長λ=700nmとし、光導波路26と開口24を構成する材料の屈折率差Δnが0.2<Δn<0.7であれば良い。
更に、ここでは、前記光導波路26の前記相対移動方向の長さは300μm以上であり、且つ前記厚さは5〜10μm、とされている。又、開口24は、図3において、光導波路26の下側に長く接触するように図において右方向に延在されている。
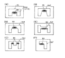
この実施例1において、前記記録磁極16は、FeNiやFeCoを主成分とする軟磁性金属で形成された垂直磁気記録のための単磁極構造とされ、且つ、正面形状が台形又は矩形であって、前記相対移動方向の厚さPt及びこれに直交する方向の幅Pwは、それぞれ20nm以上200nm以下となるようにされている。前記開口24は、この単磁極である記録磁極16との関係において、図4(A)に示されるように、略台形の記録磁極16に対して、正面から見て、トレーリングエッジ16Dの領域の内側に設けられている。
なお、この記録磁極16に対する開口24の配置は、図4の構成に限定されるものでなく、図4(B)に示されるように、開口24をトレーリングエッジ16Dに隣接して設けてもよく、更に図4(C)に示されるように、開口24を金属25により囲んだ状態で記録磁極16のトレーリングエッジ16Dよりも内側の領域に設けたり、図4(D)に示されるように前記と同様に内側領域でトレーリングエッジ16Dに隣接して設けてもよい。更には、図4(E)に示されるように、記録磁極16の外側の領域で、トレーリングエッジ16Dに隣接して設けるようにしてもよい。この場合、図4(F)に示されるように浮上スライダー14の領域内に設けてもよい。
ここで、前記開口24の、例えば図4(A)、(C)に示される寸法は、前記相対移動方向と直交する幅方向の幅Gw及び厚さ方向の高さGtが、各々100nm以下であって、且つ、Gw≦Pw,Gt≦Ptとなるようにされている。
更に、前記開口24は、前述のように、前記記録磁極16の中心からトレーリング側の領域及びトレーリングエッジに隣接した領域のいずれかに配置されているが、この開口24から出射される加熱用レーザビームが、ビーム径が100nm以下のエバネッセント波であって、このエバネッセント波による最大パワーの照射位置が、前記トレーリングエッジ16Dから、前記磁気記録媒体28との相対移動方向に±20〜40nmの範囲にあるようにされている。
前記レーザダイオード22は、レーザ制御装置34によってパルス発振され、且つ、その加熱用レーザビームの照射タイミングが制御されるようになっている。又、このレーザ制御装置34は、前記磁気記録素子18を駆動する磁気記録制御回路36による磁気記録と同期して、前記記録磁極16によって磁化される磁気記録媒体28の微小磁化領域(説明後述)に対して、パルス状の加熱用レーザビームを照射するようにされている。
具体的には、前記記録磁極16(の中心)と開口24との距離Lが、前記磁気記録媒体28の、前記記録磁極16と開口24の近傍における相対移動速度をvとしたときに、L/v<3nSのとき、前記記録磁極16による前記微小磁化領域を磁化するタイミングから±3nSの範囲の時間差で加熱用レーザビームを照射できるようにされている。
又、前記磁気記録媒体28は、図5に示されるように、例えば、基板28B上に下地軟磁性層28C、非磁性の中間層28D、記録層28A、保護層28E及び表面潤滑層28Fをこの順で積層した構成とされていて、記録層28Aは、微小磁化領域29Aと、この微小磁化領域29Aに対して、前記相対移動方向と直交する方向に隣接する領域が、微小磁化領域29Aよりも熱伝導率が低い非磁性体領域29Bとが、面一に繰返して形成されている。
前記微小磁化領域29Aは、厚さ方向に異方性を持ち、前記加熱用レーザビームの照射により昇温して低下した保磁力Hcが、記録動作時に10kOe以下となるCoCrPt、FePt、TbFeCo、PtCo等の磁気材料及びTbFeCo、DyFeCo等の光磁気材料の一方から構成されている。
次に、この熱アシスト磁気記録ヘッド10により、前記磁気記録媒体28に情報を記録する過程について説明する。
記録磁極16により、磁気記録媒体28の記録層28Aに磁気記録をするタイミングは、磁気記録駆動回路36によって決定される。この際に、磁気記録駆動回路36からの駆動信号によって、前記レーザ制御装置34は、レーザダイオード22を駆動してパルス発光させる。
レーザダイオード22から出射されたパルス状の加熱用レーザビームは、サスペンション12の貫通孔13Aを通って、前記光導波路26の光入射面26Aに入射する。光入射面26Aに入射した加熱用レーザビームは、光導波路26内でTM波に変換され、前記開口24に入射し、開口24からは、前記磁気記録媒体28に向けてTMモードの加熱用レーザビームが照射される。
この実施例1においては、開口24が、記録磁極16よりも先行して記録層28Aにおける微小磁化領域29Aを照射し、この照射により加熱された後に、同一の微小磁化領域29Aに対して、記録磁極16による磁気記録がなされるようになっている。
ここで、前記開口24は、C形であって、図6(A)に示されるように、加熱用レーザビームが、該水平辺24Aが長軸となる楕円又は長円形状のビームスポットBSとなる。
前記扁平のビームスポットBSの長軸は、前記相対移動方向に対して直交方向、即ち、磁気記録媒体28が、回転するディスク形状の場合、そのトラックの幅方向に長い形状となる。
この実施例1において、磁気記録媒体28の記録層28Aは、微小磁化領域29Aと非磁性体領域29Bが交互に形成されていて、前記ビームスポットBSの長軸は、1つの微小磁化領域29Aを照射したとき、一部が両側の非磁性体領域29Bも照射するが、この長軸の長さを最適に選択すれば、隣接する微小磁化領域29Aを照射することがない。
従って、トラック進行方向に対しては、微小長さ範囲を正確に照射することができる。又、照射によって微小磁化領域29Aが加熱されるが、その両側が熱伝導率の小さい非磁性体領域29Bとされているので、微小磁化領域29Aは効率良く過熱されることになり、微小磁化領域29Aを微細化して記録密度を向上させることができる。
更に、前記記録磁極16による記録層の微小磁化領域29Aに磁気記録するタイミングと、この微小磁化領域29Aを加熱用レーザビームによって照射するタイミングとは、記録磁極16と開口24との距離L、これらに対する磁気記録媒体28の相対移動速度v、加熱用レーザビームのパワー、微小磁化領域29Aの冷却速度等を総合的に考慮して決定されるが、同一の微小磁化領域29Aが、開口24と磁気記録素子18の位置の間を移動する時間が3nS未満のとき、記録磁極16による微小磁化領域29Aの磁化タイミングから±3nSの範囲の時間差で加熱用レーザビームを照射すればよい。
又、前記開口24と記録磁極16間の移動時間が、3nS以上のときは、記録磁極16による微小磁化領域の磁化タイミングよりも先行して開口24から加熱用レーザビームを照射する必要がある。
このとき、磁化のタイミングと加熱用レーザビームのタイミングとの時間差は、加熱用レーザビームのパワーが高い程大きくとることができる。
この実施例1に係る熱アシスト磁気記録ヘッド10及びこれを用いた熱アシスト磁気記録装置においては、浮上スライダー14に対してサスペンション12を介してレーザダイオード22を反対側に配置し、ここから、光導波路26を介して加熱用レーザビームを開口24に導くようにしているので、レーザダイオード22に発生する熱の記録磁極16あるいは磁気記録素子18への影響を抑制することができ、更にこれによって、レーザダイオード22の高出力化を図ることができる。
又、光導波路26は、モード変換形とされていて、加熱用レーザビームが全てTMモードに変換されてから、開口24を経て照射されるので、加熱用レーザビームの無駄が無く、開口24から照射される加熱用レーザビームの高出力化、高効率化を図ることができる。更に又、開口24は、その正面形状がC形であるので、加熱用レーザビームのビームスポットBSの形状を相対移動方向と直交する方向に長い扁平形状として、実質的にビームスポットBSを微小化し、高出力化することができる。前記開口24は、記録磁極16の領域内あるいはこれに隣接した領域に設けられているので、装置を小型化し、且つ製造を容易化することができる。
又、この実施例1においては、記録磁極16と開口24との距離L及び記録磁極16による微小磁化領域29Aの磁化タイミングに同一の微小磁化領域29Aの、加熱用レーザビームによる照射タイミングとの差を最適に制御できるので、高密度記録を達成することができる。
なお、上記実施例1において、開口24は、図4あるいは図6(A)に示されるようにC形状とされているが、本発明はこれに限定されるものでなく、図6(B)〜(F)に示されるように、D形の開口24B、E形の開口24C、台形の開口24D、修正H形の開口24E、L形の開口24F等であってもよい。
これらの場合、いずれも、中心の水平辺の位置に加熱用レーザビームの扁平スポット形状における長軸が位置されることになる。
又、これらの開口24、24B〜24Fは、例えば図7に示されるように、開口24の中心近傍を除いた外側の角部25を、円弧状あるいは面取り形状とすることによって、電界の収束効率を向上させることができる。
次に、図に示される本発明の実施例に係る熱アシスト磁気記録ヘッド60について説明する。
この熱アシスト磁気記録ヘッド60は、長手記録用リング型磁気ヘッドであって、図に拡大して示されるように、正面形状が矩形のトレーリング側記録磁極62Aとトリミングが施されたリーディング側記録磁極62Bとが、記録ギャップ63を間にして設けられたものである。図の符号64はヨークを示す。
又、開口66は図(A)に示されるように、金属67に囲まれた状態で、トレーリング側記録磁極62Aの、前記記録ギャップ63に臨むエッジよりも内側領域に配置されている。なお、この開口66は、図(B)に示されるように、金属67に囲まれた状態で、トレーリング側記録磁極62Aの領域内でエッジに沿って配置しても良い。更に、図(C)に示されるように、金属67で囲むことなく、開口66を、記録ギャップ63に隣接して、トレーリング側記録磁極62Aの領域内に設けたり、図(D)に示されるように、トレーリング側記録磁極62Aの領域内に設けるようにしてもよい。なお、図(A)〜(D)に示される場合は、開口66は誘電体から形成するのが良い。
実施例に係る熱アシスト磁気記録ヘッド60の他の構成は、前記図3に示される熱アシスト磁気記録ヘッド10と同様であるので、図3におけると同様の部分には同一の符号を付することによって説明を省略するものとする。
この実施例に係る長手記録用リング型の、熱アシスト磁気記録ヘッド60による磁気記録は、図10に示されるような、記録層72が連続薄膜から構成された磁気記録媒体70になされるものである。磁気記録媒体70の他の構成部分については、図5に示される磁気記録媒体28の構成と同一部材に、図5と同一の符号を付することにより説明を省略するものとする。
この実施例の場合も、磁気記録及びその記録の際の加熱用レーザビームによる加熱の作用及び効果は、前記実施例1と同様であるので説明を省略する。
本発明の実施例1に係る熱アシスト磁気記録ヘッドを拡大して示す断面図 同実施例1の熱アシスト磁気記録ヘッドの正面形状を模式的に拡大して示す正面図 同実施例1の熱アシスト磁気記録ヘッドにおける記録磁極、再生素子近傍から、光導波路に至る範囲を模式的に拡大して示す断面図 同熱アシスト磁気記録ヘッドにおける記録磁極と開口との位置関係を模式的に拡大して示す正面図 垂直磁気記録に適したディスクリート型の磁気記録媒体を模式的に拡大して示す断面図 同熱アシスト磁気記録ヘッドの開口部分における加熱用レーザビームのスポット形状を模式的に示す断面図 同開口の変形例を模式的に拡大して示す正面 本発明の実施例に係る熱アシスト磁気記録ヘッドの、記録磁極、再生素子近傍から光導波路に至る範囲を模式的に拡大して示す断面図 同実施例に係る熱アシスト磁気記録ヘッドにおける記録磁極と開口との関係を模式的に拡大して示す正面図 記録層が連続薄膜からなる磁気記録媒体を模式的に拡大して示す断面図
10、60…熱アシスト磁気記録ヘッド
12…サスペンション
14…浮上スライダー
16…記録磁極
16D…トレーリングエッジ
18…磁気記録素子
18A…非磁性層
18B、18C…記録磁極用シールド層
20…磁気再生素子
21A…上部シールド層
21B…下部シールド層
2…レーザダイオード
24、24B〜24F、66…開口
24A…水平辺
26…光導波路
26A…光入射面
26B…テーパ先端面
28、70…磁気記録媒体
28A…記録層
28C…下地軟磁性層
29A…微小磁化領域
29B…非磁性体領域
0…ヒートシンク
34…レーザ制御装置
36…磁気記録駆動回

Claims (14)

  1. サスペンションに取付けられた浮上スライダーに搭載され、記録用の記録磁極を備えた磁気記録素子及び再生信号検出用の磁気再生素子と、
    加熱用レーザビームの光源となるレーザダイオードと、
    前記磁気記録素子に近接配置され、磁気記録媒体における前記記録磁極により記録される微小磁化領域に対して、前記加熱用レーザビームを導く光学的な開口と、
    前記開口の背面側に設けられ、前記加熱用レーザビームを該開口に導く光導波路と、
    を有してなる熱アシスト磁気記録ヘッドであって、
    前記光導波路は、前記浮上スライダーの側面に形成され、
    前記浮上スライダーは前記サスペンションの一方の面に支持され、
    このサスペンションの他方の面には、前記浮上スライダーの背面側に、該浮上スライダーとともに前記サスペンションを挟み込んで、ヒートシンクが支持され、
    前記ヒートシンクは、前記レーザダイオードを支持可能な側面を有し、
    前記レーザダイオードは、出射された加熱用レーザビームが、前記サスペンションに形成された貫通孔を介して前記光導波路の、前記開口と反対側の光入射面に入射するように前記側面に支持されたことを特徴とする熱アシスト磁気記録ヘッド。
  2. 請求項1において、
    前記開口は誘電率εが1以上の空気を含む誘電体により構成され、その正面形状は、C形、D形、E形、台形、修正H形、L形のいずれかとされ、前記記録磁極と磁気記録媒体との相対移動方向と直交する方向の長い辺に沿って、同方向に扁平な加熱用レーザビームを出射するようにされたことを特徴とする熱アシスト磁気記録ヘッド。
  3. 請求項1又は2において、
    前記記録磁極は、軟磁性金属により形成された垂直磁化記録のための単磁極構造を有し、且つ、磁気記録媒体に対する相対移動方向である厚さ方向の両側が記録磁極用シールドにより隔離され、正面形状が台形又は矩形であって、前記厚さ方向の厚さPt及びこれと直交する方向の幅Pwは、それぞれ20nm以上200nm以下であることを特徴とする熱アシスト磁気記録ヘッド。
  4. 請求項3において、
    前記開口の、前記幅方向の幅Gw及び前記厚さ方向の高さGtは、各々100nm以下であって、且つ、Gw≦Pw,Gt≦Ptであることを特徴とする熱アシスト磁気記録ヘッド。
  5. 請求項4において、
    前記開口は、前記記録磁極の中心からトレーリング側の領域及び前記記録磁極のトレーリングエッジに隣接した領域のいずれかに配置され、且つ、該開口から出射される加熱用レーザビームのビーム径が100nm以下のエバネッセント波であって、このエバネッセント波による最大パワーの照射位置が、前記トレーリングエッジから、前記磁気記録媒体との相対移動方向に±20〜40nmの範囲にあるようにされたことを特徴とする熱アシスト磁気記録ヘッド。
  6. 請求項1又は2において、
    前記記録磁極は軟磁性金属により形成され、水平磁化記録のためのトレーリング側記録磁極とリーディング側記録磁極からなるリング構造を有し、リーディング側記録磁極にはトリミングが施され、前記トレーリング側記録磁極は正面形状が矩形とされ、且つ、前記磁気記録媒体との相対移動方向である厚さ方向の厚さPt及びこれと直交する方向の幅Pwは、それぞれ200nm以下とされたことを特徴とする熱アシスト磁気記録ヘッド。
  7. 請求項6において、
    前記開口の、前記幅方向の幅Gw及び前記厚さ方向の高さGtは、各々100nm以下であって、且つ、Gw≦Pw,Gt≦Ptであることを特徴とする熱アシスト磁気記録ヘッド。
  8. 請求項6又は7において、
    前記開口は、前記記録磁極の中心からトレーリング側の領域及び前記記録磁極のトレーリングエッジに隣接した領域のいずれかに配置され、且つ、該開口から出射される加熱用レーザビームのビーム径が100nm以下のエバネッセント波であって、このエバネッセント波による最大パワーの照射位置が、前記トレーリングエッジから、前記磁気記録媒体との相対移動方向に±20〜40nmの範囲にあるようにされたことを特徴とする熱アシスト磁気記録ヘッド。
  9. 請求項1乃至8のいずれかにおいて、
    前記レーザダイオードによる前記加熱用レーザビームの照射タイミングを制御するレーザ制御装置が設けられ、このレーザ制御装置は、前記記録磁極と磁気再生素子との距離Lが、前記磁気記録媒体の、前記記録磁極と磁気再生素子の近傍における、これらに対する相対移動速度をvとしたとき、L/v<3nSのとき、前記記録磁極による前記微小磁化領域を磁化するタイミングから±3nSの時間差で加熱用レーザビームを照射するようにされたことを特徴とする熱アシスト磁気記録ヘッド。
  10. 請求項1乃至8のいずれかにおいて、
    前記レーザダイオードによる前記加熱用レーザビームの照射タイミングを制御するレーザ制御装置が設けられ、このレーザ制御装置は、前記記録磁極と磁気再生素子との距離Lが、前記磁気記録媒体の、前記記録磁極と磁気再生素子の近傍における、これらに対する相対移動速度をvとしたとき、L/v≧3nSのとき、前記記録磁極による前記微小磁化領域の磁化するタイミングよりも先行して加熱用レーザビームを照射するようにされたことを特徴とする熱アシスト磁気記録ヘッド。
  11. 請求項9又は10において、
    前記レーザ制御装置は、前記記録磁極と同期して、前記レーザダイオードをパルス発振させるようにされたことを特徴とする熱アシスト磁気記録ヘッド。
  12. 請求項1乃至11のいずれかに記載の熱アシスト磁気記録ヘッドと、
    前記磁気記録媒体と、を有してなり、
    前記磁気記録媒体は、その記録層が、厚さ方向に異方性を持ち、前記加熱用レーザビームの照射により昇温して低下した保磁力Hcが、記録動作時に10kOe以下となる磁気材料及び光磁気材料の一方からなることを特徴とする熱アシスト磁気記録装置。
  13. 請求項1乃至11のいずれかに記載の熱アシスト磁気記録ヘッドと、
    前記磁気記録媒体と、を有してなり、
    前記磁気記録媒体は、その記録層が、前記記録磁極と磁気記録媒体との相対移動方向に異方性を持ち、前記加熱用レーザビームの照射により昇温して低下した保磁力Hcが、記録動作時に8kOe以下となる磁気材料からなることを特徴とする熱アシスト磁気記録装置。
  14. 請求項12又は13において、
    前記磁気記録媒体は、複数の層から形成され、この複数の層のうち少なくとも一層は、前記微小磁化領域、又は、厚さ方向にこれに重なる領域に対して、少なくとも前記記録磁極に対する相対移動方向と直交する方向に隣接する領域が、微小磁化領域又はこれに重なる領域よりも熱伝導率が低い非磁性層から形成されることにより形状分離されていることを特徴とする熱アシスト磁気記録装置。
JP2004380527A 2004-12-28 2004-12-28 熱アシスト磁気記録ヘッド及び熱アシスト磁気記録装置 Expired - Fee Related JP4635607B2 (ja)

Priority Applications (2)

Application Number Priority Date Filing Date Title
JP2004380527A JP4635607B2 (ja) 2004-12-28 2004-12-28 熱アシスト磁気記録ヘッド及び熱アシスト磁気記録装置
US11/319,164 US7538978B2 (en) 2004-12-28 2005-12-28 Heat assisted magnetic recording head and heat assisted magnetic recording apparatus for heating a recording region in a magnetic recording medium during magnetic recording

Applications Claiming Priority (1)

Application Number Priority Date Filing Date Title
JP2004380527A JP4635607B2 (ja) 2004-12-28 2004-12-28 熱アシスト磁気記録ヘッド及び熱アシスト磁気記録装置

Publications (2)

Publication Number Publication Date
JP2006185548A JP2006185548A (ja) 2006-07-13
JP4635607B2 true JP4635607B2 (ja) 2011-02-23

Family

ID=36738535

Family Applications (1)

Application Number Title Priority Date Filing Date
JP2004380527A Expired - Fee Related JP4635607B2 (ja) 2004-12-28 2004-12-28 熱アシスト磁気記録ヘッド及び熱アシスト磁気記録装置

Country Status (2)

Country Link
US (1) US7538978B2 (ja)
JP (1) JP4635607B2 (ja)

Families Citing this family (136)

* Cited by examiner, † Cited by third party
Publication number Priority date Publication date Assignee Title
JP4317119B2 (ja) * 2004-11-30 2009-08-19 富士通株式会社 熱アシスト磁気記録方法および試験記録再生方法
JP2007134004A (ja) * 2005-11-14 2007-05-31 Fujitsu Ltd 熱アシスト磁気記録媒体および熱アシスト磁気記録装置
JP2008047268A (ja) 2006-08-21 2008-02-28 Tdk Corp 熱アシスト磁気ヘッド
JP2008059695A (ja) 2006-08-31 2008-03-13 Tdk Corp 熱アシスト磁気ヘッド、ヘッドジンバルアセンブリ及びハードディスク装置
JP2008059696A (ja) * 2006-08-31 2008-03-13 Tdk Corp 熱アシスト磁気ヘッド
JP2008059694A (ja) 2006-08-31 2008-03-13 Tdk Corp 熱アシスト磁気ヘッド
JP2008059697A (ja) * 2006-08-31 2008-03-13 Tdk Corp 熱アシスト磁気ヘッド、ヘッドジンバルアセンブリ及びハードディスク装置
KR100803215B1 (ko) * 2006-08-31 2008-02-14 삼성전자주식회사 개구 구비 금속막과 그 형성방법, 개구 구비 금속막을포함하는 광 전송모듈 및 이를 포함하는 열보조자기기록헤드
KR100851973B1 (ko) * 2006-11-02 2008-08-12 삼성전자주식회사 굽은 도파로, 이의 제조방법, 굽은 도파로를 이용한 광전송모듈 및 굽은 도파로를 채용한 열보조 자기기록 헤드
JP4782660B2 (ja) * 2006-11-21 2011-09-28 株式会社日立製作所 ヘッド,ヘッドジンバルアセンブリ及び情報記録装置
WO2008081909A1 (ja) * 2006-12-27 2008-07-10 Fujitsu Limited ヘッドサスペンションアセンブリおよびキャリッジアセンブリ並びにヘッドスライダアセンブリの製造方法
JP2008165922A (ja) 2006-12-28 2008-07-17 Tdk Corp 熱アシスト磁気ヘッド、ヘッドジンバルアセンブリ及びハードディスク装置
KR100842898B1 (ko) * 2007-01-29 2008-07-03 삼성전자주식회사 열 보조 자기 기록방식에서의 광 커플링 구조
JP4364912B2 (ja) 2007-02-26 2009-11-18 Tdk株式会社 熱アシスト磁気ヘッド、ヘッドジンバルアセンブリ及びハードディスク装置
KR100846515B1 (ko) * 2007-03-19 2008-07-17 삼성전자주식회사 테이퍼진 c-형 개구를 갖는 90도 굽어진 금속 도파로,상기 도파로의 제조 방법, 상기 도파로를 이용한 광전송모듈 및 상기 도파로를 채용한 열보조 자기기록 헤드
JP4539672B2 (ja) * 2007-03-27 2010-09-08 Tdk株式会社 熱アシスト磁気ヘッド、ヘッドジンバルアセンブリ及びハードディスク装置
JP5085988B2 (ja) * 2007-06-21 2012-11-28 株式会社日立製作所 光素子集積ヘッドの製造方法
JP4552983B2 (ja) * 2007-08-10 2010-09-29 Tdk株式会社 熱アシスト磁気ヘッド、ヘッドジンバルアセンブリ及びハードディスク装置
JP4359323B2 (ja) 2007-08-23 2009-11-04 Tdk株式会社 熱アシスト磁気ヘッド、ヘッドジンバルアセンブリ及びハードディスク装置
JP4450032B2 (ja) 2007-08-23 2010-04-14 Tdk株式会社 熱アシスト磁気ヘッド、ヘッドジンバルアセンブリ及びハードディスク装置
JP2009054205A (ja) * 2007-08-23 2009-03-12 Tdk Corp 熱アシスト磁気ヘッド、ヘッドジンバルアセンブリ及びハードディスク装置
JP2009054867A (ja) 2007-08-28 2009-03-12 Tdk Corp 半導体レーザ素子構造体、熱アシスト磁気ヘッド及びその製造方法
JP5134310B2 (ja) * 2007-08-31 2013-01-30 エイチジーエスティーネザーランドビーブイ 磁気ヘッドスライダ
US8289650B2 (en) * 2007-09-19 2012-10-16 Seagate Technology Llc HAMR recording head having a sloped wall pole
US7706654B2 (en) * 2007-11-05 2010-04-27 Seagate Technology Llc Integrated device for heat assisted magnetic recording
JP4497201B2 (ja) 2007-12-28 2010-07-07 Tdk株式会社 熱アシスト磁気ヘッドの製造方法
JP4462346B2 (ja) 2007-12-28 2010-05-12 Tdk株式会社 熱アシスト磁気ヘッド
JP4836966B2 (ja) 2008-01-18 2011-12-14 株式会社日立製作所 ヘッドジンバルアセンブリ及び情報記録装置
JP4518158B2 (ja) 2008-02-08 2010-08-04 Tdk株式会社 熱アシスト磁気ヘッド、ヘッドジンバルアセンブリ、及びハードディスク装置
US8677607B2 (en) 2008-03-07 2014-03-25 Tdk Corporation Method of manufacturing magnetoresistive element
US7986592B2 (en) * 2008-03-10 2011-07-26 Hitachi Global Storage Technologies, Netherlands B.V. Components and assembly procedure for thermal assisted recording
JP2009230812A (ja) * 2008-03-24 2009-10-08 Furukawa Electric Co Ltd:The ガラス基板および熱アシスト磁気記録ディスク
US20090258186A1 (en) * 2008-04-10 2009-10-15 Hitachi Global Storage Technologies Netherlands B. V. Wafer-level method for fabricating an optical channel and aperture structure in magnetic recording head sliders for use in thermally-assisted recording (tar)
US8243388B2 (en) * 2008-04-22 2012-08-14 Tdk Corporation Heat-assisted magnetic head constituted of slider and light source unit, and manufacturing method of the head
US8065786B2 (en) * 2008-04-23 2011-11-29 Tdk Corporation Manufacturing method of heat-assisted magnetic head constituted of slider and light source unit
JP4928499B2 (ja) 2008-05-14 2012-05-09 日東電工株式会社 回路付サスペンション基板
JP5096574B2 (ja) * 2008-06-02 2012-12-12 株式会社日立製作所 熱アシスト磁気記録ヘッド及びヘッドアッセンブリ
JP5017184B2 (ja) 2008-06-10 2012-09-05 株式会社日立製作所 熱アシスト磁気記録ヘッド
JP2009301620A (ja) 2008-06-11 2009-12-24 Nitto Denko Corp 回路付サスペンション基板
JP2009301619A (ja) 2008-06-11 2009-12-24 Nitto Denko Corp 回路付サスペンション基板およびその製造方法
DE102008028070A1 (de) * 2008-06-12 2009-12-17 Bayer Technology Services Gmbh Katalysator und Verfahren zur Hydrierung von organischen Verbindungen
JP2010015618A (ja) 2008-07-01 2010-01-21 Nitto Denko Corp 回路付サスペンション基板およびその製造方法
JP2010015641A (ja) * 2008-07-04 2010-01-21 Nitto Denko Corp 回路付サスペンション基板およびその製造方法
JP4989572B2 (ja) * 2008-07-07 2012-08-01 日東電工株式会社 回路付サスペンション基板およびその製造方法
JP5330757B2 (ja) * 2008-08-06 2013-10-30 エイチジーエスティーネザーランドビーブイ 磁気記録方法及び磁気記録装置
JP5150403B2 (ja) 2008-08-06 2013-02-20 株式会社日立製作所 熱アシスト磁気記録ヘッド
US7852587B2 (en) * 2008-09-11 2010-12-14 Hitachi Global Storage Technologies Netherlands B.V. Thermal assisted recording (TAR) disk drive capable of controlling the write pulses
US8335052B2 (en) 2008-09-25 2012-12-18 Tdk Corporation Plasmon antenna for thermally assisted magnetic head
US7821732B2 (en) 2008-09-25 2010-10-26 Tdk Corporation Thermally assisted magnetic head having an asymmetric plasmon antenna and manufacturing method thereof
US7924658B2 (en) * 2008-10-06 2011-04-12 Tdk Corporation Heat-assisted magnetic recording head constituted of slider and light source unit, and manufacturing method of the head
US8018685B2 (en) * 2008-10-16 2011-09-13 Tdk Corporation Head gimbal assembly for heat-assisted magnetic recording
JP5138549B2 (ja) 2008-10-31 2013-02-06 日東電工株式会社 回路付サスペンション基板
US7936531B2 (en) 2008-11-07 2011-05-03 Tdk Corporation Thermally assisted magnetic head having an asymmetric plasmon antenna and manufacturing method thereof
JP5002574B2 (ja) 2008-11-11 2012-08-15 日東電工株式会社 回路付サスペンション基板およびその製造方法
JP4951609B2 (ja) * 2008-11-11 2012-06-13 日東電工株式会社 回路付サスペンション基板
US8092704B2 (en) * 2008-12-30 2012-01-10 Hitachi Global Storage Technologies Netherlands B.V. System, method and apparatus for fabricating a c-aperture or E-antenna plasmonic near field source for thermal assisted recording applications
US7880996B2 (en) 2008-12-31 2011-02-01 Hitachi Global Storage Technologies Netherlands B.V. Ridge wave-guide for thermal assisted magnetic recording
US8472286B2 (en) * 2008-12-31 2013-06-25 HGST Netherlands B.V. Near field transducer having main body and wings extending therefrom and only electrically coupled thereby
JP2010160867A (ja) * 2009-01-09 2010-07-22 Fujitsu Ltd 磁気記録再生装置、磁気記録媒体及び該磁気記録媒体の製造方法
JP5204679B2 (ja) 2009-01-23 2013-06-05 日東電工株式会社 回路付サスペンション基板
US8000175B2 (en) 2009-01-30 2011-08-16 Tdk Corporation Thermally assisted magnetic head having a semiconductor surface-emitting laser
US7936643B2 (en) 2009-02-03 2011-05-03 Tdk Corporation Thermal assisted magnetic recording head having surface-emitting semiconductor laser
US8116172B2 (en) 2009-02-09 2012-02-14 Tdk Corporation Near-field light generating device including surface plasmon generating element
US7898909B2 (en) 2009-02-12 2011-03-01 Tdk Corporation Thermal-assisted magnetic recording head having substrate and light reflection section
JP5361474B2 (ja) * 2009-03-17 2013-12-04 エイチジーエスティーネザーランドビーブイ ヘッド・ジンバル・アセンブリ及びディスク・ドライブ
US8325566B2 (en) * 2009-03-19 2012-12-04 Tdk Corporation Thermally-assisted magnetic recording head having a light source at least inclined from an opposed-to-medium surface
US8213272B2 (en) * 2009-06-11 2012-07-03 Tdk Corporation Multilayered waveguide having protruded light-emitting end
US8233358B2 (en) * 2009-06-15 2012-07-31 Headway Technologies, Inc. Plasmon antenna with magnetic core for thermally assisted magnetic recording
US8254212B2 (en) * 2009-06-25 2012-08-28 Seagate Technology Llc Integrated heat assisted magnetic recording device
US8194509B2 (en) * 2009-07-30 2012-06-05 Tdk Corporation Thermally-assisted magnetic recording head comprising light source with photonic-band layer
JP5515703B2 (ja) * 2009-09-18 2014-06-11 ソニー株式会社 熱アシスト磁気ヘッド及び情報記録装置
JP5204738B2 (ja) 2009-10-16 2013-06-05 日東電工株式会社 回路付サスペンション基板およびその製造方法
US8031561B2 (en) * 2009-10-28 2011-10-04 Hitachi Global Storage Technologies Netherlands B.V. Joint design of thermally-assisted magnetic recording head and patterned media for high optical efficiency
US8385183B2 (en) 2009-11-05 2013-02-26 Seagate Technology, Llc Light delivery waveguide
US8441895B2 (en) * 2009-11-20 2013-05-14 Tdk Corporation Thermally-assisted magnetic recording head with light detector in element-integration surface
JP5322898B2 (ja) * 2009-11-25 2013-10-23 株式会社日立製作所 熱アシスト磁気ヘッドスライダ及びヘッドジンバルアセンブリ
JP5227940B2 (ja) 2009-11-26 2013-07-03 日東電工株式会社 回路付サスペンション基板
US8254214B2 (en) * 2009-12-01 2012-08-28 Tdk Corporation Light source unit for thermally-assisted magnetic recording including dual electrode layers connected to a unit electrode
US8424191B2 (en) * 2009-12-28 2013-04-23 Tdk Corporation Method for manufacturing thermally-assisted magnetic recording head by semi-active alignment
US8532157B2 (en) 2010-02-23 2013-09-10 Seagate Technology Llc Capping method for laser diode protection
US8427925B2 (en) 2010-02-23 2013-04-23 Seagate Technology Llc HAMR NFT materials with improved thermal stability
US8065787B2 (en) 2010-03-17 2011-11-29 Headway Technologies Method of manufacturing a thermally assisted magnetic head
US8248895B2 (en) * 2010-03-18 2012-08-21 Tdk Corporation Method for manufacturing thermally-assisted magnetic recording head comprising light source unit and slider
US8248897B2 (en) * 2010-03-18 2012-08-21 Tdk Corporation Method for manufacturing thermally-assisted magnetic recording head comprising light source unit and slider
US8391107B2 (en) * 2010-03-19 2013-03-05 Seagate Technology Llc Slider for heat assisted magnetic recording including a photo detector for monitoring laser power
US8149653B2 (en) * 2010-03-22 2012-04-03 Tdk Corporation Light source unit for thermally-assisted magnetic recording capable of monitoring of light output
US8274867B2 (en) 2010-03-31 2012-09-25 Tdk Corporation Method for aligning the light source unit and the slider of thermally-assisted magnetic recording head
US8345517B2 (en) * 2010-04-30 2013-01-01 Seagate Technology Llc Method and apparatus for aligning a laser diode on a slider
US9065236B2 (en) 2010-04-30 2015-06-23 Seagate Technology Method and apparatus for aligning a laser diode on a slider
US8179628B2 (en) * 2010-07-08 2012-05-15 Headway Technologies, Inc. Magnetic core plasmon antenna with improved coupling efficiency
US8406091B2 (en) * 2010-07-08 2013-03-26 Tdk Corporation Thermal assisted magnetic recording head having integral mounted of photo-detector and laser diode
US9053731B2 (en) * 2010-07-09 2015-06-09 HGST Netherlands B.V. Extended cavity VCSEL mounted to substrate with electrical and thermal contact to substrate and optical power directed toward substrate
US8248892B2 (en) 2010-08-20 2012-08-21 Tdk Corporation Head gimbal assembly with two wiring layers comprising thermally-assisted head
JP5439316B2 (ja) 2010-08-30 2014-03-12 株式会社日立製作所 熱アシスト記録ヘッド及び磁気記録装置
US8339739B2 (en) * 2010-08-31 2012-12-25 Hitachi Global Storage Technologies Netherlands B.V. Thermally assisted recording head with near field transducer having integral heatsink
US8240025B2 (en) 2010-09-23 2012-08-14 Tdk Corporation Method for manufacturing head including light source unit for thermal assist
US8250737B2 (en) 2010-10-14 2012-08-28 Tdk Corporation Method for manufacturing head including light source unit for thermal assist
US8611193B2 (en) 2010-10-20 2013-12-17 Seagate Technology Llc Method and apparatus for coupling a laser diode to a magnetic writer
US8351151B2 (en) * 2010-11-02 2013-01-08 Hitachi Global Storage Technologies Netherlands B.V. Thermally assisted magnetic write head employing a near field transducer (NFT) having a diffusion barrier layer between the near field transducer and a magnetic lip
US8107326B1 (en) 2010-11-15 2012-01-31 Hitachi Global Storage Technologies Netherlands B.V. Slider with integrated thermally-assisted recording (TAR) head and integrated long laser diode
US8997832B1 (en) 2010-11-23 2015-04-07 Western Digital (Fremont), Llc Method of fabricating micrometer scale components
US8957692B2 (en) 2010-12-02 2015-02-17 Tdk Corporation Method for performing burn-in test
JP5323802B2 (ja) 2010-12-13 2013-10-23 ローム株式会社 半導体レーザ素子
US8139448B1 (en) 2010-12-15 2012-03-20 Hitachi Global Storage Technologies Netherlands B.V. Slider with integrated thermally-assisted recording (TAR) head and vertical-cavity surface-emitting laser (VCSEL) with angled external cavity
US8184507B1 (en) 2010-12-15 2012-05-22 Hitachi Global Storage Technologies Netherlands B.V. Slider with integrated thermally-assisted recording (TAR) head and long laser diode with optical body for directing laser radiation
US8289821B1 (en) 2010-12-21 2012-10-16 Western Digital (Fremont), Llc Method and system for pulsing EAMR disk drives
US8437237B2 (en) 2011-01-07 2013-05-07 Tdk Corporation Light source unit including a photodetector, and thermally-assisted magnetic recording head
JP5323879B2 (ja) 2011-01-27 2013-10-23 ローム株式会社 半導体レーザ素子
US8384405B2 (en) 2011-04-20 2013-02-26 Tdk Corporation Method for performing burn-in test
JP5966296B2 (ja) * 2011-09-27 2016-08-10 大日本印刷株式会社 サスペンション用フレキシャー基板、サスペンション、ヘッド付サスペンション、およびハードディスクドライブ
US8787126B2 (en) * 2011-10-10 2014-07-22 Seagate Technology Llc Waveguide with blocking layer
JP2013097819A (ja) 2011-10-27 2013-05-20 Hitachi Ltd 熱アシスト磁気ヘッドの検査装置及び検査方法
US8631561B2 (en) 2011-11-30 2014-01-21 HGST Netherlands B.V. Method for electrically connecting an energy source to a head of a disk drive
US8411535B1 (en) 2011-11-30 2013-04-02 HGST Netherlands B.V. Electrical connection for a laser diode in a tar head
US8472287B1 (en) 2012-02-22 2013-06-25 Tdk Corporation Thermally-assisted magnetic recording head having a groove for inserting into suspension
US8654617B2 (en) 2012-03-21 2014-02-18 Tdk Corporation Thermally-assisted magnetic recording head with optically isolating waveguide, head gimbal assembly, head arm assembly, magnetic disk unit, and light transmission unit
US9318142B2 (en) 2012-04-25 2016-04-19 Seagate Technology Llc Laser modulation for magnetic recording apparatus
US8908480B1 (en) 2012-09-28 2014-12-09 Western Digital Technologies, Inc. Method and system for providing an energy assisted magnetic recording disk drive using a pulsed laser light
US8750081B1 (en) 2012-12-20 2014-06-10 Seagate Technology Llc Light delivery
WO2014120221A1 (en) * 2013-01-31 2014-08-07 Hewlett-Packard Development Company, L.P. Magnetic tape processing
US8891341B1 (en) 2013-03-11 2014-11-18 Western Digital Technologies, Inc. Energy assisted magnetic recording disk drive using modulated laser light
US9202499B2 (en) 2013-03-13 2015-12-01 Seagate Technology Llc Contact detection using laser modulation
US8971159B2 (en) 2013-05-08 2015-03-03 Seagate Technology Llc Light delivery apparatus
US9245573B2 (en) 2013-06-24 2016-01-26 Seagate Technology Llc Methods of forming materials for at least a portion of a NFT and NFTs formed using the same
US9286931B2 (en) 2013-06-24 2016-03-15 Seagate Technology Llc Materials for near field transducers and near field transducers containing same
US20160300592A1 (en) * 2013-10-17 2016-10-13 Sharp Kabushiki Kaisha Heat-assisted-magnetic-recording head, semiconductor laser element, and method for manufacturing semiconductor laser element
US9064525B2 (en) 2013-11-26 2015-06-23 Western Digital Technologies, Inc. Disk drive comprising laser transmission line optimized for heat assisted magnetic recording
US9570098B2 (en) 2013-12-06 2017-02-14 Seagate Technology Llc Methods of forming near field transducers and near field transducers formed thereby
US9697856B2 (en) 2013-12-06 2017-07-04 Seagate Techology LLC Methods of forming near field transducers and near field transducers formed thereby
US9218836B2 (en) 2014-02-28 2015-12-22 Seagate Technology Llc Heat assisted magnetic recording head having dual waveguides
US9822444B2 (en) 2014-11-11 2017-11-21 Seagate Technology Llc Near-field transducer having secondary atom higher concentration at bottom of the peg
WO2016077197A1 (en) 2014-11-12 2016-05-19 Seagate Technology Llc Devices including a near field transducer (nft) with nanoparticles
JP6123843B2 (ja) * 2015-05-21 2017-05-10 大日本印刷株式会社 サスペンション用フレキシャー基板、サスペンション、ヘッド付サスペンション、およびハードディスクドライブ
US10629236B1 (en) * 2018-11-12 2020-04-21 Western Digital Technologies, Inc. Slider gas-bearing surface designs to mitigate effects of smear in heat-assisted magnetic recording
US11749302B1 (en) * 2022-05-12 2023-09-05 Sae Magnetics (H.K.) Ltd. Method of manufacturing head gimbal assembly, head gimbal assembly and hard disk drive
US12354630B1 (en) * 2024-04-11 2025-07-08 Western Digital Technologies, Inc. Reducing laser diode temperature swings in heat-assisted magnetic recording (HAMR) using a slider-mounted heat sink

Family Cites Families (9)

* Cited by examiner, † Cited by third party
Publication number Priority date Publication date Assignee Title
JP2665022B2 (ja) 1990-06-13 1997-10-22 シャープ株式会社 磁気ヘッド及びその製造方法
JP3492270B2 (ja) * 2000-01-31 2004-02-03 株式会社東芝 熱アシスト磁気記録ヘッド及び熱アシスト磁気記録装置
JP3471285B2 (ja) * 2000-03-30 2003-12-02 株式会社東芝 熱アシスト磁気記録ヘッド及び熱アシスト磁気記録装置
JP3441417B2 (ja) 2000-03-30 2003-09-02 株式会社東芝 磁気記録ヘッド及びそれを用いた磁気記録装置
JP3903365B2 (ja) * 2001-03-29 2007-04-11 株式会社東芝 光アシスト磁気記録ヘッド及び光アシスト磁気記録装置
JP2003045004A (ja) * 2001-07-27 2003-02-14 Fuji Xerox Co Ltd 光アシスト磁気ヘッド及び光アシスト磁気ディスク装置
JP4613009B2 (ja) * 2002-01-07 2011-01-12 シーゲイト テクノロジー エルエルシー データ記憶媒体上に情報を記録する書き込みヘッド及び方法
WO2004003891A1 (en) * 2002-06-28 2004-01-08 Seagate Technology Llc Heat assisted magnetic recording head with a planar waveguide
US7266268B2 (en) * 2003-09-05 2007-09-04 Seagate Technology Llc Diffraction grating

Also Published As

Publication number Publication date
JP2006185548A (ja) 2006-07-13
US20060187564A1 (en) 2006-08-24
US7538978B2 (en) 2009-05-26

Similar Documents

Publication Publication Date Title
JP4635607B2 (ja) 熱アシスト磁気記録ヘッド及び熱アシスト磁気記録装置
JP5719184B2 (ja) Tamrヘッド
KR100738096B1 (ko) 열보조 자기기록헤드 및 그 제조방법
KR100718146B1 (ko) 열보조 자기기록헤드
JP3903365B2 (ja) 光アシスト磁気記録ヘッド及び光アシスト磁気記録装置
US8270791B2 (en) Optical waveguide and thermally-assisted magnetic recording head therewith
JP3984568B2 (ja) 磁気記録装置及び磁気記録方法
US7880996B2 (en) Ridge wave-guide for thermal assisted magnetic recording
US8045422B2 (en) Near-field light generating element comprising surface plasmon antenna and waveguide with groove
US8472286B2 (en) Near field transducer having main body and wings extending therefrom and only electrically coupled thereby
US8264788B2 (en) Discrete track media (DTM) design and fabrication for heat assisted magnetic recording (HAMR)
US9042209B2 (en) E-antenna near field transducer with thermal shunt to return pole
KR20040075919A (ko) 하이브리드 기록 폴을 갖는 열 보조 자기 기록 헤드
JP2004158067A (ja) 記録ヘッドおよびそれを用いた情報記録装置
TW200842841A (en) Integrated head for heat assisted magnetic recording
JP4642738B2 (ja) 熱補助磁気記録ヘッド
US8817581B1 (en) Thermally-assisted magnetic recording head using near-field light
JP2004273021A (ja) 情報記録再生ヘッドおよび情報記録再生装置
US10468058B1 (en) Magnetic write head with a tapered return pole
JP2003203304A (ja) 光アシスト磁気ヘッド及び光アシスト磁気ディスク装置
JP2010061704A (ja) 磁気ヘッドおよび磁気ディスク装置
JP2015204124A (ja) 磁気記録ヘッド、およびこれを備えたディスク装置
JP4509941B2 (ja) 光アシスト用磁気ヘッド、およびこれを用いた磁気記録装置
JP4312727B2 (ja) 複合ヘッド及びそれを備えた磁気記録再生装置
KR20090074141A (ko) 열보조 자기기록 미디어 및 이를 포함하는 열보조 자기기록 시스템

Legal Events

Date Code Title Description
A621 Written request for application examination

Free format text: JAPANESE INTERMEDIATE CODE: A621

Effective date: 20070913

A977 Report on retrieval

Free format text: JAPANESE INTERMEDIATE CODE: A971007

Effective date: 20090810

A131 Notification of reasons for refusal

Free format text: JAPANESE INTERMEDIATE CODE: A131

Effective date: 20100209

A521 Request for written amendment filed

Free format text: JAPANESE INTERMEDIATE CODE: A523

Effective date: 20100401

A02 Decision of refusal

Free format text: JAPANESE INTERMEDIATE CODE: A02

Effective date: 20100420

A521 Request for written amendment filed

Free format text: JAPANESE INTERMEDIATE CODE: A523

Effective date: 20100519

A911 Transfer to examiner for re-examination before appeal (zenchi)

Free format text: JAPANESE INTERMEDIATE CODE: A911

Effective date: 20100728

TRDD Decision of grant or rejection written
A01 Written decision to grant a patent or to grant a registration (utility model)

Free format text: JAPANESE INTERMEDIATE CODE: A01

Effective date: 20101026

A01 Written decision to grant a patent or to grant a registration (utility model)

Free format text: JAPANESE INTERMEDIATE CODE: A01

A61 First payment of annual fees (during grant procedure)

Free format text: JAPANESE INTERMEDIATE CODE: A61

Effective date: 20101108

FPAY Renewal fee payment (event date is renewal date of database)

Free format text: PAYMENT UNTIL: 20131203

Year of fee payment: 3

R150 Certificate of patent or registration of utility model

Free format text: JAPANESE INTERMEDIATE CODE: R150

LAPS Cancellation because of no payment of annual fees