JP4014591B2 - 半導体装置および電子機器 - Google Patents

半導体装置および電子機器 Download PDF

Info

Publication number
JP4014591B2
JP4014591B2 JP2004292435A JP2004292435A JP4014591B2 JP 4014591 B2 JP4014591 B2 JP 4014591B2 JP 2004292435 A JP2004292435 A JP 2004292435A JP 2004292435 A JP2004292435 A JP 2004292435A JP 4014591 B2 JP4014591 B2 JP 4014591B2
Authority
JP
Japan
Prior art keywords
semiconductor device
insulating film
wiring
semiconductor
heat
Prior art date
Legal status (The legal status is an assumption and is not a legal conclusion. Google has not performed a legal analysis and makes no representation as to the accuracy of the status listed.)
Expired - Lifetime
Application number
JP2004292435A
Other languages
English (en)
Other versions
JP2006108356A (ja
Inventor
康彦 田中
Current Assignee (The listed assignees may be inaccurate. Google has not performed a legal analysis and makes no representation or warranty as to the accuracy of the list.)
Sharp Corp
Original Assignee
Sharp Corp
Priority date (The priority date is an assumption and is not a legal conclusion. Google has not performed a legal analysis and makes no representation as to the accuracy of the date listed.)
Filing date
Publication date
Application filed by Sharp Corp filed Critical Sharp Corp
Priority to JP2004292435A priority Critical patent/JP4014591B2/ja
Priority to CNB2005101291378A priority patent/CN100385648C/zh
Priority to KR1020050092674A priority patent/KR20060051982A/ko
Priority to US11/241,972 priority patent/US20060071325A1/en
Priority to TW094134686A priority patent/TWI302736B/zh
Publication of JP2006108356A publication Critical patent/JP2006108356A/ja
Application granted granted Critical
Publication of JP4014591B2 publication Critical patent/JP4014591B2/ja
Anticipated expiration legal-status Critical
Expired - Lifetime legal-status Critical Current

Links

Images

Classifications

    • HELECTRICITY
    • H05ELECTRIC TECHNIQUES NOT OTHERWISE PROVIDED FOR
    • H05KPRINTED CIRCUITS; CASINGS OR CONSTRUCTIONAL DETAILS OF ELECTRIC APPARATUS; MANUFACTURE OF ASSEMBLAGES OF ELECTRICAL COMPONENTS
    • H05K1/00Printed circuits
    • H05K1/02Details
    • H05K1/0201Thermal arrangements, e.g. for cooling, heating or preventing overheating
    • H05K1/0203Cooling of mounted components
    • H05K1/0209External configuration of printed circuit board adapted for heat dissipation, e.g. lay-out of conductors, coatings
    • HELECTRICITY
    • H01ELECTRIC ELEMENTS
    • H01LSEMICONDUCTOR DEVICES NOT COVERED BY CLASS H10
    • H01L23/00Details of semiconductor or other solid state devices
    • H01L23/12Mountings, e.g. non-detachable insulating substrates
    • HELECTRICITY
    • H01ELECTRIC ELEMENTS
    • H01LSEMICONDUCTOR DEVICES NOT COVERED BY CLASS H10
    • H01L23/00Details of semiconductor or other solid state devices
    • H01L23/34Arrangements for cooling, heating, ventilating or temperature compensation ; Temperature sensing arrangements
    • H01L23/36Selection of materials, or shaping, to facilitate cooling or heating, e.g. heatsinks
    • HELECTRICITY
    • H01ELECTRIC ELEMENTS
    • H01LSEMICONDUCTOR DEVICES NOT COVERED BY CLASS H10
    • H01L21/00Processes or apparatus adapted for the manufacture or treatment of semiconductor or solid state devices or of parts thereof
    • H01L21/02Manufacture or treatment of semiconductor devices or of parts thereof
    • H01L21/04Manufacture or treatment of semiconductor devices or of parts thereof the devices having potential barriers, e.g. a PN junction, depletion layer or carrier concentration layer
    • H01L21/50Assembly of semiconductor devices using processes or apparatus not provided for in a single one of the groups H01L21/18 - H01L21/326 or H10D48/04 - H10D48/07 e.g. sealing of a cap to a base of a container
    • H01L21/56Encapsulations, e.g. encapsulation layers, coatings
    • H01L21/563Encapsulation of active face of flip-chip device, e.g. underfilling or underencapsulation of flip-chip, encapsulation preform on chip or mounting substrate
    • HELECTRICITY
    • H01ELECTRIC ELEMENTS
    • H01LSEMICONDUCTOR DEVICES NOT COVERED BY CLASS H10
    • H01L2224/00Indexing scheme for arrangements for connecting or disconnecting semiconductor or solid-state bodies and methods related thereto as covered by H01L24/00
    • H01L2224/01Means for bonding being attached to, or being formed on, the surface to be connected, e.g. chip-to-package, die-attach, "first-level" interconnects; Manufacturing methods related thereto
    • H01L2224/10Bump connectors; Manufacturing methods related thereto
    • H01L2224/15Structure, shape, material or disposition of the bump connectors after the connecting process
    • H01L2224/16Structure, shape, material or disposition of the bump connectors after the connecting process of an individual bump connector
    • HELECTRICITY
    • H01ELECTRIC ELEMENTS
    • H01LSEMICONDUCTOR DEVICES NOT COVERED BY CLASS H10
    • H01L2224/00Indexing scheme for arrangements for connecting or disconnecting semiconductor or solid-state bodies and methods related thereto as covered by H01L24/00
    • H01L2224/01Means for bonding being attached to, or being formed on, the surface to be connected, e.g. chip-to-package, die-attach, "first-level" interconnects; Manufacturing methods related thereto
    • H01L2224/10Bump connectors; Manufacturing methods related thereto
    • H01L2224/15Structure, shape, material or disposition of the bump connectors after the connecting process
    • H01L2224/16Structure, shape, material or disposition of the bump connectors after the connecting process of an individual bump connector
    • H01L2224/161Disposition
    • H01L2224/16151Disposition the bump connector connecting between a semiconductor or solid-state body and an item not being a semiconductor or solid-state body, e.g. chip-to-substrate, chip-to-passive
    • H01L2224/16221Disposition the bump connector connecting between a semiconductor or solid-state body and an item not being a semiconductor or solid-state body, e.g. chip-to-substrate, chip-to-passive the body and the item being stacked
    • H01L2224/16225Disposition the bump connector connecting between a semiconductor or solid-state body and an item not being a semiconductor or solid-state body, e.g. chip-to-substrate, chip-to-passive the body and the item being stacked the item being non-metallic, e.g. insulating substrate with or without metallisation
    • HELECTRICITY
    • H01ELECTRIC ELEMENTS
    • H01LSEMICONDUCTOR DEVICES NOT COVERED BY CLASS H10
    • H01L2224/00Indexing scheme for arrangements for connecting or disconnecting semiconductor or solid-state bodies and methods related thereto as covered by H01L24/00
    • H01L2224/01Means for bonding being attached to, or being formed on, the surface to be connected, e.g. chip-to-package, die-attach, "first-level" interconnects; Manufacturing methods related thereto
    • H01L2224/26Layer connectors, e.g. plate connectors, solder or adhesive layers; Manufacturing methods related thereto
    • H01L2224/31Structure, shape, material or disposition of the layer connectors after the connecting process
    • H01L2224/32Structure, shape, material or disposition of the layer connectors after the connecting process of an individual layer connector
    • H01L2224/321Disposition
    • H01L2224/32151Disposition the layer connector connecting between a semiconductor or solid-state body and an item not being a semiconductor or solid-state body, e.g. chip-to-substrate, chip-to-passive
    • H01L2224/32221Disposition the layer connector connecting between a semiconductor or solid-state body and an item not being a semiconductor or solid-state body, e.g. chip-to-substrate, chip-to-passive the body and the item being stacked
    • H01L2224/32225Disposition the layer connector connecting between a semiconductor or solid-state body and an item not being a semiconductor or solid-state body, e.g. chip-to-substrate, chip-to-passive the body and the item being stacked the item being non-metallic, e.g. insulating substrate with or without metallisation
    • HELECTRICITY
    • H01ELECTRIC ELEMENTS
    • H01LSEMICONDUCTOR DEVICES NOT COVERED BY CLASS H10
    • H01L2224/00Indexing scheme for arrangements for connecting or disconnecting semiconductor or solid-state bodies and methods related thereto as covered by H01L24/00
    • H01L2224/73Means for bonding being of different types provided for in two or more of groups H01L2224/10, H01L2224/18, H01L2224/26, H01L2224/34, H01L2224/42, H01L2224/50, H01L2224/63, H01L2224/71
    • H01L2224/732Location after the connecting process
    • H01L2224/73201Location after the connecting process on the same surface
    • H01L2224/73203Bump and layer connectors
    • H01L2224/73204Bump and layer connectors the bump connector being embedded into the layer connector
    • HELECTRICITY
    • H01ELECTRIC ELEMENTS
    • H01LSEMICONDUCTOR DEVICES NOT COVERED BY CLASS H10
    • H01L2224/00Indexing scheme for arrangements for connecting or disconnecting semiconductor or solid-state bodies and methods related thereto as covered by H01L24/00
    • H01L2224/80Methods for connecting semiconductor or other solid state bodies using means for bonding being attached to, or being formed on, the surface to be connected
    • H01L2224/83Methods for connecting semiconductor or other solid state bodies using means for bonding being attached to, or being formed on, the surface to be connected using a layer connector
    • H01L2224/831Methods for connecting semiconductor or other solid state bodies using means for bonding being attached to, or being formed on, the surface to be connected using a layer connector the layer connector being supplied to the parts to be connected in the bonding apparatus
    • H01L2224/83102Methods for connecting semiconductor or other solid state bodies using means for bonding being attached to, or being formed on, the surface to be connected using a layer connector the layer connector being supplied to the parts to be connected in the bonding apparatus using surface energy, e.g. capillary forces
    • HELECTRICITY
    • H01ELECTRIC ELEMENTS
    • H01LSEMICONDUCTOR DEVICES NOT COVERED BY CLASS H10
    • H01L2224/00Indexing scheme for arrangements for connecting or disconnecting semiconductor or solid-state bodies and methods related thereto as covered by H01L24/00
    • H01L2224/91Methods for connecting semiconductor or solid state bodies including different methods provided for in two or more of groups H01L2224/80 - H01L2224/90
    • H01L2224/92Specific sequence of method steps
    • H01L2224/921Connecting a surface with connectors of different types
    • H01L2224/9212Sequential connecting processes
    • H01L2224/92122Sequential connecting processes the first connecting process involving a bump connector
    • H01L2224/92125Sequential connecting processes the first connecting process involving a bump connector the second connecting process involving a layer connector
    • HELECTRICITY
    • H01ELECTRIC ELEMENTS
    • H01LSEMICONDUCTOR DEVICES NOT COVERED BY CLASS H10
    • H01L2924/00Indexing scheme for arrangements or methods for connecting or disconnecting semiconductor or solid-state bodies as covered by H01L24/00
    • H01L2924/0001Technical content checked by a classifier
    • H01L2924/00011Not relevant to the scope of the group, the symbol of which is combined with the symbol of this group
    • HELECTRICITY
    • H01ELECTRIC ELEMENTS
    • H01LSEMICONDUCTOR DEVICES NOT COVERED BY CLASS H10
    • H01L2924/00Indexing scheme for arrangements or methods for connecting or disconnecting semiconductor or solid-state bodies as covered by H01L24/00
    • H01L2924/0001Technical content checked by a classifier
    • H01L2924/00014Technical content checked by a classifier the subject-matter covered by the group, the symbol of which is combined with the symbol of this group, being disclosed without further technical details
    • HELECTRICITY
    • H01ELECTRIC ELEMENTS
    • H01LSEMICONDUCTOR DEVICES NOT COVERED BY CLASS H10
    • H01L2924/00Indexing scheme for arrangements or methods for connecting or disconnecting semiconductor or solid-state bodies as covered by H01L24/00
    • H01L2924/01Chemical elements
    • H01L2924/01078Platinum [Pt]
    • HELECTRICITY
    • H01ELECTRIC ELEMENTS
    • H01LSEMICONDUCTOR DEVICES NOT COVERED BY CLASS H10
    • H01L2924/00Indexing scheme for arrangements or methods for connecting or disconnecting semiconductor or solid-state bodies as covered by H01L24/00
    • H01L2924/01Chemical elements
    • H01L2924/01079Gold [Au]
    • HELECTRICITY
    • H01ELECTRIC ELEMENTS
    • H01LSEMICONDUCTOR DEVICES NOT COVERED BY CLASS H10
    • H01L2924/00Indexing scheme for arrangements or methods for connecting or disconnecting semiconductor or solid-state bodies as covered by H01L24/00
    • H01L2924/06Polymers
    • H01L2924/078Adhesive characteristics other than chemical
    • H01L2924/0781Adhesive characteristics other than chemical being an ohmic electrical conductor
    • H01L2924/07811Extrinsic, i.e. with electrical conductive fillers
    • HELECTRICITY
    • H01ELECTRIC ELEMENTS
    • H01LSEMICONDUCTOR DEVICES NOT COVERED BY CLASS H10
    • H01L2924/00Indexing scheme for arrangements or methods for connecting or disconnecting semiconductor or solid-state bodies as covered by H01L24/00
    • H01L2924/10Details of semiconductor or other solid state devices to be connected
    • H01L2924/11Device type
    • H01L2924/12Passive devices, e.g. 2 terminal devices
    • H01L2924/1204Optical Diode
    • H01L2924/12041LED
    • HELECTRICITY
    • H01ELECTRIC ELEMENTS
    • H01LSEMICONDUCTOR DEVICES NOT COVERED BY CLASS H10
    • H01L2924/00Indexing scheme for arrangements or methods for connecting or disconnecting semiconductor or solid-state bodies as covered by H01L24/00
    • H01L2924/30Technical effects
    • H01L2924/301Electrical effects
    • H01L2924/3011Impedance
    • HELECTRICITY
    • H05ELECTRIC TECHNIQUES NOT OTHERWISE PROVIDED FOR
    • H05KPRINTED CIRCUITS; CASINGS OR CONSTRUCTIONAL DETAILS OF ELECTRIC APPARATUS; MANUFACTURE OF ASSEMBLAGES OF ELECTRICAL COMPONENTS
    • H05K1/00Printed circuits
    • H05K1/18Printed circuits structurally associated with non-printed electric components
    • H05K1/189Printed circuits structurally associated with non-printed electric components characterised by the use of a flexible or folded printed circuit
    • HELECTRICITY
    • H05ELECTRIC TECHNIQUES NOT OTHERWISE PROVIDED FOR
    • H05KPRINTED CIRCUITS; CASINGS OR CONSTRUCTIONAL DETAILS OF ELECTRIC APPARATUS; MANUFACTURE OF ASSEMBLAGES OF ELECTRICAL COMPONENTS
    • H05K2201/00Indexing scheme relating to printed circuits covered by H05K1/00
    • H05K2201/03Conductive materials
    • H05K2201/0332Structure of the conductor
    • H05K2201/0388Other aspects of conductors
    • H05K2201/0394Conductor crossing over a hole in the substrate or a gap between two separate substrate parts
    • HELECTRICITY
    • H05ELECTRIC TECHNIQUES NOT OTHERWISE PROVIDED FOR
    • H05KPRINTED CIRCUITS; CASINGS OR CONSTRUCTIONAL DETAILS OF ELECTRIC APPARATUS; MANUFACTURE OF ASSEMBLAGES OF ELECTRICAL COMPONENTS
    • H05K2201/00Indexing scheme relating to printed circuits covered by H05K1/00
    • H05K2201/03Conductive materials
    • H05K2201/0332Structure of the conductor
    • H05K2201/0388Other aspects of conductors
    • H05K2201/0397Tab
    • HELECTRICITY
    • H05ELECTRIC TECHNIQUES NOT OTHERWISE PROVIDED FOR
    • H05KPRINTED CIRCUITS; CASINGS OR CONSTRUCTIONAL DETAILS OF ELECTRIC APPARATUS; MANUFACTURE OF ASSEMBLAGES OF ELECTRICAL COMPONENTS
    • H05K2201/00Indexing scheme relating to printed circuits covered by H05K1/00
    • H05K2201/09Shape and layout
    • H05K2201/09209Shape and layout details of conductors
    • H05K2201/09654Shape and layout details of conductors covering at least two types of conductors provided for in H05K2201/09218 - H05K2201/095
    • H05K2201/09781Dummy conductors, i.e. not used for normal transport of current; Dummy electrodes of components
    • HELECTRICITY
    • H05ELECTRIC TECHNIQUES NOT OTHERWISE PROVIDED FOR
    • H05KPRINTED CIRCUITS; CASINGS OR CONSTRUCTIONAL DETAILS OF ELECTRIC APPARATUS; MANUFACTURE OF ASSEMBLAGES OF ELECTRICAL COMPONENTS
    • H05K2201/00Indexing scheme relating to printed circuits covered by H05K1/00
    • H05K2201/10Details of components or other objects attached to or integrated in a printed circuit board
    • H05K2201/10613Details of electrical connections of non-printed components, e.g. special leads
    • H05K2201/10621Components characterised by their electrical contacts
    • H05K2201/10674Flip chip
    • HELECTRICITY
    • H05ELECTRIC TECHNIQUES NOT OTHERWISE PROVIDED FOR
    • H05KPRINTED CIRCUITS; CASINGS OR CONSTRUCTIONAL DETAILS OF ELECTRIC APPARATUS; MANUFACTURE OF ASSEMBLAGES OF ELECTRICAL COMPONENTS
    • H05K2201/00Indexing scheme relating to printed circuits covered by H05K1/00
    • H05K2201/20Details of printed circuits not provided for in H05K2201/01 - H05K2201/10
    • H05K2201/2009Reinforced areas, e.g. for a specific part of a flexible printed circuit
    • HELECTRICITY
    • H05ELECTRIC TECHNIQUES NOT OTHERWISE PROVIDED FOR
    • H05KPRINTED CIRCUITS; CASINGS OR CONSTRUCTIONAL DETAILS OF ELECTRIC APPARATUS; MANUFACTURE OF ASSEMBLAGES OF ELECTRICAL COMPONENTS
    • H05K3/00Apparatus or processes for manufacturing printed circuits
    • H05K3/0058Laminating printed circuit boards onto other substrates, e.g. metallic substrates
    • H05K3/0061Laminating printed circuit boards onto other substrates, e.g. metallic substrates onto a metallic substrate, e.g. a heat sink
    • HELECTRICITY
    • H05ELECTRIC TECHNIQUES NOT OTHERWISE PROVIDED FOR
    • H05KPRINTED CIRCUITS; CASINGS OR CONSTRUCTIONAL DETAILS OF ELECTRIC APPARATUS; MANUFACTURE OF ASSEMBLAGES OF ELECTRICAL COMPONENTS
    • H05K3/00Apparatus or processes for manufacturing printed circuits
    • H05K3/40Forming printed elements for providing electric connections to or between printed circuits
    • H05K3/4038Through-connections; Vertical interconnect access [VIA] connections
    • H05K3/4084Through-connections; Vertical interconnect access [VIA] connections by deforming at least one of the conductive layers

Landscapes

  • Engineering & Computer Science (AREA)
  • Microelectronics & Electronic Packaging (AREA)
  • Physics & Mathematics (AREA)
  • Condensed Matter Physics & Semiconductors (AREA)
  • General Physics & Mathematics (AREA)
  • Computer Hardware Design (AREA)
  • Power Engineering (AREA)
  • Chemical & Material Sciences (AREA)
  • Materials Engineering (AREA)
  • Cooling Or The Like Of Semiconductors Or Solid State Devices (AREA)
  • Wire Bonding (AREA)

Description

本発明は、半導体装置およびその半導体装置を備えた電子機器に関する。詳しくは、本発明は、COF(Chip On Film)と呼ばれる、配線が形成された有機物からなる絶縁フィルム上に半導体素子が配置されている半導体装置およびその半導体装置を備える電子機器に関する。
従来、配線が形成された絶縁フィルム上に半導体素子が接続された半導体装置としては、TCP(Tape Carrier Package)がある。
図10は、TCPの一般的な構造を示す図である。詳細には、図10(A)は、一般的なTCPの断面図であり、図10(B)は、一般的なTCPの上面図である。
このTCPは、半導体素子101と、絶縁フィルム103と、配線(インナーリード)104と、ソルダーレジスト105と、樹脂106とを有する。
上記半導体素子101は、本体部111と、本体部111から延びたバンプ電極112とを有する。上記絶縁フィルム103には、その絶縁フィルム103における半導体素子101が配置される部分に貫通穴が形成されている。上記配線104は、絶縁フィルム103上に接着剤109を介して配置される部分と、絶縁フィルム103から片持ち梁状に突き出した部分から成っている。上記ソルダーレジスト105は、絶縁フィルム103の一部および配線104の一部の上に配置されている。また、上記樹脂106は、半導体素子101を絶縁フィルム103に固定するために、上記貫通穴の周辺に配置されている。
上記半導体素子101のバンプ電極112は、絶縁フィルム103における配線104が配置されていない側から上記配線104の片持ち梁状に突き出した部分に接合されている。
TCPは、薄型の絶縁フィルム103上に配線104を配置することにより、電気回路の厚さが、格段に薄くなるようにしている。
また、配線が形成された絶縁フィルム上に半導体素子が接続されたTCPと異なる半導体装置としては、COF(Chip on Film)がある。
図11は、従来のCOFの一般的な構造を示す図である。詳細には、図11(A)は、従来のCOFの断面図であり、図11(B)は、従来のCOFの上面図である。
COFは、絶縁フィルムの半導体素子と対向している部分に、貫通穴が存在せず、半導体素子121上のバンプ電極132と接合する部分の配線124が、絶縁フィルム123で裏打ちされた状態になっている点が、TCPと異なる。
詳細には、このCOFは、半導体素子121と、絶縁フィルム123と、配線124と、ソルダーレジスト125と、樹脂126とを備える。上記半導体素子121は、本体部131とバンプ電極132とを有する。
上記配線124は、絶縁フィルム123の一方の面に配置されており、ソルダーレジスト125は、絶縁フィルム123の一部および配線124の一部の上に配置されている。
また、上記半導体素子121の本体部131は、絶縁フィルム123における配線124がパターンニングされている側に配置されている。また、上記バンプ電極132は、絶縁フィルム123における配線124と接続されている。上記樹脂126は、半導体素子121の周辺に配置されており、半導体素子121を絶縁フィルム123に固定する役割を担っている。
しかしながら、図10に示すTCPおよび図11に示すTCPでは、半導体素子101,121の動作による発熱を、配線104,124、絶縁フィルム103,123、および、封止樹脂106,126による熱伝導および放射でしか冷却することが出来ないという問題がある。このことから、従来では、COFまたはTCPが実装される電子機器に、放熱用の金属板を設置したり、放熱ファンを配設したり、もしくは、筐体の形状を変更したりして、放熱対策を行っている。
図12に、従来の金属製の放熱板140が設置された電子機器を示す。
この電子機器は、筐体149と、COF半導体装置148と、放熱板140と、絶縁フィルム141とを備える。上記COF半導体装置148は、絶縁フィルム141上に配置されている。上記放熱板140は、絶縁フィルム141のCOF半導体装置8側と反対側に配置されている。上記放熱板140は、電子機器の外壁の一部を成している。
この電子機器は、電子機器の外壁の一部を成している放熱板140上に、絶縁フィルム141を介してCOF半導体装置148を配置することにより、COF半導体装置148で発生した熱を、放熱板140を介して外部に放出するようにしている。
しかしながら、近年においては、電子機器の多機能化や小型化によって、電子機器における電子部品の高密度実装が要求されており、上記放熱板140の設置等の対策では、放熱対策が十分でないという問題がある。
また、半導体素子の多出力化に伴い、半導体素子の動作時における半導体素子自体の発熱を低減することにも限界があるという問題がある。
特開2001−308239号公報 特開平5−326620号公報
そこで、本発明の課題は、半導体素子が放出した熱の放熱性に優れる半導体装置およびその半導体装置を備えた電子機器を提供することにある。
上記課題を解決するため、この発明の半導体装置は、
絶縁フィルムと、
この絶縁フィルムの一方の面上に配置された配線と、
上記絶縁フィルムの上記一方の面に対向するように配置された一つまたは複数の半導体素子と、
上記絶縁体フィルムの他方の面上に配置された放熱部材と
を備え
上記放熱部材は、上記絶縁体フィルムの上記他方の面における上記半導体素子に対応する箇所に、少なくとも配置され、
上記放熱部材は、上記絶縁フィルムの上記他方の面上に直接配置されていることを特徴としている。
尚、この明細書では、上記半導体素子は、接合型トランジスタ、電界効果型トランジスタ等のトランジスタ、整流ダイオード、発光ダイオード、フォトダイオード等のダイオード、記憶素子、IC(集積回路)等の能動素子である。
本発明によれば、絶縁フィルムにおける半導体素子の搭載面と反対側の面に、放熱部材を設けているので、半導体素子が放出して絶縁フィルムを伝導した熱を、この放熱部材で放熱できる。したがって、半導体装置の温度上昇を抑制できるので、半導体素子の動作時の発熱で、半導体素子が高温となり誤作動を起こすことを防止できる。
また、本発明によれば、放熱効果を高くする事が出来きるので、同一体積の空間により多くの半導体素子を搭載することができて、絶縁フィルム上に半導体素子を高密度に配置できる。
また、本発明によれば、上記放熱部材が、上記絶縁体フィルムの上記他方の面における上記半導体素子に対応する箇所に、少なくとも配置されているので、発熱源である半導体素子と放熱部材との距離を短くできる。したがって、放熱性を更に向上させることができる。
また、一実施形態の半導体装置は、上記放熱部材が、上記絶縁体フィルムの上記他方の面における上記配線に対応する箇所に、少なくとも配置されている。
上記実施形態によれば、上記放熱部材が、上記絶縁体フィルムの上記他方の面における上記配線に対応する箇所に、少なくとも配置されているので、発熱源である配線と放熱部材との距離を短くできる。したがって、放熱性を更に向上させることができる。
また、一実施形態の半導体装置は、上記放熱部材が、互いに連続していない複数の部分から成る。
絶縁フィルムの一方の面上に複数の半導体素子が配置されている場合、絶縁フィルムの上記一方の面と反対側の面における、上記半導体素子に対応する複数の箇所に、放熱部材を離散的に複数配置すると、高温上昇する部分を重点的に冷却する事ができると共に、放熱部材の材料費も削減できる。
また、一実施形態の半導体装置は、上記半導体素子は、少なくとも2種類の半導体素子を含んでいる。
また、一実施形態の半導体装置は、上記半導体素子のバンプ電極と、上記配線とは、Au−Snの合金接合によって接続されている。
上記実施形態によれば、上記半導体素子のバンプ電極と、上記配線とが、Au−Snの合金接合によって接続されているので、上記バンプ電極と、上記配線とを堅固に接合できる。
また、一実施形態の半導体装置は、上記半導体素子のバンプ電極と、上記配線とは、Au−Auの合金接合によって接続されている。
上記実施形態によれば、上記半導体素子のバンプ電極と、上記配線とが、Au−Auの合金接合によって接続されているので、上記バンプ電極と、上記配線とを堅固に接合できる。
また、一実施形態の半導体装置は、上記半導体素子のバンプ電極と、上記配線とは、異方性導電接着フィルムによって接続されている。
上記実施形態によれば、上記半導体素子のバンプ電極と、上記配線とは、異方性導電接着フィルムによって接続されているので、上記バンプ電極と、上記配線とを堅固に接合することができる。
また、一実施形態の半導体装置は、上記半導体素子のバンプ電極と、上記配線とは、異方性導電接着ペーストによって接続されている。
上記実施形態によれば、上記半導体素子のバンプ電極と、上記配線とは、異方性導電接着ペーストによって接続されているので、上記バンプ電極と、上記配線とを堅固に接合することができる。
また、一実施形態の半導体装置は、上記半導体素子のバンプ電極と、上記配線とは、非導電性接着ペーストによって接続されている。
上記実施形態によれば、上記半導体素子のバンプ電極と、上記配線とは、非導電性接着ペーストによって接続されているので、上記バンプ電極と、上記配線とを堅固に接合することができる。
また、一実施形態の半導体装置は、上記半導体素子のバンプ電極と、上記配線とは、非導電性接着フィルムによって接続されている。
上記実施形態によれば、上記半導体素子のバンプ電極と、上記配線とは、非導電性接着フィルムによって接続されているので、上記バンプ電極と、上記配線とを堅固に接合することができる。
また、本発明によれば、上記放熱部材が、上記絶縁フィルムの上記他方の面上に直接配置されているので、上記配線と、上記放熱部材が電気接続することを確実に防止できて、半導体装置が損傷することを確実に防止できる。
また、一実施形態の半導体装置は、上記絶縁フィルムの上に、受動素子を配置している。
尚、この明細書では、上記受動素子は、コンデンサ、抵抗、または、コイルである。
上記絶縁フィルムの上に、受動素子が配置されていると、半導体素子以外にこの受動素子からも熱が放出される。したがって、半導体装置が高熱になりがちであるので、放熱部材を配置する意義が大きなものになる。
また、一実施形態の半導体装置は、上記放熱部材の表面の一部または表面の全面に、絶縁性の薄膜樹脂が塗布されるか、または、上記放熱部材の表面の一部または表面の全面に、絶縁性のシート部材が貼り付けられている。
上記実施形態によれば、上記薄膜樹脂または上記絶縁性のシート部材によって、放熱部材と、配線もしくは他の部品との短絡を確実に防止できる。
また、一実施形態の半導体装置は、上記放熱部材が、放熱板であり、上記放熱板の上記絶縁フィルム側の面の表面積は、上記絶縁フィルムの上記放熱板側の面の表面積よりも大きくなっている。
また、この発明の電子機器は、上記発明の半導体装置と、放熱用部品とを備える電子機器であって、上記半導体装置の放熱部材と、上記放熱用部品とは、直接的に連結されていることを特徴としている。
本発明によれば、上記発明の半導体装置を備えているので、放熱効果を大きくできて、温度上昇に起因する故障を確実に防止できる。
本発明によれば、上記放熱部材を介して大きな熱量の熱を放熱することができる。したがって、配線、絶縁フィルム、樹脂および半導体素子からの熱伝導および熱放射しか放熱方法を有さない従来の半導体装置と比較して、放熱性を格段に向上させることができる。
また、本発明によれば、半導体装置が大きな放熱性を有しているので、半導体装置が搭載される電子機器における放熱対策を軽減することができると共に、半導体装置を電子機器に高密度に実装することができる。
尚、放熱部材の材質に熱伝導率の高い材料を用いると、半導体装置の放熱性を向上させることができて、半導体素子が高温となり誤作動を起こすことを確実に防止できると共に、同一体積の空間により多くの半導体素子を搭載することができる。
以下、本発明を図示の形態により詳細に説明する。
(第1実施形態)
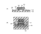
図1は、本発明の第1実施形態の半導体装置を示す図である。詳細には、図1(A)は、第1実施形態の半導体装置の断面図であり、図1(B)は、第1実施形態の半導体装置における半導体素子の搭載面を示す図であり、図1(C)は、第1実施形態の半導体装置の半導体素子が搭載されていない側の面を示す図である。
図1(A)に示すように、この半導体装置は、半導体素子1と、絶縁フィルム3と、配線4と、ソルダーレジスト5と、封止樹脂6と、放熱部材の一例としての金属製の放熱板10とを備える。
上記配線4は、絶縁フィルム3の一方の面上に配置されている。また、上記半導体素子は、本体部1と、パンプ電極2とを有し、バンプ電極2は、配線4に接続されている。
上記ソルダーレジスト5は、図1(B)に示すように、半導体素子1を配線4に半田付けする時の半田に対する隔壁となるべく、絶縁フィルム3における半導体素子1の周辺部に配置されている。また、封止樹脂6は、図1(A)に示すように、半導体素子1の側面全面に接するように、半導体素子1の周辺部に配置されている。上記封止樹脂6は、半導体素子1を絶縁フィルム3に確実に固定している。
上記放熱板10は、絶縁フィルム3の半導体素子側と反対側の表面に配置されている。詳細には、上記放熱板10は、図1(C)に示すように、上記放熱板10の表面積は、絶縁フィルム3の表面積よりも小さくなっている。また、上記放熱板10は、上記反対側の表面おける半導体素子1に対応する箇所に配置されている。
上記第1実施形態の半導体装置によれば、放熱板10を、絶縁フィルム3における半導体素子1の搭載面と反対側の面に配置しているので、半導体素子1から放出されて絶縁フィルム3を伝導した熱を、この放熱板10で放熱できる。したがって、半導体装置1の温度上昇を抑制できるので、半導体素子1の動作時の発熱で、半導体素子1が高温となり誤作動を起こすことを防止できる。また、放熱効果を上げることができ、電子機器の多機能化および小型化による高密度実装、および、半導体素子の多出力化による発熱による高温化を、確実に防止することができる。
また、上記第1実施形態の半導体装置によれば、放熱効果を高くする事が出来きるので、同一体積の空間により多くの半導体素子1を搭載することができて、絶縁フィルム3上に半導体素子1を高密度に配置できる。
また、上記第1実施形態の半導体装置によれば、放熱板10が、絶縁体フィルム3の半導体素子1が配置されていない面における半導体装置1に対応する箇所に、配置されているので、製造コストを低く抑えながら、放熱性を効率的に高くすることができる。
尚、上記第1実施形態の半導体装置では、絶縁フィルム3における半導体素子1に対応する箇所に放熱板10を配置したが、この発明では、絶縁フィルムにおける半導体素子および配線に対応する箇所に放熱板を配置しても良く、この場合、半導体装置の放熱性を更に向上させることができる。
また、上記第1実施形態の半導体装置では、配線4を絶縁フィルム3の一方の面上に直接配置すると共に、放熱板10を、絶縁フィルム3の他方の面上に直接配置した
図1に示すとおり、COFの場合、絶縁フィルム3における半導体素子1の搭載される部分に貫通穴が形成されておらず、半導体素子1と接合するインナーリードとよばれる配線4は絶縁フィルム3で裏打ちされた状態になっている。このことから、図1に示すように、放熱板10を半導体素子1の搭載面と逆の面に設ける事により、配線4と放熱板10との接触を防止でき、電気的な絶縁状態を確保することができる。
このことから、COFでは、半導体素子1の搭載面と逆面へ放熱板10を設け、放熱効果を高くする事が出来きるため、半導体素子1の動作時の発熱で、半導体素子1が高温となり誤作動を起こすことを防止することができ、同一体積の空間により多くの半導体素子を搭載することが可能となる。
図2は、この発明の半導体装置と比較するために作製された比較例の半導体装置の断面図であり、詳細には、放熱板20が配置されたTCP半導体装置を示す図である。
TCP半導体装置の場合、絶縁フィルム23における半導体素子21の搭載される部分にあらかじめ貫通穴が開けられており、絶縁フィルム23上に接着剤29を介して配置されているインナーリードと呼ばれる配線24が、絶縁フィルム23から片持ち梁状に突き出した形状で、配線24の先端部と半導体素子21が接合されるようになっている。したがって、TCP半導体装置に、放熱板20を配置する場合、図2(A)に示すように、放熱板20は、その縁部を、配線24上に配置されたソルダーレジスト25に接合するように、ソルダーレジスト25上に配置されるしか配置方法が存在しない。
しかしながら、そのような配置方法では、図2(B)に示すように、配線24と放熱板20が接触して、電気的短絡が発生する恐れが生して、半導体装置の信頼性が低いという問題がある。
(第2実施形態)
図3は、第2実施形態の半導体装置を示す図である。詳細には、図3(A)は、第2実施形態の半導体装置の断面図であり、図3(B)は、第1実施形態の半導体装置における半導体素子の搭載面と反対側の面を示す図である。
第2実施形態の半導体装置は、放熱板30の形状のみが第1実施形態の半導体装置と異なる。
第2実施形態の半導体装置では、第1実施形態の半導体装置の構成部と同一構成部には同一参照番号を付して説明を省略することにする。また、第2実施形態の半導体装置では、第1実施形態の半導体装置と共通の作用効果については説明を省略することにし、第1実施形態の半導体装置と異なる構成、作用効果についてのみ説明を行うことにする。
第2実施形態の半導体装置は、図2(A),(B)に示すように、絶縁フィルム3における半導体素子1側と反対側の面に、絶縁フィルム3よりも大きい放熱板30を配設している。
上記第2実施形態の半導体装置によれば、絶縁フィルム3における半導体素子1側と反対側の面に、絶縁フィルム3よりも大きい放熱板30を配設しているので、放熱板30の放熱効果を格段に向上させることができて、COFの半導体素子1からの発熱による高温上昇を確実に防止することができる。
(第3実施形態)
図4は、第3実施形態の半導体装置の絶縁フィルム43の半導体素子側と反対側の面を示す図である。
図4において、点線で示されている41の部分は、絶縁フィルム43の半導体素子側の半導体素子等の発熱源の配置構成によって、絶縁フィルム43内で他の部分よりも高温になる部分を示している。
図4に示すように、第3実施形態の半導体装置では、絶縁フィルム43の半導体素子側と反対側の面において、離散的に3つ存在する高温部分41を、覆うように、正方形状の放熱板40が、離散的に3つ配置されている。
第3実施形態の半導体装置のように、離散的に複数存在する高温部分を覆うように、複数の放熱板を離散的に配置すると、半導体装置の製造コストを抑制しながら、効率的に半導体装置の温度上昇を抑制できる。
尚、上記第3実施形態では、絶縁フィルム43内の高温部分が3箇所であったが、絶縁フィルム内の高温部分は、2箇所、あるいは、4箇所以上であっても良く、離散的に配置される放熱部材の個数が、2個、あるいは、4箇所以上であっても良いことは勿論である。また、各放熱部材の形状は、第3実施形態のように正方形である必要はなく、円形等の正方形以外の形状であっても良いことは、勿論である。
(第4実施形態)
図5は、第4実施形態の半導体装置を示す図である。詳細には、図5(A)は、第4実施形態の半導体装置の断面図であり、図5(B)は、第4実施形態の半導体装置の半導体素子側の上面図であり、図5(C)は、第4実施形態の半導体装置の半導体素子側と反対側の上面図である。
第4実施形態の半導体装置は、放熱板50の形状のみが第1実施形態の半導体装置と異なる。
第4実施形態の半導体装置では、第1実施形態の半導体装置の構成部と同一構成部には同一参照番号を付して説明を省略することにする。また、第4実施形態の半導体装置では、第1実施形態の半導体装置と共通の作用効果については説明を省略することにし、第1実施形態の半導体装置と異なる構成、作用効果についてのみ説明を行うことにする。
第4実施形態の半導体装置においては、図5(C)に示すように、放熱板50は、半導体装置における放熱部品に対応する形状を有している。また、放熱板50は、絶縁フィルム3の半導体装置の半導体素子1側と反対側の表面に、半導体装置における放熱部品に対応する箇所に配置されている。
また、放熱板50の端部53は、半導体装置の半導体素子側に配置されている放熱部品と接続している。
上記第4実施形態の半導体装置によれば、放熱板50と、放熱部品とが直接接続しているので、放熱板50に熱伝導により熱を効率良く移動させることができて、この伝導熱を放熱板50の表面から放出できる。したがって、COFの半導体素子からの発熱による半導体装置の温度上昇を、更に効果的に防止できる。
尚、上記第4実施形態の半導体装置では、放熱板50の形状を、半導体装置における放熱部品に対応すると共に、放熱部品と直接接続できる形状にしたが、この発明では、図5(D)に示すように、放熱板57の形状を、絶縁フィルム3における高熱部分に対応すると共に、その端部58を介して放熱部品と直接接続できる形状にしても良い。この場合、放熱板57の形状を、単純な形状にできるので、製造コストを低く抑えながら、放熱性を高くすることができる。
(第5実施形態)
図6は、第5実施形態の半導体装置を示す図である。詳細には、図6(A)は、第5実施形態の半導体装置の断面図であり、図6(B)は、第5実施形態の半導体装置の製造途中の絶縁フィルムにおける半導体素子側と反対側の表面を示す図である。また、図6(C)は、第5実施形態の半導体装置の絶縁フィルムにおける半導体素子側と反対側の表面を示す図である。
第5実施形態の半導体装置は、絶縁フィルム3の半導体素子1側と反対側の表面上、および、この表面に配置されている放熱板50の上に、絶縁性の樹脂薄膜66を配置した点のみが、第4実施形態の半導体装置と異なる。
第5実施形態の半導体装置では、第4実施形態の半導体装置の構成部と同一構成部には同一参照番号を付して説明を省略することにする。また、第5実施形態の半導体装置では、第4実施形態の半導体装置と共通の作用効果については説明を省略することにし、第4実施形態の半導体装置と異なる構成、作用効果についてのみ説明を行うことにする。
第5実施形態の半導体装置では、放熱板50における、配線もしくは他の部品との接触が懸念される場所に、絶縁性の樹脂薄膜66が塗布されている。
上記第5実施形態の半導体装置によれば、放熱板50における、配線もしくは他の部品との接触が懸念される場所に、絶縁性の樹脂薄膜66を塗布しているので、放熱板50と、配線もしくは他の部品との短絡を防止できる。したがって、半導体素子の素子特性や寿命の信頼性を向上させることができる。
尚、上記第5実施形態の半導体装置では、図6(C)に示すように、放熱板50の一部に絶縁性の樹脂薄膜66を配置したが、この発明では、放熱部材の全部に絶縁性の樹脂薄膜を配置しても良い。また、上記第5実施形態では、放熱板50の一部に絶縁性の樹脂薄膜66を配置したが、この発明では、放熱部材の一部または全部に絶縁性のシートを貼り付けても良い。
上記第1〜第5実施形態では、絶縁フィルム3上に、半導体素子1を一つのみ配置したが、この発明では、絶縁フィルム上に、複数の半導体素子(例えば、LEDとトランジスタ)を配置しても良い。また、必要に応じて、半導体素子に加えて受動素子を配置しても良い。
上記第1〜第5実施形態では、絶縁フィルム3に放熱板を配置したが、絶縁フィルム3に放熱板を配置する方法としては、絶縁フィルムと金属等の薄膜を、接着剤を介さず貼り付けて、サブスト法によりパターン形成する方法がある。
また、別の方法としては、絶縁フィルムと金属等の薄膜を、絶縁フィルム上に金属パターンをセミアディブ法により形成する方法等がある。
これらの方法を用いれは、多角形、円形、もしくは、楕円形等の如何なる形状の放熱部材でも、容易に絶縁フィル上に配設する事ができる。
図7は、半導体素子のバンプ電極と絶縁フィルム上の配線との接合方法の一例を示す図である。尚、図7に示されている半導体素子71のバンプ電極72は、金製であるものとする。
以下に、図7を用いて、バンプ電極72と絶縁フィルム73上の配線74との接合方法について説明することにする。
先ず、図7(A)に示すように、錫メッキを施した配線74と半導体素子71上の金製のバンプ電極72とが、図示しないACF(異方性導電接着剤フィルム)を介して相対するように、半導体素子71を絶縁フィルム73に位置合わせする。
その後、押圧部材77を用いて、半導体素子71のバンプ電極72側と反対側の面を押圧すると共に、一定時間加熱して、図7(B)に示すように、バンプ電極72と配線74とを接合する。このようにして、接合部にAu−Sn合金を形成して、バンプ電極72と配線74とを堅固に接合する。
その後、図7(C)に示すように、半導体素子71と絶縁フィルム73との間に出来る隙間に、封止樹脂76を注入して、耐湿性及び機械的強度を向上させて、バンプ電極72と絶縁フィルム73上の配線74との接合を完成させるようにしている。
図7において、75は、ソルダーレジストである。図7に示すように、絶縁フィルム73上の配線74におけるバンプ電極72が接続される部分以外の部分に、ソルダーレジスト75を配置すると、導電性異物が配線74上に接触して、半導体装置がショートする事を確実に防止することができる。
また、図7に示す半導体装置のように、絶縁フィルム73上の配線74と半導体素子71上のバンプ電極72とをACFを介して、相対するように位置あわせした場合、封止樹脂76を省略しても良い。
尚、図7に示す半導体装置では、配線74は、錫メッキされていたが、この発明では、配線は、金メッキされていても良い。そして、図7とまったく同じ方法で、バンプ電極と配線とをAu−An合金を用いて堅固に接合しても良い。
また、図7に示す半導体装置では、絶縁フィルム73上の配線97と半導体素子71上のバンプ電極72とをACFを介して、相対するように位置あわせしたが、この発明では、絶縁フィルム上の配線と半導体素子上のバンプ電極とを、ACP(異方性導電接着ペースト)、NCP(非導電接着ペースト)、または、非導電性接着フィルムを介して、相対するように位置あわせしても良い。これらの場合においても、ACFを用いて場合と同様に、封止樹脂を省略することができる。
図8は、この発明の半導体装置を備える第1実施形態の電子機器の断面図である。
この電子機器は、筐体89と、電子機器の外壁の一部を構成する放熱用部品84と、電子機器内に配置されたこの発明の半導体装置80とを備える。
上記半導体装置80は、半導体素子81と、絶縁フィルム83と、封止樹脂86と、放熱板87とを有する。
図8に示されているように、第1実施形態の電子機器では、放熱板87の大部分は、絶縁フィルム83と、放熱用部品84との間に挟まれている。
上記第1実施形態の電子機器によれば、放熱用部品84に加えて、半導体装置80の放熱板87でも、熱を効果的に放出できる。したがって、電子機器の温度上昇を更に抑制することができる。
尚、上記第1実施形態の電子機器は、半導体装置80以外の部分に放熱用部品84を備えていたが、この発明では、半導体装置に放熱対策が施されているので、半導体装置以外の部分に必ずしも放熱用部品を設ける必要がない。そして、半導体装置以外の部分の放熱用部品を省略することによって、電子機器の製造コストを低減できると共に、電子機器をコンパクトにすることができる。
図9は、この発明の半導体装置を備える第2実施形態の電子機器の断面図である。
第2実施形態の電子機器では、第1実施形態の電子機器と共通の作用効果については説明を省略することにし、第1実施形態の半導体装置と異なる構成、作用効果についてのみ説明を行うことにする。
この電子機器は、筐体99と、電子機器の外壁の一部を構成する放熱用部品94と、電子機器内に配置されたこの発明の半導体装置90とを備える。
上記半導体装置90は、半導体素子91と、絶縁フィルム93と、封止樹脂96と、放熱板97とを有する。
図9に示されているように、第2実施形態の電子機器では、放熱板97における半導体装置91に対応する部分が、電子機器の外壁の一部を成している。
上記第2実施形態の電子機器によれば、放熱板97における半導体素子91に対応する部分が、電子機器の外壁の一部を成しているので、半導体素子91から放出された熱を効率的に外部空間に放出できる。したがって、電子機器の温度上昇を更に抑制できる。
本発明の第1実施形態の半導体装置を示す図である。 比較例の半導体装置の断面図である。 第2実施形態の半導体装置を示す図である。 第3実施形態の半導体装置の絶縁フィルムの半導体素子側と反対側の面を示す図である。 第4実施形態の半導体装置を示す図である。 第5実施形態の半導体装置を示す図である。 半導体素子のバンプ電極と絶縁フィルム上の配線との接合方法の一例を示す図である。 第1実施形態の電子機器の断面図である。 第2実施形態の電子機器の断面図である。 TCPの一般的な構造を示す図である。 従来のCOFの一般的な構造を示す図である。 従来の金属製の放熱板が設置された電子機器を示す。
符号の説明
1,71 半導体素子
2,72 バンプ電極
3,73 絶縁フィルム
4,74 配線
5,75 ソルダーレジスト
6,76 封止樹脂
10,30,40,50,57 放熱板
66 樹脂薄膜
80,90 半導体装置

Claims (14)

  1. 絶縁フィルムと、
    この絶縁フィルムの一方の面上に配置された配線と、
    上記絶縁フィルムの上記一方の面に対向するように配置された一つまたは複数の半導体素子と、
    上記絶縁体フィルムの他方の面上に配置された放熱部材と
    を備え
    上記放熱部材は、上記絶縁体フィルムの上記他方の面における上記半導体素子に対応する箇所に、少なくとも配置され、
    上記放熱部材は、上記絶縁フィルムの上記他方の面上に直接配置されていることを特徴とする半導体装置。
  2. 請求項に記載の半導体装置において、
    上記放熱部材は、上記絶縁体フィルムの上記他方の面における上記配線に対応する箇所に、少なくとも配置されていることを特徴とする半導体装置。
  3. 請求項1に記載の半導体装置において、
    上記放熱部材は、互いに連続していない複数の部分から成ることを特徴とする半導体装置。
  4. 請求項1に記載の半導体装置において、
    上記半導体素子は、少なくとも2種類の半導体素子を含むことを特徴とする半導体装置。
  5. 請求項1に記載の半導体装置において、
    上記半導体素子のバンプ電極と、上記配線とは、Au−Snの合金接合によって接続されていることを特徴とする半導体装置。
  6. 請求項1に記載の半導体装置において、
    上記半導体素子のバンプ電極と、上記配線とは、Au−Auの合金接合によって接続されていることを特徴とする半導体装置。
  7. 請求項1に記載の半導体装置において、
    上記半導体素子のバンプ電極と、上記配線とは、異方性導電接着フィルムによって接続されていることを特徴とする半導体装置。
  8. 請求項1に記載の半導体装置において、
    上記半導体素子のバンプ電極と、上記配線とは、異方性導電接着ペーストによって接続されていることを特徴とする半導体装置。
  9. 請求項1に記載の半導体装置において、
    上記半導体素子のバンプ電極と、上記配線とは、非導電性接着ペーストによって接続されていることを特徴とする半導体装置。
  10. 請求項1に記載の半導体装置において、
    上記半導体素子のバンプ電極と、上記配線とは、非導電性接着フィルムによって接続されていることを特徴とする半導体装置。
  11. 請求項1に記載の半導体装置において、
    上記絶縁フィルムの上に、受動素子を配置していることを特徴とする半導体装置。
  12. 請求項1に記載の半導体装置において、
    上記放熱部材の表面の一部または表面の全面に、絶縁性の薄膜樹脂が塗布されるか、または、上記放熱部材の表面の一部または表面の全面に、絶縁性のシート部材が貼り付けられていることを特徴とする半導体装置。
  13. 請求項1に記載の半導体装置において、
    上記放熱部材は、放熱板であり、
    上記放熱板の上記絶縁フィルム側の面の表面積は、上記絶縁フィルムの上記放熱板側の面の表面積よりも大きいことを特徴とする半導体装置。
  14. 請求項1に記載の半導体装置と、放熱用部品とを備える電子機器であって、
    上記半導体装置の放熱部材と、上記放熱用部品とは、直接的に連結されていることを特徴とする電子機器。
JP2004292435A 2004-10-05 2004-10-05 半導体装置および電子機器 Expired - Lifetime JP4014591B2 (ja)

Priority Applications (5)

Application Number Priority Date Filing Date Title
JP2004292435A JP4014591B2 (ja) 2004-10-05 2004-10-05 半導体装置および電子機器
CNB2005101291378A CN100385648C (zh) 2004-10-05 2005-09-30 半导体器件以及电子设备
KR1020050092674A KR20060051982A (ko) 2004-10-05 2005-10-01 반도체 장치 및 전자기기
US11/241,972 US20060071325A1 (en) 2004-10-05 2005-10-04 Semiconductor device and electronic apparatus
TW094134686A TWI302736B (en) 2004-10-05 2005-10-04 Semiconductor device and electronic apparatus

Applications Claiming Priority (1)

Application Number Priority Date Filing Date Title
JP2004292435A JP4014591B2 (ja) 2004-10-05 2004-10-05 半導体装置および電子機器

Publications (2)

Publication Number Publication Date
JP2006108356A JP2006108356A (ja) 2006-04-20
JP4014591B2 true JP4014591B2 (ja) 2007-11-28

Family

ID=36124726

Family Applications (1)

Application Number Title Priority Date Filing Date
JP2004292435A Expired - Lifetime JP4014591B2 (ja) 2004-10-05 2004-10-05 半導体装置および電子機器

Country Status (5)

Country Link
US (1) US20060071325A1 (ja)
JP (1) JP4014591B2 (ja)
KR (1) KR20060051982A (ja)
CN (1) CN100385648C (ja)
TW (1) TWI302736B (ja)

Families Citing this family (22)

* Cited by examiner, † Cited by third party
Publication number Priority date Publication date Assignee Title
KR101144557B1 (ko) * 2006-03-27 2012-05-11 엘지이노텍 주식회사 발광 다이오드 조명장치 및 그 제조방법
US8575746B2 (en) 2006-07-20 2013-11-05 Samsung Electronics Co., Ltd. Chip on flexible printed circuit type semiconductor package
KR100785950B1 (ko) * 2006-11-09 2007-12-14 스테코 주식회사 Cof 패키지 및 그의 제조 방법
JP5096782B2 (ja) 2007-04-19 2012-12-12 ルネサスエレクトロニクス株式会社 半導体装置
JP4109707B1 (ja) 2007-05-30 2008-07-02 新藤電子工業株式会社 半導体装置およびその製造方法、ならびにディスプレイ装置およびその製造方法
KR101493869B1 (ko) 2008-04-17 2015-02-23 삼성전자주식회사 방열 부재 테이프, 방열부재를 구비한 씨오에프(cof)형 반도체 패키지 및 이를 적용한 전자장치
JP5095460B2 (ja) 2008-01-17 2012-12-12 シャープ株式会社 半導体装置および表示装置
JP5238274B2 (ja) * 2008-01-31 2013-07-17 日東電工株式会社 配線回路基板およびその製造方法
JP5184115B2 (ja) * 2008-01-31 2013-04-17 日東電工株式会社 配線回路基板およびその製造方法
DE102008016899A1 (de) * 2008-04-02 2009-10-22 Continental Automotive Gmbh Elektrisches Gerät
JP4981744B2 (ja) 2008-05-09 2012-07-25 日東電工株式会社 配線回路基板およびその製造方法
JP5236377B2 (ja) 2008-07-16 2013-07-17 シャープ株式会社 半導体装置および表示装置
DE102010039146A1 (de) * 2010-08-10 2012-02-16 Robert Bosch Gmbh Verfahren zum elektrisch leitenden Verbinden von Leiterbahnen in Leitungsträgern und System umfassend solche Leitungsträger
JP6176817B2 (ja) 2011-10-17 2017-08-09 ローム株式会社 チップダイオードおよびダイオードパッケージ
JP6389300B2 (ja) * 2011-10-17 2018-09-12 ローム株式会社 半導体装置
KR101981173B1 (ko) * 2012-10-16 2019-05-23 삼성디스플레이 주식회사 표시 장치용 본딩 장치 및 그 방법
US10032969B2 (en) 2014-12-26 2018-07-24 Nichia Corporation Light emitting device
US10043737B2 (en) 2015-12-02 2018-08-07 Novatek Microelectronics Corp. Chip on film package
US9978663B2 (en) 2015-12-09 2018-05-22 Samsung Display Co., Ltd. Integrated circuit assembly with heat spreader and method of making the same
DE102016220065A1 (de) * 2016-10-14 2018-04-19 Robert Bosch Gmbh Verfahren zum Ausbilden mindestens eines Wärmeableitpfades für ein mikroelektronisches Bauteil und entsprechendes mikroelektronisches Bauteil
WO2020114911A1 (de) * 2018-12-07 2020-06-11 Continental Automotive Gmbh Temperatur- und umgebungslichtmessung bei selbstleuchtenden anzeigetechnologien in automobilanwendungen
JP6924974B1 (ja) * 2020-03-10 2021-08-25 パナソニックIpマネジメント株式会社 撮像装置

Family Cites Families (31)

* Cited by examiner, † Cited by third party
Publication number Priority date Publication date Assignee Title
JPS61144098A (ja) * 1984-12-18 1986-07-01 三菱電線工業株式会社 片側面絶縁型回路用基板の製造方法
JPH0310224A (ja) * 1989-06-07 1991-01-17 Sharp Corp 表示装置
US5616520A (en) * 1992-03-30 1997-04-01 Hitachi, Ltd. Semiconductor integrated circuit device and fabrication method thereof
US5583378A (en) * 1994-05-16 1996-12-10 Amkor Electronics, Inc. Ball grid array integrated circuit package with thermal conductor
JP2944449B2 (ja) * 1995-02-24 1999-09-06 日本電気株式会社 半導体パッケージとその製造方法
US5739584A (en) * 1995-06-07 1998-04-14 Lsi Logic Corporation Multiple pin die package
US5796165A (en) * 1996-03-19 1998-08-18 Matsushita Electronics Corporation High-frequency integrated circuit device having a multilayer structure
JP2806357B2 (ja) * 1996-04-18 1998-09-30 日本電気株式会社 スタックモジュール
JPH10163386A (ja) * 1996-12-03 1998-06-19 Toshiba Corp 半導体装置、半導体パッケージおよび実装回路装置
US5942795A (en) * 1997-07-03 1999-08-24 National Semiconductor Corporation Leaded substrate carrier for integrated circuit device and leaded substrate carrier device assembly
US5901041A (en) * 1997-12-02 1999-05-04 Northern Telecom Limited Flexible integrated circuit package
JP3859340B2 (ja) * 1998-01-06 2006-12-20 三菱電機株式会社 半導体装置
JPH11214435A (ja) * 1998-01-26 1999-08-06 Sharp Corp 半導体装置およびその製造方法
US6362530B1 (en) * 1998-04-06 2002-03-26 National Semiconductor Corporation Manufacturing methods and construction for integrated circuit packages
US5939783A (en) * 1998-05-05 1999-08-17 International Business Machines Corporation Electronic package
JP3147087B2 (ja) * 1998-06-17 2001-03-19 日本電気株式会社 積層型半導体装置放熱構造
US5854507A (en) * 1998-07-21 1998-12-29 Hewlett-Packard Company Multiple chip assembly
US6219238B1 (en) * 1999-05-10 2001-04-17 International Business Machines Corporation Structure for removably attaching a heat sink to surface mount packages
CA2308943A1 (en) * 1999-05-20 2000-11-20 Robert John Sletten Surface mount millimeter wave ic package
TW561799B (en) * 1999-08-11 2003-11-11 Fujikura Ltd Chip assembly module of bump connection type using a multi-layer printed circuit substrate
JP2001077236A (ja) * 1999-09-07 2001-03-23 Casio Comput Co Ltd 半導体装置及びその接合構造
US6677664B2 (en) * 2000-04-25 2004-01-13 Fujitsu Hitachi Plasma Display Limited Display driver integrated circuit and flexible wiring board using a flat panel display metal chassis
US6512675B1 (en) * 2000-06-28 2003-01-28 Advanced Micro Devices, Inc. Heat sink grounded to a grounded package lid
JP2002076215A (ja) * 2000-08-29 2002-03-15 Sony Corp 半導体装置パッケージ及びその作製方法
US6611055B1 (en) * 2000-11-15 2003-08-26 Skyworks Solutions, Inc. Leadless flip chip carrier design and structure
US7259448B2 (en) * 2001-05-07 2007-08-21 Broadcom Corporation Die-up ball grid array package with a heat spreader and method for making the same
JP4067802B2 (ja) * 2001-09-18 2008-03-26 松下電器産業株式会社 照明装置
JP3878527B2 (ja) * 2002-08-20 2007-02-07 住友電工プリントサーキット株式会社 プリント基板
JP2004214249A (ja) * 2002-12-27 2004-07-29 Renesas Technology Corp 半導体モジュール
US7095053B2 (en) * 2003-05-05 2006-08-22 Lamina Ceramics, Inc. Light emitting diodes packaged for high temperature operation
TWI300261B (en) * 2003-07-02 2008-08-21 Advanced Semiconductor Eng Chip package structur

Also Published As

Publication number Publication date
KR20060051982A (ko) 2006-05-19
CN100385648C (zh) 2008-04-30
US20060071325A1 (en) 2006-04-06
CN1767177A (zh) 2006-05-03
JP2006108356A (ja) 2006-04-20
TW200629524A (en) 2006-08-16
TWI302736B (en) 2008-11-01

Similar Documents

Publication Publication Date Title
JP4014591B2 (ja) 半導体装置および電子機器
US9633919B2 (en) Package structure with an elastomer with lower elastic modulus
US20140029201A1 (en) Power package module and manufacturing method thereof
JP5582995B2 (ja) ソケット
JP2008091714A (ja) 半導体装置
JP2006073651A (ja) 半導体装置
KR102674888B1 (ko) 인쇄회로기판 조립체
JPWO2018216627A1 (ja) 電子機器
TW201417642A (zh) 連接基板及層疊封裝結構
KR100768998B1 (ko) 다층인쇄회로기판을 사용한 범프접속형 칩실장모듈
US20100271785A1 (en) Heat-dissipating and fixing mechanism of electronic component and process for assembling same
JP5169800B2 (ja) 電子装置
JP4975584B2 (ja) 半導体装置及び半導体装置の製造方法。
JP2005012127A (ja) 電子制御装置
JP2013065887A (ja) 電子装置
CN1331228C (zh) 混合型模块
JP6928129B2 (ja) 電力変換装置
JP7223639B2 (ja) 電子制御装置
JP5003730B2 (ja) 電子装置
JP5667023B2 (ja) 集合配線基板および電子装置の実装方法
US7310224B2 (en) Electronic apparatus with thermal module
JP4193702B2 (ja) 半導体パッケージの実装構造
JP4514530B2 (ja) 精密機器に内蔵される回路モジュールおよび精密機器
JP2003007914A (ja) 半導体装置
JP2000315747A (ja) 半導体パッケージ

Legal Events

Date Code Title Description
A977 Report on retrieval

Free format text: JAPANESE INTERMEDIATE CODE: A971007

Effective date: 20070412

A131 Notification of reasons for refusal

Free format text: JAPANESE INTERMEDIATE CODE: A131

Effective date: 20070508

A521 Request for written amendment filed

Free format text: JAPANESE INTERMEDIATE CODE: A523

Effective date: 20070709

TRDD Decision of grant or rejection written
A01 Written decision to grant a patent or to grant a registration (utility model)

Free format text: JAPANESE INTERMEDIATE CODE: A01

Effective date: 20070904

A61 First payment of annual fees (during grant procedure)

Free format text: JAPANESE INTERMEDIATE CODE: A61

Effective date: 20070911

FPAY Renewal fee payment (event date is renewal date of database)

Free format text: PAYMENT UNTIL: 20100921

Year of fee payment: 3

R150 Certificate of patent or registration of utility model

Ref document number: 4014591

Country of ref document: JP

Free format text: JAPANESE INTERMEDIATE CODE: R150

Free format text: JAPANESE INTERMEDIATE CODE: R150

FPAY Renewal fee payment (event date is renewal date of database)

Free format text: PAYMENT UNTIL: 20110921

Year of fee payment: 4

FPAY Renewal fee payment (event date is renewal date of database)

Free format text: PAYMENT UNTIL: 20120921

Year of fee payment: 5

FPAY Renewal fee payment (event date is renewal date of database)

Free format text: PAYMENT UNTIL: 20130921

Year of fee payment: 6

R250 Receipt of annual fees

Free format text: JAPANESE INTERMEDIATE CODE: R250

S531 Written request for registration of change of domicile

Free format text: JAPANESE INTERMEDIATE CODE: R313531

S111 Request for change of ownership or part of ownership

Free format text: JAPANESE INTERMEDIATE CODE: R313113

R350 Written notification of registration of transfer

Free format text: JAPANESE INTERMEDIATE CODE: R350

R350 Written notification of registration of transfer

Free format text: JAPANESE INTERMEDIATE CODE: R350

R250 Receipt of annual fees

Free format text: JAPANESE INTERMEDIATE CODE: R250

R250 Receipt of annual fees

Free format text: JAPANESE INTERMEDIATE CODE: R250

R250 Receipt of annual fees

Free format text: JAPANESE INTERMEDIATE CODE: R250

R250 Receipt of annual fees

Free format text: JAPANESE INTERMEDIATE CODE: R250

EXPY Cancellation because of completion of term