JP2024166315A - 光電変換装置、撮像システム及び移動体 - Google Patents
光電変換装置、撮像システム及び移動体 Download PDFInfo
- Publication number
- JP2024166315A JP2024166315A JP2024156807A JP2024156807A JP2024166315A JP 2024166315 A JP2024166315 A JP 2024166315A JP 2024156807 A JP2024156807 A JP 2024156807A JP 2024156807 A JP2024156807 A JP 2024156807A JP 2024166315 A JP2024166315 A JP 2024166315A
- Authority
- JP
- Japan
- Prior art keywords
- region
- photoelectric conversion
- conversion device
- depth
- semiconductor region
- Prior art date
- Legal status (The legal status is an assumption and is not a legal conclusion. Google has not performed a legal analysis and makes no representation as to the accuracy of the status listed.)
- Granted
Links
Images
Classifications
-
- H—ELECTRICITY
- H10—SEMICONDUCTOR DEVICES; ELECTRIC SOLID-STATE DEVICES NOT OTHERWISE PROVIDED FOR
- H10F—INORGANIC SEMICONDUCTOR DEVICES SENSITIVE TO INFRARED RADIATION, LIGHT, ELECTROMAGNETIC RADIATION OF SHORTER WAVELENGTH OR CORPUSCULAR RADIATION
- H10F39/00—Integrated devices, or assemblies of multiple devices, comprising at least one element covered by group H10F30/00, e.g. radiation detectors comprising photodiode arrays
- H10F39/10—Integrated devices
- H10F39/12—Image sensors
- H10F39/18—Complementary metal-oxide-semiconductor [CMOS] image sensors; Photodiode array image sensors
-
- G—PHYSICS
- G06—COMPUTING OR CALCULATING; COUNTING
- G06T—IMAGE DATA PROCESSING OR GENERATION, IN GENERAL
- G06T7/00—Image analysis
- G06T7/50—Depth or shape recovery
- G06T7/55—Depth or shape recovery from multiple images
-
- H—ELECTRICITY
- H04—ELECTRIC COMMUNICATION TECHNIQUE
- H04N—PICTORIAL COMMUNICATION, e.g. TELEVISION
- H04N25/00—Circuitry of solid-state image sensors [SSIS]; Control thereof
- H04N25/70—SSIS architectures; Circuits associated therewith
- H04N25/76—Addressed sensors, e.g. MOS or CMOS sensors
- H04N25/77—Pixel circuitry, e.g. memories, A/D converters, pixel amplifiers, shared circuits or shared components
- H04N25/772—Pixel circuitry, e.g. memories, A/D converters, pixel amplifiers, shared circuits or shared components comprising A/D, V/T, V/F, I/T or I/F converters
- H04N25/773—Pixel circuitry, e.g. memories, A/D converters, pixel amplifiers, shared circuits or shared components comprising A/D, V/T, V/F, I/T or I/F converters comprising photon counting circuits, e.g. single photon detection [SPD] or single photon avalanche diodes [SPAD]
-
- H—ELECTRICITY
- H10—SEMICONDUCTOR DEVICES; ELECTRIC SOLID-STATE DEVICES NOT OTHERWISE PROVIDED FOR
- H10F—INORGANIC SEMICONDUCTOR DEVICES SENSITIVE TO INFRARED RADIATION, LIGHT, ELECTROMAGNETIC RADIATION OF SHORTER WAVELENGTH OR CORPUSCULAR RADIATION
- H10F39/00—Integrated devices, or assemblies of multiple devices, comprising at least one element covered by group H10F30/00, e.g. radiation detectors comprising photodiode arrays
- H10F39/10—Integrated devices
- H10F39/12—Image sensors
- H10F39/18—Complementary metal-oxide-semiconductor [CMOS] image sensors; Photodiode array image sensors
- H10F39/182—Colour image sensors
-
- H—ELECTRICITY
- H10—SEMICONDUCTOR DEVICES; ELECTRIC SOLID-STATE DEVICES NOT OTHERWISE PROVIDED FOR
- H10F—INORGANIC SEMICONDUCTOR DEVICES SENSITIVE TO INFRARED RADIATION, LIGHT, ELECTROMAGNETIC RADIATION OF SHORTER WAVELENGTH OR CORPUSCULAR RADIATION
- H10F39/00—Integrated devices, or assemblies of multiple devices, comprising at least one element covered by group H10F30/00, e.g. radiation detectors comprising photodiode arrays
- H10F39/10—Integrated devices
- H10F39/12—Image sensors
- H10F39/199—Back-illuminated image sensors
-
- H—ELECTRICITY
- H10—SEMICONDUCTOR DEVICES; ELECTRIC SOLID-STATE DEVICES NOT OTHERWISE PROVIDED FOR
- H10F—INORGANIC SEMICONDUCTOR DEVICES SENSITIVE TO INFRARED RADIATION, LIGHT, ELECTROMAGNETIC RADIATION OF SHORTER WAVELENGTH OR CORPUSCULAR RADIATION
- H10F39/00—Integrated devices, or assemblies of multiple devices, comprising at least one element covered by group H10F30/00, e.g. radiation detectors comprising photodiode arrays
- H10F39/80—Constructional details of image sensors
- H10F39/802—Geometry or disposition of elements in pixels, e.g. address-lines or gate electrodes
- H10F39/8023—Disposition of the elements in pixels, e.g. smaller elements in the centre of the imager compared to larger elements at the periphery
-
- H—ELECTRICITY
- H10—SEMICONDUCTOR DEVICES; ELECTRIC SOLID-STATE DEVICES NOT OTHERWISE PROVIDED FOR
- H10F—INORGANIC SEMICONDUCTOR DEVICES SENSITIVE TO INFRARED RADIATION, LIGHT, ELECTROMAGNETIC RADIATION OF SHORTER WAVELENGTH OR CORPUSCULAR RADIATION
- H10F39/00—Integrated devices, or assemblies of multiple devices, comprising at least one element covered by group H10F30/00, e.g. radiation detectors comprising photodiode arrays
- H10F39/80—Constructional details of image sensors
- H10F39/802—Geometry or disposition of elements in pixels, e.g. address-lines or gate electrodes
- H10F39/8027—Geometry of the photosensitive area
-
- H—ELECTRICITY
- H10—SEMICONDUCTOR DEVICES; ELECTRIC SOLID-STATE DEVICES NOT OTHERWISE PROVIDED FOR
- H10F—INORGANIC SEMICONDUCTOR DEVICES SENSITIVE TO INFRARED RADIATION, LIGHT, ELECTROMAGNETIC RADIATION OF SHORTER WAVELENGTH OR CORPUSCULAR RADIATION
- H10F39/00—Integrated devices, or assemblies of multiple devices, comprising at least one element covered by group H10F30/00, e.g. radiation detectors comprising photodiode arrays
- H10F39/80—Constructional details of image sensors
- H10F39/803—Pixels having integrated switching, control, storage or amplification elements
- H10F39/8033—Photosensitive area
-
- H—ELECTRICITY
- H10—SEMICONDUCTOR DEVICES; ELECTRIC SOLID-STATE DEVICES NOT OTHERWISE PROVIDED FOR
- H10F—INORGANIC SEMICONDUCTOR DEVICES SENSITIVE TO INFRARED RADIATION, LIGHT, ELECTROMAGNETIC RADIATION OF SHORTER WAVELENGTH OR CORPUSCULAR RADIATION
- H10F39/00—Integrated devices, or assemblies of multiple devices, comprising at least one element covered by group H10F30/00, e.g. radiation detectors comprising photodiode arrays
- H10F39/80—Constructional details of image sensors
- H10F39/806—Optical elements or arrangements associated with the image sensors
- H10F39/8063—Microlenses
-
- H—ELECTRICITY
- H10—SEMICONDUCTOR DEVICES; ELECTRIC SOLID-STATE DEVICES NOT OTHERWISE PROVIDED FOR
- H10F—INORGANIC SEMICONDUCTOR DEVICES SENSITIVE TO INFRARED RADIATION, LIGHT, ELECTROMAGNETIC RADIATION OF SHORTER WAVELENGTH OR CORPUSCULAR RADIATION
- H10F39/00—Integrated devices, or assemblies of multiple devices, comprising at least one element covered by group H10F30/00, e.g. radiation detectors comprising photodiode arrays
- H10F39/80—Constructional details of image sensors
- H10F39/807—Pixel isolation structures
-
- H—ELECTRICITY
- H10—SEMICONDUCTOR DEVICES; ELECTRIC SOLID-STATE DEVICES NOT OTHERWISE PROVIDED FOR
- H10F—INORGANIC SEMICONDUCTOR DEVICES SENSITIVE TO INFRARED RADIATION, LIGHT, ELECTROMAGNETIC RADIATION OF SHORTER WAVELENGTH OR CORPUSCULAR RADIATION
- H10F39/00—Integrated devices, or assemblies of multiple devices, comprising at least one element covered by group H10F30/00, e.g. radiation detectors comprising photodiode arrays
- H10F39/80—Constructional details of image sensors
- H10F39/813—Electronic components shared by multiple pixels, e.g. one amplifier shared by two pixels
-
- G—PHYSICS
- G06—COMPUTING OR CALCULATING; COUNTING
- G06T—IMAGE DATA PROCESSING OR GENERATION, IN GENERAL
- G06T2207/00—Indexing scheme for image analysis or image enhancement
- G06T2207/30—Subject of image; Context of image processing
- G06T2207/30248—Vehicle exterior or interior
- G06T2207/30252—Vehicle exterior; Vicinity of vehicle
-
- H—ELECTRICITY
- H04—ELECTRIC COMMUNICATION TECHNIQUE
- H04N—PICTORIAL COMMUNICATION, e.g. TELEVISION
- H04N25/00—Circuitry of solid-state image sensors [SSIS]; Control thereof
- H04N25/10—Circuitry of solid-state image sensors [SSIS]; Control thereof for transforming different wavelengths into image signals
- H04N25/11—Arrangement of colour filter arrays [CFA]; Filter mosaics
- H04N25/13—Arrangement of colour filter arrays [CFA]; Filter mosaics characterised by the spectral characteristics of the filter elements
- H04N25/134—Arrangement of colour filter arrays [CFA]; Filter mosaics characterised by the spectral characteristics of the filter elements based on three different wavelength filter elements
-
- H—ELECTRICITY
- H04—ELECTRIC COMMUNICATION TECHNIQUE
- H04N—PICTORIAL COMMUNICATION, e.g. TELEVISION
- H04N25/00—Circuitry of solid-state image sensors [SSIS]; Control thereof
- H04N25/70—SSIS architectures; Circuits associated therewith
- H04N25/76—Addressed sensors, e.g. MOS or CMOS sensors
-
- H—ELECTRICITY
- H10—SEMICONDUCTOR DEVICES; ELECTRIC SOLID-STATE DEVICES NOT OTHERWISE PROVIDED FOR
- H10F—INORGANIC SEMICONDUCTOR DEVICES SENSITIVE TO INFRARED RADIATION, LIGHT, ELECTROMAGNETIC RADIATION OF SHORTER WAVELENGTH OR CORPUSCULAR RADIATION
- H10F39/00—Integrated devices, or assemblies of multiple devices, comprising at least one element covered by group H10F30/00, e.g. radiation detectors comprising photodiode arrays
- H10F39/80—Constructional details of image sensors
- H10F39/805—Coatings
- H10F39/8053—Colour filters
Landscapes
- Engineering & Computer Science (AREA)
- Computer Vision & Pattern Recognition (AREA)
- Physics & Mathematics (AREA)
- General Physics & Mathematics (AREA)
- Theoretical Computer Science (AREA)
- Multimedia (AREA)
- Signal Processing (AREA)
- Solid State Image Pick-Up Elements (AREA)
- Light Receiving Elements (AREA)
- Transforming Light Signals Into Electric Signals (AREA)
Abstract
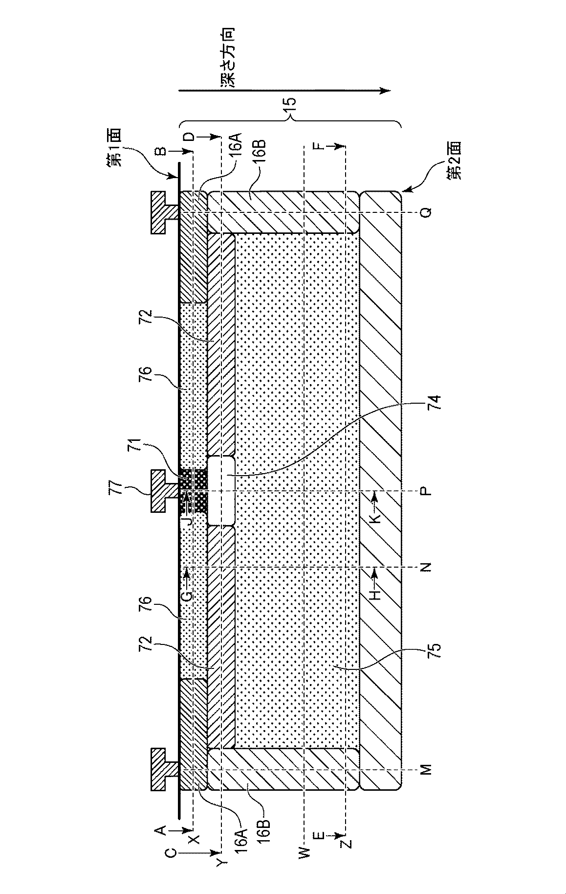
【解決手段】第1面を有する第1基板と、前記第1基板に配され、各々が、入射光を光電変換することにより信号電荷を生成する第1領域と、前記第1領域から移動した前記信号電荷を受ける第2領域と、を有する、複数のフォトダイオードと、前記第1基板の第1の深さに配され、複数の前記第2領域の間を分離するように第1の方向に延在する第1部分を含む第1の分離領域と、前記第1基板の、前記第1面に対して前記第1の深さよりも深い第2の深さに配され、複数の前記第1領域の間を分離するように前記第1の方向に対して平面視で交差する第2の方向に延在する第2部分を含む第2の分離領域と、を備え、平面視において、前記第1部分の一部と前記第2部分の一部とが互いに重なる。
【選択図】図1
Description
第1実施形態に係る光電変換装置について説明する。本実施形態の光電変換装置は、一例として、画像を撮影するための撮像装置であるものとする。本実施形態の光電変換装置は、1又は複数の画素を有しており、各画素は、1又は複数のアバランシェダイオードを含む。アバランシェダイオードで生じる電荷対のうち信号電荷として用いられる電荷の導電型を第1導電型と呼ぶ。また、第1導電型と反対の導電型を第2導電型と呼ぶ。
第2実施形態に係る光電変換装置について説明する。本実施形態の説明において、第1実施形態と同様の機能を有する部分には同様の符号を付し、詳細な説明を省略又は簡略化することもある。
第3実施形態に係る光電変換装置について説明する。本実施形態の説明において、第1実施形態又は第2実施形態と同様の機能を有する部分には同様の符号を付し、詳細な説明を省略又は簡略化することもある。
第4実施形態に係る光電変換装置について説明する。本実施形態の説明において、第1実施形態乃至第3実施形態と同様の機能を有する部分には同様の符号を付し、詳細な説明を省略又は簡略化することもある。
第5実施形態に係る光電変換装置について説明する。本実施形態の説明において、第1実施形態乃至第4実施形態と同様の機能を有する部分には同様の符号を付し、詳細な説明を省略又は簡略化することもある。本実施形態の光電変換装置は、第1実施形態乃至第4実施形態とは異なり、アバランシェ増倍を利用しないフォトダイオードを用いたイメージセンサである。本実施形態の光電変換装置は、撮像用の信号を出力する機能だけでなく像面位相差オートフォーカス用の信号を出力する機能を有している。
第6実施形態に係る光電変換装置について説明する。本実施形態の説明において、第1実施形態乃至第5実施形態と同様の機能を有する部分には同様の符号を付し、詳細な説明を省略又は簡略化することもある。本実施形態の光電変換装置は、第5実施形態で述べた画素600の配列の変形例である。
第7実施形態に係る光電変換装置について説明する。本実施形態の説明において、第1実施形態乃至第6実施形態と同様の機能を有する部分には同様の符号を付し、詳細な説明を省略又は簡略化することもある。本実施形態の光電変換装置は、第5実施形態及び第6実施形態で述べた画素600の配列の変形例である。
第8実施形態に係る光電変換装置について説明する。本実施形態の説明において、第1実施形態乃至第7実施形態と同様の機能を有する部分には同様の符号を付し、詳細な説明を省略又は簡略化することもある。本実施形態の光電変換装置は、第5実施形態で述べた画素600のフォトダイオードとしてアバランシェダイオードに変形した例である。アバランシェダイオードの詳細な構造、アバランシェ増倍の動作等は第1実施形態で述べたものと同様である。
第9実施形態に係る光電変換装置について説明する。本実施形態の説明において、第1実施形態乃至第8実施形態と同様の機能を有する部分には同様の符号を付し、詳細な説明を省略又は簡略化することもある。本実施形態の光電変換装置は、第5実施形態で述べた画素600において、画素間の素子分離領域としてDTI(Deep Trench Isolation)が用いられている例である。
第10実施形態に係る光電変換装置について説明する。本実施形態の説明において、第1実施形態乃至第9実施形態と同様の機能を有する部分には同様の符号を付し、詳細な説明を省略又は簡略化することもある。本実施形態の光電変換装置は、第5実施形態で述べた画素600において、1つのマイクロレンズMLに対応するフォトダイオードの個数を1個に削減したものである。
第11実施形態に係る光電変換装置について説明する。本実施形態の説明において、第1実施形態乃至第10実施形態と同様の機能を有する部分には同様の符号を付し、詳細な説明を省略又は簡略化することもある。本実施形態の光電変換装置は、第5実施形態で述べた画素600において、2つのN型半導体領域601の形状を異ならせたものである。
第12実施形態に係る光電変換装置について説明する。本実施形態の説明において、第1実施形態乃至第11実施形態と同様の機能を有する部分には同様の符号を付し、詳細な説明を省略又は簡略化することもある。本実施形態においては、第5実施形態乃至第7実施形態で述べた画素600の配列方法を様々に変更させた変形例を説明する。
第13実施形態に係る撮像システムについて説明する。本実施形態の撮像システムは、第1実施形態乃至第12実施形態のいずれかの光電変換装置を有する。撮像システムとは、デジタルスチルカメラ、デジタルビデオカメラ、携帯電話用デジタルカメラ等の静止画又は動画の撮影に用いられる装置である。
第14実施形態に係る撮像システム及び移動体について説明する。図40(a)及び図40(b)は、本実施形態に係る撮像システム300及び移動体の構成を示す図である。
本発明は、上述の実施形態に限らず種々の変形が可能である。例えば、いずれかの実施形態の一部の構成を他の実施形態に追加した例や、他の実施形態の一部の構成と置換した例も、本発明の実施形態である。
16A、16B 分離部
71 第1半導体領域
72 第4半導体領域
74 第3半導体領域
75 第5半導体領域
76 第2半導体領域
また、本発明の他の一観点によれば、第1面を有する第1基板と、前記第1基板に配され、アバランシェフォトダイオードを有する光電変換部と、を備え、前記光電変換部は、前記第1面の側から入射された光を検出するように構成されており、前記第1面から第1深さの断面における前記光電変換部の面積は、前記第1面から前記第1深さよりも深い第2深さの断面における前記光電変換部の面積よりも小さい光電変換装置が提供される。
Claims (26)
- 第1面を有する第1基板と、
前記第1基板に配され、各々が、入射光を光電変換することにより信号電荷を生成する第1領域と、前記第1領域から移動した前記信号電荷を受ける第2領域と、を有する、複数のフォトダイオードと、
前記第1基板の第1の深さに配され、複数の前記第2領域の間を分離するように第1の方向に延在する第1部分を含む第1の分離領域と、
前記第1基板の、前記第1面に対して前記第1の深さよりも深い第2の深さに配され、複数の前記第1領域の間を分離するように前記第1の方向に対して平面視で交差する第2の方向に延在する第2部分を含む第2の分離領域と、
を備え、
平面視において、前記第1部分の一部と前記第2部分の一部とが互いに重なる
ことを特徴とする光電変換装置。 - 前記第1領域と前記第2領域との間の一部を分離する第3の分離領域を更に備える
ことを特徴とする請求項1に記載の光電変換装置。 - 前記複数のフォトダイオードのうちの2以上のフォトダイオードに対応して配されたマイクロレンズを更に備える
ことを特徴とする請求項1又は2に記載の光電変換装置。 - 前記第1基板は、前記第1面に対向する第2面を更に有し、
前記入射光は、前記第2面の側から入射される
ことを特徴とする請求項1乃至3のいずれか1項に記載の光電変換装置。 - 前記複数のフォトダイオードのうちの少なくとも2つのフォトダイオードについて、前記第1領域の面積は互いに異なる
ことを特徴とする請求項1乃至4のいずれか1項に記載の光電変換装置。 - 前記少なくとも2つのフォトダイオードは、第1の色の前記入射光に対して感度を有する第1のフォトダイオードと、前記第1の色とは異なる第2の色の前記入射光に対して感度を有する第2のフォトダイオードと、を含む
ことを特徴とする請求項1乃至5のいずれか1項に記載の光電変換装置。 - 前記第1面に接合された第2基板を更に備え、
前記第2基板は、前記複数のフォトダイオードから出力される信号を処理する信号処理回路を含む
ことを特徴とする請求項1乃至6のいずれか1項に記載の光電変換装置。 - 前記複数のフォトダイオードの各々は、アバランシェダイオードであり、
前記第2領域は、前記信号電荷によりアバランシェ増倍が生じるアバランシェ領域である、
ことを特徴とする請求項1乃至7のいずれか1項に記載の光電変換装置。 - 前記複数のフォトダイオードの各々は、第1のバイアス電圧が印加され、前記アバランシェ増倍が生じない状態に制御されることにより、前記信号電荷を前記第1領域に蓄積する蓄積モードと、前記第1のバイアス電圧とは異なる第2のバイアス電圧が印加され、前記アバランシェ増倍が生じる状態に制御されることにより、前記第1領域に蓄積された前記信号電荷を読み出す読み出しモードと、により動作可能である
ことを特徴とする請求項8に記載の光電変換装置。 - 前記複数のフォトダイオードは、複数の行及び複数の列をなして行列状に配されており、
前記第1部分は、前記行及び前記列のいずれとも異なる方向に延在する
ことを特徴とする請求項8又は9に記載の光電変換装置。 - 前記複数のフォトダイオードのうちの少なくとも2つのフォトダイオードが矩形の領域に配されており、
前記第1部分は、前記矩形の対角線方向に延在する
ことを特徴とする請求項8乃至10のいずれか1項に記載の光電変換装置。 - 第1面と、前記第1面に対向する第2面とを有する第1基板と、
前記第1基板に配され、各々が、前記第2面の側から入射された入射光を光電変換することにより信号電荷を生成する第1領域と、前記第1領域から移動した前記信号電荷を受ける第2領域と、を有する、複数のフォトダイオードと、
前記複数のフォトダイオードのうちの2以上を含む第1のフォトダイオード群に対応して、前記第2面の側に配された第1のマイクロレンズと、
を備え、
前記第2領域は、前記第1基板の第1の深さに配され、
前記第1領域は、前記第1面に対して前記第1の深さよりも深い第2の深さに配され、
平面視において、前記第1のフォトダイオード群に含まれる前記第1領域の形状と前記第2領域の形状とが互いに異なる
ことを特徴とする光電変換装置。 - 前記第1基板の第1の深さに配され、前記第1のフォトダイオード群に含まれる複数の前記第2領域の間を分離するように第1の方向に延在する第1部分を含む第1の分離領域と、
前記第1基板の、前記第1面に対して前記第1の深さよりも深い第2の深さに配され、前記第1のフォトダイオード群に含まれる複数の前記第1領域の間を分離するように前記第1の方向に対して前記平面視で交差する第2の方向に延在する第2部分を含む第2の分離領域と、
を更に備える
ことを特徴とする請求項12に記載の光電変換装置。 - 前記第1領域と前記第2領域との間の一部を分離する第3の分離領域を更に備える
ことを特徴とする請求項12又は13に記載の光電変換装置。 - 前記第1のフォトダイオード群の複数の前記第2領域の各々から電荷が転送されるフローティングディフュージョンを更に備える
ことを特徴とする請求項12乃至14のいずれか1項に記載の光電変換装置。 - 前記第1領域と前記第2領域の間に、前記第1領域及び前記第2領域に接するように配された第3領域を更に備える
ことを特徴とする請求項12乃至15のいずれか1項に記載の光電変換装置。 - 前記第3領域の中の前記信号電荷に対するポテンシャルが、前記第1領域から前記第2領域に向かう経路上に沿って単調に増加している
ことを特徴とする請求項16に記載の光電変換装置。 - 前記平面視において、前記第1のフォトダイオード群に含まれる複数の前記第2領域の形状が互いに異なる
ことを特徴とする請求項12乃至17のいずれか1項に記載の光電変換装置。 - 前記平面視において、前記第1のフォトダイオード群に含まれる複数の前記第2領域の面積が互いに異なる
ことを特徴とする請求項12乃至18のいずれか1項に記載の光電変換装置。 - 前記複数のフォトダイオードのうちの前記第1のフォトダイオード群に含まれるフォトダイオードとは異なる2以上を含む第2のフォトダイオード群に対応して、前記第2面の側に配された第2のマイクロレンズを更に備え、
前記平面視において、前記第1のフォトダイオード群に含まれる前記第1領域の形状と、前記第2のフォトダイオード群に含まれる前記第1領域の形状とが互いに異なる
ことを特徴とする請求項12乃至19のいずれか1項に記載の光電変換装置。 - 前記平面視において、前記第1のフォトダイオード群に含まれる前記第1領域の形状と、前記第2のフォトダイオード群に含まれる前記第1領域の形状とが同一である
ことを特徴とする請求項20に記載の光電変換装置。 - 前記第1のフォトダイオード群に含まれるフォトダイオードは、第1の色の前記入射光に対して感度を有し、前記第2のフォトダイオード群に含まれるフォトダイオードは、前記第1の色とは異なる第2の色の前記入射光に対して感度を有する
ことを特徴とする請求項20又は21に記載の光電変換装置。 - 前記第1のフォトダイオード群と前記第2のフォトダイオード群の間を分離するDTI(Deep Trench Isolation)を更に備える
ことを特徴とする請求項20乃至22のいずれか1項に記載の光電変換装置。 - 前記複数のフォトダイオードのうちの1つのみを含む第3のフォトダイオード群に対応して、前記第2面の側に配された第3のマイクロレンズを更に備える
ことを特徴とする請求項12乃至23のいずれか1項に記載の光電変換装置。 - 請求項1乃至24のいずれか1項に記載の光電変換装置と、
前記光電変換装置から出力される信号を処理する信号処理部と
を備えることを特徴とする撮像システム。 - 移動体であって、
請求項1乃至24のいずれか1項に記載の光電変換装置と、
前記光電変換装置からの信号に基づく視差画像から、対象物までの距離情報を取得する距離情報取得手段と、
前記距離情報に基づいて前記移動体を制御する制御手段と
を備えることを特徴とする移動体。
Applications Claiming Priority (3)
| Application Number | Priority Date | Filing Date | Title |
|---|---|---|---|
| JP2019031823 | 2019-02-25 | ||
| JP2019031823 | 2019-02-25 | ||
| JP2019212961A JP7555703B2 (ja) | 2019-02-25 | 2019-11-26 | 光電変換装置、撮像システム及び移動体 |
Related Parent Applications (1)
| Application Number | Title | Priority Date | Filing Date |
|---|---|---|---|
| JP2019212961A Division JP7555703B2 (ja) | 2019-02-25 | 2019-11-26 | 光電変換装置、撮像システム及び移動体 |
Publications (2)
| Publication Number | Publication Date |
|---|---|
| JP2024166315A true JP2024166315A (ja) | 2024-11-28 |
| JP7780599B2 JP7780599B2 (ja) | 2025-12-04 |
Family
ID=72141932
Family Applications (2)
| Application Number | Title | Priority Date | Filing Date |
|---|---|---|---|
| JP2019212961A Active JP7555703B2 (ja) | 2019-02-25 | 2019-11-26 | 光電変換装置、撮像システム及び移動体 |
| JP2024156807A Active JP7780599B2 (ja) | 2019-02-25 | 2024-09-10 | 光電変換装置、撮像システム及び移動体 |
Family Applications Before (1)
| Application Number | Title | Priority Date | Filing Date |
|---|---|---|---|
| JP2019212961A Active JP7555703B2 (ja) | 2019-02-25 | 2019-11-26 | 光電変換装置、撮像システム及び移動体 |
Country Status (3)
| Country | Link |
|---|---|
| US (3) | US11056519B2 (ja) |
| JP (2) | JP7555703B2 (ja) |
| CN (3) | CN119300507A (ja) |
Families Citing this family (26)
| Publication number | Priority date | Publication date | Assignee | Title |
|---|---|---|---|---|
| JP7555703B2 (ja) | 2019-02-25 | 2024-09-25 | キヤノン株式会社 | 光電変換装置、撮像システム及び移動体 |
| US12323722B2 (en) * | 2019-03-28 | 2025-06-03 | Sony Semiconductor Solutions Corporation | Imaging device and electronic apparatus |
| JP6986046B2 (ja) | 2019-05-30 | 2021-12-22 | キヤノン株式会社 | 光電変換装置および機器 |
| JP7345301B2 (ja) | 2019-07-18 | 2023-09-15 | キヤノン株式会社 | 光電変換装置および機器 |
| KR20220019895A (ko) * | 2020-08-10 | 2022-02-18 | 삼성전자주식회사 | 이미지 센서 |
| JP2022083067A (ja) * | 2020-11-24 | 2022-06-03 | ソニーセミコンダクタソリューションズ株式会社 | 固体撮像素子、および撮像装置、並びに電子機器 |
| JP7775219B2 (ja) * | 2020-12-02 | 2025-11-25 | ソニーセミコンダクタソリューションズ株式会社 | 光検出装置及び測距システム |
| WO2022158379A1 (ja) * | 2021-01-22 | 2022-07-28 | キヤノン株式会社 | 光電変換装置、光電変換システム、および移動体 |
| KR20220146117A (ko) * | 2021-04-23 | 2022-11-01 | 삼성전자주식회사 | 이미지 센서 |
| KR20220156332A (ko) | 2021-05-18 | 2022-11-25 | 삼성전자주식회사 | 오토 포커스 픽셀을 포함하는 이미지 센서 |
| JP7510396B2 (ja) * | 2021-08-17 | 2024-07-03 | キヤノン株式会社 | 光電変換装置、その製造方法及び機器 |
| US11594069B1 (en) * | 2021-09-08 | 2023-02-28 | Omnivision Technologies, Inc. | Anti-spoofing optical fingerprint sensor methods and hardware with color selection |
| US11620852B2 (en) | 2021-09-08 | 2023-04-04 | Omnivision Technologies, Inc. | Method for detecting spoof fingerprints with an under-display fingerprint sensor |
| JP7760320B2 (ja) | 2021-10-08 | 2025-10-27 | キヤノン株式会社 | 光電変換装置 |
| JP2023088223A (ja) | 2021-12-14 | 2023-06-26 | キヤノン株式会社 | 撮像装置およびその制御方法 |
| JP7786823B2 (ja) | 2022-01-01 | 2025-12-16 | キヤノン株式会社 | 光電変換装置及び光電変換システム |
| JP7799488B2 (ja) | 2022-01-01 | 2026-01-15 | キヤノン株式会社 | 光電変換装置、光電変換システム、および機器 |
| WO2023131994A1 (ja) * | 2022-01-05 | 2023-07-13 | キヤノン株式会社 | 光電変換装置、光電変換システム、および移動体 |
| JP2023104684A (ja) * | 2022-01-18 | 2023-07-28 | キヤノン株式会社 | 撮像素子及び撮像装置 |
| US12289927B2 (en) * | 2022-03-25 | 2025-04-29 | Omni Vision Technologies, Inc. | Image sensor diagonal isolation structures |
| JP2023174229A (ja) * | 2022-05-27 | 2023-12-07 | キヤノン株式会社 | 光電変換装置 |
| US20230395627A1 (en) * | 2022-06-03 | 2023-12-07 | Omnivision Technologies, Inc. | Quad photodiode microlens arrangements, and associated systems and methods |
| JP2024073964A (ja) * | 2022-11-18 | 2024-05-30 | キヤノン株式会社 | 撮像素子及び撮像装置 |
| JP2024073685A (ja) | 2022-11-18 | 2024-05-30 | キヤノン株式会社 | 光電変換装置及びその駆動方法 |
| JP2025001468A (ja) * | 2023-06-20 | 2025-01-08 | ソニーセミコンダクタソリューションズ株式会社 | 固体撮像装置及び電子機器 |
| JP2025169064A (ja) * | 2024-04-30 | 2025-11-12 | キヤノン株式会社 | 光電変換装置および機器 |
Citations (18)
| Publication number | Priority date | Publication date | Assignee | Title |
|---|---|---|---|---|
| JP2007288294A (ja) * | 2006-04-13 | 2007-11-01 | Matsushita Electric Ind Co Ltd | 固体撮像装置およびカメラ |
| JP2008177738A (ja) * | 2007-01-17 | 2008-07-31 | Casio Comput Co Ltd | 撮像装置及び撮像素子 |
| JP2013080797A (ja) * | 2011-10-03 | 2013-05-02 | Canon Inc | 固体撮像装置およびカメラ |
| JP2014072541A (ja) * | 2012-09-27 | 2014-04-21 | Nikon Corp | 撮像素子および撮像装置 |
| JP2014229810A (ja) * | 2013-05-24 | 2014-12-08 | ソニー株式会社 | 固体撮像装置、および電子機器 |
| JP2015065269A (ja) * | 2013-09-25 | 2015-04-09 | ソニー株式会社 | 固体撮像素子及びその駆動方法、並びに電子機器 |
| US20160309992A1 (en) * | 2015-04-27 | 2016-10-27 | Endochoice, Inc. | Endoscope with Integrated Measurement of Distance to Objects of Interest |
| US20170186798A1 (en) * | 2015-12-28 | 2017-06-29 | Taiwan Semiconductor Manufacturing Co., Ltd. | Stacked spad image sensor |
| WO2017130723A1 (ja) * | 2016-01-27 | 2017-08-03 | ソニー株式会社 | 固体撮像素子および電子機器 |
| JP2017212351A (ja) * | 2016-05-26 | 2017-11-30 | キヤノン株式会社 | 撮像装置 |
| WO2018021411A1 (ja) * | 2016-07-27 | 2018-02-01 | 浜松ホトニクス株式会社 | 光検出装置 |
| US20180069046A1 (en) * | 2016-09-02 | 2018-03-08 | Samsung Electronics Co., Ltd. | Semiconductor devices |
| JP2018041810A (ja) * | 2016-09-06 | 2018-03-15 | キヤノン株式会社 | 撮像素子及び撮像装置 |
| JP2018064086A (ja) * | 2016-10-13 | 2018-04-19 | キヤノン株式会社 | 光検出装置および光検出システム |
| JP2018201005A (ja) * | 2016-10-18 | 2018-12-20 | ソニーセミコンダクタソリューションズ株式会社 | 光検出器 |
| JP2019007877A (ja) * | 2017-06-27 | 2019-01-17 | キヤノン株式会社 | 光検出装置及び撮像システム |
| US20190131333A1 (en) * | 2017-10-31 | 2019-05-02 | Semiconductor Components Industries, Llc | High dynamic range pixel with in-pixel light shield structures |
| JP2020141122A (ja) * | 2019-02-25 | 2020-09-03 | キヤノン株式会社 | 光電変換装置、撮像システム及び移動体 |
Family Cites Families (33)
| Publication number | Priority date | Publication date | Assignee | Title |
|---|---|---|---|---|
| JP3833125B2 (ja) | 2002-03-01 | 2006-10-11 | キヤノン株式会社 | 撮像装置 |
| JP4455435B2 (ja) | 2004-08-04 | 2010-04-21 | キヤノン株式会社 | 固体撮像装置及び同固体撮像装置を用いたカメラ |
| EP1788797B1 (en) | 2005-11-18 | 2013-06-26 | Canon Kabushiki Kaisha | Solid-state image pickup device |
| JP2011015219A (ja) * | 2009-07-02 | 2011-01-20 | Toshiba Corp | 固体撮像装置 |
| JP5316324B2 (ja) | 2009-09-03 | 2013-10-16 | 株式会社ニコン | 撮像素子及び撮像装置 |
| JP5623068B2 (ja) | 2009-12-07 | 2014-11-12 | キヤノン株式会社 | 固体撮像装置の製造方法 |
| JP5723094B2 (ja) | 2009-12-11 | 2015-05-27 | キヤノン株式会社 | 固体撮像装置およびカメラ |
| JP5513326B2 (ja) | 2010-09-07 | 2014-06-04 | キヤノン株式会社 | 撮像素子及び撮像装置 |
| JP2012109540A (ja) | 2010-10-26 | 2012-06-07 | Canon Inc | 固体撮像装置の製造方法 |
| JP5960961B2 (ja) | 2010-11-16 | 2016-08-02 | キヤノン株式会社 | 固体撮像素子及び撮像システム |
| JP6148580B2 (ja) | 2013-09-03 | 2017-06-14 | キヤノン株式会社 | 撮像装置及びカメラ |
| JP6261361B2 (ja) | 2014-02-04 | 2018-01-17 | キヤノン株式会社 | 固体撮像装置およびカメラ |
| US9979916B2 (en) | 2014-11-21 | 2018-05-22 | Canon Kabushiki Kaisha | Imaging apparatus and imaging system |
| JP2016154166A (ja) | 2015-02-20 | 2016-08-25 | キヤノン株式会社 | 光電変換装置及びその製造方法 |
| JP2017135168A (ja) | 2016-01-25 | 2017-08-03 | キヤノン株式会社 | 光電変換装置及び情報処理装置 |
| JP2017195215A (ja) | 2016-04-18 | 2017-10-26 | キヤノン株式会社 | 撮像素子及びその製造方法 |
| JP7005125B2 (ja) | 2016-04-22 | 2022-01-21 | キヤノン株式会社 | 撮像素子、撮像システム、および撮像素子の製造方法 |
| WO2018005770A2 (en) | 2016-06-30 | 2018-01-04 | Invista North America S.á.r.l. | Synthetic carbon fixation pathways |
| JP7013119B2 (ja) | 2016-07-21 | 2022-01-31 | キヤノン株式会社 | 固体撮像素子、固体撮像素子の製造方法、及び撮像システム |
| US10497818B2 (en) * | 2016-07-29 | 2019-12-03 | Canon Kabushiki Kaisha | Photodetection device and photodetection system |
| US10204943B2 (en) | 2016-08-10 | 2019-02-12 | Canon Kabushiki Kaisha | Image sensor, method of manufacturing the same, and camera with pixel including light waveguide and insulation film |
| EP3309847B1 (en) | 2016-10-13 | 2024-06-05 | Canon Kabushiki Kaisha | Photo-detection apparatus and photo-detection system |
| JP6929671B2 (ja) * | 2017-03-17 | 2021-09-01 | キヤノン株式会社 | 撮像装置及び撮像システム |
| JP6701108B2 (ja) | 2017-03-21 | 2020-05-27 | キヤノン株式会社 | 固体撮像装置及び撮像システム |
| US10818715B2 (en) | 2017-06-26 | 2020-10-27 | Canon Kabushiki Kaisha | Solid state imaging device and manufacturing method thereof |
| JP6987562B2 (ja) | 2017-07-28 | 2022-01-05 | キヤノン株式会社 | 固体撮像素子 |
| JP7108421B2 (ja) | 2018-02-15 | 2022-07-28 | キヤノン株式会社 | 撮像装置及び撮像システム |
| JP7361452B2 (ja) | 2018-02-19 | 2023-10-16 | キヤノン株式会社 | 撮像装置およびカメラ |
| JP7019471B2 (ja) | 2018-03-19 | 2022-02-15 | キヤノン株式会社 | 固体撮像装置及び撮像システム |
| US10833207B2 (en) | 2018-04-24 | 2020-11-10 | Canon Kabushiki Kaisha | Photo-detection device, photo-detection system, and mobile apparatus |
| JP7150504B2 (ja) | 2018-07-18 | 2022-10-11 | キヤノン株式会社 | 固体撮像装置及びその駆動方法 |
| JP6986046B2 (ja) | 2019-05-30 | 2021-12-22 | キヤノン株式会社 | 光電変換装置および機器 |
| JP7345301B2 (ja) | 2019-07-18 | 2023-09-15 | キヤノン株式会社 | 光電変換装置および機器 |
-
2019
- 2019-11-26 JP JP2019212961A patent/JP7555703B2/ja active Active
-
2020
- 2020-02-03 US US16/780,666 patent/US11056519B2/en not_active Expired - Fee Related
- 2020-02-20 CN CN202411708090.XA patent/CN119300507A/zh active Pending
- 2020-02-20 CN CN202411708087.8A patent/CN119300506A/zh active Pending
- 2020-02-20 CN CN202010105808.1A patent/CN111613631B/zh active Active
-
2021
- 2021-06-04 US US17/339,231 patent/US11742364B2/en active Active
-
2023
- 2023-06-30 US US18/345,376 patent/US12414392B2/en active Active
-
2024
- 2024-09-10 JP JP2024156807A patent/JP7780599B2/ja active Active
Patent Citations (18)
| Publication number | Priority date | Publication date | Assignee | Title |
|---|---|---|---|---|
| JP2007288294A (ja) * | 2006-04-13 | 2007-11-01 | Matsushita Electric Ind Co Ltd | 固体撮像装置およびカメラ |
| JP2008177738A (ja) * | 2007-01-17 | 2008-07-31 | Casio Comput Co Ltd | 撮像装置及び撮像素子 |
| JP2013080797A (ja) * | 2011-10-03 | 2013-05-02 | Canon Inc | 固体撮像装置およびカメラ |
| JP2014072541A (ja) * | 2012-09-27 | 2014-04-21 | Nikon Corp | 撮像素子および撮像装置 |
| JP2014229810A (ja) * | 2013-05-24 | 2014-12-08 | ソニー株式会社 | 固体撮像装置、および電子機器 |
| JP2015065269A (ja) * | 2013-09-25 | 2015-04-09 | ソニー株式会社 | 固体撮像素子及びその駆動方法、並びに電子機器 |
| US20160309992A1 (en) * | 2015-04-27 | 2016-10-27 | Endochoice, Inc. | Endoscope with Integrated Measurement of Distance to Objects of Interest |
| US20170186798A1 (en) * | 2015-12-28 | 2017-06-29 | Taiwan Semiconductor Manufacturing Co., Ltd. | Stacked spad image sensor |
| WO2017130723A1 (ja) * | 2016-01-27 | 2017-08-03 | ソニー株式会社 | 固体撮像素子および電子機器 |
| JP2017212351A (ja) * | 2016-05-26 | 2017-11-30 | キヤノン株式会社 | 撮像装置 |
| WO2018021411A1 (ja) * | 2016-07-27 | 2018-02-01 | 浜松ホトニクス株式会社 | 光検出装置 |
| US20180069046A1 (en) * | 2016-09-02 | 2018-03-08 | Samsung Electronics Co., Ltd. | Semiconductor devices |
| JP2018041810A (ja) * | 2016-09-06 | 2018-03-15 | キヤノン株式会社 | 撮像素子及び撮像装置 |
| JP2018064086A (ja) * | 2016-10-13 | 2018-04-19 | キヤノン株式会社 | 光検出装置および光検出システム |
| JP2018201005A (ja) * | 2016-10-18 | 2018-12-20 | ソニーセミコンダクタソリューションズ株式会社 | 光検出器 |
| JP2019007877A (ja) * | 2017-06-27 | 2019-01-17 | キヤノン株式会社 | 光検出装置及び撮像システム |
| US20190131333A1 (en) * | 2017-10-31 | 2019-05-02 | Semiconductor Components Industries, Llc | High dynamic range pixel with in-pixel light shield structures |
| JP2020141122A (ja) * | 2019-02-25 | 2020-09-03 | キヤノン株式会社 | 光電変換装置、撮像システム及び移動体 |
Also Published As
| Publication number | Publication date |
|---|---|
| JP7780599B2 (ja) | 2025-12-04 |
| US20210296383A1 (en) | 2021-09-23 |
| JP2020141122A (ja) | 2020-09-03 |
| US20230343798A1 (en) | 2023-10-26 |
| US11742364B2 (en) | 2023-08-29 |
| CN119300507A (zh) | 2025-01-10 |
| US12414392B2 (en) | 2025-09-09 |
| US11056519B2 (en) | 2021-07-06 |
| JP7555703B2 (ja) | 2024-09-25 |
| CN111613631B (zh) | 2024-12-06 |
| CN111613631A (zh) | 2020-09-01 |
| US20200273894A1 (en) | 2020-08-27 |
| CN119300506A (zh) | 2025-01-10 |
Similar Documents
| Publication | Publication Date | Title |
|---|---|---|
| JP7780599B2 (ja) | 光電変換装置、撮像システム及び移動体 | |
| KR102473149B1 (ko) | 이미지 센서 | |
| US11553149B2 (en) | Solid-state imaging device, imaging system and movable object | |
| WO2022209681A1 (ja) | 光検出装置及び電子機器 | |
| KR20180106989A (ko) | 고체 촬상 장치, 촬상 시스템 및 이동체 | |
| KR20090125143A (ko) | 고체 촬상 장치 | |
| US12191325B2 (en) | Apparatus, system, and moving body | |
| JP2019041352A (ja) | 撮像装置及び撮像システム | |
| JP7532025B2 (ja) | 半導体装置および機器 | |
| US11695023B2 (en) | Photoelectric conversion apparatus and imaging system | |
| JP2022087547A (ja) | 光電変換装置、光電変換システム、および移動体 | |
| CN120129322A (zh) | 具有共享读出的混合成像传感器 | |
| JP7581020B2 (ja) | 光電変換装置、光電変換システム、移動体 | |
| JP2020088293A (ja) | 光電変換装置、光電変換システム、移動体 | |
| JP2024006956A (ja) | 光電変換装置、光電変換装置の製造方法、機器 | |
| JP7653793B2 (ja) | 光電変換装置、光電変換システムおよび移動体 | |
| US20240089619A1 (en) | Light detection device and electronic apparatus | |
| JP7427646B2 (ja) | 光電変換装置、光電変換システム、移動体 | |
| US12176358B2 (en) | Photoelectric conversion apparatus, photoelectric conversion system, and moving body | |
| US20250039527A1 (en) | Image sensor and image capture apparatus | |
| US20240006447A1 (en) | Photoelectric conversion apparatus, method for manufacturing the same, and equipment | |
| WO2025222414A1 (en) | Solid-state imaging device and method of making solid-state imaging device | |
| JP2020088291A (ja) | 光電変換装置、光電変換システム、移動体 | |
| US11431922B2 (en) | Photoelectric conversion apparatus, imaging system, and moving object, with high sensitivity and saturation charge | |
| JP2024153347A (ja) | 光電変換装置および光電変換システム |
Legal Events
| Date | Code | Title | Description |
|---|---|---|---|
| A521 | Request for written amendment filed |
Free format text: JAPANESE INTERMEDIATE CODE: A523 Effective date: 20241010 |
|
| A621 | Written request for application examination |
Free format text: JAPANESE INTERMEDIATE CODE: A621 Effective date: 20241010 |
|
| A131 | Notification of reasons for refusal |
Free format text: JAPANESE INTERMEDIATE CODE: A131 Effective date: 20250731 |
|
| A977 | Report on retrieval |
Free format text: JAPANESE INTERMEDIATE CODE: A971007 Effective date: 20250731 |
|
| A521 | Request for written amendment filed |
Free format text: JAPANESE INTERMEDIATE CODE: A523 Effective date: 20250926 |
|
| TRDD | Decision of grant or rejection written | ||
| A01 | Written decision to grant a patent or to grant a registration (utility model) |
Free format text: JAPANESE INTERMEDIATE CODE: A01 Effective date: 20251023 |
|
| A61 | First payment of annual fees (during grant procedure) |
Free format text: JAPANESE INTERMEDIATE CODE: A61 Effective date: 20251121 |
|
| R150 | Certificate of patent or registration of utility model |
Ref document number: 7780599 Country of ref document: JP Free format text: JAPANESE INTERMEDIATE CODE: R150 |
