JP2018011069A - 発光装置 - Google Patents
発光装置 Download PDFInfo
- Publication number
- JP2018011069A JP2018011069A JP2017167303A JP2017167303A JP2018011069A JP 2018011069 A JP2018011069 A JP 2018011069A JP 2017167303 A JP2017167303 A JP 2017167303A JP 2017167303 A JP2017167303 A JP 2017167303A JP 2018011069 A JP2018011069 A JP 2018011069A
- Authority
- JP
- Japan
- Prior art keywords
- film
- organic
- electrode
- substrate
- partition wall
- Prior art date
- Legal status (The legal status is an assumption and is not a legal conclusion. Google has not performed a legal analysis and makes no representation as to the accuracy of the status listed.)
- Withdrawn
Links
Images
Classifications
-
- H—ELECTRICITY
- H05—ELECTRIC TECHNIQUES NOT OTHERWISE PROVIDED FOR
- H05B—ELECTRIC HEATING; ELECTRIC LIGHT SOURCES NOT OTHERWISE PROVIDED FOR; CIRCUIT ARRANGEMENTS FOR ELECTRIC LIGHT SOURCES, IN GENERAL
- H05B33/00—Electroluminescent light sources
- H05B33/10—Apparatus or processes specially adapted to the manufacture of electroluminescent light sources
-
- H—ELECTRICITY
- H10—SEMICONDUCTOR DEVICES; ELECTRIC SOLID-STATE DEVICES NOT OTHERWISE PROVIDED FOR
- H10K—ORGANIC ELECTRIC SOLID-STATE DEVICES
- H10K50/00—Organic light-emitting devices
- H10K50/10—OLEDs or polymer light-emitting diodes [PLED]
- H10K50/14—Carrier transporting layers
- H10K50/15—Hole transporting layers
- H10K50/155—Hole transporting layers comprising dopants
-
- H—ELECTRICITY
- H10—SEMICONDUCTOR DEVICES; ELECTRIC SOLID-STATE DEVICES NOT OTHERWISE PROVIDED FOR
- H10K—ORGANIC ELECTRIC SOLID-STATE DEVICES
- H10K50/00—Organic light-emitting devices
- H10K50/10—OLEDs or polymer light-emitting diodes [PLED]
- H10K50/14—Carrier transporting layers
- H10K50/16—Electron transporting layers
- H10K50/165—Electron transporting layers comprising dopants
-
- H—ELECTRICITY
- H10—SEMICONDUCTOR DEVICES; ELECTRIC SOLID-STATE DEVICES NOT OTHERWISE PROVIDED FOR
- H10K—ORGANIC ELECTRIC SOLID-STATE DEVICES
- H10K50/00—Organic light-emitting devices
- H10K50/10—OLEDs or polymer light-emitting diodes [PLED]
- H10K50/17—Carrier injection layers
-
- H—ELECTRICITY
- H10—SEMICONDUCTOR DEVICES; ELECTRIC SOLID-STATE DEVICES NOT OTHERWISE PROVIDED FOR
- H10K—ORGANIC ELECTRIC SOLID-STATE DEVICES
- H10K50/00—Organic light-emitting devices
- H10K50/10—OLEDs or polymer light-emitting diodes [PLED]
- H10K50/17—Carrier injection layers
- H10K50/171—Electron injection layers
-
- H—ELECTRICITY
- H10—SEMICONDUCTOR DEVICES; ELECTRIC SOLID-STATE DEVICES NOT OTHERWISE PROVIDED FOR
- H10K—ORGANIC ELECTRIC SOLID-STATE DEVICES
- H10K50/00—Organic light-emitting devices
- H10K50/80—Constructional details
- H10K50/805—Electrodes
-
- H—ELECTRICITY
- H10—SEMICONDUCTOR DEVICES; ELECTRIC SOLID-STATE DEVICES NOT OTHERWISE PROVIDED FOR
- H10K—ORGANIC ELECTRIC SOLID-STATE DEVICES
- H10K50/00—Organic light-emitting devices
- H10K50/80—Constructional details
- H10K50/84—Passivation; Containers; Encapsulations
-
- H—ELECTRICITY
- H10—SEMICONDUCTOR DEVICES; ELECTRIC SOLID-STATE DEVICES NOT OTHERWISE PROVIDED FOR
- H10K—ORGANIC ELECTRIC SOLID-STATE DEVICES
- H10K59/00—Integrated devices, or assemblies of multiple devices, comprising at least one organic light-emitting element covered by group H10K50/00
-
- H—ELECTRICITY
- H10—SEMICONDUCTOR DEVICES; ELECTRIC SOLID-STATE DEVICES NOT OTHERWISE PROVIDED FOR
- H10K—ORGANIC ELECTRIC SOLID-STATE DEVICES
- H10K59/00—Integrated devices, or assemblies of multiple devices, comprising at least one organic light-emitting element covered by group H10K50/00
- H10K59/10—OLED displays
- H10K59/12—Active-matrix OLED [AMOLED] displays
- H10K59/122—Pixel-defining structures or layers, e.g. banks
-
- H—ELECTRICITY
- H10—SEMICONDUCTOR DEVICES; ELECTRIC SOLID-STATE DEVICES NOT OTHERWISE PROVIDED FOR
- H10K—ORGANIC ELECTRIC SOLID-STATE DEVICES
- H10K59/00—Integrated devices, or assemblies of multiple devices, comprising at least one organic light-emitting element covered by group H10K50/00
- H10K59/10—OLED displays
- H10K59/12—Active-matrix OLED [AMOLED] displays
- H10K59/131—Interconnections, e.g. wiring lines or terminals
-
- H—ELECTRICITY
- H10—SEMICONDUCTOR DEVICES; ELECTRIC SOLID-STATE DEVICES NOT OTHERWISE PROVIDED FOR
- H10K—ORGANIC ELECTRIC SOLID-STATE DEVICES
- H10K59/00—Integrated devices, or assemblies of multiple devices, comprising at least one organic light-emitting element covered by group H10K50/00
- H10K59/10—OLED displays
- H10K59/17—Passive-matrix OLED displays
- H10K59/173—Passive-matrix OLED displays comprising banks or shadow masks
-
- H—ELECTRICITY
- H10—SEMICONDUCTOR DEVICES; ELECTRIC SOLID-STATE DEVICES NOT OTHERWISE PROVIDED FOR
- H10K—ORGANIC ELECTRIC SOLID-STATE DEVICES
- H10K71/00—Manufacture or treatment specially adapted for the organic devices covered by this subclass
Landscapes
- Physics & Mathematics (AREA)
- Optics & Photonics (AREA)
- Engineering & Computer Science (AREA)
- Manufacturing & Machinery (AREA)
- Microelectronics & Electronic Packaging (AREA)
- Electroluminescent Light Sources (AREA)
- Devices For Indicating Variable Information By Combining Individual Elements (AREA)
Abstract
【課題】低消費電力で、寿命の長い表示装置および電気器具を提供する。【解決手段】基板101および第1電極102の上に、各画素110を囲むように絶縁体隔壁103を設け、さらに導電性ポリマー104を、全面に塗布する。その場合、導電性ポリマー104の厚さ形状は、絶縁体隔壁103の影響により、T2>T1>T3となる。したがって、T3部分における横方向の抵抗が高くなり、クロストークを防ぐことができる。導電性ポリマー104のバッファ層としての機能も加わり、消費電力を抑える結果につながる。さらに、T2部分が厚くなるため、画素部周辺の電界集中を緩和し、画素部周辺からの有機発光素子の劣化を防ぐことができる。【選択図】図1
Description
本発明は、陽極と、陰極と、電界を加えることで発光が得られる有機化合物を含む膜(以
下、「有機薄膜」と記す)と、を有する有機発光素子を用いた表示装置に関する。
下、「有機薄膜」と記す)と、を有する有機発光素子を用いた表示装置に関する。
有機発光素子は、電界を加えることにより発光する素子である。その発光機構は、電極間
に有機薄膜を挟んで電圧を印加することにより、陰極から注入された電子および陽極から
注入された正孔が有機薄膜中で再結合して、励起状態の分子(以下、「分子励起子」と記
す)を形成し、その分子励起子が基底状態に戻る際にエネルギーを放出して発光すると言
われている。
に有機薄膜を挟んで電圧を印加することにより、陰極から注入された電子および陽極から
注入された正孔が有機薄膜中で再結合して、励起状態の分子(以下、「分子励起子」と記
す)を形成し、その分子励起子が基底状態に戻る際にエネルギーを放出して発光すると言
われている。
なお、有機化合物が形成する分子励起子の種類としては、一重項励起状態と三重項励起状
態が可能であると考えられるが、ここではどちらの励起状態が発光に寄与する場合も含む
こととする。
態が可能であると考えられるが、ここではどちらの励起状態が発光に寄与する場合も含む
こととする。
このような有機発光素子において、通常、有機薄膜は1μmを下回るほどの薄膜で形成され
る。また、有機発光素子は、有機薄膜そのものが光を放出する自発光型の素子であるため
、従来の液晶ディスプレイに用いられているようなバックライトも必要ない。したがって
、有機発光素子は極めて薄型軽量に作製できることが大きな利点である。
る。また、有機発光素子は、有機薄膜そのものが光を放出する自発光型の素子であるため
、従来の液晶ディスプレイに用いられているようなバックライトも必要ない。したがって
、有機発光素子は極めて薄型軽量に作製できることが大きな利点である。
また、例えば100〜200nm程度の有機薄膜において、キャリアを注入してから再結合に至る
までの時間は、有機薄膜のキャリア移動度を考えると数十ナノ秒程度であり、キャリアの
再結合から発光までの過程を含めてもマイクロ秒以内のオーダーで発光に至る。したがっ
て、非常に応答速度が速いことも特長の一つである。
までの時間は、有機薄膜のキャリア移動度を考えると数十ナノ秒程度であり、キャリアの
再結合から発光までの過程を含めてもマイクロ秒以内のオーダーで発光に至る。したがっ
て、非常に応答速度が速いことも特長の一つである。
さらに、有機発光素子はキャリア注入型の発光素子であるため、直流電圧での駆動が可能
であり、ノイズが生じにくい。駆動電圧に関しては、まず有機薄膜の厚みを100nm程度の
均一な超薄膜とし、また、有機薄膜に対するキャリア注入障壁を小さくするような電極材
料を選択し、さらにはヘテロ構造(二層構造)を導入することによって、5.5Vで100cd/m2
の十分な輝度が達成された(例えば、非特許文献1参照)。
であり、ノイズが生じにくい。駆動電圧に関しては、まず有機薄膜の厚みを100nm程度の
均一な超薄膜とし、また、有機薄膜に対するキャリア注入障壁を小さくするような電極材
料を選択し、さらにはヘテロ構造(二層構造)を導入することによって、5.5Vで100cd/m2
の十分な輝度が達成された(例えば、非特許文献1参照)。
非特許文献1における有機発光素子は、いわば正孔の輸送は正孔輸送層が行い、電子の輸
送および発光は電子輸送性発光層が行うという、機能分離の発想であるとも言える。この
機能分離の概念はさらに、正孔輸送層と電子輸送層の間に発光層を挟むというダブルへテ
ロ構造(三層構造)の構想へと発展した(例えば、非特許文献2参照。)。
送および発光は電子輸送性発光層が行うという、機能分離の発想であるとも言える。この
機能分離の概念はさらに、正孔輸送層と電子輸送層の間に発光層を挟むというダブルへテ
ロ構造(三層構造)の構想へと発展した(例えば、非特許文献2参照。)。
こういった機能分離の利点としては、機能分離することによって一種類の有機材料に様々
な機能(発光性、キャリア輸送性、電極からのキャリア注入性など)を同時に持たせる必
要がなくなり、分子設計等に幅広い自由度を持たせることができる点にある(例えば、無
理にバイポーラー材料を探索する必要がなくなる)。
つまり、発光特性のいい材料、キャリア輸送性が優れる材料などを、各々組み合わせるこ
とで、容易に高発光効率が達成できるということである。
な機能(発光性、キャリア輸送性、電極からのキャリア注入性など)を同時に持たせる必
要がなくなり、分子設計等に幅広い自由度を持たせることができる点にある(例えば、無
理にバイポーラー材料を探索する必要がなくなる)。
つまり、発光特性のいい材料、キャリア輸送性が優れる材料などを、各々組み合わせるこ
とで、容易に高発光効率が達成できるということである。
機能分離の中でも、キャリアを注入する機能の導入としては、陽極バッファ層や陰極バッ
ファ層の概念が提案されており、より低い電圧での駆動が可能になっている。例えば、陰
極との界面においては、エネルギー障壁を緩和するような材料を挿入し、キャリアの注入
性を高めて駆動電圧を低減している報告がある(例えば、非特許文献3参照。)。非特許
文献3では、陰極バッファ層としてLi2Oを用いることにより、駆動電圧の低減に成功して
いる。
ファ層の概念が提案されており、より低い電圧での駆動が可能になっている。例えば、陰
極との界面においては、エネルギー障壁を緩和するような材料を挿入し、キャリアの注入
性を高めて駆動電圧を低減している報告がある(例えば、非特許文献3参照。)。非特許
文献3では、陰極バッファ層としてLi2Oを用いることにより、駆動電圧の低減に成功して
いる。
また、バッファ層の中では特に、近年はポリマーを用いたバッファ層が注目されている(
例えば、非特許文献4参照。)。非特許文献4では、ポリマーの陽極バッファ層を用いる
ことにより、低電圧化・長寿命化・耐熱性向上に効果があると報告されている。また、ポ
リマーの陽極バッファ層は、適当なアクセプタの導入により導電率が向上するので厚膜化
が可能となる。したがって、平坦化にも寄与することができ、短絡の減少などにも効果が
あると言われている。
例えば、非特許文献4参照。)。非特許文献4では、ポリマーの陽極バッファ層を用いる
ことにより、低電圧化・長寿命化・耐熱性向上に効果があると報告されている。また、ポ
リマーの陽極バッファ層は、適当なアクセプタの導入により導電率が向上するので厚膜化
が可能となる。したがって、平坦化にも寄与することができ、短絡の減少などにも効果が
あると言われている。
このように、有機発光素子は薄型軽量・高速応答性・直流低電圧駆動などの特性を有して
おり、次世代のフラットパネルディスプレイ素子として注目されている。また、自発光型
であり視野角が広いことから、視認性も比較的良好であり、特に車載用の表示画面や携帯
機器の表示画面に用いる素子として有効と考えられている。実際、車載用のカーオーディ
オの中には、エリアカラーの表示画面に有機発光素子が用いられているものもある。
おり、次世代のフラットパネルディスプレイ素子として注目されている。また、自発光型
であり視野角が広いことから、視認性も比較的良好であり、特に車載用の表示画面や携帯
機器の表示画面に用いる素子として有効と考えられている。実際、車載用のカーオーディ
オの中には、エリアカラーの表示画面に有機発光素子が用いられているものもある。
さらに、有機発光素子は、発光色のバリエーションに富んでいることも特色の一つである
。このような色彩の豊かさの要因は、有機化合物自体の多様性にある。
すなわち、分子設計(例えば置換基の導入)等により様々な発光色の材料を開発できると
いう柔軟性が、色彩の豊かさを生んでいるのである。
。このような色彩の豊かさの要因は、有機化合物自体の多様性にある。
すなわち、分子設計(例えば置換基の導入)等により様々な発光色の材料を開発できると
いう柔軟性が、色彩の豊かさを生んでいるのである。
これらの観点から、有機発光素子の最も大きな応用分野は、モノカラーやエリアカラーの
表示装置はもちろんのこと、フルカラーの表示装置であると言っても過言ではない。有機
発光素子の特徴を考慮し、様々なフルカラー化の手法が考案されている。例えば、光の三
原色である赤色、緑色、青色のそれぞれの発光色を呈する有機発光素子を、シャドウマス
ク技術を用いて塗り分け、それぞれを画素とする手法(以下、「塗り分け方式」と記す)
、あるいは、青色の有機発光素子を発光源として用い、その青色の光を有機蛍光材料から
なる色変換層によって緑色および赤色に変換することで、光の三原色を得る手法(以下、
「CCM方式」と記す)、あるいは、白色の有機発光素子を発光源として用い、液晶表示装
置などで用いられているカラーフィルターを設けることで、光の三原色を得る手法(以下
、「CF方式」と記す)などがある。
表示装置はもちろんのこと、フルカラーの表示装置であると言っても過言ではない。有機
発光素子の特徴を考慮し、様々なフルカラー化の手法が考案されている。例えば、光の三
原色である赤色、緑色、青色のそれぞれの発光色を呈する有機発光素子を、シャドウマス
ク技術を用いて塗り分け、それぞれを画素とする手法(以下、「塗り分け方式」と記す)
、あるいは、青色の有機発光素子を発光源として用い、その青色の光を有機蛍光材料から
なる色変換層によって緑色および赤色に変換することで、光の三原色を得る手法(以下、
「CCM方式」と記す)、あるいは、白色の有機発光素子を発光源として用い、液晶表示装
置などで用いられているカラーフィルターを設けることで、光の三原色を得る手法(以下
、「CF方式」と記す)などがある。
また、これらいずれの構成においても、有機発光素子をマトリクス状の各画素として配置
することにより形成される表示装置に対しては、パッシブマトリクス駆動(単純マトリク
ス型)やアクティブマトリクス駆動(アクティブマトリクス型)のような駆動方法が用い
られている。なお、画素密度が多くなる場合には、画素ごとにスイッチ(例えばトランジ
スタなどの非線形素子)が設けられているアクティブマトリクス型の方が、低電圧で駆動
できるため有利であると言われている。
することにより形成される表示装置に対しては、パッシブマトリクス駆動(単純マトリク
ス型)やアクティブマトリクス駆動(アクティブマトリクス型)のような駆動方法が用い
られている。なお、画素密度が多くなる場合には、画素ごとにスイッチ(例えばトランジ
スタなどの非線形素子)が設けられているアクティブマトリクス型の方が、低電圧で駆動
できるため有利であると言われている。
ところで、非特許文献4で示されるようなポリマーを用いたバッファ層は、低駆動電圧化
・長寿命化・耐熱性向上に効果があることは先に述べたが、このような材料をバッファ層
(主に陽極バッファ層)として、有機発光素子をマトリクス状の各画素として配置するこ
とにより形成される表示装置に適用しようとすると、問題点が生じる。それは、クロスト
ークの問題である。
・長寿命化・耐熱性向上に効果があることは先に述べたが、このような材料をバッファ層
(主に陽極バッファ層)として、有機発光素子をマトリクス状の各画素として配置するこ
とにより形成される表示装置に適用しようとすると、問題点が生じる。それは、クロスト
ークの問題である。
ポリマーを用いたバッファ層は、π共役系を有するポリマーにドナーやアクセプタを添加
することによって、そのポリマーに導電性を持たせるものがほとんどである。そして、こ
れらのポリマーは通常、スピンコートなどで全面に塗布するため、所々、ポリマーと配線
との間で漏れ電流が生じるのである。
することによって、そのポリマーに導電性を持たせるものがほとんどである。そして、こ
れらのポリマーは通常、スピンコートなどで全面に塗布するため、所々、ポリマーと配線
との間で漏れ電流が生じるのである。
例えば、アクセプタを添加した導電性ポリマーであるポリエチレンジオキシチオフェン/
ポリスチレンスルホン酸(以下、「PEDT/PSS」と記す)を、陽極バッファ層として用いた
パッシブマトリクス型の表示装置を作製すると、クロストークが生じると報告されている
(例えば、非特許文献5参照。)。非特許文献5では、その解決法として、わざとPEDT/P
SSの抵抗率を高くすることにより、クロストークを防いでいる。
ポリスチレンスルホン酸(以下、「PEDT/PSS」と記す)を、陽極バッファ層として用いた
パッシブマトリクス型の表示装置を作製すると、クロストークが生じると報告されている
(例えば、非特許文献5参照。)。非特許文献5では、その解決法として、わざとPEDT/P
SSの抵抗率を高くすることにより、クロストークを防いでいる。
しかしながら、抵抗率を高くしてしまうと、今度はポリマーを用いたバッファ層の厚さを
厚くすることができなくなってしまう(つまり、有機発光素子に電流が流れにくくなって
しまう)。したがって、厚膜化によって電極表面を平坦化し、短絡を防げるという特徴が
失われてしまう。また、抵抗率が高くなれば、自然、駆動電圧も高くなってしまい、低駆
動電圧という特徴もなくなる。
厚くすることができなくなってしまう(つまり、有機発光素子に電流が流れにくくなって
しまう)。したがって、厚膜化によって電極表面を平坦化し、短絡を防げるという特徴が
失われてしまう。また、抵抗率が高くなれば、自然、駆動電圧も高くなってしまい、低駆
動電圧という特徴もなくなる。
C.W.タン(C.W.Tang)ら、アプライド フィジクス レターズ、Vol.51,No.12,913−915(1987)。
チハヤ アダチ、外3名、ジャパニーズ ジャーナル オブ アプライド フィジクス 、Vol.27,No.2,L269−L271(1988)。
タケオ ワキモト、外5名、アイイーイーイー トランサクション オン エレクトロン デバイス(IEEE TRANSACTIONS ON ELECTRON DEVICES), VOL. 44, NO.8, 1245−1248(1997)。
佐藤佳晴、「実用化への課題:材料開発の観点から」、応用物理学会・有機分子・バイオエレクトロニクス分科会会誌、vol.11、No.1、86−99(2000)。
A. エルシュナー、外3名、アジア ディスプレイ/アイディーダブリュー( Asia Display/IDW)'01, 1427−1430(2001)。
そこで本発明では、有機発光素子をマトリクス状の各画素として配置することにより形成
される表示装置に対し、クロストークを起こすことなく、ポリマーを用いた導電性のバッ
ファ層を適用することを目的とする。またそれにより、駆動電圧が低く、信頼性・耐熱性
にも優れ、短絡などの欠陥が少ない表示装置を提供することを課題とする。
される表示装置に対し、クロストークを起こすことなく、ポリマーを用いた導電性のバッ
ファ層を適用することを目的とする。またそれにより、駆動電圧が低く、信頼性・耐熱性
にも優れ、短絡などの欠陥が少ない表示装置を提供することを課題とする。
さらに、前記表示装置を用いて電気器具を作製することにより、消費電力が少なく、寿命
の長い電気器具を提供することを課題とする。
の長い電気器具を提供することを課題とする。
本発明は、マトリクス状に配置された複数の画素を有する表示装置において、前記表示装
置は、基板と、前記基板の絶縁表面上に設けられた前記複数の画素に対応する複数の第1
電極と、前記第1電極を囲みなおかつ前記第1電極の表面より上方に突出した絶縁体隔壁
と、前記絶縁体隔壁および前記第1電極の上に設けられた有機導電体膜と、前記有機導電
体の上に設けられなおかつ電界発光できる有機化合物を含む有機薄膜と、前記有機薄膜の
上に設けられた第2電極と、を有することを特徴とする。
置は、基板と、前記基板の絶縁表面上に設けられた前記複数の画素に対応する複数の第1
電極と、前記第1電極を囲みなおかつ前記第1電極の表面より上方に突出した絶縁体隔壁
と、前記絶縁体隔壁および前記第1電極の上に設けられた有機導電体膜と、前記有機導電
体の上に設けられなおかつ電界発光できる有機化合物を含む有機薄膜と、前記有機薄膜の
上に設けられた第2電極と、を有することを特徴とする。
また特に、前記第1電極上における前記有機導電体膜の膜厚T1と、前記第1電極と前記
絶縁体隔壁との境界上における前記有機導電体膜の膜厚T2と、前記絶縁体隔壁上におけ
る前期有機導電体膜の膜厚T3と、の関係が、T2>T1>T3であることを特徴とする。
絶縁体隔壁との境界上における前記有機導電体膜の膜厚T2と、前記絶縁体隔壁上におけ
る前期有機導電体膜の膜厚T3と、の関係が、T2>T1>T3であることを特徴とする。
また特に、前記有機導電体膜は、高分子化合物にアクセプタまたはドナーを添加したもの
であることを特徴とする。さらに、前記有機導電体膜は、平坦性を考慮すると湿式法にて
成膜された膜であることが好ましく、その湿式法としては、スピンコート法、またはイン
クジェット法、またはスプレー法が好適である。なお、前記有機導電体膜の導電率は、1
0-6S/cm以上、10-2S/cm以下であることが好ましい。
であることを特徴とする。さらに、前記有機導電体膜は、平坦性を考慮すると湿式法にて
成膜された膜であることが好ましく、その湿式法としては、スピンコート法、またはイン
クジェット法、またはスプレー法が好適である。なお、前記有機導電体膜の導電率は、1
0-6S/cm以上、10-2S/cm以下であることが好ましい。
また、前記絶縁体隔壁は、前記基板の上方向に向けて徐々に細くなるテーパー形状を有す
ることを特徴とする。この時のテーパー形状のテーパー角度は、60度以上80度以下で
あることが好ましい。さらに、前記絶縁体隔壁が、前記絶縁体隔壁の稜線に対して基板側
に曲率半径の中心を少なくとも一つ有する曲面形状である場合や、前記絶縁体隔壁の稜線
が変曲点を有さない曲面形状である場合や、前記絶縁体隔壁が、前記絶縁体隔壁の稜線に
対して基板側に曲率半径の中心を少なくとも一つ有すると同時に前記絶縁体隔壁の稜線に
対して基板側と反対側にも曲率半径の中心を少なくとも一つ有する曲面形状である場合や
、前記絶縁体隔壁の稜線が少なくとも1つの変曲点を有する曲面形状である場合は、スピ
ン塗布を行う場合などに特に好適である。
ることを特徴とする。この時のテーパー形状のテーパー角度は、60度以上80度以下で
あることが好ましい。さらに、前記絶縁体隔壁が、前記絶縁体隔壁の稜線に対して基板側
に曲率半径の中心を少なくとも一つ有する曲面形状である場合や、前記絶縁体隔壁の稜線
が変曲点を有さない曲面形状である場合や、前記絶縁体隔壁が、前記絶縁体隔壁の稜線に
対して基板側に曲率半径の中心を少なくとも一つ有すると同時に前記絶縁体隔壁の稜線に
対して基板側と反対側にも曲率半径の中心を少なくとも一つ有する曲面形状である場合や
、前記絶縁体隔壁の稜線が少なくとも1つの変曲点を有する曲面形状である場合は、スピ
ン塗布を行う場合などに特に好適である。
さらに本発明においては、前記表示装置は、データ信号ラインと、走査信号ラインと、前
記データ信号ラインおよび前記走査信号ラインおよび前記第1電極に接続された非線形素
子と、をさらに含むことを特徴とする。この時、前記非線形素子は、互いに接続された薄
膜トランジスタとキャパシタとの組み合わせ、または、薄膜トランジスタと前記薄膜トラ
ンジスタの寄生のキャパシタとの組み合わせ、からなることが好ましい。
記データ信号ラインおよび前記走査信号ラインおよび前記第1電極に接続された非線形素
子と、をさらに含むことを特徴とする。この時、前記非線形素子は、互いに接続された薄
膜トランジスタとキャパシタとの組み合わせ、または、薄膜トランジスタと前記薄膜トラ
ンジスタの寄生のキャパシタとの組み合わせ、からなることが好ましい。
また表示装置である以上、表示装置のいずれかの面が可視光透過性を有すればよい。従っ
て本発明では、前記基板および前記第1電極が可視光透過性を有することを特徴とする。
あるいは、前記第2電極が可視光透過性を有することを特徴とする。
て本発明では、前記基板および前記第1電極が可視光透過性を有することを特徴とする。
あるいは、前記第2電極が可視光透過性を有することを特徴とする。
以上で述べたような表示装置の製造方法として、本発明では、マトリクス状に配置された
複数の画素を有する表示装置を製造する工程は、基板の絶縁表面上に前記複数の画素に対
応する複数の第1電極を形成するパターン工程と、前記第1電極を囲みなおかつ前記第1
電極の表面より上方に突出した絶縁体隔壁を形成する工程と、前記絶縁体隔壁および前記
第1電極の上に有機導電体膜を設ける工程と、前記有機導電体の上に電界発光できる有機
化合物を含む有機薄膜を形成する工程と、前記有機薄膜の上に第2電極を形成する工程と
、を含むことを特徴とする。
複数の画素を有する表示装置を製造する工程は、基板の絶縁表面上に前記複数の画素に対
応する複数の第1電極を形成するパターン工程と、前記第1電極を囲みなおかつ前記第1
電極の表面より上方に突出した絶縁体隔壁を形成する工程と、前記絶縁体隔壁および前記
第1電極の上に有機導電体膜を設ける工程と、前記有機導電体の上に電界発光できる有機
化合物を含む有機薄膜を形成する工程と、前記有機薄膜の上に第2電極を形成する工程と
、を含むことを特徴とする。
また本発明では、前記絶縁体隔壁および前記第1電極の上に有機導電体膜を設ける工程は
、湿式プロセスであることを特徴とする。この時、前記湿式プロセスは、前記有機導電体
膜の原料溶液または原料分散液をスプレー塗布する工程、またはスピン塗布する工程、ま
たはインクジェット法により塗布する工程であることが好ましい。
、湿式プロセスであることを特徴とする。この時、前記湿式プロセスは、前記有機導電体
膜の原料溶液または原料分散液をスプレー塗布する工程、またはスピン塗布する工程、ま
たはインクジェット法により塗布する工程であることが好ましい。
さらに本発明においては、前記パターン工程は、データ信号ラインと、走査信号ラインと
、前記データ信号ラインおよび前記走査信号ラインおよび前記第1電極に接続された非線
形素子と、を形成する工程を含むことを特徴とする。この時、前記非線形素子は、互いに
接続された薄膜トランジスタとキャパシタとの組み合わせ、または、薄膜トランジスタと
前記薄膜トランジスタの寄生のキャパシタとの組み合わせ、からなることが好ましい。
、前記データ信号ラインおよび前記走査信号ラインおよび前記第1電極に接続された非線
形素子と、を形成する工程を含むことを特徴とする。この時、前記非線形素子は、互いに
接続された薄膜トランジスタとキャパシタとの組み合わせ、または、薄膜トランジスタと
前記薄膜トランジスタの寄生のキャパシタとの組み合わせ、からなることが好ましい。
なお、有機薄膜は、発光する化合物として有機化合物を用いているものであり、他の構成
要素として無機化合物を含んでいても良い。また、本発明でいう表示装置とは、発光素子
として有機発光素子を用いた画像表示デバイスを指す。また、有機発光素子にコネクター
、例えば異方導電性フィルム(FPC:Flexible printed circuit)もしくはTAB(Tape Aut
omated Bonding)テープもしくはTCP(Tape Carrier Package)が取り付けられたモジュ
ール、TABテープやTCPの先にプリント配線板が設けられたモジュール、または有機発光素
子にCOG(Chip On Glass)
方式によりIC(集積回路)が直接実装されたモジュールも全て表示装置に含むものとする
。
要素として無機化合物を含んでいても良い。また、本発明でいう表示装置とは、発光素子
として有機発光素子を用いた画像表示デバイスを指す。また、有機発光素子にコネクター
、例えば異方導電性フィルム(FPC:Flexible printed circuit)もしくはTAB(Tape Aut
omated Bonding)テープもしくはTCP(Tape Carrier Package)が取り付けられたモジュ
ール、TABテープやTCPの先にプリント配線板が設けられたモジュール、または有機発光素
子にCOG(Chip On Glass)
方式によりIC(集積回路)が直接実装されたモジュールも全て表示装置に含むものとする
。
以上で述べたような発明を実施することにより、有機発光素子をマトリクス状の各画素と
して配置することにより形成される表示装置に対し、クロストークを起こすことなく、ポ
リマーを用いた導電性のバッファ層を適用することができる。
またそれにより、駆動電圧が低く、信頼性・耐熱性にも優れ、短絡などの欠陥が少ない表
示装置を提供することができる。
して配置することにより形成される表示装置に対し、クロストークを起こすことなく、ポ
リマーを用いた導電性のバッファ層を適用することができる。
またそれにより、駆動電圧が低く、信頼性・耐熱性にも優れ、短絡などの欠陥が少ない表
示装置を提供することができる。
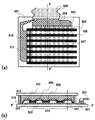
本発明の概念図を図1に示す。図1(a)は基板上にストライプ状(図中縦方向)
の第1電極102aを形成し、画素部110aを形成するために、画素部110aを囲む形で絶縁体隔
壁103aを設け、有機導電体膜104a(図示せず)を形成したものである。
また図1(b)は、基板上にアイランド状の第1電極102bを形成し、画素部110bを形成する
ために、画素部110bを囲む形で絶縁体隔壁103bを設け、有機導電体膜104b(図示せず)を
形成したものである。いずれの場合も、図中A−A'における断面図は図1(c)のようになる
。101は基板、102は第1電極、103は絶縁体隔壁、104は有機導電体膜である。
の第1電極102aを形成し、画素部110aを形成するために、画素部110aを囲む形で絶縁体隔
壁103aを設け、有機導電体膜104a(図示せず)を形成したものである。
また図1(b)は、基板上にアイランド状の第1電極102bを形成し、画素部110bを形成する
ために、画素部110bを囲む形で絶縁体隔壁103bを設け、有機導電体膜104b(図示せず)を
形成したものである。いずれの場合も、図中A−A'における断面図は図1(c)のようになる
。101は基板、102は第1電極、103は絶縁体隔壁、104は有機導電体膜である。
この時、有機導電体膜104の厚さ形状は、絶縁体隔壁103の影響により、T2>T1>T3となる
。したがって、T3部分における横方向の抵抗が高くなり、クロストークを防ぐことができ
る。さらに、T2部分が厚くなるため、画素部周辺の電界集中を緩和し、画素部周辺からの
有機発光素子の劣化を防ぐことができる。有機導電体膜104としては、例えばPEDOT/PSSの
ような導電性ポリマーを湿式塗布したものを用いれば良い。
。したがって、T3部分における横方向の抵抗が高くなり、クロストークを防ぐことができ
る。さらに、T2部分が厚くなるため、画素部周辺の電界集中を緩和し、画素部周辺からの
有機発光素子の劣化を防ぐことができる。有機導電体膜104としては、例えばPEDOT/PSSの
ような導電性ポリマーを湿式塗布したものを用いれば良い。
なお、この形状は、有機導電体膜を湿式塗布する場合に効果的に得られるが、真空蒸着の
ような乾式プロセスによって有機導電体膜を形成する場合も、同様の形状は得られる。し
たがって、有機導電体膜104を形成するプロセスは、乾式プロセス・湿式プロセスいず
れの場合でも有効である。
ような乾式プロセスによって有機導電体膜を形成する場合も、同様の形状は得られる。し
たがって、有機導電体膜104を形成するプロセスは、乾式プロセス・湿式プロセスいず
れの場合でも有効である。
このような概念をパッシブマトリクス型に適用すると、図2のようになる。図2(a)は上
面図、図2(b)は図2(a)中のB−B'の断面図である。すなわち、基板201上にストライプ
状の第1電極202が形成されており、その第1電極202より上方に突き出てなおかつ、画素
部Pを囲む形で絶縁体隔壁203が形成されている。そしてその上に有機導電体膜204(代表
的には導電性ポリマー)が設けられ、さらには電界発光できる有機化合物を含む有機薄膜
205が形成されている。その上に、第1電極と直交する形で、第2電極206が形成されてい
る。
面図、図2(b)は図2(a)中のB−B'の断面図である。すなわち、基板201上にストライプ
状の第1電極202が形成されており、その第1電極202より上方に突き出てなおかつ、画素
部Pを囲む形で絶縁体隔壁203が形成されている。そしてその上に有機導電体膜204(代表
的には導電性ポリマー)が設けられ、さらには電界発光できる有機化合物を含む有機薄膜
205が形成されている。その上に、第1電極と直交する形で、第2電極206が形成されてい
る。
なお、ここでは、有機薄膜205はメタルマスクによって画素部ごとに塗り分けられており
、フルカラー表示に適した形態を示している。むろん、単色であれば、塗り分けすること
なくベタ付けしてもよい。
、フルカラー表示に適した形態を示している。むろん、単色であれば、塗り分けすること
なくベタ付けしてもよい。
また、このような概念をアクティブマトリクス型に適用すると、図3のようになる。図3
(a)は上面図、図3(b)は図3(a)中のC−C'の断面図である。すなわち、基板301上にアイ
ランド状の第1電極302が形成されており、その第1電極302より上方に突き出てなおかつ
、画素部を囲む形で絶縁体隔壁303が形成されている。そしてその上に有機導電体膜304が
設けられ、さらには電界発光できる有機化合物を含む有機薄膜305が形成されている。そ
の上に、ベタ付けの形で第2電極306が形成されている。
(a)は上面図、図3(b)は図3(a)中のC−C'の断面図である。すなわち、基板301上にアイ
ランド状の第1電極302が形成されており、その第1電極302より上方に突き出てなおかつ
、画素部を囲む形で絶縁体隔壁303が形成されている。そしてその上に有機導電体膜304が
設けられ、さらには電界発光できる有機化合物を含む有機薄膜305が形成されている。そ
の上に、ベタ付けの形で第2電極306が形成されている。
さらに、データ信号ライン307と、走査信号ライン308と、データ信号ライン307および走
査信号ライン308に接続された非線形素子309が設けられており、非線形素子はコンタクト
310により、第1電極302に接続されている。これにより、各画素をそれぞれ単独でスイッ
チすることができる。非線形素子309は代表的には、互いに接続された薄膜トランジスタ
とキャパシタとの組み合わせ、または、薄膜トランジスタと前記薄膜トランジスタの寄生
のキャパシタとの組み合わせ、からなる。
査信号ライン308に接続された非線形素子309が設けられており、非線形素子はコンタクト
310により、第1電極302に接続されている。これにより、各画素をそれぞれ単独でスイッ
チすることができる。非線形素子309は代表的には、互いに接続された薄膜トランジスタ
とキャパシタとの組み合わせ、または、薄膜トランジスタと前記薄膜トランジスタの寄生
のキャパシタとの組み合わせ、からなる。
なお、図2および図3において、有機薄膜の構成としては、公知の有機発光素子の構造を
用いればよい。また、第1電極および第2電極のいずれか一方が可視光透過性を有してい
れば良く、第1電極が陽極の場合は第2電極を陰極に、第1電極が陰極の場合は第2電極
を陽極とすればよい。
用いればよい。また、第1電極および第2電極のいずれか一方が可視光透過性を有してい
れば良く、第1電極が陽極の場合は第2電極を陰極に、第1電極が陰極の場合は第2電極
を陽極とすればよい。
有機導電体膜としては、有機半導体にアクセプタやドナーをドープして暗導電性を持たせ
る手法が好適である。成膜方法としては、真空蒸着法のような乾式プロセスにて成膜でき
るものと、スピンコートのような湿式プロセスにて成膜できるものがある。
る手法が好適である。成膜方法としては、真空蒸着法のような乾式プロセスにて成膜でき
るものと、スピンコートのような湿式プロセスにて成膜できるものがある。
乾式プロセスで成膜できる有機導電体膜の一例としては、低分子系の有機半導体と、アク
セプタまたはドナーとを共蒸着する手法が一般的である。p型の有機半導体とアクセプタ
とを共蒸着した場合の有機導電体膜はホール注入層として好ましく、n型の有機半導体と
ドナーとを共蒸着した場合の有機導電体膜は電子注入層として好ましい。
セプタまたはドナーとを共蒸着する手法が一般的である。p型の有機半導体とアクセプタ
とを共蒸着した場合の有機導電体膜はホール注入層として好ましく、n型の有機半導体と
ドナーとを共蒸着した場合の有機導電体膜は電子注入層として好ましい。
低分子系のp型有機半導体としては、4,4'−ビス[N−(1−ナフチル)−N−フェ
ニル−アミノ]−ビフェニル(略称;α−NPD)や、4,4',4''−トリス(N,N−ジ
フェニル−アミノ)−トリフェニルアミン(略称;TDATA)、4,4',4''−トリス[N
−(3−メチルフェニル)−N−フェニル−アミノ]−トリフェニルアミン(略称;MTDA
TA)などの芳香族アミン化合物が挙げられる。また、低分子系のn型有機半導体としては
、トリス(8−キノリノラト)アルミニウム(略称;Alq3)、ビス[2−(2−ヒドロキ
シフェニル)−ベンゾオキサゾラト]亜鉛(略称;Zn(BOX)2)などの金属錯体や、2−(
4−ビフェニリル)−5−(4−tert−ブチルフェニル)−1,3,4−オキサジアゾー
ル(略称;PBD)、1,3−ビス[5−(p−tert−ブチルフェニル)−1,3,4−オキ
サジアゾール−2−イル]ベンゼン(略称;OXD−7)などのオキサジアゾール誘導体、5
−(4−ビフェニリル)−3−(4−tert−ブチルフェニル)−4−フェニル−1,2,
4−トリアゾール(略称;TAZ)、5−(4−ビフェニリル)−3−(4−tert−ブチル
フェニル)−4−(4−エチルフェニル)−1,2,4−トリアゾール(略称;p-EtTAZ
)などのトリアゾール誘導体、バソフェナントロリン(略称;BPhen)・バソキュプロイ
ン(略称;BCP)と記す)などのフェナントロリン誘導体などが挙げられる。
ニル−アミノ]−ビフェニル(略称;α−NPD)や、4,4',4''−トリス(N,N−ジ
フェニル−アミノ)−トリフェニルアミン(略称;TDATA)、4,4',4''−トリス[N
−(3−メチルフェニル)−N−フェニル−アミノ]−トリフェニルアミン(略称;MTDA
TA)などの芳香族アミン化合物が挙げられる。また、低分子系のn型有機半導体としては
、トリス(8−キノリノラト)アルミニウム(略称;Alq3)、ビス[2−(2−ヒドロキ
シフェニル)−ベンゾオキサゾラト]亜鉛(略称;Zn(BOX)2)などの金属錯体や、2−(
4−ビフェニリル)−5−(4−tert−ブチルフェニル)−1,3,4−オキサジアゾー
ル(略称;PBD)、1,3−ビス[5−(p−tert−ブチルフェニル)−1,3,4−オキ
サジアゾール−2−イル]ベンゼン(略称;OXD−7)などのオキサジアゾール誘導体、5
−(4−ビフェニリル)−3−(4−tert−ブチルフェニル)−4−フェニル−1,2,
4−トリアゾール(略称;TAZ)、5−(4−ビフェニリル)−3−(4−tert−ブチル
フェニル)−4−(4−エチルフェニル)−1,2,4−トリアゾール(略称;p-EtTAZ
)などのトリアゾール誘導体、バソフェナントロリン(略称;BPhen)・バソキュプロイ
ン(略称;BCP)と記す)などのフェナントロリン誘導体などが挙げられる。
アクセプタとして有効に機能し、なおかつ蒸着が可能な例としては、TCNQ、TCE、DDQ、ベ
ンゾキノン、2,6−ナフトキノン、p−フルオラニル、テトラクロロジフェノキノン、
ニッケルビスジフェニルグルオキシムなど、ルイス酸として作用するものが代表的である
。ドナーとして有効に機能し、なおかつ蒸着が可能な例としては、TTF、TTT、メチルフェ
ノチアジン、N−イソプロピルカルバゾールなどの有機化合物の他、アルカリ金属、アル
カリ土類金属のようなドナー性の強い金属類など、ルイス塩基として作用するものが代表
的である。
ンゾキノン、2,6−ナフトキノン、p−フルオラニル、テトラクロロジフェノキノン、
ニッケルビスジフェニルグルオキシムなど、ルイス酸として作用するものが代表的である
。ドナーとして有効に機能し、なおかつ蒸着が可能な例としては、TTF、TTT、メチルフェ
ノチアジン、N−イソプロピルカルバゾールなどの有機化合物の他、アルカリ金属、アル
カリ土類金属のようなドナー性の強い金属類など、ルイス塩基として作用するものが代表
的である。
湿式プロセスで成膜できる有機導電体膜の一例としては、導電性高分子化合物に代表され
るπ共役系を有する高分子化合物と、アクセプタまたはドナーとを混合した溶液を湿式塗
布する手法が一般的である。成膜性が良ければ、高分子化合物ではなく、低分子系の有機
化合物を用いてもよい。この場合も、アクセプタを混合した場合の有機導電体膜はホール
注入層として好ましく、ドナーを混合した場合の有機導電体膜は電子注入層として好まし
い。
るπ共役系を有する高分子化合物と、アクセプタまたはドナーとを混合した溶液を湿式塗
布する手法が一般的である。成膜性が良ければ、高分子化合物ではなく、低分子系の有機
化合物を用いてもよい。この場合も、アクセプタを混合した場合の有機導電体膜はホール
注入層として好ましく、ドナーを混合した場合の有機導電体膜は電子注入層として好まし
い。
π共役系を有する高分子化合物の例としては、ポリ(エチレンジオキシチオフェン)(略
称:PEDOT)、ポリアニリン(略称;PAni)、ポリピロールのように実用化されている材
料の他、ポリフェニレン誘導体、ポリチオフェン誘導体、ポリ(パラフェニレンビニレン
)誘導体などがある。
称:PEDOT)、ポリアニリン(略称;PAni)、ポリピロールのように実用化されている材
料の他、ポリフェニレン誘導体、ポリチオフェン誘導体、ポリ(パラフェニレンビニレン
)誘導体などがある。
アクセプタやドナーとしては、上記で挙げたものを用いることもできるが、ポリスチレン
スルホン酸(PSS)のような水溶性ポリマーのアクセプタを用いることで、水溶媒系で湿
式塗布することもできる。PEDOT/PSSやPAni/PSSなどが知られており、特にホール注入層
として有効である。
スルホン酸(PSS)のような水溶性ポリマーのアクセプタを用いることで、水溶媒系で湿
式塗布することもできる。PEDOT/PSSやPAni/PSSなどが知られており、特にホール注入層
として有効である。
ところで、図1〜図3の図面上ではテーパー形状の絶縁体隔壁を例に説明しているが、絶
縁体隔壁が他の形状の場合でも、同様の効果、あるいはより大きな効果を得ることができ
る。図1(c)におけるテーパー形状の絶縁体隔壁を、他の形状とした場合の模式図を図
14に示す。
縁体隔壁が他の形状の場合でも、同様の効果、あるいはより大きな効果を得ることができ
る。図1(c)におけるテーパー形状の絶縁体隔壁を、他の形状とした場合の模式図を図
14に示す。
図14(a)は、絶縁体隔壁103の端部が、絶縁体隔壁103の内側に曲率半径R1を一
つ有する曲面形状となる場合である。つまり、絶縁体隔壁は、絶縁体隔壁の稜線に対して
基板側に曲率半径の中心を少なくとも1つ有する場合であり、前記絶縁体隔壁の稜線は、
変曲点を有さない曲面形状である場合の一例である。
このような場合、図14(a)に示したとおり、絶縁体隔壁の端部は弧を描く形となるた
め、T2>T1>T3の状態を容易に形成することができる。特にT3は、絶縁体隔壁の上端に近
づくにつれ薄くなっていくため、クロストーク防止に大きな効果をもたらす。
つ有する曲面形状となる場合である。つまり、絶縁体隔壁は、絶縁体隔壁の稜線に対して
基板側に曲率半径の中心を少なくとも1つ有する場合であり、前記絶縁体隔壁の稜線は、
変曲点を有さない曲面形状である場合の一例である。
このような場合、図14(a)に示したとおり、絶縁体隔壁の端部は弧を描く形となるた
め、T2>T1>T3の状態を容易に形成することができる。特にT3は、絶縁体隔壁の上端に近
づくにつれ薄くなっていくため、クロストーク防止に大きな効果をもたらす。
図14(b)は、絶縁体隔壁103の端部が、絶縁体隔壁103の内側に曲率半径R1を一
つ有すると同時に絶縁体隔壁103の外側にも曲率半径R2を一つ有する曲面形状となる場
合である。つまり、絶縁体隔壁は、絶縁体隔壁の稜線に対して基板側に曲率半径の中心を
少なくとも1つ有し、かつ前記絶縁体隔壁の稜線に対して基板側と反対側に曲率半径の中
心を少なくとも1つ有する場合であり、前記絶縁体隔壁の稜線は、少なくとも1つの変曲
点を有する曲面形状である場合の一例である。このような場合、図14(b)に示したと
おり、絶縁体隔壁の端部はS字型を描く形となるため、同様にT2>T1>T3の状態を容易に
形成することができる。この場合も、T3は絶縁体隔壁の上端に近づくにつれ薄くなってい
くため、クロストーク防止に大きな効果をもたらす。
つ有すると同時に絶縁体隔壁103の外側にも曲率半径R2を一つ有する曲面形状となる場
合である。つまり、絶縁体隔壁は、絶縁体隔壁の稜線に対して基板側に曲率半径の中心を
少なくとも1つ有し、かつ前記絶縁体隔壁の稜線に対して基板側と反対側に曲率半径の中
心を少なくとも1つ有する場合であり、前記絶縁体隔壁の稜線は、少なくとも1つの変曲
点を有する曲面形状である場合の一例である。このような場合、図14(b)に示したと
おり、絶縁体隔壁の端部はS字型を描く形となるため、同様にT2>T1>T3の状態を容易に
形成することができる。この場合も、T3は絶縁体隔壁の上端に近づくにつれ薄くなってい
くため、クロストーク防止に大きな効果をもたらす。
図14に示したような絶縁体隔壁の形状は、スピンコート法により湿式塗布する場合に、
特に効果的である。絶縁体隔壁の端部がなだらかになっているため、スピンコートする際
、液が全面に均一に広がりやすいためである。
特に効果的である。絶縁体隔壁の端部がなだらかになっているため、スピンコートする際
、液が全面に均一に広がりやすいためである。
なお、有機導電体膜104や204や304に、あらかじめ水素プラズマあるいは水素イオンドー
プなどにより水素原子あるいは水素分子を存在させておき、有機薄膜205や305の成膜後、
加熱等により拡散させておくと、駆動中に有機薄膜205や305において不対結合手(あるい
はラジカル)が生じてしまった場合、それを補修して劣化を防止させるようなことも可能
である。
プなどにより水素原子あるいは水素分子を存在させておき、有機薄膜205や305の成膜後、
加熱等により拡散させておくと、駆動中に有機薄膜205や305において不対結合手(あるい
はラジカル)が生じてしまった場合、それを補修して劣化を防止させるようなことも可能
である。
次に、図2や図3の表示装置を形成する装置の概念図を図4に示す。この装置は、有機薄
膜を真空蒸着にて形成する例である。主に基板を搬送する搬送室、受渡を行う受渡室、各
種薄膜を作成する成膜室、封止を行う封止室から構成されている。各室には必要な真空度
を達成するための排気装置、あるいはN2等のガス雰囲気を生成するための装置が装備さ
れており、また各室間はゲートバルブ等で接続されている。基板搬送は搬送ロボットによ
って行われる。
膜を真空蒸着にて形成する例である。主に基板を搬送する搬送室、受渡を行う受渡室、各
種薄膜を作成する成膜室、封止を行う封止室から構成されている。各室には必要な真空度
を達成するための排気装置、あるいはN2等のガス雰囲気を生成するための装置が装備さ
れており、また各室間はゲートバルブ等で接続されている。基板搬送は搬送ロボットによ
って行われる。
最初に、仕込室400に、基板401c(画素部、駆動回路部、配線、電極、保護膜等が
あらかじめ作り込まれているものとするが、ここでは単に「基板」と称す)を外部から導
入する。典型的には、画素部・駆動回路部にはTFTが用いられる。
あらかじめ作り込まれているものとするが、ここでは単に「基板」と称す)を外部から導
入する。典型的には、画素部・駆動回路部にはTFTが用いられる。
仕込室400に導入された基板401cは、搬送ロボット401bによって搬送室401
a内に運ばれ、更に前処理室402に搬送される。典型的には、前処理室402で基板4
01cに対して加熱、あるいはO2プラズマ処理などの前処理が行われる。この前処理は
OLEDの諸特性向上を目的としている。また、水溶性の導電性ポリマーなどを有機導電
体膜として塗布する場合は、基板の塗布表面を親水性にし、濡れ性を向上させる役割も果
たす。
a内に運ばれ、更に前処理室402に搬送される。典型的には、前処理室402で基板4
01cに対して加熱、あるいはO2プラズマ処理などの前処理が行われる。この前処理は
OLEDの諸特性向上を目的としている。また、水溶性の導電性ポリマーなどを有機導電
体膜として塗布する場合は、基板の塗布表面を親水性にし、濡れ性を向上させる役割も果
たす。
前処理が終了した基板は、再び仕込み室に戻され、窒素パージを行う。そして、常圧下(
窒素雰囲気)にある搬送室420に運ばれ、反転室422にて基板を表向きに反転させる
。そして、塗布室421にて有機導電体膜(具体的には、PEDOT/PSSのような導電性ポリ
マー)を塗布する。塗布方法は、スピンコートやディップコートなどがあるが、ここでは
スプレー法によって成膜する。塗布後、搬送室420を経由して、反転および真空ベーク
室423へ搬入される。ここでは、反転および真空ベークが行われる。
窒素雰囲気)にある搬送室420に運ばれ、反転室422にて基板を表向きに反転させる
。そして、塗布室421にて有機導電体膜(具体的には、PEDOT/PSSのような導電性ポリ
マー)を塗布する。塗布方法は、スピンコートやディップコートなどがあるが、ここでは
スプレー法によって成膜する。塗布後、搬送室420を経由して、反転および真空ベーク
室423へ搬入される。ここでは、反転および真空ベークが行われる。
このように、ここでは真空ベークを反転状態(すなわち、基板表面が下向きとなるフェイ
スダウンの状態)にて行うが、図1や図14で述べたようなT2>T1>T3の関係は、フェイ
スダウンの状態でベークする場合でも問題なく保持されることがわかっている(実施例8
にて後述)。
スダウンの状態)にて行うが、図1や図14で述べたようなT2>T1>T3の関係は、フェイ
スダウンの状態でベークする場合でも問題なく保持されることがわかっている(実施例8
にて後述)。
真空ベーク後、搬送室401aおよび受渡室403を経由して、搬送室404へ運ばれる
。搬送室404にも搬送ロボットが搭載されており、搬送室404に接続されている各部
屋へ基板を搬送する役割を果たす。搬送室404には有機層形成を目的とした成膜室が接
続されている。フルカラー表示のOLED表示装置を作ることを念頭に置いて、R・G・
B各色の発光層を形成するための成膜室406R、406G、406Bが、さらに各色に
共通な層、即ちキャリア輸送層やキャリア注入層等を作成するための成膜室405が設置
されている。これらの成膜室では一般に真空蒸着法が用いられる。フルカラー発光を得る
ためには、R・G・B各色の発光を示す発光層がストライプ状、モザイク状、あるいはデ
ルタ状に配列するように、塗り分け用のシャドウマスクを使用して蒸着を行えばよい。な
お、有機導電体膜をスピンコート法やディップコート法により全面に塗布した場合、各有
機層の成膜を行う前に、前処理室402においてO2プラズマ処理とマスクを組み合わせ
ることにより、有機導電体膜の不必要な部分(封止剤を塗布する部分や配線の上など)を
除去することもできる。
。搬送室404にも搬送ロボットが搭載されており、搬送室404に接続されている各部
屋へ基板を搬送する役割を果たす。搬送室404には有機層形成を目的とした成膜室が接
続されている。フルカラー表示のOLED表示装置を作ることを念頭に置いて、R・G・
B各色の発光層を形成するための成膜室406R、406G、406Bが、さらに各色に
共通な層、即ちキャリア輸送層やキャリア注入層等を作成するための成膜室405が設置
されている。これらの成膜室では一般に真空蒸着法が用いられる。フルカラー発光を得る
ためには、R・G・B各色の発光を示す発光層がストライプ状、モザイク状、あるいはデ
ルタ状に配列するように、塗り分け用のシャドウマスクを使用して蒸着を行えばよい。な
お、有機導電体膜をスピンコート法やディップコート法により全面に塗布した場合、各有
機層の成膜を行う前に、前処理室402においてO2プラズマ処理とマスクを組み合わせ
ることにより、有機導電体膜の不必要な部分(封止剤を塗布する部分や配線の上など)を
除去することもできる。
有機層の成膜が終了した基板は、受渡室407を経由して、搬送室408へ運ばれる。搬
送室408にも搬送ロボットが搭載されており、搬送室408に接続されている各部屋へ
基板を搬送する役割を果たす。搬送室408には裏面電極形成や保護膜等形成を目的とし
た成膜室が接続されている。成膜室409や410では、真空蒸着法やEB法で電極とな
る金属(例としてAlLi合金やMgAg合金等)が成膜される。成膜室411では、基
板上面から発光を得る場合に必要な透明導電膜(例としてITOやIZO等)が、一般に
スパッタ法あるいは化学気相成長(CVD:Chemical Vapor Deposition)法で成膜され
る。成膜室412では、表面を保護するためのパッシベーション膜(例としてSiN、S
iOx膜等)が、一般にスパッタ法あるいはCVD法で成膜される。
送室408にも搬送ロボットが搭載されており、搬送室408に接続されている各部屋へ
基板を搬送する役割を果たす。搬送室408には裏面電極形成や保護膜等形成を目的とし
た成膜室が接続されている。成膜室409や410では、真空蒸着法やEB法で電極とな
る金属(例としてAlLi合金やMgAg合金等)が成膜される。成膜室411では、基
板上面から発光を得る場合に必要な透明導電膜(例としてITOやIZO等)が、一般に
スパッタ法あるいは化学気相成長(CVD:Chemical Vapor Deposition)法で成膜され
る。成膜室412では、表面を保護するためのパッシベーション膜(例としてSiN、S
iOx膜等)が、一般にスパッタ法あるいはCVD法で成膜される。
成膜が終了した基板は、受渡室413を経由して、搬送室414へ運ばれる。搬送室41
4には封止を行うために必要な部屋が複数接続されている。搬送室414にも搬送ロボッ
トが搭載されており、搬送室414に接続されている各部屋へ基板あるいは封止基板を搬
送する役割を果たす。
4には封止を行うために必要な部屋が複数接続されている。搬送室414にも搬送ロボッ
トが搭載されており、搬送室414に接続されている各部屋へ基板あるいは封止基板を搬
送する役割を果たす。
まず、封止を行うための基板を準備する必要がある。そのための部屋が封止ガラス基板準
備室415a、及び封止プラスチック基板準備室418である。
備室415a、及び封止プラスチック基板準備室418である。
封止ガラス基板準備室415aには、作成したOLEDをガラス封止するための対向ガラ
スを外部から導入する。必要ならば、OLEDを水から防ぐ乾燥剤を対向ガラスに導入す
ることができる。例えば、シート状の乾燥剤を、あらかじめザグリ加工が施してある対向
ガラスのザグリ部分に両面テープ等で貼りつけておけばよい。
スを外部から導入する。必要ならば、OLEDを水から防ぐ乾燥剤を対向ガラスに導入す
ることができる。例えば、シート状の乾燥剤を、あらかじめザグリ加工が施してある対向
ガラスのザグリ部分に両面テープ等で貼りつけておけばよい。
一方、封止プラスチック基板準備室418では、作成したOLEDをプラスチック封止す
るための準備を行う。これらの作業に関しては完全に自動化してもよいし、グローブを設
置して一部手動で行ってもよい。
るための準備を行う。これらの作業に関しては完全に自動化してもよいし、グローブを設
置して一部手動で行ってもよい。
準備された封止ガラス基板あるいは封止プラスチック基板はディスペンサ室416運ばれ
、後に基板と貼り合わせるための接着剤(図示しない)が塗布される。
本実施例では、接着剤として紫外線硬化型のものを用いる。また、必要ならば、OLED
を水から防ぐ乾燥剤(図示しない)を、封止ガラス基板準備室415aにおけるガラス導
入時ではなく、ディスペンサ室416内で仕込んでもよい。例えば、シート状の乾燥剤を
、あらかじめザグリ加工が施してある対向ガラスのザグリ部分に両面テープ等で貼りつけ
ることができる。こうすれば、乾燥剤を大気中で取り扱う必要がなくなる。これらの作業
に関しては、完全に自動化してもよいし、グローブを設置して一部手動で行ってもよい。
特に封止プラスチック基板が曲率及び弾性を有する場合は、曲がった状態で接着剤を塗布
してもよいし、真っ直ぐ伸ばした状態で塗布してもよい。
、後に基板と貼り合わせるための接着剤(図示しない)が塗布される。
本実施例では、接着剤として紫外線硬化型のものを用いる。また、必要ならば、OLED
を水から防ぐ乾燥剤(図示しない)を、封止ガラス基板準備室415aにおけるガラス導
入時ではなく、ディスペンサ室416内で仕込んでもよい。例えば、シート状の乾燥剤を
、あらかじめザグリ加工が施してある対向ガラスのザグリ部分に両面テープ等で貼りつけ
ることができる。こうすれば、乾燥剤を大気中で取り扱う必要がなくなる。これらの作業
に関しては、完全に自動化してもよいし、グローブを設置して一部手動で行ってもよい。
特に封止プラスチック基板が曲率及び弾性を有する場合は、曲がった状態で接着剤を塗布
してもよいし、真っ直ぐ伸ばした状態で塗布してもよい。
成膜を終えた基板、及び接着剤が塗布された封止ガラス基板あるいは封止プラスチック基
板は封止室417へ運ばれ、互いに貼り合わせられる。接着時は適当な治具(図示しない
)を用いて加圧する必要がある。曲率及び弾性を有する封止プラスチック基板の場合は真
っ直ぐ伸ばした状態で貼りつければよい。これらの作業に関しては、完全に自動化しても
よいし、グローブを設置して一部手動で行ってもよい。
板は封止室417へ運ばれ、互いに貼り合わせられる。接着時は適当な治具(図示しない
)を用いて加圧する必要がある。曲率及び弾性を有する封止プラスチック基板の場合は真
っ直ぐ伸ばした状態で貼りつければよい。これらの作業に関しては、完全に自動化しても
よいし、グローブを設置して一部手動で行ってもよい。
次いで、封止室417で貼り合わせられた基板および封止基板は紫外光照射室419へ運
ばれ、接着剤硬化のための紫外線が照射させられる。
ばれ、接着剤硬化のための紫外線が照射させられる。
紫外光照射室419で接着された基板および封止基板は受渡室(図示しない)から外部に
取り出せばよい。
取り出せばよい。
本実施例では、本発明で開示した表示装置の例として、パッシブマトリクス型表示装置を
例示する。図5(a)にはその上面図を示し、図5(b)には図5(a)をP−P'で切断した時の断
面図を示す。
例示する。図5(a)にはその上面図を示し、図5(b)には図5(a)をP−P'で切断した時の断
面図を示す。
図5(a)において、501は基板であり、ガラスやプラスチック材が用いられる。プラスチッ
ク材としては、ポリイミド、ポリアミド、アクリル樹脂、エポキシ樹脂、PES(ポリエー
テルスルホン)、PC(ポリカーボネート)、PET(ポリエチレンテレフタレート)もしく
はPEN(ポリエーテルニトリル)を板状、もしくはフィルム上にしたものが使用できる。
ク材としては、ポリイミド、ポリアミド、アクリル樹脂、エポキシ樹脂、PES(ポリエー
テルスルホン)、PC(ポリカーボネート)、PET(ポリエチレンテレフタレート)もしく
はPEN(ポリエーテルニトリル)を板状、もしくはフィルム上にしたものが使用できる。
502は酸化導電膜からなる走査線(陽極)であり、本実施例では可視光透過性を有するイ
ンジウム錫酸化物(ITO)を用いる。また、506は金属膜を含むデータ線(陰極)であり、
本実施例ではCaF2\Al電極を用い、ストライプ状にパターニングしてある。また、503は
アクリル樹脂からなる絶縁体隔壁である。走査線502とデータ線506は両方とも、ストライ
プ状に複数形成されており、互いに直交するように設けられている。なお、図5(a)では
図示していないが、走査線502とデータ線506の間には導電性ポリマーPEDOT/PSS504および
有機薄膜505が挟まれており、交差部507が画素となる。
ンジウム錫酸化物(ITO)を用いる。また、506は金属膜を含むデータ線(陰極)であり、
本実施例ではCaF2\Al電極を用い、ストライプ状にパターニングしてある。また、503は
アクリル樹脂からなる絶縁体隔壁である。走査線502とデータ線506は両方とも、ストライ
プ状に複数形成されており、互いに直交するように設けられている。なお、図5(a)では
図示していないが、走査線502とデータ線506の間には導電性ポリマーPEDOT/PSS504および
有機薄膜505が挟まれており、交差部507が画素となる。
そして、走査線502およびデータ線506はTABテープ508を介して外部の駆動回路に接続され
る。なお、509は走査線502が集合してなる配線群を表しており、510はデータ線506に接続
された接続配線511の集合からなる配線群を表す。また、図示していないが、TABテープ50
8の代わりに、TABテープにICを設けたTCPを接続してもよい。
る。なお、509は走査線502が集合してなる配線群を表しており、510はデータ線506に接続
された接続配線511の集合からなる配線群を表す。また、図示していないが、TABテープ50
8の代わりに、TABテープにICを設けたTCPを接続してもよい。
また、図5(b)において、512はシール材、513はシール材512により基板501に貼り合わさ
れたカバー材である。シール材512としては例えば光硬化樹脂を用いていればよく、脱ガ
スが少なく、吸湿性の低い材料が望ましい。カバー材としては基板501と同一の材料が好
ましく、ガラス(石英ガラスを含む)もしくはプラスチックを用いることができる。ここ
ではガラスを用いる。
れたカバー材である。シール材512としては例えば光硬化樹脂を用いていればよく、脱ガ
スが少なく、吸湿性の低い材料が望ましい。カバー材としては基板501と同一の材料が好
ましく、ガラス(石英ガラスを含む)もしくはプラスチックを用いることができる。ここ
ではガラスを用いる。
以上のような構成からなる本発明の表示装置は、画素部514が走査線502、データ線506、
絶縁体隔壁503、導電性ポリマー504、および有機薄膜505で形成されるため、非常に簡単
なプロセスで作製することができる。
絶縁体隔壁503、導電性ポリマー504、および有機薄膜505で形成されるため、非常に簡単
なプロセスで作製することができる。
また、本実施例に示した表示装置の表示面(画像を観測する面)に偏光板をもうけてもよ
い。この偏光板は、外部から入射した光の反射を押さえ、観測者が表示面に映り込むこと
を防ぐ効果がある。一般的には、円偏光板が用いられている。
ただし、有機化合物膜から発した光が偏光板により反射されて内部に戻ることを防ぐため
、屈折率を調節して内部反射の少ない構造とすることが好ましい。
い。この偏光板は、外部から入射した光の反射を押さえ、観測者が表示面に映り込むこと
を防ぐ効果がある。一般的には、円偏光板が用いられている。
ただし、有機化合物膜から発した光が偏光板により反射されて内部に戻ることを防ぐため
、屈折率を調節して内部反射の少ない構造とすることが好ましい。
本実施例では、本発明で開示した有機発光素子を含む表示装置について説明する。図6で
は、本発明のアクティブマトリクス型表示装置を示す。なお、図6(a)には上面図を示し
、図6(b)には図6(a)をP−P'で切断した時の断面図を示す。
は、本発明のアクティブマトリクス型表示装置を示す。なお、図6(a)には上面図を示し
、図6(b)には図6(a)をP−P'で切断した時の断面図を示す。
なお、能動素子としてここでは薄膜トランジスタ(以下、「TFT」と記す)を用いている
が、MOSトランジスタを用いてもよい。また、TFTとしてトップゲート型TFT(具体的には
プレーナ型TFT)を例示するが、ボトムゲート型TFT(典型的には逆スタガ型TFT)を用い
ることもできる。
が、MOSトランジスタを用いてもよい。また、TFTとしてトップゲート型TFT(具体的には
プレーナ型TFT)を例示するが、ボトムゲート型TFT(典型的には逆スタガ型TFT)を用い
ることもできる。
図6において、601は基板であり、ここでは基板側から光を取り出すため、可視光を透過
する基板を用いる。具体的には、ガラス基板、石英基板、結晶化ガラス基板もしくはプラ
スチック基板(プラスチックフィルムを含む)を用いればよい。なお、基板601とは、表
面に設けた絶縁膜も含めるものとする。
する基板を用いる。具体的には、ガラス基板、石英基板、結晶化ガラス基板もしくはプラ
スチック基板(プラスチックフィルムを含む)を用いればよい。なお、基板601とは、表
面に設けた絶縁膜も含めるものとする。
基板601の上には画素部621および駆動回路622が設けられている。まず、画素部621につい
て説明する。
て説明する。
画素部621は画像表示を行う領域である。基板上には複数の画素が存在し、各画素には有
機発光素子に流れる電流を制御するためのTFT(以下、「電流制御TFT」と記す)611、画
素電極(陽極)602、導電性ポリマー膜604、有機薄膜605および陰極606が設けられている
。各画素は、絶縁体隔壁603により囲まれている。なお、612は、電流制御TFTのゲートに
加わる電圧を制御するためのTFT(以下、「スイッチングTFT」と記す)である。
機発光素子に流れる電流を制御するためのTFT(以下、「電流制御TFT」と記す)611、画
素電極(陽極)602、導電性ポリマー膜604、有機薄膜605および陰極606が設けられている
。各画素は、絶縁体隔壁603により囲まれている。なお、612は、電流制御TFTのゲートに
加わる電圧を制御するためのTFT(以下、「スイッチングTFT」と記す)である。
電流制御TFT611は、ここではpチャネル型TFTを用いることが好ましい。nチャネル型TFTと
することも可能であるが、図6のように有機発光素子の陽極に電流制御TFTを接続する場
合は、pチャネル型TFTの方が消費電力を押さえることができる。ただし、スイッチングTF
Tはnチャネル型TFTでもpチャネル型TFTでもよい。
することも可能であるが、図6のように有機発光素子の陽極に電流制御TFTを接続する場
合は、pチャネル型TFTの方が消費電力を押さえることができる。ただし、スイッチングTF
Tはnチャネル型TFTでもpチャネル型TFTでもよい。
また、電流制御TFT611のドレインには画素電極602が電気的に接続されている。
本実施例では、画素電極602の材料として仕事関数が4.5〜5.5eVの導電性材料を用いるた
め、画素電極602は有機発光素子の陽極として機能する。画素電極602として代表的には、
酸化インジウム、酸化錫、酸化亜鉛もしくはこれらの化合物(ITOなど)のような、光透
過性の材料を用いればよい。画素電極602の上には導電性ポリマー膜604、有機薄膜605が
設けられている。
本実施例では、画素電極602の材料として仕事関数が4.5〜5.5eVの導電性材料を用いるた
め、画素電極602は有機発光素子の陽極として機能する。画素電極602として代表的には、
酸化インジウム、酸化錫、酸化亜鉛もしくはこれらの化合物(ITOなど)のような、光透
過性の材料を用いればよい。画素電極602の上には導電性ポリマー膜604、有機薄膜605が
設けられている。
さらに、有機薄膜605の上には陰極606が設けられている。陰極606の材料としては、仕事
関数が2.5〜3.5eVの導電性材料を用いることが望ましい。陰極606として代表的には、ア
ルカリ金属元素もしくはアルカリ度類金属元素を含む導電膜、アルミニウムを含む導電膜
、あるいはその導電膜にアルミニウムや銀などを積層したもの、を用いればよい。
関数が2.5〜3.5eVの導電性材料を用いることが望ましい。陰極606として代表的には、ア
ルカリ金属元素もしくはアルカリ度類金属元素を含む導電膜、アルミニウムを含む導電膜
、あるいはその導電膜にアルミニウムや銀などを積層したもの、を用いればよい。
また、陰極606からなる層は、保護膜607で覆われている。保護膜607は、有機発光素子を
酸素および水から保護するために設けられている。保護膜607の材料としては、窒化珪素
、窒化酸化珪素、酸化アルミニウム、酸化タンタル、もしくは炭素(具体的にはダイヤモ
ンドライクカーボン)を用いる。特に、ダイヤモンドライクカーボンを用いた場合、保護
膜607中には水素原子が含まれるため、先に述べたように、加熱等により拡散させておく
と、駆動中に有機薄膜605において不対結合手(あるいはラジカル)が生じてしまった場
合、それを補修して劣化を防止させるようなことも可能である。
酸素および水から保護するために設けられている。保護膜607の材料としては、窒化珪素
、窒化酸化珪素、酸化アルミニウム、酸化タンタル、もしくは炭素(具体的にはダイヤモ
ンドライクカーボン)を用いる。特に、ダイヤモンドライクカーボンを用いた場合、保護
膜607中には水素原子が含まれるため、先に述べたように、加熱等により拡散させておく
と、駆動中に有機薄膜605において不対結合手(あるいはラジカル)が生じてしまった場
合、それを補修して劣化を防止させるようなことも可能である。
次に、駆動回路622について説明する。駆動回路622は画素部621に伝送される信号(ゲー
ト信号およびデータ信号)のタイミングを制御する領域であり、シフトレジスタ、バッフ
ァ、ラッチ、アナログスイッチ(トランスファゲート)もしくはレベルシフタが設けられ
ている。図6では、これらの回路の基本単位としてnチャネル型TFT613およびpチャネル型
TFT614からなるCMOS回路を示している。
ト信号およびデータ信号)のタイミングを制御する領域であり、シフトレジスタ、バッフ
ァ、ラッチ、アナログスイッチ(トランスファゲート)もしくはレベルシフタが設けられ
ている。図6では、これらの回路の基本単位としてnチャネル型TFT613およびpチャネル型
TFT614からなるCMOS回路を示している。
なお、シフトレジスタ、バッファ、ラッチ、アナログスイッチ(トランスファゲート)も
しくはレベルシフタの回路構成は、公知のものでよい。また図6では、同一の基板上に画
素部621および駆動回路622を設けているが、駆動回路622を設けずにICやLSIを電気的に接
続することもできる。
しくはレベルシフタの回路構成は、公知のものでよい。また図6では、同一の基板上に画
素部621および駆動回路622を設けているが、駆動回路622を設けずにICやLSIを電気的に接
続することもできる。
また、623はゲート信号側駆動回路、622はデータ信号側駆動回路である。また、ゲート信
号側駆動回路623およびデータ信号側駆動回路622に伝送される信号は、データ信号および
走査信号は入力配線615を介してTAB(Tape Automated Bonding)テープ616から入力され
る。なお、図示しないが、TABテープ616の代わりに、TABテープにIC(集積回路)を設け
たTCP(Tape Carrier Package)を接続してもよい。
号側駆動回路623およびデータ信号側駆動回路622に伝送される信号は、データ信号および
走査信号は入力配線615を介してTAB(Tape Automated Bonding)テープ616から入力され
る。なお、図示しないが、TABテープ616の代わりに、TABテープにIC(集積回路)を設け
たTCP(Tape Carrier Package)を接続してもよい。
608は表示装置の上方に設けられるカバー材であり、樹脂からなるシール材609により接着
されている。カバー材608は酸素および水を透過しない材質であれば、いかなるものを用
いてもよい。本実施例では、カバー材608は窪みを持つガラス608aおよび乾燥剤608bから
なる。したがって、シール材609により、有機発光素子を完全に密閉空間610に封入するよ
うになっている。密閉空間610は不活性ガス(代表的には窒素ガスや希ガス)、樹脂また
は不活性液体(例えばパーフルオロアルカンに代表される液状のフッ素化炭素)を充填し
ておけばよい。さらに、吸湿剤や脱酸素剤を設けることも有効である。
されている。カバー材608は酸素および水を透過しない材質であれば、いかなるものを用
いてもよい。本実施例では、カバー材608は窪みを持つガラス608aおよび乾燥剤608bから
なる。したがって、シール材609により、有機発光素子を完全に密閉空間610に封入するよ
うになっている。密閉空間610は不活性ガス(代表的には窒素ガスや希ガス)、樹脂また
は不活性液体(例えばパーフルオロアルカンに代表される液状のフッ素化炭素)を充填し
ておけばよい。さらに、吸湿剤や脱酸素剤を設けることも有効である。
なお、図6では電流制御TFT611に画素電極(陽極)602が電気的に接続されているが、陰
極が電流制御TFTに接続された構造をとることもできる。その場合、画素電極を陰極606と
同様の材料で形成し、陰極を画素電極(陽極)602と同様の材料で形成すればよい。その
場合、電流制御TFTはnチャネル型TFTとすることが好ましい。
極が電流制御TFTに接続された構造をとることもできる。その場合、画素電極を陰極606と
同様の材料で形成し、陰極を画素電極(陽極)602と同様の材料で形成すればよい。その
場合、電流制御TFTはnチャネル型TFTとすることが好ましい。
また、本実施例に示した表示装置の表示面(画像を観測する面)に偏光板をもうけてもよ
い。この偏光板は、外部から入射した光の反射を押さえ、観測者が表示面に映り込むこと
を防ぐ効果がある。一般的には、円偏光板が用いられている。
ただし、有機化合物膜から発した光が偏光板により反射されて内部に戻ることを防ぐため
、屈折率を調節して内部反射の少ない構造とすることが好ましい。
い。この偏光板は、外部から入射した光の反射を押さえ、観測者が表示面に映り込むこと
を防ぐ効果がある。一般的には、円偏光板が用いられている。
ただし、有機化合物膜から発した光が偏光板により反射されて内部に戻ることを防ぐため
、屈折率を調節して内部反射の少ない構造とすることが好ましい。
本実施例では、本発明の表示装置の例として、アクティブマトリクス型表示装置を例示す
るが、実施例2とは異なり、能動素子が形成されている基板とは反対側から光を取り出す
構造(以下、「上方出射」と記す)の表示装置を示す。図7にその断面図を示す。
るが、実施例2とは異なり、能動素子が形成されている基板とは反対側から光を取り出す
構造(以下、「上方出射」と記す)の表示装置を示す。図7にその断面図を示す。
なお、能動素子としてここでは薄膜トランジスタ(以下、「TFT」と記す)を用いている
が、MOSトランジスタを用いてもよい。また、TFTとしてトップゲート型TFT(具体的には
プレーナ型TFT)を例示するが、ボトムゲート型TFT(典型的には逆スタガ型TFT)を用い
ることもできる。
が、MOSトランジスタを用いてもよい。また、TFTとしてトップゲート型TFT(具体的には
プレーナ型TFT)を例示するが、ボトムゲート型TFT(典型的には逆スタガ型TFT)を用い
ることもできる。
本実施例において、第1電極、第2電極、保護膜、カバー材以外の構成は、実施例2と同
様でよい。
様でよい。
電流制御TFT611のドレインに接続されている第一電極602であるが、本実施例では陽極と
して用いるため、仕事関数がより大きい導電性材料を用いることが好ましい。その代表例
として、ニッケル、パラジウム、タングステン、金、銀などの金属が挙げられる。本実施
例では、第一電極602は光を透過しないことが好ましいが、それに加えて、光の反射性の
高い材料を用いることがさらに好ましい。
して用いるため、仕事関数がより大きい導電性材料を用いることが好ましい。その代表例
として、ニッケル、パラジウム、タングステン、金、銀などの金属が挙げられる。本実施
例では、第一電極602は光を透過しないことが好ましいが、それに加えて、光の反射性の
高い材料を用いることがさらに好ましい。
また、本実施例は上方出射であるため、第二電極606が光透過性であることが大前提であ
る。したがって、これらの金属を用いる場合は、20nm程度の超薄膜であることが好ましい
。
る。したがって、これらの金属を用いる場合は、20nm程度の超薄膜であることが好ましい
。
また、保護膜607は、有機発光素子を酸素および水から保護するために設けられている。
本実施例では、光を透過するものであればいかなるものを用いてもよい。
本実施例では、光を透過するものであればいかなるものを用いてもよい。
さらに、608はカバー材であり、樹脂からなるシール材609により接着されている。カバー
材608は酸素および水を透過しない材質で、かつ、光を透過する材質であればいかなるも
のを用いてもよい。本実施例ではガラスを用いる。密閉空間610は不活性ガス(代表的に
は窒素ガスや希ガス)、樹脂または不活性液体(例えばパーフルオロアルカンに代表され
る液状のフッ素化炭素)を充填しておけばよい。さらに、吸湿剤や脱酸素剤を設けること
も有効である。
材608は酸素および水を透過しない材質で、かつ、光を透過する材質であればいかなるも
のを用いてもよい。本実施例ではガラスを用いる。密閉空間610は不活性ガス(代表的に
は窒素ガスや希ガス)、樹脂または不活性液体(例えばパーフルオロアルカンに代表され
る液状のフッ素化炭素)を充填しておけばよい。さらに、吸湿剤や脱酸素剤を設けること
も有効である。
なお、図7では電流制御TFT611に第一電極(陽極)602が電気的に接続されているが、陰
極が電流制御TFTに接続された構造をとることもできる。その場合、第一電極を陰極の材
料で形成し、第二電極を陽極の材料で形成すればよい。このとき、電流制御TFTはnチャネ
ル型TFTとすることが好ましい。
極が電流制御TFTに接続された構造をとることもできる。その場合、第一電極を陰極の材
料で形成し、第二電極を陽極の材料で形成すればよい。このとき、電流制御TFTはnチャネ
ル型TFTとすることが好ましい。
本実施例では、実施例2および実施例3で示したような表示装置を、デジタル時間階調表
示により駆動する例を示す。
示により駆動する例を示す。
有機発光素子を用いた画素の、回路構成を図8(a)に示す。Trはトランジスタ、Csはスト
レージキャパシタを表す。図8(a)中の回路構成では、ソース線はトランジスタTr1のソー
ス側に、ゲート線はトランジスタTr1のゲートに接続されている。また、電源供給線はス
トレージキャパシタCs、およびトランジスタTr2のソース側に接続されている。トランジ
スタTr2のドレイン側には本発明の有機発光素子の陽極が接続されているため、有機発光
素子を挟んでトランジスタTr2の反対側は、陰極となっている。
レージキャパシタを表す。図8(a)中の回路構成では、ソース線はトランジスタTr1のソー
ス側に、ゲート線はトランジスタTr1のゲートに接続されている。また、電源供給線はス
トレージキャパシタCs、およびトランジスタTr2のソース側に接続されている。トランジ
スタTr2のドレイン側には本発明の有機発光素子の陽極が接続されているため、有機発光
素子を挟んでトランジスタTr2の反対側は、陰極となっている。
この回路においては、ゲート線が選択されると、電流がソース線からTr1に流れ、その信
号に対応する電圧がCsに蓄積される。そして、Tr2のゲートおよびソース間の電圧(Vgs)
により制御される電流が、Tr2および有機発光素子に流れることになる。
号に対応する電圧がCsに蓄積される。そして、Tr2のゲートおよびソース間の電圧(Vgs)
により制御される電流が、Tr2および有機発光素子に流れることになる。
Tr1が選択されたあとは、Tr1はオフ状態となり、Csの電圧(Vgs)が保持される。したが
って、Vgsに依存するだけの電流を流し続けることができる。
って、Vgsに依存するだけの電流を流し続けることができる。
このような回路を、デジタル時間階調表示により駆動するチャートを図8(b)に示す。す
なわち、1フレームを複数のサブフレームに分割するわけだが、図8(b)では、1フレー
ムを6つのサブフレーム(SF1〜SF6)に分割する6ビット階調とした。TAは書き込み時間
である。この場合、それぞれのサブフレーム発光期間の割合は、図に示したように32:
16:8:4:2:1となる。
なわち、1フレームを複数のサブフレームに分割するわけだが、図8(b)では、1フレー
ムを6つのサブフレーム(SF1〜SF6)に分割する6ビット階調とした。TAは書き込み時間
である。この場合、それぞれのサブフレーム発光期間の割合は、図に示したように32:
16:8:4:2:1となる。
本実施例におけるTFT基板の駆動回路の概要を図8(c)に示す。図8(c)中の基板構成では
、本発明の有機発光素子を各画素とした画素部に対し、図8(a)で示したような電源供給
線および陰極が接続されている。また、シフトレジスタは、シフトレジスタ→ラッチ1→
ラッチ2→画素部の順で、画素部に接続されている。
ラッチ1にはデジタル信号が入力され、ラッチ2に入力されるラッチパルスによって画像
データを画素部に送り込むことができる。
、本発明の有機発光素子を各画素とした画素部に対し、図8(a)で示したような電源供給
線および陰極が接続されている。また、シフトレジスタは、シフトレジスタ→ラッチ1→
ラッチ2→画素部の順で、画素部に接続されている。
ラッチ1にはデジタル信号が入力され、ラッチ2に入力されるラッチパルスによって画像
データを画素部に送り込むことができる。
ゲートドライバおよびソースドライバは同じ基板上に設けられている。本実施例では、画
素回路およびドライバは、デジタル駆動するように設計されているため、TFT特性のばら
つきの影響を受けることなく、均一な像を得ることができる。
素回路およびドライバは、デジタル駆動するように設計されているため、TFT特性のばら
つきの影響を受けることなく、均一な像を得ることができる。
上記実施例で述べた本発明の表示装置は、低消費電力で寿命が長いという利点を有する。
したがって、前記表示装置が表示部等として含まれる電気器具は、従来よりも低い消費電
力で動作可能であり、なおかつ長保ちする電気器具となる。特に電源としてバッテリーを
使用する携帯機器のような電気器具に関しては、低消費電力化が便利さに直結する(電池
切れが起こりにくい)ため、極めて有用である。
したがって、前記表示装置が表示部等として含まれる電気器具は、従来よりも低い消費電
力で動作可能であり、なおかつ長保ちする電気器具となる。特に電源としてバッテリーを
使用する携帯機器のような電気器具に関しては、低消費電力化が便利さに直結する(電池
切れが起こりにくい)ため、極めて有用である。
また、前記表示装置は、自発光型であることから液晶表示装置のようなバックライトは必
要なく、有機化合物膜の厚みも1μmに満たないため、薄型軽量化が可能である。したが
って、前記表示装置が表示部等として含まれる電気器具は、従来よりも薄型軽量な電気器
具となる。このことも、特に携帯機器のような電気器具に関して、便利さ(持ち運びの際
の軽さやコンパクトさ)に直結するため、極めて有用である。さらに、電気器具全般にお
いても、薄型である(かさばらない)ことは運送面(大量輸送が可能)、設置面(部屋な
どのスペース確保)からみても有用であることは疑いない。
要なく、有機化合物膜の厚みも1μmに満たないため、薄型軽量化が可能である。したが
って、前記表示装置が表示部等として含まれる電気器具は、従来よりも薄型軽量な電気器
具となる。このことも、特に携帯機器のような電気器具に関して、便利さ(持ち運びの際
の軽さやコンパクトさ)に直結するため、極めて有用である。さらに、電気器具全般にお
いても、薄型である(かさばらない)ことは運送面(大量輸送が可能)、設置面(部屋な
どのスペース確保)からみても有用であることは疑いない。
なお、前記表示装置は自発光型であるために、液晶表示装置に比べて明るい場所での視認
性に優れ、しかも視野角が広いという特徴を持つ。したがって、前記表示装置を表示部と
して有する電気器具は、表示の見やすさの点でも大きなメリットがある。
性に優れ、しかも視野角が広いという特徴を持つ。したがって、前記表示装置を表示部と
して有する電気器具は、表示の見やすさの点でも大きなメリットがある。
すなわち、本発明の表示装置を用いた電気器具は、薄型軽量・高視認性といった従来の有
機発光素子の長所に加え、低消費電力・長寿命という特長も保有しており、極めて有用で
ある。
機発光素子の長所に加え、低消費電力・長寿命という特長も保有しており、極めて有用で
ある。
本実施例では、本発明の表示装置を表示部として含む電気器具を例示する。その具体例を
図9および図10に示す。なお、本実施例の電気器具に含まれる有機発光素子には、本発
明で開示した素子のいずれを用いてもよい。また、本実施例の電気器具に含まれる表示装
置の形態は、図2、図3、図5〜図8のいずれの形態を用いても良い。
図9および図10に示す。なお、本実施例の電気器具に含まれる有機発光素子には、本発
明で開示した素子のいずれを用いてもよい。また、本実施例の電気器具に含まれる表示装
置の形態は、図2、図3、図5〜図8のいずれの形態を用いても良い。
図9(a)は有機発光素子を用いたディスプレイであり、筐体901a、支持台902a、表示部903
aを含む。本発明の表示装置を表示部903aとして用いたディスプレイを作製することによ
り、薄く軽量で、長保ちするディスプレイを実現できる。よって、輸送が簡便になり、設
置の際の省スペースが可能となる上に、寿命も長い。
aを含む。本発明の表示装置を表示部903aとして用いたディスプレイを作製することによ
り、薄く軽量で、長保ちするディスプレイを実現できる。よって、輸送が簡便になり、設
置の際の省スペースが可能となる上に、寿命も長い。
図9(b)はビデオカメラであり、本体901b、表示部902b、音声入力部903b、操作スイッチ9
04b、バッテリー905b、受像部906bを含む。本発明の表示装置を表示部902bとして用いた
ビデオカメラを作製することにより、消費電力が少なく、軽量なビデオカメラを実現でき
る。よって、電池の消費量が少なくなり、持ち運びも簡便になる。
04b、バッテリー905b、受像部906bを含む。本発明の表示装置を表示部902bとして用いた
ビデオカメラを作製することにより、消費電力が少なく、軽量なビデオカメラを実現でき
る。よって、電池の消費量が少なくなり、持ち運びも簡便になる。
図9(c)はデジタルカメラであり、本体901c、表示部902c、接眼部903c、操作スイッチ904
cを含む。本発明の表示装置を表示部902cとして用いたデジタルカメラを作製することに
より、消費電力が少なく、軽量なデジタルカメラを実現できる。よって、電池の消費量が
少なくなり、持ち運びも簡便になる。
cを含む。本発明の表示装置を表示部902cとして用いたデジタルカメラを作製することに
より、消費電力が少なく、軽量なデジタルカメラを実現できる。よって、電池の消費量が
少なくなり、持ち運びも簡便になる。
図9(d)は記録媒体を備えた画像再生装置であり、本体901d、記録媒体(CD、LD、またはD
VDなど)902d、操作スイッチ903d、表示部(A)904d、表示部(B)905dを含む。表示部(A)904
dは主として画像情報を表示し、表示部(B)905dは主として文字情報を表示する。本発明の
表示装置をこれら表示部(A)904dや表示部(B)905dとして用いた前記画像再生装置を作製す
ることにより、消費電力が少なく軽量な上に、長保ちする前記画像再生装置を実現できる
。なお、この記録媒体を備えた画像再生装置には、CD再生装置、ゲーム機器なども含む。
VDなど)902d、操作スイッチ903d、表示部(A)904d、表示部(B)905dを含む。表示部(A)904
dは主として画像情報を表示し、表示部(B)905dは主として文字情報を表示する。本発明の
表示装置をこれら表示部(A)904dや表示部(B)905dとして用いた前記画像再生装置を作製す
ることにより、消費電力が少なく軽量な上に、長保ちする前記画像再生装置を実現できる
。なお、この記録媒体を備えた画像再生装置には、CD再生装置、ゲーム機器なども含む。
図9(e)は携帯型(モバイル)コンピュータであり、本体901e、表示部902e、受像部903e
、操作スイッチ904e、メモリスロット905eを含む。本発明の表示装置を表示部902eとして
用いた携帯型コンピュータを作製することにより、消費電力が少なく、薄型軽量な携帯型
コンピュータを実現できる。よって、電池の消費量が少なくなり、持ち運びも簡便になる
。なお、この携帯型コンピュータはフラッシュメモリや不揮発性メモリを集積化した記録
媒体に情報を記録したり、それを再生したりすることができる。
、操作スイッチ904e、メモリスロット905eを含む。本発明の表示装置を表示部902eとして
用いた携帯型コンピュータを作製することにより、消費電力が少なく、薄型軽量な携帯型
コンピュータを実現できる。よって、電池の消費量が少なくなり、持ち運びも簡便になる
。なお、この携帯型コンピュータはフラッシュメモリや不揮発性メモリを集積化した記録
媒体に情報を記録したり、それを再生したりすることができる。
図9(f)はパーソナルコンピュータであり、本体901f、筐体902f、表示部903f、キーボー
ド904fを含む。本発明の表示装置を表示部903fとして用いたパーソナルコンピュータを作
製することにより、消費電力が少なく、薄型軽量なパーソナルコンピュータを実現できる
。特に、ノートパソコンのように持ち歩く用途が必要な場合、電池の消費量や軽さの点で
大きなメリットとなる。
ド904fを含む。本発明の表示装置を表示部903fとして用いたパーソナルコンピュータを作
製することにより、消費電力が少なく、薄型軽量なパーソナルコンピュータを実現できる
。特に、ノートパソコンのように持ち歩く用途が必要な場合、電池の消費量や軽さの点で
大きなメリットとなる。
なお、上記電気器具はインターネットなどの電子通信回線や電波などの無線通信を通じて
配信される情報を表示することが多くなってきており、特に動画情報を表示する機会が増
えている。有機発光素子の応答速度は非常に速く、そのような動画表示に好適である。
配信される情報を表示することが多くなってきており、特に動画情報を表示する機会が増
えている。有機発光素子の応答速度は非常に速く、そのような動画表示に好適である。
次に、図10(a)は携帯電話であり、本体1001a、音声出力部1002a、音声入力部1003a、表
示部1004a、操作スイッチ1005a、アンテナ1006aを含む。本発明の表示装置を表示部1004a
として用いた携帯電話を作製することにより、消費電力が少なく、薄型軽量な携帯電話を
実現できる。よって、電池の消費量が少なくなり、持ち運びも楽になる上にコンパクトな
本体にできる。
示部1004a、操作スイッチ1005a、アンテナ1006aを含む。本発明の表示装置を表示部1004a
として用いた携帯電話を作製することにより、消費電力が少なく、薄型軽量な携帯電話を
実現できる。よって、電池の消費量が少なくなり、持ち運びも楽になる上にコンパクトな
本体にできる。
図10(b)は音響機器(具体的には車載用オーディオ)であり、本体1001b、表示部1002b
、操作スイッチ1003b、1004bを含む。本発明の表示装置を表示部1002bとして用いた音響
機器を作製することにより、消費電力が少なく、軽量な音響機器を実現できる。また、本
実施例では車載用オーディオを例として示すが、家庭用オーディオに用いても良い。
、操作スイッチ1003b、1004bを含む。本発明の表示装置を表示部1002bとして用いた音響
機器を作製することにより、消費電力が少なく、軽量な音響機器を実現できる。また、本
実施例では車載用オーディオを例として示すが、家庭用オーディオに用いても良い。
なお、図9〜図10で示したような電気器具において、さらに光センサを内蔵させ、使用
環境の明るさを検知する手段を設けることで、使用環境の明るさに応じて発光輝度を変調
させるような機能を持たせることは有効である。使用者は、使用環境の明るさに比べてコ
ントラスト比で100〜150の明るさを確保できれば、問題なく画像もしくは文字情報を認識
できる。すなわち、使用環境が明るい場合は画像の輝度を上げて見やすくし、使用環境が
暗い場合は画像の輝度を抑えて消費電力を抑えるといったことが可能となる。
環境の明るさを検知する手段を設けることで、使用環境の明るさに応じて発光輝度を変調
させるような機能を持たせることは有効である。使用者は、使用環境の明るさに比べてコ
ントラスト比で100〜150の明るさを確保できれば、問題なく画像もしくは文字情報を認識
できる。すなわち、使用環境が明るい場合は画像の輝度を上げて見やすくし、使用環境が
暗い場合は画像の輝度を抑えて消費電力を抑えるといったことが可能となる。
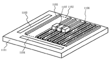
導電性ポリマーはスピン塗布法などで全面に塗布せずとも、ディスペンサーやインクジェ
ット法を用いてストライプ状に形成しても良い。図11は基板1101上にデータ線駆動回路
1104が形成され、画素部1102にインクジェット法で導電性ポリマー1106を形成する様子を
示している。画素部1102にはストライプ状に隔壁1105が設けられ、各隔壁の間に導電性ポ
リマー1106を形成する。隔壁1105はインクジェット法で有機化合物層を形成する際に、隣
接する有機化合層が相互に混ざり合わないようにするために設けている。
ット法を用いてストライプ状に形成しても良い。図11は基板1101上にデータ線駆動回路
1104が形成され、画素部1102にインクジェット法で導電性ポリマー1106を形成する様子を
示している。画素部1102にはストライプ状に隔壁1105が設けられ、各隔壁の間に導電性ポ
リマー1106を形成する。隔壁1105はインクジェット法で有機化合物層を形成する際に、隣
接する有機化合層が相互に混ざり合わないようにするために設けている。
導電性ポリマー1106は、インクヘッド1107から導電性ポリマーを含む組成物を吐出して形
成する。この組成物はインクヘッドから連続的に吐出させて、線状のパターンを形成する
。
成する。この組成物はインクヘッドから連続的に吐出させて、線状のパターンを形成する
。
図12(a)は基板上にストライプ状(図中縦方向)の第1電極102aを形成し、画素部110a
を形成するために、画素部110aを囲む形で絶縁体隔壁103aを設けたものである。また図1
2(b)は、基板上にアイランド状の第1電極102bを形成し、画素部110bを形成するために
、画素部110bを囲む形で絶縁体隔壁103bを設けたものである。いずれの場合も、図中A−A
'における断面図は図12(c)のようになる。
即ち、隔壁の間に導電性ポリマー104を形成することができ、隔壁103上には必ずしも形成
されず分離させることができる。この導電性ポリマー層上には低分子有機化合物材料で形
成される発光層、電子注入輸送層などを形成すれば良い。
を形成するために、画素部110aを囲む形で絶縁体隔壁103aを設けたものである。また図1
2(b)は、基板上にアイランド状の第1電極102bを形成し、画素部110bを形成するために
、画素部110bを囲む形で絶縁体隔壁103bを設けたものである。いずれの場合も、図中A−A
'における断面図は図12(c)のようになる。
即ち、隔壁の間に導電性ポリマー104を形成することができ、隔壁103上には必ずしも形成
されず分離させることができる。この導電性ポリマー層上には低分子有機化合物材料で形
成される発光層、電子注入輸送層などを形成すれば良い。
その場合においても、導電性ポリマー104の厚さ形状は、絶縁体隔壁103の影響により、T2
>T1>T3となる。したがって、T3部分における横方向の抵抗が高くなり、クロストークを
防ぐことができる。さらに、T2部分が厚くなるため、画素部周辺の電界集中を緩和し、画
素部周辺からの有機発光素子の劣化を防ぐことができる。
>T1>T3となる。したがって、T3部分における横方向の抵抗が高くなり、クロストークを
防ぐことができる。さらに、T2部分が厚くなるため、画素部周辺の電界集中を緩和し、画
素部周辺からの有機発光素子の劣化を防ぐことができる。
本実施例ではアクティブマトリクス型表示装置を作製する例を示す。
まず、絶縁表面上に複数のTFT(スイッチング用TFTや電流制御用TFTを含む)
、保持容量、電流制御用TFTに接続する第1の電極(陽極)、該第1の電極の端部を覆
う隔壁を形成する。第1の電極の材料としては、Ti、TiN、TiSiXNY、Ni、W
、WSiX、WNX、WSiXNY、NbN、Mo、Cr、Pt、あるいはTi、Si、Ni
、W、Nb、Cr、Zn、Sn、In、Moから選ばれた元素を主成分とする合金材料も
しくは化合物材料を用いればよい。
また、第1の電極は、これらの材料を用いた膜またはそれらの積層膜を総膜厚100nm
〜800nmの範囲で用いればよい。また、カバレッジを良好なものとするため、隔壁の
上端部または下端部に曲率を有する曲面が形成されるようにする。例えば、隔壁の材料と
してポジ型の感光性アクリルを用いた場合、絶縁物1114の上端部のみに曲率半径(0
.2μm〜3μm)を有する曲面を持たせることが好ましい。また、隔壁として、感光性
の光によってエッチャントに不溶解性となるネガ型、或いは光によってエッチャントに溶
解性となるポジ型のいずれも使用することができる。
、保持容量、電流制御用TFTに接続する第1の電極(陽極)、該第1の電極の端部を覆
う隔壁を形成する。第1の電極の材料としては、Ti、TiN、TiSiXNY、Ni、W
、WSiX、WNX、WSiXNY、NbN、Mo、Cr、Pt、あるいはTi、Si、Ni
、W、Nb、Cr、Zn、Sn、In、Moから選ばれた元素を主成分とする合金材料も
しくは化合物材料を用いればよい。
また、第1の電極は、これらの材料を用いた膜またはそれらの積層膜を総膜厚100nm
〜800nmの範囲で用いればよい。また、カバレッジを良好なものとするため、隔壁の
上端部または下端部に曲率を有する曲面が形成されるようにする。例えば、隔壁の材料と
してポジ型の感光性アクリルを用いた場合、絶縁物1114の上端部のみに曲率半径(0
.2μm〜3μm)を有する曲面を持たせることが好ましい。また、隔壁として、感光性
の光によってエッチャントに不溶解性となるネガ型、或いは光によってエッチャントに溶
解性となるポジ型のいずれも使用することができる。
次いで、隔壁で覆われていない第1の電極の表面に塗布法による正孔注入層を形成する。
例えば、正孔注入層として作用するポリ(エチレンジオキシチオフェン)/ポリ(スチレ
ンスルホン酸)水溶液(PEDOT/PSS)をスピンコート法で全面に塗布、焼成する。正孔注
入層を塗布法で形成した後、蒸着法による成膜直前に真空加熱(100〜200℃)を行
うことが好ましい。なお、例えば、第1の電極(陽極)の表面をスポンジで洗浄した後、
スピンコート法でポリ(エチレンジオキシチオフェン)/ポリ(スチレンスルホン酸)水
溶液(PEDOT/PSS)を全面に設定膜厚60nm、80℃、10分間で仮焼成、200℃、
1時間で本焼成し、さらに蒸着直前に真空加熱(170℃、加熱30分、冷却30分)し
て大気に触れることなく蒸着法で発光層を含む有機薄膜の形成を行う。特に、ITO膜を
第1の電極の材料として用い、表面に凹凸や微小な粒子が存在している場合、PEDOT/PSS
の膜厚を30nm以上の膜厚とすることでこれらの影響を低減することができ、結果的に
点欠陥を減少させる。
例えば、正孔注入層として作用するポリ(エチレンジオキシチオフェン)/ポリ(スチレ
ンスルホン酸)水溶液(PEDOT/PSS)をスピンコート法で全面に塗布、焼成する。正孔注
入層を塗布法で形成した後、蒸着法による成膜直前に真空加熱(100〜200℃)を行
うことが好ましい。なお、例えば、第1の電極(陽極)の表面をスポンジで洗浄した後、
スピンコート法でポリ(エチレンジオキシチオフェン)/ポリ(スチレンスルホン酸)水
溶液(PEDOT/PSS)を全面に設定膜厚60nm、80℃、10分間で仮焼成、200℃、
1時間で本焼成し、さらに蒸着直前に真空加熱(170℃、加熱30分、冷却30分)し
て大気に触れることなく蒸着法で発光層を含む有機薄膜の形成を行う。特に、ITO膜を
第1の電極の材料として用い、表面に凹凸や微小な粒子が存在している場合、PEDOT/PSS
の膜厚を30nm以上の膜厚とすることでこれらの影響を低減することができ、結果的に
点欠陥を減少させる。
また、PEDOT/PSSはITO膜上に塗布すると濡れ性があまりよくないため、PEDOT/PSS
溶液をスピンコート法で1回目の塗布を行った後、一旦純水で洗浄することによって濡れ
性を向上させ、再度、PEDOT/PSS溶液をスピンコート法で2回目の塗布を行い、焼成を行
って均一性良く成膜することが好ましい。なお、1回目の塗布を行った後、一旦純水で洗
浄することによって表面を改質するとともに、微小な粒子なども除去できる効果が得られ
る。
溶液をスピンコート法で1回目の塗布を行った後、一旦純水で洗浄することによって濡れ
性を向上させ、再度、PEDOT/PSS溶液をスピンコート法で2回目の塗布を行い、焼成を行
って均一性良く成膜することが好ましい。なお、1回目の塗布を行った後、一旦純水で洗
浄することによって表面を改質するとともに、微小な粒子なども除去できる効果が得られ
る。
また、スピンコート法によりPEDOT/PSSを成膜した場合、全面に成膜されるため、基板
の端面や周縁部、端子部、陰極と下部配線との接続領域などは選択的に除去することが好
ましく、O2アッシングなどで除去することが好ましい。
の端面や周縁部、端子部、陰極と下部配線との接続領域などは選択的に除去することが好
ましく、O2アッシングなどで除去することが好ましい。
次いで、有機薄膜上に第2の電極(陰極)を形成する。第2の電極としては、仕事関数の
小さい材料(Al、Ag、Li、Ca、またはこれらの合金MgAg、MgIn、AlL
i、CaF2、またはCaN)を用いればよい。なお、第2の電極は、TFTにダメージ
が少ない抵抗加熱法で蒸着を行うことが好ましい。
小さい材料(Al、Ag、Li、Ca、またはこれらの合金MgAg、MgIn、AlL
i、CaF2、またはCaN)を用いればよい。なお、第2の電極は、TFTにダメージ
が少ない抵抗加熱法で蒸着を行うことが好ましい。
また、図13(A)は、第2の電極形成後の素子を切断して観察したTEM写真である
。なお、図13(B)は図13(A)に対応する模式図である。なお、図13(A)にお
いて、第1の電極上にはPEDOT/PSSが90nm程度形成されている。
。なお、図13(B)は図13(A)に対応する模式図である。なお、図13(A)にお
いて、第1の電極上にはPEDOT/PSSが90nm程度形成されている。
本実施例では、隔壁の上端部または下端部に曲率を有する曲面を形成することで、スピ
ンコート法であっても、隔壁のなだらかな側壁において、第1の電極から離れるに従って
膜厚を薄くし、好ましくは、隔壁上部には正孔注入層である導電性ポリマーがない構造と
することを特徴としている。
ンコート法であっても、隔壁のなだらかな側壁において、第1の電極から離れるに従って
膜厚を薄くし、好ましくは、隔壁上部には正孔注入層である導電性ポリマーがない構造と
することを特徴としている。
図13(A)に示すように、隔壁のなだらかな側壁には薄くあるものの隔壁上部には正
孔注入層であるPEDOT/PSSが確認できず、図13(A)に示す構造とすることで効果的に
クロストークの発生を抑えることができる。
孔注入層であるPEDOT/PSSが確認できず、図13(A)に示す構造とすることで効果的に
クロストークの発生を抑えることができる。
また、本実施例は、実施の形態、実施例1乃至6のいずれか一と自由に組み合わせるこ
とができる。
とができる。
図4に示すような装置を用いて本発明の有機発光装置を作製する場合、導電性ポリマーな
どの有機導電体膜を塗布後、ベークする際は、塗布面を下、すなわちフェイスダウンの状
態でベークする状況となる。本実施例では、そのようなベーク法であっても、実施例7の
ような形状が得られることを確認する実験を行った。
どの有機導電体膜を塗布後、ベークする際は、塗布面を下、すなわちフェイスダウンの状
態でベークする状況となる。本実施例では、そのようなベーク法であっても、実施例7の
ような形状が得られることを確認する実験を行った。
まず、図13に示したものと同じ形状の絶縁体隔壁を有する基板に、PEDOT/PSSをスピン
コート法により塗布し、その後塗布面を下向きにして200℃にてベークを行い、断面TE
Mにて形状を観察した。その様子を図15に示す。1501はITO、1502はPEDOT/P
SSの層、その上のやや白みがかった層1503は保護層(カーボン層)である。
コート法により塗布し、その後塗布面を下向きにして200℃にてベークを行い、断面TE
Mにて形状を観察した。その様子を図15に示す。1501はITO、1502はPEDOT/P
SSの層、その上のやや白みがかった層1503は保護層(カーボン層)である。
図15の通り、有機導電体膜を湿式塗布後フェイスダウンにてベークする場合でも、図1
3と全く同様の形状が得られることが確認できた。したがって、本発明の特徴である形状
は、ベーク時の基板の向きによらず形成できる。
3と全く同様の形状が得られることが確認できた。したがって、本発明の特徴である形状
は、ベーク時の基板の向きによらず形成できる。
本実施例では、上面出射構造の発光装置の一例を例示する。その概略図を図16に示す
。
。
図16(A)は、発光装置を示す上面図、図16(B)は図16(A)をA−A’で切
断した断面図である。点線で示された1601はソース信号線駆動回路、1602は画素
部、1603はゲート信号線駆動回路である。また、1604は透明な封止基板、160
5は第1のシール材であり、第1のシール材1605で囲まれた内側は、透明な第2のシ
ール材1607で充填されている。なお、第1のシール材1605には基板間隔を保持す
るためのギャップ材が含有されている。
断した断面図である。点線で示された1601はソース信号線駆動回路、1602は画素
部、1603はゲート信号線駆動回路である。また、1604は透明な封止基板、160
5は第1のシール材であり、第1のシール材1605で囲まれた内側は、透明な第2のシ
ール材1607で充填されている。なお、第1のシール材1605には基板間隔を保持す
るためのギャップ材が含有されている。
なお、1608はソース信号線駆動回路1601及びゲート信号線駆動回路1603に
入力される信号を伝送するための配線であり、外部入力端子となるFPC(フレキシブル
プリントサーキット)1609からビデオ信号やクロック信号を受け取る。なお、ここで
はFPCしか図示されていないが、このFPCにはプリント配線基盤(PWB)が取り付
けられていても良い。
入力される信号を伝送するための配線であり、外部入力端子となるFPC(フレキシブル
プリントサーキット)1609からビデオ信号やクロック信号を受け取る。なお、ここで
はFPCしか図示されていないが、このFPCにはプリント配線基盤(PWB)が取り付
けられていても良い。
次に、断面構造について図16(B)を用いて説明する。基板1610上には駆動回路
及び画素部が形成されているが、ここでは、駆動回路としてソース信号線駆動回路160
1と画素部1602が示されている。
及び画素部が形成されているが、ここでは、駆動回路としてソース信号線駆動回路160
1と画素部1602が示されている。
なお、ソース信号線駆動回路1601はnチャネル型TFT1623とpチャネル型T
FT1624とを組み合わせたCMOS回路が形成される。また、駆動回路を形成するT
FTは、公知のCMOS回路、PMOS回路もしくはNMOS回路で形成しても良い。ま
た、本実施例では、基板上に駆動回路を形成したドライバー一体型を示すが、必ずしもそ
の必要はなく、基板上ではなく外部に形成することもできる。
FT1624とを組み合わせたCMOS回路が形成される。また、駆動回路を形成するT
FTは、公知のCMOS回路、PMOS回路もしくはNMOS回路で形成しても良い。ま
た、本実施例では、基板上に駆動回路を形成したドライバー一体型を示すが、必ずしもそ
の必要はなく、基板上ではなく外部に形成することもできる。
また、画素部1602はスイッチング用TFT1611と、電流制御用TFT1612
とそのドレインに電気的に接続された第1の電極(陽極)1613を含む複数の画素によ
り形成される。電流制御用TFT1612としてはnチャネル型TFTであってもよいし
、pチャネル型TFTであってもよいが、陽極と接続させる場合、pチャネル型TFTと
することが好ましい。また、保持容量(図示しない)を適宜設けることが好ましい。なお
、ここでは無数に配置された画素のうち、一つの画素の断面構造のみを示し、その一つの
画素に2つのTFTを用いた例を示したが、3つ、またはそれ以上のTFTを適宜、用い
てもよい。
とそのドレインに電気的に接続された第1の電極(陽極)1613を含む複数の画素によ
り形成される。電流制御用TFT1612としてはnチャネル型TFTであってもよいし
、pチャネル型TFTであってもよいが、陽極と接続させる場合、pチャネル型TFTと
することが好ましい。また、保持容量(図示しない)を適宜設けることが好ましい。なお
、ここでは無数に配置された画素のうち、一つの画素の断面構造のみを示し、その一つの
画素に2つのTFTを用いた例を示したが、3つ、またはそれ以上のTFTを適宜、用い
てもよい。
ここでは第1の電極1613がTFTのドレインと直接接している構成となっているた
め、第1の電極1613の下層はシリコンからなるドレインとオーミックコンタクトのと
れる材料層とし、有機化合物を含む層と接する最上層を仕事関数の大きい材料層とするこ
とが望ましい。例えば、窒化チタン膜とアルミニウムを主成分とする膜と窒化チタン膜と
の3層構造とすると、配線としての抵抗も低く、且つ、良好なオーミックコンタクトがと
れ、且つ、陽極として機能させることができる。また、第1の電極1613は、窒化チタ
ン膜、クロム膜、タングステン膜、Zn膜、Pt膜などの単層としてもよいし、3層以上
の積層を用いてもよい。
め、第1の電極1613の下層はシリコンからなるドレインとオーミックコンタクトのと
れる材料層とし、有機化合物を含む層と接する最上層を仕事関数の大きい材料層とするこ
とが望ましい。例えば、窒化チタン膜とアルミニウムを主成分とする膜と窒化チタン膜と
の3層構造とすると、配線としての抵抗も低く、且つ、良好なオーミックコンタクトがと
れ、且つ、陽極として機能させることができる。また、第1の電極1613は、窒化チタ
ン膜、クロム膜、タングステン膜、Zn膜、Pt膜などの単層としてもよいし、3層以上
の積層を用いてもよい。
また、第1の電極(陽極)1613の両端には絶縁体隔壁(バンク、隔壁、障壁、土手な
どと呼ばれる)1614が形成される。絶縁体隔壁1614は有機樹脂膜もしくは珪素を
含む絶縁膜で形成すれば良い。ここでは、絶縁体隔壁1614として、ポジ型の感光性ア
クリル樹脂膜を用いて図16に示す形状の絶縁体隔壁を形成する。
どと呼ばれる)1614が形成される。絶縁体隔壁1614は有機樹脂膜もしくは珪素を
含む絶縁膜で形成すれば良い。ここでは、絶縁体隔壁1614として、ポジ型の感光性ア
クリル樹脂膜を用いて図16に示す形状の絶縁体隔壁を形成する。
カバレッジを良好なものとするため、および有機導電体膜930の塗布を均一に行うた
め、絶縁体隔壁1614の上端部または下端部に曲率を有する曲面が形成されるようにす
る。例えば、絶縁体隔壁1614の材料としてポジ型の感光性アクリルを用いた場合、絶
縁体隔壁1614の上端部のみに曲率半径(0.2μm〜3μm)を有する曲面を持たせ
ることが好ましい。また、絶縁体隔壁1614として、感光性の光によってエッチャント
に不溶解性となるネガ型、或いは光によってエッチャントに溶解性となるポジ型のいずれ
も使用することができる。
め、絶縁体隔壁1614の上端部または下端部に曲率を有する曲面が形成されるようにす
る。例えば、絶縁体隔壁1614の材料としてポジ型の感光性アクリルを用いた場合、絶
縁体隔壁1614の上端部のみに曲率半径(0.2μm〜3μm)を有する曲面を持たせ
ることが好ましい。また、絶縁体隔壁1614として、感光性の光によってエッチャント
に不溶解性となるネガ型、或いは光によってエッチャントに溶解性となるポジ型のいずれ
も使用することができる。
また、絶縁体隔壁1614を窒化アルミニウム膜、窒化酸化アルミニウム膜、炭素を主
成分とする薄膜、または窒化珪素膜からなる保護膜で覆ってもよい。
成分とする薄膜、または窒化珪素膜からなる保護膜で覆ってもよい。
ここで、第1の電極(陽極)1613および絶縁体隔壁1614の上に、有機導電体膜
1630を形成する。本実施例では、導電性ポリマーをスピンコート法により塗布する例
を例示するが、他の湿式法を用いてもよい。また、有機物とアクセプタまたはドナーとを
共蒸着するといった乾式法にて形成してもよい。なお、導電性ポリマーとしてPEDOT/PSS
のような水溶媒系のものを用いてスピンコートする場合は、あらかじめ塗布面にUVオゾン
処理あるいはO2プラズマ処理などで親水処理を施し、その後スピンコートする手法が有
効である。
1630を形成する。本実施例では、導電性ポリマーをスピンコート法により塗布する例
を例示するが、他の湿式法を用いてもよい。また、有機物とアクセプタまたはドナーとを
共蒸着するといった乾式法にて形成してもよい。なお、導電性ポリマーとしてPEDOT/PSS
のような水溶媒系のものを用いてスピンコートする場合は、あらかじめ塗布面にUVオゾン
処理あるいはO2プラズマ処理などで親水処理を施し、その後スピンコートする手法が有
効である。
本実施例では、スピンコート法にて有機導電体膜1630を形成するため、塗布直後は基
板全面に塗布されている。したがって、基板の端面や周縁部、端子部、第2の電極161
6と接続配線1608との接続領域などは選択的に除去することが好ましく、O2アッシ
ング、あるいはレーザーアブレーションにより除去することが好ましい。
板全面に塗布されている。したがって、基板の端面や周縁部、端子部、第2の電極161
6と接続配線1608との接続領域などは選択的に除去することが好ましく、O2アッシ
ング、あるいはレーザーアブレーションにより除去することが好ましい。
有機導電体膜1630上には、蒸着マスクを用いた蒸着法、またはインクジェット法によ
って有機薄膜1615を選択的に形成する。なお、本実施例における有機薄膜1615と
は、白色発光を呈する膜とする。
って有機薄膜1615を選択的に形成する。なお、本実施例における有機薄膜1615と
は、白色発光を呈する膜とする。
さらに、有機薄膜1615上には第2の電極(陰極)1616が形成される。
陰極としては、仕事関数の小さい材料(Al、Ag、Li、Ca、またはこれらの合金M
gAg、MgIn、AlLi、CaF2、またはCa3N2)を用いればよい。ここでは、
発光が透過するように、第2の電極(陰極)1616として、膜厚を薄くした金属薄膜と
、透明導電膜(ITO(酸化インジウム酸化スズ合金)、酸化インジウム酸化亜鉛合金(
In2O3―ZnO)、酸化亜鉛(ZnO)等)との積層を用いる。こうして、第1の電極
(陽極)1613、有機導電体膜1630、有機薄膜1615、及び第2の電極(陰極)
1616からなる有機発光素子1618が形成される。ここでは有機発光素子1618は
白色発光とする例とするので、着色層1631と遮光層(BM)1632からなるカラー
フィルター(簡略化のため、ここではオーバーコート層は図示しない)を設けることによ
り、フルカラー化が可能となる。
陰極としては、仕事関数の小さい材料(Al、Ag、Li、Ca、またはこれらの合金M
gAg、MgIn、AlLi、CaF2、またはCa3N2)を用いればよい。ここでは、
発光が透過するように、第2の電極(陰極)1616として、膜厚を薄くした金属薄膜と
、透明導電膜(ITO(酸化インジウム酸化スズ合金)、酸化インジウム酸化亜鉛合金(
In2O3―ZnO)、酸化亜鉛(ZnO)等)との積層を用いる。こうして、第1の電極
(陽極)1613、有機導電体膜1630、有機薄膜1615、及び第2の電極(陰極)
1616からなる有機発光素子1618が形成される。ここでは有機発光素子1618は
白色発光とする例とするので、着色層1631と遮光層(BM)1632からなるカラー
フィルター(簡略化のため、ここではオーバーコート層は図示しない)を設けることによ
り、フルカラー化が可能となる。
また、R、G、Bの発光が得られる有機化合物を含む層をそれぞれ選択的に形成すれば
、カラーフィルターを用いなくともフルカラーの表示を得ることができる。
、カラーフィルターを用いなくともフルカラーの表示を得ることができる。
また、有機発光素子1618を封止するために透明保護層1617を形成する。この透
明保護層1617としてはスパッタ法(DC方式やRF方式)やPCVD法により得られ
る窒化珪素または窒化酸化珪素を主成分とする絶縁膜、炭素を主成分とする薄膜(ダイヤ
モンドライクカーボン:DLC膜、窒化炭素:CN膜など)、またはこれらの積層を用い
ることが好ましい。シリコンターゲットを用い、窒素とアルゴンを含む雰囲気で形成すれ
ば、水分やアルカリ金属などの不純物に対してブロッキング効果の高い窒化珪素膜が得ら
れる。また、窒化シリコンターゲットを用いてもよい。また、透明保護層は、リモートプ
ラズマを用いた成膜装置を用いて形成してもよい。また、透明保護層に発光を通過させる
ため、透明保護層の膜厚は、可能な限り薄くすることが好ましい。
明保護層1617としてはスパッタ法(DC方式やRF方式)やPCVD法により得られ
る窒化珪素または窒化酸化珪素を主成分とする絶縁膜、炭素を主成分とする薄膜(ダイヤ
モンドライクカーボン:DLC膜、窒化炭素:CN膜など)、またはこれらの積層を用い
ることが好ましい。シリコンターゲットを用い、窒素とアルゴンを含む雰囲気で形成すれ
ば、水分やアルカリ金属などの不純物に対してブロッキング効果の高い窒化珪素膜が得ら
れる。また、窒化シリコンターゲットを用いてもよい。また、透明保護層は、リモートプ
ラズマを用いた成膜装置を用いて形成してもよい。また、透明保護層に発光を通過させる
ため、透明保護層の膜厚は、可能な限り薄くすることが好ましい。
また、有機発光素子1618を封止するために不活性気体雰囲気下で第1シール材16
05、第2シール材1607により封止基板1604を貼り合わせる。
なお、第1シール材1605、第2シール材1607としてはエポキシ系樹脂を用いるの
が好ましい。また、第1シール材1605、第2シール材1607はできるだけ水分や酸
素を透過しない材料であることが望ましい。
05、第2シール材1607により封止基板1604を貼り合わせる。
なお、第1シール材1605、第2シール材1607としてはエポキシ系樹脂を用いるの
が好ましい。また、第1シール材1605、第2シール材1607はできるだけ水分や酸
素を透過しない材料であることが望ましい。
また、本実施例では封止基板1604を構成する材料としてガラス基板や石英基板の他
、FRP(Fiberglass-Reinforced Plastics)、PVF(ポリビニルフロライド)、マイ
ラー、ポリエステルまたはアクリル等からなるプラスチック基板を用いることができる。
また、第1シール材1605、第2シール材1607を用いて封止基板1604を接着し
た後、さらに側面(露呈面)を覆うように第3のシール材で封止することも可能である。
、FRP(Fiberglass-Reinforced Plastics)、PVF(ポリビニルフロライド)、マイ
ラー、ポリエステルまたはアクリル等からなるプラスチック基板を用いることができる。
また、第1シール材1605、第2シール材1607を用いて封止基板1604を接着し
た後、さらに側面(露呈面)を覆うように第3のシール材で封止することも可能である。
以上のようにして有機発光素子を第1シール材1605、第2シール材1607に封入
することにより、有機発光素子を外部から完全に遮断することができ、外部から水分や酸
素といった有機化合物層の劣化を促す物質が侵入することを防ぐことができる。従って、
信頼性の高い発光装置を得ることができる。
することにより、有機発光素子を外部から完全に遮断することができ、外部から水分や酸
素といった有機化合物層の劣化を促す物質が侵入することを防ぐことができる。従って、
信頼性の高い発光装置を得ることができる。
なお、第1の電極1613として透明導電膜を用いれば両面発光型の発光装置を作製す
ることができる。
ることができる。
Claims (1)
- 画素に、
陽極と、
前記画素を囲み、前記陽極の表面より上方に突出した隔壁と、
前記隔壁及び前記陽極を覆う、正孔を注入する機能を有する膜と、
前記正孔を注入する機能を有する膜上の、発光層と、
前記発光層上の、陰極と、を有し、
前記絶縁体隔壁は、平坦な上面を有し、
前記陰極は、前記平坦な上面と重なる領域を有することを特徴とする発光装置。
Applications Claiming Priority (6)
| Application Number | Priority Date | Filing Date | Title |
|---|---|---|---|
| JP2002016524 | 2002-01-25 | ||
| JP2002016524 | 2002-01-25 | ||
| JP2002047379 | 2002-02-25 | ||
| JP2002047379 | 2002-02-25 | ||
| JP2002255216 | 2002-08-30 | ||
| JP2002255216 | 2002-08-30 |
Related Parent Applications (1)
| Application Number | Title | Priority Date | Filing Date |
|---|---|---|---|
| JP2016121407A Division JP2016167640A (ja) | 2002-01-25 | 2016-06-20 | 発光装置 |
Related Child Applications (1)
| Application Number | Title | Priority Date | Filing Date |
|---|---|---|---|
| JP2019112527A Division JP2019175863A (ja) | 2002-01-25 | 2019-06-18 | 発光装置 |
Publications (1)
| Publication Number | Publication Date |
|---|---|
| JP2018011069A true JP2018011069A (ja) | 2018-01-18 |
Family
ID=27348102
Family Applications (10)
| Application Number | Title | Priority Date | Filing Date |
|---|---|---|---|
| JP2010256459A Expired - Lifetime JP5271993B2 (ja) | 2002-01-25 | 2010-11-17 | 表示装置の製造方法 |
| JP2012236990A Withdrawn JP2013041850A (ja) | 2002-01-25 | 2012-10-26 | 発光装置、発光装置の作製方法 |
| JP2013201688A Withdrawn JP2014017514A (ja) | 2002-01-25 | 2013-09-27 | 表示装置 |
| JP2015091364A Expired - Fee Related JP6049797B2 (ja) | 2002-01-25 | 2015-04-28 | 発光装置の作製方法 |
| JP2016121407A Withdrawn JP2016167640A (ja) | 2002-01-25 | 2016-06-20 | 発光装置 |
| JP2017167303A Withdrawn JP2018011069A (ja) | 2002-01-25 | 2017-08-31 | 発光装置 |
| JP2019112527A Withdrawn JP2019175863A (ja) | 2002-01-25 | 2019-06-18 | 発光装置 |
| JP2020120573A Withdrawn JP2020178136A (ja) | 2002-01-25 | 2020-07-14 | 表示装置 |
| JP2020120579A Withdrawn JP2020178137A (ja) | 2002-01-25 | 2020-07-14 | 表示装置 |
| JP2020212207A Withdrawn JP2021077645A (ja) | 2002-01-25 | 2020-12-22 | 発光装置 |
Family Applications Before (5)
| Application Number | Title | Priority Date | Filing Date |
|---|---|---|---|
| JP2010256459A Expired - Lifetime JP5271993B2 (ja) | 2002-01-25 | 2010-11-17 | 表示装置の製造方法 |
| JP2012236990A Withdrawn JP2013041850A (ja) | 2002-01-25 | 2012-10-26 | 発光装置、発光装置の作製方法 |
| JP2013201688A Withdrawn JP2014017514A (ja) | 2002-01-25 | 2013-09-27 | 表示装置 |
| JP2015091364A Expired - Fee Related JP6049797B2 (ja) | 2002-01-25 | 2015-04-28 | 発光装置の作製方法 |
| JP2016121407A Withdrawn JP2016167640A (ja) | 2002-01-25 | 2016-06-20 | 発光装置 |
Family Applications After (4)
| Application Number | Title | Priority Date | Filing Date |
|---|---|---|---|
| JP2019112527A Withdrawn JP2019175863A (ja) | 2002-01-25 | 2019-06-18 | 発光装置 |
| JP2020120573A Withdrawn JP2020178136A (ja) | 2002-01-25 | 2020-07-14 | 表示装置 |
| JP2020120579A Withdrawn JP2020178137A (ja) | 2002-01-25 | 2020-07-14 | 表示装置 |
| JP2020212207A Withdrawn JP2021077645A (ja) | 2002-01-25 | 2020-12-22 | 発光装置 |
Country Status (6)
| Country | Link |
|---|---|
| US (6) | US7199516B2 (ja) |
| EP (1) | EP1331667B1 (ja) |
| JP (10) | JP5271993B2 (ja) |
| KR (4) | KR100989788B1 (ja) |
| CN (2) | CN100524888C (ja) |
| TW (1) | TWI258317B (ja) |
Families Citing this family (173)
| Publication number | Priority date | Publication date | Assignee | Title |
|---|---|---|---|---|
| US7569849B2 (en) | 2001-02-16 | 2009-08-04 | Ignis Innovation Inc. | Pixel driver circuit and pixel circuit having the pixel driver circuit |
| TWI258317B (en) * | 2002-01-25 | 2006-07-11 | Semiconductor Energy Lab | A display device and method for manufacturing thereof |
| JP4094863B2 (ja) * | 2002-02-12 | 2008-06-04 | 三星エスディアイ株式会社 | 有機el表示装置 |
| SG119187A1 (en) | 2002-06-28 | 2006-02-28 | Semiconductor Energy Lab | Light emitting device and manufacturing method therefor |
| JP3501155B1 (ja) * | 2002-07-03 | 2004-03-02 | 富士電機ホールディングス株式会社 | 有機elディスプレイおよびその製造方法 |
| GB2416066B (en) * | 2002-07-31 | 2006-04-12 | Dainippon Printing Co Ltd | Electroluminescent display and process for producing the same |
| GB2391686B (en) * | 2002-07-31 | 2006-03-22 | Dainippon Printing Co Ltd | Electroluminescent display and process for producing the same |
| JP4234376B2 (ja) * | 2002-08-28 | 2009-03-04 | 東芝松下ディスプレイテクノロジー株式会社 | 表示装置及び電子機器 |
| KR100491146B1 (ko) * | 2002-11-04 | 2005-05-24 | 삼성에스디아이 주식회사 | 유기전계 발광표시장치 및 그의 제조방법 |
| CA2419704A1 (en) * | 2003-02-24 | 2004-08-24 | Ignis Innovation Inc. | Method of manufacturing a pixel with organic light-emitting diode |
| JP4082242B2 (ja) * | 2003-03-06 | 2008-04-30 | ソニー株式会社 | 素子転写方法 |
| JP4493926B2 (ja) | 2003-04-25 | 2010-06-30 | 株式会社半導体エネルギー研究所 | 製造装置 |
| US7247986B2 (en) * | 2003-06-10 | 2007-07-24 | Samsung Sdi. Co., Ltd. | Organic electro luminescent display and method for fabricating the same |
| AU2003241651A1 (en) * | 2003-06-13 | 2005-01-04 | Fuji Electric Holdings Co., Ltd. | Organic el display and method for producing the same |
| KR100527194B1 (ko) * | 2003-06-24 | 2005-11-08 | 삼성에스디아이 주식회사 | 도핑된 정공수송층 및/또는 정공주입층을 갖는유기전계발광소자 |
| US20050007026A1 (en) * | 2003-07-07 | 2005-01-13 | Shin-Tai Lo | Method and apparatus for generating uniform images of active matrix OLED display devices |
| WO2005011017A1 (en) * | 2003-07-24 | 2005-02-03 | Koninklijke Philips Electronics N.V. | Organic elettroluminescent device with low oxygen content |
| US7211454B2 (en) * | 2003-07-25 | 2007-05-01 | Semiconductor Energy Laboratory Co., Ltd. | Manufacturing method of a light emitting device including moving the source of the vapor deposition parallel to the substrate |
| US20050048314A1 (en) * | 2003-08-28 | 2005-03-03 | Homer Antoniadis | Light emitting polymer devices with improved efficiency and lifetime |
| CA2443206A1 (en) | 2003-09-23 | 2005-03-23 | Ignis Innovation Inc. | Amoled display backplanes - pixel driver circuits, array architecture, and external compensation |
| KR101061888B1 (ko) * | 2003-11-14 | 2011-09-02 | 가부시키가이샤 한도오따이 에네루기 켄큐쇼 | 발광 장치 및 그 제조방법 |
| WO2005047968A1 (en) | 2003-11-14 | 2005-05-26 | Semiconductor Energy Laboratory Co., Ltd. | Display device and method for manufacturing the same |
| KR100993826B1 (ko) * | 2003-11-19 | 2010-11-12 | 삼성전자주식회사 | 표시장치 및 이의 제조 방법 |
| KR100741962B1 (ko) * | 2003-11-26 | 2007-07-23 | 삼성에스디아이 주식회사 | 평판표시장치 |
| US20050122034A1 (en) * | 2003-12-08 | 2005-06-09 | Fuji Photo Film Co., Ltd. | Electroluminescent device |
| JP4485184B2 (ja) * | 2003-12-15 | 2010-06-16 | 株式会社半導体エネルギー研究所 | 発光装置および電子機器 |
| KR100555598B1 (ko) * | 2003-12-30 | 2006-03-03 | 엘지.필립스 엘시디 주식회사 | 유기전계 발광소자와 그 제조방법 |
| US7265299B2 (en) * | 2004-03-04 | 2007-09-04 | Au Optronics Corporation | Method for reducing voltage drop across metal lines of electroluminescence display devices |
| US7217956B2 (en) * | 2004-03-29 | 2007-05-15 | Articulated Technologies, Llc. | Light active sheet material |
| KR100710351B1 (ko) * | 2004-06-28 | 2007-04-23 | 엘지전자 주식회사 | 접착형 유기 el 디스플레이 |
| CA2472671A1 (en) | 2004-06-29 | 2005-12-29 | Ignis Innovation Inc. | Voltage-programming scheme for current-driven amoled displays |
| JP2006054111A (ja) | 2004-08-12 | 2006-02-23 | Sony Corp | 表示装置 |
| US7755278B2 (en) * | 2004-08-25 | 2010-07-13 | Semiconductor Energy Laboratory Co., Ltd. | Light emitting element provided with organic conductive and inorganic hole transport layers between an electrode and organic emissive layer |
| EP1795052B1 (en) * | 2004-09-13 | 2017-11-29 | Semiconductor Energy Laboratory Co., Ltd. | Light emitting device |
| US8350466B2 (en) | 2004-09-17 | 2013-01-08 | Semiconductor Energy Laboratory Co., Ltd. | Display device and manufacturing method thereof |
| JP2006092908A (ja) * | 2004-09-24 | 2006-04-06 | Tohoku Pioneer Corp | 両面表示パネル及びその製造方法、電子機器 |
| US7753751B2 (en) | 2004-09-29 | 2010-07-13 | Semiconductor Energy Laboratory Co., Ltd. | Method of fabricating the display device |
| US8148895B2 (en) | 2004-10-01 | 2012-04-03 | Semiconductor Energy Laboratory Co., Ltd. | Display device and manufacturing method of the same |
| KR100718555B1 (ko) * | 2004-10-11 | 2007-05-15 | 두산디앤디 주식회사 | 잉크젯 프린팅과 저분자 유기증착 방법을 겸용하는 대면적 유기 박막 증착장치 |
| AU2005302518A1 (en) * | 2004-10-28 | 2006-05-11 | The Regents Of The University Of California | Organic-complex thin film for nonvolatile memory applications |
| KR20060061880A (ko) * | 2004-12-02 | 2006-06-08 | 엘지.필립스 엘시디 주식회사 | 유기전계발광표시장치 및 그 제조방법 |
| KR100682836B1 (ko) * | 2004-12-06 | 2007-02-15 | 엘지전자 주식회사 | 유기 전계 발광 소자 |
| CA2490858A1 (en) | 2004-12-07 | 2006-06-07 | Ignis Innovation Inc. | Driving method for compensated voltage-programming of amoled displays |
| US7414363B2 (en) * | 2004-12-24 | 2008-08-19 | Optrex Corporation | Organic EL display device and method for fabricating the same |
| US7335551B2 (en) * | 2005-01-13 | 2008-02-26 | Intelleflex Corp. | Method to fabricate a thin film non volatile memory device scalable to small sizes |
| DE102005002836A1 (de) * | 2005-01-20 | 2006-08-17 | Schott Ag | Elektro-optisches Element mit gesteuerter, inbesondere uniformer Funktionalitätsverteilung |
| CA2495726A1 (en) | 2005-01-28 | 2006-07-28 | Ignis Innovation Inc. | Locally referenced voltage programmed pixel for amoled displays |
| TWI334313B (en) * | 2005-02-23 | 2010-12-01 | Au Optronics Corp | Organic electroluminiscent display and fabricating method thereof |
| JP4706287B2 (ja) * | 2005-03-11 | 2011-06-22 | セイコーエプソン株式会社 | 有機el装置および電子機器 |
| JP4667096B2 (ja) * | 2005-03-25 | 2011-04-06 | 株式会社半導体エネルギー研究所 | 有機半導体装置及びその作製方法 |
| JP4466594B2 (ja) * | 2005-03-30 | 2010-05-26 | セイコーエプソン株式会社 | 有機el装置及び有機el装置の製造方法 |
| KR100712295B1 (ko) | 2005-06-22 | 2007-04-27 | 삼성에스디아이 주식회사 | 유기 전계 발광 소자 및 그 제조 방법 |
| KR100745346B1 (ko) * | 2005-09-20 | 2007-08-02 | 삼성에스디아이 주식회사 | 박막 증착장치 및 이를 이용한 박막 증착방법 |
| EP1775780A1 (en) * | 2005-10-14 | 2007-04-18 | STMicroelectronics S.r.l. | Organic electroluminescent device and process for manufacturing the device |
| JP2007123611A (ja) * | 2005-10-28 | 2007-05-17 | Sanyo Electric Co Ltd | 有機エレクトロルミネッセント素子及び有機エレクトロルミネッセント表示装置 |
| US7990047B2 (en) * | 2005-10-28 | 2011-08-02 | Samsung Electronics Co., Ltd. | Organic light emitting diode display and method of manufacturing the same |
| US7601567B2 (en) * | 2005-12-13 | 2009-10-13 | Samsung Mobile Display Co., Ltd. | Method of preparing organic thin film transistor, organic thin film transistor, and organic light-emitting display device including the organic thin film transistor |
| JP4251329B2 (ja) * | 2005-12-20 | 2009-04-08 | カシオ計算機株式会社 | 表示装置及びその製造方法 |
| JP4251331B2 (ja) * | 2005-12-27 | 2009-04-08 | カシオ計算機株式会社 | 表示装置の製造装置及び表示装置の製造方法 |
| KR100746369B1 (ko) * | 2005-12-30 | 2007-08-03 | (재)대구경북과학기술연구원 | 전계발광소자용 백플레인의 구조와 그 제조 방법 및 이를포함하는 전계발광소자 |
| EP1814173B1 (en) * | 2006-01-30 | 2017-01-04 | Micron Technology, Inc. | Electronic device containing semiconductor polymers and corresponding manufacturing process |
| US7416938B2 (en) * | 2006-03-31 | 2008-08-26 | Intel Corporation | Inkjet patterning for thin-film capacitor fabrication, thin-film capacitors fabricated thereby, and systems containing same |
| WO2007114536A1 (en) * | 2006-04-05 | 2007-10-11 | Daewoo Electronics Corporation | Organic electroluminescence device and method for manufacturing same |
| US8477121B2 (en) | 2006-04-19 | 2013-07-02 | Ignis Innovation, Inc. | Stable driving scheme for active matrix displays |
| KR101244898B1 (ko) | 2006-06-28 | 2013-03-19 | 삼성디스플레이 주식회사 | 유기 박막 트랜지스터 기판 및 그 제조 방법 |
| TWI427682B (zh) | 2006-07-04 | 2014-02-21 | 半導體能源研究所股份有限公司 | 顯示裝置的製造方法 |
| TWI412079B (zh) * | 2006-07-28 | 2013-10-11 | Semiconductor Energy Lab | 製造顯示裝置的方法 |
| US7994021B2 (en) * | 2006-07-28 | 2011-08-09 | Semiconductor Energy Laboratory Co., Ltd. | Method of manufacturing semiconductor device |
| TWI427702B (zh) * | 2006-07-28 | 2014-02-21 | Semiconductor Energy Lab | 顯示裝置的製造方法 |
| US7943287B2 (en) * | 2006-07-28 | 2011-05-17 | Semiconductor Energy Laboratory Co., Ltd. | Method for manufacturing display device |
| US20080032039A1 (en) * | 2006-08-07 | 2008-02-07 | Toppan Printing Co., Ltd. | Method of manufacturing organic electroluminescence device |
| KR101346246B1 (ko) | 2006-08-24 | 2013-12-31 | 가부시키가이샤 한도오따이 에네루기 켄큐쇼 | 표시장치 제작방법 |
| US7795154B2 (en) | 2006-08-25 | 2010-09-14 | Semiconductor Energy Laboratory Co., Ltd. | Method for manufacturing semiconductor device that uses laser ablation, to selectively remove one or more material layers |
| US8563431B2 (en) * | 2006-08-25 | 2013-10-22 | Semiconductor Energy Laboratory Co., Ltd. | Method for manufacturing semiconductor device |
| US8148259B2 (en) | 2006-08-30 | 2012-04-03 | Semiconductor Energy Laboratory Co., Ltd. | Method for manufacturing semiconductor device |
| US7651896B2 (en) * | 2006-08-30 | 2010-01-26 | Semiconductor Energy Laboratory Co., Ltd. | Method for manufacturing semiconductor device |
| JP5110830B2 (ja) * | 2006-08-31 | 2012-12-26 | 株式会社半導体エネルギー研究所 | 半導体装置の作製方法 |
| US7732351B2 (en) | 2006-09-21 | 2010-06-08 | Semiconductor Energy Laboratory Co., Ltd. | Manufacturing method of semiconductor device and laser processing apparatus |
| TWI308805B (en) * | 2006-09-22 | 2009-04-11 | Innolux Display Corp | Active matrix oled and fabricating method incorporating the same |
| US7767595B2 (en) * | 2006-10-26 | 2010-08-03 | Semiconductor Energy Laboratory Co., Ltd. | Manufacturing method of semiconductor device |
| US7977866B2 (en) * | 2006-11-22 | 2011-07-12 | Toppan Printing Co., Ltd | Organic electroluminescence element having partition wall covered by insulating layer |
| JP2008210788A (ja) * | 2007-02-02 | 2008-09-11 | Toppan Printing Co Ltd | 有機el素子 |
| DE202007004137U1 (de) * | 2007-02-06 | 2008-06-12 | Diehl Aerospace Gmbh | Elektrooptisches Leuchtmittel mit organischem lichtemittierendem Material |
| JP4952318B2 (ja) * | 2007-03-19 | 2012-06-13 | セイコーエプソン株式会社 | エレクトロルミネッセンス装置の製造方法 |
| US7960261B2 (en) * | 2007-03-23 | 2011-06-14 | Semiconductor Energy Laboratory Co., Ltd. | Method for manufacturing crystalline semiconductor film and method for manufacturing thin film transistor |
| EP2141964B1 (en) * | 2007-05-31 | 2011-09-07 | Panasonic Corporation | Organic EL element and manufacturing method thereof |
| WO2008153087A1 (en) * | 2007-06-15 | 2008-12-18 | Semiconductor Energy Laboratory Co., Ltd. | Display device |
| JP2009043499A (ja) * | 2007-08-08 | 2009-02-26 | Canon Inc | 有機el素子用基板及びその製造方法 |
| JP5185598B2 (ja) * | 2007-11-06 | 2013-04-17 | 株式会社ジャパンディスプレイイースト | 有機el表示装置およびその製造方法 |
| KR101307549B1 (ko) * | 2007-12-31 | 2013-09-12 | 엘지디스플레이 주식회사 | 유기전계발광표시장치의 제조방법 |
| KR101318442B1 (ko) * | 2008-04-25 | 2013-10-16 | 엘지디스플레이 주식회사 | 유기전계발광표시장치의 제조방법 |
| US8350468B2 (en) * | 2008-06-30 | 2013-01-08 | Samsung Display Co., Ltd. | Organic electroluminescence display including a spacer and method for fabricating the same |
| JP5125886B2 (ja) * | 2008-08-26 | 2013-01-23 | 大日本印刷株式会社 | 有機エレクトロルミネッセンス素子およびその製造方法 |
| JP2010093068A (ja) * | 2008-10-08 | 2010-04-22 | Hitachi Displays Ltd | 有機el表示装置およびその製造方法 |
| US20100265078A1 (en) * | 2009-04-20 | 2010-10-21 | Integrated Sensors, Llc | Plasma panel based ionizing-particle radiation detector |
| KR20110049578A (ko) | 2009-11-05 | 2011-05-12 | 삼성모바일디스플레이주식회사 | 유기 전계 발광 표시장치 |
| US8283967B2 (en) | 2009-11-12 | 2012-10-09 | Ignis Innovation Inc. | Stable current source for system integration to display substrate |
| WO2011087458A1 (en) * | 2010-01-14 | 2011-07-21 | National University Of Singapore | Superhydrophilic and water-capturing surfaces |
| GB2479120A (en) * | 2010-03-26 | 2011-10-05 | Cambridge Display Tech Ltd | Organic electrolumunescent device having conductive layer connecting metal over well defining layer and cathode |
| US8552440B2 (en) | 2010-12-24 | 2013-10-08 | Semiconductor Energy Laboratory Co., Ltd. | Lighting device |
| WO2012086662A1 (en) | 2010-12-24 | 2012-06-28 | Semiconductor Energy Laboratory Co., Ltd. | Lighting device |
| WO2012090889A1 (en) | 2010-12-28 | 2012-07-05 | Semiconductor Energy Laboratory Co., Ltd. | Light-emitting unit, light-emitting device, and lighting device |
| US9516713B2 (en) * | 2011-01-25 | 2016-12-06 | Semiconductor Energy Laboratory Co., Ltd. | Light-emitting device |
| JP5925511B2 (ja) | 2011-02-11 | 2016-05-25 | 株式会社半導体エネルギー研究所 | 発光ユニット、発光装置、照明装置 |
| JP5969216B2 (ja) * | 2011-02-11 | 2016-08-17 | 株式会社半導体エネルギー研究所 | 発光素子、表示装置、照明装置、及びこれらの作製方法 |
| US8772795B2 (en) | 2011-02-14 | 2014-07-08 | Semiconductor Energy Laboratory Co., Ltd. | Light-emitting device and lighting device |
| US8735874B2 (en) | 2011-02-14 | 2014-05-27 | Semiconductor Energy Laboratory Co., Ltd. | Light-emitting device, display device, and method for manufacturing the same |
| KR101784994B1 (ko) * | 2011-03-31 | 2017-10-13 | 삼성디스플레이 주식회사 | 유기 발광 표시 장치 및 그 제조 방법 |
| US9606607B2 (en) | 2011-05-17 | 2017-03-28 | Ignis Innovation Inc. | Systems and methods for display systems with dynamic power control |
| EP2710578B1 (en) | 2011-05-17 | 2019-04-24 | Ignis Innovation Inc. | Systems and methods for display systems with dynamic power control |
| TWI565119B (zh) * | 2011-05-27 | 2017-01-01 | 半導體能源研究所股份有限公司 | 發光裝置的製造方法及發光裝置 |
| US9142598B2 (en) * | 2011-06-24 | 2015-09-22 | Semiconductor Energy Laboratory Co., Ltd. | Light-emitting panel, light-emitting device using the light-emitting panel, and method for manufacturing the light-emitting panel |
| FR2977971B1 (fr) | 2011-07-13 | 2013-08-16 | Hutchinson | Cellule de supercondensateur et module supercapacitif incorporant une pluralite de ces cellules. |
| US9070775B2 (en) | 2011-08-03 | 2015-06-30 | Ignis Innovations Inc. | Thin film transistor |
| US8901579B2 (en) | 2011-08-03 | 2014-12-02 | Ignis Innovation Inc. | Organic light emitting diode and method of manufacturing |
| WO2013031509A1 (en) * | 2011-08-26 | 2013-03-07 | Semiconductor Energy Laboratory Co., Ltd. | Light-emitting device, electronic device, lighting device, and method for manufacturing the light-emitting device |
| JP5827858B2 (ja) * | 2011-09-29 | 2015-12-02 | 株式会社半導体エネルギー研究所 | 発光装置 |
| KR20130043482A (ko) | 2011-10-20 | 2013-04-30 | 삼성디스플레이 주식회사 | 유기 발광 표시 장치 |
| US10089924B2 (en) | 2011-11-29 | 2018-10-02 | Ignis Innovation Inc. | Structural and low-frequency non-uniformity compensation |
| US9385169B2 (en) | 2011-11-29 | 2016-07-05 | Ignis Innovation Inc. | Multi-functional active matrix organic light-emitting diode display |
| CN103987664B (zh) | 2011-12-06 | 2017-03-08 | 德尔塔阀门公司 | 龙头中的臭氧分配 |
| KR101888447B1 (ko) * | 2012-05-22 | 2018-08-16 | 엘지디스플레이 주식회사 | 유기 전계 발광 표시 패널의 제조 방법 |
| KR101636116B1 (ko) | 2012-05-31 | 2016-07-04 | 가부시키가이샤 제이올레드 | 발광 소자, 트랜지스터 및 격벽 |
| JP2014056999A (ja) * | 2012-09-13 | 2014-03-27 | Tokyo Electron Ltd | パターニングされた有機電極を形成する方法 |
| JP6155020B2 (ja) * | 2012-12-21 | 2017-06-28 | 株式会社半導体エネルギー研究所 | 発光装置及びその製造方法 |
| US9721505B2 (en) | 2013-03-08 | 2017-08-01 | Ignis Innovation Inc. | Pixel circuits for AMOLED displays |
| WO2014140992A1 (en) | 2013-03-15 | 2014-09-18 | Ignis Innovation Inc. | Dynamic adjustment of touch resolutions on an amoled display |
| GB201314657D0 (en) * | 2013-08-16 | 2013-10-02 | Cambridge Display Tech Ltd | Film profiles |
| KR102080296B1 (ko) * | 2013-12-03 | 2020-02-21 | 엘지디스플레이 주식회사 | 유기 발광 장치 |
| US9502653B2 (en) | 2013-12-25 | 2016-11-22 | Ignis Innovation Inc. | Electrode contacts |
| US10997901B2 (en) | 2014-02-28 | 2021-05-04 | Ignis Innovation Inc. | Display system |
| US10176752B2 (en) | 2014-03-24 | 2019-01-08 | Ignis Innovation Inc. | Integrated gate driver |
| KR102173510B1 (ko) * | 2014-05-20 | 2020-11-04 | 엘지디스플레이 주식회사 | 유기전계발광소자 |
| TWI765679B (zh) | 2014-05-30 | 2022-05-21 | 日商半導體能源研究所股份有限公司 | 觸控面板 |
| TWI542066B (zh) * | 2014-06-10 | 2016-07-11 | 群創光電股份有限公司 | 有機發光二極體顯示器 |
| CN104241329A (zh) | 2014-08-22 | 2014-12-24 | 京东方科技集团股份有限公司 | 具有像素界定层的显示面板及像素界定层的制造方法 |
| CA2872563A1 (en) | 2014-11-28 | 2016-05-28 | Ignis Innovation Inc. | High pixel density array architecture |
| KR20160066234A (ko) * | 2014-12-02 | 2016-06-10 | 엘지디스플레이 주식회사 | 유기 발광 표시 장치 및 이의 제조 방법 |
| US9450203B2 (en) | 2014-12-22 | 2016-09-20 | Apple Inc. | Organic light-emitting diode display with glass encapsulation and peripheral welded plastic seal |
| CN104465708B (zh) * | 2014-12-24 | 2017-10-17 | 京东方科技集团股份有限公司 | 一种阵列基板及其制作方法和显示装置 |
| KR102370715B1 (ko) * | 2014-12-29 | 2022-03-07 | 엘지디스플레이 주식회사 | 양자점을 포함하는 유기발광 다이오드 표시장치 |
| CN104779268B (zh) * | 2015-04-13 | 2016-07-06 | 深圳市华星光电技术有限公司 | Oled显示器件 |
| US10373554B2 (en) | 2015-07-24 | 2019-08-06 | Ignis Innovation Inc. | Pixels and reference circuits and timing techniques |
| US10657895B2 (en) | 2015-07-24 | 2020-05-19 | Ignis Innovation Inc. | Pixels and reference circuits and timing techniques |
| CA2898282A1 (en) | 2015-07-24 | 2017-01-24 | Ignis Innovation Inc. | Hybrid calibration of current sources for current biased voltage progra mmed (cbvp) displays |
| CA2909813A1 (en) | 2015-10-26 | 2017-04-26 | Ignis Innovation Inc | High ppi pattern orientation |
| WO2017112795A1 (en) | 2015-12-21 | 2017-06-29 | Delta Faucet Company | Fluid delivery system including a disinfectant device |
| KR102481737B1 (ko) * | 2015-12-23 | 2022-12-27 | 엘지디스플레이 주식회사 | 유기전계발광표시 장치 |
| KR102579326B1 (ko) * | 2015-12-23 | 2023-09-14 | 엘지디스플레이 주식회사 | 유기 발광 표시 장치 |
| WO2017115484A1 (ja) * | 2015-12-28 | 2017-07-06 | 鴻海精密工業股▲ふん▼有限公司 | 有機el表示装置の製造方法 |
| CN106531766A (zh) * | 2016-11-03 | 2017-03-22 | Tcl集团股份有限公司 | 一种像素bank结构及制备方法 |
| DE102017222059A1 (de) | 2016-12-06 | 2018-06-07 | Ignis Innovation Inc. | Pixelschaltungen zur Minderung von Hysterese |
| CN106848103B (zh) * | 2017-03-30 | 2020-07-17 | 昆山维信诺科技有限公司 | 一种oled基板及其制作方法、显示装置 |
| WO2018179272A1 (ja) * | 2017-03-30 | 2018-10-04 | シャープ株式会社 | El表示装置及びel表示装置の製造方法 |
| US10714018B2 (en) | 2017-05-17 | 2020-07-14 | Ignis Innovation Inc. | System and method for loading image correction data for displays |
| US11025899B2 (en) | 2017-08-11 | 2021-06-01 | Ignis Innovation Inc. | Optical correction systems and methods for correcting non-uniformity of emissive display devices |
| JP7002908B2 (ja) * | 2017-10-13 | 2022-01-20 | 株式会社ジャパンディスプレイ | 表示装置 |
| CN109671738B (zh) | 2017-10-13 | 2021-02-05 | 京东方科技集团股份有限公司 | 阵列基板、显示面板及其制作方法和显示装置 |
| JP7102131B2 (ja) * | 2017-12-01 | 2022-07-19 | キヤノン株式会社 | トップエミッション型の有機el素子およびその製造方法 |
| KR102560918B1 (ko) * | 2017-12-29 | 2023-07-27 | 엘지디스플레이 주식회사 | 전계 발광 표시장치 |
| US10971078B2 (en) | 2018-02-12 | 2021-04-06 | Ignis Innovation Inc. | Pixel measurement through data line |
| CN108428723B (zh) * | 2018-03-27 | 2021-08-03 | 京东方科技集团股份有限公司 | 像素界定结构及其制备方法、显示基板、喷墨打印方法 |
| US10581011B2 (en) * | 2018-06-01 | 2020-03-03 | Int Tech Co., Ltd. | Light emitting device with different light emitting material overlapping width |
| KR102602739B1 (ko) * | 2018-09-07 | 2023-11-16 | 삼성디스플레이 주식회사 | 전자 장치 |
| CN111192898B (zh) * | 2019-03-28 | 2022-05-17 | 广东聚华印刷显示技术有限公司 | 像素结构、有机发光二极管及其制备方法 |
| CN112201675B (zh) * | 2020-09-15 | 2022-09-27 | 云谷(固安)科技有限公司 | 显示基板及其制备方法 |
| CN112436043A (zh) * | 2020-11-26 | 2021-03-02 | 合肥视涯技术有限公司 | 有机发光显示面板及其制作方法、有机发光显示装置 |
| JP2022133759A (ja) | 2021-03-02 | 2022-09-14 | 株式会社ジャパンディスプレイ | 表示装置 |
| CN115437215A (zh) | 2021-06-02 | 2022-12-06 | 三星显示有限公司 | 光敏树脂组合物、由其制备的膜和包括该膜的电子设备 |
| CN113921576A (zh) * | 2021-09-30 | 2022-01-11 | 云谷(固安)科技有限公司 | 一种显示面板及其制备方法、显示装置 |
| US20250107393A1 (en) * | 2022-09-28 | 2025-03-27 | Boe Technology Group Co., Ltd. | Display Panel and Manufacturing Method Therefor, and Display Device |
| CN116525173B (zh) * | 2023-05-09 | 2024-07-16 | 湖南特发新材料有限公司 | 一种不锈钢基板大功率厚膜银铂钨电阻浆料、烧制方法和应用 |
| JP2025014993A (ja) | 2023-07-20 | 2025-01-30 | 東京エレクトロン株式会社 | 基板処理方法及び基板処理装置 |
Citations (3)
| Publication number | Priority date | Publication date | Assignee | Title |
|---|---|---|---|---|
| JPH03250583A (ja) * | 1990-02-28 | 1991-11-08 | Idemitsu Kosan Co Ltd | エレクトロルミネッセンス素子及びその製造方法 |
| JP2001351787A (ja) * | 2000-06-07 | 2001-12-21 | Sharp Corp | 有機led素子とその製造方法および有機ledディスプレイ |
| JP2002006777A (ja) * | 2000-04-17 | 2002-01-11 | Semiconductor Energy Lab Co Ltd | 発光装置及びそれを用いた電気器具 |
Family Cites Families (58)
| Publication number | Priority date | Publication date | Assignee | Title |
|---|---|---|---|---|
| JPH03269995A (ja) | 1990-03-16 | 1991-12-02 | Ricoh Co Ltd | 電界発光素子の作製方法 |
| JP3250583B2 (ja) | 1992-11-16 | 2002-01-28 | キヤノン株式会社 | 光起電力素子及び発電システム |
| JPH08199161A (ja) | 1995-01-26 | 1996-08-06 | Mitsubishi Chem Corp | 有機電界発光素子 |
| JP3401356B2 (ja) | 1995-02-21 | 2003-04-28 | パイオニア株式会社 | 有機エレクトロルミネッセンスディスプレイパネルとその製造方法 |
| JPH097768A (ja) | 1995-06-15 | 1997-01-10 | Nippon Paint Co Ltd | 電界発光素子その製造法およびそれを用いた表示装置 |
| JP3272620B2 (ja) | 1996-12-06 | 2002-04-08 | ティーディーケイ株式会社 | 有機エレクトロ・ルミネッセンス表示装置及びその製造方法 |
| JP3036436B2 (ja) | 1996-06-19 | 2000-04-24 | セイコーエプソン株式会社 | アクティブマトリックス型有機el表示体の製造方法 |
| US5955244A (en) * | 1996-08-20 | 1999-09-21 | Quantum Corporation | Method for forming photoresist features having reentrant profiles using a basic agent |
| JPH1077467A (ja) | 1996-09-04 | 1998-03-24 | Sumitomo Chem Co Ltd | 有機エレクトロルミネッセンス素子の製造方法 |
| US5834893A (en) * | 1996-12-23 | 1998-11-10 | The Trustees Of Princeton University | High efficiency organic light emitting devices with light directing structures |
| JP3269995B2 (ja) | 1997-08-28 | 2002-04-02 | 本田技研工業株式会社 | 車両の運動制御装置 |
| JP3830238B2 (ja) * | 1997-08-29 | 2006-10-04 | セイコーエプソン株式会社 | アクティブマトリクス型装置 |
| GB9718516D0 (en) * | 1997-09-01 | 1997-11-05 | Cambridge Display Tech Ltd | Methods of Increasing the Efficiency of Organic Electroluminescent Devices |
| KR100430664B1 (ko) * | 1997-10-03 | 2004-06-16 | 가부시끼가이샤 히다치 세이사꾸쇼 | 가스방전형표시장치의제조방법 |
| JP4547723B2 (ja) | 1998-03-09 | 2010-09-22 | セイコーエプソン株式会社 | 有機el表示装置の製造方法 |
| JPH11273859A (ja) | 1998-03-24 | 1999-10-08 | Sony Corp | 有機電界発光素子及びその製造方法 |
| JP3900675B2 (ja) | 1998-04-23 | 2007-04-04 | カシオ計算機株式会社 | 電界発光素子及びその製造方法 |
| JP2000003789A (ja) | 1998-06-12 | 2000-01-07 | Fuji Photo Film Co Ltd | 有機エレクトロルミネツセンス素子 |
| WO2000001203A1 (en) | 1998-06-26 | 2000-01-06 | Idemitsu Kosan Co., Ltd. | Luminescent device |
| JP3927323B2 (ja) * | 1998-09-11 | 2007-06-06 | パイオニア株式会社 | 有機elフルカラーディスプレイパネルおよびその製造方法 |
| US6274887B1 (en) * | 1998-11-02 | 2001-08-14 | Semiconductor Energy Laboratory Co., Ltd. | Semiconductor device and manufacturing method therefor |
| TW439387B (en) * | 1998-12-01 | 2001-06-07 | Sanyo Electric Co | Display device |
| US6306559B1 (en) * | 1999-01-26 | 2001-10-23 | Mitsubishi Chemical Corporation | Organic electroluminescent device comprising a patterned photosensitive composition and a method for producing same |
| JP2000328098A (ja) * | 1999-05-17 | 2000-11-28 | Sekisui Chem Co Ltd | 洗浄剤組成物 |
| US8853696B1 (en) * | 1999-06-04 | 2014-10-07 | Semiconductor Energy Laboratory Co., Ltd. | Electro-optical device and electronic device |
| DE60043387D1 (de) | 1999-06-21 | 2010-01-07 | Alberto B Sabato | Referenztaste für tastatur |
| TW522453B (en) * | 1999-09-17 | 2003-03-01 | Semiconductor Energy Lab | Display device |
| TW471011B (en) * | 1999-10-13 | 2002-01-01 | Semiconductor Energy Lab | Thin film forming apparatus |
| JP3809758B2 (ja) * | 1999-10-28 | 2006-08-16 | ソニー株式会社 | 表示装置及び表示装置の製造方法 |
| EP1096568A3 (en) * | 1999-10-28 | 2007-10-24 | Sony Corporation | Display apparatus and method for fabricating the same |
| JP2001203081A (ja) * | 1999-11-09 | 2001-07-27 | Matsushita Electric Ind Co Ltd | 薄膜el素子およびその製造方法 |
| KR20010108148A (ko) * | 1999-11-29 | 2001-12-07 | 요트.게.아. 롤페즈 | 유기 전기발광 디바이스와 그 제조 방법 |
| CN1187846C (zh) * | 1999-11-29 | 2005-02-02 | 皇家菲利浦电子有限公司 | 有机电致发光器件及其制造方法 |
| JP4461548B2 (ja) * | 2000-02-02 | 2010-05-12 | 住友化学株式会社 | 有機エレクトロルミネッセンス素子の製造方法および有機エレクトロルミネッセンス素子 |
| US6559594B2 (en) * | 2000-02-03 | 2003-05-06 | Semiconductor Energy Laboratory Co., Ltd. | Light-emitting device |
| US6869635B2 (en) | 2000-02-25 | 2005-03-22 | Seiko Epson Corporation | Organic electroluminescence device and manufacturing method therefor |
| US6853130B2 (en) | 2000-03-21 | 2005-02-08 | Seiko Epson Corporation | Organic electroluminescent device and manufacturing method therefor |
| JP4810739B2 (ja) | 2000-03-21 | 2011-11-09 | セイコーエプソン株式会社 | 有機エレクトロルミネッセンス素子およびその製造方法 |
| TW493282B (en) | 2000-04-17 | 2002-07-01 | Semiconductor Energy Lab | Self-luminous device and electric machine using the same |
| US6381383B1 (en) * | 2000-04-24 | 2002-04-30 | Agere Systems Guardian Corp | Large N×N waveguide grating router |
| US6692845B2 (en) * | 2000-05-12 | 2004-02-17 | Semiconductor Energy Laboratory Co., Ltd. | Light-emitting device |
| US6905784B2 (en) * | 2000-08-22 | 2005-06-14 | Semiconductor Energy Laboratory Co., Ltd. | Light emitting device |
| JP3695308B2 (ja) | 2000-10-27 | 2005-09-14 | 日本電気株式会社 | アクティブマトリクス有機el表示装置及びその製造方法 |
| JP4021177B2 (ja) | 2000-11-28 | 2007-12-12 | セイコーエプソン株式会社 | 有機エレクトロルミネッセンス装置の製造方法および有機エレクトロルミネッセンス装置並びに電子機器 |
| SG118118A1 (en) * | 2001-02-22 | 2006-01-27 | Semiconductor Energy Lab | Organic light emitting device and display using the same |
| US7301279B2 (en) * | 2001-03-19 | 2007-11-27 | Semiconductor Energy Laboratory Co., Ltd. | Light-emitting apparatus and method of manufacturing the same |
| JP2002299058A (ja) | 2001-03-29 | 2002-10-11 | Ricoh Co Ltd | 有機電界発光素子 |
| JP2002313565A (ja) * | 2001-04-17 | 2002-10-25 | Sharp Corp | 発光表示素子の製造方法 |
| WO2002089211A1 (en) * | 2001-04-26 | 2002-11-07 | Koninklijke Philips Electronics N.V. | Electroluminescent device and method for manufacturing thereof |
| JP2002343564A (ja) * | 2001-05-18 | 2002-11-29 | Sharp Corp | 転写用フィルムおよびそれを用いた有機エレクトロルミネッセンス素子の製造方法 |
| US7199515B2 (en) * | 2001-06-01 | 2007-04-03 | Semiconductor Energy Laboratory Co., Ltd. | Organic light emitting element and light emitting device using the element |
| US6908695B2 (en) * | 2001-07-13 | 2005-06-21 | Semiconductor Energy Laboratory Co., Ltd. | Light-emitting device and manufacturing method thereof |
| US6866807B2 (en) * | 2001-09-21 | 2005-03-15 | Stratasys, Inc. | High-precision modeling filament |
| JP4058930B2 (ja) * | 2001-10-09 | 2008-03-12 | セイコーエプソン株式会社 | 有機エレクトロルミネッセンス装置及びその製造方法、並びに電子機器 |
| TWI258317B (en) * | 2002-01-25 | 2006-07-11 | Semiconductor Energy Lab | A display device and method for manufacturing thereof |
| JP4310984B2 (ja) * | 2002-02-06 | 2009-08-12 | 株式会社日立製作所 | 有機発光表示装置 |
| KR100467553B1 (ko) * | 2002-05-21 | 2005-01-24 | 엘지.필립스 엘시디 주식회사 | 고분자 유기전기발광 디스플레이 소자와 그 제조방법 |
| JP2004071558A (ja) * | 2002-07-25 | 2004-03-04 | Semiconductor Energy Lab Co Ltd | 発光装置の作製方法 |
-
2003
- 2003-01-14 TW TW092100704A patent/TWI258317B/zh not_active IP Right Cessation
- 2003-01-16 US US10/345,745 patent/US7199516B2/en not_active Expired - Fee Related
- 2003-01-17 EP EP03001028.4A patent/EP1331667B1/en not_active Expired - Lifetime
- 2003-01-24 KR KR1020030004881A patent/KR100989788B1/ko not_active Expired - Lifetime
- 2003-01-24 CN CNB031031099A patent/CN100524888C/zh not_active Expired - Lifetime
- 2003-01-24 CN CN2009101505638A patent/CN101630690B/zh not_active Expired - Fee Related
-
2007
- 2007-03-05 US US11/713,910 patent/US7728513B2/en not_active Expired - Lifetime
-
2010
- 2010-05-28 US US12/790,238 patent/US8004183B2/en not_active Expired - Fee Related
- 2010-06-28 KR KR1020100061352A patent/KR101170345B1/ko not_active Expired - Fee Related
- 2010-11-17 JP JP2010256459A patent/JP5271993B2/ja not_active Expired - Lifetime
-
2011
- 2011-07-29 KR KR1020110075953A patent/KR101170346B1/ko not_active Expired - Fee Related
- 2011-07-29 KR KR1020110075957A patent/KR101170347B1/ko not_active Expired - Fee Related
- 2011-08-15 US US13/209,717 patent/US8450925B2/en not_active Expired - Fee Related
-
2012
- 2012-10-26 JP JP2012236990A patent/JP2013041850A/ja not_active Withdrawn
-
2013
- 2013-05-23 US US13/900,798 patent/US8747178B2/en not_active Expired - Lifetime
- 2013-09-27 JP JP2013201688A patent/JP2014017514A/ja not_active Withdrawn
-
2014
- 2014-06-04 US US14/295,769 patent/US8937429B2/en not_active Expired - Fee Related
-
2015
- 2015-04-28 JP JP2015091364A patent/JP6049797B2/ja not_active Expired - Fee Related
-
2016
- 2016-06-20 JP JP2016121407A patent/JP2016167640A/ja not_active Withdrawn
-
2017
- 2017-08-31 JP JP2017167303A patent/JP2018011069A/ja not_active Withdrawn
-
2019
- 2019-06-18 JP JP2019112527A patent/JP2019175863A/ja not_active Withdrawn
-
2020
- 2020-07-14 JP JP2020120573A patent/JP2020178136A/ja not_active Withdrawn
- 2020-07-14 JP JP2020120579A patent/JP2020178137A/ja not_active Withdrawn
- 2020-12-22 JP JP2020212207A patent/JP2021077645A/ja not_active Withdrawn
Patent Citations (3)
| Publication number | Priority date | Publication date | Assignee | Title |
|---|---|---|---|---|
| JPH03250583A (ja) * | 1990-02-28 | 1991-11-08 | Idemitsu Kosan Co Ltd | エレクトロルミネッセンス素子及びその製造方法 |
| JP2002006777A (ja) * | 2000-04-17 | 2002-01-11 | Semiconductor Energy Lab Co Ltd | 発光装置及びそれを用いた電気器具 |
| JP2001351787A (ja) * | 2000-06-07 | 2001-12-21 | Sharp Corp | 有機led素子とその製造方法および有機ledディスプレイ |
Also Published As
Similar Documents
| Publication | Publication Date | Title |
|---|---|---|
| JP6049797B2 (ja) | 発光装置の作製方法 | |
| JP4263415B2 (ja) | 有機発光素子および前記素子を用いた表示装置 | |
| JP2004145244A (ja) | 表示装置 | |
| JP3986829B2 (ja) | 発光装置およびその製造方法 | |
| JP2004227944A (ja) | 表示装置の製造方法 | |
| JP4198695B2 (ja) | 発光装置およびその製造方法 |
Legal Events
| Date | Code | Title | Description |
|---|---|---|---|
| A131 | Notification of reasons for refusal |
Free format text: JAPANESE INTERMEDIATE CODE: A131 Effective date: 20181002 |
|
| A02 | Decision of refusal |
Free format text: JAPANESE INTERMEDIATE CODE: A02 Effective date: 20190326 |
|
| A761 | Written withdrawal of application |
Free format text: JAPANESE INTERMEDIATE CODE: A761 Effective date: 20190710 |