JP2010046554A - ゲームプログラム - Google Patents

ゲームプログラム Download PDF

Info

Publication number
JP2010046554A
JP2010046554A JP2009275800A JP2009275800A JP2010046554A JP 2010046554 A JP2010046554 A JP 2010046554A JP 2009275800 A JP2009275800 A JP 2009275800A JP 2009275800 A JP2009275800 A JP 2009275800A JP 2010046554 A JP2010046554 A JP 2010046554A
Authority
JP
Japan
Prior art keywords
input
game
display screen
display
change
Prior art date
Legal status (The legal status is an assumption and is not a legal conclusion. Google has not performed a legal analysis and makes no representation as to the accuracy of the status listed.)
Granted
Application number
JP2009275800A
Other languages
English (en)
Other versions
JP5203341B2 (ja
Inventor
Shigeru Miyamoto
茂 宮本
Hirohito Yoshimoto
裕仁 吉本
Current Assignee (The listed assignees may be inaccurate. Google has not performed a legal analysis and makes no representation or warranty as to the accuracy of the list.)
Nintendo Co Ltd
Original Assignee
Nintendo Co Ltd
Priority date (The priority date is an assumption and is not a legal conclusion. Google has not performed a legal analysis and makes no representation as to the accuracy of the date listed.)
Filing date
Publication date
Application filed by Nintendo Co Ltd filed Critical Nintendo Co Ltd
Priority to JP2009275800A priority Critical patent/JP5203341B2/ja
Publication of JP2010046554A publication Critical patent/JP2010046554A/ja
Application granted granted Critical
Publication of JP5203341B2 publication Critical patent/JP5203341B2/ja
Anticipated expiration legal-status Critical
Expired - Lifetime legal-status Critical Current

Links

Images

Classifications

    • AHUMAN NECESSITIES
    • A63SPORTS; GAMES; AMUSEMENTS
    • A63FCARD, BOARD, OR ROULETTE GAMES; INDOOR GAMES USING SMALL MOVING PLAYING BODIES; VIDEO GAMES; GAMES NOT OTHERWISE PROVIDED FOR
    • A63F13/00Video games, i.e. games using an electronically generated display having two or more dimensions
    • A63F13/20Input arrangements for video game devices
    • A63F13/21Input arrangements for video game devices characterised by their sensors, purposes or types
    • A63F13/214Input arrangements for video game devices characterised by their sensors, purposes or types for locating contacts on a surface, e.g. floor mats or touch pads
    • A63F13/2145Input arrangements for video game devices characterised by their sensors, purposes or types for locating contacts on a surface, e.g. floor mats or touch pads the surface being also a display device, e.g. touch screens
    • AHUMAN NECESSITIES
    • A63SPORTS; GAMES; AMUSEMENTS
    • A63FCARD, BOARD, OR ROULETTE GAMES; INDOOR GAMES USING SMALL MOVING PLAYING BODIES; VIDEO GAMES; GAMES NOT OTHERWISE PROVIDED FOR
    • A63F13/00Video games, i.e. games using an electronically generated display having two or more dimensions
    • A63F13/25Output arrangements for video game devices
    • A63F13/26Output arrangements for video game devices having at least one additional display device, e.g. on the game controller or outside a game booth
    • AHUMAN NECESSITIES
    • A63SPORTS; GAMES; AMUSEMENTS
    • A63FCARD, BOARD, OR ROULETTE GAMES; INDOOR GAMES USING SMALL MOVING PLAYING BODIES; VIDEO GAMES; GAMES NOT OTHERWISE PROVIDED FOR
    • A63F13/00Video games, i.e. games using an electronically generated display having two or more dimensions
    • A63F13/40Processing input control signals of video game devices, e.g. signals generated by the player or derived from the environment
    • A63F13/42Processing input control signals of video game devices, e.g. signals generated by the player or derived from the environment by mapping the input signals into game commands, e.g. mapping the displacement of a stylus on a touch screen to the steering angle of a virtual vehicle
    • A63F13/426Processing input control signals of video game devices, e.g. signals generated by the player or derived from the environment by mapping the input signals into game commands, e.g. mapping the displacement of a stylus on a touch screen to the steering angle of a virtual vehicle involving on-screen location information, e.g. screen coordinates of an area at which the player is aiming with a light gun
    • AHUMAN NECESSITIES
    • A63SPORTS; GAMES; AMUSEMENTS
    • A63FCARD, BOARD, OR ROULETTE GAMES; INDOOR GAMES USING SMALL MOVING PLAYING BODIES; VIDEO GAMES; GAMES NOT OTHERWISE PROVIDED FOR
    • A63F13/00Video games, i.e. games using an electronically generated display having two or more dimensions
    • A63F13/50Controlling the output signals based on the game progress
    • A63F13/53Controlling the output signals based on the game progress involving additional visual information provided to the game scene, e.g. by overlay to simulate a head-up display [HUD] or displaying a laser sight in a shooting game
    • A63F13/537Controlling the output signals based on the game progress involving additional visual information provided to the game scene, e.g. by overlay to simulate a head-up display [HUD] or displaying a laser sight in a shooting game using indicators, e.g. showing the condition of a game character on screen
    • A63F13/5378Controlling the output signals based on the game progress involving additional visual information provided to the game scene, e.g. by overlay to simulate a head-up display [HUD] or displaying a laser sight in a shooting game using indicators, e.g. showing the condition of a game character on screen for displaying an additional top view, e.g. radar screens or maps
    • AHUMAN NECESSITIES
    • A63SPORTS; GAMES; AMUSEMENTS
    • A63FCARD, BOARD, OR ROULETTE GAMES; INDOOR GAMES USING SMALL MOVING PLAYING BODIES; VIDEO GAMES; GAMES NOT OTHERWISE PROVIDED FOR
    • A63F13/00Video games, i.e. games using an electronically generated display having two or more dimensions
    • A63F13/80Special adaptations for executing a specific game genre or game mode
    • A63F13/812Ball games, e.g. soccer or baseball
    • AHUMAN NECESSITIES
    • A63SPORTS; GAMES; AMUSEMENTS
    • A63FCARD, BOARD, OR ROULETTE GAMES; INDOOR GAMES USING SMALL MOVING PLAYING BODIES; VIDEO GAMES; GAMES NOT OTHERWISE PROVIDED FOR
    • A63F13/00Video games, i.e. games using an electronically generated display having two or more dimensions
    • A63F13/90Constructional details or arrangements of video game devices not provided for in groups A63F13/20 or A63F13/25, e.g. housing, wiring, connections or cabinets
    • A63F13/98Accessories, i.e. detachable arrangements optional for the use of the video game device, e.g. grip supports of game controllers
    • AHUMAN NECESSITIES
    • A63SPORTS; GAMES; AMUSEMENTS
    • A63FCARD, BOARD, OR ROULETTE GAMES; INDOOR GAMES USING SMALL MOVING PLAYING BODIES; VIDEO GAMES; GAMES NOT OTHERWISE PROVIDED FOR
    • A63F2300/00Features of games using an electronically generated display having two or more dimensions, e.g. on a television screen, showing representations related to the game
    • A63F2300/10Features of games using an electronically generated display having two or more dimensions, e.g. on a television screen, showing representations related to the game characterized by input arrangements for converting player-generated signals into game device control signals
    • A63F2300/1068Features of games using an electronically generated display having two or more dimensions, e.g. on a television screen, showing representations related to the game characterized by input arrangements for converting player-generated signals into game device control signals being specially adapted to detect the point of contact of the player on a surface, e.g. floor mat, touch pad
    • A63F2300/1075Features of games using an electronically generated display having two or more dimensions, e.g. on a television screen, showing representations related to the game characterized by input arrangements for converting player-generated signals into game device control signals being specially adapted to detect the point of contact of the player on a surface, e.g. floor mat, touch pad using a touch screen
    • AHUMAN NECESSITIES
    • A63SPORTS; GAMES; AMUSEMENTS
    • A63FCARD, BOARD, OR ROULETTE GAMES; INDOOR GAMES USING SMALL MOVING PLAYING BODIES; VIDEO GAMES; GAMES NOT OTHERWISE PROVIDED FOR
    • A63F2300/00Features of games using an electronically generated display having two or more dimensions, e.g. on a television screen, showing representations related to the game
    • A63F2300/30Features of games using an electronically generated display having two or more dimensions, e.g. on a television screen, showing representations related to the game characterized by output arrangements for receiving control signals generated by the game device
    • A63F2300/301Features of games using an electronically generated display having two or more dimensions, e.g. on a television screen, showing representations related to the game characterized by output arrangements for receiving control signals generated by the game device using an additional display connected to the game console, e.g. on the controller

Landscapes

  • Engineering & Computer Science (AREA)
  • Multimedia (AREA)
  • Human Computer Interaction (AREA)
  • User Interface Of Digital Computer (AREA)

Abstract

【課題】一方がタッチパネルに覆われた表示画面を含む二つの表示画面を備えたゲーム装置において、タッチパネルの入力に応じて他方の表示画面のゲーム影像を変化させるゲームプログラムを提供する。
【解決手段】本発明は、タッチパネルに覆われた第2の表示画面12aに表示された図柄に対してスタイラス16によって入力の変化を与える。そうすると、その入力の変化に応じて、第1の表示画面11aのプレイヤキャラクタP1が移動する。これによって、二つの表示画面を用いたゲーム装置において幅広い層のプレイヤがゲームを楽しむことができる。
【選択図】図4

Description

本発明は、ゲームプログラムに関し、より特定的には、第1の表示画面とタッチパネル
に覆われる第2の表示画面を備えるゲーム装置において第2の表示画面に対する入力の変化に応じてゲーム影像を変化させる技術に関する。
従来のゲーム装置では、ゲーム空間内の様子をゲーム影像としてテレビジョンなどに表示している。このゲーム装置には、ゲーム空間に登場するキャラクタをプレイヤに操作させるために、複数個の操作キーが設けられたコントローラが接続されている。ゲーム装置は、コントローラからの出力信号を検出することによって、プレイヤによって操作された操作キーが何れの操作キーであるかを把握し、当該操作キーに割り当てられた動作をキャラクタに反映させることによってゲーム影像を変化させている。
しかしながら、コントローラに設けられた操作キーの形状や配置は物理的に決まってしまっているため、ゲームに応じた最適な操作キーを用意することが不可能であった。このため、特許文献1や特許文献2に示すように、タッチパネル付きの表示装置をコントローラの代わりに利用するゲーム装置が登場している。
特許文献1に記載のゲーム装置は、当該特許文献1の図3に示されているように、ゲームプログラムごとに必要な操作キーの画像をタッチパネルに表示させている。いずれの操作キーの画像がタッチして選択されたかよって、当該操作キーの画像に対応する機能をゲームに反映させている。
特許文献2に記載のゲーム装置は、当該特許文献2の図3ないし図8に記載されているように、テレビジョン16に表示されるゲーム影像に関係する図柄や文字がコントローラ側のタッチパネルの表示装置に表示されている。当該図柄に指でタッチして選択することによって、当該図柄や文字などに対応する機能をゲームに反映させている。
特開平6−285257号公報 特開平6−285259号公報
しかしながら、上述した特許文献1及び2のような従来のゲーム装置では、コントローラ側のタッチパネル下の表示装置に表示された図柄などが選択されたか否かのみが判断され、当該図柄に対応する機能がゲーム影像に反映されているだけであった。つまり、従来の物理的に設けられた操作キーが単にタッチパネル下の表示装置に表示されているだけであり、ゲームの種類にあわせて操作キーを自由な位置や形状で単に表示させられるという程度の効果しか期待できないという問題があった。
また、携帯情報端末(PDA)などにもタッチパネルが採用され、当該タッチパネル下の液晶表示装置に表示された図柄を直接的に操作するようなシステムが採用されている。具体的にPDAなどのでは、フォルダなどの図柄に対して「ダブルクリック」されることによって当該フォルダが開いたり、アイコンなどの図柄が「ドラッグ」されることによりアイコンを移動させたりしている。つまり、PDAなどでは、どのような使用者であって
も当該使用者が所望の動作を確実にさせることが前提となっているため、直接タッチされた図柄がその表示態様を変化させている。しかしながら、電子ゲームにこのような技術を単に転用した場合には、直接さわった図柄自体の表示態様を変化させることになってしまうため、自己の操作すべき図柄が識別できなくなってしまうという問題も生じる。なお、このような一例をあげると、複数個の三角形状の操作キーと円形状の操作キーの図柄が表示されているとき、当該円形状のボタンを選択することにより三角形状に表示態様が変化した場合を考えると、元々が円形状の操作キーがどれなのかが分からなくなってしまうような場合である。
それ故、本発明の目的は、タッチパネルで覆われた第2の表示画面に表示される図柄に対する入力の変化に応じて第1の表示画面に表示されるゲーム影像を変化させることができるゲームプログラムを提供することである。
また、本発明の他の目的は、タッチパネルで覆われた第2の表示画面に表示される図柄に対する入力の変化に応じて第1の表示画面及び第2の表示画面のゲーム影像を選択的に変化させることができるゲームプログラムを提供することである。
また、本発明の他の目的は、入力の変化から少なくとも二つの演算用パラメータを抽出して演算することにより、より簡単にゲーム影像を変化させることができるゲームプログラムを提供することである。
本発明は、上記の課題を解決するために、以下の構成を採用した。なお、括弧内の参照符号及び補足説明等は、本発明の理解を助けるために後述する実施形態との対応関係を示したものであって、本発明を何ら限定するものではない。
請求項1に記載の発明は、第1の表示画面(11a)とタッチパネル(13)に覆われた第2の表示画面(12a)とを備えるゲーム装置(1)のコンピュータ(21等)に実行されるゲームプログラムであって、ゲーム影像表示手段(S1),図柄表示制御手段(S2),入力変化検出手段(S3,S7,S8),パラメータ抽出手段(S4,S6,S9),変化条件算出手段(S11)及び影像変化制御手段(S12)としてコンピュータを機能させるものである。ゲーム影像表示制御手段は、第1の表示画面にゲーム影像(P1,D,T)を表示する。図柄表示制御手段は、第2の表示画面に前記ゲーム影像に関連付けられた図柄(P2;ゲーム影像に含まれる一部の図柄など)を表示する。入力変化検出手段は、タッチパネルに対して与えられる入力の変化(例えば連続する一連の入力の変化)を検出する。パラメータ抽出手段は、入力変化検出手段によって検出された入力が前記図柄に対するものであるとき、前記入力の変化から少なくとも二種類の演算用パラメータ(始点,終点,一部又は全部の中間地点,検出入力時間などのパラメータ)を抽出する。変化条件算出手段は、演算用パラメータに基づいて、入力の変化に応じてゲーム影像を変化させるための変化条件設定データを算出する。影像変化制御手段は変化条件設定データに基づいて第1の表示画面のゲーム影像を変化させる。
請求項2に記載の発明は、ゲーム影像表示制御手段,図柄表示制御手段,変化条件算出手段及び影像変化制御手段がコンピュータを以下のように機能させる。ゲーム影像表示制御手段は、プレイヤの入力に応じてその表示態様が変化するプレイヤキャラクタを含むゲーム影像を第1の表示画面に表示する。図柄表示制御手段は、プレイヤキャラクタに対応
するキャラクタ図柄(P2)を表示する。変化条件算出手段は、キャラクタ図柄に対する入力の変化に応じて、プレイヤキャラクタの表示態様を変化させるための変化条件設定データを算出する。影像変化制御手段は、変化条件設定データに基づいてゲーム影像におけるプレイヤキャラクタの表示態様を変化させる。
請求項3に記載の発明は、入力変化検出手段、パラメータ抽出手段、変化条件算出手段およびゲーム影像変化制御手段としてコンピュータを以下のように機能させる。すなわち、入力変化検出手段は、一定時間間隔でタッチパネルに対する入力の有無を判別し、当該入力が連続して検出されている間のタッチパネル上の位置座標を検出することによって入力の変化を検出する。パラメータ抽出手段は、タッチパネルに対する入力開始時点と入力終了時点の位置座標を演算用パラメータとして抽出する。変化条件算出手段は、演算用パラメータに基づいて、入力開始時点と入力終了時点との位置関係に応じて、プレイヤキャラクタを移動させるための変化条件設定データ(例えば移動方向,初速,加速,減速,移動距離,移動速度や回転方向など)を算出する。そして、影像変化制御手段は、変化条件設定データに基づいて前記プレイヤキャラクタを移動させる。
請求項4に記載の発明は、入力変化検出手段、パラメータ抽出手段、変化条件算出手段およびゲーム影像変化制御手段としてコンピュータを以下のように機能させる。入力変化検出手段は、一定時間間隔で前記タッチパネルに対する入力の有無を判別し、当該入力が連続して検出されている間の当該タッチパネル上の位置座標を検出することによって入力の変化を検出する。パラメータ抽出手段は、タッチパネルに対する入力開始時点と入力終了時点の位置座標を演算用パラメータとして抽出する。変化条件算出手段は、演算用パラメータに基づいて、入力開始時点又は入力終了時点とキャラクタ図柄の基準位置との位置関係に応じて、プレイヤキャラクタを移動させるための変化条件設定データを算出する。そして、影像変化制御手段は、変化条件設定データに基づいてプレイヤキャラクタを移動させる。
請求項5に記載の発明は、タッチパネルに対する入力が連続して検出されている間の入力検出時間を計時する計時手段としてさらにコンピュータを機能させ、パラメータ抽出手段が計時された入力時間含む少なくとも二種類の演算用パラメータを抽出する。変化条件算出手段は、演算用パラメータに基づいて、さらに入力時間をプレイヤキャラクタの移動に反映させるための変化条件設定データを算出する。
請求項6に記載の発明は、第1の表示画面(11a)とタッチパネル(13)に覆われた第2の表示画面(12a)とを備えるゲーム装置(1)のコンピュータ(21等)に実行されるゲームプログラムであって、ゲーム影像表示制御手段(S21),図柄表示制御手段(S22),入力変化検出手段(S25,S27,S28),入力パターン抽出手段(S26,S29),感情パラメータ変化手段(S30)及び影像変化制御手段(S31)としてコンピュータを機能させる。ゲーム影像表示制御手段は、プレイヤの入力に応じてその表示態様が変化するプレイヤキャラクタ(P6)を含んだゲーム影像を前記第1の表示画面に表示する。図柄表示制御手段は、プレイヤキャラクタ(P6)に対応するキャラクタ図柄(P61)を前記第2の表示画面に表示する。入力変化検出手段は、タッチパネルに対して与えられる入力を一定時間間隔で検出し、当該入力の変化が検出されている間の当該タッチパネル上の位置座標を検出することによって入力の変化を検出する。入力パターン抽出手段は、入力変化検出手段によって検出された入力がキャラクタ図柄に対するものであるとき、入力の変化に最も近い入力パターンを予め用意されている入力パターン群の中から抽出する。感情パラメータ変化手段は、入力パターン抽出手段によって抽出された入力パラメータの種類及び当該入力パターンが繰り返された回数に応じて、プレイヤキャラクタに関連付けられて記憶されている感情パラメータを変化させる。影像変化制御手段は、感情パラメータ変化手段による変化後の感情パラメータに基づいてプレイヤキャラクタの表示態様を変化させるものである。
請求項7に記載の発明は、第1の表示画面(11a)とタッチパネル(13)に覆われた第2の表示画面(12a)とを備えるゲーム装置(1)のコンピュータ(21等)に実
行されるゲームプログラムであって、狭域マップ表示制御手段(S43),広域マップ表示制御手段(S42),入力パターン検出手段(S44,S45),狭域マップ更新手段(S46,S47,S48)として、コンピュータを機能させる。狭域マップ表示制御手段は、ゲーム空間が描画された画像記憶領域(22a)において、描画されたゲーム空間の一部を表示するための第1表示範囲(31)を設定し、第1表示範囲に含まれる画像を第1の表示画面に狭域マップとして拡大表示する。広域マップ表示制御手段は、画像記憶領域において前記第1表示範囲よりも広い第2表示範囲(30)を設定し、第2表示範囲に
含まれる画像を第2の表示画面に広域マップとして表示する。入力パターン検出手段は、広域マップが表示されているタッチパネルの領域に対して与えられる入力パターンとその入力位置とを検出する。狭域マップ更新手段は、入力検出手段によって検出された入力パターンが第1の入力パターンであると判別したとき、入力位置に対応する画像記憶領域の
場所に第1表示範囲を移動させ、第1表示範囲に含まれる画像を第1の表示画面に拡大表示
することによって、狭域マップの表示を更新する。
請求項8に記載の発明は、広域マップ更新手段(S46,S49,S50)としてさらにコンピュータを機能させる。広域マップ更新手段は、入力検出手段によって検出された入力パターンが第2の入力パターンであると判別したとき、入力パターンに連動させて画像描画領域内における第2表示範囲をスクロールさせて、この第2表示範囲に含まれる画像を前記第2の表示画面に表示することによって、前記拡大マップを更新する。
第1の発明によれば、タッチパネルで覆われた第2の表示画面にゲーム影像に関連付けられた図柄を表示し、当該図柄に対するプレイヤの入力の変化に基いてゲーム影像を変化させるので、図柄に与えた入力に応じて図柄が表示されている画面とは別の第1の表示画
面におけるゲーム影像を変化させることができる。その結果、例えばプレイヤが図柄に与えた入力の変化に応じてゲームの進行を異ならせることが可能になる。また、入力の変化から抽出した少なくとも二つの演算用パラメータに基づいて演算をしてゲーム映像を変化させているので、より簡単な処理によってゲーム影像を変化させることができる。したがって、従来のように単なる操作キーの選択だけでは表現できなかったゲームを提供することができる。
第2の発明によれば、プレイヤキャラクタに対応するキャラクタ図柄を第2の表示画面に表示させているので、第1の表示画面におけるプレイヤキャラクタが自己の操作対象であることをプレイヤに容易に把握させることができる。また、第2の表示画面におけるキャラクタ図柄に対する入力の変化に応じて、第1の表示画面のプレイヤキャラクタの表示態様が変化するので、従来にない操作感覚のゲームを提供することができる。
第3の発明によれば、入力開始時点と終了時点の座標位置の関係に応じて、プレイヤキャラクタの移動のさせ方を決めるので、プレイヤの直感的な操作を第1の表示画面におけるプレイヤキャラクタの移動に反映させることができる。
第4の発明によれば、入力開始時点又は終了時点の座標位置と、キャラクタ図柄の基準位置との関係に応じて移動のさせ方を決めるので、プレイヤの直感的な操作を第1の表示画面におけるプレイヤキャラクタの移動に反映させることができる。
第5の発明によれば、さらに入力が連続している間の時間が移動のさせ方に反映されるので、直感的な操作を第1の表示画面におけるプレイヤキャラクタの移動により反映させることができる。
第6の発明によれば、入力の変化に応じてプレイヤキャラクタの感情情報を変化させ、
当該感情情報に応じて表示態様を変化させるので、プレイヤの入力の仕方によってプレイヤキャラクタの表示態様を変化させることができる。その結果、従来のように単なる操作キーの選択だけでは表現できなかった、自由な操作感覚のゲームを提供することができる。
第7の発明によれば、第1の表示画面に狭域マップを表示し、第2の表示画面に広域マップを表示し、当該広域マップに対して与えられる第1の入力パターンに応じて、当該広域マップの一部を狭域マップとして第1の表示画面に拡大表示しているので、二つの画面を同時に表示した複雑なゲームを提供することができる。
第8の発明によれば、第1の表示画面に狭域マップを表示し、第2の表示画面に広域マップを表示し、当該広域マップに対して与えられる入力パターンに応じていずれか一方のマップを変化させるので、二つの画面を同時に表示し両画面を使い分けて操作させながらゲームを進めるような複雑なゲームを提供することができる。
本発明の一実施形態に係るゲーム装置の外観図である。 ゲーム装置の機能ブロック図である。 本発明の第1実施例のゲーム影像の一画面例を示す図である。 第1実施例におけるタッチパネルへの入力の変化に応じたゲーム影像の変化を示す一画面例を示す図である。 第1実施例におけるゲーム装置によって実行されるゲーム処理のメインフローチャートである。 第2実施例のVRAMに描画されるゲーム影像を示す概念図である。 本発明の第2実施例のゲーム影像の一画面例を示す図である。 第2実施例におけるタッチパネルへの入力の変化に応じたゲーム影像の変化を示す第1の一画面例を示す図である。 第1実施例におけるタッチパネルへの入力の変化に応じたゲーム影像の変化を示す第2の一画面例を示す図である。 第2実施例におけるゲーム装置によって実行されるゲーム処理のメインフローチャートである。 第2実施例における既知の入力パターンを図示した説明図である。 本発明の第3実施例のゲーム影像の一画面例を示す図である。 第3実施例におけるタッチパネルへの入力の変化に応じたゲーム影像の変化を示す第1の一画面例を示す図である。 第3実施例におけるタッチパネルへの入力の変化に応じたゲーム影像の変化を示す第2の一画面例を示す図である。 第3実施例におけるゲーム装置によって実行されるゲーム処理のメインフローチャートである。 第3実施例における全体マップにおけるマップの第1の変化を図示した説明図である。 第3実施例における全体マップにおけるマップの第2の変化を図示した説明図である。 本発明におけるゲーム装置の別形態を例示した概観図である。
以下、本発明の一実施形態に係るゲームプログラムを実行するコンピュータを搭載する携帯型ゲーム装置1について説明する。なお、本実施例では、ゲーム影像に含まれるプレイヤキャラクタの表示態様を変化させる場合について説明するが、ゲーム影像の全体の表示態様を変化させるようにしてもよい。また、本発明に係るゲーム装置として、物理的に
二つの表示画面を有し一方の表示画面がタッチパネルに覆われている携帯型ゲーム装置を一例に上げて説明する。例えば、ゲーム装置として、据置型ビデオゲーム装置,アーケードゲーム装置、携帯端末、携帯電話またはパーソナルコンピュータなどにも適用することができる。なお、本発明のゲーム装置は、ソフトウェアによって物理的に一つの表示画面を二画面に分けて使用し、少なくとも一方の表示画面がタッチパネルに覆われているゲーム装置であってもよい。
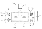
図1は携帯型ゲーム装置1の外観図である。図1に示すように、携帯型ゲーム装置1(以下、単に「ゲーム装置1」と記載する)は、第1の表示画面11aと、第2の表示画面12aとの二つの表示画面が備える。第2の表示画面12aの表面は、タッチパネル13によって覆われている。また、第2の表示画面12aの右側には、プレイヤの右手によって操作可能なAボタン14a,Bボタン14b,Rスイッチ14c及びゲーム音楽を出力するためのスピーカ15が設けられている。一方、第2の表示画面12aの左側には、プレイヤの左手によって操作可能な十字キー14d,スタートボタン14e,セレクトボタン14f及びLスイッチ14gが設けられている。また、ゲーム装置1には、タッチパネル13に対する入力を行うためのスタイラス16が含まれ、当該スタイラス16は着脱自在に収納される。さらに、ゲーム装置1には、本発明のゲームプログラムを記憶した記憶媒体であるメモリカード17が着脱自在に装着される。なお、タッチパネル13の位置検出精度が高い場合にはスタイラス16を利用することが有効であるが、位置検出精度が低い場合にはスタイラス16を利用する必要がなく例えばプレイヤの指によって入力するもことも可能である。また、タッチパネル13は、抵抗膜式,光学式、超音波式、静電容量式、電磁誘導式などのいずれの方式でもよく、特に抵抗膜式が低コストであるため有利である。また、検出方式は、その構成によりマトリクス方式(デジタル)と抵抗値検出方式(
アナログ)がある。
図2はゲーム機1のブロック図である。図2に示すように、ゲーム装置1は、ゲームプログラムを実行するためのコンピュータの一例のCPU21等を備える。CPU(中央処理装置)21には、WRAM(作業用記憶装置)22,第1GPU(画像処理装置)23,第2GPU24およびI/F(インターフェイス)回路25がバスを介して電気的に接続される。WRAM22は、CPU21によって実行されるゲームプログラムやCPU21の演算結果などを一次的に記憶するメモリである。第1GPU23は、CPU21からの指示に応じて第1LCD(液晶表示装置)11に表示出力するためのゲーム影像を第1VRAM23aに描画し、描画した当該ゲーム影像を第1LCD11の第1の表示画面11aに表示させるものである。第2GPUは、CPU21からの指示に応じて第2LCD12に表示出力するためのゲーム影像又は図柄を第2VRAM24aに描画し、描画した当該ゲーム影像を第2の表示画面12aに表示させるものである。I/F回路25は、タッチパネル13,操作キー14及びスピーカ15などの外部入出力装置とCPU21との間のデータの受け渡しを行う回路である。タッチパネル13(タッチパネル用のデバイスドライバを含む)は、第2VRAM24の座標系に対応する座標系を有し、スタイラス16によって入力(指示)された位置に対応する位置座標のデータを出力するものである。なお、本実施例では、表示画面の解像度は192dot×256dotであり、タッチパネル13の検出精度も表示画面に対応した192dot×256dotとして説明するが、タッチパネル13の検出精度は表示画面の解像度よりも低いものであってもよい。
さらに、CPU21にはコネクタ26が電気的に接続されており、当該コネクタ26にはメモリカード17が装着される。メモリカード17は、ゲームプログラムを格納するための記憶媒体であり、具体的には、ゲームプログラムを記憶するROM17aとバックアップデータを書き換え可能に記憶するRAM17bとを搭載する。メモリカード17のROM17aに記憶されたゲームプログラムはWRAM22にロードされ、当該WRAM22にロードされたゲームプログラムがCPU21によって実行される。
<第1実施例>
以下、第1実施例に係るゲームプログラムに基づいて実行されるゲームについて説明する。第1実施例では、第2の表示画面12aのキャラクタ図柄P2に与える入力の変化に応じて、第1の表示画面11aに表示されるプレイヤキャラクタP1を移動させる場合の実施例である。本ゲームプログラムによる詳細なフローを説明する前に、本発明の理解を容易にするために図3及び図4を参照して、その概要について説明する。図3は本発明のゲームプログラムによって第1の表示画面11aおよび第2の表示画面12aに表示されるゲーム影像の一画面例である。図4は第2の表示画面12aに入力の変化を与えた場合に第1の表示画面のゲーム影像が変化する場合の一画面例である。
まず、図3に示すように、ゲーム装置1の第1の表示画面11aにはゲーム影像が表示され、第2の表示画面12aにはゲーム影像に関連付けられた図柄の画像が表示される。ゲーム影像は、所定の視点から見たゲーム空間の様子を示すものである。また、図柄はゲームに登場するキャラクタやアイテムなどのゲームの種類に応じた図柄の画像であり、当該図柄はゲーム影像に含まれる画像と連携するようにプログラムによって関連付けられている。
具体的には、ゲームプログラムは、二画面を利用したビリヤードゲームを表示させるものであり、第1の表示画面11aには、手球P1と6個の的球Tが載るビリヤード台Dを上方の視点から見た様子のゲーム影像が表示される。手球P1はプレイヤによって操作可能なプレイヤキャラクタを示す画像であり、的球Tは手球P1の衝突などに起因してビリヤード台D上を移動する画像である。一方、第2の表示画面12aには、本発明のキャラクタ図柄として、手球P1を真上から見た状態である操作用手球P2の画像が表示される。手球P1と操作用手球P2とはプログラムによって関連付けられており、当該操作用手球P2に対して与えられる入力の変化がゲーム影像の変化の一例である手球P1の表示態様の変化(本実施例では移動)に反映されるようになっている。第2の表示画面12aはタッチパネル13に覆われているので、第2の表示画面12aに表示される操作用手球P2の表示領域に対応するタッチパネル13の領域に対する入力を検出することによって、操作用手球P2に与えられる入力の変化を検出することができる。このときのゲーム影像の様子を図4に示す。
図4に示すように、プレイヤがスタイラス16によって第2の表示画面12aのタッチパネル13に対する入力が行われる。換言すれば、第2の表示画面12aに表示される図柄P2に対する入力の指示が行われる。ゲーム装置1では、この入力の変化を検出することによって、例えば第1方向LOへの連続入力を把握する。この第1方向LOへの連続入
力が検出されると、入力の変化に含まれる少なくとも二つのパラメータに基づいて、第1の表示画面11aの手球P1の例えば打ち出し方向と初速が算出される。この打ち出し方向と初速が本発明における変化条件設定データに相当する。当該打ち出し方向と初速に基づいて手球p1の移動が計算されながら移動することによって、軌跡ORに沿ってビリヤード台D上を移動するゲーム影像が生成され、当該ゲーム影像が第1の表示画面11aに表示される。このようにして、第2の表示画面12aに対する入力の変化に基づいて、第1の表示画面11aのゲーム影像を変化させている。なお、本画面例では、直線状の第1方向LOにドラッグをする例に挙げたが、曲線やS字状にドラッグさせてもよい。この場合において、始点から終点までの途中の位置座標も演算用パラメータとして利用すれば、手球P1が例えばS字を描く軌跡を通るように移動するように制御することができる。も
ちろんこの場合には、ボールの回転方向や回転率などを計算しながら手球P1を移動させる。
次にゲームプログラムによって実行される処理を、図5のフロー及び図6の第1VRA
M,第2VRAM及びタッチパネルの概念を示す図を参照して、具体的に説明する。まず、ゲーム装置1の電源(図示せず)がONされると、CPU21によってブートプログラム(図示せず)が実行され、これによりメモリカード17に格納されているゲームプログラムがWRAM22にロードされる。当該ロードされたゲームプログラムがCPU21に実行されることによって、以下のステップが実行される。
まず、ステップ1において、CPU21の命令によって第1GPU23が動作し、ゲー
ムプログラムに含まれるビリヤード台などの各種画像データが読み出され、第1VRAM
23aにゲーム影像が描画される。具体的には、図6(a)に示すように、第1VRAM23の描画領域に、ビリヤード台D,手球P1及び複数個の的球Tが描画される。そして、第1VRAM23内の画像が第1LCD11に表示出力される。続くステップ2において、CPU21の命令によって第2GPU24が動作し、ゲームプログラムに含まれるキャラクタの図柄の画像データが読み出され、第1VRAM24にゲーム影像に関連付けられた図柄が描画される。具体的には、図6(B)に示すように、第2VRAM24の描画領域に、操作対象図柄であるキャラクタ図柄P2が描画される。そして、第2VRAM24内のデータが第2LCD12に表示出力される。これらステップ1及びステップ2によってビリヤードゲームのプレイの開始が可能になる。
そして、ステップ3において、タッチパネル13に対する入力の検出が開始される。タッチパネル13は、図6(C)に示すように、第2VRAM24の座標系に対応する座標系を有し、当該スタイラス16によって入力(指示)された位置に対応する位置座標のデータを出力する。つまり、本ステップでは、タッチパネル13(タッチパネル13を制御するデバイスドライバを含む)から出力される位置座標を検出している。
続くステップ4において、キャラクタ図柄P2に対する入力か否かが判断される。具体的には、タッチパネル13から最初に検出した位置座標(入力の変化の始点となる位置座標)がキャラクタ図柄P2(図6(B)参照)が描画されている座標領域P3(図6(C)参照)に含まれるか否かが判断される。当該座標領域に含まれる場合にはキャラクタ図柄P2への入力としてステップ5が実行され、当該座標領域に含まれない場合にはステップ3を繰り返す。
キャラクタ図柄P2に対して入力があると、当該入力の変化を検出するために以下のステップ5〜8が実行される。ステップ5において、連続して入力されている時間の計時が開始される。続くステップ6において、入力が開始された時点(ステップ4)の位置座標のデータがWRAM22に一旦保存する。ステップ6において保存される位置座標のデータは、演算用パラメータの一つ(始点の位置座標として)である。
続くステップ7において、一定時間間隔でタッチパネル13からの出力を検出し、ステップ8においてタッチパネル13からの出力がなくなるまでステップ7が繰り返される。つまり、ステップ7及び8では、タッチパネル13に対する入力が連続して行われている間、当該入力の変化を検出し続ける。なお、本実施例では、タッチパネル13からの出力が一度でも途切れると、連続した入力が終了したと判断するが、例えば、連続した数回の検出においてタッチパネル13からの出力が検出できないときに初めて連続した入力が終了したと判断するようにしてもよい。
そして、タッチパネル13からの出力がなくなると(すなわち、プレイヤによるタッチパネル13に対する入力がなくなると)、ステップ9において、入力が終了して時点の位置座標のデータをWRAM22に保存する。このステップ9において保存される終了時点の位置座標は演算用パラメータの一つである。続くステップ10において、連続する入力がなくなった時点で計時のためのカウントを止めて、連続した入力がどの程度の時間続い
たかを示す連続入力時間のデータをWRAM22に保存する。当該連続入力時間のデータも演算用パラメータの一つである。
なお、上述したステップ9及びステップ6によって、入力の変化から少なくとも二つの演算用パラメータが抽出される。さらに、本実施例では、連続入力時間のデータを含めた3つのパラメータを利用する場合について説明する。後述から明らかになるが、本実施例では、始点と終点における2点の位置座標を演算用パラメータとして抽出しているが、例えば始点から終点までの中間地点の一部又はすべての位置座標のデータを利用するようにしてもよい。また、本実施例では、始点から終点までの時間を連続入力時間として利用するが、終点までの途中の時点での時間をパラメータとして利用してもよい。途中の時点の時間を利用することにより、始点から終点までの前半での入力の変化によって手球P1の挙動が変化させることにより、プレイヤの操作に応じたより直感的な手球P1の移動を表示できる。これらの必要なパラメータの種類や数は、第1の表示画面11aにおけるプレイヤオブジェクト(本実施例では手球P1)にどのような動作を行わせたいかによって決まるものである。つまり、複雑な動作を行わせる場合には複雑な動作を決めるために必要となる演算用パラメータは増えるが、直線的な移動などのような簡単な動作の場合には二つのパラメータによって演算することができる。
ステップ11において、演算用パラメータに基づいて、第1の表示画面11aのゲーム影像における手球P1の初速度と移動方向などの変化条件設定データを算出する。具体的には、上述したステップより、入力開始時点すなわち始点の位置座標のデータと、入力終了時点すなわち終点の位置座標のデータと、始点から終点までの連続入力時間のデータの3つの演算用パラメータに基づいて手球P1の初速度と移動方向を算出する。例えば、始点(x1,y1),終点(x2,y2),連続入力時間t1とすると、始点(x1,y1)と終点(x2,y2
)の差(x1-x2=Δx,y1-y2=Δy)によって移動方向(Δx,Δy)を算出する。つまり、手
球P1が配置されている場所が位置座標(X,Y)であれば、この位置座標(X,Y)から(Δx,Δy)の方向(第1方向LO)に移動させる。そして、手球P1の初速度としては
、連続入力時間が短いほど初速度早くなるように初速度を算出する。例えば、初速度=初期設定初速度÷連続入力時間t1によって算出する。また、初速度を算出する際に、差(Δx,Δy)を考慮し、差が大きいほど初速度が速くなるように、またその逆にすることもで
きる。
なお、始点(x1,y1)又は終点(x2,y2)と、連続入力時間t1との二つのパラメータの場合には、キャラクタ図柄P2の基準位置(x0,y0)であるとき、基準位置(x0,y0)と始点又は終点との差を算出し、当該差の方向を移動方向とし、連続入力時間t1により初速度を決める。さらに、始点と終点だけによって、初速度と移動方向を算出することも可能である。例えば、始点と終点の差をとり当該差を移動方向とし、差の大きさを初速度に反映させるようにすればよい。このように、入力の変化から少なくとも2つの演算用パラメータを抽出すれば、第1の表示画面11aのゲーム影像を入力の変化に応じて変化させること
ができる。また、手球P1を移動させるための条件を算出すればよいため、初速度は移動方向のほか、例えば加速度,減速度,移動距離,移動速度などの条件を算出してもよい。
ステップ12において、上記パラメータから算出された演算結果である初速度と移動方向などの変化条件設定データに基いて、手球P1を移動させるための条件を設定し、当該条件に基づいて、ビリヤード台との摩擦による減速,壁による衝突・反射などによる計算を行いながら軌道ORに沿って転がって移動する様子を第1の表示画面11aに表示する。続くステップ13において、ゲームが終了まで上述したステップ4から12までの処理が繰り返し実行される。
なお、本第1実施例では直線的な入力の変化によって手球を直線的に移動させたが、例
えばタッチパネル13に対して小さな円を描きながら直線的なラインを描くような入力の変化を与えることにより、全体的なラインが描かれた方向に手球を打ち出すとともに円の描き方によって手球の回転方向させるような条件を算出するようにして手球の表示態様を変化させることもできる。
本第1実施例のように、操作対象図柄に対して与えた入力の変化、すなわちタッチパネル13に与える入力パターンに応じて、第1の表示画面11aの手球P1が移動するので
、従来に無い操作感覚のゲームを提供することができる。
<第2実施例>
以下、第2実施例に係るゲームプログラムに基づいて実行されるゲームについて説明する。第2実施例では、タッチパネル13を通じてキャラクタ図柄P61に入力される入力の変化である入力パターンに応じて、当該入力パターンに近い既知(ゲームプログラム内に予め用意されている)の入力パターンを選択し、当該既知の入力パターンに応じた感情パラメータを変化させることによって、第1の表示画面11aのプレイヤキャラクタP6の表示態様を変化させる場合の実施例である。本ゲームプログラムによる詳細なフローを説明する前に、本発明の理解を容易にするために図7〜図8を参照して、その概要について説明する。図7は本発明のゲームプログラムによってゲーム開始当初の画面例である。図8は第2の表示画面12aのキャラクタ図柄にある入力の変化を与えた場合の様子を示す一画面例である。図9はキャラクタ図柄に別の入力の変化を与えた場合の様子を示す一画面例である。なお、上述した第1実施例に共通する記載は省略する。
まず、図7に示すように、ゲーム装置1の第1の表示画面11aには、ゲーム空間の広い範囲のゲーム影像が表示され、第2の表示画面12aにはゲーム影像に含まれるプレイヤキャラクタの顔部分を示すキャラクタ図柄が表示される。具体的には、ゲーム影像は、プレイヤによって操作可能な二体のプレイヤキャラクタP5,P6を含む三次元のゲーム空間内の様子を所与の視点から見た画像である。プレイヤキャラクタP5はゲーム装置1に備える操作キー14によって操作可能なプレイヤキャラクタである。一方、プレイヤキャラクタP6はタッチパネル13に対する入力によってのみ操作可能なプレイヤキャラクタである。
本ゲームでは、例えばプレイヤが操作キー14を操作することにより、プレイヤキャラクタP5がゲーム空間内を移動する。そして、ゲーム空間をさまようことによりプレイヤキャラクタP5がプレイヤキャラクタP6と出会う。そうすると、第2の表示画面12aにプレイヤキャラクタP6の顔部分であるキャラクタ図柄P61が表示される。このときのゲーム装置1の様子が図7の表示状態である。
図8に示すように、プレイヤはスタイラス16を使って、キャラクタ図柄P6に対しては頭をなでるような入力を与える。これにより、ゲーム装置1はキャラクタ図柄P61に与えられた入力の変化すなわち入力パターンから、頭をなでられたと判断し、第1の表示画面11aのプレイヤキャラクタP6の表示態様を普通の状態から喜んだ状態に変化させる。
一方、図9に示すように、スタイラス16によってキャラクタ図柄61の鼻部分が複数回タップ(たたくような入力又はダブルクリックのような操作)されたとき、第1の表示画面11aのプレイヤキャラクタP6の表示態様を怒った状態に変化させる。
次にゲームプログラムによって実行される処理を図10に示すフローを参照して具体的に説明する。まず、ゲーム装置1の電源がONされた後に第1の表示が画面11aにゲーム影像が表示される。そして、ステップ21において、所与の視点からプレイヤキャラク
タP5を含むゲーム空間内の様子がゲーム影像として第1の表示装置11aに表示される。続くステップ22において、通常のゲーム処理と同様に、プレイヤの操作キー14に基づいてプレイヤキャラクタP5をゲーム空間内において移動させる。ステップ23において、プレイヤキャラクタP5がプレイヤキャラクタP6に出会うまで、ステップ22の処理が続けられる。なお、プレイヤキャラクタP6には、感情パラメータとして例えば喜びのパラメータと怒りのパラメータとが関連つけられており、当該プレイヤキャラクタP6はAIプログラムによって当該感情パラメータに応じてその行動が制御される。例えば、プレイヤのタッチパネル13に通じた入力によってプレイヤキャラクタP6を喜ばせることによって特殊なアイテムを受け取たり、怒らせることによってプレイヤキャラクタP5と戦うなどのように行動が制御される。
続くステップ24において、プレイヤキャラクタP6に出会うと、第2の表示画面12aにプレイヤキャラクタP6に関連付けられた当該プレイヤキャラクタP6の顔部分を示すキャラクタ図柄P61を表示させる。このキャラクタ図柄P61が操作対象図柄となる。
続くステップ25において、タッチパネル13に対する入力の検出が開始される。ステップ26において、最初に検出されたタッチパネル13の位置座標(始点の位置座標)と、キャラクタ図柄P61が表示されている座標領域とを比較させて、最初の検出位置がキャラクタ図柄P61に対するものか否かを判断させる。ステップ26は当該最初の入力がキャラクタ図柄P61に対する入力を検出するまで繰り返しステップ25を実行させ、当該キャラクタ図柄P61に対する入力を検出したとき続くステップ27が実行される。こられステップ25及び26によって、第2の表示画面12aに表示される図柄に対するものであることが判断される。
ステップ27及び28において、入力の変化すなわち入力がほぼ連続している間、その連続する位置座標のデータがWRAM22に保存される。ステップ28において、連続する入力が終わったと判断されたとき、例えば所定時間以上の時間だけ入力がなかったときには続くステップ29が実行される。つまり、断続的な入力であっても、その間隔が所定時間よりも短い場合にはほぼ連続する入力として判断される。
ステップ29において、WRAM22に保存された一連の連続する位置座標のデータ群の基いて、当該データ群に最も近い入力パターンが予め用意されている複数の入力パターンの中から選択される。具体的には、図11に示すように、WRAM22及びゲームプログラムには複数種類の入力パターンが記憶又はふくまれている。各入力パターンはそれぞれ特徴を備えており、ステップ29では位置座標のデータ群と合致する特徴が多い入力パターンが選択される。図8の第1入力パターンは、例えば入力の変化が連続つまり近接する位置座標のデータが続いており、入力の場所がキャラクタ図柄P61の頭部付近の場所であり、入力の範囲が直線状に細長く分布しているという特徴を備えている。この第1入力パターンは、図8のような「撫でる」入力の変化である。また、第2入力パターンは、入力の変化が断続つまり入力自体が途切れ途切れ又は不連続であり、入力の場所がキャラクタ図柄P61の鼻付近の領域であり、入力の範囲が点状に分布しているという特徴を備えている。この第2入力パターンは、図9のような「叩く」入力の変化である。
ステップ30において、選択された入力パターンに対応する感情パラメータが、入力パターンの繰り返し回数などによって増減され更新される。具体的には、例えば第1入力パターンが選択されると、前記位置座標のデータ郡に基づいて、第1の入力パターンが何回繰り返し入力されたか算出される。そして、第1入力パターンの場合には、感情パラメータのうちの喜びのパラメータを増加させるので、その繰り返す回数に応じて喜びのパラメータを増加させる。一方、第2入力パターンが選択されると、当該第2の入力パターンが
何回繰替えされたかを算出し、その回数に応じて怒りのパラメータを増加させる。
続くステップ31において、感情パラメータに応じて第1の表示画面11aのプレイヤキャラクタP6の表示態様を変化させるとともに、第2の表示画面12aのキャラクタ図柄P61の表示態様を変化させる。例えば、喜びのパラメータが増加された場合には、プレイヤキャラクタP6及びキャラクタ図柄P61が喜んだ表情になるように表示態様を更新する。一方、怒りのパラメータが増加された場合には、怒りを表現する表情になるように表示態様を更新する。
最後のステップ32において、ゲーム終了がプレイヤに指示されるまで、上述したステップ21〜31が繰り返し実行される。なお、本第2実施例では説明しなかったが、プレイヤキャラクタP6を喜ばせたり、怒らせたりすることにより、ゲーム進行におけるヒントやアイテムなどをプレイヤキャラクタP5に与えることによりゲームの進行を変えるようにすることもできる。
上述した第2実施例によれば、予め用意されている複数種類の入力パターンの中から、図柄に対して入力された入力の変化に近い入力パターンを選択し、当該入力パターンに応じてプレイヤキャラクタに関連付けられた感情パラメータを変化させることによって、当該プレイヤキャラクタの表示態様を変化させる。つまり、プレイヤの比較的自由な入力操作に基づいて、プレイヤキャラクタの表示態様を変化させるという、従来にない感覚のゲームを提供することができる。
<第3実施例>
以下、第3実施例に係るゲームプログラムに基づいて実行されるゲームについて説明する。第3実施例では、第1入力パターンの入力の変化をタッチパネル13に与えた場合には第1の表示画面11aのゲーム影像に変化を与え、第2入力パターンの入力の変化を与えた場合には第2の表示画面12aのゲーム影像に変化を与える場合に実施例である。本ゲームプログラムによる詳細なフローを説明する前に、本発明の理解を容易にするために図12〜図14を参照して、その概要について説明する。図12は本発明のゲームプログラムによって第1の表示画面11aおよび第2の表示画面12aに表示されるゲーム影像の一画面例である。図13は第2の表示画面12aに入力の変化を与えた場合に第1の表示画面のゲーム影像が変化する場合の一画面例である。
まず、図12に示すように、第1の表示画面11aには、ゲーム影像としてゲーム空間を上方の視点から見た画像であるマップ上の狭い範囲(第1表示範囲)が拡大して表示される。この狭い範囲に含まれるマップを狭域マップと呼ぶ。また、第2の表示画面12aには、ゲーム影像としてゲーム空間を上方の視点から見た画像であるマップ上の広い範囲(第2表示範囲)が表示される。この広い範囲に含まれるマップを広域マップと呼び、当該広域マップは狭域マップよりも広くかつマップ全体よりも狭い領域である。プレイヤは、タッチパネル13すなわち第2の表示画面12aに表示された広域マップに対して入力の変化を与えることにより、広域マップ又は狭域マップのいずれか一方の表示態様を変化させながら、両画面に表示される各マップを利用してゲームを進めるものである。
図13に示すように、第2の表示画面12aの広域マップ内の所望の箇所をスタイラス16によって数回叩く(ダブルクリック又はダブルタップ)ことによって、当該箇所を中心として狭域マップが第1の表示画面11aに表示される。プレイヤは、このようにして狭域マップ内の所望箇所の拡大された狭域マップを観察しながらゲームを進めることができる。
さらに、図14に示すように、第2の表示画面12aの広域マップをスタイラス16に
よって所望の方向に引きずる(ドラッグ)ことによって、当該広域マップを引きずられた方向にスクロールされて表示される。プレイヤは、このようにして広域マップをスクロールさせながらマップを大雑把に観察しながら、所望の箇所を探索してゲームを進めることができる。
次にゲームプログラムによって実行される処理を図15に示すフローと,図16及び図17に示すメモリに記憶される画像データの概念図とを参照して具体的に説明する。図15はゲームプログラムによってゲーム装置1のコンピュータに実行されるフローである。図16及び図17はWRAM22の一部の画像記憶領域22aに全体マップを展開して様子を示す概念図である。
まず、ステップ41において、ゲーム装置1の電源がONされると、ゲームプログラムとともにWRAM22に全体マップの画像データがロードされ、WRAM22の一部の記憶領域である画像記憶領域22aに展開される。この全体マップが画像記憶領域22aに展開された概念図を図16(A)に示す。ステップ42において、広域マップを表示するための広域マップ領域30が画像記憶領域22aの全体マップ上に設定され、当該広域マップ領域30に含まれるマップが広域マップとして第2VRAM24aに描画され、この広域マップの画像が第2の表示画面12aにゲーム影像として表示出力される。ステップ43において、画像記憶領域22aの全体マップ上に狭域マップを表示するための狭域マップ領域31が設定され、当該狭域マップ領域31に含まれるマップが第1VRAM23aに描画され、当該狭域マップの画像がゲーム影像として第1の表示画面11aに拡大して表示出力される。これらのステップによって、第1の表示画面11aには狭域マップが第2の表示画面12aには広域マップがそれぞれ表示される。なお、狭域マップは広域マップに比べて小さい範囲のマップを、広域マップが表示される第2の表示画面12aと同じサイズの第1の表示画面11aに表示するので、結果として狭域マップが拡大して表示出力されている。
続くステップ44において、タッチパネル13に対する入力の変化の検出と保存が開始される。つまり、本ステップでは、一定時間間隔で検出される位置座標のデータを検出・保存し続けることにより、当該入力が連続しているか否かを判別し、ほぼ連続する入力がある間の位置座標のデータを保存する。また、ほぼ連続するとは、所定時間以下の断続的な入力は連続する一連の入力操作として判断することを意味する。なお、本ステップの検出と保存が開始されると同時に次ステップ45が実行されるものである。
ステップ45において、保存された入力の変化に該当する入力パターンを識別する。具体的には、予め記憶されている入力パターンの中から最も近い入力パターンを検索して見つける。これによって、例えば本実施例では、ダブルクリックとドラッグの二種類の入力パターンを識別する場合について説明し、本ステップでは入力の変化がダブルクリックであるかドラッグであるかが識別される。続くステップ46では、識別された入力の変化がダブルクリックである場合にはステップ47,48が実行され、ダブルクリックでないときすなわちドラッグである場合にはステップ49,50が実行される。
ステップ46においてダブルクリックであると判断されてとき、ステップ47が実行される。ステップ47において、図16(B)に示すように、ダブルクリックされた位置座標に対応する画像記憶領域22a内の場所を特定し、当該場所が中心なるように狭域マップ領域31を移動させる。そして、ステップ48において、新たな狭域マップ領域31に含まれるマップが第1VRAM23aに描画され、当該境域マップが第1の表示画面11aに拡大して表示出力される。
一方、ステップ46においてダブルクリックでない、すなわちドラッグと判断されたと
き、ステップ49が実行される。ステップ49において、ドラッグによって一定時間間隔で保存される連続する位置座標間の増加又は減少する座標ポイント数を算出し、ドラッグされている移動方向と逆の方向に当該座標ポイント数分だけ画像記憶領域22a内の広域マップ領域30を移動させる。具体的には図17に示すように、ドラッグされている方向とは逆の方向にドラッグの移動量と同じ移動量だけ広域マップ領域30を移動させる。ステップ50において、画像記憶領域22aの広域マップ領域30に含まれるマップが第2VRAM24aに描画され、当該広域マップが第2の表示画面12aに表示出力する。続くステップ51において、ステップ44に入力の変化が検出され続けられている間、ステップ49と50を繰り返し実行させる。これによって、第2の表示画面12a上においてドラッグされている間、当該広域マップがスクロールされて表示される。
最後のステップ52において、ゲーム終了がプレイヤに指示されるまで、上述したステップ41〜51が繰り返し実行される。なお、本第3実施例では特に説明しなかったが、ドラッグやダブルクリック以外の入力の変化に応じて、例えばクリックの回数に従って狭域マップ領域31の範囲を小さくしたり大きく設定することによって拡大表示の倍率を変化させたり、ドラッグのスピードに応じて拡大マップのスクロールスピードを加速的に増加させたり減少させたりしてもよい。また、特定の入力の変化に基づく入力パターンによっては、両画面を同時に変化させるようにしてもよい。
上述した第3実施例によれば、タッチパネル13に対する入力の変化に対応する入力パターンに応じて、少なくとも第1の表示画面11a又は第2の表示画面12aのいずれか一方の画面のゲーム影像を変化させるので、プレイヤに両画面を駆使してゲームを進行させるようなゲームを提供することができる。
上述した全ての実施例では、図1に示したように、物理的に二つの表示装置である第1LCD11に第1の表示画面11aを、第2LCD12に第2の表示画面12aを表示するゲーム装置1について説明したが、本発明はこのようなゲーム装置1に実行されるゲームプログラムに限定されず、単一の物理的な表示装置を備えるゲーム装置であって、当該表示装置の表示画面を二分割して利用してもよい。この単一の表示装置を備えるゲーム装置を図18に示す。なお、上述した実施例と同じ構成には同一の符号を付しその詳細な説明を省略する。
図18に示すように、ゲーム装置1は、上述した第1LCD11及び第2LCD12の代わりに単一のLCD装置100を備える。表示装置100の画面全体は、タッチパネル16に覆われている。そして、その画面はゲームプログラム又はモニタプログラムによって第1の表示画面100Lと第2の表示画面100Rの少なくとも二つの表示画面に分割される。そして、ゲーム装置1のコンピュータは、第2の表示画面100Rに対応するタッチパネル13の領域であり、かつ第2の表示画面100Rに表示される図柄に対する入力の変化を検出し、上述した3つの実施例と同様の処理を行う。これによって、第1の表示画面100L又は第2の表示画面100Rのゲーム影像等を変化させる。このように変形実施することによって、従来からあるタッチパネル付の表示装置を備えたゲーム装置等であれば本発明が適用されるゲームを提供することができる。
また、上述した実施例では、第2の表示画面に与えられた入力の変化を第1のプレイヤキャラクタの移動や狭域マップの表示のような表示態様の変化を例にあげたが、例えば入力の変化に応じて第1の表示画面の、プレイヤキャラクタ自体の形態や色を変化させたり、ゲーム空間をワープした別の場面に変化させたりすることもできる。
以上のように、本発明は、第1のゲーム画面と第2のゲーム画面を駆使しながらゲーム
を進行させるゲームプログラムを提供すること等を目的として利用することが可能である。
1・・・ゲーム装置
11・・・第1LCD
11a・・・第1の表示画面
12・・・第2LCD
12a・・・第2の表示画面
13・・・タッチパネル
14・・・操作キー
15・・・スピーカ
16・・・スタイラス
17・・・メモリカード
21・・・CPUコア
22・・・WRAM
23・・・第1GPU
23a・・・第1VRAM
24・・・第2GPU
24a・・・第2VRAM

Claims (3)

  1. 第1の表示画面とタッチパネルに覆われた第2の表示画面とを備えるゲーム装置のコンピュータに実行されるゲームプログラムであって、
    前記コンピュータを、
    ゲーム空間が描画された画像記憶領域において、当該描画されたゲーム空間の一部を表示するための第1表示範囲を設定し、当該第1表示範囲に含まれる画像を前記第1の表示画面に狭域マップとして拡大表示する狭域マップ表示制御手段、
    前記画像記憶領域において前記第1表示範囲よりも広い第2表示範囲を設定し、当該第
    2表示範囲に含まれる画像を前記第2の表示画面に広域マップとして表示する広域マップ表示制御手段、
    前記広域マップが表示されている前記タッチパネルの領域に対して与えられる入力パターンとその入力位置とを検出する入力パターン検出手段、および
    前記入力パターン検出手段によって検出された入力パターンが第1の入力パターンであると判別したとき、前記入力位置に対応する前記画像記憶領域の場所に前記第1表示範囲を移動させ、当該第1表示範囲に含まれる画像を前記第1の表示画面に拡大表示することによって、前記狭域マップの表示を更新する狭域マップ更新手段として機能させることを特徴とするゲームプログラム。
  2. 前記コンピュータを、
    前記入力パターン検出手段によって検出された入力パターンが第2の入力パターンであると判別したとき、前記入力パターンに連動させて前記画像描画領域内における前記第2表示範囲をスクロールさせて、当該第2表示範囲に含まれる画像を前記第2の表示画面に表示することによって、前記広域マップを更新する広域マップ更新手段としてさらに機能させる、請求項1に記載のゲームプログラム。
  3. 第1の表示画面とタッチパネルに覆われた第2の表示画面とを備えるゲーム装置であって、
    ゲーム空間が描画された画像記憶領域において、当該描画されたゲーム空間の一部を表示するための第1表示範囲を設定し、当該第1表示範囲に含まれる画像を前記第1の表示画面に狭域マップとして拡大表示する狭域マップ表示制御手段、
    前記画像記憶領域において前記第1表示範囲よりも広い第2表示範囲を設定し、当該第2表示範囲に含まれる画像を前記第2の表示画面に広域マップとして表示する広域マップ表示制御手段、
    前記広域マップが表示されている前記タッチパネルの領域に対して与えられる入力パターンとその入力位置とを検出する入力パターン検出手段、および
    前記入力パターン検出手段によって検出された入力パターンが第1の入力パターンであると判別したとき、前記入力位置に対応する前記画像記憶領域の場所に前記第1表示範囲を移動させ、当該第1表示範囲に含まれる画像を前記第1の表示画面に拡大表示することによって、前記狭域マップの表示を更新する狭域マップ更新手段
    を備える、ゲーム装置。
JP2009275800A 2003-12-10 2009-12-03 ゲームプログラム、ゲーム装置、ゲーム処理方法およびゲームシステム Expired - Lifetime JP5203341B2 (ja)

Priority Applications (1)

Application Number Priority Date Filing Date Title
JP2009275800A JP5203341B2 (ja) 2003-12-10 2009-12-03 ゲームプログラム、ゲーム装置、ゲーム処理方法およびゲームシステム

Applications Claiming Priority (3)

Application Number Priority Date Filing Date Title
JP2003411986 2003-12-10
JP2003411986 2003-12-10
JP2009275800A JP5203341B2 (ja) 2003-12-10 2009-12-03 ゲームプログラム、ゲーム装置、ゲーム処理方法およびゲームシステム

Related Parent Applications (1)

Application Number Title Priority Date Filing Date
JP2009111852A Division JP4491502B2 (ja) 2003-12-10 2009-05-01 ゲームプログラム

Publications (2)

Publication Number Publication Date
JP2010046554A true JP2010046554A (ja) 2010-03-04
JP5203341B2 JP5203341B2 (ja) 2013-06-05

Family

ID=34917801

Family Applications (2)

Application Number Title Priority Date Filing Date
JP2009111852A Expired - Fee Related JP4491502B2 (ja) 2003-12-10 2009-05-01 ゲームプログラム
JP2009275800A Expired - Lifetime JP5203341B2 (ja) 2003-12-10 2009-12-03 ゲームプログラム、ゲーム装置、ゲーム処理方法およびゲームシステム

Family Applications Before (1)

Application Number Title Priority Date Filing Date
JP2009111852A Expired - Fee Related JP4491502B2 (ja) 2003-12-10 2009-05-01 ゲームプログラム

Country Status (2)

Country Link
US (1) US7309287B2 (ja)
JP (2) JP4491502B2 (ja)

Cited By (6)

* Cited by examiner, † Cited by third party
Publication number Priority date Publication date Assignee Title
JP2012096027A (ja) * 2010-10-12 2012-05-24 Sony Computer Entertainment Inc 家庭用ゲームシステムにおいて実行中のゲーム又はアプリケーションをリアルタイムに記録又は変更するための携帯型ゲーム装置の使用
JP2012139318A (ja) * 2010-03-12 2012-07-26 Nintendo Co Ltd 表示制御プログラム、表示制御装置、表示制御システム、及び、表示制御方法
JP2013056125A (ja) * 2011-09-09 2013-03-28 Sony Computer Entertainment Inc ゲーム装置、ゲーム制御方法、及びゲーム制御プログラム
US8808090B2 (en) 2011-02-18 2014-08-19 Konami Digital Entertainment Co., Ltd. Game device, game control method, program, recording medium and game management device
JP2018117970A (ja) * 2017-01-27 2018-08-02 株式会社スクウェア・エニックス ゲームシステム、ゲーム実行方法、及び、コンピュータ装置
JP2020072950A (ja) * 2015-06-11 2020-05-14 株式会社バンダイナムコエンターテインメント 端末装置及びプログラム

Families Citing this family (64)

* Cited by examiner, † Cited by third party
Publication number Priority date Publication date Assignee Title
US7578742B2 (en) * 2004-03-26 2009-08-25 Nintendo Co., Ltd. Recording medium storing video game program and video game device
JP2006122241A (ja) * 2004-10-27 2006-05-18 Nintendo Co Ltd ゲーム装置およびゲームプログラム
US20060252495A1 (en) * 2005-01-14 2006-11-09 Ignacio Gerson Slot machine with skill aspect
US8376829B2 (en) 2005-01-14 2013-02-19 Etasse Limited Slot machine game with respin feature which identifies potential wins
JP2006280731A (ja) * 2005-04-01 2006-10-19 Aruze Corp ゲームプログラム、ゲーム装置及び記録媒体
JP2006280734A (ja) * 2005-04-01 2006-10-19 Aruze Corp ゲームプログラム、ゲーム装置及び記録媒体
US20060247047A1 (en) * 2005-04-14 2006-11-02 Mitchell Michael J Universal button module
AU2006201734A1 (en) 2005-04-27 2006-11-16 Aruze Corp. Gaming machine
US20070046561A1 (en) * 2005-08-23 2007-03-01 Lg Electronics Inc. Mobile communication terminal for displaying information
KR100725776B1 (ko) * 2005-10-08 2007-06-08 삼성전자주식회사 이동통신 단말기에서 그래픽객체 인식을 이용한 메뉴구성및 실행방법
US20070178954A1 (en) * 2006-01-31 2007-08-02 Ian Osborne Electronic image identification response game
JP5305560B2 (ja) * 2006-02-22 2013-10-02 任天堂株式会社 ゲームプログラムおよびゲーム装置
JP5305561B2 (ja) * 2006-02-22 2013-10-02 任天堂株式会社 ゲームプログラムおよびゲーム装置
US8882590B2 (en) 2006-04-28 2014-11-11 Nintendo Co., Ltd. Touch-controlled game character motion providing dynamically-positioned virtual control pad
US8690664B2 (en) 2006-09-25 2014-04-08 Etasse Limited Slot machine game with additional award indicator
US9165419B2 (en) 2006-10-23 2015-10-20 Etasse Limited Slot machine bonus game providing awards for manual dexterity
US8337292B2 (en) 2006-11-10 2012-12-25 Etasse Limited Slot machine game with side wager on reel order
US20080227544A1 (en) * 2007-03-15 2008-09-18 Inxile Entertainment, Inc. Line Rider
JP2008282400A (ja) * 2007-05-08 2008-11-20 Lin Ming-Yen 三次元マウスの装置
KR20080105724A (ko) * 2007-06-01 2008-12-04 삼성전자주식회사 터치 패널을 갖는 통신 단말기 및 그의 터치 좌표값 산출방법
KR20090008976A (ko) * 2007-07-19 2009-01-22 삼성전자주식회사 네비게이션 단말에서의 지도 스크롤 방법 및 그 네비게이션단말
TW200907764A (en) * 2007-08-01 2009-02-16 Unique Instr Co Ltd Three-dimensional virtual input and simulation apparatus
US8702493B2 (en) 2007-11-09 2014-04-22 Etasse Limited Slot machine game with award based on another machine
US8414395B2 (en) * 2008-06-11 2013-04-09 Activision Publishing, Inc. Strum processing for music video game on handheld device
US9520031B2 (en) 2008-07-07 2016-12-13 Etasse Limited Slot machine game with symbol lock-in
WO2010027645A1 (en) * 2008-08-18 2010-03-11 Augusta Technology Usa, Inc. One-touch dial with fast contact lookup
US8300056B2 (en) 2008-10-13 2012-10-30 Apple Inc. Seamless display migration
US9165493B2 (en) * 2008-10-14 2015-10-20 Apple Inc. Color correction of electronic displays utilizing gain control
US9063713B2 (en) * 2008-10-28 2015-06-23 Apple Inc. Graphics controllers with increased thermal management granularity
HK1130618A2 (zh) * 2008-10-30 2010-05-14 耀光联有限公司 一种金融交易卡
US8508538B2 (en) * 2008-12-31 2013-08-13 Apple Inc. Timing controller capable of switching between graphics processing units
US8207974B2 (en) * 2008-12-31 2012-06-26 Apple Inc. Switch for graphics processing units
US9542914B2 (en) * 2008-12-31 2017-01-10 Apple Inc. Display system with improved graphics abilities while switching graphics processing units
JP5687826B2 (ja) * 2009-05-29 2015-03-25 任天堂株式会社 ゲームプログラムおよびゲーム装置
CN102473066B (zh) * 2009-09-09 2014-03-12 美泰有限公司 在多功能手持设备上显示、导航和选择电子方式存储内容的系统和方法
US8797334B2 (en) 2010-01-06 2014-08-05 Apple Inc. Facilitating efficient switching between graphics-processing units
JP4932010B2 (ja) * 2010-01-06 2012-05-16 株式会社スクウェア・エニックス ユーザインタフェース処理装置、ユーザインタフェース処理方法、およびユーザインタフェース処理プログラム
US8648868B2 (en) 2010-01-06 2014-02-11 Apple Inc. Color correction to facilitate switching between graphics-processing units
CN102940966B (zh) * 2010-04-28 2015-08-26 科乐美数码娱乐株式会社 游戏系统
JP4827982B1 (ja) * 2010-06-10 2011-11-30 株式会社コナミデジタルエンタテインメント ゲームシステム、それに用いる制御方法及び、コンピュータプログラム
JP4890629B2 (ja) * 2010-06-10 2012-03-07 株式会社コナミデジタルエンタテインメント ゲームシステム、それに用いる制御方法及び、コンピュータプログラム
JP5639830B2 (ja) * 2010-09-29 2014-12-10 任天堂株式会社 ゲーム装置、ゲームプログラム、ゲームシステムおよびゲーム制御方法
JP5214752B2 (ja) * 2011-02-21 2013-06-19 株式会社コナミデジタルエンタテインメント ゲームシステム、それに用いる制御方法及び、コンピュータプログラム
JP5161328B2 (ja) * 2011-03-04 2013-03-13 株式会社コナミデジタルエンタテインメント ゲームシステム及びそのコンピュータプログラム
JP2012216028A (ja) * 2011-03-31 2012-11-08 Minebea Co Ltd 電子機器用の入力装置及び入力方法
JP5377709B2 (ja) * 2012-05-23 2013-12-25 株式会社スクウェア・エニックス 情報処理装置,情報処理方法,及びゲーム装置
JP5956831B2 (ja) 2012-05-28 2016-07-27 任天堂株式会社 表示制御システム、表示制御方法、表示制御装置及び表示制御プログラム
KR101216307B1 (ko) 2012-06-08 2012-12-28 (주)네오위즈게임즈 패턴 입력을 통한 캐릭터 조작 방법 및 장치
JP5983308B2 (ja) * 2012-10-25 2016-08-31 ブラザー工業株式会社 画像読取装置
US11210076B2 (en) 2013-01-28 2021-12-28 Samsung Electronics Co., Ltd. Downloading and launching an app on a second device from a first device
JP5671576B2 (ja) * 2013-04-26 2015-02-18 株式会社コナミデジタルエンタテインメント コンピュータのユーザインタフェース装置、そのパラメータの制御方法及びコンピュータプログラム
US10225611B2 (en) 2013-09-03 2019-03-05 Samsung Electronics Co., Ltd. Point-to-point content navigation using an auxiliary device
US9883231B2 (en) 2013-09-03 2018-01-30 Samsung Electronics Co., Ltd. Content control using an auxiliary device
US9891743B2 (en) 2014-05-02 2018-02-13 Semiconductor Energy Laboratory Co., Ltd. Driving method of an input device
JP6643776B2 (ja) * 2015-06-11 2020-02-12 株式会社バンダイナムコエンターテインメント 端末装置及びプログラム
EP3449985B1 (en) 2017-05-22 2024-05-01 Nintendo Co., Ltd. Game program, information processing device, information processing system, and game processing method
JP6921193B2 (ja) * 2017-05-22 2021-08-18 任天堂株式会社 ゲームプログラム、情報処理装置、情報処理システム、および、ゲーム処理方法
CN110678238B (zh) 2017-05-22 2024-10-01 任天堂株式会社 游戏程序、信息处理装置、信息处理系统以及游戏处理方法
JP6418299B1 (ja) * 2017-09-15 2018-11-07 株式会社セガゲームス 情報処理装置及びプログラム
CN108509139B (zh) * 2018-03-30 2019-09-10 腾讯科技(深圳)有限公司 虚拟对象的移动控制方法、装置、电子装置及存储介质
CN110075523B (zh) * 2019-04-30 2020-04-17 网易(杭州)网络有限公司 动作生成方法、装置、电子设备和计算机可读介质
IL305750A (en) * 2021-03-10 2023-11-01 Bungie Inc Controller state management for client-server networks
IL305749A (en) * 2021-03-10 2023-11-01 Bungie Inc Loading a virtual button
CN113694527B (zh) * 2021-05-24 2024-07-16 网易(杭州)网络有限公司 游戏的定位方法、装置及移动终端

Citations (9)

* Cited by examiner, † Cited by third party
Publication number Priority date Publication date Assignee Title
JPS58116377A (ja) * 1981-12-28 1983-07-11 任天堂株式会社 手持形ゲ−ム装置
JPH06285259A (ja) * 1993-03-31 1994-10-11 Sega Enterp Ltd 液晶コントローラ
JPH07182092A (ja) * 1993-12-22 1995-07-21 Sega Enterp Ltd ベクトル入力装置
JPH07294892A (ja) * 1994-04-22 1995-11-10 Seiko Epson Corp 液晶表示装置システム
JPH11119641A (ja) * 1997-10-17 1999-04-30 Casio Comput Co Ltd 生物画像表示制御装置、生物画像表示制御方法、及び生物画像表示処理プログラムを記録した記録媒体
JP2001005438A (ja) * 1999-06-21 2001-01-12 Sony Corp 表示装置及びその方法
JP2001170358A (ja) * 1999-10-04 2001-06-26 Nintendo Co Ltd ゲームシステム及びそれに用いられるゲーム情報記憶媒体
JP2002000939A (ja) * 2000-06-19 2002-01-08 Sega Corp 電子ゲーム装置、その方法及び記憶媒体
JP2002092652A (ja) * 2000-09-20 2002-03-29 Namco Ltd ゲームシステム及び情報記憶媒体

Family Cites Families (12)

* Cited by examiner, † Cited by third party
Publication number Priority date Publication date Assignee Title
US4302011A (en) * 1976-08-24 1981-11-24 Peptek, Incorporated Video game apparatus and method
US4353552A (en) * 1979-02-23 1982-10-12 Peptek, Incorporated Touch panel system and method
JP3111087B2 (ja) * 1990-09-06 2000-11-20 シャープ株式会社 信号入力装置
JPH0531256A (ja) 1991-07-26 1993-02-09 Sony Corp 打撃模擬装置
JP2535301B2 (ja) 1993-04-01 1996-09-18 高砂電器産業株式会社 電子複合遊戯機
JPH08307954A (ja) * 1995-05-12 1996-11-22 Sony Corp 座標入力装置および方法、並びに情報処理装置
US6229529B1 (en) * 1997-07-11 2001-05-08 Ricoh Company, Ltd. Write point detecting circuit to detect multiple write points
US6135884A (en) * 1997-08-08 2000-10-24 International Game Technology Gaming machine having secondary display for providing video content
JP3461458B2 (ja) * 1999-03-08 2003-10-27 シャープ株式会社 無線式入力装置
JP3905670B2 (ja) * 1999-09-10 2007-04-18 株式会社リコー 座標入力検出装置、情報記憶媒体及び座標入力検出方法
US6942571B1 (en) * 2000-10-16 2005-09-13 Bally Gaming, Inc. Gaming device with directional and speed control of mechanical reels using touch screen
US6840859B2 (en) * 2001-12-19 2005-01-11 Igt Method and apparatus for mapping information from multiple sources onto a single image

Patent Citations (9)

* Cited by examiner, † Cited by third party
Publication number Priority date Publication date Assignee Title
JPS58116377A (ja) * 1981-12-28 1983-07-11 任天堂株式会社 手持形ゲ−ム装置
JPH06285259A (ja) * 1993-03-31 1994-10-11 Sega Enterp Ltd 液晶コントローラ
JPH07182092A (ja) * 1993-12-22 1995-07-21 Sega Enterp Ltd ベクトル入力装置
JPH07294892A (ja) * 1994-04-22 1995-11-10 Seiko Epson Corp 液晶表示装置システム
JPH11119641A (ja) * 1997-10-17 1999-04-30 Casio Comput Co Ltd 生物画像表示制御装置、生物画像表示制御方法、及び生物画像表示処理プログラムを記録した記録媒体
JP2001005438A (ja) * 1999-06-21 2001-01-12 Sony Corp 表示装置及びその方法
JP2001170358A (ja) * 1999-10-04 2001-06-26 Nintendo Co Ltd ゲームシステム及びそれに用いられるゲーム情報記憶媒体
JP2002000939A (ja) * 2000-06-19 2002-01-08 Sega Corp 電子ゲーム装置、その方法及び記憶媒体
JP2002092652A (ja) * 2000-09-20 2002-03-29 Namco Ltd ゲームシステム及び情報記憶媒体

Cited By (9)

* Cited by examiner, † Cited by third party
Publication number Priority date Publication date Assignee Title
JP2012139318A (ja) * 2010-03-12 2012-07-26 Nintendo Co Ltd 表示制御プログラム、表示制御装置、表示制御システム、及び、表示制御方法
US10506218B2 (en) 2010-03-12 2019-12-10 Nintendo Co., Ltd. Computer-readable storage medium having stored therein display control program, display control apparatus, display control system, and display control method
US10764565B2 (en) 2010-03-12 2020-09-01 Nintendo Co., Ltd. Computer-readable storage medium having stored therein display control program, display control apparatus, display control system, and display control method
JP2012096027A (ja) * 2010-10-12 2012-05-24 Sony Computer Entertainment Inc 家庭用ゲームシステムにおいて実行中のゲーム又はアプリケーションをリアルタイムに記録又は変更するための携帯型ゲーム装置の使用
US10864433B2 (en) 2010-10-12 2020-12-15 Sony Interactive Entertainment Inc. Using a portable device to interact with a virtual space
US8808090B2 (en) 2011-02-18 2014-08-19 Konami Digital Entertainment Co., Ltd. Game device, game control method, program, recording medium and game management device
JP2013056125A (ja) * 2011-09-09 2013-03-28 Sony Computer Entertainment Inc ゲーム装置、ゲーム制御方法、及びゲーム制御プログラム
JP2020072950A (ja) * 2015-06-11 2020-05-14 株式会社バンダイナムコエンターテインメント 端末装置及びプログラム
JP2018117970A (ja) * 2017-01-27 2018-08-02 株式会社スクウェア・エニックス ゲームシステム、ゲーム実行方法、及び、コンピュータ装置

Also Published As

Publication number Publication date
JP5203341B2 (ja) 2013-06-05
JP4491502B2 (ja) 2010-06-30
US20050202869A1 (en) 2005-09-15
US7309287B2 (en) 2007-12-18
JP2009165876A (ja) 2009-07-30

Similar Documents

Publication Publication Date Title
JP4491502B2 (ja) ゲームプログラム
JP4726469B2 (ja) ゲームプログラム
US7578742B2 (en) Recording medium storing video game program and video game device
US8323104B2 (en) Hand-held game apparatus and game program
US8172681B2 (en) Storage medium having stored therein game program and game device
US8113954B2 (en) Game apparatus, storage medium storing game program and game controlling method for touch input monitoring
US20060109259A1 (en) Storage medium storing image display program, image display processing apparatus and image display method
EP3300779A1 (en) Storage medium having game program stored thereon and game apparatus
JP3833228B2 (ja) ゲーム装置およびゲームプログラム
JP2006034754A (ja) タッチパネルを用いたゲーム装置およびゲームプログラム
JP2005192986A (ja) ゲームプログラムおよびゲーム装置
JP2006311966A (ja) ゲームプログラムおよびゲーム装置
JP4360563B2 (ja) ゲームプログラムおよびゲーム装置
JP4731149B2 (ja) 情報処理装置および情報入力プログラム
JP4961112B2 (ja) ゲームプログラム、ゲーム装置、ゲームシステム、およびゲーム処理方法
JP2008113762A (ja) ゲームプログラムおよびゲーム装置
EP2047894A1 (en) Method for controlling selection of objects displayed on display, game machine using same, and program for controlling execution of the method
JP4514198B2 (ja) ゲームプログラムおよびゲーム装置
US20120306750A1 (en) Gesture based computer interface system and method
JP4743602B2 (ja) 画像処理装置、画像処理プログラム、ゲーム装置およびゲームプログラム
JP4729115B2 (ja) ゲームプログラム、ゲーム装置および方法
JP2007021022A5 (ja)
JP4287764B2 (ja) 競争ゲーム装置および競争ゲームプログラム
JP4782167B2 (ja) 競争ゲーム装置および競争ゲームプログラム
JP4445793B2 (ja) タッチパネルを用いた入力装置およびプログラム

Legal Events

Date Code Title Description
A621 Written request for application examination

Free format text: JAPANESE INTERMEDIATE CODE: A621

Effective date: 20091215

RD02 Notification of acceptance of power of attorney

Free format text: JAPANESE INTERMEDIATE CODE: A7422

Effective date: 20110902

A131 Notification of reasons for refusal

Free format text: JAPANESE INTERMEDIATE CODE: A131

Effective date: 20120213

A521 Request for written amendment filed

Free format text: JAPANESE INTERMEDIATE CODE: A523

Effective date: 20120411

TRDD Decision of grant or rejection written
A01 Written decision to grant a patent or to grant a registration (utility model)

Free format text: JAPANESE INTERMEDIATE CODE: A01

Effective date: 20130129

A61 First payment of annual fees (during grant procedure)

Free format text: JAPANESE INTERMEDIATE CODE: A61

Effective date: 20130213

R150 Certificate of patent or registration of utility model

Ref document number: 5203341

Country of ref document: JP

Free format text: JAPANESE INTERMEDIATE CODE: R150

Free format text: JAPANESE INTERMEDIATE CODE: R150

FPAY Renewal fee payment (event date is renewal date of database)

Free format text: PAYMENT UNTIL: 20160222

Year of fee payment: 3

R250 Receipt of annual fees

Free format text: JAPANESE INTERMEDIATE CODE: R250

R250 Receipt of annual fees

Free format text: JAPANESE INTERMEDIATE CODE: R250

R250 Receipt of annual fees

Free format text: JAPANESE INTERMEDIATE CODE: R250

R250 Receipt of annual fees

Free format text: JAPANESE INTERMEDIATE CODE: R250

R250 Receipt of annual fees

Free format text: JAPANESE INTERMEDIATE CODE: R250

R250 Receipt of annual fees

Free format text: JAPANESE INTERMEDIATE CODE: R250

R250 Receipt of annual fees

Free format text: JAPANESE INTERMEDIATE CODE: R250

R250 Receipt of annual fees

Free format text: JAPANESE INTERMEDIATE CODE: R250

R250 Receipt of annual fees

Free format text: JAPANESE INTERMEDIATE CODE: R250

EXPY Cancellation because of completion of term