JP2004140995A - モーターを停止させるための方法及び装置 - Google Patents

モーターを停止させるための方法及び装置 Download PDF

Info

Publication number
JP2004140995A
JP2004140995A JP2003359454A JP2003359454A JP2004140995A JP 2004140995 A JP2004140995 A JP 2004140995A JP 2003359454 A JP2003359454 A JP 2003359454A JP 2003359454 A JP2003359454 A JP 2003359454A JP 2004140995 A JP2004140995 A JP 2004140995A
Authority
JP
Japan
Prior art keywords
motor
stop
switch
power
switching element
Prior art date
Legal status (The legal status is an assumption and is not a legal conclusion. Google has not performed a legal analysis and makes no representation as to the accuracy of the status listed.)
Pending
Application number
JP2003359454A
Other languages
English (en)
Japanese (ja)
Other versions
JP2004140995A5 (enExample
Inventor
Bhanuprasad V Gorti
バヌプラサド ブイ.ゴルティ
Hung T Du
フン ティー.ドゥ
Current Assignee (The listed assignees may be inaccurate. Google has not performed a legal analysis and makes no representation or warranty as to the accuracy of the list.)
Black and Decker Inc
Original Assignee
Black and Decker Inc
Priority date (The priority date is an assumption and is not a legal conclusion. Google has not performed a legal analysis and makes no representation as to the accuracy of the date listed.)
Filing date
Publication date
Application filed by Black and Decker Inc filed Critical Black and Decker Inc
Publication of JP2004140995A publication Critical patent/JP2004140995A/ja
Publication of JP2004140995A5 publication Critical patent/JP2004140995A5/ja
Pending legal-status Critical Current

Links

Images

Classifications

    • HELECTRICITY
    • H02GENERATION; CONVERSION OR DISTRIBUTION OF ELECTRIC POWER
    • H02PCONTROL OR REGULATION OF ELECTRIC MOTORS, ELECTRIC GENERATORS OR DYNAMO-ELECTRIC CONVERTERS; CONTROLLING TRANSFORMERS, REACTORS OR CHOKE COILS
    • H02P3/00Arrangements for stopping or slowing electric motors, generators, or dynamo-electric converters
    • H02P3/06Arrangements for stopping or slowing electric motors, generators, or dynamo-electric converters for stopping or slowing an individual dynamo-electric motor or dynamo-electric converter
    • H02P3/08Arrangements for stopping or slowing electric motors, generators, or dynamo-electric converters for stopping or slowing an individual dynamo-electric motor or dynamo-electric converter for stopping or slowing a DC motor
    • H02P3/12Arrangements for stopping or slowing electric motors, generators, or dynamo-electric converters for stopping or slowing an individual dynamo-electric motor or dynamo-electric converter for stopping or slowing a DC motor by short-circuit or resistive braking

Landscapes

  • Engineering & Computer Science (AREA)
  • Power Engineering (AREA)
  • Stopping Of Electric Motors (AREA)
  • Control Of Direct Current Motors (AREA)
JP2003359454A 2002-10-18 2003-10-20 モーターを停止させるための方法及び装置 Pending JP2004140995A (ja)

Applications Claiming Priority (2)

Application Number Priority Date Filing Date Title
US41935202P 2002-10-18 2002-10-18
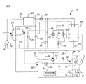
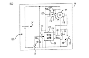
US10/647,807 US7023159B2 (en) 2002-10-18 2003-08-25 Method and device for braking a motor

Publications (2)

Publication Number Publication Date
JP2004140995A true JP2004140995A (ja) 2004-05-13
JP2004140995A5 JP2004140995A5 (enExample) 2006-11-16

Family

ID=32045443

Family Applications (1)

Application Number Title Priority Date Filing Date
JP2003359454A Pending JP2004140995A (ja) 2002-10-18 2003-10-20 モーターを停止させるための方法及び装置

Country Status (3)

Country Link
US (1) US7023159B2 (enExample)
EP (1) EP1411626A3 (enExample)
JP (1) JP2004140995A (enExample)

Cited By (2)

* Cited by examiner, † Cited by third party
Publication number Priority date Publication date Assignee Title
WO2014084221A1 (ja) * 2012-11-27 2014-06-05 株式会社マキタ 打ち込み工具
US8833221B2 (en) 2009-10-05 2014-09-16 Makita Corporation Electric power tool

Families Citing this family (519)

* Cited by examiner, † Cited by third party
Publication number Priority date Publication date Assignee Title
US20070084897A1 (en) 2003-05-20 2007-04-19 Shelton Frederick E Iv Articulating surgical stapling instrument incorporating a two-piece e-beam firing mechanism
US9060770B2 (en) 2003-05-20 2015-06-23 Ethicon Endo-Surgery, Inc. Robotically-driven surgical instrument with E-beam driver
US8215531B2 (en) 2004-07-28 2012-07-10 Ethicon Endo-Surgery, Inc. Surgical stapling instrument having a medical substance dispenser
US11896225B2 (en) 2004-07-28 2024-02-13 Cilag Gmbh International Staple cartridge comprising a pan
US11998198B2 (en) 2004-07-28 2024-06-04 Cilag Gmbh International Surgical stapling instrument incorporating a two-piece E-beam firing mechanism
US9072535B2 (en) 2011-05-27 2015-07-07 Ethicon Endo-Surgery, Inc. Surgical stapling instruments with rotatable staple deployment arrangements
NL1028778C2 (nl) * 2005-04-15 2006-10-17 Electrische App Nfabriek Capax Regelschakeling met verminderde belasting voor een overbruggingsschakelaar.
US9554803B2 (en) 2005-07-26 2017-01-31 Ethicon Endo-Surgery, Llc Electrically self-powered surgical instrument with manual release
US8573462B2 (en) * 2006-05-19 2013-11-05 Ethicon Endo-Surgery, Inc. Electrical surgical instrument with optimized power supply and drive
US10314583B2 (en) 2005-07-26 2019-06-11 Ethicon Llc Electrically self-powered surgical instrument with manual release
US9662116B2 (en) 2006-05-19 2017-05-30 Ethicon, Llc Electrically self-powered surgical instrument with cryptographic identification of interchangeable part
US7959050B2 (en) * 2005-07-26 2011-06-14 Ethicon Endo-Surgery, Inc Electrically self-powered surgical instrument with manual release
US8627995B2 (en) 2006-05-19 2014-01-14 Ethicon Endo-Sugery, Inc. Electrically self-powered surgical instrument with cryptographic identification of interchangeable part
US7479608B2 (en) 2006-05-19 2009-01-20 Ethicon Endo-Surgery, Inc. Force switch
US8579176B2 (en) 2005-07-26 2013-11-12 Ethicon Endo-Surgery, Inc. Surgical stapling and cutting device and method for using the device
US8627993B2 (en) * 2007-02-12 2014-01-14 Ethicon Endo-Surgery, Inc. Active braking electrical surgical instrument and method for braking such an instrument
US11751873B2 (en) 2005-07-26 2023-09-12 Cilag Gmbh International Electrically powered surgical instrument with manual release
US7934630B2 (en) 2005-08-31 2011-05-03 Ethicon Endo-Surgery, Inc. Staple cartridges for forming staples having differing formed staple heights
US11246590B2 (en) 2005-08-31 2022-02-15 Cilag Gmbh International Staple cartridge including staple drivers having different unfired heights
US11484312B2 (en) 2005-08-31 2022-11-01 Cilag Gmbh International Staple cartridge comprising a staple driver arrangement
US9237891B2 (en) 2005-08-31 2016-01-19 Ethicon Endo-Surgery, Inc. Robotically-controlled surgical stapling devices that produce formed staples having different lengths
US10159482B2 (en) 2005-08-31 2018-12-25 Ethicon Llc Fastener cartridge assembly comprising a fixed anvil and different staple heights
US7669746B2 (en) 2005-08-31 2010-03-02 Ethicon Endo-Surgery, Inc. Staple cartridges for forming staples having differing formed staple heights
US7673781B2 (en) 2005-08-31 2010-03-09 Ethicon Endo-Surgery, Inc. Surgical stapling device with staple driver that supports multiple wire diameter staples
US20070106317A1 (en) 2005-11-09 2007-05-10 Shelton Frederick E Iv Hydraulically and electrically actuated articulation joints for surgical instruments
US11278279B2 (en) 2006-01-31 2022-03-22 Cilag Gmbh International Surgical instrument assembly
US20110024477A1 (en) 2009-02-06 2011-02-03 Hall Steven G Driven Surgical Stapler Improvements
US8708213B2 (en) 2006-01-31 2014-04-29 Ethicon Endo-Surgery, Inc. Surgical instrument having a feedback system
US7753904B2 (en) 2006-01-31 2010-07-13 Ethicon Endo-Surgery, Inc. Endoscopic surgical instrument with a handle that can articulate with respect to the shaft
US20110295295A1 (en) 2006-01-31 2011-12-01 Ethicon Endo-Surgery, Inc. Robotically-controlled surgical instrument having recording capabilities
US7845537B2 (en) 2006-01-31 2010-12-07 Ethicon Endo-Surgery, Inc. Surgical instrument having recording capabilities
US11793518B2 (en) 2006-01-31 2023-10-24 Cilag Gmbh International Powered surgical instruments with firing system lockout arrangements
US8186555B2 (en) 2006-01-31 2012-05-29 Ethicon Endo-Surgery, Inc. Motor-driven surgical cutting and fastening instrument with mechanical closure system
US11224427B2 (en) 2006-01-31 2022-01-18 Cilag Gmbh International Surgical stapling system including a console and retraction assembly
US20120292367A1 (en) 2006-01-31 2012-11-22 Ethicon Endo-Surgery, Inc. Robotically-controlled end effector
US8820603B2 (en) 2006-01-31 2014-09-02 Ethicon Endo-Surgery, Inc. Accessing data stored in a memory of a surgical instrument
US7602137B2 (en) * 2006-02-20 2009-10-13 Black & Decker Inc. Electronically commutated motor and control system
US20070225562A1 (en) 2006-03-23 2007-09-27 Ethicon Endo-Surgery, Inc. Articulating endoscopic accessory channel
US8992422B2 (en) 2006-03-23 2015-03-31 Ethicon Endo-Surgery, Inc. Robotically-controlled endoscopic accessory channel
EP2486863A3 (en) * 2006-05-19 2013-01-09 Ethicon Endo-Surgery, Inc. Electrical surgical instrument
US8322455B2 (en) 2006-06-27 2012-12-04 Ethicon Endo-Surgery, Inc. Manually driven surgical cutting and fastening instrument
JP4375362B2 (ja) * 2006-06-29 2009-12-02 パナソニック電工株式会社 電動工具用スイッチ装置
US10568652B2 (en) 2006-09-29 2020-02-25 Ethicon Llc Surgical staples having attached drivers of different heights and stapling instruments for deploying the same
US10130359B2 (en) 2006-09-29 2018-11-20 Ethicon Llc Method for forming a staple
US20080078802A1 (en) 2006-09-29 2008-04-03 Hess Christopher J Surgical staples and stapling instruments
US11980366B2 (en) 2006-10-03 2024-05-14 Cilag Gmbh International Surgical instrument
US8732896B2 (en) 2006-10-17 2014-05-27 Mtd Products Inc Hybrid electric cleaning device
US7728534B2 (en) 2006-10-17 2010-06-01 Mtd Products Inc Hybrid electric lawnmower
US7479754B2 (en) 2006-10-17 2009-01-20 Desa Ip Llc Hybrid electric lawnmower
WO2008048618A2 (en) 2006-10-17 2008-04-24 Desa Ip. Llc Hybrid electric device
US8652120B2 (en) 2007-01-10 2014-02-18 Ethicon Endo-Surgery, Inc. Surgical instrument with wireless communication between control unit and sensor transponders
US8840603B2 (en) 2007-01-10 2014-09-23 Ethicon Endo-Surgery, Inc. Surgical instrument with wireless communication between control unit and sensor transponders
US11291441B2 (en) 2007-01-10 2022-04-05 Cilag Gmbh International Surgical instrument with wireless communication between control unit and remote sensor
US8684253B2 (en) 2007-01-10 2014-04-01 Ethicon Endo-Surgery, Inc. Surgical instrument with wireless communication between a control unit of a robotic system and remote sensor
US8827133B2 (en) 2007-01-11 2014-09-09 Ethicon Endo-Surgery, Inc. Surgical stapling device having supports for a flexible drive mechanism
US11039836B2 (en) 2007-01-11 2021-06-22 Cilag Gmbh International Staple cartridge for use with a surgical stapling instrument
US20090001121A1 (en) 2007-03-15 2009-01-01 Hess Christopher J Surgical staple having an expandable portion
US7422136B1 (en) 2007-03-15 2008-09-09 Tyco Healthcare Group Lp Powered surgical stapling device
US8893946B2 (en) 2007-03-28 2014-11-25 Ethicon Endo-Surgery, Inc. Laparoscopic tissue thickness and clamp load measuring devices
US8076873B1 (en) 2007-06-01 2011-12-13 Mtd Products Inc Hybrid outdoor power equipment
US11564682B2 (en) 2007-06-04 2023-01-31 Cilag Gmbh International Surgical stapler device
US8931682B2 (en) 2007-06-04 2015-01-13 Ethicon Endo-Surgery, Inc. Robotically-controlled shaft based rotary drive systems for surgical instruments
US7753245B2 (en) 2007-06-22 2010-07-13 Ethicon Endo-Surgery, Inc. Surgical stapling instruments
US11849941B2 (en) 2007-06-29 2023-12-26 Cilag Gmbh International Staple cartridge having staple cavities extending at a transverse angle relative to a longitudinal cartridge axis
AU2012203920B2 (en) * 2007-10-04 2014-08-14 Ethicon Endo-Surgery, Inc. Electrically self-powered surgical instrument with manual release
US8012170B2 (en) 2009-04-27 2011-09-06 Tyco Healthcare Group Lp Device and method for controlling compression of tissue
US10271844B2 (en) 2009-04-27 2019-04-30 Covidien Lp Surgical stapling apparatus employing a predictive stapling algorithm
US8561870B2 (en) 2008-02-13 2013-10-22 Ethicon Endo-Surgery, Inc. Surgical stapling instrument
US8573465B2 (en) 2008-02-14 2013-11-05 Ethicon Endo-Surgery, Inc. Robotically-controlled surgical end effector system with rotary actuated closure systems
US8636736B2 (en) 2008-02-14 2014-01-28 Ethicon Endo-Surgery, Inc. Motorized surgical cutting and fastening instrument
US11986183B2 (en) 2008-02-14 2024-05-21 Cilag Gmbh International Surgical cutting and fastening instrument comprising a plurality of sensors to measure an electrical parameter
US9179912B2 (en) 2008-02-14 2015-11-10 Ethicon Endo-Surgery, Inc. Robotically-controlled motorized surgical cutting and fastening instrument
JP5410110B2 (ja) 2008-02-14 2014-02-05 エシコン・エンド−サージェリィ・インコーポレイテッド Rf電極を有する外科用切断・固定器具
US8758391B2 (en) 2008-02-14 2014-06-24 Ethicon Endo-Surgery, Inc. Interchangeable tools for surgical instruments
US7819298B2 (en) 2008-02-14 2010-10-26 Ethicon Endo-Surgery, Inc. Surgical stapling apparatus with control features operable with one hand
US7866527B2 (en) 2008-02-14 2011-01-11 Ethicon Endo-Surgery, Inc. Surgical stapling apparatus with interlockable firing system
US20090206131A1 (en) 2008-02-15 2009-08-20 Ethicon Endo-Surgery, Inc. End effector coupling arrangements for a surgical cutting and stapling instrument
US9615826B2 (en) 2010-09-30 2017-04-11 Ethicon Endo-Surgery, Llc Multiple thickness implantable layers for surgical stapling devices
US11272927B2 (en) 2008-02-15 2022-03-15 Cilag Gmbh International Layer arrangements for surgical staple cartridges
JP5463014B2 (ja) * 2008-07-04 2014-04-09 株式会社マキタ 電動工具
US7832612B2 (en) 2008-09-19 2010-11-16 Ethicon Endo-Surgery, Inc. Lockout arrangement for a surgical stapler
PL3476312T3 (pl) 2008-09-19 2024-03-11 Ethicon Llc Stapler chirurgiczny z urządzeniem do dopasowania wysokości zszywek
US11648005B2 (en) 2008-09-23 2023-05-16 Cilag Gmbh International Robotically-controlled motorized surgical instrument with an end effector
US8210411B2 (en) 2008-09-23 2012-07-03 Ethicon Endo-Surgery, Inc. Motor-driven surgical cutting instrument
US9005230B2 (en) 2008-09-23 2015-04-14 Ethicon Endo-Surgery, Inc. Motorized surgical instrument
US9386983B2 (en) 2008-09-23 2016-07-12 Ethicon Endo-Surgery, Llc Robotically-controlled motorized surgical instrument
US8608045B2 (en) 2008-10-10 2013-12-17 Ethicon Endo-Sugery, Inc. Powered surgical cutting and stapling apparatus with manually retractable firing system
US8517239B2 (en) 2009-02-05 2013-08-27 Ethicon Endo-Surgery, Inc. Surgical stapling instrument comprising a magnetic element driver
US8444036B2 (en) 2009-02-06 2013-05-21 Ethicon Endo-Surgery, Inc. Motor driven surgical fastener device with mechanisms for adjusting a tissue gap within the end effector
JP2012517287A (ja) 2009-02-06 2012-08-02 エシコン・エンド−サージェリィ・インコーポレイテッド 被駆動式手術用ステープラの改良
US8851354B2 (en) 2009-12-24 2014-10-07 Ethicon Endo-Surgery, Inc. Surgical cutting instrument that analyzes tissue thickness
US8220688B2 (en) 2009-12-24 2012-07-17 Ethicon Endo-Surgery, Inc. Motor-driven surgical cutting instrument with electric actuator directional control assembly
US8608046B2 (en) 2010-01-07 2013-12-17 Ethicon Endo-Surgery, Inc. Test device for a surgical tool
US20120013278A1 (en) * 2010-07-13 2012-01-19 Honeywell International Inc. Resistorless dynamic motor braking system and method
DE102010032335A1 (de) * 2010-07-20 2012-01-26 C. & E. Fein Gmbh Handwerkzeug
US8783543B2 (en) 2010-07-30 2014-07-22 Ethicon Endo-Surgery, Inc. Tissue acquisition arrangements and methods for surgical stapling devices
US9289212B2 (en) 2010-09-17 2016-03-22 Ethicon Endo-Surgery, Inc. Surgical instruments and batteries for surgical instruments
US8632525B2 (en) 2010-09-17 2014-01-21 Ethicon Endo-Surgery, Inc. Power control arrangements for surgical instruments and batteries
US9386988B2 (en) 2010-09-30 2016-07-12 Ethicon End-Surgery, LLC Retainer assembly including a tissue thickness compensator
US11812965B2 (en) 2010-09-30 2023-11-14 Cilag Gmbh International Layer of material for a surgical end effector
US12213666B2 (en) 2010-09-30 2025-02-04 Cilag Gmbh International Tissue thickness compensator comprising layers
US11298125B2 (en) 2010-09-30 2022-04-12 Cilag Gmbh International Tissue stapler having a thickness compensator
US9220501B2 (en) 2010-09-30 2015-12-29 Ethicon Endo-Surgery, Inc. Tissue thickness compensators
US11849952B2 (en) 2010-09-30 2023-12-26 Cilag Gmbh International Staple cartridge comprising staples positioned within a compressible portion thereof
US9216019B2 (en) 2011-09-23 2015-12-22 Ethicon Endo-Surgery, Inc. Surgical stapler with stationary staple drivers
JP5902180B2 (ja) 2010-09-30 2016-04-13 エシコン・エンド−サージェリィ・インコーポレイテッドEthicon Endo−Surgery,Inc. 保持マトリックス及び位置合わせマトリックスを含む、締結システム
US9629814B2 (en) 2010-09-30 2017-04-25 Ethicon Endo-Surgery, Llc Tissue thickness compensator configured to redistribute compressive forces
US9204880B2 (en) 2012-03-28 2015-12-08 Ethicon Endo-Surgery, Inc. Tissue thickness compensator comprising capsules defining a low pressure environment
US9277919B2 (en) 2010-09-30 2016-03-08 Ethicon Endo-Surgery, Llc Tissue thickness compensator comprising fibers to produce a resilient load
US9364233B2 (en) 2010-09-30 2016-06-14 Ethicon Endo-Surgery, Llc Tissue thickness compensators for circular surgical staplers
US9517063B2 (en) 2012-03-28 2016-12-13 Ethicon Endo-Surgery, Llc Movable member for use with a tissue thickness compensator
US9839420B2 (en) 2010-09-30 2017-12-12 Ethicon Llc Tissue thickness compensator comprising at least one medicament
US8740038B2 (en) 2010-09-30 2014-06-03 Ethicon Endo-Surgery, Inc. Staple cartridge comprising a releasable portion
US9861361B2 (en) 2010-09-30 2018-01-09 Ethicon Llc Releasable tissue thickness compensator and fastener cartridge having the same
US10945731B2 (en) 2010-09-30 2021-03-16 Ethicon Llc Tissue thickness compensator comprising controlled release and expansion
US8695866B2 (en) 2010-10-01 2014-04-15 Ethicon Endo-Surgery, Inc. Surgical instrument having a power control circuit
RU2606493C2 (ru) 2011-04-29 2017-01-10 Этикон Эндо-Серджери, Инк. Кассета со скобками, содержащая скобки, расположенные внутри ее сжимаемой части
US8878468B2 (en) * 2011-04-29 2014-11-04 Pratt & Whitney Canada Corp. Electric machine assembly with fail-safe arrangement
EP2525467B1 (en) 2011-05-19 2017-06-21 Black & Decker Inc. Electronic switching module for a power tool
US11207064B2 (en) 2011-05-27 2021-12-28 Cilag Gmbh International Automated end effector component reloading system for use with a robotic system
US9050084B2 (en) 2011-09-23 2015-06-09 Ethicon Endo-Surgery, Inc. Staple cartridge including collapsible deck arrangement
US9044230B2 (en) 2012-02-13 2015-06-02 Ethicon Endo-Surgery, Inc. Surgical cutting and fastening instrument with apparatus for determining cartridge and firing motion status
BR112014024098B1 (pt) 2012-03-28 2021-05-25 Ethicon Endo-Surgery, Inc. cartucho de grampos
JP6305979B2 (ja) 2012-03-28 2018-04-04 エシコン・エンド−サージェリィ・インコーポレイテッドEthicon Endo−Surgery,Inc. 複数の層を含む組織厚さコンペンセーター
MX353040B (es) 2012-03-28 2017-12-18 Ethicon Endo Surgery Inc Unidad retenedora que incluye un compensador de grosor de tejido.
US9101358B2 (en) 2012-06-15 2015-08-11 Ethicon Endo-Surgery, Inc. Articulatable surgical instrument comprising a firing drive
US9289256B2 (en) 2012-06-28 2016-03-22 Ethicon Endo-Surgery, Llc Surgical end effectors having angled tissue-contacting surfaces
BR112014032776B1 (pt) 2012-06-28 2021-09-08 Ethicon Endo-Surgery, Inc Sistema de instrumento cirúrgico e kit cirúrgico para uso com um sistema de instrumento cirúrgico
US9282974B2 (en) 2012-06-28 2016-03-15 Ethicon Endo-Surgery, Llc Empty clip cartridge lockout
US9204879B2 (en) 2012-06-28 2015-12-08 Ethicon Endo-Surgery, Inc. Flexible drive member
US20140001231A1 (en) 2012-06-28 2014-01-02 Ethicon Endo-Surgery, Inc. Firing system lockout arrangements for surgical instruments
US11197671B2 (en) 2012-06-28 2021-12-14 Cilag Gmbh International Stapling assembly comprising a lockout
US12383267B2 (en) 2012-06-28 2025-08-12 Cilag Gmbh International Robotically powered surgical device with manually-actuatable reversing system
US9408606B2 (en) 2012-06-28 2016-08-09 Ethicon Endo-Surgery, Llc Robotically powered surgical device with manually-actuatable reversing system
RU2636861C2 (ru) 2012-06-28 2017-11-28 Этикон Эндо-Серджери, Инк. Блокировка пустой кассеты с клипсами
JP2014148006A (ja) * 2013-02-01 2014-08-21 Makita Corp 電動工具及び携帯用マルノコ
US20140246475A1 (en) 2013-03-01 2014-09-04 Ethicon Endo-Surgery, Inc. Control methods for surgical instruments with removable implement portions
BR112015021098B1 (pt) 2013-03-01 2022-02-15 Ethicon Endo-Surgery, Inc Cobertura para uma junta de articulação e instrumento cirúrgico
RU2669463C2 (ru) 2013-03-01 2018-10-11 Этикон Эндо-Серджери, Инк. Хирургический инструмент с мягким упором
US9351726B2 (en) 2013-03-14 2016-05-31 Ethicon Endo-Surgery, Llc Articulation control system for articulatable surgical instruments
US9629629B2 (en) 2013-03-14 2017-04-25 Ethicon Endo-Surgey, LLC Control systems for surgical instruments
BR112015026109B1 (pt) 2013-04-16 2022-02-22 Ethicon Endo-Surgery, Inc Instrumento cirúrgico
US9867612B2 (en) 2013-04-16 2018-01-16 Ethicon Llc Powered surgical stapler
US9574644B2 (en) 2013-05-30 2017-02-21 Ethicon Endo-Surgery, Llc Power module for use with a surgical instrument
US20150053746A1 (en) 2013-08-23 2015-02-26 Ethicon Endo-Surgery, Inc. Torque optimization for surgical instruments
BR112016003329B1 (pt) 2013-08-23 2021-12-21 Ethicon Endo-Surgery, Llc Instrumento cirúrgico
US9724092B2 (en) 2013-12-23 2017-08-08 Ethicon Llc Modular surgical instruments
US9681870B2 (en) 2013-12-23 2017-06-20 Ethicon Llc Articulatable surgical instruments with separate and distinct closing and firing systems
US9687232B2 (en) 2013-12-23 2017-06-27 Ethicon Llc Surgical staples
US20150173756A1 (en) 2013-12-23 2015-06-25 Ethicon Endo-Surgery, Inc. Surgical cutting and stapling methods
US9642620B2 (en) 2013-12-23 2017-05-09 Ethicon Endo-Surgery, Llc Surgical cutting and stapling instruments with articulatable end effectors
US9839428B2 (en) 2013-12-23 2017-12-12 Ethicon Llc Surgical cutting and stapling instruments with independent jaw control features
US9962161B2 (en) 2014-02-12 2018-05-08 Ethicon Llc Deliverable surgical instrument
US20140166726A1 (en) 2014-02-24 2014-06-19 Ethicon Endo-Surgery, Inc. Staple cartridge including a barbed staple
JP6462004B2 (ja) 2014-02-24 2019-01-30 エシコン エルエルシー 発射部材ロックアウトを備える締結システム
US20150272557A1 (en) 2014-03-26 2015-10-01 Ethicon Endo-Surgery, Inc. Modular surgical instrument system
BR112016021943B1 (pt) 2014-03-26 2022-06-14 Ethicon Endo-Surgery, Llc Instrumento cirúrgico para uso por um operador em um procedimento cirúrgico
US9913642B2 (en) 2014-03-26 2018-03-13 Ethicon Llc Surgical instrument comprising a sensor system
US10201364B2 (en) 2014-03-26 2019-02-12 Ethicon Llc Surgical instrument comprising a rotatable shaft
US12232723B2 (en) 2014-03-26 2025-02-25 Cilag Gmbh International Systems and methods for controlling a segmented circuit
US9733663B2 (en) 2014-03-26 2017-08-15 Ethicon Llc Power management through segmented circuit and variable voltage protection
US10420577B2 (en) 2014-03-31 2019-09-24 Covidien Lp Apparatus and method for tissue thickness sensing
JP6532889B2 (ja) 2014-04-16 2019-06-19 エシコン エルエルシーEthicon LLC 締結具カートリッジ組立体及びステープル保持具カバー配置構成
CN106456158B (zh) 2014-04-16 2019-02-05 伊西康内外科有限责任公司 包括非一致紧固件的紧固件仓
US9801627B2 (en) 2014-09-26 2017-10-31 Ethicon Llc Fastener cartridge for creating a flexible staple line
CN106456176B (zh) 2014-04-16 2019-06-28 伊西康内外科有限责任公司 包括具有不同构型的延伸部的紧固件仓
US9877721B2 (en) 2014-04-16 2018-01-30 Ethicon Llc Fastener cartridge comprising tissue control features
US20150297222A1 (en) 2014-04-16 2015-10-22 Ethicon Endo-Surgery, Inc. Fastener cartridges including extensions having different configurations
US10045781B2 (en) 2014-06-13 2018-08-14 Ethicon Llc Closure lockout systems for surgical instruments
US9757128B2 (en) 2014-09-05 2017-09-12 Ethicon Llc Multiple sensors with one sensor affecting a second sensor's output or interpretation
US11311294B2 (en) 2014-09-05 2022-04-26 Cilag Gmbh International Powered medical device including measurement of closure state of jaws
BR112017004361B1 (pt) 2014-09-05 2023-04-11 Ethicon Llc Sistema eletrônico para um instrumento cirúrgico
US10105142B2 (en) 2014-09-18 2018-10-23 Ethicon Llc Surgical stapler with plurality of cutting elements
US11523821B2 (en) 2014-09-26 2022-12-13 Cilag Gmbh International Method for creating a flexible staple line
MX380639B (es) 2014-09-26 2025-03-12 Ethicon Llc Refuerzos de grapas quirúrgicas y materiales auxiliares.
US10076325B2 (en) 2014-10-13 2018-09-18 Ethicon Llc Surgical stapling apparatus comprising a tissue stop
US9924944B2 (en) 2014-10-16 2018-03-27 Ethicon Llc Staple cartridge comprising an adjunct material
US10517594B2 (en) 2014-10-29 2019-12-31 Ethicon Llc Cartridge assemblies for surgical staplers
US11141153B2 (en) 2014-10-29 2021-10-12 Cilag Gmbh International Staple cartridges comprising driver arrangements
US9844376B2 (en) 2014-11-06 2017-12-19 Ethicon Llc Staple cartridge comprising a releasable adjunct material
CN107530795B (zh) * 2014-11-24 2020-10-23 罗伯特·博世有限公司 用于动力工具的马达制动系统及方法
US10736636B2 (en) 2014-12-10 2020-08-11 Ethicon Llc Articulatable surgical instrument system
US10117649B2 (en) 2014-12-18 2018-11-06 Ethicon Llc Surgical instrument assembly comprising a lockable articulation system
MX389118B (es) 2014-12-18 2025-03-20 Ethicon Llc Instrumento quirurgico con un yunque que puede moverse de manera selectiva sobre un eje discreto no movil con relacion a un cartucho de grapas.
US9987000B2 (en) 2014-12-18 2018-06-05 Ethicon Llc Surgical instrument assembly comprising a flexible articulation system
US9844374B2 (en) 2014-12-18 2017-12-19 Ethicon Llc Surgical instrument systems comprising an articulatable end effector and means for adjusting the firing stroke of a firing member
US9844375B2 (en) 2014-12-18 2017-12-19 Ethicon Llc Drive arrangements for articulatable surgical instruments
US9943309B2 (en) 2014-12-18 2018-04-17 Ethicon Llc Surgical instruments with articulatable end effectors and movable firing beam support arrangements
US10085748B2 (en) 2014-12-18 2018-10-02 Ethicon Llc Locking arrangements for detachable shaft assemblies with articulatable surgical end effectors
US10188385B2 (en) 2014-12-18 2019-01-29 Ethicon Llc Surgical instrument system comprising lockable systems
US11154301B2 (en) 2015-02-27 2021-10-26 Cilag Gmbh International Modular stapling assembly
US10159483B2 (en) 2015-02-27 2018-12-25 Ethicon Llc Surgical apparatus configured to track an end-of-life parameter
US9993258B2 (en) 2015-02-27 2018-06-12 Ethicon Llc Adaptable surgical instrument handle
US10180463B2 (en) 2015-02-27 2019-01-15 Ethicon Llc Surgical apparatus configured to assess whether a performance parameter of the surgical apparatus is within an acceptable performance band
US9901342B2 (en) 2015-03-06 2018-02-27 Ethicon Endo-Surgery, Llc Signal and power communication system positioned on a rotatable shaft
US9924961B2 (en) 2015-03-06 2018-03-27 Ethicon Endo-Surgery, Llc Interactive feedback system for powered surgical instruments
JP2020121162A (ja) 2015-03-06 2020-08-13 エシコン エルエルシーEthicon LLC 測定の安定性要素、クリープ要素、及び粘弾性要素を決定するためのセンサデータの時間依存性評価
US10045776B2 (en) 2015-03-06 2018-08-14 Ethicon Llc Control techniques and sub-processor contained within modular shaft with select control processing from handle
US10245033B2 (en) 2015-03-06 2019-04-02 Ethicon Llc Surgical instrument comprising a lockable battery housing
US10548504B2 (en) 2015-03-06 2020-02-04 Ethicon Llc Overlaid multi sensor radio frequency (RF) electrode system to measure tissue compression
US10441279B2 (en) 2015-03-06 2019-10-15 Ethicon Llc Multiple level thresholds to modify operation of powered surgical instruments
US9993248B2 (en) 2015-03-06 2018-06-12 Ethicon Endo-Surgery, Llc Smart sensors with local signal processing
US10617412B2 (en) 2015-03-06 2020-04-14 Ethicon Llc System for detecting the mis-insertion of a staple cartridge into a surgical stapler
US9808246B2 (en) 2015-03-06 2017-11-07 Ethicon Endo-Surgery, Llc Method of operating a powered surgical instrument
US9895148B2 (en) 2015-03-06 2018-02-20 Ethicon Endo-Surgery, Llc Monitoring speed control and precision incrementing of motor for powered surgical instruments
US10687806B2 (en) 2015-03-06 2020-06-23 Ethicon Llc Adaptive tissue compression techniques to adjust closure rates for multiple tissue types
US10433844B2 (en) 2015-03-31 2019-10-08 Ethicon Llc Surgical instrument with selectively disengageable threaded drive systems
US10052102B2 (en) 2015-06-18 2018-08-21 Ethicon Llc Surgical end effectors with dual cam actuated jaw closing features
US11058425B2 (en) 2015-08-17 2021-07-13 Ethicon Llc Implantable layers for a surgical instrument
MX2022009705A (es) 2015-08-26 2022-11-07 Ethicon Llc Metodo para formar una grapa contra un yunque de un instrumento de engrapado quirurgico.
US10433845B2 (en) 2015-08-26 2019-10-08 Ethicon Llc Surgical staple strips for permitting varying staple properties and enabling easy cartridge loading
JP6858754B2 (ja) 2015-08-26 2021-04-14 エシコン エルエルシーEthicon LLC 様々な組織圧縮用隙間及びステープル成形用隙間を含むステープルカートリッジアセンブリ
RU2725081C2 (ru) 2015-08-26 2020-06-29 ЭТИКОН ЭлЭлСи Полоски с хирургическими скобами, допускающие наличие скоб с переменными свойствами и обеспечивающие простую загрузку кассеты
US10314587B2 (en) 2015-09-02 2019-06-11 Ethicon Llc Surgical staple cartridge with improved staple driver configurations
MX2022006189A (es) 2015-09-02 2022-06-16 Ethicon Llc Configuraciones de grapas quirurgicas con superficies de leva situadas entre porciones que soportan grapas quirurgicas.
US10238386B2 (en) 2015-09-23 2019-03-26 Ethicon Llc Surgical stapler having motor control based on an electrical parameter related to a motor current
US10327769B2 (en) 2015-09-23 2019-06-25 Ethicon Llc Surgical stapler having motor control based on a drive system component
US10363036B2 (en) 2015-09-23 2019-07-30 Ethicon Llc Surgical stapler having force-based motor control
US10085751B2 (en) 2015-09-23 2018-10-02 Ethicon Llc Surgical stapler having temperature-based motor control
TWI540826B (zh) * 2015-09-23 2016-07-01 茂達電子股份有限公司 馬達關機方法及使用其的馬達驅動電路
US10105139B2 (en) 2015-09-23 2018-10-23 Ethicon Llc Surgical stapler having downstream current-based motor control
US10076326B2 (en) 2015-09-23 2018-09-18 Ethicon Llc Surgical stapler having current mirror-based motor control
US10299878B2 (en) 2015-09-25 2019-05-28 Ethicon Llc Implantable adjunct systems for determining adjunct skew
US10172620B2 (en) 2015-09-30 2019-01-08 Ethicon Llc Compressible adjuncts with bonding nodes
US10980539B2 (en) 2015-09-30 2021-04-20 Ethicon Llc Implantable adjunct comprising bonded layers
US11890015B2 (en) 2015-09-30 2024-02-06 Cilag Gmbh International Compressible adjunct with crossing spacer fibers
US20170086829A1 (en) 2015-09-30 2017-03-30 Ethicon Endo-Surgery, Llc Compressible adjunct with intermediate supporting structures
US10494224B2 (en) * 2015-11-02 2019-12-03 Inventio Ag Staggered braking of an elevator
WO2017115594A1 (ja) * 2015-12-28 2017-07-06 日立工機株式会社 電動工具
US10292704B2 (en) 2015-12-30 2019-05-21 Ethicon Llc Mechanisms for compensating for battery pack failure in powered surgical instruments
US10368865B2 (en) 2015-12-30 2019-08-06 Ethicon Llc Mechanisms for compensating for drivetrain failure in powered surgical instruments
US10265068B2 (en) 2015-12-30 2019-04-23 Ethicon Llc Surgical instruments with separable motors and motor control circuits
US10588625B2 (en) 2016-02-09 2020-03-17 Ethicon Llc Articulatable surgical instruments with off-axis firing beam arrangements
US11213293B2 (en) 2016-02-09 2022-01-04 Cilag Gmbh International Articulatable surgical instruments with single articulation link arrangements
BR112018016098B1 (pt) 2016-02-09 2023-02-23 Ethicon Llc Instrumento cirúrgico
US11224426B2 (en) 2016-02-12 2022-01-18 Cilag Gmbh International Mechanisms for compensating for drivetrain failure in powered surgical instruments
US10448948B2 (en) 2016-02-12 2019-10-22 Ethicon Llc Mechanisms for compensating for drivetrain failure in powered surgical instruments
EP3292959B1 (en) 2016-02-12 2021-06-16 Black & Decker Inc. Electronic braking for a power tool having a brushless motor
US10258331B2 (en) 2016-02-12 2019-04-16 Ethicon Llc Mechanisms for compensating for drivetrain failure in powered surgical instruments
US11064997B2 (en) 2016-04-01 2021-07-20 Cilag Gmbh International Surgical stapling instrument
US10617413B2 (en) 2016-04-01 2020-04-14 Ethicon Llc Closure system arrangements for surgical cutting and stapling devices with separate and distinct firing shafts
US10426467B2 (en) 2016-04-15 2019-10-01 Ethicon Llc Surgical instrument with detection sensors
US10357247B2 (en) 2016-04-15 2019-07-23 Ethicon Llc Surgical instrument with multiple program responses during a firing motion
US10492783B2 (en) 2016-04-15 2019-12-03 Ethicon, Llc Surgical instrument with improved stop/start control during a firing motion
US11179150B2 (en) 2016-04-15 2021-11-23 Cilag Gmbh International Systems and methods for controlling a surgical stapling and cutting instrument
US10828028B2 (en) 2016-04-15 2020-11-10 Ethicon Llc Surgical instrument with multiple program responses during a firing motion
US10405859B2 (en) 2016-04-15 2019-09-10 Ethicon Llc Surgical instrument with adjustable stop/start control during a firing motion
US10456137B2 (en) 2016-04-15 2019-10-29 Ethicon Llc Staple formation detection mechanisms
US10335145B2 (en) 2016-04-15 2019-07-02 Ethicon Llc Modular surgical instrument with configurable operating mode
US11607239B2 (en) 2016-04-15 2023-03-21 Cilag Gmbh International Systems and methods for controlling a surgical stapling and cutting instrument
US11317917B2 (en) 2016-04-18 2022-05-03 Cilag Gmbh International Surgical stapling system comprising a lockable firing assembly
US20170296173A1 (en) 2016-04-18 2017-10-19 Ethicon Endo-Surgery, Llc Method for operating a surgical instrument
US10426469B2 (en) 2016-04-18 2019-10-01 Ethicon Llc Surgical instrument comprising a primary firing lockout and a secondary firing lockout
CN109414263B (zh) 2016-06-24 2021-09-10 伊西康有限责任公司 与线钉和冲压钉一起使用的缝合系统
USD847989S1 (en) 2016-06-24 2019-05-07 Ethicon Llc Surgical fastener cartridge
USD826405S1 (en) 2016-06-24 2018-08-21 Ethicon Llc Surgical fastener
US10542979B2 (en) 2016-06-24 2020-01-28 Ethicon Llc Stamped staples and staple cartridges using the same
JP6957532B2 (ja) 2016-06-24 2021-11-02 エシコン エルエルシーEthicon LLC ワイヤステープル及び打ち抜き加工ステープルを含むステープルカートリッジ
USD850617S1 (en) 2016-06-24 2019-06-04 Ethicon Llc Surgical fastener cartridge
US10548673B2 (en) 2016-08-16 2020-02-04 Ethicon Llc Surgical tool with a display
US11196357B1 (en) 2016-08-30 2021-12-07 Uncharted Power, Inc. Fully integrated triboelectric energy harvesting system
US10675026B2 (en) 2016-12-21 2020-06-09 Ethicon Llc Methods of stapling tissue
CN110114003A (zh) 2016-12-21 2019-08-09 爱惜康有限责任公司 外科缝合系统
US20180168648A1 (en) 2016-12-21 2018-06-21 Ethicon Endo-Surgery, Llc Durability features for end effectors and firing assemblies of surgical stapling instruments
US10945727B2 (en) 2016-12-21 2021-03-16 Ethicon Llc Staple cartridge with deformable driver retention features
US10667809B2 (en) 2016-12-21 2020-06-02 Ethicon Llc Staple cartridge and staple cartridge channel comprising windows defined therein
US10617414B2 (en) 2016-12-21 2020-04-14 Ethicon Llc Closure member arrangements for surgical instruments
US11134942B2 (en) 2016-12-21 2021-10-05 Cilag Gmbh International Surgical stapling instruments and staple-forming anvils
US10758230B2 (en) 2016-12-21 2020-09-01 Ethicon Llc Surgical instrument with primary and safety processors
US10779823B2 (en) 2016-12-21 2020-09-22 Ethicon Llc Firing member pin angle
US20180168615A1 (en) 2016-12-21 2018-06-21 Ethicon Endo-Surgery, Llc Method of deforming staples from two different types of staple cartridges with the same surgical stapling instrument
US10426471B2 (en) 2016-12-21 2019-10-01 Ethicon Llc Surgical instrument with multiple failure response modes
US10993715B2 (en) 2016-12-21 2021-05-04 Ethicon Llc Staple cartridge comprising staples with different clamping breadths
US11191539B2 (en) 2016-12-21 2021-12-07 Cilag Gmbh International Shaft assembly comprising a manually-operable retraction system for use with a motorized surgical instrument system
US10517595B2 (en) 2016-12-21 2019-12-31 Ethicon Llc Jaw actuated lock arrangements for preventing advancement of a firing member in a surgical end effector unless an unfired cartridge is installed in the end effector
US11684367B2 (en) 2016-12-21 2023-06-27 Cilag Gmbh International Stepped assembly having and end-of-life indicator
CN110099619B (zh) 2016-12-21 2022-07-15 爱惜康有限责任公司 用于外科端部执行器和可替换工具组件的闭锁装置
US10898186B2 (en) 2016-12-21 2021-01-26 Ethicon Llc Staple forming pocket arrangements comprising primary sidewalls and pocket sidewalls
CN110087565A (zh) 2016-12-21 2019-08-02 爱惜康有限责任公司 外科缝合系统
US10687810B2 (en) 2016-12-21 2020-06-23 Ethicon Llc Stepped staple cartridge with tissue retention and gap setting features
US10568625B2 (en) 2016-12-21 2020-02-25 Ethicon Llc Staple cartridges and arrangements of staples and staple cavities therein
US10835247B2 (en) 2016-12-21 2020-11-17 Ethicon Llc Lockout arrangements for surgical end effectors
US10624635B2 (en) 2016-12-21 2020-04-21 Ethicon Llc Firing members with non-parallel jaw engagement features for surgical end effectors
JP7086963B2 (ja) 2016-12-21 2022-06-20 エシコン エルエルシー エンドエフェクタロックアウト及び発射アセンブリロックアウトを備える外科用器具システム
JP7010957B2 (ja) 2016-12-21 2022-01-26 エシコン エルエルシー ロックアウトを備えるシャフトアセンブリ
US11419606B2 (en) 2016-12-21 2022-08-23 Cilag Gmbh International Shaft assembly comprising a clutch configured to adapt the output of a rotary firing member to two different systems
US10888322B2 (en) 2016-12-21 2021-01-12 Ethicon Llc Surgical instrument comprising a cutting member
JP7010956B2 (ja) 2016-12-21 2022-01-26 エシコン エルエルシー 組織をステープル留めする方法
US10469018B2 (en) * 2017-05-03 2019-11-05 Blount, Inc. Power modulating motor control method
US10608501B2 (en) 2017-05-24 2020-03-31 Black & Decker Inc. Variable-speed input unit having segmented pads for a power tool
USD879809S1 (en) 2017-06-20 2020-03-31 Ethicon Llc Display panel with changeable graphical user interface
US11090046B2 (en) 2017-06-20 2021-08-17 Cilag Gmbh International Systems and methods for controlling displacement member motion of a surgical stapling and cutting instrument
US10888321B2 (en) 2017-06-20 2021-01-12 Ethicon Llc Systems and methods for controlling velocity of a displacement member of a surgical stapling and cutting instrument
USD879808S1 (en) 2017-06-20 2020-03-31 Ethicon Llc Display panel with graphical user interface
US10368864B2 (en) 2017-06-20 2019-08-06 Ethicon Llc Systems and methods for controlling displaying motor velocity for a surgical instrument
US10779820B2 (en) 2017-06-20 2020-09-22 Ethicon Llc Systems and methods for controlling motor speed according to user input for a surgical instrument
US10813639B2 (en) 2017-06-20 2020-10-27 Ethicon Llc Closed loop feedback control of motor velocity of a surgical stapling and cutting instrument based on system conditions
US10646220B2 (en) 2017-06-20 2020-05-12 Ethicon Llc Systems and methods for controlling displacement member velocity for a surgical instrument
US11382638B2 (en) 2017-06-20 2022-07-12 Cilag Gmbh International Closed loop feedback control of motor velocity of a surgical stapling and cutting instrument based on measured time over a specified displacement distance
US11517325B2 (en) 2017-06-20 2022-12-06 Cilag Gmbh International Closed loop feedback control of motor velocity of a surgical stapling and cutting instrument based on measured displacement distance traveled over a specified time interval
US10881396B2 (en) 2017-06-20 2021-01-05 Ethicon Llc Surgical instrument with variable duration trigger arrangement
US10980537B2 (en) 2017-06-20 2021-04-20 Ethicon Llc Closed loop feedback control of motor velocity of a surgical stapling and cutting instrument based on measured time over a specified number of shaft rotations
US10624633B2 (en) 2017-06-20 2020-04-21 Ethicon Llc Systems and methods for controlling motor velocity of a surgical stapling and cutting instrument
US10390841B2 (en) 2017-06-20 2019-08-27 Ethicon Llc Control of motor velocity of a surgical stapling and cutting instrument based on angle of articulation
US12490980B2 (en) 2017-06-20 2025-12-09 Cilag Gmbh International Surgical instrument having controllable articulation velocity
US11653914B2 (en) 2017-06-20 2023-05-23 Cilag Gmbh International Systems and methods for controlling motor velocity of a surgical stapling and cutting instrument according to articulation angle of end effector
US10307170B2 (en) 2017-06-20 2019-06-04 Ethicon Llc Method for closed loop control of motor velocity of a surgical stapling and cutting instrument
USD890784S1 (en) 2017-06-20 2020-07-21 Ethicon Llc Display panel with changeable graphical user interface
US10881399B2 (en) 2017-06-20 2021-01-05 Ethicon Llc Techniques for adaptive control of motor velocity of a surgical stapling and cutting instrument
US10327767B2 (en) 2017-06-20 2019-06-25 Ethicon Llc Control of motor velocity of a surgical stapling and cutting instrument based on angle of articulation
US11071554B2 (en) 2017-06-20 2021-07-27 Cilag Gmbh International Closed loop feedback control of motor velocity of a surgical stapling and cutting instrument based on magnitude of velocity error measurements
US10993716B2 (en) 2017-06-27 2021-05-04 Ethicon Llc Surgical anvil arrangements
US11324503B2 (en) 2017-06-27 2022-05-10 Cilag Gmbh International Surgical firing member arrangements
US10631859B2 (en) 2017-06-27 2020-04-28 Ethicon Llc Articulation systems for surgical instruments
US10856869B2 (en) 2017-06-27 2020-12-08 Ethicon Llc Surgical anvil arrangements
US11266405B2 (en) 2017-06-27 2022-03-08 Cilag Gmbh International Surgical anvil manufacturing methods
US10772629B2 (en) 2017-06-27 2020-09-15 Ethicon Llc Surgical anvil arrangements
US10211586B2 (en) 2017-06-28 2019-02-19 Ethicon Llc Surgical shaft assemblies with watertight housings
US10765427B2 (en) 2017-06-28 2020-09-08 Ethicon Llc Method for articulating a surgical instrument
US10716614B2 (en) 2017-06-28 2020-07-21 Ethicon Llc Surgical shaft assemblies with slip ring assemblies with increased contact pressure
USD869655S1 (en) 2017-06-28 2019-12-10 Ethicon Llc Surgical fastener cartridge
US10903685B2 (en) 2017-06-28 2021-01-26 Ethicon Llc Surgical shaft assemblies with slip ring assemblies forming capacitive channels
USD854151S1 (en) 2017-06-28 2019-07-16 Ethicon Llc Surgical instrument shaft
USD851762S1 (en) 2017-06-28 2019-06-18 Ethicon Llc Anvil
US11564686B2 (en) 2017-06-28 2023-01-31 Cilag Gmbh International Surgical shaft assemblies with flexible interfaces
EP4070740B1 (en) 2017-06-28 2025-03-26 Cilag GmbH International Surgical instrument comprising selectively actuatable rotatable couplers
USD906355S1 (en) 2017-06-28 2020-12-29 Ethicon Llc Display screen or portion thereof with a graphical user interface for a surgical instrument
US11058424B2 (en) 2017-06-28 2021-07-13 Cilag Gmbh International Surgical instrument comprising an offset articulation joint
US11246592B2 (en) 2017-06-28 2022-02-15 Cilag Gmbh International Surgical instrument comprising an articulation system lockable to a frame
US10588633B2 (en) 2017-06-28 2020-03-17 Ethicon Llc Surgical instruments with open and closable jaws and axially movable firing member that is initially parked in close proximity to the jaws prior to firing
US11259805B2 (en) 2017-06-28 2022-03-01 Cilag Gmbh International Surgical instrument comprising firing member supports
US10932772B2 (en) 2017-06-29 2021-03-02 Ethicon Llc Methods for closed loop velocity control for robotic surgical instrument
US10398434B2 (en) 2017-06-29 2019-09-03 Ethicon Llc Closed loop velocity control of closure member for robotic surgical instrument
US10258418B2 (en) 2017-06-29 2019-04-16 Ethicon Llc System for controlling articulation forces
US10898183B2 (en) 2017-06-29 2021-01-26 Ethicon Llc Robotic surgical instrument with closed loop feedback techniques for advancement of closure member during firing
US11007022B2 (en) 2017-06-29 2021-05-18 Ethicon Llc Closed loop velocity control techniques based on sensed tissue parameters for robotic surgical instrument
US11304695B2 (en) 2017-08-03 2022-04-19 Cilag Gmbh International Surgical system shaft interconnection
US11944300B2 (en) 2017-08-03 2024-04-02 Cilag Gmbh International Method for operating a surgical system bailout
US11471155B2 (en) 2017-08-03 2022-10-18 Cilag Gmbh International Surgical system bailout
US11974742B2 (en) 2017-08-03 2024-05-07 Cilag Gmbh International Surgical system comprising an articulation bailout
USD907648S1 (en) 2017-09-29 2021-01-12 Ethicon Llc Display screen or portion thereof with animated graphical user interface
US11399829B2 (en) 2017-09-29 2022-08-02 Cilag Gmbh International Systems and methods of initiating a power shutdown mode for a surgical instrument
US10743872B2 (en) 2017-09-29 2020-08-18 Ethicon Llc System and methods for controlling a display of a surgical instrument
US10729501B2 (en) 2017-09-29 2020-08-04 Ethicon Llc Systems and methods for language selection of a surgical instrument
US10796471B2 (en) 2017-09-29 2020-10-06 Ethicon Llc Systems and methods of displaying a knife position for a surgical instrument
USD917500S1 (en) 2017-09-29 2021-04-27 Ethicon Llc Display screen or portion thereof with graphical user interface
USD907647S1 (en) 2017-09-29 2021-01-12 Ethicon Llc Display screen or portion thereof with animated graphical user interface
US10765429B2 (en) 2017-09-29 2020-09-08 Ethicon Llc Systems and methods for providing alerts according to the operational state of a surgical instrument
US11090075B2 (en) 2017-10-30 2021-08-17 Cilag Gmbh International Articulation features for surgical end effector
US11134944B2 (en) 2017-10-30 2021-10-05 Cilag Gmbh International Surgical stapler knife motion controls
US10779903B2 (en) 2017-10-31 2020-09-22 Ethicon Llc Positive shaft rotation lock activated by jaw closure
US10842490B2 (en) 2017-10-31 2020-11-24 Ethicon Llc Cartridge body design with force reduction based on firing completion
US11006955B2 (en) 2017-12-15 2021-05-18 Ethicon Llc End effectors with positive jaw opening features for use with adapters for electromechanical surgical instruments
US10828033B2 (en) 2017-12-15 2020-11-10 Ethicon Llc Handheld electromechanical surgical instruments with improved motor control arrangements for positioning components of an adapter coupled thereto
US11033267B2 (en) 2017-12-15 2021-06-15 Ethicon Llc Systems and methods of controlling a clamping member firing rate of a surgical instrument
US10743874B2 (en) 2017-12-15 2020-08-18 Ethicon Llc Sealed adapters for use with electromechanical surgical instruments
US10779825B2 (en) 2017-12-15 2020-09-22 Ethicon Llc Adapters with end effector position sensing and control arrangements for use in connection with electromechanical surgical instruments
US10966718B2 (en) 2017-12-15 2021-04-06 Ethicon Llc Dynamic clamping assemblies with improved wear characteristics for use in connection with electromechanical surgical instruments
US10687813B2 (en) 2017-12-15 2020-06-23 Ethicon Llc Adapters with firing stroke sensing arrangements for use in connection with electromechanical surgical instruments
US10869666B2 (en) 2017-12-15 2020-12-22 Ethicon Llc Adapters with control systems for controlling multiple motors of an electromechanical surgical instrument
US10743875B2 (en) 2017-12-15 2020-08-18 Ethicon Llc Surgical end effectors with jaw stiffener arrangements configured to permit monitoring of firing member
US11197670B2 (en) 2017-12-15 2021-12-14 Cilag Gmbh International Surgical end effectors with pivotal jaws configured to touch at their respective distal ends when fully closed
US10779826B2 (en) 2017-12-15 2020-09-22 Ethicon Llc Methods of operating surgical end effectors
US11071543B2 (en) 2017-12-15 2021-07-27 Cilag Gmbh International Surgical end effectors with clamping assemblies configured to increase jaw aperture ranges
US10716565B2 (en) 2017-12-19 2020-07-21 Ethicon Llc Surgical instruments with dual articulation drivers
US10729509B2 (en) 2017-12-19 2020-08-04 Ethicon Llc Surgical instrument comprising closure and firing locking mechanism
US11045270B2 (en) 2017-12-19 2021-06-29 Cilag Gmbh International Robotic attachment comprising exterior drive actuator
USD910847S1 (en) 2017-12-19 2021-02-16 Ethicon Llc Surgical instrument assembly
US10835330B2 (en) 2017-12-19 2020-11-17 Ethicon Llc Method for determining the position of a rotatable jaw of a surgical instrument attachment assembly
US11020112B2 (en) 2017-12-19 2021-06-01 Ethicon Llc Surgical tools configured for interchangeable use with different controller interfaces
US11311290B2 (en) 2017-12-21 2022-04-26 Cilag Gmbh International Surgical instrument comprising an end effector dampener
US12336705B2 (en) 2017-12-21 2025-06-24 Cilag Gmbh International Continuous use self-propelled stapling instrument
US11076853B2 (en) 2017-12-21 2021-08-03 Cilag Gmbh International Systems and methods of displaying a knife position during transection for a surgical instrument
US11129680B2 (en) 2017-12-21 2021-09-28 Cilag Gmbh International Surgical instrument comprising a projector
US10682134B2 (en) 2017-12-21 2020-06-16 Ethicon Llc Continuous use self-propelled stapling instrument
TWI730281B (zh) 2018-01-03 2021-06-11 美商米沃奇電子工具公司 電動工具中之電子制動技術
EP3588525B1 (en) 2018-06-28 2022-02-16 Black & Decker Inc. Electronic switch module with oppositely-arranged power switches and discrete heat sinks
US20200054321A1 (en) 2018-08-20 2020-02-20 Ethicon Llc Surgical instruments with progressive jaw closure arrangements
US11324501B2 (en) 2018-08-20 2022-05-10 Cilag Gmbh International Surgical stapling devices with improved closure members
USD914878S1 (en) 2018-08-20 2021-03-30 Ethicon Llc Surgical instrument anvil
US11207065B2 (en) 2018-08-20 2021-12-28 Cilag Gmbh International Method for fabricating surgical stapler anvils
US11045192B2 (en) 2018-08-20 2021-06-29 Cilag Gmbh International Fabricating techniques for surgical stapler anvils
US10779821B2 (en) 2018-08-20 2020-09-22 Ethicon Llc Surgical stapler anvils with tissue stop features configured to avoid tissue pinch
US10856870B2 (en) 2018-08-20 2020-12-08 Ethicon Llc Switching arrangements for motor powered articulatable surgical instruments
US11083458B2 (en) 2018-08-20 2021-08-10 Cilag Gmbh International Powered surgical instruments with clutching arrangements to convert linear drive motions to rotary drive motions
US11039834B2 (en) 2018-08-20 2021-06-22 Cilag Gmbh International Surgical stapler anvils with staple directing protrusions and tissue stability features
US10912559B2 (en) 2018-08-20 2021-02-09 Ethicon Llc Reinforced deformable anvil tip for surgical stapler anvil
US11253256B2 (en) 2018-08-20 2022-02-22 Cilag Gmbh International Articulatable motor powered surgical instruments with dedicated articulation motor arrangements
US10842492B2 (en) 2018-08-20 2020-11-24 Ethicon Llc Powered articulatable surgical instruments with clutching and locking arrangements for linking an articulation drive system to a firing drive system
US11291440B2 (en) 2018-08-20 2022-04-05 Cilag Gmbh International Method for operating a powered articulatable surgical instrument
US11147551B2 (en) 2019-03-25 2021-10-19 Cilag Gmbh International Firing drive arrangements for surgical systems
US11172929B2 (en) 2019-03-25 2021-11-16 Cilag Gmbh International Articulation drive arrangements for surgical systems
US11147553B2 (en) 2019-03-25 2021-10-19 Cilag Gmbh International Firing drive arrangements for surgical systems
US11696761B2 (en) 2019-03-25 2023-07-11 Cilag Gmbh International Firing drive arrangements for surgical systems
US11432816B2 (en) 2019-04-30 2022-09-06 Cilag Gmbh International Articulation pin for a surgical instrument
US11253254B2 (en) 2019-04-30 2022-02-22 Cilag Gmbh International Shaft rotation actuator on a surgical instrument
US11903581B2 (en) 2019-04-30 2024-02-20 Cilag Gmbh International Methods for stapling tissue using a surgical instrument
US11452528B2 (en) 2019-04-30 2022-09-27 Cilag Gmbh International Articulation actuators for a surgical instrument
US11471157B2 (en) 2019-04-30 2022-10-18 Cilag Gmbh International Articulation control mapping for a surgical instrument
US11648009B2 (en) 2019-04-30 2023-05-16 Cilag Gmbh International Rotatable jaw tip for a surgical instrument
US11426251B2 (en) 2019-04-30 2022-08-30 Cilag Gmbh International Articulation directional lights on a surgical instrument
CN114097172A (zh) 2019-06-10 2022-02-25 米沃奇电动工具公司 使用可选择性连接的电阻的马达制动
US11291451B2 (en) 2019-06-28 2022-04-05 Cilag Gmbh International Surgical instrument with battery compatibility verification functionality
US11051807B2 (en) 2019-06-28 2021-07-06 Cilag Gmbh International Packaging assembly including a particulate trap
US11399837B2 (en) 2019-06-28 2022-08-02 Cilag Gmbh International Mechanisms for motor control adjustments of a motorized surgical instrument
US11219455B2 (en) 2019-06-28 2022-01-11 Cilag Gmbh International Surgical instrument including a lockout key
US11426167B2 (en) 2019-06-28 2022-08-30 Cilag Gmbh International Mechanisms for proper anvil attachment surgical stapling head assembly
US11638587B2 (en) 2019-06-28 2023-05-02 Cilag Gmbh International RFID identification systems for surgical instruments
US11376098B2 (en) 2019-06-28 2022-07-05 Cilag Gmbh International Surgical instrument system comprising an RFID system
US11298132B2 (en) 2019-06-28 2022-04-12 Cilag GmbH Inlernational Staple cartridge including a honeycomb extension
US11298127B2 (en) 2019-06-28 2022-04-12 Cilag GmbH Interational Surgical stapling system having a lockout mechanism for an incompatible cartridge
US11246678B2 (en) 2019-06-28 2022-02-15 Cilag Gmbh International Surgical stapling system having a frangible RFID tag
US11684434B2 (en) 2019-06-28 2023-06-27 Cilag Gmbh International Surgical RFID assemblies for instrument operational setting control
US11627959B2 (en) 2019-06-28 2023-04-18 Cilag Gmbh International Surgical instruments including manual and powered system lockouts
US11497492B2 (en) 2019-06-28 2022-11-15 Cilag Gmbh International Surgical instrument including an articulation lock
US11259803B2 (en) 2019-06-28 2022-03-01 Cilag Gmbh International Surgical stapling system having an information encryption protocol
US11553971B2 (en) 2019-06-28 2023-01-17 Cilag Gmbh International Surgical RFID assemblies for display and communication
US11224497B2 (en) 2019-06-28 2022-01-18 Cilag Gmbh International Surgical systems with multiple RFID tags
US11771419B2 (en) 2019-06-28 2023-10-03 Cilag Gmbh International Packaging for a replaceable component of a surgical stapling system
US12004740B2 (en) 2019-06-28 2024-06-11 Cilag Gmbh International Surgical stapling system having an information decryption protocol
US11478241B2 (en) 2019-06-28 2022-10-25 Cilag Gmbh International Staple cartridge including projections
US11523822B2 (en) 2019-06-28 2022-12-13 Cilag Gmbh International Battery pack including a circuit interrupter
US11350938B2 (en) 2019-06-28 2022-06-07 Cilag Gmbh International Surgical instrument comprising an aligned rfid sensor
US11660163B2 (en) 2019-06-28 2023-05-30 Cilag Gmbh International Surgical system with RFID tags for updating motor assembly parameters
US11464601B2 (en) 2019-06-28 2022-10-11 Cilag Gmbh International Surgical instrument comprising an RFID system for tracking a movable component
JP7381322B2 (ja) * 2019-12-17 2023-11-15 川崎重工業株式会社 ロボット、人型ロボットおよびロボットの倒れ制御方法
US11446029B2 (en) 2019-12-19 2022-09-20 Cilag Gmbh International Staple cartridge comprising projections extending from a curved deck surface
US11291447B2 (en) 2019-12-19 2022-04-05 Cilag Gmbh International Stapling instrument comprising independent jaw closing and staple firing systems
US11464512B2 (en) 2019-12-19 2022-10-11 Cilag Gmbh International Staple cartridge comprising a curved deck surface
US11234698B2 (en) 2019-12-19 2022-02-01 Cilag Gmbh International Stapling system comprising a clamp lockout and a firing lockout
US11701111B2 (en) 2019-12-19 2023-07-18 Cilag Gmbh International Method for operating a surgical stapling instrument
US11931033B2 (en) 2019-12-19 2024-03-19 Cilag Gmbh International Staple cartridge comprising a latch lockout
US11844520B2 (en) 2019-12-19 2023-12-19 Cilag Gmbh International Staple cartridge comprising driver retention members
US11304696B2 (en) 2019-12-19 2022-04-19 Cilag Gmbh International Surgical instrument comprising a powered articulation system
US11607219B2 (en) 2019-12-19 2023-03-21 Cilag Gmbh International Staple cartridge comprising a detachable tissue cutting knife
US11576672B2 (en) 2019-12-19 2023-02-14 Cilag Gmbh International Surgical instrument comprising a closure system including a closure member and an opening member driven by a drive screw
US11559304B2 (en) 2019-12-19 2023-01-24 Cilag Gmbh International Surgical instrument comprising a rapid closure mechanism
US11529137B2 (en) 2019-12-19 2022-12-20 Cilag Gmbh International Staple cartridge comprising driver retention members
US11504122B2 (en) 2019-12-19 2022-11-22 Cilag Gmbh International Surgical instrument comprising a nested firing member
US12035913B2 (en) 2019-12-19 2024-07-16 Cilag Gmbh International Staple cartridge comprising a deployable knife
US11911032B2 (en) 2019-12-19 2024-02-27 Cilag Gmbh International Staple cartridge comprising a seating cam
US11529139B2 (en) 2019-12-19 2022-12-20 Cilag Gmbh International Motor driven surgical instrument
USD976401S1 (en) 2020-06-02 2023-01-24 Cilag Gmbh International Staple cartridge
USD974560S1 (en) 2020-06-02 2023-01-03 Cilag Gmbh International Staple cartridge
USD975850S1 (en) 2020-06-02 2023-01-17 Cilag Gmbh International Staple cartridge
USD975278S1 (en) 2020-06-02 2023-01-10 Cilag Gmbh International Staple cartridge
USD966512S1 (en) 2020-06-02 2022-10-11 Cilag Gmbh International Staple cartridge
USD975851S1 (en) 2020-06-02 2023-01-17 Cilag Gmbh International Staple cartridge
USD967421S1 (en) 2020-06-02 2022-10-18 Cilag Gmbh International Staple cartridge
US12064107B2 (en) 2020-07-28 2024-08-20 Cilag Gmbh International Articulatable surgical instruments with articulation joints comprising flexible exoskeleton arrangements
US11517390B2 (en) 2020-10-29 2022-12-06 Cilag Gmbh International Surgical instrument comprising a limited travel switch
US11931025B2 (en) 2020-10-29 2024-03-19 Cilag Gmbh International Surgical instrument comprising a releasable closure drive lock
US12053175B2 (en) 2020-10-29 2024-08-06 Cilag Gmbh International Surgical instrument comprising a stowed closure actuator stop
US11779330B2 (en) 2020-10-29 2023-10-10 Cilag Gmbh International Surgical instrument comprising a jaw alignment system
US11534259B2 (en) 2020-10-29 2022-12-27 Cilag Gmbh International Surgical instrument comprising an articulation indicator
USD1013170S1 (en) 2020-10-29 2024-01-30 Cilag Gmbh International Surgical instrument assembly
US11717289B2 (en) 2020-10-29 2023-08-08 Cilag Gmbh International Surgical instrument comprising an indicator which indicates that an articulation drive is actuatable
US11452526B2 (en) 2020-10-29 2022-09-27 Cilag Gmbh International Surgical instrument comprising a staged voltage regulation start-up system
US11896217B2 (en) 2020-10-29 2024-02-13 Cilag Gmbh International Surgical instrument comprising an articulation lock
US11617577B2 (en) 2020-10-29 2023-04-04 Cilag Gmbh International Surgical instrument comprising a sensor configured to sense whether an articulation drive of the surgical instrument is actuatable
USD980425S1 (en) 2020-10-29 2023-03-07 Cilag Gmbh International Surgical instrument assembly
US11844518B2 (en) 2020-10-29 2023-12-19 Cilag Gmbh International Method for operating a surgical instrument
US11653920B2 (en) 2020-12-02 2023-05-23 Cilag Gmbh International Powered surgical instruments with communication interfaces through sterile barrier
US12471982B2 (en) 2020-12-02 2025-11-18 Cilag Gmbh International Method for tissue treatment by surgical instrument
US11944296B2 (en) 2020-12-02 2024-04-02 Cilag Gmbh International Powered surgical instruments with external connectors
US11678882B2 (en) 2020-12-02 2023-06-20 Cilag Gmbh International Surgical instruments with interactive features to remedy incidental sled movements
US11849943B2 (en) 2020-12-02 2023-12-26 Cilag Gmbh International Surgical instrument with cartridge release mechanisms
US11737751B2 (en) 2020-12-02 2023-08-29 Cilag Gmbh International Devices and methods of managing energy dissipated within sterile barriers of surgical instrument housings
US11627960B2 (en) 2020-12-02 2023-04-18 Cilag Gmbh International Powered surgical instruments with smart reload with separately attachable exteriorly mounted wiring connections
US11890010B2 (en) 2020-12-02 2024-02-06 Cllag GmbH International Dual-sided reinforced reload for surgical instruments
US11653915B2 (en) 2020-12-02 2023-05-23 Cilag Gmbh International Surgical instruments with sled location detection and adjustment features
US11744581B2 (en) 2020-12-02 2023-09-05 Cilag Gmbh International Powered surgical instruments with multi-phase tissue treatment
US12047028B2 (en) 2020-12-15 2024-07-23 Snap-On Incorporated Method of braking a power tool
US11730473B2 (en) 2021-02-26 2023-08-22 Cilag Gmbh International Monitoring of manufacturing life-cycle
US11812964B2 (en) 2021-02-26 2023-11-14 Cilag Gmbh International Staple cartridge comprising a power management circuit
US11793514B2 (en) 2021-02-26 2023-10-24 Cilag Gmbh International Staple cartridge comprising sensor array which may be embedded in cartridge body
US11749877B2 (en) 2021-02-26 2023-09-05 Cilag Gmbh International Stapling instrument comprising a signal antenna
US11950777B2 (en) 2021-02-26 2024-04-09 Cilag Gmbh International Staple cartridge comprising an information access control system
US12324580B2 (en) 2021-02-26 2025-06-10 Cilag Gmbh International Method of powering and communicating with a staple cartridge
US11950779B2 (en) 2021-02-26 2024-04-09 Cilag Gmbh International Method of powering and communicating with a staple cartridge
US11744583B2 (en) 2021-02-26 2023-09-05 Cilag Gmbh International Distal communication array to tune frequency of RF systems
US11696757B2 (en) 2021-02-26 2023-07-11 Cilag Gmbh International Monitoring of internal systems to detect and track cartridge motion status
US11925349B2 (en) 2021-02-26 2024-03-12 Cilag Gmbh International Adjustment to transfer parameters to improve available power
US11980362B2 (en) 2021-02-26 2024-05-14 Cilag Gmbh International Surgical instrument system comprising a power transfer coil
US11751869B2 (en) 2021-02-26 2023-09-12 Cilag Gmbh International Monitoring of multiple sensors over time to detect moving characteristics of tissue
US11723657B2 (en) 2021-02-26 2023-08-15 Cilag Gmbh International Adjustable communication based on available bandwidth and power capacity
US11701113B2 (en) 2021-02-26 2023-07-18 Cilag Gmbh International Stapling instrument comprising a separate power antenna and a data transfer antenna
US12108951B2 (en) 2021-02-26 2024-10-08 Cilag Gmbh International Staple cartridge comprising a sensing array and a temperature control system
US11806011B2 (en) 2021-03-22 2023-11-07 Cilag Gmbh International Stapling instrument comprising tissue compression systems
US11717291B2 (en) 2021-03-22 2023-08-08 Cilag Gmbh International Staple cartridge comprising staples configured to apply different tissue compression
US11826042B2 (en) 2021-03-22 2023-11-28 Cilag Gmbh International Surgical instrument comprising a firing drive including a selectable leverage mechanism
US11759202B2 (en) 2021-03-22 2023-09-19 Cilag Gmbh International Staple cartridge comprising an implantable layer
US11737749B2 (en) 2021-03-22 2023-08-29 Cilag Gmbh International Surgical stapling instrument comprising a retraction system
US11826012B2 (en) 2021-03-22 2023-11-28 Cilag Gmbh International Stapling instrument comprising a pulsed motor-driven firing rack
US11723658B2 (en) 2021-03-22 2023-08-15 Cilag Gmbh International Staple cartridge comprising a firing lockout
US11944336B2 (en) 2021-03-24 2024-04-02 Cilag Gmbh International Joint arrangements for multi-planar alignment and support of operational drive shafts in articulatable surgical instruments
US11832816B2 (en) 2021-03-24 2023-12-05 Cilag Gmbh International Surgical stapling assembly comprising nonplanar staples and planar staples
US11793516B2 (en) 2021-03-24 2023-10-24 Cilag Gmbh International Surgical staple cartridge comprising longitudinal support beam
US11849944B2 (en) 2021-03-24 2023-12-26 Cilag Gmbh International Drivers for fastener cartridge assemblies having rotary drive screws
US11896219B2 (en) 2021-03-24 2024-02-13 Cilag Gmbh International Mating features between drivers and underside of a cartridge deck
US11786243B2 (en) 2021-03-24 2023-10-17 Cilag Gmbh International Firing members having flexible portions for adapting to a load during a surgical firing stroke
US11896218B2 (en) 2021-03-24 2024-02-13 Cilag Gmbh International Method of using a powered stapling device
US11786239B2 (en) 2021-03-24 2023-10-17 Cilag Gmbh International Surgical instrument articulation joint arrangements comprising multiple moving linkage features
US11857183B2 (en) 2021-03-24 2024-01-02 Cilag Gmbh International Stapling assembly components having metal substrates and plastic bodies
US11849945B2 (en) 2021-03-24 2023-12-26 Cilag Gmbh International Rotary-driven surgical stapling assembly comprising eccentrically driven firing member
US12102323B2 (en) 2021-03-24 2024-10-01 Cilag Gmbh International Rotary-driven surgical stapling assembly comprising a floatable component
US11744603B2 (en) 2021-03-24 2023-09-05 Cilag Gmbh International Multi-axis pivot joints for surgical instruments and methods for manufacturing same
US11903582B2 (en) 2021-03-24 2024-02-20 Cilag Gmbh International Leveraging surfaces for cartridge installation
US11723662B2 (en) 2021-05-28 2023-08-15 Cilag Gmbh International Stapling instrument comprising an articulation control display
US12239317B2 (en) 2021-10-18 2025-03-04 Cilag Gmbh International Anvil comprising an arrangement of forming pockets proximal to tissue stop
US11877745B2 (en) 2021-10-18 2024-01-23 Cilag Gmbh International Surgical stapling assembly having longitudinally-repeating staple leg clusters
US11957337B2 (en) 2021-10-18 2024-04-16 Cilag Gmbh International Surgical stapling assembly with offset ramped drive surfaces
US11980363B2 (en) 2021-10-18 2024-05-14 Cilag Gmbh International Row-to-row staple array variations
US12432790B2 (en) 2021-10-28 2025-09-30 Cilag Gmbh International Method and device for transmitting UART communications over a security short range wireless communication
US12089841B2 (en) 2021-10-28 2024-09-17 Cilag CmbH International Staple cartridge identification systems
US11937816B2 (en) 2021-10-28 2024-03-26 Cilag Gmbh International Electrical lead arrangements for surgical instruments
CN114285327A (zh) * 2021-12-29 2022-04-05 惠州市惠莱特光电科技有限公司 一种电机快速放电急停电路
US12459154B2 (en) * 2022-07-11 2025-11-04 Black & Decker Inc. Cordless saw having improved cuts per battery charge
US12497972B2 (en) 2023-11-21 2025-12-16 Asia Vital Components Co., Ltd. Fan brake circuit

Family Cites Families (98)

* Cited by examiner, † Cited by third party
Publication number Priority date Publication date Assignee Title
US3611092A (en) * 1970-02-17 1971-10-05 Atomic Energy Commission Electronically switched dynamic brake for a dc motor
US3732475A (en) * 1971-06-28 1973-05-08 Tektronix Inc Motor control circuit
JPS4979000A (enExample) 1972-12-07 1974-07-30
JPS5032423A (enExample) 1973-07-28 1975-03-29
JPS547045B2 (enExample) * 1973-10-12 1979-04-03
CH617274A4 (enExample) 1974-05-07 1976-04-30
JPS5840436B2 (ja) 1975-09-10 1983-09-06 キヤノン株式会社 フィルム巻上げ装置
JPS52156326A (en) 1976-06-22 1977-12-26 Canon Inc Electronic governor
JPS536815A (en) 1976-07-09 1978-01-21 Fuji Electric Co Ltd Circuit for operating dc motor
JPS5335116A (en) 1976-09-10 1978-04-01 Matsushita Electric Works Ltd Switching circuit for devices utilizing motors
US4144482A (en) 1977-04-07 1979-03-13 Beckman Instruments, Inc. Dynamic brake circuit for motor
JPS5437214A (en) 1977-08-29 1979-03-19 Ando Giichi Device for controlling motor of motor driving apparatus
JPS55117480A (en) 1979-03-01 1980-09-09 Brother Ind Ltd Protecting device for electric motor controlling switch
JPS5660750A (en) 1979-10-22 1981-05-25 Niles Parts Co Ltd Transistor-driven intermittent wiper
EP0038214A3 (en) * 1980-04-15 1982-06-09 Technical Operations Limited Pulse control circuit for permanent magnet d.c. motor
JPS5727791A (en) 1980-07-29 1982-02-15 Ricoh Co Ltd Electronic recording mimeographic paper
JPS57170084A (en) 1981-04-10 1982-10-20 Nippon Kogaku Kk <Nikon> Control unit of motor
JPS5815473A (ja) 1981-07-17 1983-01-28 Tokyo Electric Co Ltd Dcモ−タ駆動回路
JPS5831791A (ja) 1981-08-20 1983-02-24 Sumitomo Chem Co Ltd 記録紙
JPS58175980A (ja) 1982-04-05 1983-10-15 Mamiya Koki Kk モ−タ急停止装置
JPS58190290A (ja) 1982-04-27 1983-11-07 Fuji Xerox Co Ltd 直流モ−タ制御装置
DE3324483A1 (de) 1983-07-07 1985-01-24 Peter Dipl.-Ing. 7000 Stuttgart Schmidt Anordnung zur weichen bremsung beweglicher teile
JPS6046785A (ja) 1983-08-22 1985-03-13 Secoh Giken Inc 回生制動電流による直流電動機の定速制御装置
DD234254A1 (de) 1985-01-29 1986-03-26 Beimler Lokomotivbau Schaltungsanordnung fuer den elektrischen bremsbetrieb von gleichstrommaschinen
JPS61292619A (ja) 1985-06-21 1986-12-23 Fuji Photo Optical Co Ltd ロ−タリ−シヤツタ停止装置
JPS61295885A (ja) 1985-06-24 1986-12-26 Matsushita Electric Ind Co Ltd 直流モ−タの制動装置
JPS6253189A (ja) 1985-08-30 1987-03-07 Fujikura Ltd 直流モ−タの制動回路
DE3539841C3 (de) 1985-09-04 1994-02-24 Schroecker Rainer Widerstandsbremseinrichtung für einen Reihenschluß-Kommutatormotor
JPS6339482A (ja) 1986-08-05 1988-02-19 Tokyo Electric Co Ltd 直流モ−タ駆動回路
JPS6359213A (ja) 1986-08-29 1988-03-15 Toshiba Corp パルス幅変調回路
DE3636555A1 (de) 1986-10-28 1988-05-11 Schroecker Rainer Schaltungsanordnung zum bremsen eines kollektormotors
JPS62254679A (ja) 1987-04-21 1987-11-06 Max Co Ltd 電動ホツチキス
AT391384B (de) 1987-11-02 1990-09-25 Walter Gottlieb Ing Toriser Elektrischer antrieb mit nutzbremse
US4933609A (en) * 1988-06-23 1990-06-12 Ampex Corporation Dynamic control system for braking DC motors
DE4022637C2 (de) 1990-07-17 1996-07-18 Kopp Heinrich Ag Getaktete Bremsschaltung
SE9002970D0 (sv) 1990-09-18 1990-09-18 Gme System Ab Tvaa- eller fyrkvadrantsdrift av batteridrivna serielindade likstroemsmotorer
JPH04178192A (ja) 1990-11-07 1992-06-25 Omron Corp 直流モータ制御回路
DE4038199A1 (de) 1990-11-30 1992-06-04 Brose Fahrzeugteile Schaltungsanordnung zur begrenzung transienter spannungs- und stromspitzen
JPH04208085A (ja) 1990-11-30 1992-07-29 Omron Corp 直流モータ制御回路
JPH05184174A (ja) 1991-04-04 1993-07-23 Taiheiyo Boeki Kk モータ制御回路
DE4227719C2 (de) 1991-11-29 1996-07-11 Marquardt Gmbh Schaltungsanordnung zum Bremsen eines Stromwendermotors
DE4200983A1 (de) 1992-01-16 1993-07-29 Schroecker Rainer Bremsschaltung fuer kleine universalmotoren
DE4201005C2 (de) 1992-01-16 1995-08-17 Kopp Heinrich Ag Schaltungsanordnung zum netzunabhängigen, aussetzerfreien Bremsen eines Reihenschlußmotors
DE4200996A1 (de) 1992-01-16 1993-07-29 Schroecker Rainer Verlustarme bremsschaltung
DE4200984A1 (de) 1992-01-16 1993-07-29 Schroecker Rainer Bremsschaltung mit verminderter belastung des bremswiderstandes
DE4201023C2 (de) 1992-01-16 1996-05-15 Kopp Heinrich Ag Aussetzerfreie Bremsschaltung für Universalmotoren
DE4207362A1 (de) 1992-03-04 1993-09-09 Elpro Ag Schaltungsanordnung zur notbremsung von gleichstromantrieben
IT1258950B (it) 1992-06-05 1996-03-11 Black & Decker Inc Dispositivo di frenatura controllata per motori elettrici, in particolare di utensili portatili
DE4223216A1 (de) 1992-07-15 1994-01-20 Bosch Gmbh Robert Sicherheitseinrichtung für Elektromotoren
DE4232402C5 (de) * 1992-09-26 2005-10-27 Marquardt Gmbh Bremsschaltung für einen Elektromotor
DE4235774A1 (de) 1992-10-23 1994-04-28 Marquardt Gmbh Verfahren für den Betrieb eines elektrisch bremsbaren Elektromotors und zugehörige Bremsschaltung
DE4317782C2 (de) * 1993-05-28 1996-01-18 Jungheinrich Ag Hydraulische Hubvorrichtung für batteriegetriebene Flurförderzeuge oder dergleichen
DE4333064A1 (de) 1993-09-29 1995-03-30 Scintilla Ag Bremsschaltung für einen Universalmotor
JP3554039B2 (ja) * 1993-10-05 2004-08-11 ヒュンダイ エレクトロニクス アメリカ ディスクドライブ装置
US5598082A (en) * 1993-11-10 1997-01-28 Intermec Corporation Replaceable trigger switch for battery operated device
DE4429962C2 (de) 1994-08-24 1997-02-06 Atlas Copco Elektrowerkzeuge Handgeführtes Elektrowerkzeug mit einem Gleichstrommotor und mit einer Bremsschaltung
US5659231A (en) * 1994-09-30 1997-08-19 Allen-Bradley Company, Inc. Brake for DC brushless motor
JP3346910B2 (ja) * 1994-10-03 2002-11-18 本田技研工業株式会社 電動車両用電源装置
DE19508880A1 (de) * 1995-03-11 1996-09-12 Bosch Gmbh Robert Schaltung zum Betreiben eines Elektromotors
DE19515335A1 (de) 1995-04-26 1996-10-31 Festo Tooltechnic Kg Bremseinrichtung für einen Reihenschluß-Kommutatormotor
DE19540740C1 (de) 1995-05-06 1996-08-08 Hans Hermann Rottmerhusen Bremsschaltung für einen Reihenschlußmotor
JPH0923688A (ja) 1995-06-29 1997-01-21 Sgs Thomson Microelectron Inc ブラシレスdcモータ用パワーダウン制動ラッチ
US5913373A (en) 1995-12-05 1999-06-22 Forrest; Kenneth Roy Dual-pole, dual-wheel personal towing vehicle
US6170241B1 (en) 1996-04-26 2001-01-09 Tecumseh Products Company Microprocessor controlled motor controller with current limiting protection
CA2176263C (en) * 1996-05-10 2000-11-07 Gottfried J. Gutsche Method and device for speed control of an ac motor
US6548973B1 (en) 1997-01-15 2003-04-15 Texas Instruments Incorporated Method and apparatus for braking a polyphase DC motor
US6118241A (en) * 1997-11-25 2000-09-12 Kollmorgen Corporation Dynamic braking system for electric motors
JP3511879B2 (ja) 1998-01-27 2004-03-29 松下電工株式会社 モータ制御装置
DE19818756A1 (de) 1998-04-27 1999-11-04 Honsel M H Beteiligungs Gmbh Nietsetzgerät
US5892885A (en) 1998-05-12 1999-04-06 Eaton Corporation Variable speed control switch for direct current electric power tools
AU4334699A (en) * 1998-06-05 1999-12-20 Milwaukee Electric Tool Corporation Braking and control circuit for electric power tools
US6160368A (en) * 1998-06-22 2000-12-12 Western Digital Corporation Faster spin-down operation in a disk drive by utilizing pulsed braking
US6232758B1 (en) * 1998-08-03 2001-05-15 Denso Corporation Load drive control apparatus
US6084366A (en) 1998-08-20 2000-07-04 Nuell, Inc. DC powered hand tools with automatic braking system
DE19937786A1 (de) 1998-08-22 2000-02-24 Marquardt Gmbh Elektrischer Schalter
US6078156A (en) * 1998-10-02 2000-06-20 Eastman Kodak Company Method and apparatus for improved electronic braking of a DC motor
FR2787946B1 (fr) * 1998-12-23 2001-03-23 Valeo Equip Electr Moteur Dispositif pour la commande d'un demarreur de vehicule automobile
ATE221273T1 (de) * 1999-01-07 2002-08-15 Metabowerke Gmbh Netzbremseinrichtung für ein elektrohandwerkzeug
JP2001016893A (ja) * 1999-04-28 2001-01-19 Keyence Corp 直流モータ駆動装置
US6536536B1 (en) 1999-04-29 2003-03-25 Stephen F. Gass Power tools
US6188192B1 (en) * 1999-07-30 2001-02-13 Texas Instruments Incorporated Spindle motor back-EMF synchronous rectifier
DE19959785C2 (de) 1999-12-07 2002-08-01 Siemens Ag Schaltungsanordnung zur Kurzschlussbremsung eines Gleichstrommotors
US6462506B2 (en) * 1999-12-30 2002-10-08 Textron Inc. Electric golf car with low-speed regenerative braking
ATE284089T1 (de) * 2000-05-08 2004-12-15 Gianpietro Bianchi Elektronische vorrichtung zur steuerung des elektromagnetischen selbstbremsstromes in reversiblen rotierenden elektrischen kommutatormaschinen
US6310452B1 (en) * 2000-06-09 2001-10-30 Tyco Electronics Corp Single cycle positioning system utilizing a DC motor
US6373207B1 (en) * 2000-07-11 2002-04-16 Kalish Inc. Braking system for a DC motor
JP2002145022A (ja) * 2000-11-15 2002-05-22 Yazaki Corp ワイパ制御装置
US20020158593A1 (en) 2001-04-27 2002-10-31 Henderson Jeffery L. Circuit for controlling dynamic braking of a motor shaft in a power tool
DE10134454A1 (de) * 2001-07-16 2003-02-13 Hilti Ag Steuerverfahren und Schaltung zum Abbremsen eines elektronisch kommutierten Elektromotors
US6943510B2 (en) * 2001-08-06 2005-09-13 Black & Decker Inc. Excitation circuit and control method for flux switching motor
JP2003088150A (ja) 2001-09-12 2003-03-20 Auto Network Gijutsu Kenkyusho:Kk モーター駆動回路
JP2003250286A (ja) 2002-02-25 2003-09-05 Toshiba Mach Co Ltd 制御装置
DE10222540A1 (de) 2002-05-17 2003-11-27 Siemens Ag Verfahren zum Betreiben eines Stellantriebs
DE10234397A1 (de) 2002-07-23 2004-01-29 C. & E. Fein Gmbh & Co Kg Gebremster Reihenschlussmotor und Verfahren zum Bremsen eines Reihenschlussmotors
JP3962658B2 (ja) 2002-08-26 2007-08-22 キヤノン株式会社 カメラ、レンズ装置およびカメラシステム
US6741051B2 (en) * 2002-08-30 2004-05-25 Defond Manufacturing Limited Power tool trigger control
US6876163B2 (en) * 2002-10-03 2005-04-05 Visteon Global Technologies, Inc. DC motor having a braking circuit
US6680596B1 (en) * 2002-10-10 2004-01-20 S-B Power Tool Corporation Electric motor having regenerative braking

Cited By (2)

* Cited by examiner, † Cited by third party
Publication number Priority date Publication date Assignee Title
US8833221B2 (en) 2009-10-05 2014-09-16 Makita Corporation Electric power tool
WO2014084221A1 (ja) * 2012-11-27 2014-06-05 株式会社マキタ 打ち込み工具

Also Published As

Publication number Publication date
US7023159B2 (en) 2006-04-04
EP1411626A2 (en) 2004-04-21
US20040075408A1 (en) 2004-04-22
EP1411626A3 (en) 2015-08-19

Similar Documents

Publication Publication Date Title
JP2004140995A (ja) モーターを停止させるための方法及び装置
US7075257B2 (en) Method and device for braking a motor
JP5226915B2 (ja) 過電圧保護回路を備えた制御形の整流器ブリッジ回路
JP2004140995A5 (enExample)
US10898985B2 (en) Power tool
KR20010006312A (ko) 과전류 보호 스위치 모드 전원
CA3009721A1 (en) Energy recycle on power tools
CN105788968A (zh) 用于飞轮接触器电路的系统和方法
US6559625B2 (en) Circuit arrangement and electrical appliance with an inductive load and a buck converter
DE50013647D1 (de) Reihenschlussmotor
ATE306136T1 (de) Elektronisch kommutierter motor
JPH10513637A (ja) 電源回路
KR920004297B1 (ko) 전류 조절회로
JPH07298515A (ja) 車両用交流発電機の制御装置
CN108683374B (zh) 一种励磁轴发系统启停逻辑控制电路和励磁轴发系统
KR100573994B1 (ko) 차량용 발전기의 전압제어장치
US10298218B2 (en) Method and device for controlling an electrical or electronic switching element
US6465985B2 (en) Arrangement including means for displaying a charging state
KR0127682Y1 (ko) 교류발전기용 자동전압조정기의 전압안정화회로
JPH0251242B2 (enExample)
WO1999061193A1 (en) Dual alternator with active control
JPH043553Y2 (enExample)
JP2005304146A (ja) モータの駆動装置
CN116961384A (zh) 一种无源混合功率控制回路与控制方法
JP4823607B2 (ja) 直流安定化電源装置及びこれを用いた電気機器

Legal Events

Date Code Title Description
A521 Request for written amendment filed

Free format text: JAPANESE INTERMEDIATE CODE: A523

Effective date: 20061002

A621 Written request for application examination

Free format text: JAPANESE INTERMEDIATE CODE: A621

Effective date: 20061002

A131 Notification of reasons for refusal

Free format text: JAPANESE INTERMEDIATE CODE: A131

Effective date: 20090728

A02 Decision of refusal

Free format text: JAPANESE INTERMEDIATE CODE: A02

Effective date: 20091222