EP0906458B1 - Vorspinnmaschine mit spulenwechselvorrichtung - Google Patents

Vorspinnmaschine mit spulenwechselvorrichtung Download PDF

Info

Publication number
EP0906458B1
EP0906458B1 EP97934426A EP97934426A EP0906458B1 EP 0906458 B1 EP0906458 B1 EP 0906458B1 EP 97934426 A EP97934426 A EP 97934426A EP 97934426 A EP97934426 A EP 97934426A EP 0906458 B1 EP0906458 B1 EP 0906458B1
Authority
EP
European Patent Office
Prior art keywords
roving
bobbin
flyers
machine
suspended
Prior art date
Legal status (The legal status is an assumption and is not a legal conclusion. Google has not performed a legal analysis and makes no representation as to the accuracy of the status listed.)
Expired - Lifetime
Application number
EP97934426A
Other languages
English (en)
French (fr)
Other versions
EP0906458A1 (de
Inventor
Herbert GRÄSSLE
Hans-Peter Weeger
Current Assignee (The listed assignees may be inaccurate. Google has not performed a legal analysis and makes no representation or warranty as to the accuracy of the list.)
Oerlikon Textile GmbH and Co KG
Original Assignee
Zinser Textilmaschinen GmbH
Priority date (The priority date is an assumption and is not a legal conclusion. Google has not performed a legal analysis and makes no representation as to the accuracy of the date listed.)
Filing date
Publication date
Application filed by Zinser Textilmaschinen GmbH filed Critical Zinser Textilmaschinen GmbH
Publication of EP0906458A1 publication Critical patent/EP0906458A1/de
Application granted granted Critical
Publication of EP0906458B1 publication Critical patent/EP0906458B1/de
Anticipated expiration legal-status Critical
Expired - Lifetime legal-status Critical Current

Links

Images

Classifications

    • DTEXTILES; PAPER
    • D01NATURAL OR MAN-MADE THREADS OR FIBRES; SPINNING
    • D01HSPINNING OR TWISTING
    • D01H9/00Arrangements for replacing or removing bobbins, cores, receptacles, or completed packages at paying-out or take-up stations ; Combination of spinning-winding machine
    • D01H9/02Arrangements for replacing or removing bobbins, cores, receptacles, or completed packages at paying-out or take-up stations ; Combination of spinning-winding machine for removing completed take-up packages and replacing by bobbins, cores, or receptacles at take-up stations; Transferring material between adjacent full and empty take-up elements
    • D01H9/04Doffing arrangements integral with spinning or twisting machines
    • D01H9/046Doffing arrangements integral with spinning or twisting machines for flyer type machines
    • AHUMAN NECESSITIES
    • A41WEARING APPAREL
    • A41DOUTERWEAR; PROTECTIVE GARMENTS; ACCESSORIES
    • A41D31/00Materials specially adapted for outerwear
    • A41D31/04Materials specially adapted for outerwear characterised by special function or use
    • A41D31/08Heat resistant; Fire retardant
    • AHUMAN NECESSITIES
    • A41WEARING APPAREL
    • A41DOUTERWEAR; PROTECTIVE GARMENTS; ACCESSORIES
    • A41D31/00Materials specially adapted for outerwear
    • A41D31/04Materials specially adapted for outerwear characterised by special function or use
    • A41D31/08Heat resistant; Fire retardant
    • A41D31/085Heat resistant; Fire retardant using layered materials
    • AHUMAN NECESSITIES
    • A62LIFE-SAVING; FIRE-FIGHTING
    • A62DCHEMICAL MEANS FOR EXTINGUISHING FIRES OR FOR COMBATING OR PROTECTING AGAINST HARMFUL CHEMICAL AGENTS; CHEMICAL MATERIALS FOR USE IN BREATHING APPARATUS
    • A62D5/00Composition of materials for coverings or clothing affording protection against harmful chemical agents
    • DTEXTILES; PAPER
    • D06TREATMENT OF TEXTILES OR THE LIKE; LAUNDERING; FLEXIBLE MATERIALS NOT OTHERWISE PROVIDED FOR
    • D06MTREATMENT, NOT PROVIDED FOR ELSEWHERE IN CLASS D06, OF FIBRES, THREADS, YARNS, FABRICS, FEATHERS OR FIBROUS GOODS MADE FROM SUCH MATERIALS
    • D06M11/00Treating fibres, threads, yarns, fabrics or fibrous goods made from such materials, with inorganic substances or complexes thereof; Such treatment combined with mechanical treatment, e.g. mercerising
    • D06M11/83Treating fibres, threads, yarns, fabrics or fibrous goods made from such materials, with inorganic substances or complexes thereof; Such treatment combined with mechanical treatment, e.g. mercerising with metals; with metal-generating compounds, e.g. metal carbonyls; Reduction of metal compounds on textiles
    • DTEXTILES; PAPER
    • D06TREATMENT OF TEXTILES OR THE LIKE; LAUNDERING; FLEXIBLE MATERIALS NOT OTHERWISE PROVIDED FOR
    • D06MTREATMENT, NOT PROVIDED FOR ELSEWHERE IN CLASS D06, OF FIBRES, THREADS, YARNS, FABRICS, FEATHERS OR FIBROUS GOODS MADE FROM SUCH MATERIALS
    • D06M15/00Treating fibres, threads, yarns, fabrics, or fibrous goods made from such materials, with macromolecular compounds; Such treatment combined with mechanical treatment
    • D06M15/19Treating fibres, threads, yarns, fabrics, or fibrous goods made from such materials, with macromolecular compounds; Such treatment combined with mechanical treatment with synthetic macromolecular compounds
    • D06M15/21Macromolecular compounds obtained by reactions only involving carbon-to-carbon unsaturated bonds
    • D06M15/244Macromolecular compounds obtained by reactions only involving carbon-to-carbon unsaturated bonds of halogenated hydrocarbons
    • D06M15/256Macromolecular compounds obtained by reactions only involving carbon-to-carbon unsaturated bonds of halogenated hydrocarbons containing fluorine
    • DTEXTILES; PAPER
    • D06TREATMENT OF TEXTILES OR THE LIKE; LAUNDERING; FLEXIBLE MATERIALS NOT OTHERWISE PROVIDED FOR
    • D06MTREATMENT, NOT PROVIDED FOR ELSEWHERE IN CLASS D06, OF FIBRES, THREADS, YARNS, FABRICS, FEATHERS OR FIBROUS GOODS MADE FROM SUCH MATERIALS
    • D06M15/00Treating fibres, threads, yarns, fabrics, or fibrous goods made from such materials, with macromolecular compounds; Such treatment combined with mechanical treatment
    • D06M15/19Treating fibres, threads, yarns, fabrics, or fibrous goods made from such materials, with macromolecular compounds; Such treatment combined with mechanical treatment with synthetic macromolecular compounds
    • D06M15/21Macromolecular compounds obtained by reactions only involving carbon-to-carbon unsaturated bonds
    • D06M15/263Macromolecular compounds obtained by reactions only involving carbon-to-carbon unsaturated bonds of unsaturated carboxylic acids; Salts or esters thereof
    • D06M15/277Macromolecular compounds obtained by reactions only involving carbon-to-carbon unsaturated bonds of unsaturated carboxylic acids; Salts or esters thereof containing fluorine
    • DTEXTILES; PAPER
    • D06TREATMENT OF TEXTILES OR THE LIKE; LAUNDERING; FLEXIBLE MATERIALS NOT OTHERWISE PROVIDED FOR
    • D06MTREATMENT, NOT PROVIDED FOR ELSEWHERE IN CLASS D06, OF FIBRES, THREADS, YARNS, FABRICS, FEATHERS OR FIBROUS GOODS MADE FROM SUCH MATERIALS
    • D06M15/00Treating fibres, threads, yarns, fabrics, or fibrous goods made from such materials, with macromolecular compounds; Such treatment combined with mechanical treatment
    • D06M15/19Treating fibres, threads, yarns, fabrics, or fibrous goods made from such materials, with macromolecular compounds; Such treatment combined with mechanical treatment with synthetic macromolecular compounds
    • D06M15/37Macromolecular compounds obtained otherwise than by reactions only involving carbon-to-carbon unsaturated bonds
    • D06M15/564Polyureas, polyurethanes or other polymers having ureide or urethane links; Precondensation products forming them
    • DTEXTILES; PAPER
    • D06TREATMENT OF TEXTILES OR THE LIKE; LAUNDERING; FLEXIBLE MATERIALS NOT OTHERWISE PROVIDED FOR
    • D06NWALL, FLOOR, OR LIKE COVERING MATERIALS, e.g. LINOLEUM, OILCLOTH, ARTIFICIAL LEATHER, ROOFING FELT, CONSISTING OF A FIBROUS WEB COATED WITH A LAYER OF MACROMOLECULAR MATERIAL; FLEXIBLE SHEET MATERIAL NOT OTHERWISE PROVIDED FOR
    • D06N3/00Artificial leather, oilcloth or other material obtained by covering fibrous webs with macromolecular material, e.g. resins, rubber or derivatives thereof
    • D06N3/0002Artificial leather, oilcloth or other material obtained by covering fibrous webs with macromolecular material, e.g. resins, rubber or derivatives thereof characterised by the substrate
    • DTEXTILES; PAPER
    • D06TREATMENT OF TEXTILES OR THE LIKE; LAUNDERING; FLEXIBLE MATERIALS NOT OTHERWISE PROVIDED FOR
    • D06NWALL, FLOOR, OR LIKE COVERING MATERIALS, e.g. LINOLEUM, OILCLOTH, ARTIFICIAL LEATHER, ROOFING FELT, CONSISTING OF A FIBROUS WEB COATED WITH A LAYER OF MACROMOLECULAR MATERIAL; FLEXIBLE SHEET MATERIAL NOT OTHERWISE PROVIDED FOR
    • D06N7/00Flexible sheet materials not otherwise provided for, e.g. textile threads, filaments, yarns or tow, glued on macromolecular material
    • DTEXTILES; PAPER
    • D06TREATMENT OF TEXTILES OR THE LIKE; LAUNDERING; FLEXIBLE MATERIALS NOT OTHERWISE PROVIDED FOR
    • D06MTREATMENT, NOT PROVIDED FOR ELSEWHERE IN CLASS D06, OF FIBRES, THREADS, YARNS, FABRICS, FEATHERS OR FIBROUS GOODS MADE FROM SUCH MATERIALS
    • D06M2101/00Chemical constitution of the fibres, threads, yarns, fabrics or fibrous goods made from such materials, to be treated
    • D06M2101/16Synthetic fibres, other than mineral fibres
    • D06M2101/30Synthetic polymers consisting of macromolecular compounds obtained otherwise than by reactions only involving carbon-to-carbon unsaturated bonds
    • DTEXTILES; PAPER
    • D10INDEXING SCHEME ASSOCIATED WITH SUBLASSES OF SECTION D, RELATING TO TEXTILES
    • D10BINDEXING SCHEME ASSOCIATED WITH SUBLASSES OF SECTION D, RELATING TO TEXTILES
    • D10B2331/00Fibres made from polymers obtained otherwise than by reactions only involving carbon-to-carbon unsaturated bonds, e.g. polycondensation products
    • D10B2331/02Fibres made from polymers obtained otherwise than by reactions only involving carbon-to-carbon unsaturated bonds, e.g. polycondensation products polyamides
    • D10B2331/021Fibres made from polymers obtained otherwise than by reactions only involving carbon-to-carbon unsaturated bonds, e.g. polycondensation products polyamides aromatic polyamides, e.g. aramides
    • YGENERAL TAGGING OF NEW TECHNOLOGICAL DEVELOPMENTS; GENERAL TAGGING OF CROSS-SECTIONAL TECHNOLOGIES SPANNING OVER SEVERAL SECTIONS OF THE IPC; TECHNICAL SUBJECTS COVERED BY FORMER USPC CROSS-REFERENCE ART COLLECTIONS [XRACs] AND DIGESTS
    • Y10TECHNICAL SUBJECTS COVERED BY FORMER USPC
    • Y10STECHNICAL SUBJECTS COVERED BY FORMER USPC CROSS-REFERENCE ART COLLECTIONS [XRACs] AND DIGESTS
    • Y10S428/00Stock material or miscellaneous articles
    • Y10S428/92Fire or heat protection feature
    • Y10S428/921Fire or flameproofing

Definitions

  • the invention relates to a roving machine with on a wing bench in at least one Row mounted wings and full with a device for automatic replacement Roving bobbins against empty roving tubes in the form of at least one on guide means moveable hanging wagon train with hanging brackets into which the roving bobbins and Roving sleeves by a relative stroke movement between the roving bobbins and the Hanging carriage train can be hooked in, the guide means as each row of wings assigned guide rails are formed and the bobbin of the bobbin and the Guide rails are movable relative to each other so that they are in a common vertical plane come to rest.
  • Such devices are known from DE-A-39 36 518 and US-A-5222350.
  • the guideways are widened Wing bench arranged on the back of the roving machine. So that the coil bank under the transport device can be pushed, the wing bench and that on it mounted drafting system in the spindle area are not supported. You are therefore resting self-supporting on two columns at the beginning and end of the machine.
  • This construction requires a great technical effort.
  • the great distance between wing area and Transport equipment requires long transport times and extends the downtime of the Machine when changing bobbins.
  • JP-A-04352824 the guideways are high above and in front of the roving machine arranged.
  • the transport of the full spools and empty tubes is particularly necessary long time.
  • the object of the invention was accordingly to arrange the guideways in specify the immediate vicinity of the wing, the wing bench in a known manner on one side can be supported. It solves this problem by the features of claims 1 and 2.
  • the embodiment according to claim 1, wherein the guide rails are preferably on the The underside of the wing bench are arranged directly next to the wings, has the advantage that the Guide rails can remain stationary and that there is a particularly short Travel of the coil bank results.
  • it does require the ability to record the Roving bobbins or roving sleeves in the bobbin bank of the roving machine with the arranged between the rows of wings, i.e. standing between these recordings Bring guide rails into a common vertical plane.
  • the coil bank can be designed to be movable by a corresponding distance. But it is also possible to design the wing bench or both units to be displaceable.
  • EP 0310 568 A1 describes a device with vertically movable guide rails known, the bobbin bank for doffing from the spinning area of the roving machine is brought out.
  • a disadvantage of this arrangement is that it is several meters in size Distance between the coil bench and guide rails. This long distance takes a long time Doff times.
  • the embodiment according to claim 2 has the advantage that both the wing bench and the bobbin cannot be displaced transversely to the longitudinal direction of the roving machine have to. the transverse movement is placed here in the guideways. Here also arise very short transport routes and times.
  • Claim 3 represents an advantageous combination of the embodiments of claims 1 and 2 in terms of transverse mobility in that both the guideways and the spindle bank can be displaced transversely to the longitudinal axis of the prespinning machine.
  • the guide rails can be moved straight out of the machine frame. However, they can also be pivoted about axes running along the roving machine be, with two guide rails one axis lies on the machine frame, the other on the front of the leader.
  • the pre-spinning machines which are usually equipped with two rows of wings, are advantageous one of the guide rails between the rows of wings, the other can - from the Looking at the front of the machine - lying in front of or behind the rows of wings.
  • Corresponding the spool bank or the guide rails must move forward when changing or be relocatable to the rear.
  • the spool bank can be moved in that it is horizontal on trusses is led to the raising and lowering of the coil bank when building the coil winding and are movable and on which the bobbin can be moved back and forth. After the rotary drive on the bobbin in the bobbin usually anyway is transmitted by means of cardan shafts, the additional possibility of movement Coil bank no constructive problems.
  • the bobbins are usually guided by spindles that are on the bobbin Coil spindles are arranged.
  • spindles that are on the bobbin
  • Coil spindles are arranged.
  • a machine frame 1 enters Drafting system 2 and a wing bench 3, on which the in two rows arranged wings 4 are rotatably mounted.
  • the wing bench contains the common, not shown drive of the wing.
  • a coil bank 5 is also vertical movably guided, in which the coils 6 are rotatably mounted.
  • the Coil bank 5 contains the common, not shown Driving the coils 6.
  • the spool bank 6 is on several, over the length of the roving machine distributed trusses 7 stored. On these trusses 7 racks 8 are arranged vertically, with which pinions 9 mesh, by the one driving the common shaft of these pinions Motor 10 can be driven to move the bobbin 5 up and down are.
  • the coil bank 5 also back and forth across the longitudinal direction of the roving machine guided in the traverses 7. She points to this Purpose preferably 7 gears 11 on each traverse, in engage the pinion 12 (Fig. le). These pinions 12 sit on a common, extending over the length of the spindle bank 5 Shaft that rotates back and forth via a motor 13 is.
  • Hanging carriage trains 15 can be of common construction and articulated interconnected trolleys are made by means of Run rollers on or in the guide rails 14 and, for example. by means of known friction wheel drives from driven against Side surfaces of the hanging trolley pressing friction rollers are movable.
  • the hanging trolleys carry hanging holders 16, on full roving bobbins 6 or empty roving sleeves 18 can be attached. In the described Embodiment carry the hanging car trains hanging holder 16 in half mutual distance between the wings 4 and 6 coils of the roving machine.
  • Fig. 1a shows the starting position for the replacement of the full Spools 6 in the spool bank 5 of the roving machine against empty ones Sleeves 18.
  • the bobbins 6 are finished, the pre-spinning machine has come to a standstill in a position where the arms the wing 4 stand in the longitudinal direction of the roving machine and in the guide rails 14 are suspension trolley trains 15 with sleeves 18 been retracted. Between those equipped with sleeves 18 Hanging brackets 16 each leave a hanging bracket empty.
  • the coil bank 5 is carried out according to FIG. 1b corresponding control of the motor 10 by the control device 20 via the pinion 9 and the racks 8 according to the Arrows only lowered so far that the upper edges of the coils 6 stand below the hanging bracket 16.
  • the coil bank 5 by appropriate control of the motor 13 via the pinion 12 and the toothing 11 retracted against the roving machine so that the bobbins 6 to stand under empty hanging brackets 16 in the hanging car trains 15 come.
  • the coil bank 5 is raised again according to FIG. 1d, until the coils 6 latch into this hanging holder 16.
  • the bobbin 5 is lowered so far according to FIG. 1e that the Coil spindles 19 allow the hanging trolley trains 15 to be moved, to hangers 16 equipped with sleeves 18 over the spool spindles 19 to bring.
  • the coil bank 5 is raised again according to FIG. 1f, to release the sleeves 18 from the hangers 16 and to put on the spindles 19.
  • the coil bank 5 By lifting (Fig. 1i) the coil bank 5 is has reached the starting position for restarting the roving machine.
  • the hanging trolley trains 15 with the coils 6 the area the wing 4 have left, the roving machine again start up.
  • FIGS. 2a and 2b An embodiment is shown in FIGS. 2a and 2b, in which the bobbin 5 is not transverse to the longitudinal axis of the roving machine is movable.
  • the relative relocation required of guide rails and spool bank is here in the displaceability the guide rails.
  • the function of the guide rails 14 of FIGS. 1a to 1i corresponding guide rails 21, 22 are movably guided, that they are transverse to the longitudinal direction of the roving machine below the wing 4 in a vertical plane through the wing 4 and the bobbin can be moved in the bobbin 5.
  • the guide rails 21, 22 in a plurality over the length of the guide rails distributed push rods 23, 24 can be moved horizontally back and forth.
  • Moving the Push rods 23, 24 are made by means of teeth 25, 26 on the Push rods and pinions engaging in the toothing 27, 28, which can be driven by motors 29, 30.
  • it can also fluidic (pneumatic or hydraulic) working elements be provided.
  • Fig. 2a shows the starting position for the change process: the coil bank 5 with the coils 6 is lowered, the guide rails 21, 22 are still in the retracted position, in which they Rotation of the wings 4 and the lifting movement of the coil bank 5 are not hinder.
  • a first step of Fig. 2b they are through appropriate control of the motors 29, 30 via the pinion 27, 28 and the teeth 25, 26 moved so far forward that the front guide rail 21 between the rows of coils 6, the rear guide rail 22 just behind the rear row the coils are standing.
  • the sleeves 18 equipped hanging trolley trains 15 so far into the guide rails retracted that their sleeves in gap to the coils 6 and their empty hangers 16 stand next to the coils: Fig. 4a.
  • Fig. 4a shows the starting position for the change process: the coil bank 5 with the coils 6 is lowered, the guide rails 21, 22 are still in the retracted position, in which they Rotation of the wings 4 and the lifting movement of the coil bank 5 are not hinder.
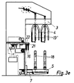
  • Figures 3 a to 3e show an embodiment in which both the coil bank 5 can be moved back and forth, as well as the Guide rails 21, 22 arranged below the wing 4 and on the ways already described are shiftable.
  • the guide rails 21, 22 after lowering and retracting the coil bank 5 from its initial position shown in FIG. 3a by means of motors 29, 30 via pinions 27, 28 and the teeth 25, 26 to different degrees forward between move the rows of lowered coils 6.
  • This position lies in the vertical plane of the wing 4.
  • the distance of the guide rails 21, 22 in the withdrawn Position can be such that in this position already Hanging carriage trains 15 equipped with sleeves 18 can retract.
  • the guide rails 21, 22 also parallel to the longitudinal direction of the roving machine Axes can be pivoted.
  • the sequence of the change process corresponds to that described above.
  • Guide rails 21, 22 are the spindles that guide the coils 19 'advantageously arranged on the wings 4, because otherwise the spool bank 5 can be lowered so far or the wing bank so should be high that the 15 hanging coils 6 and sleeves 18 over the from the coil bank could move towering coil spindles away.

Landscapes

  • Engineering & Computer Science (AREA)
  • Textile Engineering (AREA)
  • Chemical & Material Sciences (AREA)
  • Chemical Kinetics & Catalysis (AREA)
  • Mechanical Engineering (AREA)
  • Health & Medical Sciences (AREA)
  • General Health & Medical Sciences (AREA)
  • Materials Engineering (AREA)
  • Toxicology (AREA)
  • General Chemical & Material Sciences (AREA)
  • Business, Economics & Management (AREA)
  • Emergency Management (AREA)
  • Spinning Or Twisting Of Yarns (AREA)
  • Unwinding Of Filamentary Materials (AREA)
  • Replacing, Conveying, And Pick-Finding For Filamentary Materials (AREA)
  • Looms (AREA)

Description

Die Erfindung betrifft eine Vorspinnmaschine mit an einer Flügelbank in mindestens einer Reihe gelagerten Flügeln und mit einer Einrichtung zum selbsttätigen Auswechseln voller Vorgarnspulen gegen leere Vorgarnhülsen in Form mindestens eines an Führungsmitteln verfahrbaren Hängewagenzuges mit Hängehaltern, in die die Vorgarnspulen und die Vorgarnhülsen durch eine relative Hubbewegung zwischen den Vorgarnspulen und dem Hängewagenzug einhängbar sind, wobei die Führungsmittel als jeder Reihe von Flügeln zugeordnete Führungsschienen ausgebildet sind und die Spulenträger der Spulenbank und die Führungsschienen relativ zueinander so bewegbar sind, daß sie in eine gemeinsame senkrechte Ebene zu liegen kommen.
Derartige Vorrichtungen sind aus der DE-A-39 36 518 und der US-A-5222350 bekannt. Bei diesen Vorspinnmaschinen sind die Führungsbahnen an einer Verbreiterung der Flügelbank auf der Rückseite der Vorspinnmaschine angeordnet. Damit die Spulenbank unter die Transporteinrichtung geschoben werden kann, dürfen die Flügelbank und das darauf montierte Streckwerk im Spindelbereich nicht abgestützt werden. Sie ruhen deshalb freitragend auf zwei Säulen am Maschinenanfang und -ende. Diese Konstruktion erfordert einen großen technischen Aufwand. Die große Entfernung zwischen Flügelbereich und Transporteinrichtung erfordert lange Transportzeiten und verlängert die Stillstandszeit der Maschine beim Spulenwechsel.
In der JP-A-04352824 sind die Führungsbahnen hoch über und vor der Vorspinnmaschine angeordnet. Hier erfordert der Transport der vollen Spulen und der leeren Hülsen besonders lange Zeit.
Der Erfindung war demgemäß die Aufgabe gestellt, eine Anordnung der Führungsbahnen in unmittelbarer Nähe der Flügel anzugeben, wobei die Flügelbank in bekannter Weise einseitig abgestützt werden kann. Sie löst diese Aufgabe durch die Merkmale der Ansprüche 1 und 2.
Die Ausführungsform gemäß Anspruch 1, bei der die Führungsschienen vorzugsweise an der Unterseite der Flügelbank direkt neben den Flügeln angeordnet sind, hat den Vorteil, daß die Führungsschienen ortsfest angeordnet bleiben können und daß sich ein besonders kurzer Verfahrweg der Spulenbank ergibt. Sie erfordert jedoch die Möglichkeit, die Aufnahmen der Vorgarnspulen bzw. Vorgarnhülsen in der Spulenbank der Vorspinnmaschine mit den zwischen den Reihen der Flügel angeordneten, also zwischen diesen Aufnahmen stehenden Führungsschienen in eine gemeinsame senkrecht Ebene zu bringen. In aller Regel wird hierzu die Spulenbank um eine entsprechende Wegstrecke bewegbar ausgebildet werden. Es ist aber auch möglich, die Flügelbank oder beide Aggregate verschiebbar auszubilden.
Aus EP 0310 568 A1 ist eine Vorrichtung mit vertikal beweglichen Führungsschienen bekannt, wobei die Spulenbank zum Doffen aus dem Spinnbereich der Vorspinnmaschine herausgefahren wird. Ein Nachteil dieser Anordnung besteht in dem mehrere Meter großen Abstand zwischen Spulenbank und Führungsschienen. Diese große Distanz erfordert lange Doffzeiten.
Die Ausführungsform gemäß Anspruch 2 hat den Vorteil, daß sowohl die Flügelbank als auch die Spulenbank nicht quer zur Längsrichtung der Vorspinnmaschine verschiebbar sein müssen. die Querbewegung ist hier in die Führungsbahnen gelegt. Auch hier ergeben sich sehr kurze Transportwege und -zeiten.
Anspruch 3 stellt eine vorteilhafte Kombination der Ausführungsformen der Ansprüche 1 und 2 hinsichtlich der Querbewegbarkeit dar, insofern, als sowohl die Führungsbahnen als auch die Spindelbank quer zur Längsachse der Vorspinnmaschine verschiebbar sind.
Die Führungsschienen können geradlinig aus dem Maschinengestell heraus verschiebbar sein. Sie können jedoch auch um längs der Vorspinnmaschine verlaufende Achsen schwenkbar sein, wobei bei zwei Führungsschienen eine Achse am Maschinengestell liegt, die andere an der Vorderseite der Vorspinnmaschine.
Bei den in aller Regel mit zwei Reihen von Flügeln ausgestatteten Vorspinnmaschinen liegt vorteilhaft eine der Führungsschienen zwischen den Flügelreihen, die andere kann - von der Vorderseite der Maschine betrachtet - vor oder hinter den Flügelreihen liegen. Entsprechend muß die Spulenbank oder müssen die Führungsschienen beim Wechselvorgang nach vorn oder nach hinten verlagerbar sein.
Das Verlagern der Spulenbank kann dadurch erfolgen, daß sie auf Traversen waagrecht geführt ist, die zum Heben und Senken der Spulenbank beim Aufbau der Spulenwicklung auf und ab bewegbar sind und auf denen die Spulenbank vor und zurück verschiebbar ist. Nachdem der Drehantrieb auf die Spulenträger in der Spulenbank in aller Regel ohnehin mittels Gelenkwellen übertragen wird, bereitet die zusätzliche Bewegungsmöglichkeit der Spulenbank keine konstruktiven Probleme.
Die Spulen werden in aller Regel durch Spindeln geführt, die auf der Spulenbank als Spulenspindeln angeordnet sind. Bei den Ausführungsformen mit unterhalb der Flügel einfahrbaren Führungsschienen ist es vorteilhaft, die Spindeln in den Flügeln anzubringen, also als Flügelspindeln auszubilden. Hierdurch kann die Bauhöhe vermindert werden.
In den Figuren der Zeichnung ist die Erfindung anhand von schematischen Ausführungsbeispielen erläutert. Es zeigen
Fig. 1a bis 1i
Phasen des Auswechselvorganges in einer ersten Ausführungsform in Querschnitten durch die Vorspinnmaschine;
Fig. 2a und 2b
zwei Phasen des Auswechselvorganges in einer zweiten Ausführungsform in Querschnitten durch die Vorspinnmaschine;
Fig. 3a bis 3e
Phasen einer Variante der Ausführungsform der Fig. 2a bis 2e in gleicher Darstellung;
Fig. 4a und 4b
zwei Stellungen der Ausführungsform der Fig. 2a und 2b in Draufsicht.
In den Figuren der Zeichnung sind nur die wesentlichen, für das Verständnis der vorliegenden Erfindung erforderlichen Teile einer Vorspinnmaschine dargestellt. Ein Maschinengestell 1 trägt ein Streckwerk 2 und eine Flügelbank 3, an der die in zwei Reihen angeordneten Flügel 4 drehbar gelagert sind. Die Flügelbank enthält den geläufigen, nicht näher dargestellten Antrieb der Flügel. Im Maschinengestell 1 ist ferner eine Spulenbank 5 senkrecht bewegbar geführt, in der die Spulen 6 drehbar gelagert sind. Die Spulenbank 5 enthält den geläufigen, nicht näher dargestellten Antrieb der Spulen 6.
Die Spulenbank 6 ist auf mehreren, über die Länge der Vorspinnmaschine verteilten Traversen 7 gelagert. An diesen Traversen 7 sind Zahnstangen 8 vertikal angeordnet, mit denen Ritzel 9 kämmen, die durch einen die gemeinsame Welle dieser Ritzel antreibenden Motor 10 zum Auf-und-Abbewegen der Spulenbank 5 antreibbar sind. Mittels dieser Antriebsvorrichtung kann die Spulenbank in der zum Aufbau der Wicklung auf den Vorgarnspulen erforderlichen Weise relativ zu den Flügeln auf und ab bewegt werden.
In der Ausführungsform der Fig. 1a bis 1i ist die Spulenbank 5 auch quer zur Längsrichtung der Vorspinnmaschine vor und zurück in den Traversen 7 verschiebbar geführt. Sie weist zu diesem Zweck vorzugsweise an jeder Traverse 7 Verzahnungen 11 auf, in die Ritzel 12 eingreifen (Fig. le). Diese Ritzel 12 sitzen auf einer gemeinsamen, sich über die Länge der Spindelbank 5 erstreckenden Welle, die über einen Motor 13 vor und zurück drehbar ist.
An der Unterseite der Flügelbank 3 sind neben den Lagerstellen der Flügel 4 und deren Kopfbereich Führungsschienen 14 angebracht, in denen Hängewagenzüge 15 verfahrbar ist. Diese Hängewagenzüge 15 können von geläufiger Bauart sein und aus gelenkig miteinander verbundenen Hängewagen bestehen, die mittels Laufrollen an oder in den Führungsschienen 14 laufen und bspw. mittels bekannter Reibradantriebe aus angetriebenen, gegen die Seitenflächen der Hängewagen drückenden Reibrollen bewegbar sind. Die Hängewagen tragen Hängehalter 16, an volle Vorgarnspulen 6 oder leere Vorgarnhülsen 18 anhängbar sind. In der beschriebenen Ausführungsform tragen die Hängewagenzüge Hängehalter 16 im halben gegenseitigen Abstand der Flügel 4 und Spulen 6 der Vorspinnmaschine.
Die beim Auswechseln der Spulen 6 gegen Hülsen 18 mitwirkenden Organe der Vorspinnmaschine wie der Antrieb der Flügel, der Motor 10 zum Hubantrieb der Spulenbank 5, der Motor 13 zum Vor- und Zurückschieben der Spulenbank 5 und die Reibradantriebe der Hängewagenzüge 15 sind über eine Steuervorrichtung 20 miteinander verbunden, die das funktionsgerechte Tätigwerden dieser Organe sicherstellt. Die in einer Pfeilspitze endende Wirkungslinie aus der Steuervorrichtung 20 symbolisiert sie Beaufschlagung der nicht im einzelnen dargestellten Arbeitsorgane der Vorspinnmaschine.
Fig. 1a zeigt die Ausgangsposition für das Auswechseln der vollen Spulen 6 in der Spulenbank 5 der Vorspinnmaschine gegen leere Hülsen 18. Die Spulen 6 sind fertiggestellt, die Vorspinnmaschine ist in einer Position zum Stillstand gekommen, in der die Arme der Flügel 4 in Längsrichtung der Vorspinnmaschine stehen und in die Führungsschienen 14 sind Hängewagenzüge 15 mit Hülsen 18 eingefahren worden. Zwischen den mit Hülsen 18 bestückten Hängehaltern 16 ist jeweils ein Hängehalter leer gelassen.
Im nächsten Schritt wird gemäß Fig. 1b die Spulenbank 5 durch entsprechendes Ansteuern des Motors 10 durch die Steuervorrichtung 20 über die Ritzel 9 und die Zahnstangen 8 gemäß den Pfeilen nur so weit abgesenkt, daß die Oberkanten der Spulen 6 unterhalb der Hängehalter 16 stehen. Dann wird gemäß Fig. 1c und dem Pfeil dieser Figur die Spulenbank 5 durch entsprechendes Ansteuern des Motors 13 über die Ritzel 12 und die Verzahnungen 11 gegen die Vorspinnmaschine zurückgezogen, so daß die Spulen 6 unter leeren Hängehaltern 16 in den Hängewagenzügen 15 zu stehen kommen. Sodann wird die Spulenbank 5 gemäß Fig. 1d wieder angehoben, bis die Spulen 6 in diese Hängehalter 16 einklinken. Dann wird die Spulenbank 5 gemäß Fig. 1e so weit abgesenkt, daß die Spulenspindeln 19 ein Verfahren der Hängewagenzüge 15 erlauben, um mit Hülsen 18 bestückte Hängehalter 16 über die Spulenspindeln 19 zu bringen.
Anschließend wird die Spulenbank 5 gemäß Fig. 1f wieder angehoben, um die Hülsen 18 aus den Hängehaltern 16 auszuklinken und auf die Spulenspindeln 19 aufzustecken. Nach Absenken (Fig. 1g) und Vorschieben (Fig. 1h) der Spulenbank 5 stehen die Hülsen 18 in den Flügeln 4. Durch Anheben (Fig. 1i) der Spulenbank 5 wird die Ausgangposition für den Wiederanlauf der Vorspinnmaschine erreicht. Sobald die Hängewagenzüge 15 mit den Spulen 6 den Bereich der Flügel 4 verlassen haben, kann die Vorspinnmaschine wieder anlaufen.
In den Figuren 2a und 2b ist eine Ausführungsform dargestellt, bei der die Spulenbank 5 nicht quer zur Längsachse der Vorspinnmaschine verschiebbar ist. Das erforderliche relative Verlagern von Führungsschienen und Spulenbank ist hier in die Verschiebbarkeit der Führungsschienen verlegt.
Die den Führungsschienen 14 der Fig. 1a bis 1i funktionsmäßig entsprechende Führungsschienen 21, 22 sind derart beweglich geführt, daß sie quer zur Längsrichtung der Vorspinnmaschine unterhalb der Flügel 4 in eine senkrechte Ebene durch die Flügel 4 und die Spulenträger in der Spulenbank 5 verlagert werden können. Hierzu sind - wie insbesondere aus den Figuren 4a und 4b erkennbar - die Führungsschienen 21, 22 an einer Mehrzahl, über die Länge der Führungsschienen verteilten Schubstangen 23, 24 horizontal vor und zurück verschiebbar. Das Verschieben der Schubstangen 23, 24 erfolgt mittels Verzahnungen 25, 26 an den Schubstangen und in die Verzahnungen eingreifender Ritzeln 27, 28, die durch Motoren 29, 30 antreibbar sind. Es können jedoch auch fluidische (pneumatische oder hydraulische) Arbeitselemente vorgesehen sein.
Da die beiden Führungsschienen 21, 22 um unterschiedliche Strecken verschiebbar sein müssen, sind sie jeweils an eigenen, unterschiedlich weit vor und zurück verschiebbaren Schubstangen 23 bzw. 24 befestigt.
Fig. 2a zeigt die Ausgangsstellung zum Wechselvorgang: Die Spulenbank 5 mit den Spulen 6 ist abgesenkt, die Führungsschienen 21, 22 stehen noch in zurückgezogener Stellung, in der sie die Drehung der Flügel 4 und die Hubbewegung der Spulenbank 5 nicht behindern. In einem ersten Schritt der Fig. 2b werden sie durch entsprechendes Ansteuern der Motoren 29, 30 über die Ritzel 27, 28 und die Verzahnungen 25, 26 so weit nach vorn verschoben, daß die vordere Führungsschiene 21 zwischen den Reihen der Spulen 6, die hintere Führungsschiene 22 dicht hinter der hinteren Reihe der Spulen steht. In dieser Stellung werden die mit Hülsen 18 bestückten Hängewagenzüge 15 so weit in die Führungsschienen eingefahren, daß deren Hülsen in Lücke zu den Spulen 6 bzw. deren leere Hängehalter 16 neben den Spulen stehen: Fig. 4a. Im nächsten, in Fig. 4b gezeigten Schritt werden die Führungsschienen 21, 22 weiter nach vorn geschoben, bis die Hängewagenzüge bzw. deren Hängehalter 16 in der Ebene der Flügel 4 und der Spulen stehen. Dabei treten die an den Hängewagenzügen 15 hängenden Hülsen 18 zwischen die auf der Spulenbank 5 stehenden Spulen 6, die in Fig. 4b nicht erkennbaren Hängehalter 16 über die Spulen. Durch funktionsgerechtes Heben und Senken der Spulenbank 5 und Verfahren der Hängewagenzüge 21, 22 können nun ähnlich wie vorher beschrieben die Spulen 6 gegen Hülsen 18 ausgewechselt werden.
Alternativ ist es auch möglich, in nicht dargestelltem Ablauf die Führungsschienen 21, 22 sogleich in die die Flügel 4 und die Spulen 6 enthaltenden Ebenen vorzufahren, unbestückte Hängewagenzüge einzufahren, die Spulen an diese anzuhängen, diese mit den Spulen bestückten Hängewagenzüge auszufahren, mit Hülsen bestückte Hängewagenzüge einzufahren, diese an die Spulenbank abzugeben und die unbestückten Hängewagenzüge wieder auszufahren, bevor die Führungsschienen zurückgezogen und die Spulenbank zum Wiederanlauf der Vorspinnmaschine angehoben wird.
Die Figuren 3 a bis 3e zeigen eine Ausführungsform, bei der sowohl die Spulenbank 5 vor und zurück verschiebbar, als auch die Führungsschienen 21, 22 unterhalb der Flügel 4 angeordnet und auf die schon beschriebene Weise verlagerbar sind. Zum Wechselvorgang werden die Führungsschienen 21, 22 nach Absenken und Zurückziehen der Spulenbank 5 aus ihrer in Fig. 3a dargestellten Ausgangsstellung mittels der Motoren 29, 30 über die Ritzel 27, 28 und die Verzahnungen 25, 26 unterschiedlich weit nach vorn zwischen die Reihen der abgesenkten Spulen 6 verfahren. Diese Stellung liegt in der senkrechten Ebene der Flügel 4. Sodann können die mit Hülsen 18 bestückten Hängewagenzüge 15 einfahren und zwar so weit, daß deren Hülsen in Lücke zu den Spulen 6 bzw. deren leere Hängehalter 16 neben den Spulen stehen: Fig. 3b. Nunmehr können die leeren Hängehalter 16 und die Spulen 6 übereinander gestellt werden, indem die Führungsschienen 21, 22 quer zur Maschinenlängsrichtung entsprechend verschoben werden.
Wenn dies geschehen ist, können durch entsprechende Hub- und Senkbewegungen der Spulenbank 5 die Spulen 18 in die Hängehalter 16 eingeklinkt und damit an die Hängewagenzüge 15 übergeben werden (Fig. 3c), und - nach Verfahren der Hängewagenzüge um den Abstand ihrer Hängehalter - durch erneute entsprechende Hub- und Senkbewegungen der Spulenbank 5 die Hülsen 18 aus den Hängehaltern 16 ausgeklinkt und an die Spulenbank übergeben werden: Fig. 3d.
Nach Herausfahren der Hängewagenzüge 15 aus der Vorspinnmaschine können die Führungsschienen 21, 22 in ihre Ruhestellung zurückgezogen werden (Fig. 3e), worauf die Spulenbank 5 in ihre Ausgangsstellung für das Anspinnen hochgefahren werden kann.
Der Abstand der Führungsschienen 21, 22 in der zurückgezogenen Stellung kann so bemessen sein, daß in dieser Stellung bereits mit Hülsen 18 bestückte Hängewagenzüge 15 einfahren können.
In nicht näher dargestellter Weise können die Führungsschienen 21, 22 auch um zur Längsrichtung der Vorspinnmaschine parallele Achsen schwenkbar gelagert sein. Der Ablauf des Wechselvorganges entspricht dabei den vorstehend beschriebenen.
In den Ausführungsformen mit unterhalb der Flügel 4 einfahrbaren Führungsschienen 21, 22 sind die die Spulen führenden Spindeln 19' vorteilhafterweise an der Flügeln 4 angeordnet, weil andernfalls die Spulenbank 5 so weit absenkbar bzw. die Flügelbank so hoch gelegt sein müßte, daß die an den Hängewagenzügen 15 hängenden Spulen 6 und Hülsen 18 sich über die aus der Spulenbank aufragenden Spulenspindeln hinweg bewegen könnten.
Bezugszahlenliste
1
Maschinengestell
2
Streckwerk
3
Flügelbank
4
Flügel
5
Spulenbank
6
Spulen
7
Traversen
8
Zahnstangen
9
Ritzel   der Traversen 7
10
Motor
11
Verzahnungen
12
Ritzel   der Spulenbank 5
13
Motor
14
Führungsschienen
15
Hängewagenzüge
16
Hängehalter
18
Hülsen
19, 19'
Spulen- bzw. Flügelspindeln
20
Steuervorrichtung
21
innere Führungsschienen
22
äußere Führungsschienen
23, 24
Schubstangen
25, 26
Verzahnungen
27, 28
Ritzel   der Führungsschienen 21, 22
29, 30
Motoren

Claims (3)

  1. Vorspinnmaschine mit an einer Flügelbank in mindestens einer Reihe gelagerten Flügeln und mit einer Einrichtung zum selbsttätigen Auswechseln voller Vorgarnspulen gegen leere Vorgarnhülsen in Form mindestens eines an Führungsmitteln verfahrbaren Hängewagenzuges mit Hängehaltern, in die die Vorgarnspulen und Vorgarnhülsen durch eine relative Hubbewegung zwischen den Vorgarnspulen und dem Hängewagenzug einhängbar sind, wobei die Führungsmittel als jeder Reihe von Flügeln zugeordnete Führungsschienen ausgebildet sind und in Höhe deren Kopfbereiche verlaufen und die Spulenträger der Spulenbank und die Führungsschienen durch Verschieben der Spulenbank (5) auch quer zur Längsrichtung der Vorspinnmaschine (1) in eine gemeinsame senkrechte Ebene bringbar sind, dadurch gekennzeichnet, daß die Führungsschienen (14, 15) ortsfest an der Unterseite der die Flügel (4) lagernden Flügelbank (3) unmittelbar neben der Flügelreihe angeordnet sind, der sie zugeordnet sind. (Fig. 1a bis 1i)
  2. Vorspinnmaschine mit an einer Flügelbank in mindestens einer Reihe gelagerten Flügeln und einer Einrichtung zum selbsttätigen Auswechseln voller Vorgarnspulen gegen leere Vorgarnhülsen in Form mindestens eines an Führungsmitteln verfahrbaren Hängewagenzuges mit Hängehaltern, in die die Vorgarnspulen und Vorgarnhülsen durch eine relative Hubbewegung zwischen den Vorgarnspulen und dem Hängewagenzug einhängbar sind, wobei die Führungsmittel als eine jeweils jeder Reihe von Flügeln zugeordneten Führungsschiene ausgebildet sind, und einer nur senkrecht beweglichen Spulenbank, dadurch gekennzeichnet, daß die Führungsschienen (21, 22) unmittelbar unterhalb der Flügel (4) quer zur Längsrichtung der Vorspinnmaschine (1) in senkrechte Ebenen durch die Spulenträger der Spulenbank (5) verschiebbar sind. (Fig. 2a und 2b, 4a und 4b)
  3. Vorspinnmaschine gemäß Anspruch 2, dadurch gekennzeichnet, daß die Führungsschienen (21,22) unmittelbar unterhalb der Flügel (4) quer zur Längsrichtung der Vorspinnmaschine (1) in senkrechte Ebenen durch die Spulenträger der Spulenbank (5) verschiebbar sind und die Spulenbank (5) auch quer zur Längsrichtung der Vorspinnmaschine (1) verschiebbar ist. (Fig. 3a bis 3e)
EP97934426A 1996-08-03 1997-07-08 Vorspinnmaschine mit spulenwechselvorrichtung Expired - Lifetime EP0906458B1 (de)

Applications Claiming Priority (3)

Application Number Priority Date Filing Date Title
DE19631445 1996-08-03
DE19631445A DE19631445A1 (de) 1996-08-03 1996-08-03 Vorspinnmaschine mit Spulenwechselvorrichtung
PCT/DE1997/001486 WO1998005810A1 (de) 1996-08-03 1997-07-08 Vorspinnmaschine mit spulenwechselvorrichtung

Publications (2)

Publication Number Publication Date
EP0906458A1 EP0906458A1 (de) 1999-04-07
EP0906458B1 true EP0906458B1 (de) 2001-12-12

Family

ID=7801741

Family Applications (1)

Application Number Title Priority Date Filing Date
EP97934426A Expired - Lifetime EP0906458B1 (de) 1996-08-03 1997-07-08 Vorspinnmaschine mit spulenwechselvorrichtung

Country Status (8)

Country Link
US (1) US5970699A (de)
EP (1) EP0906458B1 (de)
JP (1) JP2000508388A (de)
CN (1) CN1090256C (de)
DE (2) DE19631445A1 (de)
ES (1) ES2169867T3 (de)
IT (1) IT1293813B1 (de)
WO (1) WO1998005810A1 (de)

Cited By (1)

* Cited by examiner, † Cited by third party
Publication number Priority date Publication date Assignee Title
CN101153415B (zh) * 2006-09-30 2010-08-18 天津宏大纺织机械有限公司 用于粗纱机的输送导轨系统

Families Citing this family (16)

* Cited by examiner, † Cited by third party
Publication number Priority date Publication date Assignee Title
DE102006024553B4 (de) * 2006-05-23 2008-05-08 Oerlikon Textile Gmbh & Co. Kg Vorspinnmaschine mit selbstständiger Spulenwechselvorrichtung
CN100590239C (zh) * 2006-10-16 2010-02-17 天津宏大纺织机械有限公司 在粗纱机上从锭翼两侧自动取满纱放空管的方法
DE102007007864A1 (de) * 2007-02-14 2008-08-21 Oerlikon Textile Gmbh & Co. Kg Ringspinnmaschine mit Gatter
JP4872788B2 (ja) * 2007-05-09 2012-02-08 株式会社豊田自動織機 粗紡機におけるボビンレール昇降装置
ITMI20072352A1 (it) * 2007-12-17 2009-06-18 Savio Macchine Tessili Spa Dispositivo e procedimento per la levata delle spoledai filatoi ad anello
DE102009035384A1 (de) * 2009-07-30 2011-02-03 Oerlikon Textile Gmbh & Co. Kg Vorspinnmaschine mit Spulenwechseleinrichtung
DE102009035393A1 (de) * 2009-07-30 2011-02-03 Oerlikon Textile Gmbh & Co. Kg Spulenwechseleinrichtung für eine Vorspinnmaschine
CN102330216B (zh) * 2011-06-19 2013-07-03 无锡市新康纺机有限公司 用于粗纱机上的导轨罩壳结合件
CN102373518A (zh) * 2011-10-14 2012-03-14 无锡集聚智能纺织机械有限公司 改装的细纱机导轨机构及其改装方法
CN102493049B (zh) * 2011-12-31 2014-01-29 无锡宏源机电科技有限公司 电脑粗纱机自动落纱控制系统及其使用方法
CN102789175A (zh) * 2012-07-02 2012-11-21 山东宏业纺织股份有限公司 粗纱机精密定长装置控制电路
CN105483875A (zh) * 2016-01-19 2016-04-13 太平洋机电集团上海纺织机械有限公司 粗纱机下龙筋与机架的脱离及复位连接结构及方法
JP6601325B2 (ja) * 2016-06-29 2019-11-06 株式会社豊田自動織機 粗紡機の管替装置
CN106245169A (zh) * 2016-09-28 2016-12-21 青岛国邦工业科技发展有限公司 粗纱机自动落纱装置
CN106757581A (zh) * 2016-12-28 2017-05-31 无锡诚本纺机有限公司 一种带有筒管挂卸机构的上锭杆悬锭锭翼
CN111876865B (zh) * 2020-08-13 2021-10-22 东台远欣机械有限公司 一种捻线机用结构可调式预警装置

Family Cites Families (11)

* Cited by examiner, † Cited by third party
Publication number Priority date Publication date Assignee Title
DE936518C (de) * 1948-10-02 1955-12-15 Siemens Ag Anordnung fuer Traegerfrequenz-Fernsprechuebertragungsanlagen
JPH0663150B2 (ja) * 1985-09-06 1994-08-17 豊和工業株式会社 粗紡機の管替装置
IT1222821B (it) * 1987-10-02 1990-09-12 Marzoli & C Spa Apparecchiatura atta ad effettuare,in modo automatico,il prelievo delle spole e la loro sostituzione con tubi vuoti,su banchi a fusi
DE3936518C2 (de) * 1989-11-02 2001-10-11 Rieter Ag Maschf Vorspinnmaschine
US5222350A (en) * 1990-12-06 1993-06-29 Platt Saco Lowell Corporation Roving frame and method
JP2906735B2 (ja) * 1991-05-27 1999-06-21 株式会社豊田自動織機製作所 粗紡機における玉揚装置
DE4229296A1 (de) * 1992-09-02 1994-03-03 Zinser Textilmaschinen Gmbh Vorspinnmaschine mit einer Einrichtung zum selbsttätigen Auswechseln voller Vorgarnspulen gegen leere Vorgarnhülsen
DE4436277A1 (de) * 1993-10-21 1995-04-27 Rieter Ag Maschf Flyer
DE4406488C1 (de) * 1994-02-28 1995-08-10 Zinser Textilmaschinen Gmbh Vorspinnmaschine
US5797255A (en) * 1994-10-14 1998-08-25 Kabushiki Kaisha Toyoda Jidoshokki Seisakusho Bobbin changing method and apparatus
JP3718274B2 (ja) * 1995-01-27 2005-11-24 ザウラー・ゲゼルシャフト・ミト・ベシュレンクテル・ハフツング・ウント・コンパニー・コマンディトゲゼルシャフト 満粗紡ボビンを空粗紡チューブと自動的に交換するための装置を備えたフライヤ粗紡機

Cited By (1)

* Cited by examiner, † Cited by third party
Publication number Priority date Publication date Assignee Title
CN101153415B (zh) * 2006-09-30 2010-08-18 天津宏大纺织机械有限公司 用于粗纱机的输送导轨系统

Also Published As

Publication number Publication date
US5970699A (en) 1999-10-26
DE59705779D1 (de) 2002-01-24
WO1998005810A1 (de) 1998-02-12
CN1198785A (zh) 1998-11-11
CN1090256C (zh) 2002-09-04
ITMI971870A1 (it) 1999-02-01
IT1293813B1 (it) 1999-03-10
DE19631445A1 (de) 1998-02-05
ES2169867T3 (es) 2002-07-16
JP2000508388A (ja) 2000-07-04
EP0906458A1 (de) 1999-04-07

Similar Documents

Publication Publication Date Title
EP0906458B1 (de) Vorspinnmaschine mit spulenwechselvorrichtung
EP0709501B1 (de) Verfahren zum Kannenwechsel zwischen einem Transportwagen für Flachkannen und einer OE-Spinnmaschine und Transportwagen zur Durchführung des Verfahrens
EP0585827B1 (de) Vorspinnmaschine mit einer Einrichtung zum selbsttätigen Auswechseln voller Vorgarnspulen gegen leere Vorgarnhülsen
EP0062063B1 (de) Spinnmaschine, insbesondere ringspinnmaschine
CH662586A5 (de) Spinnanlage zur herstellung von garn aus vorgarn.
EP0311862B1 (de) Verfahren und Vorrichtung zum Wechseln von Vorgarnspulen an einer Textilmaschine
EP0912781B1 (de) Vorspinnmaschine mit einer vorrichtung zum selbsttätigen auswechseln voller vorgarnspulen gegen leere vorgarnhülsen
DE3146170A1 (de) Gatter
EP0310870A1 (de) Verfahren und Vorrichtung zum Einwechseln von vollen Vorgarnspulen
WO2007134806A1 (de) Vorspinnmaschine mit selbsttätiger spulenwechselvorrichtung
CH687026A5 (de) Verfahren und Vorrichtung zum Ver- und Entsorgen mit Garnkoerpern und Leerhuelsen an Textilmaschinen
DE19505050C2 (de) Transport- und Umsetzsystem zwischen mindestens einer Vorspinnmaschine und einem nachgeordneten Lager- oder Verarbeitungsbereich
DE10130467B4 (de) Anordnung von Service-Positionen für Wartungseinrichtungen an einer Textilmaschine
CH691489A5 (de) Vorspinnmaschine mit einer Vorrichtung zum selbsttätigen Auswechseln voller Vorgarnspulen gegen leere Hülsen.
CH667677A5 (de) Verfahren zum spulenwechsel in einer spinnmaschine.
DE2521370A1 (de) Einrichtung zum selbsttaetigen spulen- oder huelsenwechsel an spinn- oder zwirnmaschinen
DE3876397T2 (de) Vorrichtung zum beschicken von spinnmaschinen mit vorlagespulen.
DE19502586C2 (de) Vorspinnmaschine mit einer Vorrichtung zum selbsttätigen Auswechseln voller Vorgarnspulen gegen leere Hülsen
DE19651783C1 (de) Ringspinnmaschine, mit mindestens einer selbsttätigen Kopswechselvorrichtung
WO2017001297A1 (de) Vorrichtung zum aufnehmen und abtransportieren von gewickelten spulen
DE3246463A1 (de) Bediengeraet, insbesondere fadenansetzgeraet fuer eine ringspinnmaschine
DE4312073C2 (de) Spinnanlage mit einer an einer Kranbahn verfahrbaren Laufkatze zum Aufnehmen und Transportieren von Vorgarnspulen enthaltenden Hängewagenzügen
CH412656A (de) Verfahren und Vorrichtung zum selbsttätigen Kannenwechsel an Spinnereivorbereitungsmaschinen, insbesondere Strecken
DE4445263C2 (de) Transport- und Umsetzsystem für Vorgarnspulen und leere Hülsen
DE4004043C1 (en) Textile machine - comprises winding stations with winding spindle for package(s)

Legal Events

Date Code Title Description
PUAI Public reference made under article 153(3) epc to a published international application that has entered the european phase

Free format text: ORIGINAL CODE: 0009012

17P Request for examination filed

Effective date: 19980401

AK Designated contracting states

Kind code of ref document: A1

Designated state(s): CH DE ES FR IT LI

17Q First examination report despatched

Effective date: 20010202

GRAG Despatch of communication of intention to grant

Free format text: ORIGINAL CODE: EPIDOS AGRA

GRAG Despatch of communication of intention to grant

Free format text: ORIGINAL CODE: EPIDOS AGRA

GRAH Despatch of communication of intention to grant a patent

Free format text: ORIGINAL CODE: EPIDOS IGRA

GRAH Despatch of communication of intention to grant a patent

Free format text: ORIGINAL CODE: EPIDOS IGRA

GRAA (expected) grant

Free format text: ORIGINAL CODE: 0009210

AK Designated contracting states

Kind code of ref document: B1

Designated state(s): CH DE ES FR IT LI

PG25 Lapsed in a contracting state [announced via postgrant information from national office to epo]

Ref country code: IT

Free format text: LAPSE BECAUSE OF FAILURE TO SUBMIT A TRANSLATION OF THE DESCRIPTION OR TO PAY THE FEE WITHIN THE PRE;WARNING: LAPSES OF ITALIAN PATENTS WITH EFFECTIVE DATE BEFORE 2007 MAY HAVE OCCURRED AT ANY TIME BEFORE 2007. THE CORRECT EFFECTIVE DATE MAY BE DIFFERENT FROM THE ONE RECORDED.SCRIBED TIME-LIMIT

Effective date: 20011212

REG Reference to a national code

Ref country code: CH

Ref legal event code: EP

REF Corresponds to:

Ref document number: 59705779

Country of ref document: DE

Date of ref document: 20020124

ET Fr: translation filed
REG Reference to a national code

Ref country code: ES

Ref legal event code: FG2A

Ref document number: 2169867

Country of ref document: ES

Kind code of ref document: T3

PLBE No opposition filed within time limit

Free format text: ORIGINAL CODE: 0009261

STAA Information on the status of an ep patent application or granted ep patent

Free format text: STATUS: NO OPPOSITION FILED WITHIN TIME LIMIT

26N No opposition filed
PGFP Annual fee paid to national office [announced via postgrant information from national office to epo]

Ref country code: FR

Payment date: 20040721

Year of fee payment: 8

PG25 Lapsed in a contracting state [announced via postgrant information from national office to epo]

Ref country code: FR

Free format text: LAPSE BECAUSE OF NON-PAYMENT OF DUE FEES

Effective date: 20060331

REG Reference to a national code

Ref country code: FR

Ref legal event code: ST

Effective date: 20060331

PGFP Annual fee paid to national office [announced via postgrant information from national office to epo]

Ref country code: ES

Payment date: 20070724

Year of fee payment: 11

PGFP Annual fee paid to national office [announced via postgrant information from national office to epo]

Ref country code: DE

Payment date: 20080729

Year of fee payment: 12

Ref country code: CH

Payment date: 20080730

Year of fee payment: 12

REG Reference to a national code

Ref country code: ES

Ref legal event code: FD2A

Effective date: 20080709

PG25 Lapsed in a contracting state [announced via postgrant information from national office to epo]

Ref country code: ES

Free format text: LAPSE BECAUSE OF NON-PAYMENT OF DUE FEES

Effective date: 20080709

REG Reference to a national code

Ref country code: CH

Ref legal event code: PL

PG25 Lapsed in a contracting state [announced via postgrant information from national office to epo]

Ref country code: LI

Free format text: LAPSE BECAUSE OF NON-PAYMENT OF DUE FEES

Effective date: 20090731

Ref country code: CH

Free format text: LAPSE BECAUSE OF NON-PAYMENT OF DUE FEES

Effective date: 20090731

PG25 Lapsed in a contracting state [announced via postgrant information from national office to epo]

Ref country code: DE

Free format text: LAPSE BECAUSE OF NON-PAYMENT OF DUE FEES

Effective date: 20100202