WO2018168367A1 - 端子ユニット及びコネクタ - Google Patents
端子ユニット及びコネクタ Download PDFInfo
- Publication number
- WO2018168367A1 WO2018168367A1 PCT/JP2018/006265 JP2018006265W WO2018168367A1 WO 2018168367 A1 WO2018168367 A1 WO 2018168367A1 JP 2018006265 W JP2018006265 W JP 2018006265W WO 2018168367 A1 WO2018168367 A1 WO 2018168367A1
- Authority
- WO
- WIPO (PCT)
- Prior art keywords
- terminal unit
- lance
- housing
- storage chamber
- locking
- Prior art date
- Legal status (The legal status is an assumption and is not a legal conclusion. Google has not performed a legal analysis and makes no representation as to the accuracy of the status listed.)
- Ceased
Links
Images
Classifications
-
- H—ELECTRICITY
- H01—ELECTRIC ELEMENTS
- H01R—ELECTRICALLY-CONDUCTIVE CONNECTIONS; STRUCTURAL ASSOCIATIONS OF A PLURALITY OF MUTUALLY-INSULATED ELECTRICAL CONNECTING ELEMENTS; COUPLING DEVICES; CURRENT COLLECTORS
- H01R13/00—Details of coupling devices of the kinds covered by groups H01R12/70 or H01R24/00 - H01R33/00
- H01R13/40—Securing contact members in or to a base or case; Insulating of contact members
- H01R13/42—Securing in a demountable manner
- H01R13/422—Securing in resilient one-piece base or case, e.g. by friction; One-piece base or case formed with resilient locking means
- H01R13/4223—Securing in resilient one-piece base or case, e.g. by friction; One-piece base or case formed with resilient locking means comprising integral flexible contact retaining fingers
-
- H—ELECTRICITY
- H01—ELECTRIC ELEMENTS
- H01R—ELECTRICALLY-CONDUCTIVE CONNECTIONS; STRUCTURAL ASSOCIATIONS OF A PLURALITY OF MUTUALLY-INSULATED ELECTRICAL CONNECTING ELEMENTS; COUPLING DEVICES; CURRENT COLLECTORS
- H01R13/00—Details of coupling devices of the kinds covered by groups H01R12/70 or H01R24/00 - H01R33/00
- H01R13/40—Securing contact members in or to a base or case; Insulating of contact members
- H01R13/42—Securing in a demountable manner
- H01R13/436—Securing a plurality of contact members by one locking piece or operation
- H01R13/4364—Insertion of locking piece from the front
- H01R13/4365—Insertion of locking piece from the front comprising a temporary and a final locking position
-
- H—ELECTRICITY
- H01—ELECTRIC ELEMENTS
- H01R—ELECTRICALLY-CONDUCTIVE CONNECTIONS; STRUCTURAL ASSOCIATIONS OF A PLURALITY OF MUTUALLY-INSULATED ELECTRICAL CONNECTING ELEMENTS; COUPLING DEVICES; CURRENT COLLECTORS
- H01R13/00—Details of coupling devices of the kinds covered by groups H01R12/70 or H01R24/00 - H01R33/00
- H01R13/02—Contact members
- H01R13/10—Sockets for co-operation with pins or blades
- H01R13/11—Resilient sockets
- H01R13/113—Resilient sockets co-operating with pins or blades having a rectangular transverse section
-
- H—ELECTRICITY
- H01—ELECTRIC ELEMENTS
- H01R—ELECTRICALLY-CONDUCTIVE CONNECTIONS; STRUCTURAL ASSOCIATIONS OF A PLURALITY OF MUTUALLY-INSULATED ELECTRICAL CONNECTING ELEMENTS; COUPLING DEVICES; CURRENT COLLECTORS
- H01R13/00—Details of coupling devices of the kinds covered by groups H01R12/70 or H01R24/00 - H01R33/00
- H01R13/40—Securing contact members in or to a base or case; Insulating of contact members
- H01R13/42—Securing in a demountable manner
- H01R13/436—Securing a plurality of contact members by one locking piece or operation
- H01R13/4361—Insertion of locking piece perpendicular to direction of contact insertion
-
- H—ELECTRICITY
- H01—ELECTRIC ELEMENTS
- H01R—ELECTRICALLY-CONDUCTIVE CONNECTIONS; STRUCTURAL ASSOCIATIONS OF A PLURALITY OF MUTUALLY-INSULATED ELECTRICAL CONNECTING ELEMENTS; COUPLING DEVICES; CURRENT COLLECTORS
- H01R13/00—Details of coupling devices of the kinds covered by groups H01R12/70 or H01R24/00 - H01R33/00
- H01R13/40—Securing contact members in or to a base or case; Insulating of contact members
- H01R13/42—Securing in a demountable manner
- H01R13/436—Securing a plurality of contact members by one locking piece or operation
- H01R13/4361—Insertion of locking piece perpendicular to direction of contact insertion
- H01R13/4362—Insertion of locking piece perpendicular to direction of contact insertion comprising a temporary and a final locking position
-
- H—ELECTRICITY
- H01—ELECTRIC ELEMENTS
- H01R—ELECTRICALLY-CONDUCTIVE CONNECTIONS; STRUCTURAL ASSOCIATIONS OF A PLURALITY OF MUTUALLY-INSULATED ELECTRICAL CONNECTING ELEMENTS; COUPLING DEVICES; CURRENT COLLECTORS
- H01R13/00—Details of coupling devices of the kinds covered by groups H01R12/70 or H01R24/00 - H01R33/00
- H01R13/46—Bases; Cases
- H01R13/502—Bases; Cases composed of different pieces
-
- H—ELECTRICITY
- H01—ELECTRIC ELEMENTS
- H01R—ELECTRICALLY-CONDUCTIVE CONNECTIONS; STRUCTURAL ASSOCIATIONS OF A PLURALITY OF MUTUALLY-INSULATED ELECTRICAL CONNECTING ELEMENTS; COUPLING DEVICES; CURRENT COLLECTORS
- H01R4/00—Electrically-conductive connections between two or more conductive members in direct contact, i.e. touching one another; Means for effecting or maintaining such contact; Electrically-conductive connections having two or more spaced connecting locations for conductors and using contact members penetrating insulation
- H01R4/10—Electrically-conductive connections between two or more conductive members in direct contact, i.e. touching one another; Means for effecting or maintaining such contact; Electrically-conductive connections having two or more spaced connecting locations for conductors and using contact members penetrating insulation effected solely by twisting, wrapping, bending, crimping, or other permanent deformation
- H01R4/18—Electrically-conductive connections between two or more conductive members in direct contact, i.e. touching one another; Means for effecting or maintaining such contact; Electrically-conductive connections having two or more spaced connecting locations for conductors and using contact members penetrating insulation effected solely by twisting, wrapping, bending, crimping, or other permanent deformation by crimping
- H01R4/183—Electrically-conductive connections between two or more conductive members in direct contact, i.e. touching one another; Means for effecting or maintaining such contact; Electrically-conductive connections having two or more spaced connecting locations for conductors and using contact members penetrating insulation effected solely by twisting, wrapping, bending, crimping, or other permanent deformation by crimping for cylindrical elongated bodies, e.g. cables having circular cross-section
- H01R4/184—Electrically-conductive connections between two or more conductive members in direct contact, i.e. touching one another; Means for effecting or maintaining such contact; Electrically-conductive connections having two or more spaced connecting locations for conductors and using contact members penetrating insulation effected solely by twisting, wrapping, bending, crimping, or other permanent deformation by crimping for cylindrical elongated bodies, e.g. cables having circular cross-section comprising a U-shaped wire-receiving portion
- H01R4/185—Electrically-conductive connections between two or more conductive members in direct contact, i.e. touching one another; Means for effecting or maintaining such contact; Electrically-conductive connections having two or more spaced connecting locations for conductors and using contact members penetrating insulation effected solely by twisting, wrapping, bending, crimping, or other permanent deformation by crimping for cylindrical elongated bodies, e.g. cables having circular cross-section comprising a U-shaped wire-receiving portion combined with a U-shaped insulation-receiving portion
-
- H—ELECTRICITY
- H01—ELECTRIC ELEMENTS
- H01R—ELECTRICALLY-CONDUCTIVE CONNECTIONS; STRUCTURAL ASSOCIATIONS OF A PLURALITY OF MUTUALLY-INSULATED ELECTRICAL CONNECTING ELEMENTS; COUPLING DEVICES; CURRENT COLLECTORS
- H01R43/00—Apparatus or processes specially adapted for manufacturing, assembling, maintaining, or repairing of line connectors or current collectors or for joining electric conductors
- H01R43/20—Apparatus or processes specially adapted for manufacturing, assembling, maintaining, or repairing of line connectors or current collectors or for joining electric conductors for assembling or disassembling contact members with insulating base, case or sleeve
Definitions
- the present invention relates to a terminal unit and a connector.
- Patent Document 1 discloses a connector including a terminal unit in which an inner conductor terminal is accommodated in a dielectric, and a housing in which the terminal unit is accommodated.
- a structure in which an elastically bendable lance formed on the housing is locked to a locking protrusion formed on the outer surface of the dielectric is considered. It is done.
- the lance can be elastically deformed, there is a concern that it may be dissociated from the locking projection due to impact or vibration. Therefore, it is desired to improve the reliability of the function of retaining the terminal unit.
- the present invention has been completed based on the above circumstances, and an object thereof is to improve the reliability of the function of retaining the terminal unit.
- the terminal unit of the first invention is A first housing having a first lance capable of elastic deformation, a front retainer capable of restricting the elastic deformation of the first lance, and a first housing chamber; A terminal unit that can be selectively attached to a second housing having a second lance, a second storage chamber, and a side retainer facing the second storage chamber, A first locking portion and a second locking portion are formed on the outer surface of the dielectric, In a state where the terminal unit is inserted into the first storage chamber, the front retainer restricts elastic deflection of the first lance, and the first locking portion locks with the first lance, thereby The terminal unit is secured, In a state where the terminal unit is inserted into the second storage chamber, the terminal unit is engaged by engagement between the first engagement portion and the second lance and engagement between the second engagement portion and the side retainer. It is characterized in that is prevented from being removed.
- the connector of the second invention is A terminal unit having an inner conductor housed in a dielectric is selectively inserted into one of the housing chambers of the first housing chamber formed in the first housing and the second housing chamber formed in the second housing.
- the terminal unit is formed on the outer surface of the dielectric, and when the terminal unit is inserted into the first receiving chamber, the terminal unit is retained by being locked with the first lance, and the terminal unit is held in the second receiving chamber.
- the first locking portion When the terminal unit is inserted into the first storage chamber, the first locking portion is locked to the first lance, and the front retainer is attached to the first housing to restrict the elastic deflection of the lance, thereby It can be securely removed.
- the terminal unit When the terminal unit is inserted into the second storage chamber, the first locking portion is locked to the second lance, and the side retainer is locked to the second locking portion, thereby securely preventing the terminal unit from being pulled out. be able to.
- the terminal unit can be used as a common member for the first housing and the second housing of different types.
- the terminal unit inserted into the first storage chamber or the second storage chamber is disposed in an area of the outer surface of the dielectric where the second locking portion is disposed.
- a front stop portion that restricts movement beyond the normal insertion position may be formed.
- the second locking portion and the front stop portion may be integrally formed with a single protrusion. According to this structure, compared with the form which made the 2nd latching
- FIGS. 1 to 4 and 6 to 13 A first embodiment embodying the present invention will be described below with reference to FIGS.
- the left side in FIGS. 1 to 4 and 6 to 13 is defined as the front.
- the directions appearing in FIGS. 1 to 8 and 10 to 13 are defined as upper and lower as they are.
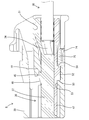
- the terminal unit 30 constitutes a waterproof first connector A (connector described in claims) by being attached to the first housing 10 and is not waterproof by being attached to the second housing 20.
- a second connector B of the type (connector described in claims) is configured.
- the first housing 10 is made of synthetic resin, and, as shown in FIGS. 7 and 8, a cylindrical fitting that encloses the accommodating portion 11 and the accommodating portion 11 from the outer periphery to the front and over the entire periphery. It is a single part having a part 12.
- a first storage chamber 13 is formed inside the storage portion 11.
- the terminal unit 30 is inserted into the first storage chamber 13 from the rear of the first housing 10.
- a first lance 14 is formed on the inner upper surface of the first storage chamber 13 so as to extend forward in a cantilevered manner and bendable upward.
- a step-shaped first stopper 15 is formed on the inner lower surface of the first storage chamber 13.
- a bending space 16 for allowing the first lance 14 to elastically bend upward is formed in the accommodating portion 11.
- a front retainer 17 is attached to the accommodating portion 11 from the front of the first housing 10. As shown in FIGS. 7 and 7, the front retainer 17 attached to the accommodating portion 11 is retracted forward of the bending space 16 to allow elastic deformation of the first lance 14 as shown in FIGS. In addition, it is movable in the front-rear direction between the main locking position that advances into the bending space 16 and restricts the elastic bending of the first lance 14.
- the bending space 16 does not open on the outer peripheral surface of the housing portion 11 but opens on the front end surface of the housing portion 11. Further, a seal ring 18 is attached to the outer peripheral rear end portion of the accommodating portion 11. When a hood-like mating housing (not shown) is fitted between the outer periphery of the accommodating portion 11 and the inner circumference of the cylindrical fitting portion 12, the sealing portion 18 is waterproofed between the accommodating portion 11 and the mating housing. Is done.
- the second housing 20 is made of synthetic resin. As shown in FIGS. 3 and 4, a second housing chamber 21 is formed inside the second housing 20.
- the terminal unit 30 is inserted into the second storage chamber 21 from the rear of the second housing 20.
- a second lance 22 is formed on the inner upper surface of the second storage chamber 21 so as to extend forward in a cantilevered manner and bendable upward.
- a stepped second stopper 23 is formed on the inner lower surface of the second storage chamber 21.
- the second housing 20 has a mounting hole 24 that communicates from the lower surface (outer surface) thereof into the second storage chamber 21.
- a side retainer 25 is attached to the attachment hole 24.
- the side retainer 25 attached to the attachment hole 24 has advanced into the second storage chamber 21 as shown in FIG. 4 and the temporarily locked position retracted to the outside of the second storage chamber 21 as shown in FIG. It can move in the vertical direction (the direction intersecting the insertion / extraction direction of the terminal unit 30 with respect to the second storage chamber 21) between the main locking positions.
- the terminal unit 30 is a connection member constituting a wire harness for an Ethernet (registered trademark) high-speed communication circuit of an automobile, and is configured by accommodating a pair of inner conductors 31 in a dielectric 36.
- the inner conductor 31 has an elongated shape in the front-rear direction as a whole.
- a rectangular tube-shaped main body 32 is formed at the front end of the inner conductor 31.
- a tab-like mating conductor (not shown) is inserted into the main body 32 from the front of the inner conductor 31 so that the mating conductor and the inner conductor 31 are connected to be conductive.
- An open barrel-shaped crimp portion 33 is formed at the rear end portion of the inner conductor 31, and the front end portion of the electric wire 34 is fixed to the crimp portion 33 so as to be conductive.
- a pair of electric wires 34 connected to the two inner conductors 31 constitute a twisted pair wire 35.
- the dielectric 36 divides the first part 37 made of synthetic resin having a halved shape and the second part 47 made of synthetic resin having a halved shape into a vertical direction (a direction intersecting the axis of the front end portion of the electric wire 34). ).
- the material of the first part 37 and the second part 47 is polybutylene terephthalate (PBT).
- the first part 37 includes an upper wall portion 38 that is elongated in the front-rear direction, a front wall portion 39 that extends downward from the front edge of the upper wall portion 38, and a left and right portion that extends downward from both left and right edges of the upper wall portion 38.
- a pair of side wall portions 40 In the front wall portion 39, a pair of left and right insertion ports 41 for inserting a mating conductor is formed in a penetrating form.
- the first part 37 is formed with a partition wall portion 42 extending downward from the center portion in the front-rear direction of the upper wall portion 38, and a region between the pair of side wall portions 40 and the partition wall portion 42 is elongated in the front-rear direction.
- a pair of grooves 43 is formed.
- On the outer surface of the pair of left and right partition walls 42 a pair of left and right lock portions 44 having a step shape are formed.
- the first locking portion 45 is a substantially central portion of the upper wall portion 38 in the front-rear direction, and is disposed at the center of the upper wall portion 38 in the left-right direction.
- An inclined surface 46 that is inclined with respect to the front-rear direction (the insertion direction of the terminal unit 30 with respect to the housing) is formed at the front end portion of the first locking portion 45.
- the rear end surface of the first locking portion 45 is a locking surface that is substantially perpendicular to the front-rear direction.
- the second part 47 includes a bottom wall portion 48 that is elongated in the front-rear direction, a pair of left and right front outer wall portions 49 that extend upward from left and right side edges at the front end portion of the bottom wall portion 48, and a rear end portion of the bottom wall portion 48. And a pair of left and right rear outer wall portions 50 extending upward from the left and right side edges. Lock protrusions 51 are formed on the inner surfaces of the extended end portions of the outer wall portions 49 and 50.
- a protruding portion 52 having a rib shape in the front-rear direction is formed on the lower surface (outer surface) of the bottom wall portion 48.
- the protrusion 52 is disposed at a substantially central position of the bottom wall 48 in the front-rear direction, and is disposed at a central position of the bottom wall 48 in the left-right direction.
- the front end of the protrusion 52 is a front stop 53 having a front stop substantially perpendicular to the front-rear direction.
- the rear end portion of the protruding portion 52 is a second locking portion 54 having a locking surface substantially perpendicular to the front-rear direction.
- the pair of inner conductors 31 are accommodated in the left and right groove portions 43 of the first part 37. Since the first part 37 and the second part 47 are divided in the vertical direction intersecting the front end portion of the electric wire 34 at a substantially right angle, and united, the moving direction when the inner conductor 31 is attached to the first part 37 is also This is a direction that intersects the axis of the front end portion of the electric wire 34 at a substantially right angle. Thereby, in the front-end part of the two electric wires 34 which comprise the twisted pair wire 35, since the length which untwists the electric wire 34 can be restrained as short as possible, the noise reduction function resulting from untwisting the electric wire 34 Can be avoided.
- the second component 47 is assembled to the first component 37 so as to be combined from below.
- the combined first component 37 and second component 47 are held in a combined state by the locking of the lock protrusion 51 and the lock portion 44.
- the assembly direction of the second component 47 with respect to the first component 37 is a direction that intersects the axis of the front end portion of the electric wire 34 at a substantially right angle.
- the rubber plug 19 is attached to the outer periphery of the twisted pair wire 35 in advance, and the terminal unit 30 is moved to the first position while the front retainer 17 is held at the temporary locking position.
- the first housing chamber 13 is inserted from the rear of the housing 10. In the process of inserting the terminal unit 30, the inclined surface 46 of the first locking portion 45 elastically deflects the first lance 14.
- the front stop portion 53 abuts against the first stopper 15 to stop the terminal unit 30 forward, and the first locking portion 45 is locked to the first lance 14.
- the terminal unit 30 is prevented from being removed from the first housing 10.
- the opening at the rear end of the first storage chamber 13 is closed in a liquid-tight manner by the rubber plug 19.
- the terminal unit 30 is primarily locked.
- the front retainer 17 at the temporary locking position is pushed into the final locking position and advanced into the bending space 16. Thereby, the elastic deformation in the direction in which the first lance 14 is disengaged from the first locking portion 45 is restricted, so that the terminal unit 30 enters the secondary locking state. In this way, the terminal unit 30 is reliably secured by the primary locking by the first lance 14 and the secondary locking by the front retainer 17.
- the terminal unit 30 When attaching the terminal unit 30 to the second housing 20, the terminal unit 30 is inserted into the second storage chamber 21 with the side retainer 25 held at the temporary locking position. In the process of inserting the terminal unit 30, the inclined surface 46 of the first locking portion 45 elastically deflects the second lance 22. When the terminal unit 30 is properly inserted, the front stop portion 53 abuts against the second stopper 23 to stop the terminal unit 30 forward, and the first locking portion 45 is locked to the second lance 22. The terminal unit 30 is prevented from being removed from the second housing 20. Thus, the terminal unit 30 is primarily locked.
- the side retainer 25 at the temporary locking position is pushed into the final locking position and advanced into the second storage chamber 21. Thereby, since the side retainer 25 latches with respect to the 2nd latching
- the material or material of the first part 37 is made to have a relatively mechanical strength.
- Polybutylene terephthalate which is a high material or material. Therefore, even if the counterpart conductor interferes with the front wall portion 39, there is no possibility that the counterpart conductor pierces the front wall portion 39.
- the material or material of the second part 47 was also polybutylene terephthalate as in the first part 37.
- the first connector A is configured by inserting a terminal unit 30 having an inner conductor 31 accommodated in a dielectric 36 into a first accommodation chamber 13 formed in the first housing 10.
- the second connector B is configured by inserting the terminal unit 30 into a second accommodation chamber 21 formed in the second housing 20. That is, the terminal unit 30 is selectively attached to the first housing 10 and the second housing 20. In other words, the terminal unit 30 can be attached to both the first housing 10 and the second housing 20, and is attached to one of the first housing 10 and the second housing 20 as necessary. It is.
- the first housing 10 includes a first lance 14 that can be elastically deformed, a front retainer 17 that can restrict the elastic deformation of the first lance 14, and a first storage chamber 13.
- the second housing 20 includes a second lance 22 that can be elastically bent, a second storage chamber 21, and a side retainer 25 that faces the second storage chamber 21.
- a first locking portion 45 and a second locking portion 54 are formed on the outer surface of the dielectric 36.
- the first locking portion 45 is locked to the first lance 14, and the front retainer 17 regulates the elastic deflection of the first lance 14.
- the terminal unit 30 is securely removed.
- the first locking portion 45 and the second lance 22 are locked and the second locking portion 54 and the side retainer 25 are locked.
- the terminal unit 30 is securely removed.
- the terminal unit 30 of the first embodiment is excellent in the reliability of the function of retaining the terminal unit 30 regardless of whether the terminal unit 30 is attached to the first housing 10 or the second housing 20. Further, the terminal unit 30 can be used as a common member for the waterproof first housing 10 and the non-waterproof second housing 20 of different types.
- the first locking portion 45 and the second locking portion 54 are regions on the outer surface of the dielectric 36 that are opposite to each other in the vertical direction intersecting the insertion direction into the first storage chamber 13 and the second storage chamber 21. It is arranged in. According to this structure, since the 1st latching
- the terminal unit 30 inserted into the first storage chamber 13 or the second storage chamber 21 is provided in a region (outer surface of the bottom wall portion 48) where the second locking portion 54 is disposed on the outer surface of the dielectric 36. Is formed with a front stop portion 53 that restricts movement beyond the normal insertion position. According to this configuration, since the first lance 14 and the second lance 22 are not elastically contacted in the region where the second locking portion 54 is formed, the first stop portion 53 is formed even if the first stop portion 53 is formed. Insertion resistance due to elastic interference with the lance 14 and the second lance 22 does not occur.
- the second locking portion 54 and the front stop portion 53 are formed integrally with the single protrusion 52. As described above, the second locking portion 54 and the front stop 53 are connected to each other, so that the second locking portion 54 and the front stop 53 are protruded separately from the second locking portion 54 and the front stop 53. The strength of the portion 54 and the front stop 53 is increased.
- the present invention is not limited to the embodiments described with reference to the above description and drawings.
- the following embodiments are also included in the technical scope of the present invention.
- the first locking portion and the second locking portion are arranged in the regions on the opposite sides of the outer surface of the dielectric, but the first locking portion and the second locking portion are You may arrange
- the second locking portion and the front stop portion are integrally formed in a single protrusion, but the second locking portion and the front stop portion may be formed as independent protrusions.
- the number of the first locking portions is only one, but the number of the first locking portions may be two or more.
- the number of the second locking portions is only one, but the number of the second locking portions may be two or more.
- the number of front stop portions is only one, but the number of front stop portions may be two or more.
- two inner conductors are accommodated in one dielectric, but the number of inner conductors accommodated in one dielectric may be one or three or more.
- the dielectric is composed of two parts, the first part and the second part, but the dielectric may be a single part.
- the two electric wires connected to the pair of inner conductors constitute a twisted pair wire.
- the present invention also applies to the case where the electric wire connected to the inner conductor does not constitute the twisted pair wire. Applicable.
- the material and material of the first part are polybutylene terephthalate (PBT).
- the material and material of the first part may be other than polybutylene terephthalate.
- the material and material of the second part are polybutylene terephthalate (PBT).
- the material and material of the second part may be other than polybutylene terephthalate.
- Example 1 the combination of materials or materials of the first part and the second part is both polybutylene terephthalate (PBT), but the combination of materials or materials of the first part and the second part is , Polyethylene terephthalate (PET) and polypropylene (PP), polybutylene terephthalate and polyethylene (PE), or polybutylene terephthalate and expanded polybutylene terephthalate.
- PBT polybutylene terephthalate
- PP polypropylene
- PE polybutylene terephthalate and polyethylene
- polybutylene terephthalate and expanded polybutylene terephthalate expanded polybutylene terephthalate
Landscapes
- Engineering & Computer Science (AREA)
- Manufacturing & Machinery (AREA)
- Connector Housings Or Holding Contact Members (AREA)
Priority Applications (3)
| Application Number | Priority Date | Filing Date | Title |
|---|---|---|---|
| CN201880015962.0A CN110383593B (zh) | 2017-03-13 | 2018-02-21 | 端子单元及连接器 |
| US16/492,974 US10833444B2 (en) | 2017-03-13 | 2018-02-21 | Terminal unit and connector |
| DE112018001310.3T DE112018001310B4 (de) | 2017-03-13 | 2018-02-21 | Verbinder mit Anschlusseinheit |
Applications Claiming Priority (2)
| Application Number | Priority Date | Filing Date | Title |
|---|---|---|---|
| JP2017046959A JP6769353B2 (ja) | 2017-03-13 | 2017-03-13 | 端子ユニット及びコネクタ |
| JP2017-046959 | 2017-03-13 |
Publications (1)
| Publication Number | Publication Date |
|---|---|
| WO2018168367A1 true WO2018168367A1 (ja) | 2018-09-20 |
Family
ID=63522150
Family Applications (1)
| Application Number | Title | Priority Date | Filing Date |
|---|---|---|---|
| PCT/JP2018/006265 Ceased WO2018168367A1 (ja) | 2017-03-13 | 2018-02-21 | 端子ユニット及びコネクタ |
Country Status (5)
| Country | Link |
|---|---|
| US (1) | US10833444B2 (enExample) |
| JP (1) | JP6769353B2 (enExample) |
| CN (1) | CN110383593B (enExample) |
| DE (1) | DE112018001310B4 (enExample) |
| WO (1) | WO2018168367A1 (enExample) |
Cited By (2)
| Publication number | Priority date | Publication date | Assignee | Title |
|---|---|---|---|---|
| CN112072373A (zh) * | 2019-06-11 | 2020-12-11 | 矢崎总业株式会社 | 壳体 |
| WO2022176595A1 (ja) * | 2021-02-19 | 2022-08-25 | 住友電装株式会社 | コネクタ |
Families Citing this family (10)
| Publication number | Priority date | Publication date | Assignee | Title |
|---|---|---|---|---|
| JP6750540B2 (ja) * | 2017-03-10 | 2020-09-02 | 株式会社オートネットワーク技術研究所 | シールド端子及びシールドコネクタ |
| JP6769354B2 (ja) * | 2017-03-13 | 2020-10-14 | 株式会社オートネットワーク技術研究所 | 端子ユニット及びコネクタ |
| JP6769353B2 (ja) * | 2017-03-13 | 2020-10-14 | 株式会社オートネットワーク技術研究所 | 端子ユニット及びコネクタ |
| JP6922884B2 (ja) * | 2018-12-28 | 2021-08-18 | 株式会社オートネットワーク技術研究所 | コネクタ、及びコネクタ構造体 |
| JP6982587B2 (ja) | 2019-02-27 | 2021-12-17 | 矢崎総業株式会社 | コネクタ |
| JP7392349B2 (ja) * | 2019-09-24 | 2023-12-06 | 住友電装株式会社 | 通信ケーブル |
| AT523021B1 (de) * | 2019-09-24 | 2023-03-15 | Neutrik Ag | Elektrischer Steckverbinder |
| JP2021118155A (ja) * | 2020-01-29 | 2021-08-10 | 住友電装株式会社 | コネクタ |
| CN115693283A (zh) | 2021-07-28 | 2023-02-03 | 神基投资控股股份有限公司 | 连接器插头、其对接结构及电连接线 |
| CN116298457A (zh) * | 2023-01-10 | 2023-06-23 | 厦门宏发电力电器有限公司 | 直插式电流互感器组件和电子设备 |
Citations (6)
| Publication number | Priority date | Publication date | Assignee | Title |
|---|---|---|---|---|
| JPH07176342A (ja) * | 1993-12-21 | 1995-07-14 | Yazaki Corp | 二重係止コネクタ |
| JPH10162888A (ja) * | 1996-11-27 | 1998-06-19 | Yazaki Corp | 二重係止構造のコネクタハウジング |
| JPH10321280A (ja) * | 1997-05-16 | 1998-12-04 | Sumitomo Wiring Syst Ltd | コネクタ |
| JP2002319456A (ja) * | 2001-04-20 | 2002-10-31 | Auto Network Gijutsu Kenkyusho:Kk | シールドコネクタ |
| JP2014120484A (ja) * | 2013-12-26 | 2014-06-30 | Daiichi Seiko Co Ltd | 電気コネクタ |
| JP2015537327A (ja) * | 2012-07-23 | 2015-12-24 | モレックス エルエルシー | 差動対接続リンクを持つ電気ハーネスコネクタシステム |
Family Cites Families (45)
| Publication number | Priority date | Publication date | Assignee | Title |
|---|---|---|---|---|
| JP2813717B2 (ja) * | 1993-04-28 | 1998-10-22 | 矢崎総業株式会社 | シールドコネクタ |
| US5622521A (en) * | 1994-09-29 | 1997-04-22 | Molex Incorporated | Electrical connector with terminal position assurance device that facilitates fully inserting a terminal |
| CN100530835C (zh) * | 2002-09-25 | 2009-08-19 | 三菱电线工业株式会社 | 电连接器 |
| US20080233796A1 (en) * | 2003-09-20 | 2008-09-25 | Ivica Segrt | Plug or Coupler of Coaxial Plug-In Connection in a Waterproof Embodiment |
| JP4760683B2 (ja) * | 2006-11-20 | 2011-08-31 | 住友電装株式会社 | コネクタ |
| JP2009123373A (ja) * | 2007-11-12 | 2009-06-04 | Sumitomo Wiring Syst Ltd | コネクタ |
| JP5217458B2 (ja) * | 2008-01-29 | 2013-06-19 | 住友電装株式会社 | コネクタ |
| JP4823284B2 (ja) * | 2008-09-19 | 2011-11-24 | タイコエレクトロニクスジャパン合同会社 | 電気コネクタ |
| JP5472679B2 (ja) * | 2009-04-07 | 2014-04-16 | 住友電装株式会社 | コネクタ |
| JP5423233B2 (ja) * | 2009-08-18 | 2014-02-19 | 住友電装株式会社 | コネクタ |
| JP5353676B2 (ja) * | 2009-12-16 | 2013-11-27 | 住友電装株式会社 | コネクタ |
| JP2012129103A (ja) | 2010-12-16 | 2012-07-05 | Yazaki Corp | 同軸コネクタ |
| JP5637015B2 (ja) * | 2011-03-04 | 2014-12-10 | 住友電装株式会社 | コネクタ |
| JP5614369B2 (ja) * | 2011-05-19 | 2014-10-29 | 住友電装株式会社 | 端子金具 |
| US8454378B2 (en) * | 2011-08-31 | 2013-06-04 | Yazaki North America, Inc. | Connector |
| JP5282156B1 (ja) * | 2012-04-27 | 2013-09-04 | 日本航空電子工業株式会社 | コネクタ |
| US9142904B2 (en) * | 2014-01-14 | 2015-09-22 | Tyco Electronics Corporation | Electrical connector with terminal position assurance |
| JP6230471B2 (ja) * | 2014-04-09 | 2017-11-15 | ホシデン株式会社 | コネクタ |
| JP6307529B2 (ja) * | 2016-01-07 | 2018-04-04 | 矢崎総業株式会社 | 端子の係止構造およびコネクタ |
| JP6462601B2 (ja) * | 2016-01-12 | 2019-01-30 | 株式会社オートネットワーク技術研究所 | コネクタ |
| WO2017122779A1 (ja) * | 2016-01-13 | 2017-07-20 | 株式会社オートネットワーク技術研究所 | コネクタ |
| US9799983B2 (en) * | 2016-01-20 | 2017-10-24 | Te Connectivity Corporation | Connector assembly |
| JP6515825B2 (ja) | 2016-01-21 | 2019-05-22 | 住友電装株式会社 | コネクタ |
| JP6670446B2 (ja) * | 2016-06-15 | 2020-03-25 | 株式会社オートネットワーク技術研究所 | コネクタ |
| JP6708025B2 (ja) * | 2016-07-04 | 2020-06-10 | 株式会社オートネットワーク技術研究所 | シールドコネクタ |
| JP6404277B2 (ja) * | 2016-07-12 | 2018-10-10 | 矢崎総業株式会社 | コネクタ |
| WO2018011415A1 (de) * | 2016-07-15 | 2018-01-18 | Hirschmann Automotive Gmbh | Hochtemperaturbeständiger steckverbinder für einen klopfsensor einer brennkraftmaschine |
| JP6765258B2 (ja) * | 2016-08-29 | 2020-10-07 | ヒロセ電機株式会社 | コネクタ |
| JP6495218B2 (ja) * | 2016-10-12 | 2019-04-03 | 株式会社オートネットワーク技術研究所 | コネクタ構造 |
| JP6729273B2 (ja) * | 2016-10-12 | 2020-07-22 | 株式会社オートネットワーク技術研究所 | コネクタ構造 |
| JP6509177B2 (ja) * | 2016-10-12 | 2019-05-08 | 株式会社オートネットワーク技術研究所 | コネクタ構造 |
| JP6729274B2 (ja) * | 2016-10-12 | 2020-07-22 | 株式会社オートネットワーク技術研究所 | コネクタ構造 |
| JP6729272B2 (ja) * | 2016-10-12 | 2020-07-22 | 株式会社オートネットワーク技術研究所 | コネクタ構造 |
| JP2018120687A (ja) * | 2017-01-24 | 2018-08-02 | 住友電装株式会社 | コネクタ |
| JP6745043B2 (ja) * | 2017-02-03 | 2020-08-26 | 株式会社オートネットワーク技術研究所 | シールド端子 |
| JP6792797B2 (ja) | 2017-03-01 | 2020-12-02 | 株式会社オートネットワーク技術研究所 | 端子ユニット |
| JP6673267B2 (ja) * | 2017-03-08 | 2020-03-25 | 株式会社オートネットワーク技術研究所 | シールド端子 |
| JP6642490B2 (ja) | 2017-03-08 | 2020-02-05 | 株式会社オートネットワーク技術研究所 | シールド端子 |
| JP6760147B2 (ja) | 2017-03-10 | 2020-09-23 | 株式会社オートネットワーク技術研究所 | シールド端子及びシールドコネクタ |
| JP6769353B2 (ja) * | 2017-03-13 | 2020-10-14 | 株式会社オートネットワーク技術研究所 | 端子ユニット及びコネクタ |
| JP6769354B2 (ja) * | 2017-03-13 | 2020-10-14 | 株式会社オートネットワーク技術研究所 | 端子ユニット及びコネクタ |
| JP6680278B2 (ja) * | 2017-08-29 | 2020-04-15 | 株式会社オートネットワーク技術研究所 | コネクタ装置及び雄側コネクタ |
| JP6988446B2 (ja) * | 2017-12-21 | 2022-01-05 | 株式会社オートネットワーク技術研究所 | コネクタ |
| JP6939530B2 (ja) * | 2017-12-26 | 2021-09-22 | 住友電装株式会社 | コネクタ |
| CN108134235B (zh) * | 2018-01-11 | 2024-01-30 | 凡甲电子(苏州)有限公司 | 电连接器 |
-
2017
- 2017-03-13 JP JP2017046959A patent/JP6769353B2/ja active Active
-
2018
- 2018-02-21 US US16/492,974 patent/US10833444B2/en active Active
- 2018-02-21 DE DE112018001310.3T patent/DE112018001310B4/de active Active
- 2018-02-21 WO PCT/JP2018/006265 patent/WO2018168367A1/ja not_active Ceased
- 2018-02-21 CN CN201880015962.0A patent/CN110383593B/zh active Active
Patent Citations (6)
| Publication number | Priority date | Publication date | Assignee | Title |
|---|---|---|---|---|
| JPH07176342A (ja) * | 1993-12-21 | 1995-07-14 | Yazaki Corp | 二重係止コネクタ |
| JPH10162888A (ja) * | 1996-11-27 | 1998-06-19 | Yazaki Corp | 二重係止構造のコネクタハウジング |
| JPH10321280A (ja) * | 1997-05-16 | 1998-12-04 | Sumitomo Wiring Syst Ltd | コネクタ |
| JP2002319456A (ja) * | 2001-04-20 | 2002-10-31 | Auto Network Gijutsu Kenkyusho:Kk | シールドコネクタ |
| JP2015537327A (ja) * | 2012-07-23 | 2015-12-24 | モレックス エルエルシー | 差動対接続リンクを持つ電気ハーネスコネクタシステム |
| JP2014120484A (ja) * | 2013-12-26 | 2014-06-30 | Daiichi Seiko Co Ltd | 電気コネクタ |
Cited By (3)
| Publication number | Priority date | Publication date | Assignee | Title |
|---|---|---|---|---|
| CN112072373A (zh) * | 2019-06-11 | 2020-12-11 | 矢崎总业株式会社 | 壳体 |
| CN112072373B (zh) * | 2019-06-11 | 2022-03-29 | 矢崎总业株式会社 | 壳体 |
| WO2022176595A1 (ja) * | 2021-02-19 | 2022-08-25 | 住友電装株式会社 | コネクタ |
Also Published As
| Publication number | Publication date |
|---|---|
| DE112018001310B4 (de) | 2025-11-13 |
| CN110383593B (zh) | 2020-11-13 |
| DE112018001310T5 (de) | 2019-12-05 |
| US10833444B2 (en) | 2020-11-10 |
| JP6769353B2 (ja) | 2020-10-14 |
| US20200083633A1 (en) | 2020-03-12 |
| CN110383593A (zh) | 2019-10-25 |
| JP2018152215A (ja) | 2018-09-27 |
Similar Documents
| Publication | Publication Date | Title |
|---|---|---|
| WO2018168367A1 (ja) | 端子ユニット及びコネクタ | |
| WO2018163788A1 (ja) | シールド端子及びシールドコネクタ | |
| WO2018163787A1 (ja) | シールド端子及びシールドコネクタ | |
| WO2018168368A1 (ja) | 端子ユニット及びコネクタ | |
| JP6195165B2 (ja) | コネクタ | |
| WO2017122779A1 (ja) | コネクタ | |
| JP2018147816A (ja) | シールド端子 | |
| JP6816668B2 (ja) | コネクタ | |
| EP3678263B1 (en) | Waterproof connector | |
| WO2018150854A1 (ja) | コネクタ | |
| CN109196729B (zh) | 连接器 | |
| JP6766621B2 (ja) | ゴムカバー付きコネクタ | |
| WO2019124035A1 (ja) | シールド端子 | |
| WO2015008609A1 (ja) | コネクタ | |
| WO2020116112A1 (ja) | コネクタ | |
| JP4636072B2 (ja) | コネクタ | |
| JP7109415B2 (ja) | シールド端子 | |
| JP7182092B2 (ja) | コネクタ構造 | |
| US20190115689A1 (en) | Connector | |
| JP2016062697A (ja) | コネクタ | |
| JP6988864B2 (ja) | シールド端子 | |
| JP2025067288A (ja) | 端子金具 | |
| JP2022042310A (ja) | コネクタ |
Legal Events
| Date | Code | Title | Description |
|---|---|---|---|
| 121 | Ep: the epo has been informed by wipo that ep was designated in this application |
Ref document number: 18767829 Country of ref document: EP Kind code of ref document: A1 |
|
| WWE | Wipo information: entry into national phase |
Ref document number: 112018001310 Country of ref document: DE |
|
| 122 | Ep: pct application non-entry in european phase |
Ref document number: 18767829 Country of ref document: EP Kind code of ref document: A1 |
|
| WWG | Wipo information: grant in national office |
Ref document number: 112018001310 Country of ref document: DE |