WO2013081075A1 - 組み合わせシールリング付転がり軸受ユニット - Google Patents
組み合わせシールリング付転がり軸受ユニット Download PDFInfo
- Publication number
- WO2013081075A1 WO2013081075A1 PCT/JP2012/080992 JP2012080992W WO2013081075A1 WO 2013081075 A1 WO2013081075 A1 WO 2013081075A1 JP 2012080992 W JP2012080992 W JP 2012080992W WO 2013081075 A1 WO2013081075 A1 WO 2013081075A1
- Authority
- WO
- WIPO (PCT)
- Prior art keywords
- ring
- seal lip
- stationary
- seal
- rolling bearing
- Prior art date
- Legal status (The legal status is an assumption and is not a legal conclusion. Google has not performed a legal analysis and makes no representation as to the accuracy of the status listed.)
- Ceased
Links
Images
Classifications
-
- F—MECHANICAL ENGINEERING; LIGHTING; HEATING; WEAPONS; BLASTING
- F16—ENGINEERING ELEMENTS AND UNITS; GENERAL MEASURES FOR PRODUCING AND MAINTAINING EFFECTIVE FUNCTIONING OF MACHINES OR INSTALLATIONS; THERMAL INSULATION IN GENERAL
- F16C—SHAFTS; FLEXIBLE SHAFTS; ELEMENTS OR CRANKSHAFT MECHANISMS; ROTARY BODIES OTHER THAN GEARING ELEMENTS; BEARINGS
- F16C33/00—Parts of bearings; Special methods for making bearings or parts thereof
- F16C33/72—Sealings
- F16C33/76—Sealings of ball or roller bearings
- F16C33/80—Labyrinth sealings
- F16C33/805—Labyrinth sealings in addition to other sealings, e.g. dirt guards to protect sealings with sealing lips
-
- F—MECHANICAL ENGINEERING; LIGHTING; HEATING; WEAPONS; BLASTING
- F16—ENGINEERING ELEMENTS AND UNITS; GENERAL MEASURES FOR PRODUCING AND MAINTAINING EFFECTIVE FUNCTIONING OF MACHINES OR INSTALLATIONS; THERMAL INSULATION IN GENERAL
- F16C—SHAFTS; FLEXIBLE SHAFTS; ELEMENTS OR CRANKSHAFT MECHANISMS; ROTARY BODIES OTHER THAN GEARING ELEMENTS; BEARINGS
- F16C33/00—Parts of bearings; Special methods for making bearings or parts thereof
- F16C33/72—Sealings
- F16C33/76—Sealings of ball or roller bearings
- F16C33/768—Sealings of ball or roller bearings between relatively stationary parts, i.e. static seals
-
- F—MECHANICAL ENGINEERING; LIGHTING; HEATING; WEAPONS; BLASTING
- F16—ENGINEERING ELEMENTS AND UNITS; GENERAL MEASURES FOR PRODUCING AND MAINTAINING EFFECTIVE FUNCTIONING OF MACHINES OR INSTALLATIONS; THERMAL INSULATION IN GENERAL
- F16C—SHAFTS; FLEXIBLE SHAFTS; ELEMENTS OR CRANKSHAFT MECHANISMS; ROTARY BODIES OTHER THAN GEARING ELEMENTS; BEARINGS
- F16C33/00—Parts of bearings; Special methods for making bearings or parts thereof
- F16C33/72—Sealings
- F16C33/76—Sealings of ball or roller bearings
- F16C33/78—Sealings of ball or roller bearings with a diaphragm, disc, or ring, with or without resilient members
- F16C33/7816—Details of the sealing or parts thereof, e.g. geometry, material
- F16C33/782—Details of the sealing or parts thereof, e.g. geometry, material of the sealing region
- F16C33/7823—Details of the sealing or parts thereof, e.g. geometry, material of the sealing region of sealing lips
-
- F—MECHANICAL ENGINEERING; LIGHTING; HEATING; WEAPONS; BLASTING
- F16—ENGINEERING ELEMENTS AND UNITS; GENERAL MEASURES FOR PRODUCING AND MAINTAINING EFFECTIVE FUNCTIONING OF MACHINES OR INSTALLATIONS; THERMAL INSULATION IN GENERAL
- F16C—SHAFTS; FLEXIBLE SHAFTS; ELEMENTS OR CRANKSHAFT MECHANISMS; ROTARY BODIES OTHER THAN GEARING ELEMENTS; BEARINGS
- F16C33/00—Parts of bearings; Special methods for making bearings or parts thereof
- F16C33/72—Sealings
- F16C33/76—Sealings of ball or roller bearings
- F16C33/78—Sealings of ball or roller bearings with a diaphragm, disc, or ring, with or without resilient members
- F16C33/7869—Sealings of ball or roller bearings with a diaphragm, disc, or ring, with or without resilient members mounted with a cylindrical portion to the inner surface of the outer race and having a radial portion extending inward
- F16C33/7879—Sealings of ball or roller bearings with a diaphragm, disc, or ring, with or without resilient members mounted with a cylindrical portion to the inner surface of the outer race and having a radial portion extending inward with a further sealing ring
- F16C33/7883—Sealings of ball or roller bearings with a diaphragm, disc, or ring, with or without resilient members mounted with a cylindrical portion to the inner surface of the outer race and having a radial portion extending inward with a further sealing ring mounted to the inner race and of generally L-shape, the two sealing rings defining a sealing with box-shaped cross-section
-
- F—MECHANICAL ENGINEERING; LIGHTING; HEATING; WEAPONS; BLASTING
- F16—ENGINEERING ELEMENTS AND UNITS; GENERAL MEASURES FOR PRODUCING AND MAINTAINING EFFECTIVE FUNCTIONING OF MACHINES OR INSTALLATIONS; THERMAL INSULATION IN GENERAL
- F16C—SHAFTS; FLEXIBLE SHAFTS; ELEMENTS OR CRANKSHAFT MECHANISMS; ROTARY BODIES OTHER THAN GEARING ELEMENTS; BEARINGS
- F16C41/00—Other accessories, e.g. devices integrated in the bearing not relating to the bearing function as such
- F16C41/007—Encoders, e.g. parts with a plurality of alternating magnetic poles
-
- F—MECHANICAL ENGINEERING; LIGHTING; HEATING; WEAPONS; BLASTING
- F16—ENGINEERING ELEMENTS AND UNITS; GENERAL MEASURES FOR PRODUCING AND MAINTAINING EFFECTIVE FUNCTIONING OF MACHINES OR INSTALLATIONS; THERMAL INSULATION IN GENERAL
- F16J—PISTONS; CYLINDERS; SEALINGS
- F16J15/00—Sealings
- F16J15/16—Sealings between relatively-moving surfaces
- F16J15/32—Sealings between relatively-moving surfaces with elastic sealings, e.g. O-rings
- F16J15/3248—Sealings between relatively-moving surfaces with elastic sealings, e.g. O-rings provided with casings or supports
- F16J15/3252—Sealings between relatively-moving surfaces with elastic sealings, e.g. O-rings provided with casings or supports with rigid casings or supports
- F16J15/3256—Sealings between relatively-moving surfaces with elastic sealings, e.g. O-rings provided with casings or supports with rigid casings or supports comprising two casing or support elements, one attached to each surface, e.g. cartridge or cassette seals
- F16J15/3264—Sealings between relatively-moving surfaces with elastic sealings, e.g. O-rings provided with casings or supports with rigid casings or supports comprising two casing or support elements, one attached to each surface, e.g. cartridge or cassette seals the elements being separable from each other
-
- G—PHYSICS
- G01—MEASURING; TESTING
- G01P—MEASURING LINEAR OR ANGULAR SPEED, ACCELERATION, DECELERATION, OR SHOCK; INDICATING PRESENCE, ABSENCE, OR DIRECTION, OF MOVEMENT
- G01P3/00—Measuring linear or angular speed; Measuring differences of linear or angular speeds
- G01P3/42—Devices characterised by the use of electric or magnetic means
- G01P3/44—Devices characterised by the use of electric or magnetic means for measuring angular speed
- G01P3/443—Devices characterised by the use of electric or magnetic means for measuring angular speed mounted in bearings
-
- F—MECHANICAL ENGINEERING; LIGHTING; HEATING; WEAPONS; BLASTING
- F16—ENGINEERING ELEMENTS AND UNITS; GENERAL MEASURES FOR PRODUCING AND MAINTAINING EFFECTIVE FUNCTIONING OF MACHINES OR INSTALLATIONS; THERMAL INSULATION IN GENERAL
- F16C—SHAFTS; FLEXIBLE SHAFTS; ELEMENTS OR CRANKSHAFT MECHANISMS; ROTARY BODIES OTHER THAN GEARING ELEMENTS; BEARINGS
- F16C19/00—Bearings with rolling contact, for exclusively rotary movement
- F16C19/02—Bearings with rolling contact, for exclusively rotary movement with bearing balls essentially of the same size in one or more circular rows
- F16C19/14—Bearings with rolling contact, for exclusively rotary movement with bearing balls essentially of the same size in one or more circular rows for both radial and axial load
- F16C19/18—Bearings with rolling contact, for exclusively rotary movement with bearing balls essentially of the same size in one or more circular rows for both radial and axial load with two or more rows of balls
- F16C19/181—Bearings with rolling contact, for exclusively rotary movement with bearing balls essentially of the same size in one or more circular rows for both radial and axial load with two or more rows of balls with angular contact
- F16C19/183—Bearings with rolling contact, for exclusively rotary movement with bearing balls essentially of the same size in one or more circular rows for both radial and axial load with two or more rows of balls with angular contact with two rows at opposite angles
- F16C19/184—Bearings with rolling contact, for exclusively rotary movement with bearing balls essentially of the same size in one or more circular rows for both radial and axial load with two or more rows of balls with angular contact with two rows at opposite angles in O-arrangement
- F16C19/186—Bearings with rolling contact, for exclusively rotary movement with bearing balls essentially of the same size in one or more circular rows for both radial and axial load with two or more rows of balls with angular contact with two rows at opposite angles in O-arrangement with three raceways provided integrally on parts other than race rings, e.g. third generation hubs
-
- F—MECHANICAL ENGINEERING; LIGHTING; HEATING; WEAPONS; BLASTING
- F16—ENGINEERING ELEMENTS AND UNITS; GENERAL MEASURES FOR PRODUCING AND MAINTAINING EFFECTIVE FUNCTIONING OF MACHINES OR INSTALLATIONS; THERMAL INSULATION IN GENERAL
- F16C—SHAFTS; FLEXIBLE SHAFTS; ELEMENTS OR CRANKSHAFT MECHANISMS; ROTARY BODIES OTHER THAN GEARING ELEMENTS; BEARINGS
- F16C2326/00—Articles relating to transporting
- F16C2326/01—Parts of vehicles in general
- F16C2326/02—Wheel hubs or castors
Definitions
- the present invention exists, for example, in a rolling bearing unit for rotatably supporting a wheel of an automobile with respect to a suspension device, between circumferential surfaces facing each other of a rotation side raceway and a stationary side raceway.
- the present invention relates to an improvement of a rolling bearing unit with a combined seal ring in which an end opening of a bearing internal space in which a plurality of rolling elements are installed is closed with a combined seal ring including a slinger and a seal ring.
- a structure capable of maintaining the sealing performance of the combined seal ring well over a long period of time by suppressing the amount of foreign matter that enters the seal internal space existing between the slinger and the seal ring. Is to be realized.
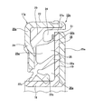
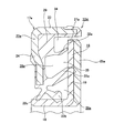
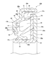
- Patent Document 1 describes a structure of a wheel supporting rolling bearing unit as shown in FIG.
- an outer ring 2 that is a stationary side race ring and a hub 3 that is a rotation side race ring are arranged concentrically with each other.
- the double row outer ring raceways 4 and 4 each provided on the inner peripheral surface of the outer ring 2 are stationary side raceways, and the double row each provided on the outer peripheral surface of the hub 3 and each is a rotary side raceway.
- a plurality of balls 6 and 6 each of which is a rolling element are arranged in each row.
- the hub 3 is rotatably supported on the inner diameter side of the outer ring 2.
- a stationary side flange 8 provided on the outer peripheral surface of the outer ring 2 is screwed to the suspension device and the outer end of the hub 3 in the axial direction is fixed.
- Part (outside with respect to the axial direction) means the left side of each figure, which is the outer side in the width direction of this vehicle in the assembled state to the vehicle. In the axial direction, the inside is referred to.)
- the rotating body for braking such as the wheel and the disk rotor is screwed and fixed to the rotation side flange 9 formed on the outer peripheral surface.
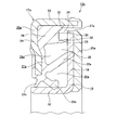
- Both end openings of the bearing internal space 10 in which the balls 6, 6 are installed between the inner peripheral surface of the outer ring 2 and the outer peripheral surface of the hub 3 are surrounded by a seal ring 11 and a combination seal ring 12, respectively. It is crawling on and blocking.
- the seal ring 11 that closes the axially outer end side opening of the bearing internal space 10 reinforces an elastic material 14 made of an elastomer such as rubber with a metal core 13 made of a metal plate, and the whole is formed in an annular shape. Consists of.
- the elastic member 14 has a plurality of (three in the illustrated example) seal lips 15a, 15b, and 15c.
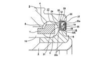
- the combination seal ring 12 is formed by combining a slinger 16 and a seal ring 17.
- the slinger 16 is formed by bending a metal plate to form an annular shape as a whole with an L-shaped cross section.
- the slinger 16 has a diameter from the rotation-side cylindrical portion 18 and the inner edge in the axial direction of the rotation-side cylindrical portion 18. It consists of a rotation-side annular ring portion 19 bent outward in the direction.
- Such a slinger 16 is fitted to the hub 3 by fitting the rotating cylindrical portion 18 to the inner end of the hub 3 (inner ring constituting the hub 3 together with the hub body) by an interference fit. It is fixed.
- the seal ring 17 includes a metal core 20 and an elastic member 21.
- the elastic material 21 includes a plurality of (three in the illustrated example) seal lips 22a, 22b, and 22c.
- the metal core 20 is formed by bending a metal plate to form an annular shape as a whole with an L-shaped cross section. From the stationary side cylindrical portion 23 and the axially outer end edge of the stationary side cylindrical portion 23. The stationary side annular portion 24 is bent inward in the radial direction.
- the seal ring 17 having such a cored bar 20 is fixed to the outer ring 2 by fitting the stationary-side cylindrical part 23 into the inner end of the outer ring 2 in the axial direction by an interference fit.
- the front end edge of the seal lip 22a is on the outer side surface in the axial direction of the rotary side annular portion 19, and the front end edge of each of the seal lips 22b and 22c is on the outer peripheral surface of the rotary side cylindrical portion 18. Each is in contact with the entire circumference.
- the annular encoder 25 may be attached and fixed over the entire circumference.
- the encoder 25 is made of a permanent magnet such as a rubber magnet or a plastic magnet in which a magnetic powder is dispersed in a polymer material such as rubber or synthetic resin to form a ring shape as a whole, and is magnetized in the axial direction. The magnetization direction is changed alternately and at equal intervals in the circumferential direction.
- the south pole and the north pole are alternately arranged at equal intervals in the circumferential direction on the inner side surface in the axial direction of the encoder 25, which is the detected surface.
- the detection surface of the rotation detection sensor (not shown) is opposed to the detection surface of such an encoder 25 so that the rotation speed of the wheel rotating together with the hub 3 can be measured.
- the measured signal representing the rotational speed of the wheel is used to control a vehicle travel stabilization device such as an anti-lock brake system (ABS) or a traction control system (TCS).
- ABS anti-lock brake system
- TCS traction control system
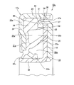
- the slinger 16 is not provided with an encoder as shown in FIG. 19B.
- leakage of grease existing in the bearing internal space 10 can be achieved by closing both axial ends of the bearing internal space 10 over the entire circumference with the seal ring 11 and the combination seal ring 12. It is intended to prevent the foreign matter such as moisture and dust existing in the external space from entering the bearing internal space 10.
- the seal ring 11 and the combination seal ring 12 are used under severe conditions where muddy water or the like is applied during use.
- the water of the muddy water that has entered the seal internal space 26 surrounded by the slinger 16 and the seal ring 17 evaporates, and only the solid content (mud) is this.
- the solid content mud
- the seal inner space 26 is located in the radially outer portion further than the seal lip 22a that is present on the outermost diameter side, and is interposed via the labyrinth seal 27. Since the volume of the external space 28 communicating with the external space is large, the amount of solid content accumulated in the external space 28 tends to increase. Then, the solid content accumulated in the outer space 28 may also adhere to the seal lip 22a existing on the outermost diameter side, and the movement of the seal lip 22a may be hindered.
- the gap dimension (width dimension in the radial direction) of the labyrinth seal 27 is reduced, foreign matter such as muddy water entering the outer space 28 can be reduced, but there is a limit to reducing this gap dimension. That is, if the gap dimension of the labyrinth seal 27 is extremely small, the outer ring 2 and the hub 3 are relatively inclined due to a moment load applied when the vehicle is turning and the distance between the labyrinth seal 27 is shortened and the rotation There is a possibility that the edge of the side circular ring part 19 and the inner peripheral surface of the stationary side cylindrical part 23 come into violent (strong) contact. Therefore, in the conventional structure shown in FIGS. 18, 19A, and 19B, it is difficult to extremely reduce the gap dimension of the labyrinth seal 27.
- Patent Document 2 discloses that the tip end edge of the second seal lip constituting the second seal ring fitted on the outer ring is connected to the rotation-side annular portion of the slinger.
- a structure is described in which the entire surface is in sliding contact with the side surface opposite to the seal ring. According to such a structure, it is possible to sufficiently prevent foreign matter from entering the seal internal space, but the number of parts increases and the cost increases.
- the installation space for the portion where the second seal ring is provided increases, and the degree of freedom in design may be limited to prevent interference with other articles provided adjacent to the rolling bearing unit with the combined seal ring. There is.
- the present invention provides a slinger that forms a combined seal ring that closes an end opening of a bearing internal space that exists between both stationary and rotating bearing rings that constitute a rolling bearing unit.
- a structure that can prevent the intrusion of foreign matter into the seal internal space between the seal ring and the seal lip provided on the seal ring can be secured to maintain excellent sealing performance over a long period of time.
- the rolling bearing unit with a combination seal ring of the present invention includes a rotation side race ring and a stationary side race ring, a plurality of rolling elements, and a combination seal ring.
- the rotation-side raceway and the stationary-side raceway rotate relative to each other while being concentrically arranged.
- Each of the rolling elements is provided so as to be able to roll between a rotation side track and a stationary side track, which are provided on circumferential surfaces facing each other of the rotation side raceway and the stationary side raceway.
- the combination seal ring closes an end opening of a bearing internal space existing between the mutually facing peripheral surfaces of the rotating side raceway and the stationary side raceway, and includes a slinger and a seal ring. .
- the slinger is fitted and fixed to a part of the peripheral surface of the rotating raceway facing the peripheral surface of the stationary raceway, and has a L-shaped cross section by bending a metal plate.
- the rotation side cylindrical portion and a rotation side circular ring portion bent in the radial direction from the axial end edge of the rotation side cylindrical portion toward the stationary ring raceway.
- the rotation side cylindrical part is being fixed to this rotation side bearing ring by fitting to the surrounding surface of the rotation side bearing ring.
- the seal ring is a part of the stationary side race ring that is fitted and fixed to a portion facing the slinger, and a cored bar that is fitted and fixed to the stationary side raceway ring.
- the metal core is formed by bending a metal plate to form an annular shape as a whole with an L-shaped cross section. From the stationary side cylindrical portion and the axial end edge of the stationary side cylindrical portion, the rotating side track And a stationary-side circular ring portion that is bent in the radial direction toward the ring. Then, the stationary side cylindrical portion is fixed to the stationary side raceway by fitting it to the peripheral surface of the stationary side raceway, and the tip of each seal lip is placed on the surface of the slinger on the entire circumference. It is in contact with slid. Furthermore, a labyrinth seal is provided between the tip side peripheral edge (periphery of the radial side opposite to the rotary side cylindrical part) and the peripheral surface of the stationary side cylindrical part.
- At least a part of the seal lips at the base of the elastic material is closer to the stationary cylindrical part than the seal lips.
- An auxiliary seal lip having a lower rigidity than a seal lip closer to the outer space, which is the seal lip closest to the labyrinth seal, is provided integrally with the elastic material.
- the tip edge of the auxiliary seal lip is slidably contacted or closely opposed over the entire circumference on the side surface in the axial direction of the rotating-side annular ring portion.
- a peripheral surface of the stationary side cylindrical portion on the side where the stationary side annular portion is provided is covered with the elastic material.
- the inner and outer peripheral edges of the portion of the elastic material that covers the side surface in the axial direction of the stationary ring portion, the portion that covers the peripheral surface, and the base of the auxiliary seal lip are divided into quarters. Smoothly continuous with a single circular arc-shaped curved surface.
- the seal ring and the slinger are combined, and the tip of the outer space-side seal lip is elastically brought into contact with the axial side surface of the rotating-side annular ring portion.
- the leading edge is brought close to and opposed to one peripheral surface of the auxiliary seal lip.
- the degree of proximity facing is set such that the auxiliary seal lip does not reverse in the radial direction (does not turn in the radial direction) by the fluid that enters through the labyrinth seal and presses the other peripheral surface of the auxiliary seal lip.
- the radial one side and the axial one side are partitioned by the peripheral surface of the stationary cylindrical portion and the axial side surface of the stationary annular portion, in the radial direction and the axial direction.
- a thick portion having a thickness dimension larger than that of other portions is provided.
- assistant seal lip is made to continue in the part near said each seal lip regarding radial direction among the axial direction end surfaces of this thick part.
- the recessed part which each opens in the axial direction end surface of this thick part in the circumferential direction several places of the radial direction intermediate part of the said thick part is formed.
- assistant seal lip is located in a part near each said seal lip rather than these each recessed part among the axial direction end surfaces of this thick part.
- the stationary side annular portion is radiated from the proximal end side annular portion closest to the stationary side cylindrical portion with respect to the radial direction and the distal end side peripheral edge of the proximal end annular portion.
- a conical inclined portion that is inclined in a direction away from the rotation-side annular portion toward the distal end side in the direction, and the proximal-side circle that is continuous in the radial direction from the peripheral edge on the distal end side of the inclined portion.
- a stepped shape having a ring portion and a front end side circular ring portion is provided. And the base end part of the said auxiliary seal lip is located in the front end side part of the said base end side annular ring part.
- a ridge that protrudes in the axial direction toward the rotation-side annular portion is formed on the entire circumference of the stationary-side annular portion in the radial direction.
- the base end part of the said auxiliary seal lip is located in the front-end
- the distal end portion of the rotating-side annular portion is formed by bending a portion near the distal end in the radial direction of the rotating-side annular portion over the entire circumference with respect to the thickness direction of the rotating-side annular portion. It is positioned closer to the stationary-side annular part than the intermediate part or the base end part. Then, the front end edge of the auxiliary seal lip is slidably contacted or closely opposed to the axial side surface of the front end portion of the rotating side annular ring portion over the entire circumference.
- a part of the elastic material is provided in a state of covering the peripheral surface on the opposite side to the stationary side raceway among the inner and outer peripheral surfaces of the stationary side cylindrical portion.
- the diameter of the rotating side annular part is opposite to the stationary side annular part across the tip of the rotating side annular part, and the diameter from this part toward the rotating side cylindrical part
- the locking lip protruding in the direction is intermittently provided in the circumferential direction. Furthermore, the front end portion of the locking lip and the front end portion of the rotation-side annular ring portion are overlapped with each other in the axial direction. Then, separation of the slinger and the seal ring is prevented.
- the rotating side bearing ring is an inner diameter side bearing ring existing radially inward
- the stationary side bearing ring is an outer diameter side bearing ring existing radially outward
- the auxiliary seal lip has a shape inclined in a direction in which the diameter increases toward the tip edge. Then, the front end edge of the auxiliary seal lip is closely opposed to the axial side surface of the rotation-side annular portion over the entire circumference in a non-contact state, and the front-end edge of the auxiliary seal lip and the rotation-side annular portion are A labyrinth seal is provided around the entire circumference between the axial side surfaces.
- the shape of at least an intermediate part or a tip edge part of the auxiliary seal lip is a partially conical cylinder.
- the auxiliary seal lip has a circular arc shape whose outer peripheral surface is a concave surface.
- tip parts of this auxiliary seal lip is made parallel to this axial direction side surface.
- the auxiliary seal lip is composed of a partially conical cylindrical intermediate portion and an annular flange that is bent radially outward from the leading edge of the intermediate portion. And this collar part and the axial direction side surface of the said rotation side annular ring part are made to adjoin and oppose over the perimeter.
- the tip edge of the auxiliary seal lip is brought into sliding contact with the side surface in the axial direction of the rotation-side annular ring portion.
- a shape in the circumferential direction of at least a portion slidably in contact with the side surface in the axial direction in the tip edge is an uneven shape.
- the tip edge is intermittently brought into sliding contact with the side surface in the axial direction in the circumferential direction.
- a magnetic powder in a polymer material is formed on a surface opposite to the surface facing the stationary side annular portion among the axially opposite side surfaces of the rotating side annular portion.
- a permanent magnet encoder having a ring shape as a whole is dispersed.
- the labyrinth seal is provided in the said part by making the periphery of this encoder oppose the surrounding surface of the said stationary side cylindrical part.
- a part of the polymer material constituting the encoder causes the entire circumference toward the stationary side annular part side beyond the distal end side peripheral part of the rotating side annular part. Protruding ridges are formed.
- the rotation side raceway is an inner diameter side raceway existing radially inward
- the stationary side raceway is an outer diameter side raceway existing radially outward
- the part with the largest outer diameter among the outer peripheral surfaces of the encoder is present on the opposite side with respect to the rotating-side annular portion with respect to the axial direction with the locking lip interposed therebetween.
- a portion having the largest outer diameter among the encoders is provided in a portion closer to the inner side in the axial direction in an intermediate portion in the axial direction of the outer peripheral surface of the encoder.
- the seal inner space existing between the slinger and the seal ring constituting the combined seal ring is adjacent to the seal lip closer to the external space. Intrusion of foreign matter such as muddy water into the portion (external space 28 shown in FIGS. 18, 19A and 19B) can be effectively prevented. That is, in the case of the rolling bearing unit with a combined seal ring according to the present invention, the outer side space communicating with the outer space via the labyrinth seal is divided into two in the radial direction by the auxiliary seal lip. Then, the auxiliary seal lip exists between the seal lip closer to the outer space and the labyrinth seal.
- the amount of foreign matter such as muddy water reaching the outer space-side seal lip is reduced, and a large amount of solid matter adheres to the outer space-side seal lip, thereby impairing the movement of the outer space-side seal lip. Can be prevented.
- good sealing performance can be exhibited over a long period of time, and the durability of the rolling bearing unit with the combined seal ring can be ensured.
- the auxiliary seal lip has lower rigidity than each seal lip, even if the tip edge of the auxiliary seal lip rubs against the rotation-side annular portion of the slinger, the frictional force acting on the rubbed portion is not. It can be kept low. For this reason, the increase in the rotational resistance of the rolling bearing unit with a seal ring due to the provision of the auxiliary seal lip can be suppressed very little.
- FIG. 1 which shows 2nd Embodiment of this invention.
- FIG. 1 which shows 3rd Embodiment of this invention.
- FIG. 1 which shows 4th Embodiment of this invention.
- FIG. 1 which shows 5th Embodiment of this invention.
- FIG. 1 which shows 6th Embodiment of this invention.
- FIG. 1 which shows 7th Embodiment of this invention.
- FIG. 1 which shows 2nd Embodiment of this invention.
- FIG. 1 which shows 3rd Embodiment of this invention.
- FIG. 1 which shows 4th Embodiment of this invention.
- FIG. 1 which shows 5th Embodiment of this invention.
- FIG. 1 which shows 6th Embodiment of this invention.
- FIG. 1 which shows 7th Embodiment of this invention.
- FIG. 1 which shows 2nd Embodiment of this invention.
- FIG. 1 which shows 3rd Embodiment of this invention.
- FIG. 1 which shows 4th Embodiment of this
- FIG. 1 which shows 8th Embodiment of this invention.
- FIG. 1 which shows 9th Embodiment of this invention.
- FIG. 1 which shows 10th Embodiment of this invention.
- FIG. 1 which shows 11th Embodiment of this invention.
- FIG. 1 which shows 12th Embodiment of this invention.
- FIG. 1 which shows 13th Embodiment of this invention.
- FIG. 1 which shows 14th Embodiment of this invention.
- FIG. 1 which shows 15th Embodiment of this invention.
- the elements on larger scale of this front end edge which show an example of the uneven
- Sectional drawing which shows an example of the rolling bearing unit with a combination seal ring known conventionally.
- the X section enlarged view of Drawing 18 showing an example of a combination seal ring similarly.
- the X section enlarged view of Drawing 18 showing other examples of combination seal ring similarly.
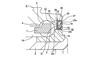
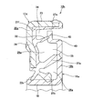
- FIG. 1 shows a first embodiment of the present invention.
- the rolling bearing unit with a combined seal ring according to the present invention including this embodiment is characterized in that, in addition to the elastic material constituting the seal ring, a plurality of seal lips provided on the elastic material, each of these seal lips.
- auxiliary seal lip having a lower rigidity than the above, the entry of foreign matter into the seal internal space of the combined seal ring is suppressed, and the adhesion of foreign matter to the seal lip closer to the external space among the seal lips is suppressed. It has a structure to keep the sealing performance of the combination seal ring good over a long period of time.
- the wheel is supported rotatably with respect to the suspension device. Since it is the same as that of the bearing unit, overlapping illustrations and descriptions are omitted or simplified, and the following description will focus on the features of this embodiment.
- the combination seal ring 12a incorporated in the rolling bearing unit with the combination seal ring according to the present embodiment includes an outer peripheral edge of the rotating-side circular ring portion 19 constituting the slinger 16 and a stationary-side cylindrical portion 23 constituting the core metal 20a of the seal ring 17a.
- a labyrinth seal 27a is provided between the inner peripheral surface of the elastic member 21a and a part of the inner peripheral surface. Further, a part of the elastic member 21a is provided outside the inner peripheral surface of the stationary side cylindrical portion 23 and the axially inner side surface of the stationary side annular portion 24 that constitutes the core metal 20a together with the stationary side cylindrical portion 23.
- a thick-walled portion 29 in which the radial dimension and the axial dimension are larger than the thickness dimension of the other part is provided in the part where the radial outer side and the axial outer side are partitioned by the radial half.
- a ring-shaped stepped surface 30 that is an axially inner end surface of the thick portion 29 and a portion closer to the tip of the inner peripheral surface of the stationary cylindrical portion 23 (an axially inner half).
- the covered portion is smoothly continued by an outer diameter side curved surface 31 (corner R) whose cross-sectional shape is a quarter arc.
- the radius of curvature R 1 of the cross-sectional shape of the outer diameter side curved surface 31, is set to the width dimension W or more in the radial direction of the labyrinth seal 27a (R 1 ⁇ W). This facilitates the return of foreign matter that has entered the space portion present on the outer diameter side of the auxiliary seal lip 32 described below through the labyrinth seal 27a to the labyrinth seal 27a side.
- an auxiliary seal lip 32 extends from the radially inner end of the step surface 30 toward the rotation-side annular ring portion 19 (formed integrally with the elastic material 21a together with the seal lips 22a to 22c).
- the auxiliary seal lip 32 has a partially conical cylindrical shape extending in a slanting manner in a direction in which the diameter increases toward the inside in the axial direction with the stepped surface 30 as a base end.
- Such an outer peripheral surface of the base end portion of the auxiliary seal lip 32 and the stepped surface 30 are also smoothly continued by the inner diameter side curved surface 33 whose sectional shape is a quarter arc.
- the radius of curvature R 2 of the cross-sectional shape of the inner diameter side curved surface 33 while suppressing stress applied to the proximal end portion of the auxiliary sealing lip 32, the surface that easily deflected the auxiliary sealing lip 32 adequately, further, the labyrinth
- the foreign matter that has entered the space portion existing on the outer diameter side of the auxiliary seal lip 32 through the seal 27a is appropriately restricted from the viewpoint of facilitating the return to the labyrinth seal 27a side.
- the radius of curvature R 2 of the cross-sectional shape of the inner diameter side curved surface 33 is the same as or slightly larger than the thickness T of the base end portion of the auxiliary seal lip 32 (R 2 ⁇ T )is doing.
- auxiliary seal lip 32 As described above, foreign matter adheres to the seal lip 22a which is a side lip and is located on the inner diameter side of the auxiliary seal lip 32, which is a seal lip closer to the external space described in the claims. It does not require a high level of sealing performance. Rather, it is important to suppress an increase in rotational resistance (dynamic torque) of the rolling bearing unit with a seal ring incorporating the combination seal ring 12a by providing the auxiliary seal lip 32. For this reason, in the case of the present embodiment, an increase in frictional resistance due to the provision of the auxiliary seal lip 32 is suppressed by the following devices (1) to (3).
- the cross-sectional shape of the auxiliary seal lip 32 has a wedge shape with the thickness dimension decreasing toward the tip edge. By doing so, the elasticity of the tip of the auxiliary seal lip 32 is kept low, and the frictional resistance is not increased.
- the thickness dimension of the auxiliary seal lip 32 is sufficiently smaller than the thickness dimension of the seal lip 22a. Specifically, the thickness of the base end that is the thickest portion of the auxiliary seal lip 32 is 1 ⁇ 2 of the thickness of the base end that is the thinnest portion of the seal lip 22a. Hereinafter, more preferably 1/3 or less, but 1/5 or more in consideration of formability. By doing so, the elasticity of the entire auxiliary seal lip 32 is kept low, and the frictional resistance is not increased.
- the tightening margin of the auxiliary seal lip 32 is sufficiently smaller than the tightening margin of the seal lip 22a.
- the axial height of the auxiliary seal lip 32 (the amount of axial protrusion toward the rotating-side annular portion 19) is set to the axial direction of the seal lip 22a. It is sufficiently smaller than the height.
- the contact pressure between the tip edge of the auxiliary seal lip 32 and the axially outer side surface of the rotation-side annular ring portion 19 is suppressed to prevent the frictional resistance from increasing.
- the center axis of the seal ring 17a and the center axis of the slinger 16 are inclined as the vehicle turns. In this state, the front end edge of the auxiliary seal lip 32 may slightly float from the axially outer side surface of the rotating-side annular ring portion 19 (even if the tightening margin becomes zero or a slight gap is left).
- a wheel support rolling bearing unit incorporated in a part (rigid rear axle) that supports the rotation of a rear wheel that is a semi-floating suspension device (non-independent suspension device) and that does not give a rudder angle. If the center axis of the seal ring and the center axis of the slinger hardly tilt even during turning, the tip edge of the auxiliary seal lip is placed on the outer side in the axial direction of the rotating-side annular ring part, and a minute gap is formed. You may make it oppose through.
- the outer space 28a that exists in the radially outer portion than the seal lip 22a and communicates with the outer space via the labyrinth seal 27a is divided into two in the radial direction by the auxiliary seal lip 32. ing.
- the auxiliary seal lip 32 exists between the seal lip 22a and the labyrinth seal 27a.
- the axially outer end portion and the inner diameter side are partitioned by the step surface 30 and the auxiliary seal lip 32 at a portion communicating with the labyrinth seal 27a at the radially outer end portion of the outer space 28a.
- a small space 34 near the opening is provided.
- the inner and outer peripheral edges of the stepped surface 30 constituting the inner surface of the axially outer end of the small opening 34 are formed by the inner and outer curved surfaces 33 and 31, respectively. Smooth and continuous with both inner and outer peripheral surfaces. Furthermore, the outer peripheral surface of the auxiliary seal lip 32 continuing from the inner diameter side curved surface 33 is inclined in the direction toward the labyrinth seal 27a toward the tip. With such a configuration, the flow of foreign matter blown from the labyrinth seal 27a into the small space 34 close to the opening is converted and returned to the labyrinth seal 27a.
- the seal internal space 26a existing between the slinger 16 and the seal ring 17a Intrusion of foreign matter such as muddy water can be effectively prevented.
- foreign matter adheres to the outer peripheral surface of the seal lip 22a existing in the portion closest to the labyrinth seal 27a among the seal lips 22a to 22c. It is possible to prevent the behavior from being impaired and the sealing performance of the seal lip 22a from being deteriorated.
- the labyrinth seal 27a is separated from the outside by the step surface 30 and the auxiliary seal lip 32 that partition the axially outer end surface and inner peripheral surface of the opening-side small space 34.
- the space 28 a it is possible to prevent foreign matter from entering the small space 35 close to the anti-opening that exists on the inner diameter side of the auxiliary seal lip 32.
- the tip end portion of the seal lip 22a is closely opposed to the inner peripheral surface of the auxiliary seal lip 32 in the use state shown in FIG. Even when some pressure is applied to the surface, the auxiliary seal lip 32 is not deformed so as to be reversed (turned up) to the inner diameter side. That is, when the pressure in the small space 34 near the opening increases due to muddy water or the like that has entered through the labyrinth seal 27a, the auxiliary seal lip 32 tends to deform toward the inner diameter side. The auxiliary seal lip 32 is supported by the tip portion coming into contact with the inner peripheral surface of the auxiliary seal lip 32, and deformation of the auxiliary seal lip 32 is prevented. Thereby, the sealing performance of this auxiliary seal lip 32 can be maintained in a stable state.
- the auxiliary seal lip 32 is not greatly deformed radially inward regardless of the foreign matter that has entered the small space 34 close to the opening. Therefore, the foreign matter passes through the auxiliary seal lip 32. Thus, it does not enter the small space 35 near the anti-opening. In other words, the foreign matter that has entered the small opening 34 is stopped in the small opening 34. Further, foreign matter guided by the outer diameter side curved surface 31, the step surface 30 and the inner diameter side curved surface 33 and reaching the outer peripheral surface of the auxiliary seal lip 32 causes the outer peripheral surface of the auxiliary seal lip 32 to pass through the labyrinth seal. It flows radially outward toward 27a and is discharged to the external space through this labyrinth seal 27a.
- the foreign matter (muddy water containing a large amount of water) cleans the inside of the small space 34 near the opening, so that the solid matter is prevented from being deposited in the small space 34 near the opening. For this reason, it is possible to prevent a large amount of solid content from adhering to the seal lip 22a and impairing the movement of the seal lip 22a.
- the auxiliary seal lip 32 can effectively maintain the foreign matter intrusion preventing effect on the side opposite to the small space 35 near the opening, and further, the foreign matter adhesion preventing effect on the seal lip 22a over a long period of time.
- the durability of the rolling bearing unit incorporating the combination seal ring 12a can be ensured.
- the outer ring having the seal ring 17a fitted therein and the hub having the slinger 16 fitted externally are fixed. Based on the relative displacement, the seal ring 17a and the slinger 16 are relatively displaced, and the volume of the small space 34 near the opening is increased or decreased. In the case of the present embodiment, the volume of the small space 34 near the opening is smaller than the volume of the small space 35 near the opening, and the center O of the relative displacement between the outer ring 2 and the hub 3 serving as the oscillation center (FIG. 18).
- the volume change rate of the small space 34 near the opening due to the relative displacement is large. For this reason, the pumping action by this volume change can be enlarged, and the foreign matter accumulated in the small space 34 near the opening can be effectively discharged to the external space.
- the auxiliary seal lip 32 is a contact type seal lip
- the air sealed in the small space 35 near the anti-opening supports the auxiliary seal lip 32.
- the foreign matter accumulated in the space 34 does not enter the small space 35 near the counter opening.
- the auxiliary seal lip 32 is a non-contact type seal lip having a minute gap
- the air existing in the small space 35 near the opening is radially outward from the tip of the auxiliary seal lip 32. Because of the outflow, the foreign matter accumulated in the small space 34 near the opening does not enter the small space 35 near the counter opening.
- the portion of the inner circumferential surface of the thick portion 29 of the elastic member 21a that divides the outer diameter side of the small space 35 near the anti-opening has a larger diameter toward the auxiliary seal lip 32 toward the inner side in the axial direction.
- the concave surface is a partial conical shape. For this reason, if foreign matter such as muddy water passes between the tip edge of the auxiliary seal lip 32 and the inner side surface of the slinger 16 in the axial direction, Is guided along the inner peripheral surface of the thick portion 29 to the sliding contact portion or the proximity facing portion between the auxiliary seal lip 32 and the slinger 16.
- the auxiliary seal lip 32 has a small tightening margin and is thin, and is inclined in a radially outward direction toward the distal end edge.
- the auxiliary seal lip 32 has a small space close to the opening from the anti-opening small space 35.
- the sealing effect of blocking the fluid or the like toward 34 is weak.
- the foreign matter led to the inner peripheral surface of the auxiliary seal lip 32 along the inner peripheral surface of the thick portion 29 is slidably contacted or closely opposed to the auxiliary seal lip 32 and the slinger 16.
- the portion passes from the inside in the radial direction to the outside in the radial direction, is sent to the small space 34 near the opening, further passes through the labyrinth seal 27a, and is discharged to the external space.
- auxiliary seal lip 32 As described above, in the structure of this embodiment, by providing the auxiliary seal lip 32, foreign matter that reaches the outer peripheral surface of the seal lip 22a and remains attached to the outer peripheral surface of the seal lip 22a is extremely small. Slightly reduced.
- the auxiliary seal lip 32 provided in order to obtain such operations and effects is small in thickness and has a slight or zero tightening allowance. For this reason, the increase in the rotational torque of the rolling bearing unit with the combined seal ring accompanying the addition of the auxiliary seal lip 32 is zero or slight.
- the width W in the radial direction of the labyrinth seal 27a provided between the outer peripheral edge of the rotating-side circular ring portion 19 and the inner peripheral surface of the stationary-side cylindrical portion 23 is the outer ring assumed in design. It is set so that it makes slight contact at the maximum relative inclination between the hub and the hub. Since the inner peripheral surface of the stationary-side cylindrical portion 23 is covered with the elastic material 21a, even if such setting is performed, the combination seal ring 12a is not seriously damaged. By setting the width dimension W to a minimum, the labyrinth seal 27a can be improved in sealing performance, and foreign matter intrusion into the small opening 34 can be suppressed to a minimum.
- FIG. 3 shows a second embodiment of the present invention.
- a magnetic powder is dispersed in a polymer material such as rubber or synthetic resin on the inner surface in the axial direction of the rotating-side annular ring portion 19 that constitutes the slinger 16 so that the whole is formed into an annular shape.
- a magnet encoder 25a is attached to the entire circumference.
- the encoder 25a is formed so as to cover the distal end side peripheral edge (outer peripheral edge) of the rotation-side annular ring portion 19, and is covered on the inner peripheral surface of the stationary-side cylindrical portion 23 that constitutes the core metal 20a of the seal ring 17a.
- a labyrinth seal 27a is formed between the elastic member 21a and a part thereof. Further, as the elastomer constituting the elastic material 21a of the seal ring 17a, a material containing a wax component and having good water repellency is used.
- the axial length of the labyrinth seal 27a can be increased by the thickness of the encoder 25a, so that the sealing effect can be enhanced. Furthermore, since the tip side peripheral edge (outer peripheral edge) of the rotating-side circular ring portion 19 that is a shear surface is covered with the encoder 25a to improve the surface roughness to a smooth surface, mud is formed on the inner surface portion of the labyrinth seal 27a. Can be prevented from being trapped and deposited.
- the encoder 25a is formed by injection molding on the inner side surface in the axial direction of the rotating side annular portion 19, the outer side surface in the axial direction of the rotating side annular portion 19 is pressed against the reference surface (the bottom surface of the mold). Surface). Therefore, it is possible to prevent the polymer material constituting the encoder 25a from adhering to the axially outer side surface where the auxiliary seal lip 32 and the seal lip 22a are in sliding contact.
- the outer side space 28a including the inner surface of the opening-side small space 34 is constituted by the smooth surface of the elastic material 21a, whereby the auxiliary seal lip 32 and the Accumulation of foreign matter on the surface of the seal lip 22a can be more sufficiently suppressed. Since the configuration and operation of the other parts are the same as those of the first embodiment described above, the same parts are denoted by the same reference numerals, and redundant description is omitted.
- FIG. 4 shows a third embodiment of the present invention.
- an encoder 25b made of a permanent magnet is attached to the entire inner periphery of the inner side surface in the axial direction of the rotating-side circular ring portion 19 constituting the slinger 16.
- a part of the polymer material constituting the encoder 25b is passed over the outer peripheral edge of the rotating side annular part 19 and the stationary side annular part constituting the core metal 20a of the seal ring 17a.
- An annular protrusion 36 is formed so as to protrude over the entire circumference toward the portion 24 side.
- the inner circumferential surface of the ridge 36 is a partially conical inclined surface 37 that is inclined in a direction in which the inner diameter increases toward the tip edge (outward in the axial direction).
- a labyrinth seal 27b is formed including a portion between the outer peripheral surface of the ridge 36 and the inner peripheral surface of the stationary cylindrical portion 23.
- a part of the elastic material 21a constituting the seal ring 17a covers the inner peripheral surface of the stationary side cylindrical portion 23 constituting the cored bar 20a, and the encoder 25b
- the portion of the labyrinth seal 27b that is in close proximity to the outer edge and the outer peripheral surface of the ridge 36 is inclined in a direction in which the inner diameter becomes smaller toward the stationary-side annular ring portion 24, and is a partial conical surface shape.
- the inclined surface 38 is used.
- the length of the labyrinth seal 27b in the axial direction is higher than the height of the protrusion 36 in the axial direction as compared with the second embodiment described above. Since it can be made wider by as much, the sealing effect can be further enhanced. Further, since the protrusion 36 protrudes so as to cover the sliding contact portion or the proximity facing portion between the auxiliary seal lip 32 and the axially outer side surface of the rotation-side annular ring portion 19, the muddy water or the like that the wheel jumps up It is possible to more reliably prevent the splashes from colliding with the sliding contact portion or the proximity facing portion.
- the inner peripheral surface of the stationary side cylindrical portion 23 is the inclined surface 38 and the inner peripheral surface of the protrusion 36 is also the inclined surface 37, so that foreign matters such as mud are present on the inner surface of the small space 34 near the opening. Accumulation can be prevented more effectively. That is, the foreign matter adhering to the inclined surface 37 on the inner peripheral surface of the protrusion 36 is caused by the centrifugal force based on the rotation of the slinger 16, and the foreign matter attached to a part of the inclined surface 38 of the elastic member 21 a is this centrifugal force. As a result, the foreign matter is drawn to the external space through the labyrinth seal 27b, and the foreign matter can be prevented from accumulating as described above.
- a polymer such as polytetrafluoroethylene resin (PTFE) having high water repellency, polyphenylene sulfide resin (PPS), modified polyamide resin or the like is used as the polymer material constituting the encoder 25b, mud or the like.
- PTFE polytetrafluoroethylene resin
- PPS polyphenylene sulfide resin
- modified polyamide resin or the like
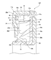
- FIG. 5 shows a fourth embodiment of the present invention.
- the stationary-side annular ring portion 39 which is disposed concentrically with the stationary-side annular portion 24a constituting the seal ring 17b.
- a stepped shape including an outer diameter side inclined portion 40, a distal end side annular ring portion 41, and an inner diameter side inclined portion 42.
- the proximal-side annular ring portion 39 is located closest to the outer diameter, and is bent at a right angle from the axially outer end of the stationary-side cylindrical portion 23a toward the radially inner side.
- the outer diameter side inclined portion 40 is a portion corresponding to the inclined portion described in the claims, and continues radially inward from the inner peripheral edge which is the front end side peripheral edge of the base end side annular ring portion 39.
- the inclination toward the outer side in the axial direction is inclined toward the inner peripheral edge which is the tip side.
- the distal end side annular portion 41 is a portion that is continuous radially inward from the inner peripheral edge of the outer diameter side inclined portion 40 and is parallel to the proximal end side annular portion 39.
- the inner diameter side inclined portion 42 is a portion continuous radially inward from the inner peripheral edge of the distal end side annular ring portion 41 so as to support the proximal end portions of the seal lips 22a, 22b, 22c. It is inclined in the direction toward the axially inward direction toward the inner peripheral edge side.
- the base end portion of the auxiliary seal lip 32 formed on a part of the elastic material 21c is positioned at the inner peripheral edge portion (front end side portion) of the base end side annular portion 39. Then, the thickness dimension of the portion of the elastic material 21c where the base end portion of the auxiliary seal lip 32 is continuous is made to substantially coincide with the thickness dimension of the base end portion of the auxiliary seal lip 32 (the larger one). The difference is within 40%, preferably within 20%). Thereby, the sealing performance between the front end edge of the auxiliary seal lip 32 and the axially outer side surface of the rotating-side annular ring portion 19 constituting the slinger 16 is improved.
- the thickness dimension of the portion of the elastic material 21c where the base end portion of the auxiliary seal lip 32 is continuous is made smaller than that in the first to third embodiments (the thick portion 29 is formed). Lost) Then, during the injection molding of the elastic material 21c, the shrinkage amount of the portion where the base end portion of the auxiliary seal lip 32 is continuous is suppressed, and the shape of the auxiliary seal lip 32 is distorted as much as possible after the injection molding. I try to keep it small.
- the rubber material constituting the elastic material 21c shrinks by about 1.2 to 3.5% after injection molding, so-called shrinkage occurs. Therefore, when the base end portion of the auxiliary seal lip 32 is positioned at the thick portion 29 as in the first to third embodiments, the auxiliary seal lip 32 is affected by the shrinkage of the thick portion 29. May be distorted. And when it is distorted, the state of the engagement portion between the tip edge of the auxiliary seal lip 32 and the axially outer side surface of the rotation-side annular ring portion 19 of the slinger 16 becomes unstable. Sealability tends to be unstable.
- the inclination angle of the auxiliary seal lip 32 with respect to the central axis of the seal ring 17b is reduced (the auxiliary seal lip 32 stands up), and the tip side edge of the auxiliary seal lip 32 is greatly bent. It is easy to be in a so-called belly contact state with a large area in contact with the axially outer side surface of the ring portion 19, and it becomes difficult to obtain stable sealing performance. Further, when the thick portion 29 is simply eliminated and the auxiliary seal lip is lengthened correspondingly, the rigidity of the auxiliary seal lip is excessively lowered, and it is difficult to obtain stable sealing performance. In addition, the volume of the small space 34 near the opening is increased, and the above-described foreign matter discharge effect due to the pump action is reduced.
- auxiliary seal lip is increased in order to ensure the required rigidity by increasing the length of the auxiliary seal lip, the relationship between the tip edge of the auxiliary seal lip and the axially outer surface of the rotating side annular ring portion will be described.
- the surface pressure at the joint increases, and the dynamic torque of the rolling bearing unit with the combined seal ring increases.
- the proximal end side annular portion 39 is present on the axially inner side (side closer to the rotating side annular portion 19) than the distal end side annular portion 41. . And by this amount, without changing the size and shape of each seal lip 22a, 22b, 22c (while keeping the same as in the first to third embodiments), the auxiliary seal lip 32 of the elastic material 21c. The thickness dimension of the portion where the base end portion is continuous can be reduced.
- the degree of shrinkage occurring in this portion is reduced, distortion of the shape of the auxiliary seal lip 32 is reduced, and the tip edge of the auxiliary seal lip 32 and the axial direction of the rotation-side annular ring portion 19 of the slinger 16 are reduced.
- the state of the engaging portion with the outer surface can be stabilized, and the sealing performance of the engaging portion can be improved.
- the rigidity of the stationary side cylindrical part 23a can be increased by the amount that the axial dimension (width) of the stationary side cylindrical part 23a can be reduced. Further, during the injection molding of the sealing material 21c, it is difficult for elastic deformation such as buckling to occur in the stationary side cylindrical portion 23a, and among the sealing material 21c, the axially inner half portion of the stationary side cylindrical portion 23a. A portion surrounding the inner and outer peripheral surfaces can be stably molded. It should be noted that the outer diameter of the tip side annular portion 41 is larger than the outer diameter of the seal lip 22a in the free state.
- a plurality of circumferential locations on the inner side surface in the axial direction of the cored bar 20b are directed toward the inner surface of the cavity of the mold and are held down by holding pins (not shown).
- the core bar 20b is prevented from being lifted from the inner surface, and the seal lips 22a, 22b, 22c can be accurately injection-molded.
- the small recess 43 shown in FIG. 5 is a mark that presses the tip of the holding pin. However, the bottom of the small recess 43 is covered with a part of the sealing material 21c.
- the axial position of the axial inner surface of the base end side annular portion 39 is the axial direction of the axial inner end surface of the thick portion 29 in the first to third embodiments. It is almost coincident with the position (see FIGS. 1 to 4). However, these two axial positions do not necessarily have to coincide with each other.
- the auxiliary seal lip 32 can be appropriately adjusted according to the performance such as flexibility and rigidity required. Since the configuration and operation of the other parts are the same as those of the second embodiment described above, the same parts are denoted by the same reference numerals, and redundant description is omitted.
- FIG. 6 shows a fifth embodiment of the present invention.
- the radial ring intermediate portion 24b of the cored bar 20c which forms the seal ring 17c together with the elastic member 21d
- a protrusion 44 is formed.
- the ridge 44 has a trapezoidal cross-sectional shape and is formed over the entire circumference in a state of projecting inward in the axial direction toward the rotation-side annular portion 19 of the slinger 16.
- the proximal end portion of the auxiliary seal lip 32 is positioned at the distal end portion of the protrusion 44.
- the thickness of a portion of the elastic material 21d located on the axially outer side of the base end portion of the auxiliary seal lip 32 is set to the auxiliary seal lip 32.
- the thickness of the base end is substantially the same.
- the protrusion 44 has an L-shaped intermediate material (substantially the same shape as the core metal 20a described in FIGS. 1 to 4), and then a flat plate portion (annular portion) of the intermediate material. It is made by pinching strongly between the punch and the die and plastically deforming (overhanging).
- the axial dimension (width) of the stationary cylindrical portion 23 existing at the outer peripheral edge portion of the core metal 20c is sufficiently ensured, and the core metal 20c with respect to the outer ring is secured. It is possible to prevent deformation of the auxiliary seal lip 32 while ensuring the fitting strength and stabilizing the posture after the fitting.
- the inner diameter of the protrusion 44 is made larger than the outer diameter of the seal lip 22a in a free state in order to prevent the core bar 20c from being lifted from the inner surface of the cavity by the holding pin. ing.
- a ridge 46 is formed in a radial intermediate portion of the outer side surface of the stationary side annular ring portion 24b in a part of the elastic material 21d.
- This protrusion 46 is a rotating side circle constituting the detection surface of the encoder 25a (when the encoder 25a is provided) or the slinger 16 in a state where the combination seal ring 12e is overlapped in the axial direction and packed (bar wound packaging). It contacts the inner side surface of the ring portion 19 in the axial direction (when no encoder is provided). Then, the surface to be detected is prevented from being damaged, and the seal ring 17c and the slinger 16 of the adjacent combination seal ring 12e are prevented from sticking.
- the inner diameter side inclined portion 42 (see FIG. 5) as in the fourth embodiment described above can be provided at the inner diameter side end of the core bar 20c. Since the configuration and operation of the other parts are the same as those of the second embodiment described above, the same parts are denoted by the same reference numerals, and redundant description is omitted.
- FIG. 7 shows a sixth embodiment of the present invention.
- a concave portion 45 is formed in the inner end surface in the axial direction of the thick portion 29a.
- the thickness dimension of the inner end portion in the radial direction of the thick portion 29 a located between the concave portions 45 in the circumferential direction and radially inward of the concave portions 45 is determined by the auxiliary seal lip 32.
- the thickness dimension of the base end is substantially the same.
- the base end part of this auxiliary seal lip 32 is located in the radial direction inner end part among the axial direction inner end surfaces of the said thick part 29a.
- the auxiliary seal lip 32 it is possible to prevent the auxiliary seal lip 32 from being deformed due to the shrinkage generated after the injection molding of the elastic material 21e, thereby ensuring the sealing performance.
- the volume of the small space 34a close to the opening existing between the auxiliary seal lip 32 and the labyrinth seal 27a can be increased by the provision of the respective recesses 45. For this reason, while the foreign matter discharge effect by the pump action described above is reduced, the effect of weakening the momentum of the foreign matter that has passed through the labyrinth seal 27a and entered the small opening 34a is increased.
- the stationary-side circular ring portion 24 of the cored bar 20 is pressed against the inner surface of the cavity by a holding pin at the back surface portion of each recess 45. Since the configuration and operation of the other parts are the same as those of the first embodiment described above, the same parts are denoted by the same reference numerals, and redundant description is omitted.
- FIG. 8 shows a seventh embodiment of the present invention.
- the seal ring 17d constituting the combination seal ring 12g incorporated in the rolling bearing unit with the combination seal ring of this embodiment, as in the case of the fourth to fifth embodiments shown in FIGS.
- the thickness dimension of the portion of the material 21f where the base end portion of the auxiliary seal lip 32 is continuous is reduced.
- the distortion of the shape of the auxiliary seal lip 32 is minimized as much as possible.
- the core bar 20a having the same shape as that of the first to third embodiments shown in FIGS. 1 to 4 is used.
- the total length of the auxiliary seal lip 32 is regulated to an appropriate value.
- the portion near the tip in the radial direction middle portion of the rotation-side annular portion 19a of the slinger 16a is bent over the entire circumference in the thickness direction of the rotation-side annular portion 19a. ing.
- the portion closer to the outer diameter in the radial direction of the rotating side annular portion 19a is directed to the stationary side annular portion 24 of the core metal 20a, and is bent by less than 90 degrees to form the inclined portion 47.
- a tip side flat plate portion 48 is provided in a state of being continuous radially outward from the inclined portion 47.
- the distal end side flat plate portion 48 is positioned closer to the stationary side annular portion 24 than the intermediate portion or the base end portion of the rotating side annular portion 19a (this intermediate portion to It is offset to the stationary side annular part 24 side with respect to the base end part).
- the front end edge of the auxiliary seal lip 32 is slidably contacted or closely opposed to the axial side surface of the front end flat plate portion 48 over the entire circumference.
- one of the elastic members 21f covering the outer peripheral edge of the rotation side circular ring portion 19a (the tip side flat plate portion 48) and the inner peripheral surface of the stationary side cylindrical portion 23 is provided.
- the labyrinth seal 27a provided between the inner peripheral surface and the inner peripheral surface is located on the outer side in the axial direction as compared with the case of the first embodiment described above. For this reason, it is difficult for foreign matter to reach the labyrinth seal 27a, and the effect of preventing foreign matter from entering the labyrinth seal 27a can be further improved. Since the configuration and operation of the other parts are the same as those in the fourth to fifth embodiments, the same parts are denoted by the same reference numerals, and redundant description is omitted.
- FIG. 9 shows an eighth embodiment of the present invention.
- the portion closer to the outer diameter in the radial direction of the rotation side ring portion 19b is the stationary side circle of the core metal 20a.
- a short cylindrical step portion 49 is formed by bending the ring portion 24 at a right angle, and a tip side flat plate portion 48 is provided by bending the tip edge of the step portion 49 at a right angle outwardly in the radial direction. .
- the tip edge of the auxiliary seal lip 32 is slidably contacted or closely opposed to the axial side surface of the tip side flat plate portion 48 over the entire circumference. Since the configuration and operation of the other parts are the same as in the case of the above-described seventh embodiment, the same parts are denoted by the same reference numerals, and redundant description is omitted.
- FIG. 10 shows a ninth embodiment of the present invention.
- a part of the elastic material 21g is formed on the inner peripheral surface of the stationary side cylindrical portion 23 of the core metal 20a.
- a locking lip 50 is intermittently provided in the circumferential direction in a state of projecting inward in the radial direction at the inner diameter side portion of the portion closer to the distal end of the stationary side cylindrical portion 23 in the covered portion.
- the locking lip 50 is located on the opposite side of the stationary side annular portion 24 of the cored bar 20a with respect to the axial direction across the rotation side annular portion 19b of the slinger 16a. Further, the inner diameter of the locking lip 50 is smaller than the outer diameter of the rotation-side circular ring portion 19b. Therefore, the front end portion of the locking lip 50 and the front end portion of the rotation-side annular ring portion 19b overlap each other in the axial direction.
- the slinger 16a and the above-described slinger 16a which constitutes the combination seal ring 12i, even in a state before assembly to a predetermined portion based on the engagement between the distal end portion of the locking lip 50 and the distal end portion of the rotation-side annular ring portion 19b.
- the separation from the seal ring 17d is prevented.
- the locking lip 50 is provided intermittently in the circumferential direction, it has an appropriate elasticity and does not hinder the discharge of foreign matter that has entered the small space 34 near the opening. Since the configuration and operation of the other parts are the same as those in the above-described eighth embodiment, the same parts are denoted by the same reference numerals, and redundant description is omitted.
- FIG. 11 shows a tenth embodiment of the present invention.
- the permanent magnet encoder 25b is disposed on the entire inner surface in the axial direction of the rotating side ring portion 19a. Attached to Further, a portion of the outer peripheral surface of the encoder 25b having the largest outer diameter is provided at a portion closer to the inner side in the axial direction of the intermediate portion of the outer peripheral surface in the axial direction.
- FIG. 12 shows an eleventh embodiment of the present invention.
- the outer peripheral surface of the encoder 25c made of a permanent magnet attached to the inner surface in the axial direction of the rotary side ring portion 19a.
- the portion having the largest outer diameter is located on the opposite side of the rotation-side annular portion 19a with respect to the axial direction with the locking lip 50 interposed therebetween.
- FIG. 13 shows a twelfth embodiment of the present invention.
- the shape of the base end portion of the auxiliary seal lip 32a is cylindrical, and the intermediate portion or the tip end edge.
- the shape of the part is a partial conical cylinder. Accordingly, the intermediate portion or the tip edge portion of the auxiliary seal lip 32a is inclined in a direction in which the diameter increases toward the tip edge.
- the tip edge of the auxiliary seal lip 32a is opposed to the axial side surface of the rotation-side annular ring portion 19 in a non-contact state over the entire circumference.
- a labyrinth seal is provided over the entire circumference between the distal end edge of the auxiliary seal lip 32a and the axially outer side surface of the rotating-side annular ring portion 19.
- the foreign matter does not enter the small space 35 near the counter opening that exists on the inner diameter side of the auxiliary seal lip 32a. Further, the foreign matter blocked in the outer peripheral surface portion of the auxiliary seal lip 32a in this way flows along the inclination of the outer peripheral surface of the auxiliary seal lip 32a and is accompanied by the rotation of the rotating side annular ring portion 19. Then, it is pulled by the air flow induced (by the swinging effect of the slinger 16) and discharged from the labyrinth seal 27a to the external space. Since the configuration and operation of the other parts are the same as those of the second embodiment shown in FIG. 3 described above, the same parts are denoted by the same reference numerals, and redundant description is omitted.
- FIG. 14 shows a thirteenth embodiment of the present invention.
- the auxiliary seal lip 32b has an arcuate cross-section with a concave outer peripheral surface.
- the tangential direction of the portion of the front end portion of the auxiliary seal lip 32b facing the outer side surface in the axial direction of the rotation side ring portion 19 of the slinger 16 is parallel to the outer side surface in the axial direction. It is made to face and oppose to the outer surface in the direction over the entire circumference.
- the total length of the auxiliary seal lip 32b can be made longer than that of the twelfth embodiment described above. Further, since the diameter of the tip edge of the auxiliary seal lip 32b can be made larger than the diameter of the base end portion, the rigidity of the auxiliary seal lip 32b can be appropriately reduced.
- the auxiliary seal lip 32b can be easily bent by the foreign matter that has entered the small space 34 near the opening. That is, the tip of the auxiliary seal lip 32b can be easily brought into sliding contact with the outer surface in the axial direction in a state where the pressure rise in the small space 34 near the opening is small.
- FIG. 15 shows a fourteenth embodiment of the present invention.
- the auxiliary seal lip 32c is radially outward from the tip edge of the intermediate portion of the partially conical cylindrical shape.
- the bent collar 51 is provided with a bent ring. And this collar part 51 and the axial direction outer side surface of the rotation side annular ring part 19 are made to oppose each other over the perimeter. Since the configuration and operation of other parts are the same as those in the thirteenth embodiment described above, the same parts are denoted by the same reference numerals, and redundant description is omitted.
- FIG. 16 to 17F show a fifteenth embodiment of the present invention.
- the rotation-side annular ring portion 19 of the slinger 16 is out of the tip edge 52 of the auxiliary seal lip 32d.
- the shape in the circumferential direction of the portion that is in sliding contact with the axially outer side surface is an uneven shape.
- the tip edge 52 is intermittently brought into sliding contact with the axially outer side surface in the circumferential direction.
- the uneven shape of the tip edge 52 is not particularly limited.
- the rectangular recesses and protrusions are alternately continued, the sinusoidal waveform as shown in FIG. 17B, and the tip edge 52 as shown in FIG. 17C.
- An epicycloid curve shape or the like as shown in 17F can be adopted.
- 17D, 17E, and 17F may have the entire tip edge 52 in the shape, or only the one edge that is in sliding contact with the one side surface in the axial direction. Regardless of which shape is adopted, only the convex portions of the tip edge 52 are in sliding contact with the outer surface in the axial direction of the rotation-side annular ring portion 19, and between the concave portions and the outer surface in the axial direction. A large number of minute gaps are intermittently present in the circumferential direction.
- the portion of the tip edge 52 that is in sliding contact with the axially outer side surface of the rotation-side annular ring portion 19 does not necessarily need to have an uneven shape in the circumferential direction during injection molding. That is, the elastic material 21h including the auxiliary seal lip 32 is made of a material having a slight swellability (about 5%) with respect to water such as nitrile rubber, and the tip edge 52 is formed extremely thin. Then, the tip edge 52 can be formed into an uneven shape by swelling the tip edge 52 with moisture adhering to the tip edge 52.
- the elastic material 21h is made of a material having swelling property
- the tip edge 52 expands, and between the axially outer side surfaces of the rotation-side annular ring portion 19, The tightening allowance is increased or the gap is reduced, so that the effect of preventing the entry of foreign matter can be further improved.
- the leading edge 52 contracts, so that the tightening margin is reduced or the gap is increased, and the sliding resistance by the auxiliary seal lip 32d can be reduced.
- the rolling bearing unit with a combined seal ring according to the present invention is most preferably implemented as a wheel bearing rolling bearing unit for supporting a vehicle wheel with respect to a suspension device from the viewpoint of sufficiently obtaining its functions and effects.
- the present invention can be implemented without being limited to the wheel bearing rolling bearing unit.
- a combination seal ring may be used.
- a combination seal ring that is a feature of the present invention is incorporated on the outer side in the axial direction of the wheel bearing rolling bearing unit as necessary.
- the inside and outside in the axial direction with respect to the combination seal ring is opposite to the above description.
- the structure of the fourth to fifth embodiments shown in FIGS. 5 to 6, or the structure of any of the seventh to eleventh embodiments shown in FIGS. 8 to 12, and the structures of FIGS. It can be combined with any of the structures of the twelfth to fifteenth embodiments shown in 17F.
- the present invention can also be applied to an outer ring rotating type rolling bearing unit with a seal ring.
- the slinger is fitted and fixed to the outer diameter side race ring member that rotates during use, and the seal ring is fitted and fixed to the inner diameter side race ring member that does not rotate during use. Accordingly, the inside and outside in the radial direction are opposite to those in the illustrated embodiments.
Landscapes
- Engineering & Computer Science (AREA)
- General Engineering & Computer Science (AREA)
- Mechanical Engineering (AREA)
- Physics & Mathematics (AREA)
- General Physics & Mathematics (AREA)
- Rolling Contact Bearings (AREA)
- Sealing Of Bearings (AREA)
- Sealing With Elastic Sealing Lips (AREA)
- Sealing Devices (AREA)
- Sealing Using Fluids, Sealing Without Contact, And Removal Of Oil (AREA)
Priority Applications (3)
| Application Number | Priority Date | Filing Date | Title |
|---|---|---|---|
| CN201280058898.7A CN103987976B (zh) | 2011-11-29 | 2012-11-29 | 带有组合密封圈的滚动轴承单元 |
| EP12852764.5A EP2787233B1 (en) | 2011-11-29 | 2012-11-29 | Rolling bearing unit with combination seal ring |
| US14/361,096 US9534636B2 (en) | 2011-11-29 | 2012-11-29 | Rolling bearing unit with combination seal ring |
Applications Claiming Priority (6)
| Application Number | Priority Date | Filing Date | Title |
|---|---|---|---|
| JP2011260400 | 2011-11-29 | ||
| JP2011-260400 | 2011-11-29 | ||
| JP2012112579 | 2012-05-16 | ||
| JP2012-112579 | 2012-05-16 | ||
| JP2012156691 | 2012-07-12 | ||
| JP2012-156691 | 2012-07-12 |
Publications (1)
| Publication Number | Publication Date |
|---|---|
| WO2013081075A1 true WO2013081075A1 (ja) | 2013-06-06 |
Family
ID=48535523
Family Applications (1)
| Application Number | Title | Priority Date | Filing Date |
|---|---|---|---|
| PCT/JP2012/080992 Ceased WO2013081075A1 (ja) | 2011-11-29 | 2012-11-29 | 組み合わせシールリング付転がり軸受ユニット |
Country Status (5)
| Country | Link |
|---|---|
| US (1) | US9534636B2 (enExample) |
| EP (1) | EP2787233B1 (enExample) |
| JP (3) | JP6036215B2 (enExample) |
| CN (1) | CN103987976B (enExample) |
| WO (1) | WO2013081075A1 (enExample) |
Cited By (6)
| Publication number | Priority date | Publication date | Assignee | Title |
|---|---|---|---|---|
| FR3018874A1 (fr) * | 2014-03-21 | 2015-09-25 | Ntn Snr Roulements | Palier a roulement equipe d’un dispositif d’etancheite comprenant une armature |
| WO2015188640A1 (zh) * | 2014-06-11 | 2015-12-17 | 舍弗勒技术股份两合公司 | 轴承 |
| JP2016080020A (ja) * | 2014-10-14 | 2016-05-16 | Nok株式会社 | 密封装置 |
| CN105864299A (zh) * | 2015-01-20 | 2016-08-17 | 舍弗勒技术股份两合公司 | 轮毂轴承及其密封装置 |
| US10208801B1 (en) * | 2017-02-24 | 2019-02-19 | Chu Hung Oil Seals Industrial Co., Ltd. | Wheel hub seal |
| US12535139B2 (en) * | 2023-06-07 | 2026-01-27 | Freudenberg-Nok General Partnership | Contaminant exclusion seal design |
Families Citing this family (38)
| Publication number | Priority date | Publication date | Assignee | Title |
|---|---|---|---|---|
| JP2014224546A (ja) * | 2013-05-15 | 2014-12-04 | 日本精工株式会社 | 組み合わせシールリング付転がり軸受ユニット |
| ITUB20160770A1 (it) | 2015-02-17 | 2017-08-16 | Skf Ab | Complesso di tenuta per cuscinetti di rotolamento, in particolare per unità mozzo ruota di veicoli ed unità mozzo ruota associata. |
| US20180066711A1 (en) * | 2015-03-27 | 2018-03-08 | Nsk Ltd. | Vehicle wheel-bearing unit |
| JP6556488B2 (ja) * | 2015-04-30 | 2019-08-07 | 内山工業株式会社 | 密封装置 |
| WO2017038752A1 (ja) * | 2015-09-03 | 2017-03-09 | Nok株式会社 | 密封構造 |
| DE102015224418A1 (de) * | 2015-12-07 | 2017-06-08 | Schaeffler Technologies AG & Co. KG | Dichtung mit Schutz- / Schleuder- und Dichtscheibe zur Abdichtung von mehrreihigen Wälzlagern für Wälzgerüste |
| CN106855083A (zh) * | 2015-12-09 | 2017-06-16 | 优必胜(上海)精密轴承制造有限公司 | 一种重型卡车传动轴用轴承 |
| CN108603532B (zh) * | 2016-02-02 | 2020-07-31 | 株式会社捷太格特 | 滚动轴承用的密封构件及滚动轴承装置 |
| JP6951839B2 (ja) * | 2016-09-20 | 2021-10-20 | Ntn株式会社 | 車輪用軸受装置 |
| JP6857479B2 (ja) * | 2016-10-07 | 2021-04-14 | Nok株式会社 | 密封装置 |
| CN109996982B (zh) * | 2016-11-25 | 2020-11-24 | Nok株式会社 | 密封装置 |
| JP2018096494A (ja) * | 2016-12-15 | 2018-06-21 | Ntn株式会社 | テンショナ装置の支持構造 |
| CN108328245B (zh) * | 2017-01-18 | 2021-06-15 | 斯凯孚公司 | 用于连铸机的密封盒 |
| JP2019019870A (ja) * | 2017-07-14 | 2019-02-07 | 株式会社ジェイテクト | 車輪用軸受装置及び密封装置 |
| JP6906416B2 (ja) * | 2017-09-29 | 2021-07-21 | 東京エレクトロン株式会社 | 基板処理装置 |
| DE102017129123B4 (de) * | 2017-12-07 | 2019-10-17 | Schaeffler Technologies AG & Co. KG | Abgedichtetes Wälzlager und Verfahren zum Betrieb eines Wälzlagers |
| EP3501960B1 (en) * | 2017-12-22 | 2021-11-10 | Campagnolo S.r.l. | Bicycle bottom bracket |
| KR20190117391A (ko) * | 2018-04-06 | 2019-10-16 | 나부테스코 가부시키가이샤 | 시일 기구 및 당해 시일 기구를 구비한 장치 |
| JP2020003026A (ja) * | 2018-06-29 | 2020-01-09 | 中西金属工業株式会社 | 回転用シール |
| KR102055278B1 (ko) * | 2018-06-29 | 2019-12-12 | 셰플러코리아(유) | 구름 베어링용 씰 |
| JP7274269B2 (ja) * | 2018-07-31 | 2023-05-16 | Ntn株式会社 | シール部材及びシール部材を備えた車輪用軸受装置 |
| JP2020079619A (ja) * | 2018-11-13 | 2020-05-28 | 中西金属工業株式会社 | 回転用シール |
| CN111853243B (zh) * | 2019-04-29 | 2024-09-03 | 舍弗勒技术股份两合公司 | 密封件 |
| CN114514383B (zh) * | 2019-09-24 | 2024-03-08 | Nok株式会社 | 密封装置 |
| DE102020124608A1 (de) * | 2019-10-04 | 2021-04-08 | Aktiebolaget Skf | Dichtvorrichtung mit dynamischer Dichtwirkung, insbesondere für Wälzlager |
| IT201900020112A1 (it) * | 2019-10-31 | 2021-05-01 | Skf Ab | Dispositivo e sistema di tenuta dinamica ad interferenza con comportamento di contatto migliorato |
| FR3120668B1 (fr) * | 2021-03-09 | 2023-05-05 | Ntn Snr Roulements | Dispositif d’étanchéité pour palier comprenant un passage amont équipé d’une gouttière |
| JP2023011188A (ja) * | 2021-07-12 | 2023-01-24 | 内山工業株式会社 | 密封装置 |
| US12000434B2 (en) * | 2021-07-13 | 2024-06-04 | Aktiebolaget Skf | Seal assembly for truck hubs with radial labyrinth |
| US20230016354A1 (en) * | 2021-07-13 | 2023-01-19 | Aktiebolaget Skf | Low friction seal assembly for truck hubs |
| IT202100018632A1 (it) * | 2021-07-15 | 2023-01-15 | Skf Ab | Complesso di tenuta per l’interposizione tra un elemento anulare stazionario ed un elemento anulare rotante, in particolare tra gli anelli esterno ed interno di un cuscinetto di rotolamento ed unità mozzo ruota associata |
| US11746828B2 (en) * | 2021-11-25 | 2023-09-05 | Aktiebolaget Skf | Transport securable axial seal assembly |
| US11796003B2 (en) | 2021-11-25 | 2023-10-24 | Aktiebolaget Skf | Flinger for a seal assembly of a wheel bearing assembly |
| CN114352641A (zh) * | 2021-12-21 | 2022-04-15 | 浙江万向精工有限公司 | 一种低转矩自调节密封组件及其轮毂轴承 |
| CN115388093B (zh) * | 2022-07-28 | 2024-09-24 | 重庆长安汽车股份有限公司 | 一种轴承的密封装置、轴承、轮毂及车辆 |
| JP2024055401A (ja) * | 2022-10-07 | 2024-04-18 | 三菱重工業株式会社 | 潤滑剤シール装置、及び回転機械 |
| WO2025033412A1 (ja) * | 2023-08-10 | 2025-02-13 | Nok株式会社 | 密封装置 |
| CN119982901B (zh) * | 2025-04-03 | 2025-10-17 | 昆明理工大学 | 一种星形线动压槽—背压自引流强化增压干气密封结构 |
Citations (12)
| Publication number | Priority date | Publication date | Assignee | Title |
|---|---|---|---|---|
| JP2001215132A (ja) * | 2000-02-01 | 2001-08-10 | Ntn Corp | 車輪用軸受 |
| JP2001289254A (ja) * | 2000-02-01 | 2001-10-19 | Ntn Corp | 車輪用軸受 |
| JP2002206550A (ja) * | 2001-01-09 | 2002-07-26 | Nsk Ltd | 転がり軸受用密封装置 |
| JP2004144179A (ja) * | 2002-10-24 | 2004-05-20 | Uchiyama Mfg Corp | エンコーダ付密封装置 |
| JP2007085478A (ja) | 2005-09-22 | 2007-04-05 | Nsk Ltd | 組み合わせシールリング及び組み合わせシールリング付車輪支持用転がり軸受ユニット |
| JP2008151311A (ja) | 2006-12-20 | 2008-07-03 | Ntn Corp | 車輪用軸受装置 |
| JP2009127660A (ja) * | 2007-11-20 | 2009-06-11 | Jtekt Corp | 密封装置、転がり軸受および車輪用転がり軸受 |
| JP2009168103A (ja) * | 2008-01-15 | 2009-07-30 | Nsk Ltd | エンコーダ付組み合わせシールリング |
| JP2009197884A (ja) * | 2008-02-21 | 2009-09-03 | Ntn Corp | 車輪用軸受装置 |
| WO2009145178A1 (ja) * | 2008-05-27 | 2009-12-03 | 株式会社ジェイテクト | 転がり軸受用密封装置 |
| JP2010230059A (ja) * | 2009-03-26 | 2010-10-14 | Jtekt Corp | 密封装置および転がり軸受 |
| WO2011086982A1 (ja) * | 2010-01-13 | 2011-07-21 | 日本精工株式会社 | 組み合わせシールリング付転がり軸受ユニットおよびその製造方法 |
Family Cites Families (30)
| Publication number | Priority date | Publication date | Assignee | Title |
|---|---|---|---|---|
| US4252329A (en) * | 1979-02-26 | 1981-02-24 | Garlock Inc. | Semi-unitized shaft seal |
| US4822055A (en) * | 1988-05-17 | 1989-04-18 | General Motors Corporation | Unitized bearing seal assembly |
| IT1280443B1 (it) * | 1995-07-21 | 1998-01-20 | Skf Ind Spa | Dispositivo di tenuta per cuscinetti |
| JPH09274051A (ja) * | 1996-04-08 | 1997-10-21 | Nippon Seiko Kk | 密封装置及びトーンホイールを備えた転がり軸受ユニット |
| JP4054855B2 (ja) * | 1996-04-24 | 2008-03-05 | Ntn株式会社 | 密封装置 |
| JPH10252762A (ja) * | 1997-03-12 | 1998-09-22 | Nippon Seiko Kk | 転がり軸受用密封装置 |
| ITTO980210A1 (it) * | 1998-03-12 | 1999-09-12 | Skf Ind Spa | Dispositivo di tenuta per un cuscinetto di rotolamento |
| JP2001304424A (ja) * | 2000-04-27 | 2001-10-31 | Nsk Ltd | 鉄道車両の車軸支持軸受用密封装置 |
| ITTO20001222A1 (it) * | 2000-12-28 | 2002-06-28 | Skf Ind Spa | Dispositivo di tenuta per un cuscinetto a rotolamento. |
| JP2002327769A (ja) * | 2001-04-27 | 2002-11-15 | Ntn Corp | 駆動車輪用軸受装置 |
| JP4604388B2 (ja) * | 2001-05-09 | 2011-01-05 | 日本精工株式会社 | エンコーダ付組み合わせシールリングを備えた転がり軸受ユニット |
| EP1496293A4 (en) | 2002-03-25 | 2007-12-12 | Nsk Ltd | SEAL RING AND ROLLER BEARING UNIT EQUIPPED WITH A SEAL RING |
| JP2004076798A (ja) * | 2002-08-12 | 2004-03-11 | Nsk Ltd | 車輪用転がり軸受 |
| JP4479362B2 (ja) * | 2004-03-10 | 2010-06-09 | 日本精工株式会社 | 軸受装置 |
| JP2005291450A (ja) * | 2004-04-02 | 2005-10-20 | Nsk Ltd | シールリング及びシールリング付転がり軸受ユニット |
| JP2006010055A (ja) * | 2004-05-21 | 2006-01-12 | Nsk Ltd | 軸受装置 |
| US7232129B2 (en) * | 2004-10-12 | 2007-06-19 | Nok Corporation | Sealing apparatus with encoder |
| JP2006207745A (ja) * | 2005-01-31 | 2006-08-10 | Ntn Corp | 車輪用軸受装置およびその組立方法 |
| JP4925397B2 (ja) * | 2005-05-19 | 2012-04-25 | 内山工業株式会社 | 密封装置 |
| JP2007177814A (ja) * | 2005-12-27 | 2007-07-12 | Jtekt Corp | 密封装置、及びこれを用いた転がり軸受装置 |
| JP5003862B2 (ja) * | 2006-03-31 | 2012-08-15 | Nok株式会社 | 密封装置 |
| JP2007285500A (ja) | 2006-04-20 | 2007-11-01 | Ntn Corp | 車輪用軸受装置 |
| JP2008128396A (ja) * | 2006-11-22 | 2008-06-05 | Jtekt Corp | 密封装置 |
| JP2008267423A (ja) * | 2007-04-17 | 2008-11-06 | Uchiyama Mfg Corp | ベアリングシール |
| JP5327603B2 (ja) * | 2008-08-05 | 2013-10-30 | 株式会社ジェイテクト | 転がり軸受装置 |
| JP2010091036A (ja) * | 2008-10-09 | 2010-04-22 | Jtekt Corp | 転がり軸受装置 |
| JP2010185465A (ja) * | 2009-02-10 | 2010-08-26 | Nsk Ltd | 組み合わせシールリング付転がり軸受ユニット |
| JP2011025586A (ja) | 2009-07-28 | 2011-02-10 | Nsk Ltd | 高分子材料を含んで構成される機械部品 |
| DE102009050215A1 (de) * | 2009-10-22 | 2011-05-12 | Schaeffler Technologies Gmbh & Co. Kg | Nichtschleifender Dichtungsring und Dichtungsanordnung |
| JP5459012B2 (ja) * | 2010-03-29 | 2014-04-02 | 日本精工株式会社 | 密封装置、密封装置を備える転がり軸受及びハブユニット軸受 |
-
2012
- 2012-11-26 JP JP2012257064A patent/JP6036215B2/ja active Active
- 2012-11-29 EP EP12852764.5A patent/EP2787233B1/en not_active Not-in-force
- 2012-11-29 US US14/361,096 patent/US9534636B2/en not_active Expired - Fee Related
- 2012-11-29 CN CN201280058898.7A patent/CN103987976B/zh not_active Expired - Fee Related
- 2012-11-29 WO PCT/JP2012/080992 patent/WO2013081075A1/ja not_active Ceased
-
2016
- 2016-05-18 JP JP2016099343A patent/JP6252621B2/ja active Active
- 2016-05-18 JP JP2016099344A patent/JP6252622B2/ja not_active Expired - Fee Related
Patent Citations (12)
| Publication number | Priority date | Publication date | Assignee | Title |
|---|---|---|---|---|
| JP2001215132A (ja) * | 2000-02-01 | 2001-08-10 | Ntn Corp | 車輪用軸受 |
| JP2001289254A (ja) * | 2000-02-01 | 2001-10-19 | Ntn Corp | 車輪用軸受 |
| JP2002206550A (ja) * | 2001-01-09 | 2002-07-26 | Nsk Ltd | 転がり軸受用密封装置 |
| JP2004144179A (ja) * | 2002-10-24 | 2004-05-20 | Uchiyama Mfg Corp | エンコーダ付密封装置 |
| JP2007085478A (ja) | 2005-09-22 | 2007-04-05 | Nsk Ltd | 組み合わせシールリング及び組み合わせシールリング付車輪支持用転がり軸受ユニット |
| JP2008151311A (ja) | 2006-12-20 | 2008-07-03 | Ntn Corp | 車輪用軸受装置 |
| JP2009127660A (ja) * | 2007-11-20 | 2009-06-11 | Jtekt Corp | 密封装置、転がり軸受および車輪用転がり軸受 |
| JP2009168103A (ja) * | 2008-01-15 | 2009-07-30 | Nsk Ltd | エンコーダ付組み合わせシールリング |
| JP2009197884A (ja) * | 2008-02-21 | 2009-09-03 | Ntn Corp | 車輪用軸受装置 |
| WO2009145178A1 (ja) * | 2008-05-27 | 2009-12-03 | 株式会社ジェイテクト | 転がり軸受用密封装置 |
| JP2010230059A (ja) * | 2009-03-26 | 2010-10-14 | Jtekt Corp | 密封装置および転がり軸受 |
| WO2011086982A1 (ja) * | 2010-01-13 | 2011-07-21 | 日本精工株式会社 | 組み合わせシールリング付転がり軸受ユニットおよびその製造方法 |
Cited By (12)
| Publication number | Priority date | Publication date | Assignee | Title |
|---|---|---|---|---|
| FR3018874A1 (fr) * | 2014-03-21 | 2015-09-25 | Ntn Snr Roulements | Palier a roulement equipe d’un dispositif d’etancheite comprenant une armature |
| WO2015188640A1 (zh) * | 2014-06-11 | 2015-12-17 | 舍弗勒技术股份两合公司 | 轴承 |
| CN105221580A (zh) * | 2014-06-11 | 2016-01-06 | 舍弗勒技术股份两合公司 | 轴承 |
| US9845827B2 (en) | 2014-06-11 | 2017-12-19 | Schaeffler Technologies AG & Co. KG | Bearing |
| CN105221580B (zh) * | 2014-06-11 | 2019-01-18 | 舍弗勒技术股份两合公司 | 轴承 |
| JP2016080020A (ja) * | 2014-10-14 | 2016-05-16 | Nok株式会社 | 密封装置 |
| CN105864299A (zh) * | 2015-01-20 | 2016-08-17 | 舍弗勒技术股份两合公司 | 轮毂轴承及其密封装置 |
| EP3249268A4 (en) * | 2015-01-20 | 2018-06-13 | Schaeffler Technologies GmbH & Co. KG | Hub bearing and seal device therefor |
| US10119570B2 (en) | 2015-01-20 | 2018-11-06 | Schaeffler Technologies G & Co Kg | Hub bearing and seal device |
| CN105864299B (zh) * | 2015-01-20 | 2019-06-14 | 舍弗勒技术股份两合公司 | 轮毂轴承及其密封装置 |
| US10208801B1 (en) * | 2017-02-24 | 2019-02-19 | Chu Hung Oil Seals Industrial Co., Ltd. | Wheel hub seal |
| US12535139B2 (en) * | 2023-06-07 | 2026-01-27 | Freudenberg-Nok General Partnership | Contaminant exclusion seal design |
Also Published As
| Publication number | Publication date |
|---|---|
| US20150117805A1 (en) | 2015-04-30 |
| JP6252621B2 (ja) | 2017-12-27 |
| EP2787233A4 (en) | 2015-12-09 |
| CN103987976A (zh) | 2014-08-13 |
| CN103987976B (zh) | 2019-04-12 |
| JP6036215B2 (ja) | 2016-11-30 |
| JP2016169868A (ja) | 2016-09-23 |
| EP2787233A1 (en) | 2014-10-08 |
| JP2016148458A (ja) | 2016-08-18 |
| EP2787233B1 (en) | 2017-08-30 |
| US9534636B2 (en) | 2017-01-03 |
| JP2014031877A (ja) | 2014-02-20 |
| JP6252622B2 (ja) | 2017-12-27 |
Similar Documents
| Publication | Publication Date | Title |
|---|---|---|
| JP6252622B2 (ja) | 組み合わせシールリング付転がり軸受ユニット | |
| WO2014185458A1 (ja) | 組み合わせシールリング付転がり軸受ユニット | |
| JP2010185465A (ja) | 組み合わせシールリング付転がり軸受ユニット | |
| CN203189533U (zh) | 密封装置及带密封的轴承组件 | |
| JP2015143564A (ja) | シール付車輪支持用軸受ユニット | |
| CN102066791A (zh) | 轴承密封件 | |
| JP4333259B2 (ja) | 回転速度検出装置付転がり軸受ユニット | |
| JP2012087858A (ja) | 車輪用軸受装置 | |
| JP2005042866A5 (enExample) | ||
| JP6443821B2 (ja) | 密封装置 | |
| JP5145958B2 (ja) | エンコーダ付組み合わせシールリング | |
| JP6654941B2 (ja) | 車輪用軸受装置 | |
| JP2013242036A (ja) | シール装置及びシール付軸受ユニット | |
| JP4604388B2 (ja) | エンコーダ付組み合わせシールリングを備えた転がり軸受ユニット | |
| JP2016196906A (ja) | 転がり軸受ユニット | |
| JP2016121729A (ja) | 回転速度検出装置付き車輪用軸受装置 | |
| KR101595560B1 (ko) | 엔코더 씰 어셈블리와 이를 이용한 차량용 휠 베어링 | |
| JP2007198486A (ja) | 転がり軸受装置 | |
| JP5061652B2 (ja) | 着磁パルサリング、及びこれを用いたセンサ付き転がり軸受装置 | |
| JP2019035421A (ja) | 組み合わせシールリング付ハブユニット軸受 | |
| JP2008180544A (ja) | 回転速度検出装置付き車輪用軸受装置 | |
| JP2008151727A (ja) | 回転速度検出装置及び回転速度検出装置付き車輪用軸受装置 | |
| JP5598150B2 (ja) | エンコーダ付転がり軸受ユニット | |
| JP5271208B2 (ja) | エンコーダ付車輪支持用ハブユニット | |
| JP2014020383A (ja) | 組み合わせシールリング付転がり軸受ユニット |
Legal Events
| Date | Code | Title | Description |
|---|---|---|---|
| 121 | Ep: the epo has been informed by wipo that ep was designated in this application |
Ref document number: 12852764 Country of ref document: EP Kind code of ref document: A1 |
|
| DPE1 | Request for preliminary examination filed after expiration of 19th month from priority date (pct application filed from 20040101) | ||
| REEP | Request for entry into the european phase |
Ref document number: 2012852764 Country of ref document: EP |
|
| WWE | Wipo information: entry into national phase |
Ref document number: 14361096 Country of ref document: US Ref document number: 2012852764 Country of ref document: EP |
|
| NENP | Non-entry into the national phase |
Ref country code: DE |