JP7635273B2 - 自動調整式リブガイドアセンブリを有するトラックソー及びトラックソーの自動調整式リブガイドアセンブリを動作させる方法 - Google Patents

自動調整式リブガイドアセンブリを有するトラックソー及びトラックソーの自動調整式リブガイドアセンブリを動作させる方法 Download PDF

Info

Publication number
JP7635273B2
JP7635273B2 JP2022577481A JP2022577481A JP7635273B2 JP 7635273 B2 JP7635273 B2 JP 7635273B2 JP 2022577481 A JP2022577481 A JP 2022577481A JP 2022577481 A JP2022577481 A JP 2022577481A JP 7635273 B2 JP7635273 B2 JP 7635273B2
Authority
JP
Japan
Prior art keywords
rib
self
track
guide assembly
saw
Prior art date
Legal status (The legal status is an assumption and is not a legal conclusion. Google has not performed a legal analysis and makes no representation as to the accuracy of the status listed.)
Active
Application number
JP2022577481A
Other languages
English (en)
Other versions
JP2023530988A (ja
Inventor
ヘーファー トビアス
Original Assignee
フェスツール ゲーエムベーハー
Priority date (The priority date is an assumption and is not a legal conclusion. Google has not performed a legal analysis and makes no representation as to the accuracy of the date listed.)
Filing date
Publication date
Application filed by フェスツール ゲーエムベーハー filed Critical フェスツール ゲーエムベーハー
Publication of JP2023530988A publication Critical patent/JP2023530988A/ja
Application granted granted Critical
Publication of JP7635273B2 publication Critical patent/JP7635273B2/ja
Active legal-status Critical Current
Anticipated expiration legal-status Critical

Links

Images

Classifications

    • BPERFORMING OPERATIONS; TRANSPORTING
    • B27WORKING OR PRESERVING WOOD OR SIMILAR MATERIAL; NAILING OR STAPLING MACHINES IN GENERAL
    • B27GACCESSORY MACHINES OR APPARATUS FOR WORKING WOOD OR SIMILAR MATERIALS; TOOLS FOR WORKING WOOD OR SIMILAR MATERIALS; SAFETY DEVICES FOR WOOD WORKING MACHINES OR TOOLS
    • B27G19/00Safety guards or devices specially adapted for wood saws; Auxiliary devices facilitating proper operation of wood saws
    • B27G19/10Measures preventing splintering of sawn portions of wood
    • BPERFORMING OPERATIONS; TRANSPORTING
    • B23MACHINE TOOLS; METAL-WORKING NOT OTHERWISE PROVIDED FOR
    • B23DPLANING; SLOTTING; SHEARING; BROACHING; SAWING; FILING; SCRAPING; LIKE OPERATIONS FOR WORKING METAL BY REMOVING MATERIAL, NOT OTHERWISE PROVIDED FOR
    • B23D45/00Sawing machines or sawing devices with circular saw blades or with friction saw discs
    • B23D45/16Hand-held sawing devices with circular saw blades
    • BPERFORMING OPERATIONS; TRANSPORTING
    • B23MACHINE TOOLS; METAL-WORKING NOT OTHERWISE PROVIDED FOR
    • B23DPLANING; SLOTTING; SHEARING; BROACHING; SAWING; FILING; SCRAPING; LIKE OPERATIONS FOR WORKING METAL BY REMOVING MATERIAL, NOT OTHERWISE PROVIDED FOR
    • B23D47/00Sawing machines or sawing devices working with circular saw blades, characterised only by constructional features of particular parts
    • B23D47/12Sawing machines or sawing devices working with circular saw blades, characterised only by constructional features of particular parts of drives for circular saw blades
    • BPERFORMING OPERATIONS; TRANSPORTING
    • B23MACHINE TOOLS; METAL-WORKING NOT OTHERWISE PROVIDED FOR
    • B23DPLANING; SLOTTING; SHEARING; BROACHING; SAWING; FILING; SCRAPING; LIKE OPERATIONS FOR WORKING METAL BY REMOVING MATERIAL, NOT OTHERWISE PROVIDED FOR
    • B23D59/00Accessories specially designed for sawing machines or sawing devices
    • B23D59/001Measuring or control devices, e.g. for automatic control of work feed pressure on band saw blade
    • B23D59/002Measuring or control devices, e.g. for automatic control of work feed pressure on band saw blade for the position of the saw blade
    • B23D59/003Indicating the cutting plane on the workpiece, e.g. by projecting a laser beam
    • BPERFORMING OPERATIONS; TRANSPORTING
    • B23MACHINE TOOLS; METAL-WORKING NOT OTHERWISE PROVIDED FOR
    • B23QDETAILS, COMPONENTS, OR ACCESSORIES FOR MACHINE TOOLS, e.g. ARRANGEMENTS FOR COPYING OR CONTROLLING; MACHINE TOOLS IN GENERAL CHARACTERISED BY THE CONSTRUCTION OF PARTICULAR DETAILS OR COMPONENTS; COMBINATIONS OR ASSOCIATIONS OF METAL-WORKING MACHINES, NOT DIRECTED TO A PARTICULAR RESULT
    • B23Q11/00Accessories fitted to machine tools for keeping tools or parts of the machine in good working condition or for cooling work; Safety devices specially combined with or arranged in, or specially adapted for use in connection with, machine tools
    • B23Q11/06Safety devices for circular cutters
    • BPERFORMING OPERATIONS; TRANSPORTING
    • B23MACHINE TOOLS; METAL-WORKING NOT OTHERWISE PROVIDED FOR
    • B23QDETAILS, COMPONENTS, OR ACCESSORIES FOR MACHINE TOOLS, e.g. ARRANGEMENTS FOR COPYING OR CONTROLLING; MACHINE TOOLS IN GENERAL CHARACTERISED BY THE CONSTRUCTION OF PARTICULAR DETAILS OR COMPONENTS; COMBINATIONS OR ASSOCIATIONS OF METAL-WORKING MACHINES, NOT DIRECTED TO A PARTICULAR RESULT
    • B23Q11/00Accessories fitted to machine tools for keeping tools or parts of the machine in good working condition or for cooling work; Safety devices specially combined with or arranged in, or specially adapted for use in connection with, machine tools
    • B23Q11/08Protective coverings for parts of machine tools; Splash guards
    • BPERFORMING OPERATIONS; TRANSPORTING
    • B25HAND TOOLS; PORTABLE POWER-DRIVEN TOOLS; MANIPULATORS
    • B25FCOMBINATION OR MULTI-PURPOSE TOOLS NOT OTHERWISE PROVIDED FOR; DETAILS OR COMPONENTS OF PORTABLE POWER-DRIVEN TOOLS NOT PARTICULARLY RELATED TO THE OPERATIONS PERFORMED AND NOT OTHERWISE PROVIDED FOR
    • B25F5/00Details or components of portable power-driven tools not particularly related to the operations performed and not otherwise provided for
    • B25F5/02Construction of casings, bodies or handles
    • B25F5/021Construction of casings, bodies or handles with guiding devices
    • BPERFORMING OPERATIONS; TRANSPORTING
    • B27WORKING OR PRESERVING WOOD OR SIMILAR MATERIAL; NAILING OR STAPLING MACHINES IN GENERAL
    • B27BSAWS FOR WOOD OR SIMILAR MATERIAL; COMPONENTS OR ACCESSORIES THEREFOR
    • B27B5/00Sawing machines working with circular or cylindrical saw blades; Components or equipment therefor
    • B27B5/29Details; Component parts; Accessories
    • B27B5/30Details; Component parts; Accessories for mounting or securing saw blades or saw spindles
    • BPERFORMING OPERATIONS; TRANSPORTING
    • B27WORKING OR PRESERVING WOOD OR SIMILAR MATERIAL; NAILING OR STAPLING MACHINES IN GENERAL
    • B27BSAWS FOR WOOD OR SIMILAR MATERIAL; COMPONENTS OR ACCESSORIES THEREFOR
    • B27B5/00Sawing machines working with circular or cylindrical saw blades; Components or equipment therefor
    • B27B5/29Details; Component parts; Accessories
    • B27B5/30Details; Component parts; Accessories for mounting or securing saw blades or saw spindles
    • B27B5/32Devices for securing circular saw blades to the saw spindle
    • BPERFORMING OPERATIONS; TRANSPORTING
    • B27WORKING OR PRESERVING WOOD OR SIMILAR MATERIAL; NAILING OR STAPLING MACHINES IN GENERAL
    • B27BSAWS FOR WOOD OR SIMILAR MATERIAL; COMPONENTS OR ACCESSORIES THEREFOR
    • B27B9/00Portable power-driven circular saws for manual operation
    • B27B9/04Guiding equipment, e.g. for cutting panels
    • BPERFORMING OPERATIONS; TRANSPORTING
    • B27WORKING OR PRESERVING WOOD OR SIMILAR MATERIAL; NAILING OR STAPLING MACHINES IN GENERAL
    • B27GACCESSORY MACHINES OR APPARATUS FOR WORKING WOOD OR SIMILAR MATERIALS; TOOLS FOR WORKING WOOD OR SIMILAR MATERIALS; SAFETY DEVICES FOR WOOD WORKING MACHINES OR TOOLS
    • B27G19/00Safety guards or devices specially adapted for wood saws; Auxiliary devices facilitating proper operation of wood saws
    • B27G19/02Safety guards or devices specially adapted for wood saws; Auxiliary devices facilitating proper operation of wood saws for circular saws
    • B27G19/04Safety guards or devices specially adapted for wood saws; Auxiliary devices facilitating proper operation of wood saws for circular saws for manually-operated power-driven circular saws
    • BPERFORMING OPERATIONS; TRANSPORTING
    • B23MACHINE TOOLS; METAL-WORKING NOT OTHERWISE PROVIDED FOR
    • B23DPLANING; SLOTTING; SHEARING; BROACHING; SAWING; FILING; SCRAPING; LIKE OPERATIONS FOR WORKING METAL BY REMOVING MATERIAL, NOT OTHERWISE PROVIDED FOR
    • B23D47/00Sawing machines or sawing devices working with circular saw blades, characterised only by constructional features of particular parts
    • B23D47/02Sawing machines or sawing devices working with circular saw blades, characterised only by constructional features of particular parts of frames; of guiding arrangements for work-table or saw-carrier
    • BPERFORMING OPERATIONS; TRANSPORTING
    • B27WORKING OR PRESERVING WOOD OR SIMILAR MATERIAL; NAILING OR STAPLING MACHINES IN GENERAL
    • B27BSAWS FOR WOOD OR SIMILAR MATERIAL; COMPONENTS OR ACCESSORIES THEREFOR
    • B27B9/00Portable power-driven circular saws for manual operation
    • B27B9/02Arrangements for adjusting the cutting depth or the amount of tilting

Landscapes

  • Life Sciences & Earth Sciences (AREA)
  • Engineering & Computer Science (AREA)
  • Mechanical Engineering (AREA)
  • Wood Science & Technology (AREA)
  • Forests & Forestry (AREA)
  • Physics & Mathematics (AREA)
  • Optics & Photonics (AREA)
  • Sawing (AREA)
  • Portable Power Tools In General (AREA)
  • Gripping On Spindles (AREA)

Description

関連出願の相互参照
本出願は、2020年6月25日に出願された米国仮特許出願第63/044,034号の優先権を主張し、その開示全体が参照により本明細書に組み込まれる。
本開示は、一般に、自動調整式リブガイドアセンブリを有するトラックソー、及び/又はトラックソーの自動調整式リブガイドアセンブリを動作させる方法に向けられる。
丸鋸は、被加工物を切断するために利用されてもよい丸鋸刃を回転させるよう構成されてもよい。手持ち式丸鋸は、概して小型、可搬であり、並びに/又は被加工物を切断するために利用される場合にユーザによって保持及び/若しくは操作される丸鋸の一種である。便利ではあるが、手持ち式丸鋸は、一般に、ユーザによって注意深く制御されなければならない幾つかの特質的な運動自由度を提供する。このため、特定の手持ち式丸鋸によって生じる切断の品質は、ユーザの経験、専門知識、器用さ、及び/又は体力のレベルに強く依存する可能性がある。
トラックソーは、被加工物を切断するためにトラックソーを利用する間、被加工物に挟持されて、トラックソーを案内してもよい別個のトラックを利用する手持ち式丸鋸の一種である。挟持されたトラックは、トラックソーの動きを拘束し、それによって、初心者及び熟練ユーザの両方が、被加工物内において高品質及び/又はより直線的な切断を行うことを可能にしている。極めて効果的ではあるが、トラックソーは、被加工物を正確に切断するために、トラックソーとトラックとの間の比較的厳しい公差に依存する可能性がある。幾つかのトラックソーは、トラックソーとトラックとの間の公差を手動で調整するために利用されてもよい手動調整機構を含んでいる。しかし、ユーザは、調整を行うべきであることを常に認識しているとは限らない。加えて、トラックの寸法の変動は、特に、切断がトラックの一連の相互接続されたセグメントに沿って延在する場合に、ユーザが切断の全体に沿って所望の公差を確保することを、不可能ではないにしても困難にする可能性がある。従って、自動調整式リブガイドアセンブリを有するトラックソー及び/又は自動調整式リブガイドアセンブリを動作させる方法に対するニーズが存在している。
自動調整式リブガイドアセンブリを有するトラックソー及びトラックソーの自動調整式リブガイドアセンブリを動作させる方法が、本明細書中に開示されている。トラックソーは、モータと、アーバと、ベースプレートとを含む。モータは、シャフト回転軸を中心に回転するよう構成されるモータシャフトを含む。アーバは、丸鋸刃をトラックソーに取り付け、モータシャフトがシャフト回転軸を中心として回転する時に、モータからトルクを受領するよう構成される。ベースプレートは、アーバ対面側面及びアーバ反対側面を画定する。アーバは、アーバ対面側面に動作可能に取り付けられる。ベースプレートは、リブ受領チャネル及び自動調整式リブガイドアセンブリを含む。リブ受領チャネルは、ベースプレートのアーバ反対側面に画定され、トラックの隆起した細長いリブを受領するよう構成される。自動調整式リブガイドアセンブリは、リブ受領チャネルを少なくとも部分的に画定し、隆起したリブ横断幅の範囲を自動的に調整するよう構成される。
方法は、トラックの隆起した細長いリブをトラックソーのベースプレートの自動調整式リブガイドアセンブリのリブ受領チャネル内に位置決めすることを含む。位置決め中に、方法はまた、トラックの隆起した細長いリブと自動調整式リブガイドアセンブリとの間に接触力を確立することも含む。接触力に応じて、方法は、更に、自動調整式リブガイドアセンブリの少なくとも一部をトラックソーの残りの部分に対して移動させて、隆起した細長いリブの隆起したリブ横断幅を調整することを含む。
本開示によるトラックソーの例の模式図である。 本開示によるトラックソーの例の、より模式的でない上部輪郭図である。 本開示によるトラックソーの例の、より模式的でない右側面図である。 本開示によるトラックソーの例の、より模式的でない左側面図である。 本開示によるトラックソーの例の、別のより模式的でない左側面図である。 本開示によるトラックソーの例の、別のより模式的でない左側面図である。 本開示によるトラックソーの例の、より模式的でない正面図である。 本開示によるトラックソーの例の、より模式的でない背面図である。 本開示によるトラックソーの例の、より模式的でない上面図である。 本開示によるトラックソーの例の、より模式的でない底面図である。 本開示による自動調整式リブガイドアセンブリを含むベースプレートの領域の例の略図である。 本開示による自動調整式リブガイドアセンブリを含むベースプレートの領域の例の略図である。 本開示による自動調整式リブガイドアセンブリを含むベースプレートの一例のアーバ反対側面を示す側面図である。 伸長状態にある自動調整式リブガイドアセンブリのガイドローラを示す図13のベースプレートの横断面図である。 収縮状態にある自動調整式リブガイドアセンブリのガイドローラを示す図13のベースプレートの横断面図である。 本開示による自動調整式リブガイドアセンブリを動作させる方法の例を示すフロー図である。
図1~15は、本開示によるトラックソー10及び/又はそのコンポーネントの例を提供する。類似の又は少なくとも実質的に類似の目的を果たす要素は、図1~15のそれぞれに同じ番号でラベル付けされており、これらの要素は、図1~15のそれぞれを参照して本明細書に詳しく検討されないことがある。同様に、全ての要素が、図1~15のそれぞれにラベル付けされているわけではないが、それに関連した参照番号は、一貫性を保つために本明細書で利用されていることがある。図1~15の1つ又は複数を参照して本明細書で検討される要素、構成要素、及び/又は特徴は、本開示の範囲から逸脱することなく、図1~15のいずれかに含まれ、及び/又は図1~15のいずれかと共に利用されてもよい。
概して、特定の実施形態に含まれる傾向がある要素は、実線で例示されている一方で、任意である要素は、破線で例示されている。しかし実線で示された要素は、全ての実施形態に必要不可欠でないことがあり、一部の実施形態では、本開示の範囲から逸脱することなく割愛されてもよい。
図1は、本開示によるトラックソー10の形態における丸鋸の例の略図である一方で、図2~10は、プランジソー30でもある、本開示によるトラックソー10の例のより模式的でない図である。図11~15は、本開示による自動調整式リブガイドアセンブリ332を含むトラックソー10のベースプレート304の図である。より詳細には、図2はトラックソー10の上部輪郭図を例示し、図3はトラックソー10の右側面図を例示する。図4は、完全に降下された配向52にあるトラックソーを例示するトラックソー10の左側面図を例示し、図5は、完全に格納された配向54にあるトラックソーを例示するトラックソー10の左側面図を例示し、図6は、数個のカバーが取り外された図5の左側面図を例示する。図7はトラックソー10の正面図であり、図8はトラックソー10の背面図であり、図9はトラックソー10の上面図であり、図10はトラックソー10の底面図である。図11~12は、図示するベースプレート304の領域が略図で示すトラック42と係合している本開示による自動調整式リブガイドアセンブリ332を含むトラックソー10のベースプレート304の領域の例の略図である。図13は、本開示による自動調整式リブガイドアセンブリ332を含むベースプレート304の例のアーバ反対側面を示す側面図であり、図14は、伸長状態360にある自動調整式リブガイドアセンブリのガイドローラ348を示す図13のベースプレート304の横断面図であり、図15は、収縮状態364にある自動調整式リブガイドアセンブリのガイドローラ348を示す図13のベースプレートの横断面図である。図13~15の例に示すベースプレート304は、図2~10の例に示すベースプレート304とは異なるか、又は異なる構造を含んでいてもよい。
図1~15によって集合的に例示されたように、トラックソー10は、回転シャフト軸94を中心に回転するように構成されたモータシャフト92を含むモータ90を含む。トラックソー10は、モータシャフト92がシャフト回転軸を中心に回転する時に、モータ90からトルクを受領するように構成されたアーバ100も含む。トルクの受領は、アーバ100を、本明細書中で、図1に示すように、丸鋸回転軸106と称してもよいか、及び/又は丸鋸回転軸106であってもよいアーバ回転軸106を中心として回転させてもよい。図1に破線、図3~8及び10に実線で例示されたように、トラックソー10は、トラックソー刃200も含んでもよい。丸鋸刃200は、存在する時に、アーバ100を介してトラックソーに動作可能に取り付けられてもよく、及び/又はアーバと共に回転運動するように構成されてもよい。丸鋸刃200の回転は、図1に模式的に例示されたように、丸鋸刃で被加工物98を切断するのを促進してもよい。
トラックソー10は、被加工物を切断するために丸鋸刃200を利用するよう適合され、構成され、設計され、及び/若しくは構築され、並びに/又は被加工物内に作製される切断の品質及び/若しくは精度を改善するためにトラック42を利用してもよい、任意の適切な種類又はスタイルのトラックソーであってもよい。トラックソー10の例は、手持ち式トラックソー12及び/又はプランジソー30の形態のトラックソー10を含む。一部の例では、トラックソー10は、上記の鋸の両方からの構造及び/若しくは特徴を含んでもよく、並びに/又は上記の鋸の両方の機能性を組み込んでもよい。例として、また本明細書により詳しく検討されたように、所与のトラックソー10は、手持ち式トラックソー12及び/若しくはプランジソー30であってもよく、並びに/又は手持ち式トラックソー12及び/若しくはプランジソー30の機能性を組み込んでもよい。従って本開示によるトラックソー10は、本明細書に開示された1つ若しくは複数の特徴を含んでもよいが、トラックソー10は、本明細書に開示された特徴の全てを含む必要はない。
モータ90は、モータシャフト92の回転のため、及び/又は丸鋸刃200の作動のために原動力を提供し得る、あらゆる適切な構造を含んでもよい。モータ90の例は、電気モータ、AC電気モータ、DC電気モータ、ブラシレスDCモータ、可変速モータ、及び/又は単一速度モータを含む。
図1に破線、図2、4~6及び8~9に実線で例示されたように、トラックソー10は、トラックソーを動作中に使用者によって把持され、及び/又は保持されるように構成された、把持領域60を含んでもよい。把持領域60は、存在する時に、本明細書ではハンドル若しくはハンドグリップと呼ばれてもよく、及び/又はハンドル若しくはハンドグリップであってもよい。
また図1に破線、図2及び4~6に実線で例示されたように、トラックソー10は少なくとも1つのスイッチ65を含んでもよい。スイッチ65は、存在する時に、トラックソーの少なくとも1つの他の構成要素に電流を提供することを可能にし、及び/若しくは許容し、並びに/又はトラックソーのその少なくとも1つの他の構成要素の電源駆動を許容するなどのために、トラックソーの使用者によって選択的に作動されるように構成されてもよい。例として、スイッチ65の選択的作動は、トラックソーのモータ制御装置の動作を可能にし、モータ90に電流を選択的に加え、モータ制御装置がモータに電流を選択的に加えることを可能にし、及び/又はモータがモータシャフトの回転のために原動力を提供することを許容し、若しくは向けるために利用されてもよい。一部の例では、電流は、モータ90などのトラックソーの少なくとも1つの他の構成要素に電力供給し、又は直接電力供給するために利用されてもよい。一部のこのような例では、電流は、本明細書では電力信号と呼ばれることもある。一部の例では、電流は、トラックソーのモータ制御装置などのトラックソーの少なくとも1つの他の構成要素に送られる、電気データ信号であってもよい。一部のこのような例では、電流は、本明細書ではデータ信号及び/又は電気データ信号と呼ばれることもある。スイッチ65の例は、電気スイッチ、通常開いている電気スイッチ、瞬間電気スイッチ、及び/又は係止瞬間電気スイッチを含む。
また、図1~15に実線で示すように、トラックソー10はまた、ベースプレート304の形態の被加工物支持体300も含んでいる。被加工物支持体300は、図1に示すように、被加工物が切断され、若しくは別法により器具によって作用される時に、被加工物98を支持するように、及び/又は被加工物に対してトラックソーを位置付けるように構成されてもよい。
トラックソー10は、モータ90に電力供給するために、あらゆる適切な電源及び対応する電力供給構造70を含んでもよい。電力供給構造の例は、図1に示すように、電力コード72及び/又は電池74を含む。
また図1に破線、図2~10に実線で例示されたように、トラックソー10はブレードガード80を含んでもよい。ブレードガード80は、存在する時に、使用者と丸鋸刃との間で接触するのを防ぎ、若しくは接触する可能性を低減するなどのために、丸鋸刃200の少なくともある領域を覆うように、収納するように、及び/又は含有するように構成されてもよい。トラックソー10の一部の例では、ブレードガード80は、図1に例示されたように、格納可能な領域82を含んでもよい。格納可能な領域は、折り畳み、回転し、及び/又は別法によりトラックソーが被加工物を切断するように利用される時に、格納するように構成されてもよい。格納可能な領域82は、追加として又は別法として、格納領域82及び/又は折り畳み領域82と呼ばれることがある。
一部の例では、検討されたように、トラックソー10はプランジソー30であってもよい(即ち、その構造及び機能を含んでいてもよい)。プランジソー30であり、又はその機能を含むトラックソー10の例では、アーバ100は、被加工物支持体300から突出する丸鋸刃200の領域を選択的に変え、及び/又はトラックソーの切断深さを選択的に変える等のために、被加工物支持体に対して動くように構成されてもよい。例えばアーバ100は、図3~4及び7~8に示す構成と、図5~6に示す構成との間の並進によって示すように、被加工物支持体300に対して枢動するように構成されてもよい。
詳細な例では、被加工物支持体300は、アーバ対面側面308及びアーバ反対側面312を画定してもよいベースプレート304を含み、及び/又はベースプレート304であってもよい。アーバ100は、ベースプレート・ピボット316と共に、ベースプレート・ピボット316を介して、及び/又はベースプレート・ピボット316を利用して、ベースプレート304のアーバ対面側面308に動作可能に取り付けられてもよい。言い換えれば、ベースプレート304のアーバ対面側面308は、アーバ100の方を向いていてもよい。このような例では、アーバ100及びベースプレート304は、完全に下降された配向52を例示する図4に例示された構成から、完全に格納された配向54を例示する図5に例示された構成への並進によって恐らく最良に例示されたように、ベースプレートのアーバ反対側面312上に延在する丸鋸刃200の領域320を選択的に変えるなどのために、互いに対して、ベースプレート・ピボット316を中心に回転するように構成されてもよい。言い換えれば、アーバ100は、完全に下降された配向及び完全に格納された配向によって境界を示されてもよい、相対配向又は相対角度の範囲を通して、被加工物支持体300に対して枢動するように構成されてもよい。相対配向のこの範囲の各相対配向に対して、丸鋸刃200は、対応する量によってアーバ反対側面312上に延在してもよく、それによって対応する最大切断深さをトラックソーに提供する。
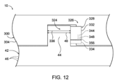
トラックソー10のベースプレート304は、図1、11~12、及び14~15に恐らく最良に示すように、トラック42の隆起した細長いリブ44を受領するように構成されることがある、リブ受領チャネル324を含む。トラック42は、本明細書では細長いトラック42と呼ばれることもあり、1つ又は複数の細長いトラック区画若しくはトラック部分46から形成されてもよく、細長いトラック区画若しくはトラック部分46は、あらゆる適切なトラック長さを画定するために互いに対して動作可能に取り付けられてもよい。トラックソー10の動作中、トラック42は、トラックの縁部がトラックソーに所望の切断線に対応するように、被加工物98に動作可能に取り付けられ、又は締め付けられてもよい。続いてトラックソーは、隆起した細長いリブ44がリブ受領チャネル324内に位置付けられるように、トラックに対して位置付けられてもよく、次いでトラックソーは、細長いトラックの長さの少なくとも一部に沿って並進されてもよく、それによって所望の切断線に沿った直線切断を生成する。
図11~15は、本開示による自動調整式リブガイドアセンブリ328の形態のリブガイドアセンブリ332を強調している。図11~15は、図1~10のトラックソー10等の本開示によるトラックソー10のコンポーネント、領域、及び/若しくは特徴のより詳細な及び/若しくは特定の図を含むか、及び/又はそれらであってもよい。この点を考慮して、図1~15のうちの任意の1つを参照して本明細書中に開示されたあらゆる構造、機能、及び/若しくは特徴は、本開示の適用範囲を逸脱することなく、図1~15のその他に含まれてもよく、並びに/又はそれらと共に利用されてもよい。
検討するように、トラックソー10は、トラック42の隆起した細長いリブ44を受領するよう構成されるリブ受領チャネル324を含むベースプレート304の形態の被加工物支持体300を含んでいる。リブ受領チャネル324は、ベースプレート304のアーバ反対側面312から、及び/又はベースプレート内に延在してもよい。図10及び13に恐らく最良に示すように、リブ受領チャネル324は、ベースプレート304の前縁305とベースプレートの後縁306との間に延在してもよい。追加として又は代替として、リブ受領チャネル324は、図10に恐らく最良に示すように、丸鋸刃200の平面刃面202に平行に、又は少なくとも略平行に延在してもよいか、及び/又は丸鋸刃の回転軸204に垂直に延在してもよい。
トラックソー10はまた、少なくとも1つのリブガイドアセンブリ328を含み、幾つかの例では、図13に示すように、リブ受領チャネル324を少なくとも部分的に画定する少なくとも2つのリブガイドアセンブリ328を含む。リブガイドアセンブリ328は、リブ受領チャネル324のブレード反対側面326上に位置決めされてもよい。ベースプレート304が少なくとも2つのリブガイドアセンブリ328を含む場合、前方リブガイドアセンブリ329は、ベースプレート304の前縁305に近接して位置決めされてもよい。追加として又は代替として、後方リブガイドアセンブリ330は、ベースプレートの後縁306に近接して位置決めされてもよい。
本開示による自動調整式リブガイドアセンブリ332は、図11~12及び図14~15に示すように、トラック42、又はそのトラックセグメント46の隆起した細長いリブ44の隆起したリブ横断幅48の変化若しくはその範囲に対して自動的に調整するか、自己調整するか、及び/又は適応させる。より詳細には、自動調整式リブガイドアセンブリ332は、隆起したリブ横断幅48の範囲にわたってトラックソー10と隆起した細長いリブ44との間の所望量のクリアランス、公差、及び/又は接触を自動的に維持するよう構成される。これは、異なるトラック42間の隆起したリブ横断幅48の変化に対する所望のクリアランス、公差、及び/又は接触を自動的に維持すること、及び/又は、トラックソーが単一のトラック42の長さに沿って動作可能なように並進される間、及び/又は被加工物を切断するために利用される間等、単一の、若しくは所定のトラック42の単一の、若しくは所定の隆起した細長いリブ44の長さに沿って隆起したリブ横断幅48の変化に対して所望のクリアランス、公差、及び/又は接触を自動的に維持することを含んでいてもよい。これは、本明細書中で検討するように、隆起したリブ横断幅48の変化を自動的に考慮するか、又は調整することができない手動調整機構を含むか、及び/又は利用する可能性がある従来のトラックソーとは対照的であってもよい。
言い換えれば、自動調整式リブガイドアセンブリ332は、隆起したリブ横断幅の範囲を収容すること等、自動調整式リブガイドアセンブリによって画定されるリブ受領チャネルの領域の横断幅336、最小横断幅、及び/又は横断面積を自動的に調整するよう構成されてもよい。これは、図11及び14に示す構成と、図12及び15に示す構成との間の遷移によって説明される。
例として、自動調整式リブガイドアセンブリ332は、閾値リブ幅分散によって変化する隆起したリブ横断幅の範囲を自動的に調整するよう構成されてもよい。閾値リブ幅分散の例は、少なくとも0.05ミリメートル(mm)、少なくとも0.1mm、少なくとも0.15mm、少なくとも0.2mm、少なくとも0.25mm、少なくとも0.3mm、少なくとも0.35mm、少なくとも0.4mm、最大1mm、最大0.9mm、最大0.8mm、最大0.7mm、最大0.6mm、最大0.5mm、最大0.4mm、最大0.3mm、及び/又は最大0.2mmを含む。
この自動調整は、任意の適切な手法で達成されてもよい。例として、自動調整式リブガイドアセンブリ332の一部及び/又は領域は、自動調整式リブガイドアセンブリの一部と隆起した細長いリブとの間の接触力に応じて、トラックソー10の残りの部分に対して、自動的に動くよう構成されてもよい。これは、隆起した細長いリブ44の隆起したリブ横断幅48に対応するか、又は調整する自動的な動きを含んでいてもよい。追加として又は代替として、自動調整式リブガイドアセンブリの一部及び/又は領域は、隆起した細長いリブと接触したままであるよう付勢されて、隆起したリブ横断幅48の変化に対応するか、又は調整してもよい。この調整は、自動調整式リブガイドアセンブリが比較的狭い隆起したリブ横断幅48に対応する図11に示す構成から、自動調整式リブガイドアセンブリが比較的狭い隆起したリブ横断幅48に対応するよう左に移動した図12に示す構成への自動調整式リブガイドアセンブリ332の遷移によって例示される。
具体例では、及び図14~15に恐らく最良に示すように、自動調整式リブガイドアセンブリ332は、ローラシャフト344、ガイドローラ348、及び付勢機構356を含んでいてもよい。ローラシャフト344は、円筒形、若しくは細長い円筒形のローラシャフトを含むか、及び/又は、ローラシャフトであってもよい。ガイドローラ348は、トラックに対するトラックソー10の運動の間等、ローラシャフト344を中心として回転するよう構成されてもよい。ガイドローラ348はまた、図14に示すような伸長状態360と図15に示すような収縮状態364との間でローラシャフト344に沿って、又はその長さに沿って動作可能に並進するよう構成されてもよい。伸長状態360は、横断幅336の最小又は最小値を画定してもよい一方で、収縮状態364は、横断幅336の最大又は最大値を画定してもよい。
付勢機構356は、ガイドローラ348を伸長状態360に向けて及び/又は伸長状態に付勢するよう構成されてもよい。しかし、図11及び14に例示されている最小横断幅よりも大きい横断幅を有する隆起した細長いリブの挿入により、ガイドローラ348を収縮状態364に向けて付勢し、それによって横断幅336を調整するか、又は自動的に調整してもよい。付勢機構356はまた、隆起した細長いリブ44の長さに沿ったトラックソー10の移動の間及び/又は被加工物を切断するトラックソーの動作的使用の間に起こり得るように、ガイドローラ348に接触するトラック42の領域の隆起したリブ横断幅48の変化に応じて、ガイドローラ344の長さに沿って、ガイドローラ348を伸長させるよう付勢してもよいか、及び/又はガイドローラが収縮することを許容してもよい。言い換えれば、付勢機構356は、隆起した細長いリブ44と接触したままになるようガイドローラ348を付勢し、それによって、隆起したリブ横断幅48の減少に応じて横断幅336を増加させるか、及び/又は隆起したリブ横断幅48の増加に応じて横断幅336を減少させてもよい。追加として又は代替として、隆起した細長いリブ44をリブ受領チャネル324から取り除く際、付勢機構356は、ガイドローラ348を伸長状態に向けて、及び/又は伸長状態に付勢してもよい。
上で説明した機能を促進するため、ガイドローラ348は、テーパガイドローラ及び/若しくは少なくとも部分的に円錐ガイドローラを含むか、並びに/又はそれらであってもよい。追加として又は代替として、ガイドローラ348は、ベースプレート304のアーバ反対側面312に向かってテーパが付けられてもよい。言い換えれば、ガイドローラ348の幅は、アーバ反対側面312からアーバ対面側面308に向かって延在する方向に増加してもよい。
図14に示すこのテーパのためのテーパ角350は、任意の適切な値を有していてもよい。テーパ角の例は、少なくとも5度、少なくとも7.5度、少なくとも10度、少なくとも12.5度、少なくとも15度、少なくとも17.5度、少なくとも20度、少なくとも22.5度、少なくとも25度、少なくとも27.5度、少なくとも30度、最大45度、最大40度、最大35度、最大30度、最大27.5度、最大25度、最大22.5度、及び/又は最大20度の角度を含む。特定のテーパ角は、付勢機構356によってガイドローラ348に印加される強度、復元力、及び/又は付勢力に関して選択されるか、及び/又はそれらに基づいていてもよく、より小さい角度は弱い付勢力と関連し、より大きい角度はより強い付勢力と関連する。テーパ角は、図14にも示すように、ベースプレート304のアーバ反対側面312に向かって開いていてもよい。
ガイドローラ348は、中心開口352を有するか、画定するか、及び/又は含んでいてもよい。ローラシャフト344は、中心開口内及び/又はそれを通って延在してもよい。ガイドローラ348は、任意の適切なガイドローラ材料及び/又は複数の材料から形成及び/又は画定されてもよい。ガイドローラ材料の例は、弾性材料、高分子材料、ポリウレタン、及び/又はそれらの組み合わせを含む。
付勢機構356は、任意の適切な材料及び/又は複数の材料を含むか、及び/又はそれらから形成されてもよい。付勢機構356の例は、弾性材料、ばね、及び/又はコイルばねを含む。
トラックソー10の幾つかの例では、図11~12に示すように、トラックソー10及び/又はそのリブガイドアセンブリ328は、手動調整機構334を含んでいてもよい。手動調整機構334は、存在する場合、トラックソーのユーザによって作動されて、リブ受領チャネル324の対応する領域の横断幅を手動で調整するよう構成されてもよい。幾つかの例では、手動調整機構334は、自動調整式リブガイドアセンブリ332とは異なるか、離間するか、及び/又は分離していてもよい。幾つかのかかる例では、リブ受領チャネルの対応する領域は、自動調整式リブガイドアセンブリによって調整されるリブ受領チャネルの領域と異なっていてもよい。幾つかの例では、手動調整機構は、自動調整式リブガイドアセンブリ332の一部を形成してもよいか、及び/又は相互作用してもよい。幾つかのかかる例では、リブ受領チャネルの対応する領域は、自動調整式リブガイドアセンブリによって調整されるリブ受領チャネルの領域と同じであってもよい。幾つかのかかる例では、手動調整機構は、自動調整式リブガイドアセンブリ332によって対応されるか、又は調整されてもよい隆起したリブ横断幅48の範囲を広げるか、及び/又は狭める等、調整するよう構成されてもよい。
図16は、図1及び11~15の自動調整式リブガイドアセンブリ332等の、本開示による自動調整式リブガイドアセンブリを動作させる方法1000の例を示すフロー図である。方法1000は、自動調整式リブガイドアセンブリを動作させるか、及び/又は調整して、トラックソーと共に利用されてもよいトラックの隆起した細長いリブの隆起したリブ横断幅の範囲を自動的に調整するか、又は自動的に対応させることを含んでいてもよい。トラックソーの例は、トラックソー10を参照して本明細書に開示される。トラックの例は、トラック42を参照して本明細書に開示される。隆起した細長いリブの例は、隆起した細長いリブ44を参照して本明細書に開示される。
方法1000は、1010における隆起した細長いリブを位置決めすること、及び1020における接触力を確立することを含む。方法1000はまた、1030において自動調整式リブガイドアセンブリの一部を移動させることを含んでいてもよく、1040における被加工物を切断することを含んでいてもよい。
1010において隆起した細長いリブを位置決めすることは、隆起した細長いリブをトラックソーのベースプレートのリブ受領チャネル内に位置決めすることを含んでいてもよい。幾つかの例では、1010における位置決めは、隆起した細長いリブをリブ受領チャネルの少なくとも一部と係合させること、隆起した細長いリブをリブ受領チャネルの少なくとも一部と動作可能に係合させること、及び/又は隆起した細長いリブとリブ受領チャネルの少なくとも一部との間に物理的接触を確立することを含んでいてもよい。幾つかの例では、1010における位置決めは、隆起した細長いリブを自動調整式リブガイドアセンブリの少なくとも一部と係合させること、隆起した細長いリブを自動調整式リブガイドアセンブリの少なくとも一部と動作可能に係合させること、及び/又は隆起した細長いリブと自動調整式リブガイドアセンブリの少なくとも一部との間に物理的接触を確立することを含んでいてもよい。
1020における接触力を確立することは、隆起した細長いリブと自動調整式リブガイドアセンブリとの間の接触力を生成、発生、及び/又は確立することを含んでいてもよい。1020における確立は、隆起した細長いリブと自動調整式リブガイドアセンブリとの間の接触、又は直接的な物理的接触を介する等、1010における位置決めの間、それに応じて、及び/又はその結果であってもよい。追加として又は代替として、1020における確立は、ユーザがトラックの長さに沿ってトラックソーを押す際に接触力を維持することを含んでいてもよい。
1030における自動調整式リブガイドアセンブリの一部を移動させることは、隆起した細長いリブがリブ受領チャネル内に位置決めされている間及び/又は自動調整式リブガイドアセンブリが隆起した細長いリブに接触している間等、自動調整式リブガイドアセンブリの少なくとも部分をトラックソーの残りの部分に対して移動させることを含んでいてもよい。これは、自動調整式リブガイドアセンブリの一部を移動させて、リブ受領チャネルがトラックの隆起した細長いリブを受領するよう調整し、対応させ、及び/又は許可することを含んでいてもよい。1030における移動は、1020における確立中に確立される接触力の間、それに応じて、及び/又はその結果であってよい。
1030における移動は、あらゆる適切な手法で達成されてもよい。一例として、自動調整式リブガイドアセンブリは、ガイドローラ348等のガイドローラを含んでいてもよい。幾つかのかかる例では、1020における確立は、隆起した細長いリブとガイドローラとの間の接触力を確立することを含んでいてもよく、1030における移動は、ガイドローラを移動させることを含んでいてもよい。幾つかのかかる例では、ガイドローラは、テーパ領域を画定するテーパガイドローラを含むか、及び/又はテーパガイドローラであってもよく、1030における移動は、隆起した細長いリブに接触するテーパ領域の一部を変更することを含んでいてもよい。幾つかのかかる例では、ガイドローラは対称軸を画定してもよく、1030における移動は、対称軸に沿ってガイドローラを動作可能に並進させることを含んでいてもよい。
幾つかの例では、自動調整式リブガイドアセンブリはローラシャフトを含んでいてもよく、ガイドローラは、ローラシャフトを中心として動作可能に回転するよう構成されてもよい。幾つかのかかる例では、1030における移動は、ガイドローラを、ローラシャフトに沿って、その長さの少なくとも一部に沿って、及び/又はその細長い軸に沿って動作可能に並進させることを含んでいてもよい。
幾つかの例では、自動調整式リブガイドアセンブリは、付勢機構を含んでいてもよい。幾つかのかかる例では、1030における移動は、付勢機構を圧縮することを含んでいてもよい。より詳細な例では、ガイドローラは、接触力、接触力の変化、及び/又は隆起した細長いリブの横断幅の変化に応じる可能性があるように、ローラシャフトに沿って、及び/又は伸長状態と収縮状態との間で動作可能に並進するよう構成されてもよい。伸長状態は、自動調整式リブガイドアセンブリによって少なくとも部分的に画定されるリブ受領チャネルの領域の最小横断幅を画定してもよく、収縮状態は、自動調整式リブガイドアセンブリによって少なくとも部分的に画定されるリブ受領チャネルの領域の最大横断幅を画定してもよい。幾つかのかかる例では、付勢機構は、ガイドローラを伸長状態に向けて付勢するよう、又は促進するよう構成されてもよい。幾つかのかかる例では、1030における移動は、接触力により付勢機構の付勢力を克服することによって等、ガイドローラを収縮状態に向かって少なくとも部分的に移動させることを含んでいる。
1040における被加工物を切断することは、トラックソーにより、それを介して、及び/又はそれを利用して、被加工物を切断することを含んでいてもよい。1040における切断は、1040における切断中にトラック及び/又は隆起した細長いリブがトラックソーを少なくとも部分的に案内及び/又は方向付けることを可能にするように、隆起した細長いリブの長さに沿ってトラックソーを動作可能に並進させることによって被加工物を切断することを含んでいてもよい。
方法1000は、1030における移動を、1040における切断と同時に及び/又はそれに応じて実行することを含んでいてもよい。言い換えれば、1030における移動は、トラックソーの残りの部分に対して自動調整式リブガイドアセンブリの一部を自動的に移動させて、自動調整式リブガイドアセンブリの一部と隆起した細長いリブとの間の接触を維持すること、隆起した細長いリブと自動調整式リブガイドアセンブリとの間の接触力を維持すること、接触力を所定の接触力範囲内に維持すること、及び/又は自動調整式リブガイドアセンブリと隆起した細長いリブとの間動作可能な係合を介してトラックソーとトラックとの間の所望の許容差を維持することを含んでいてもよい。これは、自動調整式リブガイドアセンブリの一部に接触する、又は接触している隆起した細長いリブの領域の隆起したリブ横断幅の変化中、及び/又はそれにも関わらず、維持することを含んでいてもよい。
本開示では、複数の例示的な非排他的例は、方法が一連のブロック若しくはステップとして示されて記載されている、流れ図若しくはフローチャートに照らして検討され及び/又は表されてきた。添付の記載に特に明記されない限り、ブロックの順番は、複数のブロック(若しくはステップ)が異なる順番で、及び/又は同時に起きることを含み、流れ図に例示された順番と異なってもよいことは、本開示の範囲内である。
本明細書で使用する場合、第1の実体と第2の実体との間に置かれた用語「及び/又は」は、(1)第1の実体、(2)第2の実体、並びに(3)第1の実体及び第2の実体の1つを意味する。「及び/又は」と共にリストにされた複数の実体は、同じ手法で、すなわちそのように統合された実体の「1つ又は複数」と解釈されるべきである。明確に特定された実体に関連しているかどうかに関わらず、「及び/又は」の語句によって明確に特定された実体以外の他の実体が任意に存在してもよい。従って非限定例として、「含む」などのオープンエンド言語と共に使用された時に、「A及び/又はB」の言及は、一実施形態では、Aのみ(B以外の実体を任意に含む)、別の実施形態では、Bのみ(A以外の実体を任意に含む)、尚別の実施形態では、A及びBの両方(他の実体を任意に含む)を指してもよい。これらの実体は、要素、作用、構造、ステップ、動作、値などを指してもよい。
本明細書で使用する場合、1つ又は複数の実体のリストに関する語句「少なくとも1つ」は、実体のリストにおけるあらゆる1つ又は複数の実体から選択された少なくとも1つの実体を意味すると理解するべきだが、必ずしも実体のリスト内に明確に一覧にされたありとあらゆる実体の少なくとも1つを含まず、実体のリスト内の実体のあらゆる組み合わせを除外しない。この定義は、語句「少なくとも1つ」が指す実体のリスト内に明確に特定された実体以外の実体が、明確に特定された実体に関連するかどうかに関わらず、任意に存在し得ることも可能にする。従って非限定例として、「A及びBの少なくとも1つ」(又は同等に「A若しくはBの少なくとも1つ」、又は同等に「A及び/若しくはBの少なくとも1つ」)は、一部の実施形態では、Bが存在しない(及びB以外の実体を任意に含む)少なくとも1つの、任意に2つ以上を含むA、別の実施形態では、Aが存在しない(及びA以外の実体を任意に含む)少なくとも1つ、任意に2つ以上を含むB、尚別の実施形態では、少なくとも1つの、任意に2つ以上を含むA、並びに少なくとも1つの、任意に2つ以上を含むB(及び任意に他の実体を含む)を指してもよい。換言すると、語句「少なくとも1つ」、「1つ又は複数」並びに「及び/又は」は、動作中に結合及び分離の両方であるオープンエンドの表現である。例えば、各表現「A、B、及びCの少なくとも1つ」、「A、B、又はCの少なくとも1つ」、「A、B、及びCの1つ又は複数」、「A、B、又はCの1つ又は複数」、並びに「A、B、及び/又はC」は、Aのみ、Bのみ、Cのみ、A及びBを一緒に、A及びCを一緒に、B及びCを一緒に、A、B及びCを一緒に、並びに任意にあらゆる上記を少なくとも1つの他の実体と組み合わせることを意味してもよい。
あらゆる特許、特許出願、又は他の参考文献が、参照により本明細書に組み込まれ、(1)本開示の組み込まれていない部分、若しくはあらゆる他の組み込まれた参考文献のいずれかと矛盾する手法で用語を定義し、及び/又は(2)本開示の組み込まれていない部分、若しくはあらゆる他の組み込まれた参考文献のいずれかと別様に矛盾する場合、本開示の組み込まれない部分が優先するものとし、本明細書における用語又は組み込まれた開示は、用語が定義されている、及び/又は組み込まれた開示が本来存在した参考文献に関してのみ優先するものとする。
本明細書で使用する場合、用語「適合される」及び「構成される」は、要素、構成要素、又は他の主題が、所与の機能を行うように設計され及び/又は意図されることを意味する。従って用語「適合される」及び「構成される」の使用は、所与の要素、構成要素、又は他の主題が、単に所与の機能を行うことが「できる」ことを意味すると解釈されるべきではなく、要素、構成要素、及び/又は他の主題が、機能を行う目的で明確に選択され、生成され、実装され、利用され、プログラムされ、及び/又は設計されることを意味すると解釈されるべきである。要素、構成要素、及び/又は具体的な機能を行うように適合されると列記された他の列記された主題は、追加として又は別法として、その機能を行うように構成されると記載されてもよく、逆も同様であることも本開示の範囲内である。
本明細書で使用する場合、語句「例えば」、語句「例として」、及び/又は単に用語「例」は、本開示による1つ又は複数の構成要素、特徴、詳細、構造、実施形態、及び/又は方法を参照して使用する時に、記載された構成要素、特徴、詳細、構造、実施形態、及び/又は方法が、本開示による構成要素、特徴、詳細、構造、実施形態、及び/又は方法の例示的非排他的例であることを伝えることを意図する。従って記載された構成要素、特徴、詳細、構造、実施形態、及び/又は方法は、限定し、必要であり、又は排他的/包括的であることを意図するのではなく、構造的及び/若しくは機能的に類似の並びに/又は同等の構成要素、特徴、詳細、構造、実施形態、並びに/又は方法を含む、他の構成要素、特徴、詳細、構造、実施形態、並びに/或いは方法も、本開示の範囲内である。
本明細書で使用する場合、「少なくとも実質的に」は、程度若しくは関係を修正する時に、列記された「実質的な」程度又は関係だけでなく、列記された程度又は関係の全範囲も含んでもよい。列記された程度又は関係の実質的な量は、列記された程度又は関係の少なくとも75%を含んでもよい。例えば、ある材料から少なくとも実質的に形成された対象は、対象の少なくとも75%がその材料から形成された対象を含み、その材料から完全に形成された対象も含む。別の例では、少なくとも実質的に第2の長さと同じ長さである第1の長さは、第2の長さの75%以内である第1の長さを含み、第2の長さと同じ長さである第1の長さも含む。
本開示によるトラックソー及び方法の例示的非排他的例は、以下の列挙された段落に表されている。以下の列挙された段落を含む、本明細書に列記された方法の個々のステップが、追加として又は別法として、列記された作用を行う「ためのステップ」と呼ばれることがあることは、本開示の範囲内である。
A1.トラックソーであって、
シャフト回転軸を中心として回転するよう構成されるモータシャフトを含むモータと、
丸鋸刃をトラックソーに取り付け、モータシャフトがシャフト回転軸を中心として回転する時に、モータからトルクを受領するよう構成されるアーバと、
アーバ対面側面とアーバ反対側面とを画定するベースプレートであって、ベースプレートのアーバ対面側面がアーバの方を向き、ベースプレートは、
(i)ベースプレートのアーバ反対側面に画定され、トラックの隆起した細長いリブを受領するよう構成されるリブ受領チャネルと、
(ii)リブ受領チャネルを少なくとも部分的に画定する自動調整式リブガイドアセンブリであって、隆起したリブ横断幅の範囲を自動的に調整するよう構成される自動調整式リブガイドアセンブリと、を含む、ベースプレートと、を備える、
トラックソー。
A2.ベースプレートは、少なくとも2つの自動調整式リブガイドアセンブリを含む、段落A1に記載のトラックソー。
A3.少なくとも2つの自動調整式リブガイドアセンブリの前方リブガイドアセンブリは、ベースプレートの前縁に近接して位置決めされ、更に、少なくとも2つの自動調整式リブガイドアセンブリの後方リブガイドアセンブリは、ベースプレートの後縁に近接して位置決めされる、段落A2に記載のトラックソー。
A4.自動調整式リブガイドアセンブリは、自動調整式リブガイドアセンブリによって少なくとも部分的に画定されるリブ受領チャネルの領域の横断幅を自動的に調整するよう構成される、段落A1~A3のいずれか一項に記載のトラックソー。
A5.自動調整式リブガイドアセンブリは、横断幅を自動的に調整して、
(i)隆起したリブ横断幅の範囲に対応することと、
(ii)トラックソーがトラックの隆起した細長いリブに沿って並進する際に、隆起した細長いリブとの接触を維持することと、
のうちの少なくとも1つを行うよう構成される、段落A4に記載のトラックソー。
A6.自動調整式リブガイドアセンブリの少なくとも一部は、自動調整式リブガイドアセンブリの一部とトラックの隆起した細長いリブとの間の接触力に応じて、トラックソーの残りの部分に対して自動的に移動し、隆起した細長いリブの隆起したリブ横断幅に対応するよう構成される、段落A1~A5のいずれか一項に記載のトラックソー。
A7.自動調整式リブガイドアセンブリは、
(i)トラックソーを利用して被加工物を切断する際、
(ii)トラックソーが、隆起した細長いリブの長さに沿って動作可能に並進される際、
のうちの少なくとも1つの場合に、隆起した細長いリブと接触したままになるよう付勢される、段落A1~A6のいずれか一項に記載のトラックソー。
A8.自動調整式リブガイドアセンブリは、リブ受領チャネルのブレード反対側面に位置決めされる、段落A1~A7のいずれか一項に記載のトラックソー。
A9.自動調整式リブガイドアセンブリは、ローラシャフト、ガイドローラ、及び付勢機構を含む、段落A1~A8のいずれか一項に記載のトラックソー。
A10.ガイドローラは、ローラシャフトを中心として動作可能に回転するよう構成される、段落A9に記載のトラックソー。
A11.ガイドローラは、自動調整式リブガイドアセンブリによって少なくとも部分的に画定されるリブ受領チャネルの領域の最小横断幅を画定する伸長状態と、自動調整式リブガイドアセンブリによって少なくとも部分的に画定されるリブ受領チャネルの領域の最大横断幅を画定する格納状態との間でローラシャフトに沿って動作可能に並進するよう構成される、段落A10に記載のトラックソー。
A11.1.付勢機構は、ガイドローラを伸長状態に向けて付勢するよう構成される、段落A11に記載のトラックソー。
A12.ローラシャフトは、細長い円筒形のローラシャフトを含む、段落A9~A11.1のいずれか一項に記載のトラックソー。
A13.ガイドローラは、
(i)テーパ状ガイドローラを含み、
(ii)少なくとも部分的に円錐形のガイドローラを含み、
(iii)ベースプレートのアーバ反対側面に向かってテーパが付けられる、
のうちの少なくとも1つである、段落A9~A12のいずれか一項に記載のトラックソー。
A14.ガイドローラは、テーパ角を画定する、段落A9~A13のいずれか一項に記載のトラックソー。
A15.テーパ角は、
(i)少なくとも5度、少なくとも7.5度、少なくとも10度、少なくとも12.5度、少なくとも15度、少なくとも17.5度、少なくとも20度、少なくとも22.5度、少なくとも25度、少なくとも27.5度、又は少なくとも30度と、
(ii)最大45度、最大40度、最大35度、最大30度、最大27.5度、最大25度、最大22.5度、又は最大20度と、
のうちの少なくとも1つである、段落A14に記載のトラックソー。
A16.テーパ角は、ベースプレートのアーバ反対側面に向かって開いている、段落A14~A15のいずれか一項に記載のトラックソー。
A17.テーパ角は、付勢機構によってガイドローラに印加される付勢力に少なくとも部分的に基づく、段落A14~A16のいずれか一項に記載のトラックソー。
A18.ガイドローラは中心開口を含み、更に、ローラシャフトは中心開口を通って延在する、段落A9~A17のいずれか一項に記載のトラックソー。
A19.ガイドローラは、
(i)弾性材料と、
(ii)高分子材料と、
(iii)ポリウレタンと、
のうちの少なくとも1つを含むか、又はそれらのうちの少なくとも1つであるガイドローラ材料によって画定される、段落A9~A18のいずれか一項に記載のトラックソー。
A20.付勢機構は、
(i)弾性材料と、
(ii)ばねと、
(iii)コイルばねと、
のうちの少なくとも1つを含む、段落A9~A19のいずれか一項に記載のトラックソー。
A21.リブ受領チャネルは、
(i)ベースプレートの前縁とベースプレートの後縁との間に延在し、
(ii)丸鋸刃の平面刃面に対して平行、又は少なくとも略平行に延在する、
のうちの少なくとも1つである、段落A1~A20のいずれか一項に記載のトラックソー。
A22.リブ受領チャネルは、ベースプレートのアーバ反対側面からベースプレート内に延在する、段落A1~A21のいずれか一項に記載のトラックソー。
A23.トラックソーは、更に、トラックソーのユーザによって作動されて、リブ受領チャネルの対応する領域の横断幅を手動で調整するよう構成される手動調整機構を含む、段落A1~A22のいずれか一項に記載のトラックソー。
A24.手動調整機構は、自動調整式リブガイドアセンブリとは異なる、段落A23に記載のトラックソー。
A25.手動調整機構は、自動調整式リブガイドアセンブリによって対応される隆起したリブ横断幅の範囲を調整するよう構成される、段落A23に記載のトラックソー。
A26.モータは電気モータを含む、段落A1~A25のいずれか一項に記載のトラックソー。
A27.トラックソーは、1つの/その被加工物を切断するためにトラックソーを動作中に、トラックソーの使用者によって把持されるように構成された把持領域を更に含む、段落A1~A26のいずれか一項に記載のトラックソー。
A28.トラックソーは、トラックソーの少なくとも1つの他の構成要素に電流を選択的に加えるように構成されたスイッチを更に含む、段落A1~A27のいずれか一項に記載のトラックソー。
A29.トラックソーは、その使用者と鋸刃との間の接触を防ぐように構成されたブレードガードを更に含む、段落A1~A28のいずれか一項に記載のトラックソー。
A30.ブレードガードは、トラックソーが1つの/その被加工物を切断するために利用された時に、格納するように構成された格納可能な領域を含む、段落A29に記載のトラックソー。
A31.トラックソーは、更に、
(i)トラックソーに電力供給するよう構成される電力供給構造と、
(ii)トラックソーに電流を提供するよう構成される電源コードと、
(iii)トラックソーに電流を提供するよう構成される電池と、
のうちの少なくとも1つを含む、段落A1~A30のいずれか一項に記載のトラックソー。
A32.トラックソーはプランジソーである、段落A1~A31のいずれか一項に記載のトラックソー。
A33.アーバは、ベースプレート・ピボットを介してベースプレートのアーバ対面側面に動作可能に取り付けられる、段落A32に記載のトラックソー。
A34.アーバ及びベースプレートは、ベースプレートのアーバ反対側面上に延在する丸鋸刃の領域を選択的に変化させるよう、ベースプレート・ピボットを中心として互いに対して動作可能に回転するよう構成される、段落A33に記載のトラックソー。
A35.トラックソーは丸鋸刃を含む、段落A1~A34のいずれか一項に記載のトラックソー。
A36.丸鋸刃は、アーバと共に回転運動するためにアーバを介してトラックソーに動作可能に取り付けられる、段落A35に記載のトラックソー。
A37.トラックソーは更にトラックを含み、トラックは隆起した細長いリブを含む、段落A1~A36のいずれか一項に記載のトラックソー。
B1.トラックの隆起した細長いリブの隆起したリブ横断幅の範囲を調整するようトラックソーの自動調整式リブガイドアセンブリを動作させる方法であって、
隆起した細長いリブをトラックソーのベースプレートのリブ受領チャネル内に位置決めすることと、
位置決め中に、隆起した細長いリブと自動調整式リブガイドアセンブリとの間に接触力を確立することと、
接触力に応じて、自動調整式リブガイドアセンブリの少なくとも一部をトラックソーの残りの部分に対して移動させて、隆起した細長いリブの隆起したリブ横断幅に対応させることと、を含む、
方法。
B2.位置決めすることは、隆起した細長いリブをリブ受領チャネルの少なくとも一部と係合させることを含む、段落B1に記載の方法。
B3.位置決めすることは、隆起した細長いリブを自動調整式リブガイドアセンブリの少なくとも一部と係合させることを含む、段落B1~B2のいずれか一項に記載の方法。
B4.方法は、更に、隆起した細長いリブの長さに沿ってトラックソーを動作可能に並進させることによって、被加工物を切断することを含む、段落B1~B3のいずれか一項に記載の方法。
B5.切断中、移動させることは、自動調整式リブガイドアセンブリの一部と接触している隆起した細長いリブの領域の隆起したリブ横断幅の変化の間、自動調整式リブガイドアセンブリの一部と隆起した細長いリブとの間の接触を維持するよう、トラックソーの残りの部分に対して自動調整式リブガイドアセンブリの一部を自動的に移動させることを含む、段落B4に記載の方法。
B6.切断中、移動させることは、接触力を所定の接触力範囲内に維持するよう、トラックソーの残りの部分に対して自動調整式リブガイドアセンブリの一部を自動的に移動させることを含む、段落B4~B5のいずれか一項に記載の方法。
B7.自動調整式リブガイドアセンブリはガイドローラを含み、接触力を確立することは、隆起した細長いリブとガイドローラとの間に接触力を確立することを含み、更に、自己調整式リブガイドアセンブリの少なくとも一部を移動させることは、ガイドローラを移動させることを含む、段落B1~B6のいずれか一項に記載の方法。
B8.ガイドローラは、テーパ領域を画定するテーパガイドローラであり、更に、移動させることは、隆起した細長いリブに接触するテーパ領域の一部を変更することを含む、段落B7に記載の方法。
B9.ガイドローラは対称軸を画定し、更に、移動させることは、対称軸に沿ってガイドローラを動作可能に並進させることを含む、段落B7~B8のいずれか一項に記載の方法。
B10.自動調整式リブガイドアセンブリは、更に、ローラシャフトを含み、ガイドローラはローラシャフトを中心として動作可能に回転するよう構成され、更に、移動させることは、ローラシャフトに沿ってガイドローラを動作可能に並進させることを含む、段落B7~B9のいずれか一項に記載の方法。
B11.自動調整式リブガイドアセンブリは、更に、付勢機構を含み、ガイドローラは、自動調整式リブガイドアセンブリによって少なくとも部分的に画定されるリブ受領チャネルの領域の最小横断幅を画定する伸長状態と、自動調整式リブガイドアセンブリによって少なくとも部分的に画定されるリブ受領チャネルの領域の最大横断幅を画定する格納状態との間でローラシャフトに沿って動作可能に並進するよう構成され、付勢機構は、ガイドローラを伸長状態に向けて付勢するよう構成され、更に、移動させることは、ガイドローラを収縮状態に向かって少なくとも部分的に移動させることを含む、段落B10に記載の方法。
B12.移動させることは、付勢機構を圧縮することを含む、段落B11に記載の方法。
B13.トラックソーは、段落A1~A37のいずれか一項に記載のあらゆるトラックソーのいずれかのあらゆる構造を含むか、又はあらゆるトラックソーである、段落B1~B12のいずれか一項に記載の方法。
産業上の利用可能性
本明細書に開示されたトラックソーは、電動工具業界に利用可能である。
上記の本開示は、独立した有用性を持つ複数の別個の発明を包含すると考えられる。これらの発明のそれぞれは、好ましい形で開示されているが、本明細書に開示されて例示されたようにその特定の実施形態は、多くの変形が可能であるので、限定する意味でとらえるべきではない。本発明の主題は、本明細書に開示された様々な要素、特徴、機能、及び/又は特性の全ての新規の自明ではない組み合わせ並びに部分組み合わせを含む。同様に特許請求の範囲が、「1つの」若しくは「第1の」要素又はその等価物を列記した場合、このような特許請求の範囲は、複数のこのような要素を必要とせず又は除外もしない、1つ又は複数のこのような要素の組み合わせを含むと理解するべきである。
以下の特許請求の範囲は、本開示された発明の1つに関し、新規で自明ではない、ある特定の組み合わせ及び部分組み合わせを具体的に指摘すると考えられる。特徴、機能、要素、及び/又は特性の他の組み合わせ及び部分組み合わせで具現化された発明は、本特許請求の範囲の修正、又は本特許出願若しくは関連出願における新しい特許請求の範囲の提示を通して主張され得る。このような修正された又は新しい特許請求の範囲も、それらが異なる発明に関するか、若しくは同じ発明に関するかに関わらず、元の特許請求の範囲と異なる、より広い、より狭い、若しくは等しいかに関わらず、本開示の本発明の主題内に含まれるともみなされる。

Claims (25)

  1. トラックソーであって、
    シャフト回転軸を中心として回転するよう構成されるモータシャフトを含むモータと、
    丸鋸刃を前記トラックソーに取り付け、前記モータシャフトが前記シャフト回転軸を中心として回転する時に、前記モータからトルクを受領するよう構成されるアーバと、
    アーバ対面側面とアーバ反対側面とを画定するベースプレートであって、前記ベースプレートの前記アーバ対面側面は前記アーバの方を向き、前記ベースプレートは、
    (i)前記ベースプレートの前記アーバ反対側面に画定され、トラックの隆起した細長いリブを受領するよう構成されるリブ受領チャネルと、
    (ii)前記リブ受領チャネルを少なくとも部分的に画定する自動調整式リブガイドアセンブリであって、前記リブの横断幅であるリブ横断幅の範囲に合わせて自動的に調整するよう構成される自動調整式リブガイドアセンブリと、を含む、ベースプレートと、を備え、
    前記自動調整式リブガイドアセンブリは、ローラシャフト、ガイドローラ、及び付勢機構を含み、
    前記ガイドローラは、前記ローラシャフトを中心として回転可能に構成され、
    前記ガイドローラは、前記自動調整式リブガイドアセンブリによって少なくとも部分的に画定される前記リブ受領チャネルの領域の最小横断幅を画定する伸長状態と、前記自動調整式リブガイドアセンブリによって少なくとも部分的に画定される前記リブ受領チャネルの前記領域の最大横断幅を画定する格納状態との間で前記ローラシャフトの軸方向に沿って並進可能に構成される、
    トラックソー。
  2. 前記ベースプレートは、少なくとも2つの自動調整式リブガイドアセンブリを含む、請求項1に記載のトラックソー。
  3. 前記少なくとも2つの自動調整式リブガイドアセンブリの前方リブガイドアセンブリは、前記ベースプレートの前縁に近接して位置決めされ、更に、前記少なくとも2つの自動調整式リブガイドアセンブリの後方リブガイドアセンブリは、前記ベースプレートの後縁に近接して位置決めされる、請求項2に記載のトラックソー。
  4. 前記自動調整式リブガイドアセンブリは、前記自動調整式リブガイドアセンブリによって少なくとも部分的に画定される前記リブ受領チャネルの領域の横断幅を自動的に調整するよう構成される、請求項1~3のいずれか一項に記載のトラックソー。
  5. 前記自動調整式リブガイドアセンブリは、前記横断幅を自動的に調整して、
    (i)隆起したリブ横断幅の範囲に対応することと、
    (ii)前記トラックソーが前記トラックの前記隆起した細長いリブに沿って並進する際に、前記隆起した細長いリブとの接触を維持することと、
    のうちの少なくとも1つを行うよう構成される、請求項4に記載のトラックソー。
  6. 前記自動調整式リブガイドアセンブリの少なくとも一部は、前記自動調整式リブガイドアセンブリの一部と前記トラックの前記隆起した細長いリブとの間の接触力に応じて、前記自動調整式リブガイドアセンブリ以外の前記トラックソーの部品に対して自動的に移動し、前記リブ横断幅を調整するよう構成される、請求項1~5のいずれか一項に記載のトラックソー。
  7. 前記自動調整式リブガイドアセンブリは、
    (i)前記トラックソーを利用して被加工物を切断する際、
    (ii)前記トラックソーが、前記隆起した細長いリブの長さに沿って並進される際、
    のうちの少なくとも1つの場合に、前記隆起した細長いリブと接触したままになるよう付勢される、請求項1~6のいずれか一項に記載のトラックソー。
  8. 前記自動調整式リブガイドアセンブリは、前記ベースプレートの前記丸鋸刃が配置されている面とは反対側の面である丸鋸刃反対側面に位置決めされる、請求項1~7のいずれか一項に記載のトラックソー。
  9. 前記付勢機構は、前記ガイドローラを前記伸長状態に向けて付勢するよう構成される、請求項1に記載のトラックソー。
  10. 前記ローラシャフトは、細長い円筒形のローラシャフトを含む、請求項1~9のいずれか一項に記載のトラックソー。
  11. 前記ガイドローラは、
    (i)テーパ状ガイドローラを含み、
    (ii)少なくとも部分的に円錐形のガイドローラを含み、
    (iii)前記ベースプレートの前記アーバ反対側面に向かってテーパが付けられる、
    のうちの少なくとも1つである、請求項1~10のいずれか一項に記載のトラックソー。
  12. 前記リブ受領チャネルは、前記丸鋸刃の平面刃面に対して平行に延在する、請求項1~11のいずれか一項に記載のトラックソー。
  13. 前記トラックソーはプランジソーである、請求項1~12のいずれか一項に記載のトラックソー。
  14. 前記アーバは、ベースプレート・ピボットを介して前記ベースプレートの前記アーバ対面側面に動作可能に取り付けられ、更に、前記アーバ及び前記ベースプレートは、前記ベースプレートの前記アーバ反対側面上に延在する前記丸鋸刃の領域を選択的に変えるよう、前記ベースプレート・ピボットを中心として互いに対して回転可能に構成される、請求項1~13のいずれか一項に記載のトラックソー。
  15. 前記トラックソーは更に前記トラックを含み、前記トラックは前記隆起した細長いリブを含む、請求項1~14のいずれか一項に記載のトラックソー。
  16. ブの横断幅であるリブ横断幅の範囲に合わせて調整するようトラックソーの自動調整式リブガイドアセンブリを動作させる方法であって、
    起した細長いリブを前記トラックソーのベースプレートのリブ受領チャネル内に位置決めすることと、
    前記位置決め中に、前記隆起した細長いリブと前記自動調整式リブガイドアセンブリとの間に接触力を確立することと、
    前記接触力に応じて、前記自動調整式リブガイドアセンブリの少なくとも一部を前記自動調整式リブガイドアセンブリ以外の前記トラックソーの部品に対して移動させて、前記リブ横断幅に対応させることと、を含み、
    前記自動調整式リブガイドアセンブリはガイドローラを含み、前記接触力を確立することは、前記隆起した細長いリブと前記ガイドローラとの間に前記接触力を確立することを含み、更に、前記自動調整式リブガイドアセンブリの少なくとも一部を移動させることは、前記ガイドローラを移動させることを含み、
    前記自動調整式リブガイドアセンブリは、更に、ローラシャフトを含み、前記ガイドローラは前記ローラシャフトを中心として回転可能に構成され、更に、前記移動させることは、前記ローラシャフトの軸方向に沿って前記ガイドローラを並進可能にすることを含む、
    方法。
  17. 前記位置決めすることは、前記隆起した細長いリブを前記リブ受領チャネルの少なくとも一部と係合させることを含む、請求項16に記載の方法。
  18. 前記位置決めすることは、前記隆起した細長いリブを前記自動調整式リブガイドアセンブリの少なくとも一部と係合させることを含む、請求項16~17のいずれか一項に記載の方法。
  19. 前記方法は、更に、前記隆起した細長いリブの長さに沿って前記トラックソーを並進可能にさせることによって、被加工物を切断することを含む、請求項16~18のいずれか一項に記載の方法。
  20. 前記切断中、前記移動させることは、前記自動調整式リブガイドアセンブリの前記一部と接触している前記リブ横断幅の変化の間、前記自動調整式リブガイドアセンブリの前記一部と前記隆起した細長いリブとの間の接触を維持するよう、前記自動調整式リブガイドアセンブリ以外の前記トラックソーの部品に対して前記自動調整式リブガイドアセンブリの前記一部が自動的に移動することを含む、請求項19に記載の方法。
  21. 前記切断中、前記移動させることは、前記接触力を所定の接触力範囲内に維持するよう、前記自動調整式リブガイドアセンブリ以外の前記トラックソーの部品に対して前記自動調整式リブガイドアセンブリの前記一部が自動的に移動することを含む、請求項19~20のいずれか一項に記載の方法。
  22. 前記ガイドローラは、テーパ領域を画定するテーパガイドローラであり、更に、前記移動させることは、前記隆起した細長いリブに接触する前記テーパ領域の一部を変更することを含む、請求項16に記載の方法。
  23. 前記ガイドローラは対称軸を画定し、更に、前記移動させることは、前記対称軸に沿って前記ガイドローラを並進可能にすることを含む、請求項16~22のいずれか一項に記載の方法。
  24. 前記自動調整式リブガイドアセンブリは、更に、付勢機構を含み、前記ガイドローラは、前記自動調整式リブガイドアセンブリによって少なくとも部分的に画定される前記リブ受領チャネルの領域の最小横断幅を画定する伸長状態と、前記自動調整式リブガイドアセンブリによって少なくとも部分的に画定される前記リブ受領チャネルの前記領域の最大横断幅を画定する格納状態との間で前記ローラシャフトに沿って並進可能に構成され、前記付勢機構は、前記ガイドローラを前記伸長状態に向けて付勢するよう構成され、更に、前記移動させることは、前記ガイドローラを前記格納状態に向かって少なくとも部分的に移動させることを含む、請求項16に記載の方法。
  25. 前記移動させることは、前記ガイドローラを、前記付勢機構を圧縮する方向に向かって移動させることを含む、請求項24に記載の方法。
JP2022577481A 2020-06-25 2021-06-23 自動調整式リブガイドアセンブリを有するトラックソー及びトラックソーの自動調整式リブガイドアセンブリを動作させる方法 Active JP7635273B2 (ja)

Applications Claiming Priority (3)

Application Number Priority Date Filing Date Title
US202063044034P 2020-06-25 2020-06-25
US63/044,034 2020-06-25
PCT/EP2021/067122 WO2021259989A2 (en) 2020-06-25 2021-06-23 Track saws with self-adjusting rib-guide assemblies and methods of operating self-adjusting rib-guide assemblies of track saws

Publications (2)

Publication Number Publication Date
JP2023530988A JP2023530988A (ja) 2023-07-20
JP7635273B2 true JP7635273B2 (ja) 2025-02-25

Family

ID=76662489

Family Applications (8)

Application Number Title Priority Date Filing Date
JP2022577481A Active JP7635273B2 (ja) 2020-06-25 2021-06-23 自動調整式リブガイドアセンブリを有するトラックソー及びトラックソーの自動調整式リブガイドアセンブリを動作させる方法
JP2022577497A Active JP7603721B2 (ja) 2020-06-25 2021-06-23 ブレードガード開口内に延在する透明窓とカバー締結構造とを含む丸鋸
JP2022577519A Active JP7534450B2 (ja) 2020-06-25 2021-06-23 丸鋸刃用ブレードマウントを備えた丸鋸、及び丸鋸に丸鋸刃を取り付ける方法
JP2022577545A Active JP7542086B2 (ja) 2020-06-25 2021-06-23 ロック組立体を備えた丸鋸
JP2022577492A Active JP7634023B2 (ja) 2020-06-25 2021-06-23 切断インジケータを有するプランジソー、及びプランジソーを動作させる方法
JP2022577494A Active JP7770345B2 (ja) 2020-06-25 2021-06-23 被加工物内にベベル切断を行うように構成されたベベルソー
JP2022577475A Active JP7635272B2 (ja) 2020-06-25 2021-06-23 改良された切断能力を備えた携帯用丸鋸
JP2022577498A Active JP7569868B2 (ja) 2020-06-25 2021-06-23 ピボット・アセンブリ及びピボット・バイアス機構を備えた丸鋸

Family Applications After (7)

Application Number Title Priority Date Filing Date
JP2022577497A Active JP7603721B2 (ja) 2020-06-25 2021-06-23 ブレードガード開口内に延在する透明窓とカバー締結構造とを含む丸鋸
JP2022577519A Active JP7534450B2 (ja) 2020-06-25 2021-06-23 丸鋸刃用ブレードマウントを備えた丸鋸、及び丸鋸に丸鋸刃を取り付ける方法
JP2022577545A Active JP7542086B2 (ja) 2020-06-25 2021-06-23 ロック組立体を備えた丸鋸
JP2022577492A Active JP7634023B2 (ja) 2020-06-25 2021-06-23 切断インジケータを有するプランジソー、及びプランジソーを動作させる方法
JP2022577494A Active JP7770345B2 (ja) 2020-06-25 2021-06-23 被加工物内にベベル切断を行うように構成されたベベルソー
JP2022577475A Active JP7635272B2 (ja) 2020-06-25 2021-06-23 改良された切断能力を備えた携帯用丸鋸
JP2022577498A Active JP7569868B2 (ja) 2020-06-25 2021-06-23 ピボット・アセンブリ及びピボット・バイアス機構を備えた丸鋸

Country Status (6)

Country Link
US (8) US12420444B2 (ja)
EP (8) EP4171910B1 (ja)
JP (8) JP7635273B2 (ja)
CN (10) CN115803165A (ja)
DE (1) DE202021107000U1 (ja)
WO (8) WO2021259990A1 (ja)

Families Citing this family (7)

* Cited by examiner, † Cited by third party
Publication number Priority date Publication date Assignee Title
JP7635273B2 (ja) * 2020-06-25 2025-02-25 フェスツール ゲーエムベーハー 自動調整式リブガイドアセンブリを有するトラックソー及びトラックソーの自動調整式リブガイドアセンブリを動作させる方法
EP4247579A4 (en) * 2020-11-23 2025-03-26 Milwaukee Electric Tool Corporation TRACK SAW ARRANGEMENT
US12465982B2 (en) 2022-02-24 2025-11-11 Techtronic Cordless Gp Track saw including plunge lockout mechanism
US11897114B1 (en) 2022-08-16 2024-02-13 Techtronic Cordless Gp Accessory storage location for power tool
USD1055655S1 (en) 2022-08-16 2024-12-31 Techtronic Cordless Gp Power tool
US12083613B2 (en) 2022-10-18 2024-09-10 Techtronic Cordless Gp Track saw including plunge lockout mechanism
CN120152809A (zh) * 2022-11-01 2025-06-13 工机控股株式会社 作业机

Citations (4)

* Cited by examiner, † Cited by third party
Publication number Priority date Publication date Assignee Title
JP2006334886A (ja) 2005-06-01 2006-12-14 Makita Corp 切断機の案内装置
US20060283024A1 (en) 2005-06-01 2006-12-21 Mike Wilson Anti-kickback devices for circular saws
US20150165637A1 (en) 2012-07-04 2015-06-18 Robert Bosch Gmbh Cut Length Indicating Device
JP2017196853A (ja) 2016-04-28 2017-11-02 日立工機株式会社 切断工具及びサブベース

Family Cites Families (148)

* Cited by examiner, † Cited by third party
Publication number Priority date Publication date Assignee Title
US1830579A (en) * 1930-01-30 1931-11-03 Wappat Inc Electric handsaw
DE743056C (de) 1942-03-28 1943-12-17 Festo Maschf Stoll G Handkreissaege
US2562396A (en) * 1947-03-15 1951-07-31 Walt Inc De Safety device for saws
DE838951C (de) 1948-10-02 1952-05-15 Festo Maschf Stoll G Handkreissaege
DE834897C (de) * 1949-11-01 1952-03-24 Eugen Lutz Holzbearbeitungsmas Kreissaege mit Motorantrieb, die beim Arbeiten von Hand angesetzt und gefuehrt wird und deren Saegeblatt durch Schwenken des Motorgehaeuses in auf einer Grundplatte vorgesehenen Zapfenlagern schraeg gestellt werden kann
AT183946B (de) * 1953-10-24 1955-11-25 Walter Wuhrmann Gehrungssäge
US2861607A (en) * 1955-10-24 1958-11-25 Porter Cable Machine Co Jack shaft and guard unit for wood working saws
US3262472A (en) * 1964-05-08 1966-07-26 Black & Decker Mfg Co Depth and bevel adjustment means for portable power-driven saw
US3722496A (en) * 1971-01-28 1973-03-27 A Schuman Concrete cutting hand saw
US3721141A (en) * 1971-07-06 1973-03-20 Rockwell Mfg Co Movable blade guard and mounting for portable circular saws
JPS5117654Y2 (ja) * 1971-07-19 1976-05-12
US3973179A (en) * 1974-08-23 1976-08-03 The Black And Decker Manufacturing Company Modular cordless tools
US3971906A (en) * 1974-11-01 1976-07-27 Lucerne Products, Inc. Trigger-lock control
US4022182A (en) 1976-01-12 1977-05-10 Lenkevich Steve T Dust and water confinement unit for portable circular saw
JPS52139483U (ja) * 1976-04-16 1977-10-22
JPS567052Y2 (ja) * 1977-09-20 1981-02-16
DE3104340C2 (de) 1980-03-06 1986-06-05 AEG Power Tool Corp. (APTC), Norwich, Conn. Tragbare Kreissäge
JPS5756109U (ja) 1980-09-16 1982-04-01
DE3106098A1 (de) * 1981-02-19 1982-09-02 Eugen Lutz GmbH u. Co Maschinenfabrik, 7130 Mühlacker Kombinierte tisch- und gehrungssaege
DE3341003C2 (de) 1983-11-12 1986-01-30 Festo-Maschinenfabrik Gottlieb Stoll, 7300 Esslingen Führungseinrichtung für eine transportable Säge
DE3621718C2 (de) * 1986-06-28 1995-04-06 Black & Decker Inc Motorgetriebene Kreissäge
US4729193A (en) * 1986-12-22 1988-03-08 Eugene Gant Cutting disk mounting assembly
DE3721471A1 (de) 1987-06-30 1989-01-12 Eisele Maschf Chr Kreissaegemaschine
US4879438A (en) * 1988-08-01 1989-11-07 Ryobi Motor Products Corp. Lock-on/lock-off switch for power tool
US4892022A (en) * 1988-09-20 1990-01-09 Robert Bosch Power Tool Corporation Safety guard for sawing power tool particularly mitre saw
JPH0737782Y2 (ja) * 1989-12-15 1995-08-30 日立工機株式会社 電気丸鋸のベース傾斜機構
JPH04269502A (ja) * 1991-02-25 1992-09-25 Matsushita Electric Works Ltd 電動刃物機器
DE4124234A1 (de) 1991-07-22 1993-01-28 Bosch Gmbh Robert Handkreissaege und saegeverfahren
DE4124233A1 (de) * 1991-07-22 1993-01-28 Bosch Gmbh Robert Handkreissaege
US5303688A (en) * 1992-04-03 1994-04-19 Chiuminatta Edward R Mounting arbor for saw cutting blades
JP3336036B2 (ja) 1992-05-26 2002-10-21 松下電工株式会社 電動丸鋸
FI91136C (fi) * 1992-07-03 1994-05-25 Kauko Rautio Pyöröterän kiinnitysjärjestelmä
GB9316724D0 (en) * 1993-08-12 1993-09-29 Black & Decker Inc Pivot bearing for a chop saw
US5406752A (en) * 1993-09-13 1995-04-18 American Pneumatic Technologies Reversible sander
JPH08177813A (ja) * 1994-12-22 1996-07-12 Power Tool Holders Inc 締付け用ネジ
US5588213A (en) * 1995-03-07 1996-12-31 Swanberg; Alan M. Circular saw with dust trapper
US5794351A (en) 1996-05-31 1998-08-18 Black & Decker, Inc. Window assembly and lower saw guard for circular saw
US5718621A (en) * 1996-09-11 1998-02-17 Turley; Edward Michael Reversible angle grinder with top arbour lock
US5856715A (en) * 1996-12-13 1999-01-05 Ryobi North America, Inc. Portable electrical power tool having a rare earth permanent magnet motor
US6093090A (en) * 1998-01-28 2000-07-25 The Stanley Works Reversible clamping hub
US6091035A (en) * 1998-08-14 2000-07-18 Black & Decker, Inc. Lockout mechanism for power tool
US6202311B1 (en) * 1999-07-30 2001-03-20 Black & Decker Inc. Circular saw with bevel angle adjustment mechanism
DE29922107U1 (de) * 1999-12-16 2000-02-17 Hilti Ag, Schaan Handkreissäge
US7058291B2 (en) * 2000-01-07 2006-06-06 Black & Decker Inc. Brushless DC motor
DE10032294B4 (de) * 2000-07-03 2005-10-13 Hilti Ag Werkzeugmaschine für Trennarbeiten
JP4119601B2 (ja) 2000-07-07 2008-07-16 日立工機株式会社 携帯用丸鋸
US6561063B1 (en) * 2000-08-18 2003-05-13 Campbell Hausfeld/Scott Fetzer Company Hand-held rotary cut-off tool
JP4269502B2 (ja) 2000-09-07 2009-05-27 三菱マテリアル株式会社 データキャリア
DE20017862U1 (de) * 2000-10-18 2001-02-08 FESTO Tooltechnic GmbH & Co., 73728 Esslingen Führungsvorrichtung für eine Werkzeugmaschine
DE20100087U1 (de) * 2001-01-04 2001-03-15 FESTO Tooltechnic GmbH & Co., 73728 Esslingen Handkreissäge
US6543143B2 (en) 2001-04-06 2003-04-08 Black & Decker Inc. Metal cutting circular saw with integral sight window
US6755107B2 (en) * 2001-05-18 2004-06-29 One World Technologies Lmt. Miter saw having a light beam alignment system
DE10141454A1 (de) * 2001-08-23 2003-03-13 Hilti Ag Batteriebetriebene Kreissäge
JP2003071803A (ja) 2001-08-31 2003-03-12 Ryobi Ltd 丸 鋸
US7096587B2 (en) 2001-09-07 2006-08-29 Hitachi Koki Co., Ltd. Portable circular power saw with optical alignment
DE20117159U1 (de) * 2001-10-16 2002-02-14 C. & E. Fein GmbH & Co KG, 70176 Stuttgart Werkzeugmaschine mit Befestigungsflansch
US6584695B1 (en) * 2002-01-02 2003-07-01 Chin-Chin Chang Laser alignment device of a circular saw
US7159497B2 (en) * 2002-01-25 2007-01-09 Eastway Fair Company Ltd. Light beam alignment system
NL1020056C2 (nl) * 2002-02-25 2003-08-27 Skil Europ Bv Motor en overbrengingsconstructie voor een handgereedschap.
US20070180710A1 (en) * 2002-04-03 2007-08-09 Keith Moore Metal cutting circular saw with integral sight window
CN2561565Y (zh) * 2002-05-14 2003-07-23 南京泉峰国际贸易有限公司 带激光对准装置的电圆锯
JP4656806B2 (ja) * 2002-11-01 2011-03-23 株式会社マキタ 電動工具
US7062817B2 (en) * 2003-03-14 2006-06-20 Winia Mando, Inc. Hinge assembly structure for opening and closing of door of storage facility
JP2004345256A (ja) 2003-05-23 2004-12-09 Hitachi Koki Co Ltd 携帯用切断機
DE10356051A1 (de) * 2003-12-01 2005-06-23 Robert Bosch Gmbh Handwerkzeugmaschine
CN100473509C (zh) * 2004-01-16 2009-04-01 罗伯特·博世有限公司 切削斜角和深度锁止系统
US6905401B1 (en) * 2004-05-07 2005-06-14 Sunmatch Industrial Co., Ltd. Bi-directional rotation pneumatic grinding tool
US20080244910A1 (en) 2004-05-28 2008-10-09 Scientific Molding Corporation Ltd. Hand-Held Circular Saw, In Particular Plunge-Cut Saw
CN2734387Y (zh) * 2004-08-23 2005-10-19 周海生 一种电圆锯
DE602004010123T2 (de) * 2004-09-22 2008-09-11 Black & Decker Inc., Newark Verriegelbare Drucktaste für einen Bohrhammer
US20060156887A1 (en) * 2005-01-14 2006-07-20 Robert Hutchings Circular saw guard and foot
US20060185492A1 (en) * 2005-02-18 2006-08-24 Francois Chianese Shoulder bushing for saw blades
DE102006025137B4 (de) * 2005-06-01 2013-08-08 Makita Corp. Schneidwerkzeuge und Führungseinrichtung
ATE411145T1 (de) * 2005-06-01 2008-10-15 Black & Decker Inc Kreissäge mit anti-rückschlagmittel
JP4954504B2 (ja) * 2005-06-28 2012-06-20 株式会社マキタ 携帯丸鋸
JP4804823B2 (ja) * 2005-07-26 2011-11-02 株式会社マキタ 携帯丸鋸
US20070107235A1 (en) * 2005-11-15 2007-05-17 Eastway Fair Company Limited Of Trident Chambers Light assembly for circular saw
DE202006007224U1 (de) 2006-04-28 2007-07-05 Schmid & Wezel Gmbh & Co. Antriebseinheit mit einem rotierenden Sägeblatt zum Anschluss an einen Roboter
CA2639930A1 (en) * 2006-07-13 2008-01-17 Eastway Fair Company Limited Portable power tool for cutting concrete board and other substrates
US20080017005A1 (en) * 2006-07-18 2008-01-24 Hsin-Chih Tung Light path molding apparatus of cutting machine tool
US20100040474A1 (en) 2007-01-09 2010-02-18 Makita Corporation Fixing device for rotary blade
DE102007010249A1 (de) * 2007-03-02 2008-09-04 Festool Gmbh Hand-Werkzeugmaschine mit einer Führungsplatte
JP4964642B2 (ja) 2007-03-27 2012-07-04 株式会社マキタ 回転刃具の固定装置
DE602007007755D1 (de) * 2007-07-26 2010-08-26 Black & Decker Inc Fußplatte
CN201346645Y (zh) * 2007-09-13 2009-11-18 布莱克和戴克公司 圆锯
US8695224B2 (en) 2007-09-13 2014-04-15 Black & Decker Inc. Saw with increased depth of cut
US8198560B2 (en) * 2009-01-09 2012-06-12 Makita Corporation Switch devices for power tools
DE202009001440U1 (de) 2009-01-30 2010-07-01 C. & E. Fein Gmbh Kraftgetriebenes Handwerkzeug mit Spanneinrichtung für ein Werkzeug
WO2010124293A1 (en) * 2009-04-24 2010-10-28 Martin Charles B Portable cutting device with on-board debris collection
US8435437B2 (en) 2009-09-04 2013-05-07 Abbott Cardiovascular Systems Inc. Setting laser power for laser machining stents from polymer tubing
CN102114555B (zh) * 2010-01-04 2014-05-28 泉峰(中国)贸易有限公司 电动工具
JP5510887B2 (ja) * 2010-01-13 2014-06-04 日立工機株式会社 電動工具
US8776657B2 (en) * 2010-01-26 2014-07-15 Robert Bosch Gmbh Blade mounting assembly
US8479401B2 (en) * 2010-06-15 2013-07-09 Robert Bosch Gmbh Power tool with virtual pivot
US20120079931A1 (en) 2010-10-01 2012-04-05 Joel Hansen Track Saw System
GB201102368D0 (en) * 2011-02-10 2011-03-30 7Rdd Ltd Powered circular saw and method of use thereof
US20130333228A1 (en) * 2011-02-28 2013-12-19 Makita Corporation Cutting tool
US20130185947A1 (en) * 2011-09-01 2013-07-25 Robert Bosch Gmbh Brushless dc motor-driven power device
US9434015B2 (en) * 2011-09-30 2016-09-06 Robert Bosch Gmbh Saw assembly with bevel gear drivetrain
US8857067B2 (en) * 2011-09-30 2014-10-14 Robert Bosch Gmbh Saw assembly with floating bearing for worm drive and motor shaft
US20130167383A1 (en) * 2011-12-30 2013-07-04 Robert Bosch Gmbh Substrate specific cutting guide
US9044869B2 (en) 2012-02-06 2015-06-02 Chervon (Hk) Limited Electric circular saw
JP5962309B2 (ja) 2012-07-31 2016-08-03 日立工機株式会社 切断機
JP2014166745A (ja) * 2013-01-30 2014-09-11 Makita Corp 充電式切断工具
CN104014868B (zh) * 2013-03-01 2017-09-26 博世电动工具(中国)有限公司 圆锯
CN203380425U (zh) * 2013-07-09 2014-01-08 南京久驰机电实业有限公司 一种电圆锯
CN103418836B (zh) * 2013-08-02 2016-01-20 江苏苏美达五金工具有限公司 一种带有滑动导轨的手持电动工具
DE102013020723B4 (de) 2013-12-07 2024-05-08 Festool Gmbh Hand-Werkzeugmaschine mit einer Sicherungseinrichtung
JP6347599B2 (ja) * 2013-12-09 2018-06-27 株式会社マキタ 携帯用マルノコ
CN203650629U (zh) * 2013-12-30 2014-06-18 邹建静 带多切割锯片的木料切割机锯片装配机构
EP2907634A1 (de) * 2014-02-14 2015-08-19 HILTI Aktiengesellschaft Gehrungswinkelanschlag
JP6234861B2 (ja) * 2014-03-26 2017-11-22 株式会社マキタ 電動工具用トリガスイッチ
JP6421495B2 (ja) * 2014-08-27 2018-11-14 マックス株式会社 携帯用切断機
CN107206615A (zh) * 2014-10-30 2017-09-26 罗伯特·博世有限公司 用于圆锯的下锯片护罩
DE102014224571A1 (de) * 2014-12-02 2016-06-02 Robert Bosch Gmbh Schnittlängenanzeigevorrichtung
JP6596249B2 (ja) * 2015-07-21 2019-10-23 株式会社マキタ 加工機
JP2017024116A (ja) 2015-07-21 2017-02-02 株式会社マキタ 加工機
JP2017064854A (ja) * 2015-09-30 2017-04-06 日立工機株式会社 レールアダプタ、レールアダプタ付き切断工具、及びガイド装置付き切断工具
DE102015221637A1 (de) * 2015-11-04 2017-05-04 Robert Bosch Gmbh 21Schnittlängenanzeigevorrichtung
CN205309881U (zh) 2015-12-14 2016-06-15 河北吉美达工具股份有限公司 一种圆锯片中心精确定位装置
CN205312467U (zh) 2016-01-28 2016-06-15 广州市行天自动化设备有限公司 一种自动输送线载具无隙式定位传送结构
JP6610979B2 (ja) * 2016-05-31 2019-11-27 工機ホールディングス株式会社 丸鋸
US10543542B2 (en) * 2016-07-27 2020-01-28 Tti (Macao Commercial Offshore) Limited Miter saw
US20180036900A1 (en) * 2016-08-02 2018-02-08 Cuz-D Manufacturing, Inc., Dba Cuzdey R&D Arbors for circular saws and associated systems and methods
US10668644B2 (en) * 2016-09-01 2020-06-02 Makita Corporation Portable cutting devices
US20180093335A1 (en) * 2016-10-04 2018-04-05 Tti (Macao Commercial Offshore) Limited Trigger lock for a miter saw
JP6702437B2 (ja) * 2016-12-28 2020-06-03 工機ホールディングス株式会社 携帯用切断機
CN206445286U (zh) * 2017-01-22 2017-08-29 南京德朔实业有限公司 电圆锯
JP6918553B2 (ja) 2017-04-05 2021-08-11 株式会社マキタ 携帯用加工機
JP2018187702A (ja) * 2017-04-28 2018-11-29 工機ホールディングス株式会社 電動工具
CN111225775B (zh) * 2017-06-12 2021-07-13 布雷韦蒂蒙托里特公司 改进的手持机动化切割装置及相关附件
CN207310133U (zh) 2017-08-22 2018-05-04 中建八局第一建设有限公司 一种新型切割机锯片防护罩
DE102017129809A1 (de) * 2017-09-29 2019-04-04 Festool Gmbh Mobile Werkzeugmaschine
DE102017129811A1 (de) * 2017-09-29 2019-04-04 Festool Gmbh Mobile Werkzeugmaschine
DE102017222662A1 (de) 2017-12-13 2019-06-13 Robert Bosch Gmbh Handwerkzeugmaschine
WO2019114777A1 (zh) * 2017-12-13 2019-06-20 南京德朔实业有限公司 电圆锯
JP7061915B2 (ja) 2018-04-19 2022-05-02 京セラインダストリアルツールズ株式会社 丸鋸
DE102018112324B4 (de) * 2018-05-23 2023-12-14 Metabowerke Gmbh Handwerkzeugmaschine mit einem Führungskörper und einem Verstellmechanismus für den Führungskörper
DE102019206810A1 (de) * 2018-05-31 2019-12-05 Bosch Limited Eine Halteanordnung für ein Kreissägewerkzeug
DE102019108793A1 (de) * 2018-06-12 2019-12-12 Festool Gmbh Hand-Werkzeugmaschine
CN208866497U (zh) * 2018-08-23 2019-05-17 创科(澳门离岸商业服务)有限公司 切入式圆锯
DE102018125423B4 (de) * 2018-10-15 2020-11-05 Metabowerke Gmbh Werkzeugmaschinensystem
JP7249797B2 (ja) * 2019-02-08 2023-03-31 株式会社マキタ 携帯用加工機
CN210256539U (zh) 2019-03-06 2020-04-07 创科(澳门离岸商业服务)有限公司 导向调节机构以及具有该机构的电动切割工具
DE102019134417A1 (de) 2019-12-13 2021-06-17 Festool Gmbh Mobile Hand-Sägemaschine mit Vorritzaggregat und Handgriff
JP7635273B2 (ja) * 2020-06-25 2025-02-25 フェスツール ゲーエムベーハー 自動調整式リブガイドアセンブリを有するトラックソー及びトラックソーの自動調整式リブガイドアセンブリを動作させる方法
US11613040B2 (en) * 2020-12-11 2023-03-28 Techtronic Cordless Gp Circular saw with adjustable base
JP2025087112A (ja) 2023-11-29 2025-06-10 日本ポリプロ株式会社 ポリプロピレン樹脂組成物および無機物質粉末含有繊維

Patent Citations (4)

* Cited by examiner, † Cited by third party
Publication number Priority date Publication date Assignee Title
JP2006334886A (ja) 2005-06-01 2006-12-14 Makita Corp 切断機の案内装置
US20060283024A1 (en) 2005-06-01 2006-12-21 Mike Wilson Anti-kickback devices for circular saws
US20150165637A1 (en) 2012-07-04 2015-06-18 Robert Bosch Gmbh Cut Length Indicating Device
JP2017196853A (ja) 2016-04-28 2017-11-02 日立工機株式会社 切断工具及びサブベース

Also Published As

Publication number Publication date
JP7534450B2 (ja) 2024-08-14
JP2023530987A (ja) 2023-07-20
CN115734856B (zh) 2024-04-12
JP7603721B2 (ja) 2024-12-20
US20230158703A1 (en) 2023-05-25
US20230158706A1 (en) 2023-05-25
JP2023530988A (ja) 2023-07-20
EP4171908A1 (en) 2023-05-03
CN118024358A (zh) 2024-05-14
US12420445B2 (en) 2025-09-23
DE202021107000U1 (de) 2022-09-26
JP7542086B2 (ja) 2024-08-29
EP4171912A1 (en) 2023-05-03
WO2021259992A2 (en) 2021-12-30
CN115776933A (zh) 2023-03-10
EP4171856B1 (en) 2025-07-30
US20230182219A1 (en) 2023-06-15
JP2023530448A (ja) 2023-07-18
CN115666835A (zh) 2023-01-31
US20230158704A1 (en) 2023-05-25
CN115867420A (zh) 2023-03-28
WO2021259987A1 (en) 2021-12-30
CN115916494A (zh) 2023-04-04
WO2021259983A1 (en) 2021-12-30
JP2023530990A (ja) 2023-07-20
JP7634023B2 (ja) 2025-02-20
US20230166425A1 (en) 2023-06-01
CN118024359A (zh) 2024-05-14
EP4171906A1 (en) 2023-05-03
EP4171910A2 (en) 2023-05-03
JP2023530152A (ja) 2023-07-13
WO2021259990A1 (en) 2021-12-30
EP4171907B1 (en) 2025-07-16
CN115803165A (zh) 2023-03-14
WO2021259999A1 (en) 2021-12-30
CN115734856A (zh) 2023-03-03
EP4171907A1 (en) 2023-05-03
WO2021260001A1 (en) 2021-12-30
EP4171911A1 (en) 2023-05-03
EP4171910B1 (en) 2025-08-06
EP4171909A2 (en) 2023-05-03
JP7770345B2 (ja) 2025-11-14
US11980955B2 (en) 2024-05-14
WO2021259998A1 (en) 2021-12-30
US12427693B2 (en) 2025-09-30
US20230166424A1 (en) 2023-06-01
EP4171856A1 (en) 2023-05-03
US20230158702A1 (en) 2023-05-25
US20230158586A1 (en) 2023-05-25
WO2021259989A3 (en) 2022-02-10
WO2021259989A2 (en) 2021-12-30
US12420444B2 (en) 2025-09-23
JP2023530157A (ja) 2023-07-13
CN115734858A (zh) 2023-03-03
CN115734857A (zh) 2023-03-03
EP4171906B1 (en) 2025-04-02
CN115734857B (zh) 2025-03-18
JP2023530158A (ja) 2023-07-13
JP7569868B2 (ja) 2024-10-18
JP2023530989A (ja) 2023-07-20
WO2021259992A3 (en) 2022-02-17
JP7635272B2 (ja) 2025-02-25

Similar Documents

Publication Publication Date Title
JP7635273B2 (ja) 自動調整式リブガイドアセンブリを有するトラックソー及びトラックソーの自動調整式リブガイドアセンブリを動作させる方法
JP2019092442A (ja) カッタユニット
US12296397B2 (en) Miter saw
TW201341089A (zh) 用於具有線性引導之鉸接連桿之斜口鋸的纜線線路系統
KR102829688B1 (ko) 칼날 절단 유닛을 구비한 커터 칼 장치
JP4702960B2 (ja) カッターナイフ用ホルダー
US10252538B2 (en) System and method for splitting a printer cartridge

Legal Events

Date Code Title Description
A621 Written request for application examination

Free format text: JAPANESE INTERMEDIATE CODE: A621

Effective date: 20221216

A977 Report on retrieval

Free format text: JAPANESE INTERMEDIATE CODE: A971007

Effective date: 20240126

A131 Notification of reasons for refusal

Free format text: JAPANESE INTERMEDIATE CODE: A131

Effective date: 20240206

A601 Written request for extension of time

Free format text: JAPANESE INTERMEDIATE CODE: A601

Effective date: 20240426

A601 Written request for extension of time

Free format text: JAPANESE INTERMEDIATE CODE: A601

Effective date: 20240618

A521 Request for written amendment filed

Free format text: JAPANESE INTERMEDIATE CODE: A523

Effective date: 20240806

A131 Notification of reasons for refusal

Free format text: JAPANESE INTERMEDIATE CODE: A131

Effective date: 20240917

A521 Request for written amendment filed

Free format text: JAPANESE INTERMEDIATE CODE: A523

Effective date: 20241216

TRDD Decision of grant or rejection written
A01 Written decision to grant a patent or to grant a registration (utility model)

Free format text: JAPANESE INTERMEDIATE CODE: A01

Effective date: 20250114

A61 First payment of annual fees (during grant procedure)

Free format text: JAPANESE INTERMEDIATE CODE: A61

Effective date: 20250212

R150 Certificate of patent or registration of utility model

Ref document number: 7635273

Country of ref document: JP

Free format text: JAPANESE INTERMEDIATE CODE: R150