JP7127077B2 - 反応動作中に制御点を監視するためのシステム及び方法 - Google Patents

反応動作中に制御点を監視するためのシステム及び方法 Download PDF

Info

Publication number
JP7127077B2
JP7127077B2 JP2020028938A JP2020028938A JP7127077B2 JP 7127077 B2 JP7127077 B2 JP 7127077B2 JP 2020028938 A JP2020028938 A JP 2020028938A JP 2020028938 A JP2020028938 A JP 2020028938A JP 7127077 B2 JP7127077 B2 JP 7127077B2
Authority
JP
Japan
Prior art keywords
control points
computer
motion
aided
control
Prior art date
Legal status (The legal status is an assumption and is not a legal conclusion. Google has not performed a legal analysis and makes no representation as to the accuracy of the status listed.)
Active
Application number
JP2020028938A
Other languages
English (en)
Other versions
JP2020078586A (ja
Inventor
ジー グリフィス,ポール
ディー イトコウィッツ,ブランドン
リンチ,ゴーラン
Original Assignee
インテュイティブ サージカル オペレーションズ, インコーポレイテッド
Priority date (The priority date is an assumption and is not a legal conclusion. Google has not performed a legal analysis and makes no representation as to the accuracy of the date listed.)
Filing date
Publication date
Application filed by インテュイティブ サージカル オペレーションズ, インコーポレイテッド filed Critical インテュイティブ サージカル オペレーションズ, インコーポレイテッド
Publication of JP2020078586A publication Critical patent/JP2020078586A/ja
Priority to JP2022129827A priority Critical patent/JP7309984B2/ja
Application granted granted Critical
Publication of JP7127077B2 publication Critical patent/JP7127077B2/ja
Active legal-status Critical Current
Anticipated expiration legal-status Critical

Links

Images

Classifications

    • AHUMAN NECESSITIES
    • A61MEDICAL OR VETERINARY SCIENCE; HYGIENE
    • A61BDIAGNOSIS; SURGERY; IDENTIFICATION
    • A61B34/00Computer-aided surgery; Manipulators or robots specially adapted for use in surgery
    • A61B34/30Surgical robots
    • A61B34/35Surgical robots for telesurgery
    • AHUMAN NECESSITIES
    • A61MEDICAL OR VETERINARY SCIENCE; HYGIENE
    • A61BDIAGNOSIS; SURGERY; IDENTIFICATION
    • A61B34/00Computer-aided surgery; Manipulators or robots specially adapted for use in surgery
    • A61B34/20Surgical navigation systems; Devices for tracking or guiding surgical instruments, e.g. for frameless stereotaxis
    • AHUMAN NECESSITIES
    • A61MEDICAL OR VETERINARY SCIENCE; HYGIENE
    • A61BDIAGNOSIS; SURGERY; IDENTIFICATION
    • A61B34/00Computer-aided surgery; Manipulators or robots specially adapted for use in surgery
    • A61B34/30Surgical robots
    • AHUMAN NECESSITIES
    • A61MEDICAL OR VETERINARY SCIENCE; HYGIENE
    • A61BDIAGNOSIS; SURGERY; IDENTIFICATION
    • A61B34/00Computer-aided surgery; Manipulators or robots specially adapted for use in surgery
    • A61B34/30Surgical robots
    • A61B34/32Surgical robots operating autonomously
    • AHUMAN NECESSITIES
    • A61MEDICAL OR VETERINARY SCIENCE; HYGIENE
    • A61BDIAGNOSIS; SURGERY; IDENTIFICATION
    • A61B34/00Computer-aided surgery; Manipulators or robots specially adapted for use in surgery
    • A61B34/30Surgical robots
    • A61B34/37Leader-follower robots
    • AHUMAN NECESSITIES
    • A61MEDICAL OR VETERINARY SCIENCE; HYGIENE
    • A61BDIAGNOSIS; SURGERY; IDENTIFICATION
    • A61B34/00Computer-aided surgery; Manipulators or robots specially adapted for use in surgery
    • A61B34/70Manipulators specially adapted for use in surgery
    • AHUMAN NECESSITIES
    • A61MEDICAL OR VETERINARY SCIENCE; HYGIENE
    • A61GTRANSPORT, PERSONAL CONVEYANCES, OR ACCOMMODATION SPECIALLY ADAPTED FOR PATIENTS OR DISABLED PERSONS; OPERATING TABLES OR CHAIRS; CHAIRS FOR DENTISTRY; FUNERAL DEVICES
    • A61G13/00Operating tables; Auxiliary appliances therefor
    • A61G13/02Adjustable operating tables; Controls therefor
    • AHUMAN NECESSITIES
    • A61MEDICAL OR VETERINARY SCIENCE; HYGIENE
    • A61BDIAGNOSIS; SURGERY; IDENTIFICATION
    • A61B17/00Surgical instruments, devices or methods
    • A61B17/00234Surgical instruments, devices or methods for minimally invasive surgery
    • AHUMAN NECESSITIES
    • A61MEDICAL OR VETERINARY SCIENCE; HYGIENE
    • A61BDIAGNOSIS; SURGERY; IDENTIFICATION
    • A61B18/00Surgical instruments, devices or methods for transferring non-mechanical forms of energy to or from the body
    • A61B2018/00636Sensing and controlling the application of energy
    • A61B2018/00898Alarms or notifications created in response to an abnormal condition
    • AHUMAN NECESSITIES
    • A61MEDICAL OR VETERINARY SCIENCE; HYGIENE
    • A61BDIAGNOSIS; SURGERY; IDENTIFICATION
    • A61B34/00Computer-aided surgery; Manipulators or robots specially adapted for use in surgery
    • A61B34/20Surgical navigation systems; Devices for tracking or guiding surgical instruments, e.g. for frameless stereotaxis
    • A61B2034/2046Tracking techniques
    • A61B2034/2059Mechanical position encoders

Landscapes

  • Health & Medical Sciences (AREA)
  • Engineering & Computer Science (AREA)
  • Life Sciences & Earth Sciences (AREA)
  • Surgery (AREA)
  • Robotics (AREA)
  • Public Health (AREA)
  • Biomedical Technology (AREA)
  • Animal Behavior & Ethology (AREA)
  • General Health & Medical Sciences (AREA)
  • Veterinary Medicine (AREA)
  • Heart & Thoracic Surgery (AREA)
  • Medical Informatics (AREA)
  • Molecular Biology (AREA)
  • Nuclear Medicine, Radiotherapy & Molecular Imaging (AREA)
  • Manipulator (AREA)
  • Accommodation For Nursing Or Treatment Tables (AREA)

Description

関連出願
本開示は、2014年10月27日に出願された、”System and Method for Integrated Operating Table”という標題の米国仮特許出願第62/069,245号、及び2015年3月17日に出願された、”System and Method for Monitoring Control Points During Reactive Motion”という標題の米国仮特許出願第62/134,252号について優先権を主張するものであり、これら両文献は、それら全体が参照により本明細書に組み込まれる。
本開示は、概して、関節式アームを有する装置の動作に関し、より詳細には、反応動作中に制御点を監視することに関する。
益々多くの装置が、自律的な及び半自律的な電子装置に置き換えられている。これは、自律的な及び半自律的な電子装置の大型アレイが、手術室、介入処置室、集中治療室、救急処置室等で見受けられるような、今日の病院に特に当てはまる。例えば、ガラス体温計や水銀体温計が、電子体温計に置き換えられ、点滴ラインには、現在、電子監視装置や流れ調整器が含まれ、従来のハンドヘルド式手術用器具は、コンピュータ支援医療装置に置き換えられている。
これらの電子装置は、それら電子装置を操作する従事者に利点と課題との両方を与える。これらの電子装置の多くは、1つ又は複数の関節式アーム及び/又はエンドエフェクタの自律的な又は半自律的な動作を可能にする。これらの1つ又は複数の関節式アーム及び/又はエンドエフェクタは、それぞれ、関節式アーム及び/又はエンドエフェクタの動作をサポートするリンク及び関節接合式関節の組合せを含む。多くの場合、関節接合式関節は、対応する関節式アームのリンク及び関節接合式関節の先端部に位置する対応する器具の所望の位置及び/又は向き(総称して、所望の姿勢という)を得るように操作される。器具の基端側にある関節接合式関節の各々には、対応する器具の位置及び/又は向きを操作するために使用され得る、少なくとも1つの自由度を有する対応する関節式アームが設けられる。多くの場合、対応する関節式アームは、対応する器具のx、y、及びz位置だけでなく、対応する器具のロール、ピッチ、及びヨーの向きを制御可能にする少なくとも6つの自由度を含むことができる。各関節式アームは、遠隔の運動中心をさらに提供することができる。場合によっては、電子装置の他の部分の動きを追跡するために、1つ又は複数の関節式アーム及び対応する遠隔の運動中心又は関節式アーム上の他の点を動かすことができる。例えば、器具が外科的処置中に患者の切開部位又は身体オリフィス等の身体開口部に挿入され、且つ患者が置かれた手術台が動いているときに、関節式アームにとって、身体開口部の位置の変化に対して器具の位置を調整できることは重要である。関節式アームの設計及び/又は実装に応じて、患者の身体開口部は、関節式アームの遠隔の運動中心に対応する可能性がある。
1つ又は複数の関節式アームのそれぞれがその下にある動きを追跡するとき、対応する関節式アーム及び/又は電子装置の他の部分は、身体開口部内での動きを補償しようとする。関節式アームが身体開口点の動きを完全に補償できない場合に、望ましくない結果及び/又は安全でない結果が生じる可能性がある。切開点の動きに伴うこの適合性の欠如は、患者への損傷、関節式アームへの損害、及び/又は他の望ましくない結果を生じさせ得る。
従って、身体開口部等の制御点の下にある動きを補償するために、関節式アームの能力を監視することが望ましいであろう。
いくつかの実施形態と一致して、コンピュータ支援医療装置は、各々が制御点を有する1つ又は複数の関節式アームと、1つ又は複数の関節式アームに結合される制御ユニットとを含む。1つ又は複数の関節式アーム及び対応する制御点は、手術台の運動を追跡するように構成される。制御ユニットは、手術台の運動中に1つ又は複数の制御点の予想される空間構成を決定し、手術台の運動中に1つ又は複数の制御点の実際の空間構成を決定し、及び予想される空間構成と実際の空間構成との間の差を決定することにより、1つ又は複数の制御点の空間構成を監視する。
いくつかの実施形態と一致して、コンピュータ支援医療装置の1つ又は複数の制御点の空間構成を監視する方法は、手術台の運動中に1つ又は複数の制御点の予想される空間構成を決定するステップと、手術台の運動中に1つ又は複数の制御点の実際の空間構成を決定するステップと、予想される空間構成と実際の空間構成との間の差異を決定するステップとを含む。1つ又は複数の制御点は、1つ又は複数の関節式アームに対応し、且つ手術台の運動を追跡するように構成される。
いくつかの実施形態と一致して、非一時的な機械読取り可能媒体は、複数の機械可読命令を含み、この命令は、医療装置に関連付けられた1つ又は複数のプロセッサによって実行されると、1つ又は複数のプロセッサに、方法を実行するように適合される。この方法は、手術台の運動中に1つ又は複数の制御点の予想される空間構成を決定することと、手術台の運動中に1つ又は複数の制御点の実際の空間構成を決定することと、予想される空間構成と実際の空間構成との差を決定することと、を含む。1つ又は複数の制御点は、1つ又は複数の関節式アームに対応し、且つ手術台の運動を追跡するように構成される。
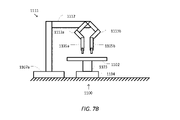
いくつかの実施形態によるコンピュータ支援システムの概略図である。 いくつかの実施形態によるコンピュータ支援システムを示す概略図である。 いくつかの実施形態によるコンピュータ支援医療システムの運動学的モデルの概略図である。 いくつかの実施形態による、テーブルの移動中の1つ又は複数の制御点を監視する方法の概略図である。 いくつかの実施形態による、高さモードのみでのテーブルの移動中の制御点位置の概略図である。 いくつかの実施形態による回転式テーブルの移動中の制御点群の概略図である。 本明細書に記載の統合型コンピュータ支援装置及び可動式手術台の特徴を組み込んだ様々なコンピュータ支援装置システムアーキテクチャを示す簡略化された概略図である。 本明細書に記載の統合型コンピュータ支援装置及び可動式手術台の特徴を組み込んだ様々なコンピュータ支援装置システムアーキテクチャを示す簡略化された概略図である。 本明細書に記載の統合型コンピュータ支援装置及び可動式手術台の特徴を組み込んだ様々なコンピュータ支援装置システムアーキテクチャを示す簡略化された概略図である。 本明細書に記載の統合型コンピュータ支援装置及び可動式手術台の特徴を組み込んだ様々なコンピュータ支援装置システムアーキテクチャを示す簡略化された概略図である。 本明細書に記載の統合型コンピュータ支援装置及び可動式手術台の特徴を組み込んだ様々なコンピュータ支援装置システムアーキテクチャを示す簡略化された概略図である。 本明細書に記載の統合型コンピュータ支援装置及び可動式手術台の特徴を組み込んだ様々なコンピュータ支援装置システムアーキテクチャを示す簡略化された概略図である。 本明細書に記載の統合型コンピュータ支援装置及び可動式手術台の特徴を組み込んだ様々なコンピュータ支援装置システムアーキテクチャを示す簡略化された概略図である。
図面において、同一の記号表示を有する要素は、同一又は同様の機能を有する。
以下の詳細な説明では、本開示に一致するいくつかの実施形態を説明する具体的な詳細について記載する。しかしながら、いくつかの実施形態は、これらの特定の詳細の一部又は全てを用いずに実施できることは、当業者には明らかであろう。本明細書に開示された特定の実施形態は、例示することを意図しており、限定するものではない。当業者は、ここでは特に説明しない、本開示の範囲及び精神の範囲内にある他の要素を実現し得る。また、不必要な繰返しを避けるために、一実施形態に関連して図示し且つ説明した1つ又は複数の特徴は、他に特に明記しない限り或いは1つ又は複数の特徴が実施形態を機能しないものにしない限り、他の実施形態に組み込むことができる。用語「~を含む、有する(including)」は、目的語となるものを含むが、その含むもの自体に限定されるものではないことを意味し、含まれる1つ又は複数の個々のアイテムのそれぞれは、特に断りのない限り、オプションであるとみなすべきである。同様に、用語「~してもよい、~ことができる、~する可能性がある(し得る)(may)」は、アイテムがオプションであることを示す。
図1は、いくつかの実施形態によるコンピュータ支援システム100の概略図である。図1に示されるように、コンピュータ支援システム100は、1つ又は複数の可動式又は関節式アーム120を有する装置110を含む。1つ又は複数の関節式アーム120のそれぞれは、1つ又は複数のエンドエフェクタを支持する。いくつかの例では、装置110は、コンピュータ支援手術用装置と一致してもよい。1つ又は複数の関節式アーム120は、それぞれ、関節式アーム120のうちの少なくとも1つの先端部に取り付けられた1つ又は複数の器具、手術用器具、撮像装置等の支持を提供する。装置110をオペレータワークステーション(図示せず)にさらに結合してもよく、そのワークステーションは、装置110、1つ又は複数の関節式アーム120、及び/又はエンドエフェクタを動作させるための1つ又は複数のマスター制御部を含むことができる。いくつかの実施形態では、装置110及びオペレータワークステーションは、カリフォルニア州サニーベールのIntuitive Surgical, Inc.によって市販されているda Vinci(登録商標)手術システムに対応してもよい。いくつかの実施形態では、オプションで、他の構成、より少ない又はより多い関節式アーム等を含むコンピュータ支援手術用装置を、コンピュータ支援システム100と共に使用してもよい。
装置110は、インターフェイスを介して制御ユニット130に結合される。インターフェイスは、1つ又は複数の無線リンク、ケーブル、コネクタ、及び/又はバスを含んでもよく、且つ1つ又は複数のネットワーク・スイッチング及び/又はルーティング装置を含む1つ又は複数のネットワークをさらに含んでもよい。制御ユニット130は、メモリ150に結合されたプロセッサ140を含む。制御ユニット130の動作は、プロセッサ140によって制御される。1つのみのプロセッサ140を含む制御ユニット130が示されているが、プロセッサ140は、制御ユニット130内の1つ又は複数の中央処理装置、マルチコアプロセッサ、マイクロプロセッサ、マイクロコントローラ、デジタル信号プロセッサ、フィールドプログラマブル・ゲートアレイ(FPGA)、特定用途向け集積回路(ASIC)等であってもよいことが理解される。制御ユニット130は、コンピュータ装置に追加されたスタンドアロン型のサブシステム及び/又はボード、或いは仮想マシンとして実現してもよい。いくつかの実施形態では、制御ユニットは、オペレータワークステーションの一部として含まれてもよく、及び/又はオペレータワークステーションとは別個に動作してもよいが、オペレータワークステーションと協調して動作することができる。
メモリ150は、制御ユニット130によって実行されるソフトウェア及び/又は制御ユニット130の動作中に使用される1つ又は複数のデータ構造を格納するために使用される。メモリ150は、1つ又は複数のタイプの機械可読媒体を含んでもよい。機械可読媒体のいくつかの一般的な形態は、フロッピー(登録商標)ディスク、フレキシブルディスク、ハードディスク、磁気テープ、他の磁気媒体、CD-ROM、他の光媒体、パンチカード、紙テープ、ホール(holes)パターンを含む他の物理的媒体、RAM、PROM、EPROM、FLASH-EPROM、他のメモリチップ又はカートリッジ、及び/又はプロセッサ又はコンピュータが読み取るように適合された他の媒体を含むことができる。
図示されるように、メモリ150は、装置110の自律的な及び/又は半自律的な制御をサポートする動作制御アプリケーション160を含む。動作制御アプリケーション160は、装置110から位置、動作、及び/又は他のセンサ情報を受信し、位置、動作、及び/又は衝突回避情報を手術台及び/又は撮像装置等の他の装置に関する他の制御ユニットと交換し、及び/又は、装置110、装置110の関節式アーム120及び/又はエンドエフェクタ125の動作を計画し及び/又はこの計画を支援するための1つ又は複数のアプリケーション・プログラミング・インターフェイス(API)を含むことができる。動作制御アプリケーション160が、ソフトウエア・アプリケーションとして示されているが、動作制御アプリケーション160は、ハードウェア、ソフトウェア、及び/又はハードウェアとソフトウェアとの組合せを用いて実現してもよい。
いくつかの実施形態では、コンピュータ支援システム100は、手術室及び/又は介入処置室内に見出すことができる。コンピュータ支援システム100は、2つの関節式アーム120を有する1つの装置110のみを含むが、当業者であれば、コンピュータ支援システム100は、装置100と同様の及び/又は装置100とは異なる関節式アーム及び/又はエンドエフェクタを有する任意数の装置を含むことができることを理解するだろう。いくつかの例では、各装置は、これより少ない又はより多い関節式アーム及び/又はエンドエフェクタを含んでもよい。
コンピュータ支援システム100は、手術台170をさらに含む。1つ又は複数の関節式アーム120と同様に、手術台170は、手術台170のベースに対するテーブル面(table top)180の関節運動をサポートする。いくつかの例では、テーブル面180の関節運動は、テーブル面180の高さ、傾斜、スライド、トレンデレンバーグ(Trendelenburg)向き等を変更するためのサポートを含むことができる。図示されていないが、手術台170は、テーブル面180の位置及び/又は向きを制御する手術台命令ユニット等の1つ又は複数の制御入力部を含んでもよい。いくつかの実施形態では、手術台170は、ドイツのTrumpf Medical Systems GmbHによって市販されている1つ又は複数の手術台に対応してもよい。
手術台170は、対応するインターフェイスを介して制御ユニット130にも結合される。インターフェイスは、1つ又は複数の無線リンク、ケーブル、コネクタ、及び/又はバスを含んでもよく、且つ1つ又は複数のネットワーク・スイッチング及び/又はルーティング装置を含む1つ又は複数のネットワークをさらに含んでもよい。いくつかの実施形態では、手術台170は、制御ユニット130とは異なる制御ユニットに結合してもよい。いくつかの例では、動作制御アプリケーション160は、手術台170及び/又はテーブル面180に関連する位置、動作、及び/又は他のセンサ情報を受信するための1つ又は複数のアプリケーション・プログラミング・インターフェイス(API)を含むことができる。いくつかの例では、動作制御アプリケーション160は、手術台170及び/又はテーブル面180の動きを計画し及び/又はこの計画を支援することができる。いくつかの例では、動作制御アプリケーション160は、衝突回避に関連する動作計画に関与することができ、関節及びリンクの可動域の制限、関節式アーム、器具、エンドエフェクタ、手術台構成要素の運動に適応及び/又は回避して関節式アーム、器具、エンドエフェクタ、手術台構成要素等の他の動作を補償し、内視鏡等の表示装置を調整して関心領域及び/又は1つ又は複数の器具又はエンドエフェクタを表示装置の視野内に維持及び/又は配置する。いくつかの例では、動作制御アプリケーション160は、手術台命令ユニットの使用によって手術台170及び/又はテーブル面180の動きを阻止する等して、手術台170及び/又はテーブル面180の動作を阻止することができる。いくつかの例では、動作制御アプリケーション160は、装置110と手術台170との間の幾何学的関係が分かるように、装置110を手術台170に位置合わせするのを補助することができる。いくつかの例では、幾何学的関係は、装置110及び手術台170に対して維持される座標フレーム(coordinate frame)同士間の並進及び/又は1つ又は複数の回転を含むことができる。
図2は、いくつかの実施形態によるコンピュータ支援システム200を示す概略図である。例えば、コンピュータ支援システム200は、コンピュータ支援システム100と一致してもよい。図2に示されるように、コンピュータ支援システム200は、1つ又は複数の関節式アームを有するコンピュータ支援装置210と手術台280とを含む。図2には示されていないが、コンピュータ支援装置210及び手術台280は、1つ又は複数のインターフェイス及び1つ又は複数の制御ユニットを用いて一緒に結合され、それによって手術台280に関する少なくとも運動学的情報を、動作制御アプリケーションが知り、その情報を使用して、コンピュータ支援装置210の関節式アームの動作を実行する。
コンピュータ支援装置210は、様々なリンク及び関節を含む。図2の実施形態では、コンピュータ支援装置は、一般的に、3つの異なるセットのリンク及び関節に分割される。基端部側の移動カート215又は患者側カート215で始まるのは、セットアップ構造220である。セットアップ構造の先端部には、関節式アームを形成する一連のリンク及びセットアップ関節240が結合される。マルチ関節式マニピュレータ260が、セットアップ関節240の先端部に結合される。いくつかの例では、一連のセットアップ関節240及びマニピュレータ260は、関節式アーム120のうちの1つに対応することができる。1つの一連のセットアップ関節240及び対応するマニピュレータ260のみを有するコンピュータ支援装置が示されているが、当業者は、コンピュータ支援装置が、複数の一連のセットアップ関節240及び対応するマニピュレータ260を含むことができ、コンピュータ支援装置に複数の関節式アームが装備されることを理解するであろう。
図示されるように、コンピュータ支援装置210は、移動カート215に取り付けられる。移動カート215によって、コンピュータ支援装置を手術台280に近接してより良く位置付けするために、コンピュータ支援装置210を手術室同士の間で又は手術室内等のある位置から別の位置へ移すことを可能にする。セットアップ構造220は、移動カート215に取り付けられる。図2に示されるように、セットアップ構造220は、カラム(column)リンク221及び222を含む2つの部分から構成されるカラムを含む。カラムリンク222の上端又は先端部には、肩関節223が結合される。肩関節223には、ブームリンク224及び225を含む2つの部分から構成されるブームが結合される。ブームリンク225の先端部には、手首関節226があり、この手首関節226には、アーム取付けプラットフォーム227が結合される。
セットアップ構造220のリンク及び関節は、アーム取付けプラットフォーム227の位置及び向き(すなわち、姿勢)を変更するための様々な自由度を含む。例えば、2つの部分から構成されるカラムは、肩関節223を軸線232に沿って上下に動かすことにより、アーム取付けプラットフォーム227の高さを調整するために使用される。アーム取付けプラットフォーム227は、肩関節223を用いて移動カート215、2つの部分から構成されるカラム、及び軸線232の周りでさらに回転される。アーム取付けプラットフォーム227の水平位置は、2つの部分から構成されるブームを用いて軸線234に沿って調整される。また、アーム取付けプラットフォーム227の向きは、手首関節226を用いてアーム取付けプラットフォームの向き軸線236の周りに回転させることによって調整してもよい。こうして、セットアップ構造220内のリンク及び関節の動作制限に応じて、アーム取付けプラットフォーム227の位置は、2つの部分から構成されるカラムを用いて、移動カート215の上で垂直方向に調整することができる。アーム取付けプラットフォーム227の位置は、2つの部分から構成されるブーム及び肩関節223をそれぞれ用いて、移動カート215の周りに半径方向及び角度方向に調整することもできる。また、アーム取付けプラットフォーム227の角度姿勢は、手首関節226を用いて変更することもできる。
アーム取付けプラットフォーム227は、1つ又は複数の関節式アームの取付け点として使用される。アーム取付けプラットフォーム227の移動カート215の周りでの高さ、水平位置、及び向きを調整する能力は、手術又は処置が行われる、移動カート215の近くに位置する作業スペースの周りに1つ又は複数の関節式アームを位置付け及び向き合せするためのフレキシブルなセットアップ構造を提供する。例えば、様々な関節式アーム及びこれらの対応するマニピュレータ及び器具が外科的処置を患者に行うのに十分な可動域を有するように、アーム取付けプラットフォーム227を患者の上に位置付けすることができる。図2は、第1のセットアップ関節242を用いてアーム取付けプラットフォーム227に結合された単一の関節式アームを示す。1つの関節式アームのみが示されているが、当業者であれば、追加の第1のセットアップ関節を用いて、複数の関節式アームをアーム取付けプラットフォームに結合してもよいことを理解するだろう。
第1のセットアップ関節242は、関節式アームのセットアップ関節240のセクションの最も基端側部分を形成する。セットアップ関節240は、一連の関節及びリンクをさらに含むことができる。図2に示されるように、セットアップ関節240は、1つ又は複数の関節(明示的には図示せず)を介して結合された少なくともリンク244及び246を含む。セットアップ関節240の関節及びリンクは、第1のセットアップ関節242を用いて、アーム取付けプラットフォーム227に対してセットアップ関節240を軸線252の周りに回転させ、第1のセットアップ関節242とリンク246との間の半径方向及び水平方向の距離を調整し、リンク246の先端部におけるアーム取付けプラットフォーム227に対するマニピュレータ取付け部262の高さを軸線254に沿って調整し、マニピュレータ取付け部262を軸線254の周りに回転させる能力を含む。いくつかの例では、セットアップ関節240は、アーム取付けプラットフォーム227に対するマニピュレータ取付け部262の姿勢を変更するために、追加の自由度を可能にする追加の関節、リンク、及び軸をさらに含むことができる。
マニピュレータ260は、マニピュレータ取付け部262を介してセットアップ関節240の先端部に結合される。マニピュレータ260は、マニピュレータ260の先端部に取り付けられた器具キャリッジ268を有する追加の関節264及びリンク266を含む。器具270が、器具キャリッジ268に取り付けられる。器具270は、挿入軸線に沿って整列されたシャフト272を含む。シャフト272は、典型的には、マニピュレータ260に関連する遠隔の運動中心274を通過するように整列される。遠隔の運動中心274の位置は、典型的には、マニピュレータ取付け部262に対して固定された並進関係に維持され、マニピュレータ260内の関節264の動作は、遠隔の運動中心274の周りでシャフト272の回転を生じさせる。実施形態に応じて、マニピュレータ取付け部262に対する遠隔の運動中心274の固定された並進関係は、マニピュレータ260の関節264及びリンク266の物理的な制約を用いて、関節264に許容される動作に行われるソフトウェア制約、及び/又はこれら両方の組合せを用いて、維持される。関節及びリンクの物理的な制約を用いて維持された遠隔の運動中心を使用するコンピュータ支援手術装置の代表的な実施形態は、2013年5月13日に出願された、”Redundant Axis and Degree of Freedom for Hardware-Constrained Remote Center Robotic Manipulator”という標題の米国特許出願第13/906,888号に記載されており、及びソフトウェア制約によって維持された遠隔の運動中心を使用するコンピュータ支援手術装置の代表的な実施形態は、2005年5月19日に出願された、”Software Center and Highly Configurable Robotic Systems for Surgery and Other Uses”という標題の米国特許第8,004,229号に記載されており、これらの明細書はその全体が参照により本明細書に組み込まれる。いくつかの例では、遠隔の運動中心274は、シャフト272が患者278の体内に挿入される、患者278の切開部位又は身体オリフィス等の身体開口部の位置に対応してもよい。遠位の運動中心274が身体開口部に対応しているので、器具270が使用されるとき、遠隔の運動中心274は患者278に対して静止したままであり、遠隔の運動中心274での患者278の解剖学的構造へのストレスを制限する。いくつかの例では、シャフト272は、オプションで、身体開口部に位置するカニューレ(図示せず)を通過してもよい。いくつかの例では、比較的大きなシャフト又はガイドチューブの外径(例えば、4~5mm以上)を有する器具は、カニューレを用いて身体開口部を通過させてもよいが、カニューレは、オプションで、比較的小さなシャフト及びガイドチューブの外径(例えば、2~3mm以下)を有する器具では省略してもよい。
シャフト272の先端部には、エンドエフェクタ276がある。関節264及びリンク266によるマニピュレータ260の自由度によって、マニピュレータ取付け部262に対するシャフト272及び/又はエンドエフェクタ276の少なくともロール、ピッチ及びヨーの制御を可能にする。いくつかの例では、マニピュレータ260の自由度は、器具キャリッジ268を用いてシャフト272を前進及び/又は後退させる能力をさらに含むことができ、それによってエンドエフェクタ276を、挿入軸線に沿って且つ遠隔の運動中心274に対して前進及び/又は後退させることができる。いくつかの例では、マニピュレータ260は、カリフォルニア州サニーベールのIntuitive Surgical, Inc.によって市販されているda Vinci(登録商標)手術システムと共に使用するためのマニピュレータと一致してもよい。いくつかの例では、器具270は、内視鏡等の撮像装置、把持器、焼灼器具又は手術用メス等の手術用器具であってもよい。いくつかの例では、エンドエフェクタ276は、ロール、ピッチ、ヨー、把持等の追加の自由度を含むことができ、この追加の自由度によって、シャフト272の先端部に対するエンドエフェクタ276の部分の更なる局所的な操作を可能にする。
手術又は他の医療処置中に、患者278は、通常、手術台280上に配置される。手術台280は、テーブルベース282及びテーブル面284を含み、テーブルベース282が移動カート215に近接して位置する状態で、器具270及び/又はエンドエフェクタ276がコンピュータ支援装置210によって操作される一方、器具270のシャフト272が身体開口部で患者278内に挿入される。手術台280は、テーブルベース282とテーブル面284との間に1つ又は複数の関節又はリンクを含む関節式構造290をさらに含み、それによってテーブルベース282に対するテーブル面284、つまり患者278の相対位置が制御される。いくつかの例では、関節式構造290は、テーブル面284が、テーブル面284の上の点に位置し得る仮想的に規定されるテーブル動作のアイソセンタ286に対して制御されるように構成してもよい。いくつかの例では、アイソセンタ286は、患者278の内部に位置してもよい。いくつかの例では、アイソセンタ286は、遠隔の運動中心274に対応する身体開口部位等の身体開口部のうちの1つで又はこの近くで、患者の身体壁と共に配置してもよい。
図2に示されるように、関節式構造290は、テーブル面284がテーブルベース282に対して上昇及び/又は下降できるように高さ調整関節292を含む。関節式構造290は、アイソセンタ286に対するテーブル面284の傾斜294とトレンデレンブルグ(Trendelenburg)姿勢296との両方を変更させる関節及びリンクをさらに含む。傾斜294によって、テーブル面284が左右に傾いて、患者278の右側又は左側のいずれかが、患者278の他方の側に対して上方に回転する(すなわち、テーブル面284の長手方向又は頭部からつま先(頭蓋から尾骨)の軸線の周りに回転する)。トレンデレンブルグ296によって、患者278の足を持ち上げる(トレンデレンブルグ)か、又は患者278の頭部を持ち上げる(逆トレンデレンブルグ)ようにテーブル面284を回転させる。いくつかの例では、傾斜294及び/又はトレンデレンブルグ回転296のいずれかを調整して、アイソセンタ286の周りの回転を生じさせることができる。関節式構造290は、図2に示されるような概ね左及び/又は右の動作でテーブルベース282に対してテーブル面284を長手方向(頭蓋から尾骨)の軸線に沿って摺動させる追加のリンク及び関節298をさらに含む。
図7A~図7Gは、本明細書に記載される統合型コンピュータ支援装置及び可動式手術台の特徴を組み込んだ様々なコンピュータ支援装置システムアーキテクチャを示す簡略化された概略図である。様々な図示されるシステム構成要素は、本明細書に記載される原理に従う。これらの図では、明瞭化のために構成要素が簡略化されており、個々のリンク、関節、マニピュレータ、器具、エンドエフェクタ等の様々な詳細が示されていないが、これら様々な詳細は、図示された様々な構成要素に組み込まれていると理解すべきである。
これらのアーキテクチャでは、1つ又は複数の手術用器具又は器具のクラスタに関連するカニューレは示されていないが、カニューレ及び他の器具ガイド装置は、比較的大きなシャフト又はガイドチューブの外径(例えば、4~5mm以上)を有する器具又は器具クラスタに使用することができるが、オプションとして、比較的小さいシャフト又はガイドチューブの外径(例えば、2~3mm以下)を有する器具では省略してもよい。
これらのアーキテクチャにおいても、遠隔操作可能なマニピュレータは、手術中に、ハードウェア制約(例えば、交差して固定した器具のピッチ、ヨー、及びロールの軸線)又はソフトウェア制約(例えば、ソフトウェアによって制約された交差する機器のピッチ、ヨー、及びロール軸線)を用いて遠隔の運動中心を規定するマニピュレータを含むと理解すべきである。そのような器具の回転軸線のハイブリッド(例えば、ハードウェア制約によるロール軸線及びソフトウェア制約によるピッチ及びヨー軸線)を規定することもできる。さらに、いくつかのマニピュレータは、処置中に手術用器具の回転軸線を規定し且つ制約しない場合があり、いくつかのマニピュレータは、処置中に器具の1つ又は2つの回転軸線のみを規定し且つ拘束する場合がある。
図7Aは、可動式手術台1100を示しており、単一の器具コンピュータ支援装置1101aが示されている。手術台1100は、可動式テーブル面1102と、このテーブル面1102を先端部で支持するために、機械的に接地されたテーブルベース1104から延びるテーブル支持構造1103とを含む。いくつかの例では、手術台1100は、手術台170及び/又は280と一致してもよい。コンピュータ支援装置1101aは、遠隔操作可能なマニピュレータ及び単一の器具アセンブリ1105aを含む。コンピュータ支援装置1101aは、基端側ベース1107aに機械的に接地され、且つマニピュレータ及び器具アセンブリ1105aを先端部で支持するように延びる支持構造1106aも含む。支持構造1106aは、アセンブリ1105aが手術台1100に対して移動し且つ様々な固定姿勢で保持されることを可能にするように構成される。ベース1107aは、オプションで、手術台1100に対して恒久的に固定される又は移動可能である。手術台1100及びコンピュータ支援装置1101aは、本明細書に記載されるように一緒に動作する。
図7Aは、2つ、3つ、4つ、5つ、又はそれ以上の個々のコンピュータ支援装置を含み得ることを示すオプションの第2のコンピュータ支援装置1101bをさらに示しており、各装置が、対応する支持構造1106bによって支持された対応する個々の遠隔操作可能なマニピュレータ及び単一の器具アセンブリ(複数可)1105bを含む。コンピュータ支援装置1101bは、機械的に接地され、アセンブリ1105bは、コンピュータ支援装置1101aと同様の姿勢を取る。手術台1100及びコンピュータ支援装置1101a及び1101bは、マルチ器具手術システムを一緒に構成し、且つ本明細書に記載されるように一緒に動作する。いくつかの例では、コンピュータ支援装置1101a及び/又は1101bは、コンピュータ支援装置110及び/又は210と一致してもよい。
図7Bに示されるように、別の可動式手術台1100及びコンピュータ支援装置1111が示される。コンピュータ支援装置1111は、代表的なマニピュレータ及び器具アセンブリ1105a及び1105bによって示されるように、2つ、3つ、4つ、5つ又はそれ以上の個々の遠隔操作可能なマニピュレータ及び単一の器具アセンブリを含むマルチ器具装置である。コンピュータ支援装置1111のアセンブリ1105a及び1105bは、手術台1100に対してアセンブリ1105a及び1105bをグループとして一緒に移動させ且つ姿勢を取らせることを可能にする組合せ支持構造1112によって支持される。コンピュータ支援装置1111のアセンブリ1105a及び1105bは、対応する個々の支持構造1113a及び1113bによってそれぞれ支持されており、これら支持構造によって、各アセンブリ1105a及び1105bが、手術台1100及び1つ又は複数の他のアセンブリ1105a及び1105bに対して個別に移動され且つ姿勢を取ることを可能にする。このようなマルチ器具手術システムアーキテクチャの例は、Intuitive Surgical, Inc.によって市販されているda Vinci Si(登録商標)手術システム及びda Vinci Xi(登録商標)手術システムである。手術台1100及び例示的なコンピュータ支援装置1111を含む手術マニピュレータシステムは、本明細書に記載されるように一緒に動作する。いくつかの例では、コンピュータ支援装置1111は、コンピュータ支援装置110及び/又は210と一致する。
図7A及び図7Bのコンピュータ支援装置は、それぞれ、床に機械的に接地された状態で示されている。しかし、1つ又は複数のこのようなコンピュータ支援装置は、オプションで、壁又は天井に機械的に接地され、そのような壁又は天井の接地部に対して恒久的に固定又は移動可能である。いくつかの例では、コンピュータ支援装置は、コンピュータ支援システムの支持ベースを手術台に対して移動させることが可能なトラック又はグリッドシステムを用いて、壁又は天井に取り付けることができる。いくつかの例では、1つ又は複数の固定又は着脱可能な取付けクランプを用いて、それぞれの支持ベースをトラック又はグリッドシステムに取り付けることができる。図7Cに示されるように、コンピュータ支援装置1121aは、壁に機械的に接地され、コンピュータ支援装置1121bは、天井に機械的に接地される。
さらに、コンピュータ支援装置は、可動式手術台1100を介して間接的に機械的に接地してもよい。図7Dに示されるように、コンピュータ支援装置1131aは、手術台1100のテーブル面1102に結合される。コンピュータ支援装置1131aは、図7Dに示される破線の構造によって表されるように、オプションで、テーブル支持構造1103又はテーブルベース1104等の手術台1100の他の部分に結合してもよい。テーブル面1102がテーブル支持構造1103又はテーブルベース1104に対して移動すると、コンピュータ支援装置1131aも同様にテーブル支持構造1103又はテーブルベース1104に対して移動する。しかしながら、コンピュータ支援装置1131aがテーブル支持構造1103又はテーブルベース1104に結合される場合に、コンピュータ支援装置1131aのベースは、テーブル面1102が移動する際に、地面に対して固定したままである。テーブルの動作が発生すると、患者の身体が動いてテーブル面1102に対する身体開口部の位置を変化させるため、器具が患者の体内に挿入される身体開口部も同様に動き得る。従って、コンピュータ支援装置1131aがテーブル面1102に結合される実施形態について、テーブル面1102は、局所的な機械的接地として機能し、身体開口部は、テーブル面1102に対して移動し、それによって、コンピュータ支援装置1131aに対して同様に移動する。図7Dは、第2のコンピュータ支援装置1131bがオプションで追加され、コンピュータ支援装置1131aと同様に構成され、マルチ器具システムを形成することも示す。手術台に結合された1つ又は複数のコンピュータ支援装置を含むシステムは、本明細書に開示されるように動作する。
いくつかの実施形態では、同じ又はハイブリッドの機械的接地部を含むコンピュータ支援装置の他の組合せも可能である。例えば、システムは、床に機械的に接地された1つのコンピュータ支援装置と、手術台を介して床に機械的に接地された第2のコンピュータ支援装置とを含むことができる。このようなハイブリッドの機械的接地システムは、本明細書で開示されるように動作する。
本発明の態様は、2つ以上の手術用器具が単一の身体開口部を介して身体に入る単一の身体開口システムを含む。このようなシステムの例は、2010年8月12日に出願された、”Surgical System Instrument Mounting”という標題の米国特許第8,852,208号、及び2007年6月13日に出願された、”Minimally Invasive Surgical System”という標題の米国特許第9,060,678号に示されており、これら両文献は参照により組み込まれる。図7Eは、上述したような手術台1100と一緒の遠隔操作可能なマルチ器具コンピュータ支援装置1141を示す。2つ以上の器具1142が、それぞれ対応するマニピュレータ1143に結合され、器具1142のクラスタ及び器具マニピュレータ1143がシステムマニピュレータ1144によって一緒に移動される。システムマニピュレータ1144は、システムマニピュレータ1144を移動させ様々な姿勢に固定することが可能な支持アセンブリ1145によって支持される。支持アセンブリ1145は、上記の説明と一致するベース1146に機械的に接地される。2つ以上の器具1142は、単一の身体開口部で患者の体内に挿入される。オプションで、器具1142は、単一のガイドチューブを通って一緒に延びており、このガイドチューブは、上記で引用した参考文献に記載されているように、カニューレを通って延びる。コンピュータ支援装置1141及び手術台1100は、本明細書に記載されるように一緒に動作する。
図7Fは、オプションで、テーブル面1102、テーブル支持構造1103、又はテーブルベース1104に結合されることによって、手術台1100を介して機械的に接地された別のマルチ器具の単一の身体開口コンピュータ支援装置1151を示す。図7Dを参照して上述した説明は、図7Fに示される機械的な接地オプションにも適用される。コンピュータ支援装置1151及び手術台1100は、本明細書に記載されるように一緒に動作する。
図7Gは、1つ又は複数の遠隔操作可能なマルチ器具、単一の身体開口コンピュータ支援装置1161、及び1つ又は複数の遠隔操作可能な単一の器具コンピュータ支援装置1162を組み合わせて、本明細書に記載されるように手術台1100と一緒に動作させてもよいことを示す。コンピュータ支援装置1161及び1162の各々は、上述したように様々な方法で、直接的に又は別の構造を介して機械的に接地してもよい。
図3は、いくつかの実施形態によるコンピュータ支援医療システムの運動学的モデル300の概略図である。図3に示されるように、運動学的モデル300は、多くのソース及び/又は装置に関連する運動学的情報を含むことができる。運動学的情報は、コンピュータ支援医療装置及び手術台のリンク及び関節についての既知の運動学的モデルに基づくものである。運動学的情報は、コンピュータ支援医療装置及び手術台の関節の位置及び/又は向きに関連する情報にさらに基づくものである。いくつかの例では、関節の位置及び/又は向きに関連する情報は、直動関節(prismatic joints)の直線位置及びレボリュート関節(revolute joint)の回転位置を測定するエンコーダ等の1つ又は複数のセンサから導出することができる。
運動学的モデル300は、いくつかの座標フレーム又は座標系、及び1つの座標フレームから別の座標フレームに位置及び/又は向きを変換するための同次変換(homogeneous transforms)等の変換を含む。いくつかの例では、図3に含まれる変換リンケージによって示される順方向及び/又は逆方向/反対方向の変換を合成することによって、1つの座標フレームの位置及び/又は向きを他の座標フレームに順方向マッピング及び/又は逆方向マッピングを可能にするために、運動学的モデル300を使用することができる。いくつかの例では、変換が行列形式の同次変換としてモデル化される場合に、合成は、行列乗算を用いて達成される。いくつかの実施形態では、図2のコンピュータ支援装置210と手術台280との運動学的関係をモデル化するために、運動学的モデル300を使用することができる。
運動学的モデル300は、手術台170及び/又は手術台280等の手術台の位置及び/又は向きをモデル化するために使用されるテーブルベースの座標フレーム305を含む。いくつかの例では、テーブルベースの座標フレーム305を用いて、手術台に関連する基準点及び/又は向きに対する手術台上の他の点をモデル化することができる。いくつかの例では、基準点及び/又は向きは、テーブルベース282等の手術台のテーブルベースに関連付けてもよい。いくつかの例では、テーブルベースの座標フレーム305は、コンピュータ支援システムのワールド(world)座標フレームとして使用するのに適している。
運動学的モデル300は、テーブル面284等の、手術台のテーブル面を表す座標フレーム内の位置及び/又は向きをモデル化するために使用されるテーブル面の座標フレーム310をさらに含む。いくつかの例では、テーブル面の座標フレーム310は、アイソセンタ286等の、テーブル面の回転中心又はアイソセンタを中心にしてセンタリングしてもよい。いくつかの例では、テーブル面の座標フレーム310のz軸は、手術台が配置される床又は表面に対して垂直方向に及び/又はテーブル面の表面に直交して向き合せしてもよい。いくつかの例では、テーブル面の座標フレーム310のx軸及びy軸は、テーブル面の長手方向(頭からつま先方向)及び横方向(左右方向)の主軸を取り込むように向き合せしてもよい。いくつかの例では、テーブルベース対テーブル面の座標変換315を用いて、テーブル面の座標フレーム310とテーブルベースの座標フレーム305との間の位置及び/又は向きをマッピングする。いくつかの例では、過去及び/又は現在の関節センサの読取値と一緒に、関節式構造290等の、手術台の関節式構造の1つ又は複数の運動学的モデルを用いて、テーブルベース対テーブル面の座標変換315を決定する。図2の実施形態と一致するいくつかの例では、テーブルベース対テーブル面の座標変換315は、手術台に関連する高さ、傾斜、トレンデレンブルグ、及び/又はスライド設定の複合効果をモデル化する。
運動学的モデル300は、コンピュータ支援装置110及び/又はコンピュータ支援装置210等のコンピュータ支援装置の位置及び/又は向きをモデル化するために使用される装置ベースの座標フレームをさらに含む。いくつかの例では、装置ベースの座標フレーム320を用いて、コンピュータ支援装置に関連する基準点及び/又は向きに対して、コンピュータ支援装置上の他の点をモデル化することができる。いくつかの例では、基準点及び/又は向きは、移動カート215等の、コンピュータ支援装置の装置ベースに関連付けてもよい。いくつかの例では、装置ベースの座標フレーム320は、コンピュータ支援システムのワールド座標フレームとして使用するのに適している。
手術台とコンピュータ支援装置との間の位置及び/又は向きの関係を追跡するために、大抵の場合、手術台とコンピュータ支援装置との間の位置合わせを行うことが望ましい。図3に示されるように、この位置合わせを用いて、テーブル面の座標フレーム310と装置ベースの座標フレーム320との間の位置合せ変換325を決定することができる。いくつかの実施形態では、位置合せ変換325は、テーブル面の座標フレーム310と装置ベースの座標フレーム320との間の部分的な又は完全な変換となり得る。位置合せ変換325は、手術台とコンピュータ支援装置との間のアーキテクチャ配置に基づいて決定される。
コンピュータ支援装置がテーブル面1102に取り付けられる図7D及び図7Fの例では、位置合せ変換325が、テーブルベース対テーブル面の座標変換315から決定され、コンピュータ支援装置がテーブル面112のどの箇所に取り付けられるかが分かっている。
コンピュータ支援装置が床に配置される、或いは壁又は天井に取り付けられる図7A~図7C、図7E、及び図7Fの例では、位置合せ変換325の決定は、装置ベースの座標フレーム320とテーブルベースの座標フレーム305とにいくつかの制約を与えることによって簡略化される。いくつかの例では、これらの制約は、装置ベースの座標フレーム320とテーブルベースの座標フレーム305との両方が同じ垂直上向き又はz軸上で一致することを含む。手術台が水平な床に配置されると仮定して、部屋の壁(例えば、床に対して垂直)と天井(例えば、床に対して平行)との相対的な向きは既知であり、共通の垂直上向き又はz軸(又は適切な向き変換)が、装置ベースの座標フレーム320とテーブルベースの座標フレーム305との両方又は適切な向き変換について維持されることが可能である。いくつかの例では、共通のz軸のため、位置合せ変換325は、オプションで、テーブルベースの座標フレーム305のz軸の周りの、テーブルベースに対する装置ベースの回転関係(例えば、θ位置合わせ)を単にモデル化することができる。いくつかの例では、位置合せ変換325は、オプションで、テーブルベースの座標フレーム305と装置ベースの座標フレーム320との間の水平オフセット(例えば、XY位置合わせ)をモデル化することもできる。これは、コンピュータ支援装置と手術台との間の垂直(z)方向関係が分かっているために可能である。従って、テーブルベース対テーブル面の座標変換315におけるテーブルの高さの変化は、テーブルベースの座標フレーム305及び装置ベースの座標フレーム320の垂直方向軸線が同じ又はほぼ同じであり、テーブルベースの座標フレーム305と装置ベースの座標フレーム320との間の高さの変化が互いの妥当な許容誤差(公差)内にあるため、装置ベースの座標フレーム320の垂直方向調整に類似している。いくつかの例では、テーブルベース対テーブル面の座標変換315における傾斜及びトレンデレンブルグの調整は、テーブル面の高さ(又はそのアイソセンタ)及びθ及び/又はXY位置合せが分かっているので、装置ベースの座標フレーム320にマッピングすることができる。いくつかの例では、位置合せ変換325及びテーブルベース対テーブル面の座標変換315を用いて、たとえそのコンピュータ支援装置が構造的にそうでない場合でもテーブル面に取り付けられているかのように、コンピュータ支援手術用装置をモデル化することができる。
運動学的モデル300は、コンピュータ支援装置の関節式アーム上の最も基端側の点に関連する共有座標フレームの適切なモデルとして使用されるアーム取付けプラットフォームの座標フレーム330をさらに含む。いくつかの実施形態では、アーム取付けプラットフォームの座標フレーム330は、アーム取付けプラットフォーム227等のアーム取付けプラットフォーム上の好都合な点に関連付けられ且つこの点に対して向き合せされる。いくつかの例では、アーム取付けプラットフォームの座標フレーム330の中心点は、アーム取付けプラットフォームの方向軸線236上に配置され、アーム取付けプラットフォームの座標フレーム330のz軸は、アーム取付けプラットフォームの方向軸線236と整列される。いくつかの例では、装置ベース対アーム取付けプラットフォームの座標変換335を用いて、装置ベースの座標フレーム320とアーム取付けプラットフォームの座標フレーム330との間の位置及び/又は向きをマッピングする。いくつかの例では、過去及び/又は現在の関節センサの読取値と一緒に、装置ベースとセットアップ構造220等のアーム取付けプラットフォームとの間のコンピュータ支援装置のリンク及び関節の1つ又は複数の運動学的モデルを用いて、装置ベース対アーム取付けプラットフォームの座標変換335を決定する。図2の実施形態と一致するいくつかの例では、装置ベース対アーム取付けプラットフォームの座標変換335は、コンピュータ支援装置の2つの部分から構成されるカラム、肩関節、2つの部分から構成されるブーム、及びセットアップ構造部分の手首関節の複合効果をモデル化することができる。
運動学的モデル300は、コンピュータ支援装置の各関節式アームに関連する一連の座標フレーム及び変換をさらに含む。図3に示されるように、運動学的モデル300は、3つの関節式アームについての座標フレーム及び変換を含むが、当業者は、異なるコンピュータ支援装置が、より少ない及び/又はより多い(例えば、1、2、4、5つ、又はそれ以上)関節式アーム含んでもよいことを理解するだろう。図2のコンピュータ支援装置210のリンク及び関節の構成と一致して、関節式アームの各々は、関節式アームの先端部に取り付けられた器具のタイプに依存して、マニピュレータ取付けの座標フレーム、遠隔の運動中心の座標フレーム、及び器具又はカメラの座標フレームを用いてモデル化される。
運動学的モデル300では、関節式アームのうちの第1の関節式アームの運動学的関係が、マニピュレータ取付けの座標フレーム341、遠隔の運動中心の座標フレーム342、器具の座標フレーム343、アーム取付けプラットフォーム対マニピュレータ取付けの変換344、マニピュレータ取付け対遠隔の運動中心の変換345、及び遠隔の運動中心対器具の変換346を用いて、取り込まれる。マニピュレータ取付けの座標フレーム341は、マニピュレータ260等のマニピュレータに関連する位置及び/又は向きを表すのに適したモデルを表す。マニピュレータ取付けの座標フレーム341は、対応する関節式アームのマニピュレータ取付け部262等のマニピュレータ取付け部に関連付けられる。次に、アーム取付けプラットフォーム対マニピュレータ取付けの変換344は、対応するセットアップ関節240の過去及び/又は現在の関節センサの読取値と一緒に、アーム取付けプラットフォームと、対応するセットアップ関節240等の対応するマニピュレータ取付け部との間のコンピュータ支援装置のリンク及び関節の1つ又は複数の運動学的モデルに基づくものである。
遠隔の運動中心の座標フレーム342は、対応するマニピュレータ260の対応する遠隔の運動中心274等の、マニピュレータに取り付けられた器具の遠隔の運動中心に関連付けられる。次に、マニピュレータ取付け対遠隔の運動中心の変換345は、対応する関節264の過去及び/又は現在の関節センサの読取値と一緒に、対応するマニピュレータ取付け部と、対応するマニピュレータ260の対応する関節264、対応するリンク266、及び対応するキャリッジ268等の対応する遠隔の運動中心と間のコンピュータ支援装置のリンク及び関節の1つ又は複数の運動学的モデルに基づくものである。対応する遠隔の運動中心が、図2の実施形態のように、対応するマニピュレータ取付け部に対して固定した位置関係で維持される場合に、マニピュレータ取付け対遠隔の運動中心の変換345は、マニピュレータ及び器具が操作される際に変化しない本質的に静的な並進要素と、マニピュレータ及び器具が操作される際に変化する動的な回転要素とを含む。
器具の座標フレーム343は、対応するエンドエフェクタ276等の、器具の先端部に位置するエンドエフェクタに関連付けられる。次に、遠隔の運動中心対器具の変換346は、過去及び/又は現在の関節センサの読取値と一緒に、対応する器具、エンドエフェクタ、及び遠隔の運動中心を移動及び/又は向き合せする、コンピュータ支援装置のリンク及び関節の1つ又は複数の運動学的モデルに基づくものである。いくつかの例では、遠隔の運動中心対器具の変換346は、対応するシャフト272等のシャフトが遠隔の運動中心を通過する向きと、このシャフトが遠隔の運動中心に対して前進及び/又は後退する距離とを説明する。いくつかの例では、遠隔の運動中心対器具の変換346は、器具のシャフトの挿入軸線が遠隔の運動中心を通過するように制約してもよく、このシャフトによって規定される軸線の周りのシャフト及びエンドエフェクタの回転を説明する。
運動学的モデル300では、関節式アームのうちの第2の関節式アームの運動学的関係が、マニピュレータ取付けの座標フレーム351、遠隔の運動中心の座標フレーム352、器具の座標フレーム353、アーム取付けプラットフォーム対マニピュレータ取付けの変換354、マニピュレータ取付け対遠隔の運動中心の変換355、及び遠隔の運動中心対器具の変換356を使用して、取り込まれる。マニピュレータ取付けの座標フレーム351は、マニピュレータ260等のマニピュレータに関連する位置及び/又は向きを表すのに適したモデルを表す。マニピュレータ取付け座標フレーム351は、対応する関節式アームのマニピュレータ取付け部262等のマニピュレータ取付け部に関連付けられる。次に、アーム取付けプラットフォーム対マニピュレータ取付けの変換354は、対応するセットアップ関節240の過去及び/又は現在の関節センサの読取値と一緒に、アーム取付けプラットフォームと、対応するセットアップ関節240等の対応するマニピュレータ取付け部との間のコンピュータ支援装置のリンク及び関節の1つ又は複数の運動学的モデルに基づくものである。
遠隔の運動中心の座標フレーム352は、対応するマニピュレータ260の対応する遠隔の運動中心274等の、関節式アームに取り付けられたマニピュレータの遠隔の運動中心に関連付けられる。次に、マニピュレータ取付け対遠隔の運動中心の変換355は、対応する関節264の過去及び/又は現在の関節センサの読取値と一緒に、対応するマニピュレータ取付け部と、対応するマニピュレータ260の対応する関節264、対応するリンク266、及び対応するキャリッジ等の対応する遠隔の運動中心との間のコンピュータ支援装置のリンク及び関節の1つ又は複数の運動学的モデルに基づくものである。対応する遠隔の運動中心が、図2の実施形態に示されるように、対応するマニピュレータ取付け部に対して固定した位置関係で維持される場合に、マニピュレータ取付け対遠隔の運動中心の変換355は、マニピュレータ及び器具が操作される際に変化しない本質的に静的な並進要素と、マニピュレータ及び器具が操作される際に変化する動的な回転要素とを含む。
器具の座標フレーム353は、対応する器具270及び/又はエンドエフェクタ276等の、器具の先端部に位置するエンドエフェクタに関連付けられる。次に、遠隔の運動中心対器具の変換356は、過去及び/又は現在の関節センサの読取値と一緒に、対応する器具、エンドエフェクタ、及び遠隔の運動中心を移動及び/又は向き合せする、コンピュータ支援装置のリンク及び関節の1つ又は複数の運動学的モデルに基づくものである。いくつかの例では、遠隔の運動中心対器具の変換356は、対応するシャフト272等のシャフトが遠隔の運動中心を通過する向きと、このシャフトが遠隔の運動中心に対して前進及び/又は後退する距離とを説明する。いくつかの例では、遠隔の運動中心対器具の変換356は、器具のシャフトの挿入軸線が遠隔の運動中心を通過するように制約してもよく、このシャフトによって規定される挿入軸線の周りのシャフト及びエンドエフェクタの回転を説明する。
運動学的モデル300では、関節式アームのうちの第3の関節式アームの運動学的関係が、マニピュレータ取付けの座標フレーム361、遠隔の運動中心の座標フレーム362、カメラの座標フレーム363、アーム取付けプラットフォーム対マニピュレータ取付けの変換364、マニピュレータ取付け対遠隔の運動中心の変換365、及び遠隔の運動中心対カメラの変換366を用いて、取り込まれる。マニピュレータ取付けの座標フレーム361は、マニピュレータ260等のマニピュレータに関連する位置及び/又は向きを表すのに適したモデルを表す。マニピュレータ取付けの座標フレーム361は、対応する関節式アームのマニピュレータ取付け部262等のマニピュレータ取付け部に関連付けられる。次に、アーム取付けプラットフォーム対マニピュレータ取付けの変換364は、対応するセットアップ関節240の過去及び/又は現在の関節センサの読取値と一緒に、アーム取付けプラットフォームと、対応するセットアップ関節240等の対応するマニピュレータ取付け部との間のコンピュータ支援装置のリンク及び関節の1つ又は複数の運動学的モデルに基づくものである。
遠隔の運動中心の座標フレーム362は、対応するマニピュレータ260の対応する遠隔の運動中心274等の、関節式アームに取り付けられたマニピュレータの遠隔の運動中心に関連付けられる。次に、マニピュレータ取付け対遠隔の運動中心の変換365は、対応する関節264の過去及び/又は現在の関節センサの読取値と一緒に、対応するマニピュレータ取付け部と、対応するマニピュレータ260の対応する関節264、対応するリンク266、及び対応するキャリッジ268等の対応する遠隔の運動中心との間のコンピュータ支援装置のリンク及び関節の1つ又は複数の運動学的モデルに基づくものである。対応する遠隔の運動中心が、図2の実施形態に示されるように、対応するマニピュレータ取付け部に固定した位置関係で維持される場合に、マニピュレータ取付け対遠隔の運動中心の変換365は、マニピュレータ及び器具が操作される際に変化しない本質的に静的な並進要素と、マニピュレータ及び器具が操作される際に変化する動的な回転要素とを含む。
カメラの座標フレーム363は、関節式アームに取り付けられた内視鏡等の撮像装置に関連付けられる。次に、遠隔の運動中心対カメラの変換366は、過去及び/又は現在の関節センサの読み値と一緒に、撮像装置及び対応する遠隔の運動中心を移動及び/又は向き合せさせる、コンピュータ支援装置のリンク及び関節の1つ又は複数の運動学的モデルに基づくものである。いくつかの例では、遠隔の運動中心対カメラの変換366は、対応するシャフト272等のシャフトが遠隔の運動中心を通過する向きと、このシャフトが遠隔の運動中心に対して前進及び/又は後退する距離を説明する。いくつかの例では、遠隔の運動中心対カメラの変換366は、撮像装置のシャフトの挿入軸線が遠隔の運動中心を通過するように制約してもよく、このシャフトによって規定される軸線の周りの撮像装置の回転を説明する。
上で議論され、ここでさらに強調するように、図3は、単なる例に過ぎず、特許請求の範囲を過度に制限すべきでない。当業者であれば、多くの変形形態、代替形態、及び修正形態を認識するだろう。いくつかの実施形態によれば、手術台とコンピュータ支援装置との間の位置合せは、代替の位置合せ変換を用いてテーブル面の座標フレーム310と装置ベースの座標フレーム320との間で決定してもよい。代替の位置合せ変換が使用される場合に、位置合せ変換325は、テーブルベース対テーブル面の変換315の逆/反対を用いて代替の位置合せ変換を合成することによって決定される。いくつかの実施形態によれば、コンピュータ支援装置をモデル化するために使用される座標フレーム及び/又は変換は、コンピュータ支援装置のリンク及び関節の特定の構成、その関節式アーム、そのエンドエフェクタ、そのマニピュレータ、及び/又はその器具に応じて異なるように構成してもよい。いくつかの実施形態によれば、運動学的モデル300の座標フレーム及び変換を用いて、1つ又は複数の仮想器具及び/又は仮想カメラに関連する座標フレーム及び変換をモデル化することができる。いくつかの例では、仮想器具及び/又はカメラは、以前に格納及び/又はラッチされた器具の位置、動作による器具及び/又はカメラの投影、外科医及び/又は他の従事者等によって規定された基準点等に関連付けられる。
前述したように、コンピュータ支援システム100及び/又は200等のコンピュータ支援システムが動作する際に、手術台170及び/又は280等の手術台の動作が許容される間に、器具及び/又はエンドエフェクタの継続的な制御が可能になることが望ましいだろう。いくつかの例では、これは、患者の身体開口部から器具を取り出すことなく、手術台の動作が生じるので、殆ど時間を浪費することなく処置を行うことができる。いくつかの例では、これにより、外科医及び/又は他の医療従事者は、より最適な手術台の姿勢を得るために手術台の動作が行われている間に、器官の動きを監視することができる。いくつかの例では、これは、手術台の動作中の外科的処置の積極的な継続を可能にする。いくつかの動作モードは、1つ又は複数の器具が患者の身体開口部に挿入される間に、手術台での関節式構造の動き(すなわち、テーブル動作)を可能にする。手術台の動作中に外科的処置を積極的に継続することを可能にするシステムの例は、2015年3月17日に出願された、”System and Method for Integrated Surgical Table”という標題の米国仮特許出願第62/134,207号、及び同時に出願された、”System and Method for Integrated Surgical Table”という標題のPCT特許出願(代理人整理番号ISRG006930PCT/70228.498WO01)に示されており、これら両文献はその全体が参照により本明細書に組み込まれる。テーブルの移動の間に、器具が患者の切開部位を通って挿入される身体開口部、身体オリフィス、及び/又は位置に対応する遠隔の運動中心又は他の制御点を患者と一緒に移動させ、切開点での患者の解剖学的構造に対するストレスを制限し、及び/又は器具の位置付けを維持することが一般に望ましい。いくつかの例では、これは、関節式アームの1つ又は複数の関節を解除及び/又はロック解除することによる器具ドラッギング(dragging)を使用して実現され、身体開口部での患者の体壁が、患者が動く際に制御点及び関連する器具をドラッギングするのを可能にする。しかしながら、関節式アーム及び/又はエンドエフェクタは、テーブルの動きを自由に追跡する能力を失うことになる外乱にときどき遭遇することがあり、制御点が身体開口部と一致したままにならない。追跡する能力を喪失させ得る外乱の例としては、関節式アームの関節の可動域制限に到達することや、絡まったケーブル等の障害、カニューレ保持の喪失(すなわち、制御点に関連するカニューレが身体開口部で体壁からの滑脱する)、テーブル上の患者の移動、ブレーキ解除故障、2つのアーム同士の間の及び/又はアームと患者の身体との間の衝突等に遭遇することを含む。従って、いくつかの例では、テーブルの移動中に制御点の構成を監視して、所与の時間におけるそれらの実際の構成が、テーブル動作に基づくそれらの予想された構成と一致することを保証することが望ましいことがある。制御点の実際の構成と予想される構成との間のずれが検出されると、テーブルの移動を無効にする、関節式アームにブレーキをかける、ユーザに警告する等の対応する是正措置が取られる。さらに、いくつかの実施形態によれば、不具合(offending)アーム(すなわち、1つ又は複数の関節式アームが、警報を発生させた外乱に曝された及び/又は酷く影響を受けた)を検出及び/又は報告して、修正措置を容易にする。
図4は、いくつかの実施形態による、テーブルの移動中の1つ又は複数の制御点を監視する方法400の概略図である。方法400の1つ又は複数のプロセス410~460は、1つ又は複数のプロセッサ(たとえば、制御ユニット130内のプロセッサ140)によって実行されたときに、1つ又は複数のプロセッサにプロセス410~460の1つ又は複数を実行させることができる、少なくとも部分的に、非一時的で有形の機械可読媒体に格納された実行可能コードの形態として実装することができる。いくつかの実施形態では、方法400を用いて、患者の身体開口部、身体オリフィス、又は切開部位に位置する制御点等の制御点が、テーブルの移動を予想通りに追跡するのを妨げる外乱を検出することができる。図2の実施形態と一致するいくつかの例では、1つ又は複数の制御点は、遠隔の運動中心274の例であってもよく、テーブルの移動は、手術台280内の関節式構造290の動きに対応し得る。当業者は、その方法400が、テーブルの移動の結果として、予想可能に動くことが期待される遠隔の運動中心又は他の制御点の動きを監視するように適合してもよいことを理解するだろう。
いくつかの実施形態によれば、方法400は、テーブルの移動中に1つ又は複数の制御点を監視しない方法に対して1つ又は複数の有用な改善をサポートする。いくつかの例では、方法400は、制御点によってテーブルの動きを自由に追跡することを妨げる外乱を検出することによって、テーブルの移動中の患者又は装置への損傷の可能性を低減し、テーブルの移動を中断する及び/又はオペレータに外乱を警告する等の、対応する是正措置を取ることを可能にする。いくつかの例では、方法400は、外乱に曝された及び/又は酷く影響を受けた1つ又は複数の不具合アームを報告することにより、オペレータの介入をさらに容易にすることができる。いくつかの例では、方法400は、制御点構成の幾何学的属性の選択されたセットを監視することによって、及び/又は通常範囲の逸脱を安全でない外乱から正確に区別する閾値を設定することによって、他の方法に対する誤った警報の発生の可能性を低減することができる。
プロセス410では、制御点のラッチされた構成が決定される。ラッチされた構成は、基準フレーム(reference frame)内の制御点の幾何学的配置の1つ又は複数の属性(総称して制御点群(コンステレーション(constellation))と呼ばれる)を指定する。いくつかの実施形態では、幾何学的属性は、制御点の位置、制御点群の向き、制御点のペアの間の点間の距離、3つの制御点のセットの間に形成される内角、制御点群の曲率中心等を含み得る。いくつかの例では、センサ読取値及び/又は運動学的モデル300等の運動学的モデルを用いてラッチされた構成を決定し、各制御点の位置を確認する及び/又は制御点群の対応する幾何学的属性を導出することができる。基準フレームの選択は、動作モードに依存する。いくつかの実施形態では、基準フレームは、ワールド座標フレームに対して固定された座標フレームであってもよい。このような例では、図2及び図3の実施形態と一致して、装置ベースの座標フレーム320、アーム取付けプラットフォームの座標フレーム330、及び/又はテーブルベースの座標フレーム305のいずれかを基準フレームとして使用してもよい。いくつかの動作モードでは、各制御点の位置を個別に追跡するために固定基準フレームを使用してもよい。いくつかの実施形態では、基準フレームは、基準フレームの原点の位置及び/又は軸線の向きが、システムの制御点、テーブル面、及び/又は他の移動要素の現在の位置及び/又は向きに依存する動的な座標フレームであってもよい。動的な基準フレームの一例は、重心基準フレームであり、基準フレームの原点が、現時点における制御点の平均及び/又は重み付け平均位置であり、基準フレームの向きが、ワールド座標フレーム又はテーブル面の座標フレームに対して固定される。制御点の共通モードの並進運動(すなわち、全ての制御点に等しく適用される並進運動)が無関係である、制御点の動きを互いに追跡するために、いくつかの動作モードで重心基準フレームをオプションで使用することができる。プロセス410が完了すると、テーブル移動が開始される。
プロセス420では、制御点の予想される構成が、テーブル移動に基づいて決定される。予想される構成は、テーブル移動に基づいてプロセス410中に決定されたラッチされた構成に対して、制御点の位置及び/又は向きの予想される変化を説明する。いくつかの実施形態では、予想される構成は、ラッチされた構成によって指定された属性に対応する幾何学的属性のセットを指定することができる。いくつかの実施形態では、予想される構成は、位置の変化、向きの変化等の、ラッチされた構成に対して規定される1つ又は複数の差分属性を代替的に及び/又は追加的に指定することができる。器具のドラッギングを使用する場合等のいくつかの例では、制御点がテーブルと一緒に移動するように予想される。このような実施形態では、例えば、テーブルの高さが所定の距離だけ変化すると、固定基準フレーム内の各制御点の垂直位置は、同じ距離だけ変化すると予想される。同様に、傾斜、トレンデレンブルグ回転、及び/又は逆トレンデレンブルグ回転等、テーブルを所定の角度だけ回転させると、重心基準フレーム内の制御点群の向きが同じ角度だけ回転すると予想される。いくつかの実施形態によれば、制御点群の1つ又は複数の幾何学的属性は、テーブルの移動中に変化するとは予想されない。例えば、内角、点間の距離、制御点群の曲率中心等は、テーブルの移動中は一定のままであることが予想される。
プロセス430では、テーブルの移動中の制御点の実際の構成が決定される。いくつかの例では、位置センサ及び/又は運動学モデルを用いて実際の構成を決定して、プロセス410の基準フレームにおける各制御点の位置及び/又は制御点群の対応する幾何学的属性を確認することができる。いくつかの実施形態では、実際の構成は、プロセス410のラッチされた構成及び/又はプロセス420により決定された予想される構成によって指定された属性に対応する幾何学的属性のセットを指定する。
プロセス440では、制御点の実際の構成と予想される構成とを比較して、これらの構成同士の間の差が1つ又は複数の所定の閾値を超えるかどうかを判定する。所定の閾値のタイプ及び/又は値は、比較される幾何学的属性に依存する。いくつかの例では、幾何学的属性が制御点の位置を含む場合に、所定の閾値は、実際の位置と予想される位置との間の最大許容距離を表す。同様に、幾何学的属性が制御点群の向きを含む場合に、所定の閾値は、実際の向きと予想される向きとの間の最大許容角度を表す。いくつかの例では、幾何学的属性が重心位置等の、制御点群に関連する位置を含む場合に、所定の閾値は、実際の位置と予想される位置との間の最大許容距離を表す。更なる例では、幾何学的属性が制御点群の曲率中心を含む場合に、所定の閾値は、曲率中心が制御点群の重心の下に位置するという制限を表す。所定の閾値の様々な他のタイプ及び/又は値は、オプションで、比較される属性の基本的な特性と一致する態様で、他の幾何学的属性に適用してもよい。
一般に、所定の閾値の値は、実際の構成と予想される構成との間の通常範囲の逸脱(例えば、関節式アームの小さな振動、器具のドラッギングによる小さな遅れ、患者の体壁における許容可能な歪み等)によって生じる誤警報を最小限に抑えながら、制御点群に対する安全でない外乱を正確に検出したいという要望に従って選択される。いくつかの実施形態では、1つ又は複数の所定の閾値の値は、テーブルの移動中に制御点が患者の身体に対して移動することができる臨床的に許容可能な距離に基づいて選択される。いくつかの実施形態では、この臨床的に許容可能な距離は約12mmである。こうして、いくつかの実施形態では、プロセス440は、1つ又は複数の計算を実行して、臨床的に許容可能な距離が維持される距離と一致する所定の閾値の値を決定することができる。計算は、比較される幾何学的属性の特性に依存する。例えば、幾何学的属性が角度である場合に、計算は、臨床的に許容可能な距離を基準フレーム内の等価な角度値に変換することを含む。
実際の構成と予想される構成とを比較して、これら構成同士の間の差が1つ又は複数の所定の閾値を超えるかどうかを判定することは、様々な方法で達成することができる。従って、上述したプロセス440は単なる例に過ぎず、過度に限定するべきではない。いくつかの例によれば、臨床的に許容可能な距離を、比較される幾何学的属性と一致する所定の閾値に変換するのではなく、代わりに比較される幾何学的属性を、臨床的に許容可能な距離に一致する距離の値に変換することができる。いくつかの例によれば、実際の構成と予想される構成とを直接的に比較するのではなく、実際の構成の幾何学的属性に対する許容値の範囲が、予想される構成と所定の閾値とに基づいて決定される。このような例によれば、実際の構成の幾何学的属性が許容値の範囲内にない場合には、所定の閾値を超えたと判定される。
プロセス440の間に、1つ又は複数の所定の閾値を超えていないと判定された場合に、テーブルの移動が許可され、方法400はプロセス420に戻り、制御点構成の監視を続ける。しかしながら、1つ又は複数の所定の閾値を超えたと判定された場合に、警報が発生し、方法400は、以下に説明するプロセス450に進む。
プロセス450では、警報をプロセス440で発生させた1つ又は複数の制御点及び対応するアーム(不具合アームと呼ぶ)が決定される。不具合アームを決定するための1つ又は複数の技術を使用することができる。いくつかの実施形態では、関節が可動域の制限に到達すると、可動域の制限イベントに対応する関節式アームが不具合アームとして特定され得る。いくつかの実施形態では、各制御点に関連する誤差値が決定され、最大の誤差値を有する対応する関節式アーム(すなわち、最悪の不具合アーム)及び/又は閾値を超える誤差値を有する1つ又は複数の対応する関節式アームが、1つ又は複数の不具合アームとして特定される。いくつかの実施形態では、実際の構成及び予想される構成が各制御点の実際の位置及び予想される位置を指定するとき、誤差値は、実際の位置と予想される位置との間の距離を含む。いくつかの実施形態では、誤差値は、実際の経路長と予想される経路長との間の差異を含み、ここで経路長は、各制御点がテーブル動作中に移動した距離量を示す。経路長の差がどの様に生じるかを示すために、次の例を示す。予想される位置が、右に10単位だけ移動し、次に左に5単位だけ移動する一方、実際の位置が、右に7単位だけ移動し、次に左に2単位だけ移動する。実際の位置と予想される位置との両方が、移動後に開始位置の右の5単位に行き着くので、実際の位置と予想される位置との間の距離は0単位である。しかしながら、予想される位置は15単位の長さ分の経路に沿って移動する一方、実際の位置は9単位の長さ分の経路に沿って移動したので、実際の経路長と予想される経路長の差は6単位である。こうして、いくつかの実施形態では、実際の位置と予想される位置との間の最終的な距離を誤差値として使用するときに、不明瞭な実際の位置と予想される位置との間の特定のずれを捉えるために、経路長の差が使用される。
プロセス460では、プロセス440で発生した警報及び/又はプロセス450で決定された不具合アームに基づいて、1つ又は複数の是正措置が取られる。いくつかの実施形態では、是正措置は、テーブルの移動を停止及び/又は無効にすること、オペレータに外乱を警告すること、不具合アームをオペレータに報告すること、1つ又は複数の関節式アームにブレーキをかけること、1つ又は複数の関節式アームに補償を加えること、エラー報告を記録及び/又は送ること等を含むことができる。いくつかの実施形態では、警報が発生すると直ぐにテーブルの移動が停止され、オプションで、オペレータが不具合アームを手動で再位置付けする、及び/又は外乱を識別して修正するための検査を行う等、1つ又は複数の動作を行うまで、テーブルの移動を無効にしたままにする。いくつかの実施形態では、オペレータは、音声アラーム、点滅ライト(例えば、LED)、ディスプレイ画面上のメッセージ、手術台の命令ユニットの振動等の音声、視覚、及び/又は触覚信号伝達機構を用いて、外乱について警報を受けることができる。同様に、オプションで、上述した音声、視覚、及び/又は触覚信号伝達機構等の適切な信号伝達機構を用いてオペレータに不具合アームを報告してもよい。いくつかの実施形態では、不具合アームを含む関節式アームの1つ又は複数及び/又は関節式アームの全てに完全に及び/又は部分的にブレーキをかけて、テーブルに対する制御点の更なる動きを防止及び/又は減少させることができる。いくつかの実施形態では、オプションで、関節式アームの1つ又は複数の関節にエラー信号を送ることができ、1つ又は複数の関節に反作用力を加えることによって実際の構成と予想される構成との間のずれを補償しようとすることができる。いくつかの実施形態では、タイムスタンプ、システム識別子、オペレータ識別子、不具合アーム識別子等の、発生している警報に関連する詳細を含むエラー報告を、情報通知目的のためにローカル及び/又はリモートのコンピュータアプリケーションに記録及び/又は送ることができ、及び/又は追加の是正措置を講じることを可能にする。
上で議論され、ここでさらに強調されるように、図4は、単なる例に過ぎず、特許請求の範囲を過度に制限すべきでない。当業者であれば、多くの変形形態、代替形態、及び修正形態を認識するだろう。いくつかの実施形態によれば、方法400は、プロセス410~460のうちの1つ又は複数を省略し得る。例えば、いくつかの実施形態は、不具合アームを検出するプロセス450を省略し、不具合アームを特定することなく外乱をオペレータに警告してもよい。いくつかの実施形態は、特に、ラッチされた構成によって指定された幾何学的属性がテーブル動作中に変化すると予想されない(つまり、予想される構成が、プロセス410で決定されたラッチされた構成と等価であり得る)場合に、予想される構成を決定するプロセス420を省略してもよい。テーブル動作中に変化するとは予想されない幾何学的属性は、制御点同士の間の点間の距離、3つの制御点のセットによって形成される内角、重心基準フレームにおける制御点群の曲率中心等を含み得る。そのような実施形態は、例えば、テーブル移動に関する情報が利用可能でない場合、及び/又は位置合せ変換を用いてテーブル移動を制御点群の基準フレームに変換せずに、テーブル移動を行う場合に、使用することができる。いくつかの実施形態によれば、方法400の間に実行されるプロセス410~460のシーケンスは、再配列してもよく、及び/又はプロセス410~460のうちの1つ又は複数を同時に実行してもよい。いくつかの例では、予想される構成を決定するプロセス420は、実際の構成を決定するプロセス430の前に、同時に、又は後に実行してもよい。いくつかの例では、不具合アームを決定するプロセス450は、警報を発するプロセス460の前に、同時に、又は後に実行してもよい。いくつかの例によれば、プロセス440中に複数の所定の閾値をチェックして、プロセス460で変動する重大度によって是正措置をトリガすることができる。例えば、第1の所定の閾値を超えたときに、プロセス460で警告がオペレータにトリガされるが、テーブルを継続して移動することが許容され、第2の所定の閾値を超えたときに、プロセス460でテーブルの移動を無効にすることができる。
図5は、いくつかの実施形態による高さモードのみでのテーブルの移動中の制御点の位置500の概略図である。図5は、垂直位置(z軸)対時間(t軸)のトレースを示す。図4の実施形態と一致するいくつかの実施形態では、図5は、高さモードのみ(すなわち、テーブル移動が垂直方向の並進に限定される)におけるテーブル移動中の方法400の適用を示す。図2及び図3に一致するいくつかの例では、監視される制御点の数が3未満である場合に、及び/又は手術台とコンピュータ支援装置との間の位置合わせが行われておらず、テーブルベース対装置ベースの変換325が既知でない場合に、高さモードのみが実施される。
予想される位置510及び実際の位置520が、それぞれ、制御点の予想される位置及び実際の位置を経時的に示すトレースである。所定の閾値530は、時間の経過と共に予想される位置510に対応する許容可能な位置の範囲である。段階540は、ラッチ前段階540a、追跡段階540b、外乱未検出段階540c、及び外乱検出段階540dを含む。ラッチ前段階540aの間に、制御点の監視が未だ開始されていないので、テーブル移動は許可されない。ラッチ前段階540aと追跡段階540bとの間で、制御点のラッチされた位置が決定され、その後、高さのみのテーブルの移動が許可される。図4と一致する実施形態では、制御点構成が固定基準座標フレーム内の制御点の位置を指定するプロセス410を用いて、ラッチされた位置を決定する。
追跡段階540bの間に、高さのみのテーブル移動が発生し、制御点によってテーブル移動が自由に追跡される。図5に示されるようにテーブルを持ち上げると、予想される位置510がテーブルと共に上昇する。実際の位置と予想される位置との間のいくつかの小さな通常範囲の逸脱が観察され得るが、実際の位置520は、追跡段階540bの間に予想される位置510を概ね追跡する。図4に一致する実施形態では、プロセス420を用いて予想される位置510が決定され、プロセス430を用いて実際の位置520が決定される。予想される位置510及び実際の位置520は、ラッチされた位置の基準フレームに表され、及び/又はラッチされた位置に対して示差的に表される。追跡段階540bの間にも、予想される位置510と実際の位置520とが比較され、実際の位置520が所定の閾値530によって与えられる許容範囲内にあるかどうかを判定する。図4と一致する実施形態では、比較は、プロセス440を用いて実行され、所定の閾値の値が臨床的に許容可能な距離、例えば12mmに設定される。簡略化するために、図5には許容される位置範囲の垂直成分のみが示されているが、この比較は3次元まで実行することができ、予想される位置510と実際の位置520との間の任意の方向のずれを検出することができることが理解される。従って、いくつかの実施形態では、許容される位置範囲は、3次元での許容可能な位置により構成される球を形成する。図5に示されるように、追跡段階540bの間に、予想される位置510と実際の位置520との間の差は、所定の閾値530を超えない。
追跡段階540bと外乱未検出段階540cとの間で、制御点によってテーブルの動きを自由に追跡することを妨げる外乱550が発生する。外乱550は、図4に関連して上述した外乱のいずれかを含むことができ、例えば、図5に示されるように、制御点が所定の高さを超えて上昇するのを妨げる障害物に遭遇することを含む。こうして、外乱未検出段階の間に、実際の位置520は、もはや予想される位置510を厳密に追跡していない。しかしながら、実際の位置520と予想される位置510との間の距離は、所定の閾値530を未だ超えていない。従って、テーブルの移動が継続して許容される一方、実際の位置520と予想される位置510との間の距離が、所定の閾値530に近づく。
外乱未検出段階540cと外乱検出段階540dとの間で、実際の位置520と予想される位置との間の距離が所定の閾値530に到達し、警報が発生する。図4と一致する実施形態では、プロセス450を用いた不具合アームの検出及び/又はプロセス460を用いた是正措置は、外乱検出段階540dの開始時に続いて起こり得る。図5に示される実施形態では、実際の位置520と予想される位置510との間の差が所定の閾値530を超えて増加しないように、外乱検出段階540dの間にテーブルの移動が無効にされる。さらに、複数の制御点が監視される場合に、実際の位置と予想される位置との間の最大の差を有する制御点を特定することによって、及び/又は所定の閾値530を超える制御点の全てを特定することによって、プロセス450に関して前述したメカニズムのいずれかを用いて、1つ又は複数の不具合アームを決定することができる。オペレータは、オプションで、外乱が検出されたことを示す音声アラーム及び/又は不具合アームを示す点滅ライト等の、プロセス460に関連して説明したフィードバック機構のいずれかによって、検出された外乱及び/又は不具合アームの特定について警告を受けることができる。いくつかの実施形態では、テーブルの移動は、オペレータが1つ又は複数の不具合アームを手動で再位置付けすること等によって外乱に対処するまで、無効のままにされる。
上述したように、ここでさらに強調するように、図5は、単なる例に過ぎず、特許請求の範囲を過度に制限すべきでない。当業者であれば、多くの変形形態、代替形態、及び修正形態を認識するだろう。いくつかの実施形態によれば、図5のz軸は、垂直又は水平位置、向き、点間の距離、内角等を含む、制御点群の幾何学的属性を表すことができる。従って、手順500は、制御点群の幾何学的属性を監視する方法を示すことができる。
図6は、いくつかの実施形態による回転式テーブルの移動中の制御点群600の概略図である。図6は、複数の制御点の平均位置に原点が位置する重心基準フレーム内の制御点群の3次元配列を示す。図4の実施形態と一致するいくつかの実施形態では、図6は、傾斜、トレンデレンブルグ回転、及び/又は逆トレンデレンブルグ回転等の回転が許容されるモードでのテーブル移動に対する方法400の適用を示す。図2及び図3に一致するいくつかの例では、監視される制御点の数が少なくとも3つである場合等の位置合せ変換325がわかっている場合、及び/又は手術台とコンピュータ支援装置との間の位置合わせが実行された後に、回転式テーブルの移動が許可される。
予想される構成610は、制御点群600内の制御点の予想される位置を経時的に表す経路610a~cを含み、実際の構成620は、制御点の実際の位置を経時的に表す経路620a~cを含み、所定の閾値630は、経時的な、予想される構成610に対応する許容可能な位置範囲630a~cを含む。基準フレーム640は、制御点の位置を決定するために使用される重心基準フレームを表す。テーブルを回転させる前に及び/又は制御点群のラッチされた構成を決定する前に、位置合せ変換が決定される。図2及び図3と一致するいくつかの実施形態では、位置合せ変換は、位置合せ変換325及び/又は代替の位置合せ変換325に対応してもよく、θ位置合わせ及び/又はXY位置合わせを用いて決定してもよい。従って、テーブルベースの座標305に対するテーブルの所定角度の回転は、位置合せ変換325の適用によって装置ベースの座標320に変換してもよい。
テーブル動作の開始時であって、θ及び/又はXY位置合わせの後に、制御点群のラッチされた構成が決定される。図4の実施形態と一致するいくつかの実施形態では、ラッチされた構成は、テーブル回転前の基準フレーム640でプロセス410を用いて決定される。ラッチされた構成は、各制御点の位置、及び/又は制御点群の1つ又は複数の幾何学的属性、例えば、テーブル回転前の基準フレーム640に対する制御点群によって形成される角度の大きさを指定する。ラッチされた構成が決定されると、テーブルの移動中の制御点の監視が開始される。図4の実施形態と一致するいくつかの実施形態では、制御点の監視がプロセス420~440を使用して実行され、制御点群の実際の構成が制御点群の予想される構成から所定の閾値630を超えてずれているかどうかを判定する。基準フレーム640が重心基準フレームであるため、高さ調整、スライド調整等のテーブルの並進運動、アイソセンタ以外の位置でのテーブルの回転運動に対応する並進運動等は、予想される構成610を変更しない。その一方で、テーブルの回転運動は、予想される構成610の向きを変化させ、この変化の方向及び大きさは、検出されたテーブル移動及び位置合せ変換を用いて決定される。制御点群の実際の中心が並進しているかもしれないが、座標フレーム640が重心基準フレームであるため、制御点群の中心に関する相対位置のみが考慮されることに留意されたい。
制御点群600は、基準フレーム640に対する予想される構成の向きの変化を生じさせる回転を示す。図5に示される例と同様に、実際の構成620は、一般に、所定の閾値630内での予想される構成610を追跡する。簡略化するために、図6に示される幾何学的属性は位置であるが、基準フレーム640に対して実際の構成620によって形成される角度の大きさ等の他の幾何学的属性も、予想される構成610と比較することもでき、対応する閾値に対してチェックされる(すなわち、回転の大きさをチェックする)ことを理解されたい。
制御点群600は、制御点経路620cが予想される経路610cから許容範囲630cを超えて逸脱する外乱650も示す。図4の実施形態と一致するいくつかの実施形態では、閾値を超えると、プロセス440中に警報が発生し、不具合アームの特定450及び/又は是正措置460のプロセスのうちの1つ又は複数が実行される。いくつかの実施形態では、制御点経路620cに対応する不具合アームは、実際の経路長と予想される経路長との間の最大の差を有する制御点を特定する等、プロセス450に関して先に説明したメカニズムのいずれかを用いて決定することができる。回転の大きさのチェックを行う場合のいくつかの実施形態では、全てのアームを不具合アームとして特定してもよい。オペレータは、外乱が検出されたことを示す音声アラーム及び/又は不具合アームを示す点滅ライト等の、プロセス460に関して説明したフィードバック機構のいずれかによって、検出された外乱及び/又は不具合アームの特定について警告を受けることができる。
上述したように、及びここでさらに強調するように、図6は、単なる例に過ぎず、特許請求の範囲を過度に制限すべきでない。当業者であれば、多くの変形形態、代替形態、及び修正形態を認識するだろう。いくつかの実施形態によれば、制御点群600は、示された3つの制御点よりも多い又は少ない制御点を含んでもよい。いくつかの実施形態によれば、制御点は、ほぼ同一直線上にあり(すなわち、三角形等ではなくほぼ直線を形成する)、その場合に、1つ又は複数の軸線に沿った回転運動に対する感度が低下することがある。このような実施形態では、回転式テーブルの移動を無効にする、所定の閾値を減少する、監視の感度低下及び/又は不確実性の増大をオペレータに警告する等の低感度構成が識別されたときに、1つ又は複数の補償措置が取られる。
制御ユニット130等の制御ユニットのいくつかの例は、1つ又は複数のプロセッサ(例えば、プロセッサ140)によって実行されると、1つ又は複数のプロセッサに方法400のプロセスを実行させることができる実行可能なコードを含む非一時的な、有形の機械可読媒体を含む。方法400のプロセスを含み得る機械可読媒体のいくつかの一般的な形態は、例えばフロッピー(登録商標)ディスク、フレキシブルディスク、ハードディスク、磁気テープ、他の磁気媒体、CD-ROM、他の光媒体、パンチカード、紙テープ、ホールパターンを含む他の物理的媒体、RAM、PROM、EPROM、FLASH-EPROM、他のメモリチップ又はカートリッジ、及び/又はプロセッサ又はコンピュータが読み取るように適合される他の媒体である。
例示的な実施形態について図示し且つ説明してきたが、広範な修正、変更、及び置換が、前述した開示において企図されており、いくつかの例では、実施形態のいくつかの特徴は、他の特徴の対応する使用なしに用いることができる。当業者は、多くの変形形態、代替形態、及び修正形態を認識するだろう。従って、本発明の範囲は、以下の特許請求の範囲によってのみ限定され、特許請求の範囲は、本明細書に開示された実施形態の範囲と一致する態様で及び広範に解釈することが適切である。
以下に、出願当初の特許請求の範囲に記載の内容を実施例として記載する。
[実施例1]
コンピュータ支援医療装置であって、当該装置は、
各々が制御点を有する1つ又は複数の関節式アームであって、該1つ又は複数の関節式アーム及び対応する制御点が、手術台の運動を追跡するように構成される、1つ又は複数の関節式アームと、
前記1つ又は複数の関節式アームに結合される制御ユニットと、備えており、
前記制御ユニットは、
前記手術台の運動中に前記1つ又は複数の制御点の予想される空間構成を決定し、
前記手術台の運動中に前記1つ又は複数の制御点の実際の空間構成を決定し、及び
前記予想される空間構成と前記実際の空間構成との間の差を決定することにより、前記1つ又は複数の制御点の空間構成を監視する、
装置。
[実施例2]
前記1つ又は複数の関節式アーム及び対応する制御点は、器具ドラッギング(dragging)を用いて前記手術台の運動を追跡するように構成される、実施例1に記載の装置。
[実施例3]
前記制御ユニットは、前記手術台の運動前の前記1つ又は複数の制御点のラッチされた構成を決定し、且つ該ラッチされた構成に基づいて前記予想される空間構成を決定することによって、前記予想される空間構成をさらに決定する、実施例1に記載の装置。
[実施例4]
前記制御ユニットは、前記手術台に結合され、前記手術台の運動に基づいて、前記予想される空間構成を決定する、実施例3に記載の装置。
[実施例5]
前記予想される空間構成及び前記実際の空間構成は、各制御点の予想される位置及び実際の位置をそれぞれ特定する、実施例4に記載の装置。
[実施例6]
前記制御ユニットは、前記1つ又は複数の制御点のうちのいずれかの制御点の前記予想される位置と前記実際の位置との間の距離が所定の閾値よりも大きい場合に、警報をさらに発する、実施例5に記載の装置。
[実施例7]
前記所定の閾値は、臨床的に許容される距離である、実施例6に記載の装置。
[実施例8]
前記臨床的に許容される距離は、12ミリメートル(mm)である、実施例7に記載の装置。
[実施例9]
前記手術台が高さモードのみで移動するように構成される場合に、前記制御ユニットは、各制御点のラッチされた位置に垂直方向距離を加えることによって各制御点の予想される位置をさらに決定し、前記垂直方向距離は、前記高さモードのみでの前記手術台の移動距離に一致する、実施例6に記載の装置。
[実施例10]
前記1つ又は複数の関節式アームは、3つ以上の関節式アームと、対応する制御点とを含み、該制御点がコンステレーション(constellation)を形成する、実施例1に記載の装
置。
[実施例11]
前記予想される空間構成及び前記実際の空間構成は、前記コンステレーションの予想される向き、実際の向き、及びラッチされた向きを指定し、前記手術台の運動が回転を含む場合に、前記制御ユニットは、前記コンステレーションのラッチされた向きに前記回転を適用することによって前記コンステレーションの予想される向きを決定し、且つ前記コンステレーションの予想される向きと実際の向きとの間の角度が所定の閾値より大きい場合に、警報を発する、実施例10に記載の装置。
[実施例12]
前記回転は、傾斜、トレンデレンブルグ(Trendelenburg)回転、又は逆トレンデレンブルグ回転を含む、実施例11に記載の装置。
[実施例13]
前記予想される空間構成及び前記実際の空間構成は、重心基準座標フレーム内の前記コンステレーションの予想される向き、実際の向き、及びラッチされた向きを指定し、前記回転は、位置合せ変換を用いて前記重心基準座標フレームに変換される、実施例11に記載の装置。
[実施例14]
前記予想される空間構成及び前記実際の空間構成は、前記コンステレーションの予想される位置、実際の位置、及びラッチされた位置を指定し、前記手術台の運動が並進を含む場合に、前記制御ユニットは、前記コンステレーションのラッチされた位置に前記並進を適用することによって、前記コンステレーションの予想される位置を決定し、且つ前記予想される位置と前記実際の位置との間の距離が所定の閾値より大きい場合に、警報を発する、実施例10に記載の装置。
[実施例15]
前記制御点は、前記関節式アームの遠隔の運動中心に対応する、実施例1に記載の装置。
[実施例16]
前記制御ユニットは、前記1つ又は複数の関節式アームの中から1つ又は複数の不具合アームをさらに決定する、実施例1に記載の装置。
[実施例17]
前記制御ユニットは、各制御点に関連する誤差値を決定し、最大誤差値を有する前記関節式アーム又は閾値を超える誤差を有する前記1つ又は複数の関節式アームを前記1つ又は複数の不具合アームとして特定することによって、1つ又は複数の不具合アームをさらに決定する、実施例16に記載の装置。
[実施例18]
前記誤差値は、前記制御点の実際の位置と予想される位置との間の距離に対応する、実施例17に記載の装置。
[実施例19]
前記誤差値は、前記制御点の実際の経路長と予想される経路長との間の差に対応する、実施例17に記載の装置。
[実施例20]
前記手術台の運動には、並進運動及び回転運動が含まれ、前記並進運動には、スライド調整及び高さ調整の1つ又は複数が含まれ、前記回転運動には、傾斜、トレンデレンブルグ回転、及び逆トレンデレンブルグ回転の1つ又は複数が含まれる、実施例1に記載の装置。
[実施例21]
前記制御ユニットは、前記1つ又は複数の制御点の空間構成を監視しながら、前記手術台の並進運動を無視する、実施例17に記載の装置。
[実施例22]
コンピュータ支援医療装置の1つ又は複数の制御点の空間構成を監視する方法であって、当該方法は、
手術台の運動中に前記1つ又は複数の制御点の予想される空間構成を決定するステップと、
前記手術台の運動中に前記1つ又は複数の制御点の実際の空間構成を決定するステップと、
前記予想される空間構成と前記実際の空間構成との間の差を決定するステップと、を含み、
前記1つ又は複数の制御点は、1つ又は複数の関節式アームに対応し、且つ前記手術台の運動を追跡するように構成される、
方法。
[実施例23]
前記手術台の運動には、並進運動及び回転運動が含まれ、前記並進運動には、スライド調整及び高さ調整の1つ又は複数が含まれ、前記回転運動には、傾斜、トレンデレンブルグ回転、及び逆トレンデレンブルグ回転の1つ又は複数が含まれる、実施例22に記載の方法。
[実施例24]
前記1つ又は複数の制御点の空間構成の監視中に、前記手術台の並進運動が無視される、実施例23に記載の方法。
[実施例25]
前記1つ又は複数の制御点は、器具ドラッギングを用いて前記手術台の運動を追跡するように構成される、実施例22に記載の方法。
[実施例26]
前記予想される空間構成を決定するステップは、前記手術台の運動前の前記1つ又は複数の制御点のラッチされた構成を決定するステップと、該ラッチされた構成に基づいて、前記予想される空間構成を決定するステップとを含む、実施例22に記載の方法。
[実施例27]
前記予想される空間構成及び前記実際の空間構成は、各制御点の予想される位置及び実際の位置をそれぞれ指定する、実施例22に記載の方法。
[実施例28]
前記1つ又は複数の制御点のうちのいずれかの制御点の前記予想される位置と前記実際の位置との間の距離が所定の閾値より大きい場合に、警報を発するステップをさらに含む、実施例27に記載の方法。
[実施例29]
前記所定の閾値は、臨床的に許容される距離である、実施例27に記載の方法。
[実施例30]
前記手術台が高さモードのみで移動するように構成される場合に、各制御点の前記予想される位置を決定するステップは、各制御点のラッチされた位置に垂直方向距離を加えるステップを含み、該垂直方向距離は、高さモードのみでの手術台の移動距離に一致する、実施例27に記載の方法。
[実施例31]
前記1つ又は複数の関節式アームは、3つ以上の関節式アームと、対応する制御点とを含み、該制御点はコンステレーションを形成する、実施例27に記載の方法。
[実施例32]
前記予想される空間構成及び前記実際の空間構成は、前記コンステレーションの予想される向き、実際の向き、及びラッチされた向きを指定し、前記手術台の運動が回転を含む場合に、当該方法は、前記コンステレーションの前記ラッチされた向きに前記回転を適用することによって前記コンステレーションの予想される向きを決定するステップと、前記コンステレーションの前記予想される向きと前記実際の向きとの間の角度が所定の閾値より大きい場合に、警報を発するステップと、をさらに含む、実施例31に記載の方法。
[実施例33]
前記回転は、傾斜、トレンデレンブルグ回転、又は逆トレンデレンブルグ回転を含む、実施例32に記載の方法。
[実施例34]
前記予想される空間構成及び前記実際の空間構成は、重心基準座標フレーム内の前記コンステレーションの予想される向き、実際の向き、及びラッチされた向きを指定し、前記回転は、位置合せ変換を用いて前記重心基準座標フレームに変換される、実施例32に記載の方法。
[実施例35]
前記予想される空間構成及び前記実際の空間構成は、前記コンステレーションの予想される位置、実際の位置、及びラッチされた位置を指定し、前記手術台の運動が並進を含む場合に、当該方法は、前記コンステレーションの前記ラッチされた位置に前記並進を適用することによって、前記コンステレーションの予想される位置を決定するステップと、前記予想される位置と前記実際の位置との間の距離が所定の閾値より大きい場合に、警報を発するステップと、をさらに含む、実施例31に記載の方法。
[実施例36]
前記制御点は、前記関節式アームの遠隔の運動中心に対応する、実施例22に記載の方法。
[実施例37]
前記1つ又は複数の関節式アームの中から1つ又は複数の不具合アームを決定するステップをさらに含む、実施例22に記載の方法。
[実施例38]
前記1つ又は複数の不具合アームを決定するステップは、各制御点に関連する誤差値を決定するステップと、最大誤差値を有する前記関節式アーム又は閾値を超える誤差値を有する1つ又は複数の関節式アームを1つ又は複数の不具合アームとして特定するステップと、を含む、実施例37に記載の方法。
[実施例39]
前記誤差値は、前記制御点の実際の位置と予想される位置との間の距離に対応する、実施例38に記載の方法。
[実施例40]
前記誤差値は、前記制御点の実際の経路長と予想される経路長との間の差に対応する、実施例38に記載の方法。
[実施例41]
複数の機械可読命令を含む非一時的な機械可読媒体であって、前記機械可読命令は、医療装置に関連付けられた1つ又は複数のプロセッサによって実行されると、前記1つ又は複数のプロセッサに、
手術台の運動中に1つ又は複数の制御点の予想される空間構成を決定することと、
前記手術台の運動中に前記1つ又は複数の制御点の実際の空間構成を決定することと、
前記予想される空間構成と前記実際の空間構成との間の差を決定することと、の段階を実行させるように適合され、
前記1つ又は複数の制御点は、1つ又は複数の関節式アームに対応し、且つ前記手術台の運動を追跡するように構成される、
非一時的な機械可読媒体。
[実施例42]
前記手術台の運動には、並進運動及び回転運動が含まれ、前記並進運動には、スライド調整及び高さ調整の1つ又は複数が含まれ、前記回転運動には、傾斜、トレンデレンブルグ回転、又は逆トレンデレンブルグ回転の1つ又は複数が含まれる、実施例41に記載の非一時的な機械可読媒体。
[実施例43]
前記1つ又は複数の制御点の空間構成の監視中に、前記手術台の前記並進運動が無視される、実施例42に記載の非一時的な機械可読媒体。
[実施例44]
前記1つ又は複数の制御点は、器具ドラッギングを用いて前記手術台の運動を追跡するように構成される、実施例41に記載の非一時的な機械可読媒体。
[実施例45]
前記予想される空間構成を決定することは、前記手術台の運動前の前記1つ又は複数の制御点のラッチされた構成を決定することと、該ラッチされた構成に基づいて、前記予想される空間構成を決定することとを含む、実施例41に記載の非一時的な機械可読媒体。
[実施例46]
前記予想される空間構成及び前記実際の空間構成は、各制御点の予想される位置及び実際の位置をそれぞれ指定する、実施例41に記載の非一時的な機械可読媒体。
[実施例47]
前記1つ又は複数の制御点のうちのいずれかの制御点の前記予想される位置と前記実際の位置との間の距離が所定の閾値よりも大きい場合に、警報を発することをさらに含む、実施例46に記載の非一時的な機械可読媒体。
[実施例48]
前記所定の閾値は、臨床的に許容される距離である、実施例47に記載の非一時的な機械可読媒体。
[実施例49]
前記手術台が高さモードのみで移動するように構成される場合に、各制御点の前記予想される位置を決定することは、各制御点のラッチされた位置に垂直方向距離を加えることを含み、該垂直方向距離は、高さモードのみでの手術台の移動距離に一致する実施例47に記載の非一時的な機械可読媒体。
[実施例50]
前記1つ又は複数の関節式アームは、3つ以上の関節式アームと、対応する制御点とを含み、該制御点はコンステレーションを形成する、実施例41に記載の非一時的な機械可読媒体。
[実施例51]
前記予想される空間構成及び前記実際の空間構成は、前記コンステレーションの予想される向き、実際の向き、及びラッチされた向きを指定し、前記手術台の運動が回転を含む場合に、前記コンステレーションのラッチされた向きに前記回転を適用することによって前記コンステレーションの予想される向きを決定することと、前記コンステレーションの前記予想される向きと前記実際の向きとの間の角度が所定の閾値より大きい場合に、警報を発することと、をさらに含む、実施例50に記載の非一時的な機械可読媒体。
[実施例52]
前記回転は、傾斜、トレンデレンブルグ回転、又は逆トレンデレンブルグ回転を含む、実施例51に記載の非一時的な機械可読媒体。
[実施例53]
前記予想される空間構成及び実際の空間構成は、重心基準座標フレーム内の前記コンステレーションの予想される向き、実際の向き、及びラッチされた向きを指定し、前記回転は、位置合せ変換を用いて前記重心基準座標フレームに変換される、実施例51に記載の非一時的な機械可読媒体。
[実施例54]
前記予想される空間構成及び前記実際の空間構成は、前記コンステレーションの予想される位置、実際の位置、及びラッチされた位置を指定し、前記手術台の運動が並進を含む場合に、前記段階は、前記コンステレーションの前記ラッチされた位置に前記並進を適用することによって、前記コンステレーションの前記予想される位置を決定することと、前記予想される位置と前記実際の位置との間の距離が所定の閾値より大きい場合に、警報を発することと、をさらに含む、実施例50に記載の非一時的な機械可読媒体。
[実施例55]
前記制御点は、前記関節式アームの遠隔の運動中心に対応する、実施例41に記載の非一時的な機械可読媒体。
[実施例56]
前記段階は、前記1つ又は複数の関節式アームの中から1つ又は複数の不具合アームを決定することをさらに含む、実施例41に記載の非一時的な機械可読媒体。
[実施例57]
前記1つ又は複数の不具合アームを決定することは、各制御点に関連する誤差値を決定することと、最大誤差値を有する前記関節式アーム又は閾値を超える誤差値を有する前記1つ又は複数の関節式アームを1つ又は複数の不具合アームとして特定することと、を含む、実施例56に記載の非一時的な機械可読媒体。
[実施例58]
前記誤差値は、前記制御点の実際の位置と予想される位置との間の距離に対応する、実施例57に記載の非一時的な機械可読媒体。
[実施例59]
前記誤差値は、前記制御点の実際の経路長と予想される経路長との間の差に対応する、実施例57に記載の非一時的な機械可読媒体。








Claims (15)

  1. コンピュータ支援装置であって、当該コンピュータ支援装置は、
    テーブルの運動を追跡するように構成される1つ又は複数の関節式アームであって、前記テーブルは、前記1つ又は複数の関節式アームが機械的に接地される1つ又は複数のベースとは異なるベースに機械的に接地される、前記1つ又は複数の関節式アームと、
    該1つ又は複数の関節式アームに結合される制御ユニットと、を含んでおり、
    該制御ユニットは、
    前記テーブルの運動の前に、前記1つ又は複数の関節式アームに関連する複数の制御点の第1の空間構成を決定すること
    該第1の空間構成の1つ又は複数の幾何学的属性を決定することであって、該1つ又は複数の幾何学的属性の各属性は、前記複数の制御点のうちの2つ以上の制御点の間の幾何学的関係に対応し、前記1つ又は複数の幾何学的属性の各属性は、前記複数の制御点のうちの1つ又は複数の制御点が前記テーブルの運動中に移動する場合でも、変化しないことになっている、決定すること
    前記テーブルの運動中に前記複数の制御点の実際の空間構成を決定すること、
    前記第1の空間構成の前記1つ又は複数の幾何学的属性と、前記実際の空間構成の対応する1つ又は複数の幾何学的属性との差を決定すること、及び
    該差が閾値を超えることに応答して、是正措置を実行することにより、前記複数の制御点の空間構成を監視する、
    コンピュータ支援装置。
  2. 前記1つ又は複数の幾何学的属性は、
    前記複数の制御点のうちの2つの制御点の間の点間の距離、又は
    前記複数の制御点のうちの3つの制御点の間で形成される内角、又は
    前記複数の制御点から形成された制御点群の中心の周りの前記複数の制御点のうちの1つの制御点の相対位置を含む、請求項1に記載のコンピュータ支援装置。
  3. 前記1つ又は複数の幾何学的属性は、前記テーブルの運動の前の基準フレームに対する前記複数の制御点から形成される制御点群によって形成された角度の大きさを含む、請求項1に記載のコンピュータ支援装置。
  4. 前記基準フレームは、
    重心基準フレーム、又は
    ワールド座標フレーム、又は
    前記テーブルのテーブル面座標フレームである、請求項3に記載のコンピュータ支援装置。
  5. 前記基準フレームは、当該コンピュータ支援装置の動作モードに基づいて決定される、請求項3に記載のコンピュータ支援装置。
  6. 前記テーブルの運動は、前記テーブルの回転運動に対応する高さ調整、スライド調整、又は並進運動を含む、請求項1乃至5のいずれか一項に記載のコンピュータ支援装置。
  7. 前記1つ又は複数の関節式アーム及び前記複数の制御点は、器具ドラッギングを用いて前記テーブルの運動を追跡するように構成される、請求項1乃至6のいずれか一項に記載のコンピュータ支援装置。
  8. 前記是正措置を実行することには、警報を発することが含まれる、請求項1乃至7のいずれか一項に記載のコンピュータ支援装置。
  9. 前記複数の制御点のうちの少なくとも1つの制御点が、
    前記1つ又は複数の関節式アームの遠隔の運動中心、或いは
    身体開口部、身体オリフィス、切開部位、又は当該コンピュータ支援装置によって支持される器具が挿入される位置に対応する、請求項1乃至8のいずれか一項に記載のコンピュータ支援装置。
  10. 前記制御ユニットは、さらに、
    前記複数の制御点の各制御点に関連する誤差値を決定し、且つ
    最大誤差値又は閾値を超える誤差値を有する前記1つ又は複数の関節式アームのうちの関節式アームを不具合アームとして特定する、請求項1乃至9のいずれか一項に記載のコンピュータ支援装置。
  11. 1つ又は複数の関節式アームを含むコンピュータ支援装置の複数の制御点の空間構成を監視する方法であって、当該方法は、
    前記コンピュータ支援装置の制御ユニットを用いて、テーブルの運動前に、前記複数の制御点の第1の空間構成を決定するステップであって、前記テーブルは、1つ又は複数の関節式アームが機械的に接地される1つ又は複数のベースとは異なるベースに機械的に接地される、前記決定するステップと、
    前記制御ユニットを用いて、前記第1の空間構成の1つ又は複数の幾何学的属性を決定するステップであって、該1つ又は複数の幾何学的属性の各属性は、前記複数の制御点のうちの2つ以上の制御点の間の幾何学的関係に対応し、前記1つ又は複数の幾何学的属性の各属性は、前記複数の制御点のうちの1つ又は複数の制御点が前記テーブルの運動中に移動する場合でも、変化しないことになっている、決定するステップと、
    前記制御ユニットを用いて、前記テーブルの運動中に前記複数の制御点の実際の空間構成を決定するステップと、
    前記制御ユニットを用いて、前記第1の空間構成の前記1つ又は複数の幾何学的属性と、前記実際の空間構成の対応する1つ又は複数の幾何学的属性との差を決定するステップと、
    該差が閾値を超えることに応答して、是正措置を実行するステップと、を含む、
    方法。
  12. 前記1つ又は複数の幾何学的属性は、
    前記複数の制御点のうちの2つの制御点の間の点間の距離、又は
    前記複数の制御点のうちの3つの制御点の間で形成される内角、又は
    前記複数の制御点から形成された制御点群の中心の周りの前記複数の制御点のうちの1つの制御点の相対位置を含む、請求項11に記載の方法。
  13. 前記1つ又は複数の幾何学的属性は、前記テーブルの運動前の基準フレームに対する前記複数の制御点から形成される制御点群によって形成された角度の大きさを含み、
    前記基準フレームは、
    重心基準フレーム、又は
    ワールド座標フレーム、又は
    前記テーブルのテーブル面座標フレームであり、或いは
    前記基準フレームは、前記コンピュータ支援装置の動作モードに基づいて決定される、請求項11に記載の方法。
  14. 前記是正措置を実行するステップには、警報を発するステップまれる、請求項11乃至13のいずれか一項に記載の方法。
  15. 前記複数の制御点の各制御点に関連する誤差値を決定するステップと、
    最大誤差値又は閾値を超える誤差値を有する前記コンピュータ支援装置の関節式アームを不具合アームとして特定するステップと、をさらに含む、請求項11乃至14のいずれか一項に記載の方法。
JP2020028938A 2014-10-27 2020-02-25 反応動作中に制御点を監視するためのシステム及び方法 Active JP7127077B2 (ja)

Priority Applications (1)

Application Number Priority Date Filing Date Title
JP2022129827A JP7309984B2 (ja) 2014-10-27 2022-08-17 反応動作中に制御点を監視するためのシステム及び方法

Applications Claiming Priority (4)

Application Number Priority Date Filing Date Title
US201462069245P 2014-10-27 2014-10-27
US62/069,245 2014-10-27
US201562134252P 2015-03-17 2015-03-17
US62/134,252 2015-03-17

Related Parent Applications (1)

Application Number Title Priority Date Filing Date
JP2017508666A Division JP6689256B2 (ja) 2014-10-27 2015-10-27 反応動作中に制御点を監視するためのシステム及び方法

Related Child Applications (1)

Application Number Title Priority Date Filing Date
JP2022129827A Division JP7309984B2 (ja) 2014-10-27 2022-08-17 反応動作中に制御点を監視するためのシステム及び方法

Publications (2)

Publication Number Publication Date
JP2020078586A JP2020078586A (ja) 2020-05-28
JP7127077B2 true JP7127077B2 (ja) 2022-08-29

Family

ID=55858278

Family Applications (3)

Application Number Title Priority Date Filing Date
JP2017508666A Active JP6689256B2 (ja) 2014-10-27 2015-10-27 反応動作中に制御点を監視するためのシステム及び方法
JP2020028938A Active JP7127077B2 (ja) 2014-10-27 2020-02-25 反応動作中に制御点を監視するためのシステム及び方法
JP2022129827A Active JP7309984B2 (ja) 2014-10-27 2022-08-17 反応動作中に制御点を監視するためのシステム及び方法

Family Applications Before (1)

Application Number Title Priority Date Filing Date
JP2017508666A Active JP6689256B2 (ja) 2014-10-27 2015-10-27 反応動作中に制御点を監視するためのシステム及び方法

Family Applications After (1)

Application Number Title Priority Date Filing Date
JP2022129827A Active JP7309984B2 (ja) 2014-10-27 2022-08-17 反応動作中に制御点を監視するためのシステム及び方法

Country Status (6)

Country Link
US (6) US10682190B2 (ja)
EP (2) EP3212105B1 (ja)
JP (3) JP6689256B2 (ja)
KR (3) KR102479287B1 (ja)
CN (2) CN107072728B (ja)
WO (1) WO2016069660A1 (ja)

Families Citing this family (49)

* Cited by examiner, † Cited by third party
Publication number Priority date Publication date Assignee Title
US20140005640A1 (en) 2012-06-28 2014-01-02 Ethicon Endo-Surgery, Inc. Surgical end effector jaw and electrode configurations
EP3212105B1 (en) 2014-10-27 2025-09-24 Intuitive Surgical Operations, Inc. System for monitoring control points during reactive motion
KR102460203B1 (ko) 2014-10-27 2022-10-31 인튜어티브 서지컬 오퍼레이션즈 인코포레이티드 통합 수술 테이블 아이콘을 위한 시스템 및 방법
CN107072864B (zh) 2014-10-27 2019-06-14 直观外科手术操作公司 用于配准到手术台的系统及方法
EP3212107B1 (en) 2014-10-27 2025-04-09 Intuitive Surgical Operations, Inc. Medical device with active brake release control
EP3741345A1 (en) 2014-10-27 2020-11-25 Intuitive Surgical Operations, Inc. System for integrated surgical table motion
WO2016069659A1 (en) 2014-10-27 2016-05-06 Intuitive Surgical Operations, Inc. System and method for instrument disturbance compensation
US10226306B2 (en) 2014-10-27 2019-03-12 Intuitive Surgical Operations, Inc. System and method for integrated surgical table
WO2016069989A1 (en) * 2014-10-30 2016-05-06 Intuitive Surgical Operations, Inc. System and method for an articulated arm based tool guide
JP6749930B2 (ja) * 2015-03-11 2020-09-02 コヴィディエン リミテッド パートナーシップ 外科用ロボットカート不動化装置
DE102015109371A1 (de) * 2015-06-12 2016-12-15 avateramedical GmBH Vorrichtung und Verfahren zur robotergestützten Chirurgie
US11266377B2 (en) * 2016-05-17 2022-03-08 Canon Medical Systems Corporation Support apparatus and support method
DE102016122939A1 (de) * 2016-11-28 2018-05-30 MAQUET GmbH Medizinische Vorrichtung und Verfahren zur Ansteuerung von Aktuatoren in einer medizinischen Vorrichtung
US20190365489A1 (en) * 2017-02-28 2019-12-05 Sony Corporation Medical support arm system and control device
CN108186120B (zh) * 2017-12-27 2020-12-04 微创(上海)医疗机器人有限公司 手术机器人终端
GB2608751B (en) 2018-10-03 2023-06-14 Cmr Surgical Ltd Methods and systems for providing assistance to a user of a surgical robot system
NL2022662B1 (en) * 2019-03-01 2020-09-15 Ihb B V Improved suspension system and brake device and rotation limiting device for use in the suspension system
US12016646B2 (en) * 2019-03-12 2024-06-25 Intuitive Surgical Operations, Inc. Layered functionality for a user input mechanism in a computer-assisted surgical system
CN109893242B (zh) * 2019-04-12 2020-08-25 深圳市是源医学科技有限公司 冷热射频深部温热仪
EP3972518A4 (en) * 2019-05-22 2023-10-11 Covidien LP SURGICAL ROBOTIC ARMS STORAGE ASSEMBLIES AND METHODS OF REPLACING SURGICAL ROBOTIC ARMS USING THE STORAGE ASSEMBLIES
US11413102B2 (en) 2019-06-27 2022-08-16 Cilag Gmbh International Multi-access port for surgical robotic systems
US11612445B2 (en) * 2019-06-27 2023-03-28 Cilag Gmbh International Cooperative operation of robotic arms
US11399906B2 (en) 2019-06-27 2022-08-02 Cilag Gmbh International Robotic surgical system for controlling close operation of end-effectors
US11723729B2 (en) 2019-06-27 2023-08-15 Cilag Gmbh International Robotic surgical assembly coupling safety mechanisms
US11376082B2 (en) 2019-06-27 2022-07-05 Cilag Gmbh International Robotic surgical system with local sensing of functional parameters based on measurements of multiple physical inputs
US11547468B2 (en) 2019-06-27 2023-01-10 Cilag Gmbh International Robotic surgical system with safety and cooperative sensing control
US11607278B2 (en) 2019-06-27 2023-03-21 Cilag Gmbh International Cooperative robotic surgical systems
US20210038330A1 (en) * 2019-07-17 2021-02-11 Transenterix Surgical, Inc. Method and apparatus for optimizing range of motion of two robotic arms in a robotic surgical system
CN114375182A (zh) * 2019-09-10 2022-04-19 奥瑞斯健康公司 用于使用共享机器人自由度进行运动学优化的系统和方法
WO2021059099A1 (en) 2019-09-26 2021-04-01 Auris Health, Inc. Systems and methods for collision detection and avoidance
US12324645B2 (en) 2019-09-26 2025-06-10 Auris Health, Inc. Systems and methods for collision avoidance using object models
CN114521131A (zh) * 2020-01-06 2022-05-20 直观外科手术操作公司 用于臂间配准的系统和方法
WO2021198801A1 (en) 2020-03-30 2021-10-07 Auris Health, Inc. Workspace optimization for robotic surgery
WO2021220764A1 (ja) 2020-04-27 2021-11-04 株式会社荏原製作所 センサ認証登録システム、データ収集システム及びデータ収集方法
WO2022003485A1 (en) 2020-06-29 2022-01-06 Auris Health, Inc. Systems and methods for detecting contact between a link and an external object
US11357586B2 (en) 2020-06-30 2022-06-14 Auris Health, Inc. Systems and methods for saturated robotic movement
US11931901B2 (en) 2020-06-30 2024-03-19 Auris Health, Inc. Robotic medical system with collision proximity indicators
CN111844005B (zh) * 2020-07-08 2022-06-28 哈尔滨工业大学 一种应用于隧道湿喷的2r-p-2r-p-2r机械臂运动规划方法
CN116322550A (zh) * 2020-09-30 2023-06-23 奥瑞斯健康公司 机器人外科手术中用于术中患者定位的引导协调式床运动
EP4000575A1 (en) * 2020-11-19 2022-05-25 TRUMPF Medizin Systeme GmbH + Co. KG Surgical table and method for controlling a surgical table
CN115317130B (zh) * 2021-05-10 2025-09-09 上海微创医疗机器人(集团)股份有限公司 手术机器人系统、调整系统和存储介质
CN115429440A (zh) * 2021-06-02 2022-12-06 上海微创医疗机器人(集团)股份有限公司 术中不动点的调整方法、可读存储介质及手术机器人系统
US12358136B2 (en) 2021-06-30 2025-07-15 Cilag Gmbh International Grasping work determination and indications thereof
US11974829B2 (en) 2021-06-30 2024-05-07 Cilag Gmbh International Link-driven articulation device for a surgical device
US11931026B2 (en) 2021-06-30 2024-03-19 Cilag Gmbh International Staple cartridge replacement
US20230210606A1 (en) * 2021-12-30 2023-07-06 Asensus Surgical Us, Inc. Detection of surgical table movement for coordinating motion with robotic manipulators
JP2024036816A (ja) * 2022-09-06 2024-03-18 川崎重工業株式会社 手術支援システムおよび操作装置の制御方法
US12447618B2 (en) * 2022-12-21 2025-10-21 Intuitive Surgical Operations, Inc. Techniques for constraining motion of a drivable assembly
WO2024224310A1 (en) * 2023-04-26 2024-10-31 Medtronic Navigation, Inc. Surgical cart with robotic arm

Citations (5)

* Cited by examiner, † Cited by third party
Publication number Priority date Publication date Assignee Title
JP2004223128A (ja) 2003-01-27 2004-08-12 Hitachi Ltd 医療行為支援装置および方法
JP2009537230A (ja) 2006-05-19 2009-10-29 マコ サージカル コーポレーション 外科装置の較正を検証するためのシステムおよび方法
WO2010068005A2 (en) 2008-12-12 2010-06-17 Rebo Surgical robot
US20120029694A1 (en) 2010-08-02 2012-02-02 Kuka Laboratories Gmbh Medical Work Station
US20130085510A1 (en) 2011-09-30 2013-04-04 Ethicon Endo-Surgery, Inc. Robot-mounted surgical tables

Family Cites Families (237)

* Cited by examiner, † Cited by third party
Publication number Priority date Publication date Assignee Title
DE3046156C2 (de) 1980-12-06 1983-01-13 Kuka Schweissanlagen + Roboter Gmbh, 8900 Augsburg Betätigungsvorrichtung für Scheibenbremsen
DE3119577A1 (de) 1981-05-16 1982-12-02 Schmitz & Söhne GmbH & Co KG, 5757 Wickede Operationstisch mit hydraulisch bewegbaren tischelementen
US4456961A (en) 1982-03-05 1984-06-26 Texas Instruments Incorporated Apparatus for teaching and transforming noncoincident coordinate systems
JPS59108691A (ja) 1982-12-13 1984-06-23 株式会社日立製作所 バランサ制御方式
DE3312862A1 (de) 1983-04-09 1984-10-11 Blohm + Voss Ag, 2000 Hamburg Freiprogrammierbare, mehrachsige betaetigungsarmeinheit, insbesondere industrieroboter
EP0220501B1 (de) 1985-10-09 1989-05-31 Siemens Aktiengesellschaft Röntgendiagnostikanlage mit durch eine Steuervorrichtung verstellbaren Anlagenkomponenten
SE464855B (sv) 1986-09-29 1991-06-24 Asea Ab Foerfarande vid en industrirobot foer kalibrering av en sensor
US4991579A (en) 1987-11-10 1991-02-12 Allen George S Method and apparatus for providing related images over time of a portion of the anatomy using fiducial implants
JPH01252389A (ja) 1988-03-31 1989-10-09 Agency Of Ind Science & Technol マニピュレータ及びその制御方法
JPH02178708A (ja) 1988-12-28 1990-07-11 Fanuc Ltd 重力軸のブレーキ制御方式
US5222499A (en) 1989-11-15 1993-06-29 Allen George S Method and apparatus for imaging the anatomy
US5279309A (en) 1991-06-13 1994-01-18 International Business Machines Corporation Signaling device and method for monitoring positions in a surgical operation
JPH05138583A (ja) 1991-11-19 1993-06-01 Nachi Fujikoshi Corp 産業用ロボツトのアーム落下防止装置
US5657429A (en) 1992-08-10 1997-08-12 Computer Motion, Inc. Automated endoscope system optimal positioning
US5524180A (en) 1992-08-10 1996-06-04 Computer Motion, Inc. Automated endoscope system for optimal positioning
US7074179B2 (en) 1992-08-10 2006-07-11 Intuitive Surgical Inc Method and apparatus for performing minimally invasive cardiac procedures
US5397323A (en) 1992-10-30 1995-03-14 International Business Machines Corporation Remote center-of-motion robot for surgery
JP3070329B2 (ja) 1993-03-31 2000-07-31 松下電器産業株式会社 産業用ロボットシステム
US5876325A (en) 1993-11-02 1999-03-02 Olympus Optical Co., Ltd. Surgical manipulation system
JP3540362B2 (ja) 1994-06-14 2004-07-07 オリンパス株式会社 手術用マニピュレータの制御システム及びその制御方法
JP3300144B2 (ja) 1993-12-28 2002-07-08 株式会社神戸製鋼所 多軸ロボットのウィービング制御方法
DE4412605B4 (de) 1994-04-13 2005-10-20 Zeiss Carl Verfahren zum Betrieb eines stereotaktischen Adapters
US6120433A (en) 1994-09-01 2000-09-19 Olympus Optical Co., Ltd. Surgical manipulator system
US5784542A (en) 1995-09-07 1998-07-21 California Institute Of Technology Decoupled six degree-of-freedom teleoperated robot system
EP1418026A1 (en) 1995-09-11 2004-05-12 Kabushiki Kaisha Yaskawa Denki Control apparatus for robot
JPH09254079A (ja) 1996-03-22 1997-09-30 Yaskawa Electric Corp ロボットの制御装置
JPH09300264A (ja) 1996-05-20 1997-11-25 Nippon Telegr & Teleph Corp <Ntt> ロボット制御装置
JP3442941B2 (ja) 1996-09-30 2003-09-02 株式会社東芝 ロボットの振動抑制制御装置およびその制御方法
DE69816645T2 (de) 1997-11-07 2004-04-15 Hill-Rom Services, Inc., Batesville Thermisches regelungssystem für patienten
US6035228A (en) 1997-11-28 2000-03-07 Picker International, Inc. Frameless stereotactic arm apparatus and method of using same
JPH11226062A (ja) 1998-02-18 1999-08-24 Seishiro Yoshihara 柔軟ロボットアーム
US6146200A (en) 1998-06-04 2000-11-14 Sumitomo Wiring Systems, Ltd. Connector and a cap therefor
EP1109497B1 (en) 1998-08-04 2009-05-06 Intuitive Surgical, Inc. Manipulator positioning linkage for robotic surgery
JP4083316B2 (ja) 1998-10-01 2008-04-30 オリンパス株式会社 手術用顕微鏡
US6659939B2 (en) 1998-11-20 2003-12-09 Intuitive Surgical, Inc. Cooperative minimally invasive telesurgical system
US6200024B1 (en) * 1998-11-27 2001-03-13 Picker International, Inc. Virtual C-arm robotic positioning system for use in radiographic imaging equipment
US6424885B1 (en) 1999-04-07 2002-07-23 Intuitive Surgical, Inc. Camera referenced control in a minimally invasive surgical apparatus
JP2000300579A (ja) 1999-04-26 2000-10-31 Olympus Optical Co Ltd 多機能マニピュレータ
US6788018B1 (en) 1999-08-03 2004-09-07 Intuitive Surgical, Inc. Ceiling and floor mounted surgical robot set-up arms
US9510911B2 (en) 1999-09-17 2016-12-06 Intuitive Surgical Operations, Inc. System and methods for managing multiple null-space objectives and SLI behaviors
US8004229B2 (en) 2005-05-19 2011-08-23 Intuitive Surgical Operations, Inc. Software center and highly configurable robotic systems for surgery and other uses
US8271130B2 (en) 2009-03-09 2012-09-18 Intuitive Surgical Operations, Inc. Master controller having redundant degrees of freedom and added forces to create internal motion
US7594912B2 (en) 2004-09-30 2009-09-29 Intuitive Surgical, Inc. Offset remote center manipulator for robotic surgery
US9517106B2 (en) 1999-09-17 2016-12-13 Intuitive Surgical Operations, Inc. Systems and methods for commanded reconfiguration of a surgical manipulator using the null-space
US9468501B2 (en) 1999-09-17 2016-10-18 Intuitive Surgical Operations, Inc. Systems and methods for using the null space to emphasize manipulator joint motion anisotropically
US6471167B1 (en) 2000-03-31 2002-10-29 Poly Vac, Inc. Surgical tray support system
EP1152182B1 (de) 2000-04-25 2006-01-11 Möller-Wedel GmbH Stativ mit einem Operationsmikroskop
ATE443485T1 (de) 2000-08-08 2009-10-15 Warsaw Orthopedic Inc Gerät zur stereotaktischen implantation
FR2819173B1 (fr) 2001-01-09 2003-04-11 Alm Table d'operation motorisee a mulitples sections
JP3808321B2 (ja) 2001-04-16 2006-08-09 ファナック株式会社 ロボット制御装置
JP4285926B2 (ja) 2001-05-22 2009-06-24 オリンパス株式会社 手術機器保持装置
US20060178556A1 (en) 2001-06-29 2006-08-10 Intuitive Surgical, Inc. Articulate and swapable endoscope for a surgical robot
JP3616759B2 (ja) 2001-10-19 2005-02-02 ファナック株式会社 重力軸の落下を防止するサーボモータ制御装置
US8010180B2 (en) 2002-03-06 2011-08-30 Mako Surgical Corp. Haptic guidance system and method
US20070185376A1 (en) 2002-03-11 2007-08-09 Wilson Roger F System and method for positioning a laparoscopic device
JP2003299674A (ja) 2002-04-12 2003-10-21 Masasuke Shiraishi 手術台装置
DE10296748T5 (de) 2002-04-12 2005-06-02 Mitsubishi Denki K.K. Roboter
WO2004014244A2 (en) 2002-08-13 2004-02-19 Microbotics Corporation Microsurgical robot system
DE10249786A1 (de) 2002-10-24 2004-05-13 Medical Intelligence Medizintechnik Gmbh Referenzierung eines Roboters zu einem Werkstück und Vorrichtung hierfür
JP4270889B2 (ja) 2003-01-15 2009-06-03 オリンパス株式会社 医療用器具保持装置
JP2004216022A (ja) 2003-01-17 2004-08-05 Mizuho Co Ltd 手術台
US20110015521A1 (en) * 2003-03-27 2011-01-20 Boulder Innovation Group, Inc. Means of Tracking Movement of Bodies During Medical Treatment
JP2004358239A (ja) 2003-05-15 2004-12-24 Olympus Corp 医療器具保持装置
US9002518B2 (en) 2003-06-30 2015-04-07 Intuitive Surgical Operations, Inc. Maximum torque driving of robotic surgical tools in robotic surgical systems
US8160205B2 (en) 2004-04-06 2012-04-17 Accuray Incorporated Robotic arm for patient positioning assembly
US7860550B2 (en) 2004-04-06 2010-12-28 Accuray, Inc. Patient positioning assembly
CA2513202C (en) 2004-07-23 2015-03-31 Mehran Anvari Multi-purpose robotic operating system and method
US9072535B2 (en) 2011-05-27 2015-07-07 Ethicon Endo-Surgery, Inc. Surgical stapling instruments with rotatable staple deployment arrangements
US20060025668A1 (en) 2004-08-02 2006-02-02 Peterson Thomas H Operating table with embedded tracking technology
US8413271B2 (en) 2004-10-29 2013-04-09 Stryker Corporation Patient support apparatus
WO2006069288A2 (en) 2004-12-20 2006-06-29 Williams Gilbert J Overhead mount for a medical robot for use with medical scanning equipment
US7837674B2 (en) 2005-01-24 2010-11-23 Intuitive Surgical Operations, Inc. Compact counter balance for robotic surgical systems
US7763015B2 (en) 2005-01-24 2010-07-27 Intuitive Surgical Operations, Inc. Modular manipulator support for robotic surgery
JP2008538184A (ja) 2005-02-22 2008-10-16 マコ サージカル コーポレーション 触覚誘導システムおよび方法
US9265679B2 (en) 2005-02-22 2016-02-23 Roger P Jackson Cantilevered patient positioning support structure
US20140033434A1 (en) 2005-02-22 2014-02-06 Roger P. Jackson Cantilevered patient positioning support structure
JP2006263894A (ja) 2005-03-25 2006-10-05 Seiko Epson Corp 多関節ロボットのモータブレーキ解除装置
US7516924B2 (en) 2005-03-28 2009-04-14 Compview Corporation Articulated boom for positioning video and medical equipment in hospital operating rooms
CN101222889A (zh) * 2005-05-12 2008-07-16 Om外科手术(Uk)有限公司 用于确保正确插入人造髋关节的系统、方法和器械
GB0516276D0 (en) * 2005-08-08 2005-09-14 Crampton Stephen Robust cmm arm with exoskeleton
CN101299982B (zh) 2005-08-10 2013-10-23 瑞穗整形外科系统公司 具有受控移动的医疗台及其使用方法
JP4053557B2 (ja) 2005-10-07 2008-02-27 ファナック株式会社 サーボモータ停止制御方法及びサーボモータ制御装置
DE102005054230A1 (de) 2005-11-14 2007-05-24 Maquet Gmbh & Co. Kg Verfahren und Einrichtung zur bidirektionalen IR-Datenübertragung zwischen einem Operationstisch und einem Bediengerät
US7741802B2 (en) 2005-12-20 2010-06-22 Intuitive Surgical Operations, Inc. Medical robotic system with programmably controlled constraints on error dynamics
CN100464720C (zh) 2005-12-22 2009-03-04 天津市华志计算机应用技术有限公司 基于光学跟踪闭环控制的脑外科机器人系统及实现方法
EP1815950A1 (en) 2006-02-03 2007-08-08 The European Atomic Energy Community (EURATOM), represented by the European Commission Robotic surgical system for performing minimally invasive medical procedures
EP1815949A1 (en) 2006-02-03 2007-08-08 The European Atomic Energy Community (EURATOM), represented by the European Commission Medical robotic system with manipulator arm of the cylindrical coordinate type
US8219178B2 (en) * 2007-02-16 2012-07-10 Catholic Healthcare West Method and system for performing invasive medical procedures using a surgical robot
US9782229B2 (en) 2007-02-16 2017-10-10 Globus Medical, Inc. Surgical robot platform
CN100478142C (zh) 2006-04-05 2009-04-15 中国科学院自动化研究所 一种移动机器人的位姿传感系统及其方法
FR2899460B1 (fr) 2006-04-10 2008-07-11 Steris Surgical Technologies S Dispositif de guidage pour table motorise comprenant une unite de regroupement de commandes de la table
DE602006007823D1 (de) 2006-05-16 2009-08-27 Abb Ab Steuersystem für einen Industrieroboter
NL1031827C2 (nl) 2006-05-17 2007-11-20 Univ Eindhoven Tech Operatierobot.
FR2901122B1 (fr) 2006-05-18 2008-08-22 Steris Surgical Technologies Sas Dispositif de guidage pour table d'operation comprenant des bras de guidage aptes a etre fixes de maniere amovible sur ladite table, et table d'operation comportant de tels bras de guidage
JP4953282B2 (ja) 2006-05-18 2012-06-13 株式会社ニデック 眼科用手術支援装置
EP2030169B1 (en) 2006-05-24 2018-12-19 Koninklijke Philips N.V. Coordinate system registration
CN2910169Y (zh) 2006-05-24 2007-06-13 上海健医实业有限公司 自动手术台
WO2007146984A2 (en) 2006-06-13 2007-12-21 Intuitive Surgical, Inc. Control system configured to compensate for non-ideal actuator-to-joint linkage characteristics in a medical robotic system
US9549663B2 (en) 2006-06-13 2017-01-24 Intuitive Surgical Operations, Inc. Teleoperated surgical retractor system
US8551076B2 (en) 2006-06-13 2013-10-08 Intuitive Surgical Operations, Inc. Retrograde instrument
US20090192523A1 (en) 2006-06-29 2009-07-30 Intuitive Surgical, Inc. Synthetic representation of a surgical instrument
US10008017B2 (en) 2006-06-29 2018-06-26 Intuitive Surgical Operations, Inc. Rendering tool information as graphic overlays on displayed images of tools
US9718190B2 (en) 2006-06-29 2017-08-01 Intuitive Surgical Operations, Inc. Tool position and identification indicator displayed in a boundary area of a computer display screen
ES2298051B2 (es) 2006-07-28 2009-03-16 Universidad De Malaga Sistema robotico de asistencia a la cirugia minimamente invasiva capaz de posicionar un instrumento quirurgico en respueta a las ordenes de un cirujano sin fijacion a la mesa de operaciones ni calibracion previa del punto de insercion.
US20080125649A1 (en) 2006-09-18 2008-05-29 Andreas Meyer Automatic object tracking in a region of interest
EP1915963A1 (en) 2006-10-25 2008-04-30 The European Atomic Energy Community (EURATOM), represented by the European Commission Force estimation for a minimally invasive robotic surgery system
US7954682B2 (en) 2007-01-10 2011-06-07 Ethicon Endo-Surgery, Inc. Surgical instrument with elements to communicate between control unit and end effector
SG178722A1 (en) 2007-02-23 2012-03-29 Intest Corp Test head manipulator
EP1974870A1 (en) 2007-03-30 2008-10-01 Abb Research Ltd. An industrial robot having a plurality of independently controlled electromagnetic brakes
JP4505618B2 (ja) 2007-04-11 2010-07-21 株式会社日立製作所 マニピュレータ装置
US20130338679A1 (en) 2007-05-04 2013-12-19 Technische Universiteit Eindhoven Surgical Robot
CN101049248A (zh) 2007-05-18 2007-10-10 西安工业大学 光磁电复合导航手术定位装置和方法
JP2008307618A (ja) 2007-06-12 2008-12-25 Denso Wave Inc ロボットの制御装置
US9138129B2 (en) 2007-06-13 2015-09-22 Intuitive Surgical Operations, Inc. Method and system for moving a plurality of articulated instruments in tandem back towards an entry guide
US8620473B2 (en) 2007-06-13 2013-12-31 Intuitive Surgical Operations, Inc. Medical robotic system with coupled control modes
US9469034B2 (en) 2007-06-13 2016-10-18 Intuitive Surgical Operations, Inc. Method and system for switching modes of a robotic system
US9084623B2 (en) 2009-08-15 2015-07-21 Intuitive Surgical Operations, Inc. Controller assisted reconfiguration of an articulated instrument during movement into and out of an entry guide
US9532848B2 (en) 2007-06-15 2017-01-03 Othosoft, Inc. Computer-assisted surgery system and method
FR2920376B1 (fr) 2007-08-31 2009-12-18 Renault Sas Systeme de commande du desserrage d'un dispositif de frein de parking automatique, embarque a bord d'un vehicule automobile
CN201082167Y (zh) 2007-09-17 2008-07-09 刘衍民 手术台上方全方位旋转摄像装置
US8224484B2 (en) 2007-09-30 2012-07-17 Intuitive Surgical Operations, Inc. Methods of user interface with alternate tool mode for robotic surgical tools
JP5365524B2 (ja) 2007-12-07 2013-12-11 株式会社安川電機 ロボット動作規制方法およびロボットシステム
US8400094B2 (en) * 2007-12-21 2013-03-19 Intuitive Surgical Operations, Inc. Robotic surgical system with patient support
KR100961428B1 (ko) * 2008-02-20 2010-06-09 (주)미래컴퍼니 침대 일체형 수술용 로봇
JP4508246B2 (ja) 2008-02-21 2010-07-21 株式会社デンソーウェーブ ロボットの電磁ブレーキ制御装置およびロボットの電磁ブレーキの異常判定方法
JP4443615B2 (ja) 2008-02-27 2010-03-31 トヨタ自動車株式会社 パワーアシスト装置及びその制御方法
DE102008019345A1 (de) * 2008-04-17 2009-10-22 Kuka Roboter Gmbh Röntgenvorrichtung und medizinischer Arbeitsplatz
KR101429671B1 (ko) 2008-04-18 2014-08-13 피렐리 타이어 소시에떼 퍼 아찌오니 타이어 조립방법 및 기기
JP4508263B2 (ja) 2008-04-24 2010-07-21 トヨタ自動車株式会社 パワーアシスト装置およびその制御方法
US7720322B2 (en) 2008-06-30 2010-05-18 Intuitive Surgical, Inc. Fiber optic shape sensor
CN100577125C (zh) 2008-08-06 2010-01-06 北京航空航天大学 长骨骨折牵引复位导航装置
EP2323578B1 (en) 2008-08-18 2018-10-03 Encision, Inc. Enhanced control systems including flexible shielding and support systems for electrosurgical applications
DE102008041866B3 (de) 2008-09-08 2010-04-29 Deutsches Zentrum für Luft- und Raumfahrt e.V. Verfahren zum Überprüfen einer Bremse eines Roboters
WO2010044852A2 (en) 2008-10-14 2010-04-22 University Of Florida Research Foundation, Inc. Imaging platform to provide integrated navigation capabilities for surgical guidance
US9138891B2 (en) 2008-11-25 2015-09-22 Intouch Technologies, Inc. Server connectivity control for tele-presence robot
US8483800B2 (en) 2008-11-29 2013-07-09 General Electric Company Surgical navigation enabled imaging table environment
KR101061987B1 (ko) 2008-12-12 2011-09-05 주식회사 이턴 침대 장착식 수술용 로봇
US8641621B2 (en) * 2009-02-17 2014-02-04 Inneroptic Technology, Inc. Systems, methods, apparatuses, and computer-readable media for image management in image-guided medical procedures
JP2010194101A (ja) 2009-02-25 2010-09-09 Hitachi Medical Corp 手術管理システム
US8423182B2 (en) 2009-03-09 2013-04-16 Intuitive Surgical Operations, Inc. Adaptable integrated energy control system for electrosurgical tools in robotic surgical systems
US8418073B2 (en) 2009-03-09 2013-04-09 Intuitive Surgical Operations, Inc. User interfaces for electrosurgical tools in robotic surgical systems
US9492927B2 (en) 2009-08-15 2016-11-15 Intuitive Surgical Operations, Inc. Application of force feedback on an input device to urge its operator to command an articulated instrument to a preferred pose
US8918211B2 (en) 2010-02-12 2014-12-23 Intuitive Surgical Operations, Inc. Medical robotic system providing sensory feedback indicating a difference between a commanded state and a preferred pose of an articulated instrument
US8545515B2 (en) 2009-09-23 2013-10-01 Intuitive Surgical Operations, Inc. Curved cannula surgical system
US8521331B2 (en) 2009-11-13 2013-08-27 Intuitive Surgical Operations, Inc. Patient-side surgeon interface for a minimally invasive, teleoperated surgical instrument
DE102009047219A1 (de) 2009-11-27 2011-06-01 Robert Bosch Gmbh Verfahren und Vorrichtung zum Betreiben eines Verbrennungsmotors
WO2011109041A1 (en) 2010-03-04 2011-09-09 Mako Surgical Corp. System with brake to limit manual movement of member and control system for same
JP5454499B2 (ja) 2010-03-19 2014-03-26 株式会社デンソーウェーブ ロボットシステム
US8746252B2 (en) 2010-05-14 2014-06-10 Intuitive Surgical Operations, Inc. Surgical system sterile drape
US8621954B1 (en) 2010-06-04 2014-01-07 University Of Washington Through Its Center For Commercialization Systems and methods for gravity compensation
US8141558B2 (en) 2010-06-16 2012-03-27 Biosense Webster (Israel), Ltd. Position dependent interference cancellation
JP2012005557A (ja) 2010-06-23 2012-01-12 Terumo Corp 医療用ロボットシステム
DE102010027248A1 (de) 2010-07-15 2012-01-19 Sensodrive Gmbh Haltevorrichtung für ein Instrument
US20120071894A1 (en) 2010-09-17 2012-03-22 Tanner Neal A Robotic medical systems and methods
WO2012045529A1 (en) 2010-10-07 2012-04-12 International Business Machines Corporation Raid array transformation
KR101598773B1 (ko) * 2010-10-21 2016-03-15 (주)미래컴퍼니 수술용 로봇의 움직임 제어/보상 방법 및 장치
US9101379B2 (en) 2010-11-12 2015-08-11 Intuitive Surgical Operations, Inc. Tension control in actuation of multi-joint medical instruments
DE102010051633A1 (de) 2010-11-17 2012-05-24 Ondal Medical Systems Gmbh Tragesystem mit Bedienungshilfe
US9119655B2 (en) * 2012-08-03 2015-09-01 Stryker Corporation Surgical manipulator capable of controlling a surgical instrument in multiple modes
US8584281B2 (en) 2011-04-07 2013-11-19 Mizuho Orthopedic Systems, Inc Surgery table having coordinated motion
US20150113733A1 (en) 2011-04-07 2015-04-30 Mark Diel Surgery table having coordinated motion
US10575797B2 (en) 2011-05-12 2020-03-03 The Johns Hopkins University Electromagnetic tracking system and methods of using same
US9259289B2 (en) 2011-05-13 2016-02-16 Intuitive Surgical Operations, Inc. Estimation of a position and orientation of a frame used in controlling movement of a tool
JP5754707B2 (ja) 2011-05-20 2015-07-29 国立大学法人東京工業大学 松葉杖形歩行支援機械
CN102429726A (zh) 2011-08-03 2012-05-02 哈尔滨工业大学 基于图像导航的并联机器人辅助人工颈椎间盘置换手术定位方法
US9918681B2 (en) 2011-09-16 2018-03-20 Auris Surgical Robotics, Inc. System and method for virtually tracking a surgical tool on a movable display
US8986228B2 (en) 2011-09-19 2015-03-24 Trimanus Medical, Inc. Method and apparatus for monitoring surgical traction
EP2760642B1 (en) 2011-09-28 2015-11-18 Universal Robots A/S Calibration and programming of robots
FI125658B (fi) 2011-10-12 2015-12-31 Merivaara Oy Menetelmä leikkauspöydän ohjaamiseksi kannettavalla laitteella
US8912746B2 (en) 2011-10-26 2014-12-16 Intuitive Surgical Operations, Inc. Surgical instrument motor pack latch
US9089466B2 (en) 2011-12-20 2015-07-28 Safer Care, LLC Apparatus and methods for orienting or moving surfaces
US8464720B1 (en) 2012-01-10 2013-06-18 Alessio Pigazzi Method of securing a patient onto an operating table when the patient is in the trendelenburg position and apparatus therefor including a kit
DE102012104253B4 (de) 2012-01-13 2016-07-28 Robert Bosch Automotive Steering Gmbh Verfahren und Vorrichtung zur Kompensation von Strörungen in einem elektrischen Lenksystem
DE102012003479A1 (de) 2012-02-21 2013-08-22 Kuka Roboter Gmbh Verfahren und Vorrichtung zum Ausführen eines Manipulatorprozesses
US9144897B2 (en) 2012-04-25 2015-09-29 Innovative System Solutions, Inc Apparatus, system and method for tensioning an emergency brake system
DE102012008812A1 (de) 2012-04-25 2013-10-31 Fraunhofer-Gesellschaft zur Förderung der angewandten Forschung e.V. Röntgenquelle mit Modul und Detektor für optische Strahlung
US10039473B2 (en) * 2012-05-14 2018-08-07 Intuitive Surgical Operations, Inc. Systems and methods for navigation based on ordered sensor records
JP6368710B2 (ja) 2012-06-01 2018-08-01 インテュイティブ サージカル オペレーションズ, インコーポレイテッド ゼロ空間を使用したマニピュレータアームと患者との衝突回避
CN104334109B (zh) 2012-06-01 2017-06-23 直观外科手术操作公司 用于使用零空间的外科手术操纵器的命令的重新配置的系统和方法
CN104349742B (zh) 2012-06-01 2017-06-23 直观外科手术操作公司 硬件受限的远程中心机器人操纵器的冗余轴线和自由度
WO2013181516A1 (en) 2012-06-01 2013-12-05 Intuitive Surgical Operations, Inc. Systems and methods for avoiding collisions between manipulator arms using a null-space
DE102012209594B3 (de) 2012-06-06 2013-06-06 Leica Microsystems (Schweiz) Ag Stativ
CN102715924B (zh) 2012-06-15 2014-08-13 中国人民解放军第四军医大学 一种可全方位调整手术切口的拉钩装置
US8882662B2 (en) * 2012-06-27 2014-11-11 Camplex, Inc. Interface for viewing video from cameras on a surgical visualization system
US9642606B2 (en) * 2012-06-27 2017-05-09 Camplex, Inc. Surgical visualization system
US9326788B2 (en) 2012-06-29 2016-05-03 Ethicon Endo-Surgery, Llc Lockout mechanism for use with robotic electrosurgical device
CN102727312A (zh) 2012-07-03 2012-10-17 张春霖 基于体外标志物的手术机器人骨骼基准确定方法
US9226796B2 (en) 2012-08-03 2016-01-05 Stryker Corporation Method for detecting a disturbance as an energy applicator of a surgical instrument traverses a cutting path
EP4316409B1 (en) 2012-08-03 2025-06-11 Stryker Corporation Systems for robotic surgery
EP2884933B1 (en) 2012-08-15 2020-10-07 Intuitive Surgical Operations, Inc. User initiated break-away clutching of a surgical mounting platform
EP2884934B1 (en) 2012-08-15 2020-10-14 Intuitive Surgical Operations, Inc. Movable surgical mounting platform controlled by manual motion of robotic arms
EP2884937B1 (en) 2012-08-15 2022-10-05 Intuitive Surgical Operations, Inc. Systems for cancellation of joint motion using the null-space
EA027466B1 (ru) 2012-11-13 2017-07-31 Общество с ограниченной ответственностью "Эйдос-Медицина" Гибридный медицинский тренажер лапароскопии
CN103027818B (zh) 2012-11-29 2015-04-15 天津大学 近距离粒子植入机器人连床式自动控制手术台
EP2928407B1 (en) 2012-12-10 2021-09-29 Intuitive Surgical Operations, Inc. Collision avoidance during controlled movement of image capturing device and manipulatable device movable arms
DE202014000027U1 (de) 2013-01-09 2014-01-31 Deutsches Zentrum für Luft- und Raumfahrt e.V. Chirurgieroboter
DE102013002818A1 (de) 2013-02-19 2014-08-21 Rg Mechatronics Gmbh Haltevorrichtung für ein chirurgisches Instrument und eine Schleuse sowie Verfahren zum Betreiben eines Roboters mit einer solchen Haltevorrichtung
JP5716769B2 (ja) 2013-02-21 2015-05-13 株式会社安川電機 ロボットシミュレータ、ロボット教示装置およびロボット教示方法
KR102154521B1 (ko) 2013-03-15 2020-09-10 인튜어티브 서지컬 오퍼레이션즈 인코포레이티드 영공간 운동과 동시적인 영직교공간 내에서의 클러칭에 의해 매니퓰레이터 암을 포지셔닝시키기 위한 시스템 및 방법
BR112015023547B8 (pt) 2013-03-15 2022-09-27 Synaptive Medical Inc Montagem de braço automatizado para uso usado durante um procedimento médico sobre uma parte anatômica
WO2014146119A1 (en) 2013-03-15 2014-09-18 Intuitive Surgical Operations, Inc. Systems and methods for facilitating access to edges of cartesian-coordinate space using the null space
US9702349B2 (en) 2013-03-15 2017-07-11 ClearMotion, Inc. Active vehicle suspension system
CN112932676B (zh) 2013-03-15 2025-01-21 直观外科手术操作公司 用于管理多个零空间目标和饱和sli行为的系统和方法
CN105338920B (zh) 2013-03-15 2018-01-26 直观外科手术操作公司 用于利用零空间跟踪路径的系统和方法
US9615887B2 (en) 2013-03-18 2017-04-11 Orthosensor Inc. Bone cutting system for the leg and method therefor
KR20140126473A (ko) 2013-04-23 2014-10-31 삼성전자주식회사 마커 및 이를 이용한 수술 도구 포즈 추정 방법
US9283048B2 (en) 2013-10-04 2016-03-15 KB Medical SA Apparatus and systems for precise guidance of surgical tools
EP3689284B1 (en) 2013-10-24 2025-02-26 Auris Health, Inc. System for robotic-assisted endolumenal surgery
JP5746308B2 (ja) 2013-11-26 2015-07-08 ファナック株式会社 ブレーキ落下量を低減する機能を備えたサーボ制御装置
DE102013020697B4 (de) 2013-12-04 2023-07-06 Kuka Roboter Gmbh Verfahren und Steuermittel zum Steuern eines Roboters
KR102270705B1 (ko) 2013-12-06 2021-06-29 삼성전자주식회사 유기 광전 소자 및 이미지 센서
CN103720514B (zh) 2013-12-13 2016-03-23 北京柏惠维康科技有限公司 针对手术空间的医疗外科机器人的参数优化方法
KR20170035831A (ko) * 2014-03-14 2017-03-31 시냅티브 메디컬 (바베이도스) 아이엔씨. 인텔리전트 포지셔닝 시스템과 그것의 방법들
CN110236675B (zh) 2014-03-17 2023-05-02 直观外科手术操作公司 用于利用基准标记的台姿态跟踪的方法和装置
KR102300251B1 (ko) 2014-03-17 2021-09-09 인튜어티브 서지컬 오퍼레이션즈 인코포레이티드 운동 범위 한계를 피하기 위한 자동 푸시 아웃
EP3868326A1 (en) 2014-03-17 2021-08-25 Intuitive Surgical Operations, Inc. System and method for maintaining a tool pose
CN106132335B (zh) 2014-03-17 2019-08-30 直观外科手术操作公司 控制手术装配结构中的欠驱动关节的运动的方法
EP3119337B1 (en) 2014-03-17 2024-05-15 Intuitive Surgical Operations, Inc. Methods and devices for tele-surgical table registration
US10034717B2 (en) 2014-03-17 2018-07-31 Intuitive Surgical Operations, Inc. System and method for breakaway clutching in an articulated arm
EP3212107B1 (en) 2014-10-27 2025-04-09 Intuitive Surgical Operations, Inc. Medical device with active brake release control
WO2016069659A1 (en) 2014-10-27 2016-05-06 Intuitive Surgical Operations, Inc. System and method for instrument disturbance compensation
CN107072864B (zh) 2014-10-27 2019-06-14 直观外科手术操作公司 用于配准到手术台的系统及方法
EP3212105B1 (en) 2014-10-27 2025-09-24 Intuitive Surgical Operations, Inc. System for monitoring control points during reactive motion
KR102460203B1 (ko) 2014-10-27 2022-10-31 인튜어티브 서지컬 오퍼레이션즈 인코포레이티드 통합 수술 테이블 아이콘을 위한 시스템 및 방법
US10226306B2 (en) 2014-10-27 2019-03-12 Intuitive Surgical Operations, Inc. System and method for integrated surgical table
EP3741345A1 (en) 2014-10-27 2020-11-25 Intuitive Surgical Operations, Inc. System for integrated surgical table motion
WO2016069989A1 (en) 2014-10-30 2016-05-06 Intuitive Surgical Operations, Inc. System and method for an articulated arm based tool guide
US10376324B2 (en) 2014-10-30 2019-08-13 Intuitive Surgical Operations, Inc. System and method for articulated arm stabilization
JP6056838B2 (ja) 2014-11-28 2017-01-11 株式会社安川電機 ブレーキ診断装置及びブレーキ診断方法
US10258419B2 (en) 2015-09-25 2019-04-16 Ethicon Llc Methods for hybrid robotic laparoscopic surgery
JP6987851B2 (ja) 2016-09-19 2022-01-05 インテュイティブ サージカル オペレーションズ, インコーポレイテッド 遠隔制御可能なアームのための位置決めインジケータシステム及び関連する方法
CN109310473B (zh) 2016-09-19 2023-02-17 直观外科手术操作公司 用于可控臂的基部定位系统以及相关方法
US10856948B2 (en) 2017-05-31 2020-12-08 Verb Surgical Inc. Cart for robotic arms and method and apparatus for registering cart to surgical table
JP7463277B2 (ja) 2018-01-17 2024-04-08 オーリス ヘルス インコーポレイテッド 改善されたロボットアームを有する外科用ロボットシステム
WO2020068303A1 (en) 2018-09-26 2020-04-02 Auris Health, Inc. Systems and instruments for suction and irrigation
US20210007688A1 (en) * 2019-06-20 2021-01-14 Peter L. Bono Robotically positioned x-ray and c-arm
TWI843506B (zh) 2022-04-06 2024-05-21 美商基利科學股份有限公司 橋聯三環胺甲醯基吡啶酮化合物及其用途

Patent Citations (5)

* Cited by examiner, † Cited by third party
Publication number Priority date Publication date Assignee Title
JP2004223128A (ja) 2003-01-27 2004-08-12 Hitachi Ltd 医療行為支援装置および方法
JP2009537230A (ja) 2006-05-19 2009-10-29 マコ サージカル コーポレーション 外科装置の較正を検証するためのシステムおよび方法
WO2010068005A2 (en) 2008-12-12 2010-06-17 Rebo Surgical robot
US20120029694A1 (en) 2010-08-02 2012-02-02 Kuka Laboratories Gmbh Medical Work Station
US20130085510A1 (en) 2011-09-30 2013-04-04 Ethicon Endo-Surgery, Inc. Robot-mounted surgical tables

Also Published As

Publication number Publication date
EP3212105C0 (en) 2025-09-24
EP4631460A2 (en) 2025-10-15
US10682190B2 (en) 2020-06-16
CN107072728B (zh) 2020-07-17
CN111839731A (zh) 2020-10-30
CN111839731B (zh) 2024-09-10
KR102628659B1 (ko) 2024-01-25
US20200253674A1 (en) 2020-08-13
US11413103B2 (en) 2022-08-16
JP2020078586A (ja) 2020-05-28
WO2016069660A1 (en) 2016-05-06
US20250359954A1 (en) 2025-11-27
JP2022159460A (ja) 2022-10-17
JP2017532987A (ja) 2017-11-09
KR20170074843A (ko) 2017-06-30
KR20240013853A (ko) 2024-01-30
EP3212105B1 (en) 2025-09-24
US12409002B2 (en) 2025-09-09
US20220296320A1 (en) 2022-09-22
KR102799097B1 (ko) 2025-04-23
KR20230003350A (ko) 2023-01-05
JP6689256B2 (ja) 2020-04-28
EP3212105A1 (en) 2017-09-06
CN107072728A (zh) 2017-08-18
JP7309984B2 (ja) 2023-07-18
US20230301735A1 (en) 2023-09-28
EP3212105A4 (en) 2018-07-11
US11737842B2 (en) 2023-08-29
US20170333145A1 (en) 2017-11-23
US20240358462A1 (en) 2024-10-31
KR102479287B1 (ko) 2022-12-20
US12064201B2 (en) 2024-08-20

Similar Documents

Publication Publication Date Title
JP7309984B2 (ja) 反応動作中に制御点を監視するためのシステム及び方法
JP7297841B2 (ja) ツールの姿勢を維持するシステム及び方法
JP6919007B2 (ja) 手術台に対して位置合わせをするシステム及び方法
JP7128224B2 (ja) 統合された手術台運動のためのシステム及び方法

Legal Events

Date Code Title Description
A621 Written request for application examination

Free format text: JAPANESE INTERMEDIATE CODE: A621

Effective date: 20200316

A977 Report on retrieval

Free format text: JAPANESE INTERMEDIATE CODE: A971007

Effective date: 20210326

A131 Notification of reasons for refusal

Free format text: JAPANESE INTERMEDIATE CODE: A131

Effective date: 20210406

A521 Request for written amendment filed

Free format text: JAPANESE INTERMEDIATE CODE: A523

Effective date: 20210617

A131 Notification of reasons for refusal

Free format text: JAPANESE INTERMEDIATE CODE: A131

Effective date: 20211207

A521 Request for written amendment filed

Free format text: JAPANESE INTERMEDIATE CODE: A523

Effective date: 20220224

TRDD Decision of grant or rejection written
A01 Written decision to grant a patent or to grant a registration (utility model)

Free format text: JAPANESE INTERMEDIATE CODE: A01

Effective date: 20220719

A61 First payment of annual fees (during grant procedure)

Free format text: JAPANESE INTERMEDIATE CODE: A61

Effective date: 20220817

R150 Certificate of patent or registration of utility model

Ref document number: 7127077

Country of ref document: JP

Free format text: JAPANESE INTERMEDIATE CODE: R150

R250 Receipt of annual fees

Free format text: JAPANESE INTERMEDIATE CODE: R250