JP5367550B2 - 定量吐出スクイズ容器 - Google Patents

定量吐出スクイズ容器 Download PDF

Info

Publication number
JP5367550B2
JP5367550B2 JP2009279285A JP2009279285A JP5367550B2 JP 5367550 B2 JP5367550 B2 JP 5367550B2 JP 2009279285 A JP2009279285 A JP 2009279285A JP 2009279285 A JP2009279285 A JP 2009279285A JP 5367550 B2 JP5367550 B2 JP 5367550B2
Authority
JP
Japan
Prior art keywords
squeeze
container
section
shaped cross
pair
Prior art date
Legal status (The legal status is an assumption and is not a legal conclusion. Google has not performed a legal analysis and makes no representation as to the accuracy of the status listed.)
Active
Application number
JP2009279285A
Other languages
English (en)
Other versions
JP2011121604A (ja
Inventor
真一 稲葉
進 藤波
寛 後藤
Current Assignee (The listed assignees may be inaccurate. Google has not performed a legal analysis and makes no representation or warranty as to the accuracy of the list.)
Kao Corp
Original Assignee
Kao Corp
Priority date (The priority date is an assumption and is not a legal conclusion. Google has not performed a legal analysis and makes no representation as to the accuracy of the date listed.)
Filing date
Publication date
Priority to JP2009279285A priority Critical patent/JP5367550B2/ja
Application filed by Kao Corp filed Critical Kao Corp
Priority to EP10835886.2A priority patent/EP2511195B1/en
Priority to CN201080055853.5A priority patent/CN102666310B/zh
Priority to PCT/JP2010/071573 priority patent/WO2011070965A1/ja
Priority to AU2010329153A priority patent/AU2010329153C1/en
Priority to US13/515,084 priority patent/US8915403B2/en
Priority to TW099142837A priority patent/TWI495602B/zh
Publication of JP2011121604A publication Critical patent/JP2011121604A/ja
Application granted granted Critical
Publication of JP5367550B2 publication Critical patent/JP5367550B2/ja
Active legal-status Critical Current
Anticipated expiration legal-status Critical

Links

Images

Classifications

    • BPERFORMING OPERATIONS; TRANSPORTING
    • B65CONVEYING; PACKING; STORING; HANDLING THIN OR FILAMENTARY MATERIAL
    • B65DCONTAINERS FOR STORAGE OR TRANSPORT OF ARTICLES OR MATERIALS, e.g. BAGS, BARRELS, BOTTLES, BOXES, CANS, CARTONS, CRATES, DRUMS, JARS, TANKS, HOPPERS, FORWARDING CONTAINERS; ACCESSORIES, CLOSURES, OR FITTINGS THEREFOR; PACKAGING ELEMENTS; PACKAGES
    • B65D1/00Rigid or semi-rigid containers having bodies formed in one piece, e.g. by casting metallic material, by moulding plastics, by blowing vitreous material, by throwing ceramic material, by moulding pulped fibrous material or by deep-drawing operations performed on sheet material
    • B65D1/32Containers adapted to be temporarily deformed by external pressure to expel contents
    • BPERFORMING OPERATIONS; TRANSPORTING
    • B65CONVEYING; PACKING; STORING; HANDLING THIN OR FILAMENTARY MATERIAL
    • B65DCONTAINERS FOR STORAGE OR TRANSPORT OF ARTICLES OR MATERIALS, e.g. BAGS, BARRELS, BOTTLES, BOXES, CANS, CARTONS, CRATES, DRUMS, JARS, TANKS, HOPPERS, FORWARDING CONTAINERS; ACCESSORIES, CLOSURES, OR FITTINGS THEREFOR; PACKAGING ELEMENTS; PACKAGES
    • B65D1/00Rigid or semi-rigid containers having bodies formed in one piece, e.g. by casting metallic material, by moulding plastics, by blowing vitreous material, by throwing ceramic material, by moulding pulped fibrous material or by deep-drawing operations performed on sheet material
    • B65D1/02Bottles or similar containers with necks or like restricted apertures, designed for pouring contents
    • B65D1/0223Bottles or similar containers with necks or like restricted apertures, designed for pouring contents characterised by shape
    • GPHYSICS
    • G01MEASURING; TESTING
    • G01FMEASURING VOLUME, VOLUME FLOW, MASS FLOW OR LIQUID LEVEL; METERING BY VOLUME
    • G01F11/00Apparatus requiring external operation adapted at each repeated and identical operation to measure and separate a predetermined volume of fluid or fluent solid material from a supply or container, without regard to weight, and to deliver it
    • G01F11/02Apparatus requiring external operation adapted at each repeated and identical operation to measure and separate a predetermined volume of fluid or fluent solid material from a supply or container, without regard to weight, and to deliver it with measuring chambers which expand or contract during measurement
    • G01F11/08Apparatus requiring external operation adapted at each repeated and identical operation to measure and separate a predetermined volume of fluid or fluent solid material from a supply or container, without regard to weight, and to deliver it with measuring chambers which expand or contract during measurement of the diaphragm or bellows type
    • G01F11/082Apparatus requiring external operation adapted at each repeated and identical operation to measure and separate a predetermined volume of fluid or fluent solid material from a supply or container, without regard to weight, and to deliver it with measuring chambers which expand or contract during measurement of the diaphragm or bellows type of the squeeze container type
    • BPERFORMING OPERATIONS; TRANSPORTING
    • B65CONVEYING; PACKING; STORING; HANDLING THIN OR FILAMENTARY MATERIAL
    • B65DCONTAINERS FOR STORAGE OR TRANSPORT OF ARTICLES OR MATERIALS, e.g. BAGS, BARRELS, BOTTLES, BOXES, CANS, CARTONS, CRATES, DRUMS, JARS, TANKS, HOPPERS, FORWARDING CONTAINERS; ACCESSORIES, CLOSURES, OR FITTINGS THEREFOR; PACKAGING ELEMENTS; PACKAGES
    • B65D2501/00Containers having bodies formed in one piece
    • B65D2501/0009Bottles or similar containers with necks or like restricted apertures designed for pouring contents
    • B65D2501/0018Ribs
    • B65D2501/0036Hollow circonferential ribs
    • BPERFORMING OPERATIONS; TRANSPORTING
    • B65CONVEYING; PACKING; STORING; HANDLING THIN OR FILAMENTARY MATERIAL
    • B65DCONTAINERS FOR STORAGE OR TRANSPORT OF ARTICLES OR MATERIALS, e.g. BAGS, BARRELS, BOTTLES, BOXES, CANS, CARTONS, CRATES, DRUMS, JARS, TANKS, HOPPERS, FORWARDING CONTAINERS; ACCESSORIES, CLOSURES, OR FITTINGS THEREFOR; PACKAGING ELEMENTS; PACKAGES
    • B65D2501/00Containers having bodies formed in one piece
    • B65D2501/0009Bottles or similar containers with necks or like restricted apertures designed for pouring contents
    • B65D2501/0081Bottles of non-circular cross-section

Landscapes

  • Engineering & Computer Science (AREA)
  • Ceramic Engineering (AREA)
  • Mechanical Engineering (AREA)
  • Physics & Mathematics (AREA)
  • Fluid Mechanics (AREA)
  • General Physics & Mathematics (AREA)
  • Containers And Packaging Bodies Having A Special Means To Remove Contents (AREA)

Description

本発明は、定量吐出スクイズ容器に関し、特に、容器本体をスクイズ変形させて吐出口から内容液を吐出させる定量吐出スクイズ容器に関する。
スクイズ容器は、例えばスクイズ変形可能なプラスチックからなる容器本体の胴部を手で把持してスクイズ(圧搾)することにより、容器本体をスクイズ変形させて、内容液を吐出口から吐出箇所に向けて所定量吐出させるものである。また、容器本体の胴部をスクイズした際に、容器の変形量にバラツキが生じず、繰り返し行われるスクイズ操作毎に一定量又は略一定量の内容液が各々吐出されるように工夫した、いわゆる定量吐出スクイズ容器も開発されている(例えば、特許文献1、特許文献2参照)。
ここで、特許文献1の定量吐出スクイズ容器は、容器本体の内部に容器本体の押し込み巾を規制する当接部材を設け、容器本体をスクイズ変形させる際に押圧操作部を当接部材に当接させることで、容器本体のスクイズ変形量を一定範囲に規制して、内容液を一定量ずつ吐出させたものである。また、特許文献2の定量吐出スクイズ容器は、容器本体の外周壁を筒状カバー体で覆うと共に、この筒状カバー体に、容器本体の外周壁に向けて反転可能なブリッジ部を形成し、このブリッジ部を反転させることで容器本体の外周壁を所定の変形量でスクイズ変形させて、内容液を一定量ずつ吐出させたものである。
特開平10−24950号公報 特許第4074227号公報
しかしながら、上記従来の定量吐出スクイズ容器は、容器本体の内部に当接部材を取り付けたり、ブリッジ部が形成された筒状カバー体を容器本体の外周壁を覆って取り付けたりする必要がある。そのため、構造が複雑になると共に、製造コストも増大する。したがって、当接部材や筒状カバー体を用いることなく、容器本体の形状を工夫することにより、繰り返しスクイズ操作した際の容器本体のスクイズ変形量にバラツキが生じないように規制し、内容液を一定量ずつ吐出できる新たな技術の開発が望まれている。
本発明は、容器本体の形状を工夫し、繰り返しスクイズ操作した際の容器本体のスクイズ変形量にバラツキが生じないように規制し、内容液を一定量ずつ吐出できる定量吐出スクイズ容器を提供することを目的とする。
本発明は、スクイズ変形可能なプラスチックからなる容器本体を備え、該容器本体をスクイズ変形させて吐出口から内容液を所定量吐出させる定量吐出スクイズ容器であって、前記容器本体の少なくとも一部に、スクイズ操作を行うスクイズ操作部が設けられている。該スクイズ操作部は、鈍角で交差する2面に沿って配置される一対の斜面部を含む山形状断面を有する圧搾面部と、該圧搾面部の山形状断面の裾部と稜線部を介して一体として接合される、円弧状断面又はU字状断面を有する圧搾支持部とからなる横断面形状を有している。前記圧搾面部の山形状断面の頂部における所定の位置に指を押し当てて圧搾した際に、前記一対の斜面部が交差角度を拡げるように変形しながら、両側の山形状断面の裾部の間隔を前記円弧状断面又はU字状断面の圧搾支持部との前記稜線部において押し拡げると共に、押し拡げる力が無くなるまで前記斜面部が変形した後、前記圧搾面部は谷形状に反転しないように規制される。これによって、前記所定の位置に指を押し当てて繰り返し行われるスクイズ操作による前記容器本体のスクイズ変形量にバラツキが生じなくなる。
本発明の定量吐出スクイズ容器によれば、容器本体の形状のみを工夫することによって、繰り返しスクイズ操作した際の容器本体のスクイズ変形量にバラツキが生じないように規制して、内容液を一定量ずつ吐出させることができる。
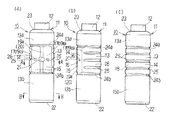
本発明の好ましい第1実施形態に係る定量吐出スクイズ容器の容器本体の斜視図である。 本発明の好ましい第1実施形態に係る定量吐出スクイズ容器の容器本体の、(a)は正面図、(b)は側面図、(c)は背面図である。 (a)は図2(a)のA−Aに沿った端面図、(b)は図2(a)のB−Bに沿った端面図である。 (a)、(b)は、本発明の好ましい第1実施形態に係る定量吐出スクイズ容器において、スクイズ操作時に容器本体のスクイズ変形量を規制する状況を説明する模式断面図である。 本発明の好ましい第2実施形態に係る定量吐出スクイズ容器の容器本体の斜視図である。 本発明の好ましい第2実施形態に係る定量吐出スクイズ容器の容器本体の、(a)は正面図、(b)は側面図、(c)は背面図である。 (a)は図6(a)のC−Cに沿った端面図、(b)は図6(a)のD−Dに沿った端面図である。 (a)、(b)は、本発明の好ましい第2実施形態に係る定量吐出スクイズ容器において、スクイズ操作時に容器本体のスクイズ変形量を規制する状況を説明する図6(a)のC−Cに沿ったの模式断面図である。
以下、図面を参照しつつ、本発明を具体的に説明する。図1〜図3に示す本発明の好ましい第1実施形態に係る定量吐出スクイズ容器10は、スクイズ変形可能なプラスチックからなる容器本体11と、容器本体11の口首部12に着脱可能に装着されるキャップ部材(図示省略)とからなる。スクイズ容器10には、内容液として、例えば衣料用液体洗剤、柔軟剤、漂白剤、食器用洗剤、入浴剤等を収容することができる。スクイズ容器10は、容器本体11の胴部13を把持して傾倒又は倒立させた状態で、把持した胴部13をスクイズ方向Xにスクイズ(圧搾)することで容器本体11を変形させることにより、例えばキャップ部材に設けられた吐出口から、内容液を吐出箇所に向けて所定量吐出させることができる。スクイズ容器10は、容器本体11の形状のみを工夫することによって、例えば胴部13の所定の位置を指で圧搾して繰り返しスクイズ操作した際に、容器本体11のスクイズ変形量にバラツキが生じないように規制して、内容液を一定量ずつ吐出させることができる機能を備えている。
すなわち、本第1実施形態の定量吐出スクイズ容器10は、スクイズ変形可能なプラスチックからなる容器本体11を備え、容器本体11をスクイズ変形させて吐出口から内容液を所定量吐出させるスクイズ容器である。図1および図2に示すように、容器本体11には、これの胴部13の少なくとも一部に、スクイズ操作を行うスクイズ操作部14が設けられている。スクイズ操作部14は、鈍角で交差する2面に沿って配置される一対の斜面部15を含む山形状断面を有する圧搾面部16と、この圧搾面部16の山形状断面の裾部19bと稜線部17を介して一体として接合される、円弧状断面を有する圧搾支持部18とからなる横断面形状を有している。
そして、圧搾面部16の山形状断面の頂部19aにおける所定の位置に指を押し当ててスクイズ方向Xに圧搾した際に(図4(a)参照)、一対の斜面部15が交差角度を拡げるように変形しながら、両側の山形状断面の裾部19bの間隔を円弧状断面の圧搾支持部18との稜線部17において押し拡げる。両側の裾部19bの間隔を押し拡げる力が無くなるまで斜面部15が変形した後(図4(b)参照)、圧搾面部16は谷形状に反転しないように規制される。これによって、所定の位置に指を押し当てて繰り返し行われるスクイズ操作による容器本体11のスクイズ変形量にバラツキが生じなくなって、内容液を一定量ずつ吐出させることが可能になる。
また、本第1実施形態では、スクイズ操作部14の圧搾面部16の山形状断面の頂部19aは、一対の斜面部15が接合するスクイズ稜線部20となっている。
本第1実施形態では、容器本体11は、例えばポリエチレンテレフタレ−ト、ポリプロピレン、高密度ポリエチレン、塩化ビニル等の、スクイズ変形可能なプラスチック容器を形成するのに適した公知の各種の合成樹脂を用いて、例えばブロー成形することにより、底部22と、胴部13と、肩部23と、口首部12とを備える中空のボトル形状に形成される。また、容器本体11は、上端部分の肩部23及び口首部12と、下端部分の底部22とが胴部13よりも厚肉に形成されると共に、肩部23と底部22は、円形の平面形状を備えるように形成される。これによって、上胴部13aの上端部分及び下胴部13bの下端部分の円形の断面形状(図3(b)参照)を、強固に且つ安定した状態で保持させるようになっている。
そして、本第1実施形態では、肩部23と底部22との間に挟まれる胴部13は、スクイズ操作部14と、スクイズ操作部14の上方に連続する、スクイズ操作部14とは異なる断面形状を有する上胴部13aと、スクイズ操作部14の下方に連続する、スクイズ操作部14とは異なる断面形状を有する下胴部13bとを含んで形成されている。胴部13は、肩部23や底部22よりも薄肉に形成されており、スクイズ操作部14の圧搾面部16は、後述するように、胴部13を把持した手や指の力によって容易にスクイズ変形することが可能な可撓性を有する構造となっている。
本第1実施形態では、スクイズ操作部14は、胴部13の周方向に延設する上下それぞれの環状境界リブ24a,24bによって上方の円形状断面の上胴部13aや下方の円形状断面の下胴部13bから区画される。スクイズ操作部14は、山形状断面を有する圧搾面部16と円弧状断面を有する圧搾支持部18とが稜線部17を介して一体として成形された形状を備えている(図3(a)参照)。
圧搾面部16は、鈍角で交差する2面に沿って配置される一対の斜面部15からなり、これらの斜面部15が交差する接合部分には、縦方向に延設するスクイズ稜線部20が、圧搾面部16の中央部分に配置されて山形状断面の頂部19aとして設けられている。また、本第1実施形態では、スクイズ稜線部20は、滑らかに湾曲する曲面として設けられており、これの縦方向中央部分には、指を押し当ててスクイズ操作を行うべき所定の位置を案内するスクイズ位置ガイド部21が、スクイズ稜線部20と段差を有する凸部として設けられている。一対の斜面部15のスクイズ稜線部20とは反対側の裾部19bは、スクイズ稜線部20と平行に配置されて縦方向に延設する稜線部17を介して圧搾支持部18と接合している。
圧搾支持部18は、圧搾面部16と対向してスクイズ操作部14の背面側に配置される部分であって、相当の保形剛性を備えていることにより、スクイズ操作時に圧搾面部16に加えられる圧搾力を安定した状態で支持させることができるようになっている。本第1実施形態では、圧搾支持部18は、半円弧形状を僅かに超える円弧状断面を有しており、保形剛性の大きなその円弧形状によって、例えば胴部13を把持した手の平に、圧搾支持部18を変形させることなく圧搾力の反力を効率良く支持させることができるようになっている。
また、本第1実施形態では、円弧状断面を有する圧搾支持部18に、当該圧搾支持部18の保形剛性を向上させる剛性補強リブ25が、周方向に延設して上下方向に間隔をおいて複数設けられており、剛性補強リブ25によって、圧搾面部16に圧搾力を負荷した際の反力をさらに効率良く支持させることが可能になる。
そして、上述の構成を有する本第1実施形態の定量吐出スクイズ容器10によれば、容器本体11をスクイズ変形させて内容液を定量吐出させるには、容器本体11の胴部13を把持して容器10を傾倒又は倒立させた後に、吐出口を吐出箇所に向けた状態で、例えば親指をスクイズ位置ガイド部21に押し付けて、圧搾面部16のスクイズ稜線部20に圧搾力を付加する。これによって、図4(a)、(b)に示すように、圧搾支持部18に圧搾力を支持させつつ、スクイズ位置ガイド部21に近接する部分のスクイズ稜線部20がスクイズ方向Xに押し込まれると共に、スクイズ位置ガイド部21に近接する部分の一対の斜面部15が、これらの交差角度を拡げるように変形しながら、圧搾支持部18との接合部分である、両側の裾部19bの稜線部17間の間隔を押し拡げていく。これに伴なって、圧搾面部16の山形状断面が平坦になるように押し潰されて、容器本体11の容量が減少するので、この容量の減少によって内容液を吐出させることが可能になる。
また、本第1実施形態では、スクイズ位置ガイド部21に近接する部分の一対の斜面部15が、スクイズ稜線部20を挟んで直線状に連設するまで変形すると(図4(b)の破線参照)、圧搾面部16の山形状断面がほぼ平坦に伸びきった状態となって、一対の斜面部15は、これ以上稜線部17間の間隔を押し拡げることができなくなる。この状態から、圧搾面部16のスクイズ稜線部20をスクイズ方向Xにさらに押し込んで一対の斜面部15をスクイズ方向X側に反転させようとしても、圧搾力を負荷されたスクイズ位置ガイド部21から離れた位置では、未だ一対の斜面部15が直線状になるまで変形していないことから、このスクイズ位置ガイド部21から離れた部分の一対の斜面部15による山形状断面の作用によって、指を押し当てたスクイズ位置ガイド部21に近接する部分の一対の斜面部15は、スクイズ方向X側に反転しないように規制される。これによって、例えば親指をスクイズ位置ガイド部21に押し付けて圧搾力を加えた際には、常に一定の変形量で容器本体11がスクイズ変形する、すなわち繰り返し行われるスクイズ操作による容器本体11のスクイズ変形量にバラツキが生じなくなるので、所定量の内容液を容易に定量吐出させることが可能になる。
したがって、本第1実施形態の定量吐出スクイズ容器10によれば、容器本体11の形状のみを工夫することによって、繰り返しスクイズ操作した際の容器本体11のスクイズ変形量にバラツキが生じないように規制して、内容液を一定量ずつ吐出させることが可能になる。
また、本第1実施形態の定量吐出スクイズ容器10によれば、環状境界リブ24a、24bが設けられていることにより、胴部13のスクイズ操作部14以外の部分(上胴部13a、下胴部13b)に変形が及ばないようになっている。従って、胴部13において、上胴部13a、下胴部13bは、スクイズ操作部14とは断面形状の異なる形状を自由に選択できる。なお、本第1実施形態ではスクイズ操作部14の上下にそれぞれ上胴部13aと下胴部13bを設けているが、これらは無くてもよく、また吐出量の調整はこれら上胴部13aや下胴部13bの有無により影響をされるものではない。
また、本第1実施形態では、一対の斜面部15のスクイズ稜線部20を挟んだ両側に、スクイズ変形誘導リブ26を設けている。スクイズ変形誘導リブ26は、一対の斜面部15におけるスクイズ稜線部20近傍のほぼ中央付近に、当該スクイズ稜線部20と直行する横リブとして各1箇所に形成されている。すなわち、一対のスクイズ変形誘導リブ26は、スクイズ稜線部20を跨いでほぼ一直線に設けられている。スクイズ稜線部20に直交して一対のスクイズ変形誘導リブ26を設けることにより、一対の斜面部15が常に安定した形状で変形するため、吐出量のバラツキを低減し、安定化させる効果を有する。また、使用者が押圧した際に感じる一定の変形感触(クリック感)を高める効果も有する。
本実施形態では、環状境界リブ24a、24bの間の距離(スクイズ操作部14の容器本体11の軸方向の長さ)、左右の稜線部17間の距離(圧搾面部16の容器本体11の幅方向の長さ)、一対の斜面部15が山形状断面の頂部19を形成する角度等を適宜設計することにより、所望の吐出量を得ることができる。
図5〜図7は、本発明の好ましい第2実施形態に係る定量吐出スクイズ容器30の容器本体31を示すものである。本第2実施形態によれば、容器本体31は、上記第1実施形態の定量吐出スクイズ容器10の容器本体11と同様に、合成樹脂を用いて、胴部33と、底部34と、肩部35と、口首部32とを備える中空のボトル形状に形成される。また、本第2実施形態では、厚肉に形成された肩部35と底部34との間に挟まれる薄肉の胴部33の略全体が、肩部35や底部34との明確な境界を有することなくこれらと滑らかに連続するスクイズ操作部36となっている。
そして、本第2実施形態では、スクイズ操作部36は、鈍角で交差する2面に沿って配置される一対の斜面部37を含む山形状断面を有する圧搾面部38と、この圧搾面部38の山形状断面の裾部44bと稜線部39を介して一体として接合される、U字状断面を有する圧搾支持部40とからなる横断面形状を有している。また、圧搾面部38の山形状断面の頂部44aは、一対の斜面部37の間に介在する平坦なスクイズ面部41となっている。
すなわち、圧搾面部38は、鈍角で交差する2面に沿って配置される一対の斜面部37と、これらの間に介在して設けられたスクイズ面部41とからなり、一対の斜面部37とスクイズ面部41とは、縁部稜線部42を介して一体として連設している。また、本第2実施形態では、圧搾面部38の上端部には、外方に向けて滑らかに隆起する隆起部38aが形成されている。スクイズ面部41の上部において、スクイズ面部41の両側の一対の縁部稜線部42は、この隆起部38aの先端部に向けて互いの間隔を徐々に狭めて行くようになっている。さらに、本第2実施形態では、スクイズ面部41の上部における、隆起部38aの基端開始部の幅方向中央部分に配置されて、指を押し当ててスクイズ操作を行うべき所定の位置を案内するスクイズ位置ガイド部43が、スクイズ面部41と段差を有する凸部として設けられている。
圧搾支持部40は、本第2実施形態では、U字状断面を有している。すなわち、圧搾支持部40は、圧搾面部38と対向してスクイズ操作部36の背面側に配置される円弧状部40aと、円弧状部40aの両側に湾曲接合部40bを介して接合されて、スクイズ方向Xと平行又は略平行な方向に沿って配置される一対の側面支持壁部40cとからなる、全体として略U字形の断面形状を有している。本第2実施形態では、圧搾支持部40は、円弧形状の円弧状部40aとスクイズ方向Xに沿った一対の側面支持壁部40cとが一体となった保形剛性の大きな断面形状によって、例えば胴部33を把持した手の平に、圧搾支持部40を変形させることなく圧搾力の反力を効率良く支持させることができるようになっている。
また、本第2実施形態では、圧搾支持部40の円弧状部40aから両側の側面支持壁部40cまで周方向に延設する、圧搾支持部40の保形剛性を向上させる剛性補強リブ45が、上下方向に間隔をおいて複数設けられており、これによって、圧搾面部38に圧搾力を負荷した際の反力をさらに効率良く支持させることができるようになっている。
そして、上述の構成を有する本第2実施形態の定量吐出スクイズ容器30によっても、容器本体31の胴部33を把持して吐出口を吐出箇所に向けた状態で、例えば親指をスクイズ位置ガイド部43に押し付けて、スクイズ面部41に圧搾力を付加すれば(図8(a)参照)、圧搾支持部40に圧搾力を支持させつつ、スクイズ位置ガイド部43に近接する部分のスクイズ面部41がスクイズ方向Xに押し込まれると共に、スクイズ位置ガイド部43に近接する部分の一対の斜面部37が、これらの交差角度を拡げるように変形しながら、圧搾支持部40との接合部分である、両側の裾部44bの稜線部39間の間隔を押し拡げていく。これに伴なって、圧搾面部38の山形状断面が平坦になるように押し潰されて(図8(b)参照)、容器本体11の容量が減少するので、この容量の減少によって内容液を吐出させることが可能になる。
また、スクイズ位置ガイド部43に近接する部分の一対の斜面部37が、スクイズ面部41を挟んで直線状になるまで変形すると(図8(b)の破線参照)、圧搾面部38の山形状断面が平坦に伸びきった状態となって、一対の斜面部37は、これ以上稜線部39間の間隔を押し拡げることができなくなる。この状態から、スクイズ面部41をスクイズ方向Xにさらに押し込んで一対の斜面部37をスクイズ方向X側に反転させようとしても、圧搾力を負荷されたスクイズ位置ガイド部43から離れた位置では、未だ一対の斜面部37が直線状になるまで変形していないことから、圧搾力を負荷されたスクイズ位置ガイド部43から離れた部分の一対の斜面部37による山形状断面の作用によって、スクイズ位置ガイド部43に近接する部分の一対の斜面部37は、スクイズ方向X側に反転しないように規制される。これによって、例えば親指をスクイズ位置ガイド部43に押し付けて圧搾力を加えた際には、常に一定の変形量で容器本体31がスクイズ変形することになるので、本第2実施形態の定量吐出スクイズ容器30は、上記第1実施形態の定量吐出スクイズ容器10と同様の作用効果を奏することになる。
なお、本発明は上記各実施形態に限定されることなく種々の変更が可能である。例えば、山形状断面の圧搾面部の頂部に設けられるスクイズ位置ガイド部は、凹形状にしたり、金型表面の粗さを部分的に変えて容器表面を粗くしたり、ラベル印刷等によってスクイズ操作を指で行う位置を明示することによって設けることもできる。また、スクイズ稜線部は、滑らかな湾曲面でなく、平面状に設けることもできる。さらに、スクイズ位置ガイド部を設ける位置や、スクイズ操作を行う位置は、圧搾面部の頂部の中央部分以外に、圧搾面部の頂部付近の任意の位置としてスクイズ操作を行わせることもできる。また、スクイズ位置ガイド部を複数箇所に設けておき、圧搾位置を選定して、定量吐出される内容液の吐出量を調整できるようにしても良い。
10,30 スクイズ容器
11,31 容器本体
12,32 口首部
13,33 胴部
13a 上胴部
13b 下胴部
14,36 スクイズ操作部
15,37 斜面部
16,38 圧搾面部
17,39 稜線部
18 半円弧状断面の圧搾支持部
19a,44a 圧搾面部の頂部
19b,44b 圧搾面部の裾部
20, スクイズ稜線部
21,43 スクイズ位置ガイド部
22,34 底部
23,35肩部
24a,24b 環状境界リブ
25,45 剛性補強リブ
26 スクイズ変形誘導リブ
38a 隆起部
40 U字状断面の圧搾支持部
40a 円弧状部
40b 湾曲接合部
40c 側面支持壁部
41 スクイズ面部
42 縁部稜線部
X スクイズ方向

Claims (5)

  1. スクイズ変形可能なプラスチックからなる容器本体を備え、該容器本体をスクイズ変形させて吐出口から内容液を所定量吐出させる定量吐出スクイズ容器であって、
    前記容器本体の少なくとも一部に、スクイズ操作を行うスクイズ操作部が設けられており、
    該スクイズ操作部は、鈍角で交差する2面に沿って配置される一対の斜面部を含む山形状断面を有する圧搾面部と、該圧搾面部の山形状断面の裾部と稜線部を介して一体として接合される、円弧状断面又はU字状断面を有する圧搾支持部とからなる横断面形状を有しており、
    前記圧搾面部の山形状断面の頂部における所定の位置に指を押し当てて圧搾した際に、前記一対の斜面部が交差角度を拡げるように変形しながら、両側の山形状断面の裾部の間隔を前記円弧状断面又はU字状断面の圧搾支持部との前記稜線部において押し拡げると共に、押し拡げる力が無くなるまで前記斜面部が変形した後、前記圧搾面部は谷形状に反転しないように規制されて、前記所定の位置に指を押し当てて繰り返し行われるスクイズ操作による前記容器本体のスクイズ変形量にバラツキが生じないようにした定量吐出スクイズ容器。
  2. 前記圧搾面部の山形状断面の頂部は、前記一対の斜面部が接合するスクイズ稜線部となっている請求項1記載の定量吐出スクイズ容器。
  3. 前記圧搾面部の山形状断面の頂部は、前記一対の斜面部の間に介在する平坦なスクイズ面部となっている請求項1記載の定量吐出スクイズ容器。
  4. 前記容器本体は、前記スクイズ操作部の上方に連続する、前記スクイズ操作部とは異なる断面形状を有する上胴部と、前記スクイズ操作部の下方に連続する、前記スクイズ操作部とは異なる断面形状を有する下胴部とを含んで形成されている請求項1〜3のいずれかに記載の定量吐出スクイズ容器。
  5. 前記円弧状断面又はU字状断面を有する圧搾支持部には、該圧搾支持部の保形剛性を向上させる剛性補強リブが、周方向に延設して上下方向に間隔をおいて複数設けられている請求項1〜4のいずれかに記載の定量吐出スクイズ容器。
JP2009279285A 2009-12-09 2009-12-09 定量吐出スクイズ容器 Active JP5367550B2 (ja)

Priority Applications (7)

Application Number Priority Date Filing Date Title
JP2009279285A JP5367550B2 (ja) 2009-12-09 2009-12-09 定量吐出スクイズ容器
CN201080055853.5A CN102666310B (zh) 2009-12-09 2010-12-02 定量吐出挤压式容器
PCT/JP2010/071573 WO2011070965A1 (ja) 2009-12-09 2010-12-02 定量吐出スクイズ容器
AU2010329153A AU2010329153C1 (en) 2009-12-09 2010-12-02 Fixed-amount discharge squeeze container
EP10835886.2A EP2511195B1 (en) 2009-12-09 2010-12-02 Fixed-amount discharge squeeze container
US13/515,084 US8915403B2 (en) 2009-12-09 2010-12-02 Fixed-amount discharge squeeze container
TW099142837A TWI495602B (zh) 2009-12-09 2010-12-08 Quantitative discharge of extruded containers

Applications Claiming Priority (1)

Application Number Priority Date Filing Date Title
JP2009279285A JP5367550B2 (ja) 2009-12-09 2009-12-09 定量吐出スクイズ容器

Publications (2)

Publication Number Publication Date
JP2011121604A JP2011121604A (ja) 2011-06-23
JP5367550B2 true JP5367550B2 (ja) 2013-12-11

Family

ID=44145510

Family Applications (1)

Application Number Title Priority Date Filing Date
JP2009279285A Active JP5367550B2 (ja) 2009-12-09 2009-12-09 定量吐出スクイズ容器

Country Status (7)

Country Link
US (1) US8915403B2 (ja)
EP (1) EP2511195B1 (ja)
JP (1) JP5367550B2 (ja)
CN (1) CN102666310B (ja)
AU (1) AU2010329153C1 (ja)
TW (1) TWI495602B (ja)
WO (1) WO2011070965A1 (ja)

Families Citing this family (19)

* Cited by examiner, † Cited by third party
Publication number Priority date Publication date Assignee Title
KR20120114701A (ko) * 2011-04-07 2012-10-17 이정민 가압기준면을 갖는 액체용기
US20130181015A1 (en) * 2011-07-19 2013-07-18 William Cason Aerobottle Plus Mount Apparatus and Related Methods of Use
MX2015000534A (es) * 2012-07-13 2015-05-11 Heinz Co H J Botella compresible que incluye figura ornamental.
JP6247912B2 (ja) * 2013-07-22 2017-12-13 花王株式会社 定量吐出スクイズ容器
US20160081391A1 (en) * 2013-12-20 2016-03-24 Retro Brands, Llc E-liquid dispenser
USD765908S1 (en) 2013-12-20 2016-09-06 Retro Brands, Llc E-liquid dispenser and bottle combination
US9745107B2 (en) * 2013-12-20 2017-08-29 Retro Brands, Llc E-liquid dispenser
JP6423663B2 (ja) * 2014-09-17 2018-11-14 花王株式会社 液体洗浄剤物品、及び液体洗浄剤の計量方法
JP6356554B2 (ja) * 2014-09-19 2018-07-11 花王株式会社 定量吐出スクイズ容器
JP2016060526A (ja) * 2014-09-19 2016-04-25 花王株式会社 定量吐出スクイズ容器
CN106516323A (zh) * 2016-12-31 2017-03-22 保定想想电子科技有限公司 一种侧面加固的软体瓶
JP2019043580A (ja) * 2017-08-31 2019-03-22 株式会社吉野工業所 絞出し容器
JP7297397B2 (ja) * 2017-08-31 2023-06-26 株式会社吉野工業所 絞出し容器
WO2019065620A1 (ja) * 2017-09-29 2019-04-04 花王株式会社 定量吐出スクイズ容器
JP7161898B2 (ja) * 2017-09-29 2022-10-27 花王株式会社 定量吐出スクイズ容器
JP7154691B2 (ja) * 2018-06-29 2022-10-18 株式会社吉野工業所 スクイズ容器
JP7109312B2 (ja) * 2018-08-31 2022-07-29 株式会社吉野工業所 スクイズボトル
CN110329624B (zh) * 2019-08-14 2024-03-08 金东敏 定量挤压的胶水瓶
PL73789Y1 (pl) * 2023-03-24 2025-02-17 Roman Kubiczek Butelka do produktów spożywczych zwłaszcza do sosów

Family Cites Families (29)

* Cited by examiner, † Cited by third party
Publication number Priority date Publication date Assignee Title
US2718987A (en) * 1951-12-12 1955-09-27 Shulton Inc Powder dispensing and applying device
DE1432256A1 (de) 1963-03-21 1968-12-12 Helmut Schneider Flaschenartiger Behaelter aus elastischem Werkstoff fuer fluessige und pastoese Fuellgueter
US3874562A (en) * 1972-11-10 1975-04-01 Polytop Corp Dispensing closure with pump parts and container using the same
FR2231571A1 (en) * 1973-05-30 1974-12-27 Delmas Albert Wall mounted liquid soap dispenser - is pressed at centre to force soap into overhead discharging tube
JPS54180057U (ja) * 1978-06-05 1979-12-19
JPS5913418A (ja) 1982-07-14 1984-01-24 Hitachi Ltd 信号処理装置
JPS5913418U (ja) * 1982-07-16 1984-01-27 東洋製罐株式会社 プラスチツクボトル
JP2545988B2 (ja) 1989-07-29 1996-10-23 鐘淵化学工業株式会社 容器成形用積層シートの製造法
JPH0361042U (ja) * 1989-10-18 1991-06-14
US5358148A (en) * 1992-10-09 1994-10-25 Sage Products, Inc. Urine collection container
US5337924A (en) * 1993-03-08 1994-08-16 Conros Corporation Integral pump bottle
JP3603108B2 (ja) * 1996-07-10 2004-12-22 株式会社吉野工業所 液体注出容器
US6006952A (en) * 1998-02-06 1999-12-28 Lucas; Monty J. Sports bottle
JP3061042U (ja) * 1999-01-26 1999-09-14 花王株式会社 スクイズ容器
US6302303B1 (en) * 2001-02-26 2001-10-16 Robert Reynolds Discrete liquid transport and discharge apparatus and method
US20030000911A1 (en) * 2001-06-27 2003-01-02 Paul Kelley Hot-fillable multi-sided blow-molded container
US7163123B2 (en) * 2001-10-29 2007-01-16 Frito-Lay North America, Inc. Implosion resistant container
JP4074227B2 (ja) 2003-07-14 2008-04-09 株式会社資生堂 定量吐出容器
US7172087B1 (en) * 2003-09-17 2007-02-06 Graham Packaging Company, Lp Squeezable container and method of manufacture
US7191910B2 (en) * 2003-12-03 2007-03-20 Amcor Limited Hot fillable container
CA2582696C (en) * 2004-09-30 2017-07-18 Graham Packaging Company, L.P. Pressure container with differential vacuum panels
WO2007004203A1 (en) 2005-07-05 2007-01-11 Loctite R & D Limited A container for holding and dispensing a curable product
US8087525B2 (en) * 2005-09-30 2012-01-03 Graham Packaging Company, L.P. Multi-panel plastic container
US8418883B2 (en) * 2006-12-20 2013-04-16 Momentive Performance Materials Packet for viscous material and kit
US7699183B2 (en) * 2007-04-09 2010-04-20 The Coca-Cola Company Square bottle manufactured from synthetic resin
US20090095774A1 (en) * 2007-10-11 2009-04-16 Conopco, Inc., D/B/A Unilever Appliance for dispensing heated cosmetic fluids
GB0719827D0 (en) * 2007-10-11 2007-11-21 Unilever Plc Refill bottle for appliance dispensing heated cosmetic fluids
US8640900B2 (en) * 2011-03-11 2014-02-04 Graham Packaging Company, L.P. Plastic container having reinforced gripping structure
JP5367543B2 (ja) * 2009-11-19 2013-12-11 花王株式会社 定量吐出スクイズ容器

Also Published As

Publication number Publication date
EP2511195A4 (en) 2013-04-17
WO2011070965A1 (ja) 2011-06-16
CN102666310A (zh) 2012-09-12
EP2511195A1 (en) 2012-10-17
TW201144162A (en) 2011-12-16
AU2010329153A1 (en) 2012-07-19
AU2010329153C1 (en) 2015-12-03
AU2010329153B2 (en) 2015-04-09
EP2511195B1 (en) 2016-04-27
US8915403B2 (en) 2014-12-23
JP2011121604A (ja) 2011-06-23
US20120285995A1 (en) 2012-11-15
CN102666310B (zh) 2014-04-23
TWI495602B (zh) 2015-08-11

Similar Documents

Publication Publication Date Title
JP5367550B2 (ja) 定量吐出スクイズ容器
JP5367543B2 (ja) 定量吐出スクイズ容器
JP5624838B2 (ja) 定量吐出スクイズ容器
JP5501173B2 (ja) 定量吐出スクイズ容器
JP2016060526A (ja) 定量吐出スクイズ容器
JP6356554B2 (ja) 定量吐出スクイズ容器
TW201919957A (zh) 定量噴出擠壓容器
TWI447046B (zh) 擠壓容器
EP3088325B1 (en) Squeeze container
JP4873222B2 (ja) ピンチグリップ式ボトル型容器
JP5071864B2 (ja) ピンチグリップ式ボトル型容器
WO2019065620A1 (ja) 定量吐出スクイズ容器
JP4856581B2 (ja) 合成樹脂製ボトル
JP7224130B2 (ja) 容器
US20180170617A1 (en) Container for liquid detergent and method for the metered dispensing of detergent from the container
JP2022101778A (ja) 定量吐出スクイズ容器
JP2013216351A (ja) スクイズ容器
JP5463664B2 (ja) スクイズ容器
JP2010126167A (ja) 液体注出容器
JP2007119049A (ja) ピンチグリップ式ボトル型容器

Legal Events

Date Code Title Description
A621 Written request for application examination

Free format text: JAPANESE INTERMEDIATE CODE: A621

Effective date: 20120904

TRDD Decision of grant or rejection written
A01 Written decision to grant a patent or to grant a registration (utility model)

Free format text: JAPANESE INTERMEDIATE CODE: A01

Effective date: 20130903

A61 First payment of annual fees (during grant procedure)

Free format text: JAPANESE INTERMEDIATE CODE: A61

Effective date: 20130911

R151 Written notification of patent or utility model registration

Ref document number: 5367550

Country of ref document: JP

Free format text: JAPANESE INTERMEDIATE CODE: R151

R250 Receipt of annual fees

Free format text: JAPANESE INTERMEDIATE CODE: R250

R250 Receipt of annual fees

Free format text: JAPANESE INTERMEDIATE CODE: R250

R250 Receipt of annual fees

Free format text: JAPANESE INTERMEDIATE CODE: R250

R250 Receipt of annual fees

Free format text: JAPANESE INTERMEDIATE CODE: R250

R250 Receipt of annual fees

Free format text: JAPANESE INTERMEDIATE CODE: R250

R250 Receipt of annual fees

Free format text: JAPANESE INTERMEDIATE CODE: R250

R250 Receipt of annual fees

Free format text: JAPANESE INTERMEDIATE CODE: R250

R250 Receipt of annual fees

Free format text: JAPANESE INTERMEDIATE CODE: R250

R250 Receipt of annual fees

Free format text: JAPANESE INTERMEDIATE CODE: R250

R250 Receipt of annual fees

Free format text: JAPANESE INTERMEDIATE CODE: R250