JP5194792B2 - 露光装置及び方法、露光装置のメンテナンス方法、並びにデバイス製造方法 - Google Patents

露光装置及び方法、露光装置のメンテナンス方法、並びにデバイス製造方法 Download PDF

Info

Publication number
JP5194792B2
JP5194792B2 JP2007524022A JP2007524022A JP5194792B2 JP 5194792 B2 JP5194792 B2 JP 5194792B2 JP 2007524022 A JP2007524022 A JP 2007524022A JP 2007524022 A JP2007524022 A JP 2007524022A JP 5194792 B2 JP5194792 B2 JP 5194792B2
Authority
JP
Japan
Prior art keywords
substrate
exposure light
liquid
exposure
region
Prior art date
Legal status (The legal status is an assumption and is not a legal conclusion. Google has not performed a legal analysis and makes no representation as to the accuracy of the status listed.)
Expired - Fee Related
Application number
JP2007524022A
Other languages
English (en)
Other versions
JPWO2007004552A1 (ja
Inventor
朋春 藤原
Current Assignee (The listed assignees may be inaccurate. Google has not performed a legal analysis and makes no representation or warranty as to the accuracy of the list.)
Nikon Corp
Original Assignee
Nikon Corp
Priority date (The priority date is an assumption and is not a legal conclusion. Google has not performed a legal analysis and makes no representation as to the accuracy of the date listed.)
Filing date
Publication date
Application filed by Nikon Corp filed Critical Nikon Corp
Priority to JP2007524022A priority Critical patent/JP5194792B2/ja
Publication of JPWO2007004552A1 publication Critical patent/JPWO2007004552A1/ja
Application granted granted Critical
Publication of JP5194792B2 publication Critical patent/JP5194792B2/ja
Expired - Fee Related legal-status Critical Current
Anticipated expiration legal-status Critical

Links

Images

Classifications

    • GPHYSICS
    • G03PHOTOGRAPHY; CINEMATOGRAPHY; ANALOGOUS TECHNIQUES USING WAVES OTHER THAN OPTICAL WAVES; ELECTROGRAPHY; HOLOGRAPHY
    • G03FPHOTOMECHANICAL PRODUCTION OF TEXTURED OR PATTERNED SURFACES, e.g. FOR PRINTING, FOR PROCESSING OF SEMICONDUCTOR DEVICES; MATERIALS THEREFOR; ORIGINALS THEREFOR; APPARATUS SPECIALLY ADAPTED THEREFOR
    • G03F7/00Photomechanical, e.g. photolithographic, production of textured or patterned surfaces, e.g. printing surfaces; Materials therefor, e.g. comprising photoresists; Apparatus specially adapted therefor
    • G03F7/70Microphotolithographic exposure; Apparatus therefor
    • G03F7/70216Mask projection systems
    • G03F7/70341Details of immersion lithography aspects, e.g. exposure media or control of immersion liquid supply
    • GPHYSICS
    • G03PHOTOGRAPHY; CINEMATOGRAPHY; ANALOGOUS TECHNIQUES USING WAVES OTHER THAN OPTICAL WAVES; ELECTROGRAPHY; HOLOGRAPHY
    • G03FPHOTOMECHANICAL PRODUCTION OF TEXTURED OR PATTERNED SURFACES, e.g. FOR PRINTING, FOR PROCESSING OF SEMICONDUCTOR DEVICES; MATERIALS THEREFOR; ORIGINALS THEREFOR; APPARATUS SPECIALLY ADAPTED THEREFOR
    • G03F7/00Photomechanical, e.g. photolithographic, production of textured or patterned surfaces, e.g. printing surfaces; Materials therefor, e.g. comprising photoresists; Apparatus specially adapted therefor
    • G03F7/20Exposure; Apparatus therefor
    • G03F7/2041Exposure; Apparatus therefor in the presence of a fluid, e.g. immersion; using fluid cooling means
    • GPHYSICS
    • G03PHOTOGRAPHY; CINEMATOGRAPHY; ANALOGOUS TECHNIQUES USING WAVES OTHER THAN OPTICAL WAVES; ELECTROGRAPHY; HOLOGRAPHY
    • G03FPHOTOMECHANICAL PRODUCTION OF TEXTURED OR PATTERNED SURFACES, e.g. FOR PRINTING, FOR PROCESSING OF SEMICONDUCTOR DEVICES; MATERIALS THEREFOR; ORIGINALS THEREFOR; APPARATUS SPECIALLY ADAPTED THEREFOR
    • G03F7/00Photomechanical, e.g. photolithographic, production of textured or patterned surfaces, e.g. printing surfaces; Materials therefor, e.g. comprising photoresists; Apparatus specially adapted therefor
    • G03F7/70Microphotolithographic exposure; Apparatus therefor
    • G03F7/70058Mask illumination systems
    • G03F7/70066Size and form of the illuminated area in the mask plane, e.g. reticle masking blades or blinds
    • GPHYSICS
    • G03PHOTOGRAPHY; CINEMATOGRAPHY; ANALOGOUS TECHNIQUES USING WAVES OTHER THAN OPTICAL WAVES; ELECTROGRAPHY; HOLOGRAPHY
    • G03FPHOTOMECHANICAL PRODUCTION OF TEXTURED OR PATTERNED SURFACES, e.g. FOR PRINTING, FOR PROCESSING OF SEMICONDUCTOR DEVICES; MATERIALS THEREFOR; ORIGINALS THEREFOR; APPARATUS SPECIALLY ADAPTED THEREFOR
    • G03F7/00Photomechanical, e.g. photolithographic, production of textured or patterned surfaces, e.g. printing surfaces; Materials therefor, e.g. comprising photoresists; Apparatus specially adapted therefor
    • G03F7/70Microphotolithographic exposure; Apparatus therefor
    • G03F7/708Construction of apparatus, e.g. environment aspects, hygiene aspects or materials
    • G03F7/70908Hygiene, e.g. preventing apparatus pollution, mitigating effect of pollution or removing pollutants from apparatus
    • G03F7/70925Cleaning, i.e. actively freeing apparatus from pollutants, e.g. using plasma cleaning

Landscapes

  • Physics & Mathematics (AREA)
  • General Physics & Mathematics (AREA)
  • Engineering & Computer Science (AREA)
  • Health & Medical Sciences (AREA)
  • Epidemiology (AREA)
  • Public Health (AREA)
  • Plasma & Fusion (AREA)
  • Life Sciences & Earth Sciences (AREA)
  • Atmospheric Sciences (AREA)
  • Environmental & Geological Engineering (AREA)
  • Exposure And Positioning Against Photoresist Photosensitive Materials (AREA)
  • Exposure Of Semiconductors, Excluding Electron Or Ion Beam Exposure (AREA)

Description

本発明は、液体を介して基板を露光する露光装置及び方法、露光装置のメンテナンス方法、並びにデバイス製造方法に関するものである。
本願は、2005年6月30日に出願された特願2005−191561号に基づき優先権を主張し、その内容をここに援用する。
半導体デバイス等のマイクロデバイスの製造工程の一つであるフォトリソグラフィ工程では、マスクのパターン像を感光性の基板上に露光する露光装置が用いられる。この露光装置は、マスクを保持するマスクステージと基板を保持する基板ステージとを有し、マスクのパターン像を投影光学系を介して基板に露光するものである。マイクロデバイスの製造においては、デバイスの高密度化のために、基板上に形成されるパターンの微細化が要求されている。この要求に応えるために露光装置の更なる高解像度化が望まれており、その高解像度化を実現するための手段の一つとして、下記特許文献に開示されているような、投影光学系と基板との間の露光光の光路空間を液体で満たし、投影光学系及び液体を介して基板を露光する液浸露光装置が案出されている。
国際公開第99/49504号パンフレット
ところで、投影光学系と基板との間の光路空間を液体で満たしたとき、その液体中に、例えば基板上から発生した不純物が混入する可能性がある。不純物を含んだ液体が投影光学系の光学部材に接触すると、その光学部材が汚染される可能性がある。光学部材の汚染は、露光装置の性能の劣化をもたらす。
本発明はこのような事情に鑑みてなされたものであって、液浸法を適用する場合にも、その性能の劣化を防止できる露光装置及び方法、並びにその露光装置及び方法を用いるデバイス製造方法を提供することを目的とする。また、液浸法を用いる露光装置の性能の劣化を防止できるメンテナンス方法を提供することを目的とする。
上記の課題を解決するため、本発明は実施の形態に示す各図に対応付けした以下の構成を採用している。但し、各要素に付した括弧付き符号はその要素の例示に過ぎず、各要素を限定するものではない。
本発明の第1の態様に従えば、液体(LQ)を介して基板(P)上に露光光(EL)を照射して基板(P)を露光する露光装置において、液体(LQ)に接触する第1面(T1)を有する光学部材(FL)と、基板(P)上に露光光(EL)が照射される第1状態において、露光光(EL)の照射領域(IA、AR)を設定する設定装置(45)とを備え、基板(P)上に露光光(EL)が照射されない第2状態において、光学部材(FL)の第1面(T1)のうち、第1状態で露光光(EL)が通過する第1領域(C1)とは異なる第2領域(C2)に露光光(EL)を照射して第2領域(C2)を光洗浄する露光装置(EX)が提供される。
本発明の第2の態様に従えば、液体(LQ)を介して基板(P)を露光する露光装置であって、液体(LQ)に接触する第1面(T1)を有する光学部材(FL)と、露光光(EL)の照射領域(IA、AR)を設定する設定装置(45)とを備える露光装置(EX)が提供される。設定装置(45)は、光学部材(FL)の第1面(T1)の第1領域(C1)を介して基板(P)に露光光(EL)が照射される露光モードと、光学部材(FL)の第1面(T1)の第2領域(C2)に露光光(EL)が照射される光洗浄モードとを有する。
本発明の第1及び第2の態様によれば、光学部材の液体と接触する第1面の第2領域を光洗浄することができるので、露光装置の性能の劣化を防止できる。
本発明の第3の態様に従えば、上記態様の露光装置(EX)を用いるデバイス製造方法が提供される。
本発明の第3の態様によれば、性能の劣化が防止された露光装置を用いてデバイスを製造することができる。
本発明の第4の態様に従えば、光学部材(FL)及び液体(LQ)を介して基板(P)上に露光光(EL)を照射して基板(P)を露光する露光装置(EX)のメンテナンス方法において、光学部材(FL)の液体(LQ)と接触する第1面(T1)のうち、基板(P)上に露光光(EL)を照射するときに露光光(EL)が通過する第1領域(C1)とは異なる第2領域(C2)に露光光(EL)を照射して、第2領域(C2)を光洗浄するメンテナンス方法が提供される。
本発明の第5の態様に従えば、液体(LQ)と、液体(LQ)と接触する第1面(T1)を有する光学部材(FL)とを介して基板(P)に露光光(EL)を照射する工程であり、光学部材(FL)の第1面(T1)の第1領域(C1)を露光光(EL)が通過する前記工程と;光学部材(FL)の第1面(T1)の第2領域(C2)に露光光(EL)を照射して第2領域(C2)を光洗浄する工程と、を備える露光方法が提供される。
本発明の第4及び第5の態様によれば、光学部材の液体と接触する第1面の第2領域を光洗浄することができるので、露光装置の性能の劣化を防止できる。
第1実施形態に係る露光装置を示す概略構成図である。 液浸機構の要部を示す側断面図である。 液浸機構の要部を示す斜視図である。 第1状態における設定装置と露光光の照射領域との関係を示す模式図である。 第1状態における設定装置と露光光の照射領域との関係を示す模式図である。 第1実施形態に係るメンテナンス方法を説明するための図である。 第2状態における設定装置と露光光の照射領域との関係を示す模式図である。 第2状態における設定装置と露光光の照射領域との関係を示す模式図である。 第2実施形態に係る設定装置を示す模式図である。 第2実施形態に係る設定装置を示す模式図である。 第3実施形態に係る設定装置を示す模式図である。 第3実施形態に係る設定装置を示す模式図である。 第4実施形態に係るメンテナンス方法を説明するための図である。 第5実施形態に係るメンテナンス方法を説明するための図である。 マイクロデバイスの製造工程の一例を説明するためのフローチャート図である。
符号の説明
1…液浸機構、4…基板ステージ、6…ノズル部材、8…計測ステージ、11…液体供給装置、21…液体回収装置、43…第1ブラインド(設定部材)、43D…駆動装置、43K…開口、44、44’…第2ブラインド(設定部材)、44D…駆動装置、44K…開口、45…ブラインド装置(設定装置、調整機構)、AR…投影領域(照射領域)、C1…第1領域、C2…第2領域、DP…ダミー基板、EL…露光光、EX…露光装置、FL…最終光学素子(光学部材)、IA…照明領域(照射領域)、K…光路空間、LQ…液体、LR…液浸領域、P…基板、T1…下面(第1面)、T2…上面(第2面)
以下、本発明の実施形態について図面を参照しながら説明するが、本発明はこれに限定されない。
<第1実施形態>
第1実施形態について説明する。図1は第1実施形態に係る露光装置EXを示す概略構成図である。図1において、露光装置EXは、マスクMを保持して移動可能なマスクステージ3と、基板Pを保持して移動可能な基板ステージ4と、マスクステージ3に保持されているマスクMを露光光ELで照明する照明系ILと、露光光ELで照明されたマスクMのパターン像を基板P上に投影する投影光学系PLと、露光装置EX全体の動作を制御する制御装置7とを備えている。
なお、ここでいう基板は半導体ウエハ等の基材上に感光材(フォトレジスト)、保護膜(トップコート膜)、反射防止膜などの各種の膜を少なくとも1層塗布したものを含み、マスクは基板上に縮小投影されるデバイスパターンを形成されたレチクルを含む。また、本実施形態においては、マスクとして透過型のマスクを用いるが、反射型のマスクを用いてもよい。
本実施形態の露光装置EXは、露光波長を実質的に短くして解像度を向上するとともに焦点深度を実質的に広くするために液浸法を適用した液浸露光装置である。露光装置EXは、投影光学系PLの像面側の露光光ELの光路空間Kを液体LQで満たし、基板P上に液体LQの液浸領域LRを形成する液浸機構1を備えている。露光装置EXは、少なくともマスクMのパターン像を基板Pに露光している間、液浸機構1を用いて、露光光ELの光路空間Kを液体LQで満たす。露光装置EXは、投影光学系PLと光路空間Kに満たされた液体LQとを介してマスクMを通過した露光光ELを基板P上に照射することによって、マスクMのパターン像を基板Pに露光する。また、本実施形態の露光装置EXは、光路空間Kに満たされた液体LQが、投影光学系PLの投影領域ARを含む基板P上の一部の領域に、投影領域ARよりも大きく且つ基板Pよりも小さい液体LQの液浸領域LRを局所的に形成する局所液浸方式を採用している。本実施形態においては、液体LQとして純水を用いる。
本実施形態では、露光装置EXとしてマスクMと基板Pとを走査方向に同期移動しつつマスクMに形成されたパターンを基板Pに露光する走査型露光装置(所謂スキャニングステッパ)を使用する場合を例にして説明する。以下の説明において、水平面内においてマスクMと基板Pとの同期移動方向(走査方向)をY軸方向、水平面内においてY軸方向と直交する方向をX軸方向(非走査方向)、X軸及びY軸方向に直交する方向(本例では投影光学系PLの光軸と平行な方向)をZ軸方向とする。また、X軸、Y軸、及びZ軸まわりの回転(傾斜)方向をそれぞれ、θX、θY、及びθZ方向とする。
照明系ILは、光源30及び照明光学系40を含んで構成されており、マスクM上の所定の照明領域IAを均一な照度分布の露光光ELで照明するものである。照明系ILから射出される露光光ELとしては、例えば水銀ランプから射出される輝線(g線、h線、i線)及びKrFエキシマレーザ光(波長248nm)等の遠紫外光(DUV光)、ArFエキシマレーザ光(波長193nm)及びFレーザ光(波長157nm)等の真空紫外光(VUV光)などが用いられる。本実施形態においては、光源30としてArFエキシマレーザ装置が用いられ、露光光ELとしてArFエキシマレーザ光が用いられる。
照明光学系40は、コリメータレンズ、及びフライアイレンズ等のオプティカルインテグレータ等を含む照度均一化光学系41、リレー光学系42、46、第1ブラインド43及び第2ブラインド44を含むブラインド装置45、ミラー47、及びコンデンサレンズ48等を備えている。
ブラインド装置45は、露光光ELの光路上に設けられ、マスクM上での露光光ELの照射領域(照明領域)IA、及び基板P上での露光光ELの照射領域(投影領域)ARを調整可能である。本実施形態のブラインド装置45は、例えば特開平4−196513号公報(対応米国特許第5,473,410号)、あるいは国際公開第99/63585号パンフレット(対応米国特許第6,597,002号)に開示されているような、露光光ELの光路上に設けられ、マスクM上の露光光ELの照射領域(照明領域)IAを設定するための開口43Kを形成する第1ブラインド43と、走査露光の開始時及び終了時において不要な部分の露光を防止するために照明領域IAを更に制限する第2ブラインド44とを備えている。また、本実施形態のブラインド装置45は、第1ブラインド43を駆動する第1駆動装置43Dと、第2ブラインド44を駆動する第2駆動装置44Dとを備えている。第1ブラインド43は、マスクM上の照明領域IAを設定するための開口43Kを備えており、マスクMのパターン面に対する共役面から僅かにデフォーカスした面に配置されている。本実施形態においては、第1ブラインド43の開口43Kは矩形状(スリット状)に形成されている。ブラインド装置45の第1ブラインド43によってマスクM上の露光光ELの照射領域(照明領域)IAが設定されることにより、基板P上の露光光ELの照射領域(投影領域)ARも設定される。第1ブラインド43の開口43Kを適宜調整することにより、マスクM上での露光光ELの照射領域(照明領域)IA、及び基板P上での露光光ELの投影領域(照射領域)ARを調整することができる。
第2ブラインド44は第1ブラインド43の近傍に配置されており、マスクMの走査方向(Y軸方向)及び非走査方向(X軸方向)のそれぞれに対応する方向の位置及び幅を可変とする開口44Kを有している。第2ブラインド44は、複数の板状部材を組み合わせて構成されており、制御装置7は、第2駆動装置44Dを用いて板状部材のそれぞれを駆動することによって、開口44Kの大きさを調整して露光光ELの少なくとも一部を遮ることが可能である。ブラインド装置45は、走査露光の開始時及び終了時に第2ブラインド44を介して照明領域IAを更に制限することによって、不要な部分の露光を防止する。
なお、走査方向(Y軸方向)及び非走査方向(X軸方向)の少なくとも一方に関する照明領域IA(投影領域AR)の幅の調整では、第1ブラインド43の代わりに、あるいはそれと組み合わせて、第2ブラインド44を用いることとしてもよい。また、例えばオプティカルインテグレータとして内面反射型インテグレータ(ロッドなど)を用いる場合、その射出面で第1ブラインド43を兼用し、照明領域IA(投影領域AR)の調整に用いる第2ブラインド44のみを設けることとしてもよい。さらに、第1及び第2ブラインド43、44は照明系内に配置するものとしたが、これに限らず、マスクMのパターン面との共役面、あるいはパターン面及びその共役面の一方の近傍に配置すればよい。また、第1及び第2ブラインド43、44はどちらが上流側に配置されてもよいし、互いに近接して配置しなくてもよい。なお、照明領域IA(投影領域AR)の少なくとも幅の調整に用いるブラインド(エッジ)はマスクMのパターン面と共役に配置することが好ましい。
このようにして構成された照明系ILの作用を簡単に説明すると、光源30から射出された露光光ELは、照度均一化光学系41によって均一な照度分布に調整される。照度均一化光学系41から射出された露光光ELは、第1リレーレンズ42を通過した後、ブラインド装置45の第1ブラインド43の開口43K及び第2ブラインド44を通過する。ブラインド装置45を通過した露光光ELは、第2リレーレンズ46を通過した後、ミラー47によって光路を折り曲げられる。ミラー47によって光路を折り曲げられた露光光ELは、コンデンサレンズ48を通過した後、マスクステージ3に保持されたマスクM上の照明領域IAを均一な照度分布で照明する。
マスクステージ3は、リニアモータ等のアクチュエータを含むマスクステージ駆動装置3Dの駆動により、マスクMを保持した状態で、X軸、Y軸、及びθZ方向に移動可能である。マスクステージ3(ひいてはマスクM)の位置情報はレーザ干渉計3Lによって計測される。レーザ干渉計3Lはマスクステージ3上に設けられた移動鏡3Kを用いてマスクステージ3の位置情報を計測する。制御装置7は、レーザ干渉計3Lの計測結果に基づいてマスクステージ駆動装置3Dを駆動し、マスクステージ3に保持されているマスクMの位置制御を行う。
なお、移動鏡3Kは平面鏡のみでなくコーナーキューブ(レトロリフレクタ)を含むものとしてもよいし、移動鏡3Kをマスクステージ3に固設する代わりに、例えばマスクステージ3の端面(側面)を鏡面加工して形成される反射面を用いてもよい。
投影光学系PLは、マスクMのパターン像を所定の投影倍率で基板Pに投影するものであって、複数の光学素子を有しており、それら光学素子は鏡筒PKで保持されている。本実施形態の投影光学系PLは、その投影倍率が例えば1/4、1/5、1/8等の縮小系であり、前述の照明領域IAと共役な投影領域ARにマスクパターンの縮小像を形成する。なお、投影光学系PLは縮小系、等倍系及び拡大系のいずれでもよい。また、投影光学系PLは、反射光学素子を含まない屈折系、屈折光学素子を含まない反射系、反射光学素子と屈折光学素子とを含む反射屈折系のいずれであってもよい。また、投影光学系PLは、倒立像と正立像とのいずれを形成してもよい。本実施形態においては、投影光学系PLの複数の光学素子のうち、投影光学系PLの像面に最も近い最終光学素子FLのみが光路空間Kの液体LQと接触する。
基板ステージ4は、基板Pを保持する基板ホルダ4Hを有しており、ベース部材5上で、基板ホルダ4Hに基板Pを保持して移動可能である。基板ホルダ4Hは、基板ステージ4上に設けられた凹部4Rに配置されており、基板ステージ4のうち凹部4R以外の上面4Fは、基板ホルダ4Hに保持された基板Pの表面とほぼ同じ高さ(面一)になるような平坦面となっている。なお、基板ホルダ4Hに保持された基板Pの表面と基板ステージ4の上面4Fとの間に段差があってもよい。また、基板ステージ4の上面4Fはその一部、例えば基板P(凹部4R)を囲む所定領域のみ、基板Pの表面とほぼ同じ高さとしてもよい。さらに、基板ホルダ4Hを基板ステージ4の一部と一体に形成してもよいが、本実施形態では基板ホルダ4Hと基板ステージ4の一部とを別々に構成し、例えば真空吸着などによって基板ホルダ4Hを凹部4Rに固定している。
基板ステージ4は、リニアモータ等のアクチュエータを含む基板ステージ駆動装置4Dの駆動により、基板Pを保持した状態で、X軸、Y軸、Z軸、θX、θY、及びθZ方向の6自由度の方向に移動可能である。基板ステージ4(ひいては基板P)の位置情報はレーザ干渉計4Lによって計測される。レーザ干渉計4Lは基板ステージ4に設けられた移動鏡4Kを用いて基板ステージ4のX軸、Y軸、及びθZ方向に関する位置情報を計測する。また、基板ステージ4に保持されている基板Pの表面の面位置情報(Z軸、θX、及びθY方向に関する位置情報)は、不図示のフォーカス・レベリング検出系によって検出される。制御装置7は、レーザ干渉計4Lの計測結果及びフォーカス・レベリング検出系の検出結果に基づいて基板ステージ駆動装置4Dを駆動し、基板ステージ4に保持されている基板Pの位置制御を行う。
なお、レーザ干渉計4Lは基板ステージ4のZ軸方向の位置、及びθX、θY方向の回転情報をも計測可能としてよく、その詳細は、例えば特表2001−510577号公報(対応国際公開第1999/28790号パンフレット)に開示されている。さらに、移動鏡4Kを基板ステージ4に固設する代わりに、例えば基板ステージ4の一部(側面など)を鏡面加工して形成される反射面を用いてもよい。
また、フォーカス・レベリング検出系はその複数の計測点でそれぞれ基板PのZ軸方向の位置情報を計測することで、基板PのθX及びθY方向の傾斜情報(回転角)を検出するものであるが、この複数の計測点はその少なくとも一部が液浸領域LR(又は投影領域AR)内に設定されてもよいし、あるいはその全てが液浸領域LRの外側に設定されてもよい。さらに、例えばレーザ干渉計4Lが基板PのZ軸、θX及びθY方向の位置情報を計測可能であるときは、基板Pの露光動作中にそのZ軸方向の位置情報が計測可能となるようにフォーカス・レベリング検出系を設けなくてもよく、少なくとも露光動作中はレーザ干渉計4Lの計測結果を用いてZ軸、θX及びθY方向に関する基板Pの位置制御を行うようにしてもよい。
次に、図2及び図3を参照しながら液浸機構1について説明する。図2は液浸機構1の要部を示す側断面図、図3は斜視図である。液浸機構1は、基板ステージ4に保持された基板Pと、その基板Pと対向する位置に設けられ、露光光ELが通過する投影光学系PLの最終光学素子FLとの間の光路空間Kを液体LQで満たす。液浸機構1は、光路空間Kの近傍に設けられ、光路空間Kに対して液体LQを供給する供給口12及び液体LQを回収する回収口22を有するノズル部材6と、供給管13、及びノズル部材6の供給口12を介して液体LQを供給する液体供給装置11と、ノズル部材6の回収口22、及び回収管23を介して液体LQを回収する液体回収装置21とを備えている。ノズル部材6は、投影光学系PLの最終光学素子FLを囲むように設けられた環状部材である。また、ノズル部材6の内部には、供給口12と供給管13とを接続する供給流路14、及び回収口22と回収管23とを接続する回収流路24が形成されている。液体供給装置11及び液体回収装置21の動作は制御装置7に制御される。液体供給装置11は清浄で温度調整された液体LQを送出可能であり、真空系等を含む液体回収装置21は液体LQを回収可能である。
ノズル部材6は、最終光学素子FLの下面T1と対向する上面19を有する底板18を有している。底板18の一部は、Z軸方向に関して、投影光学系PLの最終光学素子FLの下面T1と基板P(基板ステージ4)との間に配置されている。また、底板18の中央部には、露光光ELが通過する開口18Kが形成されている。開口18Kは、露光光ELが照射される投影領域ARよりも大きく形成されている。これにより、投影光学系PL(最終光学素子FL)を通過した露光光ELは、底板18に遮られることなく、基板P上に到達できる。本実施形態においては、開口18Kは、露光光ELの断面形状(すなわち投影領域AR)に応じた平面視略矩形状に形成されている。なお、底板18の開口18Kの形状は、露光光ELを通過可能であれば、適宜変更可能である。
ノズル部材6のうち、基板ステージ4に保持された基板Pの表面と対向する下面は、XY平面と平行な平坦面となっている。ノズル部材6の下面とは、底板18の下面17を含むものである。基板ステージ4に保持された基板Pの表面はXY平面とほぼ平行であるため、ノズル部材6の下面17は、基板ステージ4に保持された基板Pの表面と対向するように、且つ基板Pの表面と略平行となるように設けられている。以下の説明においては、ノズル部材6(底板18)の下面17を適宜、ランド面17と称する。ランド面17は、ノズル部材6のうち、基板ステージ4に保持された基板Pに最も近い位置に設けられた平坦面であり、投影光学系PLの最終光学素子FLの下面T1と基板Pの表面との間において、露光光ELの光路(投影領域AR)を囲むように設けられている。
基板Pの表面と最終光学素子FLの下面T1との距離は、基板Pの表面とランド面17との距離よりも長くなっている。すなわち、最終光学素子FLの下面T1は、ランド面17より高い位置に設けられている。本実施形態においては、基板Pの表面と最終光学素子FLの下面T1との距離は、約3mm程度に設定されている。また、基板Pの表面とランド面17との距離は、約1mm程度に設定されている。そして、ランド面17には光路空間Kに満たされた液体LQが接触するようになっており、最終光学素子FLの下面T1にも光路空間Kに満たされた液体LQが接触するようになっている。すなわち、ノズル部材6のランド面17及び最終光学素子FLの下面T1は、光路空間Kに満たされた液体LQと接触する液体接触面となっている。
また、底板18は、最終光学素子FLの下面T1及び基板P(基板ステージ4)とは接触しないように設けられており、最終光学素子FLの下面T1と底板18の上面19との間には所定のギャップを有する空間が設けられている。以下の説明においては、最終光学素子FLの下面T1と底板18の上面19との間の空間を含むノズル部材6の内側の空間を適宜、内部空間SPと称する。
ノズル部材6の内部には、供給口12に接続する供給流路14が形成されている。供給流路14は、ノズル部材6の一部を貫通するスリット状の貫通孔によって形成されている。本実施形態においては、供給流路14は、光路空間K(投影領域AR)に対してY軸方向両側のそれぞれに設けられている。そして、供給流路14の上端部と液体供給装置11とが供給管13を介して接続されている。一方、供給流路14の下端部は、最終光学素子FLと底板18との間の内部空間SPに接続されており、この供給流路14の下端部が供給口12となっている。したがって、供給口12と液体供給装置11とは、供給管13及び供給流路14を介して接続されている。本実施形態においては、供給口12は、露光光ELの光路空間Kの外側において、光路空間Kを挟んだY軸方向両側のそれぞれの所定位置に設けられている。供給管13及び供給流路14は、複数(本実施形態では2つ)の供給口12に対応するように複数設けられている。
図3に示すように、ノズル部材6は、内部空間SPの気体を外部空間(大気空間)STに排出(排気)する排出口16と、排出口16に接続する排出流路15とを備えている。排出流路15は、ノズル部材6の一部を貫通するスリット状の貫通孔によって形成されている。本実施形態においては、排出流路15は、光路空間K(投影領域AR)に対してX軸方向両側のそれぞれに設けられている。そして、排出流路15の上端部は外部空間(大気空間)STに接続されており、大気開放された状態となっている。一方、排出流路15の下端部は、最終光学素子FLと底板18との間の内部空間SPに接続されており、この排出流路15の下端部が排出口16となっている。排出口16は、露光光ELの光路空間Kの外側において、光路空間Kを挟んだX軸方向両側のそれぞれの所定位置に設けられている。排出口16は、内部空間SPに接続され、内部空間SPの気体、すなわち投影光学系PLの像面周囲の気体は、排出口16を介して、排出流路15の上端部より、外部空間STに排出(排気)可能となっている。なお、排出流路15の上端部と真空系を含む吸引装置とを接続し、吸引装置を駆動することによって、内部空間SPの気体を強制的に排出するようにしてもよい。
ノズル部材6の内部には、回収口22に接続する回収流路24が形成されている。ノズル部材6には、下向きに開口する空間が形成されており、回収流路24はその空間によって構成されている。そして、回収口22は、下向きに開口する空間の開口によって構成されている。回収流路24は、光路空間Kに対して供給流路14及び排出流路15の外側に設けられている。
回収口22は、基板ステージ4に保持された基板Pの上方において、その基板Pの表面と対向する位置に設けられている。基板ステージ4に保持された基板Pの表面とノズル部材6に設けられた回収口22とは所定距離だけ離れている。回収口22は、投影光学系PLの像面側の光路空間Kに対して供給口12及び排出口16の外側に設けられており、光路空間K(投影領域AR)、ランド面17、供給口12、及び排出口16を囲むように環状に形成されている。本実施形態においては、回収口22は平面視円環状に形成されている。そして、回収流路24と液体回収装置21とが回収管23を介して接続されている。したがって、回収口22と液体回収装置21とは、回収管23及び回収流路24を介して接続されている。なお、回収口22は連続的に形成される単一の回収口でもよいし、あるいは断続的に形成される複数の回収口でもよい。
ノズル部材6は、回収口22を覆うように配置され、複数の孔を有する多孔部材25を備えている。多孔部材25は、例えばチタン製のメッシュ部材、あるいはセラミックス製の多孔体によって構成可能である。多孔部材25は、基板ステージ4に保持された基板Pと対向する下面25Bを有している。多孔部材25の基板Pと対向する下面25Bはほぼ平坦である。多孔部材25は、その下面25Bが基板ステージ4に保持された基板Pの表面(すなわちXY平面)とほぼ平行になるように回収口22に設けられている。液体LQは、回収口22に配置された多孔部材25を介して回収される。また、回収口22は、光路空間Kを囲むように環状に形成されているため、その回収口22に配置される多孔部材25は、回収口22に対応するように、光路空間Kを囲むように環状に形成されている。
また、多孔部材25は、その下面25Bとランド面17とがZ軸方向においてほぼ同じ位置(高さ)になるように、且つ下面25Bとランド面17とが連続するように、回収口22に設けられている。すなわち、ランド面17と多孔部材25の下面25Bとはほぼ面一に設けられている。
また、本実施形態においては、液浸機構1は、多孔部材25の各孔の径、多孔部材25と液体LQとの接触角、及び液体LQの表面張力などに応じて、回収流路24の圧力と外部空間(大気空間)STの圧力との差を最適化することによって、回収口22を介して液体LQのみを回収するように設けられている。具体的には、液浸機構1は、液体回収装置21による回収流路24に対する吸引力を制御して、回収流路24の圧力を最適化することによって、液体LQのみを回収する。
なお、ノズル部材6の供給口、回収口、排出口の数、位置、形状は、図3で示したものに限られず、液浸領域LRを良好に維持できるものであればよい。例えば、供給口12をX軸方向の両側に設け、排出口16をY軸方向の両側に設けてもよい。
次に、上述した構成を有する露光装置EXを用いてマスクMのパターン像を基板Pに露光する方法について説明する。
露光光ELの光路空間Kを液体LQで満たすために、制御装置7は、液体供給装置11及び液体回収装置21のそれぞれを駆動する。制御装置7の制御のもとで液体供給装置11から送出された液体LQは、供給管13を流れた後、ノズル部材6の供給流路14を介して、供給口12より投影光学系PLの最終光学素子FLと底板18との間の内部空間SPに供給される。内部空間SPに液体LQが供給されることにより、内部空間SPに存在していた気体部分は排出口16及び/又は開口18Kを介して外部に排出される。
内部空間SPに供給された液体LQは、開口18Kを介してランド面17と基板P(基板ステージ4)との間の空間に流入し、光路空間Kを満たす。このとき、制御装置7は、液体回収装置21を用いて、単位時間当たり所定量の液体LQを回収している。ランド面17と基板Pとの間の空間の液体LQは、ノズル部材6の回収口22を介して回収流路24に流入し、回収管23を流れた後、液体回収装置21に回収される。
制御装置7は、液浸機構1を制御して、液体供給装置11による液体供給動作と液体回収装置21による液体回収動作とを並行して行うことで、光路空間Kを液体LQで満たし、基板P上の一部の領域に液体LQの液浸領域LRを局所的に形成する。そして、制御装置7は、露光光ELの光路空間Kを液体LQで満たした状態で、投影光学系PLと基板Pとを相対的に移動しながらマスクMのパターン像を投影光学系PL及び光路空間Kの液体LQを介して基板P上に露光する。本実施形態の露光装置EXは、Y軸方向を走査方向とする走査型露光装置であるため、制御装置7は、基板ステージ4を制御して、基板Pを所定速度でY軸方向に移動しながら露光する。
制御装置7は、基板Pに露光光ELを照射するとき、ブラインド装置45を用いて、基板P上における露光光ELの照射領域(投影領域)ARを設定する。基板Pの表面には、露光光ELが照射される照射領域(投影領域)ARがブラインド装置45によってスリット状に設定される。すなわち、図4Aの模式図に示すように、基板P上に露光光ELを照射する第1状態においては、制御装置7は、ブラインド装置45を用いて、マスクM上における露光光ELの照射領域(照明領域)IA、ひいては基板P上における露光光ELの照射領域(投影領域)ARを設定する。そして、図4Bの模式図に示すように、基板P上に露光光ELを照射している第1状態においては、最終光学素子FLの上面T2に入射し、最終光学素子FLを通過した露光光ELは、投影光学系PLの最終光学素子FLの液体LQと接触する下面(液体接触面)T1のうち、照射領域(投影領域)ARに応じた第1領域C1を通過する。最終光学素子FLの下面T1の第1領域C1を通過した露光光ELは、液体LQを通過した後、基板P上に照射される。このように、露光光ELは、最終光学素子FL及び光路空間Kの液体LQを介して基板P上に照射される。
本実施形態においては、ノズル部材6は、基板Pと対向するランド面17を有する底板18を有しており、露光光ELの光路を囲むように、基板Pとランド面17との間に小さいギャップが形成されるので、液体LQを基板Pの表面とランド面17との間で良好に保持することができる。したがって、液体LQが満たされた光路空間Kに対して基板Pを移動する場合でも、液体LQの流出を防止することができる。
ところで、図2に示すように、基板Pは、半導体ウエハなどからなる基材Wと、その基材Wの表面を覆う感光材(フォトレジスト)からなる第1膜Rgとを備えている。そして、光路空間Kを満たす液体LQ中には、第1膜Rgから発生した不純物(異物)が混入する可能性がある。なお、感光材から発生する不純物とは、感光材の破片、感光材に含まれる電解質の析出物等を含む。また、感光材が化学増幅型レジストである場合には、感光材から発生する不純物として、ベース樹脂中に含まれる光酸発生剤(PAG:Photo Acid Generator)、及びクエンチャーと呼ばれるアミン系物質等が挙げられる。感光材は有機物を含んでいるため、光路空間Kを満たす液体LQ中に有機物を含む不純物が混入する可能性がある。光路空間Kを満たす液体LQは、最終光学素子FLの下面(液体接触面)T1にも接触するため、最終光学素子FLの下面T1に不純物(有機物)が付着する可能性がある。また、基板Pとして、基材Wと、第1膜Rgと、その第1膜Rgを覆うトップコート膜と呼ばれる保護膜を形成した場合でも、そのトップコート膜から液体LQ中に不純物が発生したり、あるいはトップコート膜を介して感光材(第1膜Rg)から不純物が液体LQ中に混入する可能性があり、最終光学素子FLの下面T1に不純物(有機物)が付着する可能性がある。
本実施形態においては、露光光ELとして、光洗浄効果を有する紫外光であるArFエキシマレーザ光を用いているため、最終光学素子FLの下面T1のうち、露光光ELが通過する第1領域C1は光洗浄される。紫外光である露光光ELが照射されることにより、最終光学素子FLの下面T1の第1領域C1に付着した不純物(有機物)は、酸化分解されて除去される。すなわち、最終光学素子FLの下面T1の第1領域C1は、基板Pに露光光ELを照射している第1状態において、露光光ELによって光洗浄されている。このように、露光光ELの照射により、最終光学素子FLの下面T1の第1領域C1を光洗浄することができ、最終光学素子FLの下面T1の第1領域C1に付着した不純物(有機物)を除去することができる。また、露光光ELが照射されることにより、最終光学素子FLの下面T1の第1領域C1の親液性を維持する(あるいは高める)ことができる。
また、基板P上に露光光ELを照射している第1状態においては、制御装置7は、液浸機構1の液体供給装置11及び液体回収装置21を用いて、液体LQの供給と回収とを並行して行っている。このように、液体供給装置11及び液体回収装置21を用いて液体LQの供給及び回収を行いながら、露光光ELの照射による光洗浄によって最終光学素子FLの下面T1の第1領域C1から除去された異物(不純物)を、液体LQとともに回収することができる。
ところが、最終光学素子FLの下面T1のうち、露光光ELが通過する第1領域C1とは異なる第2領域(第1領域C1を除く下面T1の残りの領域の少なくとも一部を含む)C2にも不純物(有機物)が付着する可能性がある。そこで、本実施形態においては、例えば露光装置EXのメンテナンス時など、基板P上に露光光ELを照射しない第2状態において、最終光学素子FLの下面T1のうち、第1領域C1とは異なる第2領域C2に露光光ELを照射して、その第2領域C2を光洗浄する処理が行われる。
図5は最終光学素子FLの下面T1の第2領域C2を光洗浄している状態を示す図である。ここで、最終光学素子FLの下面T1の第2領域C2とは、第1領域C1及び第1領域C1の周囲の領域を含む領域である。本実施形態では、最終光学素子FLの下面T1のほぼ全部の領域が第2領域C2であるものとして説明する。
図5に示すように、露光光ELを用いて第2領域C2を光洗浄するときには、液浸機構1によって、最終光学素子FLと基板P以外の所定部材との間に液体LQで満たされる。本実施形態においては、所定部材として、基板ステージ4に保持され、デバイスを製造するための基板Pとは異なるダミー基板DPが用いられる。ダミー基板DPは、デバイスを製造するための基板Pとほぼ同じ外形を有しており、基板ステージ4の基板ホルダ4Hによって保持可能である。ダミー基板DPは、液体LQ中に不純物を発生させない撥液性の表面を有している。
第2領域C2に露光光ELを照射して第2領域C2を光洗浄するときに、露光装置EXは、投影光学系PLの最終光学素子FLと基板ステージ4に保持されたダミー基板DPとを対向させる。その状態で、露光装置EXは、液浸機構1を用いて、投影光学系PLとダミー基板DPとの間を液体LQで満たし、ダミー基板DP上に液体LQの液浸領域LRを形成する。
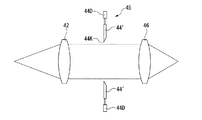
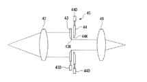
制御装置7は、投影光学系PLとダミー基板DPとの間を液体LQで満たした状態で、第2領域C2を光洗浄するために、ブラインド装置45を駆動する。具体的には、図6Aの模式図に示すように、制御装置7は、第2領域C2に露光光ELを照射するために、第1駆動装置43Dを用いて、露光光ELの光路上に設けられている第1ブラインド43を駆動して露光光ELの光路上から退かす。また、制御装置7は、第2駆動装置44Dを用いて、第2ブラインド44を駆動して、開口44Kを調整する。具体的には、第2領域C2に露光光ELを照射するために、制御装置7は、開口44Kの大きさを、基板P上に露光光ELを照射しているときよりも大きくする。こうすることにより、図6Bの模式図に示すように、基板P上に露光光ELを照射していない第2状態においては、最終光学素子FLの上面T2に入射した露光光ELは、投影光学系PLの最終光学素子FLの液体LQと接触する下面(液体接触面)T1の第2領域C2に照射される。
このように、最終光学素子FLの下面T1の第2領域C2に光洗浄効果を有する紫外光である露光光ELが照射されることにより、最終光学素子FLの下面T1の第2領域C2に付着した不純物(有機物)を酸化分解して除去することができる。また、露光光ELが照射されることにより、最終光学素子FLの下面T1の第2領域C2の親液性を維持する(あるいは高める)ことができる。
また、最終光学素子FLの下面T1の第2領域C2を通過した露光光ELは、ノズル部材6の底板18の上面19にも照射される。したがって、ノズル部材6の底板18の上面19に付着した不純物(有機物)を酸化分解して除去することができる。また、露光光ELが照射されることにより、ノズル部材6の底板18の上面19の親液性を維持する(あるいは高める)ことができる。
また、制御装置7は、液浸機構1の液体供給装置11及び液体回収装置21を用いて、液体LQの供給と回収とを並行して行いつつ、第2領域C2に露光光ELを照射する。これにより、光洗浄によって最終光学素子FLの下面T1の第2領域C2から除去された異物(不純物)を、液体LQとともに回収することができる。
以上説明したように、最終光学素子FLの下面T1のうち基板Pの露光時には露光光ELが通過しない第2領域C2に露光光ELを照射することで、第1領域C1以外の第2領域C2に付着した不純物(有機物)を光洗浄効果によって除去することができる。したがって、最終光学素子FLの下面T1における透過率の低下、投影光学系PLの結像特性の変動等といった不都合の発生を防止し、露光装置EXの性能の劣化を防止することができる。このように、本実施形態においては、露光光ELの光路空間Kを満たすための液体LQに接触する光学部材の汚染に起因する露光装置EXの性能の劣化を防止することができる。
また、露光光ELを照射することによって、最終光学素子FLの下面T1の親液性を維持することができる。したがって、最終光学素子FLの下面T1に液体LQを良好に密着させることができ、泡などの混入を抑えて、所望状態の液浸領域LRを形成することができる。
また、最終光学素子FLの下面T1の第2領域C2を通過した露光光ELがノズル部材6の底板18の上面19に照射されることにより、底板18の上面19に付着した不純物を除去することができるとともに、底板18の上面19の親液性を維持することができる。
本実施形態においては、液浸領域LRを良好に形成するために、ノズル部材6にはランド面17を有する底板18が設けられており、最終光学素子FLの下面T1と底板18との間に所定のギャップを有する内部空間SPが形成されているが、内部空間SPに不純物を含んだ液体LQが入り込んだ場合、その液体LQの流れによっては、内部空間SPにおける液体LQ中の不純物の濃度が高まり、最終光学素子FLの下面T1及び底板18の上面19に不純物が付着し易くなる可能性がある。
不純物の付着等によって最終光学素子FLの下面T1の親液性が劣化した場合(下面T1が撥液化した場合)、最終光学素子FLの下面T1と液体LQとの密着性が低下し、光路空間Kを満たす液体LQ中に気泡(気体部分)が生成されやすくなったり、最終光学素子FLの下面T1に気泡が付着しやすくなる可能性がある。また、最終光学素子FLの下面T1のうち第1領域C1以外の領域に付着していた気泡が基板Pの露光中に最終光学素子FLから離れて露光光ELの光路上に配置されてしまう不都合が生じる可能性もある。
同様に、底板18の上面19の親液性が劣化した場合、光路空間Kを満たす液体LQ中に気泡(気体部分)が生成されやすくなったり、底板18の上面19に気泡が付着しやすくなったり、底板18の上面19に付着していた気泡が基板Pの露光中に底板18の上面19から離れて露光光ELの光路上に配置されてしまう不都合が生じる可能性もある。
本実施形態では、メンテナンス時などにおいて、基板Pの露光中には露光光ELが照射されない最終光学素子FLの下面T1の第2領域C2及び底板18の上面19に光洗浄効果を有する光(露光光)を照射して、その第2領域C2及び底板18の上面19を光洗浄することで、最終光学素子FLの下面T1及び底板18の上面19に付着した不純物(有機物)を除去することができるとともに、最終光学素子FLの下面T1及び底板18の上面19の親液性を維持することができる。したがって、最終光学素子FLの下面T1と液体LQとの密着性を維持することができ、液体LQ中に気泡が生成されたり、下面T1に気泡が付着する等の不都合の発生を防止することができる。同様に、底板18の上面19に気泡が付着する等の不都合の発生を防止することができる。
また、最終光学素子FLの下面T1の第2領域C2を光洗浄するために、最終光学素子FLの上面T2に入射し、その最終光学素子FLを通過した露光光ELを第2領域C2に照射するようにしたので、第2領域C2を円滑に光洗浄することができる。そして、その最終光学素子FLの下面T1に対向する底板18の上面19にも露光光ELを円滑に照射することができる。
また、露光装置EXは、露光光ELの光路上に設けられ、基板P上での露光光ELの照射領域(投影領域)ARを調整可能なブラインド装置45を駆動することによって、最終光学素子FLの下面T1の第2領域C2に露光光ELを円滑に照射することができ、既存の機器・部材を用いて、第2領域C2を円滑に光洗浄することができる。
最終光学素子FLの下面T1の第2領域C2に露光光ELを照射してその第2領域C2を光洗浄する動作は、メンテナンス時など、所定期間間隔で行うことができる。あるいは、第2領域C2の汚染状態(下面T1での透過率低下量)を、感光材の種類(物性)及び/又は、基板Pと液体LQとの接触時間などに応じて、実験及び/又はシミュレーションを用いて予め求めることができるのであれば、その求めた汚染状態に応じて、第2領域C2に露光光ELを照射する動作を行うようにしてもよい。あるいは、第2領域C2の汚染状態を計測可能な計測装置によって、第2領域C2の汚染状態を計測し、その計測結果に基づいて、汚染状態が許容状態を越えたとき、第2領域C2に露光光ELを照射するようにしてもよい。
<第2実施形態>
次に、第2実施形態について図7A及び7Bを参照して説明する。以下の説明において、上述の実施形態と同一又は同等の構成部分については同一の符号を付し、その説明を簡略若しくは省略する。
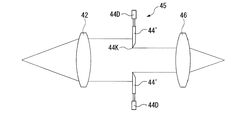
図7Aに示すように、露光光ELの照射領域(IA、AR)を設定するためのブラインド装置45は、第1ブラインド43のみを有した構成であってもよい。ブラインド装置45は、露光光ELの光路上に設けられ、照射領域を設定するための開口43Kを形成する第1ブラインド43と、第1ブラインド43を駆動する駆動装置43Dとを有している。制御装置7は、第2領域C2に露光光ELを照射するために、図7Bに示すように、駆動装置43Dを用いて、第1ブラインド43を駆動して、露光光ELの光路上から退かす。これにより、最終光学素子FLの下面T1の第2領域C2に露光光ELが照射される。
<第3実施形態>
次に、第3実施形態について図8A及び8Bを参照して説明する。以下の説明において、上述の実施形態と同一又は同等の構成部分については同一の符号を付し、その説明を簡略若しくは省略する。図8Aにおいて、ブラインド装置45は、露光光ELの光路上に設けられ、照射領域(IA、AR)を設定するための開口44Kを形成する第2ブラインド44’と、開口44Kの大きさを調整可能な駆動装置44Dとを備えている。第2ブラインド44’は、複数の板状部材を組み合わせて構成されており、板状部材のそれぞれを駆動することによって、開口44K、ひいては露光光ELの照射領域を調整可能である。制御装置7は、第2領域C2に露光光ELを照射するために、図8Bに示すように、駆動装置44Dを用いて、第2ブラインド44’の板状部材を駆動し、開口44Kを大きくする。これにより、最終光学素子FLの下面T1の第2領域C2に露光光ELが照射される。
<第4実施形態>
次に、第4実施形態について図9を参照して説明する。以下の説明において、上述の実施形態と同一又は同等の構成部分については同一の符号を付し、その説明を簡略若しくは省略する。図9に示すように、最終光学素子FLの下面T1の第2領域C2に露光光ELを照射するときに、最終光学素子FLと基板ステージ4の上面4Fとを対向させ、その最終光学素子FLと基板ステージ4の上面4Fとの間を液体LQで満たした状態で、第2領域C2に露光光ELを照射することができる。この場合、基板ステージ4の上面4Fには、液体LQ中に不純物を混入させず、且つ露光光ELの照射により、その表面状態が変化しない所定領域が設けられており、液体LQは、最終光学素子FLとその所定領域との間に満たされる。なお、露光光ELの照射によりその表面状態が変化しない所定領域とは、上面4Fの撥液性が劣化しない領域を含む。
<第5実施形態>
次に、第5実施形態について図10を参照して説明する。以下の説明において、上述の実施形態と同一又は同等の構成部分については同一の符号を付し、その説明を簡略若しくは省略する。図10に示す露光装置EXは、例えば、特開平11−135400号公報(対応国際公開1999/23692)及び特開2000−164504号公報(対応米国特許第6,897,693号)などに開示されているような、基板Pを保持して移動可能な基板ステージ4と、基準マークが形成された基準部材、各種の光電センサ等、露光処理に関する計測を行う計測器を搭載して移動可能な計測ステージ8とを備えている。
図10に示すように、最終光学素子FLの第2領域C2に露光光ELを照射するときに、最終光学素子FLと計測ステージ8の上面8Fとを対向させ、その最終光学素子FLと計測ステージ8の上面8Fとの間を液体LQで満たした状態で、第2領域C2に露光光ELを照射することができる。この場合、計測ステージ8の上面8Fには、計測器が設けられた領域以外の領域であって、液体LQ中に不純物を混入させず、且つ露光光ELの照射により、その表面状態が変化しない領域が設けられており、液体LQは、最終光学素子FLとその領域との間に満たされる。
なお、上述の各実施形態においては、液浸機構1を用いて液体LQの供給と回収とを並行して行いつつ、最終光学素子FLの下面T1の第2領域C2に露光光ELを照射しているが、最終光学素子FLと所定部材との間を液体LQで満たした後、液体LQの供給動作を回収動作とを停止した状態で、第2領域C2に露光光ELを照射してもよい。
なお、第2領域C2に露光光ELを照射するときには、基板P上に露光光ELを照射するときに対して、最終光学素子FLの下面T1における露光光ELの強度(照度)を変えるようにしてもよい。例えば、第2領域C2に露光光ELを照射するときの照度を、基板P上に露光光ELを照射するときの照度よりも大きくすることにより、下面T1に付着した不純物をより良好に除去することができる。なお、露光光ELの照射により最終光学素子FL、あるいは露光光ELの光路上に設けられている各種光学部材の劣化が生じる場合には、照射する露光光ELの強度(照度)を適宜調整することができる。
なお、上述の実施形態のノズル部材6は、最終光学素子FLの下面T1と対向する上面19を有する底板18を備えているが、底板18が無いノズル部材6を有した露光装置EXにももちろん適用可能である。すなわち、ノズル部材6を含む液浸機構1は、上述の構成に限られず、例えば欧州特許公開第1,420,298号公報、国際公開第2004/055803号公報、国際公開第2004/057590号公報、国際公開第2005/029559号公報、国際公開第2004/086468号パンフレット(対応米国公開2005/0280791A1)、特開2004−289126号公報(対応米国特許第6,952,253号)などに開示される液浸機構(ノズル部材)を用いてもよい。また、液浸機構1の少なくとも一部(例えば、液体供給装置11及び/又は液体回収装置21を構成する部材)は、露光装置EXが備えている必要はなく、例えば露光装置EXが設置される工場等の設備を代用してもよい。
なお、上述の実施形態において、基板Pを液浸露光するときに用いる液体LQは、液浸領域LRにおける気泡発生の防止等を目的として、投影光学系PLの像面側に供給される前に脱気処理されている。すなわち、液体供給装置11は、液体LQ中の溶存酸素(溶存気体)を低減するための脱気装置を備えており、投影光学系PLの像面側に供給する前の液体LQに対して脱気処理を行った後に、その脱気処理した液体LQを投影光学系PLの像面側に供給している。一方で、光洗浄は、光洗浄効果を有する光を照射することによって不純物(有機物)を酸化分解する構成であるため、光洗浄するときにおいては、液体LQ中に所定濃度の酸素が存在(溶存)していることが望ましい。したがって、最終光学素子FLと所定部材との間を液体LQで満たした状態で、最終光学素子FLの第2領域C2に露光光ELを照射することによって最終光学素子FLの第2領域C2及び底板18の上面19等を光洗浄するときには、制御装置7は、投影光学系PLの像面側に供給する液体LQの酸素濃度を、基板Pを露光するときの液体LQの酸素濃度よりも多くするようにしてもよい。すなわち、光洗浄するときには、制御装置7は、例えば脱気処理を施さない液体LQを投影光学系PLの像面側に供給するようにしてもよい。あるいは、最終光学素子FLと所定部材との間に液体LQを満たした状態で、第2領域C2に露光光ELを照射して光洗浄するときには、制御装置7は、基板Pの露光に用いる液体(純水)とは別の液体、例えば過酸化水素水を、投影光学系PLの像面側に供給するようにしてもよい。
なお、上述の各実施形態においては、最終光学素子FLの下面T1の第2領域C2及び/又は底板18の上面19に露光光ELが照射されるようにブラインド装置45のブラインド(43及び/又は44)の位置を調整しているが、露光光ELの光路上に配置された光学素子を用いて、露光光ELの照射領域を調整(拡大及び/又は縮小)してもよい。この場合、すでに露光光ELの光路上に配置されている光学素子を用いてもよいし、上述の光洗浄処理を行う直前に露光光ELの光路上にその光学素子を配置してもよい。
また、ブラインド装置45とその光学素子とを併用して光洗浄を行ってもよい。さらに、この光学素子として、例えばズームレンズ系あるいはビームエキスパンダなどを用いることとしてもよい。また、上述の実施形態では、光洗浄時に露光光ELが照射される第2領域C2は、露光時に露光光ELが照射される第1領域C1を含むものとしたが、これに限らず、第2領域C2は第1領域C1の少なくとも一部を含まなくてもよく、要は第1領域C1を除く下面T1の残りの領域の少なくとも一部を含んでいればよい。さらに、上述の実施形態では露光光ELを用いて光洗浄を行うものとしたが、露光光以外の光を洗浄光として用いてもよい。
上述したように、上記各実施形態における液体LQは純水であるものとした。純水は、半導体製造工場等で容易に大量に入手できるとともに、基板P上のフォトレジスト、光学素子(レンズ)等に対する悪影響が少ない利点がある。また、純水は環境に対する悪影響がないとともに、不純物の含有量が極めて低いため、基板Pの表面、及び投影光学系PLの先端面に設けられている光学素子の表面を洗浄する作用も期待できる。
そして、波長が193nm程度の露光光ELに対する純水(水)の屈折率nはほぼ1.44と言われており、露光光ELの光源としてArFエキシマレーザ光(波長193nm)を用いた場合、基板P上では1/n、すなわち約134nmに短波長化されて高い解像度が得られる。更に、焦点深度は空気中に比べて約n倍、すなわち約1.44倍に拡大されるため、空気中で使用する場合と同程度の焦点深度が確保できればよい場合には、投影光学系PLの開口数をより増加させることができ、この点でも解像度が向上する。
上記各実施形態では、投影光学系PLの先端に光学素子FLが取り付けられており、この光学素子により投影光学系PLの光学特性、例えば収差(球面収差、コマ収差等)の調整を行うことができる。なお、投影光学系PLの先端に取り付ける光学素子としては、投影光学系PLの光学特性の調整に用いる光学プレートであってもよい。あるいは露光光ELを透過可能な平行平面板であってもよい。
なお、液体LQの流れによって生じる投影光学系PLの先端の光学素子と基板Pとの間の圧力が大きい場合には、その光学素子を交換可能とするのではなく、その圧力によって光学素子が動かないように堅固に固定してもよい。
なお、上記各実施形態では、投影光学系PLと基板P表面との間は液体LQで満たされている構成であるが、例えば基板Pの表面に平行平面板からなるカバーガラスを取り付けた状態で液体LQを満たす構成であってもよい。
また、上述の実施形態の投影光学系は、先端の光学素子FLの像面(射出面)側の光路空間を液体で満たしているが、国際公開第2004/019128号パンフレットに開示されているように、先端の光学素子の物体面(入射面)側の光路空間も液体で満たす投影光学系を採用することもできる。
なお、上記各実施形態の液体LQは水(純水)であるが、水以外の液体であってもよい、例えば、露光光ELの光源がFレーザである場合、このFレーザ光は水を透過しないので、液体LQとしてはFレーザ光を透過可能な例えば、過フッ化ポリエーテル(PFPE)、フッ素系オイル等のフッ素系流体であってもよい。この場合、液体LQと接触する部分には、例えばフッ素を含む極性の小さい分子構造の物質で薄膜を形成することで親液化処理する。また、液体LQとしては、その他にも、露光光ELに対する透過性があってできるだけ屈折率が高く、投影光学系PL及び基板P表面に塗布されているフォトレジストに対して安定なもの(例えばセダー油)を用いることも可能である。
また、液体LQとしては、屈折率が1.6〜1.8程度のものを使用してもよい。更に、石英及び蛍石よりも屈折率が高い(例えば1.6以上)材料で光学素子FLを形成してもよい。液体LQとして、種々の液体、例えば、超臨界流体を用いることも可能である。
なお、上記各実施形態では露光光ELの照射領域(IA、AR)が矩形状であるものとしたが、これに限らず、例えば円弧状などでもよい。また、照射領域(IA、AR)は投影光学系PLの視野内で光軸を含んで設定されるものとしたが、これに限らず、例えば光軸を含まず偏心して設定されてもよい。さらに、上記各実施形態では干渉計システム(3L、4L)を用いてマスクステージ3及び基板ステージ4の各位置情報を計測するものとしたが、これに限らず、例えば各ステージに設けられるスケール(回折格子)を検出するエンコーダシステムを用いてもよい。この場合、干渉計システムとエンコーダシステムの両方を備えるハイブリッドシステムとし、干渉計システムの計測結果を用いてエンコーダシステムの計測結果の較正(キャリブレーション)を行うことが好ましい。また、干渉計システムとエンコーダシステムとを切り替えて用いる、あるいはその両方を用いて、ステージの位置制御を行うようにしてもよい。
なお、上記各実施形態の基板Pとしては、半導体デバイス製造用の半導体ウエハのみならず、ディスプレイデバイス用のガラス基板、薄膜磁気ヘッド用のセラミックウエハ、あるいは露光装置で用いられるマスクまたはレチクルの原版(合成石英、シリコンウエハ)等が適用される。
露光装置EXとしては、マスクMと基板Pとを同期移動してマスクMのパターンを走査露光するステップ・アンド・スキャン方式の走査型露光装置(スキャニングステッパ)の他に、マスクMと基板Pとを静止した状態でマスクMのパターンを一括露光し、基板Pを順次ステップ移動させるステップ・アンド・リピート方式の投影露光装置(ステッパ)にも適用することができる。
また、露光装置EXとしては、第1パターンと基板Pとをほぼ静止した状態で第1パターンの縮小像を投影光学系(例えば1/8縮小倍率で反射素子を含まない屈折型投影光学系)を用いて基板P上に一括露光する方式の露光装置にも適用できる。この場合、更にその後に、第2パターンと基板Pとをほぼ静止した状態で第2パターンの縮小像をその投影光学系を用いて、第1パターンと部分的に重ねて基板P上に一括露光するスティッチ方式の一括露光装置にも適用できる。また、スティッチ方式の露光装置としては、基板P上で少なくとも2つのパターンを部分的に重ねて転写し、基板Pを順次移動させるステップ・アンド・スティッチ方式の露光装置にも適用できる。
また、本発明は、例えば特開平10−163099号公報及び特開平10−214783号公報(対応米国特許第6,590,634号)、特表2000−505958号公報(対応米国特許第5,969,441号)、米国特許第6,208,407号などに開示されているような複数の基板ステージを備えたツインステージ型の露光装置にも適用できる。
また、本発明は、複数の基板ステージと複数の計測ステージとを備えた露光装置にも適用することができる。
また、上述の実施形態においては、投影光学系PLと基板Pとの間に局所的に液体を満たす露光装置を採用しているが、本発明は、例えば特開平6−124873号公報、特開平10−303114号公報、米国特許第5,825,043号などに開示されているような露光対象の基板の表面全体が液体中に浸かっている状態で露光を行う液浸露光装置にも適用可能である。
さらに、上記各実施形態では投影光学系PLを備えた露光装置を例に挙げて説明してきたが、投影光学系PLを用いない露光装置及び露光方法に本発明を適用することができる。投影光学系を用いない場合であっても、露光光はマスク又は回折光学素子などの光学部材を介して基板に照射され、そのような光学部材と基板との間の所定空間に液浸領域が形成される。
露光装置EXの種類としては、基板Pに半導体素子パターンを露光する半導体素子製造用の露光装置に限られず、液晶表示素子製造用又はディスプレイ製造用の露光装置、薄膜磁気ヘッド、撮像素子(CCD)、マイクロマシン、MEMS、DNAチップ、あるいはレチクル又はマスクなどを製造するための露光装置などにも広く適用できる。
なお、上述の実施形態においては、光透過性の基板上に所定の遮光パターン(又は位相パターン・減光パターン)を形成した光透過型マスクを用いたが、このマスクに代えて、例えば米国特許第6,778,257号公報に開示されているように、露光すべきパターンの電子データに基づいて透過パターン又は反射パターン、あるいは発光パターンを形成する電子マスク(可変成形マスクとも呼ばれ、例えば非発光型画像表示装置(空間光変調器)の一種であるDMD(Digital Micro-mirror Device)などを含む)を用いてもよい。
また、例えば国際公開第2001/035168号パンフレットに開示されているように、干渉縞を基板P上に形成することによって、基板P上にライン・アンド・スペースパターンを露光する露光装置(リソグラフィシステム)にも本発明を適用することができる。
さらに、例えば特表2004−519850号公報(対応米国特許第6,611,316号)に開示されているように、2つのマスクのパターンを、投影光学系を介して基板上で合成し、1回の走査露光によって基板上の1つのショット領域をほぼ同時に二重露光する露光装置にも本発明を適用することができる。
なお、本国際出願で指定又は選択された国の法令で許容される限りにおいて、上記各実施形態及び変形例で引用した露光装置などに関する全ての公開公報及び米国特許の開示を援用して本文の記載の一部とする。
以上のように、本願実施形態の露光装置EXは、本願請求の範囲に挙げられた各構成要素を含む各種サブシステムを、所定の機械的精度、電気的精度、光学的精度を保つように、組み立てることで製造される。これら各種精度を確保するために、この組み立ての前後には、各種光学系については光学的精度を達成するための調整、各種機械系については機械的精度を達成するための調整、各種電気系については電気的精度を達成するための調整が行われる。各種サブシステムから露光装置への組み立て工程は、各種サブシステム相互の、機械的接続、電気回路の配線接続、気圧回路の配管接続等が含まれる。この各種サブシステムから露光装置への組み立て工程の前に、各サブシステム個々の組み立て工程があることはいうまでもない。各種サブシステムの露光装置への組み立て工程が終了したら、総合調整が行われ、露光装置全体としての各種精度が確保される。なお、露光装置の製造は温度およびクリーン度等が管理されたクリーンルームで行うことが望ましい。
半導体デバイス等のマイクロデバイスは、図11に示すように、マイクロデバイスの機能・性能設計を行うステップ201、この設計ステップに基づいたマスク(レチクル)を製作するステップ202、デバイスの基材である基板を製造するステップ203、前述した実施形態の露光装置EXによりマスクのパターンを基板に露光する工程、露光した基板を現像する工程、現像した基板の加熱(キュア)及びエッチング工程などの基板処理プロセスを含むステップ204、デバイス組み立てステップ(ダイシング工程、ボンディング工程、パッケージ工程などの加工プロセスを含む)205、検査ステップ206等を経て製造される。
本発明によれば、露光装置の性能劣化を防止して、基板を良好に露光することができ、所望の性能を有するデバイスを製造することができる。このため、本発明は、我国の半導体産業を含むハイテク産業及びIT技術の発展に貢献するであろう。

Claims (23)

  1. 液体を介して基板上に露光光を照射して前記基板を露光する露光装置において、
    前記露光光を前記基板に照射するための光学部材と、
    前記光学部材と対向する表面を有し、前記光学部材と前記基板との間に液体を供給するノズル部材と、
    前記基板上に前記露光光が照射される第1状態において、前記露光光の照射領域を設定する設定装置と、を備え、
    前記設定装置は、前記基板上に前記露光光が照射されない第2状態において、前記ノズル部材の前記表面に付着した異物を除去するために前記ノズル部材の表面に前記露光光が照射されるように前記照射領域を設定する露光装置。
  2. 液体を介して基板上に露光光を照射して前記基板を露光する露光装置であって、
    前記露光光を前記基板に照射するための光学部材と、
    前記光学部材と対向する表面を有し、前記光学部材と前記基板との間に液体を供給するノズル部材と、
    前記露光光の照射領域を設定する設定装置であり、前記光学部材の前記第1面の第1領域を介して前記基板に前記露光光が照射される露光モードと、前記ノズル部材の前記表面に付着した異物を除去するために当該表面に前記露光光が照射される光洗浄モードとを有する前記設定装置と、を備える露光装置。
  3. 前記光学部材下に前記液体が供給された状態で、前記ノズル部材の前記表面に前記露光光が照射される請求項1又は2記載の露光装置。
  4. 前記ノズル部材は、前記光学部材に面して前記液体を供給する供給口を含む請求項1〜3のいずれか一項記載の露光装置。
  5. 前記光学部材は前記液体に接触する第1面を有し、
    前記光学部材の前記第1面のうち、前記基板の露光中に前記露光光が通過する第1領域とは異なる第2領域に前記露光光を照射して光洗浄する請求項1〜4のいずれか一項記載の露光装置。
  6. 前記第2領域は、前記光学部材の前記第1面における、前記第1領域及び該第1領域の周囲の領域を含む請求項記載の露光装置。
  7. 前記第2領域に照射される露光光は、前記第1面とは異なる前記光学部材の第2面から前記第1面に向けて、前記光学部材を通過する請求項記載の露光装置。
  8. 前記設定装置は、前記露光光の光路上に設けられ、前記露光光が通過する開口を形成する設定部材と、前記開口の大きさを調整する調整機構と有する請求項〜7のいずれか一項記載の露光装置。
  9. 前記設定装置を駆動する駆動装置をさらに備え、
    前記設定装置は、前記露光光の光路上に設けられ、前記露光光が通過する開口を形成する設定部材を有し、
    前記駆動装置は、前記設定部材を駆動して前記露光光の光路上から退かす請求項〜7のいずれか一項記載の露光装置。
  10. 前記ノズル部材は、前記光学部材と前記基板以外の所定部材との間を前記液体で満たす請求項1〜9のいずれか一項記載の露光装置。
  11. 前記ノズル部材は前記液体を供給する供給口と、供給された前記液体を回収する回収口を含み
    前記供給口と前記回収口により前記液体の供給と回収とを並行して行いつつ、前記第2領域に前記露光光を照射する請求項10記載の露光装置。
  12. 前記基板を保持して移動可能な基板ステージをさらに備え、
    前記所定部材は、前記基板ステージの一部を含む請求項10又は11記載の露光装置。
  13. 前記基板を保持して移動可能な基板ステージをさらに備え、
    前記所定部材は、前記基板ステージに保持され、前記基板とは異なるダミー基板を含む請求項10〜12のいずれか一項記載の露光装置。
  14. 前記基板を保持して移動可能な基板ステージと、
    露光処理に関する計測を行う計測器を搭載して移動可能な計測ステージとをさらに備え、
    前記所定部材は、前記計測ステージの一部を含む請求項10〜13のいずれか一項記載の露光装置。
  15. 前記基板上に前記露光光を照射するときに、前記光学部材と前記基板との間を前記液体で満たす請求項1〜14のいずれか一項記載の露光装置。
  16. 請求項1〜請求項15のいずれか一項記載の露光装置を用いるデバイス製造方法。
  17. 光学部材及び液体を介して基板上に露光光を照射して前記基板を露光する露光装置のメンテナンス方法において、
    前記光学部材と対向する表面を有して前記光学部材と前記基板との間に液体を供給するノズル部材の前記表面に対し、前記基板上に前記露光光が照射されない状態において、前記ノズル部材の前記表面に付着した異物を除去するために前記露光光を照射して光洗浄を行なうメンテナンス方法。
  18. 前記露光光の光路上に設けられ、前記基板上での前記露光光の照射領域を調整可能な調整機構を駆動することによって、前記ノズル部材の前記表面に前記露光光を照射する請求項17記載のメンテナンス方法。
  19. 前記光学部材のうち前記液体と接触する第1面とは異なる第2面に入射し、該光学部材を通過した前記露光光を前記ノズルの前記表面に照射する請求項17又は18記載のメンテナンス方法。
  20. 前記ノズル部材の前記表面に前記露光光を照射するときに、前記光学部材と前記基板以外の所定部材とを対向させる請求項17〜19のいずれか一項記載のメンテナンス方法。
  21. 前記ノズル部材の前記表面に前記露光光を照射するときに、前記光学部材と前記所定部材との間を前記液体で満たす請求項17〜20のいずれか一項記載のメンテナンス方法。
  22. 前記露光光の照射により前記ノズル部材の前記表面の親液性を維持する請求項17〜21のいずれか一項記載のメンテナンス方法。
  23. 前記所定部材は、前記基板を保持する基板ステージの一部と、前記基板ステージに保持されたダミー基板と、露光処理に関する計測を行う計測器が搭載された計測ステージの一部との少なくとも1つを含む請求項20記載のメンテナンス方法。
JP2007524022A 2005-06-30 2006-06-30 露光装置及び方法、露光装置のメンテナンス方法、並びにデバイス製造方法 Expired - Fee Related JP5194792B2 (ja)

Priority Applications (1)

Application Number Priority Date Filing Date Title
JP2007524022A JP5194792B2 (ja) 2005-06-30 2006-06-30 露光装置及び方法、露光装置のメンテナンス方法、並びにデバイス製造方法

Applications Claiming Priority (4)

Application Number Priority Date Filing Date Title
JP2005191561 2005-06-30
JP2005191561 2005-06-30
JP2007524022A JP5194792B2 (ja) 2005-06-30 2006-06-30 露光装置及び方法、露光装置のメンテナンス方法、並びにデバイス製造方法
PCT/JP2006/313086 WO2007004552A1 (ja) 2005-06-30 2006-06-30 露光装置及び方法、露光装置のメンテナンス方法、並びにデバイス製造方法

Publications (2)

Publication Number Publication Date
JPWO2007004552A1 JPWO2007004552A1 (ja) 2009-01-29
JP5194792B2 true JP5194792B2 (ja) 2013-05-08

Family

ID=37604417

Family Applications (1)

Application Number Title Priority Date Filing Date
JP2007524022A Expired - Fee Related JP5194792B2 (ja) 2005-06-30 2006-06-30 露光装置及び方法、露光装置のメンテナンス方法、並びにデバイス製造方法

Country Status (5)

Country Link
US (1) US8179517B2 (ja)
EP (1) EP1901338A4 (ja)
JP (1) JP5194792B2 (ja)
KR (1) KR20080026082A (ja)
WO (1) WO2007004552A1 (ja)

Families Citing this family (14)

* Cited by examiner, † Cited by third party
Publication number Priority date Publication date Assignee Title
JP2008263091A (ja) * 2007-04-12 2008-10-30 Nikon Corp 光洗浄部材、メンテナンス方法、洗浄方法、露光方法及び露光装置、並びにデバイス製造方法
US9019466B2 (en) 2007-07-24 2015-04-28 Asml Netherlands B.V. Lithographic apparatus, reflective member and a method of irradiating the underside of a liquid supply system
US7916269B2 (en) * 2007-07-24 2011-03-29 Asml Netherlands B.V. Lithographic apparatus and contamination removal or prevention method
NL1036571A1 (nl) * 2008-03-07 2009-09-08 Asml Netherlands Bv Lithographic Apparatus and Methods.
EP2131241B1 (en) * 2008-05-08 2019-07-31 ASML Netherlands B.V. Fluid handling structure, lithographic apparatus and device manufacturing method
JP2009295933A (ja) * 2008-06-09 2009-12-17 Canon Inc ダミー露光基板及びその製造方法、液浸露光装置、並びに、デバイス製造方法
JP4660581B2 (ja) 2008-09-19 2011-03-30 株式会社東芝 パターン形成方法
EP2199858A1 (en) * 2008-12-18 2010-06-23 ASML Netherlands BV Lithographic apparatus and method of irradiating at least two target portions
JP2012009596A (ja) * 2010-06-24 2012-01-12 Nikon Corp 液体供給装置、露光装置、液体供給方法、メンテナンス方法、及びデバイス製造方法
NL2008335A (en) * 2011-04-07 2012-10-09 Asml Netherlands Bv Lithographic apparatus, device manufacturing method, and method of correcting a mask.
DE112014005277T5 (de) * 2014-06-12 2016-10-06 Fuji Electric Co., Ltd. Vorrichtung zum Einbringen von Verunreinigungen, Verfahren zum Einbringen von Verunreinigungen und Verfahren zur Herstellung eines Halbleiterelements
KR20150145837A (ko) * 2014-06-19 2015-12-31 삼성전자주식회사 2차원 물질 식각장치 및 이를 이용하여 2차원 물질층을 패터닝하는 방법
JP6468041B2 (ja) * 2015-04-13 2019-02-13 富士電機株式会社 不純物導入装置、不純物導入方法及び半導体素子の製造方法
JP6070784B2 (ja) * 2015-07-14 2017-02-01 株式会社ニコン 液体供給装置、露光装置、液体供給方法、及びデバイス製造方法

Citations (4)

* Cited by examiner, † Cited by third party
Publication number Priority date Publication date Assignee Title
JP2000091207A (ja) * 1998-09-14 2000-03-31 Nikon Corp 投影露光装置及び投影光学系の洗浄方法
JP2005101488A (ja) * 2002-12-10 2005-04-14 Nikon Corp 露光装置及び露光方法、デバイス製造方法
JP2005109426A (ja) * 2003-02-26 2005-04-21 Nikon Corp 露光装置、露光方法及びデバイス製造方法
JP2005116571A (ja) * 2003-10-02 2005-04-28 Nikon Corp 露光装置及びデバイス製造方法

Family Cites Families (54)

* Cited by examiner, † Cited by third party
Publication number Priority date Publication date Assignee Title
US4346164A (en) * 1980-10-06 1982-08-24 Werner Tabarelli Photolithographic method for the manufacture of integrated circuits
JPS57153433A (en) * 1981-03-18 1982-09-22 Hitachi Ltd Manufacturing device for semiconductor
JPS58202448A (ja) 1982-05-21 1983-11-25 Hitachi Ltd 露光装置
JPS5919912A (ja) 1982-07-26 1984-02-01 Hitachi Ltd 液浸距離保持装置
DD221563A1 (de) 1983-09-14 1985-04-24 Mikroelektronik Zt Forsch Tech Immersionsobjektiv fuer die schrittweise projektionsabbildung einer maskenstruktur
DD224448A1 (de) 1984-03-01 1985-07-03 Zeiss Jena Veb Carl Einrichtung zur fotolithografischen strukturuebertragung
JPS6265326A (ja) 1985-09-18 1987-03-24 Hitachi Ltd 露光装置
JPS63157419A (ja) 1986-12-22 1988-06-30 Toshiba Corp 微細パタ−ン転写装置
US5473410A (en) * 1990-11-28 1995-12-05 Nikon Corporation Projection exposure apparatus
JP2691319B2 (ja) 1990-11-28 1997-12-17 株式会社ニコン 投影露光装置および走査露光方法
JPH04305915A (ja) 1991-04-02 1992-10-28 Nikon Corp 密着型露光装置
JPH04305917A (ja) 1991-04-02 1992-10-28 Nikon Corp 密着型露光装置
JPH0562877A (ja) 1991-09-02 1993-03-12 Yasuko Shinohara 光によるlsi製造縮小投影露光装置の光学系
JPH06124873A (ja) 1992-10-09 1994-05-06 Canon Inc 液浸式投影露光装置
JP2753930B2 (ja) * 1992-11-27 1998-05-20 キヤノン株式会社 液浸式投影露光装置
JPH07220990A (ja) 1994-01-28 1995-08-18 Hitachi Ltd パターン形成方法及びその露光装置
JPH08316125A (ja) 1995-05-19 1996-11-29 Hitachi Ltd 投影露光方法及び露光装置
JPH08316124A (ja) * 1995-05-19 1996-11-29 Hitachi Ltd 投影露光方法及び露光装置
US5825043A (en) * 1996-10-07 1998-10-20 Nikon Precision Inc. Focusing and tilting adjustment system for lithography aligner, manufacturing apparatus or inspection apparatus
JP4029183B2 (ja) 1996-11-28 2008-01-09 株式会社ニコン 投影露光装置及び投影露光方法
JP4029182B2 (ja) 1996-11-28 2008-01-09 株式会社ニコン 露光方法
WO1998024115A1 (en) * 1996-11-28 1998-06-04 Nikon Corporation Aligner and method for exposure
EP1197801B1 (en) * 1996-12-24 2005-12-28 ASML Netherlands B.V. Lithographic device with two object holders
JP3747566B2 (ja) 1997-04-23 2006-02-22 株式会社ニコン 液浸型露光装置
EP0874283B1 (en) 1997-04-23 2003-09-03 Nikon Corporation Optical exposure apparatus and photo-cleaning method
JP3817836B2 (ja) 1997-06-10 2006-09-06 株式会社ニコン 露光装置及びその製造方法並びに露光方法及びデバイス製造方法
JP4210871B2 (ja) 1997-10-31 2009-01-21 株式会社ニコン 露光装置
US6020964A (en) 1997-12-02 2000-02-01 Asm Lithography B.V. Interferometer system and lithograph apparatus including an interferometer system
JPH11176727A (ja) 1997-12-11 1999-07-02 Nikon Corp 投影露光装置
JP4264676B2 (ja) 1998-11-30 2009-05-20 株式会社ニコン 露光装置及び露光方法
US6897963B1 (en) 1997-12-18 2005-05-24 Nikon Corporation Stage device and exposure apparatus
US6208407B1 (en) * 1997-12-22 2001-03-27 Asm Lithography B.V. Method and apparatus for repetitively projecting a mask pattern on a substrate, using a time-saving height measurement
WO1999049504A1 (fr) 1998-03-26 1999-09-30 Nikon Corporation Procede et systeme d'exposition par projection
EP1098359A4 (en) * 1998-06-02 2003-11-19 Nikon Corp SCANNING ALIGNMENT MEMBER, MANUFACTURING METHOD THEREOF, AND DEVICE MANUFACTURING METHOD
JP2000058436A (ja) 1998-08-11 2000-02-25 Nikon Corp 投影露光装置及び露光方法
US6850313B2 (en) * 1999-10-01 2005-02-01 Nikon Corporation Exposure method, exposure apparatus and its making method, device manufacturing method, and device
WO2001035168A1 (en) 1999-11-10 2001-05-17 Massachusetts Institute Of Technology Interference lithography utilizing phase-locked scanning beams
US6704090B2 (en) * 2000-05-11 2004-03-09 Nikon Corporation Exposure method and exposure apparatus
US6611316B2 (en) * 2001-02-27 2003-08-26 Asml Holding N.V. Method and system for dual reticle image exposure
TW529172B (en) * 2001-07-24 2003-04-21 Asml Netherlands Bv Imaging apparatus
WO2004019128A2 (en) 2002-08-23 2004-03-04 Nikon Corporation Projection optical system and method for photolithography and exposure apparatus and method using same
EP2495613B1 (en) 2002-11-12 2013-07-31 ASML Netherlands B.V. Lithographic apparatus
TWI232357B (en) * 2002-11-12 2005-05-11 Asml Netherlands Bv Lithographic apparatus and device manufacturing method
CN101424881B (zh) * 2002-11-12 2011-11-30 Asml荷兰有限公司 光刻投射装置
EP1571695A4 (en) 2002-12-10 2008-10-15 Nikon Corp EXPOSURE APPARATUS AND METHOD FOR MANUFACTURING THE SAME
EP1573730B1 (en) 2002-12-13 2009-02-25 Koninklijke Philips Electronics N.V. Liquid removal in a method and device for irradiating spots on a layer
US7399978B2 (en) 2002-12-19 2008-07-15 Koninklijke Philips Electronics N.V. Method and device for irradiating spots on a layer
KR101381538B1 (ko) 2003-02-26 2014-04-04 가부시키가이샤 니콘 노광 장치, 노광 방법 및 디바이스 제조 방법
SG189557A1 (en) * 2003-04-11 2013-05-31 Nikon Corp Cleanup method for optics in immersion lithography
TWI295414B (en) * 2003-05-13 2008-04-01 Asml Netherlands Bv Lithographic apparatus and device manufacturing method
JP3940378B2 (ja) * 2003-05-26 2007-07-04 沖電気工業株式会社 半導体露光装置の自己洗浄方法と自己洗浄用透過板
JP4444920B2 (ja) 2003-09-19 2010-03-31 株式会社ニコン 露光装置及びデバイス製造方法
WO2005124833A1 (ja) 2004-06-21 2005-12-29 Nikon Corporation 露光装置及びその部材の洗浄方法、露光装置のメンテナンス方法、メンテナンス機器、並びにデバイス製造方法
US7230675B2 (en) * 2004-12-02 2007-06-12 Asml Netherlands B.V. Lithographic apparatus, device manufacturing method and device manufactured therewith

Patent Citations (4)

* Cited by examiner, † Cited by third party
Publication number Priority date Publication date Assignee Title
JP2000091207A (ja) * 1998-09-14 2000-03-31 Nikon Corp 投影露光装置及び投影光学系の洗浄方法
JP2005101488A (ja) * 2002-12-10 2005-04-14 Nikon Corp 露光装置及び露光方法、デバイス製造方法
JP2005109426A (ja) * 2003-02-26 2005-04-21 Nikon Corp 露光装置、露光方法及びデバイス製造方法
JP2005116571A (ja) * 2003-10-02 2005-04-28 Nikon Corp 露光装置及びデバイス製造方法

Also Published As

Publication number Publication date
US20090323035A1 (en) 2009-12-31
EP1901338A1 (en) 2008-03-19
JPWO2007004552A1 (ja) 2009-01-29
US8179517B2 (en) 2012-05-15
WO2007004552A1 (ja) 2007-01-11
EP1901338A4 (en) 2011-06-29
KR20080026082A (ko) 2008-03-24

Similar Documents

Publication Publication Date Title
US20090323035A1 (en) Exposure apparatus and method, maintenance method for exposure apparatus, and device manufacturing method
JPWO2004090956A1 (ja) 露光装置及びデバイス製造方法
JP5741859B2 (ja) 液浸部材、露光装置、露光方法、及びデバイス製造方法
WO2008072647A1 (en) Exposure apparatus and device fabrication method
JP4802604B2 (ja) 露光装置、露光方法、及びデバイス製造方法
JP5765415B2 (ja) 液浸露光装置、液浸露光方法及びデバイス製造方法
JP4605219B2 (ja) 露光条件の決定方法、露光方法及び露光装置、並びにデバイス製造方法
JP4852951B2 (ja) 露光装置、露光方法及びデバイス製造方法
JP2011086804A (ja) 液浸部材、露光装置、露光方法、及びデバイス製造方法
US20130050666A1 (en) Exposure apparatus, liquid holding method, and device manufacturing method
JP4752320B2 (ja) 基板保持装置及び露光装置、基板保持方法、露光方法、並びにデバイス製造方法
JP4923480B2 (ja) 露光装置及びデバイス製造方法、計測部材
JP2010040702A (ja) ステージ装置、露光装置、及びデバイス製造方法
JP2012138511A (ja) 露光装置の制御方法、露光装置、デバイス製造方法、プログラム、及び記録媒体
JP5375843B2 (ja) 露光装置、露光方法、及びデバイス製造方法
JPWO2008075742A1 (ja) メンテナンス方法、露光方法及び露光装置、並びにデバイス製造方法
JP4715505B2 (ja) 露光装置及びデバイス製造方法
JP2007287824A (ja) 露光装置及びデバイス製造方法
JP2007027631A (ja) 露光方法及び露光装置、並びにデバイス製造方法
HK1115474A (en) Exposure apparatus and method, exposure apparatus maintenance method, and device manufacturing method
WO2007055199A1 (ja) 露光装置及び方法、並びにデバイス製造方法
JP2008021718A (ja) 露光装置及びデバイス製造方法
WO2007046415A1 (ja) 露光装置及び露光方法
JP2011114315A (ja) 液浸部材、露光装置、露光方法、及びデバイス製造方法
JP2009188062A (ja) 解析方法、露光方法、及びデバイス製造方法

Legal Events

Date Code Title Description
A621 Written request for application examination

Free format text: JAPANESE INTERMEDIATE CODE: A621

Effective date: 20090623

A521 Request for written amendment filed

Free format text: JAPANESE INTERMEDIATE CODE: A523

Effective date: 20100210

A131 Notification of reasons for refusal

Free format text: JAPANESE INTERMEDIATE CODE: A131

Effective date: 20111220

A521 Request for written amendment filed

Free format text: JAPANESE INTERMEDIATE CODE: A523

Effective date: 20120213

TRDD Decision of grant or rejection written
A01 Written decision to grant a patent or to grant a registration (utility model)

Free format text: JAPANESE INTERMEDIATE CODE: A01

Effective date: 20130108

A61 First payment of annual fees (during grant procedure)

Free format text: JAPANESE INTERMEDIATE CODE: A61

Effective date: 20130121

FPAY Renewal fee payment (event date is renewal date of database)

Free format text: PAYMENT UNTIL: 20160215

Year of fee payment: 3

R150 Certificate of patent or registration of utility model

Ref document number: 5194792

Country of ref document: JP

Free format text: JAPANESE INTERMEDIATE CODE: R150

Free format text: JAPANESE INTERMEDIATE CODE: R150

R250 Receipt of annual fees

Free format text: JAPANESE INTERMEDIATE CODE: R250

R250 Receipt of annual fees

Free format text: JAPANESE INTERMEDIATE CODE: R250

R250 Receipt of annual fees

Free format text: JAPANESE INTERMEDIATE CODE: R250

R250 Receipt of annual fees

Free format text: JAPANESE INTERMEDIATE CODE: R250

LAPS Cancellation because of no payment of annual fees