JP4934366B2 - 画像形成装置 - Google Patents

画像形成装置 Download PDF

Info

Publication number
JP4934366B2
JP4934366B2 JP2006204797A JP2006204797A JP4934366B2 JP 4934366 B2 JP4934366 B2 JP 4934366B2 JP 2006204797 A JP2006204797 A JP 2006204797A JP 2006204797 A JP2006204797 A JP 2006204797A JP 4934366 B2 JP4934366 B2 JP 4934366B2
Authority
JP
Japan
Prior art keywords
paper
reference position
image
position information
unit
Prior art date
Legal status (The legal status is an assumption and is not a legal conclusion. Google has not performed a legal analysis and makes no representation as to the accuracy of the status listed.)
Expired - Fee Related
Application number
JP2006204797A
Other languages
English (en)
Other versions
JP2008032913A (ja
Inventor
増田徳貴
Current Assignee (The listed assignees may be inaccurate. Google has not performed a legal analysis and makes no representation or warranty as to the accuracy of the list.)
Ricoh Co Ltd
Original Assignee
Ricoh Co Ltd
Priority date (The priority date is an assumption and is not a legal conclusion. Google has not performed a legal analysis and makes no representation as to the accuracy of the date listed.)
Filing date
Publication date
Application filed by Ricoh Co Ltd filed Critical Ricoh Co Ltd
Priority to JP2006204797A priority Critical patent/JP4934366B2/ja
Priority to DE602007006593T priority patent/DE602007006593D1/de
Priority to EP07111864A priority patent/EP1882594B1/en
Priority to US11/829,392 priority patent/US8205878B2/en
Publication of JP2008032913A publication Critical patent/JP2008032913A/ja
Application granted granted Critical
Publication of JP4934366B2 publication Critical patent/JP4934366B2/ja
Expired - Fee Related legal-status Critical Current
Anticipated expiration legal-status Critical

Links

Images

Classifications

    • GPHYSICS
    • G03PHOTOGRAPHY; CINEMATOGRAPHY; ANALOGOUS TECHNIQUES USING WAVES OTHER THAN OPTICAL WAVES; ELECTROGRAPHY; HOLOGRAPHY
    • G03GELECTROGRAPHY; ELECTROPHOTOGRAPHY; MAGNETOGRAPHY
    • G03G15/00Apparatus for electrographic processes using a charge pattern
    • G03G15/65Apparatus which relate to the handling of copy material
    • G03G15/6555Handling of sheet copy material taking place in a specific part of the copy material feeding path
    • G03G15/6558Feeding path after the copy sheet preparation and up to the transfer point, e.g. registering; Deskewing; Correct timing of sheet feeding to the transfer point
    • G03G15/6567Feeding path after the copy sheet preparation and up to the transfer point, e.g. registering; Deskewing; Correct timing of sheet feeding to the transfer point for deskewing or aligning

Landscapes

  • Physics & Mathematics (AREA)
  • General Physics & Mathematics (AREA)
  • Control Or Security For Electrophotography (AREA)
  • Delivering By Means Of Belts And Rollers (AREA)
  • Registering Or Overturning Sheets (AREA)
  • Sheets, Magazines, And Separation Thereof (AREA)
  • Paper Feeding For Electrophotography (AREA)

Description

本発明は、プリンタ、デジタル複写機、ファクシミリ及びこれらの少なくとも2つの機能を有する複合機等の画像形成装置に関する。
上記形式の画像形成装置においては、搬送路に用紙を補給する給紙装置、搬送路に沿って用紙を搬送する用紙搬送装置、搬送路を移動する用紙に画像を出力する画像出力部などが組み込まれている。用紙搬送装置の搬送路上には複数の搬送ローラが配設されている。各々の搬送ローラはモータ等を駆動源として回転駆動され、この搬送ローラの回転駆動により用紙が搬送される。
こうした画像形成装置では、用紙の搬送方向と直交する方向(以下、サイド方向とも記す)で、用紙の所定位置と画像との位置合わせが行われる。サイド方向において用紙と画像の位置を正確に合わせるためには、実際に用紙に画像が出力される位置の上流で、サイド方向における用紙の位置、即ちサイドレジストレーションを補正する必要がある。
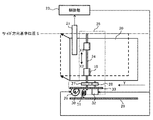
サイドレジストレーション補正方式の一例について、図7を用いて説明する。
図7において、レジストローラ回転軸34は図示していない側板とシフトユニット側板33に両端が支持され、その軸上には複数のレジストローラ18が配置され、シフトユニット側板33側の端部にはレジストローラギア27が配置されている。レジストローラ駆動モータ32はシフトユニット側板33に設けられ、ピニオンギア26を回転駆動し、該ピニオンギア28が上記レジストローラギア27と噛み合いレジストローラ回転軸34を介してレジストローラ18が回転される。
シフトユニット側板33にはサイド方向に移動可能に装着され、バネ31によって本体フレーム26に近づく方向、すなわちX2の方向への移動力が付勢されているが、シフトユニット側板33はシフトモータ29によって回転される偏芯カム30に当接した位置に保持される。したがって、シフトユニット側板33は偏芯カム30が回転すると、X1またはX2方向に移動される。このとき、シフトユニット側板33に支持されているレジストローラ18やレジストローラ駆動モータ32等も一緒にX1またはX2方向に移動される。なお、このように構成されるシフトユニット25に設けられた上記レジストローラ駆動モータ32やシフトモータ29は制御部23によってその駆動が制御される。
上記構成のレジストローラ18に対し用紙20は矢印Y方向から搬送され、レジストローラ18とこれと対をなす図示しないローラにより挟持される。このとき、用紙20はCIS(Contact Image Sensor)21により一側部のサイド方向位置が読み取られる。そして、用紙20の一側部が実線で示すように、出力される画像に対して適正となるサイド方向基準位置Sからずれている場合、用紙20は上記シフトユニット25によってX1方向へ点線で示すサイド方向基準位置まで移動される。そして、用紙20がレジストローラ18を通過した後、シフトユニット25はX2方向へ移動させられ、元の位置に戻される。用紙20のX1方向への移動量ΔXは、CIS21により、用紙20の端部のサイド方向位置を読み取り、制御部23によって決定される。なお、画像はサイド方向基準位置に用紙20の端部があるものとして出力されるため、用紙20の側端部がサイド方向基準位置を沿って搬送されれば、サイドレジストレーションが適正であると言える。
特開平11−189355号公報
さらに、特許文献1にはシフトユニットによる用紙の移動量を用紙の情報と予め関連付けて記憶部に記憶し、その情報に基いてシフトユニットによる用紙の移動量を制御することが開示されている。
しかしながら、特許文献1にに記載の画像形成装置では、用紙のサイド方向の位置ズレ量が大きい場合、サイド方向への用紙の移動量も増加する。連続で印刷を行う場合、用紙をサイド方向へ移動させる動作と戻り動作は次の用紙が搬送されて来る前に終了させておく必要があるが、用紙のサイド方向への移動量が大きければ、用紙の移動速度を上げなければならない。用紙のサイド方向への移動速度を上げるためには、より高出力のモータを使用しなければならず、コストの増大を招くという問題がある。
そして、この問題を軽減するため給紙部を調整することも提案されているが、用紙の側部がサイド方向基準位置に一致するように給紙部、例えば給紙カセットや給紙ホッパを調整することは容易でない。
本発明は、上記した従来の事情に鑑み、サイドレジストレーションを精度良く行うことができる画像形成装置を提供することを目的としている。
上記課題を解決するため、本発明は、用紙が搬送される用紙搬送路と、前記用紙搬送路に前記用紙を補給する少なくとも一つの給紙手段と、前記用紙を搬送する用紙搬送手段と、前記用紙の搬送方向と並行する側部位置を検知する検知手段と、前記用紙を搬送方向と直交する方向に移動させる移動手段と、前記側部位置の基準位置情報を使用する給紙手段と用紙外形の組み合わせ毎に記憶する記憶手段と、前記移動手段の移動量を制御する移動量制御手段と、前記用紙に画像を出力する画像出力手段とを備え、前記移動量制御手段は前記検知手段による前記用紙の側部位置検知結果と前記基準位置情報に基づき前記移動量を定め、前記画像出力手段は前記基準位置情報に基づき出力画像の前記用紙搬送方向と直交する方向の位置を定めるとともに、前記給紙手段が複数の給紙手段を備え、前記記憶手段は使用する給紙手段と該給紙手段が給紙する用紙サイズとの組み合わせ毎に前記基準位置情報を記憶し、前記移動量制御手段は前記検知手段による前記用紙の側部位置検知結果と選択された前記給紙手段の前記基準位置情報に基づき前記移動量を定め、前記画像出力手段もまた選択された前記給紙手段の前記基準位置情報に基づき出力画像の前記用紙搬送方向と直交する方向の位置を定めることを特徴とする画像形成装置を提案する。
さらに、本発明は、前記検知手段より得られる検知結果に基づき前記基準位置を算出する基準位置算出手段を備え、該基準位置算出手段が算出した前記基準位置情報を前記記憶手段に記憶すると、効果的である。
さらにまた、本発明は、前記基準位置算出手段は、画像出力手段による画像出力することなく前記用紙を搬送し、前記基準位置を算出すると、効果的である。
前記記憶手段に記憶される前記基準位置情報は、前記検知手段による複数の前記用紙の検知結果より得られると、効果的である。
さらにまた、本発明は、前記記憶手段に記憶される前記基準位置情報は、情報の採取契機が装置本体に設けた手動入力手段より任意に選択することが可能であると、効果的である。
本発明によれば、高出力のモータを使用することなく、しかも人手による給紙装置等の調整作業も行うことなく、サイドレジストレーションを精度良く行うことが可能となる。
以下、本発明の実施の形態を図面に従って詳細に説明する。
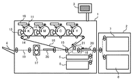
図1は本発明に係る画像形成装置としてのタンデム式カラーレーザプリンタを示す概略構成図である。
図1において、プリンタ本体1のほぼ中央に中間転写ベルト16が設けられ、中間転写ベルト16の上部走行辺にはイエローY、シアンC、マゼンタM、ブラックKの感光体12が設けられている。各感光体12の周囲には、帯電器11、現像機13や中間転写ベルト16を挟んで1次転写ローラ14等が配設されている。
そして、プリントが開始されると、感光体12が図における反時計方向に回転駆動され、このとき帯電器11によって感光体12の表面が所定の極性に帯電される。次いで、その帯電面に、各色のレーザ走査ユニット10から画像情報に基づくレーザ光が照射され、これによって感光体12に静電潜像が形成される。そして、感光体12の表面に形成された静電潜像は、現像機13によってトナー像として可視像化され、トナー像は1次転写ローラ14によって中間転写ベルト16に転写される。なお、トナー像転写後の感光体12の表面に付着する転写残トナーは図示していない感光体クリーナーによって除去される。
カラー画像形成時は上記した画像形成動作が全ての感光体12で行われ、これによって各感光体12にそれぞれ形成されたイエロートナー像、シアントナー像、マゼンタトナー像及び黒トナー像が中間転写ベル16上に順次重ねて転写される。
一方、プリンタ本体1の下部には第1給紙ホッパ5、第2給紙ホッパ6を備え、さらに本実施形態ではプリンタ本体1に接続された増設給紙装置2を有し、該増設給紙装置2に第3給紙ホッパ7及び第4給紙ホッパ8を備えている。ユーザは操作パネル3や図示しないPC等の入力端末より、使用する給紙ホッパ5〜8を選択することにより、選択された給紙ホッパに格納された転写紙又は樹脂フィルムなどから成る用紙20が給紙される。なお、符号19は給紙された用紙20が通る搬送路である。
給紙された用紙20は、レジストローラ18に向けて送り出され、その先端が停止しているレジストローラ18に突き当てられる。これによって用紙20が整合された後、レジストローラ18は2次転写ローラ15を設けられた上記中間転写ベルト16の2次転写部に向けて用紙20を上記トナー像と合致するタイミングで送り出す。
そして、2次転写ローラ15によって未定着トナー像が転写された用紙20は、定着部17に送られ、用紙20に未定着トナー像が定着された後、排紙トレイ4に排出される。なお、トナー像転写後の中間転写ベルト16の表面に付着する転写残トナーはベルト用のクリーナー(図示せず)によって除去される。
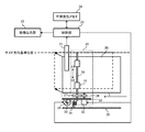
本プリンタでは、用紙20のサイドレジストレーション補正を2次転写ローラ15の用紙搬送方向上流側に設けられたサイドレジストレーション補正機構部9にて行われ、図2を用いてサイドレジストレーション補正機構部9と制御方法について説明する。
図2に示すサイドレジストレーション補正機構部9における機械的な構成は背景技術の欄で説明した図7と同じであるため、同部材に同符号を付すとともに、その詳しい説明を省略する。
搬送路19を上流より搬送されて来る用紙20は、レジストローラ18と該レジストローラと対をなす対向するローラにより挟持され、レジストローラ駆動モータ32の駆動力によりY方向に搬送される(以下、レジストローラ18と該レジストローラと対をなす対向するローラをレジストローラ対18という)。また同時に、用紙20はレジストローラ対18に挟持されたまま、シフトモータ29の駆動力により、用紙20の初期位置が図2に示す位置関係(実線で示す位置)である場合、用紙20はX1方向へサイド方向基準位置Sまで移動される(点線で示す位置)。用紙20がレジストローラ対18を通過した後、シフトユニット25はX2方向へ移動させられ、元の位置に戻される。用紙20(シフトユニット25)のX1方向への移動量ΔXは、CIS(Contact Image Sensor)21により、用紙20の端部のサイド方向位置を読み取り、制御部23によって決定される。
用紙20はサイド方向基準位置Sに沿って搬送されて来ることが理想であるが、様々な原因によりサイド方向基準位置Sからずれて搬送される。搬送によるサイド方向の位置ズレ原因としては、搬送路の機械的な精度、搬送ローラ径の不均衡、搬送ローラでのスリップ等が挙げられるが、最も大きな原因は給紙ホッパ5〜8のサイド方向位置精度である。給紙ホッパ5〜8のサイド方向位置精度による用紙のサイド方向の位置ズレは搬送される用紙毎に変化せずにほぼ一定である。また、給紙ホッパ5〜8のサイド方向位置精度は短期的に変化する性質のものではないため、後述するようにサイド方向基準位置Sを給紙ホッパ5〜8毎に予め定めることにより、前記移動量ΔXを減少させることが可能となる。サイド方向基準位置情報は不揮発性メモリ24に記憶されている。図3は不揮発性メモリ24内に記憶されているサイド方向基準位置情報を示す図である。本発明ではサイド方向基準位置Sが使用する給紙ホッパ及び用紙サイズ毎に、別々に不揮発性メモリ24に記憶させている。
次に、サイド方向基準位置の決定方法について説明する。工場出荷時や、増設給紙装置2をプリンタ本体1に連結するときには操作パネル3から作業者がサイド方向基準位置設定モードを実行する。サイド方向基準位置設定モードについて図4を用いて説明する。
作業者は操作パネル3からサイド方向基準位置設定モードを起動し、操作パネル3上の表示に従い、設定する給紙ホッパに指定されたサイズの用紙20を装填する。用紙装填後、作業者は操作パネル3を操作し設定を開始させる。以後は制御部23が次のような設定を自動的に行う。
図4において、まず設定する給紙ホッパより規定枚数の指定したサイズの用紙20が搬送路19に一定間隔にて補給され、通常のプリント時と同様に搬送される(S101)。用紙20がCIS21に到達すると、CIS21ではすべての用紙20のサイド方向位置を順次測定する(S102)。規定枚数の用紙20を搬送してその側部位置をCIS21で測定後、制御部23にてその側部位置の平均値を算出する(S103)。そして、算出した平均値、すなわちその用紙20の側部が通過する位置を、その用紙20のサイド方向基準位置Sとして不揮発性メモリ24に記憶させる(S104)。以上にてサイド方向基準位置設定モードは終了し、操作パネルには前記設定モードが終了した旨のメッセージが表示され、作業者に終了を知らせる。なお、本モードにおいては画像出力されずに用紙20の通紙のみで実行される。
かくして、給紙ホッパ5〜8の1つ、例えば給紙ホッパ5における1つのサイズ、例えばA4サイズ横のサイド方向基準位置Sが決定する。そして、給紙ホッパ5におけるサイド方向基準位置Sの設定は他のサイズ、例えば、A5サイズの縦横、A4サイズの縦、A3サイズの横等について行ってもよいが、すべてのサイズの設定をするには多くの時間がかかる。
そこで、作業時間削減のため、給紙ホッパ5における他のサイズのサイド方向基準位置Sは、設定したA4サイズ横のものを基準にして外形サイズの差分を考慮し、サイド方向基準位置Sを算出し、例えば図3に示すようなサイド方向基準位置情報を不揮発性メモリ24に記憶する(S105)。
このようにしてすべての給紙ホッパ5〜8における用紙サイズ毎のサイド方向基準位置Sが決定される。したがって、本実施形態のサイド方向基準位置Sは給紙ホッパ5〜8における用紙サイズ毎に、別個に設定されている。また、決定してサイド方向基準位置Sは各搬送ローラの磨耗、給紙ホッパの位置ズレなどにより、用紙搬送ラインが経時的に変化する場合があるため、通常印刷中においても、サイドレジストレーション補正前の用紙側部位置平均を算出し、サイド方向基準位置Sを更新するようにしても良い。さらに、サイド方向基準位置Sの更新契機を給紙ホッパ5〜8の用紙補給等の開閉した後としても良い。
このようにして決定したサイド方向基準位置Sに基き、サイドレジストレーション補正の流れを図5のフローチャートを用いて説明する。
例えばユーザが図示しない入力端末よりA4サイズ横の用紙20を選択し、A4サイズ横の用紙20が第1給紙ホッパ5にセットされていた場合、制御部23は不揮発性メモリ24からサイド方向基準位置Sとして図3の情報(c)を読み取る(S201)。制御部23は読み取ったサイド方向基準位置情報(c)に基づいた画像位置情報を画像出力部22に伝達する(S202)。第1給紙ホッパ5より設定された枚数の用紙20を搬送路19に一定間隔にて送出され、用紙20がCIS21に到達すると、CIS21では各用紙20のサイド方向位置を測定する(S203)。用紙20のサイド方向位置とサイド方向基準位置からレジストローラ18のサイド方向移動量(補正量)を決定する(S204)。用紙20がレジストローラ対18に到達後、レジストローラ対18により用紙20を挟持し、情報(c)に基くサイド方向基準位置Sまで移動させる(S205)。
このとき、第1給紙ホッパ5におけるA4サイズ横の用紙20の側部は前以て設定したサイド方向基準位置Sに沿って搬送されてくるので、サイド方向基準位置Sまで移動させる量は零かあっても微量である。したがって、シフトユニット25の移動力が軽減され、偏芯カム30を回転するシフトモータ29に高トルクのモータを使用するせずにサイドレジストレーション補正をすることができる。
なお、用紙20がレジストローラ対18を通過後、レジストローラ対18を初期位置へ戻す(S206)。この戻す場合も本実施形態では移動量が僅かであり、超高速通紙が可能なプリンタにおいても支障なく対応することができる。また、用紙サイズや選択される給紙ホッパに変更がない場合はS203へ戻り、S203〜S206を繰り返す。用紙サイズや給紙ホッパが変更となった場合はS201へ戻り、該当するサイド方向基準位置情報を取得する。
かくして、本実施形態ではサイド方向基準位置Sが使用する給紙ホッパの用紙サイズ毎に別々に設定されるので、サイドレジストレーション補正時のシフトユニット25の移動が容易で機構が簡略化される。
ところで、サイド方向基準位置Sを使用する給紙ホッパの用紙サイズ毎に設定すると、画像出力部22における書き込み位置も設定されたサイド方向基準位置S毎に制御される。
ここで、画像出力部22の制御について説明する。なお、説明の簡略化のため、1色分のユニットについてのみ説明する。
図6は画像出力部の概略構成を示す図である。図示しない上位装置より送信される画像データはラインメモリ40に一旦記憶される。ラインメモリ40への画像データ書込み及び、読み出しはラインメモリ制御部によって制御されている。レーザ駆動手段41はレーザダイオード42を駆動し、ラインメモリ40より送信される画像データに応じてレーザを射出している。図示しない駆動手段によりポリゴンミラー43は定速回転し、レーザダイオード42より射出されたレーザはポリゴンミラー43にて反射し、Fθレンズ44を通過することにより、感光体12の表面上では等速走査され、感光体12上に潜像を形成する。また、レーザ駆動手段41はレーザ射出方向がレーザ検知手段45を通過する直前よりレーザ射出しレーザ検知動作を行う。レーザ検知手段45はレーザを受光するとレーザ検知信号をレーザ駆動手段41及び、ラインメモリ制御手段46に送信する。レーザ駆動手段41はレーザ検知信号を基準とし、次のレーザ検知動作の開始タイミングを決定することにより、走査毎にレーザ検知動作を行う。ラインメモリ制御部46では前記レーザ検知信号を基準に制御部23より受け取った画像位置情報に応じてラインメモリからの画像データ読み出しタイミングを決定する。画像位置情報とは感光体12面上に投影したレーザ検知手段45の位置Aと感光体上の画像書き出し位置A’間の距離Lに相当する。よって、画像書き出し位置A’とサイド方向基準位置(用紙端面)とが用紙への画像転写点にて一致する。
かくして、画像書き出し位置A’を制御部23の位置情報に合わせられるので、サイド方向基準位置Sを使用する給紙ホッパの用紙サイズ毎に設定するが可能となる。
以上、本発明の好ましい実施形態について説明したが、本発明は上記実施形態に限定されず、各種改変することができるものである。
例えば、給紙手段は給紙ホッパに限らず給紙カセット等であってもよい。サイドレジストレーション補正するシフトユニットはレジストローラの位置に限らず、画像出力部より上流側の搬送路19上ならば任意の位置に配置することができる。
本発明に係る画像形成装置としてのタンデム式カラーレーザプリンタの概略構成図である。 本発明に係る画像形成装置におけるサイドレジストレーション補正機構部の構成を表すブロック図である。 本発明の不揮発性メモリ内のサイド方向基準位置情報を示す図である。 本発明の実施例に用いたサイド方向基準位置設定モードのフロー図である。 本発明のサイドレジストレーション補正のフローチャートである。 本発明の画像出力部の概略構成を示す図である。 従来の画像形成装置におけるサイドレジストレーション補正機構部の構成を表すブロック図である。
符号の説明
1 プリンタ本体
2 増設給紙装置
3 操作パネル
5 第1給紙ホッパ
6 第2給紙ホッパ
7 第3給紙ホッパ
8 第4給紙ホッパ
9 サイドレジストレーション補正機構部
10 レーザ走査ユニット
12 感光体ドラム
18 レジストローラ
19 用紙搬送路
20 用紙
21 CIS
22 画像出力部
23 制御部
24 不揮発性メモリ
25 シフトユニット
29 シフトモータ
30 偏芯カム

Claims (5)

  1. 用紙が搬送される用紙搬送路と、
    前記用紙搬送路に前記用紙を補給する少なくとも一つの給紙手段と、
    前記用紙を搬送する用紙搬送手段と、
    前記用紙の搬送方向と並行する側部位置を検知する検知手段と、
    前記用紙を搬送方向と直交する方向に移動させる移動手段と、
    前記側部位置の基準位置情報を使用する給紙手段と用紙外形の組み合わせ毎に記憶する記憶手段と、
    前記移動手段の移動量を制御する移動量制御手段と、
    前記用紙に画像を出力する画像出力手段とを備え、
    前記移動量制御手段は前記検知手段による前記用紙の側部位置検知結果と前記基準位置情報に基づき前記移動量を定め、
    前記画像出力手段は前記基準位置情報に基づき出力画像の前記用紙搬送方向と直交する方向の位置を定めるとともに、
    前記給紙手段が複数の給紙手段を備え、前記記憶手段は使用する給紙手段と該給紙手段が給紙する用紙サイズとの組み合わせ毎に前記基準位置情報を記憶し、
    前記移動量制御手段は前記検知手段による前記用紙の側部位置検知結果と選択された前記給紙手段の前記基準位置情報に基づき前記移動量を定め、
    前記画像出力手段もまた選択された前記給紙手段の前記基準位置情報に基づき出力画像の前記用紙搬送方向と直交する方向の位置を定めることを特徴とする画像形成装置。
  2. 前記検知手段より得られる検知結果に基づき前記基準位置を算出する基準位置算出手段を備え、該基準位置算出手段が算出した前記基準位置情報を前記記憶手段に記憶することを特徴とした請求項に記載の画像形成装置。
  3. 前記基準位置算出手段は、画像出力手段による画像出力することなく前記用紙を搬送し、前記基準位置を算出することを特徴とした請求項に記載の画像形成装置。
  4. 前記記憶手段に記憶される前記基準位置情報は、前記検知手段による複数の前記用紙の検知結果より得られることを特徴とした請求項に記載の画像形成装置。
  5. 前記記憶手段に記憶される前記基準位置情報は、情報の採取契機が装置本体に設けた手動入力手段より任意に選択することが可能であることを特徴とした請求項に記載の画像形成装置。
JP2006204797A 2006-07-27 2006-07-27 画像形成装置 Expired - Fee Related JP4934366B2 (ja)

Priority Applications (4)

Application Number Priority Date Filing Date Title
JP2006204797A JP4934366B2 (ja) 2006-07-27 2006-07-27 画像形成装置
DE602007006593T DE602007006593D1 (de) 2006-07-27 2007-07-05 Bilderzeugungsvorrichtung mit Fähigkeit zur Seitenregistrierung
EP07111864A EP1882594B1 (en) 2006-07-27 2007-07-05 Image forming apparatus capable of providing side registration
US11/829,392 US8205878B2 (en) 2006-07-27 2007-07-27 Image forming apparatus capable of providing side registration

Applications Claiming Priority (1)

Application Number Priority Date Filing Date Title
JP2006204797A JP4934366B2 (ja) 2006-07-27 2006-07-27 画像形成装置

Publications (2)

Publication Number Publication Date
JP2008032913A JP2008032913A (ja) 2008-02-14
JP4934366B2 true JP4934366B2 (ja) 2012-05-16

Family

ID=38578687

Family Applications (1)

Application Number Title Priority Date Filing Date
JP2006204797A Expired - Fee Related JP4934366B2 (ja) 2006-07-27 2006-07-27 画像形成装置

Country Status (4)

Country Link
US (1) US8205878B2 (ja)
EP (1) EP1882594B1 (ja)
JP (1) JP4934366B2 (ja)
DE (1) DE602007006593D1 (ja)

Families Citing this family (25)

* Cited by examiner, † Cited by third party
Publication number Priority date Publication date Assignee Title
JP4518176B2 (ja) 2008-04-08 2010-08-04 富士ゼロックス株式会社 記録材搬送装置及び画像形成装置
JP4572951B2 (ja) * 2008-04-11 2010-11-04 富士ゼロックス株式会社 記録材移動装置及び画像形成装置
JP4730390B2 (ja) 2008-04-11 2011-07-20 富士ゼロックス株式会社 記録材移動装置及び画像形成装置
JP2010215374A (ja) * 2009-03-17 2010-09-30 Ricoh Co Ltd 画像形成装置
JP5140631B2 (ja) * 2009-05-21 2013-02-06 京セラドキュメントソリューションズ株式会社 画像形成装置
JP5824839B2 (ja) * 2011-03-29 2015-12-02 富士ゼロックス株式会社 記録材搬送装置
JP5619077B2 (ja) * 2011-07-04 2014-11-05 キヤノン株式会社 シート搬送装置及び画像形成装置
JP5626535B2 (ja) 2011-11-04 2014-11-19 コニカミノルタ株式会社 画像形成装置
JP5963419B2 (ja) * 2011-11-07 2016-08-03 キヤノン株式会社 画像形成装置
JP2013109156A (ja) * 2011-11-21 2013-06-06 Konica Minolta Business Technologies Inc 画像形成装置
US8851470B2 (en) * 2012-02-17 2014-10-07 Ricoh Company, Limited Conveying device and image forming apparatus
JP5867299B2 (ja) * 2012-06-08 2016-02-24 コニカミノルタ株式会社 画像形成装置
JP6098877B2 (ja) 2012-06-13 2017-03-22 株式会社リコー シート材位置補正装置、及び、画像形成装置
JP5780403B2 (ja) * 2012-07-12 2015-09-16 コニカミノルタ株式会社 画像形成装置
US9168769B2 (en) 2012-09-28 2015-10-27 Brother Kogyo Kabushiki Kaisha Recording apparatus
CN103707639B (zh) 2012-09-28 2015-11-18 兄弟工业株式会社 记录设备
JP6003596B2 (ja) * 2012-12-05 2016-10-05 コニカミノルタ株式会社 画像形成装置及び画像形成方法
JP6003597B2 (ja) * 2012-12-05 2016-10-05 コニカミノルタ株式会社 用紙搬送装置及び画像形成装置
JP6083286B2 (ja) * 2013-03-27 2017-02-22 セイコーエプソン株式会社 回転機構の基準位置検出装置、プラテンギャップ調整機構及びプリンター
JP2015020830A (ja) * 2013-07-17 2015-02-02 コニカミノルタ株式会社 画像形成装置
JP5935783B2 (ja) * 2013-11-13 2016-06-15 コニカミノルタ株式会社 画像形成装置、画像形成システム及び画像形成方法
JP6444060B2 (ja) * 2014-05-23 2018-12-26 キヤノン株式会社 画像形成装置
US9348291B2 (en) 2014-10-10 2016-05-24 Ricoh Company, Ltd. Image forming apparatus and image forming system with correction mechanism
JP6790579B2 (ja) * 2016-08-16 2020-11-25 コニカミノルタ株式会社 画像形成装置および画像形成装置の制御方法
US11654700B2 (en) 2019-08-13 2023-05-23 Ricoh Company, Ltd. Printer and method for printing

Family Cites Families (25)

* Cited by examiner, † Cited by third party
Publication number Priority date Publication date Assignee Title
JPH02131966A (ja) * 1988-11-12 1990-05-21 Minolta Camera Co Ltd 電子写真プリンタ
JP2758186B2 (ja) 1989-01-27 1998-05-28 株式会社リコー 画像形成装置の用紙搬送装置
GB9119488D0 (en) * 1991-09-11 1991-10-23 Xerox Corp Sheet feeding apparatus with lateral registration
DE4201886C1 (ja) * 1992-01-24 1993-07-08 Man Roland Druckmaschinen Ag, 6050 Offenbach, De
US5335904A (en) * 1992-04-20 1994-08-09 Fuji Xerox Co., Ltd. Sheet transport roller device
JPH05313447A (ja) * 1992-05-06 1993-11-26 Ricoh Co Ltd 画像形成装置
JPH0789645A (ja) 1993-09-21 1995-04-04 Ricoh Co Ltd 用紙供給装置の用紙幅方向補正機構
JPH086332A (ja) * 1994-06-17 1996-01-12 Fuji Xerox Co Ltd イメージ位置調整装置
JPH08152772A (ja) * 1994-11-30 1996-06-11 Ricoh Co Ltd 画像形成装置
JPH08211787A (ja) * 1995-02-08 1996-08-20 Ricoh Co Ltd 画像形成装置
US5794176A (en) * 1996-09-24 1998-08-11 Xerox Corporation Adaptive electronic registration system
JP3769913B2 (ja) 1997-12-26 2006-04-26 富士ゼロックス株式会社 用紙整合装置およびこれを備えた画像形成装置
JP3744728B2 (ja) * 1999-06-15 2006-02-15 富士ゼロックス株式会社 シート搬送装置及びこれを用いた画像形成装置
JP3879434B2 (ja) 2001-05-11 2007-02-14 富士ゼロックス株式会社 用紙整合装置
US6523924B1 (en) 2001-08-16 2003-02-25 Lexmark International, Inc. Printer method for reducing effect of paper feed errors
DE10315192A1 (de) * 2002-04-25 2003-11-06 Heidelberger Druckmasch Ag Unabhängig ansteuerbare Seitenziehmarken zum seitlichen Ausrichten eines Bogens
JP4019833B2 (ja) * 2002-07-17 2007-12-12 富士ゼロックス株式会社 用紙位置ずれ補正装置および画像形成装置
JP2004090284A (ja) * 2002-08-29 2004-03-25 Canon Inc 余白自動調整機能を備えた画像形成装置
KR100444573B1 (ko) 2003-01-09 2004-08-16 삼성전자주식회사 잉크젯 프린터의 화이트라인 보정을 위한 장치 및 그제어방법
US6920307B2 (en) * 2003-04-25 2005-07-19 Xerox Corporation Systems and methods for simplex and duplex image on paper registration
JP2005241669A (ja) * 2004-02-24 2005-09-08 Ricoh Co Ltd 画像形成装置
JP4479352B2 (ja) * 2004-05-28 2010-06-09 富士ゼロックス株式会社 画像形成装置
JP2006082937A (ja) * 2004-09-16 2006-03-30 Canon Inc 画像形成装置
US7422211B2 (en) * 2005-01-21 2008-09-09 Xerox Corporation Lateral and skew registration using closed loop feedback on the paper edge position
JP4566897B2 (ja) * 2005-12-02 2010-10-20 シャープ株式会社 画像記録装置

Also Published As

Publication number Publication date
JP2008032913A (ja) 2008-02-14
US8205878B2 (en) 2012-06-26
US20080024808A1 (en) 2008-01-31
DE602007006593D1 (de) 2010-07-01
EP1882594B1 (en) 2010-05-19
EP1882594A1 (en) 2008-01-30

Similar Documents

Publication Publication Date Title
JP4934366B2 (ja) 画像形成装置
US8023870B2 (en) Image forming apparatus having a control section which corrects deviation of a belt
JP2015020830A (ja) 画像形成装置
US9207611B2 (en) Image forming apparatus and control method thereof
JP5398776B2 (ja) 画像形成装置
JP6335639B2 (ja) 画像形成装置及び画像形成方法
JP5533794B2 (ja) 画像形成装置
US7675051B2 (en) Sheet detector mechanism including sheet detector further including photoreceptors, and image forming apparatus including the same
JP2018194654A (ja) 画像形成装置
JP5768915B2 (ja) 画像形成装置及び画像形成方法
JP4873270B2 (ja) 画像形成装置
JP4654696B2 (ja) 用紙判定方法及び用紙測定装置
JP2019082542A (ja) 画像形成装置および搬送制御方法
JP6201475B2 (ja) 画像形成装置
JP6308846B2 (ja) 画像形成装置
CN106406053B (zh) 图像形成装置
US20110069327A1 (en) Method and apparatus for forming image
JP2019081623A (ja) 画像形成装置および搬送制御方法
JP6324199B2 (ja) 画像形成装置及びカラー画像形成装置
JP2019082543A (ja) 画像形成装置および搬送制御方法
JP4693690B2 (ja) 画像形成装置及び画像形成装置の制御方法
JP2006323247A (ja) 画像形成装置
JP2008275811A (ja) 画像形成装置及び速度制御装置
JP6443168B2 (ja) 定着装置および画像形成装置
JP2023128149A (ja) シート搬送装置、及び画像形成装置

Legal Events

Date Code Title Description
A621 Written request for application examination

Free format text: JAPANESE INTERMEDIATE CODE: A621

Effective date: 20090409

A131 Notification of reasons for refusal

Free format text: JAPANESE INTERMEDIATE CODE: A131

Effective date: 20110621

A521 Request for written amendment filed

Free format text: JAPANESE INTERMEDIATE CODE: A523

Effective date: 20110812

TRDD Decision of grant or rejection written
A01 Written decision to grant a patent or to grant a registration (utility model)

Free format text: JAPANESE INTERMEDIATE CODE: A01

Effective date: 20120214

A01 Written decision to grant a patent or to grant a registration (utility model)

Free format text: JAPANESE INTERMEDIATE CODE: A01

A61 First payment of annual fees (during grant procedure)

Free format text: JAPANESE INTERMEDIATE CODE: A61

Effective date: 20120220

R151 Written notification of patent or utility model registration

Ref document number: 4934366

Country of ref document: JP

Free format text: JAPANESE INTERMEDIATE CODE: R151

FPAY Renewal fee payment (event date is renewal date of database)

Free format text: PAYMENT UNTIL: 20150224

Year of fee payment: 3

LAPS Cancellation because of no payment of annual fees