JP4831204B2 - 画像形成装置および像担持体ユニット - Google Patents

画像形成装置および像担持体ユニット Download PDF

Info

Publication number
JP4831204B2
JP4831204B2 JP2009109905A JP2009109905A JP4831204B2 JP 4831204 B2 JP4831204 B2 JP 4831204B2 JP 2009109905 A JP2009109905 A JP 2009109905A JP 2009109905 A JP2009109905 A JP 2009109905A JP 4831204 B2 JP4831204 B2 JP 4831204B2
Authority
JP
Japan
Prior art keywords
developer
image carrier
communication port
image
unit
Prior art date
Legal status (The legal status is an assumption and is not a legal conclusion. Google has not performed a legal analysis and makes no representation as to the accuracy of the status listed.)
Active
Application number
JP2009109905A
Other languages
English (en)
Other versions
JP2010256827A (ja
Inventor
正吾 佐藤
Current Assignee (The listed assignees may be inaccurate. Google has not performed a legal analysis and makes no representation or warranty as to the accuracy of the list.)
Brother Industries Ltd
Original Assignee
Brother Industries Ltd
Priority date (The priority date is an assumption and is not a legal conclusion. Google has not performed a legal analysis and makes no representation as to the accuracy of the date listed.)
Filing date
Publication date
Application filed by Brother Industries Ltd filed Critical Brother Industries Ltd
Priority to JP2009109905A priority Critical patent/JP4831204B2/ja
Priority to US12/732,235 priority patent/US8488991B2/en
Priority to CN201010155403.5A priority patent/CN101876807B/zh
Publication of JP2010256827A publication Critical patent/JP2010256827A/ja
Application granted granted Critical
Publication of JP4831204B2 publication Critical patent/JP4831204B2/ja
Priority to US13/941,070 priority patent/US8913918B2/en
Priority to US14/569,935 priority patent/US9720342B2/en
Active legal-status Critical Current
Anticipated expiration legal-status Critical

Links

Images

Classifications

    • GPHYSICS
    • G03PHOTOGRAPHY; CINEMATOGRAPHY; ANALOGOUS TECHNIQUES USING WAVES OTHER THAN OPTICAL WAVES; ELECTROGRAPHY; HOLOGRAPHY
    • G03GELECTROGRAPHY; ELECTROPHOTOGRAPHY; MAGNETOGRAPHY
    • G03G15/00Apparatus for electrographic processes using a charge pattern
    • G03G15/01Apparatus for electrographic processes using a charge pattern for producing multicoloured copies
    • G03G15/0105Details of unit
    • G03G15/0121Details of unit for developing
    • GPHYSICS
    • G03PHOTOGRAPHY; CINEMATOGRAPHY; ANALOGOUS TECHNIQUES USING WAVES OTHER THAN OPTICAL WAVES; ELECTROGRAPHY; HOLOGRAPHY
    • G03GELECTROGRAPHY; ELECTROPHOTOGRAPHY; MAGNETOGRAPHY
    • G03G15/00Apparatus for electrographic processes using a charge pattern
    • G03G15/14Apparatus for electrographic processes using a charge pattern for transferring a pattern to a second base
    • G03G15/16Apparatus for electrographic processes using a charge pattern for transferring a pattern to a second base of a toner pattern, e.g. a powder pattern, e.g. magnetic transfer
    • G03G15/1665Apparatus for electrographic processes using a charge pattern for transferring a pattern to a second base of a toner pattern, e.g. a powder pattern, e.g. magnetic transfer by introducing the second base in the nip formed by the recording member and at least one transfer member, e.g. in combination with bias or heat
    • G03G15/167Apparatus for electrographic processes using a charge pattern for transferring a pattern to a second base of a toner pattern, e.g. a powder pattern, e.g. magnetic transfer by introducing the second base in the nip formed by the recording member and at least one transfer member, e.g. in combination with bias or heat at least one of the recording member or the transfer member being rotatable during the transfer
    • G03G15/168Apparatus for electrographic processes using a charge pattern for transferring a pattern to a second base of a toner pattern, e.g. a powder pattern, e.g. magnetic transfer by introducing the second base in the nip formed by the recording member and at least one transfer member, e.g. in combination with bias or heat at least one of the recording member or the transfer member being rotatable during the transfer with means for conditioning the transfer element, e.g. cleaning
    • GPHYSICS
    • G03PHOTOGRAPHY; CINEMATOGRAPHY; ANALOGOUS TECHNIQUES USING WAVES OTHER THAN OPTICAL WAVES; ELECTROGRAPHY; HOLOGRAPHY
    • G03GELECTROGRAPHY; ELECTROPHOTOGRAPHY; MAGNETOGRAPHY
    • G03G21/00Arrangements not provided for by groups G03G13/00 - G03G19/00, e.g. cleaning, elimination of residual charge
    • G03G21/10Collecting or recycling waste developer
    • G03G21/105Arrangements for conveying toner waste
    • GPHYSICS
    • G03PHOTOGRAPHY; CINEMATOGRAPHY; ANALOGOUS TECHNIQUES USING WAVES OTHER THAN OPTICAL WAVES; ELECTROGRAPHY; HOLOGRAPHY
    • G03GELECTROGRAPHY; ELECTROPHOTOGRAPHY; MAGNETOGRAPHY
    • G03G21/00Arrangements not provided for by groups G03G13/00 - G03G19/00, e.g. cleaning, elimination of residual charge
    • G03G21/10Collecting or recycling waste developer
    • G03G21/12Toner waste containers
    • GPHYSICS
    • G03PHOTOGRAPHY; CINEMATOGRAPHY; ANALOGOUS TECHNIQUES USING WAVES OTHER THAN OPTICAL WAVES; ELECTROGRAPHY; HOLOGRAPHY
    • G03GELECTROGRAPHY; ELECTROPHOTOGRAPHY; MAGNETOGRAPHY
    • G03G2215/00Apparatus for electrophotographic processes
    • G03G2215/16Transferring device, details
    • G03G2215/1647Cleaning of transfer member
    • G03G2215/1661Cleaning of transfer member of transfer belt

Landscapes

  • Physics & Mathematics (AREA)
  • General Physics & Mathematics (AREA)
  • Life Sciences & Earth Sciences (AREA)
  • Engineering & Computer Science (AREA)
  • Environmental & Geological Engineering (AREA)
  • Sustainable Development (AREA)
  • Electrophotography Configuration And Component (AREA)
  • Color Electrophotography (AREA)
  • Cleaning In Electrography (AREA)

Description

本発明は、電子写真方式のカラープリンタなどの画像形成装置、および、その画像形成装置に備えられる像担持体ユニットに関する。
電子写真方式のカラープリンタとして、イエロー、マゼンタ、シアン、ブラックの4色のトナーに対応して、4つの感光ドラムを備えるタンデム型カラーレーザプリンタが知られている。
このようなタンデム型カラーレーザプリンタとして、4つの感光体ドラムと対向するように、搬送ベルトが配置され、さらに、搬送ベルトに付着するトナーをクリーニングするためのベルトクリーナが、4つの感光体ドラムとの間で搬送ベルトを挟むように配置されている画像形成装置が知られている(たとえば、特許文献1参照。)。
特開2007−93830号公報
特許文献1に記載の画像形成装置では、ベルトクリーナは、搬送ベルトに対して感光体ドラムの反対側に配置されている。
そのため、ベルトクリーナをメンテナンスするには、すべての感光体ドラムを取り外した上、さらに搬送ベルトを取り外してから、ベルトクリーナをメンテナンスしなければならず、ベルトクリーナを作業性よくメンテナンスすることができないという不具合がある。
そこで、ベルトクリーナを、搬送ベルトに対して感光体ドラムと同じ側に配置すれば、上記した不具合を解消することができる。
一方、ベルトクリーナを、搬送ベルトに対して感光体ドラムと同じ側に配置すると、たとえば、搬送ベルトと各感光体ドラムとの間を用紙が通過するダイレクトタンデム方式の画像形成装置の場合には、画像形成動作時において、用紙が、ベルトクリーナと搬送ベルトとの間を通過するときに、ベルトクリーナに接触し、汚れてしまうおそれがある。
そこで、本発明の目的は、ダイレクトタンデム方式の画像形成装置において、クリーニング部材を容易にメンテナンスすることができる画像形成装置、および、その画像形成装置に備えられる像担持体ユニットを提供することにある。
上記目的を達成するため、請求項1に記載の発明は、画像形成装置であって、装置本体と、互いに間隔を隔てて並列配置される複数の像担持体と、各前記像担持体に対応して設けられ、前記現像剤を収容する現像剤収容ユニットと、各前記像担持体を保持し、装置本体に対して、各前記像担持体の並列方向に沿ってスライド自在に設けられる保持部材と、前記保持部材が前記装置本体内に装着されている状態で前記像担持体と対向され、前記装置本体内から引き出されている状態で前記像担持体と離間されるように前記装置本体内に設けられ、画像が形成される記録媒体を、各前記像担持体と接触するように搬送する搬送ベルトとを備え、前記保持部材は、前記搬送ベルトに対して、前記像担持体と前記搬送ベルトとの対向方向における前記像担持体側に配置され、前記搬送ベルトに残存した現像剤を除去するクリーニング部材と、前記クリーニング部材によって回収された前記現像剤を収容する廃現像剤収容部と、前記記録媒体を前記搬送ベルトに案内するガイド部とを備え、前記ガイド部は、前記クリーニング部材よりも前記像担持体と前記搬送ベルトとの対向方向における前記像担持体側において、前記像担持体と前記搬送ベルトとの対向方向に投影したときに前記クリーニング部材と重なるように配置されており、前記廃現像剤収容部は、前記ガイド部に対して、前記クリーニング部材の反対側に配置され、前記記録媒体の搬送方向最上流側の前記現像剤収容ユニットに一体的に設けられていることを特徴としている。
また、請求項2に記載の発明は、請求項1に記載の発明において、前記クリーニング部材に設けられ、前記クリーニング部材によって回収された前記現像剤を、前記像担持体の長手方向一方側に搬送する第1搬送部材と、前記クリーニング部材と前記廃現像剤収容部とに接続されるように前記保持部材に設けられ、前記第1搬送部材により搬送された前記現像剤を、前記廃現像剤収容部に搬送する第2搬送部材とを備えていることを特徴としている。
また、請求項3に記載の発明は、請求項2に記載の発明において、前記保持部材は、各前記像担持体の長手方向両端部を回転自在に支持するように、前記長手方向において間隔を隔てて対向配置される1対の側板を備え、前記第2搬送部材は、両前記側板間において、前記長手方向一方側の前記側板に設けられていることを特徴としている。
また、請求項4に記載の発明は、請求項3に記載の発明において、前記第2搬送部材は、前記長手方向一方側の前記側板に位置固定されていることを特徴としている。
また、請求項5に記載の発明は、請求項4に記載の発明において、前記現像剤収容ユニットは、前記保持部材に対して着脱自在に設けられ、前記廃現像剤収容部には、前記第2搬送部材からの前記現像剤を受け入れる収容部側連通口が形成されており、前記第2搬送部材には、前記現像剤収容ユニットが前記保持部材に装着されている状態で前記収容部側連通口に対向される第2搬送部材側連通口が形成されており、前記第2搬送部材は、前記収容部側連通口と前記第2搬送部材側連通口との間に介在される閉位置と、前記収容部側連通口と前記第2搬送部材側連通口との間から退避される開位置とに移動可能な第1シャッタ部材を備えていることを特徴としている。
また、請求項6に記載の発明は、請求項5に記載の発明において、前記廃現像剤収容部は、前記収容部側連通口を開閉する第2シャッタ部材を備え、前記第2シャッタ部材は、前記現像剤収容ユニットが前記保持部材に装着されている状態で、前記第1シャッタ部材に対して連動可能に嵌合され、前記第1シャッタ部材と前記第2シャッタ部材とは、前記第2シャッタ部材が前記収容部側連通口を開放したときに前記第1シャッタ部材が前記開位置に位置され、前記第2シャッタ部材が前記収容部側連通口を閉鎖したときに前記第1シャッタ部材が閉位置に位置されるように連動されることを特徴としている。
また、請求項7に記載の発明は、請求項3ないし6のいずれか一項に記載の発明において、前記長手方向一方側の前記側板と前記第2搬送部材との間に配置され、前記第2搬送部材に駆動力を伝達する駆動伝達部材を備えていることを特徴としている。
また、請求項8に記載の発明は、請求項ないし7のいずれか一項に記載の発明において、前記廃現像剤収容部内に設けられ、前記廃現像剤収容部に搬送された前記現像剤を、前記長手方向他方側に搬送する第3搬送部材を備えていることを特徴としている。
また、請求項9に記載の発明は、像担持体ユニットであって、画像が形成される記録媒体を搬送する搬送ベルトを備える画像形成装置の装置本体にスライド自在に設けられる像担持体ユニットであって、前記像担持体ユニットのスライド方向に沿って、互いに間隔を隔てて並列配置される複数の像担持体と、各前記像担持体に対応して設けられ、前記現像剤を収容する現像剤収容ユニットと、各前記像担持体を保持する保持部材とを備え、前記保持部材は、前記装置本体内に装着されている状態で、前記搬送ベルトに対して、前記像担持体と前記搬送ベルトとの対向方向における前記像担持体側に配置され、前記搬送ベルトに残存した現像剤を除去するクリーニング部材と、前記クリーニング部材によって回収された前記現像剤を収容する廃現像剤収容部と、前記クリーニング部材よりも、前記像担持体と前記搬送ベルトとの対向方向における前記像担持体側において、前記像担持体と前記搬送ベルトとの対向方向に投影したときに前記クリーニング部材と重なるように配置され、前記記録媒体を前記搬送ベルトに案内するガイド部とを備えており、前記廃現像剤収容部は、前記ガイド部に対して、前記クリーニング部材の反対側に配置され、前記記録媒体の搬送方向最上流側の前記現像剤収容ユニットに一体的に設けられていることを特徴としている。
また、請求項10に記載の発明は、請求項9に記載の発明において、前記クリーニング部材に設けられ、前記クリーニング部材によって回収された前記現像剤を、前記像担持体の長手方向一方側に搬送する第1搬送部材と、前記クリーニング部材と前記廃現像剤収容部とに接続されるように前記保持部材に設けられ、前記第1搬送部材により搬送された前記現像剤を、前記廃現像剤収容部に搬送する第2搬送部材とを備えていることを特徴としている。
また、請求項11に記載の発明は、請求項10に記載の発明において、前記保持部材は、各前記像担持体の長手方向両端部を回転自在に支持するように、前記長手方向において間隔を隔てて対向配置される1対の側板を備え、前記第2搬送部材は、両前記側板間において、前記長手方向一方側の前記側板に設けられていることを特徴としている。
また、請求項12に記載の発明は、請求項11に記載の発明において、前記第2搬送部材は、前記長手方向一方側の前記側板に位置固定されていることを特徴としている。
また、請求項13に記載の発明は、請求項12に記載の発明において、前記現像剤収容ユニットは、前記保持部材に対して着脱自在に設けられ、前記廃現像剤収容部には、前記第2搬送部材からの前記現像剤を受け入れる収容部側連通口が形成されており、前記第2搬送部材には、前記現像剤収容ユニットが前記保持部材に装着されている状態で前記収容部側連通口に対向される第2搬送部材側連通口が形成されており、前記第2搬送部材は、前記収容部側連通口と前記第2搬送部材側連通口との間に介在される閉位置と、前記収容部側連通口と前記第2搬送部材側連通口との間から退避される開位置とに移動可能な第1シャッタ部材を備えていることを特徴としている。
また、請求項14に記載の発明は、請求項13に記載の発明において、前記廃現像剤収容部は、前記収容部側連通口を開閉する第2シャッタ部材を備え、前記第2シャッタ部材は、前記現像剤収容ユニットが前記保持部材に装着されている状態で、前記第1シャッタ部材に対して連動可能に嵌合され、前記第1シャッタ部材と前記第2シャッタ部材とは、前記第2シャッタ部材が前記収容部側連通口を開放したときに前記第1シャッタ部材が前記開位置に位置され、前記第2シャッタ部材が前記収容部側連通口を閉鎖したときに前記第1シャッタ部材が閉位置に位置されるように連動されることを特徴としている。
また、請求項15に記載の発明は、請求項11ないし14のいずれか一項に記載の発明において、前記長手方向一方側の前記側板と前記第2搬送部材との間に配置され、前記第2搬送部材に駆動力を伝達する駆動伝達部材を備えていることを特徴としている。
また、請求項16に記載の発明は、請求項10ないし15のいずれか一項に記載の発明において、前記廃現像剤収容部内に設けられ、前記廃現像剤収容部に搬送された前記現像剤を、前記長手方向他方側に搬送する第3搬送部材を備えていることを特徴としている。
請求項1および9に記載の発明によれば、複数の像担持体と搬送ベルトとが対向配置されており、各像担持体を保持する保持部材が、搬送ベルトに残存した現像剤を除去するクリーニング部材を備えている。
そのため、各像担持体と同じ側から、容易にクリーニング部材をメンテナンスすることができる。
また、ガイド部は、クリーニング部材よりも像担持体と搬送ベルトとの対向方向における像担持体側において、像担持体と搬送ベルトとの対向方向に投影したときにクリーニング部材と重なるように配置されている。
そのため、ガイド部は、像担持体と搬送ベルトとの対向方向において、クリーニング部材の像担持体側を通過するように、記録媒体を搬送ベルトに案内することができる。
これにより、クリーニング部材と搬送ベルトとの間を記録媒体が通過するようにしなくても、クリーニング部材の像担持体側を通過させて、記録媒体を搬送ベルトに案内することができる。
その結果、用紙がベルトクリーナとの接触により汚れることを防止することができる。
また、これらの発明によれば、廃現像剤収容部は、ガイド部に対して、クリーニング部材の反対側において、保持部材に保持されている。
そのため、ガイド部に対して、クリーニング部材の反対側の空間を利用して、廃現像剤収容部を設けることができる。
また、これらの発明によれば、廃現像剤収容部は、任意の現像剤収容ユニットに一体的に設けられている。
そのため、任意の現像剤収容ユニットを交換すると同時に、廃現像剤収容部を交換することができ、クリーニング部材をより容易にメンテナンスすることができる。
また、請求項2および10に記載の発明によれば、第1搬送部材によって、クリーニング部材によって回収された現像剤を、像担持体の長手方向一方側に搬送し、第2搬送部材によって、第1搬送部材により搬送された現像剤を、廃現像剤収容部に搬送することができる。
そのため、ガイド部を避けるように、現像剤を、一旦、像担持体の長手方向一方側に搬送してから、廃現像剤収容部に搬送することができる。
また、請求項3および11に記載の発明によれば、保持部材は、各像担持体の長手方向両端部を回転自在に支持する1対の側板を備え、第2搬送部材は、両側板間において、長手方向一方側の側板に設けられている。
すなわち、第2搬送部材は、長手方向において、側板の内側に設けられている。
そのため、第2搬送部材が、保持部材の画像形成装置からの着脱時に、画像形成装置の他の部材と干渉することを防止することができる。
その結果、保持部材を画像形成装置に対して容易に着脱させることができる。
また、請求項7および15に記載の発明によれば、長手方向一方側の側板と第2搬送部材との間に配置され、第2搬送部材に駆動力を伝達する駆動伝達部材を備えている。
そのため、第2搬送部材を側板の内側に設けた場合においても、確実に、第2搬送部材に駆動力を伝達することができる。
また、請求項8および16に記載の発明によれば、廃現像剤収容部に搬送された現像剤を、長手方向他方側に搬送する第3搬送部材を備えている。
そのため、廃現像剤収容部において、搬送された現像剤を、長手方向に沿って均一に、収容することができる。
本発明の画像形成装置の一例としてのカラーレーザプリンタの一実施形態を示す側断面図である。 図1に示すプロセスユニットを示す左側面図である。 図2に示すプロセスフレームの左側断面図であって、左側側板近傍の断面図である。 図3に示すリフトの上端部を示す斜視図である。 図3に示すリフトの駆動伝達を説明するための説明図である。 図2に示すプロセスフレームの左側断面図であって、左右方向略中央の断面図である。 図2に示すブラック現像カートリッジを示し、(a)は、左側面図であり、(b)は、右側面図であり、(c)は、図7(a)に示すブラック現像カートリッジの正面から見たC−C断面図である。 図2に示すカラーの現像カートリッジを示し、(a)は、左側面図であり、(b)は、右側面図であり、(c)は、正面図である。 図2に示すプロセスユニットの正面から見たA−A断面図である。 図2に示すコックの操作を説明するための説明図であって、(a)は、シャッタ部が閉位置に位置される起立状態を示し、(b)は、シャッタ部が開位置に位置される傾倒状態を示す。 図2に示すプロセスユニットの正面から見たB−B断面図である。 プロセスユニットの本体ケーシングへの装着を説明するための説明図であって、プロセスユニットが本体ケーシングに装着される前の状態を示す。
1.カラーレーザプリンタの全体構成
図1は、本発明の画像形成装置の一例としてのカラーレーザプリンタの一実施形態を示す側断面図である。
このカラーレーザプリンタ1は、図1に示すように、横置きタイプのダイレクトタンデム型カラーレーザプリンタであって、本体ケーシング2(装置本体)内に、記録媒体の一例としての用紙Pを給紙するための給紙部3と、給紙された用紙Pに画像を形成するための画像形成部4と、原稿の画像情報を読み取る画像読取部5とを備えている。すなわち、カラーレーザプリンタ1は、画像形成部4と画像読取部5とを一体的に備える複合機である。
(1)本体ケーシング
本体ケーシング2は、給紙部3、画像形成部4および画像読取部5を収容する側面視略矩形状のボックス状に形成されており、その一方側壁には、後述するプロセスユニット11を着脱させるためのフロントカバー6が設けられている。
なお、以下の説明において、フロントカバー6が設けられる側(図1における右側)を前側とし、その反対側(図1における左側)を後側とする。また、カラーレーザプリンタ1を前側から見たときを左右の基準とする。すなわち、図1の紙面手前側が左側であり、紙面奥側が右側である。
(2)給紙部
給紙部3は、用紙Pを収容する給紙トレイ7を備えている。給紙トレイ7は、本体ケーシング2内の底部に着脱自在に装着されている。
また、給紙部3は、給紙ローラ8、分離ローラ42、分離パッド43、補助ローラ44、給紙パス9、および、1対のレジストローラ45を備えている。
給紙ローラ8は、給紙トレイ7の前端部上方に配置されている。
分離ローラ42は、給紙ローラ8の前方において、給紙ローラ8に対して前後方向にわずかに間隔を隔てて対向配置されている。
分離パッド43は、分離ローラ42の下方に配置され、分離ローラ42に対して下方から接触されている。
補助ローラ44は、分離ローラ42の前方に配置され、分離ローラ42に対して前方から接触されている。
給紙パス9は、補助ローラ44の上方に配置され、分離ローラ42と補助ローラ44との対向部分から上方に向かって延びるとともに、上端部が後方に向かってわずかに屈曲するように形成されている。
両レジストローラ45は、給紙パス9の後方斜め上方に配置されており、互いに上下方向に対向している。詳しくは、下側のレジストローラ45が上側のレジストローラ45よりもやや後方に配置されており、両レジストローラ45は、上方に向かうに従って前方に傾斜する方向に対向している。両レジストローラ45の対向部分は、前側において給紙パス9の上端部と対向し、後側において、用紙ガイド41(後述)の前端部と対向している。
給紙トレイ7内の最上位にある用紙Pは、給紙ローラ8の回転によって分離ローラ42と分離パッド43との対向部分へ供給され、それらによって1枚ごとに捌かれる。その後、用紙Pは、補助ローラ44にガイドされながら分離ローラ42から給紙パス9へ給紙される。その後、用紙Pは、給紙パス9にガイドされながら、両レジストローラ45の対向部分へ供給され、両レジストローラ45間を通過した後、用紙ガイド41(後述)を通過し、感光ドラム17(後述)と搬送ベルト30(後述)との間に搬送される。
なお、フロントカバー6の下端部には、フロントカバー6の前端面から両レジストローラ45の対向部分に向かって延びる手差し用パス50が設けられている。これにより、上記した給紙部3からの給紙以外に、ユーザが、手差し用パス50に前方から用紙Pを差し込むことによって、給紙することもできる。手差しされた用紙Pは、手差し用パス50に案内されて、直接、両レジストローラ45の対向部分に導入される。
(3)画像形成部
画像形成部4は、スキャナユニット10、像担持体ユニットの一例としてのプロセスユニット11、転写ユニット12、および定着ユニット13を備えている。
(3−1)スキャナユニット
スキャナユニット10は、本体ケーシング2の上部に配置されている。スキャナユニット10は、鎖線で示すように、4つの感光ドラム17(後述)に向けて、画像データに基づいて、レーザービームをそれぞれ出射し、感光ドラム17(後述)を露光する。
(3−2)プロセスユニット
(3−2−1)プロセスユニットの構成
プロセスユニット11は、スキャナユニット10の下方であって、転写ユニット12の上方に配置されており、保持部材の一例としての1つのプロセスフレーム14と、各色に対応する現像剤の一例としてのトナーを収容する4つの現像剤収容ユニットの一例としての現像カートリッジ15とを備えている。
プロセスフレーム14は、本体ケーシング2に対して、前後方向に沿ってスライド自在に設けられ、像担持体の一例としての感光ドラム17、スコロトロン型帯電器18、および、ドラムクリーニングローラ19を保持している。
感光ドラム17は、左右方向に沿うように、前後方向に互いに間隔を隔てて、4つ、並列配置されている。具体的には、前側から後側に向かって、ブラック感光ドラム17K、イエロー感光ドラム17Y、マゼンタ感光ドラム17Mおよびシアン感光ドラム17Cが、順次配置されている。
スコロトロン型帯電器18は、感光ドラム17の斜め後側上方に、感光ドラム17と間隔を隔てて対向配置されている。
ドラムクリーニングローラ19は、感光ドラム17の後方において、感光ドラム17と対向して接触するようにそれぞれ配置されている。
各現像カートリッジ15は、各感光ドラム17に対応するように、それぞれ感光ドラム17の上側において、プロセスフレーム14に対して着脱自在に隣接配置されている。具体的には、前側から後側に向かって、ブラック現像カートリッジ15K、イエロー現像カートリッジ15Y、マゼンタ現像カートリッジ15Mおよびシアン現像カートリッジ15Cが、順次配置されている。また、各現像カートリッジ15は、それぞれ、現像ローラ20を備えている。
現像ローラ20は、現像カートリッジ15の下端において、後方斜め下方が露出するように、回転自在に支持されており、感光ドラム17に対して上方から接触するように配置されている。
なお、現像カートリッジ15は、現像ローラ20にトナーを供給する供給ローラ21、現像ローラ20に供給されたトナーの厚みを規制する層厚規制ブレード22を備え、それらの上方の空間には、トナーを撹拌するアジテータ49が設けられ、各色に対応するトナーが収容されている。
(3−2−2)プロセスユニットでの現像動作
現像カートリッジ15内のトナーは、アジテータ49の回転により下方に落下して供給ローラ21に供給され、さらに、現像ローラ20に供給され、供給ローラ21と現像ローラ20との間で正極性に摩擦帯電される。
現像ローラ20に供給されたトナーは、現像ローラ20の回転に伴って、層厚規制ブレード22によって厚さが規制され、一定厚さの薄層として現像ローラ20の表面に担持される。
一方、感光ドラム17の表面は、感光ドラム17の回転に伴って、スコロトロン型帯電器18により一様に正帯電された後、スキャナユニット10からのレーザービーム(図1破線参照。)の高速走査により露光される。これにより、用紙Pに形成すべき画像に対応した静電潜像が感光ドラム17の表面に形成される。
感光ドラム17がさらに回転すると、現像ローラ20の表面に担持され、かつ、正帯電されているトナーが、感光ドラム17の表面に形成されている静電潜像に供給される。これにより、感光ドラム17の静電潜像は可視像化され、感光ドラム17の表面には、反転現像によるトナー像が担持される。
(3−3)転写ユニット
転写ユニット12は、本体ケーシング2内において、給紙部3の上方であって、プロセスユニット11の下方において、前後方向に沿って配置されている。この転写ユニット12は、駆動ローラ28、従動ローラ29、搬送ベルト30、および4つの転写ローラ31を備えている。
駆動ローラ28および従動ローラ29は、前後方向に間隔を隔てて対向配置されている。
搬送ベルト30は、各感光ドラム17に対して上下方向に対向し、その上側部分が各感光ドラム17と接触するように、駆動ローラ28および従動ローラ29の周りに巻回されている。また、搬送ベルト30は、駆動ローラ28の駆動により、各感光ドラム17と接触する搬送ベルト30の上側部分が前方から後方に向かって移動するように、左側面視反時計周りに周回移動されている。
各転写ローラ31は、各感光ドラム17と、それぞれ搬送ベルト30の上側部分を挟んで対向するように、設けられている。
そして、給紙部3から給紙された用紙Pは、搬送ベルト30によって、前側から後側に向かって、各感光ドラム17と各転写ローラ31とが対向する転写位置を順次通過するように搬送される。その搬送中に、各感光ドラム17に担持されている各色のトナー像が、用紙Pに順次転写され、カラー画像が形成される。
なお、感光ドラム17から用紙Pへのトナー像の転写後に感光ドラム17の外周面上にトナーが残留する場合がある。その場合、この残留した廃トナーは、感光ドラム17の回転により、ドラムクリーニングローラ19と対向したときに、ドラムクリーニングローラ19に印加されるクリーニングバイアスによって、ドラムクリーニングローラ19の外周面に転写され、ドラムクリーニングローラ19に一時保持される。
(3−4)定着ユニット
定着ユニット13は、転写ユニット12の後方に配置され、加熱ローラ32、および加熱ローラ32に対向する加圧ローラ33を備えている。転写ユニット12において、用紙Pに転写されたカラー画像は、用紙Pが加熱ローラ32と加圧ローラ33との間を通過する間に、加熱および加圧されることによって用紙Pに熱定着される。
(4)排紙
トナー像が定着した用紙Pは、Uターンパスからなる排紙パス34を通過して、排紙ローラ35に向けて搬送され、排紙ローラ35によって、スキャナユニット10の上方に形成される排紙トレイ36上に排紙される。
(5)画像読取部
画像読取部5は、排紙トレイ36の上方に設けられ、原稿台37と、原稿台37に揺動自在に支持される押えカバー38とを備えている。
原稿台37は、平面視矩形の板状に形成されており、その上面には、原稿が載置されるガラス面39が設けられている。また、原稿台37には、ガラス面の下方において、ガラス面39に載置された原稿を読み取るためのCCDセンサ40が内装されている。
CCDセンサ40は、原稿読取時には、ガラス面39と対向した状態で左右方向に沿ってスライド移動する。
押えカバー38は、原稿台37を上方から被覆するように、平面視矩形状に形成されている。押えカバー38は、傾倒してガラス面39を上から被覆する閉位置と、起立してガラス面39の上面を露出させる開位置との間を揺動する。
そして、画像読取部5では、原稿が押えカバー38とガラス面39との間に配置された後、CCDセンサ40がスライドすることにより、原稿の画像情報が読み取られる。
そして、読み取られた原稿の画像情報に基づいて、画像形成部4において、上記したように、用紙Pに画像を形成することができる。また、カラーレーザプリンタ1は、その画像情報をカラーレーザプリンタ1に接続されたパーソナルコンピュータ(図示せず)に送信したり、公衆電話回線を通じて送信したりする機能を有している。
2.プロセスユニットの詳細
(1)プロセスフレーム
図2は、図1に示すプロセスユニットを示す左側面図である。図3は、図2に示すプロセスフレームの左側断面図であって、左側側板近傍の断面図である。
プロセスフレーム14は、底のない平面視略矩形の枠形状に形成されており、左右方向に間隔を隔てて対向配置される1対の側板52と、フロントビーム55およびリヤビーム56とを備えている。
両側板52(以下、側板52について、左右方向における配置に言及する時には、左側の側板52を左側側板52Lとし、右側の側板52を右側側板52Rとする。)は、図2に示すように、前後方向に沿って延びる側面視略矩形の平板状に形成され、各感光ドラム17の左右方向両端部を回転自在に支持している。
また、両側板52には、図3に示すように、左右方向に間隔を隔てて対向配置される1対の支持板54が、各現像カートリッジ15に対応するように前後方向に沿って4対設けられている。
両支持板54は、両側板52の左右方向内側面から左右方向内側に膨出する平板状に形成されており、両支持板54には、現像ガイド溝57が形成されている。
現像ガイド溝57は、支持板54の上端縁から下方に向かって、感光ドラム17の近傍まで切り欠かれ、上方が開放された側面視略U字形状に形成されている。各現像ガイド溝57は、それぞれ、対応する現像カートリッジ15の現像ガイドリブ106(後述)を受け入れ、現像カートリッジ15のプロセスフレーム14への装着を案内する。
また、両側板52には、イエロー現像カートリッジ15Y、マゼンタ現像カートリッジ15Mおよびシアン現像カートリッジ15Cに対応して、3つの現像支持溝59が形成されている。
各現像支持溝59は、それぞれ、左右方向に投影したときに、対応する現像ガイド溝57と重なるように配置されている。また、各現像支持溝59は、両側板52の上端縁から下方に向かって、上方が開放された側面視略U字形状に切り欠かれ、現像ガイド溝57よりも短い上下方向長さに形成されている。
また、右側側板52Rには、現像カップリング穴60が、左右方向に投影したときに現像ガイド溝57と重なるように、4つ、貫通形成されている。ブラック現像カートリッジ15Kに対応する現像カップリング穴60は、丸穴に形成され、イエロー現像カートリッジ15Y、マゼンタ現像カートリッジ15Mおよびシアン現像カートリッジ15Cに対応する現像カップリング穴60は、上下方向に延びる長穴に形成されている。
各現像カップリング穴60は、各現像カートリッジ15がプロセスフレーム14に装着されたときに、各現像カートリッジ15に駆動力を伝達する現像カップリング部61(後述)を、右方から露出させる。
フロントビーム55は、両側板52の前端部間に架設され、左右方向に延びる正面視略矩形の平板状に形成されており、その前面には、プロセスフレーム14を本体ケーシング2に着脱するときに、ユーザが把持するためのフレーム把持部58が傾倒または起立可能に設けられている。
リヤビーム56は、両側板52の後端部間に架設され、左右方向に延びる正面視略矩形の平板状に形成されている。
また、プロセスフレーム14は、図2に示すように、直動カム機構110を備えている。
直動カム機構110は、左右1対の直動カム111、および、左右1対の直動カム駆動ギヤ112を備えている。
各直動カム111は、前後方向に沿って延びる杆状に形成され、左右の側板52にそれぞれ1つずつ、前後方向にスライド自在に設けられている。また、直動カム111は、3つの凹部113およびラック部114を備えている。
各凹部113は、直動カム111の上端縁において、ブラック現像カートリッジ15K以外の現像カートリッジ15に対応するように、前後方向に間隔を隔てて並列配置されている。また、各凹部113は、その前端部が、前方に向かうに従って上方に傾斜しており、その後端部が、後方に向かうに従って上方に傾斜している。
ラック部114は、直動カム111の後端部の下端縁において、前後方向に沿って形成されている。
両直動カム駆動ギヤ112は、それぞれ、直動カム111の下方に配置され、ラック部114に噛合している。
(2)リフト
(2−1)リフトの構成
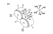
図4は、図3に示すリフトの上端部を示す斜視図である。図5は、図3に示すリフトの駆動伝達を説明するための説明図である。図9は、図2に示すプロセスユニットの正面から見たA−A断面図である。
また、プロセスユニット11は、図2に示すように、廃トナーを上方に向かって搬送する第2搬送部材の一例としてのリフト53を備えている。
リフト53は、図3および図9に示すように、左側側板52Lの前端部の右方において、左側側板52Lに対して位置固定されている。すなわち、リフト53は、両側板52間において、左側側板52Lの左右方向内側面に設けられている。
また、リフト53は、7つの第2廃トナー貯留部71、羽根部材72、リフト側中継部85、シャッタ102(第1シャッタ部材)、および、連結部73を備えている。
各第2廃トナー貯留部71は、図3に示すように、左右方向に沿って延びる中空の略円柱形状に形成され、前後方向に投影したときに互いに重なるように、上方に向かってジグザグ状に、互いに連結配置されている。具体的には、下方の第2廃トナー貯留部71と、その前方斜め上方または後方斜め上方に隣接する第2廃トナー貯留部71とが互いに連結するように、7つの第2廃トナー貯留部71が、順次、連結されている。
羽根部材72は、各第2廃トナー貯留部71内にそれぞれ設けられ、羽根軸74と、羽根75とを備えている。
羽根軸74は、第2廃トナー貯留部71と中心軸線を共有するように、第2廃トナー貯留部71に対して相対回転自在に挿通されている。なお、図示しないが、第2廃トナー貯留部71と羽根軸74との間は、トナーが漏れないようにシールされている。
羽根75は、第2廃トナー貯留部71内において、羽根軸74と一体的に、羽根軸74の径方向両側に向かって延びるように、2枚、設けられている。また、羽根軸74の径方向における羽根75の長さは、各第2廃トナー貯留部71の内周面に内側から接触するような、長さである。また、羽根75の左右方向長さは、各第2廃トナー貯留部71の内空間の左右方向長さとほぼ同等である。
リフト側中継部85は、最上方の第2廃トナー貯留部71の前方斜め上方に設けられ、前方斜め上方に向かって開放される側断面視略U字形状に形成されている。
また、リフト側中継部85には、図4に示すように、その後端部において、最上方の第2廃トナー貯留部71に連通する正面視矩形状のリフト側連通口86(第2搬送部材側連通口)が形成されている。また、リフト側中継部85には、その左側壁において、左右方向に貫通し、シャッタ102の支持ボス108(後述)を受け入れるシャッタ支持穴90が形成されている。また、リフト側中継部85は、コック94(後述)のシャッタ部100(後述)を上方から受け入れる。
シャッタ102は、図4および図5に示すように、側面視略扇形の部分円筒形状に形成されている。詳しくは、中心角が約120°の側面視略扇形状の支持部87、支持部87の中心角部分から左方に突出する支持ボス108、および、支持部87の円弧部分から右方に向かって延びる被覆部88を一体的に備えている。また、シャッタ102には、被覆部88の前端部において、嵌合突起107(後述)を受け入れる嵌合穴89が、左右方向に延びるように形成されている。
そして、シャッタ102は、支持ボス108がシャッタ支持穴90に回転自在に挿通され、被覆部88の外面がリフト側中継部85の内面に対向するように、リフト側中継部85内に収容されている。
これにより、シャッタ102は、後端部がリフト側連通口86と前後方向に対向する閉位置(図10(a)参照)と、後端部がリフト側連通口86の下方に配置される閉位置(図10(b)参照)とに、支持ボス108を支点として揺動する。
連結部73は、図3に示すように、最下方の第2廃トナー貯留部71に連通するように、最下方の第2廃トナー貯留部71の前方斜め下方に配置され、各第2廃トナー貯留部71よりもやや小径な円筒形状に形成されている。
また、連結部73は、軸線を共有するように、第1スクリュー27(後述)の左端部を回転自在に支持している。
なお、連結部73内に配置される第1スクリュー27(後述)の軸の左端部に、羽根75が一体的に設けられている。
(2−2)リフトの駆動伝達機構
リフト53は、図5に示すように、各第2廃トナー貯留部71に対応する7つの駆動伝達部材の一例としての羽根ギヤ76を備えている。
各羽根ギヤ76は、対応する第2廃トナー貯留部71の左側において、左側側板52Lとリフト53との間に配置され、羽根軸74または第1スクリュー27の左端部に相対回転不能に設けられている(図9参照)。
また、各羽根ギヤ76は、最下方の第1羽根ギヤ76a、第1羽根ギヤ76aの前方斜め上方に隣接配置される第2羽根ギヤ76b、第2羽根ギヤ76bの後方斜め上方に隣接配置される第3羽根ギヤ76c、第3羽根ギヤ76cの前方斜め上方に隣接配置される第4羽根ギヤ76d、第4羽根ギヤ76dの後方斜め上方に隣接配置される第5羽根ギヤ76e、第5羽根ギヤ76eの前方斜め上方に隣接配置される第6羽根ギヤ76f、および、第6羽根ギヤ76fの後方斜め上方に隣接配置される第7羽根ギヤ76gであって、第2羽根ギヤ76bは、他の羽根ギヤ76の2倍以上の左右方向長さに形成されている。
そして、第2羽根ギヤ76bの左端部には、第1スクリューギヤ66(後述)が噛合されている。第2羽根ギヤ76bは、その右端部において、第1羽根ギヤ76aおよび第3羽根ギヤ76cに噛合している。第3羽根ギヤ76cは、第4羽根ギヤ76dに噛合している。第4羽根ギヤ76dは、第5羽根ギヤ76gに噛合している。第5羽根ギヤ76gは、第6羽根ギヤ76fに噛合している。第6羽根ギヤ76fは、第7羽根ギヤ76gに噛合している。
(3)ベルトクリーナおよび用紙ガイド
図6は、図2に示すプロセスフレームの左側断面図であって、左右方向略中央の断面図である。
また、プロセスユニット11は、搬送ベルト30の表面に残存する廃トナーを除去するためのクリーニング部材の一例としてのベルトクリーナ16、および、用紙ガイド41を備えている。
ベルトクリーナ16は、図1および図6に示すように、左右1対のクリーナ側板23(図9参照)、ベルトクリーニングローラ24、中継ローラ25、第1廃トナー貯留部26、および、第1搬送部材の一例としての第1スクリュー27を備えている。
クリーナ側板23は、左右方向に間隔を隔てて対向配置されている。また、左側のクリーナ側板23の前側下端部は、第1廃トナー貯留部26の左端部を左方に向かって開放するように切欠かれている。そして、左側のクリーナ側板23は、その前側下端部において、第1廃トナー貯留部26と、リフト53の連結部73とを左右方向に連通させるように、連結部73に一体的に連結されている。
ベルトクリーニングローラ24は、従動ローラ29の前方斜め上方において、左右方向に沿って設けられ、従動ローラ29に対して対向配置されている。また、ベルトクリーニングローラ24は、下端部が下方から露出するように、両クリーナ側板23間に回転自在に支持されている。ベルトクリーニングローラ24は、その後側下端縁において、従動ローラ29の周りに巻回されている搬送ベルト30に接触する。
中継ローラ25は、ベルトクリーニングローラ24の前方斜め上方において、ベルトクリーニングローラ24と接触するように、左右方向に沿って配置されている。また、中継ローラ25は、両クリーナ側板23間に回転自在に支持されている。
第1廃トナー貯留部26は、両クリーナ側板23間において左右方向に沿って設けられており、上方に開口を有する略円筒形状の仕切り壁により、第1スクリュー27が配置される空間として区画されている。
また、第1廃トナー貯留部26の前側上端縁には、左右方向に沿って延びる板状のゴムで構成されたスクレーパ48が設けられている。
スクレーパ48は、第1廃トナー貯留部26の前側上端縁から後方に向かって延びるように設けられている。また、スクレーパ48は、第1廃トナー貯留部26の開口の前半部分を上方から被覆している。また、スクレーパ48の後端部は、中継ローラ25の下端縁に下方から当接している。
第1スクリュー27は、右ねじ状に形成され、第1廃トナー貯留部26内において、左右方向に沿って配置されている。
また、第1スクリュー27の左端部には、図9に示すように、第1スクリューギヤ66が相対回転不能に設けられている。
第1スクリューギヤ66は、連結部73の左端部と、左側側板52Lとの間において、第2羽根ギヤ76bの左端部に噛合するように配置されている。
また、ベルトクリーナ16には、その右端部において、ギヤカバー65と、ギヤ列64と、スクリュー軸受62とが設けられ、その左端部は、リフト53の連結部73に一体的に接続されている。
ギヤカバー65は、右側のクリーナ側板23の左右方向外側に固定されている。
ギヤ列64は、ギヤカバー65の内部に配置され、複数のギヤから形成されている。具体的には、ギヤ列64は、第1スクリュー27の右端部に設けられるギヤ(図示せず)、中継ローラ25の右端部に設けられる中継ローラギヤ68、および、ベルトクリーニングローラ24の右端部に設けられるクリーニングローラギヤ69と、それらのギヤを連結するギヤからなる。ギヤ列64は、第1スクリュー27から、中継ローラ25およびベルトクリーニングローラ24へ駆動力を伝達する。
スクリュー軸受62は、ギヤカバー65の右端面から連続して右方に突出する円筒形状に形成され、第1スクリュー27の右端部を回転自在に支持している。
用紙ガイド41は、図6および図9に示すように、プロセスフレーム14の前端部の下側において、ベルトクリーナ16の上側に配置され、上下方向に投影したときに、ベルトクリーナ16と重なるように、ベルトクリーナ16と一体的に設けられている。
また、用紙ガイド41は、ガイド部の一例としての下側ガイド47とガイド部の一例としての上側ガイド46とを備えている。
下側ガイド47は、クリーナ側板23の上端部間に架設されており、下側が開放された側面視略V字形状に湾曲形成されている。
詳しくは、下側ガイド47の前端部は、第1廃トナー貯留部26の前端部の上端縁に連続するように、両レジストローラ45の対向部分の後方に配置されている。また、下側ガイド47は、前端部から上方斜め後方に向かって延び、ベルトクリーニングローラ24、中継ローラ25および第1廃トナー貯留部26を上側から被覆するように、中継ローラ25の上方において下方に向かって湾曲している。また、下側ガイド47の後端部は、ベルトクリーニングローラ24の後方に配置され、搬送ベルト30の前端部と上下方向に対向配置されている。
上側ガイド46は、下側ガイド47の上方において、下側ガイド47を上方から被覆するように、間隔を隔てて配置され、下側が開放された側面視略V字形状に湾曲形成されている。また、上側ガイド46は、クリーナ側板23の上端部間に架設されている。
詳しくは、上側ガイド46は、前後方向ほぼすべてにわたって、下側ガイド47と等間隔を隔てて対向するように、下側ガイド47の湾曲形状に沿って湾曲されている。また、上側ガイド46の前端部は、上側のレジストローラ45の後方、かつ、下側のレジストローラ45の上方に配置され、上側ガイド46の後端部よりも広い間隔を隔てて、下側ガイド47の前端部と対向している。また、上側ガイド46の後端部は、前後方向において、下側ガイド47の後端部とブラック感光ドラム17Kとの間に配置され、搬送ベルト30の前端部と上下方向に対向配置されている。
(4)現像カートリッジ
図7は、図2に示すブラック現像カートリッジを示し、(a)は、左側面図であり、(b)は、右側面図であり、(c)は、図7(a)に示すブラック現像カートリッジの正面から見たC−C断面図である。図8は、図2に示すカラーの現像カートリッジを示し、(a)は、左側面図であり、(b)は、右側面図であり、(c)は、正面図である。
ブラック現像カートリッジ15Kは、図1および図7(c)に示すように、左右方向に延びるボックス形状に形成されており、現像筐体91と、廃現像剤収容部の一例としての廃トナー収容部92とを備えている。
現像筐体91は、左右方向に延びるボックス形状に形成され、その下側部分において、現像ローラ20、供給ローラ21および層厚規制ブレード22を支持している。また、現像筐体91の上側部分には、トナーが収容されており、トナーを撹拌するアジテータ49が設けられている。
また、現像筐体91は、図7(a)および図7(b)に示すように、現像把持部96、左右1対の付勢部材97、現像ガイドリブ106、および、現像カップリング部61を備えている。
現像把持部96は、現像筐体91の上端面に設けられ、ブラック現像カートリッジ15Kをプロセスフレーム14に対して着脱するときに、ユーザが把持する。
付勢部材97は、現像筐体91の上端面において、現像把持部96を挟むように左右方向に間隔を隔てて配置されている(図7(c))。また、付勢部材97は、略円盤形状の当接部材98、および、当接部材98と現像筐体91の上端面との間に配置される圧縮ばね99を備えている。圧縮ばね99は、その上端部が当接部材98に連結され、その下端部が現像筐体91の上端面に連結されている。これにより、当接部材98は、常には、上方に向かって付勢されている。
現像ガイドリブ106は、現像筐体91の左右両側面から、左右方向外側に向かって突出する円筒形状に形成され、現像筐体91の左側面において、上下方向に間隔を隔てて3つ(図7(a)参照)、現像筐体91の右側面において、上下方向に間隔を隔てて2つ(図7(b)参照)並列配置されている。各現像ガイドリブ106は、すべて同じ左右方向長さに形成されている
また、左側面の最上方の現像ガイドリブ106は、右側面の上側の現像ガイドリブ106と中心軸線を共有し、左側面の最下方の現像ガイドリブ106は、右側面の下側の現像ガイドリブ106と中心軸線を共有するように設けられている。また、左側面の上下方向略中央の現像ガイドリブ106は、現像カップリング部61と中心軸線を共有するように設けられている。
現像カップリング部61は、上下方向において各現像ガイドリブ106の間に配置され、現像筐体91の右端部から右方に突出するように形成されている。また、現像カップリング部61の左右方向長さは、現像ガイドリブ106の左右方向長さと同じ長さに形成されている。また、現像カップリング部61は、カップリングカバー63と、カップリングカバー63内に相対回転自在に設けられる現像カップリング部材67とを備えている。
カップリングカバー63は、現像筐体91の右端部から右方に突出する円筒形状に形成されている。
廃トナー収容部92は、図7(a)および図7(c)に示すように、現像筐体91の前方に一体的に設けられ、収容部側中継部93、コック94、第3搬送部材の一例としての第2スクリュー95を備えている。
収容部側中継部93は、廃トナー収容部92の上端部において、その左端部から連続して左方に突出する中空の円柱形状に形成されている。また、収容部側中継部93は、その右端部において、廃トナー収容部92と左右方向に連通されている。また、収容部側中継部93の左端部には、後端縁において、前後方向に貫通する収容部側連通口104(図10(a)参照)が形成されている。
コック94は、図7(a)に示すように、収容部側中継部93の左端部に揺動自在に設けられ、シャッタ部100(第2シャッタ部材)、取っ手部101、操作部側連通口103を備えている。
シャッタ部100は、コック94の前側部分であり、右側が開放された断面視略コ字形状の中空円柱形状に形成され、収容部側中継部93の左端部に回転自在に外嵌されている。また、シャッタ部100には、その径方向において、取っ手部101の反対側に、嵌合突起107(図10(a)参照)が形成されている。
嵌合突起107は、左右方向に沿って延びる突条であり、シャッタ部100の外周面から径方向外側に向かって突出するように形成されている。
取っ手部101は、シャッタ部100の上端縁から連続して後方に向かって延びる平面視略矩形状の平板形状に形成され、側面視において、後端部が後方に向かうにつれ下方に屈曲している。
操作部側連通口103は、シャッタ部100において、取っ手部101の下方に、前後方向に沿って貫通形成されている(図10(a)参照)。
コック94は、シャッタ部100が収容部側中継部93とリフト53との間を連通させる開位置(図10(b)参照)に位置される傾倒位置と、シャッタ部100が収容部側中継部93とリフト53との間を遮蔽する閉位置(図10(a)参照)に位置される起立位置との間を移動する。
第2スクリュー95は、図7(c)に示すように、右ねじ状に形成され、廃トナー収容部92内の上側において、収容部側中継部93と軸線を共有するように、左右方向に沿って配置されており、その右端部は、廃トナー収容部92の右端部に回転自在に支持され、その左端部は、収容部側中継部93の左端部に回転自在に支持されている。
また、第2スクリュー95の右端部には、廃トナー収容部92の右側において、第2スクリューギヤ105が相対回転不能に設けられている。そして、第2スクリューギヤ105には、本体ケーシング2から現像カップリング部61に駆動力が入力されると、その駆動力が図示しないギヤ列を介して伝達される。これにより、第2スクリューギヤ105は、左側面視反時計回りに回転する。
ブラック現像カートリッジ15K以外の現像カートリッジ15(以下、カラーの現像カートリッジ15とする。)は、図1および図8に示すように、廃トナー収容部92が備えられておらず、最上方に設けられている現像ガイドリブ106が、ブラック現像カートリッジ15Kの現像ガイドリブ106よりも長く形成されている以外はブラック現像カートリッジ15Kと同様に形成されている。
詳しくは、カラーの現像カートリッジ15の最上方の現像ガイドリブ106は、カラーの現像カートリッジ15がプロセスフレーム14に装着されたときに(図11参照)、プロセスフレーム14の現像支持溝59に上方から嵌合され、プロセスフレーム14の左右方向両端部よりも左右方向外側に突出するような長さに形成されている。
(5)現像カートリッジのプロセスフレームへの装着
図10は、図2に示すコックの操作を説明するための説明図であって、(a)は、シャッタ部が閉位置に位置される起立状態を示し、(b)は、シャッタ部が開位置に位置される傾倒状態を示す。図11は、図2に示すプロセスユニットの正面から見たB−B断面図である。
ブラック現像カートリッジ15Kをプロセスフレーム14に装着する前には、ブラック現像カートリッジ15Kのコック94は起立位置に配置され、リフト53のシャッタ102は、閉位置に配置されている。
ブラック現像カートリッジ15Kをプロセスフレーム14に装着するには、ブラック現像カートリッジ15Kの現像把持部96を把持して、すべての現像ガイドリブ106が現像ガイド溝57に嵌合するように、かつ、コック94のシャッタ部100がリフト側中継部85に嵌合するように、位置を合わせて、上方からブラック現像カートリッジ15Kをプロセスフレーム14へ挿入する。
すると、現像ローラ20が上方から感光ドラム17に当接して、ブラック現像カートリッジ15Kのプロセスフレーム14への装着が完了される。
このとき、廃トナー収容部92は、用紙ガイド41の上側に配置される。
すなわち、廃トナー収容部92は、プロセスフレーム14に備えられ、用紙ガイド41に対して、ベルトクリーナ16の反対側に配置される。
また、カラーの現像カートリッジ15をプロセスフレーム14に装着するには、現像ローラ20が後方に向かって露出するように、各現像カートリッジ15の現像把持部96を把持して、すべての現像ガイドリブ106が現像ガイド溝57に嵌合するように、位置を合わせて、上方から各現像カートリッジ15をプロセスフレーム14へ挿入する。
すると、図11に示すように、現像ローラ20が上方から感光ドラム17に当接して、カラーの現像カートリッジ15のプロセスフレーム14への装着が完了される。
このとき、図10(a)に示すように、ブラック現像カートリッジ15Kのコック94のシャッタ部100は、リフト側中継部85に嵌合され、収容部側中継部93とリフト側中継部85との間に介在される。
また、コック94の嵌合突起107は、シャッタ102の嵌合穴89に上方から嵌合される。これにより、コック94とシャッタ102とが連動可能になる。
そして、図10(b)に示すように、コック94を、起立位置から傾倒位置に移動させると、コック94のシャッタ部100が閉位置から左側面視反時計周りに回転し、操作部側連通口103が下方にスライドして、操作部側連通口103と収容部側連通口104とが前後方向に連通される。同時に、コック94に連動して、シャッタ102が閉位置から左側面視反時計周りに回転し、リフト側連通口86の下側に配置される。
これにより、リフト側連通口86、操作部側連通口103および収容部側連通口104は、前後方向に投影したときに、互いに重なる。すなわち、シャッタ102は、収容部側中継部93とリフト側中継部85との間を、操作部側連通口103を介して連通させる開位置に配置される。
また、ブラック現像カートリッジ15Kをプロセスフレーム14から取り外すときには、図10(a)に示すように、まず、取っ手部101を上方に引き上げ、コック94を起立位置に配置する。
すると、コック94のシャッタ部100が開位置から左側面視時計周りに回転し、操作部側連通口103が上方にスライドして、シャッタ部100の内面と収容部側連通口104とが前後方向に対向する。同時に、コック94に連動して、シャッタ102が開位置から左側面視時計周りに回転し、リフト側連通口86と前後方向に対向する。
これにより、シャッタ102は、収容部側中継部93とリフト側中継部85との間を遮蔽する閉位置に配置される。
次いで、コック94を起立位置に位置させたまま、ブラック現像カートリッジ15Kを上方に向かって引き抜いて、ブラック現像カートリッジ15Kをプロセスフレーム14から取り外す。
すると、コック94の嵌合突起107とシャッタ102の嵌合穴89との嵌合が解除され、シャッタ102が閉位置に配置された状態で、ブラック現像カートリッジ15Kのプロセスフレーム14からの取り外しが完了する。
なお、カラーの現像カートリッジ15をプロセスフレーム14から取り外すには、各現像カートリッジ15を上方に向かって引き抜く。
3.本体ケーシングの詳細
(1)本体ケーシングの構成
図12は、プロセスユニットの本体ケーシングへの装着を説明するための説明図であって、プロセスユニットが本体ケーシングに装着される前の状態を示す。
本体ケーシング2は、図12に示すように、左右1対の突条118と、左右1対のガイドレール119とを備えている。
両突条118は、スキャナユニット10の下方において、左右方向に間隔を隔てて対向配置され、前後方向に延びるように形成されている。また、両突条118は、プロセスユニット11が本体ケーシング2に装着されたときに、各現像カートリッジ15の付勢部材97に当接するように設けられている。
両ガイドレール119は、両突条118の下方において、本体ケーシング2内の上下方向略中央に配置され、前後方向に沿って、本体ケーシング2の前端部から転写ユニット12の後端部の上方まで延びている。
(2)プロセスユニットの本体ケーシングへの装着
プロセスユニット11を本体ケーシング2に装着するには、まず、図12に示すように、本体ケーシング2のフロントカバー6を開放し、プロセスユニット11の後端部を本体ケーシング2内に挿入する。
次いで、フレーム把持部58を把持して、プロセスユニット11を、後方に向かって押し込む。
すると、プロセスユニット11がガイドレール119に沿って前方から後方にスライドされ、図1に示すように、プロセスユニット11の本体ケーシング2への装着が完了する。
このとき、各感光ドラム17は、搬送ベルト30に上方から接触し、それぞれ、対応する転写ローラ31に対向している。また、各現像カートリッジ15の各付勢部材97は、本体ケーシング2の突条118に対して下方から当接している。そして、各現像カートリッジ15は、圧縮ばね99の付勢力により、感光ドラム17に向かって付勢されている。これにより、各現像ローラ20は、各感光ドラム17に対して、弾性的に接触されている。
また、カラーの現像カートリッジ15の最上方の現像ガイドリブ106は、直動カム機構110の対応する各凹部113に、上方から嵌合されている(6参照)。
(3)ベルトクリーナおよびリフトへの駆動伝達
そして、本体ケーシング2の図示しない駆動源から第1スクリューギヤ66に、左側面視時計回り(正回転、以下同じ)の駆動力が入力されると、図5に示すように、第1スクリューギヤ66は正回転する。
第1スクリューギヤ66に入力された駆動力は、第2羽根ギヤ76bに伝達される。すると、第2羽根ギヤ76bは、左側面視反時計回り(逆回転、以下同じ)する。
次いで、第2羽根ギヤ76bから、第1羽根ギヤ76aおよび第3羽根ギヤ76cへ駆動力が伝達される。すると、第1羽根ギヤ76aおよび第3羽根ギヤ76cは正回転する。
次いで、第3羽根ギヤ76cから、第4羽根ギヤ76d、第5羽根ギヤ76eおよび第6羽根ギヤ76fを介して、第7羽根ギヤ76gへ駆動力が伝達される。すると、第4羽根ギヤ76dは逆回転し、第5羽根ギヤ76eは正回転し、第6羽根ギヤ76fは逆回転し、第7羽根ギヤ76gは正回転する。
これにより、各羽根部材72は、後側の4つの羽根部材72が正回転し、前側の3つの羽根部材72が逆回転する。
また、第1スクリューギヤ66に入力された駆動力は、第1スクリュー27を介して、第1スクリュー27の右端部に設けられるギヤ列64に伝達される。すると、ギヤ列64を介して、中継ローラギヤ68およびクリーニングローラギヤ69へ駆動力が伝達される。
これにより、中継ローラ25およびクリーニングローラ24が回転する。
4.プロセスユニットの動作
(1)廃トナー回収動作
カラーレーザプリンタ1は、画像形成する前に、ドラムクリーニングローラ19に捕獲されている廃トナーを回収する。
廃トナーを回収するには、まず、ブラック現像カートリッジ15K以外の現像カートリッジ15を、対応する感光ドラム17から離間させる。
ブラック現像カートリッジ15K以外の現像カートリッジ15を、感光ドラム17から離間させるには、本体ケーシング2内の図示しない駆動源からの駆動力により、直動カム駆動ギヤ112を左側面視時計回りに回転させ、直動カム111を前方に移動させる。
すると、ブラック現像カートリッジ15K以外の現像カートリッジ15の最上方の現像ガイドリブ106が、直動カム111の各凹部113の後端部の傾斜に沿って上方に押し上げられ、ブラック現像カートリッジ15K以外の現像カートリッジ15が、付勢部材97の付勢力に抗して上方に持ち上げられる。
これにより、ブラック現像カートリッジ15K以外の現像カートリッジ15が、対応する感光ドラム17から離間される。
次いで、ドラムクリーニングローラ19に、クリーニングバイアスとは逆方向となるバイアスを印加する。すると、ドラムクリーニングローラ19に一時保持されている廃トナーは、ドラムクリーニングローラ19から感光ドラム17を介して、搬送ベルト30に放出される。
そして、搬送ベルト30に放出された廃トナーは、搬送ベルト30の周回移動により、転写ユニット12の下方を通って、ベルトクリーニングローラ24と対向する。
すると、ベルトクリーニングローラ24に印加されるクリーニングバイアスによって、ドラムクリーニングローラ19から搬送ベルト30に放出されたトナーがベルトクリーニングローラ24に捕獲され、ベルトクリーニングローラ24から中継ローラ25に受け渡された後、スクレーパ48に掻き取られて第1廃トナー貯留部26内に貯留される。
第1廃トナー貯留部26へ貯留された廃トナーは、図9に示すように、第1スクリュー27の回転(左側面視時計周り)により、左方に向かって搬送され、リフト53の最下方の第2廃トナー貯留部71へ供給される。
最下方の第2廃トナー貯留部71へ供給された廃トナーは、各第2廃トナー貯留部71に貯留された後、各羽根部材72の回転により、上方に向かって、ジグザグ状に搬送され、リフト側連通口86から、操作部側連通口103および収容部側連通口104を介して、廃トナー収容部92の収容部側中継部93へ供給される。
収容部側中継部93へ供給された廃トナーは、第2スクリュー95の回転(左側面視反時計回り)により、右方に向かって搬送され、廃トナー収容部92へ収容される。このように、廃トナーの回収が完了する。
(2)画像形成動作
カラーレーザプリンタ1は、黒色の画像を形成するときには、ブラック現像カートリッジ15Kとブラック感光ドラム17Kとを接触させ、ブラック以外の現像カートリッジ15と感光体ドラム17とを離間させる。これにより、カラーレーザプリンタ1は、モノクロモードになり、黒色の画像を形成することができる。
また、カラー画像を形成するときには、ブラック現像カートリッジ15K以外の現像カートリッジ15を、感光ドラム17に接触させる。
カラーの現像カートリッジ15を、感光ドラム17から接触させるには、直動カム駆動ギヤ112を左側面視反時計回りに回転させ、直動カム111を後方に移動させる。
すると、ブラック現像カートリッジ15K以外の現像カートリッジ15の最上方の現像ガイドリブ106が、直動カム111の各凹部113の後端部の傾斜に沿うように、対応する各凹部113に嵌合され、カラーの現像カートリッジ15が、付勢部材97の付勢力によって、対応する各感光ドラム17に接触される。
これにより、カラーレーザプリンタ1は、カラー画像を形成するカラーモードになる。
カラーモードにおいては、すべての現像カートリッジ15とすべての感光ドラム17とが接触しているので、カラーレーザプリンタ1は、カラー画像を形成することができる。
そして、モノクロモードまたはカラーモードのいずれのモードにおいても、給紙トレイ7内の最上位にある用紙Pが、上記したように、給紙ローラ8の回転によって分離ローラ42と分離パッド43との対向部分へ供給され、それらによって1枚ごとに捌かれた後、補助ローラ44および給紙パス9にガイドされながら、両レジストローラ45の対向部分へ供給される。
そして、用紙Pは、両レジストローラ45間を通過した後、両レジストローラ45の回転により、上側ガイド46の前端部と、下側ガイド47の前端部との間に向かって搬送される。
その後、用紙Pは、上側ガイド46および下側ガイド47の湾曲形状に沿って、ベルトクリーニングローラ24、中継ローラ25および第1廃トナー貯留部26の上方を通過するように、前方から後方に向かって搬送される。
そして、用紙Pは、上側ガイド46の後端部と、下側ガイド47の後端部との間から、ブラック感光ドラム17Kの前方の搬送ベルト30に、上方から接触される。
搬送ベルト30上に接触された用紙Pは、搬送ベルト30の周回移動により、後方に向かって搬送され、ブラック感光ドラム17Kと搬送ベルト30との間に導入される。
その後、上記したように用紙Pに画像が形成される。
5.作用効果
(1)このカラーレーザプリンタ1およびプロセスユニット11によれば、図1に示すように、4つの感光ドラム17と搬送ベルト30とが上下方向に対向配置されており、各感光ドラム17を保持するプロセスフレーム14が、搬送ベルト30に残存したトナーを除去するベルトクリーナ16を備えている。
そのため、各感光ドラム17と同じ側から、容易に、ベルトクリーナ16をメンテナンスすることができる。
また、用紙ガイド41は、ベルトクリーナ16よりも上側において、上下方向に投影したときにベルトクリーナ16と重なるように配置されている。
そのため、用紙ガイド41は、ベルトクリーナ16の上側を通過するように、用紙Pを搬送ベルト30に案内することができる。
これにより、ベルトクリーナ16と搬送ベルト30との間を用紙Pが通過するようにしなくても、ベルトクリーナ16の上側を通過させて、用紙Pを搬送ベルト30に案内することができる。
その結果、用紙Pがベルトクリーナ16との接触により汚れることを防止することができる。
(2)また、このカラーレーザプリンタ1およびプロセスユニット11によれば、図1に示すように、廃トナー収容部92は、用紙ガイド41の上側において、プロセスフレーム14に保持されている。
そのため、用紙ガイド41の上側の空間を利用して、廃トナー収容部92を設けることができる。
また、ベルトクリーナ16と廃トナー収容部92とが別々に設けられているので、ベルトクリーナ16と廃トナー収容部92とが一体的に設けられる場合よりも、ベルトクリーナ16を小さく形成することができる。
そのため、用紙ガイド41を、ベルトクリーナ16と廃トナー収容部92との間の空間を利用して、容易に設けることができる。
(3)また、このカラーレーザプリンタ1およびプロセスユニット11によれば、図1に示すように、廃トナー収容部92は、ブラック現像カートリッジ15Kに一体的に設けられている。
そのため、ブラック現像カートリッジ15Kを交換すると同時に、廃トナー収容部92を交換することができ、ベルトクリーナ16をより容易にメンテナンスすることができる。
(4)また、このカラーレーザプリンタ1およびプロセスユニット11によれば、図9に示すように、第1スクリュー27によって、ベルトクリーナ16によって回収された廃トナーを、左側に搬送し、リフト53によって、第1スクリュー27により搬送された廃トナーを、廃トナー収容部92に搬送することができる。
そのため、用紙ガイド41を避けるように、廃トナーを、一旦、左側に搬送してから、廃トナー収容部92に搬送することができる。
(5)また、このカラーレーザプリンタ1およびプロセスユニット11によれば、図9に示すように、プロセスフレーム14は、各感光ドラム17の左右方向両端部を回転自在に支持する1対の側板52を備え、リフト53は、両側板52間において、左側の側板52に設けられている。
すなわち、リフト53は、側板52の左右方向内側に設けられている。
そのため、プロセスフレーム14のカラーレーザプリンタ1からの着脱時に、リフト53がカラーレーザプリンタ1の他の部材と干渉することを防止することができる。
その結果、プロセスフレーム14をカラーレーザプリンタ1に対して容易に着脱させることができる。
(6)また、このカラーレーザプリンタ1およびプロセスユニット11によれば、図9に示すように、左側側板52Lとリフト53との間に配置され、リフト53に駆動力を伝達する羽根ギヤ76を備えている。
そのため、リフト53を側板52の左右方向内側に設けた場合においても、確実に、リフト53に駆動力を伝達することができる。
また、現像カートリッジ50を着脱するときに、現像カートリッジ50が羽根ギヤ76に干渉することを、防止することができる。
そのため、羽根ギヤ76が現像カートリッジ50との干渉により損傷することを、防止することができる。
また、現像カートリッジ50を着脱するときに、羽根ギヤ76に現像カートリッジ50のトナーが付着することを防止することができ、リフト53の動作不良を防止することができる。
(7)また、このカラーレーザプリンタ1およびプロセスユニット11によれば、図9に示すように、廃トナー収容部92に搬送されたトナーを、右側に搬送する第2スクリュー95を備えている。
そのため、廃トナー収容部92において、搬送されたトナーを、左右方向に沿って均一に、収容することができる。
1 カラーレーザプリンタ
11 プロセスユニット
14 プロセスカートリッジ
15 現像カートリッジ
16 ベルトクリーナ
17 感光ドラム
27 第1スクリュー
30 搬送ベルト
46 上側ガイド
47 下側ガイド
52 側板
53 リフト
76 羽根ギヤ
92 廃トナー収容部
95 第2スクリュー
P 用紙

Claims (16)

  1. 装置本体と、
    互いに間隔を隔てて並列配置される複数の像担持体と、
    各前記像担持体に対応して設けられ、前記現像剤を収容する現像剤収容ユニットと、
    各前記像担持体を保持し、装置本体に対して、各前記像担持体の並列方向に沿ってスライド自在に設けられる保持部材と、
    前記保持部材が前記装置本体内に装着されている状態で前記像担持体と対向され、前記装置本体内から引き出されている状態で前記像担持体と離間されるように前記装置本体内に設けられ、画像が形成される記録媒体を、各前記像担持体と接触するように搬送する搬送ベルトと
    を備え、
    前記保持部材は、
    前記搬送ベルトに対して、前記像担持体と前記搬送ベルトとの対向方向における前記像担持体側に配置され、前記搬送ベルトに残存した現像剤を除去するクリーニング部材と、
    前記クリーニング部材によって回収された前記現像剤を収容する廃現像剤収容部と、
    前記記録媒体を前記搬送ベルトに案内するガイド部とを備え、
    前記ガイド部は、前記クリーニング部材よりも前記像担持体と前記搬送ベルトとの対向方向における前記像担持体側において、前記像担持体と前記搬送ベルトとの対向方向に投影したときに前記クリーニング部材と重なるように配置されており、
    前記廃現像剤収容部は、前記ガイド部に対して、前記クリーニング部材の反対側に配置され、前記記録媒体の搬送方向最上流側の前記現像剤収容ユニットに一体的に設けられていることを特徴とする、画像形成装置。
  2. 前記クリーニング部材に設けられ、前記クリーニング部材によって回収された前記現像剤を、前記像担持体の長手方向一方側に搬送する第1搬送部材と、
    前記クリーニング部材と前記廃現像剤収容部とに接続されるように前記保持部材に設けられ、前記第1搬送部材により搬送された前記現像剤を、前記廃現像剤収容部に搬送する第2搬送部材とを備えていることを特徴とする、請求項1に記載の画像形成装置。
  3. 前記保持部材は、各前記像担持体の長手方向両端部を回転自在に支持するように、前記長手方向において間隔を隔てて対向配置される1対の側板を備え、
    前記第2搬送部材は、両前記側板間において、前記長手方向一方側の前記側板に位置固定されていることを特徴とする、請求項2に記載の画像形成装置。
  4. 前記第2搬送部材は、前記長手方向一方側の前記側板に位置固定されていることを特徴とする、請求項3に記載の画像形成装置。
  5. 前記現像剤収容ユニットは、前記保持部材に対して着脱自在に設けられ、
    前記廃現像剤収容部には、前記第2搬送部材からの前記現像剤を受け入れる収容部側連通口が形成されており、
    前記第2搬送部材には、前記現像剤収容ユニットが前記保持部材に装着されている状態で前記収容部側連通口に対向される第2搬送部材側連通口が形成されており、
    前記第2搬送部材は、前記収容部側連通口と前記第2搬送部材側連通口との間に介在される閉位置と、前記収容部側連通口と前記第2搬送部材側連通口との間から退避される開位置とに移動可能な第1シャッタ部材を備えていることを特徴とする、請求項4に記載の画像形成装置。
  6. 前記廃現像剤収容部は、前記収容部側連通口を開閉する第2シャッタ部材を備え、
    前記第2シャッタ部材は、前記現像剤収容ユニットが前記保持部材に装着されている状態で、前記第1シャッタ部材に対して連動可能に嵌合され、
    前記第1シャッタ部材と前記第2シャッタ部材とは、前記第2シャッタ部材が前記収容部側連通口を開放したときに前記第1シャッタ部材が前記開位置に位置され、前記第2シャッタ部材が前記収容部側連通口を閉鎖したときに前記第1シャッタ部材が閉位置に位置されるように連動されることを特徴とする、請求項5に記載の画像形成装置。
  7. 前記長手方向一方側の前記側板と前記第2搬送部材との間に配置され、前記第2搬送部材に駆動力を伝達する駆動伝達部材を備えていることを特徴とする、請求項3ないし6のいずれか一項に記載の画像形成装置。
  8. 前記廃現像剤収容部内に設けられ、前記廃現像剤収容部に搬送された前記現像剤を、前記長手方向他方側に搬送する第3搬送部材を備えていることを特徴とする、請求項ないし7のいずれか一項に記載の画像形成装置。
  9. 画像が形成される記録媒体を搬送する搬送ベルトを備える画像形成装置の装置本体にスライド自在に設けられる像担持体ユニットであって、
    前記像担持体ユニットのスライド方向に沿って、互いに間隔を隔てて並列配置される複数の像担持体と、
    各前記像担持体に対応して設けられ、前記現像剤を収容する現像剤収容ユニットと、
    各前記像担持体を保持する保持部材とを備え、
    前記保持部材は、
    前記装置本体内に装着されている状態で、前記搬送ベルトに対して、前記像担持体と前記搬送ベルトとの対向方向における前記像担持体側に配置され、前記搬送ベルトに残存した現像剤を除去するクリーニング部材と、
    前記クリーニング部材によって回収された前記現像剤を収容する廃現像剤収容部と、
    前記クリーニング部材よりも、前記像担持体と前記搬送ベルトとの対向方向における前記像担持体側において、前記像担持体と前記搬送ベルトとの対向方向に投影したときに前記クリーニング部材と重なるように配置され、前記記録媒体を前記搬送ベルトに案内するガイド部とを備えており、
    前記廃現像剤収容部は、前記ガイド部に対して、前記クリーニング部材の反対側に配置され、前記記録媒体の搬送方向最上流側の前記現像剤収容ユニットに一体的に設けられていることを特徴とする、像担持体ユニット。
  10. 前記クリーニング部材に設けられ、前記クリーニング部材によって回収された前記現像剤を、前記像担持体の長手方向一方側に搬送する第1搬送部材と、
    前記クリーニング部材と前記廃現像剤収容部とに接続されるように前記保持部材に設けられ、前記第1搬送部材により搬送された前記現像剤を、前記廃現像剤収容部に搬送する第2搬送部材とを備えていることを特徴とする、請求項9に記載の像担持体ユニット。
  11. 前記保持部材は、各前記像担持体の長手方向両端部を回転自在に支持するように、前記長手方向において間隔を隔てて対向配置される1対の側板を備え、
    前記第2搬送部材は、両前記側板間において、前記長手方向一方側の前記側板に設けられていることを特徴とする、請求項10に記載の像担持体ユニット。
  12. 前記第2搬送部材は、前記長手方向一方側の前記側板に位置固定されていることを特徴とする、請求項11に記載の像担持体ユニット。
  13. 前記現像剤収容ユニットは、前記保持部材に対して着脱自在に設けられ、
    前記廃現像剤収容部には、前記第2搬送部材からの前記現像剤を受け入れる収容部側連通口が形成されており、
    前記第2搬送部材には、前記現像剤収容ユニットが前記保持部材に装着されている状態で前記収容部側連通口に対向される第2搬送部材側連通口が形成されており、
    前記第2搬送部材は、前記収容部側連通口と前記第2搬送部材側連通口との間に介在される閉位置と、前記収容部側連通口と前記第2搬送部材側連通口との間から退避される開位置とに移動可能な第1シャッタ部材を備えていることを特徴とする、請求項12に記載の像担持体ユニット。
  14. 前記廃現像剤収容部は、前記収容部側連通口を開閉する第2シャッタ部材を備え、
    前記第2シャッタ部材は、前記現像剤収容ユニットが前記保持部材に装着されている状態で、前記第1シャッタ部材に対して連動可能に嵌合され、
    前記第1シャッタ部材と前記第2シャッタ部材とは、前記第2シャッタ部材が前記収容部側連通口を開放したときに前記第1シャッタ部材が前記開位置に位置され、前記第2シャッタ部材が前記収容部側連通口を閉鎖したときに前記第1シャッタ部材が閉位置に位置されるように連動されることを特徴とする、請求項13に記載の像担持体ユニット。
  15. 前記長手方向一方側の前記側板と前記第2搬送部材との間に配置され、前記第2搬送部材に駆動力を伝達する駆動伝達部材を備えていることを特徴とする、請求項11ないし14のいずれか一項に記載の像担持体ユニット。
  16. 前記廃現像剤収容部内に設けられ、前記廃現像剤収容部に搬送された前記現像剤を、前記長手方向他方側に搬送する第3搬送部材を備えていることを特徴とする、請求項10ないし15のいずれか一項に記載の像担持体ユニット。
JP2009109905A 2009-04-28 2009-04-28 画像形成装置および像担持体ユニット Active JP4831204B2 (ja)

Priority Applications (5)

Application Number Priority Date Filing Date Title
JP2009109905A JP4831204B2 (ja) 2009-04-28 2009-04-28 画像形成装置および像担持体ユニット
US12/732,235 US8488991B2 (en) 2009-04-28 2010-03-26 Image forming device including retaining member that retains image bearing members and has cleaning member and guide unit where conveying belt is located in position defined by image bearing members, cleaning and guide unit
CN201010155403.5A CN101876807B (zh) 2009-04-28 2010-03-30 图像形成装置和图像承载构件单元
US13/941,070 US8913918B2 (en) 2009-04-28 2013-07-12 Image forming device and image bearing member unit
US14/569,935 US9720342B2 (en) 2009-04-28 2014-12-15 Developing agent container including supply chamber and waste chamber

Applications Claiming Priority (1)

Application Number Priority Date Filing Date Title
JP2009109905A JP4831204B2 (ja) 2009-04-28 2009-04-28 画像形成装置および像担持体ユニット

Publications (2)

Publication Number Publication Date
JP2010256827A JP2010256827A (ja) 2010-11-11
JP4831204B2 true JP4831204B2 (ja) 2011-12-07

Family

ID=42992249

Family Applications (1)

Application Number Title Priority Date Filing Date
JP2009109905A Active JP4831204B2 (ja) 2009-04-28 2009-04-28 画像形成装置および像担持体ユニット

Country Status (3)

Country Link
US (3) US8488991B2 (ja)
JP (1) JP4831204B2 (ja)
CN (1) CN101876807B (ja)

Families Citing this family (15)

* Cited by examiner, † Cited by third party
Publication number Priority date Publication date Assignee Title
US8634743B2 (en) * 2009-03-27 2014-01-21 Fuji Xerox Co., Ltd. Detachable body and image forming apparatus
JP4930565B2 (ja) 2009-09-30 2012-05-16 ブラザー工業株式会社 現像剤収容器および画像形成装置
JP5240307B2 (ja) 2011-02-21 2013-07-17 ブラザー工業株式会社 画像形成装置
US8805264B2 (en) 2011-02-21 2014-08-12 Brother Kogyo Kabushiki Kaisha Image-forming device and developer material unit having waste developer material accommodating part
JP5293757B2 (ja) 2011-02-21 2013-09-18 ブラザー工業株式会社 画像形成装置および現像剤ユニット
JP5776215B2 (ja) * 2011-02-21 2015-09-09 ブラザー工業株式会社 画像形成装置
US8737867B2 (en) 2011-03-31 2014-05-27 Brother Kogyo Kabushiki Kaisha Image forming apparatus and cartridge
JP5321633B2 (ja) * 2011-03-31 2013-10-23 ブラザー工業株式会社 画像形成装置
JP5821369B2 (ja) 2011-07-29 2015-11-24 ブラザー工業株式会社 画像形成装置
JP5942683B2 (ja) * 2012-08-06 2016-06-29 ブラザー工業株式会社 画像形成装置
JP6260129B2 (ja) * 2012-10-31 2018-01-17 ブラザー工業株式会社 画像形成装置
JP6089688B2 (ja) * 2012-12-26 2017-03-08 ブラザー工業株式会社 画像形成装置
JP6112057B2 (ja) 2014-03-31 2017-04-12 ブラザー工業株式会社 ドラムユニット
JP6394415B2 (ja) * 2015-01-26 2018-09-26 ブラザー工業株式会社 画像形成装置
US10871728B1 (en) * 2019-05-31 2020-12-22 Fuji Xerox Co., Ltd. Cleaning device having a roller scraping member and guide portion

Family Cites Families (46)

* Cited by examiner, † Cited by third party
Publication number Priority date Publication date Assignee Title
JPS58215678A (ja) * 1982-06-10 1983-12-15 Olympus Optical Co Ltd 画像形成装置
JPS59192271A (ja) * 1983-04-15 1984-10-31 Ricoh Co Ltd 複写装置
JP2827137B2 (ja) * 1989-12-05 1998-11-18 株式会社リコー クリーナ・トナー・マガジン及び電子写真式記録装置
JP2860918B2 (ja) * 1991-01-23 1999-02-24 株式会社リコー クリーナ・トナー・マガジン
JP3000493B2 (ja) * 1991-07-15 2000-01-17 株式会社リコー クリーナ・トナー・マガジン
JP2827142B2 (ja) * 1991-07-15 1998-11-18 株式会社リコー 感光体クリーニング装置およびクリーナ・トナー・マガジンならびに画像形成装置
JP2873522B2 (ja) * 1991-11-14 1999-03-24 株式会社リコー 画像形成装置
JPH05257340A (ja) 1992-03-11 1993-10-08 Konica Corp カラー画像形成装置
JP2875464B2 (ja) * 1993-11-11 1999-03-31 株式会社リコー 感光体クリーニング装置
JP3513975B2 (ja) 1995-04-15 2004-03-31 富士ゼロックス株式会社 画像形成装置
JP3390676B2 (ja) * 1998-10-19 2003-03-24 シャープ株式会社 現像装置および画像形成装置
JP3407797B2 (ja) * 1999-02-09 2003-05-19 富士通株式会社 トナー回収装置
GB2352055B (en) * 1999-07-12 2003-05-21 Gcc Man Ltd A service unit for an electrographic apparatus
JP2001272833A (ja) * 2000-03-23 2001-10-05 Canon Inc 画像形成装置
JP4086547B2 (ja) * 2002-05-28 2008-05-14 株式会社沖データ 現像剤カートリッジ及び画像形成装置
US6711366B2 (en) * 2002-07-15 2004-03-23 Hewlett-Packard Development Company, L.P. Residual toner management in an electrophotographic device
JP4297667B2 (ja) * 2002-08-27 2009-07-15 株式会社沖データ 現像剤貯蔵容器、印刷プロセスカートリッジ、及び画像形成装置
JP4109975B2 (ja) * 2002-12-09 2008-07-02 株式会社リコー 両面転写装置及び画像形成装置
JP2005156780A (ja) * 2003-11-25 2005-06-16 Canon Inc トナー回収機構
JP3944197B2 (ja) * 2004-07-01 2007-07-11 キヤノン株式会社 画像形成装置
US7778567B2 (en) 2004-09-29 2010-08-17 Brother Kogyo Kabushiki Kaisha Image forming apparatus and image forming unit
JP4161952B2 (ja) * 2004-09-29 2008-10-08 ブラザー工業株式会社 画像形成装置
JP4770158B2 (ja) * 2004-11-29 2011-09-14 ブラザー工業株式会社 画像形成装置
JP4689258B2 (ja) * 2004-12-15 2011-05-25 キヤノン株式会社 プロセスカートリッジ、及び電子写真画像形成装置
JP4569327B2 (ja) * 2005-03-09 2010-10-27 富士ゼロックス株式会社 カラー画像形成装置
JP4760264B2 (ja) 2005-09-28 2011-08-31 ブラザー工業株式会社 画像形成装置
JP4610468B2 (ja) * 2005-11-04 2011-01-12 株式会社リコー トナー回収装置、作像ユニット及び画像形成装置
JP4839067B2 (ja) * 2005-11-18 2011-12-14 株式会社リコー 画像形成装置
JP4611190B2 (ja) * 2005-12-20 2011-01-12 株式会社リコー トナー回収装置、プロセスカートリッジ、及び、画像形成装置
JP2007218936A (ja) * 2006-02-14 2007-08-30 Konica Minolta Business Technologies Inc プロセスカートリッジおよび画像形成装置
JP2008040222A (ja) * 2006-08-08 2008-02-21 Fuji Xerox Co Ltd 現像剤カートリッジ及び画像形成装置
JP4953752B2 (ja) * 2006-10-13 2012-06-13 株式会社リコー トナー搬送装置、プロセスカートリッジ及び画像形成装置
JP4380706B2 (ja) * 2007-01-04 2009-12-09 コニカミノルタビジネステクノロジーズ株式会社 画像形成装置
JP2008176163A (ja) * 2007-01-22 2008-07-31 Ricoh Co Ltd トナー回収装置、プロセスカートリッジ及び画像形成装置
JP4348645B2 (ja) * 2007-07-31 2009-10-21 ブラザー工業株式会社 画像形成装置
JP4625492B2 (ja) * 2007-10-30 2011-02-02 株式会社沖データ 画像形成ユニット及び画像形成装置
JP4548490B2 (ja) * 2008-01-31 2010-09-22 ブラザー工業株式会社 画像形成装置
JP2009237560A (ja) * 2008-03-03 2009-10-15 Ricoh Co Ltd 画像形成装置
JP2009276438A (ja) * 2008-05-13 2009-11-26 Brother Ind Ltd 画像形成装置
JP4780627B2 (ja) * 2008-06-27 2011-09-28 株式会社沖データ 現像装置及び画像形成装置
JP4655133B2 (ja) * 2008-09-25 2011-03-23 ブラザー工業株式会社 画像形成装置
US8315537B2 (en) 2008-09-25 2012-11-20 Brother Kogyo Kabushiki Kaisha Image-forming device having cleaning unit for removing developer
JP5005709B2 (ja) * 2009-01-13 2012-08-22 ブラザー工業株式会社 画像形成装置
JP4766123B2 (ja) * 2009-02-16 2011-09-07 ブラザー工業株式会社 画像形成装置
US8311443B2 (en) 2009-02-16 2012-11-13 Brother Kogyo Kabushiki Kaisha Image-forming device having cleaning unit opposing belt
JP4873022B2 (ja) * 2009-02-16 2012-02-08 ブラザー工業株式会社 画像形成装置

Also Published As

Publication number Publication date
US20100272467A1 (en) 2010-10-28
US9720342B2 (en) 2017-08-01
US8488991B2 (en) 2013-07-16
JP2010256827A (ja) 2010-11-11
CN101876807A (zh) 2010-11-03
US8913918B2 (en) 2014-12-16
US20150098729A1 (en) 2015-04-09
US20130302061A1 (en) 2013-11-14
CN101876807B (zh) 2012-12-19

Similar Documents

Publication Publication Date Title
JP4831204B2 (ja) 画像形成装置および像担持体ユニット
JP5045714B2 (ja) 画像形成装置
JP4766123B2 (ja) 画像形成装置
JP4930565B2 (ja) 現像剤収容器および画像形成装置
JP6111835B2 (ja) 画像形成装置
JP5471838B2 (ja) 画像形成装置
JP4655133B2 (ja) 画像形成装置
JP5949295B2 (ja) 画像形成装置
JP6007787B2 (ja) 画像形成装置
JP6311518B2 (ja) 画像形成装置
JP5321633B2 (ja) 画像形成装置
JP5505091B2 (ja) 画像形成装置
JP2007256351A (ja) 画像形成装置および現像カートリッジ
JP2007256352A (ja) 画像形成装置および現像カートリッジ
JP4873022B2 (ja) 画像形成装置
JP2011248136A (ja) 画像形成装置
JP5942683B2 (ja) 画像形成装置
JP2015194652A (ja) 画像形成装置およびドラムユニット
JP5196061B2 (ja) カートリッジ
JP2012194396A (ja) 画像形成装置
JP5510377B2 (ja) 画像形成装置およびカートリッジ
JP5853680B2 (ja) 画像形成装置
JP2010266753A (ja) 現像カートリッジ
JP5891994B2 (ja) 画像形成装置
JP2013054055A (ja) 画像形成装置

Legal Events

Date Code Title Description
A977 Report on retrieval

Free format text: JAPANESE INTERMEDIATE CODE: A971007

Effective date: 20110304

A131 Notification of reasons for refusal

Free format text: JAPANESE INTERMEDIATE CODE: A131

Effective date: 20110315

A521 Request for written amendment filed

Free format text: JAPANESE INTERMEDIATE CODE: A523

Effective date: 20110512

A131 Notification of reasons for refusal

Free format text: JAPANESE INTERMEDIATE CODE: A131

Effective date: 20110607

A521 Request for written amendment filed

Free format text: JAPANESE INTERMEDIATE CODE: A523

Effective date: 20110802

TRDD Decision of grant or rejection written
A01 Written decision to grant a patent or to grant a registration (utility model)

Free format text: JAPANESE INTERMEDIATE CODE: A01

Effective date: 20110823

A01 Written decision to grant a patent or to grant a registration (utility model)

Free format text: JAPANESE INTERMEDIATE CODE: A01

A61 First payment of annual fees (during grant procedure)

Free format text: JAPANESE INTERMEDIATE CODE: A61

Effective date: 20110905

R150 Certificate of patent or registration of utility model

Ref document number: 4831204

Country of ref document: JP

Free format text: JAPANESE INTERMEDIATE CODE: R150

Free format text: JAPANESE INTERMEDIATE CODE: R150

FPAY Renewal fee payment (event date is renewal date of database)

Free format text: PAYMENT UNTIL: 20140930

Year of fee payment: 3