JP4640802B2 - 回路付サスペンション基板 - Google Patents

回路付サスペンション基板 Download PDF

Info

Publication number
JP4640802B2
JP4640802B2 JP2005199035A JP2005199035A JP4640802B2 JP 4640802 B2 JP4640802 B2 JP 4640802B2 JP 2005199035 A JP2005199035 A JP 2005199035A JP 2005199035 A JP2005199035 A JP 2005199035A JP 4640802 B2 JP4640802 B2 JP 4640802B2
Authority
JP
Japan
Prior art keywords
metal
metal foil
opening
insulating layer
thin film
Prior art date
Legal status (The legal status is an assumption and is not a legal conclusion. Google has not performed a legal analysis and makes no representation as to the accuracy of the status listed.)
Expired - Fee Related
Application number
JP2005199035A
Other languages
English (en)
Other versions
JP2007019261A (ja
Inventor
淳 石井
泰人 大脇
靖人 船田
Current Assignee (The listed assignees may be inaccurate. Google has not performed a legal analysis and makes no representation or warranty as to the accuracy of the list.)
Nitto Denko Corp
Original Assignee
Nitto Denko Corp
Priority date (The priority date is an assumption and is not a legal conclusion. Google has not performed a legal analysis and makes no representation as to the accuracy of the date listed.)
Filing date
Publication date
Application filed by Nitto Denko Corp filed Critical Nitto Denko Corp
Priority to JP2005199035A priority Critical patent/JP4640802B2/ja
Priority to US11/477,935 priority patent/US8134080B2/en
Priority to CN200610101338A priority patent/CN100586251C/zh
Publication of JP2007019261A publication Critical patent/JP2007019261A/ja
Application granted granted Critical
Publication of JP4640802B2 publication Critical patent/JP4640802B2/ja
Anticipated expiration legal-status Critical
Expired - Fee Related legal-status Critical Current

Links

Images

Classifications

    • HELECTRICITY
    • H05ELECTRIC TECHNIQUES NOT OTHERWISE PROVIDED FOR
    • H05KPRINTED CIRCUITS; CASINGS OR CONSTRUCTIONAL DETAILS OF ELECTRIC APPARATUS; MANUFACTURE OF ASSEMBLAGES OF ELECTRICAL COMPONENTS
    • H05K3/00Apparatus or processes for manufacturing printed circuits
    • H05K3/38Improvement of the adhesion between the insulating substrate and the metal
    • HELECTRICITY
    • H05ELECTRIC TECHNIQUES NOT OTHERWISE PROVIDED FOR
    • H05KPRINTED CIRCUITS; CASINGS OR CONSTRUCTIONAL DETAILS OF ELECTRIC APPARATUS; MANUFACTURE OF ASSEMBLAGES OF ELECTRICAL COMPONENTS
    • H05K3/00Apparatus or processes for manufacturing printed circuits
    • H05K3/44Manufacturing insulated metal core circuits or other insulated electrically conductive core circuits
    • HELECTRICITY
    • H05ELECTRIC TECHNIQUES NOT OTHERWISE PROVIDED FOR
    • H05KPRINTED CIRCUITS; CASINGS OR CONSTRUCTIONAL DETAILS OF ELECTRIC APPARATUS; MANUFACTURE OF ASSEMBLAGES OF ELECTRICAL COMPONENTS
    • H05K1/00Printed circuits
    • H05K1/02Details
    • H05K1/03Use of materials for the substrate
    • H05K1/05Insulated conductive substrates, e.g. insulated metal substrate
    • H05K1/056Insulated conductive substrates, e.g. insulated metal substrate the metal substrate being covered by an organic insulating layer
    • HELECTRICITY
    • H05ELECTRIC TECHNIQUES NOT OTHERWISE PROVIDED FOR
    • H05KPRINTED CIRCUITS; CASINGS OR CONSTRUCTIONAL DETAILS OF ELECTRIC APPARATUS; MANUFACTURE OF ASSEMBLAGES OF ELECTRICAL COMPONENTS
    • H05K2201/00Indexing scheme relating to printed circuits covered by H05K1/00
    • H05K2201/03Conductive materials
    • H05K2201/0332Structure of the conductor
    • H05K2201/0364Conductor shape
    • H05K2201/0379Stacked conductors
    • HELECTRICITY
    • H05ELECTRIC TECHNIQUES NOT OTHERWISE PROVIDED FOR
    • H05KPRINTED CIRCUITS; CASINGS OR CONSTRUCTIONAL DETAILS OF ELECTRIC APPARATUS; MANUFACTURE OF ASSEMBLAGES OF ELECTRICAL COMPONENTS
    • H05K2201/00Indexing scheme relating to printed circuits covered by H05K1/00
    • H05K2201/09Shape and layout
    • H05K2201/09209Shape and layout details of conductors
    • H05K2201/09654Shape and layout details of conductors covering at least two types of conductors provided for in H05K2201/09218 - H05K2201/095
    • H05K2201/0969Apertured conductors
    • HELECTRICITY
    • H05ELECTRIC TECHNIQUES NOT OTHERWISE PROVIDED FOR
    • H05KPRINTED CIRCUITS; CASINGS OR CONSTRUCTIONAL DETAILS OF ELECTRIC APPARATUS; MANUFACTURE OF ASSEMBLAGES OF ELECTRICAL COMPONENTS
    • H05K2201/00Indexing scheme relating to printed circuits covered by H05K1/00
    • H05K2201/09Shape and layout
    • H05K2201/09209Shape and layout details of conductors
    • H05K2201/09654Shape and layout details of conductors covering at least two types of conductors provided for in H05K2201/09218 - H05K2201/095
    • H05K2201/09781Dummy conductors, i.e. not used for normal transport of current; Dummy electrodes of components
    • HELECTRICITY
    • H05ELECTRIC TECHNIQUES NOT OTHERWISE PROVIDED FOR
    • H05KPRINTED CIRCUITS; CASINGS OR CONSTRUCTIONAL DETAILS OF ELECTRIC APPARATUS; MANUFACTURE OF ASSEMBLAGES OF ELECTRICAL COMPONENTS
    • H05K2201/00Indexing scheme relating to printed circuits covered by H05K1/00
    • H05K2201/20Details of printed circuits not provided for in H05K2201/01 - H05K2201/10
    • H05K2201/2072Anchoring, i.e. one structure gripping into another
    • HELECTRICITY
    • H05ELECTRIC TECHNIQUES NOT OTHERWISE PROVIDED FOR
    • H05KPRINTED CIRCUITS; CASINGS OR CONSTRUCTIONAL DETAILS OF ELECTRIC APPARATUS; MANUFACTURE OF ASSEMBLAGES OF ELECTRICAL COMPONENTS
    • H05K2203/00Indexing scheme relating to apparatus or processes for manufacturing printed circuits covered by H05K3/00
    • H05K2203/03Metal processing
    • H05K2203/0323Working metal substrate or core, e.g. by etching, deforming
    • HELECTRICITY
    • H05ELECTRIC TECHNIQUES NOT OTHERWISE PROVIDED FOR
    • H05KPRINTED CIRCUITS; CASINGS OR CONSTRUCTIONAL DETAILS OF ELECTRIC APPARATUS; MANUFACTURE OF ASSEMBLAGES OF ELECTRICAL COMPONENTS
    • H05K3/00Apparatus or processes for manufacturing printed circuits
    • H05K3/02Apparatus or processes for manufacturing printed circuits in which the conductive material is applied to the surface of the insulating support and is thereafter removed from such areas of the surface which are not intended for current conducting or shielding
    • H05K3/06Apparatus or processes for manufacturing printed circuits in which the conductive material is applied to the surface of the insulating support and is thereafter removed from such areas of the surface which are not intended for current conducting or shielding the conductive material being removed chemically or electrolytically, e.g. by photo-etch process
    • HELECTRICITY
    • H05ELECTRIC TECHNIQUES NOT OTHERWISE PROVIDED FOR
    • H05KPRINTED CIRCUITS; CASINGS OR CONSTRUCTIONAL DETAILS OF ELECTRIC APPARATUS; MANUFACTURE OF ASSEMBLAGES OF ELECTRICAL COMPONENTS
    • H05K3/00Apparatus or processes for manufacturing printed circuits
    • H05K3/10Apparatus or processes for manufacturing printed circuits in which conductive material is applied to the insulating support in such a manner as to form the desired conductive pattern
    • H05K3/20Apparatus or processes for manufacturing printed circuits in which conductive material is applied to the insulating support in such a manner as to form the desired conductive pattern by affixing prefabricated conductor pattern
    • H05K3/205Apparatus or processes for manufacturing printed circuits in which conductive material is applied to the insulating support in such a manner as to form the desired conductive pattern by affixing prefabricated conductor pattern using a pattern electroplated or electroformed on a metallic carrier

Landscapes

  • Engineering & Computer Science (AREA)
  • Manufacturing & Machinery (AREA)
  • Microelectronics & Electronic Packaging (AREA)
  • Insulated Metal Substrates For Printed Circuits (AREA)
  • Adjustment Of The Magnetic Head Position Track Following On Tapes (AREA)
  • Supporting Of Heads In Record-Carrier Devices (AREA)
  • Structure Of Printed Boards (AREA)

Description

本発明は、回路付サスペンション基板に関し、詳しくは、高密度化や高速化に対応した回路付サスペンション基板に関する。
ハードディスクドライブに搭載される回路付サスペンション基板は、通常、金属支持基板と、金属支持基板の上に形成されたベース絶縁層と、ベース絶縁層の上に形成された導体パターンと、ベース絶縁層の上に導体パターンを被覆するように形成されたカバー絶縁層とを備えている。また、このような回路付サスペンション基板には、導体パターンの特性インピーダンスを調整したり、部分的にフレキシブル性を向上させるために、導体パターンと対向するように、金属支持基板に開口部を形成することが知られている。
また、このような回路付サスペンション基板には、近年、高密度や高速化に対応して、導体パターンの伝送損失を低減するため、導体パターンの下層に絶縁層を挟んで下部導体を設けることが提案されている(例えば、特許文献1参照。)。
特開2005−11387号公報
しかるに、従来より知られている、金属支持基板に開口部が形成されている回路付サスペンション基板に、特許文献1に記載されるような下部導体を設けると、図8に示すように、金属支持基板22に形成される開口部27の端縁28が、カバー絶縁層26に被覆される導体パターン25の下層に、ベース絶縁層24を挟んで設けられた下部導体23の表面と、重なるように配置される場合がある。このように開口部27の端縁28が、下部導体23の表面と重なるように配置されれば、その重なっている部分では、金属支持基板22と下部導体23との密着性が低いので、回路付サスペンション基板21の折り曲げ時などに、開口部27の端縁28において、金属支持基板22が金属箔23から剥離するという不具合がある。
本発明の目的は、簡易な構成により、金属支持基板に形成される開口部の端縁において、金属支持基板の密着性を向上させることにより、金属支持基板の剥離を防止することのできる回路付サスペンション基板を提供することにある。
上記目的を達成するために、本発明の回路付サスペンション基板は、金属支持基板と、前記金属支持基板の上に形成される絶縁層と、前記絶縁層の上に形成され、4つの配線を有する導体パターンと、前記絶縁層内に埋設される金属箔とを備え、前記金属支持基板には、前記導体パターンと対向する開口部が形成されており、前記金属箔は、少なくとも一部が、前記開口部内に前記導体パターンと対向するように配置されており、前記開口部の端縁と重ならないように、前記絶縁層から露出されており、前記金属支持基板における前記開口部の端縁の少なくとも一部が、前記絶縁層に直接接触していることを特徴としている。
本発明の回路付サスペンション基板によれば、金属箔は、少なくとも一部が、開口部内に配置され、開口部の端縁と重ならないように、絶縁層から露出されており、金属支持基板における開口部の端縁の少なくとも一部が、絶縁層に直接接触している。そのため、金属支持基板における開口部の端縁の密着性を向上させることができる。その結果、簡易な構成により、導体パターンの特性インピーダンスの調整や伝送損失の低減を図りつつ、金属支持基板の剥離を有効に防止することができる。
また、本発明の回路付サスペンション基板では、前記金属箔は、前記開口部内に配置される第1金属箔部分と、前記金属支持基板における前記開口部の端縁と前記絶縁層との接触部分を挟むように、前記第1金属箔部分と間隔を隔てて配置され、前記金属支持基板と対向する第2金属箔部分とを備えていることが好適である。
本発明の回路付サスペンション基板によれば、金属箔は、開口部内に配置される第1金属箔部分と、金属支持基板における開口部の端縁と絶縁層との接触部分を挟むように、第1金属箔部分と間隔を隔てて配置され、金属支持基板と対向する第2金属箔部分とを備えている。そのため、金属支持基板における開口部の端縁の密着性を向上させながら、金属箔の設置面積を十分に確保することができる。その結果、簡易な構成により、導体パターンの伝送損失の低減をより一層図ることができる。
また、本発明の回路付サスペンション基板では、前記金属支持基板と前記第2金属箔部分との間には、金属薄膜が介在されていることが好適である。
本発明の回路付サスペンション基板によれば、簡易な層構成により、金属支持基板と第2金属箔部分との密着性を向上させることができる。そのため、金属支持基板の剥離をより一層有効に防止することができる。
また、本発明の回路付サスペンション基板では、前記金属支持基板が、ステンレスからなり、前記金属箔が、銅または銅合金からなり、前記絶縁層が、ポリイミドからなることが好適である
本発明の回路付サスペンション基板によれば、金属支持基板における開口部の端縁の密着性を向上させることができる。その結果、簡易な構成により、導体パターンの特性インピーダンスの調整や伝送損失の低減を図りつつ、金属支持基板の剥離を有効に防止することができる。
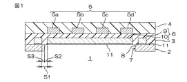
図1は、本発明の回路付サスペンション基板の一実施形態の要部断面図、図2は、その要部底面図を示す。なお、図1は、図2のA−A’線における断面図対応する。また、図1および図2において、後述する保護薄膜17(図3(i)参照)は、省略されている。
図1において、この回路付サスペンション基板1は、ハードディスクドライブに搭載される回路付サスペンション基板であって、金属支持基板2と、金属支持基板2の上に形成される絶縁層としてのベース絶縁層3と、ベース絶縁層3の上に形成される導体パターン5と、ベース絶縁層3内に埋設される金属箔6とを備えている。また、この回路付サスペンション基板1には、導体パターン5を被覆するように、ベース絶縁層3の上にカバー絶縁層4が形成されている。
金属支持基板2は、図2に示すように、長手方向(図2における上下方向。以下、「長手方向」とする。)に延びる平板状をなし、金属箔や金属薄板から形成されている。金属支持基板2を形成する金属としては、例えば、ステンレス、42アロイなどが用いられ、好ましくは、ステンレスが用いられる。また、その厚みは、例えば、15〜30μm、好ましくは、20〜25μmである。
ベース絶縁層3は、図1に示すように、金属箔6を埋設し、金属支持基板2の上に形成されている。ベース絶縁層3を形成する絶縁体としては、回路付サスペンション基板の絶縁体として通常用いられる、例えば、ポリイミド、ポリエーテルニトリル、ポリエーテルスルホン、ポリエチレンテレフタレート、ポリエチレンナフタレート、ポリ塩化ビニルなどの合成樹脂が用いられる。これらのうち、ポリイミドが好ましく用いられ、感光性のポリイミドがさらに好ましく用いられる。また、その厚みは、例えば、5〜15μmであり、好ましくは、8〜10μmである。
導体パターン5は、図1および図2に示すように、ベース絶縁層3の上に、互いに間隔を隔てて長手方向に沿って平行に配置される複数の配線(幅方向(長手方向に直交する方向、以下同じ。)最外側に配置される2つの配線5aおよび5dと、その2つの配線5aおよび5dの内側にそれぞれ配置される2つの配線5bおよび5c)からなる配線回路パターンとして形成されている。導体パターン5を形成する導体としては、回路付サスペンション基板の導体として通常用いられる、例えば、銅、ニッケル、金、はんだ、またはそれらの合金などの金属が用いられる。これらのうち、銅が好ましく用いられる。また、その厚みは、例えば、5〜20μm、好ましくは、7〜15μmであり、各配線の幅(幅方向の長さ)の長さは、例えば、10〜100μm、好ましくは、15〜50μmであり、各配線間の間隔は、例えば、10〜100μm、好ましくは、15〜50μmである。
金属箔6は、図1に示すように、ベース絶縁層3の下面(金属支持基板2との接触面)に、後述する金属薄膜11を介して面するように、ベース絶縁層3内に埋設されている。金属箔6を形成する金属としては、例えば、クロム、銅、金、銀、白金、ニッケル、チタン、ケイ素、マンガン、ジルコニウム、およびそれらの合金、またそれらの酸化物などが用いられる。これらのうち、銅または銅合金が好ましく用いられる。また、その厚みは、例えば、2〜5μmであり、好ましくは、2〜4μmである。
金属箔6は、第1金属箔部分9と、第2金属箔部分10とを備えるパターンとして形成されている。
第1金属箔部分9は、図2に示すように、第2金属箔部分10と隙間S1を隔てて、第2金属箔部分10内に形成されている。この第1金属箔部分9は、導体パターン5の長手方向途中と対向するように設けられ、後述する開口部7よりもやや小さな底面視矩形状に形成されている。
この第1金属箔部分9は、その幅(幅方向の長さ)が、幅方向最外側に配置される配線5aおよび5dの外側端縁の間の長さに相当する長さで形成され、その長さ(長手方向の長さ)が、所望の長さで、形成されている。
より具体的には、この第1金属箔部分9は、その幅が、例えば、0.05〜10mm、好ましくは、0.1〜2mmで形成され、その長さが、例えば、0.05〜10mm、好ましくは、0.1〜2mmで形成されている。
第2金属箔部分10は、第1金属箔部分9を、隙間S1を隔てて囲み、導体パターン5の長手方向途中と対向するように設けられている。
この第2金属箔部分10は、その幅が、配線5aおよび5dの外側端縁の間の長さよりも幅広く、かつ、金属支持基板2よりも幅狭い長さで形成され、その長さが、第1金属箔部分9よりも長い所望の長さで、形成されている。
なお、第1金属箔部分9と第2金属箔部分10との間に設けられる隙間S1は、底面視矩形枠状をなし、幅方向に沿う隙間S1の開口幅は、例えば、20〜100μm、好ましくは、30〜50μmであり、長手方向に沿う隙間S1の開口幅は、例えば、20〜100μm、好ましくは、30〜50μmである。
また、金属箔6の下面には、図1に示すように、金属薄膜11が形成されている。
金属薄膜11は、第2金属箔部分10の下面においては、金属支持基板2との間に介在されるように形成され、第1金属箔部分9の下面においては、後述する開口部7から露出するように形成されている。金属薄膜11を形成する金属としては、例えば、上記した金属箔6と同様の金属が用いられ、好ましくは、銅やクロムが用いられる。また、その厚みは、例えば、0.01〜1μm、好ましくは、0.1〜1μmである。
金属薄膜11は、特に、第2金属箔部分10の下面においては、金属支持基板2と第2金属箔部分10との密着性を考慮して、例えば、金属支持基板2の表面と接触するように、金属支持基板2との密着性の高い金属からなる第1の金属薄膜11と、金属箔部分10の表面と接触するように、第2金属箔部分10との密着力の高い金属からなる第2の金属薄膜11とを積層するなど、多層で形成することもできる。
カバー絶縁層4は、導体パターン5を被覆するように、ベース絶縁層3の上に形成されている。カバー絶縁層4を形成する絶縁体としては、上記したベース絶縁層3と同様の絶縁体が用いられる。また、その厚みは、例えば、3〜10μm、好ましくは、4〜5μmである。
そして、この回路付サスペンション基板1には、金属支持基板2に、開口部7が形成されている。
開口部7は、図2に示すように、導体パターン5の長手方向途中と対向し、その開口端縁8が第1金属箔部分9と第2金属箔部分10との間の隙間S1に配置されるように、第1金属箔部分9よりもやや大きな底面視矩形状に形成されている。これによって、金属支持基板2における開口部7の開口端縁8は、図1に示すように、ベース絶縁層3の下面に直接接触している。また、第1金属箔部分9は、開口部7内に配置され、開口部7の開口端縁8と重ならないようにベース絶縁層3から露出される。また、第2金属箔部分10は、開口部7の開口端縁8とベース絶縁層3との接触部分を挟むように、第1金属箔部分9と隙間S1を隔てて配置され、金属支持基板2と対向配置される。
なお、隙間S1における開口部7の開口端縁8と第1金属箔部分9の端縁との間の間隔S2は、幅方向において、例えば、10〜50μm、好ましくは、15〜30μmであり、長手方向において、例えば、10〜50μm、好ましくは、15〜30μmである。また、隙間S1における開口部7の開口端縁8と第2金属箔部分10の端縁との間の間隔S3は、幅方向において、例えば、10〜50μm、好ましくは、15〜30μmであり、長手方向において、例えば、10〜50μm、好ましくは、15〜30μmである。
そして、このような回路付サスペンション基板1は、例えば、図3に示す方法によって製造することができる。
まず、図3(a)に示すように、金属支持基板2を用意し、その金属支持基板2の表面全面に、スパッタリングまたは電解めっきにより、金属薄膜11を形成する。
次に、図3(b)に示すように、めっきレジスト16を上記した金属箔6の反転パターンで形成する。めっきレジスト16の形成は、例えば、ドライフィルムレジストを用いて露光および現像する、公知の方法が用いられる。
次に、図3(c)に示すように、電解めっき、好ましくは、電解銅めっきにより、めっきレジスト16から露出する金属薄膜11の表面に、金属箔6を、上記した第1金属箔部分9および第2金属箔部分10が形成されるパターンとして、形成する。
次に、図3(d)に示すように、めっきレジスト16およびめっきレジスト16が形成されていた部分の金属薄膜11を、例えば、化学エッチング(ウェットエッチング)などの公知のエッチング法または剥離によって除去する。
次に、図3(e)に示すように、金属箔6および金属薄膜11の表面(金属箔6の上面および側面と、金属薄膜11の側面との各面)に保護薄膜17を形成する。保護薄膜17の形成は、例えば、スパッタリングまたはめっきなどの公知の方法が用いられ、好ましくは、無電解めっきが用いられる。保護薄膜17を形成する金属としては、金、銀、白金、ニッケル、チタン、ケイ素、マンガン、ジルコニウム、およびそれらの合金、またそれらの酸化物などが用いられる。これらのうち、ニッケルまたはニッケル合金が好ましく用いられる。また、保護薄膜17の厚みは、例えば、0.05〜0.2μmである。この保護薄膜17は、金属箔6および金属薄膜11とベース絶縁層3との密着性を向上させ、金属箔6および金属薄膜11を形成する金属が、ベース絶縁層3の内方へ拡散することを防止する。
なお、無電解めっきによる保護薄膜17の形成においては、金属支持基板2の表面が不動態化されるので、保護薄膜17は、金属箔6から露出する金属支持基板2の表面には形成されず、金属箔6および金属薄膜11の表面(金属箔6の上面および側面と、金属薄膜11の側面との各面)に選択的に形成される。
次に、図3(f)に示すように、金属箔6、金属薄膜11および保護薄膜17を被覆するように、金属支持基板2の上に、例えば、上記した合成樹脂の溶液(ワニス)を均一に塗布した後、乾燥し、次いで、必要に応じて、加熱することによって硬化させ、ベース絶縁層3を形成する。なお、ベース絶縁層3は、感光性の合成樹脂を露光および現像することにより、パターンとして、形成することもできる。さらに、ベース絶縁層3の形成は、上記の方法に特に制限されず、例えば、予め合成樹脂をフィルムに形成して、そのフィルムを、金属箔6、金属薄膜11および保護薄膜17を被覆するように、金属支持基板2の上に、公知の接着剤層を介して貼着することもできる。
次に、図3(g)に示すように、導体パターン5を、アディティブ法やサブトラクティブ法などの公知のパターンニング法により、上記した配線回路パターンとして形成する。
例えば、アディティブ法により、導体パターン5を形成する場合には、まず、ベース絶縁層3の表面全面に、例えば、真空成膜法やスパッタリング法などにより、下地となる導体薄膜を形成し、その導体薄膜の表面に、ドライフィルムレジストなどを用いて露光および現像し、導体パターン5の反転パターンでめっきレジストを形成する。次いで、めっきにより、めっきレジストから露出する導体薄膜の表面に、導体パターン5を形成し、めっきレジストおよびめっきレジストが形成されていた部分の導体薄膜をエッチングまたは剥離などにより除去する。なお、めっきは、電解めっき、無電解めっきのいずれでもよいが、電解めっきが好ましく用いられ、電解銅めっきがさらに好ましく用いられる。
また、例えば、サブトラクティブ法により、導体パターン5を形成する場合には、まず、ベース絶縁層3の表面全面に、導体層を形成する。導体層を形成するには、特に制限されず、例えば、ベース絶縁層3の表面全面に、公知の接着剤層を介して、導体層を貼着する。次いで、その導体層の表面に、ドライフィルムレジストなどを用いて露光および現像し、導体パターン5と同一のパターンでエッチングレジストを形成する。その後、エッチングレジストから露出する導体層を化学エッチング(ウェットエッチング)した後、エッチングレジストを除去する。
次いで、図3(h)に示すように、導体パターン5を被覆するように、ベース絶縁層3の上に、例えば、上記した合成樹脂の溶液(ワニス)を均一に塗布した後、乾燥し、次いで、必要に応じて、加熱することによって硬化させ、カバー絶縁層4を形成する。なお、カバー絶縁層4は、感光性の合成樹脂を露光および現像することにより、パターンとして形成することもできる。さらに、カバー絶縁層4の形成は、上記の方法に特に制限されず、例えば、予め合成樹脂をフィルムに形成して、そのフィルムを、導体パターン5を被覆するように、ベース絶縁層3の上に、公知の接着剤層を介して貼着することもできる。
次いで、図3(i)に示すように、金属支持基板2に、エッチングなどの公知の方法により、上記した開口部7を形成する。
このようにして得られる回路付サスペンション基板1では、図1および図2に示すように、第1金属箔部分9が、開口部7内に配置され、開口部7の開口端縁8と重ならないように、ベース絶縁層3から露出されており、金属支持基板2における開口部7の開口端縁8が、ベース絶縁層3に直接接触している。そのため、金属支持基板2における開口部7の開口端縁8の密着性を向上させることができる。その結果、簡易な構成により、導体パターン5の特性インピーダンスの調整や伝送損失の低減を図りつつ、金属支持基板2の剥離を有効に防止することができる。
また、この回路付サスペンション基板1では、金属箔6が、開口部7内に配置される第1金属箔部分9と、金属支持基板2と対向する第2金属箔部分10とを備えている。そのため、金属支持基板2における開口部7の開口端縁8の密着性を向上させながら、金属箔6の設置面積を十分に確保することができる。その結果、簡易な構成により、導体パターン5の伝送損失の低減をより一層図ることができる。
また、この回路付サスペンション基板1では、金属支持基板2と第2金属箔部分10との間には、金属薄膜11が介在されており、簡易な層構成により、金属支持基板2と第2金属箔部分10との密着性を向上させることができる。そのため、金属支持基板2の剥離をより一層有効に防止することができる。
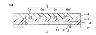
なお、上記した回路付サスペンション基板1では、金属箔6を、第1金属箔部分9と第2金属箔部分10とを備えるパターンとして形成したが、図4および図5に示すように、金属箔6を、第2金属箔部分10を備えずに、第1金属箔部分9のみからなるパターンとして形成してもよい。金属箔6を第1金属箔部分9のみから形成しても、金属支持基板2における開口部7の開口端縁8を、ベース絶縁層3に直接接触させることができる。そのため、金属支持基板2における開口部7の開口端縁8の密着性を向上させることができる。その結果、簡易な構成により、導体パターン5の特性インピーダンスの調整や伝送損失の低減を図りつつ、金属支持基板2の剥離を有効に防止することができる。
なお、図4および図5において、図1および図2と同一の部分には、同一の符号を付し、その説明を省略する。また、上記した保護薄膜17(図3(i)参照)は、省略されている。
また、上記の説明においては、開口部7を底面視矩形状に形成したが、開口部7の形状は特に制限されず、底面視円形状などであってもよい。
以下に実施例および比較例を示し、本発明をさらに具体的に説明するが、本発明は、何らこれら実施例および比較例に限定されることはない。
実施例1
金属支持基板として、厚み25μmのステンレス基板の上に、金属薄膜として、厚み0.03μmのクロム薄膜と厚み0.07μmの銅薄膜とをスパッタリングによって順次形成した(図3(a)参照)。次いで、金属箔の反転パターンでめっきレジストを、ドライフィルムレジストを用いて形成した(図3(b)参照)。次いで、めっきレジストから露出する金属薄膜の表面に、金属箔として、厚み4.0μmの銅箔を、硫酸銅水溶液を用いて電解銅めっきにより形成した(図3(c)参照)。なお、この銅箔は、第1金属箔部分としての第1銅箔部分と、第2金属箔部分としての第2銅箔部分とを備えるパターンとして形成した(図2参照)。次いで、めっきレジストを、水酸化ナトリウム水溶液を用いて剥離により除去した後、めっきレジストが形成されていた部分の金属薄膜をエッチングにより除去し(図3(d)参照)、金属箔および金属薄膜の表面(金属箔の上面および側面と、金属薄膜の側面との各面)に、保護薄膜として、厚み0.1μmのニッケル薄膜を無電解めっきにより形成した(図3(e)参照)。次いで、金属箔、金属薄膜、および、保護薄膜を被覆するように、金属支持基板の上に、感光性ポリアミック酸樹脂のワニスを塗布後、露光および現像し、さらに加熱硬化することにより、厚み10μmのポリイミドからなるベース絶縁層を形成した(図3(f)参照)。次いで、そのベース絶縁層の表面に、アディティブ法によって、厚み10μmの導体パターンを形成した(図3(g)参照)。次いで、導体パターンを被覆するように、ベース絶縁層の上に、感光性ポリアミック酸樹脂のワニスを塗布後、露光および現像し、さらに加熱硬化することにより、厚み5μmのポリイミドからなるカバー絶縁層を形成した(図3(h)参照)。次いで、ステンレス基板に、エッチングにより、開口部を底面視矩形状に形成した(図3(i)、図1、図2参照)。その後、金属支持基板をエッチングにより切り抜き、回路付サスペンション基板を得た。
なお、得られた回路付サスペンションにおいて、開口部の開口端縁と第1金属箔部分の端縁との間の間隔S2は、幅方向において、20μmであり、長手方向において、20μmであった。また、開口部の開口端縁と第2金属箔部分の端縁との間の間隔S3は、幅方向において、20μmであり、長手方向において、20μmであった(図2参照)。
得られた回路付サスペンション基板を、開口部で折り曲げても、回路付サスペンション基板は、その開口部において、金属支持基板がベース絶縁層から剥離しなかった。
比較例1
実施例1において、金属箔を、第1金属箔部分と第2金属箔部分との間に隙間S1を設けることなく第1金属箔部分と第2金属箔部分とが連続するように形成し、かつ、金属支持基板における開口部を、その開口端縁がベース絶縁層に接触せず、金属箔と重なるように形成した以外は、実施例1と同様にして、回路付サスペンション基板を得た(図6および図7参照)。
なお、図6および図7において、図1および図2と同一の部分には、同一の符号を付し、その説明を省略する。また、上記した保護薄膜17(図3(i)参照)は、省略されている。
得られた回路付サスペンション基板を、開口部で折り曲げたところ、回路付サスペンション基板は、その開口部において、金属支持基板がベース絶縁層から剥離した。
本発明の回路付サスペンション基板の一実施形態を示す要部断面図である。 図1に示す回路付サスペンション基板の要部底面図である。 図1に示す回路付サスペンション基板の製造方法を示す製造工程図であって、(a)は、金属支持基板の上に、金属薄膜を形成する工程、 (b)は、金属箔の反転パターンで、めっきレジストを形成する工程、 (c)は、めっきレジストから露出する金属薄膜の表面に、金属箔を形成する工程、(d)は、めっきレジストおよびめっきレジストが形成されていた部分の金属薄膜を除去する工程、(e)は、金属箔および金属薄膜の表面に保護薄膜を形成する工程、 (f)は、金属箔、金属薄膜および保護薄膜を被覆するように、金属支持基板の上に、ベース絶縁層を形成する工程、(g)は、ベース絶縁層の上に、導体パターンを形成する工程、(h)は、導体パターンを被覆するように、ベース絶縁層の上に、カバー絶縁層を形成する工程、(i)は、金属支持基板に開口部を形成する工程を示す。 本発明の回路付サスペンション基板の他の実施形態を示す要部断面図である。 図4に示す回路付サスペンション基板の要部底面図である。 比較例1の回路付サスペンション基板を示す要部断面図である。 図6に示す回路付サスペンション基板の要部底面図である。 従来の回路付サスペンション基板を示す要部断面図である。
符号の説明
1 回路付サスペンション基板
2 金属支持基板
3 ベース絶縁層
5 導体パターン
6 金属箔
7 開口部
8 開口端縁
9 第1金属箔部分
10 第2金属箔部分
11 金属薄膜

Claims (4)

  1. 金属支持基板と、前記金属支持基板の上に形成される絶縁層と、前記絶縁層の上に形成され、4つの配線を有する導体パターンと、前記絶縁層内に埋設される金属箔とを備え、
    前記金属支持基板には、前記導体パターンと対向する開口部が形成されており、
    前記金属箔は、少なくとも一部が、前記開口部内に前記導体パターンと対向するように配置されており、前記開口部の端縁と重ならないように、前記絶縁層から露出されており、
    前記金属支持基板における前記開口部の端縁の少なくとも一部が、前記絶縁層に直接接触していることを特徴とする、回路付サスペンション基板
  2. 前記金属箔は、
    前記開口部内に配置される第1金属箔部分と、
    前記金属支持基板における前記開口部の端縁と前記絶縁層との接触部分を挟むように、前記第1金属箔部分と間隔を隔てて配置され、前記金属支持基板と対向する第2金属箔部分とを備えていることを特徴とする、請求項1に記載の回路付サスペンション基板
  3. 前記金属支持基板と前記第2金属箔部分との間には、金属薄膜が介在されていることを特徴とする、請求項2に記載の回路付サスペンション基板
  4. 前記金属支持基板が、ステンレスからなり、
    前記金属箔が、銅または銅合金からなり、
    前記絶縁層が、ポリイミドからなることを特徴とする、請求項1〜3のいずれかに記載の回路付サスペンション基板
JP2005199035A 2005-07-07 2005-07-07 回路付サスペンション基板 Expired - Fee Related JP4640802B2 (ja)

Priority Applications (3)

Application Number Priority Date Filing Date Title
JP2005199035A JP4640802B2 (ja) 2005-07-07 2005-07-07 回路付サスペンション基板
US11/477,935 US8134080B2 (en) 2005-07-07 2006-06-30 Wired circuit board
CN200610101338A CN100586251C (zh) 2005-07-07 2006-07-07 布线电路板

Applications Claiming Priority (1)

Application Number Priority Date Filing Date Title
JP2005199035A JP4640802B2 (ja) 2005-07-07 2005-07-07 回路付サスペンション基板

Publications (2)

Publication Number Publication Date
JP2007019261A JP2007019261A (ja) 2007-01-25
JP4640802B2 true JP4640802B2 (ja) 2011-03-02

Family

ID=37598146

Family Applications (1)

Application Number Title Priority Date Filing Date
JP2005199035A Expired - Fee Related JP4640802B2 (ja) 2005-07-07 2005-07-07 回路付サスペンション基板

Country Status (3)

Country Link
US (1) US8134080B2 (ja)
JP (1) JP4640802B2 (ja)
CN (1) CN100586251C (ja)

Families Citing this family (19)

* Cited by examiner, † Cited by third party
Publication number Priority date Publication date Assignee Title
JP4640802B2 (ja) 2005-07-07 2011-03-02 日東電工株式会社 回路付サスペンション基板
JP4865453B2 (ja) 2006-08-30 2012-02-01 日東電工株式会社 配線回路基板およびその製造方法
JP2008282995A (ja) 2007-05-10 2008-11-20 Nitto Denko Corp 配線回路基板
JP2009016610A (ja) * 2007-07-05 2009-01-22 Nitto Denko Corp 配線回路基板およびその製造方法
JP4992648B2 (ja) * 2007-10-05 2012-08-08 大日本印刷株式会社 サスペンション基板およびその製造方法
JP6021211B2 (ja) * 2010-04-30 2016-11-09 大日本印刷株式会社 サスペンション用基板、サスペンション、素子付サスペンションおよびハードディスクドライブ
JP5861274B2 (ja) * 2011-05-24 2016-02-16 大日本印刷株式会社 サスペンション用フレキシャー基板、サスペンション、ヘッド付サスペンション、およびハードディスクドライブ
JP5349634B2 (ja) * 2012-03-16 2013-11-20 日東電工株式会社 回路付サスペンション基板
JP6025384B2 (ja) * 2012-04-27 2016-11-16 日東電工株式会社 配線回路基板およびその製造方法
CN103889152A (zh) * 2012-12-20 2014-06-25 深南电路有限公司 印刷电路板加工方法
USD785575S1 (en) * 2014-05-28 2017-05-02 Sumitomo Electric Industries, Ltd. Flexible printed wiring board
USD784936S1 (en) * 2014-05-28 2017-04-25 Sumitomo Electric Industries, Ltd. Flexible printed wiring board with device
JP6484073B2 (ja) * 2015-03-10 2019-03-13 日東電工株式会社 回路付サスペンション基板
JP6128184B2 (ja) * 2015-10-30 2017-05-17 大日本印刷株式会社 サスペンション用フレキシャー基板、サスペンション、ヘッド付サスペンション、およびハードディスクドライブ
JP6808266B2 (ja) * 2016-05-18 2021-01-06 日東電工株式会社 配線回路基板およびその製造方法
US9905519B1 (en) * 2016-08-29 2018-02-27 Via Alliance Semiconductor Co., Ltd. Electronic structure process
US10002839B2 (en) * 2016-08-29 2018-06-19 Via Alliance Semiconductor Co., Ltd. Electronic structure, and electronic structure array
JP6909566B2 (ja) * 2016-09-06 2021-07-28 日東電工株式会社 配線回路基板およびその製造方法
JP2024008277A (ja) * 2022-07-07 2024-01-19 日東電工株式会社 配線回路基板およびその製造方法

Family Cites Families (62)

* Cited by examiner, † Cited by third party
Publication number Priority date Publication date Assignee Title
JPS59219492A (ja) 1983-05-27 1984-12-10 Nisshin Steel Co Ltd 片面銅めつきステンレス鋼板の製造法
JPH0728130B2 (ja) 1987-12-07 1995-03-29 株式会社ミツトヨ 立体パターン配線構造およびその製造方法
JPH03274799A (ja) 1990-03-23 1991-12-05 Fuji Electric Co Ltd 半導体装置の金属絶縁基板
JPH05304345A (ja) 1992-04-27 1993-11-16 Sanken Electric Co Ltd 金属製配線基板及びその製造方法
US5612512A (en) * 1992-11-11 1997-03-18 Murata Manufacturing Co., Ltd. High frequency electronic component having base substrate formed of bismaleimide-triazine resin and resistant film formed on base substrate
JP3461204B2 (ja) * 1993-09-14 2003-10-27 株式会社東芝 マルチチップモジュール
JPH07202365A (ja) 1993-12-28 1995-08-04 Fujitsu Ltd 半導体実装基板
DE59410240D1 (de) * 1994-03-23 2003-03-13 Dyconex Ag Bassersdorf Folienleiterplatten und verfahren zu deren herstellung
TW289900B (ja) * 1994-04-22 1996-11-01 Gould Electronics Inc
JP3354302B2 (ja) * 1994-07-27 2002-12-09 日本メクトロン株式会社 磁気ヘッド用サスペンションの製造法
JPH08241894A (ja) 1995-03-03 1996-09-17 Fujitsu Ltd レーザ・アブレーション加工方法
JPH08307020A (ja) 1995-05-08 1996-11-22 Nitto Denko Corp 回路形成用基板および回路基板
US5608591A (en) * 1995-06-09 1997-03-04 International Business Machines Corporation Integrated head-electronics interconnection suspension for a data recording disk drive
JP3274799B2 (ja) 1995-11-30 2002-04-15 キヤノン株式会社 加圧回転体及び定着装置並びに画像記録装置
US5776824A (en) * 1995-12-22 1998-07-07 Micron Technology, Inc. Method for producing laminated film/metal structures for known good die ("KG") applications
SG52916A1 (en) * 1996-02-13 1998-09-28 Nitto Denko Corp Circuit substrate circuit-formed suspension substrate and production method thereof
JP3206428B2 (ja) * 1996-04-09 2001-09-10 ティーディーケイ株式会社 ヘッドジンバルアセンブリを具備するハードディスク装置
JPH10261212A (ja) 1996-09-27 1998-09-29 Nippon Mektron Ltd 回路配線付き磁気ヘッド用サスペンションの製造法
US5796552A (en) 1996-10-03 1998-08-18 Quantum Corporation Suspension with biaxially shielded conductor trace array
KR19980041830A (ko) 1996-11-19 1998-08-17 포만제프리엘 제어된 붕괴형 칩 접속을 위한 박막 야금물 및 구조물
US5812344A (en) * 1997-05-12 1998-09-22 Quantum Corporation Suspension with integrated conductor trace array having optimized cross-sectional high frequency current density
US5862010A (en) * 1997-07-08 1999-01-19 International Business Machines Corporation Transducer suspension system
JP3862454B2 (ja) 1999-09-16 2006-12-27 電気化学工業株式会社 金属ベース多層回路基板
JP4356215B2 (ja) * 1999-11-10 2009-11-04 凸版印刷株式会社 フレクシャ及びその製造方法ならびにそれに用いるフレクシャ用基板
US6525921B1 (en) * 1999-11-12 2003-02-25 Matsushita Electric Industrial Co., Ltd Capacitor-mounted metal foil and a method for producing the same, and a circuit board and a method for producing the same
JP2001209918A (ja) * 1999-11-19 2001-08-03 Nitto Denko Corp 回路付サスペンション基板
US6480359B1 (en) * 2000-05-09 2002-11-12 3M Innovative Properties Company Hard disk drive suspension with integral flexible circuit
JP3935309B2 (ja) * 2000-06-08 2007-06-20 日東電工株式会社 配線回路基板およびその製造方法
JP2002111205A (ja) 2000-07-27 2002-04-12 Sumitomo Bakelite Co Ltd 多層配線板の製造方法および多層配線板
JP3751805B2 (ja) 2000-08-11 2006-03-01 日東電工株式会社 金属薄膜の形成方法
KR100379128B1 (ko) * 2000-08-23 2003-04-08 주식회사 아큐텍반도체기술 삼원합금을 이용한 환경친화적 반도체 장치 제조용 기질
JP4447762B2 (ja) 2000-10-18 2010-04-07 東洋鋼鈑株式会社 多層金属積層板及びその製造方法
JP4448610B2 (ja) * 2000-10-18 2010-04-14 日東電工株式会社 回路基板の製造方法
JP3546961B2 (ja) 2000-10-18 2004-07-28 日本電気株式会社 半導体装置搭載用配線基板およびその製造方法、並びに半導体パッケージ
JP2002222578A (ja) 2001-01-26 2002-08-09 Nitto Denko Corp 中継フレキシブル配線回路基板
JP3654198B2 (ja) 2001-02-23 2005-06-02 Tdk株式会社 ヘッドジンバルアセンブリ
JP3895125B2 (ja) * 2001-04-12 2007-03-22 日東電工株式会社 補強板付フレキシブルプリント回路板
US6861757B2 (en) * 2001-09-03 2005-03-01 Nec Corporation Interconnecting substrate for carrying semiconductor device, method of producing thereof and package of semiconductor device
CN1415474A (zh) 2001-10-29 2003-05-07 造利科技股份有限公司 具有载体的转印背胶式铜箔制造方法
JP3921379B2 (ja) 2001-11-09 2007-05-30 株式会社日立グローバルストレージテクノロジーズ ヘッド支持機構体及び磁気ディスク装置
JP3931074B2 (ja) 2001-11-09 2007-06-13 株式会社日立グローバルストレージテクノロジーズ 信号伝送線路及びそれを備えたサスペンション並びに記録装置
JP2003197459A (ja) 2001-12-26 2003-07-11 Kyocera Corp 積層型電子部品の製法
JP2004014975A (ja) 2002-06-11 2004-01-15 Nitto Denko Corp 金属箔付フレキシブル回路基板
JP2004088020A (ja) 2002-08-29 2004-03-18 Toshiba Corp フレキシブルプリント基板及び該基板を備えた電子機器
JP2004111578A (ja) 2002-09-17 2004-04-08 Dainippon Printing Co Ltd ヒートスプレッダー付きビルドアップ型の配線基板の製造方法とヒートスプレッダー付きビルドアップ型の配線基板
JP2004186342A (ja) 2002-12-02 2004-07-02 Kyocera Corp セラミック積層体及びその製法
KR100584965B1 (ko) * 2003-02-24 2006-05-29 삼성전기주식회사 패키지 기판 및 그 제조 방법
JP4222882B2 (ja) 2003-06-03 2009-02-12 日東電工株式会社 配線回路基板
JP4178077B2 (ja) * 2003-06-04 2008-11-12 日東電工株式会社 配線回路基板
JP4222885B2 (ja) 2003-06-04 2009-02-12 日東電工株式会社 配線回路基板
JP2005011387A (ja) * 2003-06-16 2005-01-13 Hitachi Global Storage Technologies Inc 磁気ディスク装置
JP4019034B2 (ja) * 2003-09-22 2007-12-05 日東電工株式会社 回路付サスペンション基板の製造方法
JP2005158973A (ja) 2003-11-25 2005-06-16 Matsushita Electric Works Ltd 多層回路基板及び多層回路基板の製造方法
JP4028477B2 (ja) * 2003-12-04 2007-12-26 日東電工株式会社 回路付サスペンション基板およびその製造方法
JP2005235318A (ja) 2004-02-20 2005-09-02 Nitto Denko Corp 回路付サスペンション基板の製造方法
JP2005317836A (ja) 2004-04-30 2005-11-10 Nitto Denko Corp 配線回路基板およびその製造方法
JP4019068B2 (ja) * 2004-05-10 2007-12-05 日東電工株式会社 回路付サスペンション基板
JP2007537562A (ja) * 2004-05-14 2007-12-20 ハッチンソン テクノロジー インコーポレーティッド サスペンションアセンブリ用貴金属導電性リードの作製方法
JP2006173399A (ja) 2004-12-16 2006-06-29 Sumitomo Bakelite Co Ltd 配線基板
JP4403090B2 (ja) * 2005-03-02 2010-01-20 日東電工株式会社 配線回路基板
JP4640802B2 (ja) 2005-07-07 2011-03-02 日東電工株式会社 回路付サスペンション基板
JP4611159B2 (ja) 2005-09-20 2011-01-12 日東電工株式会社 配線回路基板

Also Published As

Publication number Publication date
CN100586251C (zh) 2010-01-27
JP2007019261A (ja) 2007-01-25
US20070017695A1 (en) 2007-01-25
US8134080B2 (en) 2012-03-13
CN1893767A (zh) 2007-01-10

Similar Documents

Publication Publication Date Title
JP4640802B2 (ja) 回路付サスペンション基板
JP4865453B2 (ja) 配線回路基板およびその製造方法
JP4403090B2 (ja) 配線回路基板
JP2008282995A (ja) 配線回路基板
US7895741B2 (en) Method of producing a wired circuit board
JP6484073B2 (ja) 回路付サスペンション基板
EP1883283B1 (en) Wired Circuit Board
JP4611159B2 (ja) 配線回路基板
JP4799902B2 (ja) 配線回路基板および配線回路基板の製造方法
JP5651933B2 (ja) サスペンション用基板およびその製造方法
JP4615427B2 (ja) 配線回路基板
JP2004266144A (ja) フレキシブル配線回路基板
JP5304175B2 (ja) サスペンション基板の製造方法
JP4588622B2 (ja) 配線回路基板の製造方法
JP5201174B2 (ja) サスペンション用基板およびその製造方法
JP2011003246A (ja) サスペンション用基板
JP4640853B2 (ja) 配線回路基板
JP5131320B2 (ja) サスペンション用基板およびその製造方法
JP2006165269A (ja) 配線回路基板
JP4640852B2 (ja) 配線回路基板の製造方法
JP2007317900A (ja) 配線回路基板およびその製造方法
JP5349634B2 (ja) 回路付サスペンション基板
JP2006156659A (ja) 配線回路基板
CN111836451A (zh) 电路板加工方法及电路板
JP2004179326A (ja) 半導体装置用テープキャリア

Legal Events

Date Code Title Description
A621 Written request for application examination

Free format text: JAPANESE INTERMEDIATE CODE: A621

Effective date: 20071113

A977 Report on retrieval

Free format text: JAPANESE INTERMEDIATE CODE: A971007

Effective date: 20100325

A131 Notification of reasons for refusal

Free format text: JAPANESE INTERMEDIATE CODE: A131

Effective date: 20100518

A521 Request for written amendment filed

Free format text: JAPANESE INTERMEDIATE CODE: A523

Effective date: 20100720

TRDD Decision of grant or rejection written
A01 Written decision to grant a patent or to grant a registration (utility model)

Free format text: JAPANESE INTERMEDIATE CODE: A01

Effective date: 20101124

A01 Written decision to grant a patent or to grant a registration (utility model)

Free format text: JAPANESE INTERMEDIATE CODE: A01

A61 First payment of annual fees (during grant procedure)

Free format text: JAPANESE INTERMEDIATE CODE: A61

Effective date: 20101124

R150 Certificate of patent or registration of utility model

Ref document number: 4640802

Country of ref document: JP

Free format text: JAPANESE INTERMEDIATE CODE: R150

Free format text: JAPANESE INTERMEDIATE CODE: R150

FPAY Renewal fee payment (event date is renewal date of database)

Free format text: PAYMENT UNTIL: 20131210

Year of fee payment: 3

FPAY Renewal fee payment (event date is renewal date of database)

Free format text: PAYMENT UNTIL: 20131210

Year of fee payment: 3

FPAY Renewal fee payment (event date is renewal date of database)

Free format text: PAYMENT UNTIL: 20161210

Year of fee payment: 6

R250 Receipt of annual fees

Free format text: JAPANESE INTERMEDIATE CODE: R250

R250 Receipt of annual fees

Free format text: JAPANESE INTERMEDIATE CODE: R250

R250 Receipt of annual fees

Free format text: JAPANESE INTERMEDIATE CODE: R250

R250 Receipt of annual fees

Free format text: JAPANESE INTERMEDIATE CODE: R250

R250 Receipt of annual fees

Free format text: JAPANESE INTERMEDIATE CODE: R250

R250 Receipt of annual fees

Free format text: JAPANESE INTERMEDIATE CODE: R250

R250 Receipt of annual fees

Free format text: JAPANESE INTERMEDIATE CODE: R250

R250 Receipt of annual fees

Free format text: JAPANESE INTERMEDIATE CODE: R250

R250 Receipt of annual fees

Free format text: JAPANESE INTERMEDIATE CODE: R250

LAPS Cancellation because of no payment of annual fees