JP2012144238A - 空気入りタイヤ - Google Patents
空気入りタイヤ Download PDFInfo
- Publication number
- JP2012144238A JP2012144238A JP2011149036A JP2011149036A JP2012144238A JP 2012144238 A JP2012144238 A JP 2012144238A JP 2011149036 A JP2011149036 A JP 2011149036A JP 2011149036 A JP2011149036 A JP 2011149036A JP 2012144238 A JP2012144238 A JP 2012144238A
- Authority
- JP
- Japan
- Prior art keywords
- thermoplastic resin
- sheet
- resin composition
- tip
- elastomer
- Prior art date
- Legal status (The legal status is an assumption and is not a legal conclusion. Google has not performed a legal analysis and makes no representation as to the accuracy of the status listed.)
- Granted
Links
Images
Classifications
-
- B—PERFORMING OPERATIONS; TRANSPORTING
- B60—VEHICLES IN GENERAL
- B60C—VEHICLE TYRES; TYRE INFLATION; TYRE CHANGING; CONNECTING VALVES TO INFLATABLE ELASTIC BODIES IN GENERAL; DEVICES OR ARRANGEMENTS RELATED TO TYRES
- B60C19/00—Tyre parts or constructions not otherwise provided for
-
- B—PERFORMING OPERATIONS; TRANSPORTING
- B29—WORKING OF PLASTICS; WORKING OF SUBSTANCES IN A PLASTIC STATE IN GENERAL
- B29D—PRODUCING PARTICULAR ARTICLES FROM PLASTICS OR FROM SUBSTANCES IN A PLASTIC STATE
- B29D30/00—Producing pneumatic or solid tyres or parts thereof
- B29D30/06—Pneumatic tyres or parts thereof (e.g. produced by casting, moulding, compression moulding, injection moulding, centrifugal casting)
- B29D30/08—Building tyres
- B29D30/20—Building tyres by the flat-tyre method, i.e. building on cylindrical drums
- B29D30/30—Applying the layers; Guiding or stretching the layers during application
- B29D30/3007—Applying the layers; Guiding or stretching the layers during application by feeding a sheet perpendicular to the drum axis and joining the ends to form an annular element
-
- B—PERFORMING OPERATIONS; TRANSPORTING
- B29—WORKING OF PLASTICS; WORKING OF SUBSTANCES IN A PLASTIC STATE IN GENERAL
- B29D—PRODUCING PARTICULAR ARTICLES FROM PLASTICS OR FROM SUBSTANCES IN A PLASTIC STATE
- B29D30/00—Producing pneumatic or solid tyres or parts thereof
- B29D30/06—Pneumatic tyres or parts thereof (e.g. produced by casting, moulding, compression moulding, injection moulding, centrifugal casting)
- B29D30/08—Building tyres
- B29D30/20—Building tyres by the flat-tyre method, i.e. building on cylindrical drums
- B29D30/30—Applying the layers; Guiding or stretching the layers during application
- B29D30/305—Applying the layers; Guiding or stretching the layers during application by feeding cut-to-length pieces in a direction parallel to the drum axis and placing the pieces side-by-side to form an annular element
-
- B—PERFORMING OPERATIONS; TRANSPORTING
- B60—VEHICLES IN GENERAL
- B60C—VEHICLE TYRES; TYRE INFLATION; TYRE CHANGING; CONNECTING VALVES TO INFLATABLE ELASTIC BODIES IN GENERAL; DEVICES OR ARRANGEMENTS RELATED TO TYRES
- B60C1/00—Tyres characterised by the chemical composition or the physical arrangement or mixture of the composition
- B60C1/0008—Compositions of the inner liner
-
- B—PERFORMING OPERATIONS; TRANSPORTING
- B60—VEHICLES IN GENERAL
- B60C—VEHICLE TYRES; TYRE INFLATION; TYRE CHANGING; CONNECTING VALVES TO INFLATABLE ELASTIC BODIES IN GENERAL; DEVICES OR ARRANGEMENTS RELATED TO TYRES
- B60C5/00—Inflatable pneumatic tyres or inner tubes
- B60C5/12—Inflatable pneumatic tyres or inner tubes without separate inflatable inserts, e.g. tubeless tyres with transverse section open to the rim
- B60C5/14—Inflatable pneumatic tyres or inner tubes without separate inflatable inserts, e.g. tubeless tyres with transverse section open to the rim with impervious liner or coating on the inner wall of the tyre
-
- B—PERFORMING OPERATIONS; TRANSPORTING
- B29—WORKING OF PLASTICS; WORKING OF SUBSTANCES IN A PLASTIC STATE IN GENERAL
- B29D—PRODUCING PARTICULAR ARTICLES FROM PLASTICS OR FROM SUBSTANCES IN A PLASTIC STATE
- B29D30/00—Producing pneumatic or solid tyres or parts thereof
- B29D30/06—Pneumatic tyres or parts thereof (e.g. produced by casting, moulding, compression moulding, injection moulding, centrifugal casting)
- B29D30/0681—Parts of pneumatic tyres; accessories, auxiliary operations
- B29D2030/0682—Inner liners
-
- B—PERFORMING OPERATIONS; TRANSPORTING
- B60—VEHICLES IN GENERAL
- B60C—VEHICLE TYRES; TYRE INFLATION; TYRE CHANGING; CONNECTING VALVES TO INFLATABLE ELASTIC BODIES IN GENERAL; DEVICES OR ARRANGEMENTS RELATED TO TYRES
- B60C5/00—Inflatable pneumatic tyres or inner tubes
- B60C5/12—Inflatable pneumatic tyres or inner tubes without separate inflatable inserts, e.g. tubeless tyres with transverse section open to the rim
- B60C5/14—Inflatable pneumatic tyres or inner tubes without separate inflatable inserts, e.g. tubeless tyres with transverse section open to the rim with impervious liner or coating on the inner wall of the tyre
- B60C2005/147—Inflatable pneumatic tyres or inner tubes without separate inflatable inserts, e.g. tubeless tyres with transverse section open to the rim with impervious liner or coating on the inner wall of the tyre characterised by the joint or splice
-
- Y—GENERAL TAGGING OF NEW TECHNOLOGICAL DEVELOPMENTS; GENERAL TAGGING OF CROSS-SECTIONAL TECHNOLOGIES SPANNING OVER SEVERAL SECTIONS OF THE IPC; TECHNICAL SUBJECTS COVERED BY FORMER USPC CROSS-REFERENCE ART COLLECTIONS [XRACs] AND DIGESTS
- Y10—TECHNICAL SUBJECTS COVERED BY FORMER USPC
- Y10T—TECHNICAL SUBJECTS COVERED BY FORMER US CLASSIFICATION
- Y10T152/00—Resilient tires and wheels
- Y10T152/10—Tires, resilient
- Y10T152/10495—Pneumatic tire or inner tube
Landscapes
- Engineering & Computer Science (AREA)
- Mechanical Engineering (AREA)
- Tires In General (AREA)
- Tyre Moulding (AREA)
Abstract
【解決手段】熱可塑性樹脂または熱可塑性樹脂中にエラストマーをブレンドした熱可塑性樹脂組成物からなるシート2と、前記熱可塑性樹脂または前記熱可塑性樹脂組成物と加硫接着するゴム3を積層した積層体シート1の端部をラップスプライスしてインナーライナー層10を形成させた空気入りタイヤにおいて、前記熱可塑性樹脂または前記熱可塑性樹脂中にエラストマーをブレンドした熱可塑性樹脂組成物からなるシート2として、前記端部の先端が先端先鋭化処理されたものが用いられてなることを特徴とする空気入りタイヤ。
【選択図】図1
Description
(1)熱可塑性樹脂または熱可塑性樹脂中にエラストマーをブレンドした熱可塑性樹脂組成物からなるシート2と、前記熱可塑性樹脂または前記熱可塑性樹脂組成物と加硫接着するゴム3を積層した積層体シート1の端部をラップスプライスしてインナーライナー層10を形成させた空気入りタイヤにおいて、前記熱可塑性樹脂または前記熱可塑性樹脂中にエラストマーをブレンドした熱可塑性樹脂組成物からなるシート2として、前記端部の先端が先端先鋭化処理されたものが用いられてなることを特徴とする空気入りタイヤ。
(2)前記先端先鋭化処理が、前記熱可塑性樹脂または前記熱可塑性樹脂中にエラストマーをブレンドした熱可塑性樹脂組成物からなるシート2の先端から、(t×1/3)長さ分内側に入った位置で、厚さT(μm)が、0.1t≦T≦0.8tを満足する関係を有することを特徴とする上記(1)記載の空気入りタイヤ。
T:熱可塑性樹脂または熱可塑性樹脂中にエラストマーをブレンドした熱可塑性樹脂組成物からなるシート2の先端から、(t×1/3)長さ分内側に入った位置でのシート2の厚さ(μm)
(3)前記先端先鋭化処理された部分の長さLが、L=(1.0〜20)×t(μm)長さ分内側に入った位置まであることを特徴とする上記(1)または(2)記載の空気入りタイヤ。
(4)前記先端先鋭化処理された部分の長さLが、L=(1.0〜2.5)×t(μm)長さ分、先端から内側に入った位置まであることを特徴とする上記(1)〜(3)のいずれかに記載の空気入りタイヤ。
(5)前記空気入りタイヤが加硫成形により形成されたものであり、前記先端尖鋭化処理が該加硫成形以前になされているものであることを特徴とする上記(1)〜(4)のいずれかに記載の空気入りタイヤ。
(6)前記シート2が、熱可塑性樹脂中にエラストマーをブレンドした熱可塑性樹脂組成物からなるものであり、前記先端先鋭化処理された先端部分の表面では、該エラストマーが前記熱可塑性樹脂の被膜で覆われていることを特徴とする上記(1)〜(5)のいずれかに記載の空気入りタイヤ。
(7)前記積層体シート1が1枚もしくは複数枚が用いられ、1枚の場合はその両端部が、複数枚の場合は相互の端部が、ラップスプライスされて前記インナーライナー層10を形成してなる上記(1)〜(6)のいずれかに記載の空気入りタイヤ。
インナーライナー層を構成する熱可塑性樹脂、熱可塑性樹脂組成物のシートは、実施例1および比較例1では、熱可塑性樹脂としてN6/66の厚さ130μmのシートを用いた。
インナーライナー層を構成する熱可塑性樹脂、熱可塑性樹脂組成物のシートは、実施例3では、熱可塑性樹脂としてN6/66の厚さ130μmのシートを用いた。
インナーライナー層を構成する熱可塑性樹脂、熱可塑性樹脂組成物のシートは、実施例5では、熱可塑性樹脂としてN6/66の厚さ130μmのシートを用いた。
インナーライナー層を構成する熱可塑性樹脂、熱可塑性樹脂組成物のシートは、実施例
7および比較例3では、熱可塑性樹脂としてN6/66の厚さ130μmのシートを用い
た。
さへの切断は、実施例7および同8のものは、上記の積層体シートをヒートカッタ(電熱
線カッタ(0.6mm径))を用いて、3〜5Nの張力を掛けながら、熱切断方式(切断
温度300℃)で行った。比較例3および比較例4のものは、上記の積層体シートを室温のもとで刃物式カッタを使用して行った。
たところ、実施例7品、同8品は、その先端が張力を付与されながら熱切断されているこ
とにより先端先鋭化しているものであり、実施例7でtが130μm、Tは45μm、L
は250μm、実施例8でtが130μm、Tは70μm、Lは200μmであった。な
お、実施例8品では、X光電子分光分析(XPS)で観察したところ、切断端面上にある
エラストマーのBIMSが、溶融流動した熱可塑性樹脂N6/66でほぼ完全に覆われて
いることが確認された。
形状であった。比較例4品では、切断端面上にあるエラストマーのBIMSがそのまま露
出していることが確認された。
は通常の加硫成形方法により、それぞれ上述した仕様の空気入りタイヤを製造した。
内腔のインナーライナー層のスプライス部付近でのクラックの発生、剥離の発生の有無を
、それ以外の部分での状況とも比較しながら行った。
発生し、さらに累積で50,000km走行後、クラックは熱可塑性樹脂シートとタイゴ
ム間の剥離へ進行した。その時点で、スプライス部付近以外では特に問題は発生しておら
ず良好な状態であった。
し、さらに累積で50,000km走行後、クラックは熱可塑性樹脂組成物シートとタイ
ゴム間の剥離へ進行した。その時点で、スプライス部付近以外では特に問題は発生してお
らず良好な状態であった。
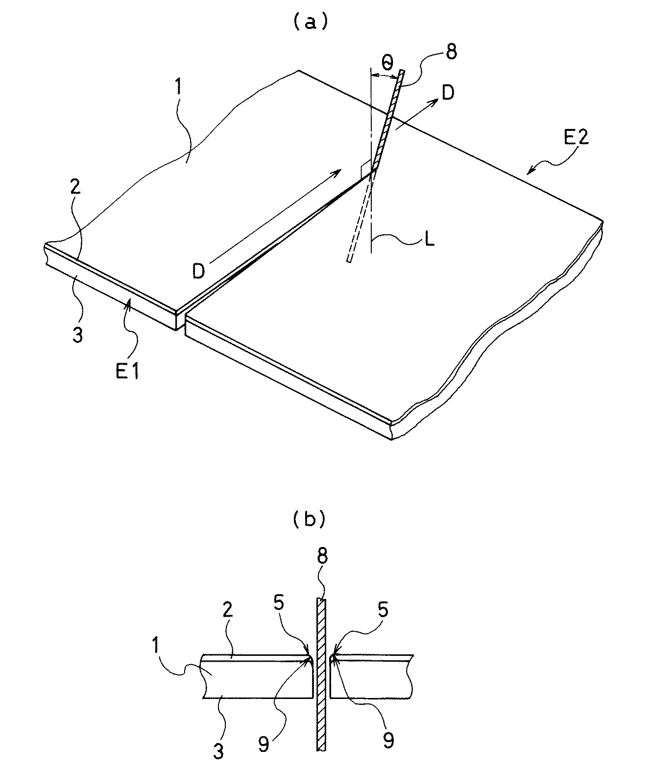
図5(a)に示した傾斜角(ヒートカッタ8の進行方向Dと同一方向の傾斜角度)θ=20°としてヒートカッタを用いた他は、実施例7、同8と同様にして積層体シートの熱切断を行い、それぞれ実施例9、実施例10とした。
0km走行後も、問題は何も発生しなかった。
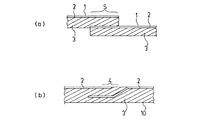
2:熱可塑性樹脂または熱可塑性樹脂とエラストマーをブレンドした熱可塑性樹脂組成物のシート
3:タイゴム層
4:熱可塑性樹脂または熱可塑性樹脂組成物のシート2の先端部付近
5:先端先鋭化処理されている部分
8:ヒートカッタ
10:インナーライナー層
11:トレッド部
12:サイドウォール部
13:ビード
14:カーカス層
15:ベルト層
L:先端先鋭化処理されている部分の長さ
S:ラップスプライス部
D:ヒートカッタ8の進行方向
X:タイヤ周方向
α:傾斜角度(ヒートカッタ8の進行方向D(切断線方向)と直角方向の傾斜角度)
θ:傾斜角度(ヒートカッタ8の進行方向D(切断線方向)と同一方向の傾斜角度)
(1)熱可塑性樹脂または熱可塑性樹脂中にエラストマーをブレンドした熱可塑性樹脂組成物からなるシート2と、該シート2の片面に前記熱可塑性樹脂または前記熱可塑性樹脂組成物と加硫接着するタイゴム3を積層した積層体シート1の端部をラップスプライスしてインナーライナー層10を形成させた空気入りタイヤにおいて、前記熱可塑性樹脂または前記熱可塑性樹脂中にエラストマーをブレンドした熱可塑性樹脂組成物からなるシート2として、前記ラップスプライスされる端部の先端が先端先鋭化処理されたものが用いられ、かつ該ラップスプライスされた部分においては、前記タイゴム3の層が、前記先鋭化処理部分と先鋭化処理を受けていない部分の双方を有した2層の該シート2部分の間に挟持されて存在していることを特徴とする空気入りタイヤ。
T:熱可塑性樹脂または熱可塑性樹脂中にエラストマーをブレンドした熱可塑性樹脂組成物からなるシート2の先端から、(t×1/3)長さ分内側に入った位置でのシート2の厚さ(μm)
(3)前記先端先鋭化処理された部分の長さLが、L=(1.0〜20)×t(μm)長さ分内側に入った位置まであることを特徴とする上記(1)または(2)記載の空気入りタイヤ。
(4)前記先端先鋭化処理された部分の長さLが、L=(1.0〜2.5)×t(μm)長さ分、先端から内側に入った位置まであることを特徴とする上記(1)〜(3)のいずれかに記載の空気入りタイヤ。
(5)前記空気入りタイヤが加硫成形により形成されたものであり、前記先端先鋭化処理が該加硫成形よりも前の工程にてなされているものであることを特徴とする上記(1)〜(4)のいずれかに記載の空気入りタイヤ。
(6)前記シート2が、熱可塑性樹脂中にエラストマーをブレンドした熱可塑性樹脂組成物からなるものであり、前記先端先鋭化処理された先端部分の表面では、該エラストマーが前記熱可塑性樹脂の被膜で覆われていることを特徴とする上記(1)〜(5)のいずれかに記載の空気入りタイヤ。
(7)前記積層体シート1が1枚もしくは複数枚が用いられ、1枚の場合はその両端部が、複数枚の場合は相互の端部が、ラップスプライスされて前記インナーライナー層10を形成してなる上記(1)〜(6)のいずれかに記載の空気入りタイヤ。
2:熱可塑性樹脂または熱可塑性樹脂とエラストマーをブレンドした熱可塑性樹脂組成物のシート
3:タイゴム層
4:熱可塑性樹脂または熱可塑性樹脂組成物のシート2の先端部付近
5:先端先鋭化処理されている部分
6:ラップスプライスされた部分のうち、先端尖鋭化処理を受けていない部分
8:ヒートカッタ
9:シート2の先端部
10:インナーライナー層
11:トレッド部
12:サイドウォール部
13:ビード
14:カーカス層
15:ベルト層
L:先端先鋭化処理されている部分の長さ
S:ラップスプライス部
D:ヒートカッタ8の進行方向
X:タイヤ周方向
α:傾斜角度(ヒートカッタ8の進行方向D(切断線方向)と直角方向の傾斜角度)
θ:傾斜角度(ヒートカッタ8の進行方向D(切断線方向)と同一方向の傾斜角度)
Claims (7)
- 熱可塑性樹脂または熱可塑性樹脂中にエラストマーをブレンドした熱可塑性樹脂組成物からなるシート2と、前記熱可塑性樹脂または前記熱可塑性樹脂組成物と加硫接着するゴム3を積層した積層体シート1の端部をラップスプライスしてインナーライナー層10を形成させた空気入りタイヤにおいて、前記熱可塑性樹脂または前記熱可塑性樹脂中にエラストマーをブレンドした熱可塑性樹脂組成物からなるシート2として、前記端部の先端が先端先鋭化処理されたものが用いられてなることを特徴とする空気入りタイヤ。
- 前記先端先鋭化処理が、前記熱可塑性樹脂または前記熱可塑性樹脂中にエラストマーをブレンドした熱可塑性樹脂組成物からなるシート2の先端から、(t×1/3)長さ分内側に入った位置で、厚さT(μm)が、0.1t≦T≦0.8tを満足する関係を有することを特徴とする請求項1記載の空気入りタイヤ。
ここで、t:熱可塑性樹脂または熱可塑性樹脂中にエラストマーをブレンドした熱可塑性樹脂組成物からなるシート2の非先端先鋭化処理部分のタイヤ周方向平均厚さ(μm)
T:熱可塑性樹脂または熱可塑性樹脂中にエラストマーをブレンドした熱可塑性樹脂組成物からなるシート2の先端から、(t×1/3)長さ分内側に入った位置でのシート2の厚さ(μm) - 前記先端先鋭化処理された部分の長さLが、L=(1.0〜20)×t(μm)長さ分内側に入った位置まであることを特徴とする請求項1または2記載の空気入りタイヤ。
- 前記先端先鋭化処理された部分の長さLが、L=(1.0〜2.5)×t(μm)長さ分、先端から内側に入った位置まであることを特徴とする請求項1〜3のいずれかに記載の空気入りタイヤ。
- 前記空気入りタイヤが加硫成形により形成されたものであり、前記先端尖鋭化処理が該加硫成形以前になされているものであることを特徴とする請求項1〜4のいずれかに記載の空気入りタイヤ。
- 前記シート2が、熱可塑性樹脂中にエラストマーをブレンドした熱可塑性樹脂組成物からなるものであり、前記先端先鋭化処理された先端部分の表面では、該エラストマーが前記熱可塑性樹脂の被膜で覆われていることを特徴とする請求項1〜5のいずれかに記載の空気入りタイヤ。
- 前記積層体シート1が1枚もしくは複数枚が用いられ、1枚の場合はその両端部が、複数枚の場合は相互の端部が、ラップスプライスされて前記インナーライナー層10を形成してなる請求項1〜6のいずれかに記載の空気入りタイヤ。
Priority Applications (6)
| Application Number | Priority Date | Filing Date | Title |
|---|---|---|---|
| JP2011149036A JP5423732B2 (ja) | 2010-12-22 | 2011-07-05 | 空気入りタイヤ |
| CN201180061365.XA CN103269878B (zh) | 2010-12-22 | 2011-09-15 | 充气轮胎 |
| EP11851185.6A EP2657044B1 (en) | 2010-12-22 | 2011-09-15 | Pneumatic tire |
| PCT/JP2011/071122 WO2012086276A1 (ja) | 2010-12-22 | 2011-09-15 | 空気入りタイヤ |
| US13/996,813 US10293644B2 (en) | 2010-12-22 | 2011-09-15 | Pneumatic tire |
| US15/923,705 US20180201074A1 (en) | 2010-12-22 | 2018-03-16 | Method for manufacturing pneumatic tire |
Applications Claiming Priority (3)
| Application Number | Priority Date | Filing Date | Title |
|---|---|---|---|
| JP2010285468 | 2010-12-22 | ||
| JP2010285468 | 2010-12-22 | ||
| JP2011149036A JP5423732B2 (ja) | 2010-12-22 | 2011-07-05 | 空気入りタイヤ |
Related Child Applications (1)
| Application Number | Title | Priority Date | Filing Date |
|---|---|---|---|
| JP2013163917A Division JP5870975B2 (ja) | 2010-12-22 | 2013-08-07 | 空気入りタイヤおよび空気入りタイヤの製造方法 |
Publications (2)
| Publication Number | Publication Date |
|---|---|
| JP2012144238A true JP2012144238A (ja) | 2012-08-02 |
| JP5423732B2 JP5423732B2 (ja) | 2014-02-19 |
Family
ID=46313561
Family Applications (1)
| Application Number | Title | Priority Date | Filing Date |
|---|---|---|---|
| JP2011149036A Active JP5423732B2 (ja) | 2010-12-22 | 2011-07-05 | 空気入りタイヤ |
Country Status (5)
| Country | Link |
|---|---|
| US (2) | US10293644B2 (ja) |
| EP (1) | EP2657044B1 (ja) |
| JP (1) | JP5423732B2 (ja) |
| CN (1) | CN103269878B (ja) |
| WO (1) | WO2012086276A1 (ja) |
Cited By (4)
| Publication number | Priority date | Publication date | Assignee | Title |
|---|---|---|---|---|
| JP2013107342A (ja) * | 2011-11-22 | 2013-06-06 | Yokohama Rubber Co Ltd:The | 空気入りタイヤ |
| JP2015040031A (ja) * | 2013-08-23 | 2015-03-02 | 横浜ゴム株式会社 | 空気入りタイヤ |
| CN104822541A (zh) * | 2012-12-03 | 2015-08-05 | 横滨橡胶株式会社 | 充气轮胎 |
| JPWO2016088365A1 (ja) * | 2014-12-01 | 2017-09-07 | 株式会社ブリヂストン | 空気入りタイヤ及び空気入りタイヤの製造方法 |
Families Citing this family (13)
| Publication number | Priority date | Publication date | Assignee | Title |
|---|---|---|---|---|
| JP4858654B1 (ja) | 2010-06-08 | 2012-01-18 | 横浜ゴム株式会社 | 空気入りタイヤおよび積層体 |
| CN103648799B (zh) * | 2011-06-29 | 2017-03-01 | 横滨橡胶株式会社 | 充气轮胎 |
| WO2013168473A1 (ja) * | 2012-05-08 | 2013-11-14 | 横浜ゴム株式会社 | 空気入りタイヤ |
| US20150343844A1 (en) * | 2012-12-03 | 2015-12-03 | The Yokohama Rubber Co., Ltd. | Pneumatic Tire |
| JP6244649B2 (ja) * | 2013-04-25 | 2017-12-13 | 横浜ゴム株式会社 | 空気入りタイヤ及びその製造方法 |
| JP6024697B2 (ja) * | 2014-04-04 | 2016-11-16 | 横浜ゴム株式会社 | 空気入りタイヤの製造方法 |
| JPWO2016060128A1 (ja) * | 2014-10-15 | 2017-08-10 | 横浜ゴム株式会社 | 空気入りタイヤ |
| US20170355228A1 (en) * | 2014-10-22 | 2017-12-14 | The Yokohama Rubber Co., Ltd. | Pneumatic Tire |
| US10399391B2 (en) | 2014-12-16 | 2019-09-03 | Triangle Tyre Co., Ltd. | Pneumatic tire having multiple built-in sealant layers and preparation thereof |
| JP6065924B2 (ja) * | 2015-01-14 | 2017-01-25 | 横浜ゴム株式会社 | 空気入りタイヤ |
| WO2017138932A1 (en) * | 2016-02-10 | 2017-08-17 | The Yokohama Rubber Co., Ltd. | Process for producing blown film |
| JP6756004B1 (ja) * | 2019-05-08 | 2020-09-16 | Toyo Tire株式会社 | タイヤおよびタイヤの製造方法 |
| CN114633410A (zh) * | 2022-03-21 | 2022-06-17 | 芜湖市精准传动系统研究院 | 一种硫化接头的采棉机打包带的接头方法 |
Citations (12)
| Publication number | Priority date | Publication date | Assignee | Title |
|---|---|---|---|---|
| JPH10129208A (ja) * | 1996-10-31 | 1998-05-19 | Yokohama Rubber Co Ltd:The | 空気入りタイヤ及びその製造方法 |
| JPH115261A (ja) * | 1997-06-18 | 1999-01-12 | Yokohama Rubber Co Ltd:The | 空気入りタイヤの製造方法 |
| WO2008029779A1 (en) * | 2006-09-04 | 2008-03-13 | The Yokohama Rubber Co., Ltd. | Method of forming inner liner for tire and process for producing pneumatic tire |
| WO2008059716A1 (en) * | 2006-11-14 | 2008-05-22 | Bridgestone Corporation | Tire, and method and device for producing tire structuring member |
| JP2009000990A (ja) * | 2007-06-25 | 2009-01-08 | Bridgestone Corp | 最内層にフィルム層を有するタイヤの製造方法及びタイヤ |
| JP2009083776A (ja) * | 2007-10-02 | 2009-04-23 | Bridgestone Corp | タイヤ用インナーライナー及びそれを用いたタイヤ |
| JP2009190448A (ja) * | 2008-02-12 | 2009-08-27 | Bridgestone Corp | タイヤ |
| JP2010005986A (ja) * | 2008-06-30 | 2010-01-14 | Bridgestone Corp | 生タイヤの成型方法 |
| JP2010089683A (ja) * | 2008-10-09 | 2010-04-22 | Yokohama Rubber Co Ltd:The | 低騒音空気入りタイヤ |
| JP2010111174A (ja) * | 2008-11-04 | 2010-05-20 | Yokohama Rubber Co Ltd:The | 空気入りタイヤ用円筒状積層体および保護フィルム付き空気入りタイヤ |
| JP2010167829A (ja) * | 2009-01-20 | 2010-08-05 | Yokohama Rubber Co Ltd:The | 空気入りタイヤ及びその製造方法 |
| JP2010269735A (ja) * | 2009-05-22 | 2010-12-02 | Yokohama Rubber Co Ltd:The | 空気入りタイヤ及びその製造方法 |
Family Cites Families (17)
| Publication number | Priority date | Publication date | Assignee | Title |
|---|---|---|---|---|
| US2323975A (en) * | 1942-05-08 | 1943-07-13 | United Shoe Machinery Corp | Machine for severing rubber |
| US2754887A (en) * | 1953-12-24 | 1956-07-17 | Firestone Tire & Rubber Co | Method of making a tubeless tire |
| US3064111A (en) * | 1960-06-27 | 1962-11-13 | Columbia Ribbon & Carbon | Plastic cutting device |
| AT312441B (de) * | 1970-02-20 | 1973-12-27 | Semperit Ag | Luftreifen |
| US4820563A (en) * | 1987-08-13 | 1989-04-11 | National-Standard Company | Tire bead assembly |
| US5613414A (en) * | 1994-10-28 | 1997-03-25 | The Goodyear Tire & Rubber Company | System for cutting a strip of elastomeric material such as a tire tread |
| JP3499331B2 (ja) * | 1995-08-30 | 2004-02-23 | 横浜ゴム株式会社 | 空気入りタイヤ |
| JP4698034B2 (ja) * | 2001-02-02 | 2011-06-08 | 株式会社ブリヂストン | 帯状部材の切断成型方法および装置 |
| JP4346842B2 (ja) * | 2001-08-15 | 2009-10-21 | 三菱重工業株式会社 | Pwr原子炉用燃料集合体の異物フィルタ |
| JP2005238759A (ja) * | 2004-02-27 | 2005-09-08 | Sumitomo Rubber Ind Ltd | 空気入りタイヤ及びその製造方法 |
| DE602005015025D1 (de) * | 2004-08-03 | 2009-07-30 | Sumitomo Rubber Ind | Verfahren zur Herstellung von Gummibestandteilen für Luftreifen |
| JP4004518B2 (ja) * | 2005-10-04 | 2007-11-07 | 横浜ゴム株式会社 | ゴム積層体を用いた空気入りタイヤ |
| DE602005018973D1 (de) * | 2005-10-27 | 2010-03-04 | Yokohama Rubber Co Ltd | Thermoplastische elastomerzusammensetzung mit geringer permeabilität |
| KR20090129440A (ko) * | 2007-02-23 | 2009-12-16 | 코닝 인코포레이티드 | 열 에지 마감처리 |
| CN101754867B (zh) * | 2007-07-23 | 2012-07-18 | 横滨橡胶株式会社 | 充气轮胎 |
| JP5071204B2 (ja) | 2008-03-31 | 2012-11-14 | 横浜ゴム株式会社 | 空気入りタイヤ |
| JP5369894B2 (ja) * | 2009-05-22 | 2013-12-18 | 横浜ゴム株式会社 | 空気入りタイヤ |
-
2011
- 2011-07-05 JP JP2011149036A patent/JP5423732B2/ja active Active
- 2011-09-15 WO PCT/JP2011/071122 patent/WO2012086276A1/ja not_active Ceased
- 2011-09-15 US US13/996,813 patent/US10293644B2/en active Active
- 2011-09-15 EP EP11851185.6A patent/EP2657044B1/en active Active
- 2011-09-15 CN CN201180061365.XA patent/CN103269878B/zh active Active
-
2018
- 2018-03-16 US US15/923,705 patent/US20180201074A1/en not_active Abandoned
Patent Citations (12)
| Publication number | Priority date | Publication date | Assignee | Title |
|---|---|---|---|---|
| JPH10129208A (ja) * | 1996-10-31 | 1998-05-19 | Yokohama Rubber Co Ltd:The | 空気入りタイヤ及びその製造方法 |
| JPH115261A (ja) * | 1997-06-18 | 1999-01-12 | Yokohama Rubber Co Ltd:The | 空気入りタイヤの製造方法 |
| WO2008029779A1 (en) * | 2006-09-04 | 2008-03-13 | The Yokohama Rubber Co., Ltd. | Method of forming inner liner for tire and process for producing pneumatic tire |
| WO2008059716A1 (en) * | 2006-11-14 | 2008-05-22 | Bridgestone Corporation | Tire, and method and device for producing tire structuring member |
| JP2009000990A (ja) * | 2007-06-25 | 2009-01-08 | Bridgestone Corp | 最内層にフィルム層を有するタイヤの製造方法及びタイヤ |
| JP2009083776A (ja) * | 2007-10-02 | 2009-04-23 | Bridgestone Corp | タイヤ用インナーライナー及びそれを用いたタイヤ |
| JP2009190448A (ja) * | 2008-02-12 | 2009-08-27 | Bridgestone Corp | タイヤ |
| JP2010005986A (ja) * | 2008-06-30 | 2010-01-14 | Bridgestone Corp | 生タイヤの成型方法 |
| JP2010089683A (ja) * | 2008-10-09 | 2010-04-22 | Yokohama Rubber Co Ltd:The | 低騒音空気入りタイヤ |
| JP2010111174A (ja) * | 2008-11-04 | 2010-05-20 | Yokohama Rubber Co Ltd:The | 空気入りタイヤ用円筒状積層体および保護フィルム付き空気入りタイヤ |
| JP2010167829A (ja) * | 2009-01-20 | 2010-08-05 | Yokohama Rubber Co Ltd:The | 空気入りタイヤ及びその製造方法 |
| JP2010269735A (ja) * | 2009-05-22 | 2010-12-02 | Yokohama Rubber Co Ltd:The | 空気入りタイヤ及びその製造方法 |
Cited By (5)
| Publication number | Priority date | Publication date | Assignee | Title |
|---|---|---|---|---|
| JP2013107342A (ja) * | 2011-11-22 | 2013-06-06 | Yokohama Rubber Co Ltd:The | 空気入りタイヤ |
| CN104822541A (zh) * | 2012-12-03 | 2015-08-05 | 横滨橡胶株式会社 | 充气轮胎 |
| JPWO2014087942A1 (ja) * | 2012-12-03 | 2017-01-05 | 横浜ゴム株式会社 | 空気入りタイヤ |
| JP2015040031A (ja) * | 2013-08-23 | 2015-03-02 | 横浜ゴム株式会社 | 空気入りタイヤ |
| JPWO2016088365A1 (ja) * | 2014-12-01 | 2017-09-07 | 株式会社ブリヂストン | 空気入りタイヤ及び空気入りタイヤの製造方法 |
Also Published As
| Publication number | Publication date |
|---|---|
| US10293644B2 (en) | 2019-05-21 |
| EP2657044A1 (en) | 2013-10-30 |
| JP5423732B2 (ja) | 2014-02-19 |
| US20130269850A1 (en) | 2013-10-17 |
| WO2012086276A1 (ja) | 2012-06-28 |
| CN103269878A (zh) | 2013-08-28 |
| CN103269878B (zh) | 2017-02-15 |
| US20180201074A1 (en) | 2018-07-19 |
| EP2657044B1 (en) | 2017-03-29 |
| EP2657044A4 (en) | 2014-10-15 |
Similar Documents
| Publication | Publication Date | Title |
|---|---|---|
| JP5423732B2 (ja) | 空気入りタイヤ | |
| JP5218711B2 (ja) | 空気入りタイヤの製造方法 | |
| JP5870975B2 (ja) | 空気入りタイヤおよび空気入りタイヤの製造方法 | |
| JP5146591B1 (ja) | 空気入りタイヤの製造方法 | |
| JP6010883B2 (ja) | 空気入りタイヤの製造方法 | |
| JP5807409B2 (ja) | 空気入りタイヤ | |
| JP2013141758A (ja) | 空気入りタイヤおよび空気入りタイヤの製造方法 | |
| JP2013107342A (ja) | 空気入りタイヤ | |
| JP5760722B2 (ja) | 空気入りタイヤおよびその製造方法 | |
| JP6003652B2 (ja) | 空気入りタイヤ | |
| JP6236855B2 (ja) | タイヤの製造方法 | |
| JP5834616B2 (ja) | 空気入りタイヤの製造方法 | |
| JP5310879B2 (ja) | 空気入りタイヤ | |
| JP5252096B2 (ja) | 空気入りタイヤ |
Legal Events
| Date | Code | Title | Description |
|---|---|---|---|
| A131 | Notification of reasons for refusal |
Free format text: JAPANESE INTERMEDIATE CODE: A131 Effective date: 20120828 |
|
| A521 | Request for written amendment filed |
Free format text: JAPANESE INTERMEDIATE CODE: A523 Effective date: 20121026 |
|
| A02 | Decision of refusal |
Free format text: JAPANESE INTERMEDIATE CODE: A02 Effective date: 20130507 |
|
| A521 | Request for written amendment filed |
Free format text: JAPANESE INTERMEDIATE CODE: A523 Effective date: 20130807 |
|
| A911 | Transfer to examiner for re-examination before appeal (zenchi) |
Free format text: JAPANESE INTERMEDIATE CODE: A911 Effective date: 20130814 |
|
| TRDD | Decision of grant or rejection written | ||
| A01 | Written decision to grant a patent or to grant a registration (utility model) |
Free format text: JAPANESE INTERMEDIATE CODE: A01 Effective date: 20131029 |
|
| A61 | First payment of annual fees (during grant procedure) |
Free format text: JAPANESE INTERMEDIATE CODE: A61 Effective date: 20131111 |
|
| R150 | Certificate of patent or registration of utility model |
Ref document number: 5423732 Country of ref document: JP Free format text: JAPANESE INTERMEDIATE CODE: R150 Free format text: JAPANESE INTERMEDIATE CODE: R150 |
|
| R250 | Receipt of annual fees |
Free format text: JAPANESE INTERMEDIATE CODE: R250 |
|
| R250 | Receipt of annual fees |
Free format text: JAPANESE INTERMEDIATE CODE: R250 |
|
| R250 | Receipt of annual fees |
Free format text: JAPANESE INTERMEDIATE CODE: R250 |
|
| R250 | Receipt of annual fees |
Free format text: JAPANESE INTERMEDIATE CODE: R250 |
|
| R250 | Receipt of annual fees |
Free format text: JAPANESE INTERMEDIATE CODE: R250 |
|
| R250 | Receipt of annual fees |
Free format text: JAPANESE INTERMEDIATE CODE: R250 |
|
| R250 | Receipt of annual fees |
Free format text: JAPANESE INTERMEDIATE CODE: R250 |
|
| S531 | Written request for registration of change of domicile |
Free format text: JAPANESE INTERMEDIATE CODE: R313531 |
|
| R350 | Written notification of registration of transfer |
Free format text: JAPANESE INTERMEDIATE CODE: R350 |
|
| R250 | Receipt of annual fees |
Free format text: JAPANESE INTERMEDIATE CODE: R250 |
|
| R250 | Receipt of annual fees |
Free format text: JAPANESE INTERMEDIATE CODE: R250 |
