JP2010082644A - 加工装置 - Google Patents

加工装置 Download PDF

Info

Publication number
JP2010082644A
JP2010082644A JP2008253221A JP2008253221A JP2010082644A JP 2010082644 A JP2010082644 A JP 2010082644A JP 2008253221 A JP2008253221 A JP 2008253221A JP 2008253221 A JP2008253221 A JP 2008253221A JP 2010082644 A JP2010082644 A JP 2010082644A
Authority
JP
Japan
Prior art keywords
imaging
holding
workpiece
processing
axis direction
Prior art date
Legal status (The legal status is an assumption and is not a legal conclusion. Google has not performed a legal analysis and makes no representation as to the accuracy of the status listed.)
Granted
Application number
JP2008253221A
Other languages
English (en)
Other versions
JP5198203B2 (ja
Inventor
Naoki Omiya
直樹 大宮
Yukiyasu Masuda
幸容 増田
Current Assignee (The listed assignees may be inaccurate. Google has not performed a legal analysis and makes no representation or warranty as to the accuracy of the list.)
Disco Corp
Original Assignee
Disco Abrasive Systems Ltd
Priority date (The priority date is an assumption and is not a legal conclusion. Google has not performed a legal analysis and makes no representation as to the accuracy of the date listed.)
Filing date
Publication date
Application filed by Disco Abrasive Systems Ltd filed Critical Disco Abrasive Systems Ltd
Priority to JP2008253221A priority Critical patent/JP5198203B2/ja
Priority to TW098125200A priority patent/TWI501301B/zh
Priority to CN2009101757272A priority patent/CN101714498B/zh
Publication of JP2010082644A publication Critical patent/JP2010082644A/ja
Application granted granted Critical
Publication of JP5198203B2 publication Critical patent/JP5198203B2/ja
Active legal-status Critical Current
Anticipated expiration legal-status Critical

Links

Images

Landscapes

  • Laser Beam Processing (AREA)
  • Dicing (AREA)

Abstract

【課題】加工手段と撮像対象物の間に光を透過しない層が存在するワークを撮像する場合においても、撮像対象物を撮像可能な加工装置を提供する。
【解決手段】加工装置であって、ワーク1を保持する透明体から形成された保持部64を有する保持手段と、該保持手段に保持された前記ワーク1を加工する加工手段と、前記保持手段と前記加工手段とを前記保持部64の表面に平行なX軸方向及び該X軸方向に垂直なY軸方向に相対的に送る加工送り手段23と、前記保持手段に保持された前記ワーク1を、前記保持部64を通して撮像する撮像手段とを具備し、該撮像手段は、前記ワーク1を撮像する撮像機構と、該撮像機構を前記保持部64に対して前記X軸方向及びY軸方向に相対的に送る撮像機構送り手段とを含み、前記加工送り手段23によって該保持手段と一体的に送られる。
【選択図】図11

Description

本発明は、半導体ウエーハを加工する加工装置に関し、特に、加工装置のアライメント撮像部の機構に関する。
半導体デバイス製造工程においては、略円盤形状である半導体ウエーハの表面に格子状に配列されたストリート(切断予定ライン)によって複数の領域が区画され、区画された各領域にIC,LSI等のデバイスが形成されている半導体ウエーハを、ストリートに沿って切断することによってデバイス毎に分割して個々の半導体チップを製造している。
半導体ウエーハのストリートに沿った切断は、通常ダイサーと称されている切削装置によって行われる。切削装置によるダイシング方法の他に、半導体ウエーハに対して透過性を有する波長のパルスレーザを用いるレーザダイシング方法も開発されている。
このレーザダイシング方法では、半導体ウエーハ等の被加工物(ワーク)に対して透過性を有する波長のパルスレーザを被加工物の内部に集光点を合わせてストリートに沿って照射することで被加工物内部に変質層を形成し、変質層が形成されることによって強度が低下したストリートに沿って外力を加えることで個々のチップに分割する(例えば、特許第3408805号公報、特開平10−305420号公報参照)。
これらの加工装置を用いて被加工物を加工する際には、被加工物の表面(回路パターンが形成されている面)を上向きにしてチャックテーブル上に被加工物を載置し、チャックテーブルの上方に配設された可視光カメラ等の撮像手段を含むアライメント手段でストリートを検出してアライメントを実施し、切削ブレード又はレーザ照射ヘッドをストリートに位置付けることで加工を実施している。
ところが、被加工物の表面を下向きに裏面を上向きにしてチャックテーブル上に被加工物を載置して加工を施す場合がある。例えば、サファイア基板上に発光デバイスを形成したLEDチップ等をレーザで加工する際には、発光デバイス層の特性を劣化させる恐れがあるため、デバイスが形成されていない裏面側からレーザビームを入射させることが好ましい。
また、表面に微細な構造物が形成された一部のMEMS(マイクロ・エレクトロ・メカニカル・システムズ)では、ブレードダイシングによる加工中の切削水が表面の構造物を破損させる恐れがあるため、構造物側を保持テープに貼着して裏面側から加工する場合がある。
さらに、CCDやCMOS等の撮像デバイス等、デバイス上に切削屑が付着することでデバイス不良となってしまう被加工物をブレードダイシングする場合においても、同様に表面を保持テープに貼着して裏面側から加工する場合がある。
そこで、このように回路パターンやストリートの形成面を下向きに保持して裏面側から加工する場合でも、アライメントを実施可能とする方法としてIRカメラを用いる方法が提案されている(特開平6−232255号公報及び特開平10−312979号公報)。
特許第3408805号公報 特開平10−305420号公報 特開平6−232255号公報 特開平10−312979号公報
ところが、アライメントパターンのある層の上にメタル層のように光を透過しない層を有する被加工物を加工する場合や、裏面にメタル層を有する被加工物を裏面から加工する場合は、メタル層側からIRカメラで撮像してもアライメントパターン又はストリートを検出することはできず、アライメントを実施することは不可能である。
本発明はこのような点に鑑みてなされたものであり、その目的とするところは、加工手段と撮像対象物の間に光を透過しない層が存在する被加工物を加工する場合においても、被加工物の構造や材質に影響されることなくアライメントを実施可能な加工装置を提供することである。
本発明によると、加工装置であって、ワークを保持する透明体から形成された保持部を有する保持手段と、該保持手段に保持された前記ワークを加工する加工手段と、前記保持手段と前記加工手段とを前記保持部の表面に平行なX軸方向及び該X軸方向に垂直なY軸方向に相対的に送る加工送り手段と、前記保持手段に保持された前記ワークを、前記保持部を通して撮像する撮像手段とを具備し、該撮像手段は、前記ワークを撮像する撮像機構と、該撮像機構を前記保持部に対して前記X軸方向及びY軸方向に相対的に送る撮像機構送り手段とを含み、前記加工送り手段によって該保持手段と一体的に送られることを特徴とする加工装置が提供される。
好ましくは、撮像機構は倍率の異なる少なくとも2つ以上の撮像カメラを有し、2つ以上の撮像カメラは保持部の同一箇所を撮像する。好ましくは、撮像機構は少なくとも1つ以上のIR撮像カメラを有している。
好ましくは、加工装置は保持手段に保持されたワークを保持部と反対側から撮像する第2撮像手段をさらに具備している。
本発明によると、加工手段と撮像対象物の間に光を透過しない層が存在するワークを加工する場合においても、ワークの構造や材質に影響されることなくアライメントを実施可能な加工装置を提供することができる。
以下、本発明の実施形態を図面を参照して詳細に説明する。図1は、チャックテーブルの下からウエーハを撮像する本発明の撮像手段(第1撮像手段)を具備したレーザ加工装置の概略構成図を示している。
レーザ加工装置2は、静止基台4上にX軸方向に移動可能に搭載された第1スライドブロック6を含んでいる。第1スライドブロック6は、ボールネジ8及びパスルモータ10から構成されるX軸送り手段12より一対のガイドレール14に沿ってX軸方向に移動される。
第1スライドブロック6上には筐体16がY軸方向に移動可能に搭載されている。筐体16はボールネジ18及びパルスモータ20から構成されるY軸送り手段(割り出し送り手段)22により一対のガイドレール24に沿ってY軸方向に移動される。
筐体16上にはチャックテーブル28が回転可能に搭載されている。図2に最もよく示されるように、筐体16の側面にはモータ26が固定されており、モータ26の出力軸に連結されたプーリー27とチャックテーブル28の枠体62の外周に渡りベルト30が巻回されている。モータ26を回転すると、プーリー27及びベルト30を介してチャックテーブル28が回転される。
チャックテーブル28は、例えばSUS等の金属から形成された円筒状枠体62と、例えばガラス等から形成された透明な保持部(保持パッド)64とから構成される。透明な保持部64には、後で詳細に説明する真空吸引源に接続された多数の吸引溝が形成されている。29は後で説明する環状フレームを載置するフレーム載置台である。
再び図1を参照すると、X軸送り手段12及びY軸送り手段22により加工送り手段23を構成する。よって、チャックテーブル28は、加工送り手段23によりX軸方向及びY軸方向に移動可能である。
静止基台4にはコラム32が立設されており、このコラム32にはレーザビーム発振手段34を収容したケーシング35が取り付けられている。レーザビーム発振手段34から発振されたレーザビームは、ケーシング35の先端に取り付けられた集光器36の対物レンズによって集光されて、チャックテーブル28に保持されている半導体ウエーハ等の被加工物(ワーク)に照射される。
ケーシング35の先端部には、集光器36とX軸方向に整列してレーザビームによりレーザ加工すべき加工領域を検出する第2撮像手段38が配設されている。第2撮像手段38は、可視光によって撮像する通常のCCD等の撮像素子の他に、ワークに赤外線を照射する赤外線照射手段と、赤外線照射手段によって照射された赤外線を捕らえる光学系と、この光学系によって捕らえられた赤外線に対応した電気信号を出力する赤外線CCD等の撮像素子から構成される赤外線撮像手段を含んでおり、撮像した画像はコントローラ40に送信される。
コントローラ40はコンピュータによって構成されており、制御プログラムによって演算処理をする中央処理装置(CPU)42と、制御プログラム等を格納するリードオンリーメモリ(ROM)44と、演算結果等を格納する読み書き可能なランダムアクセスメモリ(RAM)46と、カウンタ48と、入力インタフェース50と、出力インタフェース52とを備えている。
56は案内レール14に沿って配設されたリニアスケール54と、第1スライドブロック6に配設された図示しない読み取りヘッドとから構成される加工送り量検出手段であり、加工送り量検出手段56の検出信号はコントローラ40の入力インタフェース50に入力される。
60はガイドレール24に沿って配設されたリニアスケール58と、第2スライドブロック16に配設された図示しない読み取りヘッドとから構成される割り出し送り量検出手段であり、割り出し送り量検出手段60の検出信号はコントローラ40の入力インタフェース50に入力される。
第2撮像手段38で撮像した画像信号はコントローラ40の入力インタフェース50に入力される。一方、コントローラ50の出力インタフェース52からはパルスモータ10、パルスモータ20、レーザビーム発振手段34等に制御信号が出力される。
図3に示すように、筐体16内にはチャックテーブル28の透明な保持部64を通してワークを撮像する第1撮像手段75が配設されている。第1撮像手段75は、筐体16の底面16a上にX軸方向に移動可能に搭載された第3スライドブロック66を含んでいる。第3スライドブロック66は、ボールネジ68及びパルスモータ70から構成されるX軸移動手段72により一対のガイドレール74に沿ってX軸方向に移動される。
第3スライドブロック66上には、第4スライドブロック76がY軸方向に移動可能に搭載されている。即ち、第4スライドブロック76はボールネジ78及びパルスモータ80から構成されるY軸送り手段82により、一対のガイドレール84に沿ってY軸方向に移動される。
第4スライドブロック76にはコラム86が立設されている。コラム86にはカメラユニット88がZ軸方向に移動可能に搭載されている。即ち、カメラユニット88はボールネジ90及びパルスモータ92から構成されるZ軸移動手段94により一対のガイドレール96に沿ってZ軸方向に移動される。
X軸移動手段72、Y軸移動手段82及びZ軸移動手段94により撮像機構送り手段95を構成する。本実施形態の変形例として、カメラユニット88が第4スライドブロック76上に直接搭載されている場合には、X軸移動手段72及びY軸移動手段82により撮像機構送り手段95を構成する。
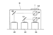
図4を参照すると、第1実施形態のカメラユニット88の概略構成図が示されている。カメラユニット88は、光源100と、低倍率カメラ102と、高倍率カメラ104を含んでいる。
光源100からの出射光は、ミラー106及びハーフミラー108で反射されてカメラユニット88の開口110、筐体16の開口17(図3参照)及びチャックテーブル28の透明保持部64を通してチャックテーブル28に保持された半導体ウエーハ等のワークに下側から照射される。
低倍率カメラ102は、ミラー114、ハーフミラー112、ハーフミラー108、チャックテーブル28の透明保持部64を介してワークの所定箇所を撮像し、高倍率カメラ104は、ハーフミラー112、ハーフミラー108、チャックテーブル28の透明保持部64を介してワークの前記所定箇所を撮像する。
本実施形態のカメラユニット88では、複数のカメラ102,104がワークの同一箇所を撮像するので、例えば低倍率カメラ102から高倍率カメラ104に切り替える際に軸の送りが必要なく、制御が容易になるとともにカメラユニット88を送る軸のストロークを小さくすることができる。
図5を参照すると、第2実施形態のカメラユニット88Aの概略構成図が示されている。カメラユニット88Aは、光源100と、低倍率IRカメラ116と、高倍率IRカメラ118と、低倍率カメラ102と、高倍率カメラ104を含んでいる。
図4に示した実施形態と同様に、光源100の出射光は、ミラー106、ハーフミラー108、開口110、筐体16の開口17及びチャックテーブル28の透明保持部64を介してチャックテーブル28に保持されたワークに照射される。
ミラー120はエアシリンダ122により矢印A方向に移動可能に配設されており、ミラー124はエアシリンダ126により矢印A方向に移動可能に配設されており、ミラー128はエアシリンダ130により矢印A方向に移動可能に配設されている。ミラー132,134及び136は固定的に配設されている。
低倍率IRカメラは116で撮像する場合には、図5に示したカメラ配置により撮像する。即ち、ミラー132、ミラー120、ハーフミラー108、チャックテーブル28の透明保持部64を介して、チャックテーブル28に保持されたワークの所定箇所を撮像する。
高倍率IRカメラ118で撮像する場合には、エアシリンダ122を駆動してミラー120を右手方向に退避させる。これにより、高倍率IRカメラ118は、ミラー134、ミラー124、ハーフミラー108及びチャックテーブル28の透明保持部64を介して、チャックテーブル28に保持されたワークの前記所定箇所を撮像することができる。
低倍率カメラ102で撮像する場合には、エアシリンダ122及び126を駆動して、ミラー120及び124を右手方向に退避させる。これにより、低倍率カメラ102は、ミラー136、ミラー128、ハーフミラー108及びチャックテーブル28の透明保持部64を介して、チャックテーブル28に保持されたワークの前記所定箇所を撮像することができる。
高倍率カメラ104で撮像する場合には、エアシリンダ122,126,130を駆動してミラー120,124,128を右手方向に退避させる。これにより、高倍率カメラ104は、ハーフミラー108、チャックテーブル28の透明保持部64を介して、チャックテーブル28に保持されたワークの前記所定箇所を撮像することができる。本実施形態のカメラユニット88Aによると、可視光を透過しないワークのハーフカット等でもカット状態を確認できる。
図6を参照すると、レーザ加工装置2による加工対象である半導体ウエーハ1の表面側斜視図が示されている。ウエーハ1の表面1aには格子状に形成されたストリート(分割予定ライン)より区画された各領域にデバイス5が形成されている。各デバイス5にはアライメント時に検出対象となるターゲットパターン7が形成されている。
図1に示したレーザ加工装置2による加工では、ウエーハ1はその表面1a側を下にしてダイシングテープ(粘着テープ)Tに貼着され、ダイシングテープTの外周部は図7に示すように環状フレームFに貼着される。よって、半導体ウエーハ1はその裏面1bを上にした図7の状態でチャックテーブル28上に搭載される。
図8を参照すると、ダイシングテープTを介して環状フレームFに搭載された他の種類の半導体ウエーハ1Aの裏面側斜視図が示されている。半導体ウエーハ1Aの裏面にはメタル層9が形成されている。よって、このような半導体ウエーハ1Aのターゲットパターン7の撮像は第2撮像手段38がIRカメラを含んでいても不可能である。
しかし、図3に示す第1撮像手段75は半導体ウエーハ1Aの下側に配設されていて、チャックテーブル28の透明保持部64を介して半導体ウエーハ1Aを撮像するため、ターゲットパターン7を容易に撮像することができる。
図9を参照すると、LEDウエーハ等の小径の複数のワーク11がその表面側をダイシングテープTに貼着され、ダイシングテープTの周辺部が環状フレームFに貼着された状態が示されている。
このように複数のワーク11がその表面を下にしてダイシングテープTに貼着されている場合には、1つのワーク11の加工をレーザ加工装置2で行っている際に、次のワーク11のアライメントを第1撮像手段75で行うことができる。
本発明の加工装置の加工対象となるワークは、図6乃至図9に示した半導体ウエーハ等に限定されるものではなく、チップ実装用としてのウエーハの裏面に設けられるDAF(ダイ・アタッチ・フィルム)等の粘着部材、あるいは半導体製品のパッケージ、セラミック、ガラス系またはシリコン系の基板、各種電子部品、各種ドライバ、さらには、ミクロンオーダーの精度が要求される各種加工材料を挙げることができる。
図10を参照すると、チャックテーブル28へのバキューム配管138の取り付け状態の平面図が示されている。図10(A)でチャックテーブル28が矢印B方向に回転されると、バキューム配管138は図10(B)に示すようにチャックテーブル28と共に回転する。
図11を参照すると、図1に示した第1実施形態の筐体16及びチャックテーブル28部分の縦断面図が示されている。この図では、加工送り手段23及び撮像機構送り手段95は概略的に示されている。
図12は図11のC部分の拡大断面図であり、半導体ウエーハ1はその表面1aを下側にしてダイシングテープTに貼着され、環状フレームFがフレーム載置台29上に搭載されている。
チャックテーブル28の保持部(保持面)64はガラス等の透明物質から形成されており、複数の吸引溝140を有している。吸引溝140はバキューム配管138に接続されている。
図11に示すように、チャックテーブル28の透明保持部64に保持された半導体ウエーハ1の下側にカメラユニット88が配設されているので、集光器36と撮像対象物である半導体ウエーハ1のターゲットパターン7との間にメタル層等の光を透過しない層が存在するワークを加工する場合においても、第1撮像手段75を構成するカメラユニット(撮像機構)88によりターゲットパターンを容易に撮像することができ、必要とするアライメントを実施することができる。
図13に示すように、保持部64は、細孔または吸引溝等の複数の吸引路が形成された吸引路形成領域64aと、吸引路の形成されていない十字形状の吸引路非形成領域64bと、吸引路の形成されていない外周領域64cとを有している。
カメラユニット88によるターゲットパターンの撮像は、ターゲットパターンをクリアに捕らえるために、吸引路非形成領域64bを通して行うのが好ましい。保持部64は、例えば石英ガラス、ホウケイ酸ガラス、サファイア、フッ化カルシウム、フッ化リチウム、又はフッ化マグネシウムのいずれかから形成される。
また、チャックテーブル28の下にカメラユニット88が配設されているので、チャックテーブル28は半導体ウエーハ1を保持した瞬間にアライメントを実施可能である。さらに、カメラユニット88はチャックテーブル28の下でレーザ加工手段とは独立して移動できるので、いつでも切削溝の蛇行、裏面チッピング、カーフ位置等の加工状態を確認することができる。但し、アライメントと焦点位置が違うものを撮像するためには、Z軸送り手段94を作動して焦点位置を合わせる必要がある。
本明細書類で使用する「透明」という用語は、可視光域、またはそれ以外の波長域の光を少なくとも一部透過させる特性を言う。透明な媒体を挟んで対向する物体は、透明な媒介を通して視認可能である。
また、図1に示した実施形態のレーザ加工装置2はチャックテーブル28の上側に配設された第2撮像手段38を具備しているので、カメラユニット88でターゲットパターン7が撮像できないウエーハでも、ターゲットパターン7の撮像が可能である。
図14を参照すると、本発明第2実施形態の筐体16及びチャックテーブル28部分の縦断面図が示されている。本実施形態の筐体16は、DDM(ダイレクト・ドライブ・モーター)142上に搭載されている。よって、第2撮像手段75を構成するカメラユニット88は回転可能である。
DDM142は中心穴144を有しており、この中心穴144中にバキューム配管148が配設されており、筐体16には保持部(保持面)64に形成された吸引溝140とバキューム配管148に接続された吸引路146が形成されている。
本実施形態では、半導体ウエーハ1はその表面1を下にしてチャックテーブル28の保持部64により直接吸引保持される。半導体ウエーハ1は環状フレームに支持されていないため、半導体ウエーハ1はチャックテーブル28とともに回転可能である。本実施形態でも、第1の撮像手段は75を構成するカメラユニット88はX,Y,Z方向に移動可能であるので、上述した第1実施形態と同様な作用効果を達成することができる。
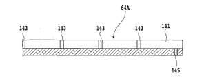
図15を参照すると、他の実施形態の保持部64Aの縦断面図が示されている。保持部64Aはガラス等の透明物質から形成されており、複数の横方向吸引溝141と横方向吸引溝141に直交する複数の縦方向吸引溝143を有している。符号145はバキューム配管138に接続する吸引溝である。
以下、第1撮像手段75を利用したアライメント作業について説明する。図11に示すように、筐体16上に環状フレームFを載置し、真空吸引源を作動してチャックテーブル28の保持部64により半導体ウエーハ1を吸引保持する。
第1撮像手段75はチャックテーブル28の保持部64の真下に位置しているため、チャックテーブル28の保持部64上に半導体ウエーハ1を搭載すると、直ちに第1撮像手段75のカメラユニット88により半導体ウエーハ1を透明保持部64を通して撮像して、アライメントを実施可能である。
第1撮像手段75が切削加工すべきストリートを検出するアライメントの際のパターンマッチングに用いる画像は、切削加工前に予め取得しておく必要がある。そこで、チャックテーブル28の透明保持部64に半導体ウエーハ1が保持されると、光源100が点灯されて半導体ウエーハ1を下から照明し、まず低倍率カメラ102で透明保持部64を通して半導体ウエーハ1の表面を撮像し、撮像した画像を図示しないLCD等のディスプレイに表示させる。
レーザ加工装置2のオペレータは、図示しない操作パネルを操作することにより、X軸送り手段72及びY軸送り手段82を駆動して、パターンマッチングのターゲットとなるターゲットパターン7を探索する。
オペレータがターゲットパターン7を決定すると、高倍率カメラ104に切り替えてターゲットパターン近辺を撮像し、ターゲットパターン7を含む画像はレーザ加工装置2のコントローラ40に備えたRAM46に記憶される。
また、そのターゲットパターン7とストリート3の中心線との距離を座標値等によって求め、その値もRAM46に記憶させておく。更に、隣り合うストリートとストリートとの間隔(ストリートピッチ)を座標値等によって求め、ストリートピッチの値についてもコントローラ40のRAM46に記憶させておく。
半導体ウエーハ1のストリート3に沿った切断の際には、記憶させたターゲットパターンの画像と実際に第1撮像手段75により撮像されて取得した画像とのパターンマッチングを実施する。このパターンマッチングは、X軸方向に伸長する同一ストリート3に沿った互いに離間したA点及びB点の2点で実施する。
A点でのパターンマッチングが完了すると、カメラユニット88をX軸方向に移動させてA点とX軸方向に相当離れたB点でのパターンマッチングを行う。この時、A点からB点まで一気に移動してパターンマッチングを行うのではなく、B点への移動途中の複数箇所で必要に応じてパターンマッチングを実施して、Y軸方向のずれを補正すべくモータ26を駆動してチャックテーブル28を僅かに回転させてθ補正を行って、最終的にB点でのパターンマッチングを実施する。
A点及びB点でのパターンマッチングが完了すると、2つのターゲットパターン7を結んだ直線はストリート3と平行となったことになり、ターゲットパターン7とストリート3の中心線の距離分だけチャックテーブル28をY軸方向に移動させることにより、切削しようとするストリート3と集光器(レーザ照射ヘッド)36との位置合わせを行い、アライメントが完了する。
上述した実施形態によると、集光器(レーザ照射ヘッド)36と撮像対象物のワークとの間に光を透過しない層が存在するワークを加工する場合においても、ワークの構造や材質に影響されることなくアライメントを実施可能である。
例えば、裏面にメタル層のような赤外線(IR)を透過しない層が存在するワークを裏面から加工する場合においても、表面側の分割予定ラインを撮像してアライメントを実施可能である。
また、ワークを撮像するカメラユニット88は常にチャックテーブル28の下にいるので、ワークをチャックテーブル28が保持した瞬間に保持部64を通してカメラユニット88でワークを撮像してアライメントを行うことができる。
更に、カメラユニット88はチャックテーブル28の下でレーザ照射ヘッド36とは独立して動けるので、いつでも加工状態(蛇行、裏面チップ、カーフ位置等)を確認することができる。
倍率の異なる複数の撮像カメラが保持部64の同一箇所を撮像するので、例えば小倍率から大倍率にカメラを切換える際に軸の送りが必要なく、切替制御が容易になる。カメラユニット88AがIR撮像カメラを含む場合には、可視光を透過しないワークのハーフカット等でもカット状態を確認できる。
本発明の加工装置は図1に示したレーザ加工装置2に限定されるものではなく、図16に示したような切削装置(ダイシング装置)152にも本発明の第1撮像手段75を同様に適用可能である。
切削装置152のベース4には垂直コラム154が立設されており、この垂直コラム154に切削ユニット(切削手段)156がZ軸方向に移動可能に搭載されている。即ち、切削ユニット156のハウジング158は、ボールネジ162及びパルスモータ164から構成されるZ軸送り手段166により一対のガイドレール168に沿ってZ軸方向に移動される。
ハウジング158中には図示しないスピンドル及びスピンドルを回転駆動するモータが収容されており、スピンドルの先端には切削ブレード160が着脱可能に装着されている。本実施形態の他の構成は、図1に示したレーザ加工装置2と同様であるので、その説明を省略する。
本発明第1実施形態のレーザ加工装置の概観斜視図である。 筐体及びチャックテーブル部分の斜視図である。 筐体内に収容された第1撮像手段の斜視図である。 第1実施形態のカメラユニットの概略構成図である。 第2実施形態のカメラユニットの概略構成図である。 半導体ウエーハの表面側斜視図である。 ダイシングテープを介して環状フレームに搭載された半導体ウエーハの裏面側斜視図である。 ダイシングテープを介して環状フレームに搭載された裏面にメタル層を有する半導体ウエーハの裏面側斜視図である。 複数のワークがダイシングテープを介して環状フレームに搭載された状態の斜視図である。 チャックテーブルとバキューム配管の接続状態を示す平面図である。 第1実施形態の筐体及びチャックテーブル部分の縦断面図である。 図11のC部分の拡大断面図である。 保持部の平面図である。 第2実施形態の筐体及びチャックテーブル部分の縦断面図である。 保持部の他の実施形態の縦断面図である。 本発明の第1の撮像手段を具備した切削装置の概略斜視図である。
符号の説明
1 半導体ウエーハ
2 レーザ加工装置
5 デバイス
7 ターゲットパターン
9 メタル層
12 X軸送り手段
16 筐体
22 Y軸送り手段
23 加工送り手段
26 モータ
28 チャックテーブル
34 レーザビーム発振手段
36 集光器
38 第2撮像手段
64 保持部(保持面)
72 X軸送り手段
75 第1撮像手段
82 Y軸送り手段
88 カメラユニット
94 Z軸送り手段
100 光源
102 低倍率カメラ
104 高倍率カメラ
108,112 ハーフミラー
116 低倍率IRカメラ
118 高倍率IRカメラ
122,126,130 エアシリンダ
142 ダイレクト・ドライブ・モータ
152 切削装置
160 切削ブレード

Claims (7)

  1. 加工装置であって、
    ワークを保持する透明体から形成された保持部を有する保持手段と、
    該保持手段に保持された前記ワークを加工する加工手段と、
    前記保持手段と前記加工手段とを前記保持部の表面に平行なX軸方向及び該X軸方向に垂直なY軸方向に相対的に送る加工送り手段と、
    前記保持手段に保持された前記ワークを、前記保持部を通して撮像する撮像手段とを具備し、
    該撮像手段は、前記ワークを撮像する撮像機構と、該撮像機構を前記保持部に対して前記X軸方向及びY軸方向に相対的に送る撮像機構送り手段とを含み、前記加工送り手段によって該保持手段と一体的に送られることを特徴とする加工装置。
  2. 前記撮像機構は少なくとも2つ以上の撮像カメラを有する請求項1記載の加工装置。
  3. 前記2つ以上の撮像カメラはそれぞれ倍率が相違し、前記保持部の同一箇所を撮像する請求項1または2記載の加工装置。
  4. 前記撮像機構は少なくとも1つ以上のIR撮像カメラを有する請求項1〜3のいずれかに記載の加工装置。
  5. 前記保持手段に保持された前記ワークを、前記保持部側と反対側から撮像する第2撮像手段をさらに具備した請求項1〜4のいずれかに記載の加工装置。
  6. 前記保持部は、石英ガラス、ホウケイ酸ガラス、サファイア、フッ化カルシウム、フッ化リチウム、フッ化マグネシウムからなる群から選択される物質から構成される請求項1〜5のいずれかに記載の加工装置。
  7. 前記保持部は、複数の吸引路を有する吸引路形成領域と、吸引路の形成されていない吸引路非形成領域とを有し、前記撮像機構による前記ワークの撮像は、該吸引路非形成領域を通して行う請求項1〜6のいずれかに記載の加工装置。
JP2008253221A 2008-09-30 2008-09-30 加工装置 Active JP5198203B2 (ja)

Priority Applications (3)

Application Number Priority Date Filing Date Title
JP2008253221A JP5198203B2 (ja) 2008-09-30 2008-09-30 加工装置
TW098125200A TWI501301B (zh) 2008-09-30 2009-07-27 Processing device (2)
CN2009101757272A CN101714498B (zh) 2008-09-30 2009-09-29 加工装置

Applications Claiming Priority (1)

Application Number Priority Date Filing Date Title
JP2008253221A JP5198203B2 (ja) 2008-09-30 2008-09-30 加工装置

Publications (2)

Publication Number Publication Date
JP2010082644A true JP2010082644A (ja) 2010-04-15
JP5198203B2 JP5198203B2 (ja) 2013-05-15

Family

ID=42247124

Family Applications (1)

Application Number Title Priority Date Filing Date
JP2008253221A Active JP5198203B2 (ja) 2008-09-30 2008-09-30 加工装置

Country Status (3)

Country Link
JP (1) JP5198203B2 (ja)
CN (1) CN101714498B (ja)
TW (1) TWI501301B (ja)

Cited By (27)

* Cited by examiner, † Cited by third party
Publication number Priority date Publication date Assignee Title
CN102000911A (zh) * 2010-07-29 2011-04-06 西安交通大学 一种五轴联动激光加工机床
JP2011165932A (ja) * 2010-02-10 2011-08-25 Disco Abrasive Syst Ltd 裏面撮像テーブルユニット
CN102375447A (zh) * 2010-08-13 2012-03-14 株式会社迪思科 远程操作系统
JP2012179644A (ja) * 2011-03-02 2012-09-20 Disco Corp レーザ加工装置
JP2012199374A (ja) * 2011-03-22 2012-10-18 Fujitsu Semiconductor Ltd 半導体チップの製造方法
JP2012232316A (ja) * 2011-04-28 2012-11-29 Disco Corp レーザー加工装置
KR101211104B1 (ko) * 2010-08-18 2012-12-18 유병소 레이저 가공 방법 및 레이저 가공 장치
JP2012256749A (ja) * 2011-06-09 2012-12-27 Disco Abrasive Syst Ltd 切削装置
KR101326398B1 (ko) * 2011-01-25 2013-11-11 미쓰보시 다이야몬도 고교 가부시키가이샤 피가공물 적재 고정용 테이블 및 피가공물 적재 고정용 글래스 척
JP2015170697A (ja) * 2014-03-06 2015-09-28 株式会社東京精密 レーザーダイシング装置及びレーザーダイシング方法
CN111014965A (zh) * 2019-12-27 2020-04-17 苏州朗坤自动化设备股份有限公司 一种用于笔记本的激光镭射设备
CN111376400A (zh) * 2018-12-28 2020-07-07 颀中科技(苏州)有限公司 晶圆切割机及晶圆切割机的使用方法
JP2020136490A (ja) * 2019-02-19 2020-08-31 株式会社ディスコ 切削装置及び半導体パッケージの製造方法
KR20200122234A (ko) 2019-04-17 2020-10-27 가부시기가이샤 디스코 피가공물의 가공 방법, 열 압착 방법
JP2021030284A (ja) * 2019-08-27 2021-03-01 株式会社ディスコ レーザー加工装置の加工結果の良否判定方法
JP2021089938A (ja) * 2019-12-03 2021-06-10 株式会社ディスコ 加工装置
CN113039038A (zh) * 2018-10-30 2021-06-25 浜松光子学株式会社 激光加工装置及激光加工方法
DE102021200658A1 (de) 2020-01-28 2021-07-29 Disco Corporation Schneidvorrichtung und schneidverfahren
CN113199651A (zh) * 2020-01-30 2021-08-03 株式会社迪思科 加工方法和加工装置
JP2021160056A (ja) * 2020-04-02 2021-10-11 株式会社ディスコ 切削装置
JP2022010788A (ja) * 2020-06-29 2022-01-17 株式会社ディスコ 加工装置
JP2022010789A (ja) * 2020-06-29 2022-01-17 株式会社ディスコ 加工装置
US11393709B2 (en) 2019-04-18 2022-07-19 Disco Corporation Processing apparatus and workpiece processing method
DE102023201111A1 (de) 2022-02-18 2023-08-24 Disco Corporation Wafertransferverfahren und wafertransfervorrichtung
US11897056B2 (en) 2018-10-30 2024-02-13 Hamamatsu Photonics K.K. Laser processing device and laser processing method
DE102024201580A1 (de) 2023-02-28 2024-08-29 Disco Corporation Bearbeitungsverfahren für ein werkstück
US12275091B2 (en) 2018-10-30 2025-04-15 Hamamatsu Photonics K.K. Laser processing apparatus and laser processing method

Families Citing this family (11)

* Cited by examiner, † Cited by third party
Publication number Priority date Publication date Assignee Title
JP6494451B2 (ja) * 2015-07-06 2019-04-03 株式会社ディスコ チャックテーブル及び洗浄装置
CN105215557A (zh) * 2015-09-30 2016-01-06 马瑞利汽车零部件(芜湖)有限公司 汽车车灯透镜激光切割机
CN105345275B (zh) * 2015-11-22 2017-07-07 苏州光韵达光电科技有限公司 一种导光板的激光加工系统
JP6683500B2 (ja) * 2016-02-24 2020-04-22 株式会社ディスコ 検査装置及びレーザー加工装置
JP6998232B2 (ja) * 2018-02-20 2022-01-18 株式会社ディスコ 加工装置
JP2020131239A (ja) * 2019-02-20 2020-08-31 富士ゼロックス株式会社 加工装置、加工システム及びプログラム
CN110977189B (zh) * 2019-11-18 2021-07-13 济南邦德激光股份有限公司 一种激光切割系统及其切割方法
JP7430449B2 (ja) * 2020-02-04 2024-02-13 株式会社ディスコ 加工装置
JP7438009B2 (ja) * 2020-04-28 2024-02-26 浜松ホトニクス株式会社 レーザ加工装置
CN112077435B (zh) * 2020-07-24 2022-11-25 大族激光科技产业集团股份有限公司 一种陶瓷基板激光加工治具和激光加工设备
US12270768B2 (en) 2020-09-16 2025-04-08 Globalwafers Co., Ltd. Method of processing a cleaved semiconductor wafer

Citations (5)

* Cited by examiner, † Cited by third party
Publication number Priority date Publication date Assignee Title
JP2005166991A (ja) * 2003-12-03 2005-06-23 Disco Abrasive Syst Ltd アライメント装置及び加工装置
JP2005223270A (ja) * 2004-02-09 2005-08-18 Sony Corp 半導体薄板のスクライブ装置
JP2007055197A (ja) * 2005-08-26 2007-03-08 Nagase Integrex Co Ltd 脆性材料の割断装置
JP2008187148A (ja) * 2007-01-31 2008-08-14 Fuji Electric Device Technology Co Ltd 半導体装置の製造方法およびマーキング装置
JP2008200694A (ja) * 2007-02-19 2008-09-04 Disco Abrasive Syst Ltd ウエーハの加工方法およびレーザー加工装置

Family Cites Families (8)

* Cited by examiner, † Cited by third party
Publication number Priority date Publication date Assignee Title
US6032997A (en) * 1998-04-16 2000-03-07 Excimer Laser Systems Vacuum chuck
KR100391264B1 (ko) * 2001-07-31 2003-07-12 삼성전자주식회사 웨이퍼 절단 장치
DE10349847B3 (de) * 2003-10-25 2005-05-25 Mühlbauer Ag Positionierungsvorrichtung und -Verfahren für die Übertragung elektronischer Bauteile
JP4456421B2 (ja) * 2004-06-22 2010-04-28 株式会社ディスコ 加工装置
JP2007134454A (ja) * 2005-11-09 2007-05-31 Toshiba Corp 半導体装置の製造方法
JP5065637B2 (ja) * 2006-08-23 2012-11-07 株式会社ディスコ ウエーハの加工方法
JP5060762B2 (ja) * 2006-10-19 2012-10-31 株式会社ディスコ レーザー加工装置
JP2008109015A (ja) * 2006-10-27 2008-05-08 Disco Abrasive Syst Ltd ウエーハの分割方法および分割装置

Patent Citations (5)

* Cited by examiner, † Cited by third party
Publication number Priority date Publication date Assignee Title
JP2005166991A (ja) * 2003-12-03 2005-06-23 Disco Abrasive Syst Ltd アライメント装置及び加工装置
JP2005223270A (ja) * 2004-02-09 2005-08-18 Sony Corp 半導体薄板のスクライブ装置
JP2007055197A (ja) * 2005-08-26 2007-03-08 Nagase Integrex Co Ltd 脆性材料の割断装置
JP2008187148A (ja) * 2007-01-31 2008-08-14 Fuji Electric Device Technology Co Ltd 半導体装置の製造方法およびマーキング装置
JP2008200694A (ja) * 2007-02-19 2008-09-04 Disco Abrasive Syst Ltd ウエーハの加工方法およびレーザー加工装置

Cited By (56)

* Cited by examiner, † Cited by third party
Publication number Priority date Publication date Assignee Title
JP2011165932A (ja) * 2010-02-10 2011-08-25 Disco Abrasive Syst Ltd 裏面撮像テーブルユニット
CN102000911A (zh) * 2010-07-29 2011-04-06 西安交通大学 一种五轴联动激光加工机床
CN102375447A (zh) * 2010-08-13 2012-03-14 株式会社迪思科 远程操作系统
KR101211104B1 (ko) * 2010-08-18 2012-12-18 유병소 레이저 가공 방법 및 레이저 가공 장치
KR101326398B1 (ko) * 2011-01-25 2013-11-11 미쓰보시 다이야몬도 고교 가부시키가이샤 피가공물 적재 고정용 테이블 및 피가공물 적재 고정용 글래스 척
JP2012179644A (ja) * 2011-03-02 2012-09-20 Disco Corp レーザ加工装置
JP2012199374A (ja) * 2011-03-22 2012-10-18 Fujitsu Semiconductor Ltd 半導体チップの製造方法
JP2012232316A (ja) * 2011-04-28 2012-11-29 Disco Corp レーザー加工装置
JP2012256749A (ja) * 2011-06-09 2012-12-27 Disco Abrasive Syst Ltd 切削装置
JP2015170697A (ja) * 2014-03-06 2015-09-28 株式会社東京精密 レーザーダイシング装置及びレーザーダイシング方法
US11897056B2 (en) 2018-10-30 2024-02-13 Hamamatsu Photonics K.K. Laser processing device and laser processing method
CN113039038B (zh) * 2018-10-30 2023-10-20 浜松光子学株式会社 激光加工装置及激光加工方法
US12275091B2 (en) 2018-10-30 2025-04-15 Hamamatsu Photonics K.K. Laser processing apparatus and laser processing method
US11833611B2 (en) 2018-10-30 2023-12-05 Hamamatsu Photonics K.K. Laser machining device
CN113039038A (zh) * 2018-10-30 2021-06-25 浜松光子学株式会社 激光加工装置及激光加工方法
CN111376400A (zh) * 2018-12-28 2020-07-07 颀中科技(苏州)有限公司 晶圆切割机及晶圆切割机的使用方法
JP2020136490A (ja) * 2019-02-19 2020-08-31 株式会社ディスコ 切削装置及び半導体パッケージの製造方法
JP7300846B2 (ja) 2019-02-19 2023-06-30 株式会社ディスコ 切削装置及び半導体パッケージの製造方法
US11823942B2 (en) 2019-04-17 2023-11-21 Disco Corporation Thermocompression bonding method for workpiece
KR20200122234A (ko) 2019-04-17 2020-10-27 가부시기가이샤 디스코 피가공물의 가공 방법, 열 압착 방법
DE102020204897B4 (de) 2019-04-17 2024-09-05 Disco Corporation Bearbeitungsverfahren und thermokompressionsverbindungsverfahren für ein werkstück
US11222807B2 (en) 2019-04-17 2022-01-11 Disco Corporation Processing method and thermocompression bonding method for workpiece
US12148649B2 (en) 2019-04-18 2024-11-19 Disco Corporation Processing apparatus and workpiece processing method
US11393709B2 (en) 2019-04-18 2022-07-19 Disco Corporation Processing apparatus and workpiece processing method
JP7382762B2 (ja) 2019-08-27 2023-11-17 株式会社ディスコ レーザー加工装置の加工結果の良否判定方法
JP2021030284A (ja) * 2019-08-27 2021-03-01 株式会社ディスコ レーザー加工装置の加工結果の良否判定方法
JP7551232B2 (ja) 2019-12-03 2024-09-17 株式会社ディスコ 加工装置
KR20210069574A (ko) * 2019-12-03 2021-06-11 가부시기가이샤 디스코 가공 장치
JP2021089938A (ja) * 2019-12-03 2021-06-10 株式会社ディスコ 加工装置
KR102860798B1 (ko) * 2019-12-03 2025-09-16 가부시기가이샤 디스코 가공 장치
CN111014965A (zh) * 2019-12-27 2020-04-17 苏州朗坤自动化设备股份有限公司 一种用于笔记本的激光镭射设备
CN113246324B (zh) * 2020-01-28 2025-12-05 株式会社迪思科 切削装置和切削方法
US11745374B2 (en) 2020-01-28 2023-09-05 Disco Corporation Cutting apparatus and cutting method
CN113246324A (zh) * 2020-01-28 2021-08-13 株式会社迪思科 切削装置和切削方法
KR20210096555A (ko) 2020-01-28 2021-08-05 가부시기가이샤 디스코 절삭 장치 및 절삭 방법
DE102021200658A1 (de) 2020-01-28 2021-07-29 Disco Corporation Schneidvorrichtung und schneidverfahren
CN113199651B (zh) * 2020-01-30 2025-10-21 株式会社迪思科 加工方法和加工装置
JP2021120166A (ja) * 2020-01-30 2021-08-19 株式会社ディスコ 加工方法及び加工装置
US12122061B2 (en) 2020-01-30 2024-10-22 Disco Corporation Processing method and processing apparatus
KR20210097619A (ko) 2020-01-30 2021-08-09 가부시기가이샤 디스코 가공 방법 및 가공 장치
DE102021200656A1 (de) 2020-01-30 2021-08-05 Disco Corporation Bearbeitungsverfahren und bearbeitungsvorrichtung
CN113199651A (zh) * 2020-01-30 2021-08-03 株式会社迪思科 加工方法和加工装置
DE102021200656B4 (de) 2020-01-30 2024-05-23 Disco Corporation Bearbeitungsverfahren und bearbeitungsvorrichtung
KR20210123211A (ko) * 2020-04-02 2021-10-13 가부시기가이샤 디스코 절삭 장치
JP7430451B2 (ja) 2020-04-02 2024-02-13 株式会社ディスコ 切削装置
KR102822664B1 (ko) 2020-04-02 2025-06-18 가부시기가이샤 디스코 절삭 장치
CN113492465A (zh) * 2020-04-02 2021-10-12 株式会社迪思科 切削装置
JP2021160056A (ja) * 2020-04-02 2021-10-11 株式会社ディスコ 切削装置
JP7475781B2 (ja) 2020-06-29 2024-04-30 株式会社ディスコ 加工装置
JP7475782B2 (ja) 2020-06-29 2024-04-30 株式会社ディスコ 加工装置
JP2022010789A (ja) * 2020-06-29 2022-01-17 株式会社ディスコ 加工装置
JP2022010788A (ja) * 2020-06-29 2022-01-17 株式会社ディスコ 加工装置
KR20230124483A (ko) 2022-02-18 2023-08-25 가부시기가이샤 디스코 웨이퍼 전사 방법 및 웨이퍼 전사 장치
DE102023201111A1 (de) 2022-02-18 2023-08-24 Disco Corporation Wafertransferverfahren und wafertransfervorrichtung
DE102024201580A1 (de) 2023-02-28 2024-08-29 Disco Corporation Bearbeitungsverfahren für ein werkstück
KR20240133595A (ko) 2023-02-28 2024-09-04 가부시기가이샤 디스코 피가공물의 가공 방법

Also Published As

Publication number Publication date
TWI501301B (zh) 2015-09-21
CN101714498B (zh) 2013-08-21
JP5198203B2 (ja) 2013-05-15
TW201013765A (en) 2010-04-01
CN101714498A (zh) 2010-05-26

Similar Documents

Publication Publication Date Title
JP5198203B2 (ja) 加工装置
JP5274966B2 (ja) 加工装置
KR101875232B1 (ko) 레이저 광선의 스폿 형상 검출 방법
KR102178210B1 (ko) 레이저 광선의 스폿 형상 검출 방법
US20080105665A1 (en) Laser processing machine
TWI610762B (zh) 加工裝置
JP5980504B2 (ja) ウエーハの加工方法およびレーザー加工装置
KR20150138827A (ko) 칩 제조 방법
KR102860798B1 (ko) 가공 장치
JP5425451B2 (ja) レーザ加工装置
JP5985896B2 (ja) ウエーハの加工方法およびレーザー加工装置
KR101886357B1 (ko) 레이저 광선의 스폿 형상 검출 방법 및 스폿 형상 검출 장치
KR20180119124A (ko) 레이저 가공 방법
JP2005332841A (ja) ウエーハの分割方法
JP4767711B2 (ja) ウエーハの分割方法
KR20170107900A (ko) 피가공물의 내부 검출 장치 및 내부 검출 방법
US20130306605A1 (en) Modified layer forming method
JP2011056576A (ja) 板状物の加工方法
JP4630731B2 (ja) ウエーハの分割方法
JP5442303B2 (ja) 板状ワークの加工装置
JP5466898B2 (ja) 撮像光学系及び加工装置
JP2022097232A (ja) レーザー加工装置
JP2017092217A (ja) 被加工物の撮像方法、撮像装置、及び加工方法

Legal Events

Date Code Title Description
A621 Written request for application examination

Free format text: JAPANESE INTERMEDIATE CODE: A621

Effective date: 20110824

TRDD Decision of grant or rejection written
A977 Report on retrieval

Free format text: JAPANESE INTERMEDIATE CODE: A971007

Effective date: 20130131

A01 Written decision to grant a patent or to grant a registration (utility model)

Free format text: JAPANESE INTERMEDIATE CODE: A01

Effective date: 20130205

A61 First payment of annual fees (during grant procedure)

Free format text: JAPANESE INTERMEDIATE CODE: A61

Effective date: 20130206

FPAY Renewal fee payment (event date is renewal date of database)

Free format text: PAYMENT UNTIL: 20160215

Year of fee payment: 3

R150 Certificate of patent or registration of utility model

Ref document number: 5198203

Country of ref document: JP

Free format text: JAPANESE INTERMEDIATE CODE: R150

Free format text: JAPANESE INTERMEDIATE CODE: R150

FPAY Renewal fee payment (event date is renewal date of database)

Free format text: PAYMENT UNTIL: 20160215

Year of fee payment: 3

R250 Receipt of annual fees

Free format text: JAPANESE INTERMEDIATE CODE: R250

R250 Receipt of annual fees

Free format text: JAPANESE INTERMEDIATE CODE: R250

R250 Receipt of annual fees

Free format text: JAPANESE INTERMEDIATE CODE: R250

R250 Receipt of annual fees

Free format text: JAPANESE INTERMEDIATE CODE: R250

R250 Receipt of annual fees

Free format text: JAPANESE INTERMEDIATE CODE: R250

R250 Receipt of annual fees

Free format text: JAPANESE INTERMEDIATE CODE: R250

R250 Receipt of annual fees

Free format text: JAPANESE INTERMEDIATE CODE: R250

R250 Receipt of annual fees

Free format text: JAPANESE INTERMEDIATE CODE: R250

R250 Receipt of annual fees

Free format text: JAPANESE INTERMEDIATE CODE: R250

R250 Receipt of annual fees

Free format text: JAPANESE INTERMEDIATE CODE: R250

R250 Receipt of annual fees

Free format text: JAPANESE INTERMEDIATE CODE: R250