JP2010078614A - 生物学的流体中の分析物の測定中に誤用されたセンサーを決定するシステムおよび方法 - Google Patents
生物学的流体中の分析物の測定中に誤用されたセンサーを決定するシステムおよび方法 Download PDFInfo
- Publication number
- JP2010078614A JP2010078614A JP2009282032A JP2009282032A JP2010078614A JP 2010078614 A JP2010078614 A JP 2010078614A JP 2009282032 A JP2009282032 A JP 2009282032A JP 2009282032 A JP2009282032 A JP 2009282032A JP 2010078614 A JP2010078614 A JP 2010078614A
- Authority
- JP
- Japan
- Prior art keywords
- response
- test
- sample
- sensor
- signal
- Prior art date
- Legal status (The legal status is an assumption and is not a legal conclusion. Google has not performed a legal analysis and makes no representation as to the accuracy of the status listed.)
- Granted
Links
Images
Classifications
-
- G—PHYSICS
- G01—MEASURING; TESTING
- G01N—INVESTIGATING OR ANALYSING MATERIALS BY DETERMINING THEIR CHEMICAL OR PHYSICAL PROPERTIES
- G01N27/00—Investigating or analysing materials by the use of electric, electrochemical, or magnetic means
- G01N27/26—Investigating or analysing materials by the use of electric, electrochemical, or magnetic means by investigating electrochemical variables; by using electrolysis or electrophoresis
- G01N27/28—Electrolytic cell components
- G01N27/30—Electrodes, e.g. test electrodes; Half-cells
- G01N27/327—Biochemical electrodes, e.g. electrical or mechanical details for in vitro measurements
- G01N27/3271—Amperometric enzyme electrodes for analytes in body fluids, e.g. glucose in blood
- G01N27/3274—Corrective measures, e.g. error detection, compensation for temperature or hematocrit, calibration
-
- G—PHYSICS
- G01—MEASURING; TESTING
- G01N—INVESTIGATING OR ANALYSING MATERIALS BY DETERMINING THEIR CHEMICAL OR PHYSICAL PROPERTIES
- G01N27/00—Investigating or analysing materials by the use of electric, electrochemical, or magnetic means
- G01N27/02—Investigating or analysing materials by the use of electric, electrochemical, or magnetic means by investigating impedance
- G01N27/04—Investigating or analysing materials by the use of electric, electrochemical, or magnetic means by investigating impedance by investigating resistance
- G01N27/12—Investigating or analysing materials by the use of electric, electrochemical, or magnetic means by investigating impedance by investigating resistance of a solid body in dependence upon absorption of a fluid; of a solid body in dependence upon reaction with a fluid, for detecting components in the fluid
- G01N27/121—Investigating or analysing materials by the use of electric, electrochemical, or magnetic means by investigating impedance by investigating resistance of a solid body in dependence upon absorption of a fluid; of a solid body in dependence upon reaction with a fluid, for detecting components in the fluid for determining moisture content, e.g. humidity, of the fluid
-
- G—PHYSICS
- G01—MEASURING; TESTING
- G01N—INVESTIGATING OR ANALYSING MATERIALS BY DETERMINING THEIR CHEMICAL OR PHYSICAL PROPERTIES
- G01N27/00—Investigating or analysing materials by the use of electric, electrochemical, or magnetic means
- G01N27/02—Investigating or analysing materials by the use of electric, electrochemical, or magnetic means by investigating impedance
-
- Y—GENERAL TAGGING OF NEW TECHNOLOGICAL DEVELOPMENTS; GENERAL TAGGING OF CROSS-SECTIONAL TECHNOLOGIES SPANNING OVER SEVERAL SECTIONS OF THE IPC; TECHNICAL SUBJECTS COVERED BY FORMER USPC CROSS-REFERENCE ART COLLECTIONS [XRACs] AND DIGESTS
- Y10—TECHNICAL SUBJECTS COVERED BY FORMER USPC
- Y10T—TECHNICAL SUBJECTS COVERED BY FORMER US CLASSIFICATION
- Y10T436/00—Chemistry: analytical and immunological testing
- Y10T436/11—Automated chemical analysis
-
- Y—GENERAL TAGGING OF NEW TECHNOLOGICAL DEVELOPMENTS; GENERAL TAGGING OF CROSS-SECTIONAL TECHNOLOGIES SPANNING OVER SEVERAL SECTIONS OF THE IPC; TECHNICAL SUBJECTS COVERED BY FORMER USPC CROSS-REFERENCE ART COLLECTIONS [XRACs] AND DIGESTS
- Y10—TECHNICAL SUBJECTS COVERED BY FORMER USPC
- Y10T—TECHNICAL SUBJECTS COVERED BY FORMER US CLASSIFICATION
- Y10T436/00—Chemistry: analytical and immunological testing
- Y10T436/11—Automated chemical analysis
- Y10T436/112499—Automated chemical analysis with sample on test slide
-
- Y—GENERAL TAGGING OF NEW TECHNOLOGICAL DEVELOPMENTS; GENERAL TAGGING OF CROSS-SECTIONAL TECHNOLOGIES SPANNING OVER SEVERAL SECTIONS OF THE IPC; TECHNICAL SUBJECTS COVERED BY FORMER USPC CROSS-REFERENCE ART COLLECTIONS [XRACs] AND DIGESTS
- Y10—TECHNICAL SUBJECTS COVERED BY FORMER USPC
- Y10T—TECHNICAL SUBJECTS COVERED BY FORMER US CLASSIFICATION
- Y10T436/00—Chemistry: analytical and immunological testing
- Y10T436/14—Heterocyclic carbon compound [i.e., O, S, N, Se, Te, as only ring hetero atom]
- Y10T436/142222—Hetero-O [e.g., ascorbic acid, etc.]
-
- Y—GENERAL TAGGING OF NEW TECHNOLOGICAL DEVELOPMENTS; GENERAL TAGGING OF CROSS-SECTIONAL TECHNOLOGIES SPANNING OVER SEVERAL SECTIONS OF THE IPC; TECHNICAL SUBJECTS COVERED BY FORMER USPC CROSS-REFERENCE ART COLLECTIONS [XRACs] AND DIGESTS
- Y10—TECHNICAL SUBJECTS COVERED BY FORMER USPC
- Y10T—TECHNICAL SUBJECTS COVERED BY FORMER US CLASSIFICATION
- Y10T436/00—Chemistry: analytical and immunological testing
- Y10T436/14—Heterocyclic carbon compound [i.e., O, S, N, Se, Te, as only ring hetero atom]
- Y10T436/142222—Hetero-O [e.g., ascorbic acid, etc.]
- Y10T436/143333—Saccharide [e.g., DNA, etc.]
-
- Y—GENERAL TAGGING OF NEW TECHNOLOGICAL DEVELOPMENTS; GENERAL TAGGING OF CROSS-SECTIONAL TECHNOLOGIES SPANNING OVER SEVERAL SECTIONS OF THE IPC; TECHNICAL SUBJECTS COVERED BY FORMER USPC CROSS-REFERENCE ART COLLECTIONS [XRACs] AND DIGESTS
- Y10—TECHNICAL SUBJECTS COVERED BY FORMER USPC
- Y10T—TECHNICAL SUBJECTS COVERED BY FORMER US CLASSIFICATION
- Y10T436/00—Chemistry: analytical and immunological testing
- Y10T436/14—Heterocyclic carbon compound [i.e., O, S, N, Se, Te, as only ring hetero atom]
- Y10T436/142222—Hetero-O [e.g., ascorbic acid, etc.]
- Y10T436/143333—Saccharide [e.g., DNA, etc.]
- Y10T436/144444—Glucose
Landscapes
- Health & Medical Sciences (AREA)
- Chemical & Material Sciences (AREA)
- Life Sciences & Earth Sciences (AREA)
- Hematology (AREA)
- Analytical Chemistry (AREA)
- Chemical Kinetics & Catalysis (AREA)
- Electrochemistry (AREA)
- Physics & Mathematics (AREA)
- Biochemistry (AREA)
- General Health & Medical Sciences (AREA)
- General Physics & Mathematics (AREA)
- Immunology (AREA)
- Pathology (AREA)
- Molecular Biology (AREA)
- Investigating Or Analyzing Materials By The Use Of Electric Means (AREA)
- Investigating Or Analysing Biological Materials (AREA)
- Measurement Of The Respiration, Hearing Ability, Form, And Blood Characteristics Of Living Organisms (AREA)
Abstract
【解決手段】生物学的流体の医学的に重要な成分の濃度を測定するために適した誤用されたセンサーを検出する方法であって、(a)交流成分を含む信号をセンサーに印加する工程、(b)信号に対する交流応答を測定する工程、および(c)交流応答を用いてセンサーが誤用されているかどうかを決定する工程を含み、前記工程(a)、(b)および(c)が生物学的流体をセンサーに適用する前に実行されてなる誤用されたセンサーを検出する方法。
【選択図】図1
Description
本願は2003年6月20日出願の米国仮出願番号60/480298の利益を主張する。本願の内容は本書中の参照によりここに取り入れてある。
[技術分野]
本発明は流体中の分析物の濃度を測定するのに用いるための測定方法および装置に関する。詳細には本発明は、独占的ではないが、血液中のグルコースの濃度を測定するために用いられる方法および装置に関する。
図1は直流励起と4つの周波数の交流励起が用いられた、一般に100で示される、本発明によるシステムおよび方法での使用に適した励起信号の好ましい実施形態を示す。図1はまた、励起が適当な試薬と混合された全血液の試料に適用されたときの励起に対する典型的な応答も示している。その応答は一般に102で示されている。比較的高い周波数信号が、時間101から開始して適用される。好ましい実施形態では周波数は約10kHzから約20kHzまでのあいだであり、そして約12.4mVから約56.6mVのあいだの増幅度を持っている。図1の例では20kHzの周波数が用いられている。当業者であれば、これらの値はセル形状および特定の細胞化学などの種々のパラメータに対して最適化可能なことを理解するであろう。
適用された直流および交流成分の少なくともいくつかを同時に適用することが可能であることが理解される。図2は、一般的に200で示した、交流および直流の成分のいくつかが同時に適用されて、図1に相当するように番号をつけた、相当する事象(たとえば、信号200は時間201に開始され、そして小片は時間210に挿入されるなど)を持った、本発明によるシステムおよび方法で使用するのに適した励起信号を示している。信号100の場合でのように、信号200は約10〜20kHzの周波数と約12.4〜56.6mVの増幅度とを持っている。しかし、時間220で示されたように、小片が投与された後は、270で示されたように、直流オフセットは重複する。典型的な交流および直流応答は図2に示す。交流および直流の応答は同時に測定され、そして算術的に解析されて、インピーダンス(アドミタンスの大きさおよび位相)およびアンペア計または電量計の応答を測定するために使用される。
実施例1で行われた測定は図3A〜Bに示して一般的に300で示す試験片を用いて達成された。試験片300は、参照のため本書に組み入れられる、米国特許第5997817号明細書に記述されている、比較的厚い膜試薬と作用電極および対極を含む毛細管充填スペースを含んでいる。試験片300はロッシュ・ディアグノスティクス・コーポレーション(インディアナポリス、インディアナ州)からコンフォート・カーブ(登録商標)の商品名で市販されている。使用されたフェリシアン化物の試薬は表1および表2に記述された組成物を持っていた。
実施例2で行われた測定も図3A〜Bに示す一般的に300で示した試験片を用いて達成された。上記のように、試験片300は、参照のため本書に含めてある、米国特許第5997817号明細書に記述されている、比較的厚いフィルム試薬および作用電極および対極を含む毛細管充填スペースを含んでいる。
実施例3で行われた測定も図3A〜Bに示して一般的に300で示す試験片を用いて達成された。上記のように、試験片300は、参照のため本書に含めてある、米国特許第5997817号明細書に記述されている、比較的厚いフィルム試薬および作用電極および対極を含む毛細管充填スペースを含んでいる。毛細管血液試料からのヘマトクリットレベルは30〜50%のあいだでのみ変わるので、20〜70%の範囲のヘマトクリット範囲を持ったスパイクした静脈血をこの実施例3のために用いた。5つのレベルのグルコース、温度(14、21、27、36および42℃)およびヘマトクリット(20、30、45,60および70%)を独立して変化させて、125の試料で共分散調査をした。
実施例4で行われた測定は図3A〜Bに示す一般的に300で示した試験片を用いて達成された。上記のように、試験片300は、参照のため本書に含めてある米国特許第5997817号明細書の比較的厚いフィルム試薬および作用電極および対極を含む毛細管充填スペースを含んでいる。しかし、試験片は、異なった試薬を用いたため、米国特許第5997817号明細書に記述したものからは変更された。使用したニトロソアニリンは表3および表4に記載した組成を有していた。
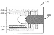
本発明の測定方法は他の試験片の設計でも同様に有用であることが判った。図17A〜Bに示した、一般的に1700で示す試験片の設計を用いて、実施例5を行った。図17Aについて述べると、試験片1700は、50nmの導電性の(金)層を(たとえば、スパッタリングまたは真空蒸着によって)被覆した350μm厚のポリエステル(好ましい実施形態では、これはデュポン社から発売されているメリネックス329である)の半透明片から形成された底部の箔層1702から成っている。次に電極と接続トレースとを、示したように、レーザー切除工法により導電性の層に型付けし、作用電極、対極および用量充足電極(以下に一層詳細に記述する)を形成する。レーザー切除加工はクロム石英マスクを通過するエキシマレーザーによって行われる。マスクパターンはフィールドの他の部品が通過できるようにして、レーザー・フィールドの部品を反射させて、レーザー光線によって接触された表面から排出された金の上にパターンを作り出す。
合計試験時間を減少するために、直流実施例5に対して上に記したものと同じ試験片1700と試薬とを用いて、図24に示した励起プロフィルを利用した。実施例5に関して上述したように、20kHzと10kHzでの位相角はヘマトクリット推定と最も緊密に相関関係となっていることが決定された。それゆえ、合計試験時間を減少するために実施例6では励起の交流部分をこれら2つの周波数に制限するように決定された。合計試験時間をさらに減少するために、10kHzの交流励起を直流信号と同時に印加した(即ち、直流をオフセットした交流信号)、この理論は、この組み合わせモードは直流電流、交流位相および交流アドミタンスに対して同時の結果の収集ができるようにし、可能な最も速い結果を与えることを可能にするものである。それゆえ、20kHzの信号が0.9秒間印加された。その後、0.1秒の間隔の後、10kHzと直流信号とが1.0秒同時に印加された。
特に試験システムが非専門的な最終使用者によって使用される場合には、特別措置の品質管理を分析物測定工程に設けるために、投与を誤った(二重投与など)、以前に使用された、または劣化酵素を有する(湿気の多すぎる環境に保存されていたため、古すぎるなど)のセンサー(試験片)を検出することが望ましい。これらの状態は総称して「誤用されたセンサー」と呼ばれる。誤用されたセンサーが試験計に挿入された場合、分析物測定工程を中止するような試験を考案する(または試験結果は正確ではないと少なくとも使用者に警告する)ことが望まれる。
F=ファラデイの定数
A=作用電極の表面積
t=励起の適用時から経過した時間
D=分散係数
C=グルコース濃度
α=共因子依存定数
NCFR=コットレル・フェイルセーフ率
fs0=直線回帰インターセプト
fs1=直線回帰スロープ
Φ10kHz=10kHzでの位相角(ラジアン)
Φ20kHz=20kHzでの位相角(ラジアン)
上記したように、正確な試料測定は試料による測定電極の適切な被覆を必要とすることが認められた。先行技術では試料容量の不十分さを検知するために種々の方法が用いられてきた。たとえば、インデイアナ州、インデイアナポリスのロッシュ・ディアグノスティクス・コーポレーションによって販売されたアキュチェック(Accu-Check、登録商標)アドヴァンテージ(Advantage、登録商標)グルコース試験計は、もし単一対の測定電極によって非コトレリアン電流減衰が検出された場合、試料容量の不充分さの可能性があることを使用者に警告した。使用者は定められた割り当て時間以内に試験片を再投与するように促された。
・試験片製造設備での材料または製品の汚れ。
・毛細管充填スペースの壁を形成する単一の要素からの汚染物質の意図しない導入(その一例はリリースライナーが使用されている製造工程に一般的な剥離剤(典型的にはシリコン)。
・積層工程で使用された接着剤(または汚染された接着剤)の疎水性の性質。
・毛細管充填スペースの壁の不等な表面の粗さ。
・寸法アスペクト比率。
・毛細管充填スペース内の汚染されたメッシュ材料。
・毛細管充填スペース内のメッシュ材料に対する界面活性剤の不均質な適用。
毛細管充填スペースを用いた試験片に用量充足を適切に示すような電極システムを設計するために、試料が毛細管充填スペースを通過するときの試料の先端での流頭の形状を調べるために実験を行った。二枚の透明なポリカーボネートのシートを両面接着性のテープで貼り合わせたものからなる試験用具を用いた。そこでは両面テープのチャンネルを切断することによって毛細管充填スペースを形成した。ポリカーボネートの上部および下部シートの使用によって、試料の流頭が毛細管充填スペースを通って流れるときにそれがビデオテープ録画されるようにした。
超短波電力:600W
ガス:O2
圧力:0.39ミリバール
ガス流:150ml/分
時間:10分
前処理時の表面エネルギー:<38mN/m
後処理時の表面エネルギー:72mN/m
プラズマ処理された装置を使用していないときは2〜8℃で保存した。装置は使用には最低1時間室温に均衡させた。
毛細管充填スペースの凹型の流頭に関連する問題を図32A〜Cに示す。図面の各々において、試験片は作用電極3200、参照電極3202、および測定電極3200または3202の一つと関連して作用する下流用量充足電極3204を含んでいる。上に論じた測定電極の一つに関連して用量充足電極3204の使用と関連した測定範囲の化学量論の問題に加えて、図32A〜Cは凹型を表している試料流頭もまた、偏向した測定結果を起こすことを示している。各図において、試料の動きの方向は矢印で示した。図32Aにおいて、毛細管壁に隣接した試料の部分は用量充足電極3204に達していて、これによって、この電極と、用量充足測定をするために試験計によってモニターされている測定電極対の一つとのあいだの直流回路を電気的に完成させている。試験計は、このとき測定を行うのに十分な試料があると結論するけれども、試料は明らかにやっとのことで参照電極3202に到達したのであって、このとき得られた測定結果は大きく偏向することになるであろう。
Claims (9)
- 生物学的流体の医学的に重要な成分の濃度を測定するために適した誤用されたセンサーを検出する方法であって、
(a)交流成分を含む信号をセンサーに印加する工程、
(b)信号に対する交流応答を測定する工程、および
(c)交流応答を用いてセンサーが誤用されているかどうかを決定する工程
を含み、
前記工程(a)、(b)および(c)が生物学的流体をセンサーに適用する前に実行されてなる
誤用されたセンサーを検出する方法。 - 生物学的流体の医学的に重要な成分の濃度を測定するために適した誤用されたセンサーを検出する方法であって、
(a)交流成分を含む信号をセンサーに印加する工程、
(b)信号に対する交流応答を測定する工程、および
(c)交流応答を用いてセンサーが誤用されているかどうかを決定する工程
を含む誤用されたセンサーを検出する方法であって、
(i)生物学的流体の試料をセンサーの上に載せる工程、
(ii)第1信号を生物学的流体に印加する工程、
(iii)第1信号に対する電流応答を測定する工程、
(iv)少なくとも1回、工程(iii)を反復する工程、
(v)電流応答データを用いて規格化されたコットレル・フェイルセーフ率を計算する工程をさらに含み、
前記工程(c)が、工程(a)より前に、規格化されたコットレル・フェイルセーフ率と前記工程(b)の交流応答とを組み合わせることを含み、
センサーが誤用されたかどうかを表示する
誤用されたセンサーを検出する方法。 - 第1信号が交流信号である請求項2記載の方法。
- 交流成分を含む信号の交流成分が1キロヘルツ以上で20キロヘルツ以下の周波数を持つ請求項1〜3のいずれか1項に記載の方法。
- 交流成分を含む信号が異なる周波数を有してなる請求項4記載の方法。
- 前記工程(v)が、FAILSAFEをつぎの式によって算出する工程を含んでおり、
ILSAFE=1000×arctan[NCFR/(fs0+fs1(Ф1−Ф2))]
ここに、
1000がスケーリング係数であり、
NCFRが規格化されたコットレル・フェイルセーフ率であり、
fs0が定数であり、
fs1が定数であり、
Ф1が第1周波数での位相角(ラジアン)であり、
Ф2が第2周波数での位相角(ラジアン)であり、
ゼロ未満のFAILSAFEの値は誤用されたセンサーを示し、ゼロより上のFAILSAFEの値は誤用されていないセンサーを示す
ことを特徴とする請求項2〜5のいずれか1項に記載の方法。 - 血液グルコース濃度試験において誤用されたセンサーを示す不良状態を決定する方法であって、
(a)交流成分を含む第1試験信号を試験試料に適用する工程、
(b)第1試験信号に対する第1位相角応答を測定する工程、
(c)交流成分を含む第2試験信号を試験試料に適用する工程、
(d)第2試験信号に対する第2位相角応答を測定する工程、および
(e)第1位相角応答、第2位相角応答、および所定のコットレル・フェイルセーフ率に基づいて不良状態値を決定する工程
を含む不良状態を決定する方法。 - 工程(e)が、
arctan[CFR/(fs0+fs1(ФA−ФB))]
ここで、
CFR=コットレル・フェイルセーフ率
fs0=定数
fs1=定数
ФA=第1位相角(ラジアン)応答
ФB=第2位相角(ラジアン)応答
を少なくとも部分的に評価することに基づいて行われる請求項7記載の方法。 - (f)試験信号を試験試料に適用する工程、
(g)少なくとも二つの電流応答を測定する工程、および
(h)電流応答と最終的電流応答との合計に基づいて所定のコットレル・フェイルセーフ率を決定する工程をさらに含む請求項7または8記載の方法。
Applications Claiming Priority (4)
| Application Number | Priority Date | Filing Date | Title |
|---|---|---|---|
| US48029803P | 2003-06-20 | 2003-06-20 | |
| US60/480,298 | 2003-06-20 | ||
| US10/688,561 US7488601B2 (en) | 2003-06-20 | 2003-10-17 | System and method for determining an abused sensor during analyte measurement |
| US10/688,561 | 2003-10-17 |
Related Parent Applications (1)
| Application Number | Title | Priority Date | Filing Date |
|---|---|---|---|
| JP2006517447A Division JP2007524817A (ja) | 2003-06-20 | 2004-06-18 | 生物学的流体中の分析物の測定中に誤用されたセンサーを決定するシステムおよび方法 |
Related Child Applications (1)
| Application Number | Title | Priority Date | Filing Date |
|---|---|---|---|
| JP2014077112A Division JP5702485B2 (ja) | 2003-06-20 | 2014-04-03 | 生物学的流体中の分析物の測定中に誤用されたセンサーを決定するシステムおよび方法 |
Publications (2)
| Publication Number | Publication Date |
|---|---|
| JP2010078614A true JP2010078614A (ja) | 2010-04-08 |
| JP5546231B2 JP5546231B2 (ja) | 2014-07-09 |
Family
ID=33519466
Family Applications (3)
| Application Number | Title | Priority Date | Filing Date |
|---|---|---|---|
| JP2006517447A Pending JP2007524817A (ja) | 2003-06-20 | 2004-06-18 | 生物学的流体中の分析物の測定中に誤用されたセンサーを決定するシステムおよび方法 |
| JP2009282032A Expired - Lifetime JP5546231B2 (ja) | 2003-06-20 | 2009-12-11 | 生物学的流体中の分析物の測定中に誤用されたセンサーを決定するシステムおよび方法 |
| JP2014077112A Expired - Lifetime JP5702485B2 (ja) | 2003-06-20 | 2014-04-03 | 生物学的流体中の分析物の測定中に誤用されたセンサーを決定するシステムおよび方法 |
Family Applications Before (1)
| Application Number | Title | Priority Date | Filing Date |
|---|---|---|---|
| JP2006517447A Pending JP2007524817A (ja) | 2003-06-20 | 2004-06-18 | 生物学的流体中の分析物の測定中に誤用されたセンサーを決定するシステムおよび方法 |
Family Applications After (1)
| Application Number | Title | Priority Date | Filing Date |
|---|---|---|---|
| JP2014077112A Expired - Lifetime JP5702485B2 (ja) | 2003-06-20 | 2014-04-03 | 生物学的流体中の分析物の測定中に誤用されたセンサーを決定するシステムおよび方法 |
Country Status (5)
| Country | Link |
|---|---|
| US (4) | US7488601B2 (ja) |
| EP (1) | EP1639357B1 (ja) |
| JP (3) | JP2007524817A (ja) |
| CA (1) | CA2530300C (ja) |
| WO (1) | WO2005001462A1 (ja) |
Cited By (2)
| Publication number | Priority date | Publication date | Assignee | Title |
|---|---|---|---|---|
| WO2013018500A1 (ja) * | 2011-07-29 | 2013-02-07 | アークレイ株式会社 | 携帯型医療機器 |
| JP2016523358A (ja) * | 2013-06-10 | 2016-08-08 | エフ.ホフマン−ラ ロシュ アーゲーF. Hoffmann−La Roche Aktiengesellschaft | 体液中の分析物を検出するための方法およびシステム |
Families Citing this family (406)
| Publication number | Priority date | Publication date | Assignee | Title |
|---|---|---|---|---|
| US6036924A (en) | 1997-12-04 | 2000-03-14 | Hewlett-Packard Company | Cassette of lancet cartridges for sampling blood |
| US7494816B2 (en) * | 1997-12-22 | 2009-02-24 | Roche Diagnostic Operations, Inc. | System and method for determining a temperature during analyte measurement |
| US6391005B1 (en) | 1998-03-30 | 2002-05-21 | Agilent Technologies, Inc. | Apparatus and method for penetration with shaft having a sensor for sensing penetration depth |
| US6427088B1 (en) | 2000-01-21 | 2002-07-30 | Medtronic Minimed, Inc. | Ambulatory medical apparatus and method using telemetry system with predefined reception listening periods |
| US8641644B2 (en) | 2000-11-21 | 2014-02-04 | Sanofi-Aventis Deutschland Gmbh | Blood testing apparatus having a rotatable cartridge with multiple lancing elements and testing means |
| WO2002100460A2 (en) | 2001-06-12 | 2002-12-19 | Pelikan Technologies, Inc. | Electric lancet actuator |
| US9427532B2 (en) | 2001-06-12 | 2016-08-30 | Sanofi-Aventis Deutschland Gmbh | Tissue penetration device |
| ATE494837T1 (de) | 2001-06-12 | 2011-01-15 | Pelikan Technologies Inc | Integriertes system zur blutprobenanalyse mit mehrfach verwendbarem probennahmemodul |
| US7981056B2 (en) | 2002-04-19 | 2011-07-19 | Pelikan Technologies, Inc. | Methods and apparatus for lancet actuation |
| US9795747B2 (en) | 2010-06-02 | 2017-10-24 | Sanofi-Aventis Deutschland Gmbh | Methods and apparatus for lancet actuation |
| ES2335576T3 (es) | 2001-06-12 | 2010-03-30 | Pelikan Technologies Inc. | Aparato y procedimiento de toma de muestras de sangre. |
| US7041068B2 (en) | 2001-06-12 | 2006-05-09 | Pelikan Technologies, Inc. | Sampling module device and method |
| AU2002344825A1 (en) | 2001-06-12 | 2002-12-23 | Pelikan Technologies, Inc. | Method and apparatus for improving success rate of blood yield from a fingerstick |
| US8337419B2 (en) | 2002-04-19 | 2012-12-25 | Sanofi-Aventis Deutschland Gmbh | Tissue penetration device |
| US9226699B2 (en) | 2002-04-19 | 2016-01-05 | Sanofi-Aventis Deutschland Gmbh | Body fluid sampling module with a continuous compression tissue interface surface |
| WO2002100251A2 (en) | 2001-06-12 | 2002-12-19 | Pelikan Technologies, Inc. | Self optimizing lancing device with adaptation means to temporal variations in cutaneous properties |
| EP1404235A4 (en) | 2001-06-12 | 2008-08-20 | Pelikan Technologies Inc | METHOD AND DEVICE FOR A LANZETTING DEVICE INTEGRATED ON A BLOOD CARTRIDGE CARTRIDGE |
| US8152789B2 (en) | 2001-10-23 | 2012-04-10 | Medtronic Minimed, Inc. | System and method for providing closed loop infusion formulation delivery |
| US7344894B2 (en) | 2001-10-16 | 2008-03-18 | Agilent Technologies, Inc. | Thermal regulation of fluidic samples within a diagnostic cartridge |
| US10080529B2 (en) | 2001-12-27 | 2018-09-25 | Medtronic Minimed, Inc. | System for monitoring physiological characteristics |
| US7004928B2 (en) | 2002-02-08 | 2006-02-28 | Rosedale Medical, Inc. | Autonomous, ambulatory analyte monitor or drug delivery device |
| AU2003210957B2 (en) * | 2002-02-10 | 2009-09-10 | Agamatrix, Inc. | Method and apparatus for assay of electrochemical properties |
| US7232451B2 (en) | 2002-04-19 | 2007-06-19 | Pelikan Technologies, Inc. | Method and apparatus for penetrating tissue |
| US7244265B2 (en) | 2002-04-19 | 2007-07-17 | Pelikan Technologies, Inc. | Method and apparatus for penetrating tissue |
| US7717863B2 (en) | 2002-04-19 | 2010-05-18 | Pelikan Technologies, Inc. | Method and apparatus for penetrating tissue |
| US7648468B2 (en) | 2002-04-19 | 2010-01-19 | Pelikon Technologies, Inc. | Method and apparatus for penetrating tissue |
| US8360992B2 (en) | 2002-04-19 | 2013-01-29 | Sanofi-Aventis Deutschland Gmbh | Method and apparatus for penetrating tissue |
| US7291117B2 (en) | 2002-04-19 | 2007-11-06 | Pelikan Technologies, Inc. | Method and apparatus for penetrating tissue |
| US7547287B2 (en) | 2002-04-19 | 2009-06-16 | Pelikan Technologies, Inc. | Method and apparatus for penetrating tissue |
| US9314194B2 (en) | 2002-04-19 | 2016-04-19 | Sanofi-Aventis Deutschland Gmbh | Tissue penetration device |
| US7371247B2 (en) | 2002-04-19 | 2008-05-13 | Pelikan Technologies, Inc | Method and apparatus for penetrating tissue |
| US8702624B2 (en) | 2006-09-29 | 2014-04-22 | Sanofi-Aventis Deutschland Gmbh | Analyte measurement device with a single shot actuator |
| US7909778B2 (en) | 2002-04-19 | 2011-03-22 | Pelikan Technologies, Inc. | Method and apparatus for penetrating tissue |
| US8784335B2 (en) | 2002-04-19 | 2014-07-22 | Sanofi-Aventis Deutschland Gmbh | Body fluid sampling device with a capacitive sensor |
| US7674232B2 (en) | 2002-04-19 | 2010-03-09 | Pelikan Technologies, Inc. | Method and apparatus for penetrating tissue |
| US7524293B2 (en) | 2002-04-19 | 2009-04-28 | Pelikan Technologies, Inc. | Method and apparatus for penetrating tissue |
| US7331931B2 (en) | 2002-04-19 | 2008-02-19 | Pelikan Technologies, Inc. | Method and apparatus for penetrating tissue |
| US7713214B2 (en) | 2002-04-19 | 2010-05-11 | Pelikan Technologies, Inc. | Method and apparatus for a multi-use body fluid sampling device with optical analyte sensing |
| US8221334B2 (en) | 2002-04-19 | 2012-07-17 | Sanofi-Aventis Deutschland Gmbh | Method and apparatus for penetrating tissue |
| WO2003088824A2 (en) | 2002-04-19 | 2003-10-30 | Pelikan Technologies, Inc. | Device and method for variable speed lancet |
| US7491178B2 (en) | 2002-04-19 | 2009-02-17 | Pelikan Technologies, Inc. | Method and apparatus for penetrating tissue |
| US7297122B2 (en) | 2002-04-19 | 2007-11-20 | Pelikan Technologies, Inc. | Method and apparatus for penetrating tissue |
| US7175642B2 (en) | 2002-04-19 | 2007-02-13 | Pelikan Technologies, Inc. | Methods and apparatus for lancet actuation |
| US7901362B2 (en) | 2002-04-19 | 2011-03-08 | Pelikan Technologies, Inc. | Method and apparatus for penetrating tissue |
| US9248267B2 (en) | 2002-04-19 | 2016-02-02 | Sanofi-Aventis Deustchland Gmbh | Tissue penetration device |
| US9795334B2 (en) | 2002-04-19 | 2017-10-24 | Sanofi-Aventis Deutschland Gmbh | Method and apparatus for penetrating tissue |
| US7229458B2 (en) | 2002-04-19 | 2007-06-12 | Pelikan Technologies, Inc. | Method and apparatus for penetrating tissue |
| US7485128B2 (en) | 2002-04-19 | 2009-02-03 | Pelikan Technologies, Inc. | Method and apparatus for penetrating tissue |
| US7892183B2 (en) | 2002-04-19 | 2011-02-22 | Pelikan Technologies, Inc. | Method and apparatus for body fluid sampling and analyte sensing |
| US8579831B2 (en) | 2002-04-19 | 2013-11-12 | Sanofi-Aventis Deutschland Gmbh | Method and apparatus for penetrating tissue |
| US7976476B2 (en) | 2002-04-19 | 2011-07-12 | Pelikan Technologies, Inc. | Device and method for variable speed lancet |
| US7141058B2 (en) | 2002-04-19 | 2006-11-28 | Pelikan Technologies, Inc. | Method and apparatus for a body fluid sampling device using illumination |
| US8267870B2 (en) | 2002-04-19 | 2012-09-18 | Sanofi-Aventis Deutschland Gmbh | Method and apparatus for body fluid sampling with hybrid actuation |
| US8372016B2 (en) | 2002-04-19 | 2013-02-12 | Sanofi-Aventis Deutschland Gmbh | Method and apparatus for body fluid sampling and analyte sensing |
| US7374544B2 (en) | 2002-04-19 | 2008-05-20 | Pelikan Technologies, Inc. | Method and apparatus for penetrating tissue |
| US7410468B2 (en) | 2002-04-19 | 2008-08-12 | Pelikan Technologies, Inc. | Method and apparatus for penetrating tissue |
| US7563232B2 (en) | 2002-04-19 | 2009-07-21 | Pelikan Technologies, Inc. | Method and apparatus for penetrating tissue |
| US8574895B2 (en) | 2002-12-30 | 2013-11-05 | Sanofi-Aventis Deutschland Gmbh | Method and apparatus using optical techniques to measure analyte levels |
| DE602004028463D1 (de) | 2003-05-30 | 2010-09-16 | Pelikan Technologies Inc | Verfahren und vorrichtung zur injektion von flüssigkeit |
| EP1633235B1 (en) | 2003-06-06 | 2014-05-21 | Sanofi-Aventis Deutschland GmbH | Apparatus for body fluid sampling and analyte sensing |
| WO2006001797A1 (en) | 2004-06-14 | 2006-01-05 | Pelikan Technologies, Inc. | Low pain penetrating |
| EP1635700B1 (en) | 2003-06-13 | 2016-03-09 | Sanofi-Aventis Deutschland GmbH | Apparatus for a point of care device |
| US7452457B2 (en) * | 2003-06-20 | 2008-11-18 | Roche Diagnostics Operations, Inc. | System and method for analyte measurement using dose sufficiency electrodes |
| US20070264721A1 (en) * | 2003-10-17 | 2007-11-15 | Buck Harvey B | System and method for analyte measurement using a nonlinear sample response |
| US7488601B2 (en) | 2003-06-20 | 2009-02-10 | Roche Diagnostic Operations, Inc. | System and method for determining an abused sensor during analyte measurement |
| US8148164B2 (en) | 2003-06-20 | 2012-04-03 | Roche Diagnostics Operations, Inc. | System and method for determining the concentration of an analyte in a sample fluid |
| US20190357827A1 (en) | 2003-08-01 | 2019-11-28 | Dexcom, Inc. | Analyte sensor |
| US8282576B2 (en) | 2003-09-29 | 2012-10-09 | Sanofi-Aventis Deutschland Gmbh | Method and apparatus for an improved sample capture device |
| US9351680B2 (en) | 2003-10-14 | 2016-05-31 | Sanofi-Aventis Deutschland Gmbh | Method and apparatus for a variable user interface |
| US8364231B2 (en) | 2006-10-04 | 2013-01-29 | Dexcom, Inc. | Analyte sensor |
| US8532730B2 (en) | 2006-10-04 | 2013-09-10 | Dexcom, Inc. | Analyte sensor |
| US7171589B1 (en) * | 2003-12-17 | 2007-01-30 | Sun Microsystems, Inc. | Method and apparatus for determining the effects of temperature variations within a computer system |
| US7822454B1 (en) | 2005-01-03 | 2010-10-26 | Pelikan Technologies, Inc. | Fluid sampling device with improved analyte detecting member configuration |
| WO2005065414A2 (en) | 2003-12-31 | 2005-07-21 | Pelikan Technologies, Inc. | Method and apparatus for improving fluidic flow and sample capture |
| AU2005212396A1 (en) | 2004-02-06 | 2005-08-25 | Bayer Healthcare Llc | Oxidizable species as an internal reference for biosensors and method of use |
| EP1751546A2 (en) | 2004-05-20 | 2007-02-14 | Albatros Technologies GmbH & Co. KG | Printable hydrogel for biosensors |
| EP1765194A4 (en) | 2004-06-03 | 2010-09-29 | Pelikan Technologies Inc | METHOD AND DEVICE FOR A LIQUID DETECTION DEVICE |
| US9775553B2 (en) | 2004-06-03 | 2017-10-03 | Sanofi-Aventis Deutschland Gmbh | Method and apparatus for a fluid sampling device |
| US8652831B2 (en) | 2004-12-30 | 2014-02-18 | Sanofi-Aventis Deutschland Gmbh | Method and apparatus for analyte measurement test time |
| US20060281187A1 (en) | 2005-06-13 | 2006-12-14 | Rosedale Medical, Inc. | Analyte detection devices and methods with hematocrit/volume correction and feedback control |
| CN103558284B (zh) | 2005-07-20 | 2017-04-12 | 安晟信医疗科技控股公司 | 门控电流分析法 |
| US8801631B2 (en) | 2005-09-30 | 2014-08-12 | Intuity Medical, Inc. | Devices and methods for facilitating fluid transport |
| US9380974B2 (en) | 2005-09-30 | 2016-07-05 | Intuity Medical, Inc. | Multi-site body fluid sampling and analysis cartridge |
| EP3483598B1 (en) | 2005-09-30 | 2024-11-06 | Ascensia Diabetes Care Holdings AG | Gated voltammetry |
| UY29918A1 (es) * | 2005-11-14 | 2007-06-29 | Bayer Healthcare Llc | Reactivo para sensores de prueba que contiene polimeros de celulosa |
| CA3044828A1 (en) * | 2006-02-27 | 2007-09-07 | Ascensia Diabetes Care Holdings Ag | Temperature adjusted analyte determination for biosensor systems |
| US8529751B2 (en) * | 2006-03-31 | 2013-09-10 | Lifescan, Inc. | Systems and methods for discriminating control solution from a physiological sample |
| US8398443B2 (en) * | 2006-04-21 | 2013-03-19 | Roche Diagnostics Operations, Inc. | Biological testing system and connector therefor |
| US7966859B2 (en) | 2006-05-03 | 2011-06-28 | Bayer Healthcare Llc | Underfill detection system for a biosensor |
| WO2007133985A2 (en) * | 2006-05-08 | 2007-11-22 | Bayer Healthcare Llc | Abnormal output detection system for a biosensor |
| EP1860432B1 (en) * | 2006-05-24 | 2017-12-13 | Bionime GmbH | A method for operating a measuring meter and a measuring meter |
| US9056165B2 (en) | 2006-09-06 | 2015-06-16 | Medtronic Minimed, Inc. | Intelligent therapy recommendation algorithm and method of using the same |
| ES2375288T3 (es) * | 2006-10-05 | 2012-02-28 | Lifescan Scotland Limited | Procedimiento para determinar concentraciones de analito corregidas con hematocrito. |
| ES2397663T3 (es) * | 2006-10-05 | 2013-03-08 | Lifescan Scotland Limited | Sistemas y procedimientos para determinar una concentración de un analito sustancialmente independiente del hematocrito |
| US9046480B2 (en) | 2006-10-05 | 2015-06-02 | Lifescan Scotland Limited | Method for determining hematocrit corrected analyte concentrations |
| ES2544353T3 (es) * | 2006-10-05 | 2015-08-28 | Lifescan Scotland Ltd | Métodos para determinar una concentración de analitos usando algoritmos de procesamiento de señales |
| ES2825036T3 (es) | 2006-10-24 | 2021-05-14 | Ascensia Diabetes Care Holdings Ag | Amperometría de decaimiento transitorio |
| AU2008213677A1 (en) | 2007-02-06 | 2008-08-14 | Glumetrics, Inc. | Optical systems and methods for rationmetric measurement of blood glucose concentration |
| WO2008141241A1 (en) | 2007-05-10 | 2008-11-20 | Glumetrics, Inc. | Equilibrium non-consuming fluorescence sensor for real time intravascular glucose measurement |
| ES2693097T3 (es) | 2007-05-30 | 2018-12-07 | Ascensia Diabetes Care Holdings Ag | Sistema y método para gestionar datos de salud |
| US8778168B2 (en) * | 2007-09-28 | 2014-07-15 | Lifescan, Inc. | Systems and methods of discriminating control solution from a physiological sample |
| EP3438661B1 (en) * | 2007-12-10 | 2022-08-03 | Ascensia Diabetes Care Holdings AG | Slope-based compensation |
| WO2009076302A1 (en) | 2007-12-10 | 2009-06-18 | Bayer Healthcare Llc | Control markers for auto-detection of control solution and methods of use |
| US8603768B2 (en) | 2008-01-17 | 2013-12-10 | Lifescan, Inc. | System and method for measuring an analyte in a sample |
| WO2009105709A1 (en) | 2008-02-21 | 2009-08-27 | Dexcom, Inc. | Systems and methods for processing, transmitting and displaying sensor data |
| US9386944B2 (en) | 2008-04-11 | 2016-07-12 | Sanofi-Aventis Deutschland Gmbh | Method and apparatus for analyte detecting device |
| CA2725264C (en) | 2008-05-30 | 2017-06-20 | Intuity Medical, Inc. | Body fluid sampling device -- sampling site interface |
| WO2009148624A1 (en) | 2008-06-06 | 2009-12-10 | Intuity Medical, Inc. | Detection meter and mode of operation |
| JP2011522594A (ja) | 2008-06-06 | 2011-08-04 | インテュイティ メディカル インコーポレイテッド | 医用診断装置及び方法 |
| US8551320B2 (en) | 2008-06-09 | 2013-10-08 | Lifescan, Inc. | System and method for measuring an analyte in a sample |
| US8700114B2 (en) | 2008-07-31 | 2014-04-15 | Medtronic Minmed, Inc. | Analyte sensor apparatuses comprising multiple implantable sensor elements and methods for making and using them |
| AU2009299589A1 (en) * | 2008-09-30 | 2010-04-08 | Menai Medical Technologies Limited | Sample measurement system |
| US8649997B2 (en) * | 2008-10-03 | 2014-02-11 | Bayer Healthcare Llc | Systems and methods for predicting ambient temperature in a fluid analyte meter |
| CN102854232B (zh) | 2008-12-08 | 2015-12-02 | 拜尔健康护理有限责任公司 | 具有信号调节功能的生物传感器系统 |
| US9375169B2 (en) | 2009-01-30 | 2016-06-28 | Sanofi-Aventis Deutschland Gmbh | Cam drive for managing disposable penetrating member actions with a single motor and motor and control system |
| US8617381B2 (en) | 2009-06-23 | 2013-12-31 | Bayer Healthcare Llc | System and apparatus for determining temperatures in a fluid analyte system |
| US9237864B2 (en) | 2009-07-02 | 2016-01-19 | Dexcom, Inc. | Analyte sensors and methods of manufacturing same |
| US8868151B2 (en) * | 2009-08-14 | 2014-10-21 | Bayer Healthcare Llc | Electrochemical impedance spectroscopy enabled continuous glucose monitoring sensor system |
| IN2012DN02872A (ja) | 2009-11-10 | 2015-07-24 | Bayer Healthcare Llc | |
| WO2011065981A1 (en) | 2009-11-30 | 2011-06-03 | Intuity Medical, Inc. | Calibration material delivery devices and methods |
| US8877034B2 (en) | 2009-12-30 | 2014-11-04 | Lifescan, Inc. | Systems, devices, and methods for measuring whole blood hematocrit based on initial fill velocity |
| US8101065B2 (en) | 2009-12-30 | 2012-01-24 | Lifescan, Inc. | Systems, devices, and methods for improving accuracy of biosensors using fill time |
| US8070723B2 (en) | 2009-12-31 | 2011-12-06 | Medtronic Minimed, Inc. | Activity guard |
| US8391940B2 (en) * | 2010-02-04 | 2013-03-05 | Lifescan, Inc. | Methods and systems to correct for hematocrit effects |
| BR112012023984A2 (pt) * | 2010-03-22 | 2016-08-02 | Bayer Healthcare Llc | compensação residual para um biossensor |
| GB201005359D0 (en) | 2010-03-30 | 2010-05-12 | Menai Medical Technologies Ltd | Sampling plate |
| GB201005357D0 (en) | 2010-03-30 | 2010-05-12 | Menai Medical Technologies Ltd | Sampling plate |
| US8965476B2 (en) | 2010-04-16 | 2015-02-24 | Sanofi-Aventis Deutschland Gmbh | Tissue penetration device |
| US9222910B2 (en) | 2010-06-07 | 2015-12-29 | Bayer Healthcare Llc | Underfill management system for a biosensor |
| CA2798938C (en) | 2010-06-07 | 2018-08-07 | Bayer Healthcare Llc | Slope-based compensation including secondary output signals |
| US9215995B2 (en) | 2010-06-23 | 2015-12-22 | Medtronic Minimed, Inc. | Sensor systems having multiple probes and electrode arrays |
| EP2584964B1 (en) | 2010-06-25 | 2021-08-04 | Intuity Medical, Inc. | Analyte monitoring devices |
| EP2596115B1 (en) | 2010-07-23 | 2016-03-16 | Roche Diagnostics GmbH | Zwitterion buffer containing compositions and uses in electroanalytical devices and methods |
| US8617370B2 (en) | 2010-09-30 | 2013-12-31 | Cilag Gmbh International | Systems and methods of discriminating between a control sample and a test fluid using capacitance |
| US8932445B2 (en) | 2010-09-30 | 2015-01-13 | Cilag Gmbh International | Systems and methods for improved stability of electrochemical sensors |
| US8628510B2 (en) | 2010-12-22 | 2014-01-14 | Medtronic Minimed, Inc. | Monitoring the operating health of a force sensor in a fluid infusion device |
| US11266823B2 (en) | 2011-02-22 | 2022-03-08 | Medtronic Minimed, Inc. | Retractable sealing assembly for a fluid reservoir of a fluid infusion device |
| US20120211946A1 (en) | 2011-02-22 | 2012-08-23 | Medtronic Minimed, Inc. | Sealing element for a hollow needle of a fluid infusion device |
| JP5728568B2 (ja) | 2011-02-23 | 2015-06-03 | パナソニックヘルスケアホールディングス株式会社 | 生体試料測定装置 |
| EP4324399A3 (en) | 2011-04-15 | 2024-05-15 | DexCom, Inc. | Advanced analyte sensor calibration and error detection |
| US9008744B2 (en) | 2011-05-06 | 2015-04-14 | Medtronic Minimed, Inc. | Method and apparatus for continuous analyte monitoring |
| US8795231B2 (en) | 2011-05-10 | 2014-08-05 | Medtronic Minimed, Inc. | Automated reservoir fill system |
| ES2675773T3 (es) | 2011-08-03 | 2018-07-12 | Intuity Medical, Inc. | Disposición de muestreo de fluido corporal |
| JP6082396B2 (ja) | 2011-09-21 | 2017-02-15 | バイエル・ヘルスケア・エルエルシーBayer HealthCare LLC | 誤差補償を伴うバイオセンサ |
| WO2013049068A1 (en) | 2011-09-27 | 2013-04-04 | Glumetrics, Inc. | Method for functionalizing a porous membrane covering of an optical sensor to facilitate coupling of an antithrom-bogenic agent |
| US8623660B2 (en) * | 2011-09-30 | 2014-01-07 | Lifescan Scotland Limited | Hand-held test meter with phase-shift-based hematocrit measurement circuit |
| US9989522B2 (en) | 2011-11-01 | 2018-06-05 | Medtronic Minimed, Inc. | Methods and materials for modulating start-up time and air removal in dry sensors |
| US8999720B2 (en) | 2011-11-17 | 2015-04-07 | Medtronic Minimed, Inc. | Aqueous radiation protecting formulations and methods for making and using them |
| US9903830B2 (en) | 2011-12-29 | 2018-02-27 | Lifescan Scotland Limited | Accurate analyte measurements for electrochemical test strip based on sensed physical characteristic(s) of the sample containing the analyte |
| US9610401B2 (en) | 2012-01-13 | 2017-04-04 | Medtronic Minimed, Inc. | Infusion set component with modular fluid channel element |
| EP2825096B1 (en) | 2012-03-16 | 2023-04-26 | Dexcom, Inc. | Systems and methods for processing analyte sensor data |
| GB2553728B (en) | 2012-04-13 | 2018-07-18 | Smartcare Tech Limited | Improvements in and relating to sample measurement |
| GB2501128B (en) * | 2012-04-13 | 2017-11-29 | Tape Specialities Ltd | Sampling Apparatus and Method for Sampling |
| US9493807B2 (en) | 2012-05-25 | 2016-11-15 | Medtronic Minimed, Inc. | Foldover sensors and methods for making and using them |
| US9357958B2 (en) | 2012-06-08 | 2016-06-07 | Medtronic Minimed, Inc. | Application of electrochemical impedance spectroscopy in sensor systems, devices, and related methods |
| US8877023B2 (en) * | 2012-06-21 | 2014-11-04 | Lifescan Scotland Limited | Electrochemical-based analytical test strip with intersecting sample-receiving chambers |
| US9201038B2 (en) | 2012-07-24 | 2015-12-01 | Lifescan Scotland Limited | System and methods to account for interferents in a glucose biosensor |
| US9682188B2 (en) | 2012-08-21 | 2017-06-20 | Medtronic Minimed, Inc. | Reservoir fluid volume estimator and medical device incorporating same |
| US9662445B2 (en) | 2012-08-30 | 2017-05-30 | Medtronic Minimed, Inc. | Regulating entry into a closed-loop operating mode of an insulin infusion system |
| US10130767B2 (en) | 2012-08-30 | 2018-11-20 | Medtronic Minimed, Inc. | Sensor model supervisor for a closed-loop insulin infusion system |
| GB201219029D0 (en) * | 2012-10-23 | 2012-12-05 | Liverpool John Moores University | Electromagnetic wave sensing |
| CA2889504A1 (en) | 2012-11-07 | 2014-05-15 | Medtronic Minimed, Inc. | Dry insertion and one-point in vivo calibration of an optical analyte sensor |
| US9265455B2 (en) | 2012-11-13 | 2016-02-23 | Medtronic Minimed, Inc. | Methods and systems for optimizing sensor function by the application of voltage |
| US10194840B2 (en) | 2012-12-06 | 2019-02-05 | Medtronic Minimed, Inc. | Microarray electrodes useful with analyte sensors and methods for making and using them |
| US9211092B2 (en) * | 2013-01-03 | 2015-12-15 | Dexcom, Inc. | End of life detection for analyte sensors |
| US10426383B2 (en) | 2013-01-22 | 2019-10-01 | Medtronic Minimed, Inc. | Muting glucose sensor oxygen response and reducing electrode edge growth with pulsed current plating |
| CA2900572C (en) | 2013-03-15 | 2018-02-13 | F. Hoffmann-La Roche Ag | Methods of detecting high antioxidant levels during electrochemical measurements and failsafing an analyte concentration therefrom as well as devices, apparatuses and systems incorporting the same |
| CA2900883C (en) | 2013-03-15 | 2017-10-24 | F. Hoffmann-La Roche Ag | Methods of failsafing electrochemical measurements of an analyte as well as devices, apparatuses and systems incorporating the same |
| CN105247356B (zh) | 2013-03-15 | 2017-11-07 | 豪夫迈·罗氏有限公司 | 使用来自电化学分析物测量中的恢复脉冲的信息的方法以及合并所述方法的设备、装置和系统 |
| KR101727422B1 (ko) | 2013-03-15 | 2017-04-14 | 에프. 호프만-라 로슈 아게 | 바이오센서 알고리즘들을 구성하는데 사용된 데이터를 스케일링하는 방법들 뿐만 아니라 이를 통합한 기기들, 장치들 및 시스템들 |
| CN103149132B (zh) * | 2013-03-18 | 2015-02-25 | 深圳市理邦精密仪器股份有限公司 | 提高测量红细胞压积准确度的检测系统、及运行控制方法 |
| US9338819B2 (en) | 2013-05-29 | 2016-05-10 | Medtronic Minimed, Inc. | Variable data usage personal medical system and method |
| GB2515299B (en) | 2013-06-18 | 2015-12-30 | Suresensors Ltd | Methods and apparatus for determining analyte in a sample |
| US10194864B2 (en) | 2013-06-21 | 2019-02-05 | Medtronic Minimed, Inc. | Anchoring apparatus and method for attaching device on body |
| WO2014205412A1 (en) | 2013-06-21 | 2014-12-24 | Intuity Medical, Inc. | Analyte monitoring system with audible feedback |
| US9880528B2 (en) | 2013-08-21 | 2018-01-30 | Medtronic Minimed, Inc. | Medical devices and related updating methods and systems |
| US9459231B2 (en) | 2013-08-29 | 2016-10-04 | Lifescan Scotland Limited | Method and system to determine erroneous measurement signals during a test measurement sequence |
| US9243276B2 (en) | 2013-08-29 | 2016-01-26 | Lifescan Scotland Limited | Method and system to determine hematocrit-insensitive glucose values in a fluid sample |
| US8979808B1 (en) | 2013-10-14 | 2015-03-17 | Medtronic Minimed, Inc. | On-body injector and method of use |
| US9375537B2 (en) | 2013-10-14 | 2016-06-28 | Medtronic Minimed, Inc. | Therapeutic agent injection device |
| US8979799B1 (en) | 2013-10-14 | 2015-03-17 | Medtronic Minimed, Inc. | Electronic injector |
| US9265881B2 (en) | 2013-10-14 | 2016-02-23 | Medtronic Minimed, Inc. | Therapeutic agent injection device |
| US10517892B2 (en) | 2013-10-22 | 2019-12-31 | Medtronic Minimed, Inc. | Methods and systems for inhibiting foreign-body responses in diabetic patients |
| US9226709B2 (en) | 2013-11-04 | 2016-01-05 | Medtronic Minimed, Inc. | ICE message system and method |
| US9267875B2 (en) | 2013-11-21 | 2016-02-23 | Medtronic Minimed, Inc. | Accelerated life testing device and method |
| US9750877B2 (en) | 2013-12-11 | 2017-09-05 | Medtronic Minimed, Inc. | Predicted time to assess and/or control a glycemic state |
| US10105488B2 (en) | 2013-12-12 | 2018-10-23 | Medtronic Minimed, Inc. | Predictive infusion device operations and related methods and systems |
| US9849240B2 (en) | 2013-12-12 | 2017-12-26 | Medtronic Minimed, Inc. | Data modification for predictive operations and devices incorporating same |
| US9943256B2 (en) | 2013-12-16 | 2018-04-17 | Medtronic Minimed, Inc. | Methods and systems for improving the reliability of orthogonally redundant sensors |
| US10638947B2 (en) | 2013-12-16 | 2020-05-05 | Medtronic Minimed, Inc. | Use of electrochemical impedance spectroscopy (EIS) in intelligent diagnostics |
| US9143941B2 (en) | 2013-12-18 | 2015-09-22 | Medtronic Minimed, Inc. | Secure communication by user selectable communication range |
| US9779226B2 (en) | 2013-12-18 | 2017-10-03 | Medtronic Minimed, Inc. | Fingerprint enhanced authentication for medical devices in wireless networks |
| US9694132B2 (en) | 2013-12-19 | 2017-07-04 | Medtronic Minimed, Inc. | Insertion device for insertion set |
| US9861748B2 (en) | 2014-02-06 | 2018-01-09 | Medtronic Minimed, Inc. | User-configurable closed-loop notifications and infusion systems incorporating same |
| US9388805B2 (en) | 2014-03-24 | 2016-07-12 | Medtronic Minimed, Inc. | Medication pump test device and method of use |
| US9689830B2 (en) | 2014-04-03 | 2017-06-27 | Medtronic Minimed, Inc. | Sensor detection pads with integrated fuse |
| US9707336B2 (en) | 2014-04-07 | 2017-07-18 | Medtronic Minimed, Inc. | Priming detection system and method of using the same |
| US10232113B2 (en) | 2014-04-24 | 2019-03-19 | Medtronic Minimed, Inc. | Infusion devices and related methods and systems for regulating insulin on board |
| US9681828B2 (en) | 2014-05-01 | 2017-06-20 | Medtronic Minimed, Inc. | Physiological characteristic sensors and methods for forming such sensors |
| EP3146332B1 (en) * | 2014-05-23 | 2022-03-23 | Nova Biomedical Corporation | Hemolysis and hematocrit detection method and system |
| US9901305B2 (en) | 2014-06-13 | 2018-02-27 | Medtronic Minimed, Inc. | Physiological sensor history backfill system and method |
| US11083838B2 (en) | 2014-07-21 | 2021-08-10 | Medtronic Minimed, Inc. | Smart connection interface |
| US9717845B2 (en) | 2014-08-19 | 2017-08-01 | Medtronic Minimed, Inc. | Geofencing for medical devices |
| US20160051755A1 (en) | 2014-08-25 | 2016-02-25 | Medtronic Minimed, Inc. | Low cost fluid delivery device |
| US9839753B2 (en) | 2014-09-26 | 2017-12-12 | Medtronic Minimed, Inc. | Systems for managing reservoir chamber pressure |
| US10279126B2 (en) | 2014-10-07 | 2019-05-07 | Medtronic Minimed, Inc. | Fluid conduit assembly with gas trapping filter in the fluid flow path |
| US9841014B2 (en) | 2014-10-20 | 2017-12-12 | Medtronic Minimed, Inc. | Insulin pump data acquisition device and system |
| US9592335B2 (en) | 2014-10-20 | 2017-03-14 | Medtronic Minimed, Inc. | Insulin pump data acquisition device |
| PL3216076T3 (pl) | 2014-11-03 | 2024-05-27 | F. Hoffmann-La Roche Ag | Sposób wykorzystania elektrochemicznych elementów testowych mających układy kilku elektrod |
| US9731067B2 (en) | 2014-11-25 | 2017-08-15 | Medtronic Minimed, Inc. | Mechanical injection pump and method of use |
| US9901675B2 (en) | 2014-11-25 | 2018-02-27 | Medtronic Minimed, Inc. | Infusion set insertion device and method of use |
| US9943645B2 (en) | 2014-12-04 | 2018-04-17 | Medtronic Minimed, Inc. | Methods for operating mode transitions and related infusion devices and systems |
| US9636453B2 (en) | 2014-12-04 | 2017-05-02 | Medtronic Minimed, Inc. | Advance diagnosis of infusion device operating mode viability |
| US10307535B2 (en) | 2014-12-19 | 2019-06-04 | Medtronic Minimed, Inc. | Infusion devices and related methods and systems for preemptive alerting |
| US9717848B2 (en) | 2015-01-22 | 2017-08-01 | Medtronic Minimed, Inc. | Data derived pre-bolus delivery |
| US9872954B2 (en) | 2015-03-02 | 2018-01-23 | Medtronic Minimed, Inc. | Belt clip |
| US10307528B2 (en) | 2015-03-09 | 2019-06-04 | Medtronic Minimed, Inc. | Extensible infusion devices and related methods |
| US10449298B2 (en) | 2015-03-26 | 2019-10-22 | Medtronic Minimed, Inc. | Fluid injection devices and related methods |
| US10130757B2 (en) | 2015-05-01 | 2018-11-20 | Medtronic Minimed, Inc. | Method and system for leakage detection in portable medical devices |
| US9999721B2 (en) | 2015-05-26 | 2018-06-19 | Medtronic Minimed, Inc. | Error handling in infusion devices with distributed motor control and related operating methods |
| US20170038331A1 (en) * | 2015-08-05 | 2017-02-09 | Lifescan Scotland Limited | System and method for compensating sample-related measurements based on polarization effects of test strips |
| US10463297B2 (en) | 2015-08-21 | 2019-11-05 | Medtronic Minimed, Inc. | Personalized event detection methods and related devices and systems |
| US10293108B2 (en) | 2015-08-21 | 2019-05-21 | Medtronic Minimed, Inc. | Infusion devices and related patient ratio adjustment methods |
| US10543314B2 (en) | 2015-08-21 | 2020-01-28 | Medtronic Minimed, Inc. | Personalized parameter modeling with signal calibration based on historical data |
| US10201657B2 (en) | 2015-08-21 | 2019-02-12 | Medtronic Minimed, Inc. | Methods for providing sensor site rotation feedback and related infusion devices and systems |
| US10117992B2 (en) | 2015-09-29 | 2018-11-06 | Medtronic Minimed, Inc. | Infusion devices and related rescue detection methods |
| US9992818B2 (en) | 2015-10-06 | 2018-06-05 | Medtronic Minimed, Inc. | Protocol translation device |
| US11501867B2 (en) | 2015-10-19 | 2022-11-15 | Medtronic Minimed, Inc. | Medical devices and related event pattern presentation methods |
| US11666702B2 (en) | 2015-10-19 | 2023-06-06 | Medtronic Minimed, Inc. | Medical devices and related event pattern treatment recommendation methods |
| US9757511B2 (en) | 2015-10-19 | 2017-09-12 | Medtronic Minimed, Inc. | Personal medical device and method of use with restricted mode challenge |
| US10146911B2 (en) | 2015-10-23 | 2018-12-04 | Medtronic Minimed, Inc. | Medical devices and related methods and systems for data transfer |
| US10037722B2 (en) | 2015-11-03 | 2018-07-31 | Medtronic Minimed, Inc. | Detecting breakage in a display element |
| US10827959B2 (en) | 2015-11-11 | 2020-11-10 | Medtronic Minimed, Inc. | Sensor set |
| US9848805B2 (en) | 2015-12-18 | 2017-12-26 | Medtronic Minimed, Inc. | Biostable glucose permeable polymer |
| US20170181672A1 (en) | 2015-12-28 | 2017-06-29 | Medtronic Minimed, Inc. | Sensor systems, devices, and methods for continuous glucose monitoring |
| US10327680B2 (en) | 2015-12-28 | 2019-06-25 | Medtronic Minimed, Inc. | Sensor systems, devices, and methods for continuous glucose monitoring |
| US20170184527A1 (en) | 2015-12-28 | 2017-06-29 | Medtronic Minimed, Inc. | Sensor systems, devices, and methods for continuous glucose monitoring |
| US10327686B2 (en) | 2015-12-28 | 2019-06-25 | Medtronic Minimed, Inc. | Sensor systems, devices, and methods for continuous glucose monitoring |
| US10349872B2 (en) | 2015-12-28 | 2019-07-16 | Medtronic Minimed, Inc. | Methods, systems, and devices for sensor fusion |
| US20230368046A9 (en) | 2016-01-28 | 2023-11-16 | Medtronic Minimed, Inc. | Activation of Ancillary Sensor Systems Based on Triggers from a Wearable Gesture Sensing Device |
| CN113035322B (zh) | 2016-01-28 | 2024-12-10 | 美敦力迷你迈德公司 | 用于跟踪食物摄入和其它行为并提供相关反馈的方法和设备 |
| US10790054B1 (en) | 2016-12-07 | 2020-09-29 | Medtronic Minimed, Inc. | Method and apparatus for tracking of food intake and other behaviors and providing relevant feedback |
| JP7041623B2 (ja) * | 2016-01-29 | 2022-03-24 | エフ.ホフマン-ラ ロシュ アーゲー | 液体試料中の分析物を検出するための電気化学発光方法および装置 |
| US10765348B2 (en) | 2016-04-08 | 2020-09-08 | Medtronic Minimed, Inc. | Sensor and transmitter product |
| US12419547B2 (en) | 2016-04-08 | 2025-09-23 | Medtronic Minimed, Inc. | Sensor and transmitter product |
| US10420508B2 (en) | 2016-04-08 | 2019-09-24 | Medtronic Minimed, Inc. | Sensor connections |
| US10765369B2 (en) | 2016-04-08 | 2020-09-08 | Medtronic Minimed, Inc. | Analyte sensor |
| US10589038B2 (en) | 2016-04-27 | 2020-03-17 | Medtronic Minimed, Inc. | Set connector systems for venting a fluid reservoir |
| US9970893B2 (en) | 2016-04-28 | 2018-05-15 | Medtronic Minimed, Inc. | Methods, systems, and devices for electrode capacitance calculation and application |
| US10426389B2 (en) | 2016-04-28 | 2019-10-01 | Medtronic Minimed, Inc. | Methods, systems, and devices for electrode capacitance calculation and application |
| US10324058B2 (en) | 2016-04-28 | 2019-06-18 | Medtronic Minimed, Inc. | In-situ chemistry stack for continuous glucose sensors |
| US10086134B2 (en) | 2016-05-26 | 2018-10-02 | Medtronic Minimed, Inc. | Systems for set connector assembly with lock |
| US10086133B2 (en) | 2016-05-26 | 2018-10-02 | Medtronic Minimed, Inc. | Systems for set connector assembly with lock |
| US9968737B2 (en) | 2016-05-26 | 2018-05-15 | Medtronic Minimed, Inc. | Systems for set connector assembly with lock |
| US11179078B2 (en) | 2016-06-06 | 2021-11-23 | Medtronic Minimed, Inc. | Polycarbonate urea/urethane polymers for use with analyte sensors |
| US11134872B2 (en) | 2016-06-06 | 2021-10-05 | Medtronic Minimed, Inc. | Thermally stable glucose limiting membrane for glucose sensors |
| US10485924B2 (en) | 2016-09-06 | 2019-11-26 | Medtronic Minimed, Inc. | Pump clip for a fluid infusion device |
| EP4481375A3 (en) | 2016-10-05 | 2025-04-02 | F. Hoffmann-La Roche AG | Detection reagents and electrode arrangements for multi-analyte diagnostic test elements, as well as methods of using the same |
| EP3529612B1 (en) | 2016-10-24 | 2024-12-11 | F. Hoffmann-La Roche AG | Methods of correcting for uncompensated resistances in the conductive elements of biosensors, as well as devices and systems |
| US10709834B2 (en) | 2016-12-21 | 2020-07-14 | Medtronic Minimed, Inc. | Medication fluid infusion set component with integrated physiological analyte sensor, and corresponding fluid infusion device |
| US10854322B2 (en) | 2016-12-21 | 2020-12-01 | Medtronic Minimed, Inc. | Infusion systems and methods for patient activity adjustments |
| US10272201B2 (en) | 2016-12-22 | 2019-04-30 | Medtronic Minimed, Inc. | Insertion site monitoring methods and related infusion devices and systems |
| US11197949B2 (en) | 2017-01-19 | 2021-12-14 | Medtronic Minimed, Inc. | Medication infusion components and systems |
| US10821225B2 (en) | 2017-01-20 | 2020-11-03 | Medtronic Minimed, Inc. | Cannulas for drug delivery devices |
| US10552580B2 (en) | 2017-02-07 | 2020-02-04 | Medtronic Minimed, Inc. | Infusion system consumables and related calibration methods |
| US10646649B2 (en) | 2017-02-21 | 2020-05-12 | Medtronic Minimed, Inc. | Infusion devices and fluid identification apparatuses and methods |
| US11986288B2 (en) | 2017-03-06 | 2024-05-21 | Medtronic Minimed, Inc. | Colorometric sensor for the non-invasive screening of glucose in sweat in pre and type 2 diabetes |
| US11134868B2 (en) | 2017-03-17 | 2021-10-05 | Medtronic Minimed, Inc. | Metal pillar device structures and methods for making and using them in electrochemical and/or electrocatalytic applications |
| US20180272065A1 (en) | 2017-03-24 | 2018-09-27 | Medtronic Minimed, Inc. | Patient management systems and uplift recommendation methods |
| US11131645B2 (en) | 2017-05-05 | 2021-09-28 | Trividia Health, Inc. | Methods and systems for hematocrit measurement |
| US11512384B2 (en) | 2017-05-11 | 2022-11-29 | Medtronic Minimed, Inc. | Analyte sensors and methods for fabricating analyte sensors |
| CN110770574B (zh) | 2017-06-08 | 2022-07-15 | 豪夫迈·罗氏有限公司 | 电极断裂检测 |
| US10856784B2 (en) | 2017-06-30 | 2020-12-08 | Medtronic Minimed, Inc. | Sensor initialization methods for faster body sensor response |
| US11412960B2 (en) | 2017-08-28 | 2022-08-16 | Medtronic Minimed, Inc. | Pedestal for sensor assembly packaging and sensor introducer removal |
| US10596295B2 (en) | 2017-08-28 | 2020-03-24 | Medtronic Minimed, Inc. | Adhesive patch arrangement for a physiological characteristic sensor, and related sensor assembly |
| US11311217B2 (en) | 2017-09-13 | 2022-04-26 | Medtronic Minimed, Inc. | Methods, systems, and devices for calibration and optimization of glucose sensors and sensor output |
| US10874300B2 (en) | 2017-09-26 | 2020-12-29 | Medtronic Minimed, Inc. | Waferscale physiological characteristic sensor package with integrated wireless transmitter |
| US10525244B2 (en) | 2017-09-28 | 2020-01-07 | Medtronic Minimed, Inc. | Microneedle arrays and methods for fabricating microneedle arrays |
| US10524730B2 (en) | 2017-09-28 | 2020-01-07 | Medtronic Minimed, Inc. | Medical devices with microneedle arrays and methods for operating such medical devices |
| US11331022B2 (en) | 2017-10-24 | 2022-05-17 | Dexcom, Inc. | Pre-connected analyte sensors |
| US11382540B2 (en) | 2017-10-24 | 2022-07-12 | Dexcom, Inc. | Pre-connected analyte sensors |
| US11676734B2 (en) | 2017-11-15 | 2023-06-13 | Medtronic Minimed, Inc. | Patient therapy management system that leverages aggregated patient population data |
| US11213230B2 (en) | 2017-12-13 | 2022-01-04 | Medtronic Minimed, Inc. | Optional sensor calibration in continuous glucose monitoring |
| US11471082B2 (en) | 2017-12-13 | 2022-10-18 | Medtronic Minimed, Inc. | Complex redundancy in continuous glucose monitoring |
| US11439352B2 (en) | 2018-01-17 | 2022-09-13 | Medtronic Minimed, Inc. | Medical device with adhesive patch longevity |
| US12042284B2 (en) | 2018-01-23 | 2024-07-23 | Medtronic Minimed, Inc. | Implantable polymer surfaces exhibiting reduced in vivo inflammatory responses |
| US11186859B2 (en) | 2018-02-07 | 2021-11-30 | Medtronic Minimed, Inc. | Multilayer electrochemical analyte sensors and methods for making and using them |
| US11583213B2 (en) | 2018-02-08 | 2023-02-21 | Medtronic Minimed, Inc. | Glucose sensor electrode design |
| US11220735B2 (en) | 2018-02-08 | 2022-01-11 | Medtronic Minimed, Inc. | Methods for controlling physical vapor deposition metal film adhesion to substrates and surfaces |
| US11672446B2 (en) | 2018-03-23 | 2023-06-13 | Medtronic Minimed, Inc. | Insulin delivery recommendations based on nutritional information |
| US11147919B2 (en) | 2018-04-23 | 2021-10-19 | Medtronic Minimed, Inc. | Methodology to recommend and implement adjustments to a fluid infusion device of a medication delivery system |
| US11158413B2 (en) | 2018-04-23 | 2021-10-26 | Medtronic Minimed, Inc. | Personalized closed loop medication delivery system that utilizes a digital twin of the patient |
| US10861603B2 (en) | 2018-05-07 | 2020-12-08 | Medtronic Minimed, Inc. | Proactive image-based infusion device delivery adjustments |
| US11761077B2 (en) | 2018-08-01 | 2023-09-19 | Medtronic Minimed, Inc. | Sputtering techniques for biosensors |
| US11122697B2 (en) | 2018-08-07 | 2021-09-14 | Medtronic Minimed, Inc. | Method of fabricating an electronic medical device, including overmolding an assembly with thermoplastic material |
| US11021731B2 (en) | 2018-08-23 | 2021-06-01 | Medtronic Minimed, Inc. | Analyte sensing layers, analyte sensors and methods for fabricating the same |
| US20210341412A1 (en) * | 2018-08-23 | 2021-11-04 | Mayo Foundation For Medical Education And Research | Measuring neurochemical levels with multiple cyclic square wave voltammetry |
| US10828419B2 (en) | 2018-09-04 | 2020-11-10 | Medtronic Minimed, Inc. | Infusion set with pivoting metal cannula and strain relief |
| US11547799B2 (en) | 2018-09-20 | 2023-01-10 | Medtronic Minimed, Inc. | Patient day planning systems and methods |
| US10894126B2 (en) | 2018-09-28 | 2021-01-19 | Medtronic Minimed, Inc. | Fluid infusion system that automatically determines and delivers a correction bolus |
| US11097052B2 (en) | 2018-09-28 | 2021-08-24 | Medtronic Minimed, Inc. | Insulin infusion device with configurable target blood glucose value for automatic basal insulin delivery operation |
| US10980942B2 (en) | 2018-09-28 | 2021-04-20 | Medtronic Minimed, Inc. | Infusion devices and related meal bolus adjustment methods |
| US11071821B2 (en) | 2018-09-28 | 2021-07-27 | Medtronic Minimed, Inc. | Insulin infusion device with efficient confirmation routine for blood glucose measurements |
| US10946140B2 (en) | 2018-10-11 | 2021-03-16 | Medtronic Minimed, Inc. | Systems and methods for measurement of fluid delivery |
| US20200116748A1 (en) | 2018-10-11 | 2020-04-16 | Medtronic Minimed, Inc. | Systems and methods for measurement of fluid delivery |
| US11367516B2 (en) | 2018-10-31 | 2022-06-21 | Medtronic Minimed, Inc. | Automated detection of a physical behavior event and corresponding adjustment of a medication dispensing system |
| US11363986B2 (en) | 2018-10-31 | 2022-06-21 | Medtronic Minimed, Inc. | Automated detection of a physical behavior event and corresponding adjustment of a medication dispensing system |
| US20200289373A1 (en) | 2018-10-31 | 2020-09-17 | Medtronic Minimed, Inc. | Automated detection of a physical behavior event and corresponding adjustment of a physiological characteristic sensor device |
| US11367517B2 (en) | 2018-10-31 | 2022-06-21 | Medtronic Minimed, Inc. | Gesture-based detection of a physical behavior event based on gesture sensor data and supplemental information from at least one external source |
| US11382541B2 (en) | 2018-11-16 | 2022-07-12 | Medtronic Minimed, Inc. | Miniaturized analyte sensor |
| US11540750B2 (en) | 2018-12-19 | 2023-01-03 | Medtronic Minimed, Inc | Systems and methods for physiological characteristic monitoring |
| US11439752B2 (en) | 2019-02-01 | 2022-09-13 | Medtronic Minimed, Inc. | Methods and devices for occlusion detection using actuator sensors |
| US12114972B2 (en) | 2019-02-01 | 2024-10-15 | Medtronic Minimed, Inc. | Methods, systems, and devices for continuous glucose monitoring |
| US11389587B2 (en) | 2019-02-06 | 2022-07-19 | Medtronic Minimed, Inc. | Patient monitoring systems and related presentation methods |
| US12507914B2 (en) | 2019-02-12 | 2025-12-30 | Medtronic Minimed, Inc. | Miniaturized noninvasive glucose sensor and continuous glucose monitoring system |
| US20200253513A1 (en) | 2019-02-12 | 2020-08-13 | Medtronic Minimed, Inc. | Miniaturized noninvasive glucose sensor and continuous glucose monitoring system |
| US11191899B2 (en) | 2019-02-12 | 2021-12-07 | Medtronic Minimed, Inc. | Infusion systems and related personalized bolusing methods |
| US12082910B2 (en) | 2019-02-12 | 2024-09-10 | Medtronic Minimed, Inc. | Miniaturized noninvasive glucose sensor and continuous glucose monitoring system |
| US11311215B2 (en) | 2019-04-04 | 2022-04-26 | Medtronic Minimed, Inc. | Measurement of device materials using non-Faradaic electrochemical impedance spectroscopy |
| US11986629B2 (en) | 2019-06-11 | 2024-05-21 | Medtronic Minimed, Inc. | Personalized closed loop optimization systems and methods |
| US11224361B2 (en) | 2019-04-23 | 2022-01-18 | Medtronic Minimed, Inc. | Flexible physiological characteristic sensor assembly |
| US11317867B2 (en) | 2019-04-23 | 2022-05-03 | Medtronic Minimed, Inc. | Flexible physiological characteristic sensor assembly |
| US10939488B2 (en) | 2019-05-20 | 2021-03-02 | Medtronic Minimed, Inc. | Method and system for controlling communication between devices of a wireless body area network for an medical device system |
| US11793930B2 (en) | 2019-06-06 | 2023-10-24 | Medtronic Minimed, Inc. | Fluid infusion systems |
| US11448611B2 (en) | 2019-07-03 | 2022-09-20 | Medtronic Minimed, Inc. | Structurally reinforced sensor and method for manufacturing the same |
| US11617828B2 (en) | 2019-07-17 | 2023-04-04 | Medtronic Minimed, Inc. | Reservoir connection interface with detectable signature |
| US11718865B2 (en) | 2019-07-26 | 2023-08-08 | Medtronic Minimed, Inc. | Methods to improve oxygen delivery to implantable sensors |
| US11523757B2 (en) | 2019-08-01 | 2022-12-13 | Medtronic Minimed, Inc. | Micro-pillar working electrodes design to reduce backflow of hydrogen peroxide in glucose sensor |
| US11617522B2 (en) | 2019-08-06 | 2023-04-04 | Medtronic Minimed, Inc. | Sensor inserter with disposal lockout state |
| US20220039755A1 (en) | 2020-08-06 | 2022-02-10 | Medtronic Minimed, Inc. | Machine learning-based system for estimating glucose values |
| US11883208B2 (en) | 2019-08-06 | 2024-01-30 | Medtronic Minimed, Inc. | Machine learning-based system for estimating glucose values based on blood glucose measurements and contextual activity data |
| US11724045B2 (en) | 2019-08-21 | 2023-08-15 | Medtronic Minimed, Inc. | Connection of a stopper and piston in a fluid delivery device |
| US20210060244A1 (en) | 2019-08-28 | 2021-03-04 | Medtronic Minimed, Inc. | Method and system for verifying whether a non-medical client device is operating correctly with a medical device controlled by the non-medical client device and causing a notification to be generated |
| US11571515B2 (en) | 2019-08-29 | 2023-02-07 | Medtronic Minimed, Inc. | Controlling medical device operation and features based on detected patient sleeping status |
| US11565044B2 (en) | 2019-09-12 | 2023-01-31 | Medtronic Minimed, Inc. | Manufacturing controls for sensor calibration using fabrication measurements |
| US11654235B2 (en) | 2019-09-12 | 2023-05-23 | Medtronic Minimed, Inc. | Sensor calibration using fabrication measurements |
| US11241537B2 (en) | 2019-09-20 | 2022-02-08 | Medtronic Minimed, Inc. | Contextual personalized closed-loop adjustment methods and systems |
| US11213623B2 (en) | 2019-09-20 | 2022-01-04 | Medtronic Minimed, Inc. | Infusion systems and related personalized bolusing methods |
| US11511099B2 (en) | 2019-10-08 | 2022-11-29 | Medtronic Minimed, Inc. | Apparatus for detecting mating of a cap with a fluid delivery device and method |
| US12329926B2 (en) | 2019-10-10 | 2025-06-17 | Medtronic Minimed, Inc. | Adjustable insertion device |
| US11638545B2 (en) | 2019-10-16 | 2023-05-02 | Medtronic Minimed, Inc. | Reducing sensor foreign body response via high surface area metal structures |
| US12315631B2 (en) | 2019-11-07 | 2025-05-27 | Medtronic Minimed, Inc. | Medical device site monitoring methods and related devices and systems |
| US12263327B2 (en) | 2019-11-14 | 2025-04-01 | Medtronic Minimed, Inc. | Synergistic features and functions related to operation of a medication delivery system and a meal transaction application |
| US11496083B2 (en) | 2019-11-15 | 2022-11-08 | Medtronic Minimed, Inc. | Devices and methods for controlling electromechanical actuators |
| US11944784B2 (en) | 2019-11-18 | 2024-04-02 | Medtronic Minimed, Inc. | Combined analyte sensor and infusion set |
| US12247941B2 (en) | 2019-11-21 | 2025-03-11 | Medtronic Minimed, Inc. | Glucose biosensor encasement, glucose biosensor package, and method |
| US11559624B2 (en) | 2019-11-21 | 2023-01-24 | Medtronic Minimed, Inc. | Systems for wearable infusion port and associated pump |
| US11324881B2 (en) | 2019-11-21 | 2022-05-10 | Medtronic Minimed, Inc. | Systems for wearable infusion port and associated pump |
| US20210174960A1 (en) | 2019-12-09 | 2021-06-10 | Medtronic Minimed, Inc. | Generative modeling methods and systems for simulating sensor measurements |
| US11938301B2 (en) | 2019-12-13 | 2024-03-26 | Medtronic Minimed, Inc. | Controlling medication delivery system operation and features based on automatically detected muscular movements |
| US11488700B2 (en) | 2019-12-13 | 2022-11-01 | Medtronic Minimed, Inc. | Medical device configuration procedure guidance responsive to detected gestures |
| US20210178063A1 (en) | 2019-12-13 | 2021-06-17 | Medtronic Minimed, Inc. | Controlling medication delivery system operation and features based on automatically detected user stress level |
| US12133969B2 (en) | 2019-12-13 | 2024-11-05 | Medtronic Minimed, Inc. | Translating therapy parameters of an insulin therapy system to translated therapy parameters for use at a different insulin therapy system |
| CN114787932A (zh) | 2019-12-13 | 2022-07-22 | 美敦力迷你迈德公司 | 用于基于从离散胰岛素治疗系统接收的数据来训练用户的数学模型的方法和系统 |
| US12478286B2 (en) | 2019-12-13 | 2025-11-25 | Medtronic Minimed, Inc. | Synergistic features and functions related to operation of a medication delivery system and a physical activity detection system |
| US11786655B2 (en) | 2019-12-13 | 2023-10-17 | Medtronic Minimed, Inc. | Context-sensitive predictive operation of a medication delivery system in response to gesture-indicated activity changes |
| US11690573B2 (en) | 2019-12-18 | 2023-07-04 | Medtronic Minimed, Inc. | Systems for skin patch gravity resistance |
| US11375955B2 (en) | 2019-12-18 | 2022-07-05 | Medtronic Minimed, Inc. | Systems for skin patch gravity resistance |
| US11821022B2 (en) | 2019-12-23 | 2023-11-21 | Medtronic Minimed, Inc. | Ethylene oxide absorption layer for analyte sensing and method |
| US11244753B2 (en) | 2020-01-30 | 2022-02-08 | Medtronic Minimed, Inc. | Activity monitoring systems and methods |
| US11957488B2 (en) | 2020-02-07 | 2024-04-16 | Medtronic Minimed, Inc. | Systems for medical device breathability |
| US12186098B2 (en) | 2020-02-07 | 2025-01-07 | Medtronic Minimed, Inc. | Systems for medical device breathability |
| US11833327B2 (en) | 2020-03-06 | 2023-12-05 | Medtronic Minimed, Inc. | Analyte sensor configuration and calibration based on data collected from a previously used analyte sensor |
| USD958167S1 (en) | 2020-03-23 | 2022-07-19 | Companion Medical, Inc. | Display screen with graphical user interface |
| US12191017B2 (en) | 2020-03-23 | 2025-01-07 | Medtronic Minimed, Inc. | Systems and methods for medicine administration and tracking |
| USD958817S1 (en) | 2020-03-31 | 2022-07-26 | Medtronic Minimed, Inc. | Display screen with graphical user interface |
| US11596359B2 (en) | 2020-04-09 | 2023-03-07 | Medtronic Minimed, Inc. | Methods and systems for mitigating sensor error propagation |
| US11583631B2 (en) | 2020-04-23 | 2023-02-21 | Medtronic Minimed, Inc. | Intuitive user interface features and related functionality for a therapy delivery system |
| US11690955B2 (en) | 2020-04-23 | 2023-07-04 | Medtronic Minimed, Inc. | Continuous analyte sensor quality measures and related therapy actions for an automated therapy delivery system |
| US20210377726A1 (en) | 2020-05-27 | 2021-12-02 | Medtronic Minimed, Inc. | Method and system for automatically associating a non-medical device with a medical device |
| US11272884B2 (en) | 2020-06-04 | 2022-03-15 | Medtronic Minimed, Inc. | Liner for adhesive skin patch |
| US12433538B2 (en) | 2020-06-04 | 2025-10-07 | Medtronic Minimed, Inc. | Liner for adhesive skin patch |
| US12213782B2 (en) | 2020-06-04 | 2025-02-04 | Medtronic Minimed, Inc. | Physiological characteristic sensor system |
| US12064236B2 (en) | 2020-06-11 | 2024-08-20 | Medtronic Minimed, Inc. | Methods, systems, and devices for improved sensors for continuous glucose monitoring |
| US12488872B2 (en) | 2020-06-19 | 2025-12-02 | Medtronic Minimed, Inc. | Default carbohydrate consumption counts based on population carbohydrate consumption models |
| US11960311B2 (en) | 2020-07-28 | 2024-04-16 | Medtronic Minimed, Inc. | Linear voltage regulator with isolated supply current |
| US11650248B2 (en) | 2020-07-28 | 2023-05-16 | Medtronic Minimed, Inc. | Electrical current measurement system |
| US11445807B2 (en) | 2020-07-31 | 2022-09-20 | Medtronic Minimed, Inc. | Pump clip with tube clamp for a fluid infusion device |
| US12082924B2 (en) | 2020-07-31 | 2024-09-10 | Medtronic Minimed, Inc. | Sensor identification and integrity check design |
| US11839743B2 (en) | 2020-10-07 | 2023-12-12 | Medtronic Minimed, Inc. | Graphic user interface for automated infusate delivery |
| US11737783B2 (en) | 2020-10-16 | 2023-08-29 | Medtronic Minimed, Inc. | Disposable medical device introduction system |
| US11806503B2 (en) | 2020-10-29 | 2023-11-07 | Medtronic Minimed, Inc. | Removable wearable device and related attachment methods |
| US11844930B2 (en) | 2020-10-29 | 2023-12-19 | Medtronic Minimed, Inc. | User-mountable electronic device with accelerometer-based activation feature |
| US11534086B2 (en) | 2020-10-30 | 2022-12-27 | Medtronic Minimed, Inc. | Low-profile wearable medical device |
| US12447269B2 (en) | 2020-11-11 | 2025-10-21 | Medtronic Minimed, Inc. | Torsional insertion devices |
| US11951281B2 (en) | 2020-11-11 | 2024-04-09 | Medtronic Minimed, Inc. | Fluid conduit insertion devices |
| US12138047B2 (en) | 2021-01-22 | 2024-11-12 | Medtronic Minimed, Inc. | Micro models and layered prediction models for estimating sensor glucose values and reducing sensor glucose signal blanking |
| US12423490B2 (en) | 2021-01-29 | 2025-09-23 | Medtronic Minimed, Inc. | Model mosaic framework for modeling glucose sensitivity |
| US11998330B2 (en) | 2021-01-29 | 2024-06-04 | Medtronic Minimed, Inc. | Interference rejection membranes useful with analyte sensors |
| WO2022169753A1 (en) | 2021-02-02 | 2022-08-11 | Medtronic Minimed, Inc. | Dynamic adjustments of physiological data |
| US12214173B2 (en) | 2021-06-08 | 2025-02-04 | Medtronic Minimed, Inc. | Injection pens for medicine administration and tracking |
| US11904146B2 (en) | 2021-06-08 | 2024-02-20 | Medtronic Minimed, Inc. | Medicine injection devices, systems, and methods for medicine administration and tracking |
| US12478742B2 (en) | 2021-06-09 | 2025-11-25 | Medtronic Minimed, Inc. | Injection pens for medicine administration |
| US11792714B2 (en) | 2021-06-16 | 2023-10-17 | Medtronic Minimed, Inc. | Medicine administration in dynamic networks |
| US12370320B2 (en) | 2021-06-21 | 2025-07-29 | Medtronic Minimed, Inc. | Accessory devices, systems, and methods for medicine administration and tracking |
| US12433515B2 (en) | 2021-08-13 | 2025-10-07 | Medtronic Minimed, Inc. | Dry electrochemical impedance spectroscopy metrology for conductive chemical layers |
| US11587742B1 (en) | 2021-09-02 | 2023-02-21 | Medtronic Minimed, Inc. | Ingress-tolerant input devices |
| US11817285B2 (en) | 2021-09-02 | 2023-11-14 | Medtronic Minimed, Inc. | Ingress-tolerant input devices comprising sliders |
| US12201421B2 (en) | 2021-10-08 | 2025-01-21 | Medtronic Minimed, Inc. | Immunosuppressant releasing coatings |
| US12442786B2 (en) | 2021-10-14 | 2025-10-14 | Medtronic Minimed, Inc. | Sensors for 3-hydroxybutyrate detection |
| US12527500B2 (en) | 2021-12-02 | 2026-01-20 | Medtronic Minimed, Inc. | Ketone limiting membrane and dual layer membrane approach for ketone sensing |
| US12502486B2 (en) | 2022-03-14 | 2025-12-23 | Medtronic Minimed, Inc. | Safeguards against usage of incorrect portable medicine delivery devices |
| US11896447B2 (en) | 2022-03-14 | 2024-02-13 | Medtronic Minimed, Inc. | Safeguards against separation from portable medicine delivery devices |
| US12011293B2 (en) | 2022-04-26 | 2024-06-18 | Medtronic Minimed, Inc. | Energy management based on a closed switch configuration |
| US11997806B2 (en) | 2022-04-26 | 2024-05-28 | Medtronic Minimed, Inc. | Energy management based on an open switch configuration |
| US12522853B2 (en) | 2022-10-28 | 2026-01-13 | Medtronic Minimed, Inc. | Enzyme mediator functionalized polymers for use with analyte sensors |
Citations (4)
| Publication number | Priority date | Publication date | Assignee | Title |
|---|---|---|---|---|
| JPH08502589A (ja) * | 1993-06-08 | 1996-03-19 | ベーリンガー マンハイム コーポレーション | 誤表示防止フェールセーフ機能付バイオセンシングメータ |
| JP2001527215A (ja) * | 1997-12-22 | 2001-12-25 | ロシュ ダイアグノスティックス コーポレーション | 生物学的流体の医学的に有意な成分の濃度を測定する装置および方法 |
| EP1312919A2 (en) * | 2001-11-20 | 2003-05-21 | Lifescan, Inc. | Sample volume metering apparatus |
| WO2003076919A1 (en) * | 2002-03-08 | 2003-09-18 | Matsushita Electric Industrial Co., Ltd. | Substrate determining method |
Family Cites Families (537)
| Publication number | Priority date | Publication date | Assignee | Title |
|---|---|---|---|---|
| US672094A (en) | 1900-08-27 | 1901-04-16 | George Cliffton | Feed-cooker. |
| GB281224A (en) | 1926-11-24 | 1928-10-08 | Franz Kahl | Device for treating mucous membranes of the nose |
| US2526651A (en) | 1945-08-02 | 1950-10-24 | Hydrocarbon Research Inc | Separating powdered catalysts from exothermically reactive gases |
| GB787123A (en) | 1954-03-18 | 1957-12-04 | Rheinpreussen Ag | Apparatus for the catalytic gas reactions in liquid media |
| US2883169A (en) | 1955-04-29 | 1959-04-21 | Mining Process & Patent Co | Aerating apparatus for flotation pulps |
| US3526480A (en) | 1966-12-15 | 1970-09-01 | Xerox Corp | Automated chemical analyzer |
| US3551295A (en) | 1967-11-29 | 1970-12-29 | Northrop Corp | Microbiological detection and identification system |
| US3621381A (en) | 1968-10-16 | 1971-11-16 | Leeds & Northrup Co | Coulometric system having compensation for temperature induced viscosity changes |
| BE754658A (fr) | 1969-08-12 | 1971-02-10 | Merck Patent Gmbh | Lamelle indicatrice, se composant d'une matiere capillaire impregnee, absorbante et gainee de feuilles |
| US3644824A (en) * | 1970-02-09 | 1972-02-22 | Atomic Energy Authority Uk | Polarograph apparatus |
| US3661748A (en) * | 1970-04-07 | 1972-05-09 | Instrumentation Labor Inc | Fault sensing instrumentation |
| US3770607A (en) | 1970-04-07 | 1973-11-06 | Secretary | Glucose determination apparatus |
| US3656543A (en) | 1970-05-25 | 1972-04-18 | Foster Wheeler Corp | Liquid metal heat exchanger |
| US3919627A (en) | 1970-08-06 | 1975-11-11 | Gerald F Allen | Conductivity measuring method and apparatus utilizing coaxial electrode cells |
| US3776832A (en) | 1970-11-10 | 1973-12-04 | Energetics Science | Electrochemical detection cell |
| US3720093A (en) | 1970-12-03 | 1973-03-13 | Us Navy | Carbon dioxide indicating meter |
| US3718568A (en) * | 1971-05-21 | 1973-02-27 | Instrumentation Labor Inc | Electrochemical sensor instrumentation |
| US3718585A (en) * | 1971-08-02 | 1973-02-27 | Amoco Prod Co | Stabilizing asphalt in water-base drilling fluids |
| CH559912A5 (ja) | 1971-09-09 | 1975-03-14 | Hoffmann La Roche | |
| US3763422A (en) | 1971-10-21 | 1973-10-02 | Corning Glass Works | Method and apparatus for electrochemical analysis of small samples of blood |
| US3870099A (en) | 1972-05-19 | 1975-03-11 | Atomic Energy Commission | Seal assembly |
| US3925183A (en) | 1972-06-16 | 1975-12-09 | Energetics Science | Gas detecting and quantitative measuring device |
| US3902970A (en) | 1973-07-30 | 1975-09-02 | Leeds & Northrup Co | Flow-through amperometric measuring system and method |
| CH585907A5 (ja) | 1973-08-06 | 1977-03-15 | Hoffmann La Roche | |
| US3993947A (en) * | 1974-09-19 | 1976-11-23 | Drexelbrook Controls, Inc. | Admittance measuring system for monitoring the condition of materials |
| US3937615A (en) | 1974-12-17 | 1976-02-10 | Leeds & Northrup Company | Auto-ranging glucose measuring system |
| FR2295419A1 (fr) | 1974-12-21 | 1976-07-16 | Kyoto Daiichi Kagaku Kk | Dispositif de mesure de reflectance et structure de papier de test composite faisant l'objet d'une telle mesure |
| US4052596A (en) | 1974-12-23 | 1977-10-04 | Hycel, Inc. | Automatic hematology analyzer |
| US4060127A (en) | 1975-04-15 | 1977-11-29 | Nikolai Ivanovich Savin | Shell-and-tube heat exchanger |
| US4008448A (en) | 1975-10-03 | 1977-02-15 | Polaroid Corporation | Solenoid with selectively arrestible plunger movement |
| US4230537A (en) | 1975-12-18 | 1980-10-28 | Monsanto Company | Discrete biochemical electrode system |
| US4040908A (en) | 1976-03-12 | 1977-08-09 | Children's Hospital Medical Center | Polarographic analysis of cholesterol and other macromolecular substances |
| US4065263A (en) | 1976-04-02 | 1977-12-27 | Woodbridge Iii Richard G | Analytical test strip apparatus |
| US4053381A (en) | 1976-05-19 | 1977-10-11 | Eastman Kodak Company | Device for determining ionic activity of components of liquid drops |
| US4123701A (en) | 1976-07-01 | 1978-10-31 | United States Surgical Corporation | Disposable sample card having a well with electrodes for testing a liquid sample |
| US4092635A (en) * | 1976-09-20 | 1978-05-30 | Baxter Travenol Laboratories, Inc. | Humidity sensor alarm unit |
| US4127448A (en) | 1977-02-28 | 1978-11-28 | Schick Karl G | Amperometric-non-enzymatic method of determining sugars and other polyhydroxy compounds |
| US4214203A (en) * | 1977-06-17 | 1980-07-22 | Unisearch Limited | Location and effect of adsorbed chemicals on the dielectric substructure of membranes by ultra low frequency spectrometry |
| JPS5912135B2 (ja) | 1977-09-28 | 1984-03-21 | 松下電器産業株式会社 | 酵素電極 |
| JPS5460996A (en) | 1977-10-22 | 1979-05-16 | Mitsubishi Chem Ind | Method of measuring amount of sugar |
| US4214968A (en) | 1978-04-05 | 1980-07-29 | Eastman Kodak Company | Ion-selective electrode |
| DE2817363C2 (de) | 1978-04-20 | 1984-01-26 | Siemens AG, 1000 Berlin und 8000 München | Verfahren zur Konzentrationsbestimmung von Zucker und dafür geeigneter elektrokatalytischer Zuckersensor |
| DE2823485C2 (de) | 1978-05-30 | 1986-03-27 | Albert Prof. Dr. 3550 Marburg Huch | Trogelektrode |
| US4184936A (en) | 1978-07-24 | 1980-01-22 | Eastman Kodak Company | Device for determining ionic activity |
| US4233029A (en) | 1978-10-25 | 1980-11-11 | Eastman Kodak Company | Liquid transport device and method |
| CA1129498A (en) | 1978-10-25 | 1982-08-10 | Richard L. Columbus | Structural configuration and method for transport of a liquid drop through an ingress aperture |
| US4225410A (en) | 1978-12-04 | 1980-09-30 | Technicon Instruments Corporation | Integrated array of electrochemical sensors |
| US4329642A (en) | 1979-03-09 | 1982-05-11 | Siliconix, Incorporated | Carrier and test socket for leadless integrated circuit |
| US4273134A (en) | 1979-05-22 | 1981-06-16 | Biochem International Inc. | Fixation ring assembly and method of assembling a sensor head |
| US4273639A (en) | 1979-06-20 | 1981-06-16 | Eastman Kodak Company | Capillary bridge in apparatus for determining ionic activity |
| US4297569A (en) | 1979-06-28 | 1981-10-27 | Datakey, Inc. | Microelectronic memory key with receptacle and systems therefor |
| US4265250A (en) | 1979-07-23 | 1981-05-05 | Battle Research And Development Associates | Electrode |
| US4263343A (en) | 1979-08-13 | 1981-04-21 | Eastman Kodak Company | Reference elements for ion-selective membrane electrodes |
| US4301412A (en) | 1979-10-29 | 1981-11-17 | United States Surgical Corporation | Liquid conductivity measuring system and sample cards therefor |
| US4303887A (en) | 1979-10-29 | 1981-12-01 | United States Surgical Corporation | Electrical liquid conductivity measuring system |
| US4403984A (en) | 1979-12-28 | 1983-09-13 | Biotek, Inc. | System for demand-based adminstration of insulin |
| US4628193A (en) | 1980-01-30 | 1986-12-09 | Blum Alvin S | Code reading operations supervisor |
| US4323536A (en) | 1980-02-06 | 1982-04-06 | Eastman Kodak Company | Multi-analyte test device |
| US4413407A (en) | 1980-03-10 | 1983-11-08 | Eastman Kodak Company | Method for forming an electrode-containing device with capillary transport between electrodes |
| US4816224A (en) | 1980-08-05 | 1989-03-28 | Boehringer Mannheim Gmbh | Device for separating plasma or serum from whole blood and analyzing the same |
| DE3029579C2 (de) | 1980-08-05 | 1985-12-12 | Boehringer Mannheim Gmbh, 6800 Mannheim | Verfahren und Mittel zur Abtrennung von Plasma oder Serum aus Vollblut |
| US4407959A (en) | 1980-10-29 | 1983-10-04 | Fuji Electric Co., Ltd. | Blood sugar analyzing apparatus |
| US4413628A (en) | 1980-11-19 | 1983-11-08 | Tamulis Walter G | pH Monitor electrode electrolyte cartridge |
| US4420564A (en) | 1980-11-21 | 1983-12-13 | Fuji Electric Company, Ltd. | Blood sugar analyzer having fixed enzyme membrane sensor |
| DE3047782A1 (de) | 1980-12-18 | 1982-07-08 | Drägerwerk AG, 2400 Lübeck | Schaltungsanordnung zur korrektur der sensorausgangsgroesse |
| US4426451A (en) | 1981-01-28 | 1984-01-17 | Eastman Kodak Company | Multi-zoned reaction vessel having pressure-actuatable control means between zones |
| US4436094A (en) | 1981-03-09 | 1984-03-13 | Evreka, Inc. | Monitor for continuous in vivo measurement of glucose concentration |
| US4407290A (en) | 1981-04-01 | 1983-10-04 | Biox Technology, Inc. | Blood constituent measuring device and method |
| AT369254B (de) | 1981-05-07 | 1982-12-27 | Otto Dipl Ing Dr Tech Prohaska | Medizinische sonde |
| US4440175A (en) | 1981-08-10 | 1984-04-03 | University Patents, Inc. | Membrane electrode for non-ionic species |
| DE3133826A1 (de) | 1981-08-27 | 1983-03-10 | Boehringer Mannheim Gmbh, 6800 Mannheim | Analyseteststreifen und verfahren zu seiner herstellung |
| DE3276136D1 (en) | 1981-08-28 | 1987-05-27 | Ligg Pty Ltd | Reflectance meter |
| DE3137174A1 (de) | 1981-09-18 | 1983-04-07 | Boehringer Mannheim Gmbh, 6800 Mannheim | Vorrichtung zur optischen erkennung einer codierung auf einem diagnoseteststreifen |
| DE3278334D1 (en) | 1981-10-23 | 1988-05-19 | Genetics Int Inc | Sensor for components of a liquid mixture |
| US4431004A (en) | 1981-10-27 | 1984-02-14 | Bessman Samuel P | Implantable glucose sensor |
| NZ199380A (en) | 1981-12-23 | 1986-08-08 | J R Baker | Determination of serum glucose levels in blood samples |
| DE3202067C2 (de) | 1982-01-23 | 1984-06-20 | Holger Dr. 5100 Aachen Kiesewetter | Vorrichtung zur Bestimmung des Hämatokritwertes |
| DE3228551A1 (de) | 1982-07-30 | 1984-02-02 | Siemens AG, 1000 Berlin und 8000 München | Verfahren zur bestimmung der zuckerkonzentration |
| DE3228542A1 (de) | 1982-07-30 | 1984-02-02 | Siemens AG, 1000 Berlin und 8000 München | Verfahren zur bestimmung der konzentration elektrochemisch umsetzbarer stoffe |
| US4571292A (en) | 1982-08-12 | 1986-02-18 | Case Western Reserve University | Apparatus for electrochemical measurements |
| US4467386A (en) * | 1982-11-17 | 1984-08-21 | Rca Corporation | Fail-safe sensor circuit |
| DE3245318C3 (de) | 1982-12-08 | 1996-06-20 | Bayer Ag | Verfahren zur Durchführung von Druckreaktionen mit suspendierten Katalysatoren |
| US4679562A (en) | 1983-02-16 | 1987-07-14 | Cardiac Pacemakers, Inc. | Glucose sensor |
| US5509410A (en) | 1983-06-06 | 1996-04-23 | Medisense, Inc. | Strip electrode including screen printing of a single layer |
| CA1219040A (en) | 1983-05-05 | 1987-03-10 | Elliot V. Plotkin | Measurement of enzyme-catalysed reactions |
| CA1226036A (en) | 1983-05-05 | 1987-08-25 | Irving J. Higgins | Analytical equipment and sensor electrodes therefor |
| US5682884A (en) | 1983-05-05 | 1997-11-04 | Medisense, Inc. | Strip electrode with screen printing |
| DE3326689A1 (de) | 1983-07-23 | 1985-01-31 | Boehringer Mannheim Gmbh, 6800 Mannheim | Verfahren und vorrichtung zur herstellung eines teststreifens |
| US4517291A (en) | 1983-08-15 | 1985-05-14 | E. I. Du Pont De Nemours And Company | Biological detection process using polymer-coated electrodes |
| US4552458A (en) | 1983-10-11 | 1985-11-12 | Eastman Kodak Company | Compact reflectometer |
| SE8305704D0 (sv) | 1983-10-18 | 1983-10-18 | Leo Ab | Cuvette |
| US4703017C1 (en) | 1984-02-14 | 2001-12-04 | Becton Dickinson Co | Solid phase assay with visual readout |
| DE3407754A1 (de) | 1984-03-02 | 1985-09-12 | Boehringer Mannheim Gmbh, 6800 Mannheim | Geraet zur bestimmung des diffusen reflexionsvermoegens einer probenflaeche kleiner abmessungen |
| GB8406752D0 (en) | 1984-03-15 | 1984-04-18 | Unilever Plc | Chemical and clinical tests |
| US4849330A (en) | 1984-04-27 | 1989-07-18 | Molecular Devices Corporation | Photoresponsive redox detection and discrimination |
| EP0171148B1 (en) | 1984-06-13 | 1991-04-17 | ARES-SERONO RESEARCH & DEVELOPMENT LIMITED PARTNERSHIP | Devices for use in chemical test procedures |
| US5141868A (en) | 1984-06-13 | 1992-08-25 | Internationale Octrooi Maatschappij "Octropa" Bv | Device for use in chemical test procedures |
| JPS6134031A (ja) | 1984-07-26 | 1986-02-18 | Nippon Paint Co Ltd | 表面処理装置 |
| US4820399A (en) | 1984-08-31 | 1989-04-11 | Shimadzu Corporation | Enzyme electrodes |
| US4648665A (en) | 1984-10-16 | 1987-03-10 | Amp Incorporated | Electronic key assemblies |
| GB2175400B (en) | 1984-10-31 | 1989-07-19 | Unilever Plc | Apparatus for use in electrical,e.g.electrochemical,measurement procedures,and its production and use,and composite assemblies incorporating the apparatus |
| US4565837A (en) | 1984-11-07 | 1986-01-21 | Loctite Corporation | Rapid curing epoxide composition employing stable carbenium salt catalyst |
| US4713347A (en) | 1985-01-14 | 1987-12-15 | Sensor Diagnostics, Inc. | Measurement of ligand/anti-ligand interactions using bulk conductance |
| GB8504521D0 (en) | 1985-02-21 | 1985-03-27 | Genetics Int Inc | Electrochemical assay |
| US5279294A (en) | 1985-04-08 | 1994-01-18 | Cascade Medical, Inc. | Medical diagnostic system |
| US4652830A (en) | 1985-04-18 | 1987-03-24 | Eg&G Ocean Products, Inc. | Analyzer for comparative measurements of bulk conductivity |
| US4671288A (en) | 1985-06-13 | 1987-06-09 | The Regents Of The University Of California | Electrochemical cell sensor for continuous short-term use in tissues and blood |
| EP0230472B2 (en) | 1985-06-21 | 2000-12-13 | Matsushita Electric Industrial Co., Ltd. | Biosensor and method of manufacturing same |
| US4938860A (en) | 1985-06-28 | 1990-07-03 | Miles Inc. | Electrode for electrochemical sensors |
| DE3525986A1 (de) | 1985-07-20 | 1987-01-29 | Hochtemperatur Kernkraftwerk | Fluessigkeitsvorlage als rberdruckventil |
| US4686479A (en) | 1985-07-22 | 1987-08-11 | Young Chung C | Apparatus and control kit for analyzing blood sample values including hematocrit |
| US4806312A (en) | 1985-08-28 | 1989-02-21 | Miles Inc. | Multizone analytical element having detectable signal concentrating zone |
| US4806311A (en) | 1985-08-28 | 1989-02-21 | Miles Inc. | Multizone analytical element having labeled reagent concentration zone |
| US4734184A (en) | 1985-08-29 | 1988-03-29 | Diamond Sensor Systems, Inc. | Self-activating hydratable solid-state electrode apparatus |
| US4805624A (en) | 1985-09-09 | 1989-02-21 | The Montefiore Hospital Association Of Western Pa | Low-potential electrochemical redox sensors |
| EP0215669A3 (en) | 1985-09-17 | 1989-08-30 | Seiko Instruments Inc. | Analytical device and method for analysis of biochemicals, microbes and cells |
| US5500350A (en) | 1985-10-30 | 1996-03-19 | Celltech Limited | Binding assay device |
| US4714874A (en) | 1985-11-12 | 1987-12-22 | Miles Inc. | Test strip identification and instrument calibration |
| US4935106A (en) | 1985-11-15 | 1990-06-19 | Smithkline Diagnostics, Inc. | Ion selective/enzymatic electrode medical analyzer device and method of use |
| GB8608700D0 (en) | 1986-04-10 | 1986-05-14 | Genetics Int Inc | Measurement of electroactive species in solution |
| US4795542A (en) | 1986-04-24 | 1989-01-03 | St. Jude Medical, Inc. | Electrochemical concentration detector device |
| FR2598227B1 (fr) | 1986-04-30 | 1989-07-28 | Bio Merieux | Procede de detection et/ou d'identification d'une substance biologique dans un milieu liquide a l'aide de mesures electriques, et dispositif destine a la mise en oeuvre de ce procede |
| US5066372A (en) | 1986-05-02 | 1991-11-19 | Ciba Corning Diagnostics Corp. | Unitary multiple electrode sensor |
| US4703756A (en) | 1986-05-06 | 1987-11-03 | The Regents Of The University Of California | Complete glucose monitoring system with an implantable, telemetered sensor module |
| US5324335A (en) | 1986-05-08 | 1994-06-28 | Rentech, Inc. | Process for the production of hydrocarbons |
| US4731726A (en) | 1986-05-19 | 1988-03-15 | Healthware Corporation | Patient-operated glucose monitor and diabetes management system |
| GB8612861D0 (en) | 1986-05-27 | 1986-07-02 | Cambridge Life Sciences | Immobilised enzyme biosensors |
| US4750496A (en) | 1987-01-28 | 1988-06-14 | Xienta, Inc. | Method and apparatus for measuring blood glucose concentration |
| JPS636451A (ja) | 1986-06-27 | 1988-01-12 | Terumo Corp | 酵素センサ |
| GB8618022D0 (en) | 1986-07-23 | 1986-08-28 | Unilever Plc | Electrochemical measurements |
| US5049487A (en) | 1986-08-13 | 1991-09-17 | Lifescan, Inc. | Automated initiation of timing of reflectance readings |
| US5059394A (en) | 1986-08-13 | 1991-10-22 | Lifescan, Inc. | Analytical device for the automated determination of analytes in fluids |
| US4935346A (en) | 1986-08-13 | 1990-06-19 | Lifescan, Inc. | Minimum procedure system for the determination of analytes |
| US4865873A (en) | 1986-09-15 | 1989-09-12 | General Electric Company | Electroless deposition employing laser-patterned masking layer |
| US4897162A (en) | 1986-11-14 | 1990-01-30 | The Cleveland Clinic Foundation | Pulse voltammetry |
| JPH039267Y2 (ja) | 1986-12-27 | 1991-03-07 | ||
| GB2201248B (en) | 1987-02-24 | 1991-04-17 | Ici Plc | Enzyme electrode sensors |
| US4759828A (en) | 1987-04-09 | 1988-07-26 | Nova Biomedical Corporation | Glucose electrode and method of determining glucose |
| CA1315181C (en) | 1987-04-13 | 1993-03-30 | Joel M. Blatt | Test strip device with volume metering capillary gap |
| US4956275A (en) | 1987-04-14 | 1990-09-11 | Molecular Devices Corporation | Migratory detection immunoassay |
| EP0290683A3 (en) | 1987-05-01 | 1988-12-14 | Diva Medical Systems B.V. | Diabetes management system and apparatus |
| DE3715938A1 (de) | 1987-05-13 | 1988-11-24 | Boehringer Mannheim Gmbh | Behaelter fuer teststreifen |
| US4975647A (en) | 1987-06-01 | 1990-12-04 | Nova Biomedical Corporation | Controlling machine operation with respect to consumable accessory units |
| US4797256A (en) | 1987-06-05 | 1989-01-10 | Boehringer Mannheim Corporation | Registration device for blood test strips |
| US5447837A (en) | 1987-08-05 | 1995-09-05 | Calypte, Inc. | Multi-immunoassay diagnostic system for antigens or antibodies or both |
| US4812210A (en) * | 1987-10-16 | 1989-03-14 | The United States Department Of Energy | Measuring surfactant concentration in plating solutions |
| US4940945A (en) | 1987-11-02 | 1990-07-10 | Biologix Inc. | Interface circuit for use in a portable blood chemistry measuring apparatus |
| US4929426A (en) * | 1987-11-02 | 1990-05-29 | Biologix, Inc. | Portable blood chemistry measuring apparatus |
| DE3742786A1 (de) | 1987-12-17 | 1989-06-29 | Boehringer Mannheim Gmbh | Analysesystem zur bestimmung eines bestandteils einer fluessigkeit |
| US4832814A (en) | 1987-12-28 | 1989-05-23 | E. I. Du Pont De Nemours And Company | Electrofusion cell and method of making the same |
| US4877580A (en) | 1988-02-09 | 1989-10-31 | Technimed Corporation | Assay kit including an analyte test strip and a color comparator |
| JP2641236B2 (ja) | 1988-03-09 | 1997-08-13 | 雪印乳業株式会社 | 固定化生体触媒の殺菌方法及び流動槽付反応器 |
| US5128015A (en) | 1988-03-15 | 1992-07-07 | Tall Oak Ventures | Method and apparatus for amperometric diagnostic analysis |
| US5108564A (en) | 1988-03-15 | 1992-04-28 | Tall Oak Ventures | Method and apparatus for amperometric diagnostic analysis |
| JPH0658338B2 (ja) | 1988-05-18 | 1994-08-03 | 松下電器産業株式会社 | バイオセンサ |
| WO1989009397A1 (en) | 1988-03-31 | 1989-10-05 | Matsushita Electric Industrial Co., Ltd. | Biosensor and process for its production |
| US4954087A (en) | 1988-04-27 | 1990-09-04 | I-Stat Corporation | Static-free interrogating connector for electric components |
| US5112758A (en) | 1988-05-09 | 1992-05-12 | Epitope, Inc. | Treating body fluids for diagnostic testing |
| US5075077A (en) | 1988-08-02 | 1991-12-24 | Abbott Laboratories | Test card for performing assays |
| DE68925602T2 (de) | 1988-08-02 | 1996-11-14 | Abbott Lab | Verfahren und Vorrichtung zum Erzeugen von Eichdaten für die Analyse |
| US5096669A (en) | 1988-09-15 | 1992-03-17 | I-Stat Corporation | Disposable sensing device for real time fluid analysis |
| WO1990005293A1 (en) | 1988-11-08 | 1990-05-17 | Applied Biosystems, Inc. | Assayomate |
| US5439826A (en) | 1988-12-02 | 1995-08-08 | Bio-Tek Instruments, Inc. | Method of distinguishing among strips for different assays in an automated instrument |
| US5039618A (en) | 1989-02-02 | 1991-08-13 | Hybrivet Systems, Inc. | Test swab cartridge type device and method for detecting lead and cadmium |
| US5118183A (en) | 1989-02-10 | 1992-06-02 | X-Rite, Incorporated | Automated strip reader densitometer |
| JP2654682B2 (ja) | 1989-02-17 | 1997-09-17 | 富士写真フイルム株式会社 | 生化学分析装置、生化学分析補正方法及び補正値記録体 |
| US5053199A (en) | 1989-02-21 | 1991-10-01 | Boehringer Mannheim Corporation | Electronically readable information carrier |
| US5269891A (en) | 1989-03-09 | 1993-12-14 | Novo Nordisk A/S | Method and apparatus for determination of a constituent in a fluid |
| US5312762A (en) | 1989-03-13 | 1994-05-17 | Guiseppi Elie Anthony | Method of measuring an analyte by measuring electrical resistance of a polymer film reacting with the analyte |
| DE3910262C1 (ja) | 1989-03-30 | 1990-11-08 | Deutsche Gesellschaft Fuer Wiederaufarbeitung Von Kernbrennstoffen Mbh, 3000 Hannover, De | |
| DE3911539A1 (de) | 1989-04-08 | 1990-10-11 | Boehringer Mannheim Gmbh | Testtraeger-analysesystem |
| US4960546B1 (en) | 1989-04-19 | 1996-04-09 | Environmental Dynamics Inc | Diffuser mounting arrangement for waste water aeration systems |
| US5234813A (en) | 1989-05-17 | 1993-08-10 | Actimed Laboratories, Inc. | Method and device for metering of fluid samples and detection of analytes therein |
| CH677149A5 (ja) | 1989-07-07 | 1991-04-15 | Disetronic Ag | |
| US4976724A (en) | 1989-08-25 | 1990-12-11 | Lifescan, Inc. | Lancet ejector mechanism |
| US6395227B1 (en) | 1989-08-28 | 2002-05-28 | Lifescan, Inc. | Test strip for measuring analyte concentration over a broad range of sample volume |
| US5306623A (en) | 1989-08-28 | 1994-04-26 | Lifescan, Inc. | Visual blood glucose concentration test strip |
| AU640162B2 (en) | 1989-08-28 | 1993-08-19 | Lifescan, Inc. | Blood separation and analyte detection techniques |
| US5620863A (en) | 1989-08-28 | 1997-04-15 | Lifescan, Inc. | Blood glucose strip having reduced side reactions |
| US5018164A (en) | 1989-09-12 | 1991-05-21 | Hughes Aircraft Company | Excimer laser ablation method and apparatus for microcircuit fabrication |
| JP2665806B2 (ja) | 1989-09-13 | 1997-10-22 | 株式会社豊田中央研究所 | ヘマトクリット測定装置 |
| US5639671A (en) | 1989-09-18 | 1997-06-17 | Biostar, Inc. | Methods for optimizing of an optical assay device |
| EP0429076B1 (en) * | 1989-11-24 | 1996-01-31 | Matsushita Electric Industrial Co., Ltd. | Preparation of biosensor |
| DE3940152A1 (de) | 1989-12-05 | 1991-06-06 | Boehringer Mannheim Gmbh | Teststreifenauswertegeraet fuer mehrfachteststreifen |
| US4999632A (en) | 1989-12-15 | 1991-03-12 | Boehringer Mannheim Corporation | Analog to digital conversion with noise reduction |
| CA2069946C (en) | 1989-12-15 | 1999-01-26 | Klaus H. Pollmann | Redox mediator reagent and biosensor |
| US5508171A (en) | 1989-12-15 | 1996-04-16 | Boehringer Mannheim Corporation | Assay method with enzyme electrode system |
| US4963814A (en) | 1989-12-15 | 1990-10-16 | Boehringer Mannheim Corporation | Regulated bifurcated power supply |
| US5243516A (en) | 1989-12-15 | 1993-09-07 | Boehringer Mannheim Corporation | Biosensing instrument and method |
| US4999582A (en) | 1989-12-15 | 1991-03-12 | Boehringer Mannheim Corp. | Biosensor electrode excitation circuit |
| DE4003194A1 (de) | 1990-02-03 | 1991-08-08 | Boehringer Mannheim Gmbh | Verfahren und sensorelektrodensystem zur elektrochemischen bestimmung eines analyts oder einer oxidoreduktase sowie verwendung hierfuer geeigneter verbindungen |
| US5286362A (en) | 1990-02-03 | 1994-02-15 | Boehringer Mannheim Gmbh | Method and sensor electrode system for the electrochemical determination of an analyte or an oxidoreductase as well as the use of suitable compounds therefor |
| US5141850A (en) | 1990-02-07 | 1992-08-25 | Hygeia Sciences, Inc. | Porous strip form assay device method |
| US5187100A (en) | 1990-05-29 | 1993-02-16 | Lifescan, Inc. | Dispersion to limit penetration of aqueous solutions into a membrane |
| DE69133506T2 (de) * | 1990-06-22 | 2006-10-26 | Cochran, William H. | Verbundwerkstoffe |
| US5250439A (en) | 1990-07-19 | 1993-10-05 | Miles Inc. | Use of conductive sensors in diagnostic assays |
| JPH0820412B2 (ja) | 1990-07-20 | 1996-03-04 | 松下電器産業株式会社 | 使い捨てセンサを用いた定量分析方法、及び装置 |
| US5112455A (en) | 1990-07-20 | 1992-05-12 | I Stat Corporation | Method for analytically utilizing microfabricated sensors during wet-up |
| US5182707A (en) | 1990-07-23 | 1993-01-26 | Healthdyne, Inc. | Apparatus for recording reagent test strip data by comparison to color lights on a reference panel |
| US5124661A (en) * | 1990-07-23 | 1992-06-23 | I-Stat Corporation | Reusable test unit for simulating electrochemical sensor signals for quality assurance of portable blood analyzer instruments |
| US5569591A (en) | 1990-08-03 | 1996-10-29 | University College Of Wales Aberystwyth | Analytical or monitoring apparatus and method |
| US5120421A (en) * | 1990-08-31 | 1992-06-09 | The United States Of America As Represented By The United States Department Of Energy | Electrochemical sensor/detector system and method |
| JP2977258B2 (ja) | 1990-09-13 | 1999-11-15 | 新日本無線株式会社 | バイオセンサ |
| US5642734A (en) | 1990-10-04 | 1997-07-01 | Microcor, Inc. | Method and apparatus for noninvasively determining hematocrit |
| US5526808A (en) | 1990-10-04 | 1996-06-18 | Microcor, Inc. | Method and apparatus for noninvasively determining hematocrit |
| AU646305B2 (en) | 1990-10-30 | 1994-02-17 | Hypoguard (Uk) Limited | Collection and display device |
| DE4041905A1 (de) | 1990-12-27 | 1992-07-02 | Boehringer Mannheim Gmbh | Testtraeger-analysesystem |
| US5126952A (en) | 1991-01-22 | 1992-06-30 | Eastman Kodak Company | Bar coding calibration |
| EP0576536B1 (en) | 1991-02-27 | 2001-12-12 | Roche Diagnostics Corporation | Method of communicating with microcomputer controlled instruments |
| EP0572571B1 (en) | 1991-02-27 | 2003-12-03 | Roche Diagnostics Corporation | Apparatus and method for analyzing body fluids |
| US5246858A (en) | 1991-02-27 | 1993-09-21 | Boehringer Mannheim Corporation | Apparatus and method for analyzing a body fluid |
| US5232668A (en) | 1991-02-27 | 1993-08-03 | Boehringer Mannheim Corporation | Test strip holding and reading mechanism for a meter |
| US5192415A (en) | 1991-03-04 | 1993-03-09 | Matsushita Electric Industrial Co., Ltd. | Biosensor utilizing enzyme and a method for producing the same |
| US5593852A (en) | 1993-12-02 | 1997-01-14 | Heller; Adam | Subcutaneous glucose electrode |
| DE4117847A1 (de) | 1991-05-31 | 1992-12-03 | Lre Relais & Elektronik Gmbh | Verfahren zum auswerten binaerer informationen |
| US5232516A (en) | 1991-06-04 | 1993-08-03 | Implemed, Inc. | Thermoelectric device with recuperative heat exchangers |
| GB9113211D0 (en) | 1991-06-19 | 1991-08-07 | Hypoguard Uk Ltd | Support membrane |
| GB9113212D0 (en) | 1991-06-19 | 1991-08-07 | Hypoguard Uk Ltd | Reagent mixture |
| DE4123348A1 (de) * | 1991-07-15 | 1993-01-21 | Boehringer Mannheim Gmbh | Elektrochemisches analysesystem |
| US5179288A (en) | 1991-09-30 | 1993-01-12 | Ortho Pharmaceutical Corporation | Apparatus and method for measuring a bodily constituent |
| US5264103A (en) | 1991-10-18 | 1993-11-23 | Matsushita Electric Industrial Co., Ltd. | Biosensor and a method for measuring a concentration of a substrate in a sample |
| US5605662A (en) | 1993-11-01 | 1997-02-25 | Nanogen, Inc. | Active programmable electronic devices for molecular biological analysis and diagnostics |
| US5220920A (en) | 1991-11-08 | 1993-06-22 | Via Medical Corporation | Electrochemical measurement system having interference reduction circuit |
| IL103674A0 (en) | 1991-11-19 | 1993-04-04 | Houston Advanced Res Center | Method and apparatus for molecule detection |
| JP3135959B2 (ja) | 1991-12-12 | 2001-02-19 | アークレイ株式会社 | バイオセンサーおよびそれを用いた分離定量方法 |
| US5261411A (en) * | 1991-12-27 | 1993-11-16 | Abbott Laboratories | Thermal drift correction while continuously monitoring cardiac output |
| US5217594A (en) * | 1992-01-15 | 1993-06-08 | Enzyme Technology Research Group, Inc. | Convenient determination of trace lead in whole blood and other fluids |
| CA2088652C (en) | 1992-02-03 | 2008-07-29 | Yeung S. Yu | Improved oxidative coupling dye for spectrophotometric quantitative analysis of analytes |
| US5635364A (en) | 1992-03-27 | 1997-06-03 | Abbott Laboratories | Assay verification control for an automated analytical system |
| US5296192A (en) | 1992-04-03 | 1994-03-22 | Home Diagnostics, Inc. | Diagnostic test strip |
| US5232667A (en) * | 1992-05-21 | 1993-08-03 | Diametrics Medical, Inc. | Temperature control for portable diagnostic system using a non-contact temperature probe |
| US5353351A (en) | 1992-06-09 | 1994-10-04 | At&T Bell Laboratories | Secure teleconferencing |
| GB9215733D0 (en) | 1992-07-24 | 1992-09-09 | British Tech Group | Method of and apparatus for determining a property of a sample |
| US5387327A (en) | 1992-10-19 | 1995-02-07 | Duquesne University Of The Holy Ghost | Implantable non-enzymatic electrochemical glucose sensor |
| US5508200A (en) | 1992-10-19 | 1996-04-16 | Tiffany; Thomas | Method and apparatus for conducting multiple chemical assays |
| US5342790A (en) | 1992-10-30 | 1994-08-30 | Becton Dickinson And Company | Apparatus for indirect fluorescent assay of blood samples |
| US5389215A (en) | 1992-11-05 | 1995-02-14 | Nippon Telegraph And Telephone Corporation | Electrochemical detection method and apparatus therefor |
| JP2954436B2 (ja) | 1992-11-11 | 1999-09-27 | 株式会社日立製作所 | 試験片供給装置およびそれを用いた分析装置 |
| US6168563B1 (en) | 1992-11-17 | 2001-01-02 | Health Hero Network, Inc. | Remote health monitoring and maintenance system |
| US5371687A (en) | 1992-11-20 | 1994-12-06 | Boehringer Mannheim Corporation | Glucose test data acquisition and management system |
| ZA938555B (en) | 1992-11-23 | 1994-08-02 | Lilly Co Eli | Technique to improve the performance of electrochemical sensors |
| US5344754A (en) | 1993-01-13 | 1994-09-06 | Avocet Medical, Inc. | Assay timed by electrical resistance change and test strip |
| GB9301723D0 (en) | 1993-01-28 | 1993-03-17 | Norske Stats Oljeselskap | Solid/liquid treatment apparatus and catalytic multi-phase reactor |
| US5515847A (en) | 1993-01-28 | 1996-05-14 | Optiscan, Inc. | Self-emission noninvasive infrared spectrophotometer |
| FR2701117B1 (fr) | 1993-02-04 | 1995-03-10 | Asulab Sa | Système de mesures électrochimiques à capteur multizones, et son application au dosage du glucose. |
| IL109159A (en) | 1993-03-29 | 2003-11-23 | Isk Biotech Corp | Immunoassays for tetrachloroiso-phthalonitrile and its metabolites and antibodies for use therein |
| DE4310583A1 (de) | 1993-03-31 | 1994-10-06 | Boehringer Mannheim Gmbh | Teststreifenanalysesystem |
| GB9307347D0 (en) | 1993-04-07 | 1993-06-02 | Ecossensors Ltd | Biological species detection method and biosensor thereof |
| DE4313253A1 (de) | 1993-04-23 | 1994-10-27 | Boehringer Mannheim Gmbh | System zur Analyse von Inhaltsstoffen flüssiger Proben |
| DE59408870D1 (de) | 1993-04-23 | 1999-12-09 | Roche Diagnostics Gmbh | System zur Bevorratung und Zurverfügungstellung von Testelementen |
| US5376254A (en) | 1993-05-14 | 1994-12-27 | Fisher; Arkady V. | Potentiometric electrochemical device for qualitative and quantitative analysis |
| US5843691A (en) | 1993-05-15 | 1998-12-01 | Lifescan, Inc. | Visually-readable reagent test strip |
| DK0700520T3 (da) | 1993-05-29 | 1998-03-02 | Cambridge Life Sciences | Sensorer baseret på polymeromdannelse |
| DE4318519C2 (de) | 1993-06-03 | 1996-11-28 | Fraunhofer Ges Forschung | Elektrochemischer Sensor |
| US5385846A (en) | 1993-06-03 | 1995-01-31 | Boehringer Mannheim Corporation | Biosensor and method for hematocrit determination |
| US5366609A (en) | 1993-06-08 | 1994-11-22 | Boehringer Mannheim Corporation | Biosensing meter with pluggable memory key |
| CA2153883C (en) | 1993-06-08 | 1999-02-09 | Bradley E. White | Biosensing meter which detects proper electrode engagement and distinguishes sample and check strips |
| US5405511A (en) | 1993-06-08 | 1995-04-11 | Boehringer Mannheim Corporation | Biosensing meter with ambient temperature estimation method and system |
| DE4323672A1 (de) | 1993-07-15 | 1995-01-19 | Boehringer Mannheim Gmbh | Vorrichtung zur gleichzeitigen Bestimmung von Analyten |
| US5527473A (en) | 1993-07-15 | 1996-06-18 | Ackerman; Carl D. | Process for performing reactions in a liquid-solid catalyst slurry |
| US5658443A (en) | 1993-07-23 | 1997-08-19 | Matsushita Electric Industrial Co., Ltd. | Biosensor and method for producing the same |
| US5413690A (en) | 1993-07-23 | 1995-05-09 | Boehringer Mannheim Corporation | Potentiometric biosensor and the method of its use |
| AU7552194A (en) | 1993-07-26 | 1995-02-20 | Phase Dynamics, Inc. | System and method for monitoring substances and reactions |
| US5748002A (en) * | 1996-01-26 | 1998-05-05 | Phase Dynamics Inc. | RF probe for montoring composition of substances |
| US5508203A (en) | 1993-08-06 | 1996-04-16 | Fuller; Milton E. | Apparatus and method for radio frequency spectroscopy using spectral analysis |
| US5792668A (en) | 1993-08-06 | 1998-08-11 | Solid State Farms, Inc. | Radio frequency spectral analysis for in-vitro or in-vivo environments |
| US5837546A (en) | 1993-08-24 | 1998-11-17 | Metrika, Inc. | Electronic assay device and method |
| AU7563294A (en) | 1993-08-24 | 1995-03-21 | Metrika Laboratories, Inc. | Novel disposable electronic assay device |
| US5494831A (en) | 1993-08-30 | 1996-02-27 | Hughes Aircraft Company | Electrochemical immunosensor system and methods |
| JPH09502119A (ja) | 1993-08-31 | 1997-03-04 | ベーリンガー・マンハイム・コーポレーション | 医療装置用電源の監視制御装置 |
| US5522255A (en) | 1993-08-31 | 1996-06-04 | Boehringer Mannheim Corporation | Fluid dose, flow and coagulation sensor for medical instrument |
| JPH09502268A (ja) | 1993-08-31 | 1997-03-04 | ベーリンガー・マンハイム・コーポレーション | 医療装置用アナログヒータ制御装置 |
| US5526111A (en) | 1993-08-31 | 1996-06-11 | Boehringer Mannheim Corporation | Method and apparatus for calculating a coagulation characteristic of a sample of blood a blood fraction or a control |
| US5437772A (en) | 1993-11-01 | 1995-08-01 | The Electrosynthesis Co., Inc. | Portable lead detector |
| JPH07128338A (ja) | 1993-11-02 | 1995-05-19 | Kyoto Daiichi Kagaku:Kk | 簡易血糖計におけるデータ管理方法及び該データ管理方法を使用する簡易血糖計 |
| US5421189A (en) | 1994-01-21 | 1995-06-06 | Ciba Corning Diagnostics Corp. | Electrical connection system for electrochemical sensors |
| US5762770A (en) | 1994-02-21 | 1998-06-09 | Boehringer Mannheim Corporation | Electrochemical biosensor test strip |
| US5437999A (en) | 1994-02-22 | 1995-08-01 | Boehringer Mannheim Corporation | Electrochemical sensor |
| US5536249A (en) | 1994-03-09 | 1996-07-16 | Visionary Medical Products, Inc. | Pen-type injector with a microprocessor and blood characteristic monitor |
| US5583432A (en) * | 1994-04-11 | 1996-12-10 | Sci-Nostics Limited | Electrical method and apparatus for non-contact determination of physical and/or chemical properties of a sample, particularly of blood |
| DE4417245A1 (de) | 1994-04-23 | 1995-10-26 | Lpkf Cad Cam Systeme Gmbh | Verfahren zur strukturierten Metallisierung der Oberfläche von Substraten |
| US5418141A (en) * | 1994-05-06 | 1995-05-23 | Avocet Medical, Inc. | Test articles for performing dry reagent prothrombin time assays |
| JP3331253B2 (ja) | 1994-05-10 | 2002-10-07 | バイエルコーポレーション | 自動分析装置の試験片取出装置 |
| JP3027306B2 (ja) | 1994-06-02 | 2000-04-04 | 松下電器産業株式会社 | バイオセンサおよびその製造方法 |
| US5477326A (en) | 1994-06-30 | 1995-12-19 | Bayer Corporation | Spectrophotometer arrangement with multi-detector readhead |
| US5700695A (en) | 1994-06-30 | 1997-12-23 | Zia Yassinzadeh | Sample collection and manipulation method |
| GB9415499D0 (en) | 1994-08-01 | 1994-09-21 | Bartlett Philip N | Electrodes and their use in analysis |
| US5922530A (en) | 1994-09-08 | 1999-07-13 | Lifescan, Inc. | Stable coupling dye for photometric determination of analytes |
| US5526120A (en) | 1994-09-08 | 1996-06-11 | Lifescan, Inc. | Test strip with an asymmetrical end insuring correct insertion for measuring |
| US5563031A (en) | 1994-09-08 | 1996-10-08 | Lifescan, Inc. | Highly stable oxidative coupling dye for spectrophotometric determination of analytes |
| ES2168389T3 (es) | 1994-09-08 | 2002-06-16 | Lifescan Inc | Tira de lectura optica y patron incorporado para la deteccion de un analito. |
| US6335203B1 (en) | 1994-09-08 | 2002-01-01 | Lifescan, Inc. | Optically readable strip for analyte detection having on-strip orientation index |
| US5515170A (en) | 1994-09-08 | 1996-05-07 | Lifescan, Inc. | Analyte detection device having a serpentine passageway for indicator strips |
| GB9419882D0 (en) | 1994-10-03 | 1994-11-16 | Mcnaughtan Arthur | Electrochemical detection system |
| DE4437274C2 (de) * | 1994-10-18 | 1998-11-05 | Inst Chemo Biosensorik | Analytselektiver Sensor |
| US5597532A (en) | 1994-10-20 | 1997-01-28 | Connolly; James | Apparatus for determining substances contained in a body fluid |
| US5504011A (en) | 1994-10-21 | 1996-04-02 | International Technidyne Corporation | Portable test apparatus and associated method of performing a blood coagulation test |
| IE72524B1 (en) | 1994-11-04 | 1997-04-23 | Elan Med Tech | Analyte-controlled liquid delivery device and analyte monitor |
| US5572159A (en) | 1994-11-14 | 1996-11-05 | Nexgen, Inc. | Voltage-controlled delay element with programmable delay |
| AUPM950094A0 (en) | 1994-11-16 | 1994-12-08 | Australian Membrane And Biotechnology Research Institute | Detection device and method |
| KR0151203B1 (ko) * | 1994-12-08 | 1998-12-01 | 이헌조 | 다중전극형 바이오센서 |
| US5630986A (en) | 1995-01-13 | 1997-05-20 | Bayer Corporation | Dispensing instrument for fluid monitoring sensors |
| US5569608A (en) | 1995-01-30 | 1996-10-29 | Bayer Corporation | Quantitative detection of analytes on immunochromatographic strips |
| US6153069A (en) | 1995-02-09 | 2000-11-28 | Tall Oak Ventures | Apparatus for amperometric Diagnostic analysis |
| EP0727925A1 (de) | 1995-02-14 | 1996-08-21 | Lpkf Cad/Cam Systeme Gmbh | Verfahren zur strukturierten Metallisierung der Oberfläche von Substraten |
| DE19505664C2 (de) | 1995-02-20 | 1996-12-12 | Hoechst Ag | Vorrichtung und ihre Verwendung zur Oxichlorierung |
| US5567301A (en) * | 1995-03-01 | 1996-10-22 | Illinois Institute Of Technology | Antibody covalently bound film immunobiosensor |
| US5582697A (en) | 1995-03-17 | 1996-12-10 | Matsushita Electric Industrial Co., Ltd. | Biosensor, and a method and a device for quantifying a substrate in a sample liquid using the same |
| US5650062A (en) | 1995-03-17 | 1997-07-22 | Matsushita Electric Industrial Co., Ltd. | Biosensor, and a method and a device for quantifying a substrate in a sample liquid using the same |
| US6170318B1 (en) | 1995-03-27 | 2001-01-09 | California Institute Of Technology | Methods of use for sensor based fluid detection devices |
| US5788833A (en) | 1995-03-27 | 1998-08-04 | California Institute Of Technology | Sensors for detecting analytes in fluids |
| JP3498105B2 (ja) | 1995-04-07 | 2004-02-16 | アークレイ株式会社 | センサ、その製造方法およびセンサを使用する測定方法 |
| GB9507991D0 (en) | 1995-04-19 | 1995-06-07 | Univ Manchester Metropolitan | Sensor |
| US5620579A (en) | 1995-05-05 | 1997-04-15 | Bayer Corporation | Apparatus for reduction of bias in amperometric sensors |
| US5656502A (en) | 1995-06-07 | 1997-08-12 | Diagnostic Chemicals Limited | Test strip holder and method of use |
| JP2748890B2 (ja) * | 1995-06-14 | 1998-05-13 | 日本電気株式会社 | 有機樹脂多層配線基板およびその製造方法 |
| US6413410B1 (en) | 1996-06-19 | 2002-07-02 | Lifescan, Inc. | Electrochemical cell |
| AUPN363995A0 (en) | 1995-06-19 | 1995-07-13 | Memtec Limited | Electrochemical cell |
| US5856174A (en) | 1995-06-29 | 1999-01-05 | Affymetrix, Inc. | Integrated nucleic acid diagnostic device |
| US5611900A (en) | 1995-07-20 | 1997-03-18 | Michigan State University | Microbiosensor used in-situ |
| JP3516069B2 (ja) | 1995-08-03 | 2004-04-05 | アークレイ株式会社 | グルコース濃度の測定方法 |
| US5698083A (en) | 1995-08-18 | 1997-12-16 | Regents Of The University Of California | Chemiresistor urea sensor |
| WO1997008544A1 (en) | 1995-08-22 | 1997-03-06 | Andcare, Inc. | Handheld electromonitor device |
| US5786584A (en) | 1995-09-06 | 1998-07-28 | Eli Lilly And Company | Vial and cartridge reading device providing audio feedback for a blood glucose monitoring system |
| US5658802A (en) | 1995-09-07 | 1997-08-19 | Microfab Technologies, Inc. | Method and apparatus for making miniaturized diagnostic arrays |
| US5650061A (en) * | 1995-09-18 | 1997-07-22 | The Regents Of The University Of California | Large amplitude sinusoidal voltammetry |
| US5665215A (en) | 1995-09-25 | 1997-09-09 | Bayer Corporation | Method and apparatus for making predetermined events with a biosensor |
| US5628890A (en) | 1995-09-27 | 1997-05-13 | Medisense, Inc. | Electrochemical sensor |
| AU722471B2 (en) | 1995-10-17 | 2000-08-03 | Lifescan, Inc. | Blood glucose strip having reduced sensitivity to hematocrit |
| US6058934A (en) | 1995-11-02 | 2000-05-09 | Chiron Diagnostics Corporation | Planar hematocrit sensor incorporating a seven-electrode conductivity measurement cell |
| US6638415B1 (en) | 1995-11-16 | 2003-10-28 | Lifescan, Inc. | Antioxidant sensor |
| US6174420B1 (en) | 1996-11-15 | 2001-01-16 | Usf Filtration And Separations Group, Inc. | Electrochemical cell |
| US6521110B1 (en) | 1995-11-16 | 2003-02-18 | Lifescan, Inc. | Electrochemical cell |
| AUPN661995A0 (en) | 1995-11-16 | 1995-12-07 | Memtec America Corporation | Electrochemical cell 2 |
| JPH09207343A (ja) | 1995-11-29 | 1997-08-12 | Matsushita Electric Ind Co Ltd | レーザ加工方法 |
| US5755953A (en) | 1995-12-18 | 1998-05-26 | Abbott Laboratories | Interference free biosensor |
| JP3365184B2 (ja) | 1996-01-10 | 2003-01-08 | 松下電器産業株式会社 | バイオセンサ |
| EP0879412A4 (en) * | 1996-02-08 | 2004-08-11 | Ambri Ltd | BIOSENSOR TO DETECT ENZYMS |
| US5989917A (en) | 1996-02-13 | 1999-11-23 | Selfcare, Inc. | Glucose monitor and test strip containers for use in same |
| US6241862B1 (en) | 1996-02-14 | 2001-06-05 | Inverness Medical Technology, Inc. | Disposable test strips with integrated reagent/blood separation layer |
| US5708247A (en) | 1996-02-14 | 1998-01-13 | Selfcare, Inc. | Disposable glucose test strips, and methods and compositions for making same |
| US5605837A (en) | 1996-02-14 | 1997-02-25 | Lifescan, Inc. | Control solution for a blood glucose monitor |
| DE19605583A1 (de) | 1996-02-15 | 1997-08-21 | Bayer Ag | Elektrochemische Sensoren mit verbesserter Selektivität und erhöhter Empfindlichkeit |
| US5900159A (en) | 1996-02-29 | 1999-05-04 | Shell Oil Company | Method for separating liquid from a slurry |
| US5801057A (en) | 1996-03-22 | 1998-09-01 | Smart; Wilson H. | Microsampling device and method of construction |
| DE19612680C2 (de) * | 1996-03-29 | 2000-02-03 | Inst Chemo Biosensorik | Kationselektiver Sensor |
| US5723284A (en) | 1996-04-01 | 1998-03-03 | Bayer Corporation | Control solution and method for testing the performance of an electrochemical device for determining the concentration of an analyte in blood |
| US6399023B1 (en) | 1996-04-16 | 2002-06-04 | Caliper Technologies Corp. | Analytical system and method |
| GB9607898D0 (en) | 1996-04-17 | 1996-06-19 | British Nuclear Fuels Plc | Improvements in and relating to sensors |
| US5890489A (en) | 1996-04-23 | 1999-04-06 | Dermal Therapy (Barbados) Inc. | Method for non-invasive determination of glucose in body fluids |
| US6001307A (en) | 1996-04-26 | 1999-12-14 | Kyoto Daiichi Kagaku Co., Ltd. | Device for analyzing a sample |
| WO1997042886A1 (en) | 1996-05-17 | 1997-11-20 | Mercury Diagnostics, Inc. | Body fluid sampling device and methods of use |
| DE19621241C2 (de) | 1996-05-25 | 2000-03-16 | Manfred Kessler | Membranelektrode zur Messung der Glucosekonzentration in Flüssigkeiten |
| US5781024A (en) * | 1996-07-26 | 1998-07-14 | Diametrics Medical, Inc. | Instrument performance verification system |
| US5883378A (en) | 1996-07-30 | 1999-03-16 | Bayer Corporation | Apparatus and methods for transmitting electrical signals indicative of optical interactions between a light beam and a flowing suspension of particles |
| US5691486A (en) | 1996-07-30 | 1997-11-25 | Bayer Corporation | Apparatus and methods for selecting a variable number of test sample aliquots to mix with respective reagents |
| US5719667A (en) | 1996-07-30 | 1998-02-17 | Bayer Corporation | Apparatus for filtering a laser beam in an analytical instrument |
| US5745308A (en) | 1996-07-30 | 1998-04-28 | Bayer Corporation | Methods and apparatus for an optical illuminator assembly and its alignment |
| US5753101A (en) * | 1996-08-01 | 1998-05-19 | Ludwig; Frank A. | Method of monitoring constituents in conversion coating baths |
| US6358752B1 (en) | 1996-09-27 | 2002-03-19 | Cornell Research Foundation, Inc. | Liposome-enhanced test device and method |
| US5958791A (en) | 1996-09-27 | 1999-09-28 | Innovative Biotechnologies, Inc. | Interdigitated electrode arrays for liposome-enhanced immunoassay and test device |
| US5925293A (en) | 1996-10-04 | 1999-07-20 | General Signal Corporation | Mixer sparging apparatus |
| US5945341A (en) | 1996-10-21 | 1999-08-31 | Bayer Corporation | System for the optical identification of coding on a diagnostic test strip |
| GB9622304D0 (en) | 1996-10-26 | 1996-12-18 | Univ Manchester | Sensor |
| US5856195A (en) | 1996-10-30 | 1999-01-05 | Bayer Corporation | Method and apparatus for calibrating a sensor element |
| GB2332943B (en) | 1996-10-30 | 2000-01-19 | Mercury Diagnostics Inc | Detection device |
| US7381525B1 (en) * | 1997-03-07 | 2008-06-03 | Clinical Micro Sensors, Inc. | AC/DC voltage apparatus for detection of nucleic acids |
| US6632349B1 (en) | 1996-11-15 | 2003-10-14 | Lifescan, Inc. | Hemoglobin sensor |
| AU5895898A (en) | 1996-12-20 | 1998-07-17 | Gamera Bioscience Corporation | An affinity binding-based system for detecting particulates in a fluid |
| JP3460183B2 (ja) | 1996-12-24 | 2003-10-27 | 松下電器産業株式会社 | バイオセンサ |
| FR2757949B1 (fr) | 1996-12-30 | 1999-01-22 | Commissariat Energie Atomique | Microsysteme pour analyses biologiques et son procede de fabrication |
| DK0958495T3 (da) | 1997-02-06 | 2003-03-10 | Therasense Inc | In vitro analysand sensor med lille volumen |
| EP0859230A1 (en) | 1997-02-10 | 1998-08-19 | Cranfield University | Detection of analytes using electrochemistry |
| ZA98586B (en) | 1997-02-20 | 1999-07-23 | Sasol Tech Pty Ltd | "Hydrogenation of hydrocarbons". |
| US6391558B1 (en) | 1997-03-18 | 2002-05-21 | Andcare, Inc. | Electrochemical detection of nucleic acid sequences |
| AUPO581397A0 (en) | 1997-03-21 | 1997-04-17 | Memtec America Corporation | Sensor connection means |
| US6226081B1 (en) | 1997-03-24 | 2001-05-01 | Optikos Corporation | Optical height of fill detection system and associated methods |
| AUPO585797A0 (en) | 1997-03-25 | 1997-04-24 | Memtec America Corporation | Improved electrochemical cell |
| DE19714674A1 (de) | 1997-04-09 | 1998-10-15 | Lre Technology Partner Gmbh | Teststreifenpackung und Meßgerät zur Verwendung einer solchen |
| US6059946A (en) * | 1997-04-14 | 2000-05-09 | Matsushita Electric Industrial Co., Ltd. | Biosensor |
| US5885839A (en) | 1997-04-15 | 1999-03-23 | Lxn Corporation | Methods of determining initiation and variable end points for measuring a chemical reaction |
| TW344029B (en) | 1997-05-02 | 1998-11-01 | Nat Science Council | Electrochemical sensor for measuring the concentration of hydrogen peroxide and precursor of hydrogen peroxide in liquid and method therefor |
| US6103536A (en) | 1997-05-02 | 2000-08-15 | Silver Lake Research Corporation | Internally referenced competitive assays |
| US5798031A (en) | 1997-05-12 | 1998-08-25 | Bayer Corporation | Electrochemical biosensor |
| US6391645B1 (en) | 1997-05-12 | 2002-05-21 | Bayer Corporation | Method and apparatus for correcting ambient temperature effect in biosensors |
| US5921925A (en) | 1997-05-30 | 1999-07-13 | Ndm, Inc. | Biomedical electrode having a disposable electrode and a reusable leadwire adapter that interfaces with a standard leadwire connector |
| JP3702582B2 (ja) | 1997-06-03 | 2005-10-05 | Nok株式会社 | バイオセンサを用いた測定方法 |
| AUPO714897A0 (en) | 1997-06-03 | 1997-06-26 | Australian Membrane And Biotechnology Research Institute | Model membrane systems |
| US6040195A (en) | 1997-06-10 | 2000-03-21 | Home Diagnostics, Inc. | Diagnostic sanitary test strip |
| US6013459A (en) | 1997-06-12 | 2000-01-11 | Clinical Micro Sensors, Inc. | Detection of analytes using reorganization energy |
| EP0988534B1 (en) | 1997-06-12 | 2011-02-16 | Clinical Micro Sensors, Inc. | Electronic methods and apparatus for the detection of analytes |
| US6168957B1 (en) | 1997-06-25 | 2001-01-02 | Lifescan, Inc. | Diagnostic test strip having on-strip calibration |
| US6309526B1 (en) | 1997-07-10 | 2001-10-30 | Matsushita Electric Industrial Co., Ltd. | Biosensor |
| AU725457B2 (en) | 1997-07-22 | 2000-10-12 | Arkray, Inc. | Densitometer, test piece for the densitometer, biosensor system, and method for forming terminal of the test piece |
| JP3297630B2 (ja) | 1997-07-28 | 2002-07-02 | 松下電器産業株式会社 | バイオセンサ |
| JP3375040B2 (ja) | 1997-07-29 | 2003-02-10 | 松下電器産業株式会社 | 基質の定量法 |
| CA2244332C (en) | 1997-07-30 | 2002-04-02 | Becton, Dickinson And Company | Bonding agent and method of bonding electrode to printed conductive trace |
| AUPO855897A0 (en) | 1997-08-13 | 1997-09-04 | Usf Filtration And Separations Group Inc. | Automatic analysing apparatus II |
| US6121050A (en) | 1997-08-29 | 2000-09-19 | Han; Chi-Neng Arthur | Analyte detection systems |
| US6061128A (en) | 1997-09-04 | 2000-05-09 | Avocet Medical, Inc. | Verification device for optical clinical assay systems |
| US6129823A (en) | 1997-09-05 | 2000-10-10 | Abbott Laboratories | Low volume electrochemical sensor |
| US6259937B1 (en) | 1997-09-12 | 2001-07-10 | Alfred E. Mann Foundation | Implantable substrate sensor |
| US6071391A (en) | 1997-09-12 | 2000-06-06 | Nok Corporation | Enzyme electrode structure |
| US6007775A (en) | 1997-09-26 | 1999-12-28 | University Of Washington | Multiple analyte diffusion based chemical sensor |
| EP1025442B1 (en) | 1997-09-30 | 2001-11-21 | Amira Medical | Analytical device with capillary reagent carrier |
| JPH11108878A (ja) * | 1997-09-30 | 1999-04-23 | Akebono Brake Res & Dev Center Ltd | センサー素子の異常および寿命判定方法 |
| US6088608A (en) * | 1997-10-20 | 2000-07-11 | Alfred E. Mann Foundation | Electrochemical sensor and integrity tests therefor |
| FI107080B (fi) | 1997-10-27 | 2001-05-31 | Nokia Mobile Phones Ltd | Mittauslaite |
| WO1999023479A1 (en) | 1997-10-31 | 1999-05-14 | Technical Chemicals & Products, Inc. | Reflectometer |
| US6102872A (en) | 1997-11-03 | 2000-08-15 | Pacific Biometrics, Inc. | Glucose detector and method |
| ATE352252T1 (de) | 1997-11-12 | 2007-02-15 | Lightouch Medical Inc | Verfahren zur nicht invasiven analytenmessung |
| US6300142B1 (en) | 1997-11-28 | 2001-10-09 | Provalis Diagnostics Ltd | Device and apparatus for conducting an assay |
| CA2547299C (en) | 1997-12-04 | 2009-03-03 | Roche Diagnostics Corporation | Instrument and method |
| US6579690B1 (en) | 1997-12-05 | 2003-06-17 | Therasense, Inc. | Blood analyte monitoring through subcutaneous measurement |
| US5997817A (en) | 1997-12-05 | 1999-12-07 | Roche Diagnostics Corporation | Electrochemical biosensor test strip |
| US6162639A (en) | 1997-12-19 | 2000-12-19 | Amira Medical | Embossed test strip system |
| US7407811B2 (en) | 1997-12-22 | 2008-08-05 | Roche Diagnostics Operations, Inc. | System and method for analyte measurement using AC excitation |
| US6262749B1 (en) | 1997-12-31 | 2001-07-17 | Acuson Corporation | Ultrasonic system and method for data transfer, storage and/or processing |
| US5971923A (en) | 1997-12-31 | 1999-10-26 | Acuson Corporation | Ultrasound system and method for interfacing with peripherals |
| JP3848993B2 (ja) | 1998-01-06 | 2006-11-22 | アークレイ株式会社 | 共存物質の存在下における成分量の測定方法及び測定装置 |
| US6485905B2 (en) * | 1998-02-02 | 2002-11-26 | Signature Bioscience, Inc. | Bio-assay device |
| US6394952B1 (en) | 1998-02-03 | 2002-05-28 | Adeza Biomedical Corporation | Point of care diagnostic systems |
| JP3978489B2 (ja) | 1998-02-26 | 2007-09-19 | アークレイ株式会社 | 血液測定装置 |
| US6206282B1 (en) | 1998-03-03 | 2001-03-27 | Pyper Products Corporation | RF embedded identification device |
| US6103033A (en) | 1998-03-04 | 2000-08-15 | Therasense, Inc. | Process for producing an electrochemical biosensor |
| US6134461A (en) | 1998-03-04 | 2000-10-17 | E. Heller & Company | Electrochemical analyte |
| US6475360B1 (en) | 1998-03-12 | 2002-11-05 | Lifescan, Inc. | Heated electrochemical cell |
| CA2265119C (en) | 1998-03-13 | 2002-12-03 | Cygnus, Inc. | Biosensor, iontophoretic sampling system, and methods of use thereof |
| US5939609A (en) * | 1998-03-23 | 1999-08-17 | Conception Technology Incorporated | Multi-use sensor having a controllable number of measurement cycles |
| US6091975A (en) | 1998-04-01 | 2000-07-18 | Alza Corporation | Minimally invasive detecting device |
| US6340428B1 (en) | 1998-04-02 | 2002-01-22 | Matsushita Electric Industrial Co., Inc. | Device and method for determining the concentration of a substrate |
| US6246966B1 (en) | 1998-04-06 | 2001-06-12 | Bayer Corporation | Method and apparatus for data management authentication in a clinical analyzer |
| US5995236A (en) | 1998-04-13 | 1999-11-30 | Mit Development Corporation | Blood fluid characteristics analysis instrument |
| US6175752B1 (en) | 1998-04-30 | 2001-01-16 | Therasense, Inc. | Analyte monitoring device and methods of use |
| US6271044B1 (en) | 1998-05-06 | 2001-08-07 | University Of Pittsburgh Of The Commonwealth System Of Higher Education | Method and kit for detecting an analyte |
| GB2337122B (en) | 1998-05-08 | 2002-11-13 | Medisense Inc | Test strip |
| ES2205818T3 (es) | 1998-05-13 | 2004-05-01 | Cygnus, Inc. | Control de analitos fisiologicos. |
| WO1999058973A1 (en) | 1998-05-13 | 1999-11-18 | Cygnus, Inc. | Method and device for predicting physiological values |
| US6526298B1 (en) | 1998-05-18 | 2003-02-25 | Abbott Laboratories | Method for the non-invasive determination of analytes in a selected volume of tissue |
| US6576117B1 (en) | 1998-05-20 | 2003-06-10 | Arkray | Method and apparatus for electrochemical measurement using statistical technique |
| DE29809191U1 (de) | 1998-05-20 | 1998-08-13 | LRE Technology Partner GmbH, 80807 München | Teststreifen-Meßsystem |
| US6246330B1 (en) | 1998-05-29 | 2001-06-12 | Wyn Y. Nielsen | Elimination-absorber monitoring system |
| US6287595B1 (en) | 1998-06-10 | 2001-09-11 | Delsys Pharmaceuticals Corporation | Biomedical assay device |
| US6022366A (en) | 1998-06-11 | 2000-02-08 | Stat Medical Devices Inc. | Lancet having adjustable penetration depth |
| US6294281B1 (en) | 1998-06-17 | 2001-09-25 | Therasense, Inc. | Biological fuel cell and method |
| US6656702B1 (en) | 1998-07-03 | 2003-12-02 | Matsushita Electric Industrial Co., Ltd. | Biosensor containing glucose dehydrogenase |
| US6261519B1 (en) | 1998-07-20 | 2001-07-17 | Lifescan, Inc. | Medical diagnostic device with enough-sample indicator |
| US6521182B1 (en) | 1998-07-20 | 2003-02-18 | Lifescan, Inc. | Fluidic device for medical diagnostics |
| US6162397A (en) | 1998-08-13 | 2000-12-19 | Lifescan, Inc. | Visual blood glucose test strip |
| US6096186A (en) * | 1998-08-18 | 2000-08-01 | Industrial Scientific Corporation | Method for determining exhaustion of an electrochemical gas sensor |
| US6251260B1 (en) | 1998-08-24 | 2001-06-26 | Therasense, Inc. | Potentiometric sensors for analytic determination |
| US6638716B2 (en) | 1998-08-24 | 2003-10-28 | Therasense, Inc. | Rapid amperometric verification of PCR amplification of DNA |
| US6281006B1 (en) | 1998-08-24 | 2001-08-28 | Therasense, Inc. | Electrochemical affinity assay |
| CA2340005C (en) | 1998-08-26 | 2014-05-06 | Sensors For Medicine And Science, Inc. | Optical-based sensing devices |
| US6087182A (en) | 1998-08-27 | 2000-07-11 | Abbott Laboratories | Reagentless analysis of biological samples |
| US5902731A (en) | 1998-09-28 | 1999-05-11 | Lifescan, Inc. | Diagnostics based on tetrazolium compounds |
| US6180416B1 (en) | 1998-09-30 | 2001-01-30 | Cygnus, Inc. | Method and device for predicting physiological values |
| JP3537136B2 (ja) | 1998-09-30 | 2004-06-14 | シグナス, インコーポレイテッド | 生理的数値を予測する方法および装置 |
| US6338790B1 (en) | 1998-10-08 | 2002-01-15 | Therasense, Inc. | Small volume in vitro analyte sensor with diffusible or non-leachable redox mediator |
| US6591125B1 (en) | 2000-06-27 | 2003-07-08 | Therasense, Inc. | Small volume in vitro analyte sensor with diffusible or non-leachable redox mediator |
| US6136610A (en) | 1998-11-23 | 2000-10-24 | Praxsys Biosystems, Inc. | Method and apparatus for performing a lateral flow assay |
| US6126609A (en) | 1998-11-23 | 2000-10-03 | Keith & Rumph Inventors, Inc. | Apparatus for taking blood samples from a patient |
| GB9825992D0 (en) | 1998-11-28 | 1999-01-20 | Moorlodge Biotech Ventures Lim | Electrochemical sensor |
| BR9915778A (pt) | 1998-11-30 | 2001-08-14 | Abbott Lab | Processos para calibrar e operar um instrumento de teste de analito, para determinar a data e o tempo reais de eventos em um instrumento de teste de analito, e para controlar a operação de um instrumento de teste de analito |
| US6128519A (en) | 1998-12-16 | 2000-10-03 | Pepex Biomedical, Llc | System and method for measuring a bioanalyte such as lactate |
| ATE261066T1 (de) | 1998-12-19 | 2004-03-15 | Gardena Kress & Kastner Gmbh | Teicheinsatz mit pumpe |
| US6203952B1 (en) | 1999-01-14 | 2001-03-20 | 3M Innovative Properties Company | Imaged article on polymeric substrate |
| US6344490B1 (en) | 1999-01-22 | 2002-02-05 | Exxon Research And Engineering Company | Removable filter for slurry hydrocarbon synthesis process |
| EP1035503B2 (de) | 1999-01-23 | 2010-03-03 | X-ident technology GmbH | RFID-Transponder mit bedruckbarer Oberfläche |
| US6565738B1 (en) | 1999-01-28 | 2003-05-20 | Abbott Laboratories | Diagnostic test for the measurement of analyte in abiological fluid |
| US6475372B1 (en) | 2000-02-02 | 2002-11-05 | Lifescan, Inc. | Electrochemical methods and devices for use in the determination of hematocrit corrected analyte concentrations |
| US6197040B1 (en) | 1999-02-23 | 2001-03-06 | Lifescan, Inc. | Lancing device having a releasable connector |
| US6045567A (en) | 1999-02-23 | 2000-04-04 | Lifescan Inc. | Lancing device causing reduced pain |
| US6333019B1 (en) | 1999-04-29 | 2001-12-25 | Marc-Olivier Coppens | Method for operating a chemical and/or physical process by means of a hierarchical fluid injection system |
| US6150124A (en) | 1999-05-20 | 2000-11-21 | Umm Electronics, Inc. | Method for passively determining the application of a sample fluid on an analyte strip |
| US6258229B1 (en) | 1999-06-02 | 2001-07-10 | Handani Winarta | Disposable sub-microliter volume sensor and method of making |
| US6287451B1 (en) | 1999-06-02 | 2001-09-11 | Handani Winarta | Disposable sensor and method of making |
| US6193873B1 (en) | 1999-06-15 | 2001-02-27 | Lifescan, Inc. | Sample detection to initiate timing of an electrochemical assay |
| JP4801301B2 (ja) | 1999-06-18 | 2011-10-26 | アボット ダイアベティス ケア インコーポレイテッド | 物質移動が制限された生体内分析物センサー |
| US6514769B2 (en) | 1999-07-29 | 2003-02-04 | Jin Po Lee | Multiple analyte assay device with sample integrity monitoring system |
| DE19936693A1 (de) | 1999-08-04 | 2001-02-08 | Lre Technology Partner Gmbh | Verfahren zur ampereometrischen Bestimmung der Konzentration einer Substanz in einer Flüssigkeit |
| US6645359B1 (en) | 2000-10-06 | 2003-11-11 | Roche Diagnostics Corporation | Biosensor |
| US6136549A (en) | 1999-10-15 | 2000-10-24 | Feistel; Christopher C. | systems and methods for performing magnetic chromatography assays |
| US6218571B1 (en) | 1999-10-27 | 2001-04-17 | Lifescan, Inc. | 8-(anilino)-1-naphthalenesulfonate analogs |
| US6616819B1 (en) | 1999-11-04 | 2003-09-09 | Therasense, Inc. | Small volume in vitro analyte sensor and methods |
| TR200401326T4 (tr) | 1999-11-15 | 2004-07-21 | Therasense, Inc. | İmidazol halkasına sahip iki dişli ligant içeren geçiş metali kompleksleri |
| US6342364B1 (en) | 1999-11-22 | 2002-01-29 | Matsushita Electric Industrial Co., Ltd. | Cholesterol sensor and method of determining cholesterol |
| JP4050434B2 (ja) | 1999-11-29 | 2008-02-20 | 松下電器産業株式会社 | サンプルの弁別方法 |
| US6413395B1 (en) | 1999-12-16 | 2002-07-02 | Roche Diagnostics Corporation | Biosensor apparatus |
| US6316264B1 (en) | 1999-12-17 | 2001-11-13 | Bayer Corporation | Test strip for the assay of an analyte in a liquid sample |
| US6541216B1 (en) * | 1999-12-22 | 2003-04-01 | Roche Diagnostics Corporation | Amperometric biosensor test strip |
| US6627057B1 (en) | 1999-12-23 | 2003-09-30 | Roche Diagnostic Corporation | Microsphere containing sensor |
| US6485923B1 (en) | 2000-02-02 | 2002-11-26 | Lifescan, Inc. | Reagent test strip for analyte determination having hemolyzing agent |
| US6538735B1 (en) | 2000-02-25 | 2003-03-25 | Packard Instrument Company | Method and apparatus for producing and measuring light and for determining the amounts of analytes in microplate wells |
| DE10014724A1 (de) | 2000-03-24 | 2001-09-27 | Endress Hauser Gmbh Co | Verfahren und Vorrichtung zur Feststellung und/oder Überwachung des Füllstandes eines Mediums in einem Behälter |
| US6571651B1 (en) | 2000-03-27 | 2003-06-03 | Lifescan, Inc. | Method of preventing short sampling of a capillary or wicking fill device |
| US6488827B1 (en) | 2000-03-31 | 2002-12-03 | Lifescan, Inc. | Capillary flow control in a medical diagnostic device |
| US6623501B2 (en) | 2000-04-05 | 2003-09-23 | Therasense, Inc. | Reusable ceramic skin-piercing device |
| US6716620B2 (en) | 2000-04-17 | 2004-04-06 | Purdue Research Foundation | Biosensor and related method |
| US6413213B1 (en) | 2000-04-18 | 2002-07-02 | Roche Diagnostics Corporation | Subscription based monitoring system and method |
| US6578102B1 (en) * | 2000-04-18 | 2003-06-10 | International Business Machines Corporation | Tracking and control of prefetch data in a PCI bus system |
| EP1156302B1 (de) | 2000-05-15 | 2004-09-29 | Krohne Messtechnik Gmbh & Co. Kg | Füllstandsmessgerät |
| US6557427B2 (en) | 2000-05-24 | 2003-05-06 | Micronics, Inc. | Capillaries for fluid movement within microfluidic channels |
| US6444115B1 (en) | 2000-07-14 | 2002-09-03 | Lifescan, Inc. | Electrochemical method for measuring chemical reaction rates |
| JP2002055076A (ja) * | 2000-09-08 | 2002-02-20 | Nec Corp | 電気化学センサ |
| JP3913454B2 (ja) | 2000-08-29 | 2007-05-09 | 株式会社リガク | 試料の表面リーク電流の測定方法 |
| US6420128B1 (en) | 2000-09-12 | 2002-07-16 | Lifescan, Inc. | Test strips for detecting the presence of a reduced cofactor in a sample and method for using the same |
| US6991767B1 (en) | 2000-09-18 | 2006-01-31 | Procedyne Corp. | Fluidized bed gas distributor system for elevated temperature operation |
| US6555061B1 (en) | 2000-10-05 | 2003-04-29 | Lifescan, Inc. | Multi-layer reagent test strip |
| US6540890B1 (en) | 2000-11-01 | 2003-04-01 | Roche Diagnostics Corporation | Biosensor |
| CA2398460C (en) | 2000-12-04 | 2007-10-30 | Kubota Corporation | Air diffuser and flushing method thereof |
| US6447657B1 (en) | 2000-12-04 | 2002-09-10 | Roche Diagnostics Corporation | Biosensor |
| US6558528B1 (en) | 2000-12-20 | 2003-05-06 | Lifescan, Inc. | Electrochemical test strip cards that include an integral dessicant |
| US6560471B1 (en) | 2001-01-02 | 2003-05-06 | Therasense, Inc. | Analyte monitoring device and methods of use |
| US6562625B2 (en) | 2001-02-28 | 2003-05-13 | Home Diagnostics, Inc. | Distinguishing test types through spectral analysis |
| US6541266B2 (en) | 2001-02-28 | 2003-04-01 | Home Diagnostics, Inc. | Method for determining concentration of an analyte in a test strip |
| US6525330B2 (en) | 2001-02-28 | 2003-02-25 | Home Diagnostics, Inc. | Method of strip insertion detection |
| US6821410B2 (en) * | 2001-03-07 | 2004-11-23 | Matsushita Electric Industrial Co., Ltd. | Biosensor and method of substrate quantification |
| US6576102B1 (en) * | 2001-03-23 | 2003-06-10 | Virotek, L.L.C. | Electrochemical sensor and method thereof |
| US20030175946A1 (en) | 2001-04-16 | 2003-09-18 | Hiroyuki Tokunaga | Biosensor |
| US6491803B1 (en) | 2001-05-18 | 2002-12-10 | Apex Biotechnology Corporation | Test strip and biosensor incorporating with nanometer metal particles |
| US6549796B2 (en) | 2001-05-25 | 2003-04-15 | Lifescan, Inc. | Monitoring analyte concentration using minimally invasive devices |
| US6501976B1 (en) | 2001-06-12 | 2002-12-31 | Lifescan, Inc. | Percutaneous biological fluid sampling and analyte measurement devices and methods |
| US6576416B2 (en) | 2001-06-19 | 2003-06-10 | Lifescan, Inc. | Analyte measurement device and method of use |
| KR20040030805A (ko) | 2001-07-13 | 2004-04-09 | 엑손모빌 리서치 앤드 엔지니어링 컴퍼니 | 고순도 피셔-트롭시 왁스의 직접 제조 |
| SE521208C2 (sv) * | 2001-08-29 | 2003-10-14 | Haemo Wave Ab | System och förfarande för blodanalys |
| US6797150B2 (en) * | 2001-10-10 | 2004-09-28 | Lifescan, Inc. | Determination of sample volume adequacy in biosensor devices |
| US7048262B2 (en) | 2001-11-01 | 2006-05-23 | Praxair Technology, Inc. | Method and apparatus for injecting oxygen into fermentation processes |
| US6717024B2 (en) | 2001-11-06 | 2004-04-06 | Exxonmobil Research And Engineering Company | Slurry hydrocarbon synthesis with liquid hydroisomerization in the synthesis reactor |
| US7018843B2 (en) * | 2001-11-07 | 2006-03-28 | Roche Diagnostics Operations, Inc. | Instrument |
| US6689411B2 (en) | 2001-11-28 | 2004-02-10 | Lifescan, Inc. | Solution striping system |
| US6743635B2 (en) | 2002-04-25 | 2004-06-01 | Home Diagnostics, Inc. | System and methods for blood glucose sensing |
| JP4020019B2 (ja) * | 2002-08-29 | 2007-12-12 | 株式会社デンソー | ガスセンサの異常検出装置 |
| US6797039B2 (en) | 2002-12-27 | 2004-09-28 | Dwain F. Spencer | Methods and systems for selectively separating CO2 from a multicomponent gaseous stream |
| US7488601B2 (en) * | 2003-06-20 | 2009-02-10 | Roche Diagnostic Operations, Inc. | System and method for determining an abused sensor during analyte measurement |
| US7429865B2 (en) * | 2005-10-05 | 2008-09-30 | Roche Diagnostics Operations, Inc. | Method and system for error checking an electrochemical sensor |
| US7985330B2 (en) | 2005-12-30 | 2011-07-26 | Medtronic Minimed, Inc. | Method and system for detecting age, hydration, and functional states of sensors using electrochemical impedance spectroscopy |
-
2003
- 2003-10-17 US US10/688,561 patent/US7488601B2/en not_active Expired - Lifetime
-
2004
- 2004-06-18 CA CA2530300A patent/CA2530300C/en not_active Expired - Lifetime
- 2004-06-18 JP JP2006517447A patent/JP2007524817A/ja active Pending
- 2004-06-18 WO PCT/US2004/019640 patent/WO2005001462A1/en not_active Ceased
- 2004-06-18 EP EP04755678.2A patent/EP1639357B1/en not_active Expired - Lifetime
-
2008
- 2008-12-09 US US12/330,757 patent/US7977112B2/en not_active Expired - Lifetime
-
2009
- 2009-07-17 US US12/505,124 patent/US8377707B2/en not_active Expired - Fee Related
- 2009-12-11 JP JP2009282032A patent/JP5546231B2/ja not_active Expired - Lifetime
-
2011
- 2011-06-02 US US13/151,537 patent/US8859293B2/en not_active Expired - Lifetime
-
2014
- 2014-04-03 JP JP2014077112A patent/JP5702485B2/ja not_active Expired - Lifetime
Patent Citations (4)
| Publication number | Priority date | Publication date | Assignee | Title |
|---|---|---|---|---|
| JPH08502589A (ja) * | 1993-06-08 | 1996-03-19 | ベーリンガー マンハイム コーポレーション | 誤表示防止フェールセーフ機能付バイオセンシングメータ |
| JP2001527215A (ja) * | 1997-12-22 | 2001-12-25 | ロシュ ダイアグノスティックス コーポレーション | 生物学的流体の医学的に有意な成分の濃度を測定する装置および方法 |
| EP1312919A2 (en) * | 2001-11-20 | 2003-05-21 | Lifescan, Inc. | Sample volume metering apparatus |
| WO2003076919A1 (en) * | 2002-03-08 | 2003-09-18 | Matsushita Electric Industrial Co., Ltd. | Substrate determining method |
Cited By (2)
| Publication number | Priority date | Publication date | Assignee | Title |
|---|---|---|---|---|
| WO2013018500A1 (ja) * | 2011-07-29 | 2013-02-07 | アークレイ株式会社 | 携帯型医療機器 |
| JP2016523358A (ja) * | 2013-06-10 | 2016-08-08 | エフ.ホフマン−ラ ロシュ アーゲーF. Hoffmann−La Roche Aktiengesellschaft | 体液中の分析物を検出するための方法およびシステム |
Also Published As
| Publication number | Publication date |
|---|---|
| US8859293B2 (en) | 2014-10-14 |
| JP5546231B2 (ja) | 2014-07-09 |
| WO2005001462A8 (en) | 2005-03-17 |
| EP1639357B1 (en) | 2019-08-07 |
| CA2530300C (en) | 2018-01-09 |
| US7977112B2 (en) | 2011-07-12 |
| JP5702485B2 (ja) | 2015-04-15 |
| JP2014130163A (ja) | 2014-07-10 |
| US8377707B2 (en) | 2013-02-19 |
| WO2005001462A1 (en) | 2005-01-06 |
| US20090292489A1 (en) | 2009-11-26 |
| US20090089010A1 (en) | 2009-04-02 |
| US20110241694A1 (en) | 2011-10-06 |
| JP2007524817A (ja) | 2007-08-30 |
| US20040260511A1 (en) | 2004-12-23 |
| US7488601B2 (en) | 2009-02-10 |
| CA2530300A1 (en) | 2005-01-06 |
| EP1639357A1 (en) | 2006-03-29 |
Similar Documents
| Publication | Publication Date | Title |
|---|---|---|
| JP5702485B2 (ja) | 生物学的流体中の分析物の測定中に誤用されたセンサーを決定するシステムおよび方法 | |
| JP4374020B2 (ja) | Ac励起を用いた検体測定システムおよび方法 | |
| US7338639B2 (en) | System and method for analyte measurement | |
| JP4681546B2 (ja) | 生物学的流体の測定を実施するための生物学的流体試験ストリップに関する用量充填性を決定する方法、生物学的流体試験ストリップにおける生物学的流体の測定を実施するための方法、生物学的流体試験ストリップにおける生物学的流体の許容できる充填時間を表示するための方法および生物学的流体の測定を実施するための生物学的流体試験ストリップ | |
| US7597793B2 (en) | System and method for analyte measurement employing maximum dosing time delay | |
| US7390667B2 (en) | System and method for analyte measurement using AC phase angle measurements | |
| US8071384B2 (en) | Control and calibration solutions and methods for their use |
Legal Events
| Date | Code | Title | Description |
|---|---|---|---|
| RD03 | Notification of appointment of power of attorney |
Free format text: JAPANESE INTERMEDIATE CODE: A7423 Effective date: 20100525 |
|
| A131 | Notification of reasons for refusal |
Free format text: JAPANESE INTERMEDIATE CODE: A131 Effective date: 20121002 |
|
| A601 | Written request for extension of time |
Free format text: JAPANESE INTERMEDIATE CODE: A601 Effective date: 20121221 |
|
| A602 | Written permission of extension of time |
Free format text: JAPANESE INTERMEDIATE CODE: A602 Effective date: 20121227 |
|
| A601 | Written request for extension of time |
Free format text: JAPANESE INTERMEDIATE CODE: A601 Effective date: 20130227 |
|
| A602 | Written permission of extension of time |
Free format text: JAPANESE INTERMEDIATE CODE: A602 Effective date: 20130304 |
|
| A521 | Request for written amendment filed |
Free format text: JAPANESE INTERMEDIATE CODE: A523 Effective date: 20130402 |
|
| A02 | Decision of refusal |
Free format text: JAPANESE INTERMEDIATE CODE: A02 Effective date: 20131203 |
|
| A521 | Request for written amendment filed |
Free format text: JAPANESE INTERMEDIATE CODE: A523 Effective date: 20140403 |
|
| A521 | Request for written amendment filed |
Free format text: JAPANESE INTERMEDIATE CODE: A523 Effective date: 20140403 |
|
| A911 | Transfer to examiner for re-examination before appeal (zenchi) |
Free format text: JAPANESE INTERMEDIATE CODE: A911 Effective date: 20140415 |
|
| TRDD | Decision of grant or rejection written | ||
| A01 | Written decision to grant a patent or to grant a registration (utility model) |
Free format text: JAPANESE INTERMEDIATE CODE: A01 Effective date: 20140507 |
|
| A61 | First payment of annual fees (during grant procedure) |
Free format text: JAPANESE INTERMEDIATE CODE: A61 Effective date: 20140513 |
|
| R150 | Certificate of patent or registration of utility model |
Ref document number: 5546231 Country of ref document: JP Free format text: JAPANESE INTERMEDIATE CODE: R150 |
|
| R250 | Receipt of annual fees |
Free format text: JAPANESE INTERMEDIATE CODE: R250 |
|
| R250 | Receipt of annual fees |
Free format text: JAPANESE INTERMEDIATE CODE: R250 |
|
| R250 | Receipt of annual fees |
Free format text: JAPANESE INTERMEDIATE CODE: R250 |
|
| R250 | Receipt of annual fees |
Free format text: JAPANESE INTERMEDIATE CODE: R250 |
|
| R250 | Receipt of annual fees |
Free format text: JAPANESE INTERMEDIATE CODE: R250 |
|
| R250 | Receipt of annual fees |
Free format text: JAPANESE INTERMEDIATE CODE: R250 |
|
| R250 | Receipt of annual fees |
Free format text: JAPANESE INTERMEDIATE CODE: R250 |
|
| R250 | Receipt of annual fees |
Free format text: JAPANESE INTERMEDIATE CODE: R250 |
|
| EXPY | Cancellation because of completion of term |
