JP2010041779A - 電気自動車用充電キャビネット - Google Patents

電気自動車用充電キャビネット Download PDF

Info

Publication number
JP2010041779A
JP2010041779A JP2008199811A JP2008199811A JP2010041779A JP 2010041779 A JP2010041779 A JP 2010041779A JP 2008199811 A JP2008199811 A JP 2008199811A JP 2008199811 A JP2008199811 A JP 2008199811A JP 2010041779 A JP2010041779 A JP 2010041779A
Authority
JP
Japan
Prior art keywords
charging
cabinet
box
electric vehicle
storage box
Prior art date
Legal status (The legal status is an assumption and is not a legal conclusion. Google has not performed a legal analysis and makes no representation as to the accuracy of the status listed.)
Granted
Application number
JP2008199811A
Other languages
English (en)
Other versions
JP5414024B2 (ja
Inventor
Yukihiro Koide
行宏 小出
Hirohisa Kato
浩久 加藤
Current Assignee (The listed assignees may be inaccurate. Google has not performed a legal analysis and makes no representation or warranty as to the accuracy of the list.)
Nitto Kogyo Corp
Original Assignee
Nitto Kogyo Corp
Priority date (The priority date is an assumption and is not a legal conclusion. Google has not performed a legal analysis and makes no representation as to the accuracy of the date listed.)
Filing date
Publication date
Priority to KR1020060127921A priority Critical patent/KR101199826B1/ko
Priority to JP2009541228A priority patent/JP5534816B2/ja
Priority to CN2007800464023A priority patent/CN101558105B/zh
Priority to US12/084,295 priority patent/US7887727B2/en
Priority to PCT/KR2007/006487 priority patent/WO2008072906A1/en
Application filed by Nitto Kogyo Corp filed Critical Nitto Kogyo Corp
Priority to JP2008199811A priority patent/JP5414024B2/ja
Publication of JP2010041779A publication Critical patent/JP2010041779A/ja
Priority to JP2013164931A priority patent/JP5659369B2/ja
Application granted granted Critical
Publication of JP5414024B2 publication Critical patent/JP5414024B2/ja
Active legal-status Critical Current
Anticipated expiration legal-status Critical

Links

Images

Classifications

    • CCHEMISTRY; METALLURGY
    • C08ORGANIC MACROMOLECULAR COMPOUNDS; THEIR PREPARATION OR CHEMICAL WORKING-UP; COMPOSITIONS BASED THEREON
    • C08JWORKING-UP; GENERAL PROCESSES OF COMPOUNDING; AFTER-TREATMENT NOT COVERED BY SUBCLASSES C08B, C08C, C08F, C08G or C08H
    • C08J5/00Manufacture of articles or shaped materials containing macromolecular substances
    • C08J5/20Manufacture of shaped structures of ion-exchange resins
    • C08J5/22Films, membranes or diaphragms
    • BPERFORMING OPERATIONS; TRANSPORTING
    • B60VEHICLES IN GENERAL
    • B60LPROPULSION OF ELECTRICALLY-PROPELLED VEHICLES; SUPPLYING ELECTRIC POWER FOR AUXILIARY EQUIPMENT OF ELECTRICALLY-PROPELLED VEHICLES; ELECTRODYNAMIC BRAKE SYSTEMS FOR VEHICLES IN GENERAL; MAGNETIC SUSPENSION OR LEVITATION FOR VEHICLES; MONITORING OPERATING VARIABLES OF ELECTRICALLY-PROPELLED VEHICLES; ELECTRIC SAFETY DEVICES FOR ELECTRICALLY-PROPELLED VEHICLES
    • B60L53/00Methods of charging batteries, specially adapted for electric vehicles; Charging stations or on-board charging equipment therefor; Exchange of energy storage elements in electric vehicles
    • B60L53/10Methods of charging batteries, specially adapted for electric vehicles; Charging stations or on-board charging equipment therefor; Exchange of energy storage elements in electric vehicles characterised by the energy transfer between the charging station and the vehicle
    • B60L53/14Conductive energy transfer
    • CCHEMISTRY; METALLURGY
    • C08ORGANIC MACROMOLECULAR COMPOUNDS; THEIR PREPARATION OR CHEMICAL WORKING-UP; COMPOSITIONS BASED THEREON
    • C08JWORKING-UP; GENERAL PROCESSES OF COMPOUNDING; AFTER-TREATMENT NOT COVERED BY SUBCLASSES C08B, C08C, C08F, C08G or C08H
    • C08J5/00Manufacture of articles or shaped materials containing macromolecular substances
    • C08J5/18Manufacture of films or sheets
    • BPERFORMING OPERATIONS; TRANSPORTING
    • B60VEHICLES IN GENERAL
    • B60LPROPULSION OF ELECTRICALLY-PROPELLED VEHICLES; SUPPLYING ELECTRIC POWER FOR AUXILIARY EQUIPMENT OF ELECTRICALLY-PROPELLED VEHICLES; ELECTRODYNAMIC BRAKE SYSTEMS FOR VEHICLES IN GENERAL; MAGNETIC SUSPENSION OR LEVITATION FOR VEHICLES; MONITORING OPERATING VARIABLES OF ELECTRICALLY-PROPELLED VEHICLES; ELECTRIC SAFETY DEVICES FOR ELECTRICALLY-PROPELLED VEHICLES
    • B60L3/00Electric devices on electrically-propelled vehicles for safety purposes; Monitoring operating variables, e.g. speed, deceleration or energy consumption
    • B60L3/0023Detecting, eliminating, remedying or compensating for drive train abnormalities, e.g. failures within the drive train
    • B60L3/0069Detecting, eliminating, remedying or compensating for drive train abnormalities, e.g. failures within the drive train relating to the isolation, e.g. ground fault or leak current
    • BPERFORMING OPERATIONS; TRANSPORTING
    • B60VEHICLES IN GENERAL
    • B60LPROPULSION OF ELECTRICALLY-PROPELLED VEHICLES; SUPPLYING ELECTRIC POWER FOR AUXILIARY EQUIPMENT OF ELECTRICALLY-PROPELLED VEHICLES; ELECTRODYNAMIC BRAKE SYSTEMS FOR VEHICLES IN GENERAL; MAGNETIC SUSPENSION OR LEVITATION FOR VEHICLES; MONITORING OPERATING VARIABLES OF ELECTRICALLY-PROPELLED VEHICLES; ELECTRIC SAFETY DEVICES FOR ELECTRICALLY-PROPELLED VEHICLES
    • B60L3/00Electric devices on electrically-propelled vehicles for safety purposes; Monitoring operating variables, e.g. speed, deceleration or energy consumption
    • B60L3/04Cutting off the power supply under fault conditions
    • BPERFORMING OPERATIONS; TRANSPORTING
    • B60VEHICLES IN GENERAL
    • B60LPROPULSION OF ELECTRICALLY-PROPELLED VEHICLES; SUPPLYING ELECTRIC POWER FOR AUXILIARY EQUIPMENT OF ELECTRICALLY-PROPELLED VEHICLES; ELECTRODYNAMIC BRAKE SYSTEMS FOR VEHICLES IN GENERAL; MAGNETIC SUSPENSION OR LEVITATION FOR VEHICLES; MONITORING OPERATING VARIABLES OF ELECTRICALLY-PROPELLED VEHICLES; ELECTRIC SAFETY DEVICES FOR ELECTRICALLY-PROPELLED VEHICLES
    • B60L53/00Methods of charging batteries, specially adapted for electric vehicles; Charging stations or on-board charging equipment therefor; Exchange of energy storage elements in electric vehicles
    • B60L53/10Methods of charging batteries, specially adapted for electric vehicles; Charging stations or on-board charging equipment therefor; Exchange of energy storage elements in electric vehicles characterised by the energy transfer between the charging station and the vehicle
    • B60L53/14Conductive energy transfer
    • B60L53/18Cables specially adapted for charging electric vehicles
    • BPERFORMING OPERATIONS; TRANSPORTING
    • B60VEHICLES IN GENERAL
    • B60LPROPULSION OF ELECTRICALLY-PROPELLED VEHICLES; SUPPLYING ELECTRIC POWER FOR AUXILIARY EQUIPMENT OF ELECTRICALLY-PROPELLED VEHICLES; ELECTRODYNAMIC BRAKE SYSTEMS FOR VEHICLES IN GENERAL; MAGNETIC SUSPENSION OR LEVITATION FOR VEHICLES; MONITORING OPERATING VARIABLES OF ELECTRICALLY-PROPELLED VEHICLES; ELECTRIC SAFETY DEVICES FOR ELECTRICALLY-PROPELLED VEHICLES
    • B60L53/00Methods of charging batteries, specially adapted for electric vehicles; Charging stations or on-board charging equipment therefor; Exchange of energy storage elements in electric vehicles
    • B60L53/30Constructional details of charging stations
    • BPERFORMING OPERATIONS; TRANSPORTING
    • B60VEHICLES IN GENERAL
    • B60LPROPULSION OF ELECTRICALLY-PROPELLED VEHICLES; SUPPLYING ELECTRIC POWER FOR AUXILIARY EQUIPMENT OF ELECTRICALLY-PROPELLED VEHICLES; ELECTRODYNAMIC BRAKE SYSTEMS FOR VEHICLES IN GENERAL; MAGNETIC SUSPENSION OR LEVITATION FOR VEHICLES; MONITORING OPERATING VARIABLES OF ELECTRICALLY-PROPELLED VEHICLES; ELECTRIC SAFETY DEVICES FOR ELECTRICALLY-PROPELLED VEHICLES
    • B60L53/00Methods of charging batteries, specially adapted for electric vehicles; Charging stations or on-board charging equipment therefor; Exchange of energy storage elements in electric vehicles
    • B60L53/30Constructional details of charging stations
    • B60L53/305Communication interfaces
    • CCHEMISTRY; METALLURGY
    • C08ORGANIC MACROMOLECULAR COMPOUNDS; THEIR PREPARATION OR CHEMICAL WORKING-UP; COMPOSITIONS BASED THEREON
    • C08FMACROMOLECULAR COMPOUNDS OBTAINED BY REACTIONS ONLY INVOLVING CARBON-TO-CARBON UNSATURATED BONDS
    • C08F10/00Homopolymers and copolymers of unsaturated aliphatic hydrocarbons having only one carbon-to-carbon double bond
    • CCHEMISTRY; METALLURGY
    • C08ORGANIC MACROMOLECULAR COMPOUNDS; THEIR PREPARATION OR CHEMICAL WORKING-UP; COMPOSITIONS BASED THEREON
    • C08JWORKING-UP; GENERAL PROCESSES OF COMPOUNDING; AFTER-TREATMENT NOT COVERED BY SUBCLASSES C08B, C08C, C08F, C08G or C08H
    • C08J9/00Working-up of macromolecular substances to porous or cellular articles or materials; After-treatment thereof
    • CCHEMISTRY; METALLURGY
    • C08ORGANIC MACROMOLECULAR COMPOUNDS; THEIR PREPARATION OR CHEMICAL WORKING-UP; COMPOSITIONS BASED THEREON
    • C08JWORKING-UP; GENERAL PROCESSES OF COMPOUNDING; AFTER-TREATMENT NOT COVERED BY SUBCLASSES C08B, C08C, C08F, C08G or C08H
    • C08J9/00Working-up of macromolecular substances to porous or cellular articles or materials; After-treatment thereof
    • C08J9/22After-treatment of expandable particles; Forming foamed products
    • CCHEMISTRY; METALLURGY
    • C08ORGANIC MACROMOLECULAR COMPOUNDS; THEIR PREPARATION OR CHEMICAL WORKING-UP; COMPOSITIONS BASED THEREON
    • C08JWORKING-UP; GENERAL PROCESSES OF COMPOUNDING; AFTER-TREATMENT NOT COVERED BY SUBCLASSES C08B, C08C, C08F, C08G or C08H
    • C08J2323/00Characterised by the use of homopolymers or copolymers of unsaturated aliphatic hydrocarbons having only one carbon-to-carbon double bond; Derivatives of such polymers
    • C08J2323/02Characterised by the use of homopolymers or copolymers of unsaturated aliphatic hydrocarbons having only one carbon-to-carbon double bond; Derivatives of such polymers not modified by chemical after treatment
    • YGENERAL TAGGING OF NEW TECHNOLOGICAL DEVELOPMENTS; GENERAL TAGGING OF CROSS-SECTIONAL TECHNOLOGIES SPANNING OVER SEVERAL SECTIONS OF THE IPC; TECHNICAL SUBJECTS COVERED BY FORMER USPC CROSS-REFERENCE ART COLLECTIONS [XRACs] AND DIGESTS
    • Y02TECHNOLOGIES OR APPLICATIONS FOR MITIGATION OR ADAPTATION AGAINST CLIMATE CHANGE
    • Y02TCLIMATE CHANGE MITIGATION TECHNOLOGIES RELATED TO TRANSPORTATION
    • Y02T10/00Road transport of goods or passengers
    • Y02T10/60Other road transportation technologies with climate change mitigation effect
    • Y02T10/70Energy storage systems for electromobility, e.g. batteries
    • YGENERAL TAGGING OF NEW TECHNOLOGICAL DEVELOPMENTS; GENERAL TAGGING OF CROSS-SECTIONAL TECHNOLOGIES SPANNING OVER SEVERAL SECTIONS OF THE IPC; TECHNICAL SUBJECTS COVERED BY FORMER USPC CROSS-REFERENCE ART COLLECTIONS [XRACs] AND DIGESTS
    • Y02TECHNOLOGIES OR APPLICATIONS FOR MITIGATION OR ADAPTATION AGAINST CLIMATE CHANGE
    • Y02TCLIMATE CHANGE MITIGATION TECHNOLOGIES RELATED TO TRANSPORTATION
    • Y02T10/00Road transport of goods or passengers
    • Y02T10/60Other road transportation technologies with climate change mitigation effect
    • Y02T10/7072Electromobility specific charging systems or methods for batteries, ultracapacitors, supercapacitors or double-layer capacitors
    • YGENERAL TAGGING OF NEW TECHNOLOGICAL DEVELOPMENTS; GENERAL TAGGING OF CROSS-SECTIONAL TECHNOLOGIES SPANNING OVER SEVERAL SECTIONS OF THE IPC; TECHNICAL SUBJECTS COVERED BY FORMER USPC CROSS-REFERENCE ART COLLECTIONS [XRACs] AND DIGESTS
    • Y02TECHNOLOGIES OR APPLICATIONS FOR MITIGATION OR ADAPTATION AGAINST CLIMATE CHANGE
    • Y02TCLIMATE CHANGE MITIGATION TECHNOLOGIES RELATED TO TRANSPORTATION
    • Y02T90/00Enabling technologies or technologies with a potential or indirect contribution to GHG emissions mitigation
    • Y02T90/10Technologies relating to charging of electric vehicles
    • Y02T90/12Electric charging stations
    • YGENERAL TAGGING OF NEW TECHNOLOGICAL DEVELOPMENTS; GENERAL TAGGING OF CROSS-SECTIONAL TECHNOLOGIES SPANNING OVER SEVERAL SECTIONS OF THE IPC; TECHNICAL SUBJECTS COVERED BY FORMER USPC CROSS-REFERENCE ART COLLECTIONS [XRACs] AND DIGESTS
    • Y02TECHNOLOGIES OR APPLICATIONS FOR MITIGATION OR ADAPTATION AGAINST CLIMATE CHANGE
    • Y02TCLIMATE CHANGE MITIGATION TECHNOLOGIES RELATED TO TRANSPORTATION
    • Y02T90/00Enabling technologies or technologies with a potential or indirect contribution to GHG emissions mitigation
    • Y02T90/10Technologies relating to charging of electric vehicles
    • Y02T90/14Plug-in electric vehicles
    • YGENERAL TAGGING OF NEW TECHNOLOGICAL DEVELOPMENTS; GENERAL TAGGING OF CROSS-SECTIONAL TECHNOLOGIES SPANNING OVER SEVERAL SECTIONS OF THE IPC; TECHNICAL SUBJECTS COVERED BY FORMER USPC CROSS-REFERENCE ART COLLECTIONS [XRACs] AND DIGESTS
    • Y02TECHNOLOGIES OR APPLICATIONS FOR MITIGATION OR ADAPTATION AGAINST CLIMATE CHANGE
    • Y02TCLIMATE CHANGE MITIGATION TECHNOLOGIES RELATED TO TRANSPORTATION
    • Y02T90/00Enabling technologies or technologies with a potential or indirect contribution to GHG emissions mitigation
    • Y02T90/10Technologies relating to charging of electric vehicles
    • Y02T90/16Information or communication technologies improving the operation of electric vehicles

Landscapes

  • Engineering & Computer Science (AREA)
  • Chemical & Material Sciences (AREA)
  • Mechanical Engineering (AREA)
  • Transportation (AREA)
  • Power Engineering (AREA)
  • Organic Chemistry (AREA)
  • Medicinal Chemistry (AREA)
  • Polymers & Plastics (AREA)
  • Chemical Kinetics & Catalysis (AREA)
  • Health & Medical Sciences (AREA)
  • Manufacturing & Machinery (AREA)
  • Materials Engineering (AREA)
  • Life Sciences & Earth Sciences (AREA)
  • Sustainable Development (AREA)
  • Sustainable Energy (AREA)
  • Manufacture Of Porous Articles, And Recovery And Treatment Of Waste Products (AREA)
  • Electric Propulsion And Braking For Vehicles (AREA)
  • Charge And Discharge Circuits For Batteries Or The Like (AREA)
  • Cell Separators (AREA)

Abstract

【課題】人体を保護するための漏電遮断リレー等が組み込まれた漏電遮断リレー収納ボックスを備えた充電接続ケーブルを用いた場合にも、コンセント接続部の耐久性低下のおそれがない電気自動車用充電キャビネットを提供する。
【解決手段】本発明の電気自動車用充電キャビネットは、キャビネット筺体1の内部に、充電接続ケーブル7の先端に設けられた接続プラグ8が差し込まれる充電用コンセント6と、充電接続ケーブル7の接続プラグ8の近傍に設けられた漏電遮断リレー収納ボックス12の重量を受けるボックス保持部13とを配置したものである。充電中にコンセント接続部に漏電遮断リレー収納ボックス12の重量が作用しないので、耐久性低下のおそれがない。
【選択図】図1

Description

本発明は、電気自動車やプラグインハイブリッドカーに充電するために設置される電気自動車用充電キャビネットに関するものである。
近年のガソリン価格の高騰と炭酸ガス発生量抑制の要求により、電気自動車やプラグインハイブリッドカーの需要が高まっている。電気自動車やプラグインハイブリッドカーは車載バッテリーと充電コンセントとを充電接続ケーブルを用いて接続することによって、家庭用電源などを用いて充電することができる。このため所定距離まではモータのみによる走行が可能となり、炭酸ガス発生量抑制に大きく貢献することができるうえ、深夜電力を用いて充電すればガソリン車に比べてエネルギーコストを大幅に低減することができるものである。
このような電気自動車やプラグインハイブリッドカーの充電は、各家庭の駐車場で夜間に行う場合や、コインパーキングやショッピングストアなどでの急速充電を行う場合が想定されている。現在のところ1回の充電で連続走行できる距離がガソリン車に比べて十分ではないので、家庭以外にも電気自動車用充電キャビネットを多数配置し、必要に応じて充電できるようにすることが望まれる。
このために例えば特許文献1には、充電スタンドに設置するための装置が提案されている。この特許文献1の充電器は、充電接続ケーブルをリールに巻き付けた構造のものであり、ガソリンの給油用ホースと同様にリールから充電接続ケーブルを引き出してその先端のプラグを電気自動車の充電用差込み口に差込み、充電を行うものである。この構造は充電接続ケーブル及び漏電遮断リレーなどが充電器側に設けられているため自動車に積載しておく必要はない利点がある。しかしその反面設備が大掛かりになり、設置できる場所が制限されるとともに、電気自動車用充電キャビネット自体にコストが係るという問題点がある。
そこで充電接続ケーブルを自動車に積載しておき、その先端に設けられた接続プラグを差し込むことができる充電用コンセントを備えた電気自動車用充電キャビネットを、多数設置することが検討されている。ところが、人体を保護するためには充電接続ケーブルには漏電遮断機能を持たせることが必要である。このために充電接続ケーブルには、漏電遮断リレーやその他の機器が組み込まれた漏電遮断リレー収納ボックスが、接続プラグに近傍に設けられている。しかも充電用コンセントは人が操作し易いように所定の高さに設けるのが普通である。
このため、充電接続ケーブルの先端に設けられた接続プラグを充電用コンセントに差し込むとケーブルはその下方に垂れ下がり、漏電遮断リレー収納ボックスの重量及びケーブルの重量が充電用コンセントに作用する。このため接続プラグと充電用コンセントとの接続部には常に張力が作用することとなり、コンセント接続部の耐久性が低下したり、充電が不安定になったりする可能性がある。
実用新案登録第3074208号公報
本発明は上記した従来の問題点を解決し、充電ケーブルの途中に漏電遮断リレー収納ボックスを設置した場合にも、コンセント接続部の耐久性低下のおそれがない電気自動車用
充電キャビネットを提供するためになされたものである。
上記の課題を解決するためになされた本発明の電気自動車用充電キャビネットは、キャビネット筺体の内部に、充電接続ケーブルの先端に設けられた接続プラグが差し込まれる充電用コンセントと、充電接続ケーブルの接続プラグの近傍に設けられた漏電遮断リレー収納ボックスの重量を受けるボックス保持部とを配置したことを特徴とするものである。
請求項2に記載のように、ボックス保持部は漏電遮断リレー収納ボックスに形成されたフックを引っ掛ける構造のものとすることができる。あるいは請求項3に記載のように、ボックス保持部を漏電遮断リレー収納ボックスの載置台とすることができる。
また請求項4に記載のように、ボックス保持部に保持された漏電遮断リレー収納ボックスの表示部を視認できる窓孔を、キャビネット本体またはその扉に形成することが好ましい。また請求項5に記載のように、ボックス保持部が充電接続ケーブルの方向を規制するケーブル通過部を備えたものであることが好ましい。さらに請求項6に記載のように、キャビネット筺体の内部に避雷器を備えることが好ましい。
本発明の電気自動車用充電キャビネットは、キャビネット筺体の内部に充電用コンセントと、漏電遮断リレー収納ボックスの重量を受けるボックス保持部とを配置したので、充電接続ケーブルの先端に設けられた接続プラグを充電用コンセントに差込み、漏電遮断リレー収納ボックスをボックス保持部に保持させれば、コンセント接続部に漏電遮断リレー収納ボックスの重量が作用することがない。このためコンセント接続部の耐久性が低下したり、充電が不安定になったりすることがない。また、コードに不意の外力が働いた場合にもコンセント接続部に直接荷重がかかることはなく、安全性の面からも望ましいものである。なお請求項2のようにボックス保持部を漏電遮断リレー収納ボックスに形成されたフックを引っ掛ける構造のものとすれば、漏電遮断リレー収納ボックスを垂直に保持させるに適し、請求項3のようにボックス保持部を漏電遮断リレー収納ボックスの載置台とすれば、漏電遮断リレー収納ボックスを垂直若しくは水平に保持させるに適する。
また、請求項4のようにボックス保持部に保持された漏電遮断リレー収納ボックスの表示部を視認できる窓孔をキャビネット本体またはその扉に形成しておけば、充電中に充電の進行状況等を外部から確認するに便利である。
また請求項5のように、ボックス保持部に充電接続ケーブルの方向を規制するケーブル通過部を形成しておけば、より確実に漏電遮断リレー収納ボックスを保持することができる。さらに請求項6のようにキャビネット筺体の内部に避雷器を設けておけば、充電回路や充電接続ケーブルを雷サージから保護することができる。
以下に本発明の好ましい実施形態を示す。
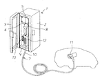
図1において、1は本発明の電気自動車用充電キャビネットのキャビネット筺体であり、キャビネット本体2と開閉可能な扉3とを備えている。屋外に設置されることがあるため、扉3を閉じた状態では内部機器を風雨から保護できる防水構造としておくことが好ましい。しかし屋根のある場所に設置する場合にはその必要はない。
キャビネット筺体1の内部上方には底面4を傾斜させたボックス5が設置されており、その内部には充電用の電源回路、避雷器(SPD)などが収納されているとともに、底面4には充電用コンセント6が配置されている。図1に示すように、この充電用コンセント
6に充電接続ケーブル7の先端に設けられた接続プラグ8を差し込んで充電が行われる。キャビネット本体2の下部前面には、充電接続ケーブル7を接続したままで扉3を閉じることができるように、弾性体を9配置しておくことが好ましい。充電接続ケーブル7はケーブル10の両端に接続プラグ8と自動車側の接続プラグ11とを備えるほか、接続プラグ8の近傍に漏電遮断リレー収納ボックス12を備えている。
漏電遮断リレー収納ボックス12の内部には、漏電遮断リレーのほか、接続が完了したことが確認されてから充電を開始する充電制御回路、ノイズフィルター、タイマーなどが収納されている。また、漏電検出リレー収納ボックスの表面には充電進行状況を示すインジケータが配置されており、漏電検出リレー収納ボックスの表示部として設けられている。このため漏電遮断リレー収納ボックス12はかなりの重量を持つこととなり、しかも接続プラグ8に近い部分に設けられているので、接続プラグ8を充電用コンセント6に差し込むと漏電遮断リレー収納ボックス12が接続プラグ8の下方にぶら下がった状態となる。
そこで本発明ではキャビネット筺体1の内部に、漏電遮断リレー収納ボックス12の重量を受けるボックス保持部13を設けてある。この実施形態では、図2に示すように漏電遮断リレー収納ボックス12の上部側面にフック14が形成されており、ボックス保持部13はこのフック14を引っ掛けることができる構造のものである。具体的には、漏電遮断リレー収納ボックス12の奥行き寸法よりもやや広い間隔で形成された2枚の垂直壁15,15の間に、フック14の引っ掛け板16を形成した構造である。このため、充電用コンセント6とボックス保持部13との距離を、接続プラグ8と漏電遮断リレー収納ボックス12との距離よりもやや短く設定しておけば、漏電遮断リレー収納ボックス12の重量をボックス保持部13で支え、コンセント接続部に荷重が作用することを防止することができる。
図3に示すように、キャビネット筺体1の扉3には窓孔21が形成されている。この窓孔21は扉3を閉じた状態においてもボックス保持部13に保持された漏電遮断リレー収納ボックス12の表示部を視認できる位置に形成されている。また窓孔21は透明樹脂や透明ガラスで覆われており、充電中における風雨の侵入を防止できるようになっている。このような構造としておけば、漏電遮断リレー収納ボックス12の表面に設けられた充電進行状況を示すインジケータの表示を扉3を閉じたままで外部から視認できるので便利である。なお窓孔21の位置はキャビネット本体2とすることもできる。
図4はボックス保持部13を変形させた第2の実施形態を示す斜視図である。この実施形態では漏電遮断リレー収納ボックス12の上下にそれぞれフック14,14が形成されており、ボックス保持部13にもこれに対応させた上下2段の引っ掛け板16,16を形成してある。
図5はボックス保持部13を変形させた第3の実施形態を示す斜視図である。この実施形態ではボックス保持部13の2枚の垂直壁15,15の下部を手前側に突出させ、さらにその下端を内側に突出させて載置台としている。このため漏電遮断リレー収納ボックス12を上方から落とし込むように挿入して漏電遮断リレー収納ボックス12を垂直に載置することが可能なものである。また底面には充電接続ケーブル7を通してその方向を規制することができるケーブル通過部が形成されることとなる。これによって充電接続ケーブル7及び漏電遮断リレー収納ボックス12をより安定に載置することが可能となる。
図6と図7はボックス保持部13を横置き型にした第4の実施形態を示す斜視図である。この実施形態ではボックス保持部13は漏電遮断リレー収納ボックス12の載置台となっている。漏電遮断リレー収納ボックス12の背面には突条17が突設されており、また
上下端面にはカム状突起18が形成されている。一方、ボックス保持部13には突条17が嵌まり込む受け溝19と、カム状突起18が嵌まり込む凹部20とが形成されている。このため、漏電遮断リレー収納ボックス12をボックス保持部13の上に水平に載置して後方に押し込めば、漏電遮断リレー収納ボックス12の背面の突条17がボックス保持部13の受け溝19に嵌まり込むとともに、カム状突起18が凹部20に嵌まり込み、安定に保持される。
上記した何れの実施形態においても、漏電遮断リレー収納ボックス12をボックス保持部13に保持させることによって荷重を支えることができるので、充電中にコンセント接続部に漏電遮断リレー収納ボックス12の重量が作用することがなく、コンセント接続部の耐久性が低下したり、充電が不安定になったりすることがない利点がある。
本発明の第1の実施形態を示す全体斜視図である。 第1の実施形態におけるボックス保持部を示す斜視図である。 扉を閉じた状態を示す斜視図である。 第2の実施形態におけるボックス保持部を示す斜視図である。 第3の実施形態におけるボックス保持部を示す斜視図である。 第4の実施形態におけるボックス保持部を示す斜視図である。 第4の実施形態におけるボックス保持部の嵌合状態の説明図である。
符号の説明
1 キャビネット筺体
2 キャビネット本体
3 扉
4 底面
5 ボックス
6 充電用コンセント
7 充電接続ケーブル
8 接続プラグ
9 弾性体
10 ケーブル
11 自動車側の接続プラグ
12 漏電遮断リレー収納ボックス
13 ボックス保持部
14 フック
15 垂直壁
16 引っ掛け板
17 突条
18 カム状突起
19 受け溝
20 凹部
21 窓孔

Claims (6)

  1. キャビネット筺体の内部に、充電接続ケーブルの先端に設けられた接続プラグが差し込まれる充電用コンセントと、充電接続ケーブルの接続プラグの近傍に設けられた漏電遮断リレー収納ボックスの重量を受けるボックス保持部とを配置したことを特徴とする電気自動車用充電キャビネット。
  2. ボックス保持部が漏電遮断リレー収納ボックスに形成されたフックを引っ掛ける構造のものであることを特徴とする請求項1記載の電気自動車用充電キャビネット。
  3. ボックス保持部が漏電遮断リレー収納ボックスの載置台であることを特徴とする請求項1記載の電気自動車用充電キャビネット。
  4. ボックス保持部に保持された漏電遮断リレー収納ボックスの表示部を視認できる窓孔を、キャビネット本体またはその扉に形成したことを特徴とする請求項1記載の電気自動車用充電キャビネット。
  5. ボックス保持部が充電接続ケーブルの方向を規制するケーブル通過部を備えたものであることを特徴とする請求項1記載の電気自動車用充電キャビネット。
  6. キャビネット筺体の内部に、避雷器を備えたことを特徴とする請求項1記載の電気自動車用充電キャビネット。
JP2008199811A 2006-12-14 2008-08-01 電気自動車用充電キャビネット Active JP5414024B2 (ja)

Priority Applications (7)

Application Number Priority Date Filing Date Title
KR1020060127921A KR101199826B1 (ko) 2006-12-14 2006-12-14 효율적인 압출에 따른 폴리올레핀 미세다공막 제조방법
CN2007800464023A CN101558105B (zh) 2006-12-14 2007-12-12 通过有效挤出进行的微孔聚烯烃膜的制备方法
US12/084,295 US7887727B2 (en) 2006-12-14 2007-12-12 Preparing method of microporous polyolefin film through effective extrusion
PCT/KR2007/006487 WO2008072906A1 (en) 2006-12-14 2007-12-12 Preparing method of microporous polyolefin film through effective extrusion
JP2009541228A JP5534816B2 (ja) 2006-12-14 2007-12-12 効率的な押出によるポリオレフィン微多孔膜の製造方法
JP2008199811A JP5414024B2 (ja) 2006-12-14 2008-08-01 電気自動車用充電キャビネット
JP2013164931A JP5659369B2 (ja) 2006-12-14 2013-08-08 電気自動車用充電キャビネット

Applications Claiming Priority (3)

Application Number Priority Date Filing Date Title
KR1020060127921A KR101199826B1 (ko) 2006-12-14 2006-12-14 효율적인 압출에 따른 폴리올레핀 미세다공막 제조방법
JP2008199811A JP5414024B2 (ja) 2006-12-14 2008-08-01 電気自動車用充電キャビネット
JP2013164931A JP5659369B2 (ja) 2006-12-14 2013-08-08 電気自動車用充電キャビネット

Related Child Applications (1)

Application Number Title Priority Date Filing Date
JP2013164931A Division JP5659369B2 (ja) 2006-12-14 2013-08-08 電気自動車用充電キャビネット

Publications (2)

Publication Number Publication Date
JP2010041779A true JP2010041779A (ja) 2010-02-18
JP5414024B2 JP5414024B2 (ja) 2014-02-12

Family

ID=59846907

Family Applications (3)

Application Number Title Priority Date Filing Date
JP2009541228A Expired - Fee Related JP5534816B2 (ja) 2006-12-14 2007-12-12 効率的な押出によるポリオレフィン微多孔膜の製造方法
JP2008199811A Active JP5414024B2 (ja) 2006-12-14 2008-08-01 電気自動車用充電キャビネット
JP2013164931A Active JP5659369B2 (ja) 2006-12-14 2013-08-08 電気自動車用充電キャビネット

Family Applications Before (1)

Application Number Title Priority Date Filing Date
JP2009541228A Expired - Fee Related JP5534816B2 (ja) 2006-12-14 2007-12-12 効率的な押出によるポリオレフィン微多孔膜の製造方法

Family Applications After (1)

Application Number Title Priority Date Filing Date
JP2013164931A Active JP5659369B2 (ja) 2006-12-14 2013-08-08 電気自動車用充電キャビネット

Country Status (5)

Country Link
US (1) US7887727B2 (ja)
JP (3) JP5534816B2 (ja)
KR (1) KR101199826B1 (ja)
CN (1) CN101558105B (ja)
WO (1) WO2008072906A1 (ja)

Cited By (24)

* Cited by examiner, † Cited by third party
Publication number Priority date Publication date Assignee Title
JP2010115037A (ja) * 2008-11-07 2010-05-20 Nitto Electric Works Ltd 自動車用充電接続ケーブル収納箱及び充電装置
JP2011101450A (ja) * 2009-11-04 2011-05-19 Toyota Industries Corp 自動車用充電装置
JP2011176920A (ja) * 2010-02-23 2011-09-08 Panasonic Electric Works Co Ltd 給電制御装置
JP2011181456A (ja) * 2010-03-03 2011-09-15 Panasonic Electric Works Co Ltd 電気自動車用充電スタンド
JP2011239538A (ja) * 2010-05-07 2011-11-24 Toshiba Lighting & Technology Corp 充電装置
JP2012038448A (ja) * 2010-08-04 2012-02-23 Toyota Motor Corp 車両用充電装置
JP2012100388A (ja) * 2010-10-29 2012-05-24 Kawamura Electric Inc 電気自動車用充電キャビネット
JP2012100386A (ja) * 2010-10-29 2012-05-24 Kawamura Electric Inc 電気自動車充電装置
JP2012217314A (ja) * 2011-03-31 2012-11-08 Panasonic Eco Solutions Switchgear Devices Co Ltd 充電ボックス
JP2012244710A (ja) * 2011-05-17 2012-12-10 Tokiko Techno Kk 充電装置
JP2013081354A (ja) * 2011-09-22 2013-05-02 Kawamura Electric Inc 電気自動車充電コンセント装置
JP2013192320A (ja) * 2012-03-13 2013-09-26 Panasonic Corp 給電制御機器ホルダー
JP2013192317A (ja) * 2012-03-13 2013-09-26 Panasonic Corp 給電制御機器ホルダー
JP2013192318A (ja) * 2012-03-13 2013-09-26 Panasonic Corp 給電制御機器ホルダー
JP2013223362A (ja) * 2012-04-18 2013-10-28 Nitto Kogyo Co Ltd 車両用充電装置
JP2013223365A (ja) * 2012-04-18 2013-10-28 Takigen Mfg Co Ltd Ccid用ホルダ
JP2014062414A (ja) * 2012-09-21 2014-04-10 Sumitomo Heavy Ind Ltd パレットおよび機械式駐車場
JP2014072991A (ja) * 2012-09-28 2014-04-21 Kawamura Electric Inc 電気自動車用充電キャビネット
JP2014070472A (ja) * 2012-10-02 2014-04-21 Ihi Transport Machinery Co Ltd 駐車装置用パレット
JP2014093907A (ja) * 2012-11-06 2014-05-19 Panasonic Corp 車両用電源供給装置及び充電スタンド
JP2014177756A (ja) * 2013-03-13 2014-09-25 Nissei Ltd 機械式駐車装置
JP2015177730A (ja) * 2014-03-18 2015-10-05 河村電器産業株式会社 電気自動車用充電キャビネット
JP2015213426A (ja) * 2015-05-08 2015-11-26 テック・パワー株式会社 電子機器用充電保管装置
CN105226770A (zh) * 2015-11-04 2016-01-06 江苏中科时代电气制造股份有限公司 一种便于对汽车备用电池充电的交流桩

Families Citing this family (8)

* Cited by examiner, † Cited by third party
Publication number Priority date Publication date Assignee Title
KR101607658B1 (ko) * 2012-01-26 2016-03-30 주식회사 엘지화학 열유도 상분리법에 의한 폴리올레핀 미세다공막의 제조방법
KR20130086775A (ko) 2012-01-26 2013-08-05 주식회사 엘지화학 열유도 상분리법에 의한 폴리올레핀 미세다공막의 제조방법
SG11201607405TA (en) * 2014-03-26 2016-10-28 Kuraray Co Hollow fiber membrane, and method for producing hollow fiber membrane
CN104850039A (zh) * 2015-04-14 2015-08-19 凯迈(洛阳)电子有限公司 一种可进行温湿度测量以及gps定位远程通信的充电柜
EP3281767A1 (de) * 2016-08-11 2018-02-14 Coperion GmbH Verfahren und vorrichtung zur herstellung einer folie für elektrische energiespeicher
JP2020048352A (ja) * 2018-09-20 2020-03-26 日東工業株式会社 充電回路遮断装置ホルダ
CN114599822B (zh) 2019-08-27 2024-09-27 W·W·严 电池隔板、包括隔板的电池、以及形成其的方法和系统
CN116315084B (zh) * 2021-12-21 2025-11-28 宁德国泰华荣新材料有限公司 一种非水锂电池电解液及二次锂电池

Citations (19)

* Cited by examiner, † Cited by third party
Publication number Priority date Publication date Assignee Title
JPS5835378A (ja) * 1981-08-25 1983-03-02 住友金属工業株式会社 多孔質耐火物
JPS59105751U (ja) * 1982-12-29 1984-07-16 松下電工株式会社 ブレーカの取付金具
JPH03245731A (ja) * 1990-02-22 1991-11-01 Toshiba Lighting & Technol Corp 分電盤
JPH0833121A (ja) * 1994-07-21 1996-02-02 Sumitomo Wiring Syst Ltd 電気自動車用充電装置
JPH08284828A (ja) * 1995-04-14 1996-10-29 Kawamoto Seisakusho:Kk ポンプ運転用制御盤およびこれを用いたポンプ装置
JPH09107605A (ja) * 1995-10-11 1997-04-22 Sumitomo Wiring Syst Ltd 電気自動車用充電システム
JPH11122714A (ja) * 1997-10-14 1999-04-30 Matsushita Electric Works Ltd 電気自動車の充電装置
JPH11266509A (ja) * 1998-03-16 1999-09-28 Park 24 Co Ltd 電気車両用充電装置
JP2000217245A (ja) * 1999-01-22 2000-08-04 Matsushita Electric Works Ltd 漏電遮断器
JP2000354332A (ja) * 1999-06-09 2000-12-19 Matsushita Electric Works Ltd 電気自動車用充電装置
JP3074208U (ja) * 2000-02-23 2000-12-26 山口 昇 電気自動車用充電器
JP2002345114A (ja) * 2001-05-11 2002-11-29 Kawamura Electric Inc 停電用保安灯
JP2004072601A (ja) * 2002-08-08 2004-03-04 Pioneer Electronic Corp 電子機器保護ケース
JP3117134U (ja) * 2005-09-28 2006-01-05 日動工業株式会社 延長コード
JP2006166622A (ja) * 2004-12-08 2006-06-22 Nitto Electric Works Ltd 避雷器付分電盤
JP2006352027A (ja) * 2005-06-20 2006-12-28 Nihon Brain Ware Co Ltd 監視システム用ラック
JP2007015032A (ja) * 2005-07-05 2007-01-25 Makita Corp 電動工具付き収納ケース、電動工具システム
JP2007174823A (ja) * 2005-12-22 2007-07-05 Kyasutekku:Kk 携帯電話機用充電器
JP3142756U (ja) * 2008-04-11 2008-06-26 日動工業株式会社 延長コード

Family Cites Families (23)

* Cited by examiner, † Cited by third party
Publication number Priority date Publication date Assignee Title
US4247498A (en) 1976-08-30 1981-01-27 Akzona Incorporated Methods for making microporous products
US4539256A (en) 1982-09-09 1985-09-03 Minnesota Mining And Manufacturing Co. Microporous sheet material, method of making and articles made therewith
JPS60163938A (ja) * 1984-02-02 1985-08-26 Agency Of Ind Science & Technol 微細多孔質ポリエチレンの製造法
JPS62196024A (ja) * 1986-02-20 1987-08-29 富士通株式会社 サ−ジ遮断保護回路
US4726989A (en) 1986-12-11 1988-02-23 Minnesota Mining And Manufacturing Microporous materials incorporating a nucleating agent and methods for making same
US4867881A (en) 1987-09-14 1989-09-19 Minnesota Minning And Manufacturing Company Orientied microporous film
JPH06104736B2 (ja) 1989-08-03 1994-12-21 東燃株式会社 ポリオレフィン微多孔膜
US5369352A (en) * 1993-04-26 1994-11-29 Ford Motor Company Universal electric vehicle charging adapter
JP3351940B2 (ja) 1995-09-26 2002-12-03 東燃化学株式会社 ポリオレフィン微多孔膜の製造方法
JP3491870B2 (ja) * 1997-10-22 2004-01-26 セイミツ工業株式会社 ロッカー装置
JP2000072917A (ja) * 1998-08-28 2000-03-07 Asahi Chem Ind Co Ltd ポリエチレン微多孔膜の製造方法
WO2000043114A1 (de) * 1999-01-21 2000-07-27 Membrana Gmbh Integral asymmetrische polyolefinmembran
DK1140331T3 (da) * 1999-01-22 2003-04-07 Membrana Gmbh Fremgangsmåde til fremstilling af en integral asymmetrisk polyolefinmembran
EP1097962B2 (en) 1999-02-19 2013-07-17 Toray Battery Separator Film Co., Ltd. Polyolefin microporous film and method for preparing the same
KR100667052B1 (ko) 1999-02-19 2007-01-10 토넨 케미칼 코퍼레이션 폴리올레핀 미세다공성 막과 그의 제조방법
JP2004010701A (ja) 2002-06-05 2004-01-15 Asahi Kasei Corp ポリオレフィン膜
JP2004119160A (ja) * 2002-09-25 2004-04-15 Nippon Muki Co Ltd 蓄電池用セパレータ
JP4015653B2 (ja) 2004-09-14 2007-11-28 ヤマシンフィルタ株式会社 多孔質分離膜の製造方法
JP4810847B2 (ja) 2005-03-15 2011-11-09 東洋紡績株式会社 ポリエチレン系中空糸多孔質膜の製造方法
KR100943235B1 (ko) * 2005-05-16 2010-02-18 에스케이에너지 주식회사 압출혼련성과 물성이 우수한 고밀도폴리에틸렌 미세다공막및 그 제조방법
KR100943234B1 (ko) * 2005-05-16 2010-02-18 에스케이에너지 주식회사 액-액 상분리에 의하여 제조된 폴리에틸렌 미세다공막 및그 제조방법
GB0611332D0 (en) * 2006-06-08 2006-07-19 Elektromotive Ltd Charging station
JP2008152121A (ja) * 2006-12-19 2008-07-03 Sharp Corp アダプターホルダ及び表示装置

Patent Citations (19)

* Cited by examiner, † Cited by third party
Publication number Priority date Publication date Assignee Title
JPS5835378A (ja) * 1981-08-25 1983-03-02 住友金属工業株式会社 多孔質耐火物
JPS59105751U (ja) * 1982-12-29 1984-07-16 松下電工株式会社 ブレーカの取付金具
JPH03245731A (ja) * 1990-02-22 1991-11-01 Toshiba Lighting & Technol Corp 分電盤
JPH0833121A (ja) * 1994-07-21 1996-02-02 Sumitomo Wiring Syst Ltd 電気自動車用充電装置
JPH08284828A (ja) * 1995-04-14 1996-10-29 Kawamoto Seisakusho:Kk ポンプ運転用制御盤およびこれを用いたポンプ装置
JPH09107605A (ja) * 1995-10-11 1997-04-22 Sumitomo Wiring Syst Ltd 電気自動車用充電システム
JPH11122714A (ja) * 1997-10-14 1999-04-30 Matsushita Electric Works Ltd 電気自動車の充電装置
JPH11266509A (ja) * 1998-03-16 1999-09-28 Park 24 Co Ltd 電気車両用充電装置
JP2000217245A (ja) * 1999-01-22 2000-08-04 Matsushita Electric Works Ltd 漏電遮断器
JP2000354332A (ja) * 1999-06-09 2000-12-19 Matsushita Electric Works Ltd 電気自動車用充電装置
JP3074208U (ja) * 2000-02-23 2000-12-26 山口 昇 電気自動車用充電器
JP2002345114A (ja) * 2001-05-11 2002-11-29 Kawamura Electric Inc 停電用保安灯
JP2004072601A (ja) * 2002-08-08 2004-03-04 Pioneer Electronic Corp 電子機器保護ケース
JP2006166622A (ja) * 2004-12-08 2006-06-22 Nitto Electric Works Ltd 避雷器付分電盤
JP2006352027A (ja) * 2005-06-20 2006-12-28 Nihon Brain Ware Co Ltd 監視システム用ラック
JP2007015032A (ja) * 2005-07-05 2007-01-25 Makita Corp 電動工具付き収納ケース、電動工具システム
JP3117134U (ja) * 2005-09-28 2006-01-05 日動工業株式会社 延長コード
JP2007174823A (ja) * 2005-12-22 2007-07-05 Kyasutekku:Kk 携帯電話機用充電器
JP3142756U (ja) * 2008-04-11 2008-06-26 日動工業株式会社 延長コード

Cited By (24)

* Cited by examiner, † Cited by third party
Publication number Priority date Publication date Assignee Title
JP2010115037A (ja) * 2008-11-07 2010-05-20 Nitto Electric Works Ltd 自動車用充電接続ケーブル収納箱及び充電装置
JP2011101450A (ja) * 2009-11-04 2011-05-19 Toyota Industries Corp 自動車用充電装置
JP2011176920A (ja) * 2010-02-23 2011-09-08 Panasonic Electric Works Co Ltd 給電制御装置
JP2011181456A (ja) * 2010-03-03 2011-09-15 Panasonic Electric Works Co Ltd 電気自動車用充電スタンド
JP2011239538A (ja) * 2010-05-07 2011-11-24 Toshiba Lighting & Technology Corp 充電装置
JP2012038448A (ja) * 2010-08-04 2012-02-23 Toyota Motor Corp 車両用充電装置
JP2012100388A (ja) * 2010-10-29 2012-05-24 Kawamura Electric Inc 電気自動車用充電キャビネット
JP2012100386A (ja) * 2010-10-29 2012-05-24 Kawamura Electric Inc 電気自動車充電装置
JP2012217314A (ja) * 2011-03-31 2012-11-08 Panasonic Eco Solutions Switchgear Devices Co Ltd 充電ボックス
JP2012244710A (ja) * 2011-05-17 2012-12-10 Tokiko Techno Kk 充電装置
JP2013081354A (ja) * 2011-09-22 2013-05-02 Kawamura Electric Inc 電気自動車充電コンセント装置
JP2013192320A (ja) * 2012-03-13 2013-09-26 Panasonic Corp 給電制御機器ホルダー
JP2013192317A (ja) * 2012-03-13 2013-09-26 Panasonic Corp 給電制御機器ホルダー
JP2013192318A (ja) * 2012-03-13 2013-09-26 Panasonic Corp 給電制御機器ホルダー
JP2013223362A (ja) * 2012-04-18 2013-10-28 Nitto Kogyo Co Ltd 車両用充電装置
JP2013223365A (ja) * 2012-04-18 2013-10-28 Takigen Mfg Co Ltd Ccid用ホルダ
JP2014062414A (ja) * 2012-09-21 2014-04-10 Sumitomo Heavy Ind Ltd パレットおよび機械式駐車場
JP2014072991A (ja) * 2012-09-28 2014-04-21 Kawamura Electric Inc 電気自動車用充電キャビネット
JP2014070472A (ja) * 2012-10-02 2014-04-21 Ihi Transport Machinery Co Ltd 駐車装置用パレット
JP2014093907A (ja) * 2012-11-06 2014-05-19 Panasonic Corp 車両用電源供給装置及び充電スタンド
JP2014177756A (ja) * 2013-03-13 2014-09-25 Nissei Ltd 機械式駐車装置
JP2015177730A (ja) * 2014-03-18 2015-10-05 河村電器産業株式会社 電気自動車用充電キャビネット
JP2015213426A (ja) * 2015-05-08 2015-11-26 テック・パワー株式会社 電子機器用充電保管装置
CN105226770A (zh) * 2015-11-04 2016-01-06 江苏中科时代电气制造股份有限公司 一种便于对汽车备用电池充电的交流桩

Also Published As

Publication number Publication date
JP5534816B2 (ja) 2014-07-02
US20100041779A1 (en) 2010-02-18
JP5414024B2 (ja) 2014-02-12
KR20080055061A (ko) 2008-06-19
CN101558105B (zh) 2012-03-07
US7887727B2 (en) 2011-02-15
KR101199826B1 (ko) 2012-11-09
WO2008072906A1 (en) 2008-06-19
CN101558105A (zh) 2009-10-14
JP2010513590A (ja) 2010-04-30
JP2013240275A (ja) 2013-11-28
JP5659369B2 (ja) 2015-01-28

Similar Documents

Publication Publication Date Title
JP5414024B2 (ja) 電気自動車用充電キャビネット
JP5414319B2 (ja) 充電装置
KR102180632B1 (ko) 교통 약자 맞춤형 전기자동차 충전장치
US10211658B2 (en) Electric vehicle charging station with cable retaining enclosure
JP5408765B2 (ja) 自動車用充電接続ケーブル収納箱及び充電装置
US9054539B2 (en) Arrangement and process for housing electric vehicle supply equipment
JP2010226816A5 (ja)
JP5467635B2 (ja) 充電自動車用充電装置
JP2010226816A (ja) 充電装置
JP5879522B2 (ja) 電動車両用充電装置
CN105835713A (zh) 一种电动汽车用充电桩
GB2458754A (en) Vehicle power line supporting structure
US20130175989A1 (en) Electric vehicle charging station enclosure and mounting apparatus
JP6841636B2 (ja) 車両保護部材及び充電ケーブル接続時における車両保護構造
CN114161969A (zh) 一种电动车充电装置
CN207074864U (zh) 电动车的充电器及充电装置
JP2013223365A (ja) Ccid用ホルダ
CN219706724U (zh) 充电桩
WO2011112636A1 (en) Electric vehicle charging station with cable retaining enclosure
JP2013223362A (ja) 車両用充電装置
ES2816636T3 (es) Conjunto salida de suministro de potencia para cargar vehículos accionados por electricidad
CN216761455U (zh) 一种用于纯电动汽车的绝缘故障检测电路装置
CN217415522U (zh) 一种壁挂式交流充电桩
CN210970720U (zh) 一种地埋升降隐藏式充电桩
CN112744105B (zh) 一种充电桩及充电调控保护方法

Legal Events

Date Code Title Description
A621 Written request for application examination

Free format text: JAPANESE INTERMEDIATE CODE: A621

Effective date: 20110607

A977 Report on retrieval

Free format text: JAPANESE INTERMEDIATE CODE: A971007

Effective date: 20130222

A131 Notification of reasons for refusal

Free format text: JAPANESE INTERMEDIATE CODE: A131

Effective date: 20130308

A521 Request for written amendment filed

Free format text: JAPANESE INTERMEDIATE CODE: A523

Effective date: 20130425

A131 Notification of reasons for refusal

Free format text: JAPANESE INTERMEDIATE CODE: A131

Effective date: 20130611

A521 Request for written amendment filed

Free format text: JAPANESE INTERMEDIATE CODE: A523

Effective date: 20130808

TRDD Decision of grant or rejection written
A01 Written decision to grant a patent or to grant a registration (utility model)

Free format text: JAPANESE INTERMEDIATE CODE: A01

Effective date: 20131108

A61 First payment of annual fees (during grant procedure)

Free format text: JAPANESE INTERMEDIATE CODE: A61

Effective date: 20131108

R150 Certificate of patent or registration of utility model

Ref document number: 5414024

Country of ref document: JP

Free format text: JAPANESE INTERMEDIATE CODE: R150