JP2010018520A - 金属酸化物ナノロッドの製造方法 - Google Patents
金属酸化物ナノロッドの製造方法 Download PDFInfo
- Publication number
- JP2010018520A JP2010018520A JP2009246569A JP2009246569A JP2010018520A JP 2010018520 A JP2010018520 A JP 2010018520A JP 2009246569 A JP2009246569 A JP 2009246569A JP 2009246569 A JP2009246569 A JP 2009246569A JP 2010018520 A JP2010018520 A JP 2010018520A
- Authority
- JP
- Japan
- Prior art keywords
- metal oxide
- substrate
- nanorods
- nanorod
- metal
- Prior art date
- Legal status (The legal status is an assumption and is not a legal conclusion. Google has not performed a legal analysis and makes no representation as to the accuracy of the status listed.)
- Granted
Links
- 239000002073 nanorod Substances 0.000 title claims abstract description 294
- 229910044991 metal oxide Inorganic materials 0.000 title claims abstract description 131
- 150000004706 metal oxides Chemical class 0.000 title claims abstract description 131
- 238000000034 method Methods 0.000 title claims abstract description 49
- 239000000758 substrate Substances 0.000 claims abstract description 169
- 229910052751 metal Inorganic materials 0.000 claims abstract description 84
- 239000002184 metal Substances 0.000 claims abstract description 83
- 238000004519 manufacturing process Methods 0.000 claims abstract description 16
- OKTJSMMVPCPJKN-UHFFFAOYSA-N Carbon Chemical compound [C] OKTJSMMVPCPJKN-UHFFFAOYSA-N 0.000 claims description 65
- CPLXHLVBOLITMK-UHFFFAOYSA-N magnesium oxide Inorganic materials [Mg]=O CPLXHLVBOLITMK-UHFFFAOYSA-N 0.000 claims description 54
- 239000000395 magnesium oxide Substances 0.000 claims description 54
- AXZKOIWUVFPNLO-UHFFFAOYSA-N magnesium;oxygen(2-) Chemical group [O-2].[Mg+2] AXZKOIWUVFPNLO-UHFFFAOYSA-N 0.000 claims description 54
- 239000013078 crystal Substances 0.000 claims description 52
- 229910002804 graphite Inorganic materials 0.000 claims description 42
- 239000010439 graphite Substances 0.000 claims description 42
- 239000011777 magnesium Substances 0.000 claims description 25
- FYYHWMGAXLPEAU-UHFFFAOYSA-N Magnesium Chemical compound [Mg] FYYHWMGAXLPEAU-UHFFFAOYSA-N 0.000 claims description 23
- 229910052749 magnesium Inorganic materials 0.000 claims description 23
- 229910052799 carbon Inorganic materials 0.000 claims description 15
- 239000010949 copper Substances 0.000 claims description 13
- 239000000203 mixture Substances 0.000 claims description 13
- 238000010438 heat treatment Methods 0.000 claims description 12
- 239000011575 calcium Substances 0.000 claims description 11
- CURLTUGMZLYLDI-UHFFFAOYSA-N Carbon dioxide Chemical compound O=C=O CURLTUGMZLYLDI-UHFFFAOYSA-N 0.000 claims description 10
- 239000012159 carrier gas Substances 0.000 claims description 10
- PXHVJJICTQNCMI-UHFFFAOYSA-N Nickel Chemical compound [Ni] PXHVJJICTQNCMI-UHFFFAOYSA-N 0.000 claims description 9
- 230000015572 biosynthetic process Effects 0.000 claims description 9
- XEEYBQQBJWHFJM-UHFFFAOYSA-N Iron Chemical compound [Fe] XEEYBQQBJWHFJM-UHFFFAOYSA-N 0.000 claims description 8
- 239000011701 zinc Substances 0.000 claims description 6
- HCHKCACWOHOZIP-UHFFFAOYSA-N Zinc Chemical compound [Zn] HCHKCACWOHOZIP-UHFFFAOYSA-N 0.000 claims description 5
- 239000001569 carbon dioxide Substances 0.000 claims description 5
- 229910002092 carbon dioxide Inorganic materials 0.000 claims description 5
- 239000010955 niobium Substances 0.000 claims description 5
- 230000001590 oxidative effect Effects 0.000 claims description 5
- 229910052725 zinc Inorganic materials 0.000 claims description 5
- RYGMFSIKBFXOCR-UHFFFAOYSA-N Copper Chemical compound [Cu] RYGMFSIKBFXOCR-UHFFFAOYSA-N 0.000 claims description 4
- 229910052782 aluminium Inorganic materials 0.000 claims description 4
- XAGFODPZIPBFFR-UHFFFAOYSA-N aluminium Chemical compound [Al] XAGFODPZIPBFFR-UHFFFAOYSA-N 0.000 claims description 4
- 229910052802 copper Inorganic materials 0.000 claims description 4
- 229910052742 iron Inorganic materials 0.000 claims description 4
- 239000011133 lead Substances 0.000 claims description 4
- 229910052759 nickel Inorganic materials 0.000 claims description 4
- 229910052716 thallium Inorganic materials 0.000 claims description 4
- 239000011135 tin Substances 0.000 claims description 4
- ZOXJGFHDIHLPTG-UHFFFAOYSA-N Boron Chemical compound [B] ZOXJGFHDIHLPTG-UHFFFAOYSA-N 0.000 claims description 3
- OYPRJOBELJOOCE-UHFFFAOYSA-N Calcium Chemical compound [Ca] OYPRJOBELJOOCE-UHFFFAOYSA-N 0.000 claims description 3
- VYZAMTAEIAYCRO-UHFFFAOYSA-N Chromium Chemical compound [Cr] VYZAMTAEIAYCRO-UHFFFAOYSA-N 0.000 claims description 3
- GYHNNYVSQQEPJS-UHFFFAOYSA-N Gallium Chemical compound [Ga] GYHNNYVSQQEPJS-UHFFFAOYSA-N 0.000 claims description 3
- ZOKXTWBITQBERF-UHFFFAOYSA-N Molybdenum Chemical compound [Mo] ZOKXTWBITQBERF-UHFFFAOYSA-N 0.000 claims description 3
- XUIMIQQOPSSXEZ-UHFFFAOYSA-N Silicon Chemical compound [Si] XUIMIQQOPSSXEZ-UHFFFAOYSA-N 0.000 claims description 3
- ATJFFYVFTNAWJD-UHFFFAOYSA-N Tin Chemical compound [Sn] ATJFFYVFTNAWJD-UHFFFAOYSA-N 0.000 claims description 3
- RTAQQCXQSZGOHL-UHFFFAOYSA-N Titanium Chemical compound [Ti] RTAQQCXQSZGOHL-UHFFFAOYSA-N 0.000 claims description 3
- QCWXUUIWCKQGHC-UHFFFAOYSA-N Zirconium Chemical compound [Zr] QCWXUUIWCKQGHC-UHFFFAOYSA-N 0.000 claims description 3
- 229910052788 barium Inorganic materials 0.000 claims description 3
- DSAJWYNOEDNPEQ-UHFFFAOYSA-N barium atom Chemical compound [Ba] DSAJWYNOEDNPEQ-UHFFFAOYSA-N 0.000 claims description 3
- 229910052796 boron Inorganic materials 0.000 claims description 3
- 229910052791 calcium Inorganic materials 0.000 claims description 3
- 229910052804 chromium Inorganic materials 0.000 claims description 3
- 239000011651 chromium Substances 0.000 claims description 3
- 229910017052 cobalt Inorganic materials 0.000 claims description 3
- 239000010941 cobalt Substances 0.000 claims description 3
- GUTLYIVDDKVIGB-UHFFFAOYSA-N cobalt atom Chemical compound [Co] GUTLYIVDDKVIGB-UHFFFAOYSA-N 0.000 claims description 3
- 229910052733 gallium Inorganic materials 0.000 claims description 3
- 229910052732 germanium Inorganic materials 0.000 claims description 3
- GNPVGFCGXDBREM-UHFFFAOYSA-N germanium atom Chemical compound [Ge] GNPVGFCGXDBREM-UHFFFAOYSA-N 0.000 claims description 3
- 229910052735 hafnium Inorganic materials 0.000 claims description 3
- VBJZVLUMGGDVMO-UHFFFAOYSA-N hafnium atom Chemical compound [Hf] VBJZVLUMGGDVMO-UHFFFAOYSA-N 0.000 claims description 3
- 229910052738 indium Inorganic materials 0.000 claims description 3
- APFVFJFRJDLVQX-UHFFFAOYSA-N indium atom Chemical compound [In] APFVFJFRJDLVQX-UHFFFAOYSA-N 0.000 claims description 3
- 229910052747 lanthanoid Inorganic materials 0.000 claims description 3
- 150000002602 lanthanoids Chemical class 0.000 claims description 3
- 229910052746 lanthanum Inorganic materials 0.000 claims description 3
- FZLIPJUXYLNCLC-UHFFFAOYSA-N lanthanum atom Chemical compound [La] FZLIPJUXYLNCLC-UHFFFAOYSA-N 0.000 claims description 3
- WPBNNNQJVZRUHP-UHFFFAOYSA-L manganese(2+);methyl n-[[2-(methoxycarbonylcarbamothioylamino)phenyl]carbamothioyl]carbamate;n-[2-(sulfidocarbothioylamino)ethyl]carbamodithioate Chemical compound [Mn+2].[S-]C(=S)NCCNC([S-])=S.COC(=O)NC(=S)NC1=CC=CC=C1NC(=S)NC(=O)OC WPBNNNQJVZRUHP-UHFFFAOYSA-L 0.000 claims description 3
- 229910052750 molybdenum Inorganic materials 0.000 claims description 3
- 239000011733 molybdenum Substances 0.000 claims description 3
- 229910052758 niobium Inorganic materials 0.000 claims description 3
- GUCVJGMIXFAOAE-UHFFFAOYSA-N niobium atom Chemical compound [Nb] GUCVJGMIXFAOAE-UHFFFAOYSA-N 0.000 claims description 3
- 229910052762 osmium Inorganic materials 0.000 claims description 3
- SYQBFIAQOQZEGI-UHFFFAOYSA-N osmium atom Chemical compound [Os] SYQBFIAQOQZEGI-UHFFFAOYSA-N 0.000 claims description 3
- 229910052702 rhenium Inorganic materials 0.000 claims description 3
- WUAPFZMCVAUBPE-UHFFFAOYSA-N rhenium atom Chemical compound [Re] WUAPFZMCVAUBPE-UHFFFAOYSA-N 0.000 claims description 3
- 229910052706 scandium Inorganic materials 0.000 claims description 3
- SIXSYDAISGFNSX-UHFFFAOYSA-N scandium atom Chemical compound [Sc] SIXSYDAISGFNSX-UHFFFAOYSA-N 0.000 claims description 3
- 229910052710 silicon Inorganic materials 0.000 claims description 3
- 239000010703 silicon Substances 0.000 claims description 3
- 229910052712 strontium Inorganic materials 0.000 claims description 3
- CIOAGBVUUVVLOB-UHFFFAOYSA-N strontium atom Chemical compound [Sr] CIOAGBVUUVVLOB-UHFFFAOYSA-N 0.000 claims description 3
- 229910052715 tantalum Inorganic materials 0.000 claims description 3
- GUVRBAGPIYLISA-UHFFFAOYSA-N tantalum atom Chemical compound [Ta] GUVRBAGPIYLISA-UHFFFAOYSA-N 0.000 claims description 3
- 229910052713 technetium Inorganic materials 0.000 claims description 3
- GKLVYJBZJHMRIY-UHFFFAOYSA-N technetium atom Chemical compound [Tc] GKLVYJBZJHMRIY-UHFFFAOYSA-N 0.000 claims description 3
- BKVIYDNLLOSFOA-UHFFFAOYSA-N thallium Chemical compound [Tl] BKVIYDNLLOSFOA-UHFFFAOYSA-N 0.000 claims description 3
- 229910052718 tin Inorganic materials 0.000 claims description 3
- 229910052719 titanium Inorganic materials 0.000 claims description 3
- 239000010936 titanium Substances 0.000 claims description 3
- WFKWXMTUELFFGS-UHFFFAOYSA-N tungsten Chemical compound [W] WFKWXMTUELFFGS-UHFFFAOYSA-N 0.000 claims description 3
- 229910052721 tungsten Inorganic materials 0.000 claims description 3
- 239000010937 tungsten Substances 0.000 claims description 3
- 229910052720 vanadium Inorganic materials 0.000 claims description 3
- 229910052727 yttrium Inorganic materials 0.000 claims description 3
- VWQVUPCCIRVNHF-UHFFFAOYSA-N yttrium atom Chemical compound [Y] VWQVUPCCIRVNHF-UHFFFAOYSA-N 0.000 claims description 3
- 229910052726 zirconium Inorganic materials 0.000 claims description 3
- 238000001816 cooling Methods 0.000 claims description 2
- 150000002739 metals Chemical class 0.000 claims description 2
- LEONUFNNVUYDNQ-UHFFFAOYSA-N vanadium atom Chemical compound [V] LEONUFNNVUYDNQ-UHFFFAOYSA-N 0.000 claims 1
- 239000002131 composite material Substances 0.000 description 35
- 239000000463 material Substances 0.000 description 24
- XKRFYHLGVUSROY-UHFFFAOYSA-N Argon Chemical compound [Ar] XKRFYHLGVUSROY-UHFFFAOYSA-N 0.000 description 16
- 230000006911 nucleation Effects 0.000 description 15
- 238000010899 nucleation Methods 0.000 description 15
- 239000002887 superconductor Substances 0.000 description 14
- QVGXLLKOCUKJST-UHFFFAOYSA-N atomic oxygen Chemical compound [O] QVGXLLKOCUKJST-UHFFFAOYSA-N 0.000 description 13
- 239000001301 oxygen Substances 0.000 description 13
- 229910052760 oxygen Inorganic materials 0.000 description 13
- XLOMVQKBTHCTTD-UHFFFAOYSA-N Zinc monoxide Chemical compound [Zn]=O XLOMVQKBTHCTTD-UHFFFAOYSA-N 0.000 description 11
- 239000000843 powder Substances 0.000 description 10
- 239000010409 thin film Substances 0.000 description 10
- 230000007547 defect Effects 0.000 description 9
- 239000007789 gas Substances 0.000 description 9
- 239000011159 matrix material Substances 0.000 description 9
- 239000010453 quartz Substances 0.000 description 9
- VYPSYNLAJGMNEJ-UHFFFAOYSA-N silicon dioxide Inorganic materials O=[Si]=O VYPSYNLAJGMNEJ-UHFFFAOYSA-N 0.000 description 9
- 229910052786 argon Inorganic materials 0.000 description 8
- 238000005530 etching Methods 0.000 description 7
- 239000011261 inert gas Substances 0.000 description 7
- 239000002105 nanoparticle Substances 0.000 description 7
- 230000003647 oxidation Effects 0.000 description 7
- 238000007254 oxidation reaction Methods 0.000 description 7
- 239000013074 reference sample Substances 0.000 description 7
- 229910018072 Al 2 O 3 Inorganic materials 0.000 description 6
- 238000003786 synthesis reaction Methods 0.000 description 6
- 229910004247 CaCu Inorganic materials 0.000 description 5
- BQCADISMDOOEFD-UHFFFAOYSA-N Silver Chemical compound [Ag] BQCADISMDOOEFD-UHFFFAOYSA-N 0.000 description 5
- 150000001875 compounds Chemical class 0.000 description 5
- 238000011065 in-situ storage Methods 0.000 description 5
- 239000000523 sample Substances 0.000 description 5
- 239000011787 zinc oxide Substances 0.000 description 5
- PNEYBMLMFCGWSK-UHFFFAOYSA-N aluminium oxide Inorganic materials [O-2].[O-2].[O-2].[Al+3].[Al+3] PNEYBMLMFCGWSK-UHFFFAOYSA-N 0.000 description 4
- 239000001307 helium Substances 0.000 description 4
- 229910052734 helium Inorganic materials 0.000 description 4
- SWQJXJOGLNCZEY-UHFFFAOYSA-N helium atom Chemical compound [He] SWQJXJOGLNCZEY-UHFFFAOYSA-N 0.000 description 4
- 230000008569 process Effects 0.000 description 4
- 239000000376 reactant Substances 0.000 description 4
- QPLDLSVMHZLSFG-UHFFFAOYSA-N Copper oxide Chemical compound [Cu]=O QPLDLSVMHZLSFG-UHFFFAOYSA-N 0.000 description 3
- 239000005751 Copper oxide Substances 0.000 description 3
- 230000005540 biological transmission Effects 0.000 description 3
- 238000006243 chemical reaction Methods 0.000 description 3
- 229910000431 copper oxide Inorganic materials 0.000 description 3
- 238000000151 deposition Methods 0.000 description 3
- 238000013461 design Methods 0.000 description 3
- 238000005516 engineering process Methods 0.000 description 3
- PCHJSUWPFVWCPO-UHFFFAOYSA-N gold Chemical compound [Au] PCHJSUWPFVWCPO-UHFFFAOYSA-N 0.000 description 3
- 229910052737 gold Inorganic materials 0.000 description 3
- 239000010931 gold Substances 0.000 description 3
- 150000002500 ions Chemical class 0.000 description 3
- 239000012528 membrane Substances 0.000 description 3
- 239000002086 nanomaterial Substances 0.000 description 3
- 239000002245 particle Substances 0.000 description 3
- 239000008188 pellet Substances 0.000 description 3
- 238000012545 processing Methods 0.000 description 3
- 238000004549 pulsed laser deposition Methods 0.000 description 3
- 230000035484 reaction time Effects 0.000 description 3
- 230000009467 reduction Effects 0.000 description 3
- 239000007787 solid Substances 0.000 description 3
- 239000000243 solution Substances 0.000 description 3
- 238000004627 transmission electron microscopy Methods 0.000 description 3
- 229910002480 Cu-O Inorganic materials 0.000 description 2
- MYMOFIZGZYHOMD-UHFFFAOYSA-N Dioxygen Chemical compound O=O MYMOFIZGZYHOMD-UHFFFAOYSA-N 0.000 description 2
- -1 NbTi Substances 0.000 description 2
- 238000002441 X-ray diffraction Methods 0.000 description 2
- 230000008859 change Effects 0.000 description 2
- 238000010586 diagram Methods 0.000 description 2
- 230000000694 effects Effects 0.000 description 2
- 230000004907 flux Effects 0.000 description 2
- 239000011521 glass Substances 0.000 description 2
- 239000012535 impurity Substances 0.000 description 2
- 230000007246 mechanism Effects 0.000 description 2
- 230000004048 modification Effects 0.000 description 2
- 238000012986 modification Methods 0.000 description 2
- 230000003287 optical effect Effects 0.000 description 2
- 229920000620 organic polymer Polymers 0.000 description 2
- 238000012856 packing Methods 0.000 description 2
- 239000012071 phase Substances 0.000 description 2
- BASFCYQUMIYNBI-UHFFFAOYSA-N platinum Chemical compound [Pt] BASFCYQUMIYNBI-UHFFFAOYSA-N 0.000 description 2
- GPPXJZIENCGNKB-UHFFFAOYSA-N vanadium Chemical compound [V]#[V] GPPXJZIENCGNKB-UHFFFAOYSA-N 0.000 description 2
- AZUYLZMQTIKGSC-UHFFFAOYSA-N 1-[6-[4-(5-chloro-6-methyl-1H-indazol-4-yl)-5-methyl-3-(1-methylindazol-5-yl)pyrazol-1-yl]-2-azaspiro[3.3]heptan-2-yl]prop-2-en-1-one Chemical compound ClC=1C(=C2C=NNC2=CC=1C)C=1C(=NN(C=1C)C1CC2(CN(C2)C(C=C)=O)C1)C=1C=C2C=NN(C2=CC=1)C AZUYLZMQTIKGSC-UHFFFAOYSA-N 0.000 description 1
- 229910000838 Al alloy Inorganic materials 0.000 description 1
- 229910052684 Cerium Inorganic materials 0.000 description 1
- 229910052692 Dysprosium Inorganic materials 0.000 description 1
- 229910052691 Erbium Inorganic materials 0.000 description 1
- 229910052693 Europium Inorganic materials 0.000 description 1
- 229910052688 Gadolinium Inorganic materials 0.000 description 1
- 229910052689 Holmium Inorganic materials 0.000 description 1
- 229910052765 Lutetium Inorganic materials 0.000 description 1
- 229910016006 MoSi Inorganic materials 0.000 description 1
- 229910052779 Neodymium Inorganic materials 0.000 description 1
- 229910000990 Ni alloy Inorganic materials 0.000 description 1
- 229910052777 Praseodymium Inorganic materials 0.000 description 1
- 229910052773 Promethium Inorganic materials 0.000 description 1
- 229910052772 Samarium Inorganic materials 0.000 description 1
- 229910002367 SrTiO Inorganic materials 0.000 description 1
- 229910052771 Terbium Inorganic materials 0.000 description 1
- 229910052775 Thulium Inorganic materials 0.000 description 1
- 229910052769 Ytterbium Inorganic materials 0.000 description 1
- 239000003082 abrasive agent Substances 0.000 description 1
- 230000009471 action Effects 0.000 description 1
- 229910045601 alloy Inorganic materials 0.000 description 1
- 239000000956 alloy Substances 0.000 description 1
- 238000004458 analytical method Methods 0.000 description 1
- 238000013459 approach Methods 0.000 description 1
- 239000007864 aqueous solution Substances 0.000 description 1
- 229910052793 cadmium Inorganic materials 0.000 description 1
- BDOSMKKIYDKNTQ-UHFFFAOYSA-N cadmium atom Chemical compound [Cd] BDOSMKKIYDKNTQ-UHFFFAOYSA-N 0.000 description 1
- 239000000919 ceramic Substances 0.000 description 1
- 239000011153 ceramic matrix composite Substances 0.000 description 1
- ZMIGMASIKSOYAM-UHFFFAOYSA-N cerium Chemical compound [Ce][Ce][Ce][Ce][Ce][Ce][Ce][Ce][Ce][Ce][Ce][Ce][Ce][Ce][Ce][Ce][Ce][Ce][Ce][Ce][Ce][Ce][Ce][Ce][Ce][Ce][Ce][Ce][Ce][Ce][Ce][Ce][Ce][Ce][Ce][Ce][Ce][Ce] ZMIGMASIKSOYAM-UHFFFAOYSA-N 0.000 description 1
- 239000003153 chemical reaction reagent Substances 0.000 description 1
- 238000010924 continuous production Methods 0.000 description 1
- 238000002425 crystallisation Methods 0.000 description 1
- 230000008025 crystallization Effects 0.000 description 1
- 230000007423 decrease Effects 0.000 description 1
- 230000008021 deposition Effects 0.000 description 1
- 229910001882 dioxygen Inorganic materials 0.000 description 1
- KBQHZAAAGSGFKK-UHFFFAOYSA-N dysprosium atom Chemical compound [Dy] KBQHZAAAGSGFKK-UHFFFAOYSA-N 0.000 description 1
- 238000010894 electron beam technology Methods 0.000 description 1
- 238000002149 energy-dispersive X-ray emission spectroscopy Methods 0.000 description 1
- UYAHIZSMUZPPFV-UHFFFAOYSA-N erbium Chemical compound [Er] UYAHIZSMUZPPFV-UHFFFAOYSA-N 0.000 description 1
- OGPBJKLSAFTDLK-UHFFFAOYSA-N europium atom Chemical compound [Eu] OGPBJKLSAFTDLK-UHFFFAOYSA-N 0.000 description 1
- 238000002474 experimental method Methods 0.000 description 1
- 239000010408 film Substances 0.000 description 1
- UIWYJDYFSGRHKR-UHFFFAOYSA-N gadolinium atom Chemical compound [Gd] UIWYJDYFSGRHKR-UHFFFAOYSA-N 0.000 description 1
- 230000005484 gravity Effects 0.000 description 1
- 238000000227 grinding Methods 0.000 description 1
- KJZYNXUDTRRSPN-UHFFFAOYSA-N holmium atom Chemical compound [Ho] KJZYNXUDTRRSPN-UHFFFAOYSA-N 0.000 description 1
- 230000001678 irradiating effect Effects 0.000 description 1
- 230000002427 irreversible effect Effects 0.000 description 1
- 238000011068 loading method Methods 0.000 description 1
- OHSVLFRHMCKCQY-UHFFFAOYSA-N lutetium atom Chemical compound [Lu] OHSVLFRHMCKCQY-UHFFFAOYSA-N 0.000 description 1
- 238000005374 membrane filtration Methods 0.000 description 1
- QEFYFXOXNSNQGX-UHFFFAOYSA-N neodymium atom Chemical compound [Nd] QEFYFXOXNSNQGX-UHFFFAOYSA-N 0.000 description 1
- 229910000510 noble metal Inorganic materials 0.000 description 1
- TWNQGVIAIRXVLR-UHFFFAOYSA-N oxo(oxoalumanyloxy)alumane Chemical compound O=[Al]O[Al]=O TWNQGVIAIRXVLR-UHFFFAOYSA-N 0.000 description 1
- 238000010587 phase diagram Methods 0.000 description 1
- 229910052697 platinum Inorganic materials 0.000 description 1
- PUDIUYLPXJFUGB-UHFFFAOYSA-N praseodymium atom Chemical compound [Pr] PUDIUYLPXJFUGB-UHFFFAOYSA-N 0.000 description 1
- VQMWBBYLQSCNPO-UHFFFAOYSA-N promethium atom Chemical compound [Pm] VQMWBBYLQSCNPO-UHFFFAOYSA-N 0.000 description 1
- 230000009257 reactivity Effects 0.000 description 1
- 239000011226 reinforced ceramic Substances 0.000 description 1
- KZUNJOHGWZRPMI-UHFFFAOYSA-N samarium atom Chemical compound [Sm] KZUNJOHGWZRPMI-UHFFFAOYSA-N 0.000 description 1
- 238000000926 separation method Methods 0.000 description 1
- 229910052709 silver Inorganic materials 0.000 description 1
- 239000004332 silver Substances 0.000 description 1
- 238000005245 sintering Methods 0.000 description 1
- 239000007790 solid phase Substances 0.000 description 1
- 239000007858 starting material Substances 0.000 description 1
- 238000003860 storage Methods 0.000 description 1
- 239000000126 substance Substances 0.000 description 1
- 238000010189 synthetic method Methods 0.000 description 1
- GZCRRIHWUXGPOV-UHFFFAOYSA-N terbium atom Chemical compound [Tb] GZCRRIHWUXGPOV-UHFFFAOYSA-N 0.000 description 1
- 150000003475 thallium Chemical class 0.000 description 1
- NAWDYIZEMPQZHO-UHFFFAOYSA-N ytterbium Chemical compound [Yb] NAWDYIZEMPQZHO-UHFFFAOYSA-N 0.000 description 1
Images
Classifications
-
- H—ELECTRICITY
- H10—SEMICONDUCTOR DEVICES; ELECTRIC SOLID-STATE DEVICES NOT OTHERWISE PROVIDED FOR
- H10N—ELECTRIC SOLID-STATE DEVICES NOT OTHERWISE PROVIDED FOR
- H10N60/00—Superconducting devices
- H10N60/80—Constructional details
- H10N60/85—Superconducting active materials
-
- C—CHEMISTRY; METALLURGY
- C30—CRYSTAL GROWTH
- C30B—SINGLE-CRYSTAL GROWTH; UNIDIRECTIONAL SOLIDIFICATION OF EUTECTIC MATERIAL OR UNIDIRECTIONAL DEMIXING OF EUTECTOID MATERIAL; REFINING BY ZONE-MELTING OF MATERIAL; PRODUCTION OF A HOMOGENEOUS POLYCRYSTALLINE MATERIAL WITH DEFINED STRUCTURE; SINGLE CRYSTALS OR HOMOGENEOUS POLYCRYSTALLINE MATERIAL WITH DEFINED STRUCTURE; AFTER-TREATMENT OF SINGLE CRYSTALS OR A HOMOGENEOUS POLYCRYSTALLINE MATERIAL WITH DEFINED STRUCTURE; APPARATUS THEREFOR
- C30B23/00—Single-crystal growth by condensing evaporated or sublimed materials
-
- C—CHEMISTRY; METALLURGY
- C30—CRYSTAL GROWTH
- C30B—SINGLE-CRYSTAL GROWTH; UNIDIRECTIONAL SOLIDIFICATION OF EUTECTIC MATERIAL OR UNIDIRECTIONAL DEMIXING OF EUTECTOID MATERIAL; REFINING BY ZONE-MELTING OF MATERIAL; PRODUCTION OF A HOMOGENEOUS POLYCRYSTALLINE MATERIAL WITH DEFINED STRUCTURE; SINGLE CRYSTALS OR HOMOGENEOUS POLYCRYSTALLINE MATERIAL WITH DEFINED STRUCTURE; AFTER-TREATMENT OF SINGLE CRYSTALS OR A HOMOGENEOUS POLYCRYSTALLINE MATERIAL WITH DEFINED STRUCTURE; APPARATUS THEREFOR
- C30B29/00—Single crystals or homogeneous polycrystalline material with defined structure characterised by the material or by their shape
- C30B29/10—Inorganic compounds or compositions
- C30B29/16—Oxides
-
- C—CHEMISTRY; METALLURGY
- C30—CRYSTAL GROWTH
- C30B—SINGLE-CRYSTAL GROWTH; UNIDIRECTIONAL SOLIDIFICATION OF EUTECTIC MATERIAL OR UNIDIRECTIONAL DEMIXING OF EUTECTOID MATERIAL; REFINING BY ZONE-MELTING OF MATERIAL; PRODUCTION OF A HOMOGENEOUS POLYCRYSTALLINE MATERIAL WITH DEFINED STRUCTURE; SINGLE CRYSTALS OR HOMOGENEOUS POLYCRYSTALLINE MATERIAL WITH DEFINED STRUCTURE; AFTER-TREATMENT OF SINGLE CRYSTALS OR A HOMOGENEOUS POLYCRYSTALLINE MATERIAL WITH DEFINED STRUCTURE; APPARATUS THEREFOR
- C30B29/00—Single crystals or homogeneous polycrystalline material with defined structure characterised by the material or by their shape
- C30B29/60—Single crystals or homogeneous polycrystalline material with defined structure characterised by the material or by their shape characterised by shape
- C30B29/605—Products containing multiple oriented crystallites, e.g. columnar crystallites
-
- H—ELECTRICITY
- H10—SEMICONDUCTOR DEVICES; ELECTRIC SOLID-STATE DEVICES NOT OTHERWISE PROVIDED FOR
- H10N—ELECTRIC SOLID-STATE DEVICES NOT OTHERWISE PROVIDED FOR
- H10N60/00—Superconducting devices
- H10N60/80—Constructional details
- H10N60/85—Superconducting active materials
- H10N60/855—Ceramic superconductors
- H10N60/857—Ceramic superconductors comprising copper oxide
Landscapes
- Chemical & Material Sciences (AREA)
- Engineering & Computer Science (AREA)
- Crystallography & Structural Chemistry (AREA)
- Materials Engineering (AREA)
- Metallurgy (AREA)
- Organic Chemistry (AREA)
- Inorganic Chemistry (AREA)
- Ceramic Engineering (AREA)
- Crystals, And After-Treatments Of Crystals (AREA)
- Superconductor Devices And Manufacturing Methods Thereof (AREA)
Abstract
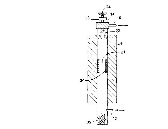
【解決手段】金属酸化物ナノロッドの製造方法は、炉6内において金属蒸気を発生させる工程と、炉内の成長領域内において、ナノロッド成長用基体22の表面上に金属酸化物ナノロッドが形成されるのに十分な時間だけナノロッド成長用基体22を金属蒸気に曝す工程と、ナノロッド成長用基体22を成長領域から除去する工程と、このように形成された金属酸化物ナノロッドであって、その直径が1nmから200nmの金属酸化物ナノロッドを収集する工程とからなる。
【選択図】図1
Description
上記ナノロッドは主としてM1 xM2 yOzの一般式で表される金属酸化物から成る。但し、M1及びM2は、チタニウム、ジルコニウム、ハフニウム、バナジウム、ニオブ、タンタル、クロム、モリブデン、タングステン、マンガン、テクネチウム、レニウム、鉄、オスミウム、コバルト、ニッケル、銅、亜鉛、スカンジウム、イットリウム、ランタン、ランタノイド系列の元素、ホウ素、アルミニウム、ガリウム、インジウム、タリウム、ケイ素、ゲルマニウム、スズ、鉛、マグネシウム、カルシウム、ストロンチウム及びバリウムから成る群から選択された金属である。酸素に対する金属の割合は化合物内の金属の酸化状態による。一般的にx及びyの一方、並びにzはゼロより大きな整数である。即ち、上記化合物は化学量論的なものであり、酸素空孔が殆ど無い。M1とM2が同一の金属(またはyがゼロ)の場合には、2元金属酸化物は2元金属酸化物である。2元金属酸化物の特定例としては、MgO、Al2O3及びZnOが挙げられる。
(金属酸化物ナノロッドの合成)
金属酸化物ナノロッドを調製する上で使用される一般的な合成方法は3つの基本工程を含む。第1に、金属蒸気は、キャリヤガスにより基体へと搬送される金属源から発生されねばならない。第2に、金属蒸気は基体の表面上に結晶核を生成する。而して、基体は、予備形成された金属酸化物ナノクラスタ、または、単結晶の欠陥部位とされ得る。代わりに、例えば基体が炭素またはグラファイトである場合には、結晶核形成部は反応器内において原位置にて形成される場合もある。これにより金属酸化物ナノロッドは成長を開始する。最後にナノロッドの気相成長が生ずる。ナノロッドの形成に対して必須となる重要な工程は、結晶核の形成工程及び成長工程であり、これらの工程は金属酸化物ナノロッドの初期寸法及び最終直径を決定するものである。
何らかの理論に拘束されることを意図するものではないが、ナノロッドを形成するメカニズムは気固相成長を含むものであり、その場合、ナノ粒子または食刻された単結晶表面(もしくは他の基体)がナノロッドの成長に対する結晶核形成部を提供するものと考えられる。代わりに、単結晶グラファイトにおける炭素表面などの結晶核生成表面には、ナノ寸法の結晶核形成部は予備形成されていない。また、ナノロッド成長の為の結晶核形成部は、気相から(例えば酸化マグネシウムなどの)ナノクラスタが析出することにより、または、結晶核形成部として機能し得るナノメータスケールのピットを形成する炭素成長表面が酸化することにより、原位置にて生ずるものと考えられる。ナノロッドの平均直径はナノロッドの大量合成の間におけるナノ粒子のサイズにより部分的に決定される。単結晶基体の表面上に整列されたナノロッドを高密度で得る為には、単結晶基体の表面を新たに食刻する必要がある。このプロセスにより表面には結晶核生成及びナノロッド成長の為の多くのナノ寸法部位が提供されるが、これは、基体の表面とナノロッドの成長面との間に良好な格子整合があることが前提となる。
(金属酸化物ナノロッドの用途)
金属酸化物ナノロッドは、高密度磁気記録媒体などの、優れた機械的、電気的、光学的及び/または磁気的特性を有するナノ構造を調製する為に使用され得る。また、金属酸化物ナノロッドは研磨剤材料または環境に応じて変化する(賢い)材料として使用され得る。ナノロッドの小径及び高い縦横比により、ナノロッドは、金属、ガラス、有機高分子、及びセラミックマトリクス複合材料において有用である。特に、本発明の金属酸化物ナノロッドは超伝導体内に埋設される欠陥として有用である。
(金属酸化物ナノロッド/超伝導体−複合材料)
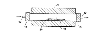
金属酸化物ナノロッド/超伝導体−複合材料は、塊状形態または薄膜状形態(例えば、BSCCO−2212またはBSCCO−2223を用いて製造されたシングルもしくはマルチフィラメントワイヤの如き、超伝導テープ、ワイヤ、ケーブル、またはフィルムなど)で作成され得るものである。而して、複合材料は柱状欠陥構造を有して大きな臨界電流挙動を呈する。複合材料はBi2Sr2CaCu2O8(BSCCO−2212)超伝導体のような高温超伝導体との反応性が非常に低いために、酸化マグネシウムナノロッドを用いて調製することが可能であるが、これを実験条件の簡単な変更により他の高温超伝導体及びBSCCO相に適用することも可能である。
酸化マグネシウム粉体及びグラファイト粉体を1:3〜3:1の重量比率で混合した。得られた粉体混合物をグラファイト舟形容器内に装填した。グラファイト舟形容器を100〜2000SCCMの流速のアルゴンガスが流れる石英管内に載置した。上記ガスは1〜10ppmの酸素を含んでいた。基体を、グラファイト舟形容器と該基体との間の温度勾配が100℃未満となる箇所において、石英管内でグラファイト舟形容器の下流に載置した。バルク酸化マグネシウムナノロッドの合成において、基体は5〜50nmの平均直径を有する酸化マグネシウムナノクラスタから構成されていた。ナノロッドは、石英管を約1200℃で0.5時間〜2時間加熱することにより得られた。
MgO及びグラファイト粉体の混合物を1:3〜3:1の重量比率で粉砕により混合し、グラファイト製の炉用舟形容器内に載置した。グラファイト舟形容器を石英炉管内に載置し、水平な管状炉の中央に配置した。グラファイト舟形容器及び反応体を含む上記管には次に、100〜2000SCCMの流速のアルゴンガスが流された。基体を、舟形容器から−100℃内において管の下流に載置した。番号9〜12が付された行においては、酸化マグネシウムと炭素の混合物の表面が基体として作用した(即ち、炉内には他の基体は含まれていなかった)。装填後、炉をその中心点で測定して1000〜1200℃の設定点温度にまで加熱した。炉の中心点は基体に依存して0〜60分に亙る時間(すなわち保持時間)だけ設定点温度に維持され、その後、炉の内容物を室温にまで冷却した。
ナノロッドは実施例1に記述された方法で調製されたが、基体表面上で整列されたナノロッドを得る為に、新たに食刻された単結晶が基体として使用された点が異なっている。特に、0.1〜0.5MのNiCl2水溶液により0.25〜2時間に亙り食刻されたMgO単結晶の(100)面が基体とされた。この基体を食刻の直後に炉内に載置した。而して、食刻時間が表面上のナノロッド密度に影響を与える。典型的には、0.5時間の食刻時間及び0.5Mの食刻溶液濃度が用いられる。
Al2O3粉体及びグラファイト粉体を1:3〜3:1の重量比率で混合した。この混合物をグラファイト舟形容器内に装填した。グラファイト舟形容器を100〜2000SCCMの流速でアルゴンガスが流れるアルミナ管内に挿入した。上記ガスは1〜10ppmの酸素を含んでいた。5〜10nmの平均直径を有するAl2O3ナノクラスタは、基体との間の温度勾配が100℃となる、グラファイト舟形容器の下流箇所に置かれた。上記管は1400℃で0.5時間〜2時間加熱することによりナノロッドが生成した。
実施例4:基体表面上で整列されたZnOナノロッド
ZnO粉体及びグラファイト粉体を1:3〜3:1の重量比率で混合した。この混合物を、100〜2000SCCMの流速のアルゴンガスが流れる石英管内に載置されたグラファイト舟形容器内に装填した。上記ガスは1〜10ppmの酸素を含んでいた。1〜100nmの厚みの金の薄膜で被覆された(100)SrTiO3単結晶基体は、グラファイト舟形容器と該基体との間の温度勾配が約300℃となる箇所において、グラファイト舟形容器の下流に載置された。石英管は900℃〜1000℃で0.25時間〜1時間加熱されてナノロッドを成長せしめた。
単結晶表面上に成長したナノロッドは直径及び長さに関して均一であり、夫々の値は10〜50nm及び1〜2μmであった。殆ど全てのナノロッドが結晶表面に対して配向していたが、表面に対して直交してはいなかった。
10〜100nmの直径及び1〜10μmの長さを有する酸化マグネシウムナノロッドを予備反応されたBSCCO(2212)粉体と混合し粉砕した。混合物は0〜15重量比率のナノロッドを含んでいた。細かな粉体混合物を(例えば20mm径のダイス上に10トンの力を加える)ペレット圧縮機を用いてペレットに圧縮した。得られたペレットを銀箔の表面上に載置し860〜880℃に加熱した。この材料を、この部分的に溶融された状態に10分〜30分に亙り保持した。また、温度を時間当り1℃〜5℃の速度にて760℃〜800℃まで下げた。材料はこの温度にて10時間〜24時間維持され、その後、試料は室温にまで冷却されて最終的な複合材料を得た。この複合材料の臨界電流密度は、酸化マグネシウムナノロッドを含まずに同様に処理された基準サンプルの臨界電流密度よりも大幅に大きかった。ナノロッドを欠いた基準サンプルと比較して、上記複合材料の臨界電流密度は、5K及び0テスラにおいて2×104〜2×105Acm−2だけ増大し、且つ、30K及び0テスラにおいては4×103〜5×104Acm−2だけ増大した。5〜60Kの温度範囲を越えると、臨界電流密度の増大は1段階(one magnitude)であった。
酸化マグネシウムナノロッドを最初に、実施例2で上述された酸化マグネシウム単結晶基体の(100)面上で成長させた。また、基体上には、室温にてパルスレーザ析出を用いて非晶質BSCCO(2212)が析出された。この点、パルスレーザ析出はたとえば「応用物理学」(Applied Phisics Letters)第63巻(1993年)第409〜411頁においてチュー(S.Zhu)等により記述されている。非晶質の複合材料は次に、実施例5における塊状複合材料に対して記述された加熱プログラムを用いて溶融組織化され、最終的な薄膜状複合材料を与えた。薄膜状複合材料の臨界電流密度は、ナノロッドを欠いた基準サンプルのそれよりも大幅に大きなものである。ナノロッドを欠いた基準サンプルと比較して、上記複合材料の臨界電流密度は、5K及び0.8テスラにおいて2×104〜1.5×105Acm−2だけ増大し、40K及び0.5テスラにおいて1×103〜2×104Acm−2だけ増大し、且つ、60K及び0.15テスラにおいては8×102〜1×104Acm−2だけ増大した。
酸化マグネシウムナノロッドアレイは、実施例2において上述した酸化マグネシウム単結晶基体の(100)面上に最初に成長せしめられた。而して、200℃にてパルスレーザ析出を用いて酸化マグネシウムナノロッド群上に非晶質のBa2Ca2Cu3O7が析出された。次に、試料は三領域炉(three−zonefurnace)内でタリウム化(thallinated)されて結晶化され、Tl2Ba2Ca2Cu3O10超伝導体を形成した。タリウム化の間、試料は少量のTl2Ba2Ca2Cu3O10と共に銀箔内に密閉されると共にアルミナ管の一端に載置された。また、Tl源(Tl2O3)はアルミナ管の他端に載置された。アルミナ管は銀箔により半密閉され、三領域炉内に載置された。試料の温度を790°に維持し、Tl源の温度を890℃に維持した。このタリウム化プロセスは例えば、材料抵抗(J.Mater.Res.)第11(6)巻(1996年)の第1349頁においてホルスタイン(W.L.Holstein)等により記述されている。最終的な薄膜状複合材料の臨界電流密度は、ナノロッドを欠いた基準サンプルの臨界電流密度よりも大幅に大きかった。ナノロッドを欠いた基準サンプルと比較して、上記複合材料の臨界電流密度は、50K及び0.4テスラにおいて1×103〜2×104Acm−2だけ増大し、60K及び0.3テスラにおいては1×103〜1.5×104Acm−2だけ増大し、且つ、90K及び0.15テスラにおいては100〜7000Acm−2だけ増大した。
上述した記述内容からは本発明の本質的特徴が確認され得よう。また、本発明の精神及び範囲から逸脱すること無く、発明の種々の変更及び改変を行い、本発明を幾多の用途ならびに条件に適合せしめ得ることが可能である。従って、他の実施例も請求の範囲の範疇に入るものである。
Claims (34)
- 炉内において金属蒸気を発生させる工程と、
炉内の成長領域内において、ナノロッド成長用基体の表面上に金属酸化物ナノロッドが形成されるのに十分な時間だけナノロッド成長用基体を金属蒸気に曝す工程と、
ナノロッド成長用基体を成長領域から除去する工程と、
このように形成された金属酸化物ナノロッドであって、その直径が1nmから200nmの金属酸化物ナノロッドを収集する工程と
からなる金属酸化物ナノロッドの製造方法。 - 前記成長領域は、金属蒸気の濃度が最大である部分と基体が配置された部分との間の100℃の温度降下内の領域である請求項1に記載の方法。
- ナノロッド成長用基体は、金属酸化物ナノクラスタ、金属蒸気源の表面、単結晶、グラファイトまたは金属被覆基体を含む請求項1に記載の方法。
- 前記成長領域は、金属蒸気の濃度が最大である部分と基体が配置された部分との間の100℃の温度降下内の領域である請求項3に記載の方法。
- 金属蒸気源はマグネシウムを含む請求項4に記載の方法。
- 前記基体から金属酸化物ナノロッドを物理的に分離することを更に備えてなる請求項5に記載の方法。
- ナノロッド成長用基体はグラファイトである請求項5に記載の方法。
- 酸化雰囲気中で金属酸化物ナノロッドを加熱してグラファイトを二酸化炭素に転換することにより金属酸化物ナノロッドを精製することを更に備えてなる請求項7に記載の方法。
- 被曝段階の間にナノロッド成長用基体を成長領域を通して移動せしめる工程を更に備えてなる請求項1に記載の方法。
- 金属蒸気源を炉内に配置する工程と、
炉内にナノロッド成長用基体を配備する工程と、
前記金属蒸気源を500℃〜1600℃の温度に加熱する工程と、
ナノロッド成長用基体の表面上に金属酸化物ナノロッドを形成するに十分な時間に亙り上記温度を維持する工程と、
このように形成された金属酸化物ナノロッドであって、その直径が1nmから200nmの金属酸化物ナノロッドを収集する工程と
を備えてなる金属酸化物ナノロッドの製造方法。 - 炉を通してキャリヤガスを流す工程を更に備えてなる請求項10に記載の方法。
- 前記ナノロッド成長用基体を配備する工程はナノロッド成長用基体を金属蒸気源の下流に配置する工程を含む請求項11に記載の方法。
- 前記ナノロッド成長用基体を配備する工程はナノロッド成長用基体を成長領域内に配置する工程を含む請求項10に記載の方法。
- 前記成長領域は、500℃〜1600℃の温度に加熱されたときに金属蒸気源と基体との間の100℃温度勾配降下内の領域である請求項13に記載の方法。
- 前記ナノロッド成長用基体の表面上に金属酸化物ナノロッドを形成するに十分な時間の後で成長領域からナノロッド成長用基体を取り外す工程を更に備えて成る請求項14に記載の方法。
- 前記基体から金属酸化物ナノロッドを物理的に分離する工程を更に備えてなる請求項15に記載の方法。
- 前記ナノロッド成長用基体はグラファイトである請求項15に記載の方法。
- 酸化雰囲気中で金属酸化物ナノロッドを加熱してグラファイトを二酸化炭素に転換することにより、金属酸化物ナノロッドを精製する工程を更に備えてなる請求項17に記載の方法。
- 金属酸化物は酸化マグネシウムである請求項18に記載の方法。
- 金属酸化物ナノロッドを形成するに十分な時間に亙り、成長領域を通してナノロッド成長用基体を移動せしめる工程を更に備えてなる請求項15に記載の方法。
- 金属蒸気源を冷却して金属酸化物ナノロッドの形成を停止する工程を更に備えてなる請求項10に記載の方法。
- 金属蒸気源は、金属元素または金属酸化物と炭素との混合物を含み、上記金属は、チタニウム、ジルコニウム、ハフニウム、バナジウム、ニオブ、タンタル、クロム、モリブデン、タングステン、マンガン、テクネチウム、レニウム、鉄、オスミウム、コバルト、ニッケル、銅、亜鉛、スカンジウム、イットリウム、ランタン、ランタノイド系列の元素、ホウ素、アルミニウム、ガリウム、インジウム、タリウム、ケイ素、ゲルマニウム、スズ、鉛、マグネシウム、カルシウム、ストロンチウム及びバリウムから成る群から選択される請求項10に記載の方法。
- ナノロッド成長用基体は、金属酸化物ナノクラスタ、金属蒸気源の表面、単結晶、グラファイトまたは金属被覆基体を含む請求項10に記載の方法。
- 前記金属酸化物は酸化マグネシウムである請求項22に記載の方法。
- 炉内にマグネシウム蒸気源を配置する工程と、
炉内にナノロッド成長用基体を配備する工程と、
マグネシウム蒸気源を500℃〜1600℃の温度に加熱することにより炉内でマグネシウム蒸気を発生する工程と、
ナノロッド成長用基体の表面上に酸化マグネシウムナノロッドを成長せしめるに十分な時間だけナノロッド成長用基体を炉内の成長領域内でマグネシウム蒸気に曝す工程と、
前記成長領域が炉内においてマグネシウム蒸気源の100℃温度降下内の領域であり、ナノロッド成長用基体の表面上に金属酸化物ナノロッドを成長せしめるに十分な時間の後、成長領域からナノロッド成長用基体を取り外す工程と、
このように形成された酸化マグネシウムナノロッドを収集する工程と
を備えてなる酸化マグネシウムナノロッドの製造方法。 - ナノロッド成長用基体は、グラファイト、金属被覆基体、マグネシウム蒸気源の表面、または酸化マグネシウムナノクラスタである請求項25に記載の方法。
- ナノロッド成長用基体はグラファイトである請求項26に記載の方法。
- 酸化雰囲気中で金属酸化物ナノロッドを加熱してグラファイトを二酸化炭素に転換することにより金属酸化物ナノロッドを精製する工程を更に備えてなる請求項27に記載の方法。
- 被曝工程の間、前記成長領域を通してナノロッド成長用基体を移動せしめることを更に備えてなる請求項28に記載の方法。
- 前記基体から金属酸化物ナノロッドを物理的に分離する工程を更に備えてなる請求項29に記載の方法。
- 炉内において金属蒸気を発生させる工程と、
炉内の成長領域内において、ナノロッド成長用基体の表面上に金属酸化物ナノロッドが形成されるのに十分な時間だけナノロッド成長用基体を金属蒸気に曝す工程と、
ナノロッド成長用基体を成長領域から除去する工程と、
このように形成された金属酸化物ナノロッドを収集する工程とを備えてなり、前記金属酸化物が酸化マグネシウムであることを特徴とする金属酸化物ナノロッドの製造方法。 - 金属蒸気源を炉内に配置する工程と、
炉内にナノロッド成長用基体を配備する工程と、
前記金属蒸気源を500℃〜1600℃の温度に加熱する工程と、
前記ナノロッド成長用基体の表面上に金属酸化物ナノロッドを形成するに十分な時間に亙り上記温度を維持する工程と、
このように形成された金属酸化物ナノロッドを収集する工程とを備えてなり、前記金属酸化物が酸化マグネシウムであることを特徴とする金属酸化物ナノロッドの製造方法。 - 前記金属酸化物ナノロッドは前記基体の表面に対して整列されている請求項1に記載の方法。
- 前記金属酸化物ナノロッドは前記基体の表面に対して整列されている請求項10に記載の方法。
Applications Claiming Priority (5)
| Application Number | Priority Date | Filing Date | Title |
|---|---|---|---|
| US08/606,892 US5897945A (en) | 1996-02-26 | 1996-02-26 | Metal oxide nanorods |
| US08/606,892 | 1996-02-26 | ||
| US08/790,824 | 1997-01-22 | ||
| US08/790,824 US6036774A (en) | 1996-02-26 | 1997-01-22 | Method of producing metal oxide nanorods |
| PCT/US1997/002600 WO1997031139A1 (en) | 1996-02-26 | 1997-02-21 | Metal oxide nanorods |
Related Parent Applications (1)
| Application Number | Title | Priority Date | Filing Date |
|---|---|---|---|
| JP53029397A Division JP2002502347A (ja) | 1996-02-26 | 1997-02-21 | 金属酸化物ナノロッド |
Publications (2)
| Publication Number | Publication Date |
|---|---|
| JP2010018520A true JP2010018520A (ja) | 2010-01-28 |
| JP5297977B2 JP5297977B2 (ja) | 2013-09-25 |
Family
ID=27085358
Family Applications (2)
| Application Number | Title | Priority Date | Filing Date |
|---|---|---|---|
| JP53029397A Ceased JP2002502347A (ja) | 1996-02-26 | 1997-02-21 | 金属酸化物ナノロッド |
| JP2009246569A Expired - Lifetime JP5297977B2 (ja) | 1996-02-26 | 2009-10-27 | 金属酸化物ナノロッドの製造方法 |
Family Applications Before (1)
| Application Number | Title | Priority Date | Filing Date |
|---|---|---|---|
| JP53029397A Ceased JP2002502347A (ja) | 1996-02-26 | 1997-02-21 | 金属酸化物ナノロッド |
Country Status (5)
| Country | Link |
|---|---|
| US (1) | US6036774A (ja) |
| EP (1) | EP0885316B1 (ja) |
| JP (2) | JP2002502347A (ja) |
| AU (1) | AU1963397A (ja) |
| WO (1) | WO1997031139A1 (ja) |
Cited By (2)
| Publication number | Priority date | Publication date | Assignee | Title |
|---|---|---|---|---|
| WO2012091303A3 (ko) * | 2010-12-28 | 2012-09-07 | 동국대학교 산학협력단 | 산화아연 나노로드, 금속 수송 증착법을 이용한 산화아연 나노로드 제조 방법 및 장치, 그 산화아연 나노로드를 이용한 전계 발광 디스플레이 나노로드 제조 방법 |
| KR101815790B1 (ko) | 2016-11-03 | 2018-01-05 | 건국대학교 산학협력단 | 꽃 모양의 말단부를 가지는 중공 와이어 및 이의 제조방법 |
Families Citing this family (196)
| Publication number | Priority date | Publication date | Assignee | Title |
|---|---|---|---|---|
| RU2099808C1 (ru) * | 1996-04-01 | 1997-12-20 | Евгений Инвиевич Гиваргизов | Способ выращивания ориентированных систем нитевидных кристаллов и устройство для его осуществления (варианты) |
| US6652967B2 (en) * | 2001-08-08 | 2003-11-25 | Nanoproducts Corporation | Nano-dispersed powders and methods for their manufacture |
| US6933331B2 (en) * | 1998-05-22 | 2005-08-23 | Nanoproducts Corporation | Nanotechnology for drug delivery, contrast agents and biomedical implants |
| US6162530A (en) | 1996-11-18 | 2000-12-19 | University Of Connecticut | Nanostructured oxides and hydroxides and methods of synthesis therefor |
| DE19983159B4 (de) * | 1998-04-30 | 2006-06-14 | Asahi Kasei Kabushiki Kaisha | Verfahren zur Herstellung eines Funktionselementes zur Verwendung in einer elektrischen, elektronischen oder optischen Vorrichtung |
| JP4651138B2 (ja) * | 1998-04-30 | 2011-03-16 | 旭化成株式会社 | 酸化亜鉛構造体の製造方法 |
| US6531513B2 (en) * | 1998-10-02 | 2003-03-11 | University Of Kentucky Research Foundation | Method of solubilizing carbon nanotubes in organic solutions |
| US6187823B1 (en) * | 1998-10-02 | 2001-02-13 | University Of Kentucky Research Foundation | Solubilizing single-walled carbon nanotubes by direct reaction with amines and alkylaryl amines |
| US6514897B1 (en) * | 1999-01-12 | 2003-02-04 | Hyperion Catalysis International, Inc. | Carbide and oxycarbide based compositions, rigid porous structures including the same, methods of making and using the same |
| US7199997B1 (en) | 2000-06-09 | 2007-04-03 | U.S. Nanocorp, Inc. | Asymmetric electrochemical supercapacitor and method of manufacture thereof |
| US7576971B2 (en) * | 1999-06-11 | 2009-08-18 | U.S. Nanocorp, Inc. | Asymmetric electrochemical supercapacitor and method of manufacture thereof |
| US8107223B2 (en) * | 1999-06-11 | 2012-01-31 | U.S. Nanocorp, Inc. | Asymmetric electrochemical supercapacitor and method of manufacture thereof |
| EP1194960B1 (en) | 1999-07-02 | 2010-09-15 | President and Fellows of Harvard College | Nanoscopic wire-based devices, arrays, and methods of their manufacture |
| JP4682354B2 (ja) * | 1999-08-25 | 2011-05-11 | 独立行政法人科学技術振興機構 | 100ナノメーター未満の直径とアスペクト比が1を越えるように発達させた無機質微細ロッドおよび前記ロッドの製造方法 |
| US20020054995A1 (en) * | 1999-10-06 | 2002-05-09 | Marian Mazurkiewicz | Graphite platelet nanostructures |
| US6919119B2 (en) * | 2000-05-30 | 2005-07-19 | The Penn State Research Foundation | Electronic and opto-electronic devices fabricated from nanostructured high surface to volume ratio thin films |
| US8119571B2 (en) * | 2006-08-03 | 2012-02-21 | Amit Goyal | High performance electrical, magnetic, electromagnetic and electrooptical devices enabled by three dimensionally ordered nanodots and nanorods |
| US20060175601A1 (en) * | 2000-08-22 | 2006-08-10 | President And Fellows Of Harvard College | Nanoscale wires and related devices |
| US7301199B2 (en) | 2000-08-22 | 2007-11-27 | President And Fellows Of Harvard College | Nanoscale wires and related devices |
| CA2417992C (en) * | 2000-08-22 | 2010-10-19 | President And Fellows Of Harvard College | Doped elongated semiconductors, growing such semiconductors, devices including such semiconductors and fabricating such devices |
| KR20030055346A (ko) * | 2000-12-11 | 2003-07-02 | 프레지던트 앤드 펠로우즈 오브 하버드 칼리지 | 나노센서 |
| JP3622147B2 (ja) * | 2001-06-19 | 2005-02-23 | 独立行政法人産業技術総合研究所 | 柱状ピン止め中心を有する超伝導薄膜及びその製造方法 |
| WO2003053851A2 (en) * | 2001-07-20 | 2003-07-03 | President And Fellows Of Harvard College | Transition metal oxide nanowires |
| US6924538B2 (en) * | 2001-07-25 | 2005-08-02 | Nantero, Inc. | Devices having vertically-disposed nanofabric articles and methods of making the same |
| US7259410B2 (en) * | 2001-07-25 | 2007-08-21 | Nantero, Inc. | Devices having horizontally-disposed nanofabric articles and methods of making the same |
| US6574130B2 (en) * | 2001-07-25 | 2003-06-03 | Nantero, Inc. | Hybrid circuit having nanotube electromechanical memory |
| US6643165B2 (en) | 2001-07-25 | 2003-11-04 | Nantero, Inc. | Electromechanical memory having cell selection circuitry constructed with nanotube technology |
| US7566478B2 (en) * | 2001-07-25 | 2009-07-28 | Nantero, Inc. | Methods of making carbon nanotube films, layers, fabrics, ribbons, elements and articles |
| US6919592B2 (en) | 2001-07-25 | 2005-07-19 | Nantero, Inc. | Electromechanical memory array using nanotube ribbons and method for making same |
| US6835591B2 (en) | 2001-07-25 | 2004-12-28 | Nantero, Inc. | Methods of nanotube films and articles |
| US6706402B2 (en) * | 2001-07-25 | 2004-03-16 | Nantero, Inc. | Nanotube films and articles |
| US6911682B2 (en) | 2001-12-28 | 2005-06-28 | Nantero, Inc. | Electromechanical three-trace junction devices |
| US6855426B2 (en) * | 2001-08-08 | 2005-02-15 | Nanoproducts Corporation | Methods for producing composite nanoparticles |
| US7176505B2 (en) | 2001-12-28 | 2007-02-13 | Nantero, Inc. | Electromechanical three-trace junction devices |
| US6784028B2 (en) | 2001-12-28 | 2004-08-31 | Nantero, Inc. | Methods of making electromechanical three-trace junction devices |
| TWI313702B (en) | 2002-02-25 | 2009-08-21 | Mitsubishi Materials Corp | Composition, coating film, polymer film and optical filter comprising metal nanorods |
| RU2233791C2 (ru) * | 2002-03-26 | 2004-08-10 | Закрытое акционерное общество "ТЕТРА" | Способ получения наночастиц и изготовления материалов и устройств, содержащих наночастицы |
| US6872645B2 (en) * | 2002-04-02 | 2005-03-29 | Nanosys, Inc. | Methods of positioning and/or orienting nanostructures |
| US20040026684A1 (en) * | 2002-04-02 | 2004-02-12 | Nanosys, Inc. | Nanowire heterostructures for encoding information |
| US7335395B2 (en) * | 2002-04-23 | 2008-02-26 | Nantero, Inc. | Methods of using pre-formed nanotubes to make carbon nanotube films, layers, fabrics, ribbons, elements and articles |
| WO2004003558A1 (en) * | 2002-06-27 | 2004-01-08 | Georgia Tech Research Corporation | Nano-sized optical fluorescence labels and uses thereof |
| US7335908B2 (en) | 2002-07-08 | 2008-02-26 | Qunano Ab | Nanostructures and methods for manufacturing the same |
| AU2003261205A1 (en) | 2002-07-19 | 2004-02-09 | President And Fellows Of Harvard College | Nanoscale coherent optical components |
| US7572393B2 (en) | 2002-09-05 | 2009-08-11 | Nanosys Inc. | Organic species that facilitate charge transfer to or from nanostructures |
| JP2005538573A (ja) * | 2002-09-05 | 2005-12-15 | ナノシス・インク. | ナノ構造及びナノ複合材をベースとする組成物 |
| CA2497451A1 (en) * | 2002-09-05 | 2004-03-18 | Nanosys, Inc. | Organic species that facilitate charge transfer to or from nanostructures |
| US20050126628A1 (en) * | 2002-09-05 | 2005-06-16 | Nanosys, Inc. | Nanostructure and nanocomposite based compositions and photovoltaic devices |
| AU2003298998A1 (en) * | 2002-09-05 | 2004-04-08 | Nanosys, Inc. | Oriented nanostructures and methods of preparing |
| AU2003268487A1 (en) * | 2002-09-05 | 2004-03-29 | Nanosys, Inc. | Nanocomposites |
| US7985590B2 (en) * | 2002-09-26 | 2011-07-26 | Science Application International Corporation | Method and system for detection using nanodot taggants |
| US20050142611A1 (en) * | 2002-09-30 | 2005-06-30 | Auburn University | Method of isolation and self-assembly of small protein particles from blood and other biological materials |
| DE60327347D1 (de) | 2002-09-30 | 2009-06-04 | Univ Auburn | Verfahren und isolierung zur selbstzusammenlagerung kleiner proteinpartikel aus blut und anderen biologischen materialien |
| US7035308B1 (en) | 2002-10-28 | 2006-04-25 | Science Applications International Corporation | Method and system for countering laser technology |
| US7708974B2 (en) * | 2002-12-10 | 2010-05-04 | Ppg Industries Ohio, Inc. | Tungsten comprising nanomaterials and related nanotechnology |
| TWI245079B (en) * | 2002-12-30 | 2005-12-11 | Ind Tech Res Inst | Method for growing highly-ordered nanofibers |
| US7560136B2 (en) * | 2003-01-13 | 2009-07-14 | Nantero, Inc. | Methods of using thin metal layers to make carbon nanotube films, layers, fabrics, ribbons, elements and articles |
| US7083586B2 (en) * | 2003-02-03 | 2006-08-01 | Dj Orthopedics, Llc | Patellofemoral brace |
| EP1613549B1 (en) | 2003-04-04 | 2013-08-07 | QuNano AB | Precisely positioned nanowhisker structures and method for preparing them |
| US7432522B2 (en) | 2003-04-04 | 2008-10-07 | Qunano Ab | Nanowhiskers with pn junctions, doped nanowhiskers, and methods for preparing them |
| US20050038498A1 (en) * | 2003-04-17 | 2005-02-17 | Nanosys, Inc. | Medical device applications of nanostructured surfaces |
| US7985475B2 (en) * | 2003-04-28 | 2011-07-26 | Nanosys, Inc. | Super-hydrophobic surfaces, methods of their construction and uses therefor |
| US7579077B2 (en) * | 2003-05-05 | 2009-08-25 | Nanosys, Inc. | Nanofiber surfaces for use in enhanced surface area applications |
| US7074294B2 (en) * | 2003-04-17 | 2006-07-11 | Nanosys, Inc. | Structures, systems and methods for joining articles and materials and uses therefor |
| US7972616B2 (en) * | 2003-04-17 | 2011-07-05 | Nanosys, Inc. | Medical device applications of nanostructured surfaces |
| US20050221072A1 (en) * | 2003-04-17 | 2005-10-06 | Nanosys, Inc. | Medical device applications of nanostructured surfaces |
| US7056409B2 (en) * | 2003-04-17 | 2006-06-06 | Nanosys, Inc. | Structures, systems and methods for joining articles and materials and uses therefor |
| US20060122596A1 (en) * | 2003-04-17 | 2006-06-08 | Nanosys, Inc. | Structures, systems and methods for joining articles and materials and uses therefor |
| US7803574B2 (en) * | 2003-05-05 | 2010-09-28 | Nanosys, Inc. | Medical device applications of nanostructured surfaces |
| TWI427709B (zh) * | 2003-05-05 | 2014-02-21 | Nanosys Inc | 用於增加表面面積之應用的奈米纖維表面 |
| US7910064B2 (en) * | 2003-06-03 | 2011-03-22 | Nanosys, Inc. | Nanowire-based sensor configurations |
| JP2007501525A (ja) * | 2003-08-04 | 2007-01-25 | ナノシス・インコーポレイテッド | ナノワイヤ複合体およびこれらに由来する電子基板を作製するためのシステムおよび方法 |
| KR100650528B1 (ko) * | 2003-11-06 | 2006-11-28 | (주)나노하이브리드 | 자외선 레이저용 ZnO 나노-어레이 및 ZnO 나노월어레이의 실리콘 기판상의 형성 방법 |
| US7923109B2 (en) * | 2004-01-05 | 2011-04-12 | Board Of Regents, The University Of Texas System | Inorganic nanowires |
| AU2005230961B2 (en) * | 2004-01-15 | 2010-11-11 | Nanocomp Technologies, Inc. | Systems and methods for synthesis of extended length nanostructures |
| US8025960B2 (en) * | 2004-02-02 | 2011-09-27 | Nanosys, Inc. | Porous substrates, articles, systems and compositions comprising nanofibers and methods of their use and production |
| US20110039690A1 (en) * | 2004-02-02 | 2011-02-17 | Nanosys, Inc. | Porous substrates, articles, systems and compositions comprising nanofibers and methods of their use and production |
| US7553371B2 (en) * | 2004-02-02 | 2009-06-30 | Nanosys, Inc. | Porous substrates, articles, systems and compositions comprising nanofibers and methods of their use and production |
| US7354850B2 (en) | 2004-02-06 | 2008-04-08 | Qunano Ab | Directionally controlled growth of nanowhiskers |
| US20090227107A9 (en) * | 2004-02-13 | 2009-09-10 | President And Fellows Of Havard College | Nanostructures Containing Metal Semiconductor Compounds |
| US7465210B2 (en) * | 2004-02-25 | 2008-12-16 | The Regents Of The University Of California | Method of fabricating carbide and nitride nano electron emitters |
| US7276389B2 (en) * | 2004-02-25 | 2007-10-02 | Samsung Electronics Co., Ltd. | Article comprising metal oxide nanostructures and method for fabricating such nanostructures |
| WO2005094440A2 (en) * | 2004-03-18 | 2005-10-13 | Nanosys Inc. | Nanofiber surface based capacitors |
| JP4585212B2 (ja) * | 2004-03-19 | 2010-11-24 | Jx日鉱日石エネルギー株式会社 | ナノチューブ形状を有するチタニア及びその製造方法 |
| US7985345B2 (en) | 2004-03-29 | 2011-07-26 | Innoventor, Inc. | Methods and systems for converting waste into complex hydrocarbons |
| US7105088B2 (en) * | 2004-03-29 | 2006-09-12 | Innoventor Engineering, Inc. | Methods and systems for converting waste into energy |
| US7785922B2 (en) | 2004-04-30 | 2010-08-31 | Nanosys, Inc. | Methods for oriented growth of nanowires on patterned substrates |
| US20050279274A1 (en) * | 2004-04-30 | 2005-12-22 | Chunming Niu | Systems and methods for nanowire growth and manufacturing |
| KR20070011550A (ko) * | 2004-04-30 | 2007-01-24 | 나노시스, 인크. | 나노와이어 성장 및 획득 시스템 및 방법 |
| EP1774575A2 (en) * | 2004-05-17 | 2007-04-18 | Cambrios Technology Corp. | Biofabrication of transistors including field effect transistors |
| JP4614063B2 (ja) * | 2004-05-20 | 2011-01-19 | 日産自動車株式会社 | ウィスカー形成体及びウィスカー形成体の製造方法 |
| US7501315B2 (en) | 2004-06-08 | 2009-03-10 | Nanosys, Inc. | Methods and devices for forming nanostructure monolayers and devices including such monolayers |
| TWI406890B (zh) * | 2004-06-08 | 2013-09-01 | Sandisk Corp | 奈米結構之沉積後包封:併入該包封體之組成物、裝置及系統 |
| US8088483B1 (en) | 2004-06-08 | 2012-01-03 | Nanosys, Inc. | Process for group 10 metal nanostructure synthesis and compositions made using same |
| US7968273B2 (en) * | 2004-06-08 | 2011-06-28 | Nanosys, Inc. | Methods and devices for forming nanostructure monolayers and devices including such monolayers |
| US7776758B2 (en) | 2004-06-08 | 2010-08-17 | Nanosys, Inc. | Methods and devices for forming nanostructure monolayers and devices including such monolayers |
| US8563133B2 (en) | 2004-06-08 | 2013-10-22 | Sandisk Corporation | Compositions and methods for modulation of nanostructure energy levels |
| US20070264623A1 (en) * | 2004-06-15 | 2007-11-15 | President And Fellows Of Harvard College | Nanosensors |
| EP1766108A1 (en) | 2004-06-25 | 2007-03-28 | Btg International Limited | Formation of nanowhiskers on a substrate of dissimilar material |
| JP4788878B2 (ja) * | 2004-07-01 | 2011-10-05 | 日産自動車株式会社 | ウィスカー被覆材料及びその製造方法 |
| CA2572798A1 (en) * | 2004-07-07 | 2006-07-27 | Nanosys, Inc. | Systems and methods for harvesting and integrating nanowires |
| US8558311B2 (en) | 2004-09-16 | 2013-10-15 | Nanosys, Inc. | Dielectrics using substantially longitudinally oriented insulated conductive wires |
| US7365395B2 (en) * | 2004-09-16 | 2008-04-29 | Nanosys, Inc. | Artificial dielectrics using nanostructures |
| US8089152B2 (en) * | 2004-09-16 | 2012-01-03 | Nanosys, Inc. | Continuously variable graded artificial dielectrics using nanostructures |
| JP4698192B2 (ja) * | 2004-09-28 | 2011-06-08 | 富士フイルム株式会社 | 酸化亜鉛構造体の製造方法 |
| US20060112983A1 (en) * | 2004-11-17 | 2006-06-01 | Nanosys, Inc. | Photoactive devices and components with enhanced efficiency |
| CN101124638A (zh) * | 2004-12-06 | 2008-02-13 | 哈佛大学 | 基于纳米尺度线的数据存储 |
| US8278011B2 (en) | 2004-12-09 | 2012-10-02 | Nanosys, Inc. | Nanostructured catalyst supports |
| US7842432B2 (en) * | 2004-12-09 | 2010-11-30 | Nanosys, Inc. | Nanowire structures comprising carbon |
| AU2005314211B2 (en) | 2004-12-09 | 2010-07-08 | Oned Material, Inc. | Nanowire-based membrane electrode assemblies for fuel cells |
| US7939218B2 (en) * | 2004-12-09 | 2011-05-10 | Nanosys, Inc. | Nanowire structures comprising carbon |
| JP2007182360A (ja) * | 2005-02-16 | 2007-07-19 | Nissan Motor Co Ltd | ウィスカー形成体及びこれを用いた電気化学キャパシタ |
| US7591871B1 (en) | 2005-02-17 | 2009-09-22 | Sandia Corporation | Solution synthesis of germanium nanocrystals |
| EP1871162B1 (en) * | 2005-04-13 | 2014-03-12 | Nanosys, Inc. | Nanowire dispersion compositions and uses thereof |
| EP1880413B1 (en) * | 2005-04-14 | 2017-10-18 | Tallinn University of Technology | Method of preparing zinc oxide nanorods on a substrate by chemical spray pyrolysis |
| US20060240218A1 (en) * | 2005-04-26 | 2006-10-26 | Nanosys, Inc. | Paintable nonofiber coatings |
| US20100227382A1 (en) * | 2005-05-25 | 2010-09-09 | President And Fellows Of Harvard College | Nanoscale sensors |
| EP1941554A2 (en) * | 2005-06-02 | 2008-07-09 | Nanosys, Inc. | Light emitting nanowires for macroelectronics |
| WO2006132659A2 (en) * | 2005-06-06 | 2006-12-14 | President And Fellows Of Harvard College | Nanowire heterostructures |
| US8644003B2 (en) * | 2005-06-09 | 2014-02-04 | National University Corporation, Tokyo University Of Agriculture And Technology | Electrolytic capacitor element and process for producing the same |
| WO2007032802A2 (en) * | 2005-06-29 | 2007-03-22 | University Of Houston | Nanorod arrays formed by ion beam implantation |
| RU2305065C2 (ru) * | 2005-07-07 | 2007-08-27 | Институт теплофизики экстремальных состояний объединенного института высоких температур Российской Академии наук (ИТЭС ОИВТ РАН) | Способ получения углеродных, металлических и металлоуглеродных наночастиц |
| AU2006345024C1 (en) | 2005-07-28 | 2012-07-26 | Nanocomp Technologies, Inc. | Systems and methods for formation and harvesting of nanofibrous materials |
| US8034745B2 (en) * | 2005-08-01 | 2011-10-11 | Amit Goyal | High performance devices enabled by epitaxial, preferentially oriented, nanodots and/or nanorods |
| JP2009513368A (ja) * | 2005-09-23 | 2009-04-02 | ナノシス・インコーポレイテッド | ナノ構造体のドーピング方法 |
| US7714798B2 (en) * | 2005-11-04 | 2010-05-11 | Nanocomp Technologies, Inc. | Nanostructured antennas and methods of manufacturing same |
| CA2624776C (en) | 2005-11-21 | 2015-05-12 | Nanosys, Inc. | Nanowire structures comprising carbon |
| US7394094B2 (en) * | 2005-12-29 | 2008-07-01 | Massachusetts Institute Of Technology | Semiconductor nanocrystal heterostructures |
| US7741197B1 (en) | 2005-12-29 | 2010-06-22 | Nanosys, Inc. | Systems and methods for harvesting and reducing contamination in nanowires |
| WO2007136412A2 (en) * | 2005-12-29 | 2007-11-29 | Nanosys, Inc. | Methods for oriented growth of nanowires on patterned substrates |
| US7826336B2 (en) | 2006-02-23 | 2010-11-02 | Qunano Ab | Data storage nanostructures |
| US7498215B2 (en) * | 2006-04-03 | 2009-03-03 | Canon Kabushiki Kaisha | Method of producing product including silicon wires |
| US7838774B2 (en) * | 2006-05-19 | 2010-11-23 | General Electric Company | Low AC loss single-filament superconductor for a superconducting magnet and method of making same |
| US7718897B2 (en) * | 2006-05-19 | 2010-05-18 | General Electric Company | Low AC loss superconductor for a superconducting magnet and method of making same |
| DE602007012248D1 (de) * | 2006-06-12 | 2011-03-10 | Harvard College | Nanosensoren und entsprechende technologien |
| KR100772014B1 (ko) * | 2006-07-14 | 2007-10-31 | 한국전기연구원 | 보조 클러스트빔 분사에 의한 고온 초전도막 제조방법,제조장치, 이 방법에 의해 제조되는 고온 초전도막 |
| TW200806829A (en) * | 2006-07-20 | 2008-02-01 | Univ Nat Central | Method for producing single crystal gallium nitride substrate |
| KR100785347B1 (ko) * | 2006-07-27 | 2007-12-18 | 한국과학기술연구원 | 금속전극 위에서의 반도체 나노선의 정렬방법 |
| MX2009001663A (es) * | 2006-08-14 | 2009-05-12 | Mayo Foundation | Nanoparticulas de tierras raras. |
| EP2057211B1 (en) * | 2006-08-31 | 2013-01-02 | Cambridge Enterprise Limited | Optical nanomaterial compositions |
| US8323789B2 (en) | 2006-08-31 | 2012-12-04 | Cambridge Enterprise Limited | Nanomaterial polymer compositions and uses thereof |
| US8058640B2 (en) | 2006-09-11 | 2011-11-15 | President And Fellows Of Harvard College | Branched nanoscale wires |
| US7405420B1 (en) | 2006-09-29 | 2008-07-29 | The Board Of Trustees Of The Leland Stanford Junior University | Method and system for chalcogenide-based nanowire memory |
| US8120448B2 (en) * | 2006-10-19 | 2012-02-21 | The Regents Of The University Of California | High frequency nanotube oscillator |
| JP2010509171A (ja) * | 2006-11-07 | 2010-03-25 | ナノシス・インク. | ナノワイヤー成長用システム及び方法 |
| US7968474B2 (en) | 2006-11-09 | 2011-06-28 | Nanosys, Inc. | Methods for nanowire alignment and deposition |
| US8575663B2 (en) | 2006-11-22 | 2013-11-05 | President And Fellows Of Harvard College | High-sensitivity nanoscale wire sensors |
| US7786024B2 (en) * | 2006-11-29 | 2010-08-31 | Nanosys, Inc. | Selective processing of semiconductor nanowires by polarized visible radiation |
| US8183587B2 (en) | 2006-12-22 | 2012-05-22 | Qunano Ab | LED with upstanding nanowire structure and method of producing such |
| US8049203B2 (en) | 2006-12-22 | 2011-11-01 | Qunano Ab | Nanoelectronic structure and method of producing such |
| WO2008079078A1 (en) | 2006-12-22 | 2008-07-03 | Qunano Ab | Elevated led and method of producing such |
| CN101669219B (zh) | 2006-12-22 | 2011-10-05 | 昆南诺股份有限公司 | 带有直立式纳米线结构的led及其制作方法 |
| US8257932B2 (en) * | 2007-02-21 | 2012-09-04 | The Regents Of The University Of California | Interfacing nanostructures to biological cells |
| US20090047513A1 (en) * | 2007-02-27 | 2009-02-19 | Nanocomp Technologies, Inc. | Materials for Thermal Protection and Methods of Manufacturing Same |
| US7892610B2 (en) * | 2007-05-07 | 2011-02-22 | Nanosys, Inc. | Method and system for printing aligned nanowires and other electrical devices |
| US7767272B2 (en) * | 2007-05-25 | 2010-08-03 | Imra America, Inc. | Method of producing compound nanorods and thin films |
| US9061913B2 (en) * | 2007-06-15 | 2015-06-23 | Nanocomp Technologies, Inc. | Injector apparatus and methods for production of nanostructures |
| WO2009029341A2 (en) * | 2007-07-09 | 2009-03-05 | Nanocomp Technologies, Inc. | Chemically-assisted alignment of nanotubes within extensible structures |
| WO2009048672A2 (en) * | 2007-07-25 | 2009-04-16 | Nanocomp Technologies, Inc. | Systems and methods for controlling chirality of nanotubes |
| WO2009021069A1 (en) * | 2007-08-07 | 2009-02-12 | Nanocomp Technologies, Inc. | Electrically and thermally non-metallic conductive nanostructure-based adapters |
| AU2008286842A1 (en) * | 2007-08-14 | 2009-02-19 | Nanocomp Technologies, Inc. | Nanostructured material-based thermoelectric generators |
| CN100581988C (zh) * | 2007-09-03 | 2010-01-20 | 中国科学院理化技术研究所 | 热蒸发稳定制备一维纳米结构材料的装置和方法 |
| US20100260745A1 (en) * | 2007-10-01 | 2010-10-14 | University Of Southern California | Methods of using and constructing nanosensor platforms |
| US8319002B2 (en) * | 2007-12-06 | 2012-11-27 | Nanosys, Inc. | Nanostructure-enhanced platelet binding and hemostatic structures |
| JP5519524B2 (ja) * | 2007-12-06 | 2014-06-11 | ナノシス・インク. | 吸収性ナノ強化止血構造体及び包帯材料 |
| ES2764964T3 (es) | 2008-04-30 | 2020-06-05 | Nanosys Inc | Superficies resistentes al ensuciamiento para esferas reflectivas |
| JP5968621B2 (ja) * | 2008-05-07 | 2016-08-10 | ナノコンプ テクノロジーズ インコーポレイテッド | ナノ構造体ベースの加熱装置およびその使用方法 |
| US8178784B1 (en) | 2008-07-20 | 2012-05-15 | Charles Wesley Blackledge | Small pins and microscopic applications thereof |
| JP5029542B2 (ja) * | 2008-09-02 | 2012-09-19 | ソニー株式会社 | 一次元ナノ構造体の製造方法及びその装置 |
| CN102216203B (zh) * | 2008-09-22 | 2014-08-13 | 韩国科学技术院 | 单晶金属纳米盘的制备方法 |
| US9006133B2 (en) | 2008-10-24 | 2015-04-14 | Oned Material Llc | Electrochemical catalysts for fuel cells |
| US20100204062A1 (en) * | 2008-11-07 | 2010-08-12 | University Of Southern California | Calibration methods for multiplexed sensor arrays |
| US8540889B1 (en) | 2008-11-19 | 2013-09-24 | Nanosys, Inc. | Methods of generating liquidphobic surfaces |
| US20100256344A1 (en) * | 2009-04-03 | 2010-10-07 | University Of Southern California | Surface modification of nanosensor platforms to increase sensitivity and reproducibility |
| WO2010115178A1 (en) * | 2009-04-03 | 2010-10-07 | Board Of Trustees Of The University Of Arkansas | Superhydrophobic surface and method of forming same |
| JP5686988B2 (ja) * | 2009-05-04 | 2015-03-18 | シャープ株式会社 | 燃料電池用膜電極複合体に用いられる触媒層、それを用いる燃料電池用膜電極複合体、燃料電池、およびその製造方法 |
| ES2867474T3 (es) | 2009-05-19 | 2021-10-20 | Oned Mat Inc | Materiales nanoestructurados para aplicaciones de batería |
| JP2012528020A (ja) | 2009-05-26 | 2012-11-12 | ナノシス・インク. | ナノワイヤおよび他のデバイスの電場沈着のための方法およびシステム |
| US8623288B1 (en) | 2009-06-29 | 2014-01-07 | Nanosys, Inc. | Apparatus and methods for high density nanowire growth |
| WO2011038228A1 (en) | 2009-09-24 | 2011-03-31 | President And Fellows Of Harvard College | Bent nanowires and related probing of species |
| US8685549B2 (en) * | 2010-08-04 | 2014-04-01 | Ut-Battelle, Llc | Nanocomposites for ultra high density information storage, devices including the same, and methods of making the same |
| US10243207B2 (en) | 2011-07-26 | 2019-03-26 | Oned Material Llc | Nanostructured battery active materials and methods of producing same |
| KR101348726B1 (ko) * | 2011-09-28 | 2014-01-08 | 인하대학교 산학협력단 | 무촉매 열증착법을 이용한 바늘 형상의 산화중석 나노구조체의 제조방법 및 이에 따라 제조되는 바늘 형상의 산화중석 나노구조체 |
| US8690964B2 (en) * | 2011-10-11 | 2014-04-08 | The Sweet Living Group, LLC | Fabric having ultraviolet radiation protection |
| KR101491113B1 (ko) * | 2012-08-31 | 2015-02-10 | 김기호 | 고품위 나노 로드 성장이 가능한 열 화학 기상 증착 장치 |
| ES2943257T3 (es) | 2013-06-17 | 2023-06-12 | Nanocomp Technologies Inc | Agentes exfoliantes-dispersantes para nanotubos, haces y fibras |
| US10023795B2 (en) * | 2015-01-21 | 2018-07-17 | Arizona Board Of Regents On Behalf Of Arizona State University | Ceramic composite systems and method |
| EP3253709A4 (en) | 2015-02-03 | 2018-10-31 | Nanocomp Technologies, Inc. | Carbon nanotube structures and methods for production thereof |
| PL3778471T3 (pl) | 2016-07-15 | 2022-06-13 | Oned Material, Inc. | Sposób wytwarzania nanodrutów krzemowych na proszkach węglowych do stosowania w bateriach |
| US10581082B2 (en) | 2016-11-15 | 2020-03-03 | Nanocomp Technologies, Inc. | Systems and methods for making structures defined by CNT pulp networks |
| US11279836B2 (en) | 2017-01-09 | 2022-03-22 | Nanocomp Technologies, Inc. | Intumescent nanostructured materials and methods of manufacturing same |
| US10543231B2 (en) | 2017-05-19 | 2020-01-28 | Mayo Foundation For Medical Education And Research | Methods and materials for treating cancer |
| KR102044742B1 (ko) * | 2018-08-06 | 2019-11-15 | 한국기계연구원 | 금속 산화물 나노로드 및 이의 제조방법 |
| WO2020117369A2 (en) | 2018-10-14 | 2020-06-11 | Metal Oxide Technologies, Llc. | Superconductor flux pinning without columnar defects |
| CN109277580B (zh) * | 2018-11-13 | 2020-04-07 | 北京科技大学 | 一种制备Cr-Mn复合纳米线的方法 |
| CN110112060A (zh) * | 2019-05-20 | 2019-08-09 | 山东大学 | 一种利用气固固生长模式控制高性能ⅲ-ⅴ族半导体纳米线生长方向的方法 |
| CN117263231B (zh) * | 2023-09-15 | 2025-12-12 | 电子科技大学长三角研究院(湖州) | 一种氧化铟纳米棒、制备方法及其在甲醛气体检测中的应用 |
Citations (3)
| Publication number | Priority date | Publication date | Assignee | Title |
|---|---|---|---|---|
| JPS61117200A (ja) * | 1984-11-13 | 1986-06-04 | Alps Electric Co Ltd | 酸化テルルウイスカ−およびその製造方法 |
| JPS61136998A (ja) * | 1984-12-06 | 1986-06-24 | Alps Electric Co Ltd | 酸化ゲルマニウムウイスカ−およびその製法 |
| JPS62123100A (ja) * | 1985-11-22 | 1987-06-04 | Alps Electric Co Ltd | 酸化レニウムウイスカ−およびその製造方法 |
Family Cites Families (14)
| Publication number | Priority date | Publication date | Assignee | Title |
|---|---|---|---|---|
| US3361681A (en) * | 1964-06-12 | 1968-01-02 | Goodyear Tire & Rubber | Titanium tetraiodide suspensions |
| US3668062A (en) * | 1969-09-08 | 1972-06-06 | Gen Technologies Corp | Three-dimensional crystal whiskers and method for preparation thereof |
| US3711599A (en) * | 1970-04-13 | 1973-01-16 | Dow Chemical Co | Method of preparing fibrous magnesium oxide |
| US3674455A (en) * | 1970-07-31 | 1972-07-04 | Us Air Force | Process for the synthesis of glass and single crystal germanates of identical composition |
| US3951677A (en) * | 1970-09-04 | 1976-04-20 | Howard Wayne Jacobson | Mullite fibrils |
| FR2500653A1 (fr) * | 1981-02-26 | 1982-08-27 | Commissariat Energie Atomique | Dispositif de reglage du debit d'un fluide |
| JPS61122198A (ja) * | 1984-11-15 | 1986-06-10 | Alps Electric Co Ltd | 酸化アンチモンウイスカ−の製造方法および製造装置 |
| US4778716A (en) * | 1987-03-26 | 1988-10-18 | Basf Corporation | Method of increasing the toughness of fiber-reinforced composites without loss of modulus |
| DE68924646T2 (de) * | 1988-12-16 | 1996-06-13 | Matsushita Electric Ind Co Ltd | Verfahren zur herstellung von zinkoxid-whiskern. |
| US5336558A (en) * | 1991-06-24 | 1994-08-09 | Minnesota Mining And Manufacturing Company | Composite article comprising oriented microstructures |
| EP0530440A1 (en) * | 1991-09-02 | 1993-03-10 | International Software Corp. | Copper oxide whiskers and process for producing the same |
| JP2697474B2 (ja) * | 1992-04-30 | 1998-01-14 | 松下電器産業株式会社 | 微細構造の製造方法 |
| US5441726A (en) * | 1993-04-28 | 1995-08-15 | Sunsmart, Inc. | Topical ultra-violet radiation protectants |
| EP0667607B9 (en) * | 1993-12-30 | 2002-10-16 | Sakai Chemical Industry Co., Ltd., | Fine acicular alpha-ferric oxide and production thereof |
-
1997
- 1997-01-22 US US08/790,824 patent/US6036774A/en not_active Expired - Lifetime
- 1997-02-21 JP JP53029397A patent/JP2002502347A/ja not_active Ceased
- 1997-02-21 EP EP97907700A patent/EP0885316B1/en not_active Expired - Lifetime
- 1997-02-21 WO PCT/US1997/002600 patent/WO1997031139A1/en not_active Ceased
- 1997-02-21 AU AU19633/97A patent/AU1963397A/en not_active Abandoned
-
2009
- 2009-10-27 JP JP2009246569A patent/JP5297977B2/ja not_active Expired - Lifetime
Patent Citations (3)
| Publication number | Priority date | Publication date | Assignee | Title |
|---|---|---|---|---|
| JPS61117200A (ja) * | 1984-11-13 | 1986-06-04 | Alps Electric Co Ltd | 酸化テルルウイスカ−およびその製造方法 |
| JPS61136998A (ja) * | 1984-12-06 | 1986-06-24 | Alps Electric Co Ltd | 酸化ゲルマニウムウイスカ−およびその製法 |
| JPS62123100A (ja) * | 1985-11-22 | 1987-06-04 | Alps Electric Co Ltd | 酸化レニウムウイスカ−およびその製造方法 |
Cited By (2)
| Publication number | Priority date | Publication date | Assignee | Title |
|---|---|---|---|---|
| WO2012091303A3 (ko) * | 2010-12-28 | 2012-09-07 | 동국대학교 산학협력단 | 산화아연 나노로드, 금속 수송 증착법을 이용한 산화아연 나노로드 제조 방법 및 장치, 그 산화아연 나노로드를 이용한 전계 발광 디스플레이 나노로드 제조 방법 |
| KR101815790B1 (ko) | 2016-11-03 | 2018-01-05 | 건국대학교 산학협력단 | 꽃 모양의 말단부를 가지는 중공 와이어 및 이의 제조방법 |
Also Published As
| Publication number | Publication date |
|---|---|
| AU1963397A (en) | 1997-09-10 |
| JP2002502347A (ja) | 2002-01-22 |
| WO1997031139A1 (en) | 1997-08-28 |
| US6036774A (en) | 2000-03-14 |
| EP0885316A1 (en) | 1998-12-23 |
| JP5297977B2 (ja) | 2013-09-25 |
| EP0885316A4 (en) | 1999-05-26 |
| EP0885316B1 (en) | 2006-11-15 |
Similar Documents
| Publication | Publication Date | Title |
|---|---|---|
| JP5297977B2 (ja) | 金属酸化物ナノロッドの製造方法 | |
| US5897945A (en) | Metal oxide nanorods | |
| Hu et al. | Growth and optical properties of single-crystal tubular ZnO whiskers | |
| Hsu et al. | Vapor− solid growth of sn nanowires: growth mechanism and superconductivity | |
| Yang et al. | Nanostructured high-temperature superconductors: creation of strong-pinning columnar defects in nanorod/superconductor composites | |
| KR100815000B1 (ko) | 나노도트 플럭스 피닝 센터가 있는 산화물 막 | |
| Hari Babu et al. | Artificial flux pinning centers in large, single-grain (RE)-Ba-Cu-O superconductors | |
| US12144266B1 (en) | Superconductor synthesis method | |
| Wang et al. | Structures of oxide nanobelts and nanowires | |
| Liu et al. | Electrochemical synthesis and room temperature oxidation behavior of Cu nanowires | |
| WO1993017969A1 (en) | Superconductors having continuous ceramic and elemental metal matrices | |
| K Brantov | Perspective methods for producing composite materials based on carbon, silicon and silicon carbide: Progress and challenges | |
| Pokropivny | Nanostructured superconductors: from granular through wire towards high-Tc nanotubular 2D composites | |
| Zeng et al. | Spinel-type ZnSb2O4 nanowires and nanobelts synthesized by an indirect thermal evaporation | |
| KR101726732B1 (ko) | 건식 밀링을 이용한 초전도성 이붕화마그네슘의 제조방법 | |
| Su et al. | Microstructural effects on superconducting properties of sintered YBa2Cu3O7− x wires | |
| JP3174847B2 (ja) | 超電導ウィスカーおよびその製造方法 | |
| KR101308420B1 (ko) | 금속간화합물 또는 합금 코어와 탄소나노튜브 쉘로 구성된 이질나노와이어 및 그 합성방법 | |
| JP3548795B2 (ja) | 3軸配向酸化物超伝導複合体の製造方法 | |
| Yong et al. | Zn-catalytic growth and photoluminescence properties of branched MgO nanostructures | |
| JP4019132B2 (ja) | REーBaーCuーO系酸化物超電導体及びその製造方法 | |
| Cardwell et al. | Improved magnetic flux pinning in bulk (RE) BCO superconductors | |
| Cao et al. | Magnetron sputtering synthesis of large area well-ordered boron nanowire arrays | |
| Wang et al. | Morphological evolution of Ag nano-wires via thermal evaporation. | |
| Wang et al. | Chemical preparation of MgO whiskers |
Legal Events
| Date | Code | Title | Description |
|---|---|---|---|
| A621 | Written request for application examination |
Free format text: JAPANESE INTERMEDIATE CODE: A621 Effective date: 20091106 |
|
| A521 | Request for written amendment filed |
Free format text: JAPANESE INTERMEDIATE CODE: A523 Effective date: 20091110 |
|
| RD04 | Notification of resignation of power of attorney |
Free format text: JAPANESE INTERMEDIATE CODE: A7424 Effective date: 20120123 |
|
| A131 | Notification of reasons for refusal |
Free format text: JAPANESE INTERMEDIATE CODE: A131 Effective date: 20121030 |
|
| A601 | Written request for extension of time |
Free format text: JAPANESE INTERMEDIATE CODE: A601 Effective date: 20130121 |
|
| A602 | Written permission of extension of time |
Free format text: JAPANESE INTERMEDIATE CODE: A602 Effective date: 20130124 |
|
| A521 | Request for written amendment filed |
Free format text: JAPANESE INTERMEDIATE CODE: A523 Effective date: 20130424 |
|
| TRDD | Decision of grant or rejection written | ||
| A01 | Written decision to grant a patent or to grant a registration (utility model) |
Free format text: JAPANESE INTERMEDIATE CODE: A01 Effective date: 20130528 |
|
| A61 | First payment of annual fees (during grant procedure) |
Free format text: JAPANESE INTERMEDIATE CODE: A61 Effective date: 20130617 |
|
| R150 | Certificate of patent or registration of utility model |
Free format text: JAPANESE INTERMEDIATE CODE: R150 |
|
| R250 | Receipt of annual fees |
Free format text: JAPANESE INTERMEDIATE CODE: R250 |
|
| EXPY | Cancellation because of completion of term |
