EP2574857B1 - Indoor unit and air conditioner - Google Patents
Indoor unit and air conditioner Download PDFInfo
- Publication number
- EP2574857B1 EP2574857B1 EP12199412.3A EP12199412A EP2574857B1 EP 2574857 B1 EP2574857 B1 EP 2574857B1 EP 12199412 A EP12199412 A EP 12199412A EP 2574857 B1 EP2574857 B1 EP 2574857B1
- Authority
- EP
- European Patent Office
- Prior art keywords
- unit
- dust
- air filter
- indoor
- air
- Prior art date
- Legal status (The legal status is an assumption and is not a legal conclusion. Google has not performed a legal analysis and makes no representation as to the accuracy of the status listed.)
- Not-in-force
Links
- 239000000428 dust Substances 0.000 claims description 385
- 238000004140 cleaning Methods 0.000 claims description 116
- 239000003507 refrigerant Substances 0.000 claims description 22
- 230000014759 maintenance of location Effects 0.000 description 21
- 125000006850 spacer group Chemical group 0.000 description 15
- 238000000034 method Methods 0.000 description 14
- 238000001816 cooling Methods 0.000 description 11
- 238000010438 heat treatment Methods 0.000 description 11
- 238000012423 maintenance Methods 0.000 description 8
- 238000005192 partition Methods 0.000 description 7
- 238000001514 detection method Methods 0.000 description 5
- 238000003825 pressing Methods 0.000 description 3
- 239000011347 resin Substances 0.000 description 3
- 229920005989 resin Polymers 0.000 description 3
- 229920000122 acrylonitrile butadiene styrene Polymers 0.000 description 2
- 239000000463 material Substances 0.000 description 2
- 229920005177 DuraconĀ® POM Polymers 0.000 description 1
- 241000233866 Fungi Species 0.000 description 1
- 229930182556 Polyacetal Natural products 0.000 description 1
- 238000005299 abrasion Methods 0.000 description 1
- XECAHXYUAAWDEL-UHFFFAOYSA-N acrylonitrile butadiene styrene Chemical compound C=CC=C.C=CC#N.C=CC1=CC=CC=C1 XECAHXYUAAWDEL-UHFFFAOYSA-N 0.000 description 1
- 239000004676 acrylonitrile butadiene styrene Substances 0.000 description 1
- 239000002390 adhesive tape Substances 0.000 description 1
- 230000005540 biological transmission Effects 0.000 description 1
- 230000007423 decrease Effects 0.000 description 1
- 230000003247 decreasing effect Effects 0.000 description 1
- 238000006073 displacement reaction Methods 0.000 description 1
- 230000005484 gravity Effects 0.000 description 1
- 238000004519 manufacturing process Methods 0.000 description 1
- 238000012986 modification Methods 0.000 description 1
- 230000004048 modification Effects 0.000 description 1
- 230000002093 peripheral effect Effects 0.000 description 1
- 229920006324 polyoxymethylene Polymers 0.000 description 1
- 230000001105 regulatory effect Effects 0.000 description 1
Images
Classifications
-
- F—MECHANICAL ENGINEERING; LIGHTING; HEATING; WEAPONS; BLASTING
- F24—HEATING; RANGES; VENTILATING
- F24F—AIR-CONDITIONING; AIR-HUMIDIFICATION; VENTILATION; USE OF AIR CURRENTS FOR SCREENING
- F24F13/00—Details common to, or for air-conditioning, air-humidification, ventilation or use of air currents for screening
- F24F13/28—Arrangement or mounting of filters
-
- F—MECHANICAL ENGINEERING; LIGHTING; HEATING; WEAPONS; BLASTING
- F24—HEATING; RANGES; VENTILATING
- F24F—AIR-CONDITIONING; AIR-HUMIDIFICATION; VENTILATION; USE OF AIR CURRENTS FOR SCREENING
- F24F1/00—Room units for air-conditioning, e.g. separate or self-contained units or units receiving primary air from a central station
- F24F1/0007—Indoor units, e.g. fan coil units
- F24F1/0071—Indoor units, e.g. fan coil units with means for purifying supplied air
- F24F1/0073—Indoor units, e.g. fan coil units with means for purifying supplied air characterised by the mounting or arrangement of filters
-
- F—MECHANICAL ENGINEERING; LIGHTING; HEATING; WEAPONS; BLASTING
- F24—HEATING; RANGES; VENTILATING
- F24F—AIR-CONDITIONING; AIR-HUMIDIFICATION; VENTILATION; USE OF AIR CURRENTS FOR SCREENING
- F24F1/00—Room units for air-conditioning, e.g. separate or self-contained units or units receiving primary air from a central station
- F24F1/0007—Indoor units, e.g. fan coil units
- F24F1/0043—Indoor units, e.g. fan coil units characterised by mounting arrangements
- F24F1/0047—Indoor units, e.g. fan coil units characterised by mounting arrangements mounted in the ceiling or at the ceiling
-
- F—MECHANICAL ENGINEERING; LIGHTING; HEATING; WEAPONS; BLASTING
- F24—HEATING; RANGES; VENTILATING
- F24F—AIR-CONDITIONING; AIR-HUMIDIFICATION; VENTILATION; USE OF AIR CURRENTS FOR SCREENING
- F24F1/00—Room units for air-conditioning, e.g. separate or self-contained units or units receiving primary air from a central station
- F24F1/0007—Indoor units, e.g. fan coil units
- F24F1/0059—Indoor units, e.g. fan coil units characterised by heat exchangers
- F24F1/0063—Indoor units, e.g. fan coil units characterised by heat exchangers by the mounting or arrangement of the heat exchangers
-
- F—MECHANICAL ENGINEERING; LIGHTING; HEATING; WEAPONS; BLASTING
- F24—HEATING; RANGES; VENTILATING
- F24F—AIR-CONDITIONING; AIR-HUMIDIFICATION; VENTILATION; USE OF AIR CURRENTS FOR SCREENING
- F24F8/00—Treatment, e.g. purification, of air supplied to human living or working spaces otherwise than by heating, cooling, humidifying or drying
- F24F8/10—Treatment, e.g. purification, of air supplied to human living or working spaces otherwise than by heating, cooling, humidifying or drying by separation, e.g. by filtering
-
- F—MECHANICAL ENGINEERING; LIGHTING; HEATING; WEAPONS; BLASTING
- F24—HEATING; RANGES; VENTILATING
- F24F—AIR-CONDITIONING; AIR-HUMIDIFICATION; VENTILATION; USE OF AIR CURRENTS FOR SCREENING
- F24F8/00—Treatment, e.g. purification, of air supplied to human living or working spaces otherwise than by heating, cooling, humidifying or drying
- F24F8/10—Treatment, e.g. purification, of air supplied to human living or working spaces otherwise than by heating, cooling, humidifying or drying by separation, e.g. by filtering
- F24F8/108—Treatment, e.g. purification, of air supplied to human living or working spaces otherwise than by heating, cooling, humidifying or drying by separation, e.g. by filtering using dry filter elements
-
- F—MECHANICAL ENGINEERING; LIGHTING; HEATING; WEAPONS; BLASTING
- F24—HEATING; RANGES; VENTILATING
- F24F—AIR-CONDITIONING; AIR-HUMIDIFICATION; VENTILATION; USE OF AIR CURRENTS FOR SCREENING
- F24F8/00—Treatment, e.g. purification, of air supplied to human living or working spaces otherwise than by heating, cooling, humidifying or drying
- F24F8/90—Cleaning of purification apparatus
Definitions
- the present invention relates to an indoor unit and an air conditioner.
- a known indoor unit of an air conditioner takes in indoor air, regulates the temperature of the air taken in, and sends out the temperature-regulated air into the room again.
- an air filter configured to collect dust is provided at the air inlet of the indoor unit.
- an indoor unit is installed at an overhead location, making cleaning of the air filter difficult.
- cleaning of the air filter is especially difficult since the indoor unit is installed close to the ceiling.
- Japanese Patent No. 3297422 discloses a wire structure configured to hang an air inlet grill including an air filter from a ceiling-embedded air conditioner and a motor configured to wind the wire up and down.
- the air filter of the air conditioner disposed at an overhead location can be cleaned by lowering only the air inlet grill including the air filter.
- a further indoor unit is known from JP H11226331 A .
- the present invention provide an indoor unit and an air conditioner capable of reducing the work load required for carrying out maintenance on an air filter.
- the present invention provide the following solution.
- Fig. 1 illustrates the overall structure of the air conditioner according to this embodiment.
- an air conditioner 1 includes an indoor unit 3 disposed on a ceiling, an outdoor unit 5 disposed outdoors, and a refrigerant channel 7 configured to circulate a refrigerant between the indoor unit 3 and the outdoor unit 5.
- the outdoor unit 5, as illustrated in Fig. 1 includes a compressor 9 configured to compress the refrigerant, an outdoor heat-exchanger 11 configured to exchange heat between the refrigerant and the outside air, and an outdoor fan 13.
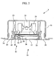
- Fig. 2 is a cross-sectional view illustrating the overall structure of the indoor unit 3 shown in Fig. 1 .
- the indoor unit 3 includes a top panel 14 in the lower area; a chassis 15 embedded in the ceiling; an air inlet grill (panel) 19 provided on an air inlet section 16 of the top panel 14 and having an air inlet 17 configured to take in indoor air; an indoor fan 21 configured to take in and send out indoor air; and an indoor heat-exchanger 23 configured to carry out heat exchange between the indoor air and a refrigerant.
- a fan motor 25 configured to drive the indoor fan 21 is disposed.
- the indoor heat-exchanger 23 is disposed.
- a bellmouth 27 configured to adjust the flow of the indoor air flowing in from the indoor fan 21 is disposed.
- the air inlet grill 19 is disposed.
- air outlets 29 configured to let indoor air that has entered the indoor fan 21 and has passed through the indoor heat-exchanger 23 flow out from the chassis 15 are provided.
- Fig. 3 is a partial perspective view illustrating the structure of the air inlet grill 19 of the indoor unit 3 illustrated in Fig. 2 .
- the air inlet 17 is provided at substantially the central area of the air inlet grill 19.
- a pair of support members 33 supporting an air filter 31 configured to collect dust and guide rails, described below, is provided.
- a brush unit (dust-removing unit) 35 configured to remove dust attached to the air filter 31 and a dust box (collecting unit) 37 configured to cover the brush unit 35 from below are disposed.
- a brush unit (dust-removing unit) 35 configured to remove dust attached to the air filter 31
- a dust box (collecting unit) 37 configured to cover the brush unit 35 from below are disposed.
- guide rails 39 configured to limit the movement of the brush unit 35 and the dust box 37 are disposed in a manner such that the guide rails 39 are engaged with the dust box 37 and connect the pair of support members 33.
- Fig. 4 is a partial top view illustrating the structure of a driving unit configured to drive the dust box 37 shown in Fig. 2 .
- the driving unit 41 configured to drive the brush unit 35 and the dust box 37 is disposed between the air inlet grill 19 and the air outlets 29 of the chassis 15.
- the driving unit 41 includes a split nut 43 configured to drive the dust box 37, a driving screw 45 engaged with the split nut 43, and a driving motor 47 configured to rotationally drive the driving screw 45 in the clockwise and counterclockwise directions.
- the driving unit 41 is disposed so that it does not overlap with the air filter 31 when viewed from the top (refer to Fig. 4 ).
- the driving screw 45 is disposed substantially parallel to the guide rails 39.
- the driving motor 47 is connected at one end of the driving screw 45. The other end is rotatably supported by the chassis 15.
- the split nut 43 is embedded in the dust box 37.
- the brush unit 35 includes a brush extending upwards and a body to which the brush is fixed.
- the brush unit 35 is disposed in such a manner that it extends in a direction substantially orthogonal to the guide rails 39. It is desirable to set the length of the brush unit 35 in the longitudinal direction to be substantially the same as the length of the air filter 31 in the same direction.
- Fig. 5 is a cross-sectional view illustrating the engagement of the dust box 37 and the split nut 43 illustrated in Fig. 4 .
- the dust box 37 is disposed so that it is substantially orthogonal to the guide rails 39, in the same manner as the brush unit 35. As shown in Fig. 4 , the dust box 37 is long enough to cover the area extending from where the driving unit 41 is provided to the area where the air filter 31 is provided.
- the dust box 37 is tapered so that its side walls are disposed further away from each other toward their upper sides where they are engaged with the split nut 43.
- the side walls of the split nut 43 may be formed so that they are provided parallel to the side walls of the dust box 37 or they may be formed so that the split nut 43 has a cross-section with a width small enough to be fitted inside the dust box 37.
- Fig. 6 is a perspective view of a detecting unit configured to detect the amount of dust collected in the dust box 37 illustrated in Fig. 3 .
- Fig. 7 is a cross-sectional view of the detecting unit illustrated in Fig. 6 .
- a partition 49 that is movable in the longitudinal direction of the dust box 37 and a detecting unit 51 configured to detect the amount of collected dust on the basis of the displacement of the partition 49 are disposed inside the dust box 37.
- the inside of the dust box 37 is separated by the partition 49 into an area where the dust is collected and an area where the detecting unit 51 is disposed.
- the partition 49 is urged by an urging member 53, such as a spring, toward the area where the dust is collected and moves toward the area where the detecting unit 51 is disposed as dust is collected in the dust box 37.
- a linking unit 55 that protrudes upward and moves further upwards as the partition 49 moves toward the detecting unit 51 is disposed. By detecting the protrusion of the linking unit 55, the amount of collected dust can be detected.
- the detecting unit 51 When the detecting unit 51 detects that a predetermined amount of dust is collected in the dust box 37, this will be notified by an appropriate notifying unit provided on, for example, the indoor unit 3, a remote controller (not shown in the drawings), and/or a central controller.
- an appropriate notifying unit provided on, for example, the indoor unit 3, a remote controller (not shown in the drawings), and/or a central controller.
- raising units 57 configured to raise and lower the air inlet grill 19
- the brush unit 35 disposed on the air inlet grill 19 the dust box 37, and the air filter 31 are provided.
- Each of the raising units 57 includes a lifting motor 59 disposed on the chassis 15, pulleys 61 disposed on the air inlet grill 19, and a wire 63 passing through the pulleys 61 and whose ends are fixed to the lifting motor 59 and the chassis 15.
- a sprawl 65 configured to wind and unwind the wire 63 is disposed on the lifting motor 59.
- the pulleys 61 movably support the wire 63 by rotating.
- One pulley 61 is provided at each of the four corners of the air inlet grill 19.
- the wire 63 is passed through two pulleys 61 from the chassis 15, where one end of the wire 63 is fixed, along one side of the air inlet grill 19, and to the sprawl 65, around which the wire is wound.
- the refrigerant is compressed by the compressor 9 and is sent toward the outdoor heat-exchanger 11 at high temperature and pressure.
- the refrigerant radiates heat to the outdoor air, condenses, and liquefies.
- the liquefied refrigerant is depressurized as it passes through an expansion valve and flows into the indoor heat-exchanger 23.
- the refrigerant draws heat from the indoor air and vaporizes.
- the vaporized refrigerant flows into the compressor 9 again and repeats the above-described cycle.
- the refrigerant is compressed by the compressor 9 and is sent to the indoor heat-exchanger 23.
- the refrigerant radiates heat to the indoor air, condenses, and liquefies.
- the liquefied refrigerant is depressurized as it passes through the expansion valve and flows into the outdoor heat-exchanger 11.
- the refrigerant draws heat from the outdoor heat-exchanger 11 and vaporizes.
- the vaporized refrigerant flows into the compressor 9 again and repeats the above-described cycle.
- the indoor air flows from the air inlet 17 into the chassis 15 as the indoor fan 21 is rotated by the fan motor 25.
- the indoor air flowing into the chassis 15 passes through the air filter 31, and the dust included in this indoor air is collected at the air filter 31.
- the indoor air that passes through the air filter 31 passes through the bellmouth 27 and is taken in by the indoor fan 21.
- the indoor air taken in by the indoor fan 21 is sent outwards in the radial direction of the indoor fan 21 and passes through the indoor heat-exchanger 23.
- a cooling mode the indoor air is cooled when it passes through the indoor heat-exchanger 23, and its heat is absorbed by the refrigerant.
- a heating mode the indoor air is heated when it passes through the indoor heat-exchanger 23 and receives heat from the refrigerant.
- the indoor air that passes through the indoor heat-exchanger 23 flows out from the air outlets 29 into the room.
- the driving screw 45 is rotationally driven by the driving motor 47.
- the rotation of the driving screw 45 is converted into a reciprocating movement by the split nut 43.
- the reciprocating movement of the split nut 43 is transmitted to the dust box 37 that is engaged with the split nut 43. Since the brush unit 35 reciprocates together with the dust box 37, dust attached to the air filter 31 is scraped off and collected in the dust box 37.
- the dust removal as described above, can be suitably carried out by driving the driving motor 47 by detecting clogging of the air filter 31, the total operating time of the indoor unit 3, and/or shut-off of the indoor unit 3.
- the dust collected in the dust box 37 causes the partition 49 to move toward the detecting unit 51.
- the linking unit 55 upon receiving the movement of the partition 49, protrudes upward by a predetermined amount.
- the detecting unit 51 detects the amount of dust collected by detecting the protrusion of the linking unit 55 and, when a predetermined amount of dust is collected, notifies this in a predetermined manner, as described above.
- the dust in the dust box 37 is removed.
- the rotation of the lifting motors 59 is controlled by operating a remote controller, and the wires 63 wound around the sprawls 65 are let out.
- the pulleys 61 turn and the air inlet grill 19 is lowered from the chassis 15 while maintaining a substantially horizontal orientation.
- the air filter 31, the brush unit 35, and the dust box 37 disposed on the air inlet grill 19 are lowered together with the air inlet grill 19.
- the operator can remove the dust from the dust box 37. If necessary, any dust remaining on the air filter 31 can be directly removed.
- the wires 63 are wound around the sprawls 65 by driving the lifting motors 59. As the wires 63 are wound up, the air inlet grill 19 moves upward while maintaining a substantially horizontal orientation and is finally stored inside the chassis 15.
- the side surfaces of the dust box 37 are inclined away from each other so that they are furthest apart at the upper edge of the dust box 37. Therefore, the dust box 37 and the split nut 43 are engaged by adjusting their relative positions against the inclined surfaces.
- dust attached to the air filter 31 can be removed by the brush unit 35. Therefore, when cleaning the air filter 31, the air filter 31 does not have to be removed from the chassis 15. In this way, the operator does not have to climb up high, and less effort is required for carrying out maintenance of the air filter 31.
- the dust removed by the brush unit 35 is collected in the dust box 37.
- the raising units 57 allow the chassis 15 to be lowered together with the dust box 37. Therefore, the operator does not have to climb up high to remove the dust box 37, which holds the dust, from the chassis 15. In this way, less effort is required for carrying out maintenance of the air filter 31.
- the dust box 37 Since the removed dust can be collected in the dust box 37, the dust box 37 does not have to be removed each time the air filter 31 is cleaned. In other words, removal of the dust from the dust box 37 only has to be carried out every several times that cleaning of the air filter 31 is carried out. In this way, less effort is required for carrying out maintenance of the air filter 31.
- the brush unit 35 and the air filter 31 can be moved relative to each other by the driving unit 41 to remove dust attached to the air filter 31.
- the driving motor 47 and other components are disposed on the chassis 15, the load applied to the raising units 57 when lifting and lowering the dust box 37 can be reduced.
- the air filter 31 is supported so that it can be raised to or lowered from the chassis 15 by the raising units 57, the operator can directly and easily clean the air filter 31. Moreover, the operator can clean areas in the air filter 31 where the brush unit 35 cannot reach.
- one driving unit 41 maybe disposed on one side on the frame of the air inlet grill 19, or a pair of driving units may be disposed on opposing sides on the frame of the air inlet grill 19.
- the number and position of the driving unit 41 are not limited.
- the basic structure of an air conditioner according to this embodiment is the same as that according to the first embodiment. However, the structures of the brush unit and the dust box differ from those according to the first embodiment. In this embodiment, the structure of the brush unit and the dust box will be described with reference to Figs. 8 and 9 , and descriptions of the other structures will be omitted.
- Figs. 8A to 8D illustrate the structures of a brush unit and a dust box in an indoor unit according to this embodiment.
- a brush unit (dust-removing unit) 135 configured to remove dust attached to the air filter 31 and a dust box (collecting unit) 137 configured to cover the brush unit 135 from below are provided.
- the brush unit 135 includes a brush extending in the vertical direction and a body to which the brush is fixed.
- the dust box 137 is tapered, in at least the area engaged with a split nut 43, so that the inner side walls of the dust box 137 are disposed further away from each other toward the upper side of the side walls.
- the structure is not limited to this, however; the entire area of the side walls may be tapered in a manner similar to the first embodiment.
- the operation of the air conditioner 101 in a cooling mode and a heating mode and the indoor air flow inside the indoor unit 103 are the same as those according to the first embodiment, and, therefore, descriptions thereof are not repeated here.
- the driving screw 45 When dust attaches to the air filter 31, as shown in Fig. 8A , the driving screw 45 is rotationally driven by the driving motor 47. The rotation of the driving screw 45 is converted into a movement of the split nut 43 in a direction along the driving screw 45. The movement of the split nut 43 is transmitted to the dust box 137 engaged with the split nut 43, and the dust box 137 moves together with the brush unit 135. By moving in this way, the brush unit 135 scrapes off the dust attached to the air filter 31. The scraped off dust is collected in the dust box 137.
- the brush unit 135 and the dust box 137 move to an area at the end of the driving screw 45 where the air filter 31 is not disposed.
- the brush unit 135 that has moved to the edge is rotated by substantially 180° so that the dust is pushed downward into the dust box 137.
- the detecting unit 51 detects the amount of dust collected in the dust box 137.
- the brush unit 135 and the dust box 137 are driven to the opposite side (i.e., the side where the driving motor 47 is disposed), as shown in Fig. 8D . More specifically, by reversing the rotational direction of the driving motor 47 and the driving screw 45 so that the split nut 43 moves toward the driving motor 47, the brush unit 135 and the dust box 137 are moved in the opposite direction.
- Fig. 9 illustrates the removal of dust in the dust box 137 illustrated in Fig. 8 .
- the dust in the dust box 137 is removed. More specifically, as shown in Fig. 9 , the brush unit 135 and the dust box 137 are lowered together with the air filter 31 by raising units 57 in the same manner as in the first embodiment. The description of this lowering operation is not repeated.
- the dust by rotating the brush unit 135 by half a revolution, the dust can be pushed downward into the dust box 137. In this way, the dust can be prevented from falling out of the dust box 137 and into the room.
- the basic structure of an air conditioner according to this embodiment is the same as that according to the first embodiment. Only the engagement structure of the dust box and the driving unit differs from the first embodiment. Therefore, in this embodiment, the engagement structure of the dust box and the driving unit will be described with reference to Fig. 10 , and descriptions of the other structures will not be repeated.
- Fig. 10 illustrates the engagement structure of a dust box and a driving unit in an indoor unit according to this embodiment.
- An indoor unit 153 of an air conditioner 151 includes a dust box (collecting unit) 187 accommodating a brush unit (not shown in the drawing) configured to remove dust attached to the air filter 31 and a driving unit 191 configured to drive the dust box 187 along the air filter 31, as shown in Fig. 10 .
- the dust box 187 has a protrusion 189 protruding upward in at least the area where the driving unit 191 is engaged with the dust box 187.
- the protrusion 189 has inclined surfaces that come closer to each other toward the top.
- the driving unit 191 includes a split nut 193 configured to drive the dust box 187, a driving screw 45 engaged with the split nut 193, and a driving motor 47 configured to rotationally drive the driving screw 45.
- the split nut 193 has a depression 195 that is engaged with the protrusion 189 of the dust box 187.
- the depression 195 is formed so that it matches the shape of the protrusion 189.
- the operation of the air conditioner 151 in a cooling mode and a heating mode and the indoor air flow inside the indoor unit 153 are the same as those according to the first embodiment, and, therefore, descriptions thereof are not repeated here.
- the driving screw 45 When dust attaches to the air filter 31, as shown in Fig. 10 , the driving screw 45 is rotationally driven by the driving motor 47. The rotation of the driving screw 45 is converted into a movement of the split nut 193 in the direction along the driving screw 45. The movement of the split nut 193 is transmitted to the dust box 187 through the engagement of the protrusion 189 and the depression 195. The dust box 187 moves together with the brush unit to scrape off dust attached to the air filter 31. The scraped off dust is collected in the dust box 187.
- the dust inside the dust box 187 is removed.
- the dust box 187 and the split nut 193 are disengaged and the driving unit 191 is left inside the indoor unit 153.
- the dust box 187 and the split nut 193 of the driving unit 191 are engaged by the protrusion 189 and the depression 195. Therefore, by lifting and lowering the dust box 187, the dust box 187 and the driving unit 191 can be easily engaged and disengaged.
- the driving unit 191 remains inside the indoor unit 153 when the dust box 187 is lowered or raised, the load applied to the raising units 57 when lifting and lowering the dust box 187 can be reduced.
- the basic structure of an air conditioner according to this embodiment is the same as that according to the first embodiment. Only the engagement structure of the dust box and the driving unit differs from the first embodiment. Therefore, in this embodiment, the engagement structure of the dust box and the driving unit will be described with reference to Fig. 11 , and descriptions of the other structures will not be repeated.
- Fig. 11 illustrates the engagement structure of a dust box and a driving unit in an indoor unit according to this embodiment.
- an indoor unit 203 of an air conditioner 201 includes a dust box (collecting unit) 237 accommodating a brush unit (not shown in the drawing) configured to remove dust attached to an air filter 31 and a driving unit 241 configured to drive the dust box 237 along the air filter 31.
- the driving unit 241 includes a driving screw 245 configured to drive the dust box 237 and a driving motor 47 configured to rotationally drive the driving screw 245.
- the driving screw 245 has a thread 247 with spiral protrusions.
- the dust box 237 has a female screw section 239 where the thread 247 of the driving screw 245 is engaged.
- the operation of the air conditioner 201 in a cooling mode and a heating mode and the indoor air flow inside the indoor unit 203 are the same as those according to the first embodiment, and, therefore, descriptions thereof are not repeated here.
- the driving screw 245 When dust attaches to the air filter 31, as shown in Fig. 11 , the driving screw 245 is rotationally driven by the driving motor 47. The rotation of the driving screw 245 is converted into a movement in the direction along the driving screw 245 by the engagement of the thread 247 and the female screw section 239.
- the dust box 237 moves together with the brush unit to scrape off dust attached to the air filter 31. The scraped off dust is collected in the dust box 237.
- the dust inside the dust box 237 is removed.
- the dust box 237 and the driving screw 245 are disengaged, and the driving unit 241 is left inside the indoor unit 203.
- the dust box 237 and the driving screw 245 of the driving unit 241 are engaged by the female screw section 239 and the thread 247. Therefore, by lowering and raising the dust box 237, the dust box 237 and the driving unit 241 can be easily disengaged and engaged.
- the driving unit 241 remains inside the indoor unit 203 when the dust box 237 is lowered or raised, the load applied to the raising units 57 when lifting and lowering the dust box 237 can be reduced.
- the basic structure of an air conditioner according to this embodiment is the same as that according to the first embodiment. Only the structure of the dust box and the driving unit differs from the first embodiment. Therefore, in this embodiment, the structure of the dust box and the driving unit will be described with reference to Fig. 12 , and descriptions of the other structures are not repeated.
- Fig. 12 illustrates the structure of a dust box and a driving unit in an indoor unit according to this embodiment.
- an indoor unit 253 of an air conditioner 251 includes a dust box (collecting unit) 287 accommodating a brush unit (not shown in the drawing) configured to remove dust attached to an air filter 31 and a driving unit 291 configured to drive the dust box 287 along the air filter 31.
- the driving unit 291 includes a rail 293, a moving unit 295 that reciprocates along the rail 293, and a wiring unit 297 that extends from the moving unit 295 to the indoor unit 253.
- One of the ends of the wiring unit 297 is fixed to the moving unit 295, and the other end is attached to the indoor unit 253 by the magnetic force of a magnet 299.
- the entire driving unit 291 is disposed on an air inlet grill 19 and is raised and lowered together with the air inlet grill 19.
- the dust box 287 accommodates the brush unit and the moving unit 295.
- the operation of the air conditioner 251 in a cooling mode and a heating mode and the indoor air flow inside the indoor unit 253 are the same as those according to the first embodiment, and, therefore, descriptions thereof are not repeated here.
- the moving unit 295 moves along the rail 293.
- the dust box 287 moves together with the brush unit so as to scrape off the dust attached to the air filter 31. The scraped off dust is collected in the dust box 287.
- the driving unit 291 disposed on the air inlet grill 19 is also lowered. Since the wiring unit 297 of the driving unit 291 is attached only by the magnetic force of the magnet 299, the wiring unit 297 is easily separated from the indoor unit 253 when pulled.
- the magnetic force of the magnet 299 is applied to the wiring unit 297 to guide the wiring unit 297 to a predetermined connecting part so that the wiring unit 297 is attached to the indoor unit 253.
- the indoor unit 253 and the driving unit 291 are attached by the magnet 299 of the wiring unit 297. Therefore, when the driving unit 291 is lowered and raised, the indoor unit 253 and the driving unit 291 can be easily separated and connected at the magnet of the wiring unit 297.
- the driving unit 291 is lowered and raised together with the dust box 287, the dust box 287 and the driving unit 291 are not misaligned, and the dust box 287 can be reliably driven.
- the basic structure of an air conditioner according to this embodiment is the same as that according to the first embodiment. Only the structure of the detecting unit of the dust box differs from the first embodiment. Therefore, in this embodiment, the structure of the detecting unit of the dust box will be described with reference to Fig. 13 , and descriptions of the other structures are not repeated.
- Fig. 13 illustrates the structure of a detecting unit of a dust box in an indoor unit according to this embodiment.
- an indoor unit 303 of an air conditioner 301 includes a dust box (collecting unit) 337 accommodating a brush unit (not shown in the drawing) configured to remove dust attached to an air filter 31 and a detecting unit 339 configured to detect the amount of dust accumulated in the dust box 337.
- a cover 341 configured to cover part of an opening is disposed, and, on the lower surface of the cover 341, the detecting unit 339 configured to detect the amount of dust is disposed.
- the detecting unit 339 may be a contact sensor configured to detect the amount of dust by contacting the dust.
- the operation of the air conditioner 301 in a cooling mode and a heating mode and the indoor air flow inside the indoor unit 303 are the same as those according to the first embodiment, and, therefore, descriptions thereof are not repeated here.
- the dust box 337 When dust is collected in the dust box 337, the dust accumulates inside the dust box 337. The accumulated dust comes into contact with the detecting unit 339 disposed below the cover 341. The detecting unit 339 outputs a dust-detection signal.
- the operator can remove the dust collected in the dust box 337 on the basis of this dust-detection signal.
- the detecting unit 339 by disposing the detecting unit 339 below the cover 341 of the dust box 337, the detecting unit 339 can directly detect the amount of dust collected in the dust box 337. Therefore, the amount of dust in the dust box 337 can be reliably detected.
- the basic structure of an air conditioner according to this embodiment is the same as that according to the first embodiment. Only the structure of the detecting unit of the dust box differs from the first embodiment. Therefore, in this embodiment, the structure of the detecting unit of the dust box will be described with reference to Fig. 14 , and descriptions of the other structures are not repeated.
- Fig. 14 illustrates the structure of a detecting unit of a dust box in an indoor unit according to this embodiment.
- an indoor unit 353 of an air conditioner 351 includes a dust box (collecting unit) 387 accommodating a brush unit (not shown in the drawing) configured to remove dust attached to an air filter 31 and a detecting unit 389 configured to detect the amount of dust accumulated in the dust box 387.
- bellow-like folded sections 391 and support members 393 holding the folded sections 391 in contracted positions are provided.
- the support members 393 may be strips of adhesive tape.
- the detecting unit 389 is disposed below the dust box 387 with a predetermined gap provided between the detecting unit 389 and the dust box 387.
- the detecting unit 389 is capable of detecting the lowering of the bottom surface of the dust box 387.
- the detecting unit 389 may be a contact sensor capable of detecting the button surface of the dust box 387 by contact.
- the air conditioner 351 having the above-described structure will be described below.
- the operation of the air conditioner 351 in a cooling mode and a heating mode and the indoor air flow inside the indoor unit 353 are the same as those according to the first embodiment, and, therefore, descriptions thereof are not repeated here.
- the bottom surface of the dust box 387 is pushed downward.
- the support members 393 detach and the folded sections 391 extend, causing the bottom surface of the dust box 387 to be lowered.
- the bottom surface of the dust box 387 When the bottom surface of the dust box 387 is lowered, the bottom surface contacts the detecting unit 389, and the detecting unit 389 outputs a detection signal.
- the operator can remove the dust collected in the dust box 387 on the basis of this detection signal.
- the detecting unit 389 detects the bottom surface of the dust box 387 that is lowered by the dust collected in the dust box 387, the amount of dust can be detected reliably compared to when the dust is directly detected.
- the basic structure of an air conditioner according to this embodiment is the same as that according to the first embodiment. Only the structures of the air inlet grill, the dust box, and its vicinity differ from the first embodiment. Therefore, in this embodiment, the structures of the air inlet grill, the dust box, and its vicinity will be described with reference to Figs. 15 to 18 , and descriptions of the other structures are not repeated.
- Fig. 15 illustrates the structure of an indoor unit according to this embodiment.
- an indoor unit 403 of an air conditioner 401 includes a top panel 14 in the lower area, a chassis 15 embedded in the ceiling, an air filter 431 provided on an air inlet section 16 of the top panel 14 so as to take in indoor air, an indoor fan 21 configured to take in and send out indoor air, and an indoor heat-exchanger 23 configured to carry out heat exchange between the indoor air and a refrigerant.
- a fan motor 25 configured to drive the indoor fan 21 is disposed.
- the indoor heat-exchanger 23 is disposed around the indoor fan 21 and the fan motor 25.
- a bellmouth 27 configured to adjust the flow of the indoor air to the indoor fan 21 is disposed.
- the air filter 431 is disposed.
- air outlets 29 configured to let indoor air that has entered the indoor fan 21 and has passed through the indoor heat-exchanger 23 flow out from the chassis 15 are provided.
- Fig. 16 is a partial perspective view illustrating the structure of a raising unit, the air filter 431, and a dust box 437 of the indoor unit 403 illustrated in Fig. 15 .
- the air filter 431 includes a filter surface 433a that catches dust in the indoor air and a frame 433b supporting the filter surface 433a.
- a brush unit 35 configured to remove the dust attached to the filter surface 433a and the dust box (collecting unit) 437 configured to cover the brush unit 35 from below are disposed.
- Fig. 17 is a perspective view illustrating the structures of the dust box 437 and the brush unit 35 illustrated in Fig. 16 .
- the brush unit 35 includes a brush extending upward and a body to which the brush is fixed.
- the dust box 437 is shaped as a box surrounding the brush unit 35. At both ends of the dust box 437, holders 439 that are hooked onto the frame 433b of the air filter 431 are provided. On the upper surface of one of the holders 439, a female screw section 439a that is engaged with a driving screw, described below, is formed.
- raising units 457 configured to raise and lower the air filter 431 and the dust box 437 are provided.
- Each of the raising units 457 includes a lifting motor 59 disposed on the chassis 15, pulleys 61 disposed on the frame 433b of the air filter 431, and a wire 63 that are passed through the pulleys 61 and whose ends are fixed to the lifting motor 59 and the chassis 15.
- a sprawl 65 configured to wind and unwind the wire 63 is disposed on the lifting motor 59.
- the pulleys 61 movably support the wire 63 by rotating.
- One pulley 61 is provided at each of the four corners of the frame 433b.
- Fig. 18 is a partial cross-sectional view illustrating a driving unit of the indoor unit 403 illustrated in Fig. 15 .
- the driving unit 441 configured to drive the brush unit 35 and the dust box 437 is disposed between the air filter 431 and the air outlets 29 of the chassis 15.
- the driving unit 441 includes a driving screw 445 configured to drive the dust box 437 and a driving motor 447 configured to rotationally drive the driving screw 445 in the clockwise or counterclockwise direction.
- the driving screw 445 includes a thread 445a that is engaged with the female screw section 439a, described above.
- the air conditioner 401 having the above-described structure will be described below.
- the operation of the air conditioner 401 in a cooling mode and a heating mode and the indoor air flow inside the indoor unit 403 are the same as those according to the first embodiment, and, therefore, descriptions thereof are not repeated here.
- the driving screw 445 When dust attaches to the air filter 431, as shown in Fig. 18 , the driving screw 445 is rotationally driven by the driving motor 447. The rotation of the driving screw 445 is converted into a movement along the driving screw 445 by the engagement of the thread 445a and the female screw section 439a.
- the dust box 437 moves together with the brush unit 35. By moving in this way, the brush unit 35 scrapes off the dust attached to the air filter 431. The scraped off dust is collected in the dust box 437.
- the dust in the dust box 437 is removed.
- the rotation of the lifting motor 59 is controlled to let out the wire 63 wound around the sprawl 65.
- the pulleys 61 turn and the air filter 431 is lowered from the chassis 15 while maintaining a substantially horizontal orientation.
- the brush unit 35 and the dust box 437 disposed on the air filter 431 are lowered together with the air filter 431.
- the operator can remove the dust from the dust box 437. If necessary, any dust remaining on the air filter 431 can be directly removed.
- the wire 63 is wound around the sprawl 65 by driving the lifting motor 59. As the wire 63 is wound up, the air filter 431 moves upward while maintaining a substantially horizontal orientation and is stored inside the chassis 15.
- the raising units 457 raise and lower only the air filter 431, the dust box 437, and the brush unit 35, the load applied to the raising units 457 can be reduced compared to the structure according to the first embodiment in which the air inlet grill 19 is also raised and lowered (refer to Fig. 4 ).
- the basic structure of an air conditioner according to this embodiment is the same as that according to the first embodiment. Only the structures of the air inlet grill, the dust box, and the vicinity thereof differ from the first embodiment. Therefore, in this embodiment, the structures of the air inlet grill, the dust box, and the vicinity thereof will be described with reference to Figs. 19 and 20 , and descriptions of the other structures are not repeated.
- Fig. 19 illustrates the structure of an indoor unit according to this embodiment.
- an indoor unit 503 of an air conditioner 501 includes a top panel 14 in the lower area, a chassis 15 embedded in the ceiling, an air filter 531 provided on an air inlet section 16 of the top panel 14 so as to take in indoor air, an indoor fan 21 configured to take in and send out indoor air, and an indoor heat-exchanger 23 configured to carry out heat exchange between the indoor air and a refrigerant.
- a fan motor 25 configured to drive the indoor fan 21 is disposed.
- the indoor heat-exchanger 23 is disposed around the indoor fan 21 and the fan motor 25.
- a bellmouth 27 configured to adjust the flow of the indoor air to the indoor fan 21 is disposed.
- the air filter 531 is disposed.
- air outlets 29 configured to let indoor air that has entered the indoor fan 21 and has passed through the indoor heat-exchanger 23 flow out from the chassis 15 are provided.
- Fig. 20 is a partial perspective view illustrating the structure of a raising unit, an air filter 431, and a dust box 537 of the indoor unit 503 illustrated in Fig. 19 .
- the air filter 531 includes a filter surface 433a that catches dust in the indoor air, a frame 533a supporting the filter surface 433a, and a separatable portion 533b that can be separated from the frame 533a.
- a brush unit 35 for remove the dust attached to the filter surface 433a and the dust box 437 configured to cover the brush unit 35 from below are disposed.
- a raising unit 557 configured to raise and lower the dust box 437 is provided.
- the raising unit 557 includes a lifting motor 559 disposed on the chassis 15, pulleys 561 disposed on the separatable portion 533b of the air filter 531, and a wire 563 that is passed through pulleys 561 and whose ends are fixed to the lifting motor 559 and the chassis 15.
- a sprawl 565 configured to wind and unwind the wire 563 is disposed on the lifting motor 559.
- the pulleys 561 movably support the wire 563 by rotating.
- the pulleys 61 are provided at both ends of the separatable portion 533b.
- the air conditioner 501 having the above-described structure will be described below.
- the operation of the air conditioner 501 in a cooling mode and a heating mode and the indoor air flow inside the indoor unit 503 are the same as those according to the first embodiment, and, therefore, descriptions thereof are not repeated here.
- the dust box 437 is moved to the position of the separatable portion 533b of the air filter 531. Then, the rotation of the lifting motor 559 is controlled to let out the wire 563 wound around the sprawl 565. As the wire 563 is let out, the pulleys 561 turn and the separatable portion 533b and the dust box 437 are separated and lowered from the air filter 531 while maintaining a substantially horizontal orientation.
- the wire 563 is wound around the sprawl 565 by driving the lifting motor 559.
- the separatable portion 533b and the dust box 437 move upward while maintaining a substantially horizontal orientation and are connected to the air filter 531.
- the raising units 557 raise and lower only the separatable portion 533b, the dust box 437, and the brush unit 35, the load applied to the raising units 557 can be reduced compared to the structure according to the eighth embodiment in which the air filter 431 is also raised and lowered (refer to Fig. 16 ).
- the indoor unit is embedded in the ceiling.
- the indoor unit is not limited to a ceiling-embedded type indoor unit and may be any other type of indoor unit that is installed on the ceiling, such as a ceiling-suspended indoor unit.
- the air filter is fixed and the brush unit (dust-removing unit) configured to remove the collected dust is moveable.
- the dust-removing unit may be fixed, and the air filter may be moved to remove dust.
- the dust-removing unit is not limited to a brush.
- the basic structure of an air conditioner according to this embodiment is the same as that according to the first embodiment. Only the structure of the air inlet grill and the vicinity thereof differs from the first embodiment. Therefore, in this embodiment, the structure of the air inlet grill and the vicinity thereof will be described with reference to Figs. 21 to 36 , and descriptions of the other structures will be omitted.
- Fig. 21 is a cross-sectional view illustrating the structure of an indoor unit according to this embodiment.
- an indoor unit 603 of an air conditioner 601 includes a top panel 14 in the lower area, a spacer 614, a chassis 15 embedded in the ceiling, an air inlet grill (panel) 19 having an air inlet 17 configured to take in indoor air, an indoor fan 21 configured to take in and send out indoor air, and an indoor heat-exchanger 23 configured to carry out heat exchange between the indoor air and a refrigerant.
- a fan motor 25 configured to drive the indoor fan 21 is disposed.
- the indoor heat-exchanger 23 is disposed around the indoor fan 21 and the fan motor 25.
- a bellmouth 27 configured to adjust the flow of the indoor air to the indoor fan 21 is disposed.
- an air inlet grill 19 is disposed.
- air outlets 29 are provided to let indoor air that has entered the indoor fan 21 and has passed through the indoor heat-exchanger 23 flow out from the chassis 15 are provided.
- Fig. 22 is a partial perspective view illustrating the structures of the air inlet grill 19, the top panel 14, and the spacer 614 illustrated in Fig. 21 .
- the air inlet grill 19 includes an air filter 631 configured to remove dust included in the air taken in and a cleaning unit 633 configured to clean the air filter 631.
- the air filter 631 is provided at substantially the central area of the air inlet grill 19.
- Wires 63 configured to lower and raise the air inlet grill 19 are provided at the four corners of a frame of the air inlet grill 19.
- the spacer 614 having a predetermined thickness is disposed on the top panel 14.
- a driving motor (driving unit) 635 configured to generate a rotational driving force for driving the cleaning unit 633, as described below
- a reciprocating unit 637 configured to convert the rotational driving force into a reciprocative driving force
- an upper transmitting unit (first transmitting unit) 639 that receives the reciprocative driving force are disposed and supported on a frame (chassis) 641 disposed on the top panel 14.
- Fig. 23 is an exploded perspective view of the structures of the spacer 614 and the frame (chassis) 641 disposed on the top panel 14, illustrated in Fig. 22 .
- the spacer 614 is constituted of a rectangular frame body.
- a frame (chassis) 641 holding the driving motor 635 and the reciprocating unit 637 are disposed.
- a through-hole formed in the center of the spacer 614 serves as an air channel for letting air flow into the indoor unit 603.
- Four through-holes formed in the periphery of the spacer 614 serve as air channels for letting air flow out from the indoor unit 603.
- a pair of support members 643 configured to support the driving motor 635 and the reciprocating unit 637 is provided.
- the support members 643 are provided at substantially the center of opposing sides of the frame 641.
- the support members 643 are protruding members that protrude inward from the inner periphery of the frame 641 to support the driving motor 635 and the reciprocating unit 637.
- the driving motor 635 is interposed between the frame 641 and one of the support members 643.
- the reciprocating unit 637 is interposed between the pair of support members 643.
- the support members 643 may be provided on the frame 641 so as to support the driving motor 635 and the reciprocating unit 637.
- the supporting structure is not limited to this configuration, and the driving motor 635 and the reciprocating unit 637 may be directly supported by the frame 641 without providing the support members 643.
- the reciprocating unit 637 includes a driving shaft 645 that is rotationally driven by the driving motor 635, a worm gear 647 that is rotationally driven by the driving shaft 645, and a driving rack gear 649 that is engaged with the worm gear 647.
- the driving shaft 645 is a pillar-like member having a polygonal (e.g., hexagonal) cross-section and is rotatably supported between the pair of support members 643.
- the worm gear 647 is rotationally driven by the driving shaft 645 and is disposed on the driving shaft 645 so that the worm gear 647 is movable along the longitudinal direction of the driving shaft 645. More specifically, a through-hole having the same shape as the cross-section of the driving shaft 645 is formed in the worm gear 647, and the driving shaft 645 is passed through this through-hole. In this way, the rotational driving force of the driving shaft 645 is transmitted to the worm gear 647, and, at the same time, the worm gear 647 is movable along the longitudinal direction of the driving shaft 645.
- cylindrical portions 651 are provided on both ends of the area where threads are provided. The outer peripheral surfaces of the cylindrical portions 651 contact the upper transmitting unit 639, described below, so as to prevent the worm gear 647 from separating from the driving rack gear 649.
- the driving rack gear 649 is engaged with the worm gear 647 so as to generate a driving force for moving the worm gear 647 in a reciprocating manner.
- the driving rack gear 649 is fixed between the pair of support members 643.
- the driving rack gear 649 has a substantially H-shaped cross-section.
- Rack gear threads that engage with the worm gear 647 are provided in the center of the H-shaped cross-section.
- the cross-sectional shape of the driving rack gear 649 may be substantially H-shaped, as mentioned above, or may be any other shape.
- the cross-sectional shape of the driving rack gear 649 is not limited.
- Fig. 24 is a partial cross-sectional view illustrating the structure of the upper transmitting unit 639 illustrated in Fig. 23 .
- the upper transmitting unit 639 includes a driving-force transmitting unit 653 that receives the reciprocative driving force from the worm gear 647, an adjusting unit (disengagement-prevention unit) 655 that holds the driving rack gear 649 against the driving-force transmitting unit 653 (refer to Fig. 24 ), and screws (disengagement-prevention units) 657 configured to join the driving-force transmitting unit 653 and the adjusting unit 655.
- a driving-force transmitting unit 653 that receives the reciprocative driving force from the worm gear 647
- an adjusting unit (disengagement-prevention unit) 655 that holds the driving rack gear 649 against the driving-force transmitting unit 653 (refer to Fig. 24 )
- screws (disengagement-prevention units) 657 configured to join the driving-force transmitting unit 653 and the adjusting unit 655.
- Fig. 25 is a partial perspective view illustrating the engagement of the upper transmitting unit 639 and the worm gear 647.
- the driving-force transmitting unit 653 includes a top plate 659 receiving a reciprocative driving force from the worm gear 647 and side plates 661 that transmit the reciprocative driving force to a lower transmitting unit 675, as described below.
- the top plate 659 includes a rectangular through-hole 663, substantially semicircular contact units (disengagement-prevention units) 665 that are adjacent to the through-hole 663, and a pair of screw holes 667 in which screws 657 are screwed.
- the threads of the worm gear 647 are disposed in the through-hole 663 when the upper transmitting unit 639 and the reciprocating unit 637 are engaged.
- the contact units 665 are disposed in such a manner that they contact the cylindrical portions 651 of the worm gear 647.
- upper engagement parts 669 that are engaged with the lower transmitting unit 675, described below, are provided.
- Each of the upper engagement parts 669 has an upper depression 671 and a pressing plate 673.
- the upper depressions 671 hold the lower transmitting unit 675 against the upper engagement parts 669 and transmit the reciprocative driving force to the lower transmitting unit 675, and the pressing plates 673 extends outward from the side plates 661 and adjust the relative orientation of the upper transmitting unit 639 and the lower transmitting unit 675.
- the adjusting unit 655 is a member folded to form a U-shape.
- the adjusting unit 655 is mounted on the driving-force transmitting unit 653 so that the driving rack gear 649 is disposed inside the depression of the adjusting unit 655.
- the screws 657 are used to mount the adjusting unit 655 on the driving-force transmitting unit 653.
- Fig. 26 is a partial exploded perspective view illustrating the structure of the air filter 631 and the cleaning unit 633 provided on the air inlet grill 19 shown in Fig. 22 .
- the air filter 631 configured to remove dust included in the air taken in
- the cleaning unit 633 configured to clean the air filter 631
- the lower transmitting unit (second transmitting unit) 675 configured to transmit a reciprocating driving force to the cleaning unit 633 are disposed on a base 619 formed of a rectangular frame body.
- the base 619 is disposed on the air inlet grill 19.
- Fig. 27 is a plan view illustrating the structure of the base 619 illustrated in Fig. 26 .
- Fig. 28 is a cross-sectional view of a rotary rack gear 677 taken along line A-A in Fig. 27 .
- Fig. 29 is a cross-sectional view of the engagement of the base 619 and the cleaning unit 633, taken along line B-B in Fig. 27 .
- the base 619 disposed on the air inlet grill 19 is a frame body supporting the air filter 631 and the cleaning unit 633. As shown in Fig. 27 , a rectangular through-hole in which the air filter 631 is disposed is formed in substantially the center of the base 619. Also, rotary rack gears 677 configured to apply a rotational driving force to a rotary brush 685, described below, and guiding parts 679 configured to support the cleaning unit 633 are provided on the base 619. The guiding parts 679 and the rotary rack gears 677 extend along opposing sides of the through-hole.
- the rotary rack gears 677 are rack gears that extend along the surface of the base 619. As shown in Fig. 29 , each of the rotary rack gears 677 is engaged with a pinion gear 693 of the rotary brush 685, described below.
- each of the guiding parts 679 includes a protruding guiding part 681 that is engaged with a guiding groove 707 of a roller 703 provided on a dust box 687, described below, and a supporting surface 683 that supports the roller 703.
- the air filter 631 is disposed in substantially the center of the base 619.
- the lower transmitting unit 675 is disposed above (upper side in Fig. 26 ) the air filter 631.
- the cleaning unit 633 is disposed below (lower side in Fig. 26 ) the air filter 631.
- the cleaning unit 633 includes the rotary brush (dust-removing unit) 685 configured to remove dust collected by the air filter 631 and the dust box (collecting unit) 687 configured to temporarily store dust removed by the rotary brush 685.
- the rotary brush 685 includes a rotary shaft 689 rotationally driven along the surface of the air filter 631, a brush member 691 configured to scrape off dust collected on the air filter 631, the pinion gears 693 configured to rotationally drive the rotary shaft 689, and sliding parts 695 that are in contact with the dust box 687.
- the pinion gears 693 are disposed on both ends of the rotary shaft 689.
- the sliding units 695 are disposed adjacent to the inner side of the pinion gears 693.
- the brush unit 691 that extend outward in the radial direction of the rotary shaft 689 is disposed.
- the brush unit 691 is provided with four members along the central axis of the rotary shaft 689 around the circumference of the rotary shaft 689, with equal angular intervals therebetween.
- the members of the brush unit 691 may extend parallel to the central axis line, as described above, or may be helically disposed around the rotary shaft 689.
- the structure of the members of the brush unit 691 is not limited. Also, the number of members of the brush unit 691 is not limited to four, and more or less than four members may be provided.
- the pinion gears 693 are engaged with the rotary rack gears 677 and generate a rotational driving force for rotating the rotary shaft 689 as the rotary brush 685 move along the surface of the air filter 631.
- the sliding units 695 By contacting the dust box 687, the sliding units 695 transmit the reciprocative driving force from the dust box 687 to the rotary brush 685. Depressions in which the dust box 687 is fitted are provided on the sliding units 695. By engaging the depressions and the dust box 687, the relative positions of the rotary brush 685 and the dust box 687 are set. To improve slidability, it is desirable to construct the sliding units 695 of a material different from the material constituting the dust box 687. For example, if the dust box 687 is composed of acrylonitrile butadiene styrene resin (ABS resin), it is desirable to compose the sliding unit 695 of Duracon resin (polyacetal resin).
- ABS resin acrylonitrile butadiene styrene resin
- Duracon resin polyacetal resin
- Fig. 30 is a cross-sectional view illustrating the structure of the rotary brush 685 and the dust box 687 of the cleaning unit 633 illustrated in Fig. 26 .
- the dust box 687 includes a main body 697 that receives a reciprocative driving force from the lower transmitting unit 675 and a retention unit 699 configured to temporarily store dust.
- the rotary brush 685 is rotatably held inside the main body 697 and the retention unit 699.
- the main body 697 includes brackets 701 that are engaged with the lower transmitting unit 675 and rollers 703 that are configured to support the main body 697 in a reciprocating manner, as shown in Fig. 29 , and also includes scrapers 705 configured to scrape off dust from the brush unit 691, as shown in Fig. 30 .
- the main body 697 is formed as a frame with a through-hole provided in the center. As shown in Fig. 29 , depressions in which the pinion gears 693 of the rotary brush 685 are disposed are provided on both longitudinal ends of the main body 697.
- the brackets 701 extend in the longitudinal direction of the main body 697 and are disposed at both ends having the above-described depressions.
- the tips of the brackets 701 extend further outward than the edge of the air filter 631.
- the tips of the brackets 701 are engaged with the lower transmitting unit 675 in an area further outward than the edge of the air filter 631.
- the rollers 703 are rotatably disposed on the outer surfaces of the ends having the depressions.
- the rollers 703 are shaped as cylinders.
- the guiding groove 707 that is fitted with the guiding part 681 of the guiding parts 679 is provided.
- the scrapers 705 are disposed on the inner surface of the through-hole in the main body 697 such that they extend inward and are disposed along the longitudinal direction (i.e., in the direction orthogonal to the surface of the page of Fig. 30 ) of the main body 697 at equal intervals.
- the brush unit 691 of the rotary brush 685 moves through the gap between the scrapers 705 so that dust attached to the brush unit 691 is removed.
- the sides of the scrapers 705 opposing the edge of the air filter 631 i.e., the upper side of the scrapers 705 in Fig. 30
- Dust is collected toward the central area by the inclined sides of the scrapers 705 and is sent to the retention unit 699.
- Fig. 31 is a cross-sectional view illustrating another structure of the scrapers 705 illustrated in Fig. 30 .
- the scrapers 705 may be shaped as triangles when viewed from the top, as shown in Fig. 30 , or may be shaped as rods when viewed from the top, as shown in Fig. 31 .
- the shape of the scrapers 705 is not limited. By providing the scrapers 705 having the shape illustrated in Fig. 31 , the resistance when the brush unit 691 moves through the gap between the scrapers 705 can be reduced.
- the retention unit 699 covers the rotary brush 685 from below, as shown in Fig. 26 , and is engaged with the main body 697, as shown in Fig. 30 . Dust removed from the air filter 631 by the rotary brush 685 is temporarily stored in the space defined by the retention unit 699, the main body 697, and the rotary brush 685.
- the lower transmitting unit 675 is a rod-shaped member. On both ends of the lower transmitting unit 675, grippers 709 configured to hold the brackets 701 of the cleaning unit 633 are provided.
- a lower engagement part 711 that is engaged with the upper engagement parts 669 of the upper transmitting unit 639 is provided.
- the lower engagement part 711 has a smaller width compared to the other parts of the lower transmitting unit 675. This narrow part is engaged with the upper depression 671 of the upper engagement part 669.
- lower depression 713 that are engaged with the cleaning unit 633 and hold the brackets 701 are provided at the tips of the grippers 709.
- Fig. 32 is a plan view illustrating the structure of a dust-amount detecting unit provided on the base 619 of the air inlet grill 19 illustrated in Fig. 22 .
- Fig. 33 is a cross-sectional view illustrating the structure of the dust-amount detecting unit illustrated in Fig. 32 .
- a dust-amount detecting unit 715 includes covers 717 configured to cover the openings of the cleaning unit 633, a fan 719 configured to take in air, and a flow sensor (sensor) 721 configured to detect the flow rate of the air taken in by the fan 719.
- the covers 717 are disposed opposite to the outer edges in the movement directions (vertical direction in Fig. 32 ) of the cleaning unit 633 of the air filter 631. As shown in Fig. 33 , the covers 717 are disposed on substantially the same plane as the air filter 631.
- the fan 719 and the flow sensor 721 are disposed on the upper surface (upper side of Fig. 33 ) of one of the covers 717.
- the fan 719 is rotated to suck out air from the inside of the cleaning unit 633 through channels (not shown in the drawings), i.e., through-holes, provided in the covers 717.
- the flow sensor 721 detects the flow rate of the air sucked out from the cleaning unit 633 by the fan 719.
- Through-holes having a small diameter are formed in components such as the retention unit 699 of the cleaning unit 633 so as to allow air to flow in from the outside.
- the operation of the air conditioner 601 in a cooling mode and a heating mode and the indoor air flow inside the indoor unit 603 are the same as those according to the first embodiment, and, therefore, descriptions thereof are not repeated here.
- dust attached to the air filter 631 while operating the indoor unit 603 is removed by reciprocating the cleaning unit 633 along the surface of the air filter 631.
- the rotational driving force of the driving motor 635 is transmitted to the driving shaft 645, and the worm gear 647 is rotationally driven.
- the worm gear 647 engaged with the driving rack gear 649 is driven in a reciprocating manner along the driving shaft.
- the driving direction of the worm gear 647 is controlled by the rotational direction of the driving motor 635.
- the reciprocating movement of the worm gear 647 is transmitted to the upper transmitting unit 639, and the upper transmitting unit 639 is moved in a reciprocating manner together with the worm gear 647.
- the cylindrical portions 651 of the worm gear 647 are in contact with the contact units 665 of the upper transmitting unit 639, and, therefore, the worm gear 647 does not move more than a predetermined distance away from the driving rack gear 649. Since the driving rack gear 649 is interposed between the upper transmitting unit 639 and the adjusting unit 655, the upper transmitting unit 639 does not move more than a predetermined distance away from the driving rack gear 649.
- the reciprocating movement transmitted to the upper transmitting unit 639 is transmitted from the upper transmitting unit 639 to the lower transmitting unit 675. Since the pressing plate 673 of the upper transmitting unit 639 is in contact with the upper surface of the lower transmitting unit 675, the relative positions of the upper transmitting unit 639 and the lower transmitting unit 675 do not change even when the reciprocating movement is transmitted.
- the reciprocating movement of the lower transmitting unit 675 is transmitted from the grippers 709 to the brackets 701 of the cleaning unit 633 disposed on the lower surface of the air filter 631.
- the reciprocating movement transmitted to the brackets 701 is transmitted from the dust box 687 to the rotary brush 685.
- the rotary brush 685 moves in a reciprocating manner on the lower surface side of the air filter 631 and, at the same time, is rotationally driven by engagement of the pinion gears 693 and the rotary rack gears 677.
- the reciprocating and rotational movements of the rotary brush 685 cause the brush unit 691 of the rotary brush 685 to wipe the entire surface of the air filter 631 on the air inlet side so as to remove the dust collected on the air filter 631.
- the speed of the reciprocating movement of the rotary brush 685 and the rotational speed of the tips of the brush unit 691 differ by a predetermined value. This difference in speed enables the brush unit 691 to wipe the entire surface of the air filter 631.
- the diameters of the pinion gears 693 and the brush unit 691 may be set to have a predetermined ratio.
- the dust attached to the brush unit 691 is scraped off from the brush unit 691 when the brush unit 691 passes through the gap between the scrapers 705.
- the dust scraped off by the scrapers 705 drops through the gap between the scrapers 705 to the retention unit 699.
- the cleaning unit 633 that has removed dust from the air filter 631 is moved from an area where the air filter 631 is disposed to an area where one of the covers 717 of the dust-amount detecting unit 715 is disposed.
- the fan 719 rotates, and air is sucked into the cleaning unit 633.
- the flow sensor 721 detects the flow rate of the air sucked in by the fan 719 so as to estimate the amount of dust stored, based on the flow rate. While the cleaning unit 633 is cleaning the air filter 631, the fan 719 is turned off, and the amount of dust is not detected.
- the flow rate of the air sucked in by the fan 719 is reduced, whereas, if a small amount of dust is stored in the retention unit 699, the flow rate of the air sucked in by the fan 719 is increased.
- the flow sensor 721 configured to detect the flow rate of the air sucked in by the fan 719 may be provided on the dust-amount detecting unit 715 or, instead, a pressure-loss sensor configured to detect the pressure loss (pressure) in the air sucked in by the fan 719 may be provided.
- the type of sensor is not limited. In the case where a pressure-loss sensor is used, if a large amount of dust is stored in the retention unit 699, the pressure loss in the air flow sucked in by the fan 719 is large, whereas, if a small amount of dust is stored in the retention unit 699, the pressure loss in the air flow sucked in by the fan 719 is small.
- the amount of dust detected by the dust-amount detecting unit 715 is more than a predetermined amount, for example, the operator is warned by the indoor unit 603 that the dust inside the retention unit 699 must be removed.
- the air inlet grill 19 is lowered from the top panel 14. Since the lowering procedure of the air inlet grill 19 is the same as that according to the first embodiment, a description thereof is not repeated.
- the air inlet grill 19 includes the air filter 631, the cleaning unit 633, and the lower transmitting unit 675, by lowering the air inlet grill 19; the air filter 631, the cleaning unit 633, and the lower transmitting unit 675 are also simultaneously lowered from the top panel 14.
- the transmission path of the driving force from the driving motor 635 to the cleaning unit 633 is cut off between the upper transmitting unit 639 and the lower transmitting unit 675.
- the upper transmitting unit 639 and the lower transmitting unit 675 are disengaged by lowering the lower transmitting unit 675 together with the air filter 631 and so on.
- the cleaning unit 633 is moved to one of the edges (the right edge in Fig. 22 ) of the air filter 631.
- Fig. 34 illustrates a method of removing the cleaning unit 633 from the air filter 631 illustrated in Fig 22 .
- the lower transmitting unit 675 engaged with the cleaning unit 633 on the lowered air inlet grill 19 is removed. As shown in Fig. 29 , since the cleaning unit 633 and the lower transmitting unit 675 are engaged by the grippers 709 holding the brackets 701 from above, by pulling the grippers 709 upward, the lower transmitting unit 675 can be removed from the cleaning unit 633.
- Fig. 35 illustrates the method of removing the cleaning unit 633 from the air filter 631 illustrated in Fig. 22 .
- the air filter 631 is pivoted on a first edge (the right edge in Fig. 35 ) so as to lift a second edge (the left edge in Fig. 35 ).
- the cleaning unit 633 disposed on the lower surface side of the air filter 631 is exposed.
- the cleaning unit 633 is removed upward from the air inlet grill 19.
- Fig. 36 illustrates the method of removing the cleaning unit 633 from the air filter 631 illustrated in Fig. 22 .
- the main body 697 of the dust box 687 and the retention unit 699 of the cleaning unit 633 removed from the air filter 631 are separated. Then, the dust stored inside the retention unit 699 is removed.
- the cleaning unit 633, the air filter 631, and the air inlet grill 19 are re-assembled by following the above-described steps in the reversed order. Then, the air inlet grill 19 is raised.
- the driving force generated at the driving motor 635 can be transmitted to the cleaning unit 633 via the reciprocating unit 637, the upper transmitting unit 639, and the lower transmitting unit 675. Therefore, the cleaning unit 633 can be moved along the surface of the air filter 631 on the air inlet side by the driving force transmitted from the driving motor 635, and the rotary brush 685 can remove dust collected on the air filter 631.
- the driving motor 635, the reciprocating unit 637, and the upper transmitting unit 639 are disposed on the frame 641 disposed on the top panel 14.
- the cleaning unit 633 and the lower transmitting unit 675 are disposed on the air filter 631.
- the upper transmitting unit 639 and the lower transmitting unit 675 are detachably engaged with each other. Therefore, both detachment of the air inlet grill 19, including the air filter 631, from the chassis 15 and driving of the cleaning unit 633 by the driving motor 635 can be achieved.
- the upper transmitting unit 639 and the lower transmitting unit 675 are disengaged when the air inlet grill 19 is detached from the chassis 15, the detachment of the air inlet grill 19 is not hindered. Moreover, since the upper transmitting unit 639 and the lower transmitting unit 675 are engaged again when the air inlet grill 19 that has been detached is re-attached to the chassis 15, the driving of the cleaning unit 633 by the driving motor 635 is not hindered.
- the air filter 631 Since the lower transmitting unit 675 is disposed on the air outlet side of the air filter 631, the air filter 631 is interposed between the cleaning unit 633 and the lower transmitting unit 675. Therefore, the air filter 631, the cleaning unit 633, and the lower transmitting unit 675 can be detached from the chassis 15 as a unit.
- the air filter 631 and the cleaning unit 633 can be removed independently from the unit formed of the air filter 631, the cleaning unit 633, and the lower transmitting unit 675 removed from the chassis 15. Therefore, maintenance of the cleaning unit 633 and the air filter 631 can be easily carried out.
- the rotary brush 685 includes the rotary shaft 689 on which the rotary brush 685 rotates around the longitudinal axis thereof and the brush unit 691 that extends in the radial direction of the rotary shaft 689, by rotating the rotary shaft 689, the brush unit 691 rotates to remove dust collected on the air filter 631.
- the dust box 687 covers the rotary brush 685 and is capable of temporarily storing the dust removed from the air filter 631 by the rotary brush 685. Since the dust box 687 has an opening where the rotary brush 685 can contact the air filter 631, by letting the rotary brush 685 come into contact with the air filter 631, the dust collected on the air filter 631 can be removed by the rotary brush 685.
- the driving force that moves the cleaning unit 633 along the surface of the air filter 631 is converted into a rotational driving force for rotating the rotary brush 685.
- the rotary brush 685 also moves along the surface of the air filter 631.
- the driving force that moves the rotary brush 685 along the surface of the air filter 631 is converted into a rotational driving force for rotating the rotary brush 685.
- the pinion gears 693 are provided at both ends of the rotary shaft 689, the rotational driving force for rotating the rotary brush 685 is generated at both ends of the rotary shaft 689. Therefore, the rotary brush 685 can be stably rotated compared to a case in which the rotational driving force is generated at only one end of the rotary shaft 689.
- dust attached to the rotary brush 685 can be removed. More specifically, dust attached to the brush unit 691 is removed when the brush unit 691 passes through the gap between the scrapers 705 while the rotary brush 685 is rotating.
- the dust removed by the scrapers 705 is temporarily stored inside the dust box 687.
- the scrapers 705 function as covers that prevent the dust temporarily stored in the dust box 687 from escaping.
- the entire surface of the air filter 631 can be cleaned. More specifically, since the rotational speed of the tips of the brush unit 691 and the movement speed of the rotary brush 685 have a predetermined difference, the tips of the brush unit 691 are capable of wiping the surface of the air filter 631 at a predetermined speed. Therefore, the brush unit 691 of the rotary brush 685 contacts the entire air filter 631 and cleans the entire surface of the air filter 631 more thoroughly compared to when the difference between the rotational speed of the tips of the brush unit 691 and the movement speed of the rotary brush 685 is small.
- the sliding units 695 configured to reduce sliding resistance caused by the rotation of the rotary shaft 689 are provided between the rotary shaft 689 and the dust box 687, the life of the rotary shaft 689 and the life of the dust box 687 can be extended. More specifically, by providing the sliding units 695, friction generated at the contact area of the rotary shaft 689 and the dust box 687 is reduced, and the amount of abrasion at the contact area is reduced. Therefore, the life of the rotary brush 685 and the life of the dust box 687 can be extended.
- the dust-amount detecting unit 715 Since the dust-amount detecting unit 715 is provided, the amount of dust stored in the dust box 687 can be detected. Therefore, the dust box 687 can be prevented from being filled with dust, and a reduction in the ability to remove dust by the cleaning unit 633 can be prevented.
- the amount of dust stored in the dust box 687 can be detected by the fan 719 and the flow sensor 721 included in the dust-amount detecting unit 715. If a small amount of dust is stored in the dust box 687, the flow rate or the pressure of the air passing through the dust box 687 increases. On the contrary, if a large amount of dust is stored in the dust box 687, the flow rate or the pressure of the air passing through the dust box 687 decreases. By detecting the flow rate or pressure of the air with the flow sensor 721, the amount of dust stored in the dust box 687 can be estimated.
- the cleaning unit 633 can be stably moved. In other words, the same amount of driving force can be transmitted to both ends of the cleaning unit 633 and the cleaning unit 633 can be stably driven compared to a method in which the driving force is transmitted to substantially the central area of the cleaning unit 633.
- the number of reciprocating units 637 provided can be reduced and the size of the indoor unit 603 can be reduced compared to a method in which the driving force is transmitted to substantially the central area of the cleaning unit 633.
- the worm gear 647 engaged with the driving rack gear 649 is rotationally driven by the driving shaft 645, the worm gear 647 is reciprocated in the direction parallel to the driving rack gear 649. Since the reciprocating movement of the worm gear 647 is transmitted to the cleaning unit 633 via the upper transmitting unit 639 and the lower transmitting unit 675, the cleaning unit 633 is reciprocated.
- the distance between the worm gear 647 and the driving rack gear 649 can be prevented from increasing, and, therefore, the worm gear 647 can be prevented from disengaging from the driving rack gear 649.
- the upper transmitting unit 639 can be prevented from disengaging from the worm gear 647. For example, when sliding load generated between the worm gear 647 and the upper transmitting unit 639 and a resistive force generated when the cleaning unit 633 moves are applied to the upper transmitting unit 639, the upper transmitting unit 639 is prevented from disengaging from the worm gear 647.
- the air filter 631 Since the air filter 631 is supported by the air inlet grill 19, the air filter 631 can be removed from the chassis 15 together with the air inlet grill 19. In this way, the air filter 631 can be easily removed from the chassis 15.
- the cleaning unit 633 can be easily detached from and attached to the air filter 631.
- a space can be provided in the indoor unit 603 that contains the driving motor 635, the reciprocating unit 637, the upper transmitting unit 639, the lower transmitting unit 675, and the cleaning unit 633.
- the chassis 15, the indoor fan 21, the indoor heat-exchanger 23, and the other components included in the part of the indoor unit 603 that does not include the cleaning unit 633 and the components of the indoor unit 603 according to this embodiment can have some common structures. As a result, the production costs of the indoor unit 603 can be reduced.
- the reciprocating unit 637 may be disposed in substantially the central area of the cleaning unit 633, as in this embodiment.
- the position of the reciprocating unit 637 is not limited thereto, and, instead, two reciprocating units 637 may be disposed in the vicinities of both ends of the cleaning unit 633 to extend in the direction intersecting with the longitudinal direction of the cleaning unit 633.
- the cleaning unit 633 can be moved stably. In this way, compared to the present embodiment in which the driving force is transmitted to substantially the central area of the cleaning unit 633, the same amount of driving force can be transmitted to both ends of the cleaning unit 633, and the cleaning unit 633 can be driven more stably.
- each of the reciprocating unit 637 can be reduced in size.
- the reciprocating unit 637 may be constituted of the driving shaft 645, the driving rack gear 649, and the worm gear 647, as in this embodiment.
- the configuration of the reciprocating unit 637 is not limited thereto, and, instead, the reciprocating unit 637 may have a belt driving mechanism.
- the structure of the reciprocating unit 637 can be simplified. Moreover, the type of driving motor 635 provided for this belt driving mechanism can be selected more freely.
- the spacer 614 is provided between the chassis 15 and the top panel 14 .
- this spacer 614 is not required.
- the cleaning unit 633 is provided as an optional component, the spacer 614 is required for creating a space for disposing the cleaning unit 633.
- the cleaning unit 633 can be incorporated into the indoor unit 603 without using a spacer.
- the air conditioner according to the above-described embodiments includes one indoor unit and one outdoor unit.
- the number of indoor and outdoor units is not limited thereto, and the air conditioner may include a plurality of indoor units and one outdoor unit or may include a plurality of outdoor units and one indoor unit.
Landscapes
- Engineering & Computer Science (AREA)
- Chemical & Material Sciences (AREA)
- Combustion & Propulsion (AREA)
- Mechanical Engineering (AREA)
- General Engineering & Computer Science (AREA)
- Physics & Mathematics (AREA)
- Thermal Sciences (AREA)
- Air Filters, Heat-Exchange Apparatuses, And Housings Of Air-Conditioning Units (AREA)
- Air Conditioning Control Device (AREA)
- Filtering Of Dispersed Particles In Gases (AREA)
Applications Claiming Priority (3)
| Application Number | Priority Date | Filing Date | Title |
|---|---|---|---|
| JP2005195208 | 2005-07-04 | ||
| JP2005377295A JP4418427B2 (ja) | 2005-07-04 | 2005-12-28 | 室å ę©ć¦ćććććć³ē©ŗę°čŖæåę© |
| EP06110322.2A EP1741992B1 (en) | 2005-07-04 | 2006-02-23 | Indoor unit and air conditioner |
Related Parent Applications (3)
| Application Number | Title | Priority Date | Filing Date |
|---|---|---|---|
| EP06110322.2 Division | 2006-02-23 | ||
| EP06110322.2A Division EP1741992B1 (en) | 2005-07-04 | 2006-02-23 | Indoor unit and air conditioner |
| EP06110322.2A Division-Into EP1741992B1 (en) | 2005-07-04 | 2006-02-23 | Indoor unit and air conditioner |
Publications (3)
| Publication Number | Publication Date |
|---|---|
| EP2574857A2 EP2574857A2 (en) | 2013-04-03 |
| EP2574857A3 EP2574857A3 (en) | 2014-08-20 |
| EP2574857B1 true EP2574857B1 (en) | 2016-11-09 |
Family
ID=37067484
Family Applications (4)
| Application Number | Title | Priority Date | Filing Date |
|---|---|---|---|
| EP12199412.3A Not-in-force EP2574857B1 (en) | 2005-07-04 | 2006-02-23 | Indoor unit and air conditioner |
| EP06110322.2A Not-in-force EP1741992B1 (en) | 2005-07-04 | 2006-02-23 | Indoor unit and air conditioner |
| EP12199462.8A Not-in-force EP2574859B1 (en) | 2005-07-04 | 2006-02-23 | Indoor unit and air conditioner |
| EP12199428.9A Not-in-force EP2574858B1 (en) | 2005-07-04 | 2006-02-23 | Indoor unit and air conditioner |
Family Applications After (3)
| Application Number | Title | Priority Date | Filing Date |
|---|---|---|---|
| EP06110322.2A Not-in-force EP1741992B1 (en) | 2005-07-04 | 2006-02-23 | Indoor unit and air conditioner |
| EP12199462.8A Not-in-force EP2574859B1 (en) | 2005-07-04 | 2006-02-23 | Indoor unit and air conditioner |
| EP12199428.9A Not-in-force EP2574858B1 (en) | 2005-07-04 | 2006-02-23 | Indoor unit and air conditioner |
Country Status (3)
| Country | Link |
|---|---|
| EP (4) | EP2574857B1 (enExample) |
| JP (1) | JP4418427B2 (enExample) |
| ES (4) | ES2609957T3 (enExample) |
Families Citing this family (65)
| Publication number | Priority date | Publication date | Assignee | Title |
|---|---|---|---|---|
| JP5024297B2 (ja) * | 2007-02-09 | 2012-09-12 | ćć¤ćć³å·„ę„ę Ŗå¼ä¼ē¤¾ | 空ę°čŖæåč£ ē½®ć®å®¤å ć¦ććć |
| EP2110618A4 (en) * | 2007-02-09 | 2016-10-26 | Daikin Ind Ltd | INDOOR UNIT FOR AN AIR CONDITIONING |
| WO2008096807A1 (ja) * | 2007-02-09 | 2008-08-14 | Daikin Industries, Ltd. | 空ę°čŖæåč£ ē½®ć®å®¤å ę© |
| JP4623098B2 (ja) * | 2007-02-09 | 2011-02-02 | ćć¤ćć³å·„ę„ę Ŗå¼ä¼ē¤¾ | 空ę°čŖæåč£ ē½®ć®å®¤å ę© |
| JP5103926B2 (ja) * | 2007-02-09 | 2012-12-19 | ćć¤ćć³å·„ę„ę Ŗå¼ä¼ē¤¾ | 空ę°čŖæåč£ ē½®ć®å®¤å ć¦ććć |
| JP2008209100A (ja) * | 2007-02-28 | 2008-09-11 | Daikin Ind Ltd | 空ę°čŖæåč£ ē½®ć®å®¤å ć¦ććć |
| JP4952299B2 (ja) * | 2007-02-28 | 2012-06-13 | ćć¤ćć³å·„ę„ę Ŗå¼ä¼ē¤¾ | 空ę°čŖæåč£ ē½®ć®å®¤å ć¦ććć |
| CN101290152B (zh) * | 2007-04-18 | 2010-05-26 | ęµ·å°éå¢å ¬åø | čæę»¤ē½čŖęø ę“č£ ē½® |
| JP4973312B2 (ja) * | 2007-05-18 | 2012-07-11 | ćć¤ćć³å·„ę„ę Ŗå¼ä¼ē¤¾ | 空ę°čŖæåč£ ē½®ć®å®¤å ć¦ććć |
| JP2009014277A (ja) * | 2007-07-05 | 2009-01-22 | Daikin Ind Ltd | 空ę°čŖæåč£ ē½®ć®å®¤å ć¦ććć |
| JP4967895B2 (ja) * | 2007-07-25 | 2012-07-04 | ćć¤ćć³å·„ę„ę Ŗå¼ä¼ē¤¾ | 空ę°čŖæåč£ ē½®ć®å®¤å ć¦ććć |
| JP5060868B2 (ja) * | 2007-08-21 | 2012-10-31 | ę Ŗå¼ä¼ē¤¾ć³ć¼ćÆ | 空ę°čŖæåę©ēØęø ęč£ ē½®ćØē©ŗę°čŖæåę© |
| KR100902283B1 (ko) * | 2007-10-23 | 2009-06-10 | ė²ģź±“ģ¤ ģ£¼ģķģ¬ | ģ²ģ ķ ģģ“컨 |
| JP4910995B2 (ja) * | 2007-11-13 | 2012-04-04 | ććć½ćććÆę Ŗå¼ä¼ē¤¾ | 空ę°čŖæåę© |
| US8734553B2 (en) | 2007-12-11 | 2014-05-27 | Daikin Industries, Ltd. | Indoor unit of air conditioner |
| KR101213250B1 (ko) | 2007-12-19 | 2012-12-18 | ė¤ģ“ķØ ź³ źµ ź°ė¶ģķ¤ź°ģ“ģ¤ | 공기 ģ”°ķ ģ„ģ¹ģ ģ¤ė“ ģ ė |
| JP4416034B2 (ja) | 2007-12-19 | 2010-02-17 | ćć¤ćć³å·„ę„ę Ŗå¼ä¼ē¤¾ | 空ę°čŖæåč£ ē½®ć®ęé¤ć¦ććć |
| JP4752915B2 (ja) * | 2008-01-10 | 2011-08-17 | ćć¤ćć³å·„ę„ę Ŗå¼ä¼ē¤¾ | 空ę°čŖæåč£ ē½®ć®å®¤å ć¦ććć |
| JP4661881B2 (ja) * | 2008-01-25 | 2011-03-30 | ćć¤ćć³å·„ę„ę Ŗå¼ä¼ē¤¾ | 空調ę©ć®å®¤å ć¦ććć |
| US8603230B2 (en) | 2008-01-25 | 2013-12-10 | Daikin Industries, Ltd. | Indoor unit of air conditioner |
| KR101329755B1 (ko) * | 2008-01-28 | 2013-11-14 | ģģ§ģ ģ 주ģķģ¬ | ģ²ģ„ķ ź³µźø°ģ”°ķźø° |
| KR101321544B1 (ko) * | 2008-01-28 | 2013-10-25 | ģģ§ģ ģ 주ģķģ¬ | ģ²ģ„ķ ź³µźø°ģ”°ķźø° |
| JP4894773B2 (ja) * | 2008-02-05 | 2012-03-14 | ćć¤ćć³å·„ę„ę Ŗå¼ä¼ē¤¾ | 空調室å ę© |
| JP4883050B2 (ja) * | 2008-02-05 | 2012-02-22 | ćć¤ćć³å·„ę„ę Ŗå¼ä¼ē¤¾ | 空調室å ę©ć®åÆåććć« |
| JP5232497B2 (ja) * | 2008-02-21 | 2013-07-10 | äøč±éå·„ę„ę Ŗå¼ä¼ē¤¾ | 空調ēØå®¤å ć¦ććć |
| JP5036607B2 (ja) * | 2008-03-21 | 2012-09-26 | äøč±é»ę©ę Ŗå¼ä¼ē¤¾ | 空ę°čŖæåę© |
| JP5055194B2 (ja) * | 2008-04-24 | 2012-10-24 | äøč±éå·„ę„ę Ŗå¼ä¼ē¤¾ | 室å ę©ć¦ćććććć³ē©ŗę°čŖæåę© |
| JP4772096B2 (ja) * | 2008-06-30 | 2011-09-14 | äøč±é»ę©ę Ŗå¼ä¼ē¤¾ | 天äŗåč¾¼å空ę°čŖæåę© |
| JP2010025415A (ja) * | 2008-07-17 | 2010-02-04 | Daikin Ind Ltd | é£ēµę§é ä½ćåć³ćć®é£ēµę§é ä½ćåććē©ŗčŖæę© |
| JP4935774B2 (ja) * | 2008-07-18 | 2012-05-23 | ćć¤ćć³å·„ę„ę Ŗå¼ä¼ē¤¾ | 天äŗčØē½®åć®ē©ŗę°čŖæåę© |
| JP4488106B2 (ja) * | 2008-07-18 | 2010-06-23 | ćć¤ćć³å·„ę„ę Ŗå¼ä¼ē¤¾ | 天äŗčØē½®åć®ē©ŗę°čŖæåę© |
| JP4911137B2 (ja) * | 2008-07-29 | 2012-04-04 | ćć¤ćć³å·„ę„ę Ŗå¼ä¼ē¤¾ | 空ę°čŖæåč£ ē½® |
| JP2010043781A (ja) * | 2008-08-12 | 2010-02-25 | Sanyo Electric Co Ltd | 空ę°čŖæåę© |
| JP5283448B2 (ja) * | 2008-08-12 | 2013-09-04 | äøę“é»ę©ę Ŗå¼ä¼ē¤¾ | 空ę°čŖæåę© |
| JP5305800B2 (ja) * | 2008-09-17 | 2013-10-02 | äøę“é»ę©ę Ŗå¼ä¼ē¤¾ | 空ę°čŖæåę© |
| JP5317613B2 (ja) * | 2008-09-26 | 2013-10-16 | äøę“é»ę©ę Ŗå¼ä¼ē¤¾ | 天äŗåč¾¼å空ę°čŖæåę© |
| JP5305808B2 (ja) * | 2008-09-26 | 2013-10-02 | äøę“é»ę©ę Ŗå¼ä¼ē¤¾ | 空ę°čŖæåč£ ē½® |
| JP5329166B2 (ja) * | 2008-09-29 | 2013-10-30 | äøę“é»ę©ę Ŗå¼ä¼ē¤¾ | 空ę°čŖæåę© |
| KR101035010B1 (ko) | 2009-02-25 | 2011-05-17 | 주ģķģ¬ ģ .ģģ¤.ė¼ģ“ķ | 공기ģ ķ ė° ģ”°ėŖ ė³µķ©ģ„ģ¹ |
| JP2011012936A (ja) * | 2009-07-06 | 2011-01-20 | Hitachi Appliances Inc | 天äŗåč¾¼å空ę°čŖæåę© |
| JP5427496B2 (ja) * | 2009-07-08 | 2014-02-26 | äøč±éå·„ę„ę Ŗå¼ä¼ē¤¾ | 室å ę©ć¦ćććććć³ē©ŗę°čŖæåę© |
| JP5320189B2 (ja) * | 2009-07-08 | 2013-10-23 | äøč±éå·„ę„ę Ŗå¼ä¼ē¤¾ | 室å ę©ć¦ćććććć³ē©ŗę°čŖæåę© |
| JP2011258707A (ja) * | 2010-06-08 | 2011-12-22 | Sanyo Electric Co Ltd | é»åę©åØåć³ćć£ć«ćæć¦ććć |
| JP4983973B2 (ja) * | 2010-10-18 | 2012-07-25 | ćć¤ćć³å·„ę„ę Ŗå¼ä¼ē¤¾ | 空調ć·ć¹ćć |
| JP5108118B2 (ja) * | 2011-01-11 | 2012-12-26 | ć·ć£ć¼ćę Ŗå¼ä¼ē¤¾ | ćć£ć«ćæęø ęč£ ē½®ććć¹ććććÆć¹ććć³ē©ŗę°čŖæåę© |
| JP2011202949A (ja) * | 2011-06-13 | 2011-10-13 | Daikin Industries Ltd | 空調室å ę© |
| JP2011174706A (ja) * | 2011-06-13 | 2011-09-08 | Daikin Industries Ltd | 空調室å ę© |
| JP5269224B2 (ja) * | 2012-03-02 | 2013-08-21 | äøč±é»ę©ę Ŗå¼ä¼ē¤¾ | 天äŗåč¾¼å空ę°čŖæåę© |
| KR102199380B1 (ko) | 2014-01-17 | 2021-01-06 | ģģ§ģ ģ 주ģķģ¬ | ź³µźø°ģ”°ķźø° |
| CN104896708B (zh) * | 2014-03-05 | 2018-04-24 | ē ęµ·ę ¼åēµåØč”份ęéå ¬åø | äøē§čæåØęŗęć天äŗęŗé¢ęæä»„å天äŗęŗ |
| JP6464019B2 (ja) * | 2015-04-20 | 2019-02-06 | ę„ē«ć¢ćć©ć¤ć¢ć³ć¹ę Ŗå¼ä¼ē¤¾ | 空ę°ęø ęµę© |
| EP3385625B1 (en) * | 2015-12-02 | 2022-11-23 | Coway Co., Ltd. | Air purifier |
| EP3276277B1 (en) * | 2016-07-28 | 2020-04-08 | Daikin Industries, Ltd. | Filter cleaning device for an air conditioner and air conditioner having such filter cleaning device |
| CN107265262A (zh) * | 2017-06-20 | 2017-10-20 | č±ēµēµę¢Æęéå ¬åø | å ·ę空ę°åååč½ē载客ēµę¢Æ |
| JP7539759B2 (ja) * | 2018-06-22 | 2024-08-26 | äøč±éå·„ćµć¼ćć«ć·ć¹ćć ćŗę Ŗå¼ä¼ē¤¾ | ćć£ć«ćæęø ęć¦ćććåć³ē©ŗę°čŖæåę© |
| JP7330671B2 (ja) * | 2018-06-22 | 2023-08-22 | äøč±éå·„ćµć¼ćć«ć·ć¹ćć ćŗę Ŗå¼ä¼ē¤¾ | ćć£ć«ćæęø ęć¦ćććåć³ē©ŗę°čŖæåę© |
| JP7134739B2 (ja) * | 2018-06-27 | 2022-09-12 | äøč±éå·„ćµć¼ćć«ć·ć¹ćć ćŗę Ŗå¼ä¼ē¤¾ | ćć£ć«ćæęø ęć¦ćććåć³ē©ŗę°čŖæåę© |
| JP7679164B2 (ja) * | 2018-06-29 | 2025-05-19 | äøč±éå·„ćµć¼ćć«ć·ć¹ćć ćŗę Ŗå¼ä¼ē¤¾ | ćć£ć«ćæęø ęć¦ćććåć³ē©ŗę°čŖæåę© |
| CN111174285B (zh) * | 2018-10-24 | 2021-07-23 | éåŗęµ·å°ē©ŗč°åØęéå ¬åø | äøē§åÆē§»åØē空č°ć空č°é群åęŗč½å®¶å± ē³»ē» |
| KR102664218B1 (ko) | 2019-08-30 | 2024-05-09 | ģ¼ģ±ģ ģ주ģķģ¬ | ź³µźø°ģ”°ķźø° |
| CN112438617B (zh) * | 2019-08-31 | 2022-01-21 | å®ę³¢ę¹å¤ŖåØå ·ęéå ¬åø | äøē§ē¤ēē¤ę¶å¤åčæåØęŗęååŗēØčÆ„ęŗęēē¤ē®± |
| KR102372484B1 (ko) * | 2019-11-13 | 2022-03-10 | (주)ģģ¤ģ | ģ¤ģøźø°ģ© 공기ģ ķ 씰립첓 ė° ģ“넼 구ė¹ķė 미ģøėØ¼ģ§ ģ ķ ģģ¤ķ |
| KR102216313B1 (ko) * | 2020-09-18 | 2021-02-17 | 주ģķģ¬ ķ ķ¬ģ | 미ģøėØ¼ģ§ ģ ķźø°ė„ģ źµ¬ė¹ķ ģ£ģ§ģ»¤ė²ķ led ģ”°ėŖ ė± |
| CN112460728A (zh) * | 2020-11-03 | 2021-03-09 | ę±čę„éēÆäæē§ęęéå ¬åø | äøē§ä¾æäŗęø ēē空ę°ååč®¾å¤ |
| CN117346240B (zh) * | 2023-09-12 | 2024-05-14 | ę¦ę±ę ¼ęē¾ę“åęęÆå·„ēØęéå ¬åø | äøē§ę“å室ę°é£č®¾å¤ |
Family Cites Families (7)
| Publication number | Priority date | Publication date | Assignee | Title |
|---|---|---|---|---|
| JP2718273B2 (ja) * | 1991-03-07 | 1998-02-25 | ćć¤ćć³å·„ę„ę Ŗå¼ä¼ē¤¾ | 天äŗå込形空ę°ęø ęµę© |
| JP3297422B2 (ja) | 1996-07-26 | 2002-07-02 | äøč±éå·„ę„ę Ŗå¼ä¼ē¤¾ | 空ę°čŖæåę© |
| JPH1085534A (ja) * | 1996-09-19 | 1998-04-07 | Mitsubishi Denki Bill Techno Service Kk | čŖåćć£ć«ćæęø ęč£ ē½®ä»ē©ŗčŖæę© |
| JPH11226331A (ja) * | 1998-02-18 | 1999-08-24 | Daikin Ind Ltd | 空ę°čŖæåč£ ē½®ć®å®¤å ę© |
| JP4271008B2 (ja) * | 2003-01-16 | 2009-06-03 | äøę“é»ę©ę Ŗå¼ä¼ē¤¾ | 天äŗåč¾¼å空ę°čŖæåč£ ē½® |
| JP2004340507A (ja) * | 2003-05-16 | 2004-12-02 | Matsushita Electric Ind Co Ltd | 天äŗåćč¾¼ćæå空ę°čŖæåę© |
| JP2005083612A (ja) * | 2003-09-05 | 2005-03-31 | Matsushita Electric Ind Co Ltd | 空ę°čŖæåę© |
-
2005
- 2005-12-28 JP JP2005377295A patent/JP4418427B2/ja not_active Expired - Fee Related
-
2006
- 2006-02-23 EP EP12199412.3A patent/EP2574857B1/en not_active Not-in-force
- 2006-02-23 EP EP06110322.2A patent/EP1741992B1/en not_active Not-in-force
- 2006-02-23 ES ES12199412.3T patent/ES2609957T3/es active Active
- 2006-02-23 ES ES06110322.2T patent/ES2610999T3/es active Active
- 2006-02-23 ES ES12199462.8T patent/ES2611280T3/es active Active
- 2006-02-23 ES ES12199428.9T patent/ES2611279T3/es active Active
- 2006-02-23 EP EP12199462.8A patent/EP2574859B1/en not_active Not-in-force
- 2006-02-23 EP EP12199428.9A patent/EP2574858B1/en not_active Not-in-force
Non-Patent Citations (1)
| Title |
|---|
| None * |
Also Published As
| Publication number | Publication date |
|---|---|
| EP2574859A2 (en) | 2013-04-03 |
| JP2007040689A (ja) | 2007-02-15 |
| EP2574858A2 (en) | 2013-04-03 |
| ES2609957T3 (es) | 2017-04-25 |
| EP2574859B1 (en) | 2016-11-30 |
| EP1741992A3 (en) | 2012-08-01 |
| EP2574858B1 (en) | 2016-11-16 |
| EP2574857A3 (en) | 2014-08-20 |
| EP1741992B1 (en) | 2016-11-23 |
| EP1741992A2 (en) | 2007-01-10 |
| ES2610999T3 (es) | 2017-05-04 |
| EP2574858A3 (en) | 2014-08-20 |
| ES2611280T3 (es) | 2017-05-08 |
| JP4418427B2 (ja) | 2010-02-17 |
| ES2611279T3 (es) | 2017-05-08 |
| EP2574857A2 (en) | 2013-04-03 |
| EP2574859A3 (en) | 2014-08-20 |
Similar Documents
| Publication | Publication Date | Title |
|---|---|---|
| EP2574857B1 (en) | Indoor unit and air conditioner | |
| JP4611448B2 (ja) | 室å ę©ć¦ćććććć³ē©ŗę°čŖæåę© | |
| JP5489890B2 (ja) | ćØć¢ćć£ć«ćæčŖåęø ęę©ę§ććć³ćććåćć空ę°čŖæåę© | |
| JP2010525285A (ja) | ćØć¢ć³ć³ćć£ć«ćæć¼ć»ć«ććÆćŖć¼ćć³ć°č£ ē½® | |
| JP5563047B2 (ja) | 室å ę©ć¦ćććććć³ē©ŗę°čŖæåę© | |
| JP6423626B2 (ja) | 空ę°čŖæåę© | |
| KR101116396B1 (ko) | ģ²ģ„ķ ģģ“컨 ķķ° ģėģ²ģģ„ģ¹ | |
| JP5327081B2 (ja) | čŖåćć£ć«ćæęø ęč£ ē½®åć³ē©ŗę°čŖæåę© | |
| JP2011021802A (ja) | 空ę°čŖæåę©ć®å®¤å ę© | |
| JP7679164B2 (ja) | ćć£ć«ćæęø ęć¦ćććåć³ē©ŗę°čŖæåę© | |
| CN101501407A (zh) | 空č°ęŗ | |
| KR20110116864A (ko) | ź³µźø°ģ”°ķźø° | |
| JP2009150648A (ja) | 空ę°čŖæåę© | |
| JP2009085504A (ja) | 空ę°čŖæåę© | |
| JP7566450B2 (ja) | ćć£ć«ćæęø ęć¦ćććåć³ē©ŗę°čŖæåę© | |
| JP5999944B2 (ja) | 空調室å ę© | |
| JP5291371B2 (ja) | 室å ę©ć¦ćććććć³ē©ŗę°čŖæåę© | |
| JP7330674B2 (ja) | ćć£ć«ćæęø ęć¦ćććåć³ē©ŗę°čŖæåę© | |
| JP2008190835A (ja) | 空ę°čŖæåę©ć®ćć£ć«ćæć¼č£ ē½®åć³ē©ŗę°čŖæåę© | |
| JP2006220411A (ja) | 空ę°čŖæåę© | |
| JP2010121864A (ja) | 空ę°čŖæåę© |
Legal Events
| Date | Code | Title | Description |
|---|---|---|---|
| PUAI | Public reference made under article 153(3) epc to a published international application that has entered the european phase |
Free format text: ORIGINAL CODE: 0009012 |
|
| AC | Divisional application: reference to earlier application |
Ref document number: 1741992 Country of ref document: EP Kind code of ref document: P |
|
| AK | Designated contracting states |
Kind code of ref document: A2 Designated state(s): AT BE BG CH CY CZ DE DK EE ES FI FR GB GR HU IE IS IT LI LT LU LV MC NL PL PT RO SE SI SK TR |
|
| AX | Request for extension of the european patent |
Extension state: AL BA HR MK YU |
|
| PUAL | Search report despatched |
Free format text: ORIGINAL CODE: 0009013 |
|
| AK | Designated contracting states |
Kind code of ref document: A3 Designated state(s): AT BE BG CH CY CZ DE DK EE ES FI FR GB GR HU IE IS IT LI LT LU LV MC NL PL PT RO SE SI SK TR |
|
| AX | Request for extension of the european patent |
Extension state: AL BA HR MK YU |
|
| RIC1 | Information provided on ipc code assigned before grant |
Ipc: F24F 3/16 20060101ALI20140711BHEP Ipc: F24F 13/28 20060101ALI20140711BHEP Ipc: F24F 1/00 20110101AFI20140711BHEP |
|
| 17P | Request for examination filed |
Effective date: 20150218 |
|
| RBV | Designated contracting states (corrected) |
Designated state(s): AT BE BG CH CY CZ DE DK EE ES FI FR GB GR HU IE IS IT LI LT LU LV MC NL PL PT RO SE SI SK TR |
|
| GRAP | Despatch of communication of intention to grant a patent |
Free format text: ORIGINAL CODE: EPIDOSNIGR1 |
|
| RIC1 | Information provided on ipc code assigned before grant |
Ipc: F24F 3/16 20060101ALI20160419BHEP Ipc: F24F 13/28 20060101ALI20160419BHEP Ipc: F24F 1/00 20110101AFI20160419BHEP |
|
| INTG | Intention to grant announced |
Effective date: 20160511 |
|
| GRAJ | Information related to disapproval of communication of intention to grant by the applicant or resumption of examination proceedings by the epo deleted |
Free format text: ORIGINAL CODE: EPIDOSDIGR1 |
|
| GRAR | Information related to intention to grant a patent recorded |
Free format text: ORIGINAL CODE: EPIDOSNIGR71 |
|
| GRAS | Grant fee paid |
Free format text: ORIGINAL CODE: EPIDOSNIGR3 |
|
| GRAA | (expected) grant |
Free format text: ORIGINAL CODE: 0009210 |
|
| INTC | Intention to grant announced (deleted) | ||
| AC | Divisional application: reference to earlier application |
Ref document number: 1741992 Country of ref document: EP Kind code of ref document: P |
|
| AK | Designated contracting states |
Kind code of ref document: B1 Designated state(s): AT BE BG CH CY CZ DE DK EE ES FI FR GB GR HU IE IS IT LI LT LU LV MC NL PL PT RO SE SI SK TR |
|
| INTG | Intention to grant announced |
Effective date: 20161005 |
|
| REG | Reference to a national code |
Ref country code: GB Ref legal event code: FG4D |
|
| REG | Reference to a national code |
Ref country code: AT Ref legal event code: REF Ref document number: 844307 Country of ref document: AT Kind code of ref document: T Effective date: 20161115 Ref country code: CH Ref legal event code: EP |
|
| REG | Reference to a national code |
Ref country code: IE Ref legal event code: FG4D |
|
| REG | Reference to a national code |
Ref country code: DE Ref legal event code: R096 Ref document number: 602006050901 Country of ref document: DE |
|
| REG | Reference to a national code |
Ref country code: FR Ref legal event code: PLFP Year of fee payment: 12 |
|
| PG25 | Lapsed in a contracting state [announced via postgrant information from national office to epo] |
Ref country code: LV Free format text: LAPSE BECAUSE OF FAILURE TO SUBMIT A TRANSLATION OF THE DESCRIPTION OR TO PAY THE FEE WITHIN THE PRESCRIBED TIME-LIMIT Effective date: 20161109 |
|
| REG | Reference to a national code |
Ref country code: LT Ref legal event code: MG4D |
|
| REG | Reference to a national code |
Ref country code: NL Ref legal event code: MP Effective date: 20161109 |
|
| REG | Reference to a national code |
Ref country code: AT Ref legal event code: MK05 Ref document number: 844307 Country of ref document: AT Kind code of ref document: T Effective date: 20161109 |
|
| REG | Reference to a national code |
Ref country code: ES Ref legal event code: FG2A Ref document number: 2609957 Country of ref document: ES Kind code of ref document: T3 Effective date: 20170425 |
|
| PG25 | Lapsed in a contracting state [announced via postgrant information from national office to epo] |
Ref country code: LT Free format text: LAPSE BECAUSE OF FAILURE TO SUBMIT A TRANSLATION OF THE DESCRIPTION OR TO PAY THE FEE WITHIN THE PRESCRIBED TIME-LIMIT Effective date: 20161109 Ref country code: NL Free format text: LAPSE BECAUSE OF FAILURE TO SUBMIT A TRANSLATION OF THE DESCRIPTION OR TO PAY THE FEE WITHIN THE PRESCRIBED TIME-LIMIT Effective date: 20161109 Ref country code: SE Free format text: LAPSE BECAUSE OF FAILURE TO SUBMIT A TRANSLATION OF THE DESCRIPTION OR TO PAY THE FEE WITHIN THE PRESCRIBED TIME-LIMIT Effective date: 20161109 Ref country code: GR Free format text: LAPSE BECAUSE OF FAILURE TO SUBMIT A TRANSLATION OF THE DESCRIPTION OR TO PAY THE FEE WITHIN THE PRESCRIBED TIME-LIMIT Effective date: 20170210 |
|
| PG25 | Lapsed in a contracting state [announced via postgrant information from national office to epo] |
Ref country code: PT Free format text: LAPSE BECAUSE OF FAILURE TO SUBMIT A TRANSLATION OF THE DESCRIPTION OR TO PAY THE FEE WITHIN THE PRESCRIBED TIME-LIMIT Effective date: 20170309 Ref country code: BE Free format text: LAPSE BECAUSE OF NON-PAYMENT OF DUE FEES Effective date: 20170228 Ref country code: PL Free format text: LAPSE BECAUSE OF FAILURE TO SUBMIT A TRANSLATION OF THE DESCRIPTION OR TO PAY THE FEE WITHIN THE PRESCRIBED TIME-LIMIT Effective date: 20161109 Ref country code: IS Free format text: LAPSE BECAUSE OF FAILURE TO SUBMIT A TRANSLATION OF THE DESCRIPTION OR TO PAY THE FEE WITHIN THE PRESCRIBED TIME-LIMIT Effective date: 20170309 Ref country code: AT Free format text: LAPSE BECAUSE OF FAILURE TO SUBMIT A TRANSLATION OF THE DESCRIPTION OR TO PAY THE FEE WITHIN THE PRESCRIBED TIME-LIMIT Effective date: 20161109 Ref country code: FI Free format text: LAPSE BECAUSE OF FAILURE TO SUBMIT A TRANSLATION OF THE DESCRIPTION OR TO PAY THE FEE WITHIN THE PRESCRIBED TIME-LIMIT Effective date: 20161109 |
|
| PG25 | Lapsed in a contracting state [announced via postgrant information from national office to epo] |
Ref country code: EE Free format text: LAPSE BECAUSE OF FAILURE TO SUBMIT A TRANSLATION OF THE DESCRIPTION OR TO PAY THE FEE WITHIN THE PRESCRIBED TIME-LIMIT Effective date: 20161109 Ref country code: RO Free format text: LAPSE BECAUSE OF FAILURE TO SUBMIT A TRANSLATION OF THE DESCRIPTION OR TO PAY THE FEE WITHIN THE PRESCRIBED TIME-LIMIT Effective date: 20161109 Ref country code: CZ Free format text: LAPSE BECAUSE OF FAILURE TO SUBMIT A TRANSLATION OF THE DESCRIPTION OR TO PAY THE FEE WITHIN THE PRESCRIBED TIME-LIMIT Effective date: 20161109 Ref country code: DK Free format text: LAPSE BECAUSE OF FAILURE TO SUBMIT A TRANSLATION OF THE DESCRIPTION OR TO PAY THE FEE WITHIN THE PRESCRIBED TIME-LIMIT Effective date: 20161109 Ref country code: SK Free format text: LAPSE BECAUSE OF FAILURE TO SUBMIT A TRANSLATION OF THE DESCRIPTION OR TO PAY THE FEE WITHIN THE PRESCRIBED TIME-LIMIT Effective date: 20161109 |
|
| REG | Reference to a national code |
Ref country code: DE Ref legal event code: R097 Ref document number: 602006050901 Country of ref document: DE |
|
| REG | Reference to a national code |
Ref country code: DE Ref legal event code: R082 Ref document number: 602006050901 Country of ref document: DE Representative=s name: SAMSON & PARTNER PATENTANWAELTE MBB, DE Ref country code: DE Ref legal event code: R081 Ref document number: 602006050901 Country of ref document: DE Owner name: MITSUBISHI HEAVY INDUSTRIES THERMAL SYSTEMS, L, JP Free format text: FORMER OWNER: MITSUBISHI HEAVY INDUSTRIES, LTD., TOKYO, JP |
|
| PG25 | Lapsed in a contracting state [announced via postgrant information from national office to epo] |
Ref country code: BE Free format text: LAPSE BECAUSE OF FAILURE TO SUBMIT A TRANSLATION OF THE DESCRIPTION OR TO PAY THE FEE WITHIN THE PRESCRIBED TIME-LIMIT Effective date: 20161109 Ref country code: BG Free format text: LAPSE BECAUSE OF FAILURE TO SUBMIT A TRANSLATION OF THE DESCRIPTION OR TO PAY THE FEE WITHIN THE PRESCRIBED TIME-LIMIT Effective date: 20170209 |
|
| PLBE | No opposition filed within time limit |
Free format text: ORIGINAL CODE: 0009261 |
|
| STAA | Information on the status of an ep patent application or granted ep patent |
Free format text: STATUS: NO OPPOSITION FILED WITHIN TIME LIMIT |
|
| PG25 | Lapsed in a contracting state [announced via postgrant information from national office to epo] |
Ref country code: MC Free format text: LAPSE BECAUSE OF FAILURE TO SUBMIT A TRANSLATION OF THE DESCRIPTION OR TO PAY THE FEE WITHIN THE PRESCRIBED TIME-LIMIT Effective date: 20161109 |
|
| REG | Reference to a national code |
Ref country code: CH Ref legal event code: PL |
|
| 26N | No opposition filed |
Effective date: 20170810 |
|
| PG25 | Lapsed in a contracting state [announced via postgrant information from national office to epo] |
Ref country code: CH Free format text: LAPSE BECAUSE OF NON-PAYMENT OF DUE FEES Effective date: 20170228 Ref country code: LI Free format text: LAPSE BECAUSE OF NON-PAYMENT OF DUE FEES Effective date: 20170228 |
|
| REG | Reference to a national code |
Ref country code: GB Ref legal event code: 732E Free format text: REGISTERED BETWEEN 20171005 AND 20171011 |
|
| REG | Reference to a national code |
Ref country code: ES Ref legal event code: PC2A Owner name: MITSUBISHI HEAVY INDUSTRIES THERMAL SYSTEMS, LTD Effective date: 20171108 |
|
| REG | Reference to a national code |
Ref country code: IE Ref legal event code: MM4A |
|
| PG25 | Lapsed in a contracting state [announced via postgrant information from national office to epo] |
Ref country code: SI Free format text: LAPSE BECAUSE OF FAILURE TO SUBMIT A TRANSLATION OF THE DESCRIPTION OR TO PAY THE FEE WITHIN THE PRESCRIBED TIME-LIMIT Effective date: 20161109 |
|
| PG25 | Lapsed in a contracting state [announced via postgrant information from national office to epo] |
Ref country code: LU Free format text: LAPSE BECAUSE OF NON-PAYMENT OF DUE FEES Effective date: 20170223 |
|
| REG | Reference to a national code |
Ref country code: FR Ref legal event code: PLFP Year of fee payment: 13 |
|
| PG25 | Lapsed in a contracting state [announced via postgrant information from national office to epo] |
Ref country code: IE Free format text: LAPSE BECAUSE OF NON-PAYMENT OF DUE FEES Effective date: 20170223 |
|
| REG | Reference to a national code |
Ref country code: FR Ref legal event code: TP Owner name: MITSUBISHI HEAVY INDUSTRIES THERMAL SYSTEMS, L, JP Effective date: 20180316 |
|
| PG25 | Lapsed in a contracting state [announced via postgrant information from national office to epo] |
Ref country code: HU Free format text: LAPSE BECAUSE OF FAILURE TO SUBMIT A TRANSLATION OF THE DESCRIPTION OR TO PAY THE FEE WITHIN THE PRESCRIBED TIME-LIMIT; INVALID AB INITIO Effective date: 20060223 |
|
| PG25 | Lapsed in a contracting state [announced via postgrant information from national office to epo] |
Ref country code: CY Free format text: LAPSE BECAUSE OF NON-PAYMENT OF DUE FEES Effective date: 20161109 |
|
| PG25 | Lapsed in a contracting state [announced via postgrant information from national office to epo] |
Ref country code: TR Free format text: LAPSE BECAUSE OF FAILURE TO SUBMIT A TRANSLATION OF THE DESCRIPTION OR TO PAY THE FEE WITHIN THE PRESCRIBED TIME-LIMIT Effective date: 20161109 |
|
| PGFP | Annual fee paid to national office [announced via postgrant information from national office to epo] |
Ref country code: GB Payment date: 20200212 Year of fee payment: 15 Ref country code: ES Payment date: 20200302 Year of fee payment: 15 Ref country code: DE Payment date: 20200211 Year of fee payment: 15 |
|
| PGFP | Annual fee paid to national office [announced via postgrant information from national office to epo] |
Ref country code: IT Payment date: 20210112 Year of fee payment: 16 Ref country code: FR Payment date: 20210113 Year of fee payment: 16 |
|
| REG | Reference to a national code |
Ref country code: DE Ref legal event code: R119 Ref document number: 602006050901 Country of ref document: DE |
|
| GBPC | Gb: european patent ceased through non-payment of renewal fee |
Effective date: 20210223 |
|
| PG25 | Lapsed in a contracting state [announced via postgrant information from national office to epo] |
Ref country code: GB Free format text: LAPSE BECAUSE OF NON-PAYMENT OF DUE FEES Effective date: 20210223 Ref country code: DE Free format text: LAPSE BECAUSE OF NON-PAYMENT OF DUE FEES Effective date: 20210901 |
|
| REG | Reference to a national code |
Ref country code: ES Ref legal event code: FD2A Effective date: 20220513 |
|
| PG25 | Lapsed in a contracting state [announced via postgrant information from national office to epo] |
Ref country code: ES Free format text: LAPSE BECAUSE OF NON-PAYMENT OF DUE FEES Effective date: 20210224 |
|
| PG25 | Lapsed in a contracting state [announced via postgrant information from national office to epo] |
Ref country code: FR Free format text: LAPSE BECAUSE OF NON-PAYMENT OF DUE FEES Effective date: 20220228 |
|
| PG25 | Lapsed in a contracting state [announced via postgrant information from national office to epo] |
Ref country code: IT Free format text: LAPSE BECAUSE OF NON-PAYMENT OF DUE FEES Effective date: 20220223 |