WO2019017050A1 - 検査システム - Google Patents

検査システム Download PDF

Info

Publication number
WO2019017050A1
WO2019017050A1 PCT/JP2018/018314 JP2018018314W WO2019017050A1 WO 2019017050 A1 WO2019017050 A1 WO 2019017050A1 JP 2018018314 W JP2018018314 W JP 2018018314W WO 2019017050 A1 WO2019017050 A1 WO 2019017050A1
Authority
WO
WIPO (PCT)
Prior art keywords
inspection
unit
units
stage
inspection unit
Prior art date
Legal status (The legal status is an assumption and is not a legal conclusion. Google has not performed a legal analysis and makes no representation as to the accuracy of the status listed.)
Ceased
Application number
PCT/JP2018/018314
Other languages
English (en)
French (fr)
Japanese (ja)
Inventor
顕太朗 小西
大紀 鹿川
潤 藤原
Current Assignee (The listed assignees may be inaccurate. Google has not performed a legal analysis and makes no representation or warranty as to the accuracy of the list.)
Tokyo Electron Ltd
Original Assignee
Tokyo Electron Ltd
Priority date (The priority date is an assumption and is not a legal conclusion. Google has not performed a legal analysis and makes no representation as to the accuracy of the date listed.)
Filing date
Publication date
Application filed by Tokyo Electron Ltd filed Critical Tokyo Electron Ltd
Priority to US16/630,606 priority Critical patent/US11067624B2/en
Priority to KR1020207004705A priority patent/KR102413295B1/ko
Publication of WO2019017050A1 publication Critical patent/WO2019017050A1/ja
Anticipated expiration legal-status Critical
Ceased legal-status Critical Current

Links

Images

Classifications

    • HELECTRICITY
    • H01ELECTRIC ELEMENTS
    • H01LSEMICONDUCTOR DEVICES NOT COVERED BY CLASS H10
    • H01L21/00Processes or apparatus adapted for the manufacture or treatment of semiconductor or solid state devices or of parts thereof
    • H01L21/67Apparatus specially adapted for handling semiconductor or electric solid state devices during manufacture or treatment thereof; Apparatus specially adapted for handling wafers during manufacture or treatment of semiconductor or electric solid state devices or components ; Apparatus not specifically provided for elsewhere
    • H01L21/67005Apparatus not specifically provided for elsewhere
    • H01L21/67011Apparatus for manufacture or treatment
    • H01L21/67155Apparatus for manufacturing or treating in a plurality of work-stations
    • H01L21/67196Apparatus for manufacturing or treating in a plurality of work-stations characterized by the construction of the transfer chamber
    • GPHYSICS
    • G01MEASURING; TESTING
    • G01RMEASURING ELECTRIC VARIABLES; MEASURING MAGNETIC VARIABLES
    • G01R31/00Arrangements for testing electric properties; Arrangements for locating electric faults; Arrangements for electrical testing characterised by what is being tested not provided for elsewhere
    • G01R31/28Testing of electronic circuits, e.g. by signal tracer
    • G01R31/282Testing of electronic circuits specially adapted for particular applications not provided for elsewhere
    • G01R31/2831Testing of materials or semi-finished products, e.g. semiconductor wafers or substrates
    • GPHYSICS
    • G01MEASURING; TESTING
    • G01JMEASUREMENT OF INTENSITY, VELOCITY, SPECTRAL CONTENT, POLARISATION, PHASE OR PULSE CHARACTERISTICS OF INFRARED, VISIBLE OR ULTRAVIOLET LIGHT; COLORIMETRY; RADIATION PYROMETRY
    • G01J5/00Radiation pyrometry, e.g. infrared or optical thermometry
    • G01J5/0003Radiation pyrometry, e.g. infrared or optical thermometry for sensing the radiant heat transfer of samples, e.g. emittance meter
    • G01J5/0007Radiation pyrometry, e.g. infrared or optical thermometry for sensing the radiant heat transfer of samples, e.g. emittance meter of wafers or semiconductor substrates, e.g. using Rapid Thermal Processing
    • GPHYSICS
    • G01MEASURING; TESTING
    • G01RMEASURING ELECTRIC VARIABLES; MEASURING MAGNETIC VARIABLES
    • G01R1/00Details of instruments or arrangements of the types included in groups G01R5/00 - G01R13/00 and G01R31/00
    • G01R1/02General constructional details
    • G01R1/06Measuring leads; Measuring probes
    • G01R1/067Measuring probes
    • G01R1/06794Devices for sensing when probes are in contact, or in position to contact, with measured object
    • GPHYSICS
    • G01MEASURING; TESTING
    • G01RMEASURING ELECTRIC VARIABLES; MEASURING MAGNETIC VARIABLES
    • G01R1/00Details of instruments or arrangements of the types included in groups G01R5/00 - G01R13/00 and G01R31/00
    • G01R1/02General constructional details
    • G01R1/06Measuring leads; Measuring probes
    • G01R1/067Measuring probes
    • G01R1/073Multiple probes
    • G01R1/07307Multiple probes with individual probe elements, e.g. needles, cantilever beams or bump contacts, fixed in relation to each other, e.g. bed of nails fixture or probe card
    • G01R1/07342Multiple probes with individual probe elements, e.g. needles, cantilever beams or bump contacts, fixed in relation to each other, e.g. bed of nails fixture or probe card the body of the probe being at an angle other than perpendicular to test object, e.g. probe card
    • GPHYSICS
    • G01MEASURING; TESTING
    • G01RMEASURING ELECTRIC VARIABLES; MEASURING MAGNETIC VARIABLES
    • G01R31/00Arrangements for testing electric properties; Arrangements for locating electric faults; Arrangements for electrical testing characterised by what is being tested not provided for elsewhere
    • G01R31/26Testing of individual semiconductor devices
    • G01R31/2648Characterising semiconductor materials
    • GPHYSICS
    • G01MEASURING; TESTING
    • G01RMEASURING ELECTRIC VARIABLES; MEASURING MAGNETIC VARIABLES
    • G01R31/00Arrangements for testing electric properties; Arrangements for locating electric faults; Arrangements for electrical testing characterised by what is being tested not provided for elsewhere
    • G01R31/28Testing of electronic circuits, e.g. by signal tracer
    • G01R31/2851Testing of integrated circuits [IC]
    • G01R31/2855Environmental, reliability or burn-in testing
    • G01R31/286External aspects, e.g. related to chambers, contacting devices or handlers
    • G01R31/2863Contacting devices, e.g. sockets, burn-in boards or mounting fixtures
    • GPHYSICS
    • G01MEASURING; TESTING
    • G01RMEASURING ELECTRIC VARIABLES; MEASURING MAGNETIC VARIABLES
    • G01R31/00Arrangements for testing electric properties; Arrangements for locating electric faults; Arrangements for electrical testing characterised by what is being tested not provided for elsewhere
    • G01R31/28Testing of electronic circuits, e.g. by signal tracer
    • G01R31/2851Testing of integrated circuits [IC]
    • G01R31/2855Environmental, reliability or burn-in testing
    • G01R31/286External aspects, e.g. related to chambers, contacting devices or handlers
    • G01R31/2865Holding devices, e.g. chucks; Handlers or transport devices
    • GPHYSICS
    • G01MEASURING; TESTING
    • G01RMEASURING ELECTRIC VARIABLES; MEASURING MAGNETIC VARIABLES
    • G01R31/00Arrangements for testing electric properties; Arrangements for locating electric faults; Arrangements for electrical testing characterised by what is being tested not provided for elsewhere
    • G01R31/28Testing of electronic circuits, e.g. by signal tracer
    • G01R31/2851Testing of integrated circuits [IC]
    • G01R31/2855Environmental, reliability or burn-in testing
    • G01R31/286External aspects, e.g. related to chambers, contacting devices or handlers
    • G01R31/2865Holding devices, e.g. chucks; Handlers or transport devices
    • G01R31/2867Handlers or transport devices, e.g. loaders, carriers, trays
    • GPHYSICS
    • G01MEASURING; TESTING
    • G01RMEASURING ELECTRIC VARIABLES; MEASURING MAGNETIC VARIABLES
    • G01R31/00Arrangements for testing electric properties; Arrangements for locating electric faults; Arrangements for electrical testing characterised by what is being tested not provided for elsewhere
    • G01R31/28Testing of electronic circuits, e.g. by signal tracer
    • G01R31/2851Testing of integrated circuits [IC]
    • G01R31/2893Handling, conveying or loading, e.g. belts, boats, vacuum fingers
    • HELECTRICITY
    • H01ELECTRIC ELEMENTS
    • H01LSEMICONDUCTOR DEVICES NOT COVERED BY CLASS H10
    • H01L21/00Processes or apparatus adapted for the manufacture or treatment of semiconductor or solid state devices or of parts thereof
    • H01L21/67Apparatus specially adapted for handling semiconductor or electric solid state devices during manufacture or treatment thereof; Apparatus specially adapted for handling wafers during manufacture or treatment of semiconductor or electric solid state devices or components ; Apparatus not specifically provided for elsewhere
    • H01L21/67005Apparatus not specifically provided for elsewhere
    • H01L21/67011Apparatus for manufacture or treatment
    • H01L21/67155Apparatus for manufacturing or treating in a plurality of work-stations
    • H01L21/67161Apparatus for manufacturing or treating in a plurality of work-stations characterized by the layout of the process chambers
    • H01L21/67173Apparatus for manufacturing or treating in a plurality of work-stations characterized by the layout of the process chambers in-line arrangement
    • HELECTRICITY
    • H01ELECTRIC ELEMENTS
    • H01LSEMICONDUCTOR DEVICES NOT COVERED BY CLASS H10
    • H01L21/00Processes or apparatus adapted for the manufacture or treatment of semiconductor or solid state devices or of parts thereof
    • H01L21/67Apparatus specially adapted for handling semiconductor or electric solid state devices during manufacture or treatment thereof; Apparatus specially adapted for handling wafers during manufacture or treatment of semiconductor or electric solid state devices or components ; Apparatus not specifically provided for elsewhere
    • H01L21/67005Apparatus not specifically provided for elsewhere
    • H01L21/67011Apparatus for manufacture or treatment
    • H01L21/67155Apparatus for manufacturing or treating in a plurality of work-stations
    • H01L21/67161Apparatus for manufacturing or treating in a plurality of work-stations characterized by the layout of the process chambers
    • H01L21/67178Apparatus for manufacturing or treating in a plurality of work-stations characterized by the layout of the process chambers vertical arrangement
    • HELECTRICITY
    • H01ELECTRIC ELEMENTS
    • H01LSEMICONDUCTOR DEVICES NOT COVERED BY CLASS H10
    • H01L21/00Processes or apparatus adapted for the manufacture or treatment of semiconductor or solid state devices or of parts thereof
    • H01L21/67Apparatus specially adapted for handling semiconductor or electric solid state devices during manufacture or treatment thereof; Apparatus specially adapted for handling wafers during manufacture or treatment of semiconductor or electric solid state devices or components ; Apparatus not specifically provided for elsewhere
    • H01L21/67005Apparatus not specifically provided for elsewhere
    • H01L21/67011Apparatus for manufacture or treatment
    • H01L21/67155Apparatus for manufacturing or treating in a plurality of work-stations
    • H01L21/67207Apparatus for manufacturing or treating in a plurality of work-stations comprising a chamber adapted to a particular process
    • HELECTRICITY
    • H01ELECTRIC ELEMENTS
    • H01LSEMICONDUCTOR DEVICES NOT COVERED BY CLASS H10
    • H01L21/00Processes or apparatus adapted for the manufacture or treatment of semiconductor or solid state devices or of parts thereof
    • H01L21/67Apparatus specially adapted for handling semiconductor or electric solid state devices during manufacture or treatment thereof; Apparatus specially adapted for handling wafers during manufacture or treatment of semiconductor or electric solid state devices or components ; Apparatus not specifically provided for elsewhere
    • H01L21/67005Apparatus not specifically provided for elsewhere
    • H01L21/67242Apparatus for monitoring, sorting or marking
    • HELECTRICITY
    • H01ELECTRIC ELEMENTS
    • H01LSEMICONDUCTOR DEVICES NOT COVERED BY CLASS H10
    • H01L21/00Processes or apparatus adapted for the manufacture or treatment of semiconductor or solid state devices or of parts thereof
    • H01L21/67Apparatus specially adapted for handling semiconductor or electric solid state devices during manufacture or treatment thereof; Apparatus specially adapted for handling wafers during manufacture or treatment of semiconductor or electric solid state devices or components ; Apparatus not specifically provided for elsewhere
    • H01L21/677Apparatus specially adapted for handling semiconductor or electric solid state devices during manufacture or treatment thereof; Apparatus specially adapted for handling wafers during manufacture or treatment of semiconductor or electric solid state devices or components ; Apparatus not specifically provided for elsewhere for conveying, e.g. between different workstations
    • H01L21/67739Apparatus specially adapted for handling semiconductor or electric solid state devices during manufacture or treatment thereof; Apparatus specially adapted for handling wafers during manufacture or treatment of semiconductor or electric solid state devices or components ; Apparatus not specifically provided for elsewhere for conveying, e.g. between different workstations into and out of processing chamber
    • H01L21/67742Mechanical parts of transfer devices
    • HELECTRICITY
    • H01ELECTRIC ELEMENTS
    • H01LSEMICONDUCTOR DEVICES NOT COVERED BY CLASS H10
    • H01L21/00Processes or apparatus adapted for the manufacture or treatment of semiconductor or solid state devices or of parts thereof
    • H01L21/67Apparatus specially adapted for handling semiconductor or electric solid state devices during manufacture or treatment thereof; Apparatus specially adapted for handling wafers during manufacture or treatment of semiconductor or electric solid state devices or components ; Apparatus not specifically provided for elsewhere
    • H01L21/68Apparatus specially adapted for handling semiconductor or electric solid state devices during manufacture or treatment thereof; Apparatus specially adapted for handling wafers during manufacture or treatment of semiconductor or electric solid state devices or components ; Apparatus not specifically provided for elsewhere for positioning, orientation or alignment
    • HELECTRICITY
    • H01ELECTRIC ELEMENTS
    • H01LSEMICONDUCTOR DEVICES NOT COVERED BY CLASS H10
    • H01L21/00Processes or apparatus adapted for the manufacture or treatment of semiconductor or solid state devices or of parts thereof
    • H01L21/67Apparatus specially adapted for handling semiconductor or electric solid state devices during manufacture or treatment thereof; Apparatus specially adapted for handling wafers during manufacture or treatment of semiconductor or electric solid state devices or components ; Apparatus not specifically provided for elsewhere
    • H01L21/68Apparatus specially adapted for handling semiconductor or electric solid state devices during manufacture or treatment thereof; Apparatus specially adapted for handling wafers during manufacture or treatment of semiconductor or electric solid state devices or components ; Apparatus not specifically provided for elsewhere for positioning, orientation or alignment
    • H01L21/681Apparatus specially adapted for handling semiconductor or electric solid state devices during manufacture or treatment thereof; Apparatus specially adapted for handling wafers during manufacture or treatment of semiconductor or electric solid state devices or components ; Apparatus not specifically provided for elsewhere for positioning, orientation or alignment using optical controlling means
    • HELECTRICITY
    • H01ELECTRIC ELEMENTS
    • H01LSEMICONDUCTOR DEVICES NOT COVERED BY CLASS H10
    • H01L21/00Processes or apparatus adapted for the manufacture or treatment of semiconductor or solid state devices or of parts thereof
    • H01L21/67Apparatus specially adapted for handling semiconductor or electric solid state devices during manufacture or treatment thereof; Apparatus specially adapted for handling wafers during manufacture or treatment of semiconductor or electric solid state devices or components ; Apparatus not specifically provided for elsewhere
    • H01L21/683Apparatus specially adapted for handling semiconductor or electric solid state devices during manufacture or treatment thereof; Apparatus specially adapted for handling wafers during manufacture or treatment of semiconductor or electric solid state devices or components ; Apparatus not specifically provided for elsewhere for supporting or gripping
    • H01L21/6838Apparatus specially adapted for handling semiconductor or electric solid state devices during manufacture or treatment thereof; Apparatus specially adapted for handling wafers during manufacture or treatment of semiconductor or electric solid state devices or components ; Apparatus not specifically provided for elsewhere for supporting or gripping with gripping and holding devices using a vacuum; Bernoulli devices
    • GPHYSICS
    • G01MEASURING; TESTING
    • G01JMEASUREMENT OF INTENSITY, VELOCITY, SPECTRAL CONTENT, POLARISATION, PHASE OR PULSE CHARACTERISTICS OF INFRARED, VISIBLE OR ULTRAVIOLET LIGHT; COLORIMETRY; RADIATION PYROMETRY
    • G01J5/00Radiation pyrometry, e.g. infrared or optical thermometry
    • G01J2005/0077Imaging
    • GPHYSICS
    • G01MEASURING; TESTING
    • G01JMEASUREMENT OF INTENSITY, VELOCITY, SPECTRAL CONTENT, POLARISATION, PHASE OR PULSE CHARACTERISTICS OF INFRARED, VISIBLE OR ULTRAVIOLET LIGHT; COLORIMETRY; RADIATION PYROMETRY
    • G01J5/00Radiation pyrometry, e.g. infrared or optical thermometry
    • G01J5/48Thermography; Techniques using wholly visual means

Definitions

  • the present disclosure relates to an inspection system that inspects a substrate.
  • An inspection apparatus that performs such an electrical inspection generally includes a wafer stage (chuck top), a probe card, and a tester.
  • the probe card has a plurality of probes that contact a plurality of devices formed on a wafer.
  • the tester applies electrical signals to a plurality of devices formed on the wafer through the probe card to inspect various electrical characteristics of the devices.
  • an inspection apparatus in which a plurality of inspection units including a wafer stage, a probe card, and a tester are arranged in the height direction and the lateral direction System
  • a plurality of inspection units including a wafer stage, a probe card, and a tester are arranged in the height direction and the lateral direction System
  • a loading / unloading area having a container (FOUP) for storing a plurality of wafers, facing an inspection area in which a plurality of inspection units are arranged in the height direction and the horizontal direction Area
  • a transfer robot common to all the cells is provided between the inspection area and the loader area to transfer the wafer
  • a common aligner moving stage for each cell in the lateral direction is provided in each stage. It is provided to align the wafer.
  • an alignment camera that can move in the direction of arrangement of the plurality of cells in the lateral direction is provided in each stage.
  • the present disclosure provides a technique capable of reducing the footprint per inspection unit in an inspection system in which a plurality of inspection units are arranged in the height direction and the lateral direction.
  • An inspection system includes a tester for performing an electrical inspection of an object to be inspected, and a probe card provided between the tester and the object to be inspected.
  • the inspection object is delivered between an inspection area provided with an inspection section having a plurality of inspection units, an arrangement section in which a storage container of the inspection object is disposed, and the storage container and the inspection area.
  • a loader region having a loader
  • the inspection unit is configured by arranging a plurality of inspection unit rows formed by arranging a plurality of inspection units in one direction in the horizontal direction in the vertical direction,
  • the placement unit is provided on the one end side of the inspection unit in the one direction, and the inspection area is provided adjacent to each stage of the inspection unit row of the inspection unit, and a plurality of transports extending in the one direction are provided.
  • the transport paths Rotatably in it provided, further comprising a plurality of transport mechanisms passing inspection object, which is carried in from the loader to and from the inspection unit.
  • a technique capable of reducing the footprint per inspection unit is provided.
  • FIG. 2 is a cross-sectional view of the inspection system of FIG. 1 taken along line II-II ′.
  • FIG. 3 is a cross-sectional view of the inspection system of FIG. 1 taken along line III-III ′. It is a figure for demonstrating the use condition of the camera for alignment of the camera unit in the test
  • FIG. 7 is a view for explaining a state in which a wafer is delivered between the transfer mechanism and the chuck top in the inspection system of FIG. 1; FIG.
  • FIG. 7 is a view showing an example of a method in the case of delivering a wafer between the transfer mechanism and the chuck top in the inspection system of FIG. 1;
  • FIG. 13 is a view showing another example of a method in the case of delivering a wafer between the transfer mechanism and the chuck top in the inspection system of FIG. 1;
  • FIG. 7 is a view for explaining an operation of transferring the wafer to the chuck top of the inspection unit in which no wafer is present, and bringing the wafer on the chuck top into contact with the probe card by the aligner to make an inspection state in the inspection system of FIG.
  • FIG. 8 is a view for explaining an operation of removing the chuck top in the inspection unit after the inspection is finished and unloading the wafer on the chuck top in the inspection system of FIG. 1; It is a top view which shows schematic structure of the conventional inspection system. It is a top view which shows schematic structure of the inspection system which concerns on 2nd Embodiment. It is a top view which shows schematic structure of the inspection system which concerns on 3rd Embodiment.
  • FIG. 1 is a plan view showing a schematic configuration of an inspection system according to a first embodiment
  • FIG. 2 is a cross-sectional view taken along line II-II ′ of the inspection system of FIG. 1
  • FIG. 3 is a III of the inspection system of FIG. It is sectional drawing by -III 'line.
  • the inspection system 10 of the first embodiment is for inspecting the electrical characteristics of a plurality of devices formed on a wafer which is an inspection object.
  • the inspection system 10 has a housing 11, and within the housing 11 is an inspection area 12 for inspecting the electrical characteristics of devices formed on the wafer W, and a loader for carrying the wafer W into and out of the inspection area 12. And an area 13.
  • the inspection area 12 has a first inspection unit 12a and a second inspection unit 12b.
  • first inspection unit 12a inspection unit rows in which a plurality (five or more in the drawing) inspection units 30 are arranged along the X direction in the drawing are arranged in three stages in the Z direction (vertical direction).
  • the second inspection unit 12b is provided to face the first inspection unit 12a, and, like the first inspection unit 12a, the inspection unit row in which a plurality of inspection units 30 are arranged along the X direction is the Z direction Are arranged in three stages.
  • each transport path 14 is similarly provided with a camera unit 16 including a camera for alignment so as to be movable in the X direction.
  • the positions of the wafer W in the inspection units 30 of the first inspection unit 12a and the second inspection unit 12b of each stage so as to correspond to the respective stages of the first inspection unit 12a and the second inspection unit 12b.
  • Three aligners 17 are provided for alignment.
  • the loader area 13 is connected to one end of the inspection area 12 in the longitudinal direction, mounts the FOUP 18 which is a container for storing a plurality of wafers W, and has a mounting table 19 having a load port and the wafer W. And a transfer chamber 20 provided with a loader 21 for transferring.
  • a control unit 70 and the like are accommodated inside the mounting table 19.
  • a plurality of (four in the drawing) FOUPs 18 are placed on the mounting table 19 along the Y direction orthogonal to the X direction which is the arrangement direction of the inspection units 30.
  • the length of the transfer chamber 20 in the height direction (Z direction) and the width direction (Y direction) have the same length as that of the inspection area 12, and the loader 21 moves the inside of the transfer chamber 20 in the Y and Z directions. It is possible to move to
  • the loader 21 has a base 21a and a transfer arm 21b provided thereon, and the transfer arm 21b can move back and forth, up and down, and rotate.
  • an end portion of the transport path 14 on the transport chamber 20 side is a home position 23.
  • a pre-alignment unit 24 for pre-alignment of the wafer W is provided on one side of the home position 23, and a buffer unit 25 for temporarily placing the wafer W is provided on the other side.
  • the buffer unit 25 has a plurality of wafer placement units.
  • the loader 21 in the transfer chamber 20 takes out the wafer W from any one of the FOUPs 18 and transfers the wafer W to one of the wafer placement units of the buffer unit 25 of each stage of the inspection area 12 or the prealignment unit 24 of each stage. Can be transported.
  • the transfer mechanism 15 of each stage receives the wafer W pre-aligned by the pre-alignment unit 24 or the wafer W temporarily placed in the buffer unit 25 after pre-alignment, travels along the transfer path 14, and either inspection unit The wafer W is transferred to 30. Further, the wafer W after inspection in any of the inspection units 30 of each stage is mounted from the transfer mechanism 15 on any wafer mounting portion of the buffer unit 25, received by the loader 21, and returned to the FOUP 18.
  • the inspection unit 30 includes a tester 31, a probe card 32, a support plate 33, a contact block 34, a bellows 35, and a chuck top (stage) 36.
  • the tester 31 sends inspection signals to a plurality of devices formed on the wafer W.
  • the probe card 32 has a plurality of probes 32 a in contact with electrodes of a plurality of devices formed on the wafer W.
  • the support plate 33 is provided below the tester 31 and supports the probe card 32.
  • the contact block 34 connects the support plate 33, the tester 31 and the probe card 32, and on the upper and lower surfaces thereof, many pogo pins 34a for electrically connecting the probe card 32 and the tester 31 are provided. .
  • the bellows 35 is provided so as to hang from the support plate 33 and surround the probe card 32.
  • the bellows 35 is for forming a sealed space including the probe card 32 and the wafer W in a state where the plurality of probes 32 a of the probe card 32 are in contact with the wafer W on the chuck top 36.
  • the chuck top 36 is attracted to the support plate 33.
  • the aligner 17 of each stage has an X block 42, a Y block 44, and a Z block 45.
  • the X block 42 extends from the first inspection unit 12a to the second inspection unit 12b on the base plate 40 of the stage, and is provided with four guide rails provided along the X direction on the base plate 40. 41 Move on the top in the X direction.
  • the Y block 44 moves in the Y direction on a guide rail 43 provided on the X block 42 along the Y direction.
  • the Z block 45 moves in the Z direction with respect to the Y block 44.
  • the chuck top 36 is engaged on the Z block 45 with a predetermined positional relationship maintained.
  • the X block 42 is movable from the inspection unit 30 closest to the loader area 13 to the inspection unit 30 farthest from the loader area 13.
  • the Y block 44 is movable across the transport path 14 from the inspection unit 30 of the first inspection unit 12a to the inspection unit 30 of the second inspection unit 12b.
  • a lower camera 46 for photographing the lower surface of the probe card 32 is provided on the peripheral wall of the Y block 44.
  • the aligner 17 is used when aligning the wafer W in the inspection unit 30, attaching the chuck top 36 to the probe card 32, and removing the chuck top 36 from the probe card 32.
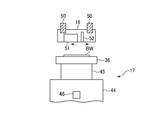
  • the camera unit 16 has a camera 51 for alignment and a radiation thermometer 52.
  • the camera 51 for alignment takes an image of the wafer W mounted on the chuck top 36 mounted on the aligner 17.
  • the aligner 17 adjusts the position of the chuck top 36.
  • the radiation thermometer 52 conveys the blackbody wafer BW instead of the wafer W and performs an alignment operation to measure the temperature of the blackbody wafer BW at each alignment location. That is, by adjusting the position of the chuck top 36 by the aligner 17, temperature measurement can be performed at a plurality of positions of the black body wafer BW.
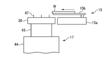
  • the conveyance mechanism 15 is also supported by the guide rail 50, and the conveyance mechanism 15 can move the conveyance path 14 in the X direction along the guide rail 50.
  • sliders 53a and 53b respectively formed in a bowl shape and a reverse bowl shape are movably engaged.
  • the base 15a of the transport mechanism 15 is supported by the vertical portions of the sliders 53a and 53b so as to be able to move up and down via the support members 54a and 54b.
  • the transport mechanism 15 is movable in the X direction and the Z direction.
  • the transfer mechanism 15 normally moves only in the X direction, but is retracted upward in the Z direction if there is a possibility that the transfer mechanism 15 and the chuck top 36 on the aligner 17 may interfere with each other during transfer of the wafer W.
  • Delivery of the wafer W between the transport mechanism 15 and the chuck top 36 is carried out as shown in FIG. That is, the wafer W mounted on the transfer arm 15 b of the transfer mechanism 15 is delivered onto the lift pins 47 in a state where the lift pins 47 are protruded from the chuck top 36 by the mechanism incorporated in the aligner 17. Alternatively, the wafer W on the lift pins 47 is received by the transfer arm 15 b.
  • delivery of the wafer W between the transfer arm 15 b of the transfer mechanism 15 and the chuck top 36 can be performed as shown in FIG. 7 or 8.
  • the transfer of the wafer W is performed in a state in which the aligner 17 is moved to the transfer path 14.
  • the transfer of the wafer W is performed in a state in which the transfer arm 15 a is moved toward the chuck top 36 on the aligner 17 while the aligner 17 is positioned below the tester 31. It will be.
  • two guide rails 50 are provided in the upper portion of the conveyance path 14 so that the camera unit 16 and the conveyance mechanism 15 travel along the X direction while being supported by the guide rails 50. did. However, one or both of them may be supported by a guide rail 41 which travels the X block 42 of the aligner 17 along the X direction to travel in the X direction.
  • the control unit 70 basically includes a computer, and controls each component of the inspection system 10.
  • the control unit 70 has a CPU, an input device (keyboard, mouse, etc.), an output device (printer, etc.), a display device It has a storage device (storage medium) (display, etc.).
  • a storage device storage medium
  • the main control unit of the control unit 70 causes the inspection system 10 to execute a predetermined operation based on, for example, a storage medium incorporated in the storage device or a processing recipe stored in the storage medium set in the storage device.
  • FIG. 10 is a view for explaining an operation of removing the chuck top 36 and unloading the wafer W on the chuck top 36 in the inspection unit 30 after the end of the inspection in the inspection system 10 of FIG.
  • the wafer W before inspection is taken out of the FOUP 18 by the loader 21 and transported to the pre-alignment unit 24 or the buffer unit 25, and the pre-alignment unit 24 performs pre-alignment.
  • the wafer W in the pre-alignment unit 24 or the buffer unit 25 is transferred by the transfer mechanism 15 to the inspection unit 30 to be transferred, and placed on the chuck top 36 on the aligner 17 ((a) in FIG. 9).
  • the wafer W is photographed by the camera 51 for alignment of the camera unit 16 while moving the aligner 17.
  • the temperature of a plurality of points on the surface of the chuck top 36 is measured by the radiation thermometer 52 at an appropriate timing before the wafer W is placed on the chuck top 36.
  • the aligner 17 is moved to photograph the lower surface of the probe card 32 by the lower camera 46, and then the aligner 17 aligns the chuck top 36 in the horizontal direction (FIG. 9). (B)).
  • the Z block 45 of the aligner 17 is raised to bring the wafer W on the chuck top 36 into contact with the probe 32 a of the probe card 32. Then, the lower portion of the bellows 35 and the upper surface of the chuck top 36 are brought into close contact with a seal ring (not shown), and the space surrounded by the bellows 35 is evacuated to evacuate the chuck top 36 by the support plate 33. (FIG. 9 (c)).
  • the aligner 17 is positioned at a position capable of supporting the chuck top 36 adsorbed to the support plate 33 (FIG. 10A).
  • the Z block 45 of the aligner 17 is raised to support the chuck top 36 on the Z block 45 (FIG. 10 (b)).
  • the vacuum suction of the chuck top 36 is released, and the chuck top 36 is lowered together with the Z block 45 ((c) in FIG. 10) to move the aligner 17 to the transport path 14 ((d) in FIG. 10).
  • the wafer W on the chuck top 36 is received by the transfer arm 15 b of the transfer mechanism 15, and the transfer mechanism 15 is moved to the home position 23 and placed on the buffer unit 25.
  • the wafer W is returned to the FOUP 18 by the loader 21 of the loader area 13.
  • the above-described operation is continuously performed to inspect the electrical characteristics of all the wafers W accommodated in the FOUP 18.
  • the loader area 13 is not provided opposite to the inspection area as in the conventional case, but is provided at one end of the inspection unit arrangement direction. Even increasing the number of 30 can reduce the free space.
  • the loader area 13 is provided opposite to the inspection area 12. For this reason, when the number of inspection units 30 in the lateral direction is increased, in the loader area 13, in addition to the area corresponding to the required number of FOUPs 18, an empty space 80 in which the FOUPs 18 need not be placed is generated. Therefore, the footprint per inspection unit 30 hardly decreases even if the number of inspection units 30 is increased. On the other hand, in the present embodiment, since the loader area 13 is provided at one end of the inspection area 12 in the inspection unit arrangement direction, such an empty space does not occur. For this reason, the footprint per inspection unit 30 can be made smaller than before by increasing the number of inspection units 30 in the lateral direction.
  • the footprint can be further reduced by orthogonalizing the transport direction of the loader 21, that is, the arrangement direction of the FOUP 18 and the transport direction of the transport mechanism 15.
  • the traveling space of the camera unit 16 is secured and then the loader 21 is used outside the space. Transport space must be provided.
  • the conveyance mechanism 15 is provided in each stage, and the conveyance mechanism 15 travels on the conveyance path 14 which is an arrangement space of the camera unit 16. Therefore, the conveyance space is made smaller than in the prior art. Can. Thereby, the footprint per inspection unit 30 can be further reduced. Further, since the conveyance space can be reduced as described above, a maintenance space can be provided on the back of the inspection unit 30.
  • the inspection units 30 are provided on both sides of the transport path 14 as described above, the footprint per inspection unit 30 can be made much smaller although the inspection system itself becomes larger than the conventional one.
  • the radiation thermometer is provided in the camera unit 16 in addition to the camera 51, the temperature of the wafer on the chuck top 36 can be measured by an extremely simple operation of transferring and aligning the black body wafer BW. it can. Further, since the alignment point at this time can be freely changed, the temperature distribution of the wafer can also be measured.
  • temperature measurement of the wafer on the chuck top 36 is performed by installing a weight having a thermocouple attached to the surface of the chuck top 36 on the upper surface of the chuck top.
  • a weight having a thermocouple attached to the surface of the chuck top 36 on the upper surface of the chuck top is required.
  • the radiation thermometer 52 is provided in the camera unit 16, and the black-body wafer BW is transported and aligned by a very simple operation, without performing the complicated and time-consuming operation as described above. , Made it possible to measure the temperature and temperature distribution of the wafer on the chuck top online.
  • FIG. 12 is a plan view showing an inspection system according to the second embodiment.
  • the inspection system 10 'of the present embodiment has an inspection area 12' including only the first inspection unit 12a and the three conveyance paths 14,
  • the second inspection unit 12 b does not exist in the area 12 ′.
  • inspection unit rows in which a plurality (five or more in the drawing) of inspection units 30 are arranged along the X direction in the drawing are in the Z direction (vertical direction) It is arranged in three stages.
  • Each conveyance path 14 extends along the X direction to the side of each step of the first inspection unit 12 a.
  • the other configuration is the same as that of the inspection system 10 of the first embodiment.
  • the loader area 13 is not provided opposite to the inspection area 12 as in the prior art, but is provided at one end in the inspection unit arrangement direction in the inspection area 12. For this reason, although the number of inspection units 30 is reduced compared with the inspection system 10 of the first embodiment, as in the first embodiment, the free space can be reduced even if the number of inspection units 30 in the lateral direction is increased. Can. Therefore, inspection system 10 'of this embodiment can make the footprint per inspection unit 30 smaller than before.
  • the transport mechanism 15 is provided in each stage, and the transport mechanism 15 travels on the transport path 14 where the camera unit 16 is disposed.
  • the transfer space can be reduced. Thereby, the footprint per inspection unit 30 can be further reduced. Further, since the conveyance space can be reduced as described above, a maintenance space can be provided on the back of the inspection unit 30.
  • the inspection system itself is compact, and the load on the transport mechanism 15 can be reduced compared to the first embodiment.
  • FIG. 13 is a plan view showing an inspection system according to the third embodiment.
  • the inspection system 10 ′ ′ of the present embodiment is different from the inspection system 10 of the first embodiment in the X direction in each stage of the transport path 14 ′ between the first inspection unit 12a and the second inspection unit 12b. It has an inspection area 12 ′ ′ in which two transport mechanisms 15 moving along are provided. One transport mechanism 15 is dedicated to the first inspection unit 12a, and the other transport mechanism 15 is dedicated to the second inspection unit 12b.
  • a wafer placement unit 26 having both a pre-alignment unit and a buffer unit is provided on the side of these.
  • the other configuration is the same as that of the inspection system 10 of the first embodiment.
  • the width of the conveyance path 14 ′ of each second stage is wider than the conveyance path 14 of the first embodiment because the two conveyance mechanisms 15 travel.
  • the footprint increases and the inspection system becomes larger, however, one of the two transport mechanisms 15 is dedicated to the inspection unit 30 of the first inspection unit 12a, and the other is the inspection unit of the second inspection unit 12b. Since the exclusive use of the transfer mechanism 15 is performed, the load on the transfer mechanism 15 is less than that of the first embodiment, and the processing throughput can be increased.
  • the aligner and the transport mechanism are separately provided.
  • the transport stage is configured with the chuck top mounted on the aligner, and the transport stage has the functions of the aligner and the transport mechanism. You may be required to
  • an aligner may be provided in each inspection unit, and the transfer mechanism may transfer the wafer to and from the aligner of each inspection unit.
  • inspection system 11: housing, 12, 12 ′, 12 ′ ′; inspection area, 13: loader area, 14, 14 ′; transport path, 15: transport mechanism, 16: camera unit, 17; aligner, 18; FOUP, 21; loader, 30; inspection unit, 70; control unit, W; wafer (inspection object)

Landscapes

  • Engineering & Computer Science (AREA)
  • General Physics & Mathematics (AREA)
  • Physics & Mathematics (AREA)
  • Microelectronics & Electronic Packaging (AREA)
  • Computer Hardware Design (AREA)
  • Manufacturing & Machinery (AREA)
  • Condensed Matter Physics & Semiconductors (AREA)
  • Power Engineering (AREA)
  • General Engineering & Computer Science (AREA)
  • Environmental & Geological Engineering (AREA)
  • Spectroscopy & Molecular Physics (AREA)
  • Robotics (AREA)
  • Testing Or Measuring Of Semiconductors Or The Like (AREA)
  • Container, Conveyance, Adherence, Positioning, Of Wafer (AREA)
PCT/JP2018/018314 2017-07-19 2018-05-11 検査システム Ceased WO2019017050A1 (ja)

Priority Applications (2)

Application Number Priority Date Filing Date Title
US16/630,606 US11067624B2 (en) 2017-07-19 2018-05-11 Inspection system
KR1020207004705A KR102413295B1 (ko) 2017-07-19 2018-05-11 검사 시스템

Applications Claiming Priority (2)

Application Number Priority Date Filing Date Title
JP2017-139936 2017-07-19
JP2017139936A JP6887332B2 (ja) 2017-07-19 2017-07-19 検査システム

Publications (1)

Publication Number Publication Date
WO2019017050A1 true WO2019017050A1 (ja) 2019-01-24

Family

ID=65015135

Family Applications (1)

Application Number Title Priority Date Filing Date
PCT/JP2018/018314 Ceased WO2019017050A1 (ja) 2017-07-19 2018-05-11 検査システム

Country Status (5)

Country Link
US (1) US11067624B2 (enExample)
JP (2) JP6887332B2 (enExample)
KR (1) KR102413295B1 (enExample)
TW (1) TWI761555B (enExample)
WO (1) WO2019017050A1 (enExample)

Cited By (3)

* Cited by examiner, † Cited by third party
Publication number Priority date Publication date Assignee Title
WO2023127490A1 (ja) * 2021-12-27 2023-07-06 東京エレクトロン株式会社 検査装置及び検査方法
WO2025105238A1 (ja) * 2023-11-17 2025-05-22 東京エレクトロン株式会社 搬送システム、および搬送方法
JP7784890B2 (ja) 2021-12-27 2025-12-12 東京エレクトロン株式会社 検査装置及び検査方法

Families Citing this family (8)

* Cited by examiner, † Cited by third party
Publication number Priority date Publication date Assignee Title
KR102367037B1 (ko) * 2017-06-21 2022-02-24 도쿄엘렉트론가부시키가이샤 검사 시스템
JP7274350B2 (ja) * 2019-05-28 2023-05-16 東京エレクトロン株式会社 搬送システム、検査システム及び検査方法
TWI797461B (zh) * 2019-07-26 2023-04-01 日商新川股份有限公司 封裝裝置
CN113053774A (zh) * 2019-12-27 2021-06-29 迪科特测试科技(苏州)有限公司 探测装置
JP7390934B2 (ja) 2020-03-03 2023-12-04 東京エレクトロン株式会社 検査装置
CN115884739A (zh) * 2020-06-02 2023-03-31 川崎重工业株式会社 检査设备系统
WO2022201283A1 (ja) * 2021-03-23 2022-09-29 キオクシア株式会社 ストレージシステム
WO2025243755A1 (ja) * 2024-05-22 2025-11-27 川崎重工業株式会社 基板搬送システム

Citations (4)

* Cited by examiner, † Cited by third party
Publication number Priority date Publication date Assignee Title
JPS63229836A (ja) * 1987-03-19 1988-09-26 Nikon Corp ウエハ検査装置
WO2009004968A1 (ja) * 2007-06-29 2009-01-08 Advantest Corporation 試験装置
JP2016046285A (ja) * 2014-08-20 2016-04-04 東京エレクトロン株式会社 ウエハ検査装置
JP2016162803A (ja) * 2015-02-27 2016-09-05 株式会社東京精密 プローバ及びプローブカードのプリヒート方法

Family Cites Families (13)

* Cited by examiner, † Cited by third party
Publication number Priority date Publication date Assignee Title
JP2952331B2 (ja) * 1990-04-05 1999-09-27 東京エレクトロン株式会社 プローブ装置
JP3312748B2 (ja) * 1992-06-05 2002-08-12 株式会社東京精密 ウエハ検査装置及びウエハ検査方法
JPH08335614A (ja) * 1995-06-08 1996-12-17 Tokyo Electron Ltd プロ−ブシステム
KR20100084607A (ko) * 2007-05-15 2010-07-27 로널드 씨 슈버트 웨이퍼 프로브 테스트 및 검사 시스템
KR100892756B1 (ko) 2007-12-27 2009-04-15 세메스 주식회사 기판 처리 장치 및 이를 이용한 기판 이송 방법
JP5139253B2 (ja) 2008-12-18 2013-02-06 東京エレクトロン株式会社 真空処理装置及び真空搬送装置
CN102301462A (zh) * 2009-02-12 2011-12-28 株式会社爱德万测试 半导体晶片测试装置
JP2011009362A (ja) * 2009-06-24 2011-01-13 Tokyo Electron Ltd インプリントシステム、インプリント方法、プログラム及びコンピュータ記憶媒体
JP5952645B2 (ja) * 2012-06-06 2016-07-13 東京エレクトロン株式会社 ウエハ検査用インターフェース及びウエハ検査装置
JP5918682B2 (ja) * 2012-10-09 2016-05-18 東京エレクトロン株式会社 プローブカード取り付け方法
JP5690321B2 (ja) * 2012-11-29 2015-03-25 株式会社アドバンテスト プローブ装置および試験装置
JP5718379B2 (ja) * 2013-01-15 2015-05-13 東京エレクトロン株式会社 基板収納処理装置及び基板収納処理方法並びに基板収納処理用記憶媒体
JP6652361B2 (ja) * 2015-09-30 2020-02-19 東京エレクトロン株式会社 ウエハ検査装置及びウエハ検査方法

Patent Citations (4)

* Cited by examiner, † Cited by third party
Publication number Priority date Publication date Assignee Title
JPS63229836A (ja) * 1987-03-19 1988-09-26 Nikon Corp ウエハ検査装置
WO2009004968A1 (ja) * 2007-06-29 2009-01-08 Advantest Corporation 試験装置
JP2016046285A (ja) * 2014-08-20 2016-04-04 東京エレクトロン株式会社 ウエハ検査装置
JP2016162803A (ja) * 2015-02-27 2016-09-05 株式会社東京精密 プローバ及びプローブカードのプリヒート方法

Cited By (4)

* Cited by examiner, † Cited by third party
Publication number Priority date Publication date Assignee Title
WO2023127490A1 (ja) * 2021-12-27 2023-07-06 東京エレクトロン株式会社 検査装置及び検査方法
JP2023097019A (ja) * 2021-12-27 2023-07-07 東京エレクトロン株式会社 検査装置及び検査方法
JP7784890B2 (ja) 2021-12-27 2025-12-12 東京エレクトロン株式会社 検査装置及び検査方法
WO2025105238A1 (ja) * 2023-11-17 2025-05-22 東京エレクトロン株式会社 搬送システム、および搬送方法

Also Published As

Publication number Publication date
US20200158775A1 (en) 2020-05-21
KR20200033288A (ko) 2020-03-27
US11067624B2 (en) 2021-07-20
TW201909301A (zh) 2019-03-01
JP2021119638A (ja) 2021-08-12
JP6887332B2 (ja) 2021-06-16
JP2019021804A (ja) 2019-02-07
TWI761555B (zh) 2022-04-21
KR102413295B1 (ko) 2022-06-27

Similar Documents

Publication Publication Date Title
WO2019017050A1 (ja) 検査システム
CN102445573B (zh) 晶片检查装置和探针卡的预热方法
TWI442509B (zh) Check the device
KR101335146B1 (ko) 프로브 카드 검출 장치, 웨이퍼의 위치 정렬 장치 및 웨이퍼의 위치 정렬 방법
CN111742399B (zh) 接触精度保证方法、接触精度保证机构和检查装置
WO2014021176A1 (ja) プローブカードへの基板当接方法
KR102355572B1 (ko) 검사 장치, 검사 시스템, 및 위치 맞춤 방법
CN113874693B (zh) 载置台、检查装置和温度校正方法
CN112394207B (zh) 探针装置和探针卡的预冷却方法
WO2018211775A1 (ja) 検査システムおよび検査システムにおける温度測定方法
JP6785375B2 (ja) 検査システム
US11933839B2 (en) Inspection apparatus and inspection method
KR101744055B1 (ko) 프로브 카드에의 기판 접촉 장치 및 기판 접촉 장치를 구비한 기판 검사 장치
JP7281981B2 (ja) プローバおよびプローブカードのプリヒート方法
JP4515331B2 (ja) 基板の処理システム
TWI507700B (zh) 探針台
JP2011100883A (ja) プローブ装置
JP4402011B2 (ja) 基板の処理システム及び基板の処理方法
JP2024048171A (ja) リフターピンの制御方法及び搬送アーム
JP2017142091A (ja) 基板検査装置及び基板検査方法
JPH02311773A (ja) 半導体検査方法

Legal Events

Date Code Title Description
121 Ep: the epo has been informed by wipo that ep was designated in this application

Ref document number: 18835492

Country of ref document: EP

Kind code of ref document: A1

NENP Non-entry into the national phase

Ref country code: DE

ENP Entry into the national phase

Ref document number: 20207004705

Country of ref document: KR

Kind code of ref document: A

122 Ep: pct application non-entry in european phase

Ref document number: 18835492

Country of ref document: EP

Kind code of ref document: A1