WO2016129234A1 - 車両用表示制御装置及び車両用表示制御方法 - Google Patents
車両用表示制御装置及び車両用表示制御方法 Download PDFInfo
- Publication number
- WO2016129234A1 WO2016129234A1 PCT/JP2016/000489 JP2016000489W WO2016129234A1 WO 2016129234 A1 WO2016129234 A1 WO 2016129234A1 JP 2016000489 W JP2016000489 W JP 2016000489W WO 2016129234 A1 WO2016129234 A1 WO 2016129234A1
- Authority
- WO
- WIPO (PCT)
- Prior art keywords
- image
- display
- vehicle
- route
- control
- Prior art date
- Legal status (The legal status is an assumption and is not a legal conclusion. Google has not performed a legal analysis and makes no representation as to the accuracy of the status listed.)
- Ceased
Links
Images
Classifications
-
- G—PHYSICS
- G01—MEASURING; TESTING
- G01C—MEASURING DISTANCES, LEVELS OR BEARINGS; SURVEYING; NAVIGATION; GYROSCOPIC INSTRUMENTS; PHOTOGRAMMETRY OR VIDEOGRAMMETRY
- G01C21/00—Navigation; Navigational instruments not provided for in groups G01C1/00 - G01C19/00
- G01C21/26—Navigation; Navigational instruments not provided for in groups G01C1/00 - G01C19/00 specially adapted for navigation in a road network
- G01C21/34—Route searching; Route guidance
- G01C21/36—Input/output arrangements for on-board computers
- G01C21/3626—Details of the output of route guidance instructions
- G01C21/365—Guidance using head up displays or projectors, e.g. virtual vehicles or arrows projected on the windscreen or on the road itself
-
- B—PERFORMING OPERATIONS; TRANSPORTING
- B60—VEHICLES IN GENERAL
- B60K—ARRANGEMENT OR MOUNTING OF PROPULSION UNITS OR OF TRANSMISSIONS IN VEHICLES; ARRANGEMENT OR MOUNTING OF PLURAL DIVERSE PRIME-MOVERS IN VEHICLES; AUXILIARY DRIVES FOR VEHICLES; INSTRUMENTATION OR DASHBOARDS FOR VEHICLES; ARRANGEMENTS IN CONNECTION WITH COOLING, AIR INTAKE, GAS EXHAUST OR FUEL SUPPLY OF PROPULSION UNITS IN VEHICLES
- B60K35/00—Instruments specially adapted for vehicles; Arrangement of instruments in or on vehicles
- B60K35/10—Input arrangements, i.e. from user to vehicle, associated with vehicle functions or specially adapted therefor
-
- B—PERFORMING OPERATIONS; TRANSPORTING
- B60—VEHICLES IN GENERAL
- B60K—ARRANGEMENT OR MOUNTING OF PROPULSION UNITS OR OF TRANSMISSIONS IN VEHICLES; ARRANGEMENT OR MOUNTING OF PLURAL DIVERSE PRIME-MOVERS IN VEHICLES; AUXILIARY DRIVES FOR VEHICLES; INSTRUMENTATION OR DASHBOARDS FOR VEHICLES; ARRANGEMENTS IN CONNECTION WITH COOLING, AIR INTAKE, GAS EXHAUST OR FUEL SUPPLY OF PROPULSION UNITS IN VEHICLES
- B60K35/00—Instruments specially adapted for vehicles; Arrangement of instruments in or on vehicles
- B60K35/20—Output arrangements, i.e. from vehicle to user, associated with vehicle functions or specially adapted therefor
- B60K35/21—Output arrangements, i.e. from vehicle to user, associated with vehicle functions or specially adapted therefor using visual output, e.g. blinking lights or matrix displays
- B60K35/215—Output arrangements, i.e. from vehicle to user, associated with vehicle functions or specially adapted therefor using visual output, e.g. blinking lights or matrix displays characterised by the combination of multiple visual outputs, e.g. combined instruments with analogue meters and additional displays
-
- B—PERFORMING OPERATIONS; TRANSPORTING
- B60—VEHICLES IN GENERAL
- B60K—ARRANGEMENT OR MOUNTING OF PROPULSION UNITS OR OF TRANSMISSIONS IN VEHICLES; ARRANGEMENT OR MOUNTING OF PLURAL DIVERSE PRIME-MOVERS IN VEHICLES; AUXILIARY DRIVES FOR VEHICLES; INSTRUMENTATION OR DASHBOARDS FOR VEHICLES; ARRANGEMENTS IN CONNECTION WITH COOLING, AIR INTAKE, GAS EXHAUST OR FUEL SUPPLY OF PROPULSION UNITS IN VEHICLES
- B60K35/00—Instruments specially adapted for vehicles; Arrangement of instruments in or on vehicles
- B60K35/20—Output arrangements, i.e. from vehicle to user, associated with vehicle functions or specially adapted therefor
- B60K35/21—Output arrangements, i.e. from vehicle to user, associated with vehicle functions or specially adapted therefor using visual output, e.g. blinking lights or matrix displays
- B60K35/23—Head-up displays [HUD]
- B60K35/234—Head-up displays [HUD] controlling the brightness, colour or contrast of virtual images depending on the driving conditions or on the condition of the vehicle or the driver
-
- B—PERFORMING OPERATIONS; TRANSPORTING
- B60—VEHICLES IN GENERAL
- B60K—ARRANGEMENT OR MOUNTING OF PROPULSION UNITS OR OF TRANSMISSIONS IN VEHICLES; ARRANGEMENT OR MOUNTING OF PLURAL DIVERSE PRIME-MOVERS IN VEHICLES; AUXILIARY DRIVES FOR VEHICLES; INSTRUMENTATION OR DASHBOARDS FOR VEHICLES; ARRANGEMENTS IN CONNECTION WITH COOLING, AIR INTAKE, GAS EXHAUST OR FUEL SUPPLY OF PROPULSION UNITS IN VEHICLES
- B60K35/00—Instruments specially adapted for vehicles; Arrangement of instruments in or on vehicles
- B60K35/20—Output arrangements, i.e. from vehicle to user, associated with vehicle functions or specially adapted therefor
- B60K35/28—Output arrangements, i.e. from vehicle to user, associated with vehicle functions or specially adapted therefor characterised by the type of the output information, e.g. video entertainment or vehicle dynamics information; characterised by the purpose of the output information, e.g. for attracting the attention of the driver
-
- B—PERFORMING OPERATIONS; TRANSPORTING
- B60—VEHICLES IN GENERAL
- B60K—ARRANGEMENT OR MOUNTING OF PROPULSION UNITS OR OF TRANSMISSIONS IN VEHICLES; ARRANGEMENT OR MOUNTING OF PLURAL DIVERSE PRIME-MOVERS IN VEHICLES; AUXILIARY DRIVES FOR VEHICLES; INSTRUMENTATION OR DASHBOARDS FOR VEHICLES; ARRANGEMENTS IN CONNECTION WITH COOLING, AIR INTAKE, GAS EXHAUST OR FUEL SUPPLY OF PROPULSION UNITS IN VEHICLES
- B60K35/00—Instruments specially adapted for vehicles; Arrangement of instruments in or on vehicles
- B60K35/80—Arrangements for controlling instruments
- B60K35/81—Arrangements for controlling instruments for controlling displays
-
- B—PERFORMING OPERATIONS; TRANSPORTING
- B60—VEHICLES IN GENERAL
- B60W—CONJOINT CONTROL OF VEHICLE SUB-UNITS OF DIFFERENT TYPE OR DIFFERENT FUNCTION; CONTROL SYSTEMS SPECIALLY ADAPTED FOR HYBRID VEHICLES; ROAD VEHICLE DRIVE CONTROL SYSTEMS FOR PURPOSES NOT RELATED TO THE CONTROL OF A PARTICULAR SUB-UNIT
- B60W30/00—Purposes of road vehicle drive control systems not related to the control of a particular sub-unit, e.g. of systems using conjoint control of vehicle sub-units
- B60W30/08—Active safety systems predicting or avoiding probable or impending collision or attempting to minimise its consequences
- B60W30/095—Predicting travel path or likelihood of collision
- B60W30/0956—Predicting travel path or likelihood of collision the prediction being responsive to traffic or environmental parameters
-
- B—PERFORMING OPERATIONS; TRANSPORTING
- B60—VEHICLES IN GENERAL
- B60W—CONJOINT CONTROL OF VEHICLE SUB-UNITS OF DIFFERENT TYPE OR DIFFERENT FUNCTION; CONTROL SYSTEMS SPECIALLY ADAPTED FOR HYBRID VEHICLES; ROAD VEHICLE DRIVE CONTROL SYSTEMS FOR PURPOSES NOT RELATED TO THE CONTROL OF A PARTICULAR SUB-UNIT
- B60W30/00—Purposes of road vehicle drive control systems not related to the control of a particular sub-unit, e.g. of systems using conjoint control of vehicle sub-units
- B60W30/10—Path keeping
- B60W30/12—Lane keeping
-
- G—PHYSICS
- G02—OPTICS
- G02B—OPTICAL ELEMENTS, SYSTEMS OR APPARATUS
- G02B27/00—Optical systems or apparatus not provided for by any of the groups G02B1/00 - G02B26/00, G02B30/00
- G02B27/01—Head-up displays
-
- G—PHYSICS
- G08—SIGNALLING
- G08G—TRAFFIC CONTROL SYSTEMS
- G08G1/00—Traffic control systems for road vehicles
- G08G1/09—Arrangements for giving variable traffic instructions
- G08G1/0962—Arrangements for giving variable traffic instructions having an indicator mounted inside the vehicle, e.g. giving voice messages
- G08G1/0968—Systems involving transmission of navigation instructions to the vehicle
- G08G1/096805—Systems involving transmission of navigation instructions to the vehicle where the transmitted instructions are used to compute a route
-
- G—PHYSICS
- G08—SIGNALLING
- G08G—TRAFFIC CONTROL SYSTEMS
- G08G1/00—Traffic control systems for road vehicles
- G08G1/09—Arrangements for giving variable traffic instructions
- G08G1/0962—Arrangements for giving variable traffic instructions having an indicator mounted inside the vehicle, e.g. giving voice messages
- G08G1/0968—Systems involving transmission of navigation instructions to the vehicle
- G08G1/096855—Systems involving transmission of navigation instructions to the vehicle where the output is provided in a suitable form to the driver
- G08G1/096861—Systems involving transmission of navigation instructions to the vehicle where the output is provided in a suitable form to the driver where the immediate route instructions are output to the driver, e.g. arrow signs for next turn
-
- G—PHYSICS
- G09—EDUCATION; CRYPTOGRAPHY; DISPLAY; ADVERTISING; SEALS
- G09G—ARRANGEMENTS OR CIRCUITS FOR CONTROL OF INDICATING DEVICES USING STATIC MEANS TO PRESENT VARIABLE INFORMATION
- G09G5/00—Control arrangements or circuits for visual indicators common to cathode-ray tube indicators and other visual indicators
-
- B—PERFORMING OPERATIONS; TRANSPORTING
- B60—VEHICLES IN GENERAL
- B60K—ARRANGEMENT OR MOUNTING OF PROPULSION UNITS OR OF TRANSMISSIONS IN VEHICLES; ARRANGEMENT OR MOUNTING OF PLURAL DIVERSE PRIME-MOVERS IN VEHICLES; AUXILIARY DRIVES FOR VEHICLES; INSTRUMENTATION OR DASHBOARDS FOR VEHICLES; ARRANGEMENTS IN CONNECTION WITH COOLING, AIR INTAKE, GAS EXHAUST OR FUEL SUPPLY OF PROPULSION UNITS IN VEHICLES
- B60K2360/00—Indexing scheme associated with groups B60K35/00 or B60K37/00 relating to details of instruments or dashboards
- B60K2360/16—Type of output information
- B60K2360/166—Navigation
-
- B—PERFORMING OPERATIONS; TRANSPORTING
- B60—VEHICLES IN GENERAL
- B60K—ARRANGEMENT OR MOUNTING OF PROPULSION UNITS OR OF TRANSMISSIONS IN VEHICLES; ARRANGEMENT OR MOUNTING OF PLURAL DIVERSE PRIME-MOVERS IN VEHICLES; AUXILIARY DRIVES FOR VEHICLES; INSTRUMENTATION OR DASHBOARDS FOR VEHICLES; ARRANGEMENTS IN CONNECTION WITH COOLING, AIR INTAKE, GAS EXHAUST OR FUEL SUPPLY OF PROPULSION UNITS IN VEHICLES
- B60K2360/00—Indexing scheme associated with groups B60K35/00 or B60K37/00 relating to details of instruments or dashboards
- B60K2360/16—Type of output information
- B60K2360/177—Augmented reality
-
- B—PERFORMING OPERATIONS; TRANSPORTING
- B60—VEHICLES IN GENERAL
- B60K—ARRANGEMENT OR MOUNTING OF PROPULSION UNITS OR OF TRANSMISSIONS IN VEHICLES; ARRANGEMENT OR MOUNTING OF PLURAL DIVERSE PRIME-MOVERS IN VEHICLES; AUXILIARY DRIVES FOR VEHICLES; INSTRUMENTATION OR DASHBOARDS FOR VEHICLES; ARRANGEMENTS IN CONNECTION WITH COOLING, AIR INTAKE, GAS EXHAUST OR FUEL SUPPLY OF PROPULSION UNITS IN VEHICLES
- B60K2360/00—Indexing scheme associated with groups B60K35/00 or B60K37/00 relating to details of instruments or dashboards
- B60K2360/20—Optical features of instruments
- B60K2360/33—Illumination features
- B60K2360/334—Projection means
-
- B—PERFORMING OPERATIONS; TRANSPORTING
- B60—VEHICLES IN GENERAL
- B60W—CONJOINT CONTROL OF VEHICLE SUB-UNITS OF DIFFERENT TYPE OR DIFFERENT FUNCTION; CONTROL SYSTEMS SPECIALLY ADAPTED FOR HYBRID VEHICLES; ROAD VEHICLE DRIVE CONTROL SYSTEMS FOR PURPOSES NOT RELATED TO THE CONTROL OF A PARTICULAR SUB-UNIT
- B60W50/00—Details of control systems for road vehicle drive control not related to the control of a particular sub-unit, e.g. process diagnostic or vehicle driver interfaces
- B60W50/08—Interaction between the driver and the control system
- B60W50/14—Means for informing the driver, warning the driver or prompting a driver intervention
- B60W2050/146—Display means
-
- B—PERFORMING OPERATIONS; TRANSPORTING
- B60—VEHICLES IN GENERAL
- B60W—CONJOINT CONTROL OF VEHICLE SUB-UNITS OF DIFFERENT TYPE OR DIFFERENT FUNCTION; CONTROL SYSTEMS SPECIALLY ADAPTED FOR HYBRID VEHICLES; ROAD VEHICLE DRIVE CONTROL SYSTEMS FOR PURPOSES NOT RELATED TO THE CONTROL OF A PARTICULAR SUB-UNIT
- B60W30/00—Purposes of road vehicle drive control systems not related to the control of a particular sub-unit, e.g. of systems using conjoint control of vehicle sub-units
- B60W30/08—Active safety systems predicting or avoiding probable or impending collision or attempting to minimise its consequences
-
- G—PHYSICS
- G02—OPTICS
- G02B—OPTICAL ELEMENTS, SYSTEMS OR APPARATUS
- G02B27/00—Optical systems or apparatus not provided for by any of the groups G02B1/00 - G02B26/00, G02B30/00
- G02B27/01—Head-up displays
- G02B27/0101—Head-up displays characterised by optical features
- G02B2027/0138—Head-up displays characterised by optical features comprising image capture systems, e.g. camera
-
- G—PHYSICS
- G02—OPTICS
- G02B—OPTICAL ELEMENTS, SYSTEMS OR APPARATUS
- G02B27/00—Optical systems or apparatus not provided for by any of the groups G02B1/00 - G02B26/00, G02B30/00
- G02B27/01—Head-up displays
- G02B27/0101—Head-up displays characterised by optical features
- G02B2027/0141—Head-up displays characterised by optical features characterised by the informative content of the display
Definitions
- the present disclosure relates to a vehicle display control device and a vehicle display control method.
- HUD Head-up Display
- a vehicle display control apparatus that controls the virtual image display is widely known.
- Patent Document 1 As a kind of such a vehicle display control device, an emphasis image that emphasizes the presence of a forward vehicle in the same scene is superimposed by a HUD at a position that overlaps with a forward travel path in an outside scene. A virtual image is displayed.
- the automatic control unit mounted on the vehicle to which this device is applied is a cruise control unit that automatically controls the cruise of the host vehicle. Therefore, during cruise control by the cruise control unit, an enhanced image formed in the virtual image display area is formed. As a result, it is possible to provide the user with a sense of security because it is possible to correctly and quickly grasp the presence of the forward vehicle in which the inter-vehicle distance from the host vehicle is secured by the control of the cruise control unit. Become.
- the information that the user wants to know during control by the automatic control unit is not only the presence of the vehicle ahead. For example, regarding the planned route planned for the host vehicle by the control of the automatic control unit, whether or not the route is the correct route desired by the user is important for providing a sense of security.
- the present disclosure has been made in view of the above points, and an object thereof is to provide a vehicle display control device and a vehicle display control method that provide a sense of security to the user.
- a vehicle display control apparatus for a HUD that displays a virtual image by superimposing a display image related to a traveling state of a host vehicle that is automatically controlled by an automatic control unit with an external scenery of the host vehicle.
- a device for controlling the virtual image display a route information acquisition unit for acquiring route information related to the planned route planned for the host vehicle by the control of the automatic control unit, and a forward travel path in the outside scene
- a route image forming unit that forms a route image indicating a planned route based on the route information acquired by the route information acquisition unit as a display image formed by the HUD in a virtual image display region overlapping with the route information.
- the acquisition unit and the route image forming unit are constructed by at least one processor.
- a display control method for a vehicle is directed to a HUD that displays a virtual image by superimposing a display image related to a traveling state of the host vehicle that is automatically controlled by an automatic control unit with an external scenery of the host vehicle.
- the virtual image display is a method for controlling the virtual image display, and obtains the route information related to the planned route planned for the host vehicle under the control of the automatic control unit, and superimposes it on the front traveling road in the outside scenery.
- Forming a route image indicating a planned route based on the acquired route information as a display image imaged by the HUD in the display area, and acquiring the route information and generating the route image is at least one processor It is executed by.
- a route image as a display image is formed by the HUD in the virtual image display region that is superimposed on the front traveling path of the host vehicle.
- the route image is formed on the basis of the route information related to the planned route so as to indicate the planned route planned for the host vehicle by the automatic control by the automatic control unit, and is superimposed on the forward traveling route.
- FIG. 1 is an interior view showing an interior of a host vehicle equipped with a travel assist system according to a first embodiment of the present disclosure.
- FIG. 2 is a block diagram showing the driving assist system according to the first embodiment.
- FIG. 3 is a structural diagram schematically showing the detailed configuration of the HUD according to the first embodiment.
- FIG. 4 is a front view showing a virtual image display state according to the first embodiment
- FIG. 5 is a front view showing a virtual image display state according to the first embodiment
- FIG. 6 is a front view showing a virtual image display state according to the first embodiment,
- FIG. 4 is a front view showing a virtual image display state according to the first embodiment
- FIG. 5 is a front view showing a virtual image display state according to the first embodiment
- FIG. 6 is a front view showing a virtual image display state according to the first embodiment
- FIG. 4 is a front view showing a virtual image display state according to the first embodiment
- FIG. 5 is a front view showing a virtual image display state according to
- FIG. 7 is a front view showing a virtual image display state according to the first embodiment
- FIG. 8 is a front view showing a virtual image display state according to the first embodiment
- FIG. 9 is a front view showing a virtual image display state according to the first embodiment
- FIG. 10 is a front view showing a virtual image display state according to the first embodiment
- FIG. 11 is a front view showing a virtual image display state according to the first embodiment
- FIG. 12 is a front view showing a virtual image display state according to the first embodiment
- FIG. 13 is a front view showing a virtual image display state according to the first embodiment
- FIG. 14 is a time chart for explaining the lane control and the cruise control according to the first embodiment.
- FIG. 14 is a time chart for explaining the lane control and the cruise control according to the first embodiment.
- FIG. 15 is a time chart for explaining the lane control and the cruise control according to the first embodiment.
- FIG. 16 is a time chart for explaining the lane control and the cruise control according to the first embodiment.
- FIG. 17 is a flowchart showing a lane control state check flow according to the first embodiment.
- FIG. 18 is a flowchart showing a lane control schedule check flow according to the first embodiment.
- FIG. 19 is a flowchart showing a cruise control state check flow according to the first embodiment.
- FIG. 20 is a flowchart showing a first virtual image display flow according to the first embodiment.
- FIG. 21 is a flowchart showing a first virtual image display flow according to the first embodiment.
- FIG. 22 is a flowchart showing a second virtual image display flow according to the first embodiment.
- FIG. 23 is a front view illustrating a virtual image display state according to the second embodiment of the present disclosure
- FIG. 24 is a front view showing a virtual image display state according to the second embodiment
- FIG. 25 is a front view showing a virtual image display state according to the second embodiment
- FIG. 26 is a front view showing a virtual image display state according to the second embodiment
- FIG. 27 is a front view showing a virtual image display state according to the second embodiment
- FIG. 28 is a front view showing a virtual image display state according to the second embodiment
- FIG. 29 is a flowchart showing a first virtual image display flow according to the second embodiment
- FIG. 30 is a flowchart showing a first virtual image display flow according to the second embodiment
- FIG. 31 is a flowchart showing a first virtual image display flow according to the second embodiment
- FIG. 32 is a flowchart showing a second virtual image display flow according to the second embodiment.
- FIG. 33 is a block diagram showing a modification of FIG.
- a travel assist system 1 according to the first embodiment to which the present disclosure is applied is mounted on a host vehicle (VH) 2 as shown in FIGS.
- the travel assist system 1 includes a periphery monitoring system (MONITOR) 3, a vehicle control system (CONTROL) 4, and a display system (DISPLAY) 5.
- the systems 3, 4, and 5 of the travel assist system 1 are connected via an in-vehicle network 6 such as a LAN (Local Area Network).
- LAN Local Area Network
- the periphery monitoring system 3 includes an external sensor 30 and a periphery monitoring ECU (Electronic Control Unit) 31.
- the outside sensor 30 detects obstacles that exist in the outside of the host vehicle 2 and may collide, such as other vehicles, artificial structures, humans and animals, and traffic indications in the outside.
- the external sensor 30 is, for example, one type or plural types of sonar, radar, camera, and the like.
- the sonar is an ultrasonic sensor installed in, for example, the front part or the rear part of the host vehicle 2.
- the sonar detects the obstacle in the detection area by outputting the reflected wave of the ultrasonic wave transmitted to the detection area in the external environment of the host vehicle 2, and outputs a detection signal.
- the radar is a millimeter wave sensor or a laser sensor installed in the front part or the rear part of the host vehicle 2.
- the radar receives the millimeter wave or quasi-millimeter wave transmitted to the detection area in the external environment of the host vehicle 2, or the reflected wave of the laser, thereby detecting an obstacle in the detection area and outputting a detection signal. .
- the camera is a monocular or compound eye camera installed on, for example, a room mirror or a door mirror of the host vehicle 2.
- the camera captures a detection area in the external environment of the host vehicle 2 to detect an obstacle or traffic display in the detection area and outputs an image signal.
- the periphery monitoring ECU 31 acquires sign information such as a speed limit sign and a lane sign, and lane marking information such as a white line and a yellow line based on an output signal of the external sensor 30.
- the periphery monitoring ECU 31 acquires obstacle information such as the type of the obstacle and the relative relationship of the obstacle with respect to the host vehicle 2 based on the output signal of the external sensor 30.
- the obstacle information in particular, for example, the inter-vehicle distance and relative speed between the front vehicle 8v (see FIGS. 9 to 11), which is a front obstacle, and the host vehicle 2 are acquired by the periphery monitoring ECU 31.
- the vehicle control system 4 includes a vehicle state sensor 40, an occupant sensor 41, and a vehicle control ECU 42.
- the vehicle state sensor 40 is connected to the in-vehicle network 6.
- the vehicle state sensor 40 detects the traveling state of the host vehicle 2.
- the vehicle state sensor 40 is, for example, one type or a plurality of types among a vehicle speed sensor, a rotation speed sensor, a rudder angle sensor, a fuel sensor, a water temperature sensor, a radio wave receiver, and the like.
- the vehicle speed sensor detects the vehicle speed of the host vehicle 2 and outputs a vehicle speed signal corresponding to the detection.
- the rotation speed sensor detects the engine rotation speed in the host vehicle 2 and outputs a rotation speed signal corresponding to the detection.
- the steering angle sensor detects the steering angle of the host vehicle 2 and outputs a steering angle signal corresponding to the detection.
- the fuel sensor detects the remaining amount of fuel in the fuel tank of the host vehicle 2 and outputs a fuel signal corresponding to the detection.
- the water temperature sensor detects the cooling water temperature of the internal combustion engine in the host vehicle 2 and outputs a water temperature signal corresponding to the detection.
- the radio wave receiver outputs a traffic signal by receiving output radio waves from, for example, a positioning satellite, another vehicle transmitter for vehicle-to-vehicle communication, and a roadside device for road-to-vehicle communication.
- the traffic signal is a signal representing traffic information related to the host vehicle 2 such as a travel position, a travel direction, a travel path state, a speed limit, and the like, and the obstacle information.
- the passenger sensor 41 is connected to the in-vehicle network 6.
- the occupant sensor 41 detects the state or operation of a user who has boarded in the passenger compartment 2c of the host vehicle 2 shown in FIG.
- the occupant sensor 41 includes, for example, one or more of a power switch, a user status monitor, a display setting switch, a turn switch, and the like, and an automatic control switch, a lane control switch, and a cruise control switch.
- the power switch is turned on by the user in the passenger compartment 2c to start the internal combustion engine or the electric motor of the host vehicle 2, and outputs a power signal corresponding to the operation.
- the user state monitor captures the user state on the driver's seat 20 in the passenger compartment 2c with an image sensor, thereby detecting the user state and outputting an image signal.
- the display setting switch is operated by the user to set the display state in the passenger compartment 2c, and outputs a display setting signal corresponding to the operation.
- the turn switch is turned on by the user in the passenger compartment 2c to operate the direction indicator of the host vehicle 2, and outputs a turn signal corresponding to the operation.
- the automatic control switch outputs an automatic control signal corresponding to the operation by being turned on by the user in the passenger compartment 2c in order to command automatic control for the traveling state of the host vehicle 2.
- the lane control switch is turned on by the user in the passenger compartment 2c in order to command automatic control of the position in the width direction in the travel lane in which the host vehicle 2 travels, and thus a lane control signal corresponding to the operation is sent.
- the cruise control switch outputs a cruise control signal corresponding to the operation by being turned on by the user in the passenger compartment 2c in order to instruct an automatic cruise control to maintain the inter-vehicle distance or the vehicle speed in the host vehicle 2. To do.
- the vehicle control ECU 42 shown in FIG. 2 is mainly composed of a microcomputer having a processor and a memory, and is connected to the in-vehicle network 6.
- the vehicle control ECU 42 mounted on the host vehicle 2 as an “automatic control unit” is one type including at least an integrated control ECU among an engine control ECU, a motor control ECU, a brake control ECU, a steering control ECU, an integrated control ECU, and the like. There are multiple types.
- the engine control ECU controls the operation of the throttle actuator and the fuel injection valve of the engine according to the operation of the accelerator pedal 26 in the passenger compartment 2c shown in FIG. Accelerate and decelerate.
- the motor control ECU accelerates or decelerates the vehicle speed of the host vehicle 2 by controlling the operation of the motor generator according to the operation of the accelerator pedal 26 in the passenger compartment 2c or automatically.
- the brake control ECU accelerates or decelerates the vehicle speed of the host vehicle 2 by controlling the operation of the brake actuator according to the operation of the brake pedal 27 in the passenger compartment 2c or automatically.
- the steering control ECU adjusts the steering angle of the host vehicle 2 by automatically controlling the operation of the electric power steering in accordance with the operation of the steering handle 24 in the passenger compartment 2c.
- the integrated control ECU synchronously controls the operation of the other control ECU based on, for example, the output signals of the sensors 40 and 41, the acquired information in the periphery monitoring ECU 31, and the control information in the other control ECU of the vehicle control ECU 42.
- the integrated control ECU controls the lane keeping assist that regulates the deviation from the lane line such as the white line or the yellow line by executing the lane control that automatically controls the position in the width direction in the travel lane of the host vehicle 2 in the travel path.
- LKA Lane Keeping Assist
- the integrated control ECU mounted on the host vehicle 2 as a “lane control unit” that realizes this LKA controls the operation of the steering control ECU based on the acquired information in the periphery monitoring ECU 31 and the output signal of the radio receiver.
- the integrated control ECU sets the planned route Rp (see FIGS. 6 to 8 and 10 to 12) scheduled for the host vehicle 2 as needed, thereby causing the lane control to follow the route Rp.
- the lane control by LKA is started when the lane control switch is turned on while the automatic control switch and the cruise control switch are turned on as shown in (a) of each of FIGS. Is turned on.
- FIGS. 14 and 15 (a) when the automatic control switch and the cruise control switch are turned on, for example, when the lane control switch is turned off in accordance with the disappearance of the lane marking, Lane control ends temporarily and enters a ready state.
- (a) of each of FIGS. 15 and 16 when the automatic control switch is turned off regardless of the lane control switch and the cruise control switch, the lane control is completely finished and the Become.
- the integrated control ECU performs the cruise control that automatically controls the cruise of the host vehicle 2 during the follow-up traveling or the independent traveling according to the presence or absence of the forward vehicle 8v in the external scenery 8.
- Full vehicle speed range adaptive cruise control (FSRA: Full Speed Adaptive Cruise Control) that maintains the inter-vehicle distance or vehicle speed in the vehicle speed range is also realized.
- the integrated control ECU mounted on the host vehicle 2 also as the “cruise control unit” that realizes this FSRA operates the engine control ECU or the motor control ECU on the basis of the acquired information in the periphery monitoring ECU 31 and the output signal of the radio receiver. And the operation of the brake control ECU.
- Such cruise control by FSRA is started when the cruise control switch is turned on while the automatic control switch is turned on, as shown in (b) of FIGS. Become.
- the cruise control switch is turned off in accordance with the braking of the host vehicle 2 according to the operation of the brake pedal 27, for example, while the automatic control switch is turned on.
- the cruise control is temporarily terminated and becomes ready.
- the cruise control is completely ended and turned off.
- the display system 5 is mounted on the host vehicle 2 for visually presenting information.
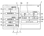
- the display system 5 includes a HUD 50, an MFD (Multi Function Display) 51, a combination meter 52, and an HCU (HMI (Human Machine Interface) ⁇ Control Unit) 54.
- the HUD 50 is installed on the instrument panel 22 in the passenger compartment 2c shown in FIGS.
- the HUD 50 projects a display image 56 formed by a display 50 i such as a liquid crystal panel or a projector onto the front windshield 21 as a “projection member” in the host vehicle 2 through the optical system 50 o.
- the front windshield 21 is formed of translucent glass, and thus transmits the outside scene 8 existing in front of the host vehicle 2 out of the passenger compartment 2c.
- the luminous flux of the display image 56 reflected by the front windshield 21 and the luminous flux from the external scene 8 transmitted through the shield 21 are perceived by the user on the driver's seat 20.
- the virtual image of the display image 56 formed in front of the front windshield 21 is displayed so as to be superimposed on a part of the external scene 8 as shown in FIGS. Visible by the upper user.
- the display image 56 is displayed as a semi-transparent virtual image, it is possible to visually recognize a portion of the external scene 8 where the image 56 is superimposed.
- the display image 56 displayed in a virtual image by the HUD 50 in this way is a route image 560, a start image 561, an end image 562, an emphasized image 563, as a plurality of types of images related to the traveling state of the host vehicle 2 as shown in FIGS. 564 and working images 565, 566.
- These images 560, 561, 562, 563, 564, 565, 566 are displayed as virtual images in any of the periods Tnol, Tpel, Tpsl, Trol, Trdl, Troc, Trdc shown in the operation examples of FIGS. It will be.
- the route image 560 is imaged on the first virtual image display area A1 that overlaps the forward travel path 8r in the external scenery 8.
- the route image 560 shows the planned route Rp that the host vehicle 2 is made to follow in the lane control by the LKA, superimposed on the forward travel route 8r.
- the first virtual image display area A1 (see FIGS. 1 and 3) is set at a position separated from the driver's seat 20 forward by, for example, about 15 m.
- the route image 560 is intermittently displayed as a virtual image during a predetermined period Tnol, Tpel (see FIGS. 14 to 16) in which the lane control is turned on.
- Tnol, Tpel see FIGS. 14 to 16
- the route image 560 when the host vehicle 2 travels alone is repeatedly formed as a moving image that gradually extends from the vehicle 2 side toward the horizontal line 8h side of the front as shown in FIGS. Is done.
- the route image 560 during the follow-up traveling in which the host vehicle 2 follows the rear of the front vehicle 8v gradually extends from the vehicle 2 side toward the front vehicle 8v side in the front as shown in FIGS. It is repeatedly formed like a moving image.
- the route image 560 is formed straight as shown in FIGS. 7, 11 and 12, while when the planned route Rp is a curve, the route image is shown as FIG. 560 is formed with a curve. Further, the display color of the route image 560 is set according to the state of the lane control during any travel.
- the display color of the route image 560 is set to, for example, light blue with hatching.
- Tpel the scheduled termination period from when the lane control is temporarily or completely terminated until it is realized, for example, amber color or the like shown in FIG.
- the display color of the route image 560 is set to a color different from the normal on period Tnol. Further, when the lane control is temporarily completed and becomes a ready state, or when the lane control is completely terminated and turned off, the display of the route image 560 is terminated as shown in FIGS.
- the start image 561 is imaged in the first virtual image display area A ⁇ b> 1 that overlaps with the forward travel path 8 r in the external scenery 8, similar to the route image 560.
- the start image 561 indicates the start start position Ps where the start of the lane control is scheduled to be superimposed on the forward travel path 8r.
- the start image 561 is displayed at the position Ps on the forward travel path 8r in the scheduled start period Tpsl (see FIGS. 14 to 16) from when the start of lane control is scheduled until the host vehicle 2 reaches the scheduled start position Ps.
- a virtual image is continuously superimposed and displayed.
- the start image 561 is formed in a moving image shape in which the trapezoidal figure whose upper and lower bases are along the horizontal line 8h as shown in FIG. 4 is enlarged as the host vehicle 2 approaches the scheduled start position Ps.
- the display color of the start image 561 is set to the same color as that of the route image 560 in the normal on-period Tnol, such as light blue, which is shown with a right-up hatching in FIG.
- the display itself of the start image 561 ends as shown in FIG.
- the end image 562 is imaged in the first virtual image display area A1 that overlaps with the forward travel path 8r in the external scenery 8 like the route image 560.
- the end image 562 indicates the scheduled end position Pe where the end of the lane control is scheduled to be superimposed on the forward travel path 8r.
- the end image 562 is displayed at the position Pe on the forward travel path 8r in the scheduled end period Tpel (see FIGS. 14 to 16) from when the end of the lane control is scheduled until the host vehicle 2 reaches the planned end position Pe.
- a virtual image is continuously superimposed and displayed.
- the end image 562 is formed in a moving image shape in which the trapezoidal figure whose upper base and lower base are along the horizontal line 8h as shown in FIG. 12 is enlarged as the host vehicle 2 approaches the planned end position Pe.
- the display color of the end image 562 is set to the same color as that of the route image 560 of the synchronization Tpel, such as an amber color shown with a left-upward hatching in FIG. That is, the display color of the end image 562 is set to a color different from that of the start image 561.
- the display of the end image 562 itself ends as shown in FIG.
- the enhanced images 563 and 564 are imaged in the first virtual image display area A 1 that overlaps with the forward travel path 8 r in the external scene 8, similar to the route image 560.
- the emphasized images 563 and 564 are superimposed on the forward travel path 8r to emphasize the presence / absence of the forward vehicle 8v that the host vehicle 2 can follow in the cruise control by FSRA. become.
- the emphasized images 563 and 564 are intermittently displayed as virtual images during the actual on period Troc (see FIGS. 14 to 16) in which the cruise control is turned on.
- the detection emphasis image 563 gradually moves from the vehicle 2 side to the front in the horizontal line 8h side as shown in FIGS. 5 to 7 during the actual on period Troc when the host vehicle 2 is traveling alone. It is repeatedly formed like a movie.
- the detection enhanced image 563 is formed in an elongated bar shape along the horizontal line 8h.
- the display color of the detection enhanced image 563 is set to the same color as that of the route image 560 of the normal on-period Tnol, such as light blue shown in FIGS.
- the vehicle-enhanced image 564 is not formed in the actual on period Troc when traveling alone.
- the detection emphasis image 563 in the actual on period Troc during the follow-up running in which the host vehicle 2 follows the rear of the front vehicle 8v is displayed on the front vehicle 8v side of the front from the vehicle 2 side as shown in FIGS. It is repeatedly formed in a moving image shape that gradually moves toward. Also at this time, the detection enhanced image 563 is formed in the shape of an elongated bar along the horizontal line 8h. Also at this time, the display color of the detection enhancement image 563 is set to the same color as that of the route image 560 of the normal on-period Tnol, such as light blue shown in FIGS. That is, the display color of the detection emphasis image 563 is the same color during independent traveling and during follow-up traveling.
- the vehicle enhancement is performed as the detection enhanced image 563 moves as shown in FIG. 10 to the forward vehicle 8v before the horizontal line 8h and then is erased as shown in FIG.
- An image 564 is formed.
- the vehicle-enhanced image 564 is formed in an annular shape surrounding the forward vehicle 8v, particularly in the present embodiment, an arcuate annular shape that continues around the vehicle 8v except for the lower side.
- the display color of the vehicle-enhanced image 564 is also set to the same color as the route image 560 of the normal on-period Tno1, such as light blue, which is shown with a right-up hatching in FIG.
- the display color of the detection emphasized image 563 and the display color of the vehicle emphasized image 564 are the same color during follow-up traveling.
- Such a vehicle-enhanced image 564 is temporarily displayed and then deleted, so that the next emphasized images 563 and 564 are repeatedly displayed.
- the detection-enhanced image 563 is changed to the annular vehicle-enhanced image 564 surrounding the vehicle 8v after the moving image-like detection-enhanced image 563 that gradually moves to the preceding vehicle 8v is formed. become.
- the operation images 565 and 566 are imaged in the second virtual image display area A2 that is lower than the first virtual image display area A1 and overlaps with the front traveling path 8r on the own vehicle 2 side.
- the lane operation image 565 shows the lane control state superimposed on the forward travel path 8r as the operation state of the integrated control ECU of the vehicle control ECU 42.
- the cruise operation image 566 formed below the lane operation image 565 in the second virtual image display area A2 is the operation state of the integrated control ECU in the vehicle control ECU 42, and the cruise control state is set to the front travel path 8r. It will be shown superimposed.
- the second virtual image display area A2 (see FIGS. 1 and 3) is set at a position separated from the driver's seat 20 forward by, for example, about 2 m.
- the lane operation image 565 is continuously displayed as a virtual image during a predetermined period Trol, Trdl (see FIGS. 14 to 16) in which the lane control is in an on state or a preparation state.
- the lane operation image 565 is formed so that the lane control can be imagined by imitating the steering handle 24 for keeping the traveling lane of the host vehicle 2 as shown in FIGS.
- the display color of the lane operation image 565 is set according to the lane control state.
- the display color of the lane operation image 565 is set to the same color as the route image 560 in the normal on period Tnol.
- the preparation period Trdl (refer to FIGS. 14 and 15) from when the lane control is temporarily completed to when it is started again or completely completed, for example, amber color shown in FIG.
- the display color of the lane operation image 565 is set to the same color as the route image 560 of the scheduled end period Tpel.
- the display of the lane operation image 565 is terminated as shown in FIGS.
- the display color of the lane operation image 565 is changed in accordance with the lane control state being switched between the on state and the preparation state.
- the cruise operation image 566 is continuously displayed as a virtual image during a predetermined period Troc, Trdc (see FIGS. 14 to 16) in which the cruise control is in an on state or a preparation state.
- the cruise operation image 566 is formed so that cruise control can be imaged by combining figures and characters as shown in FIGS.
- the display color of the cruise operation image 566 is set according to the cruise control state.
- the display color of the cruise operation image 566 is set to the same color as the lane operation image 565 in the actual ON period Trol.
- the preparation period Trdc see FIGS. 15 and 16
- the display color of the cruise operation image 566 is set to the same color as the lane operation image 565 of the preparation period Trdl.
- the display of the cruise operation image 566 is terminated as shown in FIG.
- the display color of the cruise operation image 566 is changed in accordance with the switching of the cruise control state between the on state and the preparation state.
- FIGS. 1, 4 to 13 show an example in which the virtual image of the display image 56 indicating the vehicle speed is displayed in the second virtual image display area A2 below the first virtual image display area A1.
- the display image 56 is projected onto the combiner, thereby realizing a virtual image display.
- the navigation information can be acquired based on the map information stored in the memory 54m and the output signal of the sensor 40, for example, in the HCU 54 described in detail later.
- the MFD 51 is installed in the center console 23 in the passenger compartment 2c shown in FIG.
- the MFD 51 displays a real image of an image formed so as to show predetermined information on one or a plurality of liquid crystal panels so that it can be visually recognized by a user on the driver's seat 20.
- As the real image display by the MFD 51 display of an image indicating one type or a plurality of types of information among navigation information, audio information, video information, communication information, and the like is employed.
- the combination meter 52 is installed on the instrument panel 22 in the passenger compartment 2c.
- the combination meter 52 displays vehicle information related to the host vehicle 2 so that the user on the driver's seat 20 can visually recognize the vehicle information.
- the combination meter 52 is a digital meter that displays vehicle information by an image formed on a liquid crystal panel, or an analog meter that displays vehicle information by indicating a scale with a pointer.
- As the display by the combination meter 52 for example, one or more of the vehicle speed, the engine speed, the fuel remaining amount, the coolant temperature, and the operation state of the turn switch, automatic control switch, lane control switch, cruise control switch, etc.
- a display showing the type of information is employed.
- the HCU 54 is mainly composed of a microcomputer having a processor 54p and a memory 54m, and is connected to the display elements 50, 51, 52 of the display system 5 and the in-vehicle network 6.
- the HCU 54 synchronously controls the operation of the display elements 50, 51, 52.
- the HCU 54 controls the operation of the sensors 40 and 41 based on, for example, output signals from the ECU 31, information acquired by the ECU 31, control information from the ECU 42, information stored in the memory 54m, and information acquired by the HCU 54 itself.
- the memory 54m of the HCU 54 and the memories of other various ECUs are respectively configured by using one or a plurality of storage media such as a semiconductor memory, a magnetic medium, or an optical medium.
- the HCU 54 that reads the images 560, 561, 562, 563, 564, 565, 566 stored as data in the memory 54m and displays a virtual image on the HUD 50 functions as a “vehicle display control device”. To do. Specifically, the HCU 54 implements a plurality of flows shown in FIGS. 17 to 22 by executing a display control program by the processor 54p. In addition, about the image memory
- the lane control state check flow shown in FIG. 17 will be described.
- the lane control state flag Fl stored in the memory 54m is set to “OFF” with the start or end according to the operation of the power switch.
- control information in the integrated control ECU of the vehicle control ECU 42 is acquired as “operation information” related to lane control.
- whether or not the automatic control switch is turned on is determined based on the acquired information in S101.
- the process proceeds to S103, and the lane control state flag Fl is set to “OFF” indicating that the lane control is in an off state, and then the process returns to S101.
- the process proceeds to S104.
- S104 it is determined whether or not the lane control is on based on the acquired information in S101. As a result, when an affirmative determination is made, the process proceeds to S105 to set the lane control state flag Fl to “ON” indicating that the lane control is in the on state, and then returns to S101. On the other hand, if a negative determination is made, the process shifts to S106 to set the lane control state flag Fl to “READY” indicating that the lane control is in the preparation state, and then returns to S101.
- the lane control schedule check flow shown in FIG. 18 will be described.
- the lane control schedule flag Fp stored in the memory 54m is set to “OFF” with the start or end according to the operation of the power switch.
- control information in the integrated control ECU of the vehicle control ECU 42 is acquired as “start information” related to the scheduled start position Ps at which lane control is scheduled to start.
- start information related to the scheduled start position Ps at which lane control is scheduled to start.
- control information in the integrated control ECU is acquired as “end information” related to the planned end position Pe where the lane control is scheduled to end.
- the cruise control state check flow shown in FIG. 19 will be described.
- the cruise control state flag Fc stored in the memory 54m is set to “OFF” at the start or end according to the operation of the power switch.
- control information in the integrated control ECU of the vehicle control ECU 42 is acquired as “operation information” related to cruise control.
- whether or not the automatic control switch is turned on is determined based on the acquired information in S301.
- the process proceeds to S303, where the cruise control state flag Fc is set to “OFF” indicating that the cruise control is in the OFF state, and then the process returns to S301.
- the process proceeds to S304.
- S304 whether or not the cruise control is on is determined based on the acquired information in S301. As a result, when an affirmative determination is made, the process proceeds to S305, and the cruise control state flag Fc is set to “ON” indicating that the cruise control is in the on state, and then the process returns to S301. On the other hand, if a negative determination is made, the process proceeds to S306, and the cruise control state flag Fc is set to “READY” indicating that the cruise control is in the preparation state, and then the process returns to S301.
- a route image 560, a start image 561, an end image 562, a detection enhancement image 563, a vehicle enhancement image 564, a lane operation image 565, and a cruise operation image 566 are respectively IMGR, IMGS, IMGE, IMGD, IMGV, IMGL, Display with IMGC.
- the setting content of the lane control state flag Fl is acquired.
- the setting content of the cruise control state flag Fc is acquired.
- the setting content of the lane control state flag Fl acquired in S401 is “OFF” or “READY”
- the setting content of the cruise control state flag Fc acquired in S402 is “OFF” or It is determined whether or not it is “READY”.
- the process proceeds to S404 to erase the display of the images 560, 561, 562, 563, and 564 in the first virtual image display area A1, and then returns to S401.
- a negative determination is made, the process proceeds to S405.
- the setting content of the lane control state flag Fl acquired in S401 is “OFF” or “READY”, and the setting content of the cruise control state flag Fc acquired in S402 is “ON”. It is determined whether or not. As a result, when a positive determination is made, the process proceeds to S406.
- the setting content of the lane control schedule flag Fp is acquired.
- the process proceeds to S408, and control information in the integrated control ECU of the vehicle control ECU 42 is acquired as “front information” related to the preceding vehicle 8v.
- control information in the integrated control ECU of the vehicle control ECU 42 is acquired as “front information” related to the preceding vehicle 8v.
- the process proceeds to S410, whereas when an affirmative determination is made, the process proceeds to S411.
- the detection emphasis image 563 is formed in the display color of the actual ON period Troc and is displayed in the first virtual image display area A1.
- a moving image-like detection enhanced image 563 that moves toward the horizontal line 8h is formed based on the control information in the integrated control ECU acquired in S408.
- the display of the images 560, 561, 562, 564 in the first virtual image display area A1 is erased.
- the detection enhanced image 563 and the vehicle enhanced image 564 are sequentially formed in the display color of the actual ON period Troc to form the first virtual image. It is displayed in the display area A1.
- the vehicle An annular vehicle-enhanced image 564 surrounding 8v is formed.
- the display of the images 560, 561, and 562 in the first virtual image display area A1 is erased. Note that after the execution of S411 and S410, the process returns to S401.
- the start image 561 is formed in the display color of the scheduled start period Tpsl and displayed in the first virtual image display area A1.
- a start image 561 that is superimposed and displayed on the scheduled start position Ps is formed based on the control information in the integrated control ECU acquired in S412.
- the detection enhanced image 563 is formed in the same manner as in S410 and displayed in the first virtual image display area A1.
- the display of the images 560, 562, and 564 in the first virtual image display area A1 is deleted.
- the start image 561 is formed in the same manner as S414 described above based on the control information in the integrated control ECU acquired in S412.
- One virtual image display area A1 is displayed.
- the detection emphasized image 563 and the vehicle emphasized image 564 are formed in the same manner as in the above S411, and are displayed in the first virtual image display area A1. Display. Further, in S415, the display of the images 560 and 562 in the first virtual image display area A1 is deleted. Note that after the execution of S415 and S414, the process returns to S401.
- the setting content of the lane control schedule flag Fp is acquired.
- the route image 560 is formed in the display color of the normal on-period Tnol and displayed in the first virtual image display area A1.
- a route image 560 that is superimposed and displayed on the planned route Rp is formed based on the control information in the integrated control ECU acquired in S418.
- the detection enhanced image 563 is formed in the same manner as in S410 and displayed in the first virtual image display area A1.
- the display of the images 561, 562, 564 in the first virtual image display area A1 is deleted.
- the route image 560 is formed in the same manner as S420 described above based on the control information in the integrated control ECU acquired in S418.
- One virtual image display area A1 is displayed.
- the detection emphasis image 563 and the vehicle emphasis image 564 are formed in the same manner as in the above S411, and the first virtual image display area A1 is formed. Display.
- the display of the images 561 and 562 in the first virtual image display area A1 is deleted. Note that after the execution of S421 and S420 described above, the process returns to S401.
- control information in the integrated control ECU is acquired as “route information” related to the planned route Rp, “end information” related to the planned end position Pe, and “forward information” related to the preceding vehicle 8v. .
- the route image 560 is formed in the display color of the scheduled end period Tpel and displayed in the first virtual image display area A1.
- the end image 562 is formed in the display color of the scheduled end period Tpel and is displayed in the first virtual image display area A1.
- the route image 560 superimposed on the planned route Rp and the planned end position on the route Rp based on the control information in the integrated control ECU acquired in S422.
- An end image 562 that is displayed superimposed on Pe is formed.
- the detection enhanced image 563 is formed in the same manner as in S410 and displayed in the first virtual image display area A1.
- the display of the images 561 and 564 in the first virtual image display area A1 is erased.
- the route image 560 and the end image 562 are displayed in the same manner as S424 described above based on the control information in the integrated control ECU acquired in S422. It is formed and displayed in the first virtual image display area A1.
- the detection emphasis image 563 and the vehicle emphasis image 564 are formed in the same manner as in the above S411, and are displayed in the first virtual image display area A1. Display. Further, in S425, the display of the image 561 in the first virtual image display area A1 is erased. Note that after the execution of S425 and S424 described above, the process returns to S401.
- S504 it is determined whether or not the setting content of the lane control state flag Fl acquired in S501 is “ON”. As a result, when an affirmative determination is made, the process proceeds to S505, whereby the lane operation image 565 is formed in the display color of the real-on period Trol and displayed in the second virtual image display area A2. At this time, the display color of the actual ON period Trol is based on the setting contents of the lane control state flag Fl. That is, the display color of the actual ON period Trol is a color based on the control information acquired as “operation information” related to the lane control in order to set the lane control state flag Fl in the lane control state check flow.
- the process proceeds to S506, and the lane operation image 565 is formed in the display color of the preparation period Trdl and displayed in the second virtual image display area A2.
- the display color of the preparation period Trdl is based on the setting contents of the lane control state flag Fl. That is, the display color of the preparation period Trdl is based on the control information acquired as “operation information” related to the lane control in order to set the lane control state flag Fl in the lane control state check flow. Note that after the execution of S506 and the above S503 and S505, the process proceeds to S507.
- the setting content of the cruise control state flag Fc is acquired.
- S510 it is determined whether or not the setting content of the cruise control state flag Fc acquired in S507 is “ON”. As a result, when an affirmative determination is made, the process proceeds to S511, whereby the cruise operation image 566 is formed in the display color of the real-on period Troc and is displayed in the second virtual image display area A2. At this time, the display color of the actual on period Troc is based on the setting content of the cruise control state flag Fc. That is, the display color of the actual on period Troc is a color based on control information acquired as “operation information” related to cruise control in order to set the cruise control state flag Fc in the cruise control state check flow.
- the process proceeds to S512, and the cruise operation image 566 is formed in the display color of the preparation period Trdc and displayed in the second virtual image display area A2.
- the display color of the preparation period Trdc is based on the setting content of the cruise control state flag Fc. That is, the display color of the preparation period Trdc is based on the control information acquired as “operation information” related to cruise control in order to set the cruise control state flag Fc in the cruise control state check flow. Note that after the execution of S512 and the above S509 and S511, the process returns to S501.
- the portion of the HCU 54 that executes S101 to S106, S401, S418, and S422 corresponds to the “route information acquisition unit” constructed by the processor 54p, and of the HCU 54, S403 to S405, S407.
- S409 to S411, S413 to S415, S417, S419 to S421, and S423 to S425 correspond to the “route image forming unit” constructed by the processor 54p.
- S101 to S106, S401, S418, and S422 correspond to a “route information acquisition step” executed by the processor 54p, and are S403 to S405, S407, S409 to S411, S413 to S415, and S417.
- S419 to S421 and S423 to S425 correspond to “route image forming step” executed by the processor 54p.
- the portion of the HCU 54 that executes S201 to S207, S406, and S412 corresponds to a “start information acquisition unit” constructed by the processor 54p, and of the HCU 54, S403 to S405, S407, and S409 to The portions that execute S411, S413 to S415, S417, S419 to S421, and S423 to S425 correspond to the “start image forming unit” constructed by the processor 54p.
- the portion of the HCU 54 that executes S201 to S207, S416, and S422 corresponds to an “end information acquisition unit” constructed by the processor 54p.
- the HCU 54 includes S403 to S405, S407, and S409.
- the portions that execute S411, S413 to S415, S417, S419 to S421, and S423 to S425 correspond to an “end image forming unit” constructed by the processor 54p.
- the portion of the HCU 54 that executes S301 to S306, S402, S408, S412, S418, and S422 corresponds to the “forward information acquisition unit” constructed by the processor 54p. .., S405, S407, S409 to S411, S413 to S415, S417, S419 to S421, and S423 to S425 correspond to an “enhanced image forming unit” constructed by the processor 54p.
- the portion of the HCU 54 that executes S101 to S106, S301 to S306, S501, and S507 corresponds to an “operation information acquisition unit” constructed by the processor 54p, and of the HCU 54, S502 to S506.
- S508 to S512 correspond to an “actuating image forming unit” constructed by the processor 54p.
- the route image 560 as the display image 56 is imaged by the HUD 50 in the first virtual image display area A1 that overlaps the forward travel path 8r of the host vehicle 2.
- the route image 560 is based on the control information in the integrated control ECU related to the route Rp so as to indicate the planned route Rp planned for the host vehicle 2 by the lane control in the integrated control ECU of the vehicle control ECU 42. By being formed, it is superimposed on the forward travel path 8r. Thereby, since the correctness of the planned route Rp can be grasped intuitively and in advance from the overlapping state with the forward travel route 8r, it is possible to bring a sense of security.
- the route image 560 is formed so as to indicate the planned route Rp that causes the host vehicle 2 to follow by the lane control by the integrated control ECU, and is superimposed on the forward travel route 8r.
- the route image 560 is repeatedly formed in a moving image shape that gradually extends forward from the host vehicle 2 side.
- the user can intuitively and quickly grasp not only the correctness of the scheduled route Rp by the lane control but also that the lane control is correctly continued. Therefore, it becomes possible to increase a sense of security.
- the start image 561 is imaged by the HUD 50 together with the route image 560 as the display image 56 in the first virtual image display area A1 superimposed on the forward travel path 8r of the host vehicle 2. .
- the start image 561 is formed based on the control information in the integrated control ECU related to the position Ps so as to indicate the scheduled start position Ps where the lane control in the integrated control ECU is scheduled to start. It is superimposed on the travel path 8r.
- the user can intuitively know in advance not only the correctness of the planned route Rp but also the start of lane control. Therefore, it becomes possible to increase a sense of security.
- the end image 562 is imaged by the HUD 50 together with the route image 560 as the display image 56 in the first virtual image display area A1 that overlaps with the forward travel path 8r of the host vehicle 2. .
- the end image 562 is formed based on the control information in the integrated control ECU related to the position Pe so as to indicate the scheduled end position Pe scheduled to end after the lane control in the integrated control ECU starts. And superimposed on the forward travel path 8r.
- the user can intuitively know in advance not only the correctness of the scheduled route Rp but also the end of the started lane control. Therefore, it becomes possible to increase a sense of security.
- the user can correctly grasp whether the lane control in the integrated control ECU starts or ends. be able to. Therefore, such a display color change is effective in enhancing the user's sense of security.
- the display color of the route image 560 is set to the same color as the display color of the end image 562 in the scheduled end period Tpel where the end image 562 is formed. According to this, since it is possible to realize not only the end image 562 but also the route image 560 that the integrated control ECU ends the lane control, the effect of allowing the user to grasp correctly and in advance is increased. Therefore, it is particularly effective in increasing the user's sense of security.
- the emphasized images 563 and 564 are also formed by the HUD 50 together with the route image 560 as the display image 56 in the first virtual image display area A1 that is superimposed on the forward travel path 8r of the host vehicle 2. It will be. At this time, the emphasized images 563 and 564 are based on control information in the integrated control ECU related to the vehicle 8v so as to emphasize the presence or absence of the front vehicle 8v that causes the host vehicle 2 to follow the cruise control in the integrated control ECU. By being formed, it is superimposed on the forward travel path 8r. As a result, the user can intuitively and quickly grasp not only the correctness of the scheduled route Rp but also the presence or absence of the forward vehicle 8v as the tracking target of the host vehicle 2 by cruise control. Therefore, it becomes possible to increase a sense of security.
- the detection emphasis image 563 is repeatedly formed in a moving image shape that gradually moves forward from the host vehicle 2 side.
- the user can intuitively and quickly grasp not only the correctness of the scheduled route Rp but also the presence / absence of the forward vehicle 8v correctly and continuously reflected in the cruise control. it can. Therefore, it becomes possible to increase a sense of security.
- the detection emphasis image 563 according to the first embodiment is repeatedly formed in a moving image shape that gradually moves from the vehicle 2 side toward the front vehicle 8v side, particularly when the host vehicle 2 is following.
- the user can intuitively and quickly grasp not only the correctness of the scheduled route Rp but also that the forward vehicle 8v to be followed by the cruise control is correct. Therefore, it becomes possible to increase a sense of security.
- the detection emphasis image 563 at the time of follow-up traveling gradually moves to the front vehicle 8v in a moving image shape, and then changes to an annular vehicle emphasis image 564 surrounding the vehicle 8v.
- the user can be surely and promptly grasped the forward vehicle 8v to be followed by the cruise control, and such a change in the emphasized images 563 and 564 is effective in enhancing the sense of security. .
- the detection emphasis image 563 according to the first embodiment is repeatedly formed in a moving image shape that gradually moves from the vehicle 2 side toward the horizontal line 8h side of the forward travel path 8r, particularly when the host vehicle 2 is traveling alone. .
- the user can intuitively and quickly grasp not only the correctness of the scheduled route Rp but also the absence of the forward vehicle 8v to be followed by the cruise control. Therefore, it becomes possible to increase a sense of security.
- the second set lower than the first virtual image display area A1 on which the route image 560 superimposed on the forward travel path 8r of the own vehicle 2 is formed and on the own vehicle 2 side.
- the virtual image display area A2 working images 565 and 566 as the display image 56 are formed by the HUD 50.
- the operation images 565 and 566 are formed based on the control information in the integrated control ECU related to the state so as to indicate the state of the lane control or the cruise control in the integrated control ECU. Is also displayed as a virtual image on the lower side and on the own vehicle 2 side.
- the operation images 565 and 566 deviate downward from the route image 560 where the user's gazing points gather, but can be viewed at a position close to the user side. From the above, it is possible for the user to intuitively and quickly grasp not only the correctness of the planned route Rp but also the state of lane control or cruise control. Become.
- the user can correctly grasp the switching of the operation state. Can do. Therefore, such a display color change is effective in enhancing the user's sense of security.
- the second embodiment of the present disclosure is a modification of the first embodiment.
- the display image 56 of the second embodiment includes a route image 2560, a start image 2561, an end image 2562, and operation images 2565, 2566, and 2567 different from the first embodiment. It is included together with enhanced images 563 and 564 similar to the form. Therefore, in the following, the route image 2560, the start image 2561, the end image 2562, and the operation images 2565, 2566, and 2567 will be described.
- the route image 2560 shown in FIGS. 23 to 27 is continuously displayed as a virtual image in the scheduled start period Tpsl in addition to the normal on-period Tnol and the scheduled end period Tpel, so that the forward travel path 8r is displayed in the first virtual image display area A1.
- the planned route Rp is shown superimposed on.
- a plurality of route images 2560 when the host vehicle 2 is traveling independently are formed in a form of being arranged in a dot shape from the left and right sides of the vehicle 2 toward the front horizontal line 8h as shown in FIGS.
- a plurality of route images 2560 at the time of the follow-up traveling of the host vehicle 2 are formed in a form arranged in a dot shape from the left and right sides of the vehicle 2 toward the front vehicle 8v as shown in FIGS.
- each route image 2560 is formed in a moving image approaching to the host vehicle 2 side according to the vehicle speed, and is positioned and superimposed at a predetermined location on the forward travel path 8r.
- the route images 2560 are formed in a straight line as shown in FIGS. 23 to 27, while when the planned route Rp is a curve (not shown).
- the arrangement direction of each route image 2560 curves.
- the display color of each of these route images 2560 excludes the display color of the switching point to the start image 2561 or the end image 2562, which will be described later, in any of the periods Tpsl, Tnol, and Tpel during the independent traveling and the following traveling.
- the same color For example, the display color of each route image 2560 is set to light blue or the like indicated by right-up hatching in FIGS.
- the display of each route image 2560 is terminated as shown in FIG.
- the start image 2561 shown in FIG. 23 is displayed in a virtual image together with the route image 2560 continuously in the scheduled start period Tpsl, so that the scheduled start position Ps is superimposed on the forward travel path 8r in the first virtual image display area A1.
- the start image 2561 is formed in a dot shape by switching from the pair of images 2560 displayed at the lowermost position among the route images 2560 displayed on the left and right sides of the host vehicle 2.
- each start image 2561 becomes a moving image approaching to the own vehicle 2 side according to a vehicle speed.
- the display color of each start image 2561 is set to a color different from that of the route image 2560 such as green, which is shown by cross hatching in FIG.
- the display of each start image 2561 ends as shown in FIG.
- the end image 2562 shown in FIG. 27 is displayed in a virtual image together with the route image 2560 in the scheduled end period Tpel, so that the planned end position Pe is superimposed on the front travel path 8r in the first virtual image display area A1.
- the end image 2562 is formed in a dot shape by switching from the pair of images 2560 displayed at the uppermost position among the route images 2560 displayed on the left and right sides of the host vehicle 2.
- each end image 2562 becomes a moving image approaching to the own vehicle 2 side according to the vehicle speed.
- the display color of each end image 2562 is set to a color different from that of the route image 2560 and the start image 2561, such as an amber color indicated by left-up hatching in FIG.
- the display of each end image 2562 itself ends as shown in FIG.
- the lane operation image 2565 shown in FIGS. 24 to 28 is displayed as a virtual image continuously in the real-on period Trol and the preparation period Trdl, so that the lane control state is superimposed on the forward travel path 8r in the second virtual image display area A2. Show.
- the lane operation image 2565 is formed so that the lane control can be imaged by imitating a partition line by a pair of diagonal lines separated from each other on the left and right.
- the display color of the lane operation image 2565 is set according to the state of the lane control.
- the display color of the lane operation image 2565 is set to the same color as the route image 2560 such as light blue, which is shown with right-up hatching in FIGS.
- the display color of the lane operation image 2565 is set to the same color as the end image 2562 of the scheduled end period Tpel, such as an amber color, which is shown in FIG.
- the display color of the lane operation image 2565 is changed in accordance with the lane control state being switched between the on state and the preparation state.
- the cruise operation image 2566 shown in FIGS. 23 to 28 is displayed as a virtual image continuously in the real-on period Troc and the preparation period Trdc, so that the cruise control state is superimposed on the forward travel path 8r in the second virtual image display area A2.
- the cruise operation image 2566 is formed such that the cruise control can be imaged by imitating the traveling lane by a plurality of trapezoidal figures arranged vertically between the hatched figures forming the lane operation image 2565.
- the display color of the cruise operation image 2566 is set according to the cruise control state.
- the display color of the cruise operation image 2566 is set to the same color as the lane operation image 2565 of the actual on period Trol, such as light blue, which is shown with right-up hatching in FIGS.
- the display color of the cruise operation image 2566 is set to the same color as the lane operation image 2565 of the preparation period Trdl, for example, amber color shown with a left-upward hatching in FIG.
- the display color of the cruise operation image 2566 is changed in accordance with the switching of the cruise control state between the on state and the preparation state.
- the follow-up action image 2567 shown in FIGS. 25 and 26 is continuously displayed as a virtual image during the follow-up running in the actual on-period Troc, so that the second virtual image display area A2 shows the state during the follow-up run of the cruise control. It is shown superimposed on the road 8r.
- the follow-up action image 2567 is formed so that the cruise control during follow-up running can be imaged by imitating the front vehicle 8v with a rectangular figure adjacent above the cruise action image 2566.
- the display color of the follow-up action image 2567 is set to the same color as the cruise action image 2566 in the actual on-period Troc, for example, light blue shown in FIGS.
- the own vehicle 2 is switched from the follow-up running to the independent run even when the cruise control is in the on state, or when the cruise control is in the off state, the display itself of the follow-up action image 2567 is ended.
- the HCU 54 realizes the same lane control state check flow, lane control schedule check flow and cruise control state check flow as in the first embodiment, but is different from the first embodiment in the first virtual image.
- a display flow and a second virtual image display flow are realized. Therefore, hereinafter, the first virtual image display flow shown in FIGS. 29 to 31 and the second virtual image display flow shown in FIG. 32 will be described.
- a route image 2560, a start image 2561, an end image 2562, a detection enhancement image 563, a vehicle enhancement image 564, a lane operation image 2565, and a cruise operation image 2566 are respectively IMGR, IMGS, IMGE, IMGD, IMGV, IMGL, Display with IMGC.
- S406 and S407 are not executed, and when an affirmative determination is made in S405, the process directly proceeds to S408, so that S401 to S405 are performed.
- S408 to S411 are executed according to the first embodiment.
- the processing in S401 to S405 and S408 to S411 is processing in which the images 560, 561, and 562 are read as the images 2560, 2561, and 2562.
- the process proceeds to S2417 after executing S416 as shown in FIG.
- the setting content of the lane control schedule flag Fp acquired in S416 is determined.
- the process proceeds to S418, and S418 to S421 are executed according to the first embodiment.
- the processing in S418 to S421 is processing in which the images 560, 561, and 562 are read as the images 2560, 2561, and 2562.
- the processing in S422 to S425 is processing in which the images 560, 561, and 562 are read as the images 2560, 2561, and 2562.
- the process proceeds to S2412 as shown in FIG. .
- the “route information” related to the scheduled route Rp, the “start information” related to the scheduled start position Ps, and the “front information” related to the preceding vehicle 8v are used in the integrated control ECU as the vehicle control ECU 42. Get control information.
- it is determined based on the acquisition information in S2412 whether the front vehicle 8v which is making the own vehicle 2 follow by cruise control exists. As a result, when a negative determination is made, the process proceeds to S2414, whereas when an affirmative determination is made, the process proceeds to S2415.
- the route image 2560 is formed in the display color of the scheduled start period Tpsl and displayed in the first virtual image display area A1.
- the start image 2561 is formed in the display color of the scheduled start period Tpsl and displayed in the first virtual image display area A1.
- a start image 2561 superimposed on Ps is formed.
- the detection emphasis image 563 is formed in the same manner as S410 described in the first embodiment, and is displayed in the first virtual image display area A1. Display. In addition, in S2414, the display of the images 2562 and 564 in the first virtual image display area A1 is erased.
- the route image 2560 and the start image 2561 are displayed in the same manner as S2414 described above based on the control information in the integrated control ECU acquired in S2412. It is formed and displayed in the first virtual image display area A1.
- the detection enhanced image 563 and the vehicle enhanced image 564 are formed in the same manner as S411 described in the first embodiment.
- One virtual image display area A1 is displayed.
- step S2415 the display of the image 2562 in the first virtual image display area A1 is deleted. Note that after the execution of S2415 and S2414 is completed, the process returns to S401.
- S501 to S512 are executed according to the first embodiment except that the process proceeds to S2513 after the execution of S511.
- the processing in S501 to S512 is processing in which the images 565 and 566 are read as the images 2565 and 2566.
- control information in the integrated control ECU of the vehicle control ECU 42 is acquired as “operation information” related to the cruise control.
- it is determined based on the acquisition information in S2513 whether the front vehicle 8v which is making the own vehicle 2 follow by cruise control exists. As a result, when a negative determination is made, the process returns to S501, whereas when an affirmative determination is made, the process proceeds to S2515.
- the follow-up operation image 2567 is formed in the display color of the real-on period Troc and displayed in the second virtual image display area A2. Note that after the execution of S2515 is completed, the process returns to S501.
- the portion of the HCU 54 that executes S101 to S106, S401, S418, S422, and S2412 corresponds to the “route information acquisition unit” constructed by the processor 54p, and the SCU to S405 of the HCU 54.
- S409 to S411, S419 to S421, S423 to S425, S2413 to S2415, and S2417 correspond to the “route image forming unit” constructed by the processor 54p.
- S101 to S106, S401, S418, S422, and S2412 correspond to “route information acquisition step” executed by the processor 54p
- S425, S2413 to S2415, S2417 correspond to the “route image forming step” executed by the processor 54p.
- the portions of the HCU 54 that execute S201 to S207, S416, and S2412 correspond to the “start information acquisition unit” constructed by the processor 54p, and the SCUs S403 to S405, S409 to S411 of the HCU 54.
- the portions that execute S419 to S421, S423 to S425, S2413 to S2415, and S2417 correspond to the “start image forming unit” constructed by the processor 54p.
- the portion of the HCU 54 that executes S201 to S207, S416, and S422 corresponds to an “end information acquisition unit” constructed by the processor 54p.
- the HCU 54 includes S403 to S405, S409 to S411. , S419 to S421, S423 to S425, S2413 to S2415, and S2417 correspond to an “end image forming unit” constructed by the processor 54p.
- the portion of the HCU 54 that executes S301 to S306, S402, S408, S418, S422, and S2412 corresponds to the “forward information acquisition unit” constructed by the processor 54p.
- the portions that execute S405, S409, S411, S419, S421, S423, S425, S2413, S2415, and S2417 correspond to the “enhanced image forming unit” constructed by the processor 54p.
- the portion of the HCU 54 that executes S101 to S106, S301 to S306, S501, S507, and S2513 corresponds to an “operation information acquisition unit” constructed by the processor 54p.
- a portion for executing S506, S508 to S5122, S2514, and S2515 corresponds to an “actuating image forming unit” constructed by the processor 54p.
- the same functions and effects as those of the first embodiment are obtained except for the functions and effects of the moving image-like path image 560 that gradually extends and the functions and effects of the images 560 and 562 of the same color. It can be demonstrated.
- the route image 2560 according to the second embodiment is formed in a moving image approaching the host vehicle 2 side in accordance with the vehicle speed by being positioned and superimposed at a predetermined position on the forward travel route 8r. .
- the user can intuitively and quickly grasp not only the correctness of the scheduled route Rp by the lane control but also that the lane control is correctly continued. Therefore, it becomes possible to increase a sense of security.
- the route image 560 may be displayed in the scheduled start period Tpsl.
- the display of the route image 2560 may be erased during the scheduled start period Tpsl.
- the dot-like start image 2561 is displayed without displaying the route image 2560 in the scheduled start period Tpsl.
- a longitudinal route image 560 may be continuously displayed so as to show the entire planned route Rp.
- the display color of the route image 560 may be set to the same color in the normal on period Tnol and the scheduled end period Tpel.
- the display color of the route image 2560 may be different between the normal on-period Tnol and the scheduled end period Tpel.
- the display color of the route image 2560 may be made different between the normal on-period Tnol, the scheduled end period Tpel, and the scheduled start period Tpsl.
- At least one of the start images 561 and 2561 and the end images 562 and 2562 may not be displayed.
- a start image for indicating a planned start position where the cruise control is scheduled to start and an end image for indicating the planned end position where the cruise control is scheduled to be completed are displayed. At least one of them may be displayed.
- At least one of the start images 561 and 2561 and the end images 562 and 2562 may be blinked.
- the display color of the start images 561 and 2561 and the display color of the end images 562 and 2562 may be set to the same color.
- the display color of the start image 561 may be different from the display color of the route image 560.
- the display color of the start image 2561 and the display color of the route image 2560 may be set to the same color.
- the display color of the end image 562 may be different from the display color of the route image 560.
- the display color of the end image 2562 and the display color of the route image 2560 may be set to the same color.
- the vehicle emphasized image 564 is displayed together with the detection emphasized image 563 during the follow-up traveling, but the display of the vehicle emphasized image 564 is deleted together with the display of the detection emphasized image 563 during the single traveling. Also good.
- the emphasized images 563 and 564 may be displayed only when the specific condition is satisfied.
- the specific condition is, for example, that switching between single travel and follow-up travel occurs, or that a travel line is changed.
- the emphasized images 563 and 564 may not be displayed.
- the display color of the emphasized images 563 and 564 may be different from the display color of the route image 560.
- At least one of the lane operation images 565 and 2565 and the cruise operation images 566 and 2566 may not be displayed.
- the follow-up action image 2567 may not be displayed.
- the display color of the lane operation images 565 and 2565 may be set to a constant color regardless of the state of the lane control.
- the display color of the cruise operation images 566 and 2566 may be set to a constant color regardless of the cruise control state.
- the operation images 565, 566, 2565, 2566, and 2567 are displayed by at least one of the other display elements 51 and 52 instead of or in addition to the HDU 50. Good.
- the images 560, 561, 562, 563, 564, 565, 566, 2560, 2561, 2562, 2565, 2566, 2567 are displayed, deleted, or the display color is changed.
- notification by sound waves or sound may be executed.
- the images 560, 561, 562, 563, 564, 565, 566, 2560, 2561, 2562, 2565, 2566, 2567 are displayed, deleted, or the display color is changed.
- notification by applying vibration to the user may be executed.
- the lane control under the state where the automatic control switch is turned on, regardless of the cruise control switch, the lane control may be started by turning on the lane control switch and may be turned on. .
- the automatic control switch as the occupant sensor 41 may not be provided.
- the lane control switch is turned on while the automatic control switch is turned on, or only in combination with Modification 27, the lane control switch as the occupant sensor 41 is turned on.
- the lane control may be started and turned on.
- the cruise control may be started and turned on only by turning on the cruise control switch as the occupant sensor 41.
- a planned route Rp that causes the host vehicle 2 to follow is set, and the route Rp Route images 560 and 2560 according to the above may be formed.
- the integrated control ECU serving as the vehicle control ECU 42 automatically controls the position in the width direction in the travel lane of the host vehicle 2, so The state of lane change across the line may be switched.
- adaptive cruise control (ACC: Adaptive Cruise Control) that maintains the inter-vehicle distance or vehicle speed in a specific vehicle speed range such as a high speed range by automatically controlling the cruise of the host vehicle 2.
- ACC Adaptive Cruise Control
- the cruise control may not be executed by the integrated control ECU as the vehicle control ECU 42.
- Modification 18 is used in combination.
- the HCU 54 may not be provided.
- one or more of the ECUs 31 and 42 and the display ECU provided for controlling the display elements 50, 51 and 52 may function as a “vehicle display control device”.
- the “virtual image display control unit” may be constructed by realizing the display control flow of each embodiment by a processor included in one or more types of ECUs.
- FIG. 33 shows a modification 33 in the case where the ECU 50e having the processor 54p and the memory 54m in the HUD 50 fulfills the function of “vehicle display control device”.
- the present disclosure may be provided as a vehicle display control method.
- each unit is expressed as, for example, S101.
- each part can be divided into a plurality of sub-parts, while the plurality of parts can be combined into one part.
- each part configured in this manner can be referred to as a circuit, a device, a module, and a means.
- each of the plurality of parts described above or a combination thereof includes not only (i) a software part combined with a hardware unit (for example, a computer) but also (ii) hardware (for example, an integrated circuit, As a part of the (wiring logic circuit), it can be realized with or without including the functions of related devices.
- the hardware unit can be configured inside a microcomputer.
Landscapes
- Engineering & Computer Science (AREA)
- Radar, Positioning & Navigation (AREA)
- Transportation (AREA)
- Mechanical Engineering (AREA)
- Remote Sensing (AREA)
- Physics & Mathematics (AREA)
- General Physics & Mathematics (AREA)
- Combustion & Propulsion (AREA)
- Chemical & Material Sciences (AREA)
- Automation & Control Theory (AREA)
- Optics & Photonics (AREA)
- Computer Hardware Design (AREA)
- Theoretical Computer Science (AREA)
- Traffic Control Systems (AREA)
- Instrument Panels (AREA)
- Navigation (AREA)
- Controls And Circuits For Display Device (AREA)
Priority Applications (3)
| Application Number | Priority Date | Filing Date | Title |
|---|---|---|---|
| US15/549,491 US10197414B2 (en) | 2015-02-09 | 2016-02-01 | Vehicle display control device and vehicle display control method |
| US16/013,223 US10663315B2 (en) | 2015-02-09 | 2018-06-20 | Vehicle display control device and vehicle display control method |
| US16/223,710 US20190120646A1 (en) | 2015-02-09 | 2018-12-18 | Vehicle display control device and vehicle display control method |
Applications Claiming Priority (2)
| Application Number | Priority Date | Filing Date | Title |
|---|---|---|---|
| JP2015-023622 | 2015-02-09 | ||
| JP2015023622A JP6661883B2 (ja) | 2015-02-09 | 2015-02-09 | 車両用表示制御装置及び車両用表示制御方法 |
Related Child Applications (3)
| Application Number | Title | Priority Date | Filing Date |
|---|---|---|---|
| US15/549,491 A-371-Of-International US10197414B2 (en) | 2015-02-09 | 2016-02-01 | Vehicle display control device and vehicle display control method |
| US16/013,223 Continuation US10663315B2 (en) | 2015-02-09 | 2018-06-20 | Vehicle display control device and vehicle display control method |
| US16/223,710 Division US20190120646A1 (en) | 2015-02-09 | 2018-12-18 | Vehicle display control device and vehicle display control method |
Publications (1)
| Publication Number | Publication Date |
|---|---|
| WO2016129234A1 true WO2016129234A1 (ja) | 2016-08-18 |
Family
ID=56614531
Family Applications (1)
| Application Number | Title | Priority Date | Filing Date |
|---|---|---|---|
| PCT/JP2016/000489 Ceased WO2016129234A1 (ja) | 2015-02-09 | 2016-02-01 | 車両用表示制御装置及び車両用表示制御方法 |
Country Status (3)
| Country | Link |
|---|---|
| US (3) | US10197414B2 (enExample) |
| JP (1) | JP6661883B2 (enExample) |
| WO (1) | WO2016129234A1 (enExample) |
Cited By (2)
| Publication number | Priority date | Publication date | Assignee | Title |
|---|---|---|---|---|
| CN108202600A (zh) * | 2016-12-19 | 2018-06-26 | 丰田自动车株式会社 | 用于车辆的驾驶辅助装置 |
| JP2019527862A (ja) * | 2017-06-22 | 2019-10-03 | バイドゥドットコム タイムズ テクロノジー (ベイジン) カンパニー リミテッドBaidu.com Times Technology (Beijing) Co., Ltd. | 自律走行のための地図画像に基づく交通予測 |
Families Citing this family (44)
| Publication number | Priority date | Publication date | Assignee | Title |
|---|---|---|---|---|
| JP6661883B2 (ja) | 2015-02-09 | 2020-03-11 | 株式会社デンソー | 車両用表示制御装置及び車両用表示制御方法 |
| US11484015B2 (en) | 2015-05-21 | 2022-11-01 | Atlantic Sapphire Ip, Llc | Systems and methods of intensive recirculating aquaculture |
| WO2017064797A1 (ja) * | 2015-10-15 | 2017-04-20 | 日立マクセル株式会社 | 情報表示装置 |
| EP3246664A3 (en) * | 2016-05-19 | 2018-02-14 | Ricoh Company, Ltd. | Information processing system and information display apparatus |
| JP6716172B2 (ja) * | 2016-10-19 | 2020-07-01 | アルパイン株式会社 | ヘッドアップディスプレイの表示制御装置及び表示制御方法 |
| JP6817088B2 (ja) * | 2017-01-26 | 2021-01-20 | 矢崎総業株式会社 | 表示装置、及び、表示装置本体 |
| WO2018147066A1 (ja) * | 2017-02-08 | 2018-08-16 | 株式会社デンソー | 車両用表示制御装置 |
| JP6986699B2 (ja) * | 2017-07-04 | 2021-12-22 | パナソニックIpマネジメント株式会社 | 表示制御システム、表示システム、移動体、表示制御方法及びプログラム |
| KR102347876B1 (ko) * | 2017-09-19 | 2022-01-06 | 현대모비스 주식회사 | 증강현실 헤드업 디스플레이의 표시 위치 제어 장치 |
| DE102018204254B4 (de) | 2018-03-20 | 2020-12-03 | Volkswagen Aktiengesellschaft | Verfahren zur Berechnung einer Einblendung von Zusatzinformationen für eine Anzeige auf einer Anzeigeeinheit, Vorrichtung zur Durchführung des Verfahrens sowie Kraftfahrzeug und Computerprogramm |
| WO2019189515A1 (en) | 2018-03-28 | 2019-10-03 | Ricoh Company, Ltd. | Control apparatus, display apparatus, movable body, and image display method |
| US11059421B2 (en) | 2018-03-29 | 2021-07-13 | Honda Motor Co., Ltd. | Vehicle proximity system using heads-up display augmented reality graphics elements |
| WO2019189619A1 (en) | 2018-03-29 | 2019-10-03 | Ricoh Company, Ltd. | Image control apparatus, display apparatus, movable body, and image control method |
| JP7172247B2 (ja) | 2018-07-26 | 2022-11-16 | トヨタ自動車株式会社 | 表示制御装置、車両用表示装置、表示制御方法及びプログラム |
| JP7286287B2 (ja) | 2018-09-14 | 2023-06-05 | 株式会社小松製作所 | 作業機械の表示システムおよびその制御方法 |
| JP7197315B2 (ja) * | 2018-09-14 | 2022-12-27 | 株式会社小松製作所 | ホイールローダの表示システムおよびその制御方法 |
| US11448518B2 (en) | 2018-09-27 | 2022-09-20 | Phiar Technologies, Inc. | Augmented reality navigational overlay |
| JP2020051902A (ja) * | 2018-09-27 | 2020-04-02 | 本田技研工業株式会社 | 表示システム、表示方法、およびプログラム |
| US10495476B1 (en) * | 2018-09-27 | 2019-12-03 | Phiar Technologies, Inc. | Augmented reality navigation systems and methods |
| JP6856085B2 (ja) | 2019-03-28 | 2021-04-07 | トヨタ自動車株式会社 | 車両用表示制御装置、方法及びプログラム |
| JP7092158B2 (ja) * | 2019-05-08 | 2022-06-28 | 株式会社デンソー | 表示制御装置及び表示制御プログラム |
| WO2020225989A1 (ja) * | 2019-05-08 | 2020-11-12 | 株式会社デンソー | 表示制御装置及び表示制御プログラム |
| JP7313896B2 (ja) * | 2019-05-09 | 2023-07-25 | 矢崎総業株式会社 | 車両用表示装置 |
| JP2021006805A (ja) * | 2019-06-27 | 2021-01-21 | 株式会社デンソー | 表示制御装置及び表示制御プログラム |
| WO2020261781A1 (ja) * | 2019-06-27 | 2020-12-30 | 株式会社デンソー | 表示制御装置、表示制御プログラム、および持続的有形コンピュータ読み取り媒体 |
| CN112208525B (zh) * | 2019-07-10 | 2022-03-29 | 长城汽车股份有限公司 | 混动车辆巡航控制方法及设备 |
| WO2021014954A1 (ja) * | 2019-07-24 | 2021-01-28 | 株式会社デンソー | 表示制御装置及び表示制御プログラム |
| JP7111137B2 (ja) * | 2019-10-02 | 2022-08-02 | 株式会社デンソー | 表示制御装置、および表示制御プログラム |
| WO2021065735A1 (ja) * | 2019-10-02 | 2021-04-08 | 株式会社デンソー | 表示制御装置、および表示制御プログラム |
| JP2021066197A (ja) * | 2019-10-17 | 2021-04-30 | 株式会社デンソー | 表示制御装置、表示制御プログラム及び車載システム |
| DE102020201519B4 (de) * | 2020-02-07 | 2023-08-24 | Volkswagen Aktiengesellschaft | Verfahren und Vorrichtung zum Betreiben einer visuellen Schnittstelle zwischen einem Fahrzeug und einem Fahrzeuginsassen |
| CN113460063B (zh) * | 2020-03-30 | 2024-09-24 | 本田技研工业株式会社 | 信息提供装置、信息提供方法及存储介质 |
| CN111459148B (zh) * | 2020-04-03 | 2023-12-22 | 北京四维智联科技有限公司 | 一种信息处理方法及装置 |
| DE102020211301A1 (de) | 2020-09-09 | 2022-03-10 | Volkswagen Aktiengesellschaft | Verfahren zur Darstellung eines virtuellen Elements |
| US11548522B2 (en) * | 2021-02-08 | 2023-01-10 | GM Global Technology Operations LLC | Speed difference indicator on head up display |
| JP7767738B2 (ja) * | 2021-06-01 | 2025-11-12 | マツダ株式会社 | ヘッドアップディスプレイ装置 |
| JP7480756B2 (ja) * | 2021-07-26 | 2024-05-10 | トヨタ自動車株式会社 | 車両用表示制御装置、車両用表示装置、車両用表示制御方法及び車両用表示制御プログラム |
| JP7537393B2 (ja) * | 2021-07-27 | 2024-08-21 | トヨタ自動車株式会社 | 制御装置、表示方法及びプログラム |
| JP7753732B2 (ja) | 2021-08-31 | 2025-10-15 | トヨタ自動車株式会社 | 車両用表示制御装置、車両用表示制御方法及び車両用表示制御プログラム |
| JP7708629B2 (ja) * | 2021-09-24 | 2025-07-15 | トヨタ自動車株式会社 | 車両用表示制御装置、車両用表示装置、車両、車両用表示制御方法及びプログラム |
| CN113918112A (zh) * | 2021-10-12 | 2022-01-11 | 上海仙塔智能科技有限公司 | Hud的显示处理方法、装置、电子设备与存储介质 |
| CN113815415A (zh) * | 2021-10-12 | 2021-12-21 | 上海仙塔智能科技有限公司 | 驾驶引导的处理方法、装置、电子设备与存储介质 |
| US11697346B1 (en) * | 2022-03-29 | 2023-07-11 | GM Global Technology Operations LLC | Lane position in augmented reality head-up display system |
| FR3161647A1 (fr) * | 2024-04-29 | 2025-10-31 | Stellantis Auto Sas | Procédé et dispositif de contrôle d’un système de projection d’images d’un véhicule selon un mode d’affichage permanent ou temporaire |
Citations (6)
| Publication number | Priority date | Publication date | Assignee | Title |
|---|---|---|---|---|
| JP2005199992A (ja) * | 2003-12-17 | 2005-07-28 | Denso Corp | 車両情報表示システム |
| JP2006175936A (ja) * | 2004-12-21 | 2006-07-06 | Nissan Motor Co Ltd | 車両用運転操作補助装置用の表示装置および表示方法 |
| WO2008152784A1 (ja) * | 2007-06-12 | 2008-12-18 | Panasonic Corporation | ナビゲーション装置、ナビゲーション方法、及びナビゲーション用プログラム |
| JP2013078964A (ja) * | 2011-09-30 | 2013-05-02 | Toshiba Corp | 表示装置及び表示方法 |
| JP2013237290A (ja) * | 2012-05-11 | 2013-11-28 | Toyota Motor Corp | 表示制御装置、車両制御装置および車両 |
| JP2014213763A (ja) * | 2013-04-26 | 2014-11-17 | 日本精機株式会社 | 車両情報投影システム |
Family Cites Families (78)
| Publication number | Priority date | Publication date | Assignee | Title |
|---|---|---|---|---|
| DE10021770A1 (de) * | 2000-05-04 | 2001-11-08 | Zahnradfabrik Friedrichshafen | Verfahren zur Steuerung eines Automatgetriebes für ein Kraftfahrzeug |
| JP3933929B2 (ja) * | 2001-12-28 | 2007-06-20 | アルパイン株式会社 | ナビゲーション装置 |
| US7471215B2 (en) * | 2003-09-01 | 2008-12-30 | Panasonic Corporation | Moving object position display device and method |
| US7561966B2 (en) * | 2003-12-17 | 2009-07-14 | Denso Corporation | Vehicle information display system |
| JP4246084B2 (ja) * | 2004-02-17 | 2009-04-02 | 日産自動車株式会社 | 車両用走行制御装置 |
| US7526103B2 (en) * | 2004-04-15 | 2009-04-28 | Donnelly Corporation | Imaging system for vehicle |
| JP4082388B2 (ja) * | 2004-06-01 | 2008-04-30 | トヨタ自動車株式会社 | 走行制御装置 |
| JP5008556B2 (ja) * | 2004-06-03 | 2012-08-22 | メイキング バーチャル ソリッド,エル.エル.シー. | ヘッドアップ表示を使用する途上ナビゲーション表示方法および装置 |
| US8751156B2 (en) * | 2004-06-30 | 2014-06-10 | HERE North America LLC | Method of operating a navigation system using images |
| AU2004203830A1 (en) * | 2004-08-12 | 2006-03-02 | Stephen Petrik | GPS based vehicle monitoring and management with biometric enabled smart card, intelligent speed adaptation |
| JP4696248B2 (ja) * | 2004-09-28 | 2011-06-08 | 国立大学法人 熊本大学 | 移動体ナビゲート情報表示方法および移動体ナビゲート情報表示装置 |
| JP4274111B2 (ja) * | 2004-12-02 | 2009-06-03 | 株式会社デンソー | 適正車間距離表示制御装置 |
| US8577593B2 (en) * | 2005-08-18 | 2013-11-05 | General Motors Llc | Navigation system for hearing-impaired operators |
| JP2007121001A (ja) * | 2005-10-26 | 2007-05-17 | Matsushita Electric Ind Co Ltd | ナビゲーション装置 |
| JP4887980B2 (ja) * | 2005-11-09 | 2012-02-29 | 日産自動車株式会社 | 車両用運転操作補助装置および車両用運転操作補助装置を備えた車両 |
| WO2008029802A1 (en) * | 2006-09-04 | 2008-03-13 | Panasonic Corporation | Travel information providing device |
| JP4420011B2 (ja) * | 2006-11-16 | 2010-02-24 | 株式会社日立製作所 | 物体検知装置 |
| JP4475308B2 (ja) * | 2007-09-18 | 2010-06-09 | 株式会社デンソー | 表示装置 |
| JP4985362B2 (ja) * | 2007-11-30 | 2012-07-25 | アイシン・エィ・ダブリュ株式会社 | ナビゲーション装置、ナビゲーション方法およびナビゲーションプログラム |
| JP4480755B2 (ja) * | 2007-12-04 | 2010-06-16 | カルソニックカンセイ株式会社 | 車両用ヘッドアップディスプレイ装置 |
| US8350686B2 (en) * | 2007-12-05 | 2013-01-08 | Bosch Corporation | Vehicle information display system |
| US8009024B2 (en) * | 2008-01-25 | 2011-08-30 | Denso Corporation | Automotive display device showing virtual image spot encircling front obstacle |
| JP5349898B2 (ja) * | 2008-10-21 | 2013-11-20 | アルパイン株式会社 | 車載用ナビゲーション装置及び地図表示方法 |
| WO2010099416A1 (en) * | 2009-02-27 | 2010-09-02 | Magna Electronics | Alert system for vehicle |
| JP5561965B2 (ja) * | 2009-07-28 | 2014-07-30 | アルパイン株式会社 | ナビゲーション装置および誘導経路探索方法 |
| US8503762B2 (en) * | 2009-08-26 | 2013-08-06 | Jacob Ben Tzvi | Projecting location based elements over a heads up display |
| SE534828C2 (sv) * | 2009-09-14 | 2012-01-10 | Scania Cv Ab | Metod för bestämning av växlingspunkter |
| JP5286214B2 (ja) * | 2009-09-30 | 2013-09-11 | 日立オートモティブシステムズ株式会社 | 車両制御装置 |
| JP2011079345A (ja) * | 2009-10-02 | 2011-04-21 | Denso Corp | 車両用ヘッドアップディスプレイ |
| US9165468B2 (en) * | 2010-04-12 | 2015-10-20 | Robert Bosch Gmbh | Video based intelligent vehicle control system |
| US8514099B2 (en) * | 2010-10-13 | 2013-08-20 | GM Global Technology Operations LLC | Vehicle threat identification on full windshield head-up display |
| US20130226455A1 (en) * | 2010-11-04 | 2013-08-29 | Toyota Jidosha Kabushiki Kaisha | Information providing device |
| US8924150B2 (en) * | 2010-12-29 | 2014-12-30 | GM Global Technology Operations LLC | Vehicle operation and control system for autonomous vehicles on full windshield display |
| US9067603B2 (en) * | 2010-12-29 | 2015-06-30 | Volvo Lastvagnar Ab | Adaptative cruise control |
| US8686872B2 (en) * | 2010-12-29 | 2014-04-01 | GM Global Technology Operations LLC | Roadway condition warning on full windshield head-up display |
| WO2012118858A2 (en) * | 2011-02-28 | 2012-09-07 | Cummins Intellectual Property, Inc. | System and method of dpf passive enhancement through powertrain torque-speed management |
| DE102011007329A1 (de) | 2011-04-13 | 2012-10-18 | Robert Bosch Gmbh | Verfahren zum Betreiben eines Kraftfahrzeugs, Vorrichtung |
| CN103608207B (zh) * | 2011-06-17 | 2018-04-13 | 罗伯特·博世有限公司 | 用于显示车辆的行驶状态的方法和显示装置以及相应的计算机程序产品 |
| US9383579B2 (en) * | 2011-10-12 | 2016-07-05 | Visteon Global Technologies, Inc. | Method of controlling a display component of an adaptive display system |
| US9564053B2 (en) * | 2012-01-12 | 2017-02-07 | Honda Motor Co., Ltd. | Synchronized driving assist apparatus and synchronized driving assist system |
| US9147298B2 (en) * | 2012-03-14 | 2015-09-29 | Flextronics Ap, Llc | Behavior modification via altered map routes based on user profile information |
| US9823742B2 (en) * | 2012-05-18 | 2017-11-21 | Microsoft Technology Licensing, Llc | Interaction and management of devices using gaze detection |
| DE102012216144A1 (de) * | 2012-09-12 | 2014-05-28 | Bayerische Motoren Werke Aktiengesellschaft | Kontaktanaloge Anzeige insbesondere eines Fahrspurwechsels |
| JP5622818B2 (ja) * | 2012-09-28 | 2014-11-12 | 富士重工業株式会社 | 視線誘導システム |
| JP5492962B2 (ja) * | 2012-09-28 | 2014-05-14 | 富士重工業株式会社 | 視線誘導システム |
| US8712663B1 (en) * | 2012-10-31 | 2014-04-29 | GM Global Technology Operations LLC | Systems and methods for vehicle cruise control |
| US11008017B2 (en) * | 2012-12-21 | 2021-05-18 | Harman Becker Automotive Systems Gmbh | System for a vehicle and communication method |
| US20160054563A9 (en) * | 2013-03-14 | 2016-02-25 | Honda Motor Co., Ltd. | 3-dimensional (3-d) navigation |
| US9393870B2 (en) * | 2013-03-15 | 2016-07-19 | Honda Motor Co., Ltd. | Volumetric heads-up display with dynamic focal plane |
| US10215583B2 (en) * | 2013-03-15 | 2019-02-26 | Honda Motor Co., Ltd. | Multi-level navigation monitoring and control |
| US9251715B2 (en) * | 2013-03-15 | 2016-02-02 | Honda Motor Co., Ltd. | Driver training system using heads-up display augmented reality graphics elements |
| JP6056612B2 (ja) * | 2013-03-29 | 2017-01-11 | アイシン精機株式会社 | 画像表示制御装置および画像表示システム |
| JP2014211431A (ja) * | 2013-04-02 | 2014-11-13 | 株式会社Jvcケンウッド | ナビゲーション装置、及び、表示制御方法 |
| US9536325B2 (en) * | 2013-06-09 | 2017-01-03 | Apple Inc. | Night mode |
| JP6094399B2 (ja) * | 2013-06-24 | 2017-03-15 | 株式会社デンソー | ヘッドアップディスプレイ、及びプログラム |
| WO2015001815A1 (ja) * | 2013-07-05 | 2015-01-08 | クラリオン株式会社 | 運転支援装置 |
| JP6236954B2 (ja) * | 2013-07-23 | 2017-11-29 | アイシン・エィ・ダブリュ株式会社 | 運転支援システム、方法およびプログラム |
| GB201316608D0 (en) * | 2013-09-18 | 2013-10-30 | Tomtom Int Bv | Apparatus and method for single vehicle economy improvement |
| KR20150034997A (ko) * | 2013-09-27 | 2015-04-06 | 네이버 주식회사 | 경로 안내에 따른 목적지를 명확히 인지시켜 주기 위한 방법 및 그 시스템 |
| US9639990B2 (en) * | 2013-10-03 | 2017-05-02 | Panasonic Intellectual Property Management Co., Ltd. | Display control apparatus, computer-implemented method, storage medium, and projection apparatus |
| US20160216521A1 (en) * | 2013-10-22 | 2016-07-28 | Nippon Seiki Co., Ltd. | Vehicle information projection system and projection device |
| JP6537780B2 (ja) * | 2014-04-09 | 2019-07-03 | 日立オートモティブシステムズ株式会社 | 走行制御装置、車載用表示装置、及び走行制御システム |
| US9677898B2 (en) * | 2014-06-17 | 2017-06-13 | Think Ware Corporation | Electronic apparatus and control method thereof |
| KR101583950B1 (ko) * | 2014-06-30 | 2016-01-08 | 현대자동차주식회사 | 차량정보 표시장치 및 그 표시방법 |
| US11402628B2 (en) * | 2014-07-01 | 2022-08-02 | Nissan Motor Co., Ltd. | Vehicular display apparatus and vehicular display method |
| JP2016033729A (ja) * | 2014-07-31 | 2016-03-10 | クラリオン株式会社 | 周囲環境認識装置 |
| JP6123761B2 (ja) * | 2014-09-05 | 2017-05-10 | トヨタ自動車株式会社 | 車両用表示装置 |
| DE102015217391B4 (de) * | 2014-09-12 | 2021-09-30 | Yazaki Corporation | Fahrzeuginterne Anzeigevorrichtung |
| CN106716069A (zh) * | 2014-09-28 | 2017-05-24 | 华为技术有限公司 | 一种导航方法及终端 |
| US9874456B2 (en) * | 2014-11-28 | 2018-01-23 | Here Global B.V. | Method, apparatus and computer program product for providing a destination preview |
| US10127726B2 (en) * | 2014-12-01 | 2018-11-13 | Thinkware Corporation | Electronic apparatus, control method thereof, computer program, and computer-readable recording medium |
| CN107004361B (zh) * | 2014-12-09 | 2020-03-27 | 三菱电机株式会社 | 碰撞风险计算装置、碰撞风险显示装置以及车体控制装置 |
| EP3031656B1 (en) * | 2014-12-10 | 2018-01-03 | Ricoh Company, Ltd. | Information provision device, information provision method, and carrier medium storing information provision program |
| US10234297B2 (en) * | 2014-12-10 | 2019-03-19 | Here Global B.V. | Apparatus and associated method for providing U-turn guidance |
| JP6485732B2 (ja) * | 2014-12-10 | 2019-03-20 | 株式会社リコー | 情報提供装置、情報提供方法及び情報提供用制御プログラム |
| DE102015000856A1 (de) * | 2015-01-24 | 2016-07-28 | Audi Ag | Verfahren zum Betreiben eines Kraftfahrzeugs und Kraftfahrzeug |
| JP6661883B2 (ja) | 2015-02-09 | 2020-03-11 | 株式会社デンソー | 車両用表示制御装置及び車両用表示制御方法 |
| JP6516298B2 (ja) * | 2016-05-06 | 2019-05-22 | トヨタ自動車株式会社 | 情報表示装置 |
-
2015
- 2015-02-09 JP JP2015023622A patent/JP6661883B2/ja active Active
-
2016
- 2016-02-01 US US15/549,491 patent/US10197414B2/en active Active
- 2016-02-01 WO PCT/JP2016/000489 patent/WO2016129234A1/ja not_active Ceased
-
2018
- 2018-06-20 US US16/013,223 patent/US10663315B2/en active Active
- 2018-12-18 US US16/223,710 patent/US20190120646A1/en not_active Abandoned
Patent Citations (6)
| Publication number | Priority date | Publication date | Assignee | Title |
|---|---|---|---|---|
| JP2005199992A (ja) * | 2003-12-17 | 2005-07-28 | Denso Corp | 車両情報表示システム |
| JP2006175936A (ja) * | 2004-12-21 | 2006-07-06 | Nissan Motor Co Ltd | 車両用運転操作補助装置用の表示装置および表示方法 |
| WO2008152784A1 (ja) * | 2007-06-12 | 2008-12-18 | Panasonic Corporation | ナビゲーション装置、ナビゲーション方法、及びナビゲーション用プログラム |
| JP2013078964A (ja) * | 2011-09-30 | 2013-05-02 | Toshiba Corp | 表示装置及び表示方法 |
| JP2013237290A (ja) * | 2012-05-11 | 2013-11-28 | Toyota Motor Corp | 表示制御装置、車両制御装置および車両 |
| JP2014213763A (ja) * | 2013-04-26 | 2014-11-17 | 日本精機株式会社 | 車両情報投影システム |
Cited By (3)
| Publication number | Priority date | Publication date | Assignee | Title |
|---|---|---|---|---|
| CN108202600A (zh) * | 2016-12-19 | 2018-06-26 | 丰田自动车株式会社 | 用于车辆的驾驶辅助装置 |
| CN108202600B (zh) * | 2016-12-19 | 2020-07-28 | 丰田自动车株式会社 | 用于车辆的驾驶辅助装置 |
| JP2019527862A (ja) * | 2017-06-22 | 2019-10-03 | バイドゥドットコム タイムズ テクロノジー (ベイジン) カンパニー リミテッドBaidu.com Times Technology (Beijing) Co., Ltd. | 自律走行のための地図画像に基づく交通予測 |
Also Published As
| Publication number | Publication date |
|---|---|
| JP2016145783A (ja) | 2016-08-12 |
| US20180299286A1 (en) | 2018-10-18 |
| US20190120646A1 (en) | 2019-04-25 |
| US20180023970A1 (en) | 2018-01-25 |
| US10663315B2 (en) | 2020-05-26 |
| US10197414B2 (en) | 2019-02-05 |
| JP6661883B2 (ja) | 2020-03-11 |
Similar Documents
| Publication | Publication Date | Title |
|---|---|---|
| JP6661883B2 (ja) | 車両用表示制御装置及び車両用表示制御方法 | |
| US9849832B2 (en) | Information presentation system | |
| JP6417994B2 (ja) | 車両用表示制御装置及び車両用表示制御方法 | |
| JP2022179574A (ja) | 表示制御装置及び表示制御プログラム | |
| US20180024354A1 (en) | Vehicle display control device and vehicle display unit | |
| US20160304126A1 (en) | Vehicle control device | |
| US20170235135A1 (en) | On-vehicle device, method of controlling on-vehicle device, and computer-readable storage medium | |
| JP7355057B2 (ja) | 車両用制御装置及び車両用制御方法 | |
| JP6631572B2 (ja) | 車両用表示制御装置及び車両用表示ユニット | |
| JP2017166913A (ja) | 表示制御装置及び表示制御方法 | |
| WO2020225989A1 (ja) | 表示制御装置及び表示制御プログラム | |
| WO2020189238A1 (ja) | 車両用表示制御装置、車両用表示制御方法、車両用表示制御プログラム | |
| JP7293854B2 (ja) | 表示制御装置及び表示制御プログラム | |
| JP7302311B2 (ja) | 車両用表示制御装置、車両用表示制御方法、車両用表示制御プログラム | |
| JP2020095044A (ja) | 表示制御装置及び表示制御方法 | |
| JP2020185982A (ja) | 表示制御装置及び表示制御プログラム | |
| JP7259802B2 (ja) | 表示制御装置、表示制御プログラム及び車載システム | |
| JP7400242B2 (ja) | 車両用表示制御装置および車両用表示制御方法 | |
| JP2020095033A (ja) | 表示制御装置および表示制御プログラム | |
| JP2020138609A (ja) | 車両用表示制御装置、車両用表示制御方法、車両用表示制御プログラム | |
| JP6973462B2 (ja) | 車両用表示制御装置 | |
| JP7014254B2 (ja) | 車両用表示制御装置及び車両用表示制御方法 | |
| WO2023026707A1 (ja) | 車両用制御装置及び車両用制御方法 | |
| JP7172730B2 (ja) | 車両用表示制御装置、車両用表示制御方法、車両用表示制御プログラム | |
| JP2023123208A (ja) | 車両用表示制御装置、表示制御方法、表示制御プログラム |
Legal Events
| Date | Code | Title | Description |
|---|---|---|---|
| 121 | Ep: the epo has been informed by wipo that ep was designated in this application |
Ref document number: 16748882 Country of ref document: EP Kind code of ref document: A1 |
|
| WWE | Wipo information: entry into national phase |
Ref document number: 15549491 Country of ref document: US |
|
| NENP | Non-entry into the national phase |
Ref country code: DE |
|
| 122 | Ep: pct application non-entry in european phase |
Ref document number: 16748882 Country of ref document: EP Kind code of ref document: A1 |