WO2013190992A1 - 薄膜トランジスタの製造方法 - Google Patents

薄膜トランジスタの製造方法 Download PDF

Info

Publication number
WO2013190992A1
WO2013190992A1 PCT/JP2013/065489 JP2013065489W WO2013190992A1 WO 2013190992 A1 WO2013190992 A1 WO 2013190992A1 JP 2013065489 W JP2013065489 W JP 2013065489W WO 2013190992 A1 WO2013190992 A1 WO 2013190992A1
Authority
WO
WIPO (PCT)
Prior art keywords
thin film
film transistor
region
oxide semiconductor
semiconductor layer
Prior art date
Legal status (The legal status is an assumption and is not a legal conclusion. Google has not performed a legal analysis and makes no representation as to the accuracy of the status listed.)
Ceased
Application number
PCT/JP2013/065489
Other languages
English (en)
French (fr)
Japanese (ja)
Inventor
雅司 小野
真宏 高田
敏也 井手上
田中 淳
鈴木 真之
Current Assignee (The listed assignees may be inaccurate. Google has not performed a legal analysis and makes no representation or warranty as to the accuracy of the list.)
Fujifilm Corp
Original Assignee
Fujifilm Corp
Priority date (The priority date is an assumption and is not a legal conclusion. Google has not performed a legal analysis and makes no representation as to the accuracy of the date listed.)
Filing date
Publication date
Application filed by Fujifilm Corp filed Critical Fujifilm Corp
Priority to KR1020147035502A priority Critical patent/KR101634482B1/ko
Publication of WO2013190992A1 publication Critical patent/WO2013190992A1/ja
Priority to US14/571,293 priority patent/US9673048B2/en
Anticipated expiration legal-status Critical
Ceased legal-status Critical Current

Links

Images

Classifications

    • HELECTRICITY
    • H01ELECTRIC ELEMENTS
    • H01LSEMICONDUCTOR DEVICES NOT COVERED BY CLASS H10
    • H01L21/00Processes or apparatus adapted for the manufacture or treatment of semiconductor or solid state devices or of parts thereof
    • H01L21/02Manufacture or treatment of semiconductor devices or of parts thereof
    • H01L21/02104Forming layers
    • H01L21/02365Forming inorganic semiconducting materials on a substrate
    • H01L21/02612Formation types
    • H01L21/02617Deposition types
    • H01L21/02623Liquid deposition
    • H01L21/02628Liquid deposition using solutions
    • HELECTRICITY
    • H10SEMICONDUCTOR DEVICES; ELECTRIC SOLID-STATE DEVICES NOT OTHERWISE PROVIDED FOR
    • H10DINORGANIC ELECTRIC SEMICONDUCTOR DEVICES
    • H10D30/00Field-effect transistors [FET]
    • H10D30/60Insulated-gate field-effect transistors [IGFET]
    • H10D30/67Thin-film transistors [TFT]
    • H10D30/674Thin-film transistors [TFT] characterised by the active materials
    • H10D30/6755Oxide semiconductors, e.g. zinc oxide, copper aluminium oxide or cadmium stannate
    • GPHYSICS
    • G01MEASURING; TESTING
    • G01NINVESTIGATING OR ANALYSING MATERIALS BY DETERMINING THEIR CHEMICAL OR PHYSICAL PROPERTIES
    • G01N23/00Investigating or analysing materials by the use of wave or particle radiation, e.g. X-rays or neutrons, not covered by groups G01N3/00 – G01N17/00, G01N21/00 or G01N22/00
    • G01N23/02Investigating or analysing materials by the use of wave or particle radiation, e.g. X-rays or neutrons, not covered by groups G01N3/00 – G01N17/00, G01N21/00 or G01N22/00 by transmitting the radiation through the material
    • G01N23/04Investigating or analysing materials by the use of wave or particle radiation, e.g. X-rays or neutrons, not covered by groups G01N3/00 – G01N17/00, G01N21/00 or G01N22/00 by transmitting the radiation through the material and forming images of the material
    • GPHYSICS
    • G01MEASURING; TESTING
    • G01TMEASUREMENT OF NUCLEAR OR X-RADIATION
    • G01T1/00Measuring X-radiation, gamma radiation, corpuscular radiation, or cosmic radiation
    • G01T1/16Measuring radiation intensity
    • G01T1/24Measuring radiation intensity with semiconductor detectors
    • HELECTRICITY
    • H01ELECTRIC ELEMENTS
    • H01LSEMICONDUCTOR DEVICES NOT COVERED BY CLASS H10
    • H01L21/00Processes or apparatus adapted for the manufacture or treatment of semiconductor or solid state devices or of parts thereof
    • H01L21/02Manufacture or treatment of semiconductor devices or of parts thereof
    • H01L21/02104Forming layers
    • H01L21/02365Forming inorganic semiconducting materials on a substrate
    • H01L21/02367Substrates
    • H01L21/0237Materials
    • H01L21/02373Group 14 semiconducting materials
    • H01L21/02381Silicon, silicon germanium, germanium
    • HELECTRICITY
    • H01ELECTRIC ELEMENTS
    • H01LSEMICONDUCTOR DEVICES NOT COVERED BY CLASS H10
    • H01L21/00Processes or apparatus adapted for the manufacture or treatment of semiconductor or solid state devices or of parts thereof
    • H01L21/02Manufacture or treatment of semiconductor devices or of parts thereof
    • H01L21/02104Forming layers
    • H01L21/02365Forming inorganic semiconducting materials on a substrate
    • H01L21/02367Substrates
    • H01L21/0237Materials
    • H01L21/02422Non-crystalline insulating materials, e.g. glass, polymers
    • HELECTRICITY
    • H01ELECTRIC ELEMENTS
    • H01LSEMICONDUCTOR DEVICES NOT COVERED BY CLASS H10
    • H01L21/00Processes or apparatus adapted for the manufacture or treatment of semiconductor or solid state devices or of parts thereof
    • H01L21/02Manufacture or treatment of semiconductor devices or of parts thereof
    • H01L21/02104Forming layers
    • H01L21/02365Forming inorganic semiconducting materials on a substrate
    • H01L21/02436Intermediate layers between substrates and deposited layers
    • H01L21/02439Materials
    • H01L21/02469Group 12/16 materials
    • H01L21/02472Oxides
    • HELECTRICITY
    • H01ELECTRIC ELEMENTS
    • H01LSEMICONDUCTOR DEVICES NOT COVERED BY CLASS H10
    • H01L21/00Processes or apparatus adapted for the manufacture or treatment of semiconductor or solid state devices or of parts thereof
    • H01L21/02Manufacture or treatment of semiconductor devices or of parts thereof
    • H01L21/02104Forming layers
    • H01L21/02365Forming inorganic semiconducting materials on a substrate
    • H01L21/02436Intermediate layers between substrates and deposited layers
    • H01L21/02439Materials
    • H01L21/02483Oxide semiconducting materials not being Group 12/16 materials, e.g. ternary compounds
    • HELECTRICITY
    • H01ELECTRIC ELEMENTS
    • H01LSEMICONDUCTOR DEVICES NOT COVERED BY CLASS H10
    • H01L21/00Processes or apparatus adapted for the manufacture or treatment of semiconductor or solid state devices or of parts thereof
    • H01L21/02Manufacture or treatment of semiconductor devices or of parts thereof
    • H01L21/02104Forming layers
    • H01L21/02365Forming inorganic semiconducting materials on a substrate
    • H01L21/02436Intermediate layers between substrates and deposited layers
    • H01L21/02439Materials
    • H01L21/02488Insulating materials
    • HELECTRICITY
    • H01ELECTRIC ELEMENTS
    • H01LSEMICONDUCTOR DEVICES NOT COVERED BY CLASS H10
    • H01L21/00Processes or apparatus adapted for the manufacture or treatment of semiconductor or solid state devices or of parts thereof
    • H01L21/02Manufacture or treatment of semiconductor devices or of parts thereof
    • H01L21/02104Forming layers
    • H01L21/02365Forming inorganic semiconducting materials on a substrate
    • H01L21/02518Deposited layers
    • H01L21/02521Materials
    • H01L21/02551Group 12/16 materials
    • H01L21/02554Oxides
    • HELECTRICITY
    • H01ELECTRIC ELEMENTS
    • H01LSEMICONDUCTOR DEVICES NOT COVERED BY CLASS H10
    • H01L21/00Processes or apparatus adapted for the manufacture or treatment of semiconductor or solid state devices or of parts thereof
    • H01L21/02Manufacture or treatment of semiconductor devices or of parts thereof
    • H01L21/02104Forming layers
    • H01L21/02365Forming inorganic semiconducting materials on a substrate
    • H01L21/02518Deposited layers
    • H01L21/02521Materials
    • H01L21/02565Oxide semiconducting materials not being Group 12/16 materials, e.g. ternary compounds
    • HELECTRICITY
    • H01ELECTRIC ELEMENTS
    • H01LSEMICONDUCTOR DEVICES NOT COVERED BY CLASS H10
    • H01L21/00Processes or apparatus adapted for the manufacture or treatment of semiconductor or solid state devices or of parts thereof
    • H01L21/02Manufacture or treatment of semiconductor devices or of parts thereof
    • H01L21/02104Forming layers
    • H01L21/02365Forming inorganic semiconducting materials on a substrate
    • H01L21/02518Deposited layers
    • H01L21/02587Structure
    • H01L21/0259Microstructure
    • H01L21/02592Microstructure amorphous
    • HELECTRICITY
    • H10SEMICONDUCTOR DEVICES; ELECTRIC SOLID-STATE DEVICES NOT OTHERWISE PROVIDED FOR
    • H10DINORGANIC ELECTRIC SEMICONDUCTOR DEVICES
    • H10D30/00Field-effect transistors [FET]
    • H10D30/60Insulated-gate field-effect transistors [IGFET]
    • H10D30/67Thin-film transistors [TFT]
    • H10D30/6704Thin-film transistors [TFT] having supplementary regions or layers in the thin films or in the insulated bulk substrates for controlling properties of the device
    • HELECTRICITY
    • H10SEMICONDUCTOR DEVICES; ELECTRIC SOLID-STATE DEVICES NOT OTHERWISE PROVIDED FOR
    • H10DINORGANIC ELECTRIC SEMICONDUCTOR DEVICES
    • H10D30/00Field-effect transistors [FET]
    • H10D30/60Insulated-gate field-effect transistors [IGFET]
    • H10D30/67Thin-film transistors [TFT]
    • H10D30/6704Thin-film transistors [TFT] having supplementary regions or layers in the thin films or in the insulated bulk substrates for controlling properties of the device
    • H10D30/6713Thin-film transistors [TFT] having supplementary regions or layers in the thin films or in the insulated bulk substrates for controlling properties of the device characterised by the properties of the source or drain regions, e.g. compositions or sectional shapes
    • HELECTRICITY
    • H10SEMICONDUCTOR DEVICES; ELECTRIC SOLID-STATE DEVICES NOT OTHERWISE PROVIDED FOR
    • H10DINORGANIC ELECTRIC SEMICONDUCTOR DEVICES
    • H10D30/00Field-effect transistors [FET]
    • H10D30/60Insulated-gate field-effect transistors [IGFET]
    • H10D30/67Thin-film transistors [TFT]
    • H10D30/674Thin-film transistors [TFT] characterised by the active materials
    • H10D30/6755Oxide semiconductors, e.g. zinc oxide, copper aluminium oxide or cadmium stannate
    • H10D30/6756Amorphous oxide semiconductors
    • HELECTRICITY
    • H10SEMICONDUCTOR DEVICES; ELECTRIC SOLID-STATE DEVICES NOT OTHERWISE PROVIDED FOR
    • H10DINORGANIC ELECTRIC SEMICONDUCTOR DEVICES
    • H10D30/00Field-effect transistors [FET]
    • H10D30/60Insulated-gate field-effect transistors [IGFET]
    • H10D30/67Thin-film transistors [TFT]
    • H10D30/6757Thin-film transistors [TFT] characterised by the structure of the channel, e.g. transverse or longitudinal shape or doping profile
    • HELECTRICITY
    • H10SEMICONDUCTOR DEVICES; ELECTRIC SOLID-STATE DEVICES NOT OTHERWISE PROVIDED FOR
    • H10DINORGANIC ELECTRIC SEMICONDUCTOR DEVICES
    • H10D62/00Semiconductor bodies, or regions thereof, of devices having potential barriers
    • H10D62/40Crystalline structures
    • H10D62/402Amorphous materials
    • HELECTRICITY
    • H10SEMICONDUCTOR DEVICES; ELECTRIC SOLID-STATE DEVICES NOT OTHERWISE PROVIDED FOR
    • H10DINORGANIC ELECTRIC SEMICONDUCTOR DEVICES
    • H10D62/00Semiconductor bodies, or regions thereof, of devices having potential barriers
    • H10D62/80Semiconductor bodies, or regions thereof, of devices having potential barriers characterised by the materials
    • HELECTRICITY
    • H10SEMICONDUCTOR DEVICES; ELECTRIC SOLID-STATE DEVICES NOT OTHERWISE PROVIDED FOR
    • H10DINORGANIC ELECTRIC SEMICONDUCTOR DEVICES
    • H10D86/00Integrated devices formed in or on insulating or conducting substrates, e.g. formed in silicon-on-insulator [SOI] substrates or on stainless steel or glass substrates
    • H10D86/01Manufacture or treatment
    • H10D86/021Manufacture or treatment of multiple TFTs
    • H10D86/0241Manufacture or treatment of multiple TFTs using liquid deposition, e.g. printing
    • HELECTRICITY
    • H10SEMICONDUCTOR DEVICES; ELECTRIC SOLID-STATE DEVICES NOT OTHERWISE PROVIDED FOR
    • H10DINORGANIC ELECTRIC SEMICONDUCTOR DEVICES
    • H10D86/00Integrated devices formed in or on insulating or conducting substrates, e.g. formed in silicon-on-insulator [SOI] substrates or on stainless steel or glass substrates
    • H10D86/40Integrated devices formed in or on insulating or conducting substrates, e.g. formed in silicon-on-insulator [SOI] substrates or on stainless steel or glass substrates characterised by multiple TFTs
    • H10D86/421Integrated devices formed in or on insulating or conducting substrates, e.g. formed in silicon-on-insulator [SOI] substrates or on stainless steel or glass substrates characterised by multiple TFTs having a particular composition, shape or crystalline structure of the active layer
    • H10D86/423Integrated devices formed in or on insulating or conducting substrates, e.g. formed in silicon-on-insulator [SOI] substrates or on stainless steel or glass substrates characterised by multiple TFTs having a particular composition, shape or crystalline structure of the active layer comprising semiconductor materials not belonging to the Group IV, e.g. InGaZnO
    • HELECTRICITY
    • H10SEMICONDUCTOR DEVICES; ELECTRIC SOLID-STATE DEVICES NOT OTHERWISE PROVIDED FOR
    • H10DINORGANIC ELECTRIC SEMICONDUCTOR DEVICES
    • H10D86/00Integrated devices formed in or on insulating or conducting substrates, e.g. formed in silicon-on-insulator [SOI] substrates or on stainless steel or glass substrates
    • H10D86/40Integrated devices formed in or on insulating or conducting substrates, e.g. formed in silicon-on-insulator [SOI] substrates or on stainless steel or glass substrates characterised by multiple TFTs
    • H10D86/60Integrated devices formed in or on insulating or conducting substrates, e.g. formed in silicon-on-insulator [SOI] substrates or on stainless steel or glass substrates characterised by multiple TFTs wherein the TFTs are in active matrices
    • HELECTRICITY
    • H10SEMICONDUCTOR DEVICES; ELECTRIC SOLID-STATE DEVICES NOT OTHERWISE PROVIDED FOR
    • H10DINORGANIC ELECTRIC SEMICONDUCTOR DEVICES
    • H10D99/00Subject matter not provided for in other groups of this subclass
    • HELECTRICITY
    • H10SEMICONDUCTOR DEVICES; ELECTRIC SOLID-STATE DEVICES NOT OTHERWISE PROVIDED FOR
    • H10FINORGANIC SEMICONDUCTOR DEVICES SENSITIVE TO INFRARED RADIATION, LIGHT, ELECTROMAGNETIC RADIATION OF SHORTER WAVELENGTH OR CORPUSCULAR RADIATION
    • H10F39/00Integrated devices, or assemblies of multiple devices, comprising at least one element covered by group H10F30/00, e.g. radiation detectors comprising photodiode arrays
    • H10F39/011Manufacture or treatment of image sensors covered by group H10F39/12
    • H10F39/026Wafer-level processing
    • HELECTRICITY
    • H10SEMICONDUCTOR DEVICES; ELECTRIC SOLID-STATE DEVICES NOT OTHERWISE PROVIDED FOR
    • H10FINORGANIC SEMICONDUCTOR DEVICES SENSITIVE TO INFRARED RADIATION, LIGHT, ELECTROMAGNETIC RADIATION OF SHORTER WAVELENGTH OR CORPUSCULAR RADIATION
    • H10F39/00Integrated devices, or assemblies of multiple devices, comprising at least one element covered by group H10F30/00, e.g. radiation detectors comprising photodiode arrays
    • H10F39/10Integrated devices
    • H10F39/12Image sensors
    • H10F39/191Photoconductor image sensors
    • H10F39/195X-ray, gamma-ray or corpuscular radiation imagers
    • HELECTRICITY
    • H10SEMICONDUCTOR DEVICES; ELECTRIC SOLID-STATE DEVICES NOT OTHERWISE PROVIDED FOR
    • H10FINORGANIC SEMICONDUCTOR DEVICES SENSITIVE TO INFRARED RADIATION, LIGHT, ELECTROMAGNETIC RADIATION OF SHORTER WAVELENGTH OR CORPUSCULAR RADIATION
    • H10F77/00Constructional details of devices covered by this subclass
    • H10F77/10Semiconductor bodies
    • H10F77/12Active materials

Definitions

  • the present invention relates to a method for manufacturing a thin film transistor, a thin film transistor, a display device, an image sensor, and an X-ray sensor.
  • Transparent amorphous oxide semiconductor materials typified by In-Ga-Zn-O (hereinafter referred to as InGaZnO) have higher mobility than a-Si, and are used for driving large and high-definition displays.
  • TAOS Transparent amorphous oxide semiconductor materials
  • a-Si In-Ga-Zn-O
  • TFT thin film transistor
  • TAOS-TFT an InGaZnO-TFT formed by vacuum film formation such as a sputtering method has been studied for mass production and has reached a level close to practical use (for example, JP 2010-21555 A). reference).
  • the present invention forms a transparent amorphous oxide semiconductor layer by a liquid phase method, produced a relatively high mobility in annealing at a low temperature ( ⁇ 1cm 2 / Vs) manufacturing method of a thin film transistor shown, as well as whereby It is an object to provide a thin film transistor, a display device including the thin film transistor, an image sensor, and an X-ray sensor.
  • the raw material solution contains aminoethanols as the solvent.
  • ⁇ 6> The method for producing a thin film transistor according to ⁇ 1>, wherein in the step of forming the oxide semiconductor layer, the oxide semiconductor layer is formed using a raw material solution containing a ⁇ -diketone complex and a solvent.
  • the raw material solution contains ⁇ -diketone as the solvent.
  • the first region is in a composition range that further satisfies b ⁇ a / 2 ⁇ 1 / 10 and b ⁇ ⁇ 3a / 2 + 1/10. Manufacturing method of the thin film transistor.
  • ⁇ 9> The method for producing a thin film transistor according to ⁇ 8>, wherein the first region is in a composition range that further satisfies b ⁇ 1/20 and c ⁇ 1/20.
  • ⁇ 10> The method for manufacturing a thin film transistor according to any one of ⁇ 1> to ⁇ 9>, wherein the second region has a composition satisfying f / (e + f)> 0.250.
  • ⁇ 11> The method for manufacturing a thin film transistor according to any one of ⁇ 1> to ⁇ 10>, wherein the second region of the oxide semiconductor has a composition satisfying f / (e + f) ⁇ 0.875.
  • ⁇ 12> The method for manufacturing a thin film transistor according to any one of ⁇ 1> to ⁇ 11>, wherein the film thickness of the second region is more than 10 nm and less than 70 nm.
  • ⁇ 13> The method for manufacturing a thin film transistor according to any one of ⁇ 1> to ⁇ 12>, wherein the oxide semiconductor layer is amorphous.
  • ⁇ 14> In the step of forming the oxide semiconductor layer, an oxide precursor film containing at least one metal organic compound selected from a metal alkoxide and a ⁇ -diketone complex is formed, and the oxide precursor film is formed from the metal organic film.
  • the method for producing a thin film transistor according to any one of ⁇ 1> to ⁇ 13> comprising a step of heat-treating at a temperature equal to or higher than a thermal decomposition temperature of the compound.
  • ⁇ 15> The method for manufacturing a thin film transistor according to ⁇ 14>, wherein the heat treatment step is performed at 400 ° C. or higher.
  • ⁇ 16> A thin film transistor manufactured using the manufacturing method according to any one of ⁇ 1> to ⁇ 15>.
  • ⁇ 17> A display device comprising the thin film transistor according to ⁇ 16>.
  • ⁇ 18> An image sensor comprising the thin film transistor according to ⁇ 16>.
  • ⁇ 19> An X-ray sensor comprising the thin film transistor according to ⁇ 16>.
  • ⁇ 20> An X-ray digital imaging apparatus comprising the X-ray sensor according to ⁇ 19>.
  • the X-ray digital imaging device according to ⁇ 20> which is capable of capturing a moving image.
  • a method of manufacturing a thin film transistor in which a transparent amorphous oxide semiconductor layer is formed by a liquid phase method and exhibits high mobility ( ⁇ 1 cm 2 / Vs) by annealing at a relatively low temperature, and manufactured thereby A thin film transistor, a display device including the thin film transistor, an image sensor, and an X-ray sensor are provided.
  • FIG. 1 It is a schematic block diagram of the electrical wiring of the X-ray sensor array of FIG. It is a figure which shows the composition range of the 1st area
  • the inventors of the present invention have made extensive studies on a method for manufacturing a thin film transistor having a mobility of 1 cm 2 / Vs by forming an oxide semiconductor layer by a liquid phase method. As a result, the oxide semiconductor layer has a stacked structure.
  • the inventors have found that a thin film transistor having a mobility of 1 cm 2 / Vs or higher can be manufactured at a relatively low temperature by controlling the region on the gate electrode side within a specific composition range.
  • TFT thin film transistor
  • the element structure of the TFT manufactured according to the present invention may be either a so-called bottom gate type (also referred to as an inverted staggered structure) or a top gate type (also referred to as a staggered structure) based on the position of the gate electrode.
  • the top gate type is a form in which a gate electrode is disposed on the upper side of the gate insulating film and an active layer is formed on the lower side of the gate insulating film when the substrate on which the TFT is formed is the lowermost layer.
  • the bottom gate type is a form in which a gate electrode is disposed below the gate insulating film and an active layer is formed above the gate insulating film.
  • the TFT according to the present invention can have various configurations, and may appropriately have a configuration including a protective layer on the active layer and an insulating layer on the substrate.
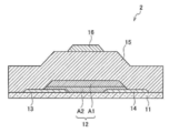
  • FIG. 1 is a sectional view schematically showing the configuration of a thin film transistor 1 according to the first embodiment of the present invention
  • FIG. 2 is a schematic view showing the configuration of the thin film transistor 2 according to the second embodiment of the present invention.
  • the thin film transistor 1 of the first embodiment shown in FIG. 1 is a bottom gate-top contact type transistor
  • the thin film transistor 2 of the second embodiment shown in FIG. 2 is a top gate-bottom contact type transistor.
  • the arrangement of the gate electrode 16, the source electrode 13, and the drain electrode 14 with respect to the oxide semiconductor layer 12 is different, but the function of each element given the same reference numeral is the same. Similar materials can be applied.
  • the thin film transistors 1 and 2 include a gate electrode 16, a gate insulating film 15, an oxide semiconductor layer 12 (active layer), a source electrode 13, and a drain electrode 14.
  • the semiconductor layer 12 includes a first region A1 and a second region A2 from the side close to the gate electrode 16 in the film thickness direction.
  • the first region A1 and the second region A2 constituting the oxide semiconductor layer 12 are each formed by a liquid phase method.
  • each component including the substrate on which the TFTs 1 and 2 of the present invention are formed will be described in detail.
  • the structure of the substrate 11 may be a single layer structure or a laminated structure.
  • an inorganic substrate such as glass or YSZ (yttrium stabilized zirconium), a resin substrate, a composite material thereof, or the like can be used.
  • the resin substrate is preferably excellent in heat resistance, dimensional stability, solvent resistance, electrical insulation, workability, low air permeability, low moisture absorption, and the like.
  • the resin substrate may include a gas barrier layer for preventing permeation of moisture and oxygen, an undercoat layer for improving the flatness of the resin substrate and adhesion with the lower electrode, and the like.
  • the oxide semiconductor layer 12 (active layer) is referred to as a first region A1 (appropriately referred to as “A1 layer”) and a second region A2 (appropriately referred to as “A2 layer”) in order from the closest to the gate electrode 16. ), And is disposed to face the gate electrode 16 with the gate insulating film 15 in between. Both the first region A1 and the second region A2 are formed by a liquid phase method.
  • the composition range is 1/3 and b ⁇ ⁇ 10a / 7 + 1.
  • the upper limit of d is d ⁇ 3/2.
  • the first region A1 is more desirably in a composition range satisfying b ⁇ a / 2 ⁇ 1 / 10 and b ⁇ ⁇ 3a / 2 + 1/10 from the viewpoint of achieving higher mobility, Furthermore, it is more desirable that the composition range satisfies b ⁇ 1/20 and c ⁇ 1/20. If 1st area
  • the thickness of the first region A1 is desirably less than 30 nm.
  • the threshold value can be greatly shifted to the negative side. There is sex. If the thickness of the first region A1 is 30 nm or more, the total carrier concentration in the active layer is in an excessive state, and pinch-off becomes relatively difficult.
  • the thickness of the first region A1 is preferably 5 nm or more from the viewpoint of obtaining uniformity and high mobility of the oxide semiconductor layer 12.
  • the second region A2 of the oxide semiconductor layer 12 is located on the side farther than the first region A1 with respect to the gate electrode 16, that is, on the side opposite to the surface in contact with the gate insulating film 15 of the first region A1. To do.
  • the second region A2 is represented by In (e) Ga (f) Zn (g) O (h) (e ⁇ 0, f ⁇ 0, g ⁇ 0, e + f> 0, h> 0), and includes at least In and
  • the oxide semiconductor film contains any one of Ga.
  • the composition of the second region A2 preferably satisfies f / (e + f)> 0.25. If the composition of the second region A2 is within a range satisfying f / (e + f)> 0.25, excessive carrier flow into the first region A1 and channel formation in the second region are suppressed. In addition, it is possible to effectively suppress the threshold voltage Vth from shifting to the negative side.
  • the composition of the second region A2 desirably satisfies f / (e + f) ⁇ 0.875. When the composition of the second region A2 is f / (e + f) ⁇ 0.875, an increase in resistance of the second region due to an increase in Ga content is suppressed, and high mobility can be achieved.
  • the thickness of the second region A2 is desirably 30 nm or more. If the thickness of the second region A2 is 30 nm or more, a reduction in off-current can be expected more reliably. On the other hand, if the thickness of the second region A2 is 10 nm or less, there is a risk of increasing the off-current or degrading the S value.
  • the thickness of the second region A2 is preferably less than 70 nm. If the thickness of the second region is 70 nm or more, a reduction in off-current can be expected, but the resistance between the source / drain electrode layer and the first region A1 increases, resulting in a decrease in mobility. There is a risk of inviting. Therefore, the thickness of the second region A2 is desirably larger than 10 nm and smaller than 70 nm. In addition, the thickness of each area
  • the film thickness (total film thickness) of the entire oxide semiconductor layer 12 is preferably about 10 to 200 nm, more preferably 35 nm or more and less than 80 nm, from the viewpoint of film uniformity and patterning property.
  • the oxide semiconductor layer 12 (the first region A1 and the second region A2) is preferably amorphous. If the first and second regions A1 and A2 are amorphous films, there is no crystal grain boundary and a highly uniform film can be obtained. Note that whether or not the laminated film composed of the first and second regions A1 and A2 is amorphous can be confirmed by X-ray diffraction measurement. That is, when a clear peak indicating a crystal structure is not detected by X-ray diffraction measurement, it can be determined that the laminated film is amorphous.
  • the source electrode 13 and the drain electrode 14 are not particularly limited in terms of material and structure as long as both have high conductivity.
  • metal such as Al, Mo, Cr, Ta, Ti, Au, Ag, metal oxide conductive such as Al—Nd, tin oxide, zinc oxide, indium oxide, indium tin oxide (ITO), indium zinc oxide (InZnO), etc.
  • the source / drain electrodes 13 and 14 can be formed as a single layer or a laminated structure of two or more layers such as a film.
  • the thickness is 10 nm or more and 1000 nm or less in consideration of the film forming property, the patterning property by etching or lift-off method, the conductivity, and the like. It is preferable to set it to 50 nm or more and 100 nm or less.
  • the gate insulating film 15 is a layer that separates the gate electrode 16 from the oxide semiconductor 12 and the source / drain electrodes 13 and 14, and has a high insulating property.
  • SiO 2 , SiNx, An insulating film such as SiON, Al 2 O 3 , Y 2 O 3 , Ta 2 O 5 , HfO 2, or an insulating film containing two or more of these compounds can be used.
  • the gate insulating film 15 needs to have a sufficient thickness to reduce leakage current and improve voltage resistance. On the other hand, if the thickness is too large, the drive voltage increases.
  • the thickness of the gate insulating film 15 is preferably 10 nm to 10 ⁇ m, more preferably 50 nm to 1000 nm, and particularly preferably 100 nm to 400 nm.
  • the gate electrode 16 is not particularly limited as long as it has high conductivity.
  • metal such as Al, Mo, Cr, Ta, Ti, Au, Ag, metal oxide conductive such as Al—Nd, tin oxide, zinc oxide, indium oxide, indium tin oxide (ITO), indium zinc oxide (InZnO), etc.
  • a gate electrode can be formed using a single layer or a stacked structure of two or more layers such as a film.
  • the thickness is preferably 10 nm or more and 1000 nm or less in consideration of film forming property, patterning property by etching or lift-off method, conductivity, and the like. 50 nm or more and 200 nm or less is more preferable.
  • the gate electrode 16 is a material used from, for example, a wet method such as a printing method or a coating method, a physical method such as a vacuum deposition method, a sputtering method, or an ion plating method, or a chemical method such as CVD or plasma CVD method.
  • the film may be formed according to a method appropriately selected in consideration of the suitability of For example, after the electrode film is formed, the gate electrode 16 is formed by patterning into a predetermined shape by etching or a lift-off method. At this time, it is preferable to pattern the gate electrode 16 and the gate wiring simultaneously.
  • the gate insulating film 15 is a material used from a wet method such as a printing method or a coating method, a physical method such as a vacuum deposition method, a sputtering method or an ion plating method, or a chemical method such as a CVD or plasma CVD method.
  • the film may be formed according to a method appropriately selected in consideration of the suitability of For example, the gate insulating film 15 may be patterned into a predetermined shape by photolithography and etching.
  • the oxide region 12 is formed in the order of the first region A1 and the second region A2 at a position facing the gate electrode 16 on the gate insulating film 15.
  • the order of forming the first region A1 and the second region A2 may be determined by the positional relationship with the gate electrode 16. For example, when the bottom gate type thin film transistor 1 as shown in FIG. 1 is manufactured, the oxide semiconductor layer 12 is formed in the order of the first region A1 and the second region A2, and the top gate as shown in FIG. When manufacturing the thin film transistor 2, the second region A2 and the first region A1 may be formed in this order.
  • a raw material solution including a metal organic compound containing a metal element and an organic component and a solvent for forming the regions A1 and A2 of the oxide semiconductor layer 12 is prepared.
  • the liquid phase method such as spin coating, bar coating, dip coating, spray coating, ink jet, dispenser, screen printing, letterpress printing or intaglio printing on the substrate 11 on which the gate insulating film 15 is formed, A first oxide precursor film containing an organic component and at least In is formed, and a second oxide precursor film is similarly formed on the first oxide precursor film using a liquid phase method.
  • the raw material solutions used when forming the first oxide precursor film and the second oxide precursor film by the liquid phase method are the targets when formed as the first region A1 and the second region A2, respectively. Although it will not specifically limit if it has the composition used as follows, The raw material solution containing at least 1 type chosen from a metal alkoxide, (beta) diketone complex, and nitrate and a solvent can be used.
  • a material containing a metal organic compound that can be thermally decomposed in a temperature range of 500 ° C. or lower to form an oxide can be preferably used. More preferably, it is a solution containing a metal alkoxide or an organic acid salt containing a metal element constituting a target oxide semiconductor. If the solution contains a metal alkoxide or an organic acid salt, a process for removing impurity components such as nitric acid and chlorine that may occur when nitrates and chlorides are used is unnecessary, and generation of harmful gases can be suppressed. .
  • organic acid salt examples include a ⁇ -diketone complex group, a ⁇ -ketocarboxylic acid ester complex group, a ⁇ -ketocarboxylic acid complex group, and a ketooxy group (ketooxy complex group).
  • the ⁇ -diketone complex group examples include 2,4-pentanedione (also referred to as acetylacetone or acetoacetone), 1,1,1,5,5,5-hexamethyl-2,4-pentanedione, 2,2, Examples include 6,6-tetramethyl-3,5-heptanedione and 1,1,1-trifluoro-2,4-pentanedione.
  • ⁇ -diketone complex When a ⁇ -diketone complex is used as a raw material for forming the oxide precursor film, it is preferable to use ⁇ -diketone as a solvent.
  • Examples of ⁇ -ketocarboxylic acid ester complex groups include methyl acetoacetate, ethyl acetoacetate, propyl acetoacetate, ethyl trimethylacetoacetate, methyl trifluoroacetoacetate and the like.
  • Examples of ⁇ -ketocarboxylic acid include acetoacetic acid and trimethylacetoacetic acid.
  • Examples of the ketooxy group include an acetooxy group (or acetoxy group), a propionyloxy group, a butyryloxy group, an acryloyloxy group, and a methacryloyloxy group. These groups preferably have 18 or less carbon atoms. Moreover, a linear or branched thing and the thing which made the hydrogen atom the fluorine atom may be used.
  • a solution containing at least a metal alkoxide compound represented by the following general formula (I) can be used.
  • M (OR) n (I) In formula (I), M is In, Ga or Zn, R is an organic group, and n is an integer of 1 or more.
  • the metal alkoxide used by this invention may exist independently, and the one part may connect and it may form the composite alkoxide.
  • the metal alkoxide solution preferably has a viscosity of 1 to 100 mPa ⁇ s.
  • the organic group represented by R in the general formula (I) may be the same or different in all metal elements, and is preferably an alkyl group having 1 to 20 carbon atoms, more preferably 1 to 6 carbon atoms. is there.
  • Examples of specific metal alkoxides corresponding to the general formula (I) include zinc ethoxide, zinc ethoxy ethoxide, zinc dimethylamino ethoxide, zinc methoxy ethoxide, indium isopropoxide, indium-n-butoxide, indium methoxy. Examples thereof include ethoxide, indium diethylaminoethoxide, gallium ethoxide, gallium isopropoxide, and the like.
  • the metal alkoxide solution is contained in a total weight concentration of all metal alkoxide compounds, preferably 0.5 to 20% by mass, more preferably 1 to 10% by mass. If the content of the metal alkoxide compound in the solution is less than 0.5% by mass, it may be difficult to form a uniform thin film, and if it exceeds 20% by mass, it is difficult to form a sufficiently thin film. There is a case.
  • the metal alkoxide solution contains a suitable solvent for dissolving the metal alkoxide compound.
  • suitable solvent include water, alcohols, amino alcohols, glycols and the like. From the viewpoint of solubility, wettability, a high boiling point, and prevention of hydrolysis in the liquid. In view of stability of the dispersion and drying property, it is more preferable to contain at least one high boiling point solvent.
  • the boiling point of the high boiling point solvent is, for example, 120 to 250 ° C., and preferably 130 to 200 ° C. from the viewpoint of reducing the load during drying. If the boiling point is less than 120 ° C., the drying speed is high and it becomes difficult to obtain sufficient smoothness, and if it exceeds 250 ° C., it tends to remain when a thin film is formed.
  • Specific examples of the high boiling point solvent include 2-ethoxyethanol, 2- (methoxyethoxy) ethanol, 2- (ethoxyethoxy) ethanol, 2-isopropoxyethanol, 1-ethoxy-2-propanol, and 2-diethylaminoethanol. 2-dipropylaminoethanol, cyclohexanol, ethylene glycol, diethylene glycol, benzyl alcohol and the like.
  • the metal alkoxide solution may be used as a coating solution after adding various additives such as an antistatic agent, a plasticizer, a polymer binder, and a thickener according to the purpose and adjusting the physical properties.
  • membrane formed by the liquid phase method includes a light treatment step or a plasma treatment step, and a light treatment step is preferable from the viewpoint of treatment costs.
  • the light treatment step it is preferable to irradiate the oxide precursor film with ultraviolet rays. Ultraviolet rays can easily change the binding state of organic components in the film, and can be expected to improve the film density.
  • a low-pressure mercury lamp, a deuterium lamp, a xenon excimer lamp, a metal halide lamp, an excimer laser, or the like can be used.
  • the treatment for improving the film density may be performed every time the first oxide precursor film and the second oxide precursor film are formed, or after the formation of all the oxide precursor films is completed. May be.
  • the heat treatment method is not particularly limited, and examples thereof include a method of heating with an electric furnace or a muffle furnace, lamp heating, heating with a hot plate, and the like.
  • the heat treatment temperature may be equal to or higher than the thermal decomposition temperature of the metal organic compound to be used.
  • the heat treatment temperature is preferably 600 ° C. or lower. This is because if the temperature exceeds 600 ° C., the diffusion of the metal element occurs remarkably between the first oxide film and the second oxide film, and it becomes difficult to maintain the stacked structure.
  • thermal decomposition temperature changes with complex structures, it is possible to evaluate by performing thermogravimetry (TG), for example.
  • the oxide semiconductor layer 12 is patterned. Patterning can be performed by photolithography and etching. Specifically, a pattern of the oxide semiconductor layer 12 is formed by forming a resist pattern on the remaining portion by photolithography and etching with an acid solution such as hydrochloric acid, nitric acid, dilute sulfuric acid, or a mixed solution of phosphoric acid, nitric acid and acetic acid. Form. Note that the oxide semiconductor layer 12 may be patterned before the heat treatment step, and the heat treatment step may be performed after the patterning.
  • an acid solution such as hydrochloric acid, nitric acid, dilute sulfuric acid, or a mixed solution of phosphoric acid, nitric acid and acetic acid.
  • the oxide semiconductor layer 12 including the first region A1 and the second region A2 each formed from an oxide semiconductor can be formed by a liquid phase method.
  • the raw materials for forming the oxide semiconductor layer 12 according to the present invention are not limited to metal alkoxides and organic acid salts, and for example, nitrates can also be used.
  • nitrate is used as a raw material, there is an advantage that carbon components which become impurities when a film is formed are not mixed, compared with the case where metal alkoxide or organic acid salt is used.
  • nitrates generally have lower thermal decomposition temperatures (about 250 ° C.) than metal alkoxides and organic acid salts, higher TFT characteristics can be realized at lower temperatures.
  • a metal film for forming the source / drain electrodes 13 and 14 is formed on the oxide semiconductor layer 12.
  • Each of the source electrode 13 and the drain electrode 14 is, for example, a wet method such as a printing method or a coating method, a physical method such as a vacuum deposition method, a sputtering method, or an ion plating method, a chemical method such as CVD or a plasma CVD method, or the like.
  • the film may be formed according to a method appropriately selected in consideration of suitability with the material to be used.
  • the metal film is patterned into a predetermined shape by etching or a lift-off method, and the source electrode 13 and the drain electrode 14 are formed. At this time, it is preferable to pattern the source / drain electrodes 13 and 14 and the wiring (not shown) connected to these electrodes 13 and 14 simultaneously.
  • the thin film transistor 1 having the structure shown in FIG. 1 can be manufactured.
  • Thin film transistors produced by the present invention can be relatively manufactured at a low temperature by a liquid phase method, and, to indicate a high mobility ( ⁇ 1cm 2 / Vs), it can be applied to various devices.
  • the display device and the sensor using the thin film transistor manufactured according to the present invention exhibit good characteristics due to low power consumption.
  • the “characteristic” referred to here is a display characteristic in the case of a display device, and a sensitivity characteristic in the case of a sensor.
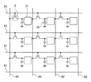
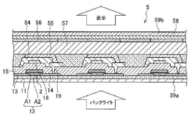
  • FIG. 3 shows a schematic sectional view of a part of a liquid crystal display device which is an embodiment of a display device including a thin film transistor manufactured according to the present invention
  • FIG. 4 shows a schematic configuration diagram of the electric wiring.
  • the liquid crystal display device 5 of the present embodiment includes the top gate-bottom contact type thin film transistor 2 and the gate electrode 16 protected by the passivation layer 54 of the thin film transistor 2 shown in FIG.
  • the passivation layer 54 of the thin film transistor 2 shown in FIG. are provided with a liquid crystal layer 57 sandwiched between the pixel lower electrode 55 and the opposed upper electrode 56, and an RGB color filter 58 for developing different colors corresponding to each pixel, and the substrate 11 side of the TFT 2 and the color filter 58.
  • the top-gate / bottom-contact thin film transistor 2 includes an oxide semiconductor layer 12.
  • the oxide semiconductor layer 12 includes a first region A1 and a second region A2 from the side close to the gate electrode 16 in the film thickness direction. It has.
  • the liquid crystal display device 5 of this embodiment includes a plurality of gate wirings 51 parallel to each other and data wirings 52 intersecting with the gate wirings 51 and parallel to each other.
  • the gate wiring 51 and the data wiring 52 are electrically insulated.
  • the thin film transistor 2 is provided in the vicinity of the intersection between the gate line 51 and the data line 52.
  • the gate electrode 16 of the thin film transistor 2 is connected to the gate wiring 51, and the source electrode 13 of the thin film transistor 2 is connected to the data wiring 52.
  • the drain electrode 14 of the thin film transistor 2 is electrically connected to the pixel lower electrode 55 through a contact hole 19 provided in the gate insulating film 15 (a conductor is embedded in the contact hole 19).
  • the pixel lower electrode 55 and the grounded counter electrode 56 constitute a capacitor 53.
  • the top gate type thin film transistor is provided in the liquid crystal device of this embodiment shown in FIG. 3.
  • the thin film transistor used in the liquid crystal device which is the display device of the present invention is not limited to the top gate type, A bottom-gate thin film transistor may be used.
  • the thin film transistor manufactured according to the present invention has high mobility, high-definition display such as high definition, high-speed response, and high contrast is possible in a liquid crystal display device, which is suitable for a large screen.
  • the active layer (oxide semiconductor layer) 12 is amorphous, variations in device characteristics can be suppressed, and an excellent display quality with a large screen and no unevenness can be realized.
  • the gate voltage can be reduced, and thus the power consumption of the display device can be reduced.
  • the first region A1 and the second region A2 constituting the active layer can be formed using an amorphous film that can be formed at a low temperature (for example, 200 ° C. or less). Therefore, a resin substrate (plastic substrate) can be used as the substrate. Therefore, according to the present invention, it is possible to provide a flexible liquid crystal display device having excellent display quality.
  • FIG. 5 shows a schematic sectional view of a part of an active matrix organic EL display device as an embodiment of a display device including a TFT manufactured according to the present invention
  • FIG. 6 shows a schematic configuration diagram of electrical wiring. Show.
  • driving methods for organic EL display devices There are two types of driving methods for organic EL display devices: a simple matrix method and an active matrix method.
  • the simple matrix method has an advantage that it can be manufactured at low cost.
  • the pixels are emitted by selecting one scanning line at a time, the number of scanning lines and the light emission time per scanning line are inversely proportional. Therefore, it is difficult to increase the definition and increase the screen size.
  • the active matrix method has a high manufacturing cost because a transistor and a capacitor are formed for each pixel.
  • it is suitable for high definition and large screen.
  • a top gate-top contact type thin film transistor is provided as a driving TFT 2a and a switching TFT 2b on a substrate 60 provided with a passivation layer 61a.
  • An organic light emitting element 65 including an organic light emitting layer 64 sandwiched between a lower electrode 62 and an upper electrode 63 is provided on the driving thin film transistor 2a and the switching thin film transistor 2b, and the upper surface is also protected by the passivation layer 61b.
  • Each of the driving thin film transistor 2a and the switching thin film transistor 2b includes an oxide semiconductor layer 12, and each of the oxide semiconductor layers 12 is first in the thickness direction from the side close to the gate electrode 16a and the gate electrode 16b. Region A1 and second region A2.
  • the organic EL display device 6 of the present embodiment includes a plurality of gate lines 66 parallel to each other, and data lines 67 and drive lines parallel to each other that intersect the gate lines 66. 68.
  • the gate wiring 66, the data wiring 67, and the driving wiring 68 are electrically insulated.
  • the gate electrode 16 b of the switching thin film transistor 2 b is connected to the gate line 66, and the source electrode 13 b of the switching thin film transistor 2 b is connected to the data line 67.
  • the drain electrode 14b of the switching thin film transistor 2b is connected to the gate electrode 16a of the driving thin film transistor 2a, and the driving thin film transistor 2a is kept on by using the capacitor 69.
  • the source electrode 13 a of the driving thin film transistor 2 a is connected to the driving wiring 68, and the drain electrode 14 a is connected to the organic EL light emitting element 65.
  • the organic EL device of this embodiment shown in FIG. 5 also includes the top gate type driving thin film transistor 2a and the top gate type switching thin film transistor 2b.
  • the thin film transistor used is not limited to the top gate type, and may be a bottom gate type thin film transistor.
  • the thin film transistor manufactured according to the present invention has high mobility, low power consumption and high quality display can be achieved. Further, according to the present invention, the first region A1 and the second region A2 constituting the active layer can be formed of an amorphous film that can be formed at a relatively low temperature. A substrate (plastic substrate) can be used. Therefore, according to the present invention, a flexible organic EL display device having excellent display quality can be provided.
  • the top electrode 63 may be a top emission type with a transparent electrode, or the bottom electrode 62, the driving TFT 2a, and the switching TFT 2b may be transparent electrodes. It may be an emission type.
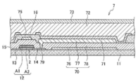
  • FIG. 7 shows a schematic sectional view of a part of an X-ray sensor which is an embodiment of the sensor of the present invention
  • FIG. 8 shows a schematic configuration diagram of its electric wiring.
  • the X-ray sensor 7 of this embodiment includes a thin film transistor 2 and a capacitor 70 formed on a substrate 11, a charge collection electrode 71 formed on the capacitor 70, an X-ray conversion layer 72, and an upper electrode 73. Configured.
  • a passivation film 75 is provided on the thin film transistor 2.
  • the capacitor 70 has a structure in which an insulating film 78 is sandwiched between a capacitor lower electrode 76 and a capacitor upper electrode 77.
  • the capacitor upper electrode 77 is connected to one of the source electrode 13 and the drain electrode 14 of the thin film transistor 2 (the drain electrode 14 in FIG. 7) through a contact hole 79 provided between the insulating film 78 and the gate insulating film 15.
  • the thin film transistor 2 includes an oxide semiconductor layer 12, and the oxide semiconductor layer 12 includes a first region A1 and a second region A2 from the side close to the gate electrode 16 in the film thickness direction.
  • the charge collection electrode 71 is provided on the capacitor upper electrode 77 in the capacitor 70 and is in contact with the capacitor upper electrode 77.
  • the X-ray conversion layer 72 is a layer formed of amorphous selenium, and is provided so as to cover the thin film transistor 2 and the capacitor 70.
  • the upper electrode 73 is provided on the X-ray conversion layer 72 and is in contact with the X-ray conversion layer 72.
  • the X-ray sensor 7 of this embodiment includes a plurality of gate wirings 81 that are parallel to each other and a plurality of data wirings 82 that intersect with the gate wirings 81 and are parallel to each other.
  • the gate wiring 81 and the data wiring 82 are electrically insulated.
  • the thin film transistor 2 is provided in the vicinity of the intersection between the gate line 81 and the data line 82.
  • the gate electrode 16 of the thin film transistor 2 is connected to the gate wiring 81, and the source electrode 13 of the thin film transistor 2 is connected to the data wiring 82.
  • the drain electrode 14 of the thin film transistor 2 is connected to the charge collecting electrode 71, and the charge collecting electrode 71 constitutes a capacitor 70 together with the grounded capacitor lower electrode 76.
  • X-rays are irradiated from the upper part (upper electrode 73 side) in FIG. 7, and electron-hole pairs are generated in the X-ray conversion layer 72.
  • the generated charges are accumulated in the capacitor 70 and read out by sequentially scanning the thin film transistor 2.
  • the X-ray sensor of the present invention includes the thin film transistor 2 having a high on-current and excellent reliability, the S / N is high and the sensitivity characteristic is excellent. A range image is obtained.
  • the X-ray digital imaging apparatus of the present invention is suitable not only for still image shooting but also for an X-ray digital imaging apparatus that can perform fluoroscopy with a moving image and still image shooting. Further, when the first region A1 and the second region A2 constituting the active layer in the thin film transistor 2 are amorphous, an image with excellent uniformity can be obtained.
  • the X-ray sensor of this embodiment shown in FIG. 7 is provided with a top gate type thin film transistor.
  • the thin film transistor used in the sensor of the present invention is not limited to the top gate type, but a bottom gate type. A thin film transistor may be used.
  • the first metal alkoxide raw material solution is spin-coated on a p-type silicon substrate with a thermal oxide film at a rotational speed of 3000 rpm, and then naturally dried for 5 minutes to form a first oxide precursor film having a thickness of 35 nm.
  • the second metal alkoxide raw material liquid was spin-coated at a rotational speed of 3000 rpm, and then naturally dried for 5 minutes.
  • the spin coating and natural drying were performed twice to prepare a second oxide precursor film having a thickness of 70 nm.
  • the obtained oxide precursor laminated film was heat-treated at 450 ° C. for 1 hour in a box furnace. As a result, a simple TFT for evaluation could be produced.
  • the thickness of the first region A1 included in the oxide semiconductor layer was 25 nm
  • the thickness of the second region A2 was 50 nm.
  • a first oxide precursor film having a film thickness of 35 nm is formed by spin-coating the first metal ⁇ -diketone raw material liquid on a p-type silicon substrate with a thermal oxide film at a rotational speed of 3000 rpm, followed by natural drying for 5 minutes. Was made. Next, the second metal ⁇ -diketone raw material liquid was spin-coated at a rotational speed of 3000 rpm, and then naturally dried for 5 minutes. The spin coating and natural drying were performed twice to prepare a second oxide precursor film having a thickness of 70 nm. The obtained oxide precursor laminated film was heat-treated at 450 ° C. for 1 hour in a box furnace. As a result, a simple TFT for evaluation could be produced. Note that the thickness of the first region A1 included in the oxide semiconductor layer was 25 nm, and the thickness of the second region A2 was 50 nm.
  • the mobility ⁇ was measured using a semiconductor parameter analyzer 4156C (manufactured by Agilent Technologies).
  • the linear mobility was calculated from the Vg-Id characteristic in the linear region obtained by sweeping the gate voltage (Vg) in the range of -30V to + 30V with the drain voltage (Vd) fixed at 1V.
  • the mobility when the composition of the first region is modulated is summarized in Table 1 below.
  • Table 1 The mobility when the composition of the first region is modulated is summarized in Table 1 below.
  • Table 1 For each TFT, the composition range and mobility of the first region A1 are shown in FIG. 9 by a ternary phase diagram method.
  • the carrier concentration amount that can contribute to conduction by controlling the composition of the first oxide semiconductor film (first region) responsible for carrier conduction to the In rich side in liquid phase film formation compared to vapor phase film formation. can be increased, and high mobility can be realized.
  • each of Ga and In is contained in an amount of 5% or more, but this is difficult to control carriers in the In 2 O 3 and InZnO systems, and degenerates in the In rich region such as the composition region given in the present invention. It is because it becomes easy to show conduction. In addition, it is possible to improve the stability over time and repeated driving by introducing Ga, which hardly forms oxygen defects and bears structural stability.
  • Comparative Examples 3 and 4 are examples in which the oxide semiconductor layer is not a stacked layer but a single film. From Comparative Example 3, it can be seen that a higher mobility is obtained in the laminated structure under the same heat treatment temperature condition. Further, it can be seen from Comparative Example 4 that the stacked InGaZnO-TFT annealed at a lower temperature can obtain higher mobility than the single-film InGaZnO-TFT annealed at a higher temperature.
  • mobility was calculated in the same manner as described above using a semiconductor parameter analyzer 4156C (manufactured by Agilent Technologies). Further, the threshold voltage (Vth) was obtained from the IV characteristics.
  • Table 2 The TFT characteristics when the composition of the second region is modulated are summarized in Table 2 below.
  • Example 1 containing Ga in the first region it can be seen that the fluctuation amount of the threshold value is smaller than that of Example 7 not containing Ga, so that stability against repeated driving is high. .
  • the thin film transistor manufactured according to the present invention is a device such as a flexible display that can be manufactured by a low-temperature process using a resin substrate, an image sensor such as a CCD (Charge Coupled Device), a CMOS (Complementary Metal Oxide Semiconductor), or an X-ray sensor. It is suitably used as a drive element (drive circuit) in various electronic devices such as various sensors and MEMS (Micro Electro Mechanical System).
  • the display device and sensor of the present invention using the thin film transistor manufactured according to the present invention exhibit good characteristics due to low power consumption.
  • the “characteristic” referred to here is a display characteristic in the case of a display device, and a sensitivity characteristic in the case of a sensor.

Landscapes

  • Engineering & Computer Science (AREA)
  • Physics & Mathematics (AREA)
  • General Physics & Mathematics (AREA)
  • Condensed Matter Physics & Semiconductors (AREA)
  • Manufacturing & Machinery (AREA)
  • Computer Hardware Design (AREA)
  • Microelectronics & Electronic Packaging (AREA)
  • Power Engineering (AREA)
  • Chemical & Material Sciences (AREA)
  • Materials Engineering (AREA)
  • Health & Medical Sciences (AREA)
  • Life Sciences & Earth Sciences (AREA)
  • High Energy & Nuclear Physics (AREA)
  • Pathology (AREA)
  • Spectroscopy & Molecular Physics (AREA)
  • Analytical Chemistry (AREA)
  • Biochemistry (AREA)
  • General Health & Medical Sciences (AREA)
  • Immunology (AREA)
  • Molecular Biology (AREA)
  • Crystallography & Structural Chemistry (AREA)
  • Thin Film Transistor (AREA)
  • Liquid Crystal (AREA)
  • Solid State Image Pick-Up Elements (AREA)
  • Devices For Indicating Variable Information By Combining Individual Elements (AREA)
  • Toxicology (AREA)
PCT/JP2013/065489 2012-06-20 2013-06-04 薄膜トランジスタの製造方法 Ceased WO2013190992A1 (ja)

Priority Applications (2)

Application Number Priority Date Filing Date Title
KR1020147035502A KR101634482B1 (ko) 2012-06-20 2013-06-04 박막 트랜지스터의 제조 방법
US14/571,293 US9673048B2 (en) 2012-06-20 2014-12-16 Method of producing thin film transistor, thin film transistor, display device, image sensor, and X-ray sensor

Applications Claiming Priority (2)

Application Number Priority Date Filing Date Title
JP2012139187A JP5972065B2 (ja) 2012-06-20 2012-06-20 薄膜トランジスタの製造方法
JP2012-139187 2012-06-20

Related Child Applications (1)

Application Number Title Priority Date Filing Date
US14/571,293 Continuation US9673048B2 (en) 2012-06-20 2014-12-16 Method of producing thin film transistor, thin film transistor, display device, image sensor, and X-ray sensor

Publications (1)

Publication Number Publication Date
WO2013190992A1 true WO2013190992A1 (ja) 2013-12-27

Family

ID=49768594

Family Applications (1)

Application Number Title Priority Date Filing Date
PCT/JP2013/065489 Ceased WO2013190992A1 (ja) 2012-06-20 2013-06-04 薄膜トランジスタの製造方法

Country Status (5)

Country Link
US (1) US9673048B2 (enExample)
JP (1) JP5972065B2 (enExample)
KR (1) KR101634482B1 (enExample)
TW (1) TWI613826B (enExample)
WO (1) WO2013190992A1 (enExample)

Cited By (5)

* Cited by examiner, † Cited by third party
Publication number Priority date Publication date Assignee Title
WO2015119818A1 (en) * 2014-02-06 2015-08-13 Precursor Energetics, Inc. Molecular precursor compounds for indium gallium zinc oxide materials
WO2016121230A1 (ja) * 2015-01-28 2016-08-04 富士フイルム株式会社 酸化物保護膜の製造方法、酸化物保護膜、薄膜トランジスタの製造方法、薄膜トランジスタ、及び電子デバイス
CN106927689A (zh) * 2017-04-17 2017-07-07 华南理工大学 一种氧化物半导体薄膜及其制备工艺
CN110620145A (zh) * 2014-05-08 2019-12-27 株式会社Flosfia 结晶性层叠结构体、半导体装置
WO2021046734A1 (zh) * 2019-09-11 2021-03-18 咸阳彩虹光电科技有限公司 开关元件和显示面板

Families Citing this family (29)

* Cited by examiner, † Cited by third party
Publication number Priority date Publication date Assignee Title
JP5972065B2 (ja) * 2012-06-20 2016-08-17 富士フイルム株式会社 薄膜トランジスタの製造方法
KR102279459B1 (ko) 2012-10-24 2021-07-19 가부시키가이샤 한도오따이 에네루기 켄큐쇼 반도체 장치 및 그 제작 방법
US9377419B2 (en) * 2012-12-12 2016-06-28 Jose Maria Las Navas Garcia Method and apparatus for multiple sample preparation and simultaneous loss of ignition/gain on ignition analysis, for use in X-ray fluorescence spectrometry
KR20140078543A (ko) * 2012-12-14 2014-06-25 한국화학연구원 자발적 연소 반응이 발생하는 인듐아연 산화물계 반도체 잉크 조성물 및 이를 통해 제조되는 무기 반도체 박막
US9670232B2 (en) * 2014-02-06 2017-06-06 Transtron Solutions Llc Molecular precursor compounds for zinc-group 13 mixed oxide materials
WO2015132694A1 (en) * 2014-03-07 2015-09-11 Semiconductor Energy Laboratory Co., Ltd. Touch sensor, touch panel, and manufacturing method of touch panel
JP2017533574A (ja) 2014-09-18 2017-11-09 インテル・コーポレーション シリコンcmos互換性半導体装置における欠陥伝播制御のための傾斜側壁カット面を有するウルツ鉱ヘテロエピタキシャル構造物
JP6376575B2 (ja) 2014-09-25 2018-08-22 インテル・コーポレーション 自立シリコンメサ上のiii−nエピタキシャル素子構造
JP2016092413A (ja) * 2014-10-29 2016-05-23 株式会社半導体エネルギー研究所 撮像装置および電子機器
US10573647B2 (en) 2014-11-18 2020-02-25 Intel Corporation CMOS circuits using n-channel and p-channel gallium nitride transistors
CN106922200B (zh) 2014-12-18 2021-11-09 英特尔公司 N沟道氮化镓晶体管
CN104716152B (zh) * 2015-04-01 2018-09-14 京东方科技集团股份有限公司 X射线平板探测器及其制备方法与白色绝缘材料
WO2016167277A1 (ja) * 2015-04-17 2016-10-20 シャープ株式会社 撮像パネル、及びそれを備えたx線撮像装置
EP3298628A4 (en) * 2015-05-19 2019-05-22 INTEL Corporation SEMICONDUCTOR COMPONENTS WITH INCREASED DOTED CRYSTALLINE STRUCTURES
WO2016209283A1 (en) 2015-06-26 2016-12-29 Intel Corporation Heteroepitaxial structures with high temperature stable substrate interface material
US9496415B1 (en) 2015-12-02 2016-11-15 International Business Machines Corporation Structure and process for overturned thin film device with self-aligned gate and S/D contacts
US10516060B2 (en) * 2016-03-11 2019-12-24 Semiconductor Energy Laboratory Co., Ltd. Composite and transistor
US10388738B2 (en) 2016-04-01 2019-08-20 Semiconductor Energy Laboratory Co., Ltd. Composite oxide semiconductor and method for manufacturing the same
TWI613804B (zh) 2017-09-04 2018-02-01 友達光電股份有限公司 光感測裝置
US12125888B2 (en) 2017-09-29 2024-10-22 Intel Corporation Group III-nitride (III-N) devices with reduced contact resistance and their methods of fabrication
WO2019066953A1 (en) 2017-09-29 2019-04-04 Intel Corporation REDUCED CONTACT RESISTANCE GROUP III (N-N) NITRIDE DEVICES AND METHODS OF MAKING SAME
CN109980086A (zh) * 2017-12-28 2019-07-05 深圳Tcl工业研究院有限公司 氧化物薄膜晶体管及其制备方法
JP6706638B2 (ja) * 2018-03-07 2020-06-10 シャープ株式会社 半導体装置およびその製造方法
KR102598375B1 (ko) * 2018-08-01 2023-11-06 이데미쓰 고산 가부시키가이샤 결정 구조 화합물, 산화물 소결체, 스퍼터링 타깃, 결정질 산화물 박막, 아모르퍼스 산화물 박막, 박막 트랜지스터, 및 전자 기기
CN109860106B (zh) * 2019-02-28 2020-11-03 合肥京东方光电科技有限公司 一种显示基板的制备方法
EP3790057A1 (en) * 2019-09-06 2021-03-10 SABIC Global Technologies B.V. Low temperature processed semiconductor thin-film transistor
US20220045061A1 (en) * 2020-08-06 2022-02-10 Micron Technology, Inc. Three-node access device for vertical three dimensional (3d) memory
US20220045069A1 (en) * 2020-08-06 2022-02-10 Micron Technology, Inc. Source/drain integration in a three-node access device for vertical three dimensional (3d) memory
KR102725971B1 (ko) * 2022-10-26 2024-11-05 충북대학교 산학협력단 포토트랜지스터 및 그 제조 방법

Citations (6)

* Cited by examiner, † Cited by third party
Publication number Priority date Publication date Assignee Title
JP2010021333A (ja) * 2008-07-10 2010-01-28 Fujifilm Corp 金属酸化物膜とその製造方法、及び半導体装置
JP2010074061A (ja) * 2008-09-22 2010-04-02 Fujifilm Corp 薄膜電界効果型トランジスタ
JP2010199307A (ja) * 2009-02-25 2010-09-09 Fujifilm Corp トップゲート型の電界効果型トランジスタ及びその製造方法並びにそれを備えた表示装置
JP2010263103A (ja) * 2009-05-08 2010-11-18 Konica Minolta Holdings Inc 薄膜トランジスタ、及びその製造方法
WO2011135514A2 (en) * 2010-04-28 2011-11-03 Basf Se Process for preparing a zinc complex in solution
JP2012059860A (ja) * 2010-09-08 2012-03-22 Fujifilm Corp 薄膜トランジスタおよびその製造方法、並びにその薄膜トランジスタを備えた装置

Family Cites Families (31)

* Cited by examiner, † Cited by third party
Publication number Priority date Publication date Assignee Title
US7211825B2 (en) * 2004-06-14 2007-05-01 Yi-Chi Shih Indium oxide-based thin film transistors and circuits
US7674662B2 (en) * 2006-07-19 2010-03-09 Applied Materials, Inc. Process for making thin film field effect transistors using zinc oxide
KR101334181B1 (ko) * 2007-04-20 2013-11-28 삼성전자주식회사 선택적으로 결정화된 채널층을 갖는 박막 트랜지스터 및 그제조 방법
US20080286907A1 (en) * 2007-05-16 2008-11-20 Xerox Corporation Semiconductor layer for thin film transistors
US7935964B2 (en) * 2007-06-19 2011-05-03 Samsung Electronics Co., Ltd. Oxide semiconductors and thin film transistors comprising the same
JP4555358B2 (ja) * 2008-03-24 2010-09-29 富士フイルム株式会社 薄膜電界効果型トランジスタおよび表示装置
JP5430248B2 (ja) * 2008-06-24 2014-02-26 富士フイルム株式会社 薄膜電界効果型トランジスタおよび表示装置
US8258511B2 (en) * 2008-07-02 2012-09-04 Applied Materials, Inc. Thin film transistors using multiple active channel layers
JP5123768B2 (ja) 2008-07-10 2013-01-23 富士フイルム株式会社 金属酸化物膜とその製造方法、及び半導体装置
EP2146379B1 (en) 2008-07-14 2015-01-28 Samsung Electronics Co., Ltd. Transistor comprising ZnO based channel layer
WO2010061721A1 (ja) * 2008-11-27 2010-06-03 コニカミノルタホールディングス株式会社 薄膜トランジスタおよび薄膜トランジスタの製造方法
US8367486B2 (en) * 2009-02-05 2013-02-05 Semiconductor Energy Laboratory Co., Ltd. Transistor and method for manufacturing the transistor
JP4571221B1 (ja) * 2009-06-22 2010-10-27 富士フイルム株式会社 Igzo系酸化物材料及びigzo系酸化物材料の製造方法
JP4415062B1 (ja) * 2009-06-22 2010-02-17 富士フイルム株式会社 薄膜トランジスタ及び薄膜トランジスタの製造方法
JP5497417B2 (ja) * 2009-12-10 2014-05-21 富士フイルム株式会社 薄膜トランジスタおよびその製造方法、並びにその薄膜トランジスタを備えた装置
EP2426720A1 (en) * 2010-09-03 2012-03-07 Applied Materials, Inc. Staggered thin film transistor and method of forming the same
TWI405335B (zh) * 2010-09-13 2013-08-11 Au Optronics Corp 半導體結構及其製造方法
CN103109391B (zh) * 2010-09-24 2016-07-20 加利福尼亚大学董事会 纳米线-聚合物复合材料电极
US20130280859A1 (en) * 2010-12-30 2013-10-24 Jae-ho Kim Thin-film transistor and method for manufacturing same
JP5871263B2 (ja) * 2011-06-14 2016-03-01 富士フイルム株式会社 非晶質酸化物薄膜の製造方法
JP5052693B1 (ja) * 2011-08-12 2012-10-17 富士フイルム株式会社 薄膜トランジスタ及びその製造方法、表示装置、イメージセンサー、x線センサー並びにx線デジタル撮影装置
US20140367674A1 (en) * 2011-11-18 2014-12-18 Japan Science And Technology Agency Process for forming an amorphous conductive oxide film
KR101301215B1 (ko) * 2011-12-27 2013-08-29 연세대학교 산학협력단 산화물 박막용 조성물, 산화물 박막용 조성물 제조 방법, 산화물 박막용 조성물을 이용한 산화물 박막 및 전자소자
KR101568631B1 (ko) * 2012-06-06 2015-11-11 가부시키가이샤 고베 세이코쇼 박막 트랜지스터
JP5972065B2 (ja) * 2012-06-20 2016-08-17 富士フイルム株式会社 薄膜トランジスタの製造方法
JP6134230B2 (ja) * 2012-08-31 2017-05-24 株式会社神戸製鋼所 薄膜トランジスタおよび表示装置
JP6117124B2 (ja) * 2013-03-19 2017-04-19 富士フイルム株式会社 酸化物半導体膜及びその製造方法
JP6454974B2 (ja) * 2013-03-29 2019-01-23 株式会社リコー 金属酸化物膜形成用塗布液、金属酸化物膜の製造方法、及び電界効果型トランジスタの製造方法
US20150087110A1 (en) * 2013-09-21 2015-03-26 Northwestern University Low-Temperature Fabrication of Spray-Coated Metal Oxide Thin Film Transistors
JPWO2015059850A1 (ja) * 2013-10-24 2017-03-09 株式会社Joled 薄膜トランジスタの製造方法
JP6180908B2 (ja) * 2013-12-06 2017-08-16 富士フイルム株式会社 金属酸化物半導体膜、薄膜トランジスタ、表示装置、イメージセンサ及びx線センサ

Patent Citations (6)

* Cited by examiner, † Cited by third party
Publication number Priority date Publication date Assignee Title
JP2010021333A (ja) * 2008-07-10 2010-01-28 Fujifilm Corp 金属酸化物膜とその製造方法、及び半導体装置
JP2010074061A (ja) * 2008-09-22 2010-04-02 Fujifilm Corp 薄膜電界効果型トランジスタ
JP2010199307A (ja) * 2009-02-25 2010-09-09 Fujifilm Corp トップゲート型の電界効果型トランジスタ及びその製造方法並びにそれを備えた表示装置
JP2010263103A (ja) * 2009-05-08 2010-11-18 Konica Minolta Holdings Inc 薄膜トランジスタ、及びその製造方法
WO2011135514A2 (en) * 2010-04-28 2011-11-03 Basf Se Process for preparing a zinc complex in solution
JP2012059860A (ja) * 2010-09-08 2012-03-22 Fujifilm Corp 薄膜トランジスタおよびその製造方法、並びにその薄膜トランジスタを備えた装置

Cited By (7)

* Cited by examiner, † Cited by third party
Publication number Priority date Publication date Assignee Title
WO2015119818A1 (en) * 2014-02-06 2015-08-13 Precursor Energetics, Inc. Molecular precursor compounds for indium gallium zinc oxide materials
US9404002B2 (en) 2014-02-06 2016-08-02 Transtron Solutions Llc Molecular precursor compounds for indium gallium zinc oxide materials
CN110620145A (zh) * 2014-05-08 2019-12-27 株式会社Flosfia 结晶性层叠结构体、半导体装置
WO2016121230A1 (ja) * 2015-01-28 2016-08-04 富士フイルム株式会社 酸化物保護膜の製造方法、酸化物保護膜、薄膜トランジスタの製造方法、薄膜トランジスタ、及び電子デバイス
JPWO2016121230A1 (ja) * 2015-01-28 2017-07-13 富士フイルム株式会社 酸化物保護膜の製造方法、酸化物保護膜、薄膜トランジスタの製造方法、薄膜トランジスタ、及び電子デバイス
CN106927689A (zh) * 2017-04-17 2017-07-07 华南理工大学 一种氧化物半导体薄膜及其制备工艺
WO2021046734A1 (zh) * 2019-09-11 2021-03-18 咸阳彩虹光电科技有限公司 开关元件和显示面板

Also Published As

Publication number Publication date
JP2014003244A (ja) 2014-01-09
US20150103977A1 (en) 2015-04-16
KR101634482B1 (ko) 2016-07-08
US9673048B2 (en) 2017-06-06
KR20150021051A (ko) 2015-02-27
JP5972065B2 (ja) 2016-08-17
TWI613826B (zh) 2018-02-01
TW201405832A (zh) 2014-02-01

Similar Documents

Publication Publication Date Title
JP5972065B2 (ja) 薄膜トランジスタの製造方法
JP5052693B1 (ja) 薄膜トランジスタ及びその製造方法、表示装置、イメージセンサー、x線センサー並びにx線デジタル撮影装置
US8963147B2 (en) Thin film transistor, method of manufacturing the same, and image display device equipped with thin film transistor
JP5657433B2 (ja) 薄膜トランジスタの製造方法、薄膜トランジスタ、表示装置、センサ及びx線デジタル撮影装置
CN103608906B (zh) 非晶质氧化物薄膜的制造方法及薄膜晶体管
JP5615744B2 (ja) 電界効果型トランジスタ、表示装置、センサ及び電界効果型トランジスタの製造方法
JP5679933B2 (ja) 薄膜トランジスタ及びその製造方法、表示装置、イメージセンサー、x線センサー並びにx線デジタル撮影装置
WO2013018447A1 (ja) 半導体素子の製造方法
JP2011243745A (ja) 薄膜トランジスタの製造方法、並びに、薄膜トランジスタ、イメージセンサー、x線センサー及びx線デジタル撮影装置
JP2013030682A (ja) 電界効果型トランジスタの製造方法、並びに、電界効果型トランジスタ、表示装置、イメージセンサ及びx線センサ
JP5525380B2 (ja) 酸化物半導体薄膜の製造方法および薄膜トランジスタの製造方法
TWI575754B (zh) 薄膜電晶體及其製造方法、顯示裝置、影像感測器、x線感測器及x線數位攝影裝置
JP5869110B2 (ja) 薄膜トランジスタ、表示装置、イメージセンサ及びx線センサ
JP5995698B2 (ja) 薄膜トランジスタ及びその製造方法、結晶性酸化物半導体薄膜及びその製造方法、表示装置、並びにx線センサ
TWI585986B (zh) 薄膜電晶體的製造方法
TWI509812B (zh) 場效電晶體、顯示裝置以及感測器

Legal Events

Date Code Title Description
121 Ep: the epo has been informed by wipo that ep was designated in this application

Ref document number: 13806950

Country of ref document: EP

Kind code of ref document: A1

ENP Entry into the national phase

Ref document number: 20147035502

Country of ref document: KR

Kind code of ref document: A

NENP Non-entry into the national phase

Ref country code: DE

122 Ep: pct application non-entry in european phase

Ref document number: 13806950

Country of ref document: EP

Kind code of ref document: A1