WO2013146328A1 - 炭化珪素半導体装置の製造方法及び当該方法により製造された炭化珪素半導体装置 - Google Patents

炭化珪素半導体装置の製造方法及び当該方法により製造された炭化珪素半導体装置 Download PDF

Info

Publication number
WO2013146328A1
WO2013146328A1 PCT/JP2013/057314 JP2013057314W WO2013146328A1 WO 2013146328 A1 WO2013146328 A1 WO 2013146328A1 JP 2013057314 W JP2013057314 W JP 2013057314W WO 2013146328 A1 WO2013146328 A1 WO 2013146328A1
Authority
WO
WIPO (PCT)
Prior art keywords
silicon carbide
semiconductor device
carbide semiconductor
manufacturing
layer
Prior art date
Legal status (The legal status is an assumption and is not a legal conclusion. Google has not performed a legal analysis and makes no representation as to the accuracy of the status listed.)
Ceased
Application number
PCT/JP2013/057314
Other languages
English (en)
French (fr)
Japanese (ja)
Inventor
明将 木下
崇 辻
福田 憲司
Current Assignee (The listed assignees may be inaccurate. Google has not performed a legal analysis and makes no representation or warranty as to the accuracy of the list.)
Fuji Electric Co Ltd
National Institute of Advanced Industrial Science and Technology AIST
Original Assignee
Fuji Electric Co Ltd
National Institute of Advanced Industrial Science and Technology AIST
Priority date (The priority date is an assumption and is not a legal conclusion. Google has not performed a legal analysis and makes no representation as to the accuracy of the date listed.)
Filing date
Publication date
Application filed by Fuji Electric Co Ltd, National Institute of Advanced Industrial Science and Technology AIST filed Critical Fuji Electric Co Ltd
Priority to CN201380018092.XA priority Critical patent/CN104335328B/zh
Priority to US14/388,729 priority patent/US9768260B2/en
Publication of WO2013146328A1 publication Critical patent/WO2013146328A1/ja
Anticipated expiration legal-status Critical
Ceased legal-status Critical Current

Links

Images

Classifications

    • HELECTRICITY
    • H01ELECTRIC ELEMENTS
    • H01LSEMICONDUCTOR DEVICES NOT COVERED BY CLASS H10
    • H01L21/00Processes or apparatus adapted for the manufacture or treatment of semiconductor or solid state devices or of parts thereof
    • H01L21/02Manufacture or treatment of semiconductor devices or of parts thereof
    • H01L21/04Manufacture or treatment of semiconductor devices or of parts thereof the devices having potential barriers, e.g. a PN junction, depletion layer or carrier concentration layer
    • H01L21/0445Manufacture or treatment of semiconductor devices or of parts thereof the devices having potential barriers, e.g. a PN junction, depletion layer or carrier concentration layer the devices having semiconductor bodies comprising crystalline silicon carbide
    • H01L21/048Making electrodes
    • H01L21/0495Schottky electrodes
    • HELECTRICITY
    • H01ELECTRIC ELEMENTS
    • H01LSEMICONDUCTOR DEVICES NOT COVERED BY CLASS H10
    • H01L21/00Processes or apparatus adapted for the manufacture or treatment of semiconductor or solid state devices or of parts thereof
    • H01L21/02Manufacture or treatment of semiconductor devices or of parts thereof
    • H01L21/02104Forming layers
    • H01L21/02365Forming inorganic semiconducting materials on a substrate
    • H01L21/02518Deposited layers
    • H01L21/02521Materials
    • H01L21/02524Group 14 semiconducting materials
    • H01L21/02529Silicon carbide
    • HELECTRICITY
    • H01ELECTRIC ELEMENTS
    • H01LSEMICONDUCTOR DEVICES NOT COVERED BY CLASS H10
    • H01L21/00Processes or apparatus adapted for the manufacture or treatment of semiconductor or solid state devices or of parts thereof
    • H01L21/02Manufacture or treatment of semiconductor devices or of parts thereof
    • H01L21/02104Forming layers
    • H01L21/02365Forming inorganic semiconducting materials on a substrate
    • H01L21/02518Deposited layers
    • H01L21/02609Crystal orientation
    • HELECTRICITY
    • H01ELECTRIC ELEMENTS
    • H01LSEMICONDUCTOR DEVICES NOT COVERED BY CLASS H10
    • H01L21/00Processes or apparatus adapted for the manufacture or treatment of semiconductor or solid state devices or of parts thereof
    • H01L21/02Manufacture or treatment of semiconductor devices or of parts thereof
    • H01L21/04Manufacture or treatment of semiconductor devices or of parts thereof the devices having potential barriers, e.g. a PN junction, depletion layer or carrier concentration layer
    • H01L21/0445Manufacture or treatment of semiconductor devices or of parts thereof the devices having potential barriers, e.g. a PN junction, depletion layer or carrier concentration layer the devices having semiconductor bodies comprising crystalline silicon carbide
    • H01L21/048Making electrodes
    • H01L21/0485Ohmic electrodes
    • HELECTRICITY
    • H10SEMICONDUCTOR DEVICES; ELECTRIC SOLID-STATE DEVICES NOT OTHERWISE PROVIDED FOR
    • H10DINORGANIC ELECTRIC SEMICONDUCTOR DEVICES
    • H10D48/00Individual devices not covered by groups H10D1/00 - H10D44/00
    • H10D48/01Manufacture or treatment
    • H10D48/031Manufacture or treatment of three-or-more electrode devices
    • HELECTRICITY
    • H10SEMICONDUCTOR DEVICES; ELECTRIC SOLID-STATE DEVICES NOT OTHERWISE PROVIDED FOR
    • H10DINORGANIC ELECTRIC SEMICONDUCTOR DEVICES
    • H10D62/00Semiconductor bodies, or regions thereof, of devices having potential barriers
    • H10D62/80Semiconductor bodies, or regions thereof, of devices having potential barriers characterised by the materials
    • H10D62/83Semiconductor bodies, or regions thereof, of devices having potential barriers characterised by the materials being Group IV materials, e.g. B-doped Si or undoped Ge
    • H10D62/832Semiconductor bodies, or regions thereof, of devices having potential barriers characterised by the materials being Group IV materials, e.g. B-doped Si or undoped Ge being Group IV materials comprising two or more elements, e.g. SiGe
    • H10D62/8325Silicon carbide
    • HELECTRICITY
    • H10SEMICONDUCTOR DEVICES; ELECTRIC SOLID-STATE DEVICES NOT OTHERWISE PROVIDED FOR
    • H10DINORGANIC ELECTRIC SEMICONDUCTOR DEVICES
    • H10D64/00Electrodes of devices having potential barriers
    • H10D64/60Electrodes characterised by their materials
    • H10D64/62Electrodes ohmically coupled to a semiconductor
    • HELECTRICITY
    • H10SEMICONDUCTOR DEVICES; ELECTRIC SOLID-STATE DEVICES NOT OTHERWISE PROVIDED FOR
    • H10DINORGANIC ELECTRIC SEMICONDUCTOR DEVICES
    • H10D64/00Electrodes of devices having potential barriers
    • H10D64/60Electrodes characterised by their materials
    • H10D64/64Electrodes comprising a Schottky barrier to a semiconductor
    • HELECTRICITY
    • H10SEMICONDUCTOR DEVICES; ELECTRIC SOLID-STATE DEVICES NOT OTHERWISE PROVIDED FOR
    • H10DINORGANIC ELECTRIC SEMICONDUCTOR DEVICES
    • H10D8/00Diodes
    • H10D8/01Manufacture or treatment
    • H10D8/051Manufacture or treatment of Schottky diodes
    • HELECTRICITY
    • H10SEMICONDUCTOR DEVICES; ELECTRIC SOLID-STATE DEVICES NOT OTHERWISE PROVIDED FOR
    • H10DINORGANIC ELECTRIC SEMICONDUCTOR DEVICES
    • H10D8/00Diodes
    • H10D8/60Schottky-barrier diodes 
    • HELECTRICITY
    • H01ELECTRIC ELEMENTS
    • H01LSEMICONDUCTOR DEVICES NOT COVERED BY CLASS H10
    • H01L21/00Processes or apparatus adapted for the manufacture or treatment of semiconductor or solid state devices or of parts thereof
    • H01L21/02Manufacture or treatment of semiconductor devices or of parts thereof
    • H01L21/02041Cleaning
    • H01L21/02057Cleaning during device manufacture
    • H01L21/02068Cleaning during device manufacture during, before or after processing of conductive layers, e.g. polysilicon or amorphous silicon layers

Definitions

  • the present invention relates to a method for manufacturing a silicon carbide semiconductor device, in particular, a method for improving the adhesion of a metal deposited film in a method for manufacturing a silicon carbide semiconductor device having a metal / silicon carbide semiconductor interface, and a carbonization manufactured by the method.
  • the present invention relates to a silicon semiconductor device.
  • Silicon carbide (SiC) is a chemically very stable material, has a wide band gap of 3 eV, and can be used extremely stably as a semiconductor even at high temperatures.
  • the maximum electric field strength is one digit or more larger than that of silicon (Si), it has been attracting attention as a material that can replace silicon having a performance limit close to the power semiconductor element (for example, see Non-Patent Document 1 below).
  • the semiconductor device forms a metal film for wiring for connection to an external device at the end of the manufacturing process.
  • This metal film for wiring There are many items required for this metal film for wiring, such as low contact resistance, no peeling during dicing, long-term use after bonding and die bonding, and no peeling. However, it is required that peeling does not occur in particular, and strong adhesion is required. This is no exception even in a silicon carbide semiconductor device made of silicon carbide.
  • Silicon carbide semiconductor devices made of silicon carbide contain silicon, and carbon carbide contains carbon, and high-temperature treatment is often used to react with metals in the manufacturing (manufacturing) process of the semiconductor device. Therefore, a layer that induces peeling such as a graphite layer is easily formed on the surface. For this reason, a metal film for wiring or the like is deposited on a layer that induces peeling such as a graphite layer, and the metal film for wiring is easily peeled off.
  • a nickel (Ni) film is deposited on the silicon carbide substrate, and then heat treatment is performed so that the Ni in the Ni film and the silicon carbide substrate.
  • Ni silicide film may be formed on a silicon carbide substrate by reacting with silicon.
  • C carbon
  • excess carbon forms a graphite layer on the Ni silicide film.
  • the deposit of the contaminant which reduces adhesiveness on the ohmic electrode surface occurs. If a wiring metal film for connection to an external device is formed on the surface on which the contaminants are deposited, the adhesion is reduced, which causes a peeling of the wiring metal film.
  • the graphite layer formed on the surface of the Ni silicide film is removed by a plasma process in an oxygen gas (O 2 ) atmosphere or an inert gas (argon (Ar) etc.) atmosphere, and the wiring metal film is peeled off.
  • O 2 oxygen gas
  • Ar inert gas
  • a Ni silicide film is formed on the Ni film in advance before heat-treating the Ni film deposited on the silicon carbide substrate so that the graphite layer does not come out on the surface.
  • a method of forming a metal carbide layer on the surface by depositing a metal that reacts with carbon on a Ni film and performing heat treatment see, for example, Patent Document 3 below).
  • the present invention after depositing a metal film on a silicon carbide substrate, forms an ohmic junction between the metal film and the silicon carbide substrate by annealing, and has good adhesion to other metal films, and A layer having a high resistance to physical means such as Ar sputtering is formed on the surface, and a peeling cause substance generated in the process of forming an ohmic electrode or the like is preferentially removed by Ar sputtering to adhere to other metal films.
  • the present inventors use an element that does not react with carbon, such as Ni, in the first metal layer for obtaining an ohmic junction with the silicon carbide substrate.
  • an element that does not react with carbon such as Ni
  • the heat treatment at 1100 ° C. or higher by forming a first metal layer together with a Group 4, 5 or 6 metal that reacts with carbon to form a compound, on the first metal layer
  • graphite that induces peeling is reduced and a substance having good adhesion is formed.
  • titanium (Ti) among the metals of Group 4, Group 5, or Group 6 forms titanium silicide, titanium carbide, and a ternary compound (TixSiyCz) of titanium, silicon, and carbon. Since these compounds are resistant to physical means, the inventors have found that they have an effect of suppressing peeling of the metal film for wiring.
  • a method for manufacturing a silicon carbide semiconductor device has the following characteristics.
  • a first conductivity type silicon carbide substrate is prepared (A), and a first conductivity type epitaxial layer is formed on one main surface of the silicon carbide substrate (B).
  • a first metal layer composed of nickel (Ni) and one or more metals of Group 4, Group 5, or Group 6 is formed on the other main surface of the silicon carbide substrate.
  • C the silicon carbide substrate is heat-treated to form an ohmic junction between the first metal layer and the other main surface of the silicon carbide substrate, and with the other metal on the first metal layer
  • a layer of a substance having good adhesion is formed (D).
  • step (E) impurities on the surface of the first metal layer on the other main surface of the silicon carbide substrate are removed and cleaned (E). Then, the heat treatment in the step (D) for forming a layer of a substance having good adhesion with the other metal is performed at 1100 ° C. or higher.
  • the method for manufacturing a silicon carbide semiconductor device according to the present invention is characterized in that, in the above-described invention, the first metal layer is a layer composed of nickel (Ni) and titanium (Ti). .
  • the maximum temperature of the heat treatment in the step (D) of forming a layer of a substance having good adhesion to the other metal is 1100 ° C. or higher, 1350 It is characterized by being below °C.
  • the heat treatment holding time in the step (D) of forming a layer of a substance having good adhesion to the other metal is 1 second or more, 1 It is characterized by being less than time.
  • the temperature increase rate of the heat treatment in the step (D) of forming a layer of a substance having good adhesion to the other metal is 0.5 ° C. / Second or more and 20 ° C./second or less.
  • the layer of the substance having good adhesion to the other metal is formed by a layer partially left on the first metal layer. It is characterized by being.
  • the layer of the substance having good adhesion to the other metal is titanium carbide or a ternary compound of titanium, silicon, and carbon (TixSiyCz). It is formed by these.
  • ions are collided to remove impurities. It is characterized by using a reverse sputtering method for cleaning.
  • the method for manufacturing a silicon carbide semiconductor device according to the present invention is characterized in that, in the above-described invention, the ion is ionized argon (Ar).
  • the step (D) of forming a layer of a substance having good adhesion with the other metal and impurities on the surface of the first metal layer are formed.
  • a step (F) of forming a second metal layer on the epitaxial layer on one main surface of the silicon carbide substrate is further included between the step (E) of removing and cleaning.
  • the silicon carbide substrate is heat-treated at 1000 ° C. or less to form a Schottky junction between the second metal layer and the epitaxial layer.
  • the step (G) is further included.
  • the method for manufacturing a silicon carbide semiconductor device according to the present invention is characterized in that, in the above-described invention, the maximum temperature of the heat treatment in the step (G) of forming the Schottky junction is 400 ° C. or more and 600 ° C. or less. .
  • the method for manufacturing a silicon carbide semiconductor device according to the present invention is characterized in that, in the above-described invention, the heat treatment holding time in the step (G) of forming the Schottky junction is not less than 1 minute and not more than 30 minutes. .
  • the heating rate of the heat treatment in the step (G) for forming the Schottky junction is 1 ° C./second or more and 10 ° C./second or less. It is characterized by that.
  • the method for manufacturing a silicon carbide semiconductor device of the present invention in the above-described invention, between the step (B) of forming the first conductive type epitaxial layer and the step (C) of forming the first metal layer.
  • the method further includes the step (H) of selectively forming a second conductivity type region in a region below the region where the second metal layer of the epitaxial layer is formed.
  • the second conductivity type region is arranged in a stripe shape.
  • the method for manufacturing a silicon carbide semiconductor device according to the present invention is characterized in that, in the above-described invention, the epitaxial layer is formed on a (0001) plane of the silicon carbide substrate.
  • a method for manufacturing a silicon carbide semiconductor device according to the present invention is characterized in that, in the above-described invention, the epitaxial layer is formed on a (000-1) plane of the silicon carbide substrate.
  • a silicon carbide semiconductor device is a silicon carbide semiconductor device manufactured by the above-described method for manufacturing a silicon carbide semiconductor device, and has the following characteristics.
  • a carbon atom having a bond with any of Group 4, Group 5 or Group 6 metal in the layer of the material having good adhesion to the other metal formed on the first metal layer Is 20% or more.
  • the silicon carbide semiconductor device according to the present invention is characterized in that, in the above-described invention, the ratio of carbon atoms having a Ti—C bond is 20% or more.
  • the formation of a substance causing exfoliation such as graphite that causes exfoliation of the metal film for wiring is suppressed, and a substance having high adhesion to other metals is formed on the surface. It is possible to improve the adhesion between the external device and the wiring metal film for connection, and to supply a semiconductor device having a stable structure without peeling.
  • FIG. 1-1 is a cross sectional view showing an example of a manufacturing process of the silicon carbide semiconductor device in the first embodiment of the present invention.
  • FIG. 1-2 is a cross sectional view showing an example of a manufacturing process of the silicon carbide semiconductor device in the first embodiment of the present invention.
  • FIG. 1-3 is a cross sectional view showing an example of a manufacturing process of the silicon carbide semiconductor device in the first embodiment of the present invention.
  • 1-4 is a cross sectional view showing an example of a manufacturing process of the silicon carbide semiconductor device in the first embodiment of the present invention.
  • FIG. FIG. 1-5 is a cross sectional view showing an example of a manufacturing process of the silicon carbide semiconductor device in the first embodiment of the present invention.
  • FIG. 1-1 is a cross sectional view showing an example of a manufacturing process of the silicon carbide semiconductor device in the first embodiment of the present invention.
  • FIG. 1-6 is a cross sectional view showing an example of a manufacturing process of the silicon carbide semiconductor device in the first embodiment of the present invention.
  • FIG. 2 is a cross-sectional view of the semiconductor device when a Ti film, a Ni film, or an Au film is used as the wiring metal film in the first embodiment of the present invention.
  • FIG. 3 is a characteristic diagram showing the relationship between the proportion of Ti carbide, which is a substance having a Ti—C bonding state, and adhesion in the first embodiment of the present invention.
  • FIG. 4 is a characteristic diagram showing the relationship between the proportion of Ti carbide, which is a substance having a Ti—C bonding state, and the sintering temperature in the first embodiment of the present invention.
  • FIG. 5 is a cross-sectional view of the semiconductor device when a partially left layer is formed as a layer of a substance having good adhesion with another metal in the first embodiment of the present invention.
  • the method for producing a silicon carbide semiconductor according to the present invention includes a step (A) of preparing a first conductivity type silicon carbide substrate, and a first conductivity type epitaxial layer on one main surface of the first conductivity type silicon carbide substrate.
  • the silicon carbide substrate is heat-treated, and the other of the first metal layer and the silicon carbide substrate
  • (E) removing and purifying impurities on the surface of the first metal layer on the other main surface of Heat treatment of) is characterized in that performed at 1100 ° C. or higher.
  • the first metal layer on the other main surface of the silicon carbide substrate described above is composed of nickel (Ni) and any one or more of Group 4, Group 5 or Group 6 metals. Composed of uniform or non-uniformly mixed or various forms of layers.
  • the Group 4 metal constituting the first metal layer together with Ni includes titanium (Ti), zirconium (Zr), etc.
  • the Group 5 metals include vanadium (V) and tantalum (Ta).
  • Examples of the Group 6 metal include chromium (Cr), molybdenum (Mo), tungsten (W) and the like.
  • the first metal layer on the other main surface of the silicon carbide substrate changes in the mixing form by the heat treatment and becomes the first metal layer after the heat treatment.
  • a layer of a substance having good adhesion to other metals on the surface of the first metal layer after the heat treatment and having high resistance to physical means such as Ar sputtering (hereinafter referred to as a layer of a substance having good adhesion to other metals) And a substance that has poor adhesion and is easily removed by physical means. Thereafter, after passing through a plurality of steps, a substance that causes peeling is further deposited.
  • the first metal layer when an element such as Ni that does not react with carbon is used as the first metal layer for obtaining an ohmic junction with the other main surface of the silicon carbide substrate, a compound is formed by reacting with carbon.
  • the first metal layer together with the Group 4, Group 5, or Group 6 metal, the number of graphites that induce delamination on the first metal layer after heat treatment at 1100 ° C. or higher is reduced.
  • it is effective because a substance having good adhesion is formed.
  • Ti forms titanium silicide, titanium carbide, and a ternary compound (TixSiyCz) of titanium, silicon, and carbon. These compounds are resistant to physical means, and have an effect of suppressing peeling of other metal films such as a metal film for wiring.
  • the maximum temperature of the heat treatment (annealing) described above is 1100 ° C. or higher and 1350 ° C. or lower which is resistant to physical means, and has an effect of forming a substance that suppresses peeling of other metal films.
  • the holding time of the heat treatment conditions is 1 second or more and 1 hour or less, which is resistant to physical means, and has an effect of forming a substance that suppresses peeling.
  • the heating rate under the heat treatment conditions is 0.5 ° C./second or more and 20 ° C./second or less, which is resistant to physical means, and has an effect of forming a substance that suppresses peeling of other metal films.
  • the layer made of a substance that is resistant to the physical means described above and suppresses peeling of the other metal film is a layer partially left on the surface of the first metal layer. Is also effective.
  • the reverse sputtering method that removes impurities and cleans them by colliding with ions has the effect of preferentially removing the stripping-causing substances.
  • the reverse sputtering method in which impurities are removed and cleaned is preferable.
  • a structure such as a Schottky barrier diode (SBD) is formed on the one main surface of the silicon carbide substrate.
  • SBD Schottky barrier diode
  • the step of removing and cleaning the impurities on the surface of the first metal layer on the other main surface of the silicon carbide substrate is also effective.
  • the other main surface of the silicon carbide substrate is effective in either the (0001) plane or the (000-1) plane.
  • means a bar attached to the index immediately after that, and “ ⁇ ” is added before the index to indicate a negative index.
  • the first conductivity type is n-type and the second conductivity type is p-type.
  • the first conductivity type is p-type and the second conductivity type is n-type. It holds.
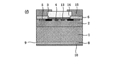
  • FIGS. 1-1 to 1-6 are cross-sectional views showing an example of a manufacturing process of the silicon carbide semiconductor device in the first embodiment of the present invention.
  • nitrogen of 5 ⁇ 10 18 cm ⁇ 3 is doped, for example, a 350 ⁇ m-thick high-concentration n-type substrate having, for example, a (0001) plane as a main surface (carbonized)
  • a silicon substrate 1 is prepared.
  • the main surface of the silicon carbide substrate 1 is doped with, for example, 1.0 ⁇ 10 16 cm ⁇ 3 of nitrogen, for example, with a low concentration of 10 ⁇ m.
  • An n-type drift layer 2 is deposited.
  • a semiconductor substrate is formed in which low-concentration n-type drift layer 2 is deposited on silicon carbide substrate 1.
  • the surface on the low-concentration n-type drift layer 2 side of this semiconductor substrate is defined as the front surface
  • the surface on the silicon carbide substrate 1 side (the other main surface of the silicon carbide substrate 1) is defined as the back surface.
  • the p-type region 3 for termination structure and the Junction Barrier Schottky (JBS) are formed on the surface layer of the low-concentration n-type drift layer 2 (surface layer on the front surface of the substrate).
  • JBS Junction Barrier Schottky
  • aluminum (Al) is implanted from the front surface of the substrate by, for example, an ion implantation apparatus. To do.
  • Al aluminum
  • the p-type region 4 for the JBS structure, and the p-type region 5 for the JTE structure for example, 1650 in an Ar atmosphere.
  • the p-type region 4 for the JBS structure may have a striped planar layout extending in a direction orthogonal to the direction in which the plurality of p-type regions 4 for the JBS structure are arranged.
  • the depletion layer expands when a reverse voltage is applied, and the concentration of the electric field is relaxed, and the breakdown voltage is improved compared to the simple SBD structure.
  • the avalanche breakdown occurs at the boundary between the p-type region 4 and the n-type drift layer 2, and the avalanche resistance can be improved.
  • a thermal oxide layer having a thickness of 50 nm is formed and removed.
  • an interlayer insulating film 6 having a thickness of 0.5 ⁇ m is formed on the low concentration n-type drift layer 2.
  • a Ni film of 50 nm and a Ti film of 10 nm are deposited on the other main surface of the silicon carbide substrate 1.
  • heat treatment is performed using, for example, a rapid thermal treatment (RTA: Rapid Thermal Anneal) apparatus.
  • RTA Rapid Thermal Anneal
  • the temperature is raised at a rate of temperature increase of 1 ° C./sec.
  • the first metal layer 7 shown in FIG. 1-2 (c) is silicided to become the first metal layer 8 having a changed shape as shown in FIG. 1-3 (d).
  • a low-resistance ohmic contact 9 is formed between the other main surface of the substrate 1 and the first metal layer 8.
  • Ti in the Ti film and Si and carbon in the silicon carbide substrate 1 react to form Ti silicide (TiSi), Ti carbide (TiC), and a ternary compound of Ti, Si, and carbon (TixSiyCz). ), Or a combination of materials formed with a combination of other metals.
  • the carbon 11 that remains without reacting with Ti may remain on the surface of the first metal layer 8 after the heat treatment, for example, under conditions such as a low heat treatment temperature.
  • the subsequent steps are not shown in the drawings, for example, in order to manufacture a vertical SBD, a structure such as a Schottky contact is formed on the opposite side (substrate main surface side) to which the present invention is implemented.
  • the second metal layer 13 having a low concentration n-type drift layer 2 and a Schottky junction is formed of, for example, Ti, and the temperature rising time is, for example, 8 ° C./second.
  • the temperature is raised at 500 ° C., for example, and held for 5 minutes after reaching 500.degree.
  • the maximum temperature of the heat treatment (annealing) temperature is 1000 ° C. or less, preferably 400 ° C.
  • the heat treatment condition holding time is 1 minute or more and 30 minutes or less
  • the temperature increase rate of the heat treatment condition is It is preferably 1 ° C./second or more and 10 ° C./second or less.
  • a third metal layer 14 is formed of Al—Si having a thickness of, for example, 5 ⁇ m on the second metal layer 13 as a bonding electrode pad, and the interlayer is formed so as to extend on the third metal layer 14.
  • a polyimide 15 is formed on the insulating film 6.
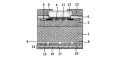
  • FIG. 2 is a cross-sectional view of the semiconductor device when a Ti film, a Ni film, and an Au film are used as the fourth metal layer 16 serving as the wiring metal film in the first embodiment of the present invention.
  • the Ti film 17 is formed with a thickness of 100 nm
  • the Ni film 18 is formed with a thickness of 500 nm
  • the Au film 19 is formed with a thickness of 200 nm, for example, in a vacuum by a vapor deposition apparatus as shown in FIG.
  • a fourth metal layer 16 is formed for connection with an external device.
  • FIG. 3 is a characteristic diagram showing the relationship between the proportion of Ti carbide, which is a substance having a Ti—C bonding state, and adhesion in the first embodiment of the present invention. As shown in FIG. 3, the proportion of carbon atoms having Ti—C bonds is 20% or more of all atoms in the layer 10 of the substance having good adhesion to other metals, and the fourth metal layer 16 It was confirmed that there was no peeling.
  • FIG. 4 is a characteristic diagram showing the relationship between the proportion of Ti carbide, which is a substance having a Ti—C bonding state, and the sintering temperature in the first embodiment of the present invention. As shown in FIG. 4, when the sintering temperature is 1100 ° C. or higher, the ratio of carbon atoms having a Ti—C bond is 20% or higher.
  • any one of TiC having Ti—C bond, a ternary compound of Ti, Si, and carbon (TixSiyCz), or a mixture thereof is a substance having strong adhesiveness, and sintering is performed at 1100 ° C. or higher. It can be said that a highly adhesive layer can be produced.
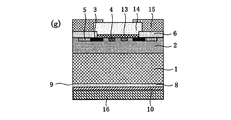
  • FIG. 5 is a cross-sectional view of the semiconductor device when a partially left layer is formed as a layer of a substance having good adhesion to other metals in the first embodiment of the present invention. As shown in FIG. 5, from the existence ratio of the substance layer 10 having good adhesion to other metals, the substance layer 10 having good adhesion to other metals is effective even in a partially left layer. It can be said.
  • the (0001) plane has been described as an example of the main surface of silicon carbide substrate 1, but the (000-1) plane may be used as the main surface of silicon carbide substrate 1.
  • the structure of the silicon carbide semiconductor device according to the third embodiment other than the silicon carbide substrate 1 is the same as that of the silicon carbide semiconductor device according to the first embodiment. Therefore, the silicon carbide semiconductor device manufacturing process according to the second embodiment includes a silicon carbide substrate 1 having a (000-1) plane as a main surface in the silicon carbide semiconductor device manufacturing process according to the first embodiment. May be used.
  • the present invention can be applied to a silicon carbide semiconductor device having an electrode partially formed on the surface of the substrate. It is possible to correspond to contacts of a merged PiN and Schottky Barrier) diode.
  • the method for manufacturing a silicon carbide semiconductor device according to the present invention and the silicon carbide semiconductor device manufactured by the method are useful for a semiconductor device having an ohmic junction between a metal film and a silicon carbide substrate.
  • SYMBOLS 1 1st conductivity type silicon carbide substrate 2 1st conductivity type silicon carbide epitaxial layer 3 2nd conductivity type impurity ion implantation area

Landscapes

  • Engineering & Computer Science (AREA)
  • Physics & Mathematics (AREA)
  • Condensed Matter Physics & Semiconductors (AREA)
  • General Physics & Mathematics (AREA)
  • Manufacturing & Machinery (AREA)
  • Computer Hardware Design (AREA)
  • Microelectronics & Electronic Packaging (AREA)
  • Power Engineering (AREA)
  • Chemical & Material Sciences (AREA)
  • Crystallography & Structural Chemistry (AREA)
  • Electrodes Of Semiconductors (AREA)
PCT/JP2013/057314 2012-03-30 2013-03-14 炭化珪素半導体装置の製造方法及び当該方法により製造された炭化珪素半導体装置 Ceased WO2013146328A1 (ja)

Priority Applications (2)

Application Number Priority Date Filing Date Title
CN201380018092.XA CN104335328B (zh) 2012-03-30 2013-03-14 碳化硅半导体装置的制造方法以及由该方法制造的碳化硅半导体装置
US14/388,729 US9768260B2 (en) 2012-03-30 2013-03-14 Fabrication method of silicon carbide semiconductor apparatus and silicon carbide semiconductor apparatus fabricated thereby

Applications Claiming Priority (2)

Application Number Priority Date Filing Date Title
JP2012-082041 2012-03-30
JP2012082041A JP6112699B2 (ja) 2012-03-30 2012-03-30 炭化珪素半導体装置の製造方法及び該方法により製造された炭化珪素半導体装置

Publications (1)

Publication Number Publication Date
WO2013146328A1 true WO2013146328A1 (ja) 2013-10-03

Family

ID=49259592

Family Applications (1)

Application Number Title Priority Date Filing Date
PCT/JP2013/057314 Ceased WO2013146328A1 (ja) 2012-03-30 2013-03-14 炭化珪素半導体装置の製造方法及び当該方法により製造された炭化珪素半導体装置

Country Status (4)

Country Link
US (1) US9768260B2 (enExample)
JP (1) JP6112699B2 (enExample)
CN (1) CN104335328B (enExample)
WO (1) WO2013146328A1 (enExample)

Cited By (1)

* Cited by examiner, † Cited by third party
Publication number Priority date Publication date Assignee Title
EP2993690A4 (en) * 2013-11-22 2017-01-18 Fuji Electric Co., Ltd. Silicon carbide semiconductor device and method for producing silicon carbide semiconductor device

Families Citing this family (7)

* Cited by examiner, † Cited by third party
Publication number Priority date Publication date Assignee Title
JP6112699B2 (ja) * 2012-03-30 2017-04-12 富士電機株式会社 炭化珪素半導体装置の製造方法及び該方法により製造された炭化珪素半導体装置
JP6028676B2 (ja) * 2013-05-21 2016-11-16 住友電気工業株式会社 炭化珪素半導体装置
WO2015155806A1 (ja) * 2014-04-09 2015-10-15 三菱電機株式会社 炭化珪素半導体装置の製造方法及び炭化珪素半導体装置
US10797137B2 (en) 2017-06-30 2020-10-06 Taiwan Semiconductor Manufacturing Co., Ltd. Method for reducing Schottky barrier height and semiconductor device with reduced Schottky barrier height
CN108321213A (zh) * 2017-12-21 2018-07-24 秦皇岛京河科学技术研究院有限公司 SiC功率二极管器件的制备方法及其结构
US11538769B2 (en) * 2018-12-14 2022-12-27 General Electric Company High voltage semiconductor devices having improved electric field suppression
CN110349839B (zh) * 2019-06-21 2021-03-12 全球能源互联网研究院有限公司 一种p/n型碳化硅欧姆接触的制备方法

Citations (6)

* Cited by examiner, † Cited by third party
Publication number Priority date Publication date Assignee Title
JPH0952796A (ja) * 1995-08-18 1997-02-25 Fuji Electric Co Ltd SiC結晶成長方法およびSiC半導体装置
JP2006344688A (ja) * 2005-06-07 2006-12-21 Denso Corp 半導体装置およびその製造方法
JP2009094392A (ja) * 2007-10-11 2009-04-30 Mitsubishi Electric Corp 炭化珪素半導体装置の製造方法
JP2009266969A (ja) * 2008-04-23 2009-11-12 Toyota Motor Corp 半導体装置の製造方法
WO2010134344A1 (ja) * 2009-05-20 2010-11-25 三菱電機株式会社 炭化珪素半導体装置およびその製造方法
WO2012165513A1 (ja) * 2011-05-30 2012-12-06 独立行政法人産業技術総合研究所 SiC半導体デバイス及びその製造方法

Family Cites Families (14)

* Cited by examiner, † Cited by third party
Publication number Priority date Publication date Assignee Title
US5442200A (en) * 1994-06-03 1995-08-15 Advanced Technology Materials, Inc. Low resistance, stable ohmic contacts to silcon carbide, and method of making the same
EP1114465B1 (de) * 1998-09-02 2007-03-21 SiCED Electronics Development GmbH & Co KG Halbleitervorrichtung mit ohmscher kontaktierung und verfahren zur ohmschen kontaktierung einer halbleitervorrichtung
JP3646548B2 (ja) * 1999-01-11 2005-05-11 富士電機ホールディングス株式会社 SiC半導体デバイス
US6599644B1 (en) * 2000-10-06 2003-07-29 Foundation For Research & Technology-Hellas Method of making an ohmic contact to p-type silicon carbide, comprising titanium carbide and nickel silicide
US6759683B1 (en) * 2001-08-27 2004-07-06 The United States Of America As Represented By The Secretary Of The Army Formulation and fabrication of an improved Ni based composite Ohmic contact to n-SiC for high temperature and high power device applications
JP3871607B2 (ja) 2001-12-14 2007-01-24 松下電器産業株式会社 半導体素子およびその製造方法
US20060006393A1 (en) * 2004-07-06 2006-01-12 Ward Allan Iii Silicon-rich nickel-silicide ohmic contacts for SiC semiconductor devices
JP2006332358A (ja) 2005-05-26 2006-12-07 Denso Corp 炭化珪素半導体装置およびその製造方法
US20070138482A1 (en) * 2005-12-08 2007-06-21 Nissan Motor Co., Ltd. Silicon carbide semiconductor device and method for producing the same
US7790616B2 (en) * 2007-08-29 2010-09-07 Northrop Grumman Systems Corporation Encapsulated silicidation for improved SiC processing and device yield
JP5458652B2 (ja) * 2008-06-02 2014-04-02 富士電機株式会社 炭化珪素半導体装置の製造方法
US20110233560A1 (en) * 2010-03-16 2011-09-29 Advanced Interconnect Materials, Llc Electrode for silicon carbide, silicon carbide semiconductor element, silicon carbide semiconductor device and method for forming electrode for silicon carbide
JP6112699B2 (ja) * 2012-03-30 2017-04-12 富士電機株式会社 炭化珪素半導体装置の製造方法及び該方法により製造された炭化珪素半導体装置
JP5966556B2 (ja) * 2012-04-18 2016-08-10 富士電機株式会社 半導体デバイスの製造方法

Patent Citations (6)

* Cited by examiner, † Cited by third party
Publication number Priority date Publication date Assignee Title
JPH0952796A (ja) * 1995-08-18 1997-02-25 Fuji Electric Co Ltd SiC結晶成長方法およびSiC半導体装置
JP2006344688A (ja) * 2005-06-07 2006-12-21 Denso Corp 半導体装置およびその製造方法
JP2009094392A (ja) * 2007-10-11 2009-04-30 Mitsubishi Electric Corp 炭化珪素半導体装置の製造方法
JP2009266969A (ja) * 2008-04-23 2009-11-12 Toyota Motor Corp 半導体装置の製造方法
WO2010134344A1 (ja) * 2009-05-20 2010-11-25 三菱電機株式会社 炭化珪素半導体装置およびその製造方法
WO2012165513A1 (ja) * 2011-05-30 2012-12-06 独立行政法人産業技術総合研究所 SiC半導体デバイス及びその製造方法

Cited By (2)

* Cited by examiner, † Cited by third party
Publication number Priority date Publication date Assignee Title
EP2993690A4 (en) * 2013-11-22 2017-01-18 Fuji Electric Co., Ltd. Silicon carbide semiconductor device and method for producing silicon carbide semiconductor device
US10374050B2 (en) 2013-11-22 2019-08-06 Fuji Electric Co., Ltd. Silicon carbide semiconductor device and manufacturing method of silicon carbide semiconductor device

Also Published As

Publication number Publication date
CN104335328B (zh) 2018-02-06
JP2013211485A (ja) 2013-10-10
JP6112699B2 (ja) 2017-04-12
US9768260B2 (en) 2017-09-19
US20150056786A1 (en) 2015-02-26
CN104335328A (zh) 2015-02-04

Similar Documents

Publication Publication Date Title
WO2013146328A1 (ja) 炭化珪素半導体装置の製造方法及び当該方法により製造された炭化珪素半導体装置
CN104247024B (zh) 碳化硅半导体器件
JP6099298B2 (ja) SiC半導体デバイス及びその製造方法
JP5286677B2 (ja) P型4H−SiC基板上のオーミック電極の形成方法
JP6222771B2 (ja) 炭化珪素半導体装置の製造方法
CN104303269B (zh) 碳化硅半导体装置的制造方法
CN104126219B (zh) SiC半导体器件及其制造方法
JP2013120822A (ja) 半導体装置の製造方法
WO2008018342A1 (en) Silicon carbide semiconductor device and method for fabricating the same
JP6160541B2 (ja) 炭化珪素半導体装置の製造方法
JP6164062B2 (ja) 炭化珪素半導体装置の製造方法
JP6648574B2 (ja) 炭化珪素半導体装置の製造方法
JP6808952B2 (ja) 炭化珪素半導体装置の製造方法
JP6395299B2 (ja) 炭化珪素半導体素子及び炭化珪素半導体素子の製造方法
CN104285299A (zh) 碳化硅半导体器件
JP6057032B2 (ja) 炭化珪素半導体装置の製造方法
JP6458525B2 (ja) 炭化珪素半導体装置の製造方法
JP6123617B2 (ja) 炭化珪素半導体装置の製造方法
JP2015115374A (ja) 炭化珪素半導体装置の製造方法
JP2017168679A (ja) 炭化珪素半導体素子および炭化珪素半導体素子の製造方法

Legal Events

Date Code Title Description
121 Ep: the epo has been informed by wipo that ep was designated in this application

Ref document number: 13768153

Country of ref document: EP

Kind code of ref document: A1

WWE Wipo information: entry into national phase

Ref document number: 14388729

Country of ref document: US

NENP Non-entry into the national phase

Ref country code: DE

122 Ep: pct application non-entry in european phase

Ref document number: 13768153

Country of ref document: EP

Kind code of ref document: A1