WO2012081240A1 - 弾性波装置 - Google Patents
弾性波装置 Download PDFInfo
- Publication number
- WO2012081240A1 WO2012081240A1 PCT/JP2011/006977 JP2011006977W WO2012081240A1 WO 2012081240 A1 WO2012081240 A1 WO 2012081240A1 JP 2011006977 W JP2011006977 W JP 2011006977W WO 2012081240 A1 WO2012081240 A1 WO 2012081240A1
- Authority
- WO
- WIPO (PCT)
- Prior art keywords
- electrode
- insulator
- inductor
- wave device
- idt
- Prior art date
- Legal status (The legal status is an assumption and is not a legal conclusion. Google has not performed a legal analysis and makes no representation as to the accuracy of the status listed.)
- Ceased
Links
Images
Classifications
-
- H—ELECTRICITY
- H03—ELECTRONIC CIRCUITRY
- H03H—IMPEDANCE NETWORKS, e.g. RESONANT CIRCUITS; RESONATORS
- H03H9/00—Networks comprising electromechanical or electro-acoustic elements; Electromechanical resonators
- H03H9/70—Multiple-port networks for connecting several sources or loads, working on different frequencies or frequency bands, to a common load or source
- H03H9/72—Networks using surface acoustic waves
- H03H9/725—Duplexers
-
- H—ELECTRICITY
- H03—ELECTRONIC CIRCUITRY
- H03H—IMPEDANCE NETWORKS, e.g. RESONANT CIRCUITS; RESONATORS
- H03H9/00—Networks comprising electromechanical or electro-acoustic elements; Electromechanical resonators
- H03H9/0023—Networks for transforming balanced signals into unbalanced signals and vice versa, e.g. baluns, or networks having balanced input and output
- H03H9/0028—Networks for transforming balanced signals into unbalanced signals and vice versa, e.g. baluns, or networks having balanced input and output using surface acoustic wave devices
- H03H9/0047—Networks for transforming balanced signals into unbalanced signals and vice versa, e.g. baluns, or networks having balanced input and output using surface acoustic wave devices having two acoustic tracks
- H03H9/0052—Networks for transforming balanced signals into unbalanced signals and vice versa, e.g. baluns, or networks having balanced input and output using surface acoustic wave devices having two acoustic tracks being electrically cascaded
- H03H9/0057—Networks for transforming balanced signals into unbalanced signals and vice versa, e.g. baluns, or networks having balanced input and output using surface acoustic wave devices having two acoustic tracks being electrically cascaded the balanced terminals being on the same side of the tracks
-
- H—ELECTRICITY
- H03—ELECTRONIC CIRCUITRY
- H03H—IMPEDANCE NETWORKS, e.g. RESONANT CIRCUITS; RESONATORS
- H03H9/00—Networks comprising electromechanical or electro-acoustic elements; Electromechanical resonators
- H03H9/02—Details
- H03H9/05—Holders or supports
- H03H9/0538—Constructional combinations of supports or holders with electromechanical or other electronic elements
- H03H9/0547—Constructional combinations of supports or holders with electromechanical or other electronic elements consisting of a vertical arrangement
-
- H—ELECTRICITY
- H03—ELECTRONIC CIRCUITRY
- H03H—IMPEDANCE NETWORKS, e.g. RESONANT CIRCUITS; RESONATORS
- H03H9/00—Networks comprising electromechanical or electro-acoustic elements; Electromechanical resonators
- H03H9/02—Details
- H03H9/05—Holders or supports
- H03H9/0538—Constructional combinations of supports or holders with electromechanical or other electronic elements
- H03H9/0566—Constructional combinations of supports or holders with electromechanical or other electronic elements for duplexers
- H03H9/0576—Constructional combinations of supports or holders with electromechanical or other electronic elements for duplexers including surface acoustic wave [SAW] devices
-
- H—ELECTRICITY
- H03—ELECTRONIC CIRCUITRY
- H03H—IMPEDANCE NETWORKS, e.g. RESONANT CIRCUITS; RESONATORS
- H03H9/00—Networks comprising electromechanical or electro-acoustic elements; Electromechanical resonators
- H03H9/02—Details
- H03H9/05—Holders or supports
- H03H9/058—Holders or supports for surface acoustic wave devices
- H03H9/059—Holders or supports for surface acoustic wave devices consisting of mounting pads or bumps
-
- H—ELECTRICITY
- H03—ELECTRONIC CIRCUITRY
- H03H—IMPEDANCE NETWORKS, e.g. RESONANT CIRCUITS; RESONATORS
- H03H9/00—Networks comprising electromechanical or electro-acoustic elements; Electromechanical resonators
- H03H9/02—Details
- H03H9/05—Holders or supports
- H03H9/10—Mounting in enclosures
- H03H9/1064—Mounting in enclosures for surface acoustic wave [SAW] devices
- H03H9/1071—Mounting in enclosures for surface acoustic wave [SAW] devices the enclosure being defined by a frame built on a substrate and a cap, the frame having no mechanical contact with the SAW device
-
- H—ELECTRICITY
- H03—ELECTRONIC CIRCUITRY
- H03H—IMPEDANCE NETWORKS, e.g. RESONANT CIRCUITS; RESONATORS
- H03H9/00—Networks comprising electromechanical or electro-acoustic elements; Electromechanical resonators
- H03H9/02—Details
- H03H9/05—Holders or supports
- H03H9/10—Mounting in enclosures
- H03H9/12—Mounting in enclosures for networks with interaction of optical and acoustic waves
-
- H—ELECTRICITY
- H03—ELECTRONIC CIRCUITRY
- H03H—IMPEDANCE NETWORKS, e.g. RESONANT CIRCUITS; RESONATORS
- H03H9/00—Networks comprising electromechanical or electro-acoustic elements; Electromechanical resonators
- H03H9/02—Details
- H03H9/125—Driving means, e.g. electrodes, coils
- H03H9/145—Driving means, e.g. electrodes, coils for networks using surface acoustic waves
- H03H9/14544—Transducers of particular shape or position
- H03H9/14588—Horizontally-split transducers
-
- H—ELECTRICITY
- H01—ELECTRIC ELEMENTS
- H01F—MAGNETS; INDUCTANCES; TRANSFORMERS; SELECTION OF MATERIALS FOR THEIR MAGNETIC PROPERTIES
- H01F38/00—Adaptations of transformers or inductances for specific applications or functions
- H01F38/14—Inductive couplings
-
- H—ELECTRICITY
- H03—ELECTRONIC CIRCUITRY
- H03H—IMPEDANCE NETWORKS, e.g. RESONANT CIRCUITS; RESONATORS
- H03H9/00—Networks comprising electromechanical or electro-acoustic elements; Electromechanical resonators
- H03H9/46—Filters
- H03H9/64—Filters using surface acoustic waves
Definitions
- the present invention relates to an elastic wave device used in a mobile communication device or the like.
- FIG. 8 is a schematic cross-sectional view of a conventional acoustic wave device 1.
- the acoustic wave device 1 includes a piezoelectric substrate 2, an interdigital transducer (IDT) electrode 3 disposed on the piezoelectric substrate 2, and a wiring electrode 4 disposed on the piezoelectric substrate 2 and connected to the IDT electrode 3.
- the side wall 5 disposed on the piezoelectric substrate 2 and surrounding the IDT electrode 3, the top plate 7 provided on the side wall 5 so as to cover the space 6 above the IDT electrode 3, the side wall 5 and the ceiling
- An insulator 8 covering the plate 7, an inductor electrode 9 disposed on the insulator 8, an insulator 10 covering the top surface of the insulator 8 and the inductor electrode 9, and an insulator 10.
- a terminal electrode 11 and a connection electrode 12 provided so as to penetrate the insulators 8 and 10 and electrically connecting the wiring electrode 4, the inductor electrode 9, and the terminal electrode 11 are provided.
- Patent Document 1 A conventional elastic wave device similar to the elastic wave device 1 is described in Patent Document 1.
- the height of the upper surface is made constant, the cross section of the connection electrode 12 is exposed, and the inductor electrode 9 is formed thereon, whereby the electrical connection between the connection electrode 12 and the inductor electrode 9 is achieved. Secure the connection.
- the Q value of the inductor electrode 9 may decrease and the inductance may vary.
- FIG. 9 is a schematic cross-sectional view of another conventional acoustic wave device 101.
- the acoustic wave device 101 includes a piezoelectric substrate 102, an IDT electrode 103 disposed on the piezoelectric substrate 102, a wiring electrode 104 disposed on the piezoelectric substrate 102 and connected to the IDT electrode 103, and the piezoelectric substrate 102.
- the acoustic wave device 101 in order to improve characteristics such as insertion loss, out-of-band attenuation, and isolation, it may be necessary to add an inductor having a certain level of inductance value and a certain level of Q value. . It is difficult to form an inductor having such characteristics as a conductor pattern on the piezoelectric substrate 102. Therefore, when configuring an electronic device, a separate inductor is required outside the acoustic wave device 101.
- the acoustic wave device includes a piezoelectric substrate, an IDT electrode provided on the piezoelectric substrate, a wiring electrode provided on the piezoelectric substrate and connected to the IDT electrode, and an IDT electrode and a wiring electrode provided on the piezoelectric substrate.
- the first insulator includes a resin and a filler dispersed in the resin. The density of the filler in the resin layer is smaller than the average density of the filler of the first insulator.
- This elastic wave device can secure the electrical characteristics of the inductor and reduce its variation.
- FIG. 1A is a schematic cross-sectional view of an acoustic wave device according to Embodiment 1 of the present invention.
- 1B is a plan view of a principal part of the acoustic wave device shown in FIG. 1A.
- FIG. 2A is a diagram showing a rate of change in inductance of the inductor electrode of the acoustic wave device according to the first exemplary embodiment.
- FIG. 2B is a diagram showing a rate of change in inductance of the inductor electrode of the acoustic wave device according to the first exemplary embodiment.
- FIG. 3A is a schematic cross-sectional view of an acoustic wave device according to Embodiment 2 of the present invention.
- FIG. 1A is a schematic cross-sectional view of an acoustic wave device according to Embodiment 1 of the present invention.
- FIG. 2A is a diagram showing a rate of change in inductance of the inductor electrode of the acous
- FIG. 3B is a plan view of an essential part of the acoustic wave device shown in FIG. 3A.
- FIG. 4 is a circuit diagram of an acoustic wave device according to Embodiment 3 of the present invention.
- FIG. 5 is a schematic cross-sectional view of the acoustic wave device according to the third embodiment.
- FIG. 6 is a plan view of the acoustic wave device according to the third embodiment.
- FIG. 7A is a plan view of an essential part of the acoustic wave device according to Embodiment 3.
- FIG. 7B is a plan view of an essential part of the acoustic wave device according to Embodiment 3.
- FIG. 8 is a schematic sectional view of a conventional acoustic wave device.
- FIG. 9 is a schematic cross-sectional view of another conventional acoustic wave device.
- FIG. 1A is a schematic cross-sectional view of elastic wave device 21 according to Embodiment 1 of the present invention.
- the acoustic wave device 21 includes a piezoelectric substrate 22, an interdigital transducer (IDT) electrode 23 disposed on the upper surface 22U of the piezoelectric substrate 22, a wiring electrode 24 disposed on the upper surface 22U of the piezoelectric substrate 22, and a piezoelectric substrate. 22, the side wall 25 disposed on the upper surface 22 ⁇ / b> U, the top electrode 27 provided on the upper surface 25 ⁇ / b> U of the side wall 25, the insulator 28 covering the side wall 25 and the top electrode 27, and the upper surface 28 ⁇ / b> U of the insulator 28.
- IDT interdigital transducer
- the terminal electrode 31 disposed above, and the connection electrodes 32 penetrating the insulators 28 and 30 and the resin layer 33 are provided.
- the wiring electrode 24 is connected to the IDT electrode 23.
- the side wall 25 surrounds the periphery of the IDT electrode 23.
- the top plate electrode 27 covers the space 26 on the IDT electrode 23.
- the connection electrode 32 electrically connects the wiring electrode 24, the inductor electrode 29, and the terminal electrode 31.
- the resin layer 33 is provided between the insulator 28 and the inductor electrode 29.
- the resin layer 33 has a lower filler density than the insulator 28.
- the piezoelectric substrate 22 is a substrate made of a piezoelectric single crystal such as lithium tantalate, lithium niobate, or quartz.
- An adhesion layer made of titanium is formed on the upper surface 22U of the piezoelectric substrate 22, and a metal film mainly composed of aluminum is formed on the adhesion layer by sputtering.
- the metal layer is patterned by dry etching by a photolithographic method, whereby the IDT electrode 23 and the wiring electrode 24 are formed.
- the IDT electrode 23 has comb electrodes facing each other, and excites an elastic wave on the upper surface 22 ⁇ / b> U of the piezoelectric substrate 22.
- the wiring electrode 24 is a wiring drawn from the IDT electrode 23 and constitutes a circuit of the acoustic wave device 21.
- FIG. 1B is a plan view of the main part of the acoustic wave device 21 and a plan view of the inductor electrode 29.
- the inductor electrode 29 is made of a conductor band made of a conductive material such as a spiral metal provided on the upper surface 33U of the resin layer 33.
- the conductor band extends from the end portion 29S to the end portion 29T.
- the end 29S is located on the outer periphery side of the spiral shape, and the end 29T is located on the center side of the spiral shape.
- the end 29S is connected to the wiring electrode 24, and the end 29T is connected to the terminal electrode 31.
- the inductor electrode 29 has a spiral shape, but may have another shape such as a meander shape.
- the side wall 25 is formed by patterning a photosensitive polyimide resin by photolithography, and seals the space 26 excited by the IDT electrode 23 from the side surface.
- a conductor foil such as a copper foil is bonded to the upper surface 25U of the side wall 25 through a resin adhesive layer, and the top plate electrode 27 is formed by metal plating from the upper surface of the conductor foil.
- the top plate electrode 27 seals the space 26 excited by the IDT electrode 23 from the upper surface.
- the top plate electrode 27 and the side wall 25 cover the IDT electrode 23.
- the insulator 28 is obtained by applying and curing a thermosetting epoxy resin so as to cover the side wall 25 and the top plate electrode 27 and then grinding the upper surface thereof to adjust the shape. Simultaneously with this grinding, the cross section of the connection electrode 32 is exposed from the upper surface 28U of the insulator 28, and the inductor electrode 29 and the connection electrode 32 can be connected.
- the insulator 28 contains an insulating resin 28C such as an epoxy resin and 20% by weight or more filler 28D dispersed in the insulating resin. With this material, the mechanical strength for holding the space 26 excited by the IDT electrode 23 and the intrusion of moisture into the space 26 can be suppressed.
- the filler to be contained in the insulator 28 particles such as silica, mica, and alumina can be used.
- an insulating resin such as a photosensitive epoxy resin that does not contain a filler is applied onto the upper surface 28U of the insulator 28 by spin coating.
- the resin layer 33 is formed by exposing and curing the applied insulating resin by photolithography so as to expose the connection electrode 32 except where the connection electrode 32 penetrates.
- the resin layer 33 covers the unevenness of the upper surface 28U of the insulator 28, and the upper surface 33U of the resin layer 33 on which the inductor electrode 29 is formed is flat.
- the lower surface of the inductor electrode 29 formed on the flat upper surface 33U of the resin layer 33 can be smoothed, and the resistance of the skin current at a high frequency of the inductor electrode 29 can be reduced.
- the resin layer 33 may be provided at least on the base on which the inductor electrode 29 is formed, the resin layer 33 can be thinned to have a thickness enough to make the unevenness of the upper surface 28U of the insulator 28 flat. Since the resin layer 33 does not contain a filler, the electrical characteristics of the inductor electrode 29 at high frequencies are improved. In general, since the relative dielectric constant of the filler is higher than that of the resin, the inclusion of the filler increases the relative dielectric constant of the resin and increases the dielectric loss at high frequencies. Since the resin layer 33 does not contain a filler, the dielectric constant of the insulator around the inductor electrode 29 can be lowered, so that the dielectric loss can be reduced and the electrical characteristics of the inductor electrode 29 can be improved. it can.
- the inductor electrode 29 is an electrode made of a metal such as copper formed on the upper surface 33U of the resin layer 33 by photolithography, and functions as an inductor that forms an inductance.
- the insulator 30 is made of a photosensitive epoxy resin that covers the upper surface 33U of the resin layer 33 and the inductor electrode 29 from above and does not contain a filler.
- the insulator 30 is formed by applying the resin onto the upper surface 33U of the resin layer 33 and the inductor electrode 29 by spin coating, and then sensitizing and curing the portion where the connection electrode 32 penetrates by photolithography.
- the insulator 30 may contain a resin 30C and a filler 30D dispersed in the resin 30C. The filler 30D ensures the mechanical strength of the insulator 30.
- the elastic wave device 21 when the elastic wave device 21 is used after being resin-molded at a high pressure, such as a transfer mold, in order to prevent the insulator 30 from being deformed by the mold pressure and changing the characteristics of the inductor electrode 29, insulation is performed. It is necessary to increase the mechanical strength of the body 30. In that case, the insulator 30 may contain 20% by weight or more of the filler 30D. However, a resin layer 34 that does not substantially contain the filler 30 ⁇ / b> D or has a lower density than the insulator 30 may be provided in the vicinity of the inductor electrode 29 in the insulator 30. The resin layer 34 covers the inductor electrode 29.
- the resin layer 34 does not substantially contain the filler 30D, or the resin layer 34 has a lower density of the filler 30D than the insulator 30, so that the particles of the filler 30D are pressed against the surface of the inductor electrode 29. Can be suppressed. Thereby, since the smoothness of the surface of the inductor electrode 29 can be ensured, the electrical characteristics of the inductor electrode 29 at a high frequency can be favorably maintained. Further, by not including the filler 30D in the resin layer 34, the relative dielectric constant of the insulator around the inductor electrode 29 can be lowered. Therefore, dielectric loss can be reduced, and the electrical characteristics of the inductor electrode 29 can be improved.
- the density of the filler 30D of the resin layer 34 is lower than the density of at least one filler 28D, 30D of the insulator 28 and the insulator 30.
- the average particle diameter of the filler contained in the resin layer 34 is set to 1/3 of the minimum wiring interval of the inductor electrode 29.
- the terminal electrode 31 is a metal electrode formed on the surface of the insulator 30, and functions as an input / output terminal and a ground terminal of the acoustic wave device 21.
- connection electrode 32 is a metal electrode that penetrates the insulators 28 and 30 and the resin layer 33, is formed by plating with copper or the like, and electrically connects the wiring electrode 24, the inductor electrode 29, and the terminal electrode 31. .
- a part of the connection electrode 32 that penetrates the insulator 28 is simultaneously formed when the top plate electrode 27 is formed by plating, whereby the manufacturing process can be simplified.
- the resin layer 33 that does not substantially contain a filler is provided between the insulator 28 and the inductor electrode 29.
- corrugation of the upper surface 28U of the insulator 28 can be filled and smoothed with the resin layer 33 which does not contain a filler, and the inductor electrode 29 can be formed on the highly smooth upper surface 33U. Therefore, the surface of the inductor electrode 29 can be smoothed, its high frequency characteristics can be ensured well, and variations thereof can be reduced.
- the inductor electrode 9 formed on the top surface of the insulator 8 is affected by the ground surface and is subjected to Q. As the value decreases, the inductance may vary.
- the resin layer 33 can also be regarded as an insulator containing filler at a density smaller than the average density of the filler of the insulator 28. That is, by providing a resin layer 33 having a filler density lower than that of the insulator 28 between the insulator 28 and the inductor electrode 29, the inductor electrode 29 is formed on the upper surface 33U of the resin layer 33 having high smoothness. can do.
- the high frequency characteristic as an inductor can be ensured favorably.
- the thickness of the resin layer 33 larger than the average particle diameter of the filler 28D particles of the insulator 28, the filler 28D protruding from the insulator 28 can be reliably covered with the resin layer 33, and the inductor The high frequency characteristics can be improved.
- the resin layer 34 may be provided in the vicinity of the inductor electrode 29 in the insulator 30 so as to contact the inductor electrode 29 and cover the inductor electrode 29.
- the resin layer 34 contains substantially no filler, or contains a filler having a density smaller than the density of the fillers 28D and 30D of the insulator 28 or the insulator 30. Thereby, the smoothness of the surface of the inductor electrode 29 can be maintained, the high frequency characteristics can be secured satisfactorily, and variations thereof can be reduced.
- the resin layer 33 is made of a photosensitive epoxy resin that does not contain a filler. Even if the resin layer 33 contains a filler at a low density, the surface of the inductor electrode 29 can be smoothed. Also, the surface of the inductor electrode 29 can be smoothed by reducing the maximum particle size of the filler contained in the resin layer 33. However, from the viewpoint of smoothing the surface of the inductor electrode 29, the resin layer 33 preferably does not contain a filler.
- the insulator 28 is made of a resin containing the filler 28D.
- the insulator 28 may be made of an insulator other than resin.
- the smoothness of the surface of the inductor electrode 29 is affected by the surface roughness of the insulator 28.
- the smoothness of the surface with the inductor electrode 29 is ensured by providing the resin layer 33 made of a resin not containing a filler between the insulator 28 and the inductor electrode 29. Therefore, the high frequency characteristics of the inductor electrode 29 can be kept good.
- the entire surface between insulators 28 and 30 has a low filler density or substantially no filler.
- the elastic wave device 21 is a surface acoustic wave filter having a space 26 for exciting the IDT electrode 23 therein, but is a boundary acoustic wave filter having no space 26 inside. Has the same effect. However, in the acoustic wave device 21 having the space 26 for exciting the IDT electrode 23 therein, it is necessary to suppress the mechanical strength for maintaining the shape of the space 26 and the intrusion of moisture into the space 26. There is a high need for the filler 28D to be contained in the resin 28C constituting the insulator 28. In this case, if the inductor electrode 29 is formed directly on the upper surface 28U of the insulator 28, the smoothness of the surface with the inductor electrode 29 is impaired. Therefore, by providing the resin layer 33 containing no filler between the upper surface 28U of the insulator 28 and the inductor electrode 29, the high frequency characteristics of the inductor electrode 29 can be ensured.
- the insulator 28 and the resin layer 33 are formed by applying and curing a liquid resin, but are formed by laminating a sheet-like uncured resin. Also good.
- the insulator 28 and the resin layer 33 are formed by laminating together using a sheet-like resin in which the sheet-like resin to be the insulator 28 and the sheet-like resin to be the resin layer 33 are bonded together. You may do it.
- the insulator 28 and the resin layer 33 may be configured by lowering the density of the filler on the surface in contact with the inductor electrode 29 using a single resin sheet containing the filler.
- 2A and 2B show the rate of change in inductance of the inductor electrode 29 of the acoustic wave device 21 in the first embodiment.
- a sample of the acoustic wave device 21 is separated from the upper surface 27U of the top plate electrode 27 by a distance D1 from the lower surface 29L of the inductor electrode 29 and by a distance D2 from the lower surface 31L of the terminal electrode 31 to the upper surface 29U of the inductor electrode 29.
- a pressure of 70 bar corresponding to the mold pressure of the transfer mold is applied to the sample.
- 2A and 2B show the rate of change of the inductance after applying pressure to the inductance of the inductor electrode 29 before applying the pressure.
- FIG. 2A shows the rate of change in inductance of the inductor electrode 29 when the distance D2 is constant and the distance D1 is changed from 10 ⁇ m to 120 ⁇ m.
- the distance D1 By setting the distance D1 to 15 ⁇ m or more, the rate of change of the inductance of the inductor electrode 29 can be suppressed to 10% or less.
- the distance D1 By setting the distance D1 to 50 ⁇ m or more, the variation in inductance of the inductor electrode 29 can be suppressed to 1% or less.
- FIG. 2B shows the rate of change in the inductance of the inductor electrode 29 when the distance D1 is constant and the distance D2 is changed from 5 ⁇ m to 90 ⁇ m.
- the distance D2 By changing the distance D2 to 10 ⁇ m or more, the fluctuation of the inductance of the inductor electrode 29 is changed. It can be suppressed to 10% or less. Further, by setting the distance D2 to 30 ⁇ m or more, the variation in inductance of the inductor electrode 29 can be suppressed to 1% or less.
- the distance D1 is set to 50 ⁇ m or more and the distance D2 is set to 30 ⁇ m or more, the variation in inductance can be suppressed to 1% or less, and a more accurate inductance characteristic can be obtained.
- FIG. 3A is a schematic cross-sectional view of elastic wave device 111 according to Embodiment 2 of the present invention.
- the acoustic wave device 111 includes a piezoelectric substrate 112, a plurality of interdigital transducer (IDT) electrodes 113 disposed on the upper surface 112U of the piezoelectric substrate 112, a wiring electrode 114 disposed on the upper surface 112U of the piezoelectric substrate 112, The side wall 115 disposed on the upper surface 112U of the piezoelectric substrate 112, the adhesive layer 117 provided on the upper surface 115U of the side wall 115, the top plate electrode 118 provided on the upper surface 117U of the adhesive layer 117, and the piezoelectric substrate 112
- the insulator 119 provided on the upper surface 112U of the semiconductor device, the inductor electrode 120 disposed on the upper surface 119U of the insulator 119, the insulator 121 provided on the upper surface 119U of the insulator 119
- connection electrode 124 It includes a connection electrode 124, a connection electrode 125 which penetrates the insulator 119.
- the wiring electrode 114 is connected to the IDT electrode 113.
- the side wall 115 surrounds the IDT electrode 113.
- the adhesive layer 117 covers the excitation space 116 formed on the IDT electrode 113.
- the top plate electrode 118 is made of metal.
- the insulator 119 covers the side wall 115, the adhesive layer 117, and the top plate electrode 118.
- the insulator 121 covers the insulator 119 and the inductor electrode 120.
- the connection electrode 123 electrically connects the wiring electrode 114 and the inductor electrode 120.
- the connection electrode 124 electrically connects the inductor electrode 120 and the terminal electrode 122.
- the connection electrode 125 electrically connects the inductor electrode 120 and the top plate electrode 118.
- the side wall 115, the adhesive layer 117, and the insulators 119 and 121 constitute an insulator 126
- FIG. 3B is a plan view of a main part of the acoustic wave device 111 and a plan view of the inductor electrode 120.
- Inductor electrode 120 is formed of a conductor band made of a conductive material such as a spiral metal provided on upper surface 119U of insulator 119.
- the conductor band extends from the end 127 to the end 128.
- the end portion 127 is located on the outer peripheral side of the spiral shape, and the end portion 128 is located on the central side of the spiral shape.
- the end 127 of the inductor electrode 120 is connected to the wiring electrode 114 through the connection electrode 123.
- An end portion 128 of the inductor electrode 120 is connected to the terminal electrode 122 through the connection electrode 124, and is connected to the top plate electrode 118 through the connection electrode 125.
- the piezoelectric substrate 112 is a substrate made of a piezoelectric single crystal such as lithium tantalate, lithium niobate, or quartz.
- a metal film mainly composed of aluminum is formed by sputtering on the upper surface 112U of the piezoelectric substrate 112 via a titanium adhesion layer, and the metal film is dry-etched and patterned by photolithography to form the IDT electrode 113 and the wiring electrode.
- 114 can be formed.
- the IDT electrode 113 has comb electrodes facing each other, and is arranged to excite an elastic wave on the upper surface 112U of the piezoelectric substrate 112.
- the wiring electrode 114 is drawn from the IDT electrode 113 and constitutes a circuit of the acoustic wave device 111.
- the side wall 115 is formed by photolithography using a photosensitive polyimide resin, and seals the excitation space 116 excited by the IDT electrode 113 from the side surface.
- the adhesive layer 117 adheres the top plate electrode 118 to the upper surface 115U of the side wall 115, and seals the excitation space 116 excited by the IDT electrode 113 from above.
- the top plate electrode 118 is formed by adhering a copper foil on the upper surface 115U of the side wall 115 via an adhesive layer 117, and electroplating the copper foil.
- the top plate electrode 118 reinforces the mechanical strength of the adhesive layer 117 that seals the excitation space 116 from above.
- connection electrode 123 is a columnar electrode formed by electrolytic copper plating on the wiring electrode 114 at the same time when the top plate electrode 118 is formed by electrolytic copper plating, and the wiring electrode 114 and the inductor electrode 120 are connected to each other. Connect electrically.
- connection electrode 125 is a columnar electrode formed by electrolytic copper plating on the upper surface 118U of the top plate electrode 118, and electrically connects the top plate electrode 118 and the inductor electrode 120.
- the sheet-like thermosetting epoxy resin is softened and laminated so as to cover the side wall 115 formed on the upper surface 112U of the piezoelectric substrate 112, the top plate electrode 118, and the connection electrode 123, and then laminated. To cure. Thereafter, the upper surface of the cured epoxy resin is ground to adjust the shape, and the insulator 119 is obtained. Simultaneously with this grinding, the upper end surface of the connection electrode 123 and the upper end surface of the connection electrode 125 are exposed from the upper surface 119U of the insulator 119, and the inductor electrode 120 and the connection electrodes 123, 125 can be connected.
- the insulator 119 includes a resin 119C such as an epoxy-based resin and a resin 119C in order to suppress the mechanical strength for holding the excitation space 116 excited by the IDT electrode 113 and the penetration of moisture into the excitation space 116. It is made of filler 119D which is an insulator particle such as silica, mica, and alumina.
- the insulator 119 can also be formed by applying and curing a liquid epoxy resin and grinding the upper surface.
- the inductor electrode 120 is an electrode made of a metal such as copper formed on the upper surface 119U of the insulator 119 by photolithography, and functions as an inductor that forms an inductance.
- the insulator 121 is made of a photosensitive epoxy resin that covers the insulator 119 and the inductor electrode 120 from above, and does not include a filler. After applying a liquid photosensitive epoxy resin by spin coating, the insulator 121 is formed by photosensitizing and curing except for a portion where the connection electrode 124 penetrates.
- connection electrode 124 is a metal columnar electrode that penetrates the insulator 121, is formed by plating with copper or the like, and electrically connects the inductor electrode 120 and the terminal electrode 122.
- the terminal electrode 122 is a metal electrode formed on the upper surface 121U of the insulator 121, and functions as an input / output terminal and a ground terminal of the acoustic wave device 111.
- the position of the connection electrode 123 connected to the wiring electrode 114 is limited by the arrangement of the IDT electrode 113 on the piezoelectric substrate 112, and the connection electrode 123 is arranged on the outer peripheral portion on the upper surface 112U of the piezoelectric substrate 112. Often done.
- the restriction on the position of the connection electrode 124 connected to the terminal electrode 122 can be reduced.
- the end portion 127 of the inductor electrode 120 is connected to the wiring electrode 114 via the connection electrode 123, and the end portion 128 of the inductor electrode 120 is connected to the terminal electrode 122 via the connection electrode 124. Connected. Thereby, the wiring path
- the acoustic wave device 111 includes the piezoelectric substrate 112, the IDT electrode 113 provided on the piezoelectric substrate 112, and the wiring provided on the piezoelectric substrate 112 and connected to the IDT electrode 113.
- the electrode 114 Provided on the electrode 114, the insulators 119 and 121 that seal the IDT electrode 113 and the wiring electrode 114 on the piezoelectric substrate 112, the inductor electrode 120 provided in the insulator 126, and the insulator 126.
- Terminal electrode 122 An end portion 127 of the inductor electrode 120 is connected to the wiring electrode 114 through the connection electrode 123.
- the end portion 128 of the inductor electrode 120 is connected to the terminal electrode 122 through the connection electrode 124.
- the wiring path for connecting the inductor electrode 120 can be minimized, and a small acoustic wave device 111 can be realized. Further, since no additional routing wiring for connecting to the inductor electrode 120 is required, the resistance loss can be reduced, and good inductance characteristics of the inductor electrode 120 can be obtained.
- the wiring length of the connection electrode 124 that connects the end portion 128 of the inductor electrode 120 and the terminal electrode 122 can be minimized. Resistance loss due to the electrode 124 can be minimized.
- connection electrode 123 the wiring length of the connection electrode 123 that connects the end portion 127 of the inductor electrode 120 and the wiring electrode 114 on the piezoelectric substrate 112 is minimized. Therefore, the resistance loss due to the connection electrode 123 can be minimized.
- the elastic wave device 111 includes a piezoelectric substrate 112, an IDT electrode 113 provided on the piezoelectric substrate 112, and a wiring electrode 114 provided on the piezoelectric substrate 112 and connected to the IDT electrode 113.
- An insulator 126 that seals the IDT electrode 113 and the wiring electrode 114 on the piezoelectric substrate 112, an inductor electrode 120 provided in the insulator 126, and a terminal electrode 122 provided on the insulator 126.
- a connection electrode 123 provided in the insulator 126 and connecting the wiring electrode 114 and the inductor electrode 120, and a connection electrode 124 connecting the inductor electrode 120 and the terminal electrode 122.
- the inductor electrode 120 is within the range of the outer edge of the terminal electrode 122 immediately below the terminal electrode 122.
- the inductor electrode 120 is covered by the terminal electrode 122, deformation of the inductor electrode 120 due to external force can be suppressed, and changes in inductor characteristics can be suppressed.
- an external force is applied to the acoustic wave device 111, when the insulator 126 covering the excitation space 116 for exciting the IDT electrode 113 is deformed toward the excitation space 116, the inductor electrode 120 inside the insulator 126 is deformed. As a result, the inductor characteristics change.
- the conditions for the transfer molding are an extremely high temperature of 170 to 180 ° C. and a pressure of 50 to 100 atm.
- the elastic wave device 111 is exposed to a severe environment. In that environment, the insulator 126 is greatly deformed, and the shape of the inductor electrode 120 provided in the insulator 126 is similarly deformed, and the characteristics of the inductor are greatly changed.
- the degree of this deformation is particularly large.
- the inductor electrode 120 when the inductor electrode 120 is provided directly above the excitation space 116, the amount of deformation of the insulator 126 due to the influence of the resin molding pressure becomes larger. Therefore, it is necessary to provide the inductor electrode 120 while avoiding the excitation space 116, and the area where the inductor electrode 120 can be disposed is restricted.
- the acoustic wave device 111 is configured to be mounted on an external mounting substrate 811.
- the mounting substrate 811 has mounting electrodes 812.
- the terminal electrode 122 is configured to be fixed to the mounting electrode 812 with a conductive adhesive 813 such as solder. Therefore, the terminal electrode 122 is hardly deformed by an external force by being reinforced by the mounting substrate 811 and the conductive adhesive 813, and the influence of the molding pressure is small even when transfer molding is performed after mounting.
- the terminal electrode 122 is provided so as to cover the inductor electrode 120 immediately above the inductor electrode 120.
- top plate electrode 118 covering upper portion of excitation space 116 is provided in insulator 126 and connects top plate electrode 118 and end portion 128 of inductor electrode 120.
- a connection electrode 125 is provided.
- the influence on the electrical property of the inductor electrode 120 by the influence of external force can be reduced.
- the mechanical strength of the portion below the inductor electrode 120 can be ensured by the top plate electrode 118 covering the excitation space 116.
- the position of the inductor electrode 120 is mechanically reinforced by the connection electrode 125 that connects the top plate electrode 118 and the end portion 128 of the inductor electrode 120.
- the deformation of the inductor electrode 120 can be further reduced, and the electrical characteristics of the inductor electrode 120 can be changed. Can be suppressed.
- the side wall 115 and the adhesive layer 117 constitute a lid 170 that covers the excitation space 116, and the insulators 119 and 121 include the lid 170 on the upper surface 112 U of the piezoelectric substrate 112.
- a sealing body 171 to be sealed is configured.
- the insulator 126 includes a lid 170 and a sealing body 171. Since the connection electrode 123 is provided outside the lid 170, when the connection electrode 123 is formed, there is no need to penetrate the lid 170 to form the connection electrode 123. 111 can be manufactured. Also, with this structure, it is possible to shorten the length of the wiring that connects the end portion 127 of the inductor electrode 120 and the connection electrode 123, so that it is possible to reduce unnecessary electromagnetic interaction and realize a small elastic wave device 111. .
- the wiring path for connecting the inductor electrode 120 can be minimized, and no additional wiring for routing is required, so that the resistance loss can be reduced. Therefore, good inductance characteristics of the inductor electrode 120 can be obtained in a small-sized elastic wave device 111 whose occupation area is similar to that of the piezoelectric substrate 112.
- the inductor electrode 120 has a spiral shape, but may have another shape such as a meander shape.
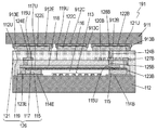
- FIG. 4 is a circuit diagram of an acoustic wave device 191 according to Embodiment 3 of the present invention.
- FIG. 5 is a schematic sectional view of the acoustic wave device 191.
- the same components as those of elastic wave device 111 in Embodiment 2 shown in FIG. 3A are denoted by the same reference numerals.
- the elastic wave device 191 is a duplexer including a transmission filter 129 and a reception filter 130.
- the input / output terminals of the transmission filter 129 are an unbalanced transmission side signal end 135A, a transmission side ground end 135B, and an antenna end 135C.
- the input / output terminals of the reception filter 130 are a balanced reception side signal end 135D, a reception side ground end 135E, and an antenna end 135C.
- two longitudinally coupled resonator type acoustic wave filters 131 and one one-terminal pair acoustic wave resonator 132 are connected in series to the signal line.
- the ground line of the longitudinally coupled resonator type acoustic wave filter 131 is connected to the reception-side ground end 135E via the top plate electrode 118.
- the transmission filter 129 includes a series arm resonator 133 that is a one-terminal-pair elastic wave resonator and a parallel arm resonator 134 that is a one-terminal-pair elastic wave resonator.
- the transmission filter 129 is a ladder-type circuit including five series arm resonators 133 connected in series to the signal line and three parallel arm resonators 134 connected between the signal line and the ground line. Become.
- An inductor 136A is connected in series between the series arm resonator 133 closest to the transmission side signal end 135A and the transmission side signal end 135A.
- An inductor 136B is connected between the ground side of the three parallel arm resonators 134 and the transmission-side ground end 135B.
- the transmission-side ground end 135B is connected to the top plate electrode 118.
- the acoustic wave device 191 includes a piezoelectric substrate 112, a plurality of IDT electrodes 113 disposed on the upper surface 112 ⁇ / b> U of the piezoelectric substrate 112, and a wiring electrode 114 ⁇ / b> B disposed on the upper surface 112 ⁇ / b> U of the piezoelectric substrate 112.
- a side wall 115 disposed on the upper surface 112U of the piezoelectric substrate 112, an adhesive layer 117 provided on the upper surface 115U of the side wall 115, and a top plate electrode 118 provided on the upper surface 117U of the adhesive layer 117,
- the insulator 119 provided on the upper surface 112U of the piezoelectric substrate 112, the inductor electrode 120B disposed on the upper surface 119U of the insulator 119, the insulator 121 provided on the upper surface 119U of the insulator 119, and the insulation Terminal electrodes 122B, 122C, and 122E disposed on the upper surface 121U of the body 121.
- the wiring electrodes 114B and 114E are connected to the IDT electrode 113.
- the side wall 115 surrounds the IDT electrode 113.
- the adhesive layer 117 covers the excitation space 116 formed on the IDT electrode 113.
- the top plate electrode 118 is made of metal.
- the insulator 119 covers the side wall 115, the adhesive layer 117, and the top plate electrode 118.
- the insulator 121 covers the insulator 119 and the inductor electrode 120B.
- the connection electrode 123B penetrates the insulator 119 and electrically connects the wiring electrode 114B and the end portion 127B of the inductor electrode 120B.
- connection electrode 124B penetrates the insulator 121 and electrically connects the end portion 128B of the inductor electrode 120B and the terminal electrode 122B.
- the connection electrode 125B penetrates the insulator 119 and electrically connects the end portion 128B of the inductor electrode 120B and the top plate electrode 118.
- the connection electrode 123E passes through the insulator 119 and connects the wiring electrode 114E and the top plate electrode 118.
- the connection electrode 124E penetrates the insulator 121 and connects the top plate electrode 118 and the terminal electrode 122E.
- the side wall 115, the adhesive layer 117, and the insulators 119 and 121 constitute an insulator 126 that seals the excitation space 116.
- FIG. 6 is a plan view of the piezoelectric substrate 112 of the acoustic wave device 191.
- the transmission filter 129 and the reception filter 130 are provided on the upper surface 112U of the piezoelectric substrate 112.
- the reception filter 130 includes two longitudinally coupled resonator type acoustic wave filters 131 and one one-terminal pair acoustic wave resonator 132 connected in series.
- the transmission filter 129 includes five one-terminal pair elastic wave resonators connected in series to the signal line, and three one-terminal pairs connected between the signal line and the ground line. It consists of a ladder circuit having a parallel arm resonator 134 which is an elastic wave resonator.
- the wiring electrode 114A is an input side wiring of the transmission filter 129, and is connected to the connection electrode 123A.
- the wiring electrode 114B is a ground wiring of the transmission filter 129 and is connected to the connection electrode 123B.
- the wiring electrode 114C is a common wiring for the transmission filter 129 and the reception filter 130, and the connection electrode 123C is connected thereto.
- the wiring electrode 114D is an output side wiring of the reception filter 130, and is connected to the connection electrode 123D.
- the wiring electrode 114E is a ground side wiring of the reception filter 130, and is connected to the connection electrode 123E.
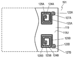
- FIG. 7A is a plan view of the main part of the acoustic wave device 191.
- FIG. Inductor electrodes 120A and 120B are provided on the upper surface 119U of the insulator 119.
- the inductor electrode 120A is made of a conductor band made of a conductive material such as a metal extending in a spiral shape provided on the upper surface 119U of the insulator 119.
- the conductor band extends from the end portion 127A to the end portion 128A.
- the end portion 127A is located on the outer periphery side of the spiral shape, and the end portion 128A is located on the center side of the spiral shape.
- the inductor electrode 120B is formed of a conductor band made of a conductive material such as a metal extending in a spiral shape provided on the upper surface 119U of the insulator 119.
- the conductor band extends from the end portion 127B to the end portion 128B.
- the end portion 127B is located on the outer periphery side of the spiral shape, and the end portion 128B is located on the center side of the spiral shape.
- the inductor electrodes 120A and 120B function as inductors that form an inductance.
- the inductor electrode 120A is the inductor 136A shown in FIG.
- the connection electrode 123A is connected to the lower surface of the end portion 127A of the inductor electrode 120A.
- connection electrode 124A is connected to the upper surface of the end portion 128A of the inductor electrode 120A.
- the inductor electrode 120B is the inductor 136B shown in FIG.
- the connection electrode 123B is connected to the lower surface of the end portion 127B of the inductor electrode 120B.
- the connection electrode 124B is connected to the upper surface of the end portion 128B of the inductor electrode 120B.
- the connection electrode 125B is connected to the lower surface of the end portion 128B of the inductor electrode 120B.
- FIG. 7B is a plan view of an essential part of the acoustic wave device 191.
- Terminal electrodes 122A, 122B, 122C, 122D, and 122E are provided on the upper surface 121U of the insulator 121.
- the terminal electrode 122A is the transmission side signal end 135A shown in FIG.
- the terminal electrode 122B is the transmission-side ground end 135B shown in FIG.
- the terminal electrode 122C is the antenna end 135C shown in FIG.
- the terminal electrode 122D is the receiving side signal end 135D shown in FIG.
- the terminal electrode 122E is the receiving side ground end 135E shown in FIG.
- a connection electrode 124A is connected to the lower surface of the terminal electrode 122A, and is connected to a wiring electrode 114A that is an input-side wiring of the transmission filter 129 via the inductor electrode 120A and the connection electrode 123A.
- the connection electrode 124B is connected to the lower surface of the terminal electrode 122B, and the terminal electrode 122B is connected to the wiring electrode 114B that is the ground wiring of the transmission filter 129 via the inductor electrode 120B and the connection electrode 123B.
- the terminal electrode 122B is also connected to the top electrode 118 via the connection electrode 124B, the end portion 128B of the inductor electrode 120B, and the connection electrode 125B.
- the lower surface of the terminal electrode 122C is connected to the connection electrode 124C, and the terminal electrode 122C is connected to the wiring electrode 114C that is a common wiring of the transmission filter 129 and the reception filter 130 via the connection electrode 123C.
- the connection electrode 124D is connected to the lower surface of the terminal electrode 122D, and the terminal electrode 122D is connected to the wiring electrode 114D that is the output side wiring of the reception filter 130 via the connection electrode 123D.
- the lower surface of the terminal electrode 122E is connected to the connection electrode 124E, and is connected to the wiring electrode 114E that is the ground side wiring of the reception filter 130 via the top plate electrode 118 and the connection electrode 123E.
- the ladder-type acoustic wave filter is configured on the upper surface 112U of the piezoelectric substrate 112.
- the inductor electrode 120B is connected between the parallel arm resonator 134 of the ladder-type acoustic wave filter and the transmission-side ground end 135B.
- the inductor electrode 120B located immediately above the IDT electrode 113 is directly below the terminal electrode 122B at the transmission-side ground end 135B, and the terminal electrode 122B as viewed from above. Fits within the outer edge of the.
- the acoustic wave device 191 is configured to be mounted on an external mounting substrate 911.
- the mounting substrate 911 includes mounting electrodes 912B, 912C, and 912E.
- the terminal electrode 122B is configured to be fixed to the mounting electrode 912B with a conductive adhesive 913B such as solder.
- the terminal electrode 122B is reinforced by the mounting substrate 911 and the conductive adhesive 913B, so that deformation due to external stress is small. Therefore, deformation of inductor electrode 120B due to external force can be suppressed, inductance can be stabilized, and filter characteristics of the ladder-type elastic wave filter can be stabilized.
- the terminal electrodes 122C and 122E are configured to be fixed to the mounting electrodes 912C and 912E with conductive adhesives 913C and 913E such as solder, respectively.
- the terminal electrodes 122C and 122E are reinforced by the mounting substrate 911 and the conductive adhesives 913C and 913E, so that deformation due to external stress is small. Therefore, deformation of the elastic wave device 191 can be suppressed, and its characteristics can be stabilized.
- the acoustic wave device 191 forms a ladder type filter circuit on the piezoelectric substrate 112, and the inductor electrode 120A is connected between the series arm resonator 133 of the ladder type filter circuit and the transmission side signal end 135A. Yes. Thereby, in the small acoustic wave device 191, a ladder type filter circuit in which the inductor 136A is connected in series to the series arm resonator 133 can be realized.
- the elastic wave device 191 includes a reception filter 130 and a transmission filter 129 including a ladder type circuit.
- the wiring electrode 114E on the ground side of the reception filter 130 is connected to the terminal electrode 122E on the reception side ground end 135E via the top plate electrode 118.
- the wiring electrode 114B on the ground side of the parallel arm resonator 134 of the transmission filter 129 is connected to the end portion 127B of the inductor electrode 120B through the connection electrode 123B.
- the end portion 128B of the inductor electrode 120B is connected to the terminal electrode 122B of the transmission side ground end 135B through the connection electrode 124B.
- the connection electrode 125B connects the top plate electrode 118 and the end portion 128B of the inductor electrode 120B.
- the top electrode 118 is used as the common ground electrode on the reception side, and the top electrode 118 and the ground end 135B on the transmission side are connected by the connection electrode 125B.
- the ground on the transmission side and the reception side can be strengthened, the isolation between the transmission filter 129 and the reception filter 130 can be improved, and a duplexer with good characteristics can be obtained.
- the terms indicating the directions such as “upper surface”, “lower surface”, “directly above”, “directly below” are only relative positional relationships of components of acoustic wave devices such as piezoelectric substrates and IDT electrodes. It does not indicate an absolute direction such as a vertical direction.
- the elastic wave device according to the present invention is excellent in the high frequency electrical characteristics of the built-in inductor despite being extremely small, and is useful mainly in an elastic wave device used for mobile communication equipment.
Landscapes
- Physics & Mathematics (AREA)
- Acoustics & Sound (AREA)
- Surface Acoustic Wave Elements And Circuit Networks Thereof (AREA)
- Engineering & Computer Science (AREA)
- Power Engineering (AREA)
Priority Applications (4)
| Application Number | Priority Date | Filing Date | Title |
|---|---|---|---|
| JP2012529029A JP5569587B2 (ja) | 2010-12-16 | 2011-12-14 | 弾性波装置 |
| CN201180009464.3A CN102763328B (zh) | 2010-12-16 | 2011-12-14 | 弹性波装置 |
| US13/521,239 US9124239B2 (en) | 2010-12-16 | 2011-12-14 | Elastic wave device |
| US14/809,957 US9325295B2 (en) | 2010-12-16 | 2015-07-27 | Elastic wave device with integrated inductor |
Applications Claiming Priority (4)
| Application Number | Priority Date | Filing Date | Title |
|---|---|---|---|
| JP2010-280146 | 2010-12-16 | ||
| JP2010280146 | 2010-12-16 | ||
| JP2011051194 | 2011-03-09 | ||
| JP2011-051194 | 2011-03-09 |
Related Child Applications (2)
| Application Number | Title | Priority Date | Filing Date |
|---|---|---|---|
| US13/521,239 A-371-Of-International US9124239B2 (en) | 2010-12-16 | 2011-12-14 | Elastic wave device |
| US14/809,957 Continuation US9325295B2 (en) | 2010-12-16 | 2015-07-27 | Elastic wave device with integrated inductor |
Publications (1)
| Publication Number | Publication Date |
|---|---|
| WO2012081240A1 true WO2012081240A1 (ja) | 2012-06-21 |
Family
ID=46244359
Family Applications (1)
| Application Number | Title | Priority Date | Filing Date |
|---|---|---|---|
| PCT/JP2011/006977 Ceased WO2012081240A1 (ja) | 2010-12-16 | 2011-12-14 | 弾性波装置 |
Country Status (4)
| Country | Link |
|---|---|
| US (2) | US9124239B2 (enExample) |
| JP (3) | JP5569587B2 (enExample) |
| CN (2) | CN102763328B (enExample) |
| WO (1) | WO2012081240A1 (enExample) |
Cited By (5)
| Publication number | Priority date | Publication date | Assignee | Title |
|---|---|---|---|---|
| JP2014176089A (ja) * | 2013-03-08 | 2014-09-22 | Triquint Semiconductor Inc | 弾性波デバイスおよびそれを形成する方法 |
| WO2016042972A1 (ja) * | 2014-09-16 | 2016-03-24 | 株式会社村田製作所 | 電子部品及び樹脂モールド型電子部品装置 |
| JP2016510192A (ja) * | 2013-03-06 | 2016-04-04 | エプコス アクチエンゲゼルシャフトEpcos Ag | 結合性を低下させた、小型化に適した電気部品 |
| JP2017022744A (ja) * | 2016-09-07 | 2017-01-26 | 太陽誘電株式会社 | 弾性波フィルタ及びモジュール |
| JP2022010717A (ja) * | 2020-06-29 | 2022-01-17 | NDK SAW devices株式会社 | 圧電デバイス |
Families Citing this family (33)
| Publication number | Priority date | Publication date | Assignee | Title |
|---|---|---|---|---|
| JP2011188255A (ja) * | 2010-03-09 | 2011-09-22 | Panasonic Corp | 弾性波素子 |
| JP5654303B2 (ja) * | 2010-09-21 | 2015-01-14 | 太陽誘電株式会社 | 電子部品およびその製造方法、並びに電子部品を備えた電子デバイス |
| CN102763328B (zh) * | 2010-12-16 | 2015-12-02 | 天工松下滤波方案日本有限公司 | 弹性波装置 |
| JP5823219B2 (ja) * | 2011-09-08 | 2015-11-25 | 太陽誘電株式会社 | 電子部品 |
| WO2013108608A1 (ja) * | 2012-01-20 | 2013-07-25 | パナソニック株式会社 | 弾性波センサ |
| JP6006086B2 (ja) * | 2012-11-01 | 2016-10-12 | 太陽誘電株式会社 | 弾性波フィルタ及びモジュール |
| US9264016B2 (en) * | 2012-11-15 | 2016-02-16 | Nihon Dempa Kogyo Co., Ltd. | Piezoelectric component having a cover layer including resin that contains translucent filler |
| JP5907195B2 (ja) * | 2014-02-27 | 2016-04-26 | 株式会社村田製作所 | 電子部品及び電子部品の製造方法 |
| CN106464231B (zh) * | 2014-05-20 | 2019-02-22 | 株式会社村田制作所 | 弹性波器件及其制造方法 |
| KR101706257B1 (ko) * | 2015-01-13 | 2017-02-13 | (주)와이솔 | 압전소자 디바이스 |
| WO2016189952A1 (ja) * | 2015-05-22 | 2016-12-01 | 株式会社村田製作所 | 電子部品 |
| JP6222406B2 (ja) * | 2015-06-24 | 2017-11-01 | 株式会社村田製作所 | マルチプレクサ、送信装置、受信装置、高周波フロントエンド回路、通信装置、およびマルチプレクサのインピーダンス整合方法 |
| US10069474B2 (en) | 2015-11-17 | 2018-09-04 | Qualcomm Incorporated | Encapsulation of acoustic resonator devices |
| WO2017100255A1 (en) | 2015-12-08 | 2017-06-15 | Skyworks Solutions, Inc. | Method of providing protective cavity and integrated passive components in wafer-level chip-scale package using a carrier wafer |
| JP6547617B2 (ja) * | 2015-12-22 | 2019-07-24 | 株式会社村田製作所 | 電子部品 |
| WO2017221518A1 (ja) * | 2016-06-21 | 2017-12-28 | 株式会社村田製作所 | 弾性波装置及びその製造方法 |
| US11031919B2 (en) * | 2017-03-31 | 2021-06-08 | Kyocera Corporation | Elastic wave device, duplexer, and communication device |
| KR102414843B1 (ko) * | 2017-05-22 | 2022-06-30 | 삼성전기주식회사 | 음향파 디바이스 및 그 제조방법 |
| JP6669132B2 (ja) * | 2017-06-23 | 2020-03-18 | 株式会社村田製作所 | マルチプレクサ、送信装置および受信装置 |
| CN109478877B (zh) * | 2017-06-30 | 2023-06-09 | 株式会社村田制作所 | 弹性波装置 |
| CN111052606B (zh) * | 2017-08-31 | 2023-04-14 | 株式会社村田制作所 | 弹性波装置以及具备该弹性波装置的弹性波模块 |
| FR3073354B1 (fr) * | 2017-11-06 | 2019-10-18 | Safran | Piece composite a circuit electronique d'instrumentation integre et son procede de fabrication |
| EP3511977B1 (en) | 2018-01-16 | 2021-11-03 | Infineon Technologies AG | Semiconductor module and method for producing the same |
| SG11202101990TA (en) | 2018-08-30 | 2021-03-30 | Skyworks Solutions Inc | Packaged surface acoustic wave devices |
| JP6958525B2 (ja) * | 2018-09-25 | 2021-11-02 | 株式会社村田製作所 | インダクタ部品 |
| CN114128144A (zh) * | 2019-06-28 | 2022-03-01 | 京瓷株式会社 | 弹性波装置以及弹性波装置的制造方法 |
| KR20210013955A (ko) | 2019-07-29 | 2021-02-08 | 삼성전기주식회사 | 반도체 패키지 |
| JP7527873B2 (ja) | 2020-07-15 | 2024-08-05 | 太陽誘電株式会社 | 弾性波デバイス |
| WO2022080462A1 (ja) * | 2020-10-14 | 2022-04-21 | 株式会社村田製作所 | 弾性波装置及び弾性波装置の製造方法 |
| US12407315B2 (en) | 2021-11-08 | 2025-09-02 | Skyworks Solutions, Inc. | Stacked filter package having multiple types of acoustic wave devices |
| US12494766B2 (en) | 2022-03-02 | 2025-12-09 | Skyworks Solutions, Inc. | Acoustic wave device with interdigital transducer electrode having buffer layer |
| CN118923040A (zh) * | 2022-03-29 | 2024-11-08 | 株式会社村田制作所 | 复合滤波器装置 |
| CN121058157A (zh) * | 2023-05-10 | 2025-12-02 | 株式会社村田制作所 | 复合滤波器装置 |
Citations (5)
| Publication number | Priority date | Publication date | Assignee | Title |
|---|---|---|---|---|
| JPH08330890A (ja) * | 1995-05-29 | 1996-12-13 | Kyocera Corp | 弾性表面波共振器 |
| JP2001217674A (ja) * | 2000-01-31 | 2001-08-10 | Kyocera Corp | 弾性表面波装置 |
| WO2005055423A1 (ja) * | 2003-12-01 | 2005-06-16 | Murata Manufacturing Co., Ltd. | フィルタ装置 |
| WO2006134928A1 (ja) * | 2005-06-16 | 2006-12-21 | Murata Manufacturing Co., Ltd. | 圧電デバイス及びその製造方法 |
| WO2008105199A1 (ja) * | 2007-02-28 | 2008-09-04 | Murata Manufacturing Co., Ltd. | 分波器及びその製造方法 |
Family Cites Families (12)
| Publication number | Priority date | Publication date | Assignee | Title |
|---|---|---|---|---|
| JP4691787B2 (ja) | 2001-01-15 | 2011-06-01 | パナソニック株式会社 | Sawデバイス |
| JP4839868B2 (ja) | 2006-02-07 | 2011-12-21 | パナソニック株式会社 | 電子部品パッケージ |
| JP2009010121A (ja) | 2007-06-27 | 2009-01-15 | Hitachi Media Electoronics Co Ltd | 中空封止素子、その製造方法ならびに中空封止素子を用いた移動通信機器 |
| US8436514B2 (en) | 2007-10-30 | 2013-05-07 | Kyocera Corporation | Acoustic wave device comprising an inter-digital transducer electrode |
| JP2009182188A (ja) * | 2008-01-31 | 2009-08-13 | Panasonic Corp | チップコイルおよびその製造方法 |
| JP2010062412A (ja) * | 2008-09-05 | 2010-03-18 | Panasonic Corp | 電子部品 |
| JP5453787B2 (ja) | 2008-12-03 | 2014-03-26 | パナソニック株式会社 | 弾性表面波デバイス |
| JP5206377B2 (ja) * | 2008-12-05 | 2013-06-12 | 株式会社村田製作所 | 電子部品モジュール |
| JP5277971B2 (ja) | 2009-01-05 | 2013-08-28 | パナソニック株式会社 | 弾性表面波デバイス |
| JP5434138B2 (ja) | 2009-02-27 | 2014-03-05 | パナソニック株式会社 | 弾性表面波部品およびその製造方法 |
| JP5056885B2 (ja) | 2010-03-29 | 2012-10-24 | パナソニック株式会社 | 集積回路装置 |
| CN102763328B (zh) * | 2010-12-16 | 2015-12-02 | 天工松下滤波方案日本有限公司 | 弹性波装置 |
-
2011
- 2011-12-14 CN CN201180009464.3A patent/CN102763328B/zh active Active
- 2011-12-14 WO PCT/JP2011/006977 patent/WO2012081240A1/ja not_active Ceased
- 2011-12-14 JP JP2012529029A patent/JP5569587B2/ja active Active
- 2011-12-14 US US13/521,239 patent/US9124239B2/en active Active
- 2011-12-14 CN CN201510172638.8A patent/CN104767499B/zh active Active
-
2013
- 2013-08-02 JP JP2013160938A patent/JP5785228B2/ja active Active
-
2014
- 2014-04-17 JP JP2014085155A patent/JP5895016B2/ja active Active
-
2015
- 2015-07-27 US US14/809,957 patent/US9325295B2/en active Active
Patent Citations (5)
| Publication number | Priority date | Publication date | Assignee | Title |
|---|---|---|---|---|
| JPH08330890A (ja) * | 1995-05-29 | 1996-12-13 | Kyocera Corp | 弾性表面波共振器 |
| JP2001217674A (ja) * | 2000-01-31 | 2001-08-10 | Kyocera Corp | 弾性表面波装置 |
| WO2005055423A1 (ja) * | 2003-12-01 | 2005-06-16 | Murata Manufacturing Co., Ltd. | フィルタ装置 |
| WO2006134928A1 (ja) * | 2005-06-16 | 2006-12-21 | Murata Manufacturing Co., Ltd. | 圧電デバイス及びその製造方法 |
| WO2008105199A1 (ja) * | 2007-02-28 | 2008-09-04 | Murata Manufacturing Co., Ltd. | 分波器及びその製造方法 |
Cited By (6)
| Publication number | Priority date | Publication date | Assignee | Title |
|---|---|---|---|---|
| JP2016510192A (ja) * | 2013-03-06 | 2016-04-04 | エプコス アクチエンゲゼルシャフトEpcos Ag | 結合性を低下させた、小型化に適した電気部品 |
| JP2014176089A (ja) * | 2013-03-08 | 2014-09-22 | Triquint Semiconductor Inc | 弾性波デバイスおよびそれを形成する方法 |
| WO2016042972A1 (ja) * | 2014-09-16 | 2016-03-24 | 株式会社村田製作所 | 電子部品及び樹脂モールド型電子部品装置 |
| JP2017022744A (ja) * | 2016-09-07 | 2017-01-26 | 太陽誘電株式会社 | 弾性波フィルタ及びモジュール |
| JP2022010717A (ja) * | 2020-06-29 | 2022-01-17 | NDK SAW devices株式会社 | 圧電デバイス |
| JP7461810B2 (ja) | 2020-06-29 | 2024-04-04 | NDK SAW devices株式会社 | 圧電デバイス |
Also Published As
| Publication number | Publication date |
|---|---|
| CN104767499B (zh) | 2017-09-22 |
| US20120280768A1 (en) | 2012-11-08 |
| CN102763328B (zh) | 2015-12-02 |
| US9124239B2 (en) | 2015-09-01 |
| JP2014140249A (ja) | 2014-07-31 |
| US20160036416A1 (en) | 2016-02-04 |
| JP2013236401A (ja) | 2013-11-21 |
| JP5895016B2 (ja) | 2016-03-30 |
| HK1210327A1 (en) | 2016-04-15 |
| CN104767499A (zh) | 2015-07-08 |
| JPWO2012081240A1 (ja) | 2014-05-22 |
| JP5785228B2 (ja) | 2015-09-24 |
| JP5569587B2 (ja) | 2014-08-13 |
| CN102763328A (zh) | 2012-10-31 |
| US9325295B2 (en) | 2016-04-26 |
Similar Documents
| Publication | Publication Date | Title |
|---|---|---|
| JP5569587B2 (ja) | 弾性波装置 | |
| JP6290850B2 (ja) | 弾性波装置および弾性波モジュール | |
| US7378922B2 (en) | Piezoelectric filter | |
| EP2940864B1 (en) | Piezoelectric component | |
| JP2018207045A (ja) | 電子部品 | |
| KR20040077909A (ko) | 압전부품 및 그 제조방법 | |
| KR100881912B1 (ko) | 압전 발진 소자 및 그것을 이용한 압전 발진 부품 | |
| JP5121646B2 (ja) | 圧電発振子 | |
| CN110495098B (zh) | 电子部件及具备该电子部件的模块 | |
| JP3814438B2 (ja) | 弾性表面波装置 | |
| HK1210327B (en) | Elastic wave device | |
| JPH11214955A (ja) | 弾性表面波装置 | |
| JP7001096B2 (ja) | 電子部品モジュール及び電子部品モジュールの製造方法 | |
| JP3064679B2 (ja) | 表面弾性波素子とその製造方法 | |
| JP5031486B2 (ja) | 電子部品 | |
| CN114128144A (zh) | 弹性波装置以及弹性波装置的制造方法 | |
| CN110868179A (zh) | 一种谐振器封装系统 |
Legal Events
| Date | Code | Title | Description |
|---|---|---|---|
| WWE | Wipo information: entry into national phase |
Ref document number: 201180009464.3 Country of ref document: CN |
|
| WWE | Wipo information: entry into national phase |
Ref document number: 2012529029 Country of ref document: JP |
|
| WWE | Wipo information: entry into national phase |
Ref document number: 13521239 Country of ref document: US |
|
| 121 | Ep: the epo has been informed by wipo that ep was designated in this application |
Ref document number: 11848954 Country of ref document: EP Kind code of ref document: A1 |
|
| NENP | Non-entry into the national phase |
Ref country code: DE |
|
| 122 | Ep: pct application non-entry in european phase |
Ref document number: 11848954 Country of ref document: EP Kind code of ref document: A1 |