JP6861403B2 - 電池 - Google Patents
電池 Download PDFInfo
- Publication number
- JP6861403B2 JP6861403B2 JP2017540481A JP2017540481A JP6861403B2 JP 6861403 B2 JP6861403 B2 JP 6861403B2 JP 2017540481 A JP2017540481 A JP 2017540481A JP 2017540481 A JP2017540481 A JP 2017540481A JP 6861403 B2 JP6861403 B2 JP 6861403B2
- Authority
- JP
- Japan
- Prior art keywords
- positive electrode
- group
- active material
- solvent
- battery according
- Prior art date
- Legal status (The legal status is an assumption and is not a legal conclusion. Google has not performed a legal analysis and makes no representation as to the accuracy of the status listed.)
- Active
Links
Images
Classifications
-
- H—ELECTRICITY
- H01—ELECTRIC ELEMENTS
- H01M—PROCESSES OR MEANS, e.g. BATTERIES, FOR THE DIRECT CONVERSION OF CHEMICAL ENERGY INTO ELECTRICAL ENERGY
- H01M10/00—Secondary cells; Manufacture thereof
- H01M10/05—Accumulators with non-aqueous electrolyte
- H01M10/056—Accumulators with non-aqueous electrolyte characterised by the materials used as electrolytes, e.g. mixed inorganic/organic electrolytes
- H01M10/0564—Accumulators with non-aqueous electrolyte characterised by the materials used as electrolytes, e.g. mixed inorganic/organic electrolytes the electrolyte being constituted of organic materials only
- H01M10/0566—Liquid materials
- H01M10/0569—Liquid materials characterised by the solvents
-
- H—ELECTRICITY
- H01—ELECTRIC ELEMENTS
- H01M—PROCESSES OR MEANS, e.g. BATTERIES, FOR THE DIRECT CONVERSION OF CHEMICAL ENERGY INTO ELECTRICAL ENERGY
- H01M4/00—Electrodes
- H01M4/02—Electrodes composed of, or comprising, active material
- H01M4/13—Electrodes for accumulators with non-aqueous electrolyte, e.g. for lithium-accumulators; Processes of manufacture thereof
- H01M4/131—Electrodes based on mixed oxides or hydroxides, or on mixtures of oxides or hydroxides, e.g. LiCoOx
- H01M4/1315—Electrodes based on mixed oxides or hydroxides, or on mixtures of oxides or hydroxides, e.g. LiCoOx containing halogen atoms, e.g. LiCoOxFy
-
- C—CHEMISTRY; METALLURGY
- C01—INORGANIC CHEMISTRY
- C01G—COMPOUNDS CONTAINING METALS NOT COVERED BY SUBCLASSES C01D OR C01F
- C01G45/00—Compounds of manganese
- C01G45/20—Compounds containing manganese, with or without oxygen or hydrogen, and containing one or more other elements
- C01G45/22—Compounds containing manganese, with or without oxygen or hydrogen, and containing two or more other elements
-
- C—CHEMISTRY; METALLURGY
- C01—INORGANIC CHEMISTRY
- C01G—COMPOUNDS CONTAINING METALS NOT COVERED BY SUBCLASSES C01D OR C01F
- C01G51/00—Compounds of cobalt
- C01G51/80—Compounds containing cobalt, with or without oxygen or hydrogen, and containing one or more other elements
- C01G51/82—Compounds containing cobalt, with or without oxygen or hydrogen, and containing two or more other elements
-
- C—CHEMISTRY; METALLURGY
- C01—INORGANIC CHEMISTRY
- C01G—COMPOUNDS CONTAINING METALS NOT COVERED BY SUBCLASSES C01D OR C01F
- C01G53/00—Compounds of nickel
- C01G53/80—Compounds containing nickel, with or without oxygen or hydrogen, and containing one or more other elements
- C01G53/82—Compounds containing nickel, with or without oxygen or hydrogen, and containing two or more other elements
-
- H—ELECTRICITY
- H01—ELECTRIC ELEMENTS
- H01M—PROCESSES OR MEANS, e.g. BATTERIES, FOR THE DIRECT CONVERSION OF CHEMICAL ENERGY INTO ELECTRICAL ENERGY
- H01M10/00—Secondary cells; Manufacture thereof
- H01M10/05—Accumulators with non-aqueous electrolyte
- H01M10/052—Li-accumulators
-
- H—ELECTRICITY
- H01—ELECTRIC ELEMENTS
- H01M—PROCESSES OR MEANS, e.g. BATTERIES, FOR THE DIRECT CONVERSION OF CHEMICAL ENERGY INTO ELECTRICAL ENERGY
- H01M10/00—Secondary cells; Manufacture thereof
- H01M10/05—Accumulators with non-aqueous electrolyte
- H01M10/052—Li-accumulators
- H01M10/0525—Rocking-chair batteries, i.e. batteries with lithium insertion or intercalation in both electrodes; Lithium-ion batteries
-
- H—ELECTRICITY
- H01—ELECTRIC ELEMENTS
- H01M—PROCESSES OR MEANS, e.g. BATTERIES, FOR THE DIRECT CONVERSION OF CHEMICAL ENERGY INTO ELECTRICAL ENERGY
- H01M10/00—Secondary cells; Manufacture thereof
- H01M10/05—Accumulators with non-aqueous electrolyte
- H01M10/056—Accumulators with non-aqueous electrolyte characterised by the materials used as electrolytes, e.g. mixed inorganic/organic electrolytes
- H01M10/0564—Accumulators with non-aqueous electrolyte characterised by the materials used as electrolytes, e.g. mixed inorganic/organic electrolytes the electrolyte being constituted of organic materials only
- H01M10/0566—Liquid materials
-
- H—ELECTRICITY
- H01—ELECTRIC ELEMENTS
- H01M—PROCESSES OR MEANS, e.g. BATTERIES, FOR THE DIRECT CONVERSION OF CHEMICAL ENERGY INTO ELECTRICAL ENERGY
- H01M10/00—Secondary cells; Manufacture thereof
- H01M10/05—Accumulators with non-aqueous electrolyte
- H01M10/056—Accumulators with non-aqueous electrolyte characterised by the materials used as electrolytes, e.g. mixed inorganic/organic electrolytes
- H01M10/0564—Accumulators with non-aqueous electrolyte characterised by the materials used as electrolytes, e.g. mixed inorganic/organic electrolytes the electrolyte being constituted of organic materials only
- H01M10/0566—Liquid materials
- H01M10/0567—Liquid materials characterised by the additives
-
- H—ELECTRICITY
- H01—ELECTRIC ELEMENTS
- H01M—PROCESSES OR MEANS, e.g. BATTERIES, FOR THE DIRECT CONVERSION OF CHEMICAL ENERGY INTO ELECTRICAL ENERGY
- H01M10/00—Secondary cells; Manufacture thereof
- H01M10/05—Accumulators with non-aqueous electrolyte
- H01M10/056—Accumulators with non-aqueous electrolyte characterised by the materials used as electrolytes, e.g. mixed inorganic/organic electrolytes
- H01M10/0564—Accumulators with non-aqueous electrolyte characterised by the materials used as electrolytes, e.g. mixed inorganic/organic electrolytes the electrolyte being constituted of organic materials only
- H01M10/0566—Liquid materials
- H01M10/0568—Liquid materials characterised by the solutes
-
- H—ELECTRICITY
- H01—ELECTRIC ELEMENTS
- H01M—PROCESSES OR MEANS, e.g. BATTERIES, FOR THE DIRECT CONVERSION OF CHEMICAL ENERGY INTO ELECTRICAL ENERGY
- H01M4/00—Electrodes
- H01M4/02—Electrodes composed of, or comprising, active material
- H01M4/36—Selection of substances as active materials, active masses, active liquids
- H01M4/48—Selection of substances as active materials, active masses, active liquids of inorganic oxides or hydroxides
- H01M4/485—Selection of substances as active materials, active masses, active liquids of inorganic oxides or hydroxides of mixed oxides or hydroxides for inserting or intercalating light metals, e.g. LiTi2O4 or LiTi2OxFy
-
- H—ELECTRICITY
- H01—ELECTRIC ELEMENTS
- H01M—PROCESSES OR MEANS, e.g. BATTERIES, FOR THE DIRECT CONVERSION OF CHEMICAL ENERGY INTO ELECTRICAL ENERGY
- H01M4/00—Electrodes
- H01M4/02—Electrodes composed of, or comprising, active material
- H01M4/36—Selection of substances as active materials, active masses, active liquids
- H01M4/48—Selection of substances as active materials, active masses, active liquids of inorganic oxides or hydroxides
- H01M4/50—Selection of substances as active materials, active masses, active liquids of inorganic oxides or hydroxides of manganese
- H01M4/505—Selection of substances as active materials, active masses, active liquids of inorganic oxides or hydroxides of manganese of mixed oxides or hydroxides containing manganese for inserting or intercalating light metals, e.g. LiMn2O4 or LiMn2OxFy
-
- H—ELECTRICITY
- H01—ELECTRIC ELEMENTS
- H01M—PROCESSES OR MEANS, e.g. BATTERIES, FOR THE DIRECT CONVERSION OF CHEMICAL ENERGY INTO ELECTRICAL ENERGY
- H01M4/00—Electrodes
- H01M4/02—Electrodes composed of, or comprising, active material
- H01M4/36—Selection of substances as active materials, active masses, active liquids
- H01M4/48—Selection of substances as active materials, active masses, active liquids of inorganic oxides or hydroxides
- H01M4/52—Selection of substances as active materials, active masses, active liquids of inorganic oxides or hydroxides of nickel, cobalt or iron
- H01M4/525—Selection of substances as active materials, active masses, active liquids of inorganic oxides or hydroxides of nickel, cobalt or iron of mixed oxides or hydroxides containing iron, cobalt or nickel for inserting or intercalating light metals, e.g. LiNiO2, LiCoO2 or LiCoOxFy
-
- H—ELECTRICITY
- H01—ELECTRIC ELEMENTS
- H01M—PROCESSES OR MEANS, e.g. BATTERIES, FOR THE DIRECT CONVERSION OF CHEMICAL ENERGY INTO ELECTRICAL ENERGY
- H01M4/00—Electrodes
- H01M4/02—Electrodes composed of, or comprising, active material
- H01M4/36—Selection of substances as active materials, active masses, active liquids
- H01M4/58—Selection of substances as active materials, active masses, active liquids of inorganic compounds other than oxides or hydroxides, e.g. sulfides, selenides, tellurides, halogenides or LiCoFy; of polyanionic structures, e.g. phosphates, silicates or borates
- H01M4/582—Halogenides
-
- C—CHEMISTRY; METALLURGY
- C01—INORGANIC CHEMISTRY
- C01P—INDEXING SCHEME RELATING TO STRUCTURAL AND PHYSICAL ASPECTS OF SOLID INORGANIC COMPOUNDS
- C01P2002/00—Crystal-structural characteristics
- C01P2002/70—Crystal-structural characteristics defined by measured X-ray, neutron or electron diffraction data
- C01P2002/76—Crystal-structural characteristics defined by measured X-ray, neutron or electron diffraction data by a space-group or by other symmetry indications
-
- C—CHEMISTRY; METALLURGY
- C01—INORGANIC CHEMISTRY
- C01P—INDEXING SCHEME RELATING TO STRUCTURAL AND PHYSICAL ASPECTS OF SOLID INORGANIC COMPOUNDS
- C01P2006/00—Physical properties of inorganic compounds
- C01P2006/40—Electric properties
-
- H—ELECTRICITY
- H01—ELECTRIC ELEMENTS
- H01M—PROCESSES OR MEANS, e.g. BATTERIES, FOR THE DIRECT CONVERSION OF CHEMICAL ENERGY INTO ELECTRICAL ENERGY
- H01M4/00—Electrodes
- H01M4/02—Electrodes composed of, or comprising, active material
- H01M2004/026—Electrodes composed of, or comprising, active material characterised by the polarity
- H01M2004/028—Positive electrodes
-
- H—ELECTRICITY
- H01—ELECTRIC ELEMENTS
- H01M—PROCESSES OR MEANS, e.g. BATTERIES, FOR THE DIRECT CONVERSION OF CHEMICAL ENERGY INTO ELECTRICAL ENERGY
- H01M2220/00—Batteries for particular applications
- H01M2220/30—Batteries in portable systems, e.g. mobile phone, laptop
-
- Y—GENERAL TAGGING OF NEW TECHNOLOGICAL DEVELOPMENTS; GENERAL TAGGING OF CROSS-SECTIONAL TECHNOLOGIES SPANNING OVER SEVERAL SECTIONS OF THE IPC; TECHNICAL SUBJECTS COVERED BY FORMER USPC CROSS-REFERENCE ART COLLECTIONS [XRACs] AND DIGESTS
- Y02—TECHNOLOGIES OR APPLICATIONS FOR MITIGATION OR ADAPTATION AGAINST CLIMATE CHANGE
- Y02E—REDUCTION OF GREENHOUSE GAS [GHG] EMISSIONS, RELATED TO ENERGY GENERATION, TRANSMISSION OR DISTRIBUTION
- Y02E60/00—Enabling technologies; Technologies with a potential or indirect contribution to GHG emissions mitigation
- Y02E60/10—Energy storage using batteries
Landscapes
- Chemical & Material Sciences (AREA)
- General Chemical & Material Sciences (AREA)
- Electrochemistry (AREA)
- Chemical Kinetics & Catalysis (AREA)
- Inorganic Chemistry (AREA)
- Engineering & Computer Science (AREA)
- Manufacturing & Machinery (AREA)
- General Physics & Mathematics (AREA)
- Condensed Matter Physics & Semiconductors (AREA)
- Physics & Mathematics (AREA)
- Organic Chemistry (AREA)
- Materials Engineering (AREA)
- Battery Electrode And Active Subsutance (AREA)
- Secondary Cells (AREA)
Description
実施の形態1における電池は、正極と、負極と、電解液と、を備える。
LixMeyOαFβ・・・式(1)
かつ、下記の条件、
1.7≦x≦2.2、
0.8≦y≦1.3、
1≦α≦2.5、
0.5≦β≦2、
を満たす。
R1−O−R2 ・・・式(2)
R12−O−(CnF2n−O−)p−(CmF2m−O−)q−R12 ・・・式(5)
以下に、実施の形態1の正極活物質に含まれる上述の化合物の製造方法の一例が、説明される。
[正極活物質の作製]
LiFとLiMnO2をLiF/LiMnO2=1.0/1.0モル比でそれぞれ秤量した。
非水電解液の熱安定性を評価した。
非水溶媒試料として、下記の式(6)で表されるホスファゼンを用いた。
非水溶媒試料として、下記の式(7)で表されるリン酸エステルを用いた。
非水溶媒試料として、重量平均分子量が1020のパーフルオロポリエーテル(ソルベイスペシャルティポリマーズ社製ガルデンLS−230)を用いた。
非水溶媒試料として、エチレンカーボネート(EC)とエチルメチカーボネート(EMC)とハイドロフルオロエーテル(CF3CH2−O−CF2CHF2)との混合溶媒を用いた。
全非水溶媒中のハイドロフルオロエーテルの体積比率は、80%とした。
正極活物質として、空間群FM3−Mに属する結晶構造を有するLi2MnO2.5F0.5を用いた。
正極活物質として、空間群FM3−Mに属する結晶構造を有するLi2MnO1.5F1.5を用いた。
ハイドロフルオロエーテル(CF3CH2−O−CF2CHF2)とジメチルカーボネート(DMC)との混合溶媒(体積比率80対20)に対し、1.0mol/LのLiPF6を溶解させた非水電解液を用いた。
非水溶媒試料として、エチレンカーボネート(EC)とエチルメチカーボネート(EMC)との混合非水溶媒を用いた。
非水溶媒試料として、エチレンカーボネート(EC)とエチルメチカーボネート(EMC)との混合非水溶媒を用いた。
非水溶媒試料として、エチレンカーボネート(EC)とエチルメチカーボネート(EMC)との混合非水溶媒を用いた。
非水電解液を含むリチウム二次電池の実施例について、以下、説明する。
ハイドロフルオロエーテル(CF3CH2−O−CF2CHF2)の代わりに、上述の式(6)で表されるホスファゼンを加えた。
ハイドロフルオロエーテル(CF3CH2−O−CF2CHF2)の代わりに、上述の式(7)で表されるリン酸エステルを加えた。
電解液として、環状溶媒であるフルオロエチレンカーボネート(FEC)と鎖状溶媒である(2,2,2−トリフルオロエチル)メチルカーボネート(FEMC)とを混合した非水溶媒(体積比20:80)に対して、1.0mol/LのLiPF6を溶解した非水電解液を用いた。
以上のように作製した実施例10〜12および比較例4のリチウム二次電池の充放電試験を、以下の条件で、実施した。
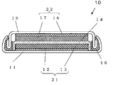
11 ケース
12 正極集電体
13 正極活物質層
14 セパレータ
15 封口板
16 負極集電体
17 負極活物質層
18 ガスケット
21 正極
22 負極
Claims (9)
- 正極活物質を含む正極と、
負極と、
非水溶媒を含む電解液と、
を備え、
前記正極活物質は、空間群FM3−Mに属する結晶構造を有する下記の組成式(1)により表される化合物を、90重量%以上の割合で、含み、
LixMeyOαFβ・・・式(1)、
ここで、前記Meは、Mn、Co、Niからなる群より選択される一種の元素であり、
かつ、下記の条件、
1.7≦x≦2.2、
0.8≦y≦1.3、
1≦α≦2.5、
0.5≦β≦2、
x+y=α+β=3、
を満たし、
前記非水溶媒は、ハイドロフルオロエーテル、ホスファゼン、リン酸エステル、パーフルオロポリエーテル、から選択される少なくとも一種の溶媒を含み、
前記非水溶媒の全体積に対する、前記ハイドロフルオロエーテル、前記ホスファゼン、前記リン酸エステル、前記パーフルオロポリエーテル、から選択される少なくとも一種の溶媒の体積比率は、5%以上、かつ、80%以下、であり、
前記ホスファゼンは、下記式で表され、
前記リン酸エステルは、下記式で表される、
電池。 - 前記非水溶媒の全体積に対する、前記ハイドロフルオロエーテル、前記ホスファゼン、前記リン酸エステル、前記パーフルオロポリエーテル、から選択される少なくとも一種の溶媒の体積比率は、50%以上、かつ、80%以下、である、
請求項1に記載の電池。 - 前記非水溶媒の全体積に対する、前記ハイドロフルオロエーテル、前記ホスファゼン、前記リン酸エステル、前記パーフルオロポリエーテル、から選択される少なくとも一種の溶媒の体積比率は、5%以上、かつ、30%以下、である、
請求項1に記載の電池。 - 前記非水溶媒は、炭酸エステル、エステル、エーテル、ニトリル、から成る群から選択される少なくとも一種を含む、
請求項3に記載の電池。 - 前記ハイドロフルオロエーテルは、下記の式(2)で表される化合物を含む、
請求項1から4のいずれかに記載の電池。
R1−O−R2 ・・・式(2)
[ここで、R1およびR2は、それぞれ独立して、芳香族基または不飽和脂肪族基または飽和脂肪族基を示す。前記芳香族基および前記不飽和脂肪族基および前記飽和脂肪族基は、少なくとも一つの水素原子がフッ素に置換されている。前記不飽和脂肪族基および前記飽和脂肪族基は、直鎖状または環状である。] - 前記パーフルオロポリエーテルは、下記の式(5)で表される化合物を含む、
請求項1から4のいずれかに記載の電池。
R12−O−(CnF2n−O−)p−(CmF2m−O−)q−R12 ・・・式(5)
[ここで、R12は、CxF2x+1、もしくは、CF2−COO−CxH2x+1、もしくは、CH2−O−CxH2x+1、で表される群から選ばれるいずれか一つである。また、nおよびmは、それぞれ独立して、1〜3の整数である。また、繰り返し単位数であるpおよびqは、それぞれ独立して、1〜23の整数である。] - 前記式(5)において、R12はCF3であり、n=3であり、m=1である、
請求項6に記載の電池。 - 前記電解液は、リチウム塩を含み、
前記リチウム塩は、LiBF4、LiPF6、LiN(SO2CF3)2、LiN(SO2F)2、LiN(SO2CF2CF3)2、Li[N−(SO2F)−(SO2CF3)]、からなる群から選ばれる少なくともいずれか一種である、
請求項1から7のいずれかに記載の電池。 - 組成式(1)により表される前記化合物は、Li2MnO2F、または、Li2MnO2.5F0.5、または、Li2MnO1.5F1.5、である、
請求項1から8のいずれかに記載の電池。
Applications Claiming Priority (3)
| Application Number | Priority Date | Filing Date | Title |
|---|---|---|---|
| JP2015182650 | 2015-09-16 | ||
| JP2015182650 | 2015-09-16 | ||
| PCT/JP2016/003956 WO2017047023A1 (ja) | 2015-09-16 | 2016-08-30 | 電池 |
Publications (2)
| Publication Number | Publication Date |
|---|---|
| JPWO2017047023A1 JPWO2017047023A1 (ja) | 2018-07-05 |
| JP6861403B2 true JP6861403B2 (ja) | 2021-04-21 |
Family
ID=58288489
Family Applications (1)
| Application Number | Title | Priority Date | Filing Date |
|---|---|---|---|
| JP2017540481A Active JP6861403B2 (ja) | 2015-09-16 | 2016-08-30 | 電池 |
Country Status (3)
| Country | Link |
|---|---|
| US (2) | US10833316B2 (ja) |
| JP (1) | JP6861403B2 (ja) |
| WO (1) | WO2017047023A1 (ja) |
Families Citing this family (16)
| Publication number | Priority date | Publication date | Assignee | Title |
|---|---|---|---|---|
| WO2017013848A1 (ja) * | 2015-07-23 | 2017-01-26 | パナソニックIpマネジメント株式会社 | 正極活物質、および、電池 |
| JP6861403B2 (ja) * | 2015-09-16 | 2021-04-21 | パナソニックIpマネジメント株式会社 | 電池 |
| US10707531B1 (en) | 2016-09-27 | 2020-07-07 | New Dominion Enterprises Inc. | All-inorganic solvents for electrolytes |
| EP3595058A1 (en) * | 2017-03-06 | 2020-01-15 | Panasonic Intellectual Property Management Co., Ltd. | Positive electrode active material and battery |
| EP3618152A4 (en) | 2017-04-24 | 2020-03-04 | Panasonic Intellectual Property Management Co., Ltd. | ACTIVE POSITIVE ELECTRODE MATERIAL AND BATTERY |
| US20180331392A1 (en) * | 2017-05-12 | 2018-11-15 | Panasonic Intellectual Property Management Co., Ltd. | Nonaqueous electrolyte containing polar organic solvent, perfluoropolyether, and diester compound, and secondary battery including the same |
| EP3633773B1 (en) | 2017-05-29 | 2025-02-12 | Panasonic Intellectual Property Management Co., Ltd. | Positive-electrode active material and battery |
| WO2020049795A1 (ja) * | 2018-09-05 | 2020-03-12 | パナソニックIpマネジメント株式会社 | 正極活物質およびそれを備えた電池 |
| CN109762023A (zh) * | 2019-01-31 | 2019-05-17 | 北京卫蓝新能源科技有限公司 | 一种阻燃剂及其制备方法和应用 |
| CN110265658A (zh) * | 2019-06-03 | 2019-09-20 | 湖北锂诺新能源科技有限公司 | 一种磷酸铝包覆富锂钌基金属氟氧化物正极材料的制备方法 |
| FR3100384B1 (fr) | 2019-08-29 | 2021-08-06 | Accumulateurs Fixes | Composition d’electrolyte fluore pour element electrochimique lithium-ion |
| CN112909245B (zh) * | 2019-12-04 | 2022-03-25 | 中国科学院过程工程研究所 | 一种锂离子电池梯度结构正极材料及其制备方法与应用 |
| CN111020301A (zh) * | 2019-12-25 | 2020-04-17 | 安徽鑫发铝业有限公司 | 一种节能环保隔热铝型材及其制备方法 |
| FR3116156B1 (fr) * | 2020-11-06 | 2022-11-11 | Accumulateurs Fixes | Composition d’electrolyte fluore pour element electrochimique comportant une anode en lithium ou en alliage a base de lithium |
| GB2620779A (en) * | 2022-07-21 | 2024-01-24 | Univ Liverpool | Electrode materials for li-ion batteries |
| KR20240105048A (ko) * | 2022-12-28 | 2024-07-05 | 에스케이온 주식회사 | 리튬 이차 전지용 전해질 및 이를 포함하는 리튬 이차 전지 |
Family Cites Families (69)
| Publication number | Priority date | Publication date | Assignee | Title |
|---|---|---|---|---|
| JPH07107851B2 (ja) | 1988-02-17 | 1995-11-15 | 三洋電機株式会社 | 非水系二次電池 |
| JP3340515B2 (ja) | 1993-07-20 | 2002-11-05 | 新神戸電機株式会社 | リチウム電池 |
| US5830600A (en) * | 1996-05-24 | 1998-11-03 | Sri International | Nonflammable/self-extinguishing electrolytes for batteries |
| JPH09330720A (ja) | 1996-06-11 | 1997-12-22 | Sanyo Electric Co Ltd | リチウム電池 |
| US6037095A (en) | 1997-03-28 | 2000-03-14 | Fuji Photo Film Co., Ltd. | Non-aqueous lithium ion secondary battery |
| JP4200539B2 (ja) | 1997-03-28 | 2008-12-24 | 宇部興産株式会社 | リチウムイオン非水電解質二次電池 |
| JP4784608B2 (ja) | 1997-03-28 | 2011-10-05 | 宇部興産株式会社 | リチウムイオン非水電解質二次電池用正極活物質及びその製造方法 |
| JP4061668B2 (ja) | 1997-04-21 | 2008-03-19 | 宇部興産株式会社 | リチウムイオン非水電解質二次電池 |
| JP4022937B2 (ja) | 1997-04-24 | 2007-12-19 | 宇部興産株式会社 | リチウムイオン非水電解質二次電池 |
| JP3982658B2 (ja) * | 1997-06-13 | 2007-09-26 | 日立マクセル株式会社 | 非水電解液二次電池用正極活物質およびその製造方法ならびに上記正極活物質を用いた非水電解液二次電池 |
| JP4106741B2 (ja) | 1998-05-28 | 2008-06-25 | 松下電器産業株式会社 | 非水電解質二次電池 |
| JP4171848B2 (ja) | 1998-06-02 | 2008-10-29 | 宇部興産株式会社 | リチウムイオン非水電解質二次電池 |
| KR100307160B1 (ko) | 1999-03-06 | 2001-09-26 | 김순택 | 리튬 이차 전지용 양극 활물질 및 그 제조 방법 |
| US6737195B2 (en) | 2000-03-13 | 2004-05-18 | Samsung Sdi Co., Ltd. | Positive active material for rechargeable lithium battery and method of preparing same |
| JP2002015776A (ja) | 2000-06-30 | 2002-01-18 | Toshiba Corp | 非水電解液二次電池 |
| EP1180810A2 (en) | 2000-08-18 | 2002-02-20 | Nissan Motor Co., Ltd. | Positive electrode active material for rechargeable lithium-ion battery |
| JP3578066B2 (ja) | 2000-08-18 | 2004-10-20 | 日産自動車株式会社 | Li欠損マンガン複合酸化物及びこれを用いた非水電解質二次電池 |
| KR100464746B1 (ko) | 2001-01-23 | 2005-01-06 | 가부시끼가이샤 도시바 | 양극 활성 물질 및 리튬 이온 이차 전지 |
| JP3675439B2 (ja) | 2001-11-27 | 2005-07-27 | 日本電気株式会社 | 二次電池用正極活物質およびそれを用いた二次電池用正極および二次電池 |
| US7011907B2 (en) | 2001-11-27 | 2006-03-14 | Nec Corporation | Secondary battery cathode active material, secondary battery cathode and secondary battery using the same |
| US8956421B2 (en) | 2007-02-06 | 2015-02-17 | Deka Products Limited Partnership | Dynamic support apparatus and system |
| JP2004311408A (ja) | 2003-03-25 | 2004-11-04 | Nichia Chem Ind Ltd | 非水電解質二次電池用正極活物質および非水電解質二次電池 |
| TWI286849B (en) | 2003-03-25 | 2007-09-11 | Nichia Corp | Positive electrode active material for nonaqueous electrolyte secondary battery and nonaqueous electrolyte secondary battery |
| JP4283594B2 (ja) | 2003-05-22 | 2009-06-24 | 三菱化学株式会社 | 非水系電解液及びそれを用いた非水系電解液二次電池 |
| JP4616592B2 (ja) | 2003-07-29 | 2011-01-19 | パナソニック株式会社 | 非水電解液二次電池とその製造方法及び電解液二次電池用電極材料 |
| WO2005124898A1 (ja) | 2004-06-16 | 2005-12-29 | Seimi Chemical Co., Ltd. | リチウム二次電池用正極活物質粉末 |
| JP5085856B2 (ja) | 2005-07-07 | 2012-11-28 | パナソニック株式会社 | リチウムイオン二次電池 |
| JP4197002B2 (ja) | 2006-04-07 | 2008-12-17 | 宇部興産株式会社 | リチウムイオン非水電解質二次電池用正極活物質及びその製造方法 |
| JP2006278341A (ja) | 2006-04-07 | 2006-10-12 | Ube Ind Ltd | リチウムイオン非水電解質二次電池 |
| JP5305678B2 (ja) | 2008-02-07 | 2013-10-02 | 株式会社東芝 | 非水電解液電池及び組電池 |
| US8916294B2 (en) | 2008-09-30 | 2014-12-23 | Envia Systems, Inc. | Fluorine doped lithium rich metal oxide positive electrode battery materials with high specific capacity and corresponding batteries |
| US8741484B2 (en) | 2010-04-02 | 2014-06-03 | Envia Systems, Inc. | Doped positive electrode active materials and lithium ion secondary battery constructed therefrom |
| DE102010029282A1 (de) | 2010-05-25 | 2011-12-01 | Robert Bosch Gmbh | Verfahren und Vorrichtung zur Herstellung einer Dünnschichtbatterie |
| US9178249B2 (en) | 2010-05-27 | 2015-11-03 | Uchicago Argonne, Llc | Electrode stabilizing materials |
| JP2012014851A (ja) * | 2010-06-29 | 2012-01-19 | Hitachi Maxell Energy Ltd | 電気化学素子用電極および非水二次電池 |
| JP5641560B2 (ja) | 2010-07-30 | 2014-12-17 | Necエナジーデバイス株式会社 | 二次電池用正極活物質及びそれを使用した二次電池 |
| JP5682172B2 (ja) | 2010-08-06 | 2015-03-11 | Tdk株式会社 | 活物質、活物質の製造方法及びリチウムイオン二次電池 |
| KR101232836B1 (ko) | 2010-09-14 | 2013-02-13 | 한양대학교 산학협력단 | 리튬 이차 전지용 양극 활물질의 제조 방법, 상기 제조 방법에 따라 제조된 리튬 이차 전지용 양극 활물질, 및 이를 포함하는 리튬 이차 전지 |
| JP5404567B2 (ja) * | 2010-09-17 | 2014-02-05 | 三菱化学株式会社 | 非水系電解液及びそれを用いたリチウム二次電池 |
| JPWO2012086602A1 (ja) | 2010-12-20 | 2014-05-22 | 旭硝子株式会社 | 二次電池用非水電解液および二次電池 |
| JP5617663B2 (ja) | 2011-01-27 | 2014-11-05 | 旭硝子株式会社 | リチウムイオン二次電池用の正極活物質およびその製造方法 |
| WO2012176267A1 (ja) | 2011-06-20 | 2012-12-27 | トヨタ自動車株式会社 | 二次電池用電極層、固体電解質層および全固体二次電池 |
| EP2720302B1 (en) | 2011-07-13 | 2016-04-06 | LG Chem, Ltd. | High-energy lithium secondary battery having improved energy density characteristics |
| JP2013222612A (ja) | 2012-04-17 | 2013-10-28 | Hitachi Maxell Ltd | 非水二次電池 |
| JP6031861B2 (ja) | 2012-07-18 | 2016-11-24 | 三菱化学株式会社 | 非水系電解液及びそれを用いた非水系電解液電池 |
| HUE055941T2 (hu) | 2012-10-02 | 2022-01-28 | Massachusetts Inst Technology | Nagykapacitású pozitív elektród aktív anyaga |
| KR101400593B1 (ko) | 2012-12-06 | 2014-05-27 | 삼성정밀화학 주식회사 | 양극 활물질, 이의 제조방법 및 이를 포함하는 리튬 이차 전지 |
| KR20140094959A (ko) * | 2013-01-23 | 2014-07-31 | 삼성에스디아이 주식회사 | 리튬 이차 전지용 전해액 및 이를 포함하는 리튬 이차 전지 |
| WO2014126256A1 (ja) | 2013-02-18 | 2014-08-21 | 株式会社日本触媒 | 電解液及びこれを備えたリチウムイオン二次電池 |
| US9246187B2 (en) | 2013-03-14 | 2016-01-26 | Uchicago Argonne, Llc | Non-aqueous electrolyte for lithium-ion battery |
| EP2980893B1 (en) | 2013-03-27 | 2017-09-13 | GS Yuasa International Ltd. | Active material for nonaqueous electrolyte energy storage elements |
| CN105074994B (zh) | 2013-03-27 | 2018-10-19 | 三菱化学株式会社 | 非水电解液及使用该非水电解液的非水电解质电池 |
| KR101785262B1 (ko) | 2013-07-08 | 2017-10-16 | 삼성에스디아이 주식회사 | 양극 활물질, 그 제조방법, 이를 채용한 양극 및 리튬이차전지 |
| JP2015022958A (ja) | 2013-07-22 | 2015-02-02 | トヨタ自動車株式会社 | 正極活物質、及び当該正極活物質を含むリチウム電池 |
| JP6090085B2 (ja) | 2013-09-27 | 2017-03-08 | トヨタ自動車株式会社 | 正極活物質及び正極活物質の製造方法並びにリチウム電池 |
| KR20150037085A (ko) | 2013-09-30 | 2015-04-08 | 주식회사 엘지화학 | 리튬 이차전지용 양극 활물질 및 이를 포함하는 리튬 이차전지 |
| JP6478090B2 (ja) | 2013-09-30 | 2019-03-06 | パナソニックIpマネジメント株式会社 | 非水電解質二次電池用正極活物質、非水電解質二次電池、及び非水電解質二次電池用正極活物質の製造方法 |
| JP6396153B2 (ja) | 2013-11-11 | 2018-09-26 | マクセルホールディングス株式会社 | リチウム二次電池 |
| JP2015118892A (ja) | 2013-12-20 | 2015-06-25 | 株式会社Gsユアサ | リチウム二次電池用正極活物質、その正極活物質の前駆体、リチウム二次電池用電極、リチウム二次電池及びバッテリーモジュール |
| JP6168603B2 (ja) * | 2013-12-27 | 2017-07-26 | 国立大学法人九州大学 | リチウムイオン電池用の正極活物質およびその製造方法 |
| JP6361518B2 (ja) | 2014-01-22 | 2018-07-25 | 三菱ケミカル株式会社 | 非水系電解液及びそれを用いた非水系電解液二次電池 |
| KR102183996B1 (ko) * | 2014-01-29 | 2020-11-27 | 삼성에스디아이 주식회사 | 양극 활물질 및 그 제조방법, 상기 양극 활물질을 채용한 양극과 리튬 전지 |
| KR102184372B1 (ko) * | 2014-02-10 | 2020-11-30 | 삼성에스디아이 주식회사 | 복합양극활물질, 그 제조방법 및 이를 채용한 양극 및 리튬전지 |
| EP2921455A1 (en) | 2014-03-20 | 2015-09-23 | Karlsruher Institut für Technologie | Oxyfluoride compounds for lithium-cells and batteries |
| CN103928672B (zh) | 2014-04-11 | 2016-07-06 | 武汉理工大学 | 一种锂离子电池用正极活性物质及其制备方法 |
| JP2016033902A (ja) | 2014-07-31 | 2016-03-10 | ソニー株式会社 | 正極活物質、正極および電池 |
| DE102015211110A1 (de) | 2015-06-17 | 2016-12-22 | Robert Bosch Gmbh | Aktivmaterial für eine Kathode einer Batteriezelle, Kathode und Batteriezelle |
| HUE046075T2 (hu) | 2015-08-26 | 2020-01-28 | Massachusetts Inst Technology | Kation-rendezetlen oxidok újratölthetõ lítium akkumulátorokhoz és más alkalmazásokhoz |
| JP6861403B2 (ja) * | 2015-09-16 | 2021-04-21 | パナソニックIpマネジメント株式会社 | 電池 |
-
2016
- 2016-08-30 JP JP2017540481A patent/JP6861403B2/ja active Active
- 2016-08-30 WO PCT/JP2016/003956 patent/WO2017047023A1/ja not_active Ceased
-
2017
- 2017-11-15 US US15/813,218 patent/US10833316B2/en active Active
-
2020
- 2020-09-30 US US17/039,801 patent/US11588143B2/en active Active
Also Published As
| Publication number | Publication date |
|---|---|
| US20210020911A1 (en) | 2021-01-21 |
| JPWO2017047023A1 (ja) | 2018-07-05 |
| US11588143B2 (en) | 2023-02-21 |
| US10833316B2 (en) | 2020-11-10 |
| WO2017047023A1 (ja) | 2017-03-23 |
| US20180069267A1 (en) | 2018-03-08 |
Similar Documents
| Publication | Publication Date | Title |
|---|---|---|
| JP6861403B2 (ja) | 電池 | |
| US11710816B2 (en) | Battery | |
| JP6793355B2 (ja) | 電池 | |
| JP6952247B2 (ja) | 正極活物質、および、電池 | |
| JP6952251B2 (ja) | 電池用正極活物質、および、電池 | |
| CN103066319B (zh) | 锂二次电池 | |
| JP6872705B2 (ja) | 正極活物質、および、電池 | |
| JP6979586B2 (ja) | 電池用正極活物質、および、電池用正極活物質を用いた電池 | |
| JP6846627B2 (ja) | 正極活物質、および、電池 | |
| JP6876955B2 (ja) | 正極活物質、および、電池 | |
| JP6793354B2 (ja) | 電池 | |
| US10497928B2 (en) | Positive-electrode active material and battery | |
| JPWO2018100792A1 (ja) | 正極活物質、および、正極活物質を用いた電池 | |
| JP6861401B2 (ja) | 正極活物質、および、電池 | |
| JP6876956B2 (ja) | 正極活物質、および、電池 | |
| JP2006286599A (ja) | 非水二次電池用負極 | |
| JP2021073666A (ja) | 正極活物質、および、電池 | |
| JP6712782B2 (ja) | 電池正極材料、および、リチウムイオン電池 | |
| WO2018139065A1 (ja) | 非水電解質二次電池 | |
| JP2019012686A (ja) | 負極活物質および電池 |
Legal Events
| Date | Code | Title | Description |
|---|---|---|---|
| A621 | Written request for application examination |
Free format text: JAPANESE INTERMEDIATE CODE: A621 Effective date: 20190731 |
|
| A131 | Notification of reasons for refusal |
Free format text: JAPANESE INTERMEDIATE CODE: A131 Effective date: 20200707 |
|
| A521 | Request for written amendment filed |
Free format text: JAPANESE INTERMEDIATE CODE: A523 Effective date: 20200902 |
|
| TRDD | Decision of grant or rejection written | ||
| A01 | Written decision to grant a patent or to grant a registration (utility model) |
Free format text: JAPANESE INTERMEDIATE CODE: A01 Effective date: 20210302 |
|
| A61 | First payment of annual fees (during grant procedure) |
Free format text: JAPANESE INTERMEDIATE CODE: A61 Effective date: 20210316 |
|
| R151 | Written notification of patent or utility model registration |
Ref document number: 6861403 Country of ref document: JP Free format text: JAPANESE INTERMEDIATE CODE: R151 |
