JP6077070B2 - 半導体装置 - Google Patents

半導体装置 Download PDF

Info

Publication number
JP6077070B2
JP6077070B2 JP2015160293A JP2015160293A JP6077070B2 JP 6077070 B2 JP6077070 B2 JP 6077070B2 JP 2015160293 A JP2015160293 A JP 2015160293A JP 2015160293 A JP2015160293 A JP 2015160293A JP 6077070 B2 JP6077070 B2 JP 6077070B2
Authority
JP
Japan
Prior art keywords
current
current source
circuit
signal
transistor
Prior art date
Legal status (The legal status is an assumption and is not a legal conclusion. Google has not performed a legal analysis and makes no representation as to the accuracy of the status listed.)
Expired - Fee Related
Application number
JP2015160293A
Other languages
English (en)
Other versions
JP2016021069A (ja
Inventor
木村 肇
肇 木村
Current Assignee (The listed assignees may be inaccurate. Google has not performed a legal analysis and makes no representation or warranty as to the accuracy of the list.)
Semiconductor Energy Laboratory Co Ltd
Original Assignee
Semiconductor Energy Laboratory Co Ltd
Priority date (The priority date is an assumption and is not a legal conclusion. Google has not performed a legal analysis and makes no representation as to the accuracy of the date listed.)
Filing date
Publication date
Application filed by Semiconductor Energy Laboratory Co Ltd filed Critical Semiconductor Energy Laboratory Co Ltd
Priority to JP2015160293A priority Critical patent/JP6077070B2/ja
Publication of JP2016021069A publication Critical patent/JP2016021069A/ja
Application granted granted Critical
Publication of JP6077070B2 publication Critical patent/JP6077070B2/ja
Anticipated expiration legal-status Critical
Expired - Fee Related legal-status Critical Current

Links

Images

Classifications

    • GPHYSICS
    • G09EDUCATION; CRYPTOGRAPHY; DISPLAY; ADVERTISING; SEALS
    • G09GARRANGEMENTS OR CIRCUITS FOR CONTROL OF INDICATING DEVICES USING STATIC MEANS TO PRESENT VARIABLE INFORMATION
    • G09G3/00Control arrangements or circuits, of interest only in connection with visual indicators other than cathode-ray tubes
    • G09G3/20Control arrangements or circuits, of interest only in connection with visual indicators other than cathode-ray tubes for presentation of an assembly of a number of characters, e.g. a page, by composing the assembly by combination of individual elements arranged in a matrix no fixed position being assigned to or needed to be assigned to the individual characters or partial characters
    • G09G3/22Control arrangements or circuits, of interest only in connection with visual indicators other than cathode-ray tubes for presentation of an assembly of a number of characters, e.g. a page, by composing the assembly by combination of individual elements arranged in a matrix no fixed position being assigned to or needed to be assigned to the individual characters or partial characters using controlled light sources
    • G09G3/30Control arrangements or circuits, of interest only in connection with visual indicators other than cathode-ray tubes for presentation of an assembly of a number of characters, e.g. a page, by composing the assembly by combination of individual elements arranged in a matrix no fixed position being assigned to or needed to be assigned to the individual characters or partial characters using controlled light sources using electroluminescent panels
    • GPHYSICS
    • G09EDUCATION; CRYPTOGRAPHY; DISPLAY; ADVERTISING; SEALS
    • G09GARRANGEMENTS OR CIRCUITS FOR CONTROL OF INDICATING DEVICES USING STATIC MEANS TO PRESENT VARIABLE INFORMATION
    • G09G3/00Control arrangements or circuits, of interest only in connection with visual indicators other than cathode-ray tubes
    • G09G3/20Control arrangements or circuits, of interest only in connection with visual indicators other than cathode-ray tubes for presentation of an assembly of a number of characters, e.g. a page, by composing the assembly by combination of individual elements arranged in a matrix no fixed position being assigned to or needed to be assigned to the individual characters or partial characters
    • G09G3/22Control arrangements or circuits, of interest only in connection with visual indicators other than cathode-ray tubes for presentation of an assembly of a number of characters, e.g. a page, by composing the assembly by combination of individual elements arranged in a matrix no fixed position being assigned to or needed to be assigned to the individual characters or partial characters using controlled light sources
    • G09G3/30Control arrangements or circuits, of interest only in connection with visual indicators other than cathode-ray tubes for presentation of an assembly of a number of characters, e.g. a page, by composing the assembly by combination of individual elements arranged in a matrix no fixed position being assigned to or needed to be assigned to the individual characters or partial characters using controlled light sources using electroluminescent panels
    • G09G3/32Control arrangements or circuits, of interest only in connection with visual indicators other than cathode-ray tubes for presentation of an assembly of a number of characters, e.g. a page, by composing the assembly by combination of individual elements arranged in a matrix no fixed position being assigned to or needed to be assigned to the individual characters or partial characters using controlled light sources using electroluminescent panels semiconductive, e.g. using light-emitting diodes [LED]
    • G09G3/3208Control arrangements or circuits, of interest only in connection with visual indicators other than cathode-ray tubes for presentation of an assembly of a number of characters, e.g. a page, by composing the assembly by combination of individual elements arranged in a matrix no fixed position being assigned to or needed to be assigned to the individual characters or partial characters using controlled light sources using electroluminescent panels semiconductive, e.g. using light-emitting diodes [LED] organic, e.g. using organic light-emitting diodes [OLED]
    • G09G3/3225Control arrangements or circuits, of interest only in connection with visual indicators other than cathode-ray tubes for presentation of an assembly of a number of characters, e.g. a page, by composing the assembly by combination of individual elements arranged in a matrix no fixed position being assigned to or needed to be assigned to the individual characters or partial characters using controlled light sources using electroluminescent panels semiconductive, e.g. using light-emitting diodes [LED] organic, e.g. using organic light-emitting diodes [OLED] using an active matrix
    • G09G3/3233Control arrangements or circuits, of interest only in connection with visual indicators other than cathode-ray tubes for presentation of an assembly of a number of characters, e.g. a page, by composing the assembly by combination of individual elements arranged in a matrix no fixed position being assigned to or needed to be assigned to the individual characters or partial characters using controlled light sources using electroluminescent panels semiconductive, e.g. using light-emitting diodes [LED] organic, e.g. using organic light-emitting diodes [OLED] using an active matrix with pixel circuitry controlling the current through the light-emitting element
    • G09G3/3241Control arrangements or circuits, of interest only in connection with visual indicators other than cathode-ray tubes for presentation of an assembly of a number of characters, e.g. a page, by composing the assembly by combination of individual elements arranged in a matrix no fixed position being assigned to or needed to be assigned to the individual characters or partial characters using controlled light sources using electroluminescent panels semiconductive, e.g. using light-emitting diodes [LED] organic, e.g. using organic light-emitting diodes [OLED] using an active matrix with pixel circuitry controlling the current through the light-emitting element the current through the light-emitting element being set using a data current provided by the data driver, e.g. by using a two-transistor current mirror
    • G09G3/325Control arrangements or circuits, of interest only in connection with visual indicators other than cathode-ray tubes for presentation of an assembly of a number of characters, e.g. a page, by composing the assembly by combination of individual elements arranged in a matrix no fixed position being assigned to or needed to be assigned to the individual characters or partial characters using controlled light sources using electroluminescent panels semiconductive, e.g. using light-emitting diodes [LED] organic, e.g. using organic light-emitting diodes [OLED] using an active matrix with pixel circuitry controlling the current through the light-emitting element the current through the light-emitting element being set using a data current provided by the data driver, e.g. by using a two-transistor current mirror the data current flowing through the driving transistor during a setting phase, e.g. by using a switch for connecting the driving transistor to the data driver
    • GPHYSICS
    • G09EDUCATION; CRYPTOGRAPHY; DISPLAY; ADVERTISING; SEALS
    • G09GARRANGEMENTS OR CIRCUITS FOR CONTROL OF INDICATING DEVICES USING STATIC MEANS TO PRESENT VARIABLE INFORMATION
    • G09G3/00Control arrangements or circuits, of interest only in connection with visual indicators other than cathode-ray tubes
    • G09G3/20Control arrangements or circuits, of interest only in connection with visual indicators other than cathode-ray tubes for presentation of an assembly of a number of characters, e.g. a page, by composing the assembly by combination of individual elements arranged in a matrix no fixed position being assigned to or needed to be assigned to the individual characters or partial characters
    • G09G3/22Control arrangements or circuits, of interest only in connection with visual indicators other than cathode-ray tubes for presentation of an assembly of a number of characters, e.g. a page, by composing the assembly by combination of individual elements arranged in a matrix no fixed position being assigned to or needed to be assigned to the individual characters or partial characters using controlled light sources
    • G09G3/30Control arrangements or circuits, of interest only in connection with visual indicators other than cathode-ray tubes for presentation of an assembly of a number of characters, e.g. a page, by composing the assembly by combination of individual elements arranged in a matrix no fixed position being assigned to or needed to be assigned to the individual characters or partial characters using controlled light sources using electroluminescent panels
    • G09G3/32Control arrangements or circuits, of interest only in connection with visual indicators other than cathode-ray tubes for presentation of an assembly of a number of characters, e.g. a page, by composing the assembly by combination of individual elements arranged in a matrix no fixed position being assigned to or needed to be assigned to the individual characters or partial characters using controlled light sources using electroluminescent panels semiconductive, e.g. using light-emitting diodes [LED]
    • G09G3/3208Control arrangements or circuits, of interest only in connection with visual indicators other than cathode-ray tubes for presentation of an assembly of a number of characters, e.g. a page, by composing the assembly by combination of individual elements arranged in a matrix no fixed position being assigned to or needed to be assigned to the individual characters or partial characters using controlled light sources using electroluminescent panels semiconductive, e.g. using light-emitting diodes [LED] organic, e.g. using organic light-emitting diodes [OLED]
    • G09G3/3275Details of drivers for data electrodes
    • G09G3/3283Details of drivers for data electrodes in which the data driver supplies a variable data current for setting the current through, or the voltage across, the light-emitting elements
    • GPHYSICS
    • G09EDUCATION; CRYPTOGRAPHY; DISPLAY; ADVERTISING; SEALS
    • G09GARRANGEMENTS OR CIRCUITS FOR CONTROL OF INDICATING DEVICES USING STATIC MEANS TO PRESENT VARIABLE INFORMATION
    • G09G2300/00Aspects of the constitution of display devices
    • G09G2300/08Active matrix structure, i.e. with use of active elements, inclusive of non-linear two terminal elements, in the pixels together with light emitting or modulating elements
    • G09G2300/0809Several active elements per pixel in active matrix panels
    • GPHYSICS
    • G09EDUCATION; CRYPTOGRAPHY; DISPLAY; ADVERTISING; SEALS
    • G09GARRANGEMENTS OR CIRCUITS FOR CONTROL OF INDICATING DEVICES USING STATIC MEANS TO PRESENT VARIABLE INFORMATION
    • G09G2300/00Aspects of the constitution of display devices
    • G09G2300/08Active matrix structure, i.e. with use of active elements, inclusive of non-linear two terminal elements, in the pixels together with light emitting or modulating elements
    • G09G2300/0809Several active elements per pixel in active matrix panels
    • G09G2300/0842Several active elements per pixel in active matrix panels forming a memory circuit, e.g. a dynamic memory with one capacitor
    • GPHYSICS
    • G09EDUCATION; CRYPTOGRAPHY; DISPLAY; ADVERTISING; SEALS
    • G09GARRANGEMENTS OR CIRCUITS FOR CONTROL OF INDICATING DEVICES USING STATIC MEANS TO PRESENT VARIABLE INFORMATION
    • G09G2300/00Aspects of the constitution of display devices
    • G09G2300/08Active matrix structure, i.e. with use of active elements, inclusive of non-linear two terminal elements, in the pixels together with light emitting or modulating elements
    • G09G2300/0809Several active elements per pixel in active matrix panels
    • G09G2300/0842Several active elements per pixel in active matrix panels forming a memory circuit, e.g. a dynamic memory with one capacitor
    • G09G2300/0852Several active elements per pixel in active matrix panels forming a memory circuit, e.g. a dynamic memory with one capacitor being a dynamic memory with more than one capacitor
    • GPHYSICS
    • G09EDUCATION; CRYPTOGRAPHY; DISPLAY; ADVERTISING; SEALS
    • G09GARRANGEMENTS OR CIRCUITS FOR CONTROL OF INDICATING DEVICES USING STATIC MEANS TO PRESENT VARIABLE INFORMATION
    • G09G2300/00Aspects of the constitution of display devices
    • G09G2300/08Active matrix structure, i.e. with use of active elements, inclusive of non-linear two terminal elements, in the pixels together with light emitting or modulating elements
    • G09G2300/0809Several active elements per pixel in active matrix panels
    • G09G2300/0842Several active elements per pixel in active matrix panels forming a memory circuit, e.g. a dynamic memory with one capacitor
    • G09G2300/0861Several active elements per pixel in active matrix panels forming a memory circuit, e.g. a dynamic memory with one capacitor with additional control of the display period without amending the charge stored in a pixel memory, e.g. by means of additional select electrodes
    • GPHYSICS
    • G09EDUCATION; CRYPTOGRAPHY; DISPLAY; ADVERTISING; SEALS
    • G09GARRANGEMENTS OR CIRCUITS FOR CONTROL OF INDICATING DEVICES USING STATIC MEANS TO PRESENT VARIABLE INFORMATION
    • G09G2310/00Command of the display device
    • G09G2310/02Addressing, scanning or driving the display screen or processing steps related thereto
    • G09G2310/0202Addressing of scan or signal lines
    • G09G2310/0221Addressing of scan or signal lines with use of split matrices
    • GPHYSICS
    • G09EDUCATION; CRYPTOGRAPHY; DISPLAY; ADVERTISING; SEALS
    • G09GARRANGEMENTS OR CIRCUITS FOR CONTROL OF INDICATING DEVICES USING STATIC MEANS TO PRESENT VARIABLE INFORMATION
    • G09G2310/00Command of the display device
    • G09G2310/02Addressing, scanning or driving the display screen or processing steps related thereto
    • G09G2310/0264Details of driving circuits
    • G09G2310/027Details of drivers for data electrodes, the drivers handling digital grey scale data, e.g. use of D/A converters
    • GPHYSICS
    • G09EDUCATION; CRYPTOGRAPHY; DISPLAY; ADVERTISING; SEALS
    • G09GARRANGEMENTS OR CIRCUITS FOR CONTROL OF INDICATING DEVICES USING STATIC MEANS TO PRESENT VARIABLE INFORMATION
    • G09G3/00Control arrangements or circuits, of interest only in connection with visual indicators other than cathode-ray tubes
    • G09G3/20Control arrangements or circuits, of interest only in connection with visual indicators other than cathode-ray tubes for presentation of an assembly of a number of characters, e.g. a page, by composing the assembly by combination of individual elements arranged in a matrix no fixed position being assigned to or needed to be assigned to the individual characters or partial characters
    • G09G3/2007Display of intermediate tones
    • G09G3/2018Display of intermediate tones by time modulation using two or more time intervals
    • GPHYSICS
    • G09EDUCATION; CRYPTOGRAPHY; DISPLAY; ADVERTISING; SEALS
    • G09GARRANGEMENTS OR CIRCUITS FOR CONTROL OF INDICATING DEVICES USING STATIC MEANS TO PRESENT VARIABLE INFORMATION
    • G09G3/00Control arrangements or circuits, of interest only in connection with visual indicators other than cathode-ray tubes
    • G09G3/20Control arrangements or circuits, of interest only in connection with visual indicators other than cathode-ray tubes for presentation of an assembly of a number of characters, e.g. a page, by composing the assembly by combination of individual elements arranged in a matrix no fixed position being assigned to or needed to be assigned to the individual characters or partial characters
    • G09G3/2007Display of intermediate tones
    • G09G3/2018Display of intermediate tones by time modulation using two or more time intervals
    • G09G3/2022Display of intermediate tones by time modulation using two or more time intervals using sub-frames

Landscapes

  • Engineering & Computer Science (AREA)
  • Physics & Mathematics (AREA)
  • Computer Hardware Design (AREA)
  • General Physics & Mathematics (AREA)
  • Theoretical Computer Science (AREA)
  • Control Of Indicators Other Than Cathode Ray Tubes (AREA)
  • Control Of El Displays (AREA)
  • Electroluminescent Light Sources (AREA)
  • Electronic Switches (AREA)

Description

本発明は信号線駆動回路の技術に関する。また前記信号線駆動回路を有する発光装置の
技術に関する。
近年、画像の表示を行う表示装置の開発が進められている。表示装置としては、液晶素
子を用いて画像の表示を行う液晶表示装置が、高画質、薄型、軽量などの利点を活かして
幅広く用いられている。
一方、自発光素子である発光素子を用いた発光装置の開発も近年進められている。発光
装置は、既存の液晶表示装置がもつ利点に加えて、動画表示に適した速い応答速度、低電
圧、低消費電力などの特徴を有し、次世代ディスプレイとして大きく注目されている。
発光装置に多階調の画像を表示する際の階調表現方法としては、アナログ階調方式とデ
ジタル階調方式が挙げられる。前者のアナログ階調方式は、発光素子に流れる電流の大き
さをアナログ的に制御して階調を得るという方式である。また後者のデジタル階調方式は
、発光素子がオン状態(輝度がほぼ100%の状態)と、オフ状態(輝度がほぼ0%の状
態)の2つの状態のみによって駆動するという方式である。デジタル階調方式においては
、このままでは2階調しか表示できないため、別の方式と組み合わせて多階調の画像を表
示する方法が提案されている。
また画素の駆動方法としては、画素に入力する信号の種類で分類すると、電圧入力方式
と電流入力方式が挙げられる。前者の電圧入力方式は、画素に入力するビデオ信号(電圧
)を駆動用素子のゲート電極に入力して、該駆動用素子を用いて発光素子の輝度を制御す
る方式である。また後者の電流入力方式では、設定された信号電流を発光素子に流すこと
により、該発光素子の輝度を制御する方式である。
ここで、電圧入力方式を適用した発光装置における画素の回路の一例とその駆動方法に
ついて、図16(A)を用いて簡単に説明する。図16(A)に示した画素は、信号線5
01、走査線502、スイッチング用TFT503、駆動用TFT504、容量素子50
5、発光素子506、電源507、508を有する。
走査線502の電位が変化してスイッチング用TFT503がオンすると、信号線50
1に入力されているビデオ信号は、駆動用TFT504のゲート電極へと入力される。入
力されたビデオ信号の電位に従って、駆動用TFT504のゲート・ソース間電圧が決定
し、駆動用TFT504のソース・ドレイン間を流れる電流が決定する。この電流は発光
素子506に供給され、該発光素子506は発光する。
発光素子を駆動する半導体素子としては、ポリシリコントランジスタが用いられる。し
かし、ポリシリコントランジスタは、結晶粒界における欠陥に起因して、しきい値やオン
電流等の電気的特性にバラツキが生じやすい。図16(A)に示した画素において、駆動
用TFT504の特性が画素毎にばらつくと、同じビデオ信号を入力した場合にも、それ
に応じた駆動用TFT504のドレイン電流の大きさが異なるため、発光素子506の輝
度はばらつく。
上記問題を解決するためには、発光素子を駆動するTFTの特性に左右されず、所望の
電流を発光素子に供給すればよい。この観点から、TFTの特性に左右されずに発光素子
に供給する電流の大きさを制御できる電流入力方式が提案されている。
次いで、電流入力方式を適用した発光装置における画素の回路の一例とその駆動方法に
ついて、図16(B)、17を用いて簡単に説明する。図16(B)に示した画素は、信
号線601、第1〜第3の走査線602〜604、電流線605、TFT606〜609
、容量素子610、発光素子611を有する。電流源回路612は、各信号線(各列)に
配置される。
図17を用いて、ビデオ信号の書き込みから発光までの動作について説明する。図17
中、各部を示す図番は、図16に準ずる。図17(A)〜(C)は、電流の経路を模式的
に示している。図17(D)は、ビデオ信号の書き込み時における各経路を流れる電流の
関係を示し、図17(E)は、同じくビデオ信号の書き込み時に容量素子610に蓄積さ
れる電圧、つまりTFT608のゲート・ソース間電圧を示す。
まず、第1及び第2の走査線602、603にパルスが入力され、TFT606、60
7がオンする。このとき、信号線601を流れる電流は信号電流をIdataと表記する
。信号線601には、信号電流Idataが流れているので、図17(A)に示すように
、画素内では、電流の経路はI1とI2とに分かれて流れる。これらの関係を図17(D
)に示すが、Idata=I1+I2であることは言うまでもない。
TFT606がオンした瞬間には、まだ容量素子610には電荷が保持されていないた
め、TFT608はオフである。よって、I2=0となり、Idata=I1となる。こ
の間は、容量素子610の両電極間に電流が流れて、該容量素子610において電荷の蓄
積が行われている。
そして徐々に容量素子610に電荷が蓄積され、両電極間に電位差が生じ始める(図1
7(E))。両電極の電位差がVthとなると(図17(E)、A点)、TFT608が
オンして、I2が生ずる。前述したように、Idata=I1+I2であるので、I1は
次第に減少するが、依然電流は流れており、容量素子610にはさらに電荷の蓄積が行わ
れる。
容量素子610では、その両電極の電位差、つまりTFT608のゲート・ソース間電
圧が所望の電圧になるまで電荷の蓄積が続く。つまりTFT608がIdataの電流を
流すことが出来るだけの電圧になるまで電荷の蓄積が続く。やがて電荷の蓄積が終了する
(図17(E)、B点)と、電流I1は流れなくなる。また、TFT608は完全にオン
しているので、Idata=I2となる(図17(B))。以上の動作により、画素に対
する信号の書き込み動作が完了する。最後に第1及び第2の走査線602、603の選択
が終了し、TFT606、607がオフする。
続いて、第3の走査線604にパルスが入力され、TFT609がオンする。容量素子
610には、先ほど書き込んだVGSが保持されているため、TFT608はオンしてお
り、電流線605からIdataに等しい電流が流れる。これにより発光素子611が発
光する。このとき、TFT608が飽和領域において動作するようにしておけば、TFT
608のソース・ドレイン間電圧が変化したとしても、発光素子611に流れる発光電流
IELは変わりなく流れる。
このように電流入力方式とは、TFT609のドレイン電流が電流源回路612で設定
された信号電流Idataと同じ電流値になるように設定し、このドレイン電流に応じた
輝度で発光素子611が発光を行う方式をいう。上記構成の画素を用いることで、画素を
構成するTFTの特性バラツキの影響を抑制して、所望の電流を発光素子に供給すること
が出来る。
但し、電流入力方式を適用した発光装置では、ビデオ信号に応じた信号電流を正確に画
素に入力する必要がある。しかし、信号電流を画素に入力する役目を担う信号線駆動回路
(図16では電流源回路612に相当)をポリシリコントランジスタで形成すると、その
特性にバラツキが生じるため、該信号電流にもバラツキが生じてしまう。
つまり電流入力方式を適用した発光装置では、画素及び信号線駆動回路を構成するTF
Tの特性バラツキの影響を抑制する必要がある。しかし図16(B)に示す構成の画素を
用いることによって、画素を構成するTFTの特性バラツキの影響を抑制することは出来
るが、信号線駆動回路を構成するTFTの特性バラツキの影響を抑制することは困難とな
る。
そこで、電流入力方式の画素を駆動する信号線駆動回路に配置される電流源回路の構成
とその動作について図18を用いて簡単に説明する。
図18(A)(B)における電流源回路612は、図16(B)で示した電流源回路6
12に相当する。電流源回路612は、定電流源555〜558を有する。定電流源55
5〜558は、端子551〜554を介して入力される信号により制御される。定電流源
555〜558から供給される電流の大きさは各々異なっており、その比は1:2:4:
8となるように設定されている。
図18(B)は電流源回路612の回路構成を示した図であり、図中の定電流源555
〜558はトランジスタに相当する。トランジスタ555〜558のオン電流は、L(ゲ
ート長)/W(ゲート幅)値の比(1:2:4:8)に起因して1:2:4:8となる。
そうすると電流源回路612は、2=16段階で電流の大きさを制御することが出来る
。つまり4ビットのデジタルビデオ信号に対して、16階調のアナログ値を持つ電流を出
力することが出来る。なお、この電流源回路612は、ポリシリコントランジスタで形成
され、画素部と同一基板上に一体形成される。
このように、従来において、電流源回路を内蔵した信号線駆動回路は提案されている。
(例えば、非特許文献1、2参照)
デジタル階調方式においては、多階調の画像を表現するためにデジタル階調方式と面積
階調方式とを組み合わせた方式(以下面積階調方式と表記)やデジタル階調方式と時間階
調方式とを組み合わせた方式(以下時間階調方式と表記)がある。面積階調方式とは、一
画素を複数の副画素に分割し、それぞれの副画素で発光、又は非発光を選択することで、
一画素において発光している面積と、それ以外の面積との差をもって階調を表現する方式
である。また時間階調方式とは、発光素子が発光している時間を制御することにより、階
調表現を行う方式である。具体的には、1フレーム期間を長さの異なる複数のサブフレー
ム期間に分割し、各期間での発光素子の発光、又は非発光を選択することで、1フレーム
期間内で発光した時間の長さの差をもって階調を表現する。デジタル階調方式においては
、多階調の画像を表現するためにデジタル階調方式と時間階調方式とを組み合わせた方式
(以下時間階調方式と表記)が提案されている。(例えば、特許文献1参照)
特開2001−5426号公報
服部励治、他3名、「信学技報」、ED2001−8、電流指定型ポリシリコンTFTアクティブマトリクス駆動有機LEDディスプレイの回路シミュレーション、p.7−14 Reiji H et al.、「AM−LCD'01」、OLED−4,p.223−226
上述した電流源回路612は、L/W値を設計することによって、トランジスタのオン
電流を1:2:4:8になるように設定している。しかしトランジスタ555〜トランジ
スタ558は、作製工程や使用する基板の相違によって生じるゲート長、ゲート幅及びゲ
ート絶縁膜の膜厚のバラツキの要因が重なって、しきい値や移動度にバラツキが生じてし
まう。そのため、トランジスタ555〜トランジスタ558のオン電流を設計通りに正確
に1:2:4:8にすることは困難である。つまり列によって、画素に供給する電流値に
バラツキが生じてしまう。
トランジスタ555〜558のオン電流を設計通りに正確に1:2:4:8にするため
には、全ての列にある電流源回路の特性を、全て同一にする必要がある。つまり、信号線
駆動回路の有する電流源回路のトランジスタの特性を、全て同一にする必要があるが、そ
の実現は非常に困難である。
本発明は上記の問題点を鑑みてなされたものであり、TFTの特性バラツキの影響を抑
制して、所望の信号電流を画素に供給することができる信号線駆動回路を提供する。さら
に本発明は、TFTの特性バラツキの影響を抑制した回路構成の画素を用いることにより
、画素及び駆動回路の両方を構成するTFTの特性バラツキの影響を抑制して、所望の信
号電流を発光素子に供給することができる発光装置を提供する。
本発明は、TFTの特性バラツキの影響を抑制した所望の一定電流を流す電気回路(本
明細書では電流源回路とよぶ)を設けた新しい構成の信号線駆動回路を提供する。さらに
本発明は、前記信号線駆動回路を具備した発光装置を提供する。
本発明は各列(各信号線など)に電流源回路が配置された信号線駆動回路を提供する。
そして本発明の信号線駆動回路では、ビデオ信号用定電流源を用いて、各信号線に配置さ
れた電流源回路に信号電流を設定する。信号電流が設定された電流源回路では、ビデオ信
号用定電流源に比例した電流を流す能力を有する。そのため、前記電流源回路を用いるこ
とにより、信号線駆動回路を構成するTFTの特性バラツキの影響を抑制することが出来
る。
なお、ビデオ信号用定電流源は、基板上に信号線駆動回路と一体形成してもよい。また
はビデオ信号用電流として、基板の外部からIC等を用いて電流を入力してもよい。この
場合には、ビデオ信号用電流として、基板の外部から信号線駆動回路に一定の電流、もし
くは、ビデオ信号に応じた電流が供給される。
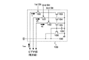
本発明の信号線駆動回路の概略について図1、2を用いて説明する。図1、2には、i
列目から(i+2)列目の3本の信号線にかかる周辺の信号線駆動回路が示されている。
図1において、信号線駆動回路403には、各信号線(各列)に電流源回路420が配
置されている。電流源回路420は、端子a、端子b及び端子cを有する。端子aからは
、設定信号が入力される。端子bへは、電流線に接続されたビデオ信号用定電流源109
から電流(信号電流)が供給される。また端子cからは、電流源回路420に保持された
信号をスイッチ101を介して出力する。つまり電流源回路420は、端子aから入力さ
れる設定信号により制御され、端子bからは供給される信号電流が入力され、該信号電流
に比例した電流を端子cより出力する。なおスイッチ101は、電流源回路420と信号
線に接続された画素との間に設けられ、前記スイッチ101のオン又はオフは、ラッチパ
ルスにより制御される。
次いで図1とは異なる構成の本発明の信号線駆動回路について図2を用いて説明する。
図2において、信号線駆動回路403には、信号線ごと(各列)に2つ以上の電流源回路
420が設けられている。そして電流源回路420は複数の電流源回路を有する。そして
ここでは仮に2つの電流源回路を有するとして、電流源回路420は、第1電流源回路4
21及び第2電流源回路422を有するとする。第1電流源回路421及び第2電流源回
路422は、端子a、端子b、端子c及び端子dを有する。端子aからは、設定信号が入
力される。端子bからは、電流線に接続されたビデオ信号用定電流源109から電流(信
号電流)が供給される。また端子cからは、第1電流源回路421及び第2電流源回路4
22に保持された信号を出力する。つまり電流源回路420は、端子aから入力される設
定信号及び端子dから入力される制御信号により制御され、端子bからは供給される信号
電流が入力され、該信号電流に比例した電流(信号電流)を端子cより出力する。なおス
イッチ101は、電流源回路420と信号線に接続された画素の間に設けられ、前記スイ
ッチ101のオン又はオフは、ラッチパルスにより制御される。また端子dからは、制御
信号が入力される。
なお本明細書では、電流源回路420に対して信号電流Idataの書き込みを終了さ
せる(信号電流を設定する、信号電流によって信号電流に比例した電流を出力できるよう
に設定する、電流源回路420が信号電流を出力できるように定める)動作を設定動作と
呼び、信号電流Idataを画素に入力する動作を入力動作(電流源回路420が信号電
流を出力する動作)と呼ぶことにする。図2において、第1電流源回路421及び第2電
流源回路422に入力される制御信号は互いに異なっているため、第1電流源回路421
及び第2電流源回路422は、一方は設定動作を行い、他方は入力動作を行う。これによ
り同時に2つの動作を行うことが出来る。
本発明において、発光装置とは発光素子を有する画素部及び信号線駆動回路が基板とカ
バー材との間に封入されたパネル、前記パネルにIC等を実装したモジュール、ディスプ
レイなどを範疇に含む。つまり発光装置とは、パネル、モジュール及びディスプレイなど
の総称に相当する。
本発明の信号線駆動回路では、各々が電流源回路を具備したラッチが配置される。また
本発明の信号線駆動回路は、アナログ階調方式及びデジタル階調方式の両者に適用するこ
とが可能である。
本発明では、TFTは、通常の単結晶を用いたトランジスタや、SOIを用いたトラン
ジスタ、有機トランジスタなどに置き換えて適用することができる。
本発明は、複数の信号線の各々に対応した第1及び第2電流源回路、並びにシフトレジ
スタ及びn個のビデオ信号用定電流源を有する信号線駆動回路であって(nは1以上の自
然数)、前記第1及び前記第2電流源回路の各々は、容量手段と供給手段を有し、前記シ
フトレジスタから供給されるサンプリングパルスと外部から供給されるラッチパルスに従
って、前記第1及び前記第2電流源回路の一方が有する容量手段は、前記n個のビデオ信
号用定電流源の各々から供給される電流を加算した電流を電圧に変換し、他方が有する供
給手段は前記変換された電圧に応じた電流を供給し、前記n個のビデオ信号用定電流源か
ら供給される電流値は、2:2:・・・:2に設定されることを特徴とする。
本発明は、複数の信号線の各々に対応した(2×n)個の電流源回路、並びにシフトレ
ジスタ及びn個のビデオ信号用定電流源を有する信号線駆動回路であって(nは1以上の
自然数)、前記(2×n)個の電流源回路は、前記シフトレジスタから供給されるサンプ
リングパルスと外部から供給されるラッチパルスに従って、前記n個のビデオ信号用定電
流源のいずれか1つから供給された電流を電圧に変換する容量手段と、前記変換された電
圧に応じた電流を供給する供給手段を有し、前記複数の信号線の各々には、前記(2×n
)個の電流源回路から選択されたn個から電流が供給され、前記n個のビデオ信号用定電
流源から供給される電流値は、2:2:・・・:2に設定されることを特徴とする
上記構成を有する本発明の信号線駆動回路は、シフトレジスタと、2個以上の電流源回
路が配置されたラッチを有する。供給手段及び容量手段を有する電流源回路は、構成する
トランジスタの特性バラツキの影響を受けることなく、所定の値の電流を供給することが
できる。また、前記信号線駆動回路には、論理演算子が配置され、前記論理演算子の2つ
の入力端子には、シフトレジスタから供給されるサンプリングパルスと、外部から供給さ
れるラッチパルスが入力される。そして、本発明では、前記論理演算子の出力端子から出
力される信号を用いて、ラッチに配置された2つの以上の電流源回路を制御する。この場
合、前記電流源回路では、供給された電流を電圧に変換する動作に時間をかけて正確に行
うことが出来る。
本発明は上記のような電流源回路を有する信号線駆動回路を提供する。さらに本発明は
、TFTの特性バラツキの影響を抑制した回路構成の画素を用いることにより、画素及び
駆動回路の両方を構成するTFTの特性バラツキの影響を抑制し、また所望の信号電流I
dataを発光素子に供給することができる発光装置を提供する。
信号線駆動回路の図。 信号線駆動回路の図。 信号線駆動回路の図(1ビット、2ビット)。 信号線駆動回路の図(1ビット)。 信号線駆動回路の図(2ビット)。 電流源回路の回路図。 電流源回路の回路図。 電流源回路の回路図。 ビデオ信号用定電流源の回路図。 ビデオ信号用定電流源の回路図。 ビデオ信号用定電流源の回路図。 本発明の発光装置の外観を示す図。 発光装置の画素の回路図。 本発明の発光装置の駆動方法を説明する図。 本発明の発光装置を示す図。 発光装置の画素の回路図。 発光装置の画素の動作を説明する図。 電流源回路の図。 電流源回路の動作を説明する図。 電流源回路の動作を説明する図。 電流源回路の動作を説明する図。 本発明の発光装置が適用される電子機器を示す図。 ビデオ信号用定電流源の回路図。 ビデオ信号用定電流源の回路図。 ビデオ信号用定電流源の回路図。 信号線駆動回路の図(2ビット)。 電流源回路の回路図。 電流源回路の回路図。 電流源回路の回路図。 電流源回路の回路図。 電流源回路の回路図。 電流源回路の回路図。 信号線駆動回路の図。 信号線駆動回路の図。 信号線駆動回路の図。 信号線駆動回路の図。 信号線駆動回路の図。 信号線駆動回路の図。 信号線駆動回路の図。 信号線駆動回路の図。 信号線駆動回路の図。 信号線駆動回路の図。 信号線駆動回路の図。 ビデオ信号用定電流源の回路図。 ビデオ信号用定電流源の回路図。 ビデオ信号用定電流源の回路図。 ビデオ信号用定電流源の回路図。 信号線駆動回路の図。 電流源回路のレイアウト図。 電流源回路の回路図。
(実施の形態1)
本実施の形態では、本発明の信号線駆動回路に具備される電流源回路420の回路構成
とその動作の例について説明する。
本発明では端子aから入力される設定信号とは論理演算子の出力端子から入力される信
号を示す。つまり図1における設定信号とは、論理演算子の出力端子から入力される信号
に相当する。そして本発明では、論理演算子の出力端子から入力される信号に合わせて、
電流源回路420の設定を行う。
前記論理演算子の2つの入力端子には、一方にはシフトレジスタからのサンプリングパ
ルスが入力され、他方にはラッチパルスが入力される。論理演算子では、入力された2つ
の信号の論理演算を行って、出力端子から信号を出力する。そして電流源回路では、前記
論理演算子の出力端子から入力される信号によって、設定動作又は入力動作を行う。
なおシフトレジスタとは、フリップフロップ回路(FF)等を複数列用いた構成を有す
るものである。そして前記シフトレジスタにクロック信号(S−CLK)、スタートパル
ス(S−SP)及びクロック反転信号(S−CLKb)が入力されて、これらの信号のタ
イミングに従って、順次出力される信号をサンプリングパルスとよぶ。
図6(A)において、スイッチ104、105a、106と、トランジスタ102(n
チャネル型)と、該トランジスタ102のゲート・ソース間電圧VGSを保持する容量素
子103とを有する回路が電流源回路420に相当する。
電流源回路420では、端子aを介して入力される信号によってスイッチ104、スイ
ッチ105aがオンとなる。そうすると、電流線(ビデオ線)に接続されたビデオ信号用
定電流源109(以下定電流源109と表記)から、端子bを介して電流が供給され、容
量素子103に電荷が保持される。そして定電流源109から流される信号電流Idat
aがトランジスタ102のドレイン電流と等しくなるまで、容量素子103に電荷が保持
される。
次いで、端子aを介して入力される信号により、スイッチ104、スイッチ105aを
オフにする。そうすると、容量素子103に所定の電荷が保持されているため、トランジ
スタ102は、信号電流Idataに応じた大きさの電流を流す能力をもつことになる。
そして仮にスイッチ101、スイッチ106が導通状態になると、端子cを介して信号線
に接続された画素に電流が流される。このとき、トランジスタ102のゲート電圧は、容
量素子103により所定のゲート電圧に維持されているため、トランジスタ102のドレ
イン領域には信号電流Idataに応じたドレイン電流が流れる。そのため、信号線駆動
回路を構成するトランジスタの特性バラツキの影響を抑制して、画素に入力される電流の
大きさを制御できる。
なおスイッチ104及びスイッチ105aの接続構成は図6(A)に示す構成に限定さ
れない。例えば、スイッチ104の一方を端子bに接続し、他方をトランジスタ102の
ゲート電極の間に接続し、更にスイッチ105aの一方をスイッチ104を介して端子b
に接続して、他方をスイッチ116に接続する構成でもよい。そしてスイッチ104及び
スイッチ105aは、端子aから入力される信号により制御される。
或いは、スイッチ102は端子bとトランジスタ104のゲート電極の間に配置し、ス
イッチ105aは端子bとスイッチ116の間に配置してもよい。つまり、図27(A)
を参照すると、設定動作時には図27(A1)のように接続され、入力動作時には図27
(A2)のように接続されるように、配線やスイッチを配置するとよい。配線の本数やス
イッチの個数は特に限定されない。
なお図6(A)に示す電流源回路420では、信号を設定する動作(設定動作)と、信
号を画素に入力する動作(入力動作)、つまり、電流源回路から電流を出力する動作を同
時に行うことは出来ない。
図6(B)において、スイッチ124、スイッチ125と、トランジスタ122(nチ
ャネル型)と、該トランジスタ122のゲート・ソース間電圧VGSを保持する容量素子
123と、とトランジスタ126(nチャネル型)とを有する回路が電流源回路420に
相当する。トランジスタ126はスイッチ又は電流源用トランジスタの一部のどちらかと
して機能する。
図6(B)に示す電流源回路420では、端子aを介して入力される信号によってスイ
ッチ124、スイッチ125がオンとなる。そうすると、電流線(ビデオ線)に接続され
た定電流源109から、端子bを介して電流が供給され、容量素子123に電荷が保持さ
れる。そして定電流源109から流される信号電流Idataがトランジスタ122のド
レイン電流と等しくなるまで、容量素子123に所定の電荷が保持される。なおスイッチ
124がオンになると、トランジスタ126のゲート・ソース間電圧VGSが0Vとなる
ので、トランジスタ126はオフになる。
次いで、端子aを介して入力される信号により、スイッチ124、スイッチ125をオ
フにする。そうすると、容量素子123に所定の電荷が保持されているため、トランジス
タ122は、信号電流Idataの大きさの電流を流す能力をもつことになる。そして仮
にスイッチ101が導通状態になると、端子cを介して信号線に接続された画素に電流が
流される。このとき、トランジスタ122のゲート電圧は、容量素子123により所定の
ゲート電圧に維持されているため、トランジスタ122のドレイン領域には信号電流Id
ataに応じたドレイン電流が流れる。そのため、信号線駆動回路を構成するトランジス
タの特性バラツキの影響を抑制して、画素に入力される電流の大きさを制御できる。
なおスイッチ124、125がオフすると、トランジスタ126のゲートとソースは同
電位ではなくなる。その結果、容量素子123に保持された電荷がトランジスタ126の
方にも分配され、トランジスタ126が自動的にオンになる。ここで、トランジスタ12
2、126は直列に接続され、且つ互いのゲートが接続されている。従って、トランジス
タ122、126はマルチゲートのトランジスタとして動作する。つまり、設定動作時と
入力動作時とでは、トランジスタのゲート長Lが異なることになる。従って、設定動作時
に端子bから供給される電流値は、入力動作時に端子cから供給される電流値よりも大き
くすることが出来る。そのため、端子bと定電流源109との間に配置された様々な負荷
(配線抵抗、交差容量など)を、より早く充電することができる。従って、設定動作を素
早く完了させることができる。
なおスイッチの個数、配線の本数及びその接続構成は特に限定されない。つまり、図2
7(B)を参照すると、設定動作時には図27(B1)のように接続され、入力動作時に
は図27(B2)のように接続されるように、配線やスイッチを配置するとよい。特に、
図27(B2)においては、容量素子123に貯まった電荷が漏れないようになっていれ
ばよい。配線の本数やスイッチの個数は特に限定されない。
なお図6(B)に示す電流源回路420では、信号を設定する動作(設定動作)と、信
号を画素に入力する動作(入力動作)、つまり、電流源回路から電流を出力する動作を同
時に行うことは出来ない。
図6(C)において、スイッチ108、スイッチ110、トランジスタ105、106
(nチャネル型)、該トランジスタ105b、106のゲート・ソース間電圧VGSを保
持する容量素子107とを有する回路が電流源回路420に相当する。
図6(C)に示す電流源回路420では、端子aを介して入力される信号によってスイ
ッチ108、スイッチ110がオンとなる。そうすると電流線に接続された定電流源10
9から、端子bを介して電流が供給され、容量素子107に電荷が保持される。そして定
電流源109から流される信号電流Idataがトランジスタ105bのドレイン電流と
等しくなるまで、容量素子107に電荷が保持される。このとき、トランジスタ105b
及びトランジスタ106のゲート電極は互いに接続されているので、トランジスタ105
b及びトランジスタ106のゲート電圧が、容量素子107によって保持されている。
次いで、端子aを介して入力される信号により、スイッチ108、スイッチ110をオ
フにする。そうすると、容量素子107に所定の電荷が保持されるため、トランジスタ1
06は、信号電流Idataに応じた大きさの電流を流す能力をもつことになる。そして
仮にスイッチ101が導通状態になると、端子cを介して信号線に接続された画素に電流
が流される。このとき、トランジスタ106のゲート電圧は、容量素子107により所定
のゲート電圧に維持されているため、トランジスタ106のドレイン領域には信号電流I
dataに応じたドレイン電流が流れる。そのため、信号線駆動回路を構成するトランジ
スタの特性バラツキの影響を抑制して、画素に入力される電流の大きさを制御することが
出来る。
このとき、トランジスタ106のドレイン領域に、信号電流Idataに応じたドレイ
ン電流を正確に流すためには、トランジスタ105b及びトランジスタ106の特性が同
じであることが必要となる。より詳しくは、トランジスタ105b及びトランジスタ10
6の移動度、しきい値などの値が同じであることが必要となる。
また図6(C)では、トランジスタ105b及びトランジスタ106のW(ゲート幅)
/L(ゲート長)の値を任意に設定して、定電流源109から供給される信号電流Ida
taに比例した電流を画素に供給するようにしてもよい。
またトランジスタ105bにおいて、定電流源109に接続されたトランジスタのW/
Lを大きく設定することで、該定電流源109から大電流を供給して、書き込み速度を早
くすることが出来る。
なお図6(C)に示す電流源回路420では、信号を設定する動作(設定動作)と、信
号を画素に入力する動作(入力動作)を同時に行うことが出来る。
そして図6(D)、(E)に示す電流源回路420は、図6(C)に示す電流源回路4
20とスイッチ110の接続構成が異なっている点以外は、その他の回路素子の接続構成
は同じである。また図6(D)、(E)に示す電流源回路420の動作は、図6(C)に
示す電流源回路420の動作と同じであるので、本実施の形態では説明を省略する。
なおスイッチの個数、配線の本数及びその接続構成は特に限定されない。つまり、図2
7(C)を参照すると、設定動作時には図27(C1)のように接続され、入力動作時に
は図27(C2)のように接続されるように、配線やスイッチを配置するとよい。特に、
図27(C2)においては、容量素子107に貯まった電荷が漏れないようになっていれ
ばよい。
図28(A)において、スイッチ195b、195c、195d、195f、トランジ
スタ195a、容量素子195eを有する回路が電流源回路に相当する。図28(A)に
示す電流源回路では、端子aを介して入力される信号によりスイッチ195b、195c
、195d、195fがオンになる。そうすると、端子bを介して、電流線に接続された
定電流源109から電流が供給され、定電流源109から供給される信号電流とトランジ
スタ195aのドレイン電流が等しくなるまで、容量素子195eに所定の電荷が保持さ
れる。
次いで、端子aを介して入力される信号により、スイッチ195b、195c、195
d、195fがオフになる。このとき、容量素子195eには所定の電荷が保持されてい
るため、トランジスタ195aは信号電流に応じた大きさの電流を流す能力を有する。こ
れは、トランジスタ195aのゲート電圧は、容量素子195eにより所定のゲート電圧
に設定されており、該トランジスタ195aのドレイン領域には電流(ビデオ信号用電流
)に応じたドレイン電流が流れるためである。この状態において、端子cを介して外部に
電流が供給される。なお図28(A)に示す電流源回路では、電流源回路が信号電流を流
す能力を有するように設定する設定動作と、該信号電流を画素に入力する入力動作を同時
に行うことは出来ない。なお端子aを介して入力される信号により制御されるスイッチが
オンであり、且つ端子cから電流が流れないようになっているときは、端子cと他の電位
の配線とを接続する必要がある。そして、ここではその配線の電位を、Vaとする。Va
は、端子bから流れてくる電流をそのまま流せるような電位であればよく、一例としては
、電源電圧Vddなどでよい。
なおスイッチの個数やその接続構成は特に限定されない。つまり、図28(B)(C)
を参照すると、設定動作時には(B1)(C1)のように接続され、入力動作時には(B
2)(C2)のように接続されるように、配線やスイッチを配置するとよい。配線の本数
やスイッチの個数は特に限定されない。
また図6(A)、図6(C)〜(E)において、電流の流れる方向(画素から信号線駆
動回路への方向)は同様であって、トランジスタ102、トランジスタ105b、トラン
ジスタ106の極性(導電型)をpチャネル型にすることも可能である。
そこで図7(A)には、電流の流れる方向(画素から信号線駆動回路への方向)は同様
であって、図6(A)に示すトランジスタ102をpチャネル型にしたときの回路構成を
示す。図7(A)では、容量素子をゲート・ソース間に配置することにより、ソースの電
位は変化しても、ゲート・ソース間電圧は保持することが出来る。また図7(B)〜(D
)には、電流の流れる方向(画素から信号線駆動回路への方向)は同様であって、図6(
C)〜(E)に示すトランジスタ105b、トランジスタ106をpチャネル型にした回
路図を示す。
図29(A)には、図28に示した構成において、トランジスタ195aをpチャネル
型にした場合を示す。図29(B)には、図6(B)に示した構成において、トランジス
タ122、126をpチャネル型にした場合を示す。
図31において、スイッチ104、116、トランジスタ102、容量素子103など
を有する回路が電流源回路に相当する。
図31(A)は、図6(A)の一部を変更した回路に相当する。図31(A)に示す電
流源回路では、電流源の設定動作時と、入力動作時とで、トランジスタのゲート幅Wが異
なる。つまり、設定動作時には、図31(B)のように接続され、ゲート幅Wが大きい。
入力動作時には、図31(C)のように接続され、ゲート幅Wが小さい。従って、設定動
作時に端子bから供給される電流値は、入力動作時に端子cから供給される電流値よりも
大きくすることが出来る。そのため、端子bとビデオ信号用定電流源との間に配置された
様々な負荷(配線抵抗、交差容量など)を、より早く充電することができる。従って、設
定動作を素早く完了させることができる。
なお、図31では、図6(A)の一部を変更した回路について示した。しかし、図6の
ほかの回路や図7、図28、図30、図29などの回路にも、容易に適用できる。
なお上記の電流源回路では、電流は画素から信号線駆動回路の方向へ流れる。しかし電
流は、画素から信号線駆動回路の方向へ流れるだけでなく、信号線駆動回路から画素の方
向へ流れる場合もある。なお、電流が画素から信号線駆動回路の方向へ流れるか、又は電
流が信号線駆動回路から画素の方向へ流れるかは、画素の構成に依存する。そして電流が
信号線駆動回路から画素の方向へ流れる場合には、図6に示す回路図において、Vss(
低電位電源)をVdd(高電位電源)とし、更にトランジスタ102、トランジスタ10
5b、トランジスタ106、トランジスタ122及びトランジスタ126をpチャネル型
とすればよい。また図7に示す回路図において、VssをVddとし、更にトランジスタ
102、トランジスタ105b及びトランジスタ106をnチャネル型とすればよい。
但し、設定動作時には図30(A1)〜(D1)のように接続され、入力動作時には図
30(A2)〜(D2)のように接続されるように、配線やスイッチを配置するとよい。
配線の本数、スイッチの個数及びその接続は特に限定されない。
なお、上記の全ての電流源回路において、配置されている容量素子は、トランジスタの
ゲート容量などを代用することで、配置しなくてもよい。
以下には、図6、7を用いて説明した電流源回路のうち、図6(A)及び図7(A)、
図6(C)〜(E)及び図7(B)〜(D)の電流源回路の動作について詳しく説明する
。まず、図6(A)及び図7(A)の電流源回路の動作について図19を用いて説明する
図19(A)〜図19(C)は、電流が回路素子間を流れていく経路を模式的に示して
いる。図19(D)は、信号電流Idataを電流源回路に書き込むときの各経路を流れ
る電流と時間の関係を示しており、図19(E)は、信号電流Idataを電流源回路に
書き込むときに容量素子16に蓄積される電圧、つまりトランジスタ15のゲート・ソー
ス間電圧と時間の関係を示している。また図19(A)〜図19(C)に示す回路図にお
いて、11はビデオ信号用定電流源、スイッチ12〜スイッチ14はスイッチング機能を
有する半導体素子、15はトランジスタ(nチャネル型)、16は容量素子、17は画素
である。本実施の形態では、スイッチ14と、トランジスタ15と、容量素子16とが電
流源回路20に相当する電気回路とする。なお図19(A)には引き出し線と符号が付い
ており、図19(B)、(C)において引き出し線と符号は図19(A)に準ずるので図
示は省略する。
nチャネル型のトランジスタ15のソース領域はVssに接続され、ドレイン領域はビ
デオ信号用定電流源11に接続されている。そして容量素子16の一方の電極はVss(
トランジスタ15のソース)に接続され、他方の電極はスイッチ14(トランジスタ15
のゲート)に接続されている。容量素子16は、トランジスタ15のゲート・ソース間電
圧を保持する役目を担う。
なお実際には、電流源回路20は信号線駆動回路に設けられている。そして信号線駆動
回路に設けられた電流源回路20から、信号線や画素が有する回路素子等を介して発光素
子に信号電流Idataに応じた電流が流れる。しかし図19は、ビデオ信号用定電流源
11、電流源回路20及び画素17との関係の概略を簡単に説明するための図であるので
、詳しい構成の図示は省略する。
まず電流源回路20が信号電流Idataを保持する動作(設定動作)を図19(A)
、(B)を用いて説明する。図19(A)において、スイッチ12、スイッチ14がオン
となり、スイッチ13はオフとなる。この状態において、ビデオ信号用定電流源11から
信号電流Idataが出力され、ビデオ信号用定電流源11から電流源回路20の方向に
電流が流れていく。このとき、ビデオ信号用定電流源11からは信号電流Idataが流
れているので、図19(A)に示すように電流源回路20内では、電流の経路はI1とI
2に分かれて流れる。このときの関係を図19(D)に示しているが、信号電流Idat
a=I1+I2の関係であることは言うまでもない。
ビデオ信号用定電流源11から電流が流れ始めた瞬間には、容量素子16に電荷は保持
されていないため、トランジスタ15はオフしている。よって、I2=0となり、Ida
ta=I1となる。
そして、徐々に容量素子16に電荷が蓄積されて、容量素子16の両電極間に電位差が
生じはじめる(図19(E))。両電極間の電位差がVthになると(図19(E) A
点)、トランジスタ15がオンして、I2>0となる。上述したようにIdata=I1
+I2であるので、I1は次第に減少するが、依然電流は流れている。容量素子16には
、さらに電荷の蓄積が行われる。
容量素子16の両電極間の電位差は、トランジスタ15のゲート・ソース間電圧となる
。そのため、トランジスタ15のゲート・ソース間電圧が所望の電圧、つまりトランジス
タ15がIdataの電流を流すことが出来るだけの電圧(VGS)になるまで、容量素
子16における電荷の蓄積は続けられる。そして電荷の蓄積が終了すると(図19(E)
B点)、電流I2は流れなくなり、さらにトランジスタ15は完全にオンしているので
、Idata=I2となる(図19(B))。
次いで、画素に信号電流Idataを入力する動作(入力動作)を図19(C)を用い
て説明する。画素に信号電流Idataを入力するときには、スイッチ13をオンにして
スイッチ12及びスイッチ14をオフにする。容量素子16には前述した動作において書
き込まれたVGSが保持されているため、トランジスタ15はオンしており、信号電流I
dataに等しい電流が、スイッチ13及びトランジスタ15を介してVssの方向に流
れて、画素への信号電流Idataの入力が完了する。このとき、トランジスタ15を飽
和領域において動作するようにしておけば、トランジスタ15のソース・ドレイン間電圧
が変化したとしても、画素において流れる電流は変わりなく流れることができる。
図19に示す電流源回路20では、図19(A)〜図19(C)に示すように、まず電
流源回路20に対して信号電流Idataの書き込みを終了させる動作(設定動作、図1
9(A)、(B)に相当)と、画素に信号電流Idataを入力する動作(入力動作、図
19(C)に相当)に分けられる。そして画素では入力された信号電流Idataに基づ
き、発光素子への電流の供給が行われる。
図19に示す電流源回路20では、設定動作と入力動作を同時に行うことは出来ない。
よって、設定動作と入力動作を同時に行う必要がある場合には、画素が複数個接続されて
いる信号線であって、更に画素部に複数本配置されている信号線のそれぞれに、少なくと
も2つの電流源回路を設けることが好ましい。但し、信号電流Idataを画素に入力し
ていない期間内に、設定動作を行うことが可能であるならば、信号線ごとに(各列に)1
つの電流源回路を設けるだけでもよい。
また図19(A)〜図19(C)に示した電流源回路20のトランジスタ15はnチャ
ネル型であったが、勿論電流源回路20のトランジスタ15をpチャネル型としてもよい
。ここで、トランジスタ15がpチャネル型の場合の回路図を図19(F)に示す。図1
9(F)において、31はビデオ信号用定電流源、スイッチ32〜スイッチ34はスイッ
チング機能を有する半導体素子(トランジスタ)、35はトランジスタ(pチャネル型)
、36は容量素子、37は画素である。本実施の形態では、スイッチ34と、トランジス
タ35と、容量素子36とが電流源回路24に相当する電気回路とする。
トランジスタ35はpチャネル型であり、トランジスタ35のソース領域及びドレイン
領域は、一方はVddに接続され、他方は定電流源31に接続されている。そして容量素
子36の一方の電極はVddに接続され、他方の電極はスイッチ36に接続されている。
容量素子36は、トランジスタ35のゲート・ソース間電圧を保持する役目を担う。
図19(F)に示す電流源回路24の動作は、電流の流れる方向が異なる以外は、上記
の電流源回路20と同じ動作を行うのでここでは説明を省略する。なお電流の流れる方向
を変更せずに、トランジスタ15の極性を変更した電流源回路を設計する場合には、図7
(A)に示す回路図を参考にすればよい。
なお図32において、電流の流れる方向は図19(F)と同じで、トランジスタ35を
nチャネル型にしている。容量素子36は、トランジスタ35のゲート・ソース間に接続
する。ソースの電位は設定動作時と、入力動作時とで異なる。しかし、ソースの電位が変
化しても、ゲート・ソース間電圧は保持されているため、正常に動作する。
続いて図6(C)〜(E)及び図7(B)〜(D)の電流源回路の動作について図20
、21を用いて説明する。図20(A)〜図20(C)は、電流が回路素子間を流れてい
く経路を模式的に示している。図20(D)は、信号電流Idataを電流源回路に書き
込むときの各経路を流れる電流と時間の関係を示しており、図20(E)は、信号電流I
dataを電流源回路に書き込むときに容量素子46に蓄積される電圧、つまりトランジ
スタ43、44のゲート・ソース間電圧と時間の関係を示している。また図20(A)〜
図20(C)に示す回路図において、41はビデオ信号用定電流源、スイッチ42はスイ
ッチング機能を有する半導体素子、43、44はトランジスタ(nチャネル型)、46は
容量素子、47は画素である。本実施の形態では、スイッチ42と、トランジスタ43、
44と、容量素子46とが電流源回路25に相当する電気回路とする。なお図20(A)
には引き出し線と符号が付いており、図20(B)、(C)において引き出し線と符号は
図20(A)に準ずるので図示は省略する。
nチャネル型のトランジスタ43のソース領域はVssに接続され、ドレイン領域は定
電流源41に接続されている。nチャネル型のトランジスタ44のソース領域はVssに
接続され、ドレイン領域は画素47の端子48に接続されている。そして容量素子46の
一方の電極はVss(トランジスタ43及び44のソース)に接続され、他方の電極はト
ランジスタ43及びトランジスタ44のゲート電極に接続されている。容量素子46は、
トランジスタ43及びトランジスタ44のゲート・ソース間電圧を保持する役目を担う。
なお実際には、電流源回路25は信号線駆動回路に設けられている。そして信号線駆動
回路に設けられた電流源回路25から、信号線や画素が有する回路素子等を介して発光素
子に信号電流Idataに応じた電流が流れる。しかし図20は、ビデオ信号用定電流源
41、電流源回路25及び画素47との関係の概略を説明するための図であるので、詳し
い構成の図示は省略する。
図20の電流源回路25では、トランジスタ43及びトランジスタ44のサイズが重要
となる。そこでトランジスタ43及びトランジスタ44のサイズが、同じ場合と異なる場
合について、符号を分けて説明する。図20(A)〜図20(C)において、トランジス
タ43及びトランジスタ44のサイズが同じ場合には、信号電流Idataを用いて説明
する。そしてトランジスタ43及びトランジスタ44のサイズが異なる場合には、信号電
流Idata1と信号電流Idata2を用いて説明する。なおトランジスタ43及びト
ランジスタ44のサイズは、それぞれのトランジスタのW(ゲート幅)/L(ゲート長)
の値を用いて判断される。
最初に、トランジスタ43及びトランジスタ44のサイズが同じ場合について説明する
。そしてまず信号電流Idataを電流源回路20に保持する動作を図20(A)、(B
)を用いて説明する。図20(A)において、スイッチ42がオンになると、ビデオ信号
用定電流源41で信号電流Idataが設定され、定電流源41から電流源回路25の方
向に電流が流れていく。このとき、ビデオ信号用定電流源41からは信号電流Idata
が流れているので、図20(A)に示すように電流源回路25内では、電流の経路はI1
とI2に分かれて流れる。このときの関係を図20(D)に示しているが、信号電流Id
ata=I1+I2の関係であることは言うまでもない。
定電流源41から電流が流れ始めた瞬間には、容量素子46に電荷は保持されていない
ため、トランジスタ43及びトランジスタ44はオフしている。よって、I2=0となり
、Idata=I1となる。
そして、徐々に容量素子46に電荷が蓄積されて、容量素子46の両電極間に電位差が
生じはじめる(図20(E))。両電極間の電位差がVthになると(図20(E) A
点)、トランジスタ43及びトランジスタ44がオンして、I2>0となる。上述したよ
うにIdata=I1+I2であるので、I1は次第に減少するが、依然電流は流れてい
る。容量素子46には、さらに電荷の蓄積が行われる。
容量素子46の両電極間の電位差は、トランジスタ43及びトランジスタ44のゲート
・ソース間電圧となる。そのため、トランジスタ43及びトランジスタ44のゲート・ソ
ース間電圧が所望の電圧、つまりトランジスタ44がIdataの電流を流すことが出来
るだけの電圧(VGS)になるまで、容量素子46における電荷の蓄積は続けられる。そ
して電荷の蓄積が終了すると(図20(E) B点)、電流I2は流れなくなり、さらに
トランジスタ43及びトランジスタ44は完全にオンしているので、Idata=I2と
なる(図20(B))。
次いで、画素に信号電流Idataを入力する動作を図20(C)を用いて説明する。
まずスイッチ42をオフにする。容量素子46には前述した動作において書き込まれたV
GSが保持されているため、トランジスタ43及びトランジスタ44はオンしており、画
素47から信号電流Idataに等しい電流が流れる。これにより、画素に信号電流Id
ataが入力される。このとき、トランジスタ44を飽和領域において動作するようにし
ておけば、トランジスタ44のソース・ドレイン間電圧が変化したとしても、画素におい
て流れる電流は変わりなく流れることができる。
なお図20(C)のようなカレントミラー回路の場合には、スイッチ42をオフにしな
くても、定電流源41から供給される電流を用いて画素47に電流を流すことも出来る。
つまり電流源回路20に対して信号を設定する動作(設定動作)、信号を画素に入力する
動作(入力動作)を同時に行うことが出来る。
次いで、トランジスタ43及びトランジスタ44のサイズが異なる場合について説明す
る。電流源回路25における動作は、上述した動作と同じであるのでここでは説明を省略
する。トランジスタ43及びトランジスタ44のサイズが異なると、必然的にビデオ信号
用定電流源41において設定される信号電流Idata1と画素47に流れる信号電流I
data2とは異なる。両者の相違点は、トランジスタ43及びトランジスタ44のW(
ゲート幅)/L(ゲート長)の値の相違点に依存する。
通常はトランジスタ43のW/L値を、トランジスタ44のW/L値よりも大きくする
ことが望ましい。これは、トランジスタ43のW/L値を大きくすれば、信号電流Ida
ta1を大きくできるからである。この場合、信号電流Idata1で電流源回路を設定
するとき、負荷(交差容量、配線抵抗)を充電できるため、素早く設定動作を行うことが
可能となる。
図20(A)〜図20(C)に示した電流源回路25のトランジスタ43及びトランジ
スタ44はnチャネル型であったが、勿論電流源回路25のトランジスタ43及びトラン
ジスタ44をpチャネル型としてもよい。ここで、トランジスタ43及びトランジスタ4
4がpチャネル型の場合の回路図を図21に示す。
図21において、41は定電流源、スイッチ42はスイッチング機能を有する半導体素
子、43、44はトランジスタ(pチャネル型)、46は容量素子、47は画素である。
本実施の形態では、スイッチ42と、トランジスタ43、44と、容量素子46とが電流
源回路26に相当する電気回路とする。
pチャネル型のトランジスタ43のソース領域はVddに接続され、ドレイン領域は定
電流源41に接続されている。pチャネル型のトランジスタ44のソース領域はVddに
接続され、ドレイン領域は画素47の端子48に接続されている。そして容量素子46の
一方の電極はVdd(ソース)に接続され、他方の電極はトランジスタ43及びトランジ
スタ44のゲート電極に接続されている。容量素子46は、トランジスタ43及びトラン
ジスタ44のゲート・ソース間電圧を保持する役目を担う。
図21に示す電流源回路26の動作は、電流の流れる方向が異なる以外は、図20(A
)〜図20(C)と同じ動作を行うのでここでは説明を省略する。なお電流の流れる方向
を変更せずに、トランジスタ43、トランジスタ44の極性を変えた電流源回路を設計す
る場合には、図7(B)図32に示す回路図を参考にすればよい。
以上をまとめると、図19の電流源回路では、定電流源で設定される信号電流Idat
aと同じ大きさの電流が画素に流れる。言い換えると、定電流源において設定された信号
電流Idataと、画素に流れる電流は値が同じであり、電流源回路に設けられたトラン
ジスタの特性バラツキの影響は受けない。
また図19の電流源回路及び図6(B)などでは、設定動作を行う期間においては、電
流源回路から画素に信号電流Idataを出力することは出来ない。そのため、1本の信
号線ごとに2つの電流源回路を設けて、一方の電流源回路に信号を設定する動作(設定動
作)を行い、他方の電流源回路を用いて画素にIdataを入力する動作(入力動作)を
行うことが好ましい。
ただし、設定動作と入力動作を同時に行わない場合は、各列に1つの電流源回路を設け
るだけでもよい。なお、図28(A)、図29(A)の電流源回路は、図19の電流源回
路と、接続や電流が流れる経路が異なる以外は、同様である。図31(A)の電流源回路
は、定電流源から供給される電流と、電流源回路から流れる電流の大きさが異なること以
外は、同様である。また、図6(B)、図29(B)の電流源回路は、定電流源から供給
される電流と、電流源回路から流れる電流の大きさが異なること以外は、同様である。つ
まり、図31(A)では、トランジスタのゲート幅Wが設定動作時と入力動作時で異なり
、図6(B)、図29(B)では、トランジスタのゲート長Lが設定動作時と入力動作時
とで異なるだけで、それ以外は図19の電流源回路と同様の構成である。
一方図20、21の電流源回路では、定電流源において設定された信号電流Idata
と、画素に流れる電流の値は、電流源回路に設けられた2つのトランジスタのサイズに依
存する。つまり電流源回路に設けられた2つのトランジスタのサイズ(W(ゲート幅)/
L(ゲート長))を任意に設計して、定電流源において設定された信号電流Idataと
、画素に流れる電流を任意に変えることが出来る。但し、2つのトランジスタのしきい値
や移動度などの特性にバラツキが生じている場合には、正確な信号電流Idataを画素
に出力することが難しい。
また図20、21の電流源回路では、設定動作を行う期間に画素に信号を入力すること
は可能である。つまり、信号を設定する動作(設定動作)、信号を画素に入力する動作(
入力動作)を同時に行うことが出来る。そのため図19の電流源回路のように、1本の信
号線に2つの電流源回路を設ける必要はない。
上記構成を有する本発明は、TFTの特性バラツキの影響を抑制し、所望の電流を外部
に供給することができる。
(実施の形態2)
図6(A)のような回路(および図19、図31(A)、図6(B)、図29(B)な
ど)では、1本の信号線ごと(各列)に2つの電流源回路を設けて、一方の電流源回路に
信号を設定する動作(設定動作)を行い、他方の電流源回路を用いて画素にIdataを
入力する動作(入力動作)を行うことが好ましいことは上述した。これは、設定動作と入
力動作とを同時に行うことが出来るためである。そこで本実施の形態では、本発明の信号
線駆動回路に具備される図2に示した電流源回路420の回路構成の例について図8を用
いて説明する。
本発明では端子aから入力される設定信号とは論理演算子の出力端子から入力される信
号を示す。つまり図1における設定信号とは、論理演算子の出力端子から入力される信号
に相当する。そして本発明では、論理演算子の出力端子から入力される信号に合わせて、
電流源回路420の設定を行う。
前記論理演算子の2つの入力端子には、一方にはシフトレジスタからのサンプリングパ
ルスが入力され、他方にはラッチパルスが入力される。論理演算子では、入力された2つ
の信号の論理演算を行って、出力端子から信号を出力する。そして電流源回路では、前記
論理演算子の出力端子から入力される信号によって、設定動作又は入力動作を行う。
電流源回路420は、端子aから入力される設定信号により制御され、端子bからは供
給される信号電流が入力され、該信号電流(ビデオ信号用電流)に比例した電流を端子c
より出力する。
図8(A)において、スイッチ134〜スイッチ139と、トランジスタ132(nチ
ャネル型)と、該トランジスタ132のゲート・ソース間電圧VGSを保持する容量素子
133とを有する回路が第1電流源回路421又は第2電流源回路422に相当する。
第1電流源回路421又は第2電流源回路422では、端子aを介して入力される信号
によってスイッチ134、スイッチ136がオンとなる。また端子dを介して制御線から
入力される信号によってスイッチ135、スイッチ137がオンとなる。そうすると、電
流線に接続されたビデオ信号用定電流源109から端子bを介して電流(ビデオ信号用電
流)が供給され、容量素子133に電荷が保持される。そして定電流源109から流され
る信号電流Idataがトランジスタ132のドレイン電流と等しくなるまで、容量素子
133に電荷が保持される。
次いで、端子a、dを介して入力される信号により、スイッチ134〜スイッチ137
をオフにする。そうすると、容量素子133に所定の電荷が保持されているため、トラン
ジスタ132は、信号電流Idataの大きさの電流を流す能力をもつことになる。そし
て仮にスイッチ101、スイッチ138、スイッチ139が導通状態になると、端子cを
介して信号線に接続された画素に電流が流される。このとき、トランジスタ132のゲー
ト電圧は、容量素子133により所定のゲート電圧に維持されているため、トランジスタ
132のドレイン領域には信号電流Idataに応じたドレイン電流が流れる。そのため
、信号線駆動回路を構成するトランジスタの特性バラツキの影響を抑制して、画素におい
て流れる電流の大きさを制御できる。
図8(B)において、スイッチ144〜スイッチ147と、トランジスタ142(nチ
ャネル型)と、該トランジスタ142のゲート・ソース間電圧VGSを保持する容量素子
143と、トランジスタ148(nチャネル型)とを有する回路が第1電流源回路421
又は第2電流源回路422に相当する。
第1電流源回路421又は第2電流源回路422では、端子aを介して入力される信号
によってスイッチ144、スイッチ146がオンとなる。また端子dを介して制御線から
入力される信号によってスイッチ145、スイッチ147がオンとなる。そうすると、電
流線に接続された定電流源109から、端子bを介して電流が供給され、容量素子143
に電荷が保持される。そして定電流源109から流される信号電流Idataがトランジ
スタ142のドレイン電流と等しくなるまで、容量素子143に電荷が保持される。なお
スイッチ144、スイッチ145がオンとなると、トランジスタ148のゲート・ソース
間電圧VGSが0Vとなるので、自動的にトランジスタ148はオフになる。
次いで、端子a、dを介して入力される信号により、スイッチ144〜スイッチ147
をオフにする。そうすると、容量素子143に信号電流Idataが保持されているため
、トランジスタ142は、信号電流Idataに応じた大きさの電流を流す能力をもつこ
とになる。そして仮にスイッチ101が導通状態になると、端子cを介して信号線に接続
された画素に電流が流される。このとき、トランジスタ142のゲート電圧は、容量素子
143により所定のゲート電圧に維持されているため、トランジスタ142のドレイン領
域には信号電流Idataに応じたドレイン電流が流れる。そのため、信号線駆動回路を
構成するトランジスタの特性バラツキの影響を抑制して、画素において流れる電流の大き
さを制御できる。
なおスイッチ144、145がオフすると、トランジスタ126のゲートとソースは同
電位ではなくなる。その結果、容量素子143に保持された電荷がトランジスタ148の
方にも分配され、トランジスタ148が自動的にオンになる。ここで、トランジスタ14
2、148は直列に接続され、且つ互いのゲートが接続されている。従って、トランジス
タ142、148はマルチゲートのトランジスタとして動作する。つまり、設定動作時と
入力動作時とでは、トランジスタのゲート長Lが異なることになる。従って、設定動作時
に端子bから供給される電流値は、入力動作時に端子cから供給される電流値よりも大き
くすることが出来る。そのため、端子bとビデオ用定電流源との間に配置された様々な負
荷(配線抵抗、交差容量など)を、より早く充電することができる。従って、設定動作を
素早く完了させることができる。
ここで、図8(A)は、図6(A)に対して、端子dを追加した構成に相当する。図8
(B)は、図6(B)に対して、端子dを追加した構成に相当する。このように、スイッ
チを直列に追加して修正することにより、端子dを追加した構成に変形している。なお、
図2の第1電流源回路421又は第2電流源回路422には、2つのスイッチを直列に配
置することで、図6、7、図28、図29、図31などに示した電流源回路の構成を任意
に用いることができる。
なお図2では、1本の信号線ごとに第1電流源回路421又は第2電流源回路422の
2つの電流源回路を有する電流源回路420を設けた構成を示したが、本発明はこれに限
定されない。例えば、1本の信号線ごとに3つの電流源回路420を設けてもよい。そし
て各電流源回路420には異なる定電流源109から信号電流を設定するようにしてもよ
い。例えば、1つの電流源回路420には、1ビット用のビデオ信号用定電流源を用いて
信号電流を設定し、1つの電流源回路420には、2ビット用のビデオ信号用定電流源を
用いて信号電流を設定し、1つの電流源回路420には、3ビット用のビデオ信号用定電
流源を用いて信号電流を設定するようにしてもよい。
本実施の形態は、実施の形態1と自由に組み合わせることが可能である。つまり、図4
、図5、図26、図27に示すように、各列に1つの電流源回路が配置されていたところ
を、図2に示すように図6(A)の電流源回路を各列に2つ配置してもよい。そうすると
、例えば図2において電流源回路421から供給される電流が4.9Aとして、電流源回
路422から供給される電流を5.1Aとすると、フレーム毎に電流源回路421及び電
流源回路422のどちらか一方から電流が供給されるようにすることによって、電流源回
路のバラツキを平均化することが出来る。
本実施の形態は、実施の形態1と自由に組み合わせることが可能である。
(実施の形態3)
本実施の形態では、本発明の信号線駆動回路が具備される発光装置の構成について図1
5を用いて説明する。
本発明の発光装置は、基板401上に、複数の画素がマトリクス状に配置された画素部
402を有し、画素部402の周辺には、信号線駆動回路403、第1の走査線駆動回路
404及び第2の走査線駆動回路405を有する。図15(A)においては、信号線駆動
回路403と、2組の走査線駆動回路404、405を有しているが、本発明はこれに限
定されない。駆動回路の個数は、画素の構成に応じて任意に設計することができる。また
信号線駆動回路403と、第1の走査線駆動回路404及び第2の走査線駆動回路405
には、FPC406を介して外部より信号が供給される。
第1の走査線駆動回路404及び第2の走査線駆動回路405の構成について図15(
B)を用いて説明する。第1の走査線駆動回路404及び第2の走査線駆動回路405は
、シフトレジスタ407、バッファ408を有する。動作を簡単に説明すると、シフトレ
ジスタ407は、クロック信号(G−CLK)、スタートパルス(S−SP)及びクロッ
ク反転信号(G−CLKb)に従って、順次サンプリングパルスを出力する。その後バッ
ファ408で増幅されたサンプリングパルスは、走査線に入力されて1行ずつ選択状態に
していく。そして選択された走査線によって、制御される画素には、順に信号線から信号
電流Idataが書き込まれる。
なおシフトレジスタ407と、バッファ408の間にはレベルシフタ回路を配置した構
成にしてもよい。レベルシフタ回路を配置することによって、電圧振幅を大きくすること
が出来る。
信号線駆動回路403の構成については以下に後述する。また本実施の形態は、実施の
形態1、2と自由に組み合わせることが可能である。
(実施の形態4)
本実施の形態では、図15(A)に示した信号線駆動回路403の構成とその動作につ
いて説明する。本実施の形態では、アナログ階調表示又は1ビットのデジタル階調表示を
行う場合に用いる信号線駆動回路403について図3(A)、図4を用いて説明する。
図3(A)には、アナログ階調表示又は1ビットのデジタル階調表示を行う場合におけ
る信号線駆動回路403の概略図を示す。信号線駆動回路403は、シフトレジスタ41
8、ラッチ回路419を有する。
動作を簡単に説明するとシフトレジスタ418は、フリップフロップ回路(FF)等を
複数列用いて構成され、クロック信号(S−CLK)、スタートパルス(S−SP)、ク
ロック反転信号(S−CLKb)が入力される。これらの信号のタイミングに従って、順
次サンプリングパルスが出力される。
シフトレジスタ418より出力されたサンプリングパルスは、ラッチ回路419に入力
される。ラッチ回路419には、ビデオ信号(アナログビデオ信号又はデジタルビデオ信
号)が入力されて、サンプリングパルスが入力されるタイミングに従って、各列でビデオ
信号を保持していく。
なおビデオ線には、ビデオ信号用定電流源109が接続されている。そして前記ビデオ
信号用定電流源109で設定された信号電流(ビデオ信号に相当)をラッチ回路419に
おいて保持する。
またラッチ回路419にはラッチパルスが入力されラッチ回路419に保持されていた
ビデオ信号は、信号線に接続された画素に入力される。ラッチ回路419は、デジタル信
号をアナログ信号に変換する役割を持つ場合もある。
次いでラッチ回路419の構成を図4を用いて説明する。図4には、i列目から(i+
2)列目の3本の信号線の周辺の信号線駆動回路403の概略を示す。
ラッチ回路419は、列ごとにスイッチ435、スイッチ436、電流源回路437、
電流源回路438及びスイッチ439を有する。スイッチ435はシフトレジスタ418
から入力されるサンプリングパルスによって制御される。またスイッチ436、スイッチ
439はラッチパルスにより制御される。
なおスイッチ436とスイッチ439には互いに反転した信号が入力される。その結果
、電流源回路437及び電流源回路438は、一方では設定動作を行い、他方では入力動
作を行う。
つまり、電流源回路437が設定動作をしているときに、同時に、電流源回路438は
、画素へ信号電流を出力し、入力動作を行っている。このように、電流源回路の設定動作
と入力動作とを同時にできるため、設定動作に時間をかけて、正確に行うことができる。
従って、線順次駆動を行うことが可能となる。
なお、ビデオ線(video data線)から供給される信号電流は、ビデオ信号に
依存した大きさを持っている。したがって、画素へ供給される電流は、信号電流に比例し
た大きさであるため、画像(階調)を表現することが可能となる。
電流源回路437及び電流源回路438は、端子aを介して入力される信号により制御
される。また電流源回路437及び電流源回路438には、端子bを介してビデオ線(電
流線)に接続されたビデオ信号用定電流源109を用いて設定された電流(信号電流Id
ata)が保持される。そして電流源回路437及び電流源回路438と信号線に接続さ
れた画素との間にはスイッチ439が設けられており、前記スイッチ439のオン又はオ
フは、ラッチパルスにより制御される。
そして、1ビットのデジタル階調表示を行う場合、ビデオ信号が明信号のときには、電
流源回路437又は電流源回路438から画素に信号電流Idataが出力される。反対
にビデオ信号が暗信号のときには、電流源回路437又は電流源回路438は、電流を流
す能力を有していないので、画素へ電流は流れない。また、アナログ階調表示を行う場合
、ビデオ信号に応じて、電流源回路433から画素に信号電流Idataが出力される。
つまり電流源回路437及び電流源回路438は、一定電流を流す能力(VGS)をビデ
オ信号により制御されており、画素へ出力する電流の大きさにより明るさが制御される。
本発明では端子aから入力される設定信号とは論理演算子の出力端子から入力される信
号を示す。つまり図1における設定信号とは、論理演算子の出力端子から入力される信号
に相当する。そして本発明では、論理演算子の出力端子から入力される信号に合わせて、
電流源回路420の設定を行う。
前記論理演算子の2つの入力端子には、一方にはシフトレジスタからのサンプリングパ
ルスが入力され、他方にはラッチパルスが入力される。論理演算子では、入力された2つ
の信号の論理演算を行って、出力端子から信号を出力する。そして電流源回路では、前記
論理演算子の出力端子から入力される信号によって、設定動作又は入力動作を行う。
電流源回路437及び電流源回路438には、図6、7、図29、図28、図31など
に示した電流源回路の回路構成を自由に用いることが出来る。各電流源回路は、全て一つ
の方式のみを用いるだけでなく、複数を採用してもよい。
また図4では、ビデオ信号用定電流源109から、ラッチ回路に対して1列ずつ設定動
作を行っているが、これに限定されない。図33に示すように、同時に複数列で設定動作
を行うこと、つまり、多相化させてもよい。図33には、ビデオ信号用定電流源109が
2個配置されているが、この2個のビデオ信号用定電流源に対しても別に配置したビデオ
信号用定電流源から設定動作を行ってもよい。
以下には、図4において、電流源回路437及び電流源回路438に用いる方式の組合
せの例と、その利点について述べる。
まず、電流源回路437及び電流源回路438に図6(A)のような回路を採用した場
合について説明する。図6(A)のような回路の電流源回路を用いると、配置するトラン
ジスタの個数を少なく出来るのでトランジスタの特性バラツキの影響をさらに抑制するこ
とが出来る。つまり、設定動作を行うトランジスタと入力動作を行うトランジスタとが、
同一のトランジスタであるため、トランジスタ間のばらつきの影響を全く受けない。しか
しながら、設定動作を行う時の電流を大きくできないため、設定動作をより早く行うこと
ができない。なお、設定動作の時の電流とは、ビデオ信号用定電流源109からラッチ回
路に供給される電流に相当する。
この場合の回路図を、図34に示す。
なお、図34では、画素から信号線を通って、電流源回路の方に向かって、電流が流れ
ていた。しかし、この電流の向きは、画素の構成によって、変わる。そこで、図35には
、電流源回路から画素の方へ電流が流れる場合の回路図を示す。
このように、トランジスタの極性を変えることにより、電流の向きが異なる場合の回路
を構成することができる。もしくは、図6(A)の代わりに、図7(A)の回路を用いる
ことにより、トランジスタの極性を変えずに、電流の向きが異なる場合の回路を構成する
こともできる。
次いで、電流源回路437及び電流源回路438に図6(C)のようなカレントミラー
回路を採用した場合について図36を用いて説明する。
図6(C)のようなカレントミラー回路の2つのトランジスタにおいて、ビデオ信号用
定電流源109に接続されている方のトランジスタに比べて、画素に接続されている方の
トランジスタのW(ゲート幅)/L(ゲート長)値を小さくすると、ビデオ信号用定電流
源109から供給される電流値を大きくすることが出来る。
つまり、設定動作を行う方のトランジスタのW/Lを、入力動作を行う方のトランジス
タのW/Lよりも大きくする。すると、設定動作を行うための電流、すなわち、ビデオ信
号用定電流源109からラッチ回路に流れる電流を、大きくすることができる。電流が大
きいと、配線などに付随する配線交差容量などに電荷を素早く充電できるため、素早く、
定常状態にすることができる。よって、設定動作をより早く行うことができる。
なお、図6(C)のようなカレントミラー回路においては、ゲート電極が共通あるいは
電気的に接続されているトランジスタを少なくとも2つ有しており、前記2つのトランジ
スタの特性がばらつくと、前記トランジスタのソース端子やドレイン端子から出力される
電流もばらついてしまう。しかし、前記2つのトランジスタの特性がそろっていれば、そ
こから出力される電流はばらつかない。逆に言うと、出力される電流がばらつかないよう
にするには、前記2つのトランジスタの特性がそろっていればよい。つまり、図6(C)
のようなカレントミラー回路において、ゲート電極が共通である2つのトランジスタ間で
、特性がそろっていればよい。ゲート電極が共通ではないトランジスタ間では、特性がそ
ろっている必要はない。なぜなら、各々の電流源回路に対して、設定動作が行われるから
である。つまり、設定動作の対象となったトランジスタと、入力動作の時に使用されるト
ランジスタとが、同じ特性になっていればよい。ゲート電極が共通ではないトランジスタ
間で、特性がそろっていなくても、設定動作によって、各々の電流源回路に対して設定が
行われるので、特性ばらつきは補正される。
通常、図6(C)のようなカレントミラー回路において、ゲート電極が共通である2つ
のトランジスタは、2つのトランジスタの特性のばらつきを押さえるため、近接して配置
される。
図36において、例えば画素に与える電流の大きさをPとする。そして仮に、電流源回
路(電流源回路437、438)における図6(C)のようなカレントミラー回路の2つ
のトランジスタにおいて、画素に接続された方のトランジスタのW/L値をWaとすると
、ビデオ信号線に接続された方のトランジスタのW/L値を(2×Wa)にする。そうす
ると電流源回路(電流源回路437、438)において電流値が2倍になる。そうすると
、ビデオ信号用定電流源109からは、(2×P)の電流が供給されることになる。そう
すると、ビデオ信号用定電流源109から供給される電流を大きくできるため、電流源回
路(電流源回路437、438)の設定動作を素早く正確に行うことが出来る。
以上をまとめると、電流源回路に図6(C)のようなカレントミラー回路を採用し、さ
らにW/L値を適当な値に設定することにより、ビデオ信号用定電流源109から供給す
る電流を大きくすることが出来る。そしてその結果、電流源回路の設定動作を正確に行う
ことが出来る。
つまり、電流が大きいと、配線に寄生する交差容量などに、電荷を素早く充電できるた
め、素早く、定常状態にすることができる。定常状態になれば、設定動作を十分に行うこ
とができていることになる。ある期間内に設定動作をおこなう場合、電流が大きいと、素
早く定常状態にすることができるため、設定動作を十分におこなうことができる。電流が
小さいと、定常状態になる前に、設定動作を行う期間が終了してしまう。その場合は、十
分な時間がなかったため、正確に設定動作を行えていないことになる。よって、電流が大
きいと、電流源回路の設定動作を素早く、正確に行うことができる。
ただし、図6(C)のようなカレントミラー回路においては、ゲート電極が共通である
トランジスタを少なくとも2つ有しており、前記2つのトランジスタの特性がばらつくと
、そこから出力される電流もばらついてしまう。
しかし、トランジスタのチャネル幅Wとチャネル長Lの比率W/Lを、前記2つのトラ
ンジスタ間で異なる値に設定することにより、電流の大きさを変えることができる。通常
は、設定動作の時の電流を大きくする。その結果、素早く設定動作をすることができる。
なお、設定動作の時の電流とは、ビデオ信号用定電流源109から供給される電流に相
当する。
一方、図6(A)のような回路を用いる場合は、設定動作の時に流れる電流と、入力動
作の時に流れる電流とは、ほぼ等しい。そのため、設定動作を行うための電流を大きくす
ることはできない。しかし、設定動作を行う時に電流を供給するトランジスタと、入力動
作を行う時に電流を供給するトランジスタとは、同一のトランジスタである。よって、ト
ランジスタ間のばらつきの影響は、全く受けない。したがって、ラッチ回路において、設
定動作を行う時の電流を大きくしたい部分には図6(C)のようなカレントミラー回路を
用いて、より正確な電流を出力したい部分では図6(A)のような回路を用いるというよ
うに、適宜組み合わせて用いるのが望ましい。
このように、下位ビット(1ビット目)用の電流源回路において、図6(C)のような
カレントミラー回路を用い、上位ビット(2ビット目)用の電流源回路において、図6(
A)のような回路を用いた場合の回路図を、図48に示す。
なお、単なるスイッチとして動作させるトランジスタは、極性はどちらでもよい。
図4では、図3(A)の回路において、図2の回路を適用した場合について述べた。続
いて、図37には、図3(A)の回路において、図1の回路を適用した場合について述べ
る。
図37(A)において、ビデオ線から供給されるビデオ信号(信号電流)は、電流源回
路に供給される。そして、電流源回路の設定動作は、シフトレジスタ418から供給され
るサンプリングパルスのタイミングに従って行われる。例えば図37(A)の構成を有す
る場合には、電流源回路の設定動作が終わった後、入力動作(画素への電流の出力)を開
始する。よって、1列づつ順に電流源回路の設定動作を行い、次いで入力動作を行うこと
により、点順次駆動を実現することができる。
図37(A)では、アナログ階調表示又は1ビットのデジタル階調の場合を示し、図3
8には、2ビットのデジタル階調の場合を示す。
また、図39には、図38の回路に、図6(A)の回路を適用した場合の回路を示す。
図40には、図38の回路に、図6(C)の回路を適用した場合の回路を示す。さらに、
図41には、1ビット用の電流源回路には図6(C)の回路を適用し、2ビット用の電流
源回路には図6(A)の回路を適用した場合の回路を示す。図41の回路の場合、1ビッ
ト用の電流源回路のW/Lを変えることにより、ビデオ信号用電流の大きさを大きくする
。その結果、2ビット用の電流源回路の場合と同程度の期間で、設定動作を行うことがで
きる。
しかしながら、1列目から最終列目まで順番に選択される場合、最初の方の列では、画
素に信号を入力する期間が長い。一方、最後の方の列では、ビデオ信号を入力しても、す
ぐに、次の行の画素が選択されてしまう。その結果、画素に信号を入力する期間が短くな
ってしまう。そのような場合、図37(B)に示すように、画素部402に配置された走
査線を中央で分断することにより、画素に信号を入力する期間を長くすることができる。
その場合、画素部402の左側と右側に各1個の走査線駆動回路を配置し、該走査線駆動
回路を用いて画素を駆動する。このようにすると、同じ行に配置されている画素でも、右
側の画素と左側の画素とでは、信号を入力する期間をずらすことができる。図37(C)
には、1、2行目の右側と左側に配置された走査線駆動回路の出力波形と、シフトレジス
タ411のスタートパルス(S−SP)を示す。図37(C)に記載の波形のように動作
させることにより、左側の画素でも、画素に信号を入力する期間を長くすることができる
ため、点順次駆動を行いやすくなる。
また、本発明の信号線駆動回路において、ラッチに配置された電流源回路について、レ
イアウト図を図49に、対応した回路図を図50に示す。
なお本実施の形態は、実施の形態1〜3と自由に組み合わせることが可能である。
(実施の形態5)
本実施の形態では、図15(A)に示した信号線駆動回路403の詳細な構成とその動
作について説明するが、本実施の形態では、2ビットのデジタル階調表示を行う場合に用
いる信号線駆動回路403について図3(B)、図5、図26を用いて説明する。
図3(B)には、2ビットのデジタル階調表示を行う場合における信号線駆動回路40
3の概略図を示す。信号線駆動回路403は、シフトレジスタ418、ラッチ回路419
を有する。
動作を簡単に説明すると、シフトレジスタ418は、フリップフロップ回路(FF)等
を複数列用いて構成され、クロック信号(S−CLK)、スタートパルス(S−SP)、
クロック反転信号(S−CLKb)が入力される。これらの信号のタイミングに従って、
順次サンプリングパルスが出力される。
シフトレジスタ418より出力されたサンプリングパルスは、ラッチ回路419に入力
される。ラッチ回路419には、2ビットのデジタルビデオ信号(Digital Da
ta1、Digital Data2)が入力されており、サンプリングパルスが入力さ
れるタイミングに従って、各列でビデオ信号を保持していく。
1ビットのデジタルビデオ信号は、1ビット用のビデオ信号用定電流源109に接続さ
れた電流源から入力される。また2ビットのデジタルビデオ信号は、2ビット用のビデオ
信号用定電流源109に接続された電流源から入力される。そして1ビット用、2ビット
用のビデオ信号用定電流源109で設定された信号電流(ビデオ信号に相当)をラッチ回
路419において保持する。
またラッチ回路419には、ラッチパルスが入力され、ラッチ回路419に保持されて
いた2ビットのデジタルビデオ信号(Digital Data1、Digital Da
ta2)は、信号線に接続された画素に入力される。なおラッチ回路419は、デジタル
信号をアナログ信号に変換する役割を持つ場合もある。
次いでラッチ回路419の構成を図5を用いて説明する。図5には、i列目から(i+
1)列目の2本の信号線の周辺の2ビットのデジタル階調表示を行う信号線駆動回路40
3の概略を示す。また同様に、図26には、i列目から(i+1)列目の2本の信号線の
周辺の2ビットのデジタル階調表示を行う信号線駆動回路の概略を示す。
なお図5では、各ビットに対応したビデオ信号用定電流源109が配置された場合につ
いて示す。
図5において、ラッチ回路419は、列ごとにスイッチ435a、スイッチ436a、
電流源回路437a、電流源回路438a及びスイッチ439aを有する。また列ごとに
スイッチ435b、スイッチ436b、電流源回路437b、電流源回路438b及びス
イッチ439bを有する。
スイッチ435a、スイッチ435bはシフトレジスタ418から入力されるサンプリ
ングパルスによって制御される。またスイッチ436a、スイッチ439a、スイッチ4
36b及び439bはラッチパルスにより制御される。
なおスイッチ436aとスイッチ439aには互いに反転した信号が入力される。その
結果、電流源回路437a及び電流源回路438aは、一方では設定動作を行い、他方で
は入力動作を行う。またスイッチ436bとスイッチ439bには互いに反転した信号が
入力される。その結果、電流源回路437b及び電流源回路438bは、一方では設定動
作を行い、他方では入力動作を行う。
つまり、電流源回路437が設定動作をしているときに、同時に、電流源回路438は
、画素へ信号電流を出力し、入力動作を行っている。このように、電流源回路の設定動作
と入力動作とを同時にできるため、設定動作に時間をかけて、正確に行うことができる。
なお、ビデオ線(video data線)から供給される信号電流は、ビデオ信号に
依存した大きさを持っている。したがって、画素へ供給される電流は、信号電流に比例し
た大きさであるため、画像を表現することが可能となる。
従って、線順次駆動を行うことが可能となる。
なお図5において、電流線とビデオ信号用定電流源は、各ビットに対応して配置されて
いる。各ビットの電流源から供給される電流値の合計が、信号線に供給される。つまり、
定電流源回路は、デジタル−アナログ変換の機能も有する。
各電流源回路(電流源回路437a、438a、437b、438b)は、端子a、端
子b及び端子cを有する。各電流源回路(電流源回路437a、438a、437b、4
38b)は、端子aを介して入力される信号により制御される。また、端子bを介してビ
デオ線に接続されたビデオ信号用定電流源109を用いて設定された電流(信号電流Id
ata)が保持される。また1ビット用の定電流源109において設定された電流は、電
流源回路437a及び電流源回路438aにより保持される。また2ビット用の定電流源
109において設定された電流は、電流源回路437b及び電流源回路438bにより保
持される。そして各電流源回路(電流源回路437a、438a、437b、438b)
と信号線に接続された画素との間にはスイッチ439a及びスイッチ439bが設けられ
ており、前記スイッチ439a及びスイッチ439bのオン又はオフはラッチパルスによ
り制御される。
そして、デジタルビデオ信号が明信号のときには、各電流源回路(電流源回路437a
、438a、437b、438b)から画素へ信号電流が出力される。反対にビデオ信号
が暗信号のときには、各電流源回路(電流源回路437a、438a、437b、438
b)は、電流を流す能力を有していないので画素への電流は流れない。つまり各電流源回
路(電流源回路437a、438a、437b、438b)は、一定電流を流す能力(V
GS)をビデオ信号により制御され、画素へ出力する電流の大きさを用いて明るさが制御
される。
なお、1ビット用の電流源回路437a及び電流源回路438aのいずれかと、2ビッ
ト用の電流源回路437b及び電流源回路438bのいずれかとの合計の電流が、画素お
よび、画素に接続された信号線に流れることになる。
1ビット用の電流源回路437a及び電流源回路438aのどちらが設定動作を行い、
どちらが入力動作(画素への電流の出力)を行うかは、ラッチパルスにより制御される。
2ビット用の電流源回路437b及び電流源回路438bに関しても、同様である。
つまり、各ビットのビデオ信号の電流が足しあわされ、DA変換の動作が行われるのは
、電流源回路437aや電流源回路437bから画素の方へ流れる部分においてである。
したがって、そのときに、電流の大きさが、各ビットに対応した電流値になっていればよ
い。
次いで、図26に示す信号線駆動回路の概略について説明する。図26において、ラッ
チ回路は、列ごとにスイッチ435c、スイッチ435d、スイッチ436c、電流源回
路437c、電流源回路438c及びスイッチ439cとを有する。スイッチ435c、
スイッチ435dはシフトレジスタ418から入力されるサンプリングパルスによって制
御される。またスイッチ436c、439cはラッチパルスにより制御される。
なおスイッチ436cとスイッチ439cには互いに反転した信号が入力される。その
結果、電流源回路437c及び電流源回路438cは、一方では設定動作を行い、他方で
は入力動作を行う。また電流源回路437c及び電流源回路438cは、一方では設定動
作を行い、他方では入力動作を行う。
つまり、電流源回路437aが設定動作をしているときに、同時に、電流源回路438
aは、画素へ信号電流を出力し、入力動作を行っている。このように、電流源回路の設定
動作と入力動作とを同時にできるため、設定動作に時間をかけて、正確に行うことができ
る。
つまり、設定動作を正しく行うためには、定常状態になるまで、設定動作を続けて行う
必要がある。定常状態になると、電流源回路の中のトランジスタ(一定電流を供給するト
ランジスタ。図6(A)では、トランジスタ102に相当)のゲート電極には電流が流れ
ず、トランジスタのゲート・ソース間電圧を保持している容量(図6(A)では、容量素
子103に相当)の電位は、変化しなくなる。このような状態になると、設定動作を十分
に行えたことになる。つまり、入力動作時に、正しい大きさの電流を流すことができる。
しかし、設定動作を行う時間が短いと、定常状態になる前に、設定動作が終わってしまう
可能性がある。その場合は、トランジスタのゲート・ソース間電圧を保持している容量は
、正確な電位になっていないことになる。そのため、入力動作時に、正しい大きさの電流
を流すことができず、トランジスタの特性のばらつきの影響を受けてしまうことになる。
以上のことから、時間をかけて設定動作を行うと、設定動作を正確に行うことができる。
各電流源回路437c、438cは、端子a、端子b及び端子cを有する。各電流源回
路437c、438cは、端子aを介して入力される信号により制御される。また、端子
bを介してビデオ線に接続されたビデオ信号用定電流源109を用いて設定された電流(
信号電流Idata)が保持される。なお1ビット用及び2ビット用の定電流源109に
おいて設定された電流は、電流源回路437a又は電流源回路438aにより保持される
。そして各電流源回路437a、438aと信号線に接続された画素との間にはスイッチ
439cが設けられており、前記スイッチ439cのオン又はオフはラッチパルスにより
制御される。
そして、デジタルビデオ信号が明信号のときには、各電流源回路437c、438cか
ら画素へ信号電流が出力される。反対にビデオ信号が暗信号のときには、各電流源回路4
37c、438cは、電流を流す能力を有していないので画素への電流は流れない。つま
り各電流源回路437c、438cは、一定電流を流す能力(VGS)をビデオ信号によ
り制御され、画素へ出力する電流の大きさを用いて明るさが制御される。
そして本発明では端子aから入力される設定信号とは論理演算子の出力端子から入力さ
れる信号を示す。つまり図1における設定信号とは、論理演算子の出力端子から入力され
る信号に相当する。そして本発明では、論理演算子の出力端子から入力される信号に合わ
せて、電流源回路420の設定を行う。
前記論理演算子の2つの入力端子は、一方にはシフトレジスタからのサンプリングパル
スが入力され、他方にはラッチパルスが入力される。論理演算子では、入力された2つの
信号の論理演算を行って、出力端子から信号を出力する。そして電流源回路では、前記論
理演算子の出力端子から入力される信号によって、設定動作又は入力動作を行う。
ここで図5に示す各電流源回路、図26に示す各電流源回路に、図6(A)のような回
路を採用した場合について説明する。図6(A)のような回路の電流源回路を用いると、
配置するトランジスタの個数を少なく出来るのでトランジスタの特性バラツキの影響をさ
らに抑制することが出来る。つまり、設定動作を行うトランジスタと入力動作を行うトラ
ンジスタとが、同一のトランジスタであるため、トランジスタ間のばらつきの影響を全く
受けない。しかしながら、設定動作を行う時の電流を大きくできないため、設定動作をよ
り早く行うことができない。なお、設定動作の時の電流とは、ビデオ信号用定電流源10
9からラッチ回路に供給される電流に相当する。
この場合の回路図を、図42に示す。
次に、図5に示す各電流源回路、図26に示す各電流源回路に図6(C)のようなカレ
ントミラー回路を採用した場合について、図43を用いて説明する。
図6(C)のようなカレントミラー回路の2つのトランジスタにおいて、ビデオ信号用
定電流源109に接続されている方のトランジスタに比べて、画素に接続されている方の
トランジスタのW(ゲート幅)/L(ゲート長)値を小さくすると、ビデオ信号用定電流
源109から供給される電流値を大きくすることが出来る。
つまり、設定動作を行う方のトランジスタのW/Lを、入力動作を行う方のトランジス
タのW/Lよりも大きくする。すると、設定動作を行うための電流、すなわち、ビデオ信
号用定電流源109からラッチ回路に流れる電流を、大きくすることができる。電流が大
きいと、配線などに付随する配線交差容量などに電荷を素早く充電できるため、素早く、
定常状態にすることができる。よって、設定動作をより早く行うことができる。
なお、図6(C)のようなカレントミラー回路においては、ゲート電極が共通あるいは
電気的に接続されているトランジスタを少なくとも2つ有しており、前記2つのトランジ
スタの特性がそろっていれば、前記トランジスタのソース端子やドレイン端子から出力さ
れる電流はばらつかない。つまり、出力される電流がばらつかないようにするには、前記
2つのトランジスタの特性がそろっていればよい。つまり、図6(C)のようなカレント
ミラー回路において、ゲート電極が共通あるいは電気的に接続されている2つのトランジ
スタ間で、特性がそろっていればよい。ゲート電極が共通あるいは電気的に接続されてい
ないトランジスタ間では、特性がそろっている必要はない。なぜなら、各々の電流源回路
に対して、設定動作が行われるからである。つまり、設定動作の対象となったトランジス
タと、入力動作の時に使用されるトランジスタとが、同じ特性になっていればよい。ゲー
ト電極が共通あるいは電気的に接続されていないトランジスタ間で、特性がそろっていな
くても、設定動作によって、各々の電流源回路に対して設定動作が行われるので、特性ば
らつきは補正される。
通常、図6(C)のようなカレントミラー回路において、ゲート電極が共通あるいは電
気的に接続されている2つのトランジスタは、その特性のばらつきを押さえるため、近接
して配置される。
例えば画素に与える電流の大きさをPとする。そして仮に、電流源回路におけるカレン
トミラー回路の2つのトランジスタにおいて、画素に接続された方のトランジスタのW/
L値をWaとすると、ビデオ信号線に接続された方のトランジスタのW/L値を(2×W
a)にする。そうすると各電流源回路において電流値が2倍になる。そうすると、ビデオ
信号用定電流源109(1ビット用、2ビット用)からは、(2×P)又は(4×P)の
電流が供給されることになる。そうすると、ビデオ信号用定電流源109から供給される
電流を大きくできるため、各電流源回路の設定動作を素早く正確に行うことが出来る。
また本実施の形態では、2ビットのデジタル階調表示を行うので、図5においては、1
本の信号線ごとに4つの電流源回路(437a、438a、437b、438b)図26
においては1本の信号線ごとに2つの電流源回路437c、438cが設けられている。
そして図5において各電流源回路(電流源回路437a、438a、437b、438
b)の回路構成と、図26に示す各電流源回路(電流源回路437c、438c)は、図
6、7、図29、図28、図31などに示す電流源回路の回路構成を自由に用いることが
出来る。各電流源回路420は、全て一つの方式のみを用いるだけでなく、複数を採用し
てもよい。
また、ラッチ回路が有する電流源回路が図6(C)のようなカレントミラー回路である
場合、トランジスタのW(ゲート幅)/L(ゲート長)値を、各ビットによって、変えて
もよい。そうすると、下位ビットの電流源回路の設定動作の時の電流、つまり、下位ビッ
トのビデオ信号用定電流源109から流れる電流を、より大きくすることができる。その
結果、設定動作を早くすることができる。
つまり、ビデオ信号用定電流源109に接続されている方のトランジスタのW/Lを、
画素や信号線に接続されている方のトランジスタのW/Lよりも大きくする。要するに、
設定動作を行う方のトランジスタのW/Lを、入力動作を行う方のトランジスタのW/L
よりも大きくする。すると、設定動作を行うための電流、すなわち、ビデオ信号用定電流
源109から流れる電流を、より大きくすることができる。
ただし、図6(C)のようなカレントミラー回路においては、ゲート電極が共通あるい
は電気的に接続されているトランジスタを少なくとも2つ有しており、前記2つのトラン
ジスタの特性がばらつくと、そこから出力される電流もばらついてしまう。しかし、トラ
ンジスタのチャネル幅Wとチャネル長Lの比率W/Lを、前記2つのトランジスタで異な
る値に設定することにより、電流の大きさを変えることができる。通常は、設定動作の時
の電流を大きくする。その結果、素早く設定動作をすることができる。
なお、設定動作の時の電流とは、ビデオ信号用定電流源109から供給される電流に相
当する。
一方、図6(A)のような回路を用いる場合は、設定動作の時に流れる電流と、入力動
作の時に流れる電流とは、ほぼ等しい。そのため、設定動作を行うための電流を大きくす
ることはできない。しかし、設定動作を行うときに電流を供給するトランジスタと、入力
動作を行うときに電流を供給するトランジスタとは、同一のトランジスタである。よって
、トランジスタ間のばらつきの影響は、全く受けない。したがって、各ラッチ回路におい
て、設定動作を行う時の電流を大きくしたい部分には図6(C)のようなカレントミラー
回路を用いて、より正確な電流を出力したい部分では図6(A)のような回路を用いると
いうように、適宜組み合わせて用いるのが望ましい。
なお、図6(C)のようなカレントミラー回路においては、ゲート電極が共通あるいは
電気的に接続されているトランジスタを少なくとも2つ有しており、前記2つのトランジ
スタの特性がばらつくと、そこから出力される電流もばらついてしまう。しかし、前記2
つのトランジスタの特性がそろっていれば、前記トランジスタのソース端子やドレイン端
子から出力される電流はばらつかない。逆に言うと、出力される電流がばらつかないよう
にするためには、前記2つのトランジスタの特性がそろっていればよい。つまり、図6(
C)のようなカレントミラー回路において、ゲート電極が共通あるいは電気的に接続され
ている2つのトランジスタ間で、特性がそろっていればよい。ゲート電極が共通あるいは
電気的に接続されていないトランジスタ間では、特性がそろっている必要はない。なぜな
ら、各々の電流源回路に対して、設定動作が行われるからである。つまり、設定動作の対
象となったトランジスタと、入力動作の時に使用されるトランジスタとが、同じ特性にな
っていればよい。ゲート電極が共通あるいは電気的に接続されていないトランジスタ間で
、特性がそろっていなくても、設定動作によって、各々の電流源回路に対して設定が行わ
れるので、特性ばらつきは補正される。
通常、図6(C)のようなカレントミラー回路において、ゲート電極が共通あるいは電
気的に接続されている2つのトランジスタは、2つのトランジスタの特性のばらつきを押
さえるため、近接して配置される。
なお、ラッチ回路が有する電流源回路において、図6(A)のような回路を用いたり、
図6(C)のようなカレントミラー回路を用いたりして、混合させて用いてもよい。
なお、図6(C)のようなカレントミラー回路を採用するのは、全てのビット用の電流
源回路でもよいし、一部のビット用の電流源回路だけでもよい。より効果的なのは、下位
ビット用の電流源回路に対して、図6(C)のようなカレントミラー回路を用い、上位ビ
ット用の電流源回路に対しては、図6(A)のような回路を用いるのが望ましい。
なぜなら、上位ビットの電流源回路は、電流源回路のトランジスタの特性がわずかにば
らついても、電流値に与える影響が大きい。同程度にトランジスタの特性がばらついても
、上位ビットの電流源回路から供給される電流は、電流値自体が大きいため、ばらつきに
よる電流の差の絶対値も大きいからである。たとえば、トランジスタの特性が10%ばら
ついたとする。1ビット目の電流の大きさをIとすると、そのばらつき量は、0.1Iで
ある。一方、3ビット目の電流の大きさは、8Iになるので、そのばらつき量は、0.8
Iとなる。このように、上位ビットの電流源回路は、トランジスタの特性がわずかにばら
ついても、その影響が大きく出てしまう。
そのため、できるだけばらつきの影響が出ない方式が望ましい。また、上位ビットの電
流は、電流値が大きいので、設定動作を行うのも、容易である。一方、下位ビットの電流
は、多少ばらついても、電流値自体が小さいため、影響が少ない。また、下位ビットの電
流は、電流値が小さいので、設定動作を行うのが、容易ではない。
この状況を解決するためには、下位ビット用の電流源回路に対して、図6(C)のよう
なカレントミラー回路を用い、上位ビット用の電流源回路に対しては、図6(A)のよう
な回路を用いることが望ましい。
特に、ビデオ信号用定電流源109から流れる電流が小さくなってしまうような下位ビ
ット用の電流源回路においては、図6(C)のようなカレントミラー回路を用いて、電流
値を大きくすることは、有効である。
つまり、下位ビット用の電流源回路は、その電流源回路から流れる電流値が小さいので
、設定動作に時間がかかってしまう。そこで、図6(C)のようなカレントミラー回路を
用いて、電流値を大きくすれば、設定動作にかかる時間を短くすることができるようにな
る。
また、図6(C)のようなカレントミラー回路においては、ゲート電極が共通あるいは
電気的に接続されているトランジスタを少なくとも2つ有しており、前記2つのトランジ
スタの特性がばらつくと、そこから出力される電流もばらついてしまう。しかし、下位ビ
ット用の電流源回路の場合、画素や信号線に出力する電流値が小さい。そのため、前記2
つのトランジスタの特性がばらついても、その影響は小さい。以上のことから、下位ビッ
ト用の電流源回路においては、図6(C)のようなカレントミラー回路を用いることは、
効果的である。
以上をまとめると、電流源回路に図6(C)のようなカレントミラー回路を採用し、さ
らにW/L値を適当な値に設定することにより、ビデオ信号用定電流源109から供給す
る電流を大きくすることが出来る。そしてその結果、電流源回路の設定動作を正確に行う
ことが出来る。
ただし、図6(C)のようなカレントミラー回路においては、ゲート電極が共通あるい
は電気的に接続されているトランジスタを少なくとも2つ有しており、前記2つのトラン
ジスタの特性がばらつくと、そこから出力される電流もばらついてしまう。
一方、図6(A)のような回路を用いる場合は、設定動作の時に流れる電流を大きくす
ることはできない。しかし、トランジスタ間のばらつきの影響は、全く受けない。
したがって、各回路において、電流を大きくしたい部分では、図6(C)のようなカレ
ントミラー回路を用い、より正確な電流を出力したい部分では、図6(A)のような回路
を用いる、というように、適宜組み合わせて用いるのが望ましい。
なお、単なるスイッチとして動作させるトランジスタは、極性はどちらでもよい。
なお図5において、1ビット用のビデオ信号用定電流源109は、1ビット用のビデオ
線(Video data線)に接続され、2ビット用のビデオ信号用定電流源109は
、2ビット用のビデオ線(Video data線)に接続されている。そして、仮に1
ビット用のビデオ信号用定電流源109から供給される電流をIとすると、2ビット用の
ビデオ信号用定電流源109から供給される電流を2Iとする。しかし、本発明はこれに
限定されず、1ビット用のビデオ信号用定電流源109及び2ビット用のビデオ信号用定
電流源109から供給される電流の大きさを同じにすることも出来る。1ビット用のビデ
オ信号用定電流源109及び2ビット用のビデオ信号用定電流源109から供給される電
流の大きさを同じにすると、動作条件や負荷を同じにすることが可能であり、さらに電流
源回路に信号を書き込む時間を同じにすることが出来る。
但しそのときには、図5、図26に示す各電流源回路に図6(C)のようなカレントミ
ラー回路を採用する必要がある。そして図5に示す各電流源回路では、電流源回路437
a及び電流源回路438aが有するトランジスタと、電流源回路437b及び電流源回路
438bが有するトランジスタのW/L値を2:1とする必要がある。そうすると、電流
源回路437a及び電流源回路438aから出力される電流の大きさと、電流源回路43
7b及び電流源回路438bから出力される電流の大きさを2:1とすることが出来る。
また図26に示す各電流源回路では、ビデオ信号線に接続されている方のトランジスタと
、画素に接続されている方のトランジスタのW/L値を2:1とする必要がある。
なお本実施の形態では、2ビットのデジタル階調表示を行う場合における信号線駆動回
路の構成とその動作について説明した。しかし本発明は2ビットに限らず、本実施の形態
を参考にして任意のビット数に対応した信号線駆動回路を設計し、任意のビット数の表示
を行うことが出来る。また本実施の形態は、実施の形態1〜4と自由に組み合わせること
が可能である。
(実施の形態6)
図2〜図5において示したビデオ信号用定電流源109は、基板上に信号線駆動回路と
一体形成してもよいし、ビデオ信号用電流109として、基板の外部からIC等を用いて
一定の電流を入力してもよい。そして基板上に一体形成する場合には、図6〜8、図29
、図28、図31などに示した電流源回路のいずれを用いて形成してもよい。或いは、単
に1個のトランジスタを配置して、ゲートに加える電圧に応じて、電流値を制御するよう
にしてもよい。本実施の形態では、3ビット用のビデオ信号用電流源109を図6(C)
のようなカレントミラー回路の電流源回路で構成する場合について図23〜図25を用い
て説明する。
なお、電流が流れる向きは、画素の構成などにより、変わる。電流の流れる方向を変え
る場合には、トランジスタの極性を変更することなどにより、容易に対応できる。
図23において、ビデオ信号用定電流源109は、ビデオ線(Video data線
、電流線)へ所定の信号電流Idataを出力するか否かを3ビットのデジタルビデオ信
号(Digital Data1〜Digital Data3)が有するHigh又はL
owの情報によって制御される。
ビデオ信号用定電流源109は、スイッチ180〜スイッチ182、トランジスタ18
3〜トランジスタ188及び容量素子189を有する。本実施の形態では、トランジスタ
180〜トランジスタ188は全てnチャネル型とする。
スイッチ180は1ビットのデジタルビデオ信号により制御される。スイッチ181は
2ビットのデジタルビデオ信号により制御される。スイッチ183は3ビットのデジタル
ビデオ信号により制御される。
トランジスタ183〜トランジスタ185のソース領域とドレイン領域は、一方はVs
sに接続され、他方はスイッチ180〜スイッチ182の一方の端子に接続されている。
トランジスタ186のソース領域とドレイン領域は、一方はVssに接続され、他方はト
ランジスタ188のソース領域とドレイン領域の一方に接続されている。
トランジスタ187とトランジスタ188のゲート電極には、端子eを介して外部から
信号が入力される。また電流線190には端子fを介して外部から電流が供給される。
トランジスタ187のソース領域とドレイン領域は、一方はトランジスタ186のソー
ス領域とドレイン領域の一方に接続され、他方は容量素子189の一方の電極に接続され
ている。トランジスタ188のソース領域とドレイン領域は、一方は電流線190に接続
され、他方はトランジスタ186のソース領域とドレイン領域の一方に接続されている。
容量素子189の一方の電極は、トランジスタ183〜トランジスタ186のゲート電
極に接続され、他方の電極はVssに接続されている。容量素子189は、トランジスタ
183〜トランジスタ186のゲート・ソース間電圧を保持する役目を担う。
そしてビデオ信号用定電流源109では、端子eから入力される信号によりトランジス
タ187及びトランジスタ188がオンになると、端子fから供給される電流が電流線1
90を介して容量素子189に流れていく。
そして徐々に容量素子189に電荷が蓄積され、両電極間に電位差が生じ始める。そし
て両電極間の電位差がVthになると、トランジスタ183〜トランジスタ186はオン
になる。
容量素子189において、その両電極の電位差、つまりトランジスタ183〜トランジ
スタ186のゲート・ソース間電圧が所望の電圧になるまで電荷の蓄積が続けられる。言
い換えると、トランジスタ183〜トランジスタ186が信号電流を流すことが出来るだ
けの電圧になるまで、電荷の蓄積が続けられる。
そして電荷の蓄積が終了すると、トランジスタ183〜トランジスタ186は完全にオ
ンになる。
そしてビデオ信号用定電流源109において、3ビットのデジタルビデオ信号により、
スイッチ180〜スイッチ182の導通又は非導通が選択される。例えば、スイッチ18
0〜スイッチ182が全て導通状態になったときは、電流線に供給される電流は、トラン
ジスタ183のドレイン電流と、トランジスタ184のドレイン電流と、トランジスタ1
85のドレイン電流の総和となる。また、スイッチ180のみが導通状態になったときは
、トランジスタ183のドレイン電流のみが電流線に供給される。
このときトランジスタ183のドレイン電流と、トランジスタ184のドレイン電流と
、トランジスタ185のドレイン電流を1:2:4として設定すると、2=8段階で電
流の大きさを制御出来る。そのため、トランジスタ183〜185のW(チャネル幅)/
L(チャネル長)値を、1:2:4として設計すると、それぞれのオン電流が1:2:4
となる。
なお、図23の構成では、電流線(ビデオ線)が1本の場合について示した。しかし、
図4のような回路か、図26のような回路かによって、配置される電流線(ビデオ線)の
本数は異なる。そこで、図23の回路において、電流線(ビデオ線)が複数になった場合
の図を図44に示す。
次いで図23とは異なる構成のビデオ信号用電流源109を図24に示す。図24にお
いては、図23に示すビデオ信号用電流源109と比べて、トランジスタ187、188
を除いて、容量素子189の一方の端子を電流線190に接続した構成になっている点以
外は、図23に示すビデオ信号用電流源109の動作と同じあるので、本実施の形態では
説明は省略する。
図24の構成では、ビデオ線(電流線)に電流を供給し続けている間は、端子fより信
号(電流)を入力しつづけなければならない。もし、端子fより流れる電流の入力を止め
ると、容量素子189にある電荷が、トランジスタ186を通って放電されてしまう。そ
の結果、トランジスタ186のゲート電極の電位が小さくなり、トランジスタ183〜1
85から、正常な電流が出力できなくなってしまう。一方、図23の構成の場合には、容
量素子189に所定の電荷が保持されているため、ビデオ線(電流線)に電流を供給して
いる間においても、端子fより信号(電流)を入力し続ける必要はない。よって、図24
の構成では、容量素子189は、省略してもよい。
なお、図24の構成では、電流線(ビデオ線)が1本の場合について示した。しかし、
図4のような回路か、図26のような回路かによって、電流線(ビデオ線)の数は異なる
。そこで、図24の回路において、電流線(ビデオ線)が複数になった場合の図を、図4
5に示す。
続いて図23、24とは異なる構成のビデオ信号用電流源109を図25に示す。図2
5においては、図23に示すビデオ信号用電流源109と比べて、トランジスタ186、
187、188及び容量素子189を除いて、トランジスタ183〜トランジスタ185
のゲート電極には端子fを介して外部から一定の電圧が印加される構成になっている点以
外は、図23に示すビデオ信号用電流源109の動作と同じあるので、本実施の形態では
説明は省略する。
図25の場合は、端子fから、トランジスタ183〜185のゲート電極に電圧(ゲー
ト電圧)を加える。しかし、トランジスタ183〜185は、同じゲート電圧が印加され
ても、該トランジスタ183〜185の特性がばらつけば、該トランジスタ183〜18
5のソース・ドレイン間に流れる電流値もばらつく。したがって、ビデオ線(電流線)に
流れる電流もばらつく。また、温度によっても、特性が変化するため、トランジスタ18
3〜185から供給される電流値も変化してしまう。
一方、図23、図24の場合は、端子fより、電圧を加えることもできるが、電流を加
えることもできる。電流で加えた場合、トランジスタ183〜186までの特性がそろっ
ていれば、電流値はばらつかなくなる。また、温度によってその特性が変化しても、トラ
ンジスタ183〜186までの特性が、同程度に変化するため、電流値が変化しなくなる
なお、図25では、端子fから、トランジスタ183〜185に電圧(ゲート電圧)を
加え、その電圧は、ビデオ信号によって変化しない。図25においては、ビデオ信号は、
スイッチ180〜182を制御することで、電流が電流線に流れるかどうかを制御する。
そこで、図46のように、トランジスタ183〜185のゲート電極に電圧(ゲート電圧
)を加え、その電圧は、ビデオ信号によって変化するようにしてもよい。これにより、ビ
デオ信号用電流の大きさを変えることができる。また、図47のように、トランジスタ1
83のゲート電極に加える電圧(ゲート電圧)をアナログ電圧にして、階調にしたがって
、電圧を変化させ、電流を変えるようにしてもよい。
続いて図23、24、25とは異なる構成のビデオ信号用電流源109を図9に示す。
図23では、図6(C)の電流源回路を適用していた。図9では、図6(A)の電流源回
路を適用している。
図23の場合、トランジスタ183〜186の特性がばらつくと、電流値もばらついて
しまう。一方、図9では、各電流源に対して設定動作を行っている。よって、トランジス
タのばらつきの影響を小さくすることができる。ただし、図9の場合、設定動作を行って
いるときには、入力動作(電流線へ電流を供給する動作)を同時に行うことができない。
よって、設定動作は、入力動作を行っていない期間に行う必要がある。入力動作を行って
いる期間にも設定動作ができるようにするためには、図10のように、複数の電流源回路
を配置し、一方の電流源回路が設定動作を行っている時には、もう一方の電流源回路で入
力動作を行うようにしてもよい。
なお本実施の形態は、実施の形態1〜5と自由に組み合わせることが可能である。
(実施の形態7)
本発明の実施の形態について、図11を用いて説明する。図11(A)において、画素
部の上方に信号線駆動回路、下方に定電流回路を配置し、前記信号線駆動回路に電流源A
、定電流回路に電流源Bを配置する。電流源A、Bから供給される電流をIA、IBとし
、画素に供給される信号電流をIdataとすると、IA=IB+Idataが成立する
。そして、画素に信号電流を書き込む際には、電流源A、Bの両者から電流を供給するよ
うに設定する。このとき、IA、IBを大きくすると、画素に対する信号電流の書き込み
速度を早くすることができる。
このとき、電流源Aを用いて、電流源Bの設定動作を行う。画素には、電流源Aからの
電流から電流源Bの電流を差し引いた電流が流れる。したがって、電流源Aを用いて、電
流源Bの設定動作を行うことにより、さまざまなノイズなどの影響をより小さくできる。
図11(B)において、ビデオ信号用定電流源(以下定電流源と表記)C、Eは、画素
部の上方と下方に配置される。そして、電流源C、Eを用いて、信号線駆動回路、定電流
回路に配置された電流源回路の設定動作を行う。電流源Dは、電流源C、Eを設定する電
流源に相当し、外部からビデオ信号用電流が供給される。
なお、図11(B)において、下方に配置してある定電流回路を信号線駆動回路として
もよい。それにより、上方と下方の両方に信号線駆動回路が配置できる。そして、各々、
画面(画素部全体)の上下半分ずつの制御を担当する。このようにすることで、同時に2
行分の画素を制御できる。そのため、信号線駆動回路の電流源、画素、画素の電流源など
への設定動作(信号入力動作)のための時間を長くとることが可能となる。そのため、よ
り正確に設定できるようになる。
本実施の形態は、実施の形態1〜6と任意に組み合わせることが可能である。
本実施例では、時間階調方式について図14を用いて詳しく説明する。通常、液晶表示
装置や発光装置等の表示装置においては、フレーム周波数は60Hz程度である。つまり
図14(A)に示すように、1秒間に60回程度の画面の描画が行われる。これにより、
人間の眼にフリッカ(画面のちらつき)を感じさせないようにすることが出来る。このと
き、画面の描画を1回行う期間を1フレーム期間と呼ぶ。
本実施例では一例として、特許文献1の公報にて公開されている時間階調方式を説明す
る。時間階調方式では、1フレーム期間を複数のサブフレーム期間に分割する。このとき
の分割数は、階調ビット数に等しい場合が多い。そしてここでは簡単のため、分割数が階
調ビット数に等しい場合を示す。つまり本実施例では3ビット階調であるので、3つのサ
ブフレーム期間SF1〜SF3に分割している例を示す(図14(B))。
各サブフレーム期間は、アドレス(書き込み)期間Taと、サステイン(発光)期間T
sとを有する。アドレス期間とは、画素にビデオ信号を書き込む期間であり、各サブフレ
ーム期間での長さは等しい。サステイン期間とは、アドレス期間において画素に書き込ま
れたビデオ信号に基づいて発光素子が発光する期間である。このとき、サステイン(発光
)期間SF1〜SF3は、その長さの比をTs1:Ts2:Ts3=4:2:1としてい
る。つまり、nビット階調を表現する際は、n個のサステイン期間の長さの比は、2(n
−1):2(n−2):・・・:2:2としている。そして、どのサステイン期間で
発光素子が発光するかによって、1フレーム期間あたりに、各画素が発光する期間の長さ
が決定し、これによって階調表現を行う。
次いで、時間階調方式を適用した画素における具体的な動作について説明するが、本実
施例では図16(B)に示す画素を参照して説明する。図16(B)に示す画素は、電流
入力方式が適用される。
まずアドレス期間Taにおいては、以下の動作を行う。第1の走査線602および第2
の走査線603が選択されて、TFT606、607がオンする。このとき、信号線60
1を流れる電流を信号電流Idataとする。そして容量素子610には所定の電荷が蓄
積されると、第1の走査線602および第2の走査線603の選択が終了して、TFT6
06、607がオフする。
次いでサステイン期間Tsにおいては、以下の動作を行う。第3の走査線604が選択
されて、TFT609がオンする。容量素子610には先ほど書き込んだ所定の電荷が保
持されているため、TFT608はオンしており、電流線605から信号電流Idata
に等しい電流が流れる。これにより発光素子611が発光する。
以上の動作を各サブフレーム期間で行うことにより、1フレーム期間を構成する。この
方法によると、表示階調数を増やしたい場合は、サブフレーム期間の分割数を増やせば良
い。また、サブフレーム期間の順序は、図14(B)(C)に示すように、必ずしも上位
ビットから下位ビットといった順序である必要はなく、1フレーム期間中、ランダムに並
んでいても良い。さらに各フレーム期間内で、その順序が変化しても良い。
また、m行目の走査線のサブフレーム期間SF2を図14(D)に図示する。図14(
D)に図示するように、画素ではアドレス期間Ta2が終了したら、直ちにサステイン期
間Ts2が開始されている。
本実施例は、実施の形態1〜7と任意に組み合わせることが可能である。
本実施例では、画素部に設けられる画素の回路の構成例について図13を用いて説明す
る。なお電流を入力する部分を含むような構成を有する画素であれば、どのような構成の
画素にも適用できる。
図13(A)の画素は、信号線1101、第1および第2の走査線1102、1103
、電流線(電源線)1104、スイッチング用TFT1105、保持用TFT1106、
駆動用TFT1107、変換駆動用TFT1108、容量素子1109、発光素子111
0とを有する。各信号線は、電流源回路1111に接続されている。なお、電流源回路1
111が、信号線駆動回路403に配置されている電流源回路420に相当する。
スイッチング用TFT1105のゲート電極は、第1の走査線1102に接続され、第
1の電極は信号線1101に接続され、第2の電極は駆動用TFT1107の第1の電極
と、変換駆動用TFT1108の第1の電極とに接続されている。保持用TFT1106
のゲート電極は、第2の走査線1103に接続され、第1の電極は変換駆動用TFT11
06の第1の電極に接続され、第2の電極は駆動用TFT1107のゲート電極と、変換
駆動用TFT1108のゲート電極とに接続されている。駆動用TFT1107の第2の
電極は、電流線(電源線)1104に接続され、変換駆動用TFT1108の第2の電極
は、発光素子1110の一方の電極に接続されている。容量素子1109は、変換駆動用
TFT1108のゲート電極と第2の電極との間に接続され、変換駆動用TFT1108
のゲート・ソース間電圧を保持する。電流線(電源線)1104および発光素子1110
の他方の電極には、それぞれ所定の電位が入力され、互いに電位差を有する。
なお、図13(A)の画素は、図29(B)の回路を画素に適用した場合に相当する。
ただし、電流の流れる向きが異なるため、トランジスタの極性は、反対になっている。図
13(A)の駆動用TFT1107が図29(B)のTFT126に相当し、図13(A
)の変換駆動用TFT1108が図29(B)のTFT122に相当し、図13(A)の
保持用TFT1106が図29(B)のTFT124に相当する。
図13(B)の画素は、信号線1151、第1及び第2の走査線1142、1143、
電流線(電源線)1144、スイッチング用TFT1145、保持用TFT1146、変
換駆動用TFT1147、駆動用TFT1148、容量素子1149、発光素子1140
とを有する。信号線1151は電流源回路1141に接続されている。
なお、電流源回路1141が、信号線駆動回路403に配置されている電流源回路42
0に相当する。
スイッチング用TFT1145のゲート電極は、第1の走査線1142に接続され、第
1の電極は信号線1151に接続され、第2の電極は駆動用TFT1148の第1の電極
と、変換駆動用TFT1147の第1の電極とに接続されている。保持用TFT1146
のゲート電極は、第2の走査線1143に接続され、第1の電極は駆動用TFT1148
の第1の電極に接続され、第2の電極は駆動用TFT1148のゲート電極と、変換駆動
用TFT1147のゲート電極とに接続されている。変換駆動用TFT1147の第2の
電極は、電流線(電源線)1144に接続され、駆動用TFT1148の第2の電極は、
発光素子1140の一方の電極に接続されている。容量素子1149は、変換駆動用TF
T1147のゲート電極と第2の電極との間に接続され、変換駆動用TFT1147のゲ
ート・ソース間電圧を保持する。電流線(電源線)1144および発光素子1140の他
方の電極には、それぞれ所定の電位が入力され、互いに電位差を有する。
なお、図13(B)の画素は、図6(B)の回路を画素に適用した場合に相当する。た
だし、電流の流れる向きが異なるため、トランジスタの極性は、反対になっている。図1
3(B)の変換駆動用TFT1147が図6(B)のTFT122に相当し、図13(B
)の駆動用TFT1148が図6(B)のTFT126に相当し、図13(B)の保持用
TFT1146が図6(B)のTFT124に相当する。
図13(C)の画素は、信号線1121、第1の走査線1122、第2の走査線112
3、第3の走査線1135、電流線1124、電流線1138、スイッチング用TFT1
125、消去用TFT1126、駆動用TFT1127、容量素子1128、電流源TF
T1129、ミラーTFT1130、容量素子1131、電流入力TFT1132、保持
TFT1133、発光素子1136とを有する。各信号線は、電流源回路1137に接続
されている。
スイッチング用TFT1125のゲート電極は、第1の走査線1122に接続され、ス
イッチング用TFT1125の第1の電極は信号線1121に接続され、スイッチング用
TFT1125の第2の電極は駆動用TFT1127のゲート電極と、消去用TFT11
26の第1の電極とに接続されている。消去用TFT1126のゲート電極は、第2の走
査線1123に接続され、消去用TFT1126の第2の電極は電流線1124に接続さ
れている。駆動用TFT127の第1の電極は発光素子1136の一方の電極に接続され
、駆動用TFT1127の第2の電極は電流源TFT1129の第1の電極に接続されて
いる。電流源TFT1129の第2の電極は電流線1124に接続されている。容量素子
1131の一方の電極は、電流源TFT1129のゲート電極及びミラーTFT1130
のゲート電極に接続され、他方の電極は電流線1124に接続されている。ミラーTFT
1130の第1の電極は電流線1124に接続され、ミラーTFT1130の第2の電極
は、電流入力TFT1132の第1の電極に接続されている。電流入力TFT1132の
第2の電極は電流線1138に接続され、電流入力TFT1132のゲート電極は第3の
走査線1135に接続されている。電流保持TFT1133のゲート電極は第3の走査線
1135に接続され、電流保持TFT1133の第1の電極は電源線1138に接続され
、電流保持TFT1133の第2の電極は電流源TFT1129のゲート電極及びミラー
TFT1130のゲート電極に接続されている。電流線1124および発光素子1136
の他方の電極には、それぞれ所定の電位が入力され、互いに電位差を有する。
本実施例は、実施の形態1〜7、実施例1と任意に組み合わせることが可能である。
本実施例では、カラー表示を行う場合の工夫について述べる。
発光素子が有機EL素子である場合、発光素子に同じ大きさの電流を流しても、色によ
って、その輝度が異なる場合がある。また、発光素子が経時的な要因などにより劣化した
場合、その劣化の度合いは、色によって異なる。そのため、発光素子を用いた発光装置に
おいて、カラー表示を行う際には、そのホワイトバランスを調節するためにさまざまな工
夫が必要である。
最も単純な手法は、画素に入力する電流の大きさを色によって変えることである。その
ためには、ビデオ信号用定電流源の電流の大きさを色によって変えればよい。その他の手
法としては、画素、信号線駆動回路、ビデオ信号用定電流源などにおいて、図6(C)〜
図6(E)のような回路を用いることである。そして、図6(C)〜図6(E)のような
回路において、カレントミラー回路を構成する2つのトランジスタのW/Lの比率を色に
よって変える。これにより、画素に入力する電流の大きさが色によって変えることができ
る。
さらに他の手法としては、点灯期間の長さを色によって変えることである。これは、時
間階調方式を用いている場合、また用いていない場合のどちらの場合にも適用できる。本
手法により、各画素の輝度を調節することができる。以上のような手法を用いることによ
り、あるいは、組み合わせて用いることにより、ホワイトバランスを容易に調節すること
ができる。
本実施例は、実施の形態1〜7、実施例1、2と任意に組み合わせることが可能である
本実施例では、本発明の発光装置(半導体装置)の外観について、図12を用いて説明
する。図12は、トランジスタが形成された素子基板をシーリング材によって封止するこ
とによって形成された発光装置の上面図であり、図12(B)は、図12(A)のA−A
'における断面図、図12(C)は図12(A)のB−B'における断面図である。
基板4001上に設けられた画素部4002と、ソース信号線駆動回路4003と、ゲ
ート信号線駆動回路4004a、bとを囲むようにして、シール材4009が設けられて
いる。また画素部4002と、ソース信号線駆動回路4003と、ゲート信号線駆動回路
4004a、bとの上にシーリング材4008が設けられている。よって画素部4002
と、ソース信号線駆動回路4003と、ゲート信号線駆動回路4004a、bとは、基板
4001とシール材4009とシーリング材4008とによって、充填材4210で密封
されている。
また基板4001上に設けられた画素部4002と、ソース信号線駆動回路4003と
、ゲート信号線駆動回路4004a、bとは、複数のTFTを有している。図12(B)
では代表的に、下地膜4010上に形成された、ソース信号線駆動回路4003に含まれ
る駆動TFT(但し、ここではnチャネル型TFTとpチャネル型TFTを図示)420
1及び画素部4002に含まれる消去用TFT4202を図示した。
本実施例では、駆動TFT4201には公知の方法で作製されたpチャネル型TFTま
たはnチャネル型TFTが用いられ、消去用TFT4202には公知の方法で作製された
nチャネル型TFTが用いられる。
駆動TFT4201及び消去用TFT4202上には層間絶縁膜(平坦化膜)4301
が形成され、その上に消去用TFT4202のドレインと電気的に接続する画素電極(陽
極)4203が形成される。画素電極4203としては仕事関数の大きい透明導電膜が用
いられる。透明導電膜としては、酸化インジウムと酸化スズとの化合物、酸化インジウム
と酸化亜鉛との化合物、酸化亜鉛、酸化スズまたは酸化インジウムを用いることができる
。また、前記透明導電膜にガリウムを添加したものを用いても良い。
そして、画素電極4203の上には絶縁膜4302が形成され、絶縁膜4302は画素
電極4203の上に開口部が形成されている。この開口部において、画素電極4203の
上には発光層4204が形成される。発光層4204は公知の発光材料または無機発光材
料を用いることができる。また、発光材料には低分子系(モノマー系)材料と高分子系(
ポリマー系)材料があるがどちらを用いても良い。
発光層4204の形成方法は公知の蒸着技術もしくは塗布法技術を用いれば良い。また
、発光層4204の構造は正孔注入層、正孔輸送層、発光層、電子輸送層または電子注入
層を任意に組み合わせて積層構造または単層構造とすれば良い。
発光層4204の上には遮光性を有する導電膜(代表的にはアルミニウム、銅もしくは
銀を主成分とする導電膜またはそれらと他の導電膜との積層膜)からなる陰極4205が
形成される。また、陰極4205と発光層4204の界面に存在する水分や酸素は極力排
除しておくことが望ましい。従って、発光層4204を窒素または希ガス雰囲気で形成し
、酸素や水分に触れさせないまま陰極4205を形成するといった工夫が必要である。本
実施例ではマルチチャンバー方式(クラスターツール方式)の成膜装置を用いることで上
述のような成膜を可能とする。そして陰極4205は所定の電圧が与えられている。
以上のようにして、画素電極(陽極)4203、発光層4204及び陰極4205から
なる発光素子4303が形成される。そして発光素子4303を覆うように、絶縁膜上に
保護膜が形成されている。保護膜は、発光素子4303に酸素や水分等が入り込むのを防
ぐのに効果的である。
4005aは電源線に接続された引き回し配線であり、消去用TFT4202のソース
領域に電気的に接続されている。引き回し配線4005aはシール材4009と基板40
01との間を通り、異方導電性フィルム4300を介してFPC4006が有するFPC
用配線4301に電気的に接続される。
シーリング材4008としては、ガラス材、金属材(代表的にはステンレス材)、セラ
ミックス材、プラスチック材(プラスチックフィルムも含む)を用いることができる。プ
ラスチック材としては、FRP(Fiberglass−Reinforced Pla
stics)板、PVF(ポリビニルフルオライド)フィルム、マイラーフィルム、ポリ
エステルフィルムまたはアクリル樹脂フィルムを用いることができる。また、アルミニウ
ムホイルをPVFフィルムやマイラーフィルムで挟んだ構造のシートを用いることもでき
る。
但し、発光層からの光の放射方向がカバー材側に向かう場合にはカバー材は透明でなけ
ればならない。その場合には、ガラス板、プラスチック板、ポリエステルフィルムまたは
アクリルフィルムのような透明物質を用いる。
また、充填材4210としては窒素やアルゴンなどの不活性な気体の他に、紫外線硬化
樹脂または熱硬化樹脂を用いることができ、PVC(ポリビニルクロライド)、アクリル
、ポリイミド、エポキシ樹脂、シリコン樹脂、PVB(ポリビニルブチラル)またはEV
A(エチレンビニルアセテート)を用いることができる。本実施例では充填材として窒素
を用いた。
また充填材4210を吸湿性物質(好ましくは酸化バリウム)もしくは酸素を吸着しう
る物質にさらしておくために、シーリング材4008の基板4001側の面に凹部400
7を設けて吸湿性物質または酸素を吸着しうる物質4207を配置する。そして、吸湿性
物質または酸素を吸着しうる物質4207が飛び散らないように、凹部カバー材4208
によって吸湿性物質または酸素を吸着しうる物質4207は凹部4007に保持されてい
る。なお凹部カバー材4208は目の細かいメッシュ状になっており、空気や水分は通し
、吸湿性物質または酸素を吸着しうる物質4207は通さない構成になっている。吸湿性
物質または酸素を吸着しうる物質4207を設けることで、発光素子4303の劣化を抑
制できる。
図12(C)に示すように、画素電極4203が形成されると同時に、引き回し配線4
005a上に接するように導電性膜4203aが形成される。
また、異方導電性フィルム4300は導電性フィラー4300aを有している。基板4
001とFPC4006とを熱圧着することで、基板4001上の導電性膜4203aと
FPC4006上のFPC用配線4301とが、導電性フィラー4300aによって電気
的に接続される。
本実施例は、実施の形態1〜7、実施例1〜3と任意に組み合わせることが可能である
発光素子を用いた発光装置は自発光型であるため、液晶ディスプレイに比べ、明るい場
所での視認性に優れ、視野角が広い。従って、様々な電子機器の表示部に用いることがで
きる。
本発明の発光装置を用いた電子機器として、ビデオカメラ、デジタルカメラ、ゴーグル
型ディスプレイ(ヘッドマウントディスプレイ)、ナビゲーションシステム、音響再生装
置(カーオーディオ、オーディオコンポ等)、ノート型パーソナルコンピュータ、ゲーム
機器、携帯情報端末(モバイルコンピュータ、携帯電話、携帯型ゲーム機または電子書籍
等)、記録媒体を備えた画像再生装置(具体的にはDigital Versatile
Disc(DVD)等の記録媒体を再生し、その画像を表示しうるディスプレイを備えた
装置)などが挙げられる。特に、斜め方向から画面を見る機会が多い携帯情報端末は、視
野角の広さが重要視されるため、発光装置を用いることが望ましい。それら電子機器の具
体例を図22に示す。
図22(A)は発光装置であり、筐体2001、支持台2002、表示部2003、ス
ピーカー部2004、ビデオ入力端子2005等を含む。本発明の発光装置は表示部20
03に用いることができる。また本発明により、図22(A)に示す発光装置が完成され
る。発光装置は自発光型であるためバックライトが必要なく、液晶ディスプレイよりも薄
い表示部とすることができる。なお、発光装置は、パソコン用、TV放送受信用、広告表
示用などの全ての情報表示用表示装置が含まれる。
図22(B)はデジタルスチルカメラであり、本体2101、表示部2102、受像部
2103、操作キー2104、外部接続ポート2105、シャッター2106等を含む。
本発明の発光装置は表示部2102に用いることができる。また本発明により、図22(
B)に示すデジタルスチルカメラが完成される。
図22(C)はノート型パーソナルコンピュータであり、本体2201、筐体2202
、表示部2203、キーボード2204、外部接続ポート2205、ポインティングマウ
ス2206等を含む。本発明の発光装置は表示部2203に用いることができる。また本
発明により、図22(C)に示す発光装置が完成される。
図22(D)はモバイルコンピュータであり、本体2301、表示部2302、スイッ
チ2303、操作キー2304、赤外線ポート2305等を含む。本発明の発光装置は表
示部2302に用いることができる。また本発明により、図22(D)に示すモバイルコ
ンピュータが完成される。
図22(E)は記録媒体を備えた携帯型の画像再生装置(具体的にはDVD再生装置)
であり、本体2401、筐体2402、表示部A2403、表示部B2404、記録媒体
(DVD等)読み込み部2405、操作キー2406、スピーカー部2407等を含む。
表示部A2403は主として画像情報を表示し、表示部B2404は主として文字情報を
表示するが、本発明の発光装置はこれら表示部A、B2403、2404に用いることが
できる。なお、記録媒体を備えた画像再生装置には家庭用ゲーム機器なども含まれる。ま
た本発明により、図22(E)に示すDVD再生装置が完成される。
図22(F)はゴーグル型ディスプレイ(ヘッドマウントディスプレイ)であり、本体
2501、表示部2502、アーム部2503を含む。本発明の発光装置は表示部250
2に用いることができる。また本発明により、図22(F)に示すゴーグル型ディスプレ
イが完成される。
図22(G)はビデオカメラであり、本体2601、表示部2602、筐体2603、
外部接続ポート2604、リモコン受信部2605、受像部2606、バッテリー260
7、音声入力部2608、操作キー2609、接眼部2610等を含む。本発明の発光装
置は表示部2602に用いることができる。また本発明により、図22(G)に示すビデ
オカメラが完成される。
ここで図22(H)は携帯電話であり、本体2701、筐体2702、表示部2703
、音声入力部2704、音声出力部2705、操作キー2706、外部接続ポート270
7、アンテナ2708等を含む。本発明の発光装置は表示部2703に用いることができ
る。なお、表示部2703は黒色の背景に白色の文字を表示することで携帯電話の消費電
流を抑えることができる。また本発明により、図22(H)に示す携帯電話が完成される
なお、将来的に発光材料の発光輝度が高くなれば、出力した画像情報を含む光をレンズ
等で拡大投影してフロント型若しくはリア型のプロジェクターに用いることも可能となる
また、上記電子機器はインターネットやCATV(ケーブルテレビ)などの電子通信回
線を通じて配信された情報を表示することが多くなり、特に動画情報を表示する機会が増
してきている。発光材料の応答速度は非常に高いため、発光装置は動画表示に好ましい。
また、発光装置は発光している部分が電力を消費するため、発光部分が極力少なくなる
ように情報を表示することが望ましい。従って、携帯情報端末、特に携帯電話や音響再生
装置のような文字情報を主とする表示部に発光装置を用いる場合には、非発光部分を背景
として文字情報を発光部分で形成するように駆動することが望ましい。
以上の様に、本発明の適用範囲は極めて広く、あらゆる分野の電子機器に用いることが
可能である。また本実施例の電子機器は、実施の形態1〜7、実施例1〜5に示したいず
れの構成の発光装置を用いても良い。
本発明は、TFTの特性バラツキの影響を抑制して、所望の信号電流を外部に供給する
ことができる信号線駆動回路を提供することができる。
本発明は上記のような電流源回路を有する信号線駆動回路が設けられた発光装置を提供
し、さらにTFTの特性バラツキの影響を抑制した回路構成の画素を用いることにより、
画素及び駆動回路の両方を構成するTFTの特性バラツキの影響を抑制して、所望の信号
電流Idataを発光素子に供給することができる発光装置を提供する。

Claims (3)

  1. ビデオ信号用電流源と、第1のトランジスタと、第2のトランジスタと、第1のスイッチと、第2のスイッチと、第3のスイッチと、第4のスイッチと、第5のスイッチと、第6のスイッチと、第7のスイッチと、第8のスイッチと、第9のスイッチと、第1の容量素子と、第2の容量素子と、を有し、
    前記第1のスイッチの第1の端子は、前記ビデオ信号用電流源と電気的に接続され、
    前記第1のスイッチの第2の端子は、前記第1のトランジスタのソース及びドレインの一方と電気的に接続され、
    前記第2のスイッチの第1の端子は、第1の電源と電気的に接続され、
    前記第2のスイッチの第2の端子は、前記第1のトランジスタのソース及びドレインの一方と電気的に接続され、
    前記第3のスイッチの第1の端子は、前記第1のトランジスタのソース及びドレインの他方と電気的に接続され、
    前記第3のスイッチの第2の端子は、第2の電源と電気的に接続され、
    前記第4のスイッチの第1の端子は、前記第1のトランジスタのソース及びドレインの他方と電気的に接続され、
    前記第4のスイッチの第2の端子は、信号線と電気的に接続され、
    前記第1の容量素子の一方の電極は、前記第1のトランジスタのゲートと電気的に接続され、
    前記第1の容量素子の他方の電極は、前記第3のスイッチの第1の端子と電気的に接続され、
    前記第1のトランジスタのゲートは、前記第8のスイッチの第1の端子と電気的に接続され、
    前記第5のスイッチの第1の端子は、前記ビデオ信号用電流源と電気的に接続され、
    前記第5のスイッチの第2の端子は、前記第2のトランジスタのソース及びドレインの一方と電気的に接続され、
    前記第6のスイッチの第1の端子は、前記第1の電源と電気的に接続され、
    前記第6のスイッチの第2の端子は、前記第2のトランジスタのソース及びドレインの一方と電気的に接続され、
    前記第7のスイッチの第1の端子は、前記第2のトランジスタのソース及びドレインの他方と電気的に接続され、
    前記第7のスイッチの第2の端子は、前記第2の電源と電気的に接続され
    前記第2の容量素子の一方の電極は、前記第2のトランジスタのゲートと電気的に接続され、
    前記第2の容量素子の他方の電極は、前記第7のスイッチの第1の端子と電気的に接続され、
    前記第2のトランジスタのゲートは、前記第9のスイッチの第1の端子と電気的に接続されていることを特徴とする半導体装置。
  2. 請求項において、
    前記第1のトランジスタ及び前記第2のトランジスタは、pチャネル型トランジスタであることを特徴とする半導体装置。
  3. 請求項1または2において、
    前記第1のスイッチ及び前記第8のスイッチは、同じ信号によって制御され、
    前記第5のスイッチ及び前記第9のスイッチは、同じ信号によって制御されることを特徴とする半導体装置。
JP2015160293A 2001-10-31 2015-08-17 半導体装置 Expired - Fee Related JP6077070B2 (ja)

Priority Applications (1)

Application Number Priority Date Filing Date Title
JP2015160293A JP6077070B2 (ja) 2001-10-31 2015-08-17 半導体装置

Applications Claiming Priority (5)

Application Number Priority Date Filing Date Title
JP2001335918 2001-10-31
JP2001335918 2001-10-31
JP2002287948 2002-09-30
JP2002287948 2002-09-30
JP2015160293A JP6077070B2 (ja) 2001-10-31 2015-08-17 半導体装置

Related Parent Applications (1)

Application Number Title Priority Date Filing Date
JP2014159358A Division JP5825747B2 (ja) 2001-10-31 2014-08-05 半導体装置

Publications (2)

Publication Number Publication Date
JP2016021069A JP2016021069A (ja) 2016-02-04
JP6077070B2 true JP6077070B2 (ja) 2017-02-08

Family

ID=26624274

Family Applications (5)

Application Number Title Priority Date Filing Date
JP2003540970A Expired - Fee Related JP4811845B2 (ja) 2001-10-31 2002-10-31 半導体装置
JP2009130043A Withdrawn JP2009244885A (ja) 2001-10-31 2009-05-29 半導体装置
JP2012085177A Withdrawn JP2012177924A (ja) 2001-10-31 2012-04-04 半導体装置
JP2014159358A Expired - Fee Related JP5825747B2 (ja) 2001-10-31 2014-08-05 半導体装置
JP2015160293A Expired - Fee Related JP6077070B2 (ja) 2001-10-31 2015-08-17 半導体装置

Family Applications Before (4)

Application Number Title Priority Date Filing Date
JP2003540970A Expired - Fee Related JP4811845B2 (ja) 2001-10-31 2002-10-31 半導体装置
JP2009130043A Withdrawn JP2009244885A (ja) 2001-10-31 2009-05-29 半導体装置
JP2012085177A Withdrawn JP2012177924A (ja) 2001-10-31 2012-04-04 半導体装置
JP2014159358A Expired - Fee Related JP5825747B2 (ja) 2001-10-31 2014-08-05 半導体装置

Country Status (7)

Country Link
US (4) US6963336B2 (ja)
EP (1) EP1486942B1 (ja)
JP (5) JP4811845B2 (ja)
KR (1) KR100924740B1 (ja)
CN (3) CN102005179B (ja)
TW (1) TWI261217B (ja)
WO (1) WO2003038797A1 (ja)

Families Citing this family (70)

* Cited by examiner, † Cited by third party
Publication number Priority date Publication date Assignee Title
FI110946B (fi) * 2000-05-25 2003-04-30 Raisio Chem Oy Uudentyyppinen kationinen tärkkelystuote, tuotteen valmistaminen ja käyttö
KR100724745B1 (ko) * 2000-09-30 2007-06-04 엘지.필립스 엘시디 주식회사 액정표시소자 및 그 검사방법
US7180479B2 (en) 2001-10-30 2007-02-20 Semiconductor Energy Laboratory Co., Ltd. Signal line drive circuit and light emitting device and driving method therefor
US7576734B2 (en) 2001-10-30 2009-08-18 Semiconductor Energy Laboratory Co., Ltd. Signal line driving circuit, light emitting device, and method for driving the same
US7742064B2 (en) 2001-10-30 2010-06-22 Semiconductor Energy Laboratory Co., Ltd Signal line driver circuit, light emitting device and driving method thereof
US7193619B2 (en) * 2001-10-31 2007-03-20 Semiconductor Energy Laboratory Co., Ltd. Signal line driving circuit and light emitting device
TWI261217B (en) * 2001-10-31 2006-09-01 Semiconductor Energy Lab Driving circuit of signal line and light emitting apparatus
TWI345211B (en) * 2002-05-17 2011-07-11 Semiconductor Energy Lab Display apparatus and driving method thereof
US7184034B2 (en) * 2002-05-17 2007-02-27 Semiconductor Energy Laboratory Co., Ltd. Display device
US7474285B2 (en) * 2002-05-17 2009-01-06 Semiconductor Energy Laboratory Co., Ltd. Display apparatus and driving method thereof
TWI360098B (en) 2002-05-17 2012-03-11 Semiconductor Energy Lab Display apparatus and driving method thereof
JP4046015B2 (ja) 2002-06-07 2008-02-13 セイコーエプソン株式会社 電子回路、電子装置、電気光学装置及び電子機器
JP3970110B2 (ja) * 2002-06-27 2007-09-05 カシオ計算機株式会社 電流駆動装置及びその駆動方法並びに電流駆動装置を用いた表示装置
JP5103560B2 (ja) * 2002-11-06 2012-12-19 奇美電子股▲分▼有限公司 Ledマトリクス表示器の検査方法及び装置
TWI470607B (zh) 2002-11-29 2015-01-21 Semiconductor Energy Lab A current driving circuit and a display device using the same
JPWO2004054114A1 (ja) 2002-12-10 2006-04-13 株式会社半導体エネルギー研究所 半導体装置、デジタル・アナログ変換回路及びそれらを用いた表示装置
US7271784B2 (en) * 2002-12-18 2007-09-18 Semiconductor Energy Laboratory Co., Ltd. Display device and driving method thereof
EP1585098A4 (en) * 2003-01-17 2007-03-21 Semiconductor Energy Lab POWER SUPPLY, SIGNALING CONTROL, AND CORRESPONDING CONTROL METHOD AND LIGHT EMITTING DEVICE
JP2004254190A (ja) * 2003-02-21 2004-09-09 Seiko Epson Corp 電子回路、電子装置、電気光学装置及び電子機器
KR101101340B1 (ko) 2003-02-28 2012-01-02 가부시키가이샤 한도오따이 에네루기 켄큐쇼 반도체 장치 및 그 구동방법
TW591586B (en) * 2003-04-10 2004-06-11 Toppoly Optoelectronics Corp Data-line driver circuits for current-programmed electro-luminescence display device
CN100449594C (zh) * 2003-04-25 2009-01-07 株式会社半导体能源研究所 半导体装置
US7453427B2 (en) 2003-05-09 2008-11-18 Semiconductor Energy Laboratory Co., Ltd. Semiconductor device and driving method thereof
JP4884671B2 (ja) 2003-05-14 2012-02-29 株式会社半導体エネルギー研究所 半導体装置
CN100530304C (zh) * 2003-05-16 2009-08-19 东芝松下显示技术有限公司 有源矩阵显示设备和数模转换器
US7566902B2 (en) 2003-05-16 2009-07-28 Semiconductor Energy Laboratory Co., Ltd. Light-emitting device and electronic device
JP4727232B2 (ja) * 2003-06-06 2011-07-20 株式会社半導体エネルギー研究所 半導体装置
GB0315929D0 (en) * 2003-07-08 2003-08-13 Koninkl Philips Electronics Nv Display device
JP5116206B2 (ja) * 2003-07-11 2013-01-09 株式会社半導体エネルギー研究所 半導体装置
US8378939B2 (en) 2003-07-11 2013-02-19 Semiconductor Energy Laboratory Co., Ltd. Semiconductor device
US7961160B2 (en) * 2003-07-31 2011-06-14 Semiconductor Energy Laboratory Co., Ltd. Display device, a driving method of a display device, and a semiconductor integrated circuit incorporated in a display device
US8085226B2 (en) 2003-08-15 2011-12-27 Semiconductor Energy Laboratory Co., Ltd. Semiconductor device
WO2005022496A2 (en) 2003-08-29 2005-03-10 Semiconductor Energy Laboratory Co., Ltd. Display device and method for manufacturing the same
EP1671303B1 (en) 2003-09-12 2014-08-27 Semiconductor Energy Laboratory Co., Ltd. Semiconductor device and driving method of the same
KR100578911B1 (ko) 2003-11-26 2006-05-11 삼성에스디아이 주식회사 전류 역다중화 장치 및 이를 이용한 전류 기입형 표시 장치
KR100578913B1 (ko) 2003-11-27 2006-05-11 삼성에스디아이 주식회사 역다중화기를 이용한 표시 장치 및 그 구동 방법
KR100649244B1 (ko) * 2003-11-27 2006-11-24 삼성에스디아이 주식회사 역다중화 장치 및 이를 이용한 디스플레이 장치
KR100578914B1 (ko) 2003-11-27 2006-05-11 삼성에스디아이 주식회사 역다중화기를 이용한 표시 장치
KR100589381B1 (ko) 2003-11-27 2006-06-14 삼성에스디아이 주식회사 역다중화기를 이용한 표시 장치 및 그 구동 방법
KR100649245B1 (ko) * 2003-11-29 2006-11-24 삼성에스디아이 주식회사 역다중화 장치 및 이를 이용한 디스플레이 장치
JP2005311591A (ja) * 2004-04-20 2005-11-04 Matsushita Electric Ind Co Ltd 電流駆動装置
KR100600350B1 (ko) 2004-05-15 2006-07-14 삼성에스디아이 주식회사 역다중화 및 이를 구비한 유기 전계발광 표시 장치
KR100622217B1 (ko) 2004-05-25 2006-09-08 삼성에스디아이 주식회사 유기 전계발광 표시장치 및 역다중화부
KR100581799B1 (ko) 2004-06-02 2006-05-23 삼성에스디아이 주식회사 유기 전계발광 표시소자 및 역다중화부
EP1610292B1 (en) * 2004-06-25 2016-06-15 Semiconductor Energy Laboratory Co., Ltd. Display device, driving method thereof and electronic device
JP4889205B2 (ja) * 2004-06-30 2012-03-07 グローバル・オーエルイーディー・テクノロジー・リミテッド・ライアビリティ・カンパニー アクティブマトリクス型表示装置
US7105855B2 (en) * 2004-09-20 2006-09-12 Eastman Kodak Company Providing driving current arrangement for OLED device
US20060066555A1 (en) * 2004-09-27 2006-03-30 Semiconductor Energy Laboratory Co., Ltd. Active display device and driving method thereof
GB0421711D0 (en) * 2004-09-30 2004-11-03 Cambridge Display Tech Ltd Multi-line addressing methods and apparatus
GB0421710D0 (en) * 2004-09-30 2004-11-03 Cambridge Display Tech Ltd Multi-line addressing methods and apparatus
KR100658620B1 (ko) * 2004-10-08 2006-12-15 삼성에스디아이 주식회사 전류 샘플/홀드 회로, 및 이를 이용한 표시 장치 및 그표시 패널과 구동 방법
KR100648802B1 (ko) * 2004-10-30 2006-11-23 매그나칩 반도체 유한회사 가로줄 노이즈 개선을 위한 이미지 센서
CN1822385B (zh) * 2005-01-31 2013-02-06 株式会社半导体能源研究所 显示装置及含有其的电子设备
JP2006251049A (ja) * 2005-03-08 2006-09-21 Toshiba Matsushita Display Technology Co Ltd 表示装置及びアレイ基板
JP2007004035A (ja) * 2005-06-27 2007-01-11 Toshiba Matsushita Display Technology Co Ltd アクティブマトリクス型表示装置およびアクティブマトリクス型表示装置の駆動方法
KR101177114B1 (ko) * 2005-06-27 2012-08-24 엘지디스플레이 주식회사 전류샘플홀드회로 및 이를 포함하는 표시장치
EP1793367A3 (en) * 2005-12-02 2009-08-26 Semiconductor Energy Laboratory Co., Ltd. Semiconductor device
JP3848358B1 (ja) * 2006-02-15 2006-11-22 株式会社日出ハイテック マルチチャネル駆動回路
KR101186871B1 (ko) 2006-06-30 2012-10-02 엘지디스플레이 주식회사 쉬프트 레지스터
EP1895545B1 (en) 2006-08-31 2014-04-23 Semiconductor Energy Laboratory Co., Ltd. Liquid crystal display device
TWI442368B (zh) * 2006-10-26 2014-06-21 Semiconductor Energy Lab 電子裝置,顯示裝置,和半導體裝置,以及其驅動方法
US20080252622A1 (en) * 2007-04-16 2008-10-16 Tpo Displays Corp. Systems for displaying images and driving method thereof
JP4329868B2 (ja) * 2008-04-14 2009-09-09 カシオ計算機株式会社 表示装置
US9741309B2 (en) * 2009-01-22 2017-08-22 Semiconductor Energy Laboratory Co., Ltd. Method for driving display device including first to fourth switches
US9984617B2 (en) * 2010-01-20 2018-05-29 Semiconductor Energy Laboratory Co., Ltd. Display device including light emitting element
CN102237049B (zh) * 2010-04-22 2013-03-20 北京京东方光电科技有限公司 玻璃基芯片型液晶显示器
JP6050054B2 (ja) 2011-09-09 2016-12-21 株式会社半導体エネルギー研究所 半導体装置
US10043794B2 (en) 2012-03-22 2018-08-07 Semiconductor Energy Laboratory Co., Ltd. Semiconductor device and electronic device
TWI691947B (zh) * 2019-03-28 2020-04-21 大陸商北京集創北方科技股份有限公司 Led顯示器驅動電路及led顯示器
CN111354300A (zh) * 2019-08-14 2020-06-30 Tcl科技集团股份有限公司 一种驱动电路、驱动方法及显示装置

Family Cites Families (56)

* Cited by examiner, † Cited by third party
Publication number Priority date Publication date Assignee Title
JPS62122488A (ja) 1985-11-22 1987-06-03 Toshiba Corp X線撮影装置
JPH0542488Y2 (ja) * 1986-01-28 1993-10-26
US4967140A (en) * 1988-09-12 1990-10-30 U.S. Philips Corporation Current-source arrangement
US4957140A (en) * 1989-04-21 1990-09-18 Nippon Air Brake Co., Ltd. Hydraulic pressure control valve for use with brake master cylinder
JPH0542488A (ja) 1990-09-04 1993-02-23 Masahisa Miura ロータリーホチキス
JPH06118913A (ja) 1992-08-10 1994-04-28 Casio Comput Co Ltd 液晶表示装置
JP3275991B2 (ja) * 1994-07-27 2002-04-22 シャープ株式会社 アクティブマトリクス型表示装置及びその駆動方法
JP3156522B2 (ja) 1994-09-22 2001-04-16 凸版印刷株式会社 液晶表示装置用駆動回路
JPH08101669A (ja) 1994-09-30 1996-04-16 Semiconductor Energy Lab Co Ltd 表示装置駆動回路
JPH08106075A (ja) 1994-10-06 1996-04-23 Sharp Corp 表示駆動回路
JP3311246B2 (ja) * 1995-08-23 2002-08-05 キヤノン株式会社 電子発生装置、画像表示装置およびそれらの駆動回路、駆動方法
JP3352876B2 (ja) 1996-03-11 2002-12-03 株式会社東芝 出力回路及びこれを含む液晶表示器の駆動回路
US5783952A (en) 1996-09-16 1998-07-21 Atmel Corporation Clock feedthrough reduction system for switched current memory cells
EP0978114A4 (en) 1997-04-23 2003-03-19 Sarnoff Corp PIXEL STRUCTURE WITH LIGHT EMITTING DIODE AND ACTIVE MATRIX AND METHOD
US6229506B1 (en) 1997-04-23 2001-05-08 Sarnoff Corporation Active matrix light emitting diode pixel structure and concomitant method
JPH10312173A (ja) 1997-05-09 1998-11-24 Pioneer Electron Corp 画像表示装置
JP3102411B2 (ja) 1997-05-29 2000-10-23 日本電気株式会社 有機薄膜el素子の駆動回路
TW381249B (en) 1997-05-29 2000-02-01 Nippon Electric Co Driving circuits of organic thin film electric laser components
JPH11231834A (ja) 1998-02-13 1999-08-27 Pioneer Electron Corp 発光ディスプレイ装置及びその駆動方法
US6504520B1 (en) * 1998-03-19 2003-01-07 Denso Corporation Electroluminescent display device having equalized luminance
JP3252897B2 (ja) 1998-03-31 2002-02-04 日本電気株式会社 素子駆動装置および方法、画像表示装置
GB9812742D0 (en) 1998-06-12 1998-08-12 Philips Electronics Nv Active matrix electroluminescent display devices
JP2000039926A (ja) * 1998-07-24 2000-02-08 Canon Inc 電流出力回路
JP3315652B2 (ja) 1998-09-07 2002-08-19 キヤノン株式会社 電流出力回路
JP2000105574A (ja) * 1998-09-29 2000-04-11 Matsushita Electric Ind Co Ltd 電流制御型発光装置
JP3800831B2 (ja) 1998-10-13 2006-07-26 セイコーエプソン株式会社 表示装置及び電子機器
JP4138102B2 (ja) 1998-10-13 2008-08-20 セイコーエプソン株式会社 表示装置及び電子機器
JP2000259124A (ja) 1999-03-05 2000-09-22 Sanyo Electric Co Ltd エレクトロルミネッセンス表示装置
JP4627822B2 (ja) 1999-06-23 2011-02-09 株式会社半導体エネルギー研究所 表示装置
WO2001006484A1 (en) * 1999-07-14 2001-01-25 Sony Corporation Current drive circuit and display comprising the same, pixel circuit, and drive method
US7379039B2 (en) 1999-07-14 2008-05-27 Sony Corporation Current drive circuit and display device using same pixel circuit, and drive method
JP2001034221A (ja) 1999-07-23 2001-02-09 Nippon Seiki Co Ltd 有機エレクトロルミネセンス素子の駆動回路
JP2001042822A (ja) 1999-08-03 2001-02-16 Pioneer Electronic Corp アクティブマトリクス型表示装置
JP2001056667A (ja) 1999-08-18 2001-02-27 Tdk Corp 画像表示装置
GB9923591D0 (en) 1999-10-07 1999-12-08 Koninkl Philips Electronics Nv Current source and display device using the same
TW484117B (en) 1999-11-08 2002-04-21 Semiconductor Energy Lab Electronic device
JP2001222256A (ja) * 1999-11-08 2001-08-17 Semiconductor Energy Lab Co Ltd 発光装置
JP2001147659A (ja) 1999-11-18 2001-05-29 Sony Corp 表示装置
JP3789066B2 (ja) * 1999-12-08 2006-06-21 三菱電機株式会社 液晶表示装置
US7301520B2 (en) * 2000-02-22 2007-11-27 Semiconductor Energy Laboratory Co., Ltd. Image display device and driver circuit therefor
KR100327374B1 (ko) * 2000-03-06 2002-03-06 구자홍 액티브 구동 회로
JP2001290469A (ja) 2000-04-06 2001-10-19 Nec Corp 液晶表示装置
TW493153B (en) * 2000-05-22 2002-07-01 Koninkl Philips Electronics Nv Display device
US7015882B2 (en) * 2000-11-07 2006-03-21 Sony Corporation Active matrix display and active matrix organic electroluminescence display
JP2003195815A (ja) 2000-11-07 2003-07-09 Sony Corp アクティブマトリクス型表示装置およびアクティブマトリクス型有機エレクトロルミネッセンス表示装置
JP2002215095A (ja) 2001-01-22 2002-07-31 Pioneer Electronic Corp 発光ディスプレイの画素駆動回路
JP2002278497A (ja) 2001-03-22 2002-09-27 Canon Inc 表示パネル及びその駆動方法
JP3610923B2 (ja) * 2001-05-30 2005-01-19 ソニー株式会社 アクティブマトリクス型表示装置およびアクティブマトリクス型有機エレクトロルミネッセンス表示装置、並びにそれらの駆動方法
US7256756B2 (en) 2001-08-29 2007-08-14 Nec Corporation Semiconductor device for driving a current load device and a current load device provided therewith
JP4193452B2 (ja) 2001-08-29 2008-12-10 日本電気株式会社 電流負荷デバイス駆動用半導体装置及びそれを備えた電流負荷デバイス
US7742064B2 (en) 2001-10-30 2010-06-22 Semiconductor Energy Laboratory Co., Ltd Signal line driver circuit, light emitting device and driving method thereof
US7576734B2 (en) 2001-10-30 2009-08-18 Semiconductor Energy Laboratory Co., Ltd. Signal line driving circuit, light emitting device, and method for driving the same
US7180479B2 (en) 2001-10-30 2007-02-20 Semiconductor Energy Laboratory Co., Ltd. Signal line drive circuit and light emitting device and driving method therefor
TWI261217B (en) * 2001-10-31 2006-09-01 Semiconductor Energy Lab Driving circuit of signal line and light emitting apparatus
US7193619B2 (en) 2001-10-31 2007-03-20 Semiconductor Energy Laboratory Co., Ltd. Signal line driving circuit and light emitting device
JP2003150112A (ja) 2001-11-14 2003-05-23 Matsushita Electric Ind Co Ltd Oled表示装置およびその駆動方法

Also Published As

Publication number Publication date
JP2009244885A (ja) 2009-10-22
TWI261217B (en) 2006-09-01
EP1486942A1 (en) 2004-12-15
WO2003038797A1 (en) 2003-05-08
CN102063860A (zh) 2011-05-18
KR20050042003A (ko) 2005-05-04
US20110234573A1 (en) 2011-09-29
JP2012177924A (ja) 2012-09-13
CN102005179A (zh) 2011-04-06
CN102005179B (zh) 2013-08-21
JPWO2003038797A1 (ja) 2005-02-24
CN1809858B (zh) 2010-09-29
US9076385B2 (en) 2015-07-07
US7583257B2 (en) 2009-09-01
US20040085270A1 (en) 2004-05-06
US7948453B2 (en) 2011-05-24
US6963336B2 (en) 2005-11-08
KR100924740B1 (ko) 2009-11-05
JP2016021069A (ja) 2016-02-04
JP5825747B2 (ja) 2015-12-02
JP2015007786A (ja) 2015-01-15
TW200300543A (en) 2003-06-01
JP4811845B2 (ja) 2011-11-09
WO2003038797B1 (en) 2003-09-25
EP1486942A4 (en) 2009-03-11
EP1486942B1 (en) 2014-03-12
US20060028413A1 (en) 2006-02-09
US20090303213A1 (en) 2009-12-10
CN102063860B (zh) 2013-01-02
CN1809858A (zh) 2006-07-26

Similar Documents

Publication Publication Date Title
JP6077070B2 (ja) 半導体装置
JP5977384B2 (ja) 半導体装置
JP4642094B2 (ja) 発光装置及び電子機器
JP4610632B2 (ja) 発光装置及び電子機器
US8325165B2 (en) Signal line driving circuit, light emitting device, and method for driving the same

Legal Events

Date Code Title Description
A131 Notification of reasons for refusal

Free format text: JAPANESE INTERMEDIATE CODE: A131

Effective date: 20160823

A521 Request for written amendment filed

Free format text: JAPANESE INTERMEDIATE CODE: A523

Effective date: 20160907

TRDD Decision of grant or rejection written
A01 Written decision to grant a patent or to grant a registration (utility model)

Free format text: JAPANESE INTERMEDIATE CODE: A01

Effective date: 20161227

A61 First payment of annual fees (during grant procedure)

Free format text: JAPANESE INTERMEDIATE CODE: A61

Effective date: 20170111

R150 Certificate of patent or registration of utility model

Ref document number: 6077070

Country of ref document: JP

Free format text: JAPANESE INTERMEDIATE CODE: R150

R250 Receipt of annual fees

Free format text: JAPANESE INTERMEDIATE CODE: R250

R250 Receipt of annual fees

Free format text: JAPANESE INTERMEDIATE CODE: R250

LAPS Cancellation because of no payment of annual fees