JP6053262B2 - 光学素子、それを用いた光学系および光学機器 - Google Patents
光学素子、それを用いた光学系および光学機器 Download PDFInfo
- Publication number
- JP6053262B2 JP6053262B2 JP2011169008A JP2011169008A JP6053262B2 JP 6053262 B2 JP6053262 B2 JP 6053262B2 JP 2011169008 A JP2011169008 A JP 2011169008A JP 2011169008 A JP2011169008 A JP 2011169008A JP 6053262 B2 JP6053262 B2 JP 6053262B2
- Authority
- JP
- Japan
- Prior art keywords
- layer
- optical element
- refractive index
- binder
- fine particles
- Prior art date
- Legal status (The legal status is an assumption and is not a legal conclusion. Google has not performed a legal analysis and makes no representation as to the accuracy of the status listed.)
- Active
Links
Images
Classifications
-
- G—PHYSICS
- G02—OPTICS
- G02B—OPTICAL ELEMENTS, SYSTEMS OR APPARATUS
- G02B1/00—Optical elements characterised by the material of which they are made; Optical coatings for optical elements
- G02B1/10—Optical coatings produced by application to, or surface treatment of, optical elements
- G02B1/11—Anti-reflection coatings
- G02B1/118—Anti-reflection coatings having sub-optical wavelength surface structures designed to provide an enhanced transmittance, e.g. moth-eye structures
-
- G—PHYSICS
- G02—OPTICS
- G02B—OPTICAL ELEMENTS, SYSTEMS OR APPARATUS
- G02B1/00—Optical elements characterised by the material of which they are made; Optical coatings for optical elements
- G02B1/10—Optical coatings produced by application to, or surface treatment of, optical elements
- G02B1/14—Protective coatings, e.g. hard coatings
-
- Y—GENERAL TAGGING OF NEW TECHNOLOGICAL DEVELOPMENTS; GENERAL TAGGING OF CROSS-SECTIONAL TECHNOLOGIES SPANNING OVER SEVERAL SECTIONS OF THE IPC; TECHNICAL SUBJECTS COVERED BY FORMER USPC CROSS-REFERENCE ART COLLECTIONS [XRACs] AND DIGESTS
- Y10—TECHNICAL SUBJECTS COVERED BY FORMER USPC
- Y10T—TECHNICAL SUBJECTS COVERED BY FORMER US CLASSIFICATION
- Y10T428/00—Stock material or miscellaneous articles
- Y10T428/24—Structurally defined web or sheet [e.g., overall dimension, etc.]
- Y10T428/24942—Structurally defined web or sheet [e.g., overall dimension, etc.] including components having same physical characteristic in differing degree
-
- Y—GENERAL TAGGING OF NEW TECHNOLOGICAL DEVELOPMENTS; GENERAL TAGGING OF CROSS-SECTIONAL TECHNOLOGIES SPANNING OVER SEVERAL SECTIONS OF THE IPC; TECHNICAL SUBJECTS COVERED BY FORMER USPC CROSS-REFERENCE ART COLLECTIONS [XRACs] AND DIGESTS
- Y10—TECHNICAL SUBJECTS COVERED BY FORMER USPC
- Y10T—TECHNICAL SUBJECTS COVERED BY FORMER US CLASSIFICATION
- Y10T428/00—Stock material or miscellaneous articles
- Y10T428/24—Structurally defined web or sheet [e.g., overall dimension, etc.]
- Y10T428/24942—Structurally defined web or sheet [e.g., overall dimension, etc.] including components having same physical characteristic in differing degree
- Y10T428/2495—Thickness [relative or absolute]
- Y10T428/24967—Absolute thicknesses specified
- Y10T428/24975—No layer or component greater than 5 mils thick
Landscapes
- Physics & Mathematics (AREA)
- General Physics & Mathematics (AREA)
- Optics & Photonics (AREA)
- Surface Treatment Of Optical Elements (AREA)
- Laminated Bodies (AREA)
Description
まず、本発明の第1実施形態に係る光学素子について説明する。図1は、本実施形態に係る光学素子1の構成を示す概略断面図である。この光学素子1は、光透過性を有する基材2と、この基材2の表面上(基材上)に形成された反射防止膜である低屈折率層3とを含む。ここで、「反射防止膜」とは、例えば、ビデオカメラなどの光学機器に用いられる撮影レンズにて、その結像光学系に採用される光学素子の両面または片面に形成され、透過光量を上げて、不要光によるゴーストやフレアを回避するための膜を示す。まず、基材2は、例えば、石英などのガラスや、樹脂などからなる透明部材である。また、基材2の形状は、図1では説明の簡単化のために平板(平面)としているが、例えば曲板やフィルム状板でもよく、また、低屈折率層3が形成される表面も、曲面、凹面、または凸面であってもよい。
次に、本発明の第2実施形態に係る光学素子について説明する。第1実施形態の光学素子1は、基材2上に低屈折率層3のみを有するが、例えば、基材2と低屈折率層3との間に、高屈折率層や中屈折率層などを単層または複数層として有する構成もあり得る。この高屈折率層または中屈折率層としては、例えば、酸化ジルコニウム酸化チタン、酸化タンタル、酸化ニオブ、酸化ハフニウム、アルミナ、シリカ、またはフッ化マグネシウムなどの少なくともいずれかの材料を含む層が適用される。さらに、低屈折率層3における外部環境と接する表面に、撥水や撥油などの機能性を有する層を形成してもよい。この機能層の材料としては、例えば、フッ素を含有した塗料や、シリコーン塗料などが採用可能である。なお、このような屈折率層や機能層は、真空蒸着法、スパッタ法、CVD法、ディップコート法、スピンコート法、スプレーコート法などを用いて形成できる。
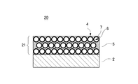
次に、参考として、第1実施形態に係る光学素子1に対する、第1比較例としての光学素子について説明する。図5は、第1実施形態に対する第1比較例に係る光学素子20の構成を示す概略断面図である。この図5において、第1実施形態に係る光学素子1の構成と同一のものには同一の符号を付し、説明を省略する。この光学素子20では、第1実施形態に係る低屈折率層3とは異なり、低屈折率層21は、中空微粒子4間の空隙がバインダー5で充填された1種類の膜からなる。まず、基材2は、第1実施形態と同一である。次に、低屈折率層21の屈折率が1.30になるように、中空SiO2含有溶液に対するバインダー溶液の重量比率を1:0.71として混合液を生成する。このとき、低屈折率層21では、上記のとおり中空微粒子4間の空隙がバインダー5で充填されるように、バインダー溶液の濃度が調整される。次に、第1実施形態と同様に、塗工処理および乾燥処理が実施され、基材2上に低屈折率層21を有する光学素子20が形成される。ここで、第1実施形態と同様に評価、観察した結果、図6に示すように、光学素子20によれば、第1実施形態に比べて反射率が高くなり、反射防止性能が劣ることが確認できる。これにより、第1実施形態に係る光学素子1の有用性が示される。なお、(表3)は、この光学素子20の構成に対する屈折率および膜厚を、基材2側から順に示す表である。
さらに、参考として、第2実施形態に係る光学素子10に対する、第2比較例としての光学素子について説明する。図7は、第2実施形態に対する第2比較例に係る光学素子30の構成を示す概略断面図である。この図7において、第2実施形態に係る光学素子10の構成と同一のものには同一の符号を付し、説明を省略する。この光学素子30も、第2実施形態に係る光学素子10と同様に、多層反射防止膜31を含むものである。一方、多層反射防止膜31を構成する本比較例に係る低屈折率層32は、低屈折率層14とは異なり、中空微粒子4間の空隙がバインダー15で充填された1種類の膜からなる。まず、基材11は、第2実施形態と同一である。また、本比較例においても、多層反射防止膜31は、第2実施形態と同様に、5つの層で構成される多層膜33を含む。次に、低屈折率層32の屈折率が1.35になるように、中空SiO2含有溶液に対するバインダー溶液の重量比率を1:0.71として混合液を生成する。このとき、低屈折率層32では、上記のとおり中空微粒子4間の空隙がバインダー5で充填されるように、バインダー溶液の濃度が調整される。次に、第2実施形態と同様に、塗工処理および乾燥処理が実施され、基材11上に低屈折率層32を有する光学素子30が形成される。ここで、第2実施形態と同様に評価、観察した結果、図8に示すように、光学素子30によれば、第2実施形態に比べて反射率が高くなり、反射防止性能が劣ることが確認できる。これにより、第2実施形態に係る光学素子10の有用性が示される。なお、(表4)は、この光学素子30の構成に対する屈折率および膜厚を、基材11側から順に示す表である。
次に、本発明の一実施形態の光学系および光学機器について説明する。本実施形態の光学系は、例えば、ビデオカメラ、写真カメラ、またはテレビカメラなどの光学機器が備えるレンズ(光学素子)部、またはレンズ鏡筒の内部に構成される結像光学系である。この結像光学系は、光軸方向に並ぶ、少なくとも2つ以上のレンズを有し、例えば、光入射側から順に、接合レンズである第1レンズ、反射防止膜を有する第2レンズなどを含む。この第2レンズとして、上記実施形態にて説明した光学素子が採用可能である。本実施形態の光学系および光学機器によれば、従来よりも少なくとも結像性能の面で有利となる。
2 基材
3 低屈折率層
3a 第1層
3b 第2層
4 中空微粒子
5 バインダー
Claims (13)
- 基材と、該基材上に形成された反射防止膜と、を有する光学素子であって、
前記反射防止膜は、複数の中空微粒子と、該中空微粒子を互いに結合するバインダーと、を有する低屈折率層を含み、
前記低屈折率層は、最表層としての第1層と、該第1層に隣接して前記基材の側に位置する第2層と、からなり、
前記第1層での前記バインダーの充填率は、前記第2層での前記バインダーの充填率よりも低く、
前記第1層での前記中空微粒子の充填率は、前記第2層での前記中空微粒子の充填率よりも低く、
前記第1層のd線に対する屈折率は、1.1以上1.25以下であり、
前記第1層は、前記バインダーの充填率が互いに異なる上層及び下層を含み、前記下層での前記バインダーの充填率は、前記第2層での前記バインダーの充填率よりも高いことを特徴とする光学素子。 - 前記上層での前記バインダーの充填率は、前記第2層での前記バインダーの充填率よりも低いことを特徴とする請求項1に記載の光学素子。
- 前記第2層のd線に対する屈折率は、1.26以上1.35以下であることを特徴とする請求項1又は2に記載の光学素子。
- 前記低屈折率層の物理膜厚は、90nm以上150nm以下であり、前記第1層の物理膜厚は、20nm以上70nm以下であることを特徴とする請求項1ないし3のいずれか1項に記載の光学素子。
- 前記第1層および前記第2層は、同一の中空微粒子を含むことを特徴とする請求項1ないし4のいずれか1項に記載の光学素子。
- 前記中空微粒子の粒径は、20nm以上70nm以下であることを特徴とする請求項1ないし5のいずれか1項に記載の光学素子。
- 前記中空微粒子の材質は、シリカであることを特徴とする請求項1ないし6のいずれか1項に記載の光学素子。
- 前記第1層における前記複数の中空微粒子の夫々は、前記バインダーに覆われていない部分を含むことを特徴とする請求項1ないし7のいずれか1項に記載の光学素子。
- 前記第2層における前記複数の中空微粒子の夫々は、全体が前記バインダーの中に埋まっていることを特徴とする請求項1ないし8のいずれか1項に記載の光学素子。
- 前記反射防止膜は、前記基材と前記低屈折率層との間に、1以上の層を含むことを特徴とする請求項1ないし9のいずれか1項に記載の光学素子。
- 前記1以上の層は、酸化ジルコニウム、酸化チタン、酸化タンタル、酸化ニオブ、酸化ハフニウム、アルミナ、シリカ、及びフッ化マグネシウムのうち、少なくとも1つを含む材料から成ることを特徴とする請求項10に記載の光学素子。
- 複数の光学素子を有する光学系であって、前記複数の光学素子のうち少なくとも1つは、請求項1ないし11のいずれか1項に記載の光学素子であることを特徴とする光学系。
- 光学系を有する光学機器であって、前記光学系は、請求項12に記載の光学系であることを特徴とする光学機器。
Priority Applications (2)
| Application Number | Priority Date | Filing Date | Title |
|---|---|---|---|
| JP2011169008A JP6053262B2 (ja) | 2011-08-02 | 2011-08-02 | 光学素子、それを用いた光学系および光学機器 |
| US13/549,573 US9417361B2 (en) | 2011-08-02 | 2012-07-16 | Optical element, and optical system and optical apparatus using same |
Applications Claiming Priority (1)
| Application Number | Priority Date | Filing Date | Title |
|---|---|---|---|
| JP2011169008A JP6053262B2 (ja) | 2011-08-02 | 2011-08-02 | 光学素子、それを用いた光学系および光学機器 |
Publications (3)
| Publication Number | Publication Date |
|---|---|
| JP2013033124A JP2013033124A (ja) | 2013-02-14 |
| JP2013033124A5 JP2013033124A5 (ja) | 2014-09-11 |
| JP6053262B2 true JP6053262B2 (ja) | 2016-12-27 |
Family
ID=47627117
Family Applications (1)
| Application Number | Title | Priority Date | Filing Date |
|---|---|---|---|
| JP2011169008A Active JP6053262B2 (ja) | 2011-08-02 | 2011-08-02 | 光学素子、それを用いた光学系および光学機器 |
Country Status (2)
| Country | Link |
|---|---|
| US (1) | US9417361B2 (ja) |
| JP (1) | JP6053262B2 (ja) |
Families Citing this family (8)
| Publication number | Priority date | Publication date | Assignee | Title |
|---|---|---|---|---|
| US9372291B2 (en) * | 2013-11-04 | 2016-06-21 | Sung Nae CHO | Heat blocking system utilizing particulates |
| JP6274924B2 (ja) * | 2014-03-14 | 2018-02-07 | キヤノン株式会社 | 反射防止膜、光学部材及び光学部材の製造方法 |
| CN105208434A (zh) * | 2014-06-11 | 2015-12-30 | 阿里巴巴集团控股有限公司 | 媒体投影方法、媒体投影设备、控制终端以及云端服务器 |
| TWI673513B (zh) * | 2014-09-26 | 2019-10-01 | 日商大日本印刷股份有限公司 | 抗反射膜、顯示裝置及顯示裝置之抗反射膜之選擇方法 |
| JP2017032781A (ja) * | 2015-07-31 | 2017-02-09 | 富士フイルム株式会社 | 反射防止フィルム、偏光板、カバーガラス、及び画像表示装置、並びに反射防止フィルムの製造方法 |
| CN106680901B (zh) * | 2015-11-11 | 2018-12-21 | 台湾创新材料股份有限公司 | 三维有序多孔微结构制造方法 |
| JP6503128B1 (ja) * | 2018-02-13 | 2019-04-17 | 日本板硝子株式会社 | 膜、液状組成物、光学素子、及び撮像装置 |
| US12181630B2 (en) | 2020-02-28 | 2024-12-31 | Nippon Sheet Glass Company, Limited | Low-refractive-index film, laminate, optical element, windbreak material, and display device |
Family Cites Families (11)
| Publication number | Priority date | Publication date | Assignee | Title |
|---|---|---|---|---|
| TW574110B (en) * | 2001-10-25 | 2004-02-01 | Matsushita Electric Works Ltd | Composite thin film holding substrate, transparent conductive film holding substrate, and panel light emitting body |
| JP4378972B2 (ja) | 2003-02-25 | 2009-12-09 | パナソニック電工株式会社 | 反射防止膜、反射防止膜の製造方法、反射防止部材 |
| WO2005059601A1 (ja) * | 2003-12-17 | 2005-06-30 | Bridgestone Corporation | 反射防止フィルム、電磁波シールド性光透過窓材、ガス放電型発光パネル、フラットディスプレイパネル、ショーウィンドウ窓材及び太陽電池モジュール |
| JP4497460B2 (ja) * | 2004-06-11 | 2010-07-07 | Hoya株式会社 | 反射防止膜の製造方法 |
| JP5047488B2 (ja) | 2004-11-05 | 2012-10-10 | ペンタックスリコーイメージング株式会社 | シリカエアロゲル膜の製造方法 |
| JP2007052345A (ja) * | 2005-08-19 | 2007-03-01 | Oji Paper Co Ltd | 屈折率傾斜多層薄膜構造体及びその製造方法 |
| CN101086546A (zh) * | 2006-06-09 | 2007-12-12 | 鸿富锦精密工业(深圳)有限公司 | 镜头模组及相机模组 |
| JP5339320B2 (ja) * | 2006-09-01 | 2013-11-13 | Jsr株式会社 | 硬化性組成物及び反射防止膜 |
| TW200921139A (en) * | 2007-11-15 | 2009-05-16 | Daxon Technology Inc | Antiglare film and coating composition for antiglare films |
| JP2010160262A (ja) * | 2009-01-07 | 2010-07-22 | Panasonic Corp | 反射防止構造体及びこれを備えたレンズ鏡筒、反射防止構造体の製造方法 |
| JP2009211078A (ja) * | 2009-04-10 | 2009-09-17 | Hitachi Ltd | 反射防止膜及びそれを有する画像表示装置,光記録媒体,太陽発電モジュール並びに反射防止膜形成方法 |
-
2011
- 2011-08-02 JP JP2011169008A patent/JP6053262B2/ja active Active
-
2012
- 2012-07-16 US US13/549,573 patent/US9417361B2/en active Active
Also Published As
| Publication number | Publication date |
|---|---|
| US20130034711A1 (en) | 2013-02-07 |
| US9417361B2 (en) | 2016-08-16 |
| JP2013033124A (ja) | 2013-02-14 |
Similar Documents
| Publication | Publication Date | Title |
|---|---|---|
| JP6053262B2 (ja) | 光学素子、それを用いた光学系および光学機器 | |
| JP5936444B2 (ja) | 光学素子、それを用いた光学系および光学機器 | |
| JP5881096B2 (ja) | 反射防止膜及び光学素子 | |
| US20170285228A1 (en) | Optical member and method of producing the same | |
| JP5885595B2 (ja) | 反射防止膜、および、それを有する光学素子、光学系、光学機器 | |
| CN104914488B (zh) | 减反射膜、光学部件和光学部件的制备方法 | |
| US10168452B2 (en) | Antireflection coating, optical element, optical system and optical apparatus | |
| JP6292830B2 (ja) | 光学素子、光学系および光学機器 | |
| JP6903994B2 (ja) | 光学素子及びその製造方法 | |
| US12006439B2 (en) | Optical member, optical device and coating liquid | |
| JP7343334B2 (ja) | レンズユニットおよびカメラモジュール | |
| JP2017049313A (ja) | 反射防止膜、光学部材、反射防止膜の製造方法および光学部材の製造方法 | |
| JP6137807B2 (ja) | 反射防止膜を有する光学素子、光学系および光学機器 | |
| JP6385108B2 (ja) | 光学素子および光学系、並びに光学素子の製造方法 | |
| JP6103853B2 (ja) | 光学素子及びそれを有する光学装置 | |
| JP6385117B2 (ja) | 光学素子及びそれを有する光学系 | |
| JP2020190710A (ja) | 反射防止膜及びこれを有する光学素子 | |
| CN115380012A (zh) | 盖玻璃 | |
| JP7402669B2 (ja) | 反射防止膜付光学素子 | |
| JP2015203723A5 (ja) | ||
| JP2016085253A (ja) | 反射防止膜、及びそれを有する光学素子 | |
| JP2025113884A (ja) | 反射防止膜および光学素子 | |
| JP2016018095A (ja) | 光学素子、光学系、および光学機器 | |
| JP2018025651A (ja) | 光学素子およびそれを有する光学系、撮像装置 | |
| JP2020177053A (ja) | 反射防止膜、光学素子、光学装置、および撮像装置 |
Legal Events
| Date | Code | Title | Description |
|---|---|---|---|
| A521 | Written amendment |
Free format text: JAPANESE INTERMEDIATE CODE: A523 Effective date: 20140728 |
|
| A621 | Written request for application examination |
Free format text: JAPANESE INTERMEDIATE CODE: A621 Effective date: 20140728 |
|
| A977 | Report on retrieval |
Free format text: JAPANESE INTERMEDIATE CODE: A971007 Effective date: 20150316 |
|
| A131 | Notification of reasons for refusal |
Free format text: JAPANESE INTERMEDIATE CODE: A131 Effective date: 20150407 |
|
| A521 | Written amendment |
Free format text: JAPANESE INTERMEDIATE CODE: A523 Effective date: 20150608 |
|
| A131 | Notification of reasons for refusal |
Free format text: JAPANESE INTERMEDIATE CODE: A131 Effective date: 20151110 |
|
| A521 | Written amendment |
Free format text: JAPANESE INTERMEDIATE CODE: A523 Effective date: 20160112 |
|
| A131 | Notification of reasons for refusal |
Free format text: JAPANESE INTERMEDIATE CODE: A131 Effective date: 20160517 |
|
| A521 | Written amendment |
Free format text: JAPANESE INTERMEDIATE CODE: A523 Effective date: 20160704 |
|
| TRDD | Decision of grant or rejection written | ||
| A01 | Written decision to grant a patent or to grant a registration (utility model) |
Free format text: JAPANESE INTERMEDIATE CODE: A01 Effective date: 20161101 |
|
| A61 | First payment of annual fees (during grant procedure) |
Free format text: JAPANESE INTERMEDIATE CODE: A61 Effective date: 20161129 |
|
| R151 | Written notification of patent or utility model registration |
Ref document number: 6053262 Country of ref document: JP Free format text: JAPANESE INTERMEDIATE CODE: R151 |
